CN110124068B - Portable multifunctional surface sterilization instrument - Google Patents
Portable multifunctional surface sterilization instrument Download PDFInfo
- Publication number
- CN110124068B CN110124068B CN201910419180.XA CN201910419180A CN110124068B CN 110124068 B CN110124068 B CN 110124068B CN 201910419180 A CN201910419180 A CN 201910419180A CN 110124068 B CN110124068 B CN 110124068B
- Authority
- CN
- China
- Prior art keywords
- sterilization
- box
- box body
- box cover
- fixed
- Prior art date
- Legal status (The legal status is an assumption and is not a legal conclusion. Google has not performed a legal analysis and makes no representation as to the accuracy of the status listed.)
- Active
Links
Images
Classifications
-
- A—HUMAN NECESSITIES
- A61—MEDICAL OR VETERINARY SCIENCE; HYGIENE
- A61L—METHODS OR APPARATUS FOR STERILISING MATERIALS OR OBJECTS IN GENERAL; DISINFECTION, STERILISATION OR DEODORISATION OF AIR; CHEMICAL ASPECTS OF BANDAGES, DRESSINGS, ABSORBENT PADS OR SURGICAL ARTICLES; MATERIALS FOR BANDAGES, DRESSINGS, ABSORBENT PADS OR SURGICAL ARTICLES
- A61L2/00—Methods or apparatus for disinfecting or sterilising materials or objects other than foodstuffs or contact lenses; Accessories therefor
- A61L2/02—Methods or apparatus for disinfecting or sterilising materials or objects other than foodstuffs or contact lenses; Accessories therefor using physical phenomena
- A61L2/08—Radiation
-
- A—HUMAN NECESSITIES
- A61—MEDICAL OR VETERINARY SCIENCE; HYGIENE
- A61L—METHODS OR APPARATUS FOR STERILISING MATERIALS OR OBJECTS IN GENERAL; DISINFECTION, STERILISATION OR DEODORISATION OF AIR; CHEMICAL ASPECTS OF BANDAGES, DRESSINGS, ABSORBENT PADS OR SURGICAL ARTICLES; MATERIALS FOR BANDAGES, DRESSINGS, ABSORBENT PADS OR SURGICAL ARTICLES
- A61L2/00—Methods or apparatus for disinfecting or sterilising materials or objects other than foodstuffs or contact lenses; Accessories therefor
- A61L2/02—Methods or apparatus for disinfecting or sterilising materials or objects other than foodstuffs or contact lenses; Accessories therefor using physical phenomena
- A61L2/08—Radiation
- A61L2/10—Ultraviolet radiation
-
- A—HUMAN NECESSITIES
- A61—MEDICAL OR VETERINARY SCIENCE; HYGIENE
- A61L—METHODS OR APPARATUS FOR STERILISING MATERIALS OR OBJECTS IN GENERAL; DISINFECTION, STERILISATION OR DEODORISATION OF AIR; CHEMICAL ASPECTS OF BANDAGES, DRESSINGS, ABSORBENT PADS OR SURGICAL ARTICLES; MATERIALS FOR BANDAGES, DRESSINGS, ABSORBENT PADS OR SURGICAL ARTICLES
- A61L2/00—Methods or apparatus for disinfecting or sterilising materials or objects other than foodstuffs or contact lenses; Accessories therefor
- A61L2/26—Accessories or devices or components used for biocidal treatment
-
- A—HUMAN NECESSITIES
- A61—MEDICAL OR VETERINARY SCIENCE; HYGIENE
- A61L—METHODS OR APPARATUS FOR STERILISING MATERIALS OR OBJECTS IN GENERAL; DISINFECTION, STERILISATION OR DEODORISATION OF AIR; CHEMICAL ASPECTS OF BANDAGES, DRESSINGS, ABSORBENT PADS OR SURGICAL ARTICLES; MATERIALS FOR BANDAGES, DRESSINGS, ABSORBENT PADS OR SURGICAL ARTICLES
- A61L2202/00—Aspects relating to methods or apparatus for disinfecting or sterilising materials or objects
- A61L2202/10—Apparatus features
- A61L2202/16—Mobile applications, e.g. portable devices, trailers, devices mounted on vehicles
-
- A—HUMAN NECESSITIES
- A61—MEDICAL OR VETERINARY SCIENCE; HYGIENE
- A61L—METHODS OR APPARATUS FOR STERILISING MATERIALS OR OBJECTS IN GENERAL; DISINFECTION, STERILISATION OR DEODORISATION OF AIR; CHEMICAL ASPECTS OF BANDAGES, DRESSINGS, ABSORBENT PADS OR SURGICAL ARTICLES; MATERIALS FOR BANDAGES, DRESSINGS, ABSORBENT PADS OR SURGICAL ARTICLES
- A61L2202/00—Aspects relating to methods or apparatus for disinfecting or sterilising materials or objects
- A61L2202/10—Apparatus features
- A61L2202/18—Aseptic storing means
- A61L2202/182—Rigid packaging means
Landscapes
- Health & Medical Sciences (AREA)
- Epidemiology (AREA)
- Life Sciences & Earth Sciences (AREA)
- Animal Behavior & Ethology (AREA)
- General Health & Medical Sciences (AREA)
- Public Health (AREA)
- Veterinary Medicine (AREA)
- Apparatus For Disinfection Or Sterilisation (AREA)
Abstract
本发明涉及一种便携式多功能表面杀菌仪。该杀菌仪包括盒体、电池、杀菌模块、驱动电路、控制电路、显示模块等部分。本发明的便携式多功能杀菌仪可同时实现了手持表面杀菌、移动终端内装式杀菌以及移动电源的功能,具备安全便携、尺寸小、简单实用的特点。
The invention relates to a portable multifunctional surface sterilizer. The sterilizer includes a box body, a battery, a sterilization module, a drive circuit, a control circuit, a display module and other parts. The portable multifunctional sterilizer of the invention can simultaneously realize the functions of hand-held surface sterilization, built-in sterilization of mobile terminals and mobile power supply, and has the characteristics of safety, portability, small size, simplicity and practicality.
Description
Technical Field
The invention belongs to the field of electronic products, and particularly relates to a portable multifunctional surface sterilization instrument which integrates the functions of the surface sterilization instrument, a mobile phone sterilization box and a mobile power supply.
Background
Harmful bacteria and viruses are the main intensive disease transmission, are tiny in size, are widely hidden on the surface layers of daily articles of people, such as mobile phones, computers, contact lenses, toothbrushes, tableware surfaces, beddings, towels, clothes, carpets, sofas and the like, and bring great health and safety hazards to the lives of people.
UVC ultraviolet sterilization is a physical process, and the genetic material DNA or RNA of bacteria and viruses is destroyed to inactivate the bacteria and the viruses, so that the sterilization efficiency is very high, and the UVC ultraviolet sterilization is nontoxic, harmless and residue-free. At present, an ultraviolet mercury lamp and a UVC LED are commonly used in the market for UVC ultraviolet sterilization. Research shows that the current UVC LED can kill nearly 100% of bacteria within 1s, and the effect is far better than that of the traditional ultraviolet mercury lamp. In addition, the Water good convention on Mercury requires that China forbids the production and import and export of products containing mercury from 2020. UVC LED replaces ultraviolet mercury lamp is the trend.
With the continuous improvement of living standard of people, the public pays particular attention to health and safety problems. The recent emergence of new pathogenic bacteria, fungi and virus transmission events, the emergence of common hotel hygiene problems and the like, makes public more appreciate the problem, and the demand of surface sterilization instruments is increasing.
However, some of the existing surface sterilizers have single function and large volume, need to be connected with a 220V power supply, are usually used as other independent products, and are difficult to adapt to the requirements of daily outworkers and business people for traveling and carrying. Therefore, a portable surface sterilizer with smaller volume and more functions, which is suitable for being carried in a trip, needs to be developed.
Disclosure of Invention
The invention provides a portable surface sterilization device which is small in size, multifunctional and self-powered, and overcomes the defects of the prior art.
In order to achieve the purpose, the technical scheme of the invention is as follows:
a portable multi-functional surface sterilizer comprising:
a box body, the upper surface of which is provided with an accommodating space;
the rechargeable power supply is positioned in the box body and below the accommodating space, and one end surface of the box body is provided with a charging port of the rechargeable battery;
the box cover is arranged on the upper surface of the box body in a turnover manner through the multifunctional connecting unit, the inner side of the box cover is provided with a light guide plate, and a sterilization light source is arranged inside the light guide plate or on the side surface of the light guide plate; the sterilizing light source is connected with a rechargeable power supply; the contact surfaces of the box body and the box cover are respectively provided with a first contact part and a second contact part, and the first contact part and the second contact part form a box cover and box body contact switch; the box cover is provided with two positions, namely a light guide plate outward position and a light guide plate inward position, relative to the box body through the multifunctional connecting unit;
the rechargeable power supply is connected with the voltage stabilizing circuit, the voltage stabilizing circuit is connected with the contact switch, the contact switch controls the two working circuits, the first working circuit is provided with a surface sterilization mode switch, the surface sterilization mode switch controls the constant current driving circuit, and the constant current driving circuit is connected with the sterilization light source; the second working circuit is provided with a sterilization box mode switch which controls a time delay closing circuit, the time delay closing circuit is connected with a constant current driving circuit, and the constant current driving circuit is connected with a sterilization light source;
the box body is also provided with a display screen or an indicator light, and one branch of the voltage stabilizing circuit is connected with the display screen or the indicator light; the sterilizing light source is also connected with the display screen or the indicator light.
Preferably, the multifunctional connecting unit comprises an upper fixing unit, a sleeve, a fixing shaft, a pivot body and a lower fixing unit, wherein:
the upper fixing unit is fixed at the lower edge of the box cover and is a fixing block, a left through shaft hole and a right through shaft hole are arranged near the lower edge, and a pivot body mounting hole is arranged in the middle part of the upper fixing unit;
the lower fixing unit comprises two fixing blocks fixed on the box body, namely a left fixing block positioned on the left side of the box body and a right fixing block positioned on the right side of the box body, and the distance between the left fixing block and the right fixing block is larger than or equal to the width of the left side and the right side of the upper fixing unit;
the sleeve is sleeved outside the fixed shaft, the sleeve and the fixed shaft can rotate relatively, the fixed shaft is a hollow cylinder, and the left end part and the right end part of the fixed shaft are respectively fixed on the two fixed blocks of the lower fixing unit;
the pin joint body comprises an upper pin joint body and a lower pin joint body, the upper end of the upper pin joint body is fixed on the upper fixing unit, the lower end of the lower pin joint body is fixed in the middle of the sleeve, and the lower end of the upper pin joint body is sleeved with the upper end of the lower pin joint body and can rotate relatively.
Preferably, the relative rotation angle between the upper pivot and the lower pivot is greater than or equal to 180 degrees and less than 360 degrees.
Preferably, the germicidal light source type includes a deep ultraviolet LED lamp or a fluorescent lamp.
Preferably, the box body and cover fixing unit is further included.
Preferably, the box body and box cover fixing unit is arranged at the edge of the box cover surface and comprises at least one of an adsorption magnet and a buckle type fixing structure.
Preferably, the bottom of the box body is provided with a telescopic belt for holding by hand.
The invention can not only realize the integration of a surface sterilization instrument, a mobile phone sterilization box, a mobile power supply and a storage function, but also realize the rotation and the turnover of the box cover, thereby realizing two sterilization working modes: a sterilization case mode (sterilization face inward) and a surface sterilization mode (sterilization face outward). In the non-sterilization mode, the sterilization instrument can be used as a common mobile power supply and a small article storage box and used for supplying power to electronic equipment such as a mobile phone and the like and storing portable small articles such as a mobile phone card, a key, a certificate, a business card, jewelry and the like.
Drawings
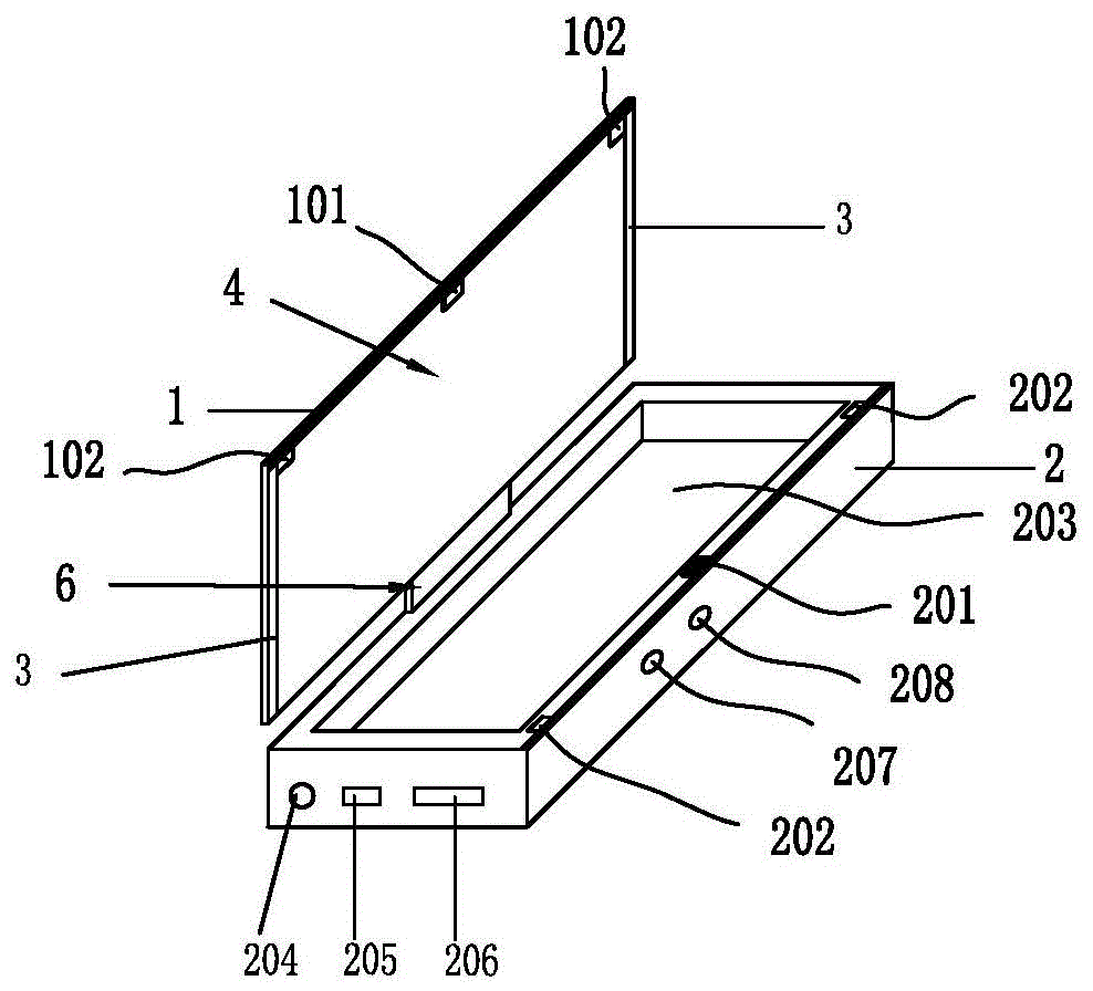
FIG. 1 is a schematic structural diagram of a portable multifunctional surface sterilizer (UVC LED is taken as an example) according to the present invention,
FIG. 2 is a schematic view of the back of the portable multifunctional surface sterilizer.
FIG. 3 is a surface sterilization mode of the portable multifunctional surface sterilizer.
FIG. 4 is a schematic structural view of the multi-functional connection unit;
fig. 5 is a schematic circuit diagram of the present invention.
In the figure: 1-rotatable turnover box cover, 2-box body with groove, 3-UVC LED lamp array, 4-LED light guide plate, 6-multifunctional connecting unit and 7-shrinkage band
Detailed Description
The portable multifunctional surface sterilizer and the sterilization method thereof according to the present invention will be described in detail with reference to the accompanying drawings.
Referring to fig. 1 to 3, fig. 1 is a schematic structural view of a multifunctional portable sterilizer (using UVC LED as an example) according to the present invention, which includes a case cover 1 having a sterilization function and a case body 2 having an energy storage function and a control function.
Specifically, lid 1 has the function of disinfecting, mainly realizes through two integrated UVC LED lamps 3 of the both sides about lid 1, and the optical wavelength that the LED lamp sent is 265 sand 280nm, realizes the evenly distributed of UVC ultraviolet ray on the lid medial surface through the LED light guide plate 4 that is located lid 1 inboard, two LED lamps 3 between. The edge of the box cover 1, the inner sides of the two ends far away from the box body are respectively provided with a first magnet 102 which is matched with two corresponding second magnets 202 of the box body 2, so as to open or close the box body. In other embodiments, the second magnet 202 or the first magnet 102 may be replaced by metal. In other embodiments, the fixing of the box cover 1 and the box body 2 can also be realized through a snap-in structure.
The inner edge of the upper side of the box cover 1 is provided with a contact protection switch 101 which is matched with a contact part 201 at a corresponding position of the box body, and under the condition that the contact part is not contacted, the UVC LED circuit keeps an open circuit state.
Specifically, the upper surface of the box body 2 is provided with a groove 203, and one side of the surface is provided with a sterilization control button 205, an indicator light or a display screen 204 and a USB charging and discharging interface 206, wherein the USB charging and discharging interface 206 is connected with a rechargeable power supply (not shown) inside the box body. The bottom of the box body 2 is provided with a telescopic belt 7 which is convenient to hold.
The box cover 1 and the box body 2 are connected through a multifunctional connecting unit 6. Referring to fig. 4, the multi-function connection unit 6 includes an upper fixing unit 610, a sleeve 620, a fixing shaft 630, a pivot 640, and a lower fixing unit 650. Wherein:
the upper fixing unit 610 is fixed at the lower edge of the box cover 1, and is a fixing block, a left-right through shaft hole 611 is arranged near the lower edge, a pivot body mounting hole 612 penetrating from the bottom to the inside of the box cover 1 is arranged at the middle part, and two screw holes (an upper fixing hole 614 and a lower fixing hole 613) are arranged outside the pivot body mounting hole 612. In other embodiments, the pivot mounting hole 612 may be a cover-type fixing, that is, the upper fixing unit 610 has a fixing cover on the front or back surface, and the fixing cover is opened to expose or hide all or part of the pivot mounting hole 612, so as to facilitate the mounting of the pivot 640.
The lower fixing unit 650 includes two fixing blocks fixed to the case 2, a left fixing block 651 positioned at the left side of the case 2 and a right fixing block 652 positioned at the right side of the case 2, respectively, and a distance between the left and right fixing blocks is greater than or equal to a width of the left and right sides of the upper fixing unit 610. Shaft fixing holes 653 are respectively formed on the right side of the left fixing block and the left side of the right fixing block.
The sleeve 620 is sleeved outside the fixing shaft 630, the fixing shaft 630 and the fixing shaft 630 can rotate relatively, the fixing shaft 630 is a hollow cylinder, the cross sections of the end parts of the left end and the right end are square, and the size of the end part of the fixing shaft is matched with that of the shaft fixing hole 653.
The pivot 640 includes an upper pivot 641 and a lower pivot 642, wherein the upper end of the upper pivot 641 is fixed to the upper fixing unit, the lower end of the lower pivot 642 is fixed to the middle of the sleeve 620 by a screw 643, and the lower end of the upper pivot 641 and the upper end of the lower pivot 642 are sleeved to be able to rotate relatively.
When assembled, the fixing shaft 630 is fixed between the lower fixing units 650, and the sleeve 620 is rotatable with respect to the fixing shaft 630. Therefore, the cover 1 can rotate back and forth with respect to the case 2. The upper end of the upper pivot 641 is fixed to the upper fixing unit, the lower end of the lower pivot 642 is fixed to the middle of the sleeve 620 by a screw 643, and the lower end of the upper pivot 641 and the upper end of the lower pivot 642 are sleeved to be able to rotate relatively. Therefore, the cover 1 can rotate about the pivot 640 with respect to the case 2. Preferably, the rotation angle between the upper and lower pivoting bodies may be set to 180 degrees or slightly larger by the limiting means. The limiting device can adopt a known technology, for example, two limiting blocks are respectively arranged on the lower edge of the upper pivoting body and the upper edge of the lower pivoting body, and after the upper pivoting body and the lower pivoting body are rotated to a set angle, the limiting blocks are contacted with each other to limit the position.
Referring to fig. 5, the method for using the portable multifunctional surface sterilizer comprises the following steps:
1) sterilization box mode: the object to be sterilized is placed in the accommodating space (the groove 203) of the box body, the box cover 1 is closed, and the surface where the LED light guide plate 4 is located faces the groove 203. The contact protection switch 101 of the box cover is in contact with the contact part 201 of the box body to enable the contact switch of the box cover and the box body to be conducted, then the sterilization box mode switch 207 (switch signal 2) on the side face of the box body is turned on, the surface of the article in the box body is started to be sterilized, the indicator lamp or the display screen 204 displays sterilization, meanwhile, the time delay circuit works, after sterilization is carried out for a period of time, the sterilization is automatically stopped under the control of the time delay closing circuit, and the indicator lamp or the display screen 204 displays sterilization stop;
(2) surface sterilizer mode: the lid sterilization face outwards closes and is fixed with the box body through magnet, it needs the object surface of being disinfected to hand and with lid leaded light face contact through back telescopic band 7, open the surface sterilization mode switch 208 of box body side, begin surface sterilization, pilot lamp or display screen 204 show to disinfect, manual switch of once more after the end, then the bactericidal process stops immediately, pilot lamp or display screen 204 show to disinfect simultaneously and stop, close the lid rotation inwards after the end, avoid the switch to touch by mistake and lead to harm, as figure 2 and figure 3.
Wherein, the process that the sterilization surface of the box cover 1 faces outwards is as follows: the box cover 1 is turned over to 90 degrees with the box body 2 by taking the fixing shaft 630 as an axis, then the box cover 1 is rotated by taking the pivot body 640 as an axis, after the box cover 1 is rotated by 180 degrees, the sterilization surface (the surface where the LED and the light guide plate are located) of the box cover 1 faces outwards, and then the box cover 1 is closed by taking the fixing shaft 630 as an axis.
(3) In the storage mode, the sterilizer can be used as a common small article storage box for storing portable small articles such as memory cards, earphones, keys, certificates, business cards, jewelry and the like.
(4) And in the charging mode, a built-in rechargeable power supply supplies power to electronic equipment such as a mobile phone and the like through a USB charging port.
Claims (7)
Priority Applications (1)
| Application Number | Priority Date | Filing Date | Title |
|---|---|---|---|
| CN201910419180.XA CN110124068B (en) | 2019-05-20 | 2019-05-20 | Portable multifunctional surface sterilization instrument |
Applications Claiming Priority (1)
| Application Number | Priority Date | Filing Date | Title |
|---|---|---|---|
| CN201910419180.XA CN110124068B (en) | 2019-05-20 | 2019-05-20 | Portable multifunctional surface sterilization instrument |
Publications (2)
| Publication Number | Publication Date |
|---|---|
| CN110124068A CN110124068A (en) | 2019-08-16 |
| CN110124068B true CN110124068B (en) | 2020-04-10 |
Family
ID=67571671
Family Applications (1)
| Application Number | Title | Priority Date | Filing Date |
|---|---|---|---|
| CN201910419180.XA Active CN110124068B (en) | 2019-05-20 | 2019-05-20 | Portable multifunctional surface sterilization instrument |
Country Status (1)
| Country | Link |
|---|---|
| CN (1) | CN110124068B (en) |
Families Citing this family (2)
| Publication number | Priority date | Publication date | Assignee | Title |
|---|---|---|---|---|
| CN111214678A (en) * | 2020-03-17 | 2020-06-02 | 珠海横琴雅茵创意科技有限公司 | A kind of portable sterilization box and operation method |
| CN112190732A (en) * | 2020-10-22 | 2021-01-08 | 厦门伟然科技有限公司 | Portable multi-kinetic energy sterilization device |
Citations (3)
| Publication number | Priority date | Publication date | Assignee | Title |
|---|---|---|---|---|
| CN204261071U (en) * | 2014-11-10 | 2015-04-15 | 南阳医学高等专科学校第一附属医院 | A kind of temperature automatically controlled disinfecting box of medical appliance |
| CN205345637U (en) * | 2016-03-01 | 2016-06-29 | 张美华 | Portable panty hose receiver |
| CN206630920U (en) * | 2016-12-07 | 2017-11-14 | 深圳市海司恩科技有限公司 | UV LED jewellery sterilizing boxes |
Family Cites Families (1)
| Publication number | Priority date | Publication date | Assignee | Title |
|---|---|---|---|---|
| US9586837B2 (en) * | 2013-07-15 | 2017-03-07 | American Water Works Company, Inc. | Disinfection of water mains using ultraviolet light |
-
2019
- 2019-05-20 CN CN201910419180.XA patent/CN110124068B/en active Active
Patent Citations (3)
| Publication number | Priority date | Publication date | Assignee | Title |
|---|---|---|---|---|
| CN204261071U (en) * | 2014-11-10 | 2015-04-15 | 南阳医学高等专科学校第一附属医院 | A kind of temperature automatically controlled disinfecting box of medical appliance |
| CN205345637U (en) * | 2016-03-01 | 2016-06-29 | 张美华 | Portable panty hose receiver |
| CN206630920U (en) * | 2016-12-07 | 2017-11-14 | 深圳市海司恩科技有限公司 | UV LED jewellery sterilizing boxes |
Also Published As
| Publication number | Publication date |
|---|---|
| CN110124068A (en) | 2019-08-16 |
Similar Documents
| Publication | Publication Date | Title |
|---|---|---|
| US10549001B2 (en) | System and device for sanitizing personal use items | |
| CN107708744A (en) | Systems for storing and sterilizing complex devices | |
| CN110124068B (en) | Portable multifunctional surface sterilization instrument | |
| US20210402024A1 (en) | UVC-LED light technology integrated for use in cell phone and tablets. | |
| CN108337351A (en) | Mobile phone shell | |
| RU2505735C1 (en) | Ultraviolet steriliser for portable digital devices and accessories | |
| CN209405305U (en) | A kind of hand-held ultraviolet sterilizer | |
| CN105146889A (en) | Mobile terminal case with disinfection function | |
| CN207755576U (en) | A kind of Novel microphone sterilizer | |
| CN212997541U (en) | A UV disinfection package | |
| CN213076697U (en) | A bag with disinfection and sterilization function | |
| CN204951700U (en) | UVLED cell -phone disinfection box with solar charging function | |
| CN206261855U (en) | Ultraviolet Sterilization Box | |
| CN204481532U (en) | A sterilizing and charging integrated charging treasure | |
| CN213191373U (en) | Sterilization box structure | |
| CN211797858U (en) | Disinfection of taking touch-sensitive screen structure removes flavor package | |
| CN213096561U (en) | A handbag with ultraviolet lamp disinfection function | |
| KR20110004615A (en) | UV lamp built-in mobile phone | |
| CN213881654U (en) | Portable storage disinfection box | |
| KR101597120B1 (en) | Portable sterilizer with charging function | |
| CN213553925U (en) | Sterilizing instrument | |
| CN212845246U (en) | Air quality detector with sterilization and disinfection functions | |
| CN210351571U (en) | Self-disinfection type Bluetooth earphone | |
| CN211157474U (en) | Sterilizing and deodorizing bag | |
| CN212973654U (en) | Multifunctional disinfection box |
Legal Events
| Date | Code | Title | Description |
|---|---|---|---|
| PB01 | Publication | ||
| PB01 | Publication | ||
| SE01 | Entry into force of request for substantive examination | ||
| SE01 | Entry into force of request for substantive examination | ||
| GR01 | Patent grant | ||
| GR01 | Patent grant |
