CN108877491B - A warning device for highway road maintenance - Google Patents

A warning device for highway road maintenance Download PDF

Info

Publication number
CN108877491B
CN108877491B CN201810773787.3A CN201810773787A CN108877491B CN 108877491 B CN108877491 B CN 108877491B CN 201810773787 A CN201810773787 A CN 201810773787A CN 108877491 B CN108877491 B CN 108877491B
Authority
CN
China
Prior art keywords
fixedly connected
plate
rod
limiting
fixing
Prior art date
Legal status (The legal status is an assumption and is not a legal conclusion. Google has not performed a legal analysis and makes no representation as to the accuracy of the status listed.)
Active
Application number
CN201810773787.3A
Other languages
Chinese (zh)
Other versions
CN108877491A (en
Inventor
王晋宝
田美灵
李纯
Current Assignee (The listed assignees may be inaccurate. Google has not performed a legal analysis and makes no representation or warranty as to the accuracy of the list.)
Zhejiang Ocean University ZJOU
Original Assignee
Zhejiang Ocean University ZJOU
Priority date (The priority date is an assumption and is not a legal conclusion. Google has not performed a legal analysis and makes no representation as to the accuracy of the date listed.)
Filing date
Publication date
Application filed by Zhejiang Ocean University ZJOU filed Critical Zhejiang Ocean University ZJOU
Priority to CN201810773787.3A priority Critical patent/CN108877491B/en
Publication of CN108877491A publication Critical patent/CN108877491A/en
Application granted granted Critical
Publication of CN108877491B publication Critical patent/CN108877491B/en
Active legal-status Critical Current
Anticipated expiration legal-status Critical

Links

Images

Classifications

    • GPHYSICS
    • G09EDUCATION; CRYPTOGRAPHY; DISPLAY; ADVERTISING; SEALS
    • G09FDISPLAYING; ADVERTISING; SIGNS; LABELS OR NAME-PLATES; SEALS
    • G09F7/00Signs, name or number plates, letters, numerals, or symbols; Panels or boards
    • G09F7/18Means for attaching signs, plates, panels, or boards to a supporting structure
    • G09F7/20Means for attaching signs, plates, panels, or boards to a supporting structure for adjustably mounting
    • GPHYSICS
    • G09EDUCATION; CRYPTOGRAPHY; DISPLAY; ADVERTISING; SEALS
    • G09FDISPLAYING; ADVERTISING; SIGNS; LABELS OR NAME-PLATES; SEALS
    • G09F7/00Signs, name or number plates, letters, numerals, or symbols; Panels or boards
    • G09F7/18Means for attaching signs, plates, panels, or boards to a supporting structure
    • GPHYSICS
    • G09EDUCATION; CRYPTOGRAPHY; DISPLAY; ADVERTISING; SEALS
    • G09FDISPLAYING; ADVERTISING; SIGNS; LABELS OR NAME-PLATES; SEALS
    • G09F7/00Signs, name or number plates, letters, numerals, or symbols; Panels or boards
    • G09F7/18Means for attaching signs, plates, panels, or boards to a supporting structure
    • G09F2007/1856Means for attaching signs, plates, panels, or boards to a supporting structure characterised by the supporting structure

Landscapes

  • Physics & Mathematics (AREA)
  • General Physics & Mathematics (AREA)
  • Engineering & Computer Science (AREA)
  • Theoretical Computer Science (AREA)
  • Road Signs Or Road Markings (AREA)

Abstract

本发明涉及公路警示装置技术领域,尤其涉及一种公路道路维修用警示装置,包括底座,底座的顶部通过第二轴承活动连接有第二转杆,第二转杆的顶部固定连接有第一固定板,第一固定板的顶部固定连接有警示牌,第一固定板顶部的侧面固定连接有把手,警示牌的顶部固定连接有第二固定板,第二固定板的顶部活动连接有固定杆,固定杆的顶部固定连接有太阳能电池板,第二固定板顶部的侧面固定连接有蓄电池,底板的侧面固定连接有固定装置,固定装置的侧面固定连接有限位装置。本发明通过调节固定装置使固定装置与第一固定板分离,通过限位装置对固定装置进行限位,方便了对警示牌的角度进行调节,使警示牌方便对驾驶员进行警示。

Figure 201810773787

The invention relates to the technical field of highway warning devices, in particular to a warning device for highway road maintenance, comprising a base, the top of the base is movably connected with a second rotating rod through a second bearing, and the top of the second rotating rod is fixedly connected with a first fixed rod The top of the first fixed plate is fixedly connected with a warning sign, the side of the top of the first fixed plate is fixedly connected with a handle, the top of the warning sign is fixedly connected with a second fixed plate, and the top of the second fixed plate is movably connected with a fixed rod, A solar panel is fixedly connected to the top of the fixing rod, a battery is fixedly connected to the side of the top of the second fixing plate, a fixing device is fixedly connected to the side of the bottom plate, and a limiting device is fixedly connected to the side of the fixing device. In the present invention, the fixing device is separated from the first fixing plate by adjusting the fixing device, and the fixing device is limited by the limiting device, which facilitates the adjustment of the angle of the warning sign and makes it convenient for the warning sign to warn the driver.

Figure 201810773787

Description

Warning device for highway road maintenance
Technical Field
The invention relates to the technical field of highway warning devices, in particular to a warning device for highway road maintenance.
Background
The literal meaning of the highway is public road, public traffic road, vehicles such as cars, bicycles, rickshaws, horses and the like and pedestrians can walk, the early highway is not limited, most roads are simple roads, different roads have different limitations later, as the traffic is developed increasingly, the limited roads are more and more, especially, some highways are used by cars, and the highway is developed and is used by cars in a closed way in the whole course.
The warning boards are generally prevented from being arranged at two ends of a maintenance section in the road maintenance process, so that accidents caused by vehicles entering the road maintenance section by mistake are prevented, and the warning boards are generally powered by solar energy in remote areas in the road maintenance section, so that drivers can be reminded conveniently, but the existing warning boards have certain defects.
As compared with patent No. 1: CN 201710661799.2A warning board for road construction, comprising a warning board body, a ventilation hole is provided at the center of the surface of the warning board body, a line indicating frame and a road construction warning sign are respectively provided at the two sides of the ventilation hole on the surface of the warning board body, a line display power line is fixed inside the line indicating frame, and small colored lamps are connected at equal intervals on the line display power line, reflective warning strips are symmetrically sprayed on the upper and lower frames of the surface of the warning board body, a solar energy electroplax is welded at the top of the warning board body through a supporting frame, supporting legs are welded at the bottom of the warning board body, an auxiliary supporting rod is connected on the horizontal central line at the back of the warning board body through a rotating connecting shaft, the bottom of the auxiliary supporting rod is connected with the bottom of the supporting legs through a bottom connecting rod, a positioning pin for adjusting, through being equipped with the line indication frame, can instruct the road of construction through inside line display power cord of line indication frame and little color lamp, thereby make things convenient for the past personnel to know the length and the position of construction road in detail, so as to detour, thereby make the information of this warning sign for road construction warning more comprehensive, secondly, through being equipped with the bottom connecting rod, can adjust auxiliary support pole's angle through the bottom connecting rod, thereby make this warning sign for road construction support more stably, and seted up the ventilation hole on the warning sign body, can ventilate, thereby reduce the resistance, make this warning sign for road construction stability stronger.
Reference 2 patent No.: CN 201621338183.9A warning sign for road construction, comprising a warning board marked with warning words, characterized in that a triangular display screen is arranged above the warning board, warning signs are preset on the triangular display screen, the triangular display screen is connected with the warning board through a telescopic column, a high beam is arranged at the top of the triangular display screen, a light barrier is arranged between the high beam and the triangular display screen, a base is connected below the warning board, a loudspeaker is arranged on a connecting column between the warning board and the base, warning voice is recorded in the loudspeaker, a cleaning device of the warning board is arranged on the base, the cleaning device comprises a rotary nozzle provided with at least two nozzles, the rotary nozzle is arranged in a groove, the groove is positioned on the upper surface of the base, a plurality of rollers are arranged at the bottom of the base, and a sucker for fixing the base is arranged at the bottom of the base, install the chuck between sucking disc and the base, chuck and sucking disc swing joint, a plurality of LED lamp pearls are installed to the both sides of warning sign, have set up belt cleaning device in warning sign department, keep the warning sign totally can improve the degree of distinguishing of warning sign, and the warning sign generally adopts bright-colored colour, keeps the bright-colored degree warning effect of warning sign colour better.
Above-mentioned two warning boards have all fine reached the effect of warning the driver, but when the angle to the warning board was adjusted and is made things convenient for the driver to watch, often need adjust the angle of base, and not only waste time and energy like this, and intensity of labour is great, especially hardly adjusts the angle of warning board at the uneven angle in highway maintenance highway section road surface.
Disclosure of Invention
Technical problem to be solved
Aiming at the defects of the prior art, the invention provides a warning device for road maintenance, which solves the problems that the angle of a warning board of the conventional warning device is inconvenient to adjust, and the angle of a base is often required to be adjusted when the warning board is required to be adjusted.
(II) technical scheme
In order to achieve the purpose, the invention provides the following technical scheme: the utility model provides a warning device for highway road maintenance, includes the base, the side fixedly connected with mount of base, the top fixedly connected with that base one side was kept away from to the mount pushes away the handle, there is a first bull stick bottom of base through first bearing swing joint, the bottom fixedly connected with gyro wheel of first bull stick.
The top fixedly connected with bottom plate of base, there is the second bull stick at the top of bottom plate through second bearing swing joint, the first fixed plate of top fixedly connected with of second bull stick, the top fixedly connected with mounting panel of first fixed plate, the positive fixedly connected with warning sign of mounting panel, the side fixedly connected with handle at first fixed plate top, the top fixedly connected with second fixed plate of mounting panel, the top swing joint of second fixed plate has the dead lever, the top fixedly connected with solar cell panel of dead lever, the side fixedly connected with battery at second fixed plate top, the side fixedly connected with fixing device of bottom plate.
The fixing device comprises a fixing column, an inserting rod is inserted into the top of the fixing column, the top of the inserting rod is inserted into the slot formed in the bottom of a first fixing plate, the inserting rod is located in a sliding plate fixedly connected with one end of the inside of the fixing column, the bottom of the sliding plate is connected with a connecting rod in a penetrating and movable mode, the top of the connecting rod is connected with the bottom of the inserting rod in a penetrating mode and movably connected with the inserting rod, a first spring is sleeved on the outer surface of the connecting rod, the inserting rod is located in a pressing plate fixedly connected with the outer surface of one end of the inside of the fixing column, one end, far away from the inserting rod, of the pressing plate penetrates through a sliding groove formed in the side face of the.
The limiting device comprises a clamping plate, the clamping plate is fixedly connected to the bottom of the pressing plate, a limiting box is fixedly connected to the outer surface of the fixed column, the bottom of the clamping plate penetrates through the top of the limiting box and is movably connected with the limiting box, a limiting rod is inserted into one side, away from the fixed column, of the limiting box, one end, close to the clamping plate, of the limiting rod is inserted into the limiting groove formed in the side face of the clamping plate, a baffle is fixedly connected to the middle of the limiting box, the limiting rod is located in a connecting block fixedly connected to the outer surface, away from one side of the clamping plate, of the baffle, a second spring is fixedly connected to one side, away from the baffle, of.
Preferably, the side face of the sliding plate is movably connected with the inner wall of the fixed column through a sliding rail, the sliding rail is fixedly connected with the inner wall of the fixed column, and the top of the sliding rail is fixedly connected with a limiting block.
Preferably, the outer surface of the top of the inserted bar is fixedly connected with a limiting plate, and the limiting plate is located below the first fixing plate.
Preferably, the outer surface of the pushing handle is sleeved with a first rubber sleeve, and the outer surface of the first rubber sleeve is provided with anti-skid grains.
Preferably, one end of the limiting rod, which is far away from the limiting box, is fixedly connected with a pull ring, and the pull ring is circular in shape.
Preferably, the outer surface of the pull ring is sleeved with a second rubber sleeve, and the outer surface of the second rubber sleeve is provided with anti-skid grains.
(III) advantageous effects
The invention provides a warning device for highway road maintenance, which has the following beneficial effects:
(1) this warning device for highway road maintenance, when needs rotate the warning sign, make the clamp plate drive the inserted bar through pushing down the clamp plate and descend, make inserted bar and jack separation, when the position coincidence of spacing groove and gag lever post, the effect that resets at the second spring makes grafting of gag lever post and spacing groove, made things convenient for to carry on spacingly to the inserted bar, prevent that the inserted bar from influencing the rotation of first fixed plate, handheld handle rotates first fixed plate, made things convenient for the angle to the warning sign to adjust, make the warning sign convenient warn the driver, make things convenient for watching of driver.
(2) This warning device for highway road maintenance, after the angular adjustment of warning sign is accomplished, pull the pull ring and make gag lever post and spacing groove separation make the slide drive the inserted bar and rise under the reset action of first spring and make inserted bar and jack peg graft, made things convenient for and carried on spacingly to first fixed plate, increased the stability of first fixed plate, prevent that the rotatory warning effect that influences the warning sign that wind will warn the sign and blow.
(3) This warning device for highway road maintenance has made things convenient for solar energy transformation to the electric energy through solar cell panel, has made things convenient for the storage to the electric quantity through the battery, conveniently supplies power to the warning sign, has energy-conserving advantage, pushes away through promoting to make the gyro wheel drive the base and remove, has made things convenient for to remove the warning sign, has made things convenient for the direction of gyro wheel removal to adjust at the primary shaft bearing internal rotation through first bull stick.
Drawings
FIG. 1 is a schematic structural view of the present invention;
FIG. 2 is a schematic view of the structure of portion A of FIG. 1 according to the present invention;
FIG. 3 is a schematic view of the fixing device of FIG. 1 according to the present invention;
FIG. 4 is a schematic view of the structure of portion B of FIG. 3 according to the present invention;
fig. 5 is a bottom view of the first fixing plate of fig. 1 according to the present invention.
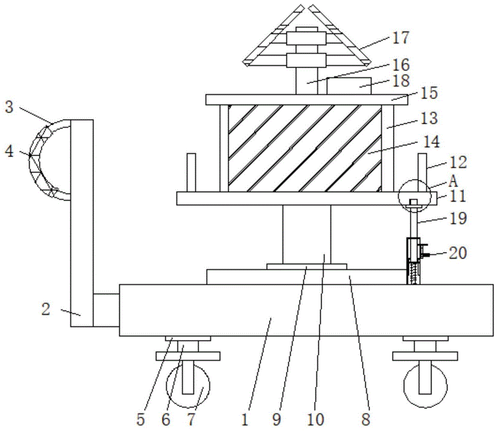
In the figure: the solar battery pack comprises a base 1, a fixing frame 2, a push handle 3, a first rubber sleeve 4, a first bearing 5, a first rotating rod 6, a roller 7, a bottom plate 8, a second bearing 9, a second rotating rod 10, a first fixing plate 11, a handle 12, a mounting plate 13, a warning board 14, a second fixing plate 15, a fixing rod 16, a solar battery panel 17, a storage battery 18, a fixing device 19, a fixing column 191, an insertion rod 192, a limiting plate 193, a sliding plate 194, a connecting rod 195, a first spring 196, a sliding rail 197, a limiting block 198, a pressing plate 199, a limiting device 20, a clamping plate 201, a limiting box 202, a limiting groove 203, a limiting rod 204, a baffle 205, a connecting block 206, a second spring 207, a pull ring 208, a second rubber sleeve 209 and a jack 21.
Detailed Description
As shown in fig. 1 to 5, the present invention provides a technical solution: the utility model provides a warning device for highway road maintenance, including base 1, base 1's side fixedly connected with mount 2, mount 2 keeps away from the top fixedly connected with of base 1 one side and pushes away 3, the surface that pushes away 3 has cup jointed first rubber sleeve 4, anti-skidding line has been seted up to the surface of first rubber sleeve 4, the comfort level that 3 was pushed away in the promotion has been increased through first rubber sleeve 4, base 1's bottom has first bull stick 6 through 5 swing joint of first bearing, the bottom fixedly connected with gyro wheel 7 of first bull stick 6.
The top of the base 1 is fixedly connected with a bottom plate 8, the top of the bottom plate 8 is movably connected with a second rotating rod 10 through a second bearing 9, the top of the second rotating rod 10 is fixedly connected with a first fixing plate 11, the top of the first fixing plate 11 is fixedly connected with a mounting plate 13, the front of the mounting plate 13 is fixedly connected with a warning board 14, the side of the top of the first fixing plate 11 is fixedly connected with a handle 12, the top of the mounting plate 13 is fixedly connected with a second fixing plate 15, the top of the second fixing plate 15 is movably connected with a fixing rod 16, the top of the fixing rod 16 is fixedly connected with a solar cell panel 17, the side of the top of the second fixing plate 15 is fixedly connected with a storage battery 18, the solar energy is converted into electric energy through the solar cell panel 17, the storage battery 18 is convenient for storing electric quantity, the warning board 14 is convenient for supplying power, the energy is saved, the warning board 14 is convenient to move, the direction of the moving of the roller 7 is convenient to adjust through the rotation of the first rotating rod 6 in the first bearing 5, and the side face of the bottom plate 8 is fixedly connected with a fixing device 19.
The fixing device 19 comprises a fixing column 191, an inserting rod 192 is inserted into the top of the fixing column 191, the top of the inserting rod 192 is inserted into a slot 21 formed in the bottom of a first fixing plate 11, a limiting plate 193 is fixedly connected to the outer surface of the top of the inserting rod 192, the limiting plate 193 is located below the first fixing plate 11, the ascending distance of the inserting rod 192 is limited by the limiting plate 193, a sliding plate 194 is fixedly connected to one end of the inserting rod 192 located inside the fixing column 191, a connecting rod 195 penetrates through and is movably connected to the bottom of the sliding plate 194, the top of the connecting rod 195 penetrates through the bottom of the inserting rod 192 and is movably connected with the inserting rod 192, a first spring 196 is sleeved on the outer surface of the connecting rod 195, a pressing plate 199 is fixedly connected to the outer surface of one end of the inserting rod 192 located inside the fixing column 191, one end of the pressing plate 199 far away from the inserting rod 192 penetrates through a sliding slot, slide rail 197 and fixed column 191's inner wall fixed connection, the top fixedly connected with stopper 198 of slide rail 197 has injectd the scope that slide 194 rises through stopper 198, and the bottom fixedly connected with stop device 20 that clamp plate 199 is located fixed column 191 outside one end.
The limiting device 20 comprises a clamping plate 201, the clamping plate 201 is fixedly connected to the bottom of the pressing plate 199, a limiting box 202 is fixedly connected to the outer surface of the fixed column 191, the bottom of the clamping plate 201 penetrates through the top of the limiting box 202 and is movably connected with the limiting box 202, a limiting rod 204 is inserted into one side, far away from the fixed column 191, of the limiting box 202, one end, close to the clamping plate 201, of the limiting rod 204 is inserted into a limiting groove 203 formed in the side surface of the clamping plate 201, a baffle 205 is fixedly connected to the middle of the limiting box 202, a connecting block 206 is fixedly connected to the outer surface, located on one side, far away from the clamping plate 201, of the limiting rod 204, a second spring 207 is fixedly connected to one side, far away from the baffle 205, of the connecting block 206, the second spring 207 is sleeved on the outer surface of the limiting rod 204, when the warning board 14 needs to be rotated, the pressing plate 199 is used for, the insertion of the limiting rod 204 and the limiting groove 203 is facilitated by the resetting effect of the second spring 207, the limitation of the insertion rod 192 is facilitated, the insertion rod 192 is prevented from influencing the rotation of the first fixing plate 11, the handle 12 is held by hand to rotate the first fixing plate 11, the angle of the warning board 14 is facilitated to be adjusted, the warning board 14 is facilitated to warn a driver, the driver can conveniently watch the warning board, a pull ring 208 is fixedly connected to one end of the limiting rod 204, which is far away from the limiting box 202, the pull ring 208 is circular, a second rubber sleeve 209 is sleeved on the outer surface of the pull ring 208, anti-skid lines are arranged on the outer surface of the second rubber sleeve 209, when the angle of the warning board 14 is adjusted, the pull ring 208 is pulled to separate the limiting rod 204 from the limiting groove 203, the sliding plate 194 drives the insertion rod 192 to rise under the resetting effect of the first spring 196 to enable the insertion rod 192 to be inserted into the insertion hole 21, and the limitation of, the stability of first fixed plate 11 has been increased, and the rotation that prevents that wind from blowing warning sign 14 influences warning sign 14's warning effect.
The electrical components presented in the document are all electrically connected with an external master controller and 220V mains, and the master controller can be a conventional known device controlled by a computer or the like.
The working principle is as follows: when warning sign 14 need be rotated, pulling pull ring 208 makes gag lever post 204 and spacing groove 203 separate, push down clamp 199 and make clamp 199 drive inserted bar 192 descend, make inserted bar 192 and jack 21 separate, when spacing groove 203 and gag lever post 204's position coincide, the effect that resets at second spring 207 makes the grafting of gag lever post 204 and spacing groove 203, made things convenient for spacing to inserted bar 192, prevent that inserted bar 192 from influencing the rotation of first fixed plate 11, handheld handle 12 rotates first fixed plate 11, made things convenient for the angle to warning sign 14 to adjust.
After the angle adjustment of the warning board 14 is completed, the pull ring 208 is pulled to separate the limiting rod 204 from the limiting groove 203, so that the sliding plate 194 drives the insertion rod 192 to ascend under the reset action of the first spring 196 to enable the insertion rod 192 to be inserted into the insertion hole 21, the first fixing plate 11 is convenient to limit, the stability of the first fixing plate 11 is improved, and the warning effect of the warning board 14 is prevented from being influenced by the rotation of the warning board 14 blown by wind.
The solar panel 17 is convenient for converting solar energy into electric energy, the storage battery 18 is convenient for storing electric quantity, the warning board 14 is convenient to supply power, and the solar energy warning device has the advantage of energy conservation.

Claims (1)

1. The utility model provides a warning device for highway road maintenance, includes base (1), its characterized in that: a fixed frame (2) is fixedly connected to the side face of the base (1), a push handle (3) is fixedly connected to the top of one side, away from the base (1), of the fixed frame (2), a first rotating rod (6) is movably connected to the bottom of the base (1) through a first bearing (5), and a roller (7) is fixedly connected to the bottom of the first rotating rod (6); the top of the base (1) is fixedly connected with a bottom plate (8), the top of the bottom plate (8) is movably connected with a second rotating rod (10) through a second bearing (9), the top of the second rotating rod (10) is fixedly connected with a first fixing plate (11), the top of the first fixing plate (11) is fixedly connected with a mounting plate (13), the front surface of the mounting plate (13) is fixedly connected with a warning board (14), the side surface of the top of the first fixing plate (11) is fixedly connected with a handle (12), the top of the mounting plate (13) is fixedly connected with a second fixing plate (15), the top of the second fixing plate (15) is movably connected with a fixing rod (16), the top of the fixed rod (16) is fixedly connected with a solar panel (17), a storage battery (18) is fixedly connected to the side surface of the top of the second fixing plate (15), and a fixing device (19) is fixedly connected to the side surface of the bottom plate (8);
the fixing device (19) comprises a fixing column (191), an inserting rod (192) is inserted into the top of the fixing column (191), the top of the inserting rod (192) is inserted into a slot (21) formed in the bottom of a first fixing plate (11), one end, located inside the fixing column (191), of the inserting rod (192) is fixedly connected with a sliding plate (194), the bottom of the sliding plate (194) is connected with a connecting rod (195) in a penetrating and movable mode, the top of the connecting rod (195) is connected with the bottom of the inserting rod (192) in a penetrating and movable mode, a first spring (196) is sleeved on the outer surface of the connecting rod (195), a pressing plate (199) is fixedly connected to the outer surface of one end, located inside the fixing column (191), of the pressing plate (199) far away from the inserting rod (192) penetrates through a sliding groove formed in the side face of the fixing column (191) and is movably connected with the fixing column (191), the bottom of one end of the pressure plate (199) positioned at the outer side of the fixed column (191) is fixedly connected with a limiting device (20); the limiting device (20) comprises a clamping plate (201), the clamping plate (201) is fixedly connected to the bottom of a pressing plate (199), a limiting box (202) is fixedly connected to the outer surface of a fixing column (191), the bottom of the clamping plate (201) penetrates through the top of the limiting box (202) and is movably connected with the limiting box (202), a limiting rod (204) is inserted into one side, away from the fixing column (191), of the limiting box (202), one end, close to the clamping plate (201), of the limiting rod (204) is inserted into a limiting groove (203) formed in the side face of the clamping plate (201), a baffle (205) is fixedly connected to the middle of the limiting box (202), a connecting block (206) is fixedly connected to the outer surface, located on one side, away from the clamping plate (201), of the baffle (205), of the limiting rod (204), and a second spring (207) is fixedly connected to one side, away from the, the second spring (207) is sleeved on the outer surface of the limiting rod (204);
the side surface of the sliding plate (194) is movably connected with the inner wall of the fixed column (191) through a sliding rail (197), the sliding rail (197) is fixedly connected with the inner wall of the fixed column (191), and the top of the sliding rail (197) is fixedly connected with a limiting block (198);
the outer surface of the top of the inserted rod (192) is fixedly connected with a limiting plate (193), and the limiting plate (193) is positioned below the first fixing plate (11); a first rubber sleeve (4) is sleeved on the outer surface of the push handle (3), and anti-skid grains are formed in the outer surface of the first rubber sleeve (4);
one end of the limiting rod (204) far away from the limiting box (202) is fixedly connected with a pull ring (208), and the pull ring (208) is circular; the outer surface of the pull ring (208) is sleeved with a second rubber sleeve (209), and the outer surface of the second rubber sleeve (209) is provided with anti-skid grains.
CN201810773787.3A 2018-07-13 2018-07-13 A warning device for highway road maintenance Active CN108877491B (en)

Priority Applications (1)

Application Number Priority Date Filing Date Title
CN201810773787.3A CN108877491B (en) 2018-07-13 2018-07-13 A warning device for highway road maintenance

Applications Claiming Priority (1)

Application Number Priority Date Filing Date Title
CN201810773787.3A CN108877491B (en) 2018-07-13 2018-07-13 A warning device for highway road maintenance

Publications (2)

Publication Number Publication Date
CN108877491A CN108877491A (en) 2018-11-23
CN108877491B true CN108877491B (en) 2021-01-15

Family

ID=64301829

Family Applications (1)

Application Number Title Priority Date Filing Date
CN201810773787.3A Active CN108877491B (en) 2018-07-13 2018-07-13 A warning device for highway road maintenance

Country Status (1)

Country Link
CN (1) CN108877491B (en)

Families Citing this family (5)

* Cited by examiner, † Cited by third party
Publication number Priority date Publication date Assignee Title
CN110172934A (en) * 2019-06-23 2019-08-27 宁波鄞州竹创信息科技有限公司 A kind of civic building construction firm organization of warning sign
CN110827664A (en) * 2019-11-16 2020-02-21 徐州市铜山区汉王镇农业服务发展有限公司 Tourism project publicity board
CN112622775B (en) * 2020-10-16 2024-07-16 建德市延升电器有限公司 Emergency tool bag
CN112750336A (en) * 2020-12-29 2021-05-04 李林 Traffic warning device for expressway and warning method thereof
CN113212342B (en) * 2021-06-21 2022-06-07 合肥至信机械制造有限公司 Fixed pressing plate for automobile storage battery and working method of fixed pressing plate

Family Cites Families (7)

* Cited by examiner, † Cited by third party
Publication number Priority date Publication date Assignee Title
CN206505682U (en) * 2017-02-28 2017-09-19 广州正垌数码科技有限公司 A kind of intelligent display machine of Multifunction outdoor
CN206672534U (en) * 2017-04-06 2017-11-24 湖州众欣交通设施有限公司 A kind of portable label erecting device
CN207020893U (en) * 2017-04-09 2018-02-16 郑红艳 A kind of anti-wind electric sign board in field
CN206843970U (en) * 2017-04-10 2018-01-05 刘海霞 A kind of multi-functional bridge construction alarming device
CN206784221U (en) * 2017-06-02 2017-12-22 张法军 A kind of construction of the highway alarming device
CN107119592A (en) * 2017-06-29 2017-09-01 程光成 A kind of road maintenance caution device
CN207165123U (en) * 2017-07-25 2018-03-30 广东国建工程项目管理有限公司 A kind of good construction site warning sign of warning

Also Published As

Publication number Publication date
CN108877491A (en) 2018-11-23

Similar Documents

Publication Publication Date Title
CN108877491B (en) A warning device for highway road maintenance
CN106400716A (en) Modularized safety traffic guardrail with visual function
CN213812585U (en) Automobile lamp brightness testing device
CN211621321U (en) Traffic signal lamp for town road
CN109056569B (en) Temporary early warning device for expressway
CN107143818B (en) A kind of road lamp device easy to maintenance
CN215951167U (en) Garden street lamp convenient to maintenance
CN214613710U (en) Construction safety warning device for highway maintenance
CN210345224U (en) A multifunctional smart street light
CN108019700A (en) Adjustable for height LED lighting street light
CN211447987U (en) A roadside parking location and guidance device for smart traffic
CN204300905U (en) A kind of lifting streetlamp
CN209842869U (en) Highway passageway ponding warning device
CN218405219U (en) But quick assembly disassembly's railing
CN219862492U (en) A conveniently installed highway traffic pedestrian indicator light
CN219036386U (en) Height-adjustable street lamp
CN207438441U (en) An urban road lighting street lamp
CN110701548A (en) Municipal administration street lamp convenient to installation
CN219640166U (en) Street lamp convenient to maintain
CN214897451U (en) Luminous signboard capable of automatically sensing ambient illumination
CN216667315U (en) Lighting device for municipal works
CN215814996U (en) Luminous signboard with high-transmittance reflective film
CN219872590U (en) Mobile traffic signal machine
CN216947976U (en) Warning subassembly is used in highway maintenance
CN213709271U (en) A warning device for road construction

Legal Events

Date Code Title Description
PB01 Publication
PB01 Publication
SE01 Entry into force of request for substantive examination
SE01 Entry into force of request for substantive examination
GR01 Patent grant
GR01 Patent grant