CN108714546B - Working method of eccentric vibration type industrial material handling equipment with linkage disturbance function - Google Patents
Working method of eccentric vibration type industrial material handling equipment with linkage disturbance function Download PDFInfo
- Publication number
- CN108714546B CN108714546B CN201810475424.1A CN201810475424A CN108714546B CN 108714546 B CN108714546 B CN 108714546B CN 201810475424 A CN201810475424 A CN 201810475424A CN 108714546 B CN108714546 B CN 108714546B
- Authority
- CN
- China
- Prior art keywords
- fixedly connected
- rotating shaft
- gear
- disturbance
- disc
- Prior art date
- Legal status (The legal status is an assumption and is not a legal conclusion. Google has not performed a legal analysis and makes no representation as to the accuracy of the status listed.)
- Active
Links
Images
Classifications
-
- B—PERFORMING OPERATIONS; TRANSPORTING
- B07—SEPARATING SOLIDS FROM SOLIDS; SORTING
- B07B—SEPARATING SOLIDS FROM SOLIDS BY SIEVING, SCREENING, SIFTING OR BY USING GAS CURRENTS; SEPARATING BY OTHER DRY METHODS APPLICABLE TO BULK MATERIAL, e.g. LOOSE ARTICLES FIT TO BE HANDLED LIKE BULK MATERIAL
- B07B1/00—Sieving, screening, sifting, or sorting solid materials using networks, gratings, grids, or the like
- B07B1/28—Moving screens not otherwise provided for, e.g. swinging, reciprocating, rocking, tilting or wobbling screens
-
- B—PERFORMING OPERATIONS; TRANSPORTING
- B07—SEPARATING SOLIDS FROM SOLIDS; SORTING
- B07B—SEPARATING SOLIDS FROM SOLIDS BY SIEVING, SCREENING, SIFTING OR BY USING GAS CURRENTS; SEPARATING BY OTHER DRY METHODS APPLICABLE TO BULK MATERIAL, e.g. LOOSE ARTICLES FIT TO BE HANDLED LIKE BULK MATERIAL
- B07B1/00—Sieving, screening, sifting, or sorting solid materials using networks, gratings, grids, or the like
- B07B1/42—Drive mechanisms, regulating or controlling devices, or balancing devices, specially adapted for screens
-
- B—PERFORMING OPERATIONS; TRANSPORTING
- B07—SEPARATING SOLIDS FROM SOLIDS; SORTING
- B07B—SEPARATING SOLIDS FROM SOLIDS BY SIEVING, SCREENING, SIFTING OR BY USING GAS CURRENTS; SEPARATING BY OTHER DRY METHODS APPLICABLE TO BULK MATERIAL, e.g. LOOSE ARTICLES FIT TO BE HANDLED LIKE BULK MATERIAL
- B07B1/00—Sieving, screening, sifting, or sorting solid materials using networks, gratings, grids, or the like
- B07B1/46—Constructional details of screens in general; Cleaning or heating of screens
Landscapes
- Combined Means For Separation Of Solids (AREA)
Abstract
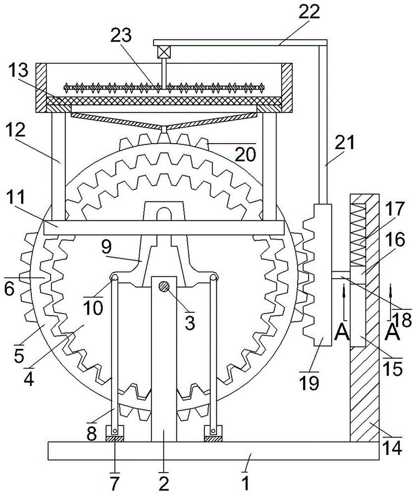
本发明提供了一种具有联动扰动功能的偏心振动式工业用物料处理设备,包括底板,所述底板上侧固定连接有第一支撑架,第一支撑架上部转动连接有第一转轴,第一转轴前端与第一电机输出轴固定连接,第一转轴后端固定连接有圆盘,圆盘边缘处固定连接有连接柱,连接柱后端固定连接有内齿轮;所述第一支撑架后侧的底板上固定连接有第二支撑架,第二支撑架顶部转动连接有第二转轴,第二转轴上固定连接有外齿轮。本发明具有以下有益效果是:第一电机带动第一转轴转动,第一转轴驱动圆盘转动,圆盘带动连接柱转动,连接柱带动内齿轮做偏心运动,内齿轮在做偏心运动的同时始终与外齿轮上的内齿圈相啮合,从而带动外齿轮绕第二转轴转动。
The invention provides an eccentric vibration type industrial material processing equipment with linkage disturbance function. The front end of the rotating shaft is fixedly connected with the output shaft of the first motor, the rear end of the first rotating shaft is fixedly connected with a disc, the edge of the disc is fixedly connected with a connecting column, and the rear end of the connecting column is fixedly connected with an internal gear; A second support frame is fixedly connected to the bottom plate of the second support frame, a second rotating shaft is rotatably connected to the top of the second support frame, and an external gear is fixedly connected to the second rotating shaft. The invention has the following beneficial effects: the first motor drives the first rotating shaft to rotate, the first rotating shaft drives the disc to rotate, the disc drives the connecting column to rotate, the connecting column drives the internal gear to do eccentric movement, and the internal gear is always eccentric while doing the eccentric movement. It meshes with the inner gear on the external gear, thereby driving the external gear to rotate around the second rotating shaft.
Description
Claims (6)
Priority Applications (1)
| Application Number | Priority Date | Filing Date | Title |
|---|---|---|---|
| CN201810475424.1A CN108714546B (en) | 2018-05-17 | 2018-05-17 | Working method of eccentric vibration type industrial material handling equipment with linkage disturbance function |
Applications Claiming Priority (1)
| Application Number | Priority Date | Filing Date | Title |
|---|---|---|---|
| CN201810475424.1A CN108714546B (en) | 2018-05-17 | 2018-05-17 | Working method of eccentric vibration type industrial material handling equipment with linkage disturbance function |
Publications (2)
| Publication Number | Publication Date |
|---|---|
| CN108714546A CN108714546A (en) | 2018-10-30 |
| CN108714546B true CN108714546B (en) | 2020-04-28 |
Family
ID=63899887
Family Applications (1)
| Application Number | Title | Priority Date | Filing Date |
|---|---|---|---|
| CN201810475424.1A Active CN108714546B (en) | 2018-05-17 | 2018-05-17 | Working method of eccentric vibration type industrial material handling equipment with linkage disturbance function |
Country Status (1)
| Country | Link |
|---|---|
| CN (1) | CN108714546B (en) |
Families Citing this family (1)
| Publication number | Priority date | Publication date | Assignee | Title |
|---|---|---|---|---|
| CN112742706B (en) * | 2020-12-07 | 2022-08-23 | 阿克苏嘉邦肥业有限公司 | Compound fertilizer production equipment with particle vibrating screen and application method thereof |
Citations (7)
| Publication number | Priority date | Publication date | Assignee | Title |
|---|---|---|---|---|
| DE3317811A1 (en) * | 1983-05-17 | 1984-11-22 | Betriebsforschungsinstitut VDEh - Institut für angewandte Forschung GmbH, 4000 Düsseldorf | Freely vibrating screening machine |
| CN202490634U (en) * | 2012-01-06 | 2012-10-17 | 义乌市黑白矿山机械有限公司 | Cone machine with radial shearing and crushing functions |
| CN206392389U (en) * | 2016-12-21 | 2017-08-11 | 龙剑 | A kind of anticlogging dither screen-dividing machine |
| CN107520117A (en) * | 2017-09-01 | 2017-12-29 | 田建珍 | A kind of efficient Sand screen in ore stock ground |
| CN107649376A (en) * | 2017-11-30 | 2018-02-02 | 湖北星梦茶业股份有限公司 | A kind of black tea screening installation with reciprocal disturbance formula |
| CN206997052U (en) * | 2017-07-03 | 2018-02-13 | 深圳市忆食尚食品有限公司 | Filter after a kind of crushing for Food Inspection |
| CN107999219A (en) * | 2017-12-01 | 2018-05-08 | 陈传材 | A kind of Chinese medicine attrition grinding integrated apparatus |
-
2018
- 2018-05-17 CN CN201810475424.1A patent/CN108714546B/en active Active
Patent Citations (7)
| Publication number | Priority date | Publication date | Assignee | Title |
|---|---|---|---|---|
| DE3317811A1 (en) * | 1983-05-17 | 1984-11-22 | Betriebsforschungsinstitut VDEh - Institut für angewandte Forschung GmbH, 4000 Düsseldorf | Freely vibrating screening machine |
| CN202490634U (en) * | 2012-01-06 | 2012-10-17 | 义乌市黑白矿山机械有限公司 | Cone machine with radial shearing and crushing functions |
| CN206392389U (en) * | 2016-12-21 | 2017-08-11 | 龙剑 | A kind of anticlogging dither screen-dividing machine |
| CN206997052U (en) * | 2017-07-03 | 2018-02-13 | 深圳市忆食尚食品有限公司 | Filter after a kind of crushing for Food Inspection |
| CN107520117A (en) * | 2017-09-01 | 2017-12-29 | 田建珍 | A kind of efficient Sand screen in ore stock ground |
| CN107649376A (en) * | 2017-11-30 | 2018-02-02 | 湖北星梦茶业股份有限公司 | A kind of black tea screening installation with reciprocal disturbance formula |
| CN107999219A (en) * | 2017-12-01 | 2018-05-08 | 陈传材 | A kind of Chinese medicine attrition grinding integrated apparatus |
Also Published As
| Publication number | Publication date |
|---|---|
| CN108714546A (en) | 2018-10-30 |
Similar Documents
| Publication | Publication Date | Title |
|---|---|---|
| CN108639786B (en) | Working method of granular material vibration screening equipment with intermittent feeding function | |
| CN204866501U (en) | Particulate matter sieving mechanism | |
| CN210816224U (en) | Tea leaf grading and sorting device | |
| CN210816225U (en) | Tea screening device | |
| CN108714546B (en) | Working method of eccentric vibration type industrial material handling equipment with linkage disturbance function | |
| CN213825851U (en) | Adjustable linear vibrating screen | |
| CN108855887B (en) | Industrial granular material treatment equipment with screen capable of lifting and rotating | |
| CN216297098U (en) | Plastic granules screening plant for plastics processing | |
| CN108855913B (en) | Working method of industrial granular material treatment equipment with screen capable of lifting and rotating | |
| CN108580264B (en) | Eccentric vibration type industrial material processing equipment with linkage disturbance function | |
| TWI389745B (en) | Particle sieve shaker | |
| CN212190067U (en) | Plane rotary screen | |
| CN119793868A (en) | A screening device for producing biodegradable materials | |
| CN208116150U (en) | A kind of multilayer rubble vibrating screen material device | |
| CN215465970U (en) | Screening device with high efficiency and multiple layers of screening | |
| CN215235849U (en) | Multistage branch sieve device of packing for industrial salt production | |
| CN213887126U (en) | Grit screening plant | |
| CN115156044A (en) | A vibrating screen capable of rapid discharge | |
| CN212039310U (en) | A rice flour vibrating sieving device | |
| CN221157599U (en) | Raw material screening device for cake processing | |
| CN219540890U (en) | A sorting and screening equipment for the detection of threshing and re-cured tobacco leaves | |
| CN108636769B (en) | particle material is with linkage feeding equipment based on sector gear meshing formula | |
| CN222020022U (en) | A vibrating screening machine screening trough | |
| CN218517193U (en) | Screen mesh structure and vibrating screen for coffee bean sorting | |
| CN207668004U (en) | A kind of vibration-type can sieving machine by classification |
Legal Events
| Date | Code | Title | Description |
|---|---|---|---|
| PB01 | Publication | ||
| PB01 | Publication | ||
| SE01 | Entry into force of request for substantive examination | ||
| SE01 | Entry into force of request for substantive examination | ||
| TA01 | Transfer of patent application right |
Effective date of registration: 20200401 Address after: 264200 room 407, building B1, 54 Lushan Road, Zhangcun Town, Huancui District, Weihai City, Shandong Province Applicant after: Weihai Zhonghai Intelligent Technology Co.,Ltd. Address before: 710072 College of Mechanical Engineering, Northwest Polytechnic University, No. 127 Youyi West Road, Xi'an City, Shaanxi Province Applicant before: Duan Peirong |
|
| TA01 | Transfer of patent application right | ||
| GR01 | Patent grant | ||
| GR01 | Patent grant | ||
| TR01 | Transfer of patent right |
Effective date of registration: 20211216 Address after: 222000 No. 1 Tengfei Road, Hongzhuang Town, Donghai County, Lianyungang City, Jiangsu Province Patentee after: Donghai hechuang silicon material Co.,Ltd. Address before: Room 407, building B1, 54 Lushan Road, Zhangcun Town, Huancui District, Weihai City, Shandong Province 264200 Patentee before: Weihai Zhonghai Intelligent Technology Co.,Ltd. |
|
| TR01 | Transfer of patent right | ||
| EE01 | Entry into force of recordation of patent licensing contract |
Application publication date: 20181030 Assignee: Lianyungang Jiuhe environmental protection composite material Co.,Ltd. Assignor: Donghai hechuang silicon material Co.,Ltd. Contract record no.: X2025980033630 Denomination of invention: A working method of an industrial material handling equipment with a linked disturbance function and eccentric vibration Granted publication date: 20200428 License type: Common License Record date: 20251112 |
|
| EE01 | Entry into force of recordation of patent licensing contract |
