CN106890744B - Dry-type venturi paint spraying system - Google Patents

Dry-type venturi paint spraying system Download PDF

Info

Publication number
CN106890744B
CN106890744B CN201510946728.8A CN201510946728A CN106890744B CN 106890744 B CN106890744 B CN 106890744B CN 201510946728 A CN201510946728 A CN 201510946728A CN 106890744 B CN106890744 B CN 106890744B
Authority
CN
China
Prior art keywords
paint mist
air
paint
dry
chamber
Prior art date
Legal status (The legal status is an assumption and is not a legal conclusion. Google has not performed a legal analysis and makes no representation as to the accuracy of the status listed.)
Active
Application number
CN201510946728.8A
Other languages
Chinese (zh)
Other versions
CN106890744A (en
Inventor
周小参
Current Assignee (The listed assignees may be inaccurate. Google has not performed a legal analysis and makes no representation or warranty as to the accuracy of the list.)
Jiaxing Kai Kai Coating Technology Co ltd
Original Assignee
Individual
Priority date (The priority date is an assumption and is not a legal conclusion. Google has not performed a legal analysis and makes no representation as to the accuracy of the date listed.)
Filing date
Publication date
Application filed by Individual filed Critical Individual
Priority to CN201510946728.8A priority Critical patent/CN106890744B/en
Publication of CN106890744A publication Critical patent/CN106890744A/en
Application granted granted Critical
Publication of CN106890744B publication Critical patent/CN106890744B/en
Active legal-status Critical Current
Anticipated expiration legal-status Critical

Links

Images

Classifications

    • BPERFORMING OPERATIONS; TRANSPORTING
    • B05SPRAYING OR ATOMISING IN GENERAL; APPLYING FLUENT MATERIALS TO SURFACES, IN GENERAL
    • B05BSPRAYING APPARATUS; ATOMISING APPARATUS; NOZZLES
    • B05B13/00Machines or plants for applying liquids or other fluent materials to surfaces of objects or other work by spraying, not covered by groups B05B1/00 - B05B11/00
    • B05B13/02Means for supporting work; Arrangement or mounting of spray heads; Adaptation or arrangement of means for feeding work
    • BPERFORMING OPERATIONS; TRANSPORTING
    • B05SPRAYING OR ATOMISING IN GENERAL; APPLYING FLUENT MATERIALS TO SURFACES, IN GENERAL
    • B05BSPRAYING APPARATUS; ATOMISING APPARATUS; NOZZLES
    • B05B12/00Arrangements for controlling delivery; Arrangements for controlling the spray area
    • B05B12/16Arrangements for controlling delivery; Arrangements for controlling the spray area for controlling the spray area
    • BPERFORMING OPERATIONS; TRANSPORTING
    • B05SPRAYING OR ATOMISING IN GENERAL; APPLYING FLUENT MATERIALS TO SURFACES, IN GENERAL
    • B05BSPRAYING APPARATUS; ATOMISING APPARATUS; NOZZLES
    • B05B16/00Spray booths

Landscapes

  • Details Or Accessories Of Spraying Plant Or Apparatus (AREA)

Abstract

The invention relates to a disposable paint mist trapping device and a dry type Venturi painting system using the same. The air inlet of the device is arranged at the upper part of one side of the paint collecting chamber, and the air outlet is arranged at the top of the paint mist trapping device. The dry venturi painting system uses the disposable paint mist trapping device as a separating member, and the paint mist trapping device is installed in a paint mist trapping device installation room. The paint mist trapping device installing chamber is arranged outside the air guide chamber, and the paint mist trapping device installing chamber is communicated with the air guide chamber through a Venturi passage. The venturi channel extends into the interior of the paint mist trap device when installed in place and toward the bottom of the paint mist trap device. Compared with the prior art, the paint spraying system has stable performance, convenient operation, large paint mist trapping and accommodating capacity, energy conservation and environmental protection.

Description

Dry-type venturi paint spraying system
Technical Field
The invention relates to the field of industrial coating, in particular to the field of trapping, separating and collecting of sprayed and oversprayed objects, in particular to a disposable dry paint mist trapping device and a dry venturi paint spraying system applied by the same, which are widely applied to coating of automobiles, hardware, household appliances, toys and the like.
Background
With the rapid development of Chinese economy, the environmental pollution becomes more and more serious. In recent years, haze frequently occurs, and water pollution and soil pollution have become more and more serious. Coating is a highly polluting and energy consuming industry. During the coating production process, a large amount of waste gas, waste liquid and solid waste are generated. In order to maintain the constant temperature and humidity conditions required for painting, a large amount of electric energy and fossil fuel are also consumed.
The conventional coating waste gas separation technology is mainly divided into a dry type and a wet type. The traditional dry paint spraying system mainly adopts a paint mist filtering felt form to collect and separate paint mist, as shown in fig. 1, the pure single-layer filtering technology is adopted, local saturation and blockage of filtering materials are easily caused, the capacity of capturing and containing the paint mist is limited, and the paint mist filtering felt needs to be frequently replaced. Frequent replacement of the filter felt requires production stoppage, which not only increases consumption of filter materials and labor, but also occupies a large amount of production time, and has high production cost and more solid wastes for enterprises. Secondly, the technology has a limited effect on separating paint mist, and the separated air still contains a certain amount of paint mist, so that the quality requirement of air recycling cannot be met, and the fire-fighting potential safety hazard is large. Therefore, the conventional dry technique can be applied only to small-batch and intermittent spraying operation, and is difficult to be applied to large-batch continuous industrial production. Traditional wet-type venturi or wet-type cascade cabinet technique can realize the continuous separation to the coating cloud, can satisfy the needs of batch continuity of operation, but this technique can produce a large amount of waste gas, waste water and waste liquid, need consume a large amount of fresh air of constant temperature and humidity, and the energy consumption is high. Although the production line of part wet-type washing technique has adopted the technique of circulated air, has reduced the consumption of fresh air and the volume of waste gas, but the air humidity after venturi washing is very big, and the temperature is low, can recycle after needing dehumidification and heating, and the energy consumption of dehumidification and heating is also very high, and this circulated air technique also needs to consume a large amount of energy consumptions.
In recent years, companies abroad have developed dry separation technologies, such as reducing the viscosity of the overspray by using auxiliary materials and then separating the solid and gas by using a filtration technology, which requires a large amount of auxiliary materials and greatly increases the amount of solid waste. There are also companies that use electrostatic paint mist separation techniques, but this system has a problem that it is easily adhered by overspray and is difficult to remove. In addition, the devices are complex in structure and expensive, are only applied to some high-end production lines at present and are difficult to be generally used.
In recent two years, some new dry separation technologies are published, mainly the technology of inertia force is utilized, and the overspray is captured and separated in the form of a disposable paint mist capturing box. The technology solves the problems of high energy consumption and large pollution of the traditional wet technology, does not have the problem that a large amount of solid waste is increased due to the addition of a large amount of auxiliary materials, does not have the problem that the electrostatic separation technology is easy to adhere to overspray, and has a simple structure. Compared with the prior art, the technology has the advantages of low investment, low comprehensive operation cost, energy conservation and environmental protection. At present, the layout forms of an air inlet and an air outlet of the paint mist collecting box in the technology are two types: one is in the form of an air inlet and outlet arrangement with air inlets at the top and air outlets at the sides; the other is that the air inlet is arranged on the side surface, and the air outlet is also arranged in the air inlet and outlet arrangement mode on the side surface.
When the air inlet is arranged at the top of the paint mist collecting box and the air outlet is arranged at the side surface of the paint mist collecting box, the distance between the spraying construction area and the air inlet of the box body is short, a special air guide space needs to be arranged between the spraying construction area and the air inlet of the collecting box, the height of the air guide space is at least 1.5 meters, and the integral height and the construction cost of the equipment are increased, for example, the patent with the publication number of CN 104853851A.
The paint mist collecting boxes with the air inlets on the side faces of the box body and the air outlets on the side faces of the box body can arrange two rows of paint mist collecting boxes below the paint spraying system, and the area between the two rows of paint mist collecting boxes is set to be an air guide space, so that the distance between a spraying construction area and the air inlets is increased, and the height of the special air guide chamber is reduced. The arrangement of the two rows of paint mist trapping devices can also improve the trapping and accommodating capacity of the paint mist trapping box for paint mist by times. However, the painting system with such a layout requires replacement of the disposable paint mist capturing box from the inside of the paint mist diversion room, and the work environment for replacing the paint mist capturing box is not good. The paint spraying system with the structure has compact structure and low investment, but the work environment for replacing the paint mist collecting box is poor, and the paint spraying system is only suitable for occasions with low investment and small space, such as the patent with the publication number of 104858095A.
Disclosure of Invention
It is an object of the present invention to overcome the above-mentioned drawbacks of the prior art by providing a disposable paint mist trap having an air inlet below the paint mist trap compartment and at the upper part of the paint collection compartment side. The distance between the spraying construction area and the air inlet of the paint mist collecting device can be increased by arranging the air inlet of the paint spraying collecting device, the height of a special air diversion space is reduced, and the first-stage investment is reduced. In addition, the paint mist trapping device has the advantages of strong paint mist trapping capacity, good separation effect and large holding capacity.
The second object of the present invention is to overcome the above-mentioned drawbacks of the prior art and to provide an overspray collection and separation device, which uses the above-mentioned disposable paint mist collection device as a separation member for separating overspray generated during the spraying process. The paint mist trapping device is installed in the paint mist trapping device installation chamber, the paint mist trapping device installation chamber is located outside the air diversion chamber, and the paint mist trapping device installation chamber is communicated with the air diversion chamber through a Venturi channel. The overspray trapping and separating device is convenient to maintain, small in occupied space, easy to replace and good in operating environment.
The present invention also provides a dry venturi painting system including the overspray collecting and separating device, wherein the overspray collecting and separating device is disposed at the lower part of the painting system and is used for collecting and separating overspray generated during the painting process. The paint spraying system is simple in structure, convenient to operate, reliable in performance, energy-saving and environment-friendly.
One of the purposes of the invention can be realized by the following technical scheme:
a disposable dry paint mist trap for separating and trapping overspray generated during a spray coating process, the apparatus comprising an apparatus air inlet, a paint collection chamber, a paint mist trap chamber, a sheet filter layer and an apparatus air outlet, wherein a paint mist trap unit is disposed in the paint mist trap chamber, the apparatus characterized in that: the paint collecting chamber is located at the bottom of the paint mist collecting device, the paint mist collecting chamber is located in the middle of the paint mist collecting device, the sheet-shaped filter layer is located at the top of the paint mist collecting device, an air inlet of the paint mist collecting device is located in the upper portion of one side of the paint collecting chamber, and an air outlet of the paint mist collecting device is located at the top of the paint mist collecting device.
Further, the present invention provides a mist trapping device, which may further have the following features: the air inlet of the paint mist trapping device is rectangular, the height of the air inlet is less than 60% of the height of the paint collecting chamber, and the width of the air inlet is greater than 80% of the width of the paint mist trapping device.
The second purpose of the invention can be realized by the following technical scheme:
the invention provides a overspray trapping and separating device, which is used for trapping and separating overspray generated in a spraying process, and comprises an air diversion chamber, a paint mist trapping device installation chamber and a disposable paint mist trapping device installed in the paint mist trapping device installation chamber, and is characterized in that: the overspray object trapping and separating device adopts the at least one disposable paint mist trapping device as a component for trapping and separating overspray objects, and the paint mist trapping device is arranged in a paint mist trapping device installation chamber; the paint mist trapping device mounting chamber is positioned outside the two sides of the air diversion chamber, and the paint mist trapping device mounting chamber is communicated with the air diversion chamber through a venturi channel.
Further, the present invention provides an overspray collection and separation apparatus, which may further have the following features: the cross section of the air diversion chamber is T-shaped, the top of the air diversion chamber is communicated with the spray booth through a grating, the side face of the upper part is limited by a side wall plate, the middle transverse face is limited by a middle transverse wall plate, the side face of the lower part is limited by a lower vertical wall plate, the bottom of the air diversion chamber is limited by the top face of the inspection platform, and the flow area of air is suddenly reduced twice due to the limitation of the middle transverse face and the top face of the inspection platform.
Further, the present invention provides an overspray collection and separation apparatus, which may further have the following features: the middle transverse plane has an inclination of less than 20 degrees relative to the horizontal plane, and is low at a position close to the center line of the painting system and high at a position far away from the center line of the painting system.
Further, the present invention provides an overspray collection and separation apparatus, which may further have the following features: the top surface of the inspection platform consists of two surfaces, the two surfaces are symmetrical relative to a central line, the two surfaces are inclined by less than 20 degrees relative to a horizontal plane, the position close to the central line of the paint spraying system is high, and the position far away from the central line of the paint spraying system is low.
Further, the present invention provides an overspray collection and separation apparatus, which may further have the following features: the Venturi channel connecting the paint mist trapping device installation chamber and the air guide chamber is positioned on two sides of the bottom of the air guide chamber.
Further, the present invention provides an overspray collection and separation apparatus, which may further have the following features: the inlet of the Venturi channel between the paint mist trapping device mounting chamber and the air guide chamber is positioned on the vertical wall plate between the paint mist trapping device mounting chamber and the air guide chamber, and the Venturi channel extends towards the paint mist trapping device mounting chamber.
Further, the present invention provides an overspray collection and separation apparatus, which may further have the following features: the lower part of the Venturi passage is limited by a lower flow guide surface.
Further, the present invention provides an overspray collection and separation apparatus, which may further have the following features: the lower water conservancy diversion face of venturi passageway be located the both sides of bottom inspection platform, one end links to each other with inspection platform's top surface, the other end extends to the coating cloud entrapment device installation indoor.
Further, the present invention provides an overspray collection and separation apparatus, which may further have the following features: the inclined angle of the lower flow guide surface of the Venturi channel is larger than that of the top surface of the inspection platform.
Further, the present invention provides an overspray collection and separation apparatus, which may further have the following features: two sides of the Venturi passage are limited by two side flow guide surfaces which are parallel to each other and vertical to the vertical wall plate.
Further, the present invention provides an overspray collection and separation apparatus, which may further have the following features: the distance between the two side guide surfaces of the Venturi channel and the thickness of the wall plate of the two side guide surfaces are equal to the width of the air inlet of the paint mist trapping device.
Further, the present invention provides an overspray collection and separation apparatus, which may further have the following features: the upper portion of the venturi passage is defined by an upper flow directing surface.
Further, the present invention provides an overspray collection and separation apparatus, which may further have the following features: the upper flow guide surface of the Venturi passage is inclined by less than 45 degrees relative to the lower flow guide surface, and the ventilation area of air at the outlet position of the Venturi passage is the minimum.
Further, the present invention provides an overspray collection and separation apparatus, which may further have the following features: the height difference between the highest point of the upper flow guide surface and the lowest point of the lower flow guide surface of the Venturi passage is equal to the height of the air inlet of the paint mist trapping device.
Further, the present invention provides an overspray collection and separation apparatus, which may further have the following features: the upper part of the paint mist trapping device installation chamber is provided with an air distribution pipe connected with each disposable paint mist trapping device, and the inlet of the air distribution pipe is right opposite to the top of the paint mist trapping device which is correspondingly installed in place.
Further, the present invention provides an overspray collection and separation apparatus, which may further have the following features: the entrance of the air distribution pipe is provided with a clamping groove for guiding and limiting the paint mist trapping device and a clamping device for clamping and fixing the paint mist trapping device.
Further, the present invention provides an overspray collection and separation apparatus, which may further have the following features: the bottom plate of the paint mist trapping device installation chamber is provided with a track for conveying the paint mist trapping device.
Further, the present invention provides an overspray collection and separation apparatus, which may further have the following features: and the vertical wall plate at one side of the paint mist trapping device mounting chamber is provided with an air sealing device at the position around the Venturi channel.
The third purpose of the invention can be realized by the following technical scheme:
the invention provides a dry type Venturi paint spraying system, which is characterized in that: the overspray trapping and separating device is arranged at the lower part of the paint spraying system and used for trapping and separating overspray generated in the spraying process.
In addition, the invention also provides a method for trapping and separating paint mist, which comprises the following steps:
a method for trapping and separating overspray generated during a spray coating process, the method comprising the steps of: the air with the overspray is guided to the Venturi channel by the air guide chamber; the ventilation area is rapidly reduced in the process that the air passes through the Venturi channel, and the air is accelerated and flows towards the bottom of the disposable paint mist trapping device which is installed in place; the accelerated air and paint mist carried by the accelerated air are rushed to and impact the bottom of the paint mist trapping device at a high speed; in the collision process, the air is rebounded, and part of paint mist in the air can collide and adhere to the bottom of the paint mist trapping device; the rebounded air and the paint mist carried by the rebounded air flow upwards to the paint mist trapping chamber under the action of pressure difference, and the paint mist carried by the air is further trapped and separated by the paint mist trapping unit in the paint mist trapping chamber; then, the air is trapped and separated by a sheet-shaped filter layer, and a small amount of paint mist which is not trapped and separated in the above layers is separated; and finally, the clean air is sequentially discharged into the air exhaust branch air pipe and the main air pipe through the air outlet of the paint mist trapping device.
Further, the method for trapping and separating the overspray generated in the spraying process provided by the invention can also have the following characteristics: the venturi channel and the venturi structures arranged in the front area and the rear area of the venturi channel have small ventilation area, and air passing through the venturi channel can be accelerated.
Further, the method for trapping and separating the overspray generated in the spraying process provided by the invention can also have the following characteristics: the venturi channel extends all the way to the interior of the paint mist trap device mounted in place.
Further, the method for trapping and separating the overspray generated in the spraying process provided by the invention can also have the following characteristics: the outlet of the venturi channel faces the bottom surface of the paint mist trapping device which is installed in place.
Further, the method for trapping and separating the overspray generated in the spraying process provided by the invention can also have the following characteristics: after the air carrying paint mist enters the paint collecting chamber through the Venturi passage, the air collides with the bottom of the paint collecting chamber and is rebounded, the paint mist is adhered to the paint mist at the bottom of the paint collecting chamber for pre-separation, and then the air passes through the paint mist collecting chamber and the sheet-shaped filter layer from bottom to top along the main air flow direction to collect and separate the paint mist.
Further, the method for trapping and separating the overspray generated in the spraying process provided by the invention can also have the following characteristics: the paint mist trapping device is a disposable product, and when the paint mist trapping device is full of paint in a trapping way, the new paint mist trapping device is replaced.
Compared with the prior art, the invention has the following beneficial effects:
the paint mist trapping device and the dry type Venturi painting system applying the same provided by the invention perfectly solve the problem of absorption capacity of the traditional dry type paint mist separation technology. Compared with the traditional wet venturi or water curtain cabinet technology, the invention greatly reduces the amount of waste gas and waste liquid, and completely does not use water. After the air passes through the dry type Venturi paint spraying system applied by the paint mist trapping device, the temperature and the humidity of the air basically do not change, and the air can be easily recycled. After the air is washed by the traditional wet paint spraying system, the temperature is greatly reduced, and the humidity is greatly increased. If this air is recycled, dehumidification and heating are required, and a large amount of cooling energy and heating energy are consumed. If the waste gas is not recycled, not only a large amount of waste gas needs to be discharged, but also a large amount of fresh air with constant temperature and humidity used by a paint spraying system needs to consume a large amount of energy. Compared with the traditional paint spraying technology, the paint mist catching device and the dry type Venturi paint spraying system using the same can greatly reduce the pollution to the environment and the energy consumption.
According to the disposable paint mist trapping device provided by the invention, the paint collecting chamber of the device is positioned at the bottom of the device, the paint mist trapping chamber is positioned in the middle of the device, the sheet-shaped filter layer is positioned at the top of the device, the air inlet is positioned at the upper part of one side of the paint collecting chamber, and the air outlet of the paint mist trapping device is positioned at the top of the device. The air inlet can not only realize arranging two rows of paint mist trapping devices below the paint spraying system in the layout mode of the middle lower part of the paint mist trapping device and the air outlet at the top of the paint mist trapping device, but also can realize replacing the paint mist trapping device from the outside of the flow guide chamber, increases the trapping and accommodating capacity of the paint mist trapping device to the paint mist, facilitates the replacement of the paint mist trapping device, and improves the operating environment of operators. The arrangement of the air inlets at the middle lower part of the paint mist trapping device also increases the distance between the spraying construction area and the air inlets of the paint mist trapping device, so that the space between the two rows of paint mist trapping devices can be an air guide space, the height of the special air guide space can be reduced, the height of the whole paint spraying system is reduced, and the investment of equipment is reduced.
The inclined design of the upper and lower flow guide surfaces of the Venturi channel relative to the horizontal plane enables the Venturi channel to face the bottom of the paint mist trapping device installed in position. The arrangement of the air inlet and the venturi channel of the elongated paint mist trap enables the air ventilation area to be rapidly reduced, and the air flowing through the air inlet and the paint mist carried by the air inlet can be accelerated. The venturi channel is again oriented towards the bottom of the paint mist trap when installed in place, and the accelerated air and paint mist carried thereby can rush towards and impact the bottom of the paint mist trap. In the collision process, the air is rebounded and moves upwards under the action of the pressure difference, the paint mist in the air can collide and adhere to the bottom of the paint mist trapping device, the process has the effect of pre-separating the paint mist in the air, a large number of paint particles can be separated in the process, and the load of a paint mist trapping chamber is reduced. In addition, after the paint trapped on the paint mist trapping unit in the paint mist trapping chamber is accumulated to a certain thickness, the paint can also drop into the paint collecting chamber under the action of gravity, so that the deposited paint amount in the paint mist trapping chamber is reduced, and the service life of the paint mist trapping unit can be effectively prolonged.
The transverse surface in the middle of the air diversion chamber and the top surface of the inspection platform are designed to be inclined by 1-20 degrees relative to the horizontal plane, the inclined design can guide part of paint liquid falling onto the surfaces into the paint collecting chamber of the paint mist collecting device, the cleaning and maintenance workload of the inner surface of the air diversion chamber is reduced, and the inclined angle smaller than 20 degrees is convenient for maintenance personnel to walk on the inclined surface.
The paint mist trapping device provided by the invention is made of recycled low-value materials, is a disposable product, is in an independent single body form, can be replaced according to needs, and has the advantages of compact structure, convenience in replacement and low use and maintenance cost.
In addition, the paint mist trapping device provided by the invention has great paint mist absorbing capacity, and can greatly reduce the amount of solid waste. The paint mist trapping device traps and separates all paint, the paint is uniformly distributed in the whole paint mist trapping device, and the air permeability is good. The main components of the paint mist are resin and solvent, the combustion value is high, and most of the materials of the device are combustible substances. Therefore, the replaced paint mist trapping device with good air permeability and high combustion value can be used as fuel, and waste is changed into valuable. In the traditional wet technology, a large amount of other incombustible substances are added in the paint mist trapping process, water which is not easy to remove is mixed in, the wastes are difficult to treat by an incineration method, and the wastes are often subjected to landfill treatment to pollute soil and underground water. Therefore, the invention has great significance for energy conservation and environmental protection.
Drawings
FIG. 1 is a schematic illustration of a conventional paint mist filter felt partially saturated and clogged;
FIG. 2 is a perspective view of the configuration of the mist catcher;
FIG. 3 is a sectional view of the mist trap of example 1;
FIG. 4 is a sectional view of the mist trap of example 2;
FIG. 5 is a schematic perspective view of the paint spray system with the paint mist trap out of position;
FIG. 6 is a schematic perspective view of the paint spraying system with the paint mist trap in place;
FIG. 7 is a perspective view of the paint spray system with the wall panel removed between the paint mist trap installation compartment and the air diversion compartment;
FIG. 8 is a schematic perspective view of the overspray capture and separation device;
fig. 9 is a schematic perspective view of an air guiding chamber;
FIG. 10 is a cross-sectional view of a venturi passage;
FIG. 11 is a schematic perspective view of a venturi passage;
FIG. 12 is a cross-sectional view of the paint spraying system with the paint mist trap in place;
FIG. 13 is a top perspective view of the paint spraying system with the paint mist trap in place;
FIG. 14 is a side perspective view of the paint spraying system with the paint mist trap in place;
FIG. 15 is a process flow diagram of a typical dry paint system.
Identical or functionally identical components have been given the same reference numerals in the various figures above; the painting system is of a symmetrical construction, and because of the space constraints of the labeling, some symmetrical parts are labeled only on one side.
Detailed Description
The invention is described in detail below with reference to the figures and specific embodiments. The present embodiment is implemented on the premise of the technical solution of the present invention, and a detailed implementation manner and a specific operation process are given, but the scope of the present invention is not limited to the following embodiments.
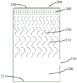
As shown in fig. 2, 3 and 4, the present embodiment provides a housing of the mist collecting device 200, such as a box structure, each box is a single body, and is made of a hard material, and may be made of a hard cardboard material. Sequentially comprises the following steps: the device comprises an air inlet, a paint collecting chamber, a paint mist collecting chamber, a sheet-shaped filter layer and an air outlet.
Because of the shape of the mist trap, such as the box structure, paint practitioners are also referred to as mist traps, which is also used herein in some places.
The paint collection chamber 240 is located at the bottom of the mist trap, the mist trap chamber 230 is located at the middle of the mist trap, and the sheet filter 260 is located at the top of the mist trap. The air inlet 210 is disposed at an upper portion of one side of the paint collecting chamber 240, and the air outlet 220 is disposed at a top portion of the paint mist trap apparatus. Since the paint collection chamber 240 is located at the bottom of the paint mist trap 200, the air inlet 210 is located at a lower middle portion of one side of the paint mist trap 200. The lower part of the mist collecting chamber 230 is communicated with the paint collecting chamber 240, the upper part is communicated with the sheet-shaped filter layer 260 and the device air outlet 220, and the mist collecting unit 231 is arranged in the mist collecting chamber 230.
The air inlet 210 of the mist trap 200 is rectangular in shape, with the height of the air inlet being less than 60% of the height of the paint collection chamber 240 and the width of the air inlet being greater than 80% of the width of the mist trap 200. The size and position of the air inlet 210 are matched with those of the Venturi channel 80, so that the Venturi channel 80 can be smoothly inserted into the air inlet 210, and after the paint mist trapping device is installed in place, a good sealing effect is achieved between the air inlet 210 and the Venturi channel 80, and the untreated air inside is prevented from leaking outwards or the untreated air outside is prevented from flowing into the untreated air inside.
The form of the mist trap unit 231 may be various and is referred to in the applied patent. The invention provides a layout form of an air inlet and an air outlet of a paint mist trapping device 200 and a dry type Venturi painting system 100 applied by the layout form. The present invention is described in terms of two embodiments with respect to the structure and layout of the paint mist trap unit.
Example 1
As shown in fig. 3, 9 paint mist collecting units 231 with the same size and shape are disposed in the paint mist collecting chamber 230 of the present embodiment, each paint mist collecting unit has a corrugated plate structure with 13 folds, each paint mist collecting unit has 1 air diversion surface and 13 folding surfaces, the folding angle of the folding surfaces gradually increases along the main flow direction of the air, and the 9 paint mist collecting units are arranged in parallel to the main flow direction of the air, are parallel to each other and are uniformly distributed, and have equal gaps therebetween. The gap between two adjacent paint mist trapping units forms an air flow channel with 13 times of bending, and as the bending angle of the paint mist trapping units along the main flow direction of the air is gradually increased, the width of the bent air flow channel formed by the gap between the two paint mist trapping units is also gradually narrowed along the main flow direction of the air. The paint mist trapping unit is a filtering material, and a glass fiber filtering material can be used. The structural form of the paint mist trap unit of the present embodiment is referred to in patent application No. 2015107560225, and will not be described in detail here.
Example 2
As shown in fig. 4, the mist trap compartment of the present embodiment is provided with a plurality of rows of mist trap units 231, and the distances between the mist trap units in the same row are the same. The lower five rows of paint mist trapping units have the same size and the same row pitch, and the opening direction of the upper row of paint mist trapping units and the opening direction of the lower row of paint mist trapping units form an angle of 60-90 degrees. In the five rows of paint mist trapping units at the lower part, a gap between the paint mist trapping units in the next row is arranged right below the paint diversion heads of the paint mist trapping units in the previous row. The upper four rows of paint mist trapping units are smaller than the lower five rows, and the distance between the paint mist trapping units in the same row and the distance between the two rows are also smaller than the lower five rows. The cross section of each paint mist trapping unit is arc-shaped, a saw-toothed paint diversion head is arranged at the bottom of each paint mist trapping unit, and the paint diversion head is vertically downward. The structural form of the mist trap unit of the present embodiment is referred to in patent application No. 2015106208949, and will not be described in detail.
A sheet-shaped filter layer 260 is arranged between the paint mist trapping chamber 230 and the air outlet 220 of the paint mist trapping device, the sheet-shaped filter layer 260 is a sheet-shaped filter material, and can be made of glass fiber materials or non-woven fabrics, and the front and the back of the sheet-shaped filter layer are fixed by plastic grids. The function of the sheet-shaped filter layer is to capture and separate a small amount of paint particles which are not captured and separated by each section before separation, and the sheet-shaped filter layer plays a role of overall filtration.
Compared with the layout form of an air inlet and an air outlet of a patent with the publication number of CN 104853851A, the layout form of the air inlet 210 at the upper part of one side of the paint collecting chamber 240 and the air outlet 220 at the top of the paint trapping device 200 easily realizes that two rows of paint trapping devices are arranged at the lower part of the paint spraying system 100, and obviously improves the capacity of the overspray separating device for trapping and accommodating the paint mist. The air inlet provided by the invention is arranged at the middle lower part of the paint mist trapping device, the distance between a spraying construction area and the air inlet of the paint mist trapping device is increased, two rows of paint mist trapping devices are arranged at two sides outside the diversion chamber, and the area between the two rows of paint mist trapping devices is used as a part of an air diversion space, so that the height of the special air diversion space is reduced. The height of the diversion area between the two rows of paint mist trapping devices is more than 1 meter, so that the height of the special diversion space can be reduced by at least 1 meter, and correspondingly, the height of the whole paint spraying system and the investment cost of equipment are also reduced.
With respect to the patent publication No. 104858095a, the air inlet 210 of the paint mist trap apparatus provided by the present invention is disposed at an upper portion of one side of the paint collecting chamber 240, and the air inlet 210 of a long and narrow shape is connected to the venturi passage 80. The air outlet 220 of the paint mist trapping device is arranged at the top of the device and is communicated with the air distributing pipe 71 on the upper portion, the paint mist trapping device 200 is arranged outside the air diversion chamber 30, the layout of the structure only increases the height of the air distributing pipe 71 which is about 0.5 meter occupied, the height of the whole paint spraying system is increased slightly, the paint mist trapping device is changed from the outside, the change is convenient, the working environment of workers is obviously improved, and the paint mist trapping device is suitable for occasions with high requirements on equipment and high investment.
The structure and the working process of the dry type Venturi painting system are as follows:
as shown in fig. 5-14, the dry venturi painting system, generally designated 100, generally comprises the following components: the device comprises an air inlet pipe 10, a dynamic pressure chamber 11, a static pressure chamber 12, a paint spraying chamber 20, a spraying robot 24, a conveying system 22, an overspray collecting and separating device 50 and a main exhaust air pipe 70, wherein the overspray collecting and separating device 50 adopts the disposable paint mist collecting device 200 as a separating part, and the paint mist collecting device 200 is installed in a paint mist collecting device installation chamber 51.
The object 21 to be painted is transported upstream of the painting system by the conveyor system 22 in the longitudinal direction 95 into the painting system 100, and the object 21 to be painted is painted in the painting system 100.
The air with constant temperature and humidity from the air conditioner enters a dynamic pressure chamber of the paint spraying system from an air pipe 10 and then is equalized through a dynamic pressure chamber 11; the air after being equalized in the dynamic pressure chamber is filtered by a bag filter 13 and enters a static pressure chamber 12; the air with uniform flow rate from the static pressure chamber enters the paint spraying chamber 20 after being filtered and equalized by the top cotton 15 of the paint spraying chamber.
The top of the spray booth 20 is defined by top filter cloths 15, the sides of the spray booth 20 are defined by wall panels 14, and the lower portion of the spray booth is arranged with steel structures that support a conveyor system 22, a spray robot 24, and an underside grid 23. The conveying system 22 can convey the sprayed object 21 from the entrance of the spray booth to a desired position; the spraying robot 24 can spray the object to be sprayed 21; the grill 23 provides access to personnel and also provides communication between the spray booth 20 and the lower air diversion chamber 30.
Air from the static pressure chamber (11,12) during passage through the spray booth 20 carries paint particles produced during the spray process that do not adhere to the surface of the substrate 21, which is defined herein as overspray. These fine paint particles are suspended in air to form a mist, and the combination of these small paint particles suspended in air to form a mist is referred to herein as a paint mist. The particles in this patent contain both solid and liquid, in particular liquid, small paint droplets.
The underside of the spray booth is provided with overspray capture and separation apparatus 50, as shown in figure 8. The overspray capture and separation device 50 includes an air guiding chamber 30, a paint mist capture device installation chamber 51 and a paint mist capture device 200 installed therein. For ease of understanding, a main air duct 70 is also shown in the figures. The overspray collection and separation device 50 is bounded at both ends in the longitudinal direction 95 by walls 93, and the walls 93 also provide a restriction at both ends in the longitudinal direction 95 of the air diversion chamber. A door 92 is provided on the wall 93, and the door 92 is used for facilitating the entry and exit of maintenance personnel to the inspection platform 35.
The overspray-laden air passes through the openings of the grid plate 23 downwards first into the air guide chamber 30 of the overspray capture and separation device. The air diversion chamber 30 is opened upwards and is connected with the paint spraying chamber 20 through the grid plate 23, the side surface 36 at the upper part is limited by the side wall plate 31, the transverse surface 32 at the middle part is limited by the transverse wall plate 62, the side surface 33 at the lower part is limited by the vertical wall plate 63, the transverse surface at the bottom part is limited by the top surface 34 of the inspection platform 35, the whole air diversion chamber 30 is in a T-shaped cross section structure, and the three-dimensional structure of the air diversion chamber is illustrated in fig. 9.
The air with paint mist from the paint spray booth 20 enters the air guiding chamber 30 through the holes of the grating plate 23, the air is firstly limited by the middle transverse surface 32 in the advancing process, the air flow area is reduced by about one half, the air enters the area between the two side surfaces 33 of the lower part, and the air flow speed is also improved. The air is again restricted by the top surface 34 of the inspection platform 35 as it continues to flow downwardly and is finally directed by the venturi channel lower deflector surface 84 into the venturi channel 80.
To prevent paint particles from falling onto and adhering to the interior surfaces 36, 32, 33 of the diversion chamber and the top surface 34 of the bottom inspection platform, the interior surfaces of the diversion chamber 30 need to be provided with an easily replaceable covering to facilitate removal of overspray that falls thereon. The covering can be a plastic film or tin foil paper, and is adhered to the inner surface of the air diversion chamber by using adhesive or vaseline.
The middle transverse surface 32 in the air diversion chamber 30 is inclined at an angle of 1 to 20 degrees relative to the horizontal plane, and the position close to the central line 99 of the painting system is low, and the position far away from the central line 99 of the painting system is high, so that the inclination angle is convenient for maintenance personnel to carry out maintenance operation on the air diversion chamber, and liquid and flowable paint falling on the air diversion chamber can flow onto the lower diversion surface 84 of the Venturi passage along the inclined surface and further flow into the paint collection chamber 240 of the paint mist trapping device installed in place.
The top surface 34 of the bottom patrol platform 35 also has an inclination of less than 20 degrees, the top surface of the patrol platform is divided into two parts (34a,34b), the two parts (34a,34b) are symmetrically distributed on both sides of the centre line 99, and have an inclination of less than 20 degrees relative to the horizontal plane, and the position close to the centre line 99 of the painting system is high, and the position far away from the centre line 99 of the painting system is low. The inclination of the top surface 34 of the inspection platform is also to allow the liquid and flowable paint falling on its surface to flow sideways and finally flow along the lower flow guide surfaces 84 on both sides of the inspection platform into the paint collection chamber 240 of the paint mist collection device mounted in place, and the inclination is less than 20 degrees, which is convenient for maintenance personnel to walk on.
These inclined designs in the air diversion chamber 30 can drain away a portion of the liquid and the flowable paint, reduce the amount of paint accumulated on the inner surface of the diversion chamber 30, prolong the replacement frequency of the covering in the air diversion chamber, and reduce the workload of maintenance personnel.
The periphery of the venturi channel 80 is limited by four flow guide surfaces, the lower portion of the venturi channel 80 is limited by a lower flow guide surface 84, the upper portion is limited by an upper flow guide surface 81, and both sides are limited by a side flow guide surface 82 and a side flow guide surface 83, fig. 10 illustrates a cross-sectional view of the venturi channel, and fig. 11 illustrates a perspective view of the venturi channel.
The lower flow guide surfaces 84 of the venturi channel are located on both sides of the patrol platform 35, one end of the lower flow guide surfaces is connected with the top surface 34 of the patrol platform, the other end of the lower flow guide surfaces crosses the vertical wall plate 63 and extends into the paint mist trapping device installation chamber 51, and the extending projection depth is preferably more than 5cm and less than 20 cm. The lower deflector surface 84 has a greater angle of inclination than the top surface 34 of the bottom inspection platform, preferably 30 to 60 degrees relative to horizontal. The flat wall plate 85 serves as a lower flow guide surface 84 for supporting the venturi passage, one end of the flat surface is connected to the inspection platform 35, the other end of the flat surface is connected to the end of the lower flow guide surface 84, and the lower surface of the flat wall plate 85 is connected to the vertical wall plate 63.
One end of the upper flow guide surface 81 of the venturi passage 80 is connected to the vertical wall plate 63, and the other end thereof extends into the paint mist trap mounting chamber 51, preferably by 10cm to 30 cm. The upper deflector surface 81 is inclined less than 45 degrees relative to the lower deflector surface 84, and the venturi channel has an inlet 88 with a large ventilation area that decreases gradually in the direction of the venturi channel outlet, and a minimum ventilation area at the venturi channel outlet 86, and a rapid expansion of the ventilation area after leaving the venturi channel outlet 86.
The air outlet channel with the structure has a Venturi structure together with the front and rear areas, the front and rear ventilation areas are large, the ventilation area at the air outlet channel is rapidly reduced, the air passing through the air outlet channel can generate a Venturi effect, and the air outlet channel is defined as the Venturi channel.
The venturi passage 80 is defined on both sides by side guide surfaces 82 and 83, the upper portions of the side guide surfaces 82 and 83 being connected to the upper guide surface 81, the lower portions thereof being connected to the lower guide surface 84, and one side thereof being connected to the vertical wall plate 63 and being perpendicular to the vertical wall plate 63.
The angle of inclination of the upper deflector surface 81 and the lower deflector surface 84 of the venturi channel 80 causes the venturi channel 80 to be oriented towards the bottom of the paint mist trap when in place.
The overspray-laden air entering venturi passage 80 from air deflection chamber 30 is further accelerated due to the rapid reduction in ventilation area. The ventilation area is also gradually reduced during passage through the venturi passage 80, at the venturi passage exit 86 the ventilation area reaches a minimum and the air velocity reaches a maximum, the air carrying the paint mist enters at high velocity into the paint collection chamber 240 of the paint mist trap device mounted in place.
The height difference between the highest point of the upper flow guide surface 81 and the lowest point of the lower flow guide surface 84 of the venturi channel 80 is the same as the height of the air inlet 210 of the paint mist trapping device; the distance between the side flow guide surfaces 82 and 83 on both sides of the venturi channel 80 plus the thickness of the two flow guide surface panels themselves is the same as the width of the air inlet 210 of the paint mist trap 200. This design enables the air inlet 210 of the paint mist trap to be sized and positioned to match the size of the venturi passage 80 to prevent leakage of untreated internal air or inflow of external air into the untreated internal air.
A sealing means 87 is provided on the vertical wall 63 on the side of the mist trap chamber at a position around the venturi passage 80, and also functions to prevent the inside raw air from flowing out or the outside air from flowing into the raw air. The sealing device can use plastic sealing strips.
The upper surface of the mist trap installation chamber 51 is defined by a horizontal wall plate 62, the side surface thereof is defined by a vertical wall plate 63, and the mist trap installation chamber 51 and the air guide chamber 30 are communicated with each other by a venturi passage 80.
The bottom surface of the paint mist trap installation chamber is provided with rails 40, which serve to convey the paint mist trap 200. The paint mist trapping device 200 is placed on a tray 270 with rollers 271 mounted thereon, the rollers 271 rolling along the rails 40, and either moving the paint mist trapping device to be replaced out of the painting system 100 or moving a new paint mist trapping device into the painting system 100. The track 40 also serves to secure the mist trap 200 when the new mist trap and tray are pushed into place, locking the rollers 271.
After the paint mist trapping device needing to be replaced and the tray provided with the rollers move out of the paint spraying system along the rail, the tray provided with the rollers can be used for conveying the paint mist trapping device to the waste storage area, other conveying tools can be used for conveying the paint mist trapping device and the tray to the waste storage area, and the other conveying tools can be hydraulic forklifts. The tray 270 can be recycled after the replaced mist trap is discarded.
Each paint mist trap 200 is mounted with a branch duct 71, and the branch duct 71 is shown more clearly in FIG. 7 with the horizontal wall plate 62 and the vertical wall plate 63 removed. The cross section of the vertical part of the air distributing pipe 71 is the same as that of the top of the paint mist trapping device, one end of the air distributing pipe 71 is connected with the top of the paint mist trapping device 200 which is installed in place, and the other end of the air distributing pipe is connected with the main air pipe 70.
The entrance of the branch air duct 71 is provided with a clamping groove 52 for guiding and fixing the paint mist trapping device and a clamping device 53 for clamping and fixing the paint mist trapping device, the clamping groove 52 is used for guiding the paint mist trapping device 200 to enter the installation position and limiting the paint mist trapping device in the longitudinal direction 95 direction of the paint spraying system 100, the clamping device 53 is used for clamping and fixing the paint mist trapping device in the transverse direction 96 of the paint spraying system 100, and the clamping groove 52 is used for guiding the limiting and clamping device 53 to clamp and fix, so that the paint mist trapping device 200 can be accurately fixed to the position to be installed.
The high velocity air exiting the venturi passage 80, and the paint mist carried thereby, continues to move forward in the original direction. Since the opening of the venturi channel 80 faces the bottom 221 of the paint mist trap device installed in place, the air and the paint mist carried by the air which comes out of the venturi channel 80 and moves in the original direction under the action of the inertia force can collide with the bottom 221 of the paint mist trap device 200 installed in place, and during the collision, the air is rebounded and moves upwards under the action of the pressure difference, and the paint mist carried in the air can collide with and adhere to the bottom 221 of the paint mist trap device. The process can capture and separate a large amount of paint mist, has good pre-separation effect, and reduces the burden of the paint mist capturing chamber 230.
After the air is primarily separated by the paint collecting chamber 240, the paint mist which is not collected and separated in the paint collecting chamber 240 moves upward with the air under the action of the pressure difference and enters the paint mist collecting chamber 230, and a paint mist collecting unit 231 is arranged in the paint mist collecting chamber 230.
The paint mist is captured while the air carrying the paint mist passes through the paint mist capturing unit 231, and the main flow direction of the air continues to move upward under the pressure difference. Most paint mist in the air is collected and separated by the paint mist collecting unit 231 in the paint mist collecting chamber 230, and when the paint collected and separated by the paint mist collecting unit reaches a certain thickness, the paint mist collects at the bottom of the paint mist collecting unit 231 under the action of gravity and drops into the paint collecting chamber 240.
The process that the paint on the paint mist trapping unit 231 is accumulated to a certain thickness, then is collected to the bottom of the paint mist trapping unit and is dripped into the paint collecting chamber 240 can reduce the amount of the paint deposited on the paint mist trapping unit, and the service lives of the paint mist trapping unit and the whole paint mist trapping device are prolonged.
As the usage time increases, more and more paint accumulates on the paint mist trap units 231 and the air flow passages between the units become progressively narrower until they become blocked. The lower paint collection compartment 240 traps a portion of the paint during the pre-separation of the overspray-containing air, the paint mist trap unit also drips a portion of the paint into the paint collection compartment 240, and the air diversion compartment 30 also diverts a portion of the paint and liquid into the paint collection compartment. When the upper mist trap chamber 230 is clogged due to the trapping of a large amount of paint, the lower paint trap chamber 240 also collects a large amount of paint, and at this time, it is necessary to replace the mist trap device that has trapped a large amount of paint with a new one.
After the paint mist carrying air is collected and separated by the paint mist collecting chamber 230, the air is relatively clean. The relatively clean air is finally filtered through the sheet filter 260, trapping individual paint particles that have not been trapped and separated in the above sections. The sheet-like filtration layer 260 functions as an overall filter trap.
In the process of replacing the paint mist trap unit filled with paint, it is first necessary to withdraw the tray 270 and the paint mist trap 200 placed thereon, and the tray together with the paint mist trap can be easily pulled out due to the rollers 271 and the lower rail 40.
In the process of loading a new paint mist trap unit, the new paint mist trap 200 is first placed on the roller-mounted tray 270, pushed to the appropriate position along the rail 40, and clamped by the clamping fixture 53.
The purified air is finally discharged from the air outlet 220 of the paint mist trapping device, enters the branch air duct 71 to continuously move upwards, then gradually turns to horizontal movement along the trend of the air duct, and then flows into the main air duct 70. The main air duct is connected to a subsequent air duct, not shown, and a blower, and the air is finally sent to an air conditioning device for recycling.
Most of the solvent in the paint is evaporated into the air flowing through the paint system during the spraying process. If the air is circulated all the time, the concentration in the air gradually increases. In order to avoid the solvent concentration in the air reaching the explosion limit, a part of fresh air or air with low solvent concentration is supplemented, and a part of air with high solvent concentration is discharged for incineration treatment. The low solvent concentration air may be used as the exhaust air from the hand spray area. An exemplary process flow diagram is shown in fig. 15.
The above embodiments are merely illustrative of the principles and utilities of the present patent and are not intended to limit the present patent. Any person skilled in the art can modify or change the above-mentioned embodiments without departing from the spirit and scope of the present invention. Accordingly, it is intended that all equivalent modifications or changes which may be made by those skilled in the art without departing from the spirit and scope of the present disclosure be covered by the claims of this patent.

Claims (17)

1. The utility model provides an overspray entrapment separator for the produced overspray of entrapment separation spraying in-process, includes air water conservancy diversion room, dry-type coating cloud entrapment device installation room and install the disposable dry-type coating cloud entrapment device wherein, its characterized in that: the dry paint mist trapping device mounting chamber (51) is positioned outside the air diversion chamber (30), the dry paint mist trapping device mounting chamber (51) is communicated with the air diversion chamber (30) through a dry venturi channel (80), and the dry venturi channel is connected with the air diversion chamber and extends into the dry paint mist trapping device mounting chamber (51); the overspray object trapping and separating device adopts at least one disposable dry paint mist trapping device (200) as a component for trapping and separating overspray objects, and the dry paint mist trapping device (200) is arranged in a dry paint mist trapping device mounting chamber (51); the dry paint mist trapping device (200) comprises a device air inlet (210), a paint collecting chamber (240), a paint mist trapping chamber (230) and a device air outlet (220), wherein a paint mist trapping unit is arranged in the paint mist trapping chamber, the paint collecting chamber (240) is positioned at the bottom of the dry paint mist trapping device (200), the paint mist trapping chamber (230) is positioned in the middle of the dry paint mist trapping device (200), the device air outlet (220) is positioned at the top of the dry paint mist trapping device (200), and the device air inlet of the dry paint mist trapping device is positioned at the upper part of one side of the paint collecting chamber (240); the dry type Venturi channel (80) is inserted into the dry type paint mist trapping device (200) from an air inlet (210) of the dry type paint mist trapping device and extends into the dry type paint mist trapping device (200) which is installed in place, and an air outlet (220) of the dry type paint mist trapping device which is installed in place is communicated with the air distributing pipe (71).
2. The overspray capture and separation device of claim 1, wherein: the air inlet (210) of the dry paint mist trapping device (200) is rectangular, the height of the air inlet is less than 60% of the height of the paint collecting chamber (240), and the width of the air inlet is greater than 80% of the width of the dry paint mist trapping device (200).
3. The overspray capture and separation device of claim 1, wherein: the cross section of the air diversion chamber (30) is T-shaped, the top of the air diversion chamber (30) is communicated with the paint spraying chamber (20) through a grille (23), the side surface (36) at the upper part is limited by a side wall plate (31), the transverse surface (32) at the middle part is limited by a transverse wall plate (62), the side surface (33) at the lower part is limited by a vertical wall plate (63) at the lower part, the bottom of the air diversion chamber is limited by the top surface (34) of the inspection platform (35), and the air circulation area is suddenly reduced twice due to the limitation of the transverse surface (32) at the middle part and the top surface (34) of the inspection platform.
4. The overspray capture and separation device of claim 3, wherein: the intermediate transverse surface (32) has an inclination of less than 20 degrees relative to the horizontal plane and is low near the centre line (99) of the painting system and high away from the centre line (99) of the painting system.
5. The overspray capture and separation device of claim 3, wherein: the top surface (34) of the inspection platform is composed of two surfaces (34a,34b), the two surfaces (34a,34b) are symmetrical relative to a central line (99) of the paint spraying system, the two surfaces (34a,34b) are inclined by less than 20 degrees relative to a horizontal plane, the position close to the central line (99) of the paint spraying system is high, and the position far away from the central line (99) of the paint spraying system is low.
6. The overspray capture and separation device of claim 1, wherein: the dry type Venturi channel (80) connecting the dry type paint mist trapping device installation chamber (51) and the air guide chamber (30) is positioned at two sides of the bottom of the air guide chamber (30).
7. The overspray capture and separation device of claim 1, wherein: the dry venturi channel (80) is defined at its lower portion by a lower deflector surface (84), at its lateral sides by two side deflector surfaces (82,83) and at its upper portion by an upper deflector surface (81).
8. The overspray capture and separation device of claim 7, wherein: one end of the lower flow guide surface of the dry type Venturi channel (80) is connected with the bottom of the air flow guide chamber (30), and the other end of the lower flow guide surface extends into the trapping device mounting chamber (51).
9. The overspray capture and separation device of any of claims 7-8, wherein: the inclination angle of the lower diversion surface (84) of the dry type Venturi channel (80) is larger relative to the inclination angle of the bottom of the air diversion chamber.
10. The overspray capture and separation device of claim 7, wherein: the two side guide surfaces (82,83) of the dry type Venturi channel (80) are parallel to each other and vertical to the side surface of the lower part of the air guide chamber (30).
11. The overspray capture and separation device of claim 7, wherein: the distance between the two side guide surfaces (82,83) of the dry Venturi channel (80) and the thickness of the two side guide surface wall plates are equal to the width of the air inlet (210) of the dry paint mist trapping device.
12. The overspray capture and separation device of claim 7, wherein: the upper deflector surface (81) of the dry venturi channel is inclined at an angle of less than 45 degrees relative to the lower deflector surface (84) to minimize the air ventilation area at the exit location (86) of the dry venturi channel.
13. The overspray capture and separation device of claim 7, wherein: the height difference between the highest point of the upper flow guide surface (81) and the lowest point of the lower flow guide surface (84) of the dry type Venturi channel (80) is equal to the height of an air inlet (210) of the dry type paint mist trapping device.
14. The overspray capture and separation device of claim 1, wherein: the dry paint mist trapping device mounting chamber is internally provided with a clamping groove (52) for guiding and limiting the dry paint mist trapping device and a clamping device (53) for clamping and fixing the dry paint mist trapping device.
15. The overspray capture and separation device of claim 1, wherein: the bottom plate of the dry paint mist collecting device mounting chamber (51) is provided with a track (40) for conveying the dry paint mist collecting device.
16. The overspray capture and separation device of claim 3, wherein: and a device (87) for sealing air is arranged on the vertical wall plate (63) at one side of the dry paint mist trapping device mounting chamber and positioned at the periphery of the dry venturi channel (80).
17. A dry venturi painting system comprising the overspray capture and separation device of any of claims 1-16 disposed at a lower portion of the painting system to capture and separate overspray generated during painting.
CN201510946728.8A 2015-12-17 2015-12-17 Dry-type venturi paint spraying system Active CN106890744B (en)

Priority Applications (1)

Application Number Priority Date Filing Date Title
CN201510946728.8A CN106890744B (en) 2015-12-17 2015-12-17 Dry-type venturi paint spraying system

Applications Claiming Priority (1)

Application Number Priority Date Filing Date Title
CN201510946728.8A CN106890744B (en) 2015-12-17 2015-12-17 Dry-type venturi paint spraying system

Publications (2)

Publication Number Publication Date
CN106890744A CN106890744A (en) 2017-06-27
CN106890744B true CN106890744B (en) 2021-08-06

Family

ID=59188138

Family Applications (1)

Application Number Title Priority Date Filing Date
CN201510946728.8A Active CN106890744B (en) 2015-12-17 2015-12-17 Dry-type venturi paint spraying system

Country Status (1)

Country Link
CN (1) CN106890744B (en)

Families Citing this family (9)

* Cited by examiner, † Cited by third party
Publication number Priority date Publication date Assignee Title
CN107716181B (en) * 2017-10-18 2023-03-28 苏州耀玮彤机械有限公司 Baking varnish conveying anti-blocking device for die-casting display panel shell
CN108160386A (en) * 2018-03-05 2018-06-15 南通贝思特机械工程有限公司 A kind of automobile coating equipment of novel dry coating cloud separation
CN108745734B (en) * 2018-06-04 2019-08-06 安徽江淮汽车集团股份有限公司 A kind of wind balance-conditioning system of paint spray booth
CN109821689B (en) * 2019-02-28 2020-09-29 昆山市瑞浦鑫涂装机械有限公司 Dry-type spray room
CN113560109A (en) * 2021-06-16 2021-10-29 南通贝思特机械工程有限公司 Dry-type paint spraying chamber
CN114832527A (en) * 2022-03-16 2022-08-02 中国汽车工业工程有限公司 Paint mist separation unit, paint mist separation device and spraying equipment
CN114832443A (en) * 2022-04-06 2022-08-02 合肥精祥仪表有限公司 High-efficient filterable filter that disappears
CN115889059A (en) * 2022-12-02 2023-04-04 上海中联重科桩工机械有限公司 Workpiece water-based paint coating production line and process
CN115789466A (en) * 2022-12-05 2023-03-14 嘉兴启净涂装科技有限公司 Butt joint device is changed to lacquer fog collection case

Citations (3)

* Cited by examiner, † Cited by third party
Publication number Priority date Publication date Assignee Title
US6226568B1 (en) * 1998-12-07 2001-05-01 Ernest Henry Tong Method of balancing paint booth air flows
CN202527016U (en) * 2012-03-16 2012-11-14 东莞钜升塑胶电子制品有限公司 A waste gas treatment device
CN203124177U (en) * 2013-03-24 2013-08-14 成都市金臣环保科技有限公司 Fixed type environmental-friendly integral air exchange paint-spraying room

Family Cites Families (3)

* Cited by examiner, † Cited by third party
Publication number Priority date Publication date Assignee Title
US4220118A (en) * 1978-08-15 1980-09-02 Domglas Inc. Spray hood
DE102005013711B4 (en) * 2005-03-24 2022-07-28 Dürr Systems Ag Plant for painting objects
CN105149152B (en) * 2015-09-27 2023-04-18 嘉兴启净涂装科技有限公司 Dry-type sedimentation type paint mist separation device and application thereof

Patent Citations (3)

* Cited by examiner, † Cited by third party
Publication number Priority date Publication date Assignee Title
US6226568B1 (en) * 1998-12-07 2001-05-01 Ernest Henry Tong Method of balancing paint booth air flows
CN202527016U (en) * 2012-03-16 2012-11-14 东莞钜升塑胶电子制品有限公司 A waste gas treatment device
CN203124177U (en) * 2013-03-24 2013-08-14 成都市金臣环保科技有限公司 Fixed type environmental-friendly integral air exchange paint-spraying room

Also Published As

Publication number Publication date
CN106890744A (en) 2017-06-27

Similar Documents

Publication Publication Date Title
CN106890744B (en) Dry-type venturi paint spraying system
CN105268584B (en) A kind of deflector type coating cloud capturing device
WO2017136975A1 (en) Paint fume separation device having shelves and method of separating sprayed material
CN104971558B (en) A kind of dry type venturi coating cloud capturing device and its application
CN105149152B (en) Dry-type sedimentation type paint mist separation device and application thereof
RU2610124C2 (en) Method and device for over spraying depositing, as well as plant with such device
US8535420B2 (en) Filter device for separating paint overspray
JP2015091588A (en) Coating facility
CN205169714U (en) Unpowered dust removal baffle box dust collecting system
WO2013078724A1 (en) Excessively-sprayed atomized-paint recycling system and method
JP5422814B2 (en) Paint collection system
CN104858095A (en) Double face side absorption type spray system
CN105032668A (en) Side draught type water-free spraying system
CN204817027U (en) Anhydrous paint finishing of formula is inhaled to side
CA2288524C (en) Paint spray booth-differential downdraft control
CN205461436U (en) Waste gas treatment device
CN105170384A (en) Baffled paint mist separation module and application thereof
CN102753273A (en) Device for coating, in particular painting, objects, in particular vehicle bodies
CN204735043U (en) Dry -type venturi coating cloud entrapment device and system
CN116984169B (en) Dry-type spray booth of high-efficient coating cloud entrapment
CN116899794B (en) Upwind integral dry paint mist collecting box
CN205074158U (en) Formula coating cloud separator and painting system are subsided to dry -type
KR200366738Y1 (en) dust collector fixed turbine for coating
CN105499040B (en) A kind of method that multi-stag coating cloud capturing device and trapping separated spray object
CN205074155U (en) Baffling formula coating cloud entrapment device

Legal Events

Date Code Title Description
PB01 Publication
PB01 Publication
SE01 Entry into force of request for substantive examination
SE01 Entry into force of request for substantive examination
GR01 Patent grant
GR01 Patent grant
TA01 Transfer of patent application right

Effective date of registration: 20210729

Address after: 314100 Room 327, Building 818, Huandong Road, Luoxing Street, Jiashan County, Jiaxing City, Zhejiang Province

Applicant after: Jiaxing Kai Kai Coating Technology Co.,Ltd.

Address before: 477164 Zhaozhuang 001, Yao Zhouzhuang Administrative Village, Ningping Town, Dancheng County, Zhoukou City, Henan Province

Applicant before: Zhou Xiaocan

TA01 Transfer of patent application right