CN103632820A - On-load adjustable capacity transformer low-voltage outgoing line structure - Google Patents
On-load adjustable capacity transformer low-voltage outgoing line structure Download PDFInfo
- Publication number
- CN103632820A CN103632820A CN201310678954.3A CN201310678954A CN103632820A CN 103632820 A CN103632820 A CN 103632820A CN 201310678954 A CN201310678954 A CN 201310678954A CN 103632820 A CN103632820 A CN 103632820A
- Authority
- CN
- China
- Prior art keywords
- winding
- voltage
- low
- coil
- wire
- Prior art date
- Legal status (The legal status is an assumption and is not a legal conclusion. Google has not performed a legal analysis and makes no representation as to the accuracy of the status listed.)
- Granted
Links
Images
Landscapes
- Coils Of Transformers For General Uses (AREA)
Abstract
本发明提供一种有载调容变压器低压出线结构,包括有铁心、三相低压绕组以及调容开关,所述三相低压绕组中每相所述低压绕组均包括第一绕线、第二绕线以及第三绕线,该三段绕线绕在铁心上,从内到外形成三层分布,第一绕线的a3端与第二绕线的x2端连接,所述三段绕线的线圈出头沿铁心轴向引出,线圈出头与线圈出头引线为同一侧布置,该线圈出头分别通过线圈出头引线与调容开关相应触头连接,所述线圈出头引线沿线圈侧面走向,其排列方向与线圈出头的引出方向垂直。本发明最大限度地减少引线长度,降低负载损耗,同时通过导线夹把引线夹紧,从而增大产品的机械强度。
The invention provides a low-voltage outlet structure of an on-load capacity-regulating transformer, which includes an iron core, a three-phase low-voltage winding, and a capacity-regulating switch. The low-voltage winding of each phase in the three-phase low-voltage winding includes a first winding, a second winding wire and the third winding, the three windings are wound on the core, forming three-layer distribution from the inside to the outside, the a3 end of the first winding is connected to the x2 end of the second winding, the three windings The coil outlet is drawn out along the axial direction of the iron core. The coil outlet and the coil outlet lead are arranged on the same side. The coil outlet is respectively connected to the corresponding contacts of the capacity adjustment switch through the coil outlet lead. The lead-out direction of the coil head is vertical. The invention minimizes the lead wire length, reduces load loss, and at the same time clamps the lead wire through the wire clamp, thereby increasing the mechanical strength of the product.
Description
技术领域 technical field
本发明涉及变压器的技术领域,尤其是指一种有载调容变压器低压出线结构。 The invention relates to the technical field of transformers, in particular to a low-voltage outgoing line structure of an on-load capacity regulating transformer.
背景技术 Background technique
农村电网负荷的大小是随季节的变化而变化的。农忙时电网负荷大,农闲时电网负荷小,这会给农村电网配电变压器的选型带来困难。容量选大了,在农闲时,会出现“大马拉小车”现象,容量选小了,在农忙时,因负荷过大从而引发变压器烧毁事故;春节期间,许多务工人员陆续返乡过年而使负荷陡增,倘若此时山区农村的变压器烧坏,不但大大地减少了节日气氛,而且给人们的生活带来不便。 The size of the rural power grid load varies with the seasons. The power grid load is heavy during busy farming seasons, and the power grid load is small during slack seasons, which will bring difficulties to the selection of distribution transformers in rural power grids. If the capacity is selected to be large, the phenomenon of "big horse-drawn carts" will appear during the slack season. If the capacity is selected to be small, the transformer will burn out due to excessive load during the busy season. The load increases sharply. If the transformers in the mountainous countryside burn out at this time, it will not only greatly reduce the festive atmosphere, but also bring inconvenience to people's lives.
现在市场上出现一种有载调容变压器,它具有两种大小不同的容量,可根据负荷大小进行调整。其基本设计思想是:变压器三相高压绕组在大容量时为三角形(D),小容量时为星形(Y)。 Now there is an on-load capacity regulating transformer on the market, which has two different sizes of capacity, which can be adjusted according to the size of the load. The basic design idea is: the three-phase high-voltage winding of the transformer is a triangle (D) when it has a large capacity, and it is a star (Y) when it is a small capacity.
高压绕组连接方式的改变,低压绕组并、串联的转换以及各分接部分的调整均由特制的有载调容分接开关完成。同时,大容量调为小容量时,由于低压匝数的增加,铁心磁通密度大幅度降低,而使硅钢片单位损耗变小,空载损耗和空载电流降低,达到降损节能的目的。 The change of the connection mode of the high-voltage winding, the conversion of the parallel and series connection of the low-voltage winding and the adjustment of each tap part are all completed by a special on-load capacity regulating tap-changer. At the same time, when the large capacity is adjusted to the small capacity, due to the increase of the number of low-voltage turns, the magnetic flux density of the iron core is greatly reduced, so that the unit loss of the silicon steel sheet is reduced, and the no-load loss and no-load current are reduced to achieve the purpose of loss reduction and energy saving.
有载调容变压器不仅高压绕组起尾头(A,B,C,X,Y,Z)要引到有载调容开关上,而且低压绕组出头(a1,b1,,c1,x1,y1,z1,a2,b2,c2,x2,y2,z2)也要引到有载调容开关上。由于低压引线数量多,且截面大,因此引线的排列及低压出线方式就显得非常重要,如果引线排列不当或出线方式考虑不周,都将造成引线用量增加或负载损耗增大。 The on-load capacity regulating transformer not only leads to the end of the high-voltage winding (A, B, C, X, Y, Z) to the on-load capacity regulating switch, but also the head of the low-voltage winding (a1, b1, c1, x1, y1, z1, a2, b2, c2, x2, y2, z2) should also lead to the on-load capacity regulating switch. Due to the large number of low-voltage leads and the large cross-section, the arrangement of the leads and the way of the low-voltage outlet are very important. If the arrangement of the leads is improper or the way of the outlet is not well considered, it will increase the amount of leads or increase the load loss.
发明内容 Contents of the invention
本发明的目的在于克服现有技术的不足,提供一种设计合理可靠、能最大限度减少引线长度、负载损耗低、机械强度大的有载调容变压器低压出线结构。 The purpose of the present invention is to overcome the deficiencies of the prior art, and provide a low-voltage outgoing line structure of an on-load capacity regulating transformer with reasonable and reliable design, which can minimize the length of lead wires, low load loss, and high mechanical strength.
为实现上述目的,本发明所提供的技术方案为:一种有载调容变压器低压出线结构,它包括有铁心、三相低压绕组以及调容开关,所述三相低压绕组中每相所述低压绕组均包括第一绕线、第二绕线以及第三绕线,该三段绕线绕在铁心上,从内到外形成三层分布,第一绕线的a3端与第二绕线的x2端连接,所述三段绕线的线圈出头沿铁心轴向引出,线圈出头与线圈出头引线为同一侧布置,该线圈出头分别通过线圈出头引线与调容开关相应触头连接,所述线圈出头引线沿线圈侧面走向,其排列方向与线圈出头的引出方向垂直。 In order to achieve the above object, the technical solution provided by the present invention is: a low-voltage outgoing line structure of an on-load capacity-adjusting transformer, which includes an iron core, a three-phase low-voltage winding and a capacity-regulating switch, and each phase of the three-phase low-voltage winding The low-voltage windings all include the first winding, the second winding and the third winding. The three sections of winding are wound on the iron core to form a three-layer distribution from the inside to the outside. The a3 end of the first winding is connected to the second winding. The x2 end of the coil is connected, the coil outlet of the three-section winding is drawn out along the axial direction of the iron core, the coil outlet and the coil outlet lead are arranged on the same side, and the coil outlet is connected to the corresponding contact of the capacity adjustment switch through the coil outlet lead respectively. The lead wires of the coil head run along the side of the coil, and their arrangement direction is perpendicular to the lead-out direction of the coil head.
所述第一绕线的绕向与第二、三绕线的绕向相反。 The winding direction of the first winding is opposite to that of the second and third windings.
所述线圈出头引线与调容开关触头连接的一端接有接线鼻,线圈出头引线与调容开关触头通过该接线鼻连接。 One end of the coil leading wire connected to the contact of the capacity regulating switch is connected with a lug through which the coil leading wire and the contact of the capacity regulating switch are connected.
所述线圈出头引线通过导线夹夹紧,导线夹固定在夹件上。 The outgoing leads of the coil are clamped by the wire clamp, and the wire clamp is fixed on the clip.
所述三相低压绕组包括a相低压绕组、b相低压绕组以及c相低压绕组,其中,a相低压绕组中第一绕线的a3端与第二绕线的x2端连接,b相低压绕组中第一绕线的b3端与第二绕线的y2端连接,c相低压绕组中第一绕线的c3端与第二绕线的z2端连接。 The three-phase low-voltage windings include a-phase low-voltage windings, b-phase low-voltage windings, and c-phase low-voltage windings, wherein the a3 end of the first winding in the a-phase low-voltage winding is connected to the x2 end of the second winding, and the b-phase low-voltage winding The b3 end of the first winding is connected to the y2 end of the second winding, and the c3 end of the first winding in the c-phase low-voltage winding is connected to the z2 end of the second winding.
本发明在采用了上述方案后,其最大优点在于能最大限度地减少引线长度,降低负载损耗,同时通过导线夹把引线夹紧,从而增大产品的机械强度。 After adopting the above scheme, the present invention has the greatest advantages in that it can minimize the lead wire length and reduce the load loss, and at the same time clamp the lead wire through the wire clamp, thereby increasing the mechanical strength of the product.
附图说明 Description of drawings
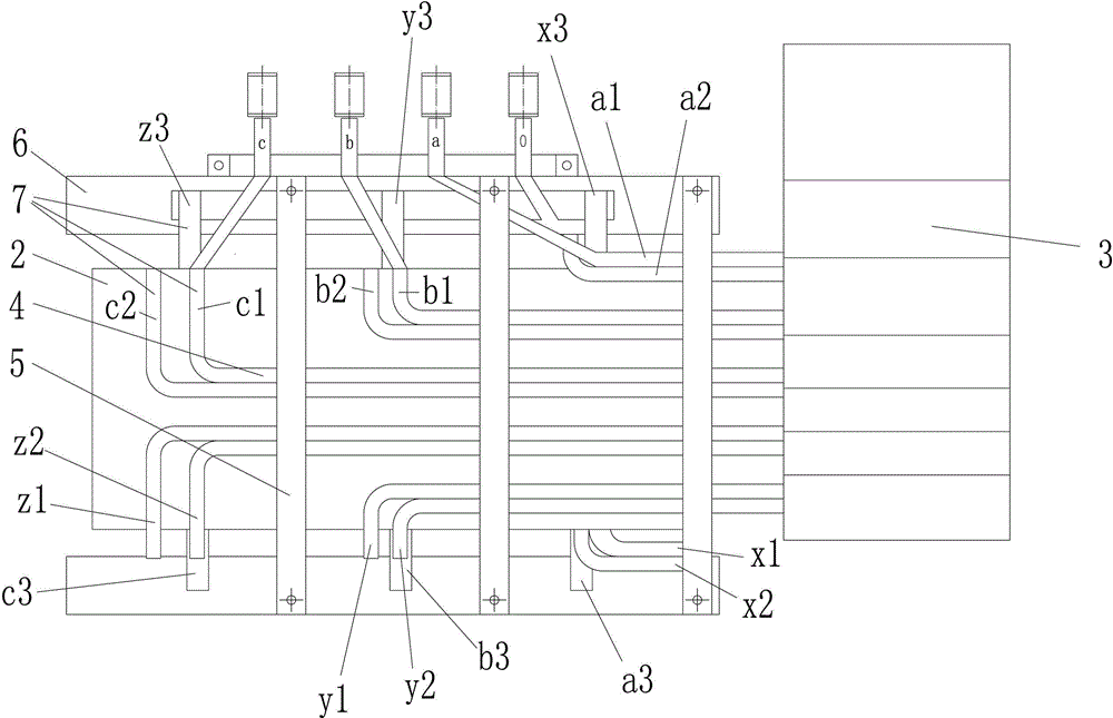
图1为本发明的结构示意图。 Fig. 1 is a structural schematic diagram of the present invention.
图2为本发明中低压线圈出头示意图。 Fig. 2 is a schematic diagram of the middle and low voltage coils of the present invention.
图3为现有技术中大容量时低压线圈接线原理图。 Fig. 3 is a schematic diagram of low-voltage coil wiring in large capacity in the prior art.
图4为现有技术中小容量时低压线圈接线原理图。 Fig. 4 is a schematic diagram of low-voltage coil wiring in the case of small and medium capacity in the prior art.
具体实施方式 Detailed ways
下面结合具体实施例对本发明作进一步说明。 The present invention will be further described below in conjunction with specific examples.
参见附图1至附图4所示,本实施例所述的有载调容变压器低压出线结构,它包括有铁心1、三相低压绕组2以及调容开关3,所述三相低压绕组2中a、b、c相低压绕组均包括第一绕线2-1、第二绕线2-2以及第三绕线2-3,该三段绕线绕在铁心1上,第一绕线2-1的绕向与第二、三绕线2-2、2-3的绕向相反,从内到外形成三层分布,a相低压绕组中第一绕线2-1的a3端与第二绕线2-2的x2端连接,b相低压绕组中第一绕线2-1的b3端与第二绕线2-2的y2端连接,c相低压绕组中第一绕线2-1的c3端与第二绕线2-2的z2端连接,所述三段绕线的线圈出头7沿铁心1轴向引出,线圈出头7与线圈出头引线4为同一侧布置,该线圈出头7分别通过线圈出头引线4与调容开关3相应触头连接,线圈出头引线4与调容开关3触头连接的一端接有接线鼻,线圈出头引线4与调容开关3触头通过该接线鼻连接,调容开关3根据负荷大小进行大小容量的转换,所述线圈出头引线4沿线圈侧面走向,其排列方向与线圈出头7的引出方向垂直,且线圈出头引线4通过导线夹5夹紧,而导线夹5固定在夹件6上。本发明能最大限度地减少引线长度,降低负载损耗,同时通过导线夹把引线夹紧,从而增大产品的机械强度。
Referring to accompanying
以上所述之实施例子只为本发明之较佳实施例,并非以此限制本发明的实施范围,故凡依本发明之形状、原理所作的变化,均应涵盖在本发明的保护范围内。 The implementation examples described above are only preferred embodiments of the present invention, and are not intended to limit the scope of the present invention. Therefore, all changes made according to the shape and principle of the present invention should be covered within the scope of protection of the present invention.
Claims (5)
Priority Applications (1)
| Application Number | Priority Date | Filing Date | Title |
|---|---|---|---|
| CN201310678954.3A CN103632820B (en) | 2013-12-14 | 2013-12-14 | On-load adjustable capacity transformer low-voltage outgoing line structure |
Applications Claiming Priority (1)
| Application Number | Priority Date | Filing Date | Title |
|---|---|---|---|
| CN201310678954.3A CN103632820B (en) | 2013-12-14 | 2013-12-14 | On-load adjustable capacity transformer low-voltage outgoing line structure |
Publications (2)
| Publication Number | Publication Date |
|---|---|
| CN103632820A true CN103632820A (en) | 2014-03-12 |
| CN103632820B CN103632820B (en) | 2015-04-01 |
Family
ID=50213757
Family Applications (1)
| Application Number | Title | Priority Date | Filing Date |
|---|---|---|---|
| CN201310678954.3A Active CN103632820B (en) | 2013-12-14 | 2013-12-14 | On-load adjustable capacity transformer low-voltage outgoing line structure |
Country Status (1)
| Country | Link |
|---|---|
| CN (1) | CN103632820B (en) |
Cited By (9)
| Publication number | Priority date | Publication date | Assignee | Title |
|---|---|---|---|---|
| CN104766711A (en) * | 2014-11-17 | 2015-07-08 | 平高集团有限公司 | On-load capacitance and voltage regulating transformer and coil module thereof |
| CN104990639A (en) * | 2015-07-01 | 2015-10-21 | 广东电网有限责任公司电力科学研究院 | Fiber temperature measuring structure used for 10kV distribution transformer |
| CN105976997A (en) * | 2016-06-24 | 2016-09-28 | 卧龙电气集团股份有限公司 | On-load capacity regulating transformer with staggered leading-out low voltage windings |
| CN106098327A (en) * | 2016-08-18 | 2016-11-09 | 吴江变压器有限公司 | A kind of pin configuration that can adjust loaded capacity-regulated transformer D.C. resistance |
| CN109378189A (en) * | 2018-12-03 | 2019-02-22 | 山东电工电气集团智能电气有限公司 | Transformer low voltage winding and loaded capacity-regulated transformer |
| CN109616294A (en) * | 2019-01-11 | 2019-04-12 | 浙江宝威电气有限公司 | A kind of capacitance-adjustable transformer of three-phase linear arranged type Dy (Yy) connection |
| CN112992499A (en) * | 2021-03-22 | 2021-06-18 | 保定天威保变电气股份有限公司 | Three-phase integrated autotransformer low-voltage copper pipe lead structure and method |
| CN114743770A (en) * | 2022-02-28 | 2022-07-12 | 保定天威保变电气股份有限公司 | Tapping lead structure of traction transformer and transformer |
| CN115985656A (en) * | 2023-03-20 | 2023-04-18 | 保定天威保变电气股份有限公司 | Distribution network voltage regulation phase modulation transformer wiring structure |
Citations (6)
| Publication number | Priority date | Publication date | Assignee | Title |
|---|---|---|---|---|
| GB346926A (en) * | 1929-03-06 | 1931-04-23 | Elettromecc Scarpa & Magnano S | Improvements in or relating to apparatus for measuring alternating electric magnitudes |
| CN101090034A (en) * | 2007-05-14 | 2007-12-19 | 邵长青 | Load capacity and pressure regulating switch for transformer |
| CN102930964A (en) * | 2012-10-12 | 2013-02-13 | 沈阳昊诚电气股份有限公司 | Three-phase on-load capacitance-tuning transformer |
| CN203242512U (en) * | 2013-04-24 | 2013-10-16 | 辽宁金立电力电器有限公司 | On-load capacitance-regulating voltage-regulating tapping switch |
| CN203277071U (en) * | 2013-06-04 | 2013-11-06 | 苏州星州变压器有限公司 | Three-phase twelve-pulse-wave rectifier transformer structure |
| CN203706818U (en) * | 2013-12-14 | 2014-07-09 | 广东广特电气有限公司 | On-load capacity regulating transformer low-voltage wire outlet structure |
-
2013
- 2013-12-14 CN CN201310678954.3A patent/CN103632820B/en active Active
Patent Citations (6)
| Publication number | Priority date | Publication date | Assignee | Title |
|---|---|---|---|---|
| GB346926A (en) * | 1929-03-06 | 1931-04-23 | Elettromecc Scarpa & Magnano S | Improvements in or relating to apparatus for measuring alternating electric magnitudes |
| CN101090034A (en) * | 2007-05-14 | 2007-12-19 | 邵长青 | Load capacity and pressure regulating switch for transformer |
| CN102930964A (en) * | 2012-10-12 | 2013-02-13 | 沈阳昊诚电气股份有限公司 | Three-phase on-load capacitance-tuning transformer |
| CN203242512U (en) * | 2013-04-24 | 2013-10-16 | 辽宁金立电力电器有限公司 | On-load capacitance-regulating voltage-regulating tapping switch |
| CN203277071U (en) * | 2013-06-04 | 2013-11-06 | 苏州星州变压器有限公司 | Three-phase twelve-pulse-wave rectifier transformer structure |
| CN203706818U (en) * | 2013-12-14 | 2014-07-09 | 广东广特电气有限公司 | On-load capacity regulating transformer low-voltage wire outlet structure |
Cited By (12)
| Publication number | Priority date | Publication date | Assignee | Title |
|---|---|---|---|---|
| CN104766711A (en) * | 2014-11-17 | 2015-07-08 | 平高集团有限公司 | On-load capacitance and voltage regulating transformer and coil module thereof |
| CN104990639A (en) * | 2015-07-01 | 2015-10-21 | 广东电网有限责任公司电力科学研究院 | Fiber temperature measuring structure used for 10kV distribution transformer |
| CN105976997A (en) * | 2016-06-24 | 2016-09-28 | 卧龙电气集团股份有限公司 | On-load capacity regulating transformer with staggered leading-out low voltage windings |
| CN106098327A (en) * | 2016-08-18 | 2016-11-09 | 吴江变压器有限公司 | A kind of pin configuration that can adjust loaded capacity-regulated transformer D.C. resistance |
| CN109378189A (en) * | 2018-12-03 | 2019-02-22 | 山东电工电气集团智能电气有限公司 | Transformer low voltage winding and loaded capacity-regulated transformer |
| CN109378189B (en) * | 2018-12-03 | 2024-02-27 | 山东电工电气集团智能电气有限公司 | Transformer low-voltage winding and on-load capacity-regulating transformer |
| CN109616294A (en) * | 2019-01-11 | 2019-04-12 | 浙江宝威电气有限公司 | A kind of capacitance-adjustable transformer of three-phase linear arranged type Dy (Yy) connection |
| CN109616294B (en) * | 2019-01-11 | 2024-05-24 | 浙江宝威电气有限公司 | Capacity-regulating transformer adopting three-phase linear arrangement Dy (Yy) connection method |
| CN112992499A (en) * | 2021-03-22 | 2021-06-18 | 保定天威保变电气股份有限公司 | Three-phase integrated autotransformer low-voltage copper pipe lead structure and method |
| CN114743770A (en) * | 2022-02-28 | 2022-07-12 | 保定天威保变电气股份有限公司 | Tapping lead structure of traction transformer and transformer |
| CN115985656A (en) * | 2023-03-20 | 2023-04-18 | 保定天威保变电气股份有限公司 | Distribution network voltage regulation phase modulation transformer wiring structure |
| CN115985656B (en) * | 2023-03-20 | 2023-08-29 | 保定天威保变电气股份有限公司 | Wiring structure of voltage and phase regulating transformer of power distribution network |
Also Published As
| Publication number | Publication date |
|---|---|
| CN103632820B (en) | 2015-04-01 |
Similar Documents
| Publication | Publication Date | Title |
|---|---|---|
| CN103632820B (en) | On-load adjustable capacity transformer low-voltage outgoing line structure | |
| CN103354156B (en) | The pin configuration of the two transformer with split winding of a kind of three dimensional wound core | |
| CN102403106B (en) | single phase transformer | |
| CN205354833U (en) | Transfer and hold transformer winding | |
| CN202678061U (en) | Photovoltaic wind electricity duplex winding split dry-type transformer | |
| CN203706818U (en) | On-load capacity regulating transformer low-voltage wire outlet structure | |
| CN202405075U (en) | Single-phase transformer | |
| CN205487713U (en) | A inductance for high -power direct -current power supply | |
| CN202178141U (en) | Lead structure of Vv couple traction transformer | |
| CN202695100U (en) | Structure of main transformer consisting of multiple transformers in inverse power supply | |
| CN102568795B (en) | Three-phase to two-phase balance transformer | |
| CN201616328U (en) | Dual-voltage power transformer | |
| CN210722704U (en) | Dry-type converter transformer | |
| CN203242471U (en) | Valve side winding wire outgoing structure of convertor transformer | |
| CN204441047U (en) | 110kV level energy-saving oil immersed three dimensional wound core power transformer | |
| CN202394680U (en) | Large-power rectifier transformer of charger | |
| CN202749201U (en) | Novel shell type electric furnace transformer | |
| CN202142391U (en) | Low-voltage dry-type magnetron reactor coil tap | |
| CN205451995U (en) | Nanocrystalline high frequency single phase transformer | |
| CN204407155U (en) | A kind of low voltage lead structure of three-dimensional wound core dry type transformer | |
| CN206322571U (en) | A kind of single-phase voltage transformer body structure | |
| CN204407156U (en) | A kind of wire structures of three-dimensional wound core dry type transformer low-voltage lead | |
| CN203038770U (en) | 10 kV and 20 kV conversion distribution transformer | |
| CN103413658A (en) | Amorphous alloy dry traction rectifier transformer allowing network side terminals to be led out from the same side | |
| CN201278310Y (en) | Unequal capacity balanced traction transformer |
Legal Events
| Date | Code | Title | Description |
|---|---|---|---|
| PB01 | Publication | ||
| PB01 | Publication | ||
| C10 | Entry into substantive examination | ||
| SE01 | Entry into force of request for substantive examination | ||
| ASS | Succession or assignment of patent right |
Owner name: GUANGDONG GRID COMPANY QINGYUAN QINGXIN POWER SUPP Effective date: 20140806 |
|
| C41 | Transfer of patent application or patent right or utility model | ||
| C53 | Correction of patent of invention or patent application | ||
| CB03 | Change of inventor or designer information |
Inventor after: Yu Jijiang Inventor after: Liu Changjiang Inventor after: Lai Meiyun Inventor after: Luo Jianjun Inventor after: Luo Weibin Inventor after: Zheng Zhongyu Inventor before: Yu Jijiang Inventor before: Liu Changjiang |
|
| COR | Change of bibliographic data |
Free format text: CORRECT: INVENTOR; FROM: YU JIJIANG LIU CHANGJIANG TO: YU JIJIANG LIU CHANGJIANG LAI MEIYUN LUO JIANJUN LUO WEIBIN ZHENG ZHONGYU |
|
| TA01 | Transfer of patent application right |
Effective date of registration: 20140806 Address after: 528225 Guangdong city in Foshan province north of the town of Nanhai District Economic Development Zone, the industrial section of the North South China Sea Applicant after: Guangdong Guangte Electric Co., Ltd. Applicant after: QINGYUAN QINGXIN ELECTRIC POWER SUPPLY BUREAU OF STATE GRID GUANGDONG ELECTRIC POWER COMPANY Address before: 528225 Guangdong city in Foshan province north of the town of Nanhai District Economic Development Zone, the industrial section of the North South China Sea Applicant before: Guangdong Guangte Electric Co., Ltd. |
|
| C14 | Grant of patent or utility model | ||
| GR01 | Patent grant | ||
| C56 | Change in the name or address of the patentee | ||
| CP01 | Change in the name or title of a patent holder |
Address after: 528225 Guangdong city in Foshan province north of the town of Nanhai District Economic Development Zone, the industrial section of the North South China Sea Patentee after: GUANGDONG GUANGTE ELECTRIC CO. LTD. Patentee after: QINGYUAN QINGXIN ELECTRIC POWER SUPPLY BUREAU OF STATE GRID GUANGDONG ELECTRIC POWER COMPANY Address before: 528225 Guangdong city in Foshan province north of the town of Nanhai District Economic Development Zone, the industrial section of the North South China Sea Patentee before: Guangdong Guangte Electric Co., Ltd. Patentee before: QINGYUAN QINGXIN ELECTRIC POWER SUPPLY BUREAU OF STATE GRID GUANGDONG ELECTRIC POWER COMPANY |
