CN103388779A - 室内led灯具及配光方法 - Google Patents
室内led灯具及配光方法 Download PDFInfo
- Publication number
- CN103388779A CN103388779A CN2013102918672A CN201310291867A CN103388779A CN 103388779 A CN103388779 A CN 103388779A CN 2013102918672 A CN2013102918672 A CN 2013102918672A CN 201310291867 A CN201310291867 A CN 201310291867A CN 103388779 A CN103388779 A CN 103388779A
- Authority
- CN
- China
- Prior art keywords
- light
- led
- light distribution
- collective optics
- indoor
- Prior art date
- Legal status (The legal status is an assumption and is not a legal conclusion. Google has not performed a legal analysis and makes no representation as to the accuracy of the status listed.)
- Pending
Links
- 238000000034 method Methods 0.000 title claims abstract description 11
- 230000003287 optical effect Effects 0.000 claims description 29
- 229920003229 poly(methyl methacrylate) Polymers 0.000 claims description 9
- 239000004926 polymethyl methacrylate Substances 0.000 claims description 9
- 230000001788 irregular Effects 0.000 claims description 6
- 238000002834 transmittance Methods 0.000 claims description 6
- 230000004313 glare Effects 0.000 abstract description 3
- 230000001795 light effect Effects 0.000 abstract 1
- 238000004519 manufacturing process Methods 0.000 description 2
- 230000009286 beneficial effect Effects 0.000 description 1
- 238000006243 chemical reaction Methods 0.000 description 1
- 238000004134 energy conservation Methods 0.000 description 1
- 238000005516 engineering process Methods 0.000 description 1
- 238000000605 extraction Methods 0.000 description 1
- 238000005286 illumination Methods 0.000 description 1
Images
Landscapes
- Non-Portable Lighting Devices Or Systems Thereof (AREA)
Abstract
本发明涉及一种室内
LED
灯具及配光方法。现有的
LED
室内灯具的配光普遍采取两种结构,一种是利用
LED
本身发光角加透明面罩,这种配光结构会产生强烈的眩光,使人感到不适。另一种是利用漫反射磨砂面来对
LED
光源进行均光,这种配光会大大降低
LED
的光效,不能很好的体现
LED
光源的节能特性。
本发明组成包括
:LED
灯源(
1
),所述的
LED
灯源(
1
)安装在电路板(
2
)上,所述的
LED
灯源(
1
)前方安装有聚光元件(
3
),所述的聚光元件(
3
)前方安装有配光元件(
4
)。
本发明用于室内
LED
灯具的配光。
Description
技术领域:
本发明涉及一种室内LED灯具及配光方法。
背景技术:
现有的LED室内灯具的配光普遍采取两种结构,一种是利用LED本身发光角加透明面罩,这种配光结构会产生强烈的眩光,使人感到不适。另一种是利用漫反射磨砂面来对LED光源进行均光,这种配光会大大降低LED的光效,不能很好的体现LED光源的节能特性。
发明内容:
本发明的目的在于提供一种为LED灯具提供一种方式简单,无眩光且出光效率高的灯具,及配光方法。
本发明的目的是这样实现的:
一种室内LED灯具,其组成包括:LED灯源,所述的LED灯源安装在电路板上,所述的LED灯源前方安装有聚光元件,所述的聚光元件前方安装有配光元件。
所述的室内LED灯具,所述的聚光元件由光学PC或PMMA制成,所述的配光元件为光学PC或PMMA制成。
所述的室内LED灯具,所述的LED光源放置于所述的聚光元件的焦点上,通过所述的LED光源发出的光先达到所述的聚光元件,光学透过率高,通过所述的聚光元件上的光学花纹使不规则的入射光线转换成类平行光,出射的类平行光到达所述的配光元件,通过所述的配光元件上设计的光学花纹将类平行光均匀的发散到指定的光学平面。
所述的室内LED灯具,所述的聚光元件与所述的配光元件一体,为聚光及配光一体元件。
一种上述的室内LED灯具的配光方法,所述的LED光源放置于聚光元件的焦点上,通过LED光源发出的光先达到聚光元件,所述的聚光元件由光学PC或PMMA制成,光学透过率高,通过聚光元件上的光学花纹使不规则的入射光线转换成类平行光,出射的类平行光到达配光元件,通过配光元件上设计的光学花纹将类平行光均匀的发散到指定的光学平面。
有益效果:
1.本发明通过光学元件对光线分布的变换解决了现阶段LED灯具造成的眩光问题。
2.本发明通过利用点光源转换成面光源的配光理念和合理的光学结构,解决了现阶段LED灯具利用漫反射磨砂面配光造成的巨大光损。
3.本发明通过光学元件的设计可以使光线按照照明实际需求达到指定的光学平面,增加光线利用率。
4.本发明光学结构简单,制造工艺也极为简便,开发和生产成本显著降低。附图说明:
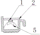
附图1 是本发明的结构示意图。图中,1为LED光源,2为电路板,3为聚光元件,4为配光元件。
附图2是本发明的另一种结构示意图。图中1为LED光源,2为电路板,5为聚光及配光一体元件。
具体实施方式:
实施例1:
一种室内LED灯具,其组成包括:LED灯源1,所述的LED灯源安装在电路板2上,所述的LED灯源1前方安装有聚光元件3,所述的聚光元件3前方安装有配光元件4。
实施例2:
根据实施例1所述的室内LED灯具,所述的聚光元件3由光学PC或PMMA制成,所述的配光元件4为光学PC或PMMA制成。
实施例3:
根据实施例1或2所述的室内LED灯具,所述的LED光源1放置于所述的聚光元件3的焦点上,通过所述的LED光源1发出的光先达到所述的聚光元件3,光学透过率高,通过所述的聚光元件3上的光学花纹使不规则的入射光线转换成类平行光,出射的类平行光到达所述的配光元件4,通过所述的配光元件4上设计的光学花纹将类平行光均匀的发散到指定的光学平面。
实施例4:
根据实施例1或2所述的室内LED灯具,所述的聚光元件3与所述的配光元件4一体,为聚光及配光一体元件5。
实施例5:
一种室内LED灯具的配光方法,所述的LED光源1放置于聚光元件3的焦点上,通过LED光源1发出的光先达到聚光元件3,所述的聚光元件3由光学PC或PMMA制成,光学透过率高,通过聚光元件3上的光学花纹使不规则的入射光线转换成类平行光,出射的类平行光到达配光元件4,通过配光元件4上设计的光学花纹将类平行光均匀的发散到指定的光学平面。
Claims (5)
1.一种室内LED灯具,其组成包括:LED灯源,其特征是:所述的LED灯源安装在电路板上,所述的LED灯源前方安装有聚光元件,所述的聚光元件前方安装有配光元件。
2.根据权利要求1所述的室内LED灯具,其特征是:所述的聚光元件由光学PC或PMMA制成,所述的配光元件为光学PC或PMMA制成。
3.根据权利要求1或2所述的室内LED灯具,其特征是:所述的LED光源放置于所述的聚光元件的焦点上,通过所述的LED光源发出的光先达到所述的聚光元件,光学透过率高,通过所述的聚光元件上的光学花纹使不规则的入射光线转换成类平行光,出射的类平行光到达所述的配光元件,通过所述的配光元件上设计的光学花纹将类平行光均匀的发散到指定的光学平面。
4.根据权利要求书1或2所述的室内LED灯具,其特征是:所述的聚光元件与所述的配光元件一体,为聚光及配光一体元件。
5.一种权利要求1或2或3或4所述的室内LED灯具的配光方法,其特征是:其方法为:所述的LED光源放置于聚光元件的焦点上,通过LED光源发出的光先达到聚光元件,所述的聚光元件由光学PC或PMMA制成,光学透过率高,通过聚光元件上的光学花纹使不规则的入射光线转换成类平行光,出射的类平行光到达配光元件,通过配光元件上设计的光学花纹将类平行光均匀的发散到指定的光学平面。
Priority Applications (1)
| Application Number | Priority Date | Filing Date | Title |
|---|---|---|---|
| CN2013102918672A CN103388779A (zh) | 2013-07-12 | 2013-07-12 | 室内led灯具及配光方法 |
Applications Claiming Priority (1)
| Application Number | Priority Date | Filing Date | Title |
|---|---|---|---|
| CN2013102918672A CN103388779A (zh) | 2013-07-12 | 2013-07-12 | 室内led灯具及配光方法 |
Publications (1)
| Publication Number | Publication Date |
|---|---|
| CN103388779A true CN103388779A (zh) | 2013-11-13 |
Family
ID=49533136
Family Applications (1)
| Application Number | Title | Priority Date | Filing Date |
|---|---|---|---|
| CN2013102918672A Pending CN103388779A (zh) | 2013-07-12 | 2013-07-12 | 室内led灯具及配光方法 |
Country Status (1)
| Country | Link |
|---|---|
| CN (1) | CN103388779A (zh) |
Citations (7)
| Publication number | Priority date | Publication date | Assignee | Title |
|---|---|---|---|---|
| WO2000070687A1 (de) * | 1999-05-14 | 2000-11-23 | Osram Opto Semiconductors Gmbh & Co. Ohg | Led-modul für signaleinrichtungen |
| CN1766408A (zh) * | 2004-10-14 | 2006-05-03 | 斯坦雷电气株式会社 | 灯具 |
| CN101225930A (zh) * | 2007-01-19 | 2008-07-23 | 精碟科技股份有限公司 | 照明装置及其聚光板 |
| CN201513829U (zh) * | 2009-09-08 | 2010-06-23 | 浙江工业大学 | Led二次反射配光装置 |
| CN102230592A (zh) * | 2011-07-22 | 2011-11-02 | 浙江晶日照明科技有限公司 | 一种具有菲涅尔透镜的射灯组件 |
| CN202955651U (zh) * | 2011-12-01 | 2013-05-29 | 何晨慧 | 一种led灯具光学结构 |
| CN203322829U (zh) * | 2013-07-12 | 2013-12-04 | 哈尔滨固泰电子有限责任公司 | 室内led灯具 |
-
2013
- 2013-07-12 CN CN2013102918672A patent/CN103388779A/zh active Pending
Patent Citations (7)
| Publication number | Priority date | Publication date | Assignee | Title |
|---|---|---|---|---|
| WO2000070687A1 (de) * | 1999-05-14 | 2000-11-23 | Osram Opto Semiconductors Gmbh & Co. Ohg | Led-modul für signaleinrichtungen |
| CN1766408A (zh) * | 2004-10-14 | 2006-05-03 | 斯坦雷电气株式会社 | 灯具 |
| CN101225930A (zh) * | 2007-01-19 | 2008-07-23 | 精碟科技股份有限公司 | 照明装置及其聚光板 |
| CN201513829U (zh) * | 2009-09-08 | 2010-06-23 | 浙江工业大学 | Led二次反射配光装置 |
| CN102230592A (zh) * | 2011-07-22 | 2011-11-02 | 浙江晶日照明科技有限公司 | 一种具有菲涅尔透镜的射灯组件 |
| CN202955651U (zh) * | 2011-12-01 | 2013-05-29 | 何晨慧 | 一种led灯具光学结构 |
| CN203322829U (zh) * | 2013-07-12 | 2013-12-04 | 哈尔滨固泰电子有限责任公司 | 室内led灯具 |
Similar Documents
| Publication | Publication Date | Title |
|---|---|---|
| CN207815220U (zh) | 一种led全反射透镜、led导光体和汽车车灯 | |
| CN201196353Y (zh) | 发光单元的组合结构 | |
| CN207298513U (zh) | 一种防炫护眼型电子台灯 | |
| CN202118683U (zh) | 背光照明装置及设有该背光照明装置的冰箱 | |
| CN203322829U (zh) | 室内led灯具 | |
| CN204254425U (zh) | 一种单侧发光集成吊顶面板灯 | |
| CN103206623A (zh) | 灯泡及其透镜单元 | |
| CN201892097U (zh) | 一种由led光源构成的白光灯具 | |
| CN103388779A (zh) | 室内led灯具及配光方法 | |
| CN201555041U (zh) | 一种光线柔和的led灯泡 | |
| CN204829356U (zh) | 一种防眩光面板灯 | |
| CN204420671U (zh) | 一种照度均匀的灯具 | |
| CN202747068U (zh) | 330°发光的led球泡灯 | |
| CN101922643A (zh) | 一种led台灯 | |
| CN203615166U (zh) | 一种灯具及其光学模组 | |
| CN206989104U (zh) | 一种薄型v型沟槽光学透镜 | |
| CN104566181B (zh) | 一种无导光板自然光平板灯 | |
| CN204387924U (zh) | 一种太阳能草坪灯 | |
| CN203202681U (zh) | 一种灯具 | |
| CN209893317U (zh) | 大功率led防眩光灯具 | |
| CN204201765U (zh) | 一种太阳光平板灯 | |
| CN203585880U (zh) | Led节能灯 | |
| CN202660264U (zh) | 一种led室内照明灯具模块 | |
| CN204534205U (zh) | Led灯 | |
| CN201487878U (zh) | 多头led灯 |
Legal Events
| Date | Code | Title | Description |
|---|---|---|---|
| C06 | Publication | ||
| PB01 | Publication | ||
| C10 | Entry into substantive examination | ||
| SE01 | Entry into force of request for substantive examination | ||
| RJ01 | Rejection of invention patent application after publication | ||
| RJ01 | Rejection of invention patent application after publication |
Application publication date: 20131113 |