CN103345983A - Bidirectional wrapping machine of superconductivity strip insulating band - Google Patents
Bidirectional wrapping machine of superconductivity strip insulating band Download PDFInfo
- Publication number
- CN103345983A CN103345983A CN2013102798609A CN201310279860A CN103345983A CN 103345983 A CN103345983 A CN 103345983A CN 2013102798609 A CN2013102798609 A CN 2013102798609A CN 201310279860 A CN201310279860 A CN 201310279860A CN 103345983 A CN103345983 A CN 103345983A
- Authority
- CN
- China
- Prior art keywords
- insulating tape
- wrapped
- pinch rollers
- chain
- tape
- Prior art date
- Legal status (The legal status is an assumption and is not a legal conclusion. Google has not performed a legal analysis and makes no representation as to the accuracy of the status listed.)
- Granted
Links
- 230000002457 bidirectional effect Effects 0.000 title 1
- 230000005540 biological transmission Effects 0.000 claims abstract 7
- 238000009413 insulation Methods 0.000 claims 15
- 239000000463 material Substances 0.000 claims 15
- 229910001220 stainless steel Inorganic materials 0.000 claims 11
- 239000010935 stainless steel Substances 0.000 claims 11
- 238000002955 isolation Methods 0.000 claims 3
- YCKRFDGAMUMZLT-UHFFFAOYSA-N Fluorine atom Chemical compound [F] YCKRFDGAMUMZLT-UHFFFAOYSA-N 0.000 claims 1
- 230000000694 effects Effects 0.000 claims 1
- 229910052731 fluorine Inorganic materials 0.000 claims 1
- 239000011737 fluorine Substances 0.000 claims 1
- 238000009434 installation Methods 0.000 abstract 1
Images
Landscapes
- Superconductors And Manufacturing Methods Therefor (AREA)
Abstract
一种超导带材绝缘带双向绕包机,由收线盘、放线盘、两组绝缘带绕包盘、两组绝缘带压紧滚轮和一套传动部分组成。收线盘、放线盘、两组绝缘带绕包盘和两组绝缘带压紧滚轮安装在操作台上,安装顺序从右往左依次是:放线盘、第一组绝缘带绕包盘、第一组绝缘带压紧滚轮、第二组绝缘带绕包盘、第二组绝缘带压紧滚轮、收线盘;传动部分安装在操作台的下方。第一对绝缘带绕包盘和绝缘带压紧滚轮用于超导带材单向绝缘带绕包,若进行超导带双向绕包则将超导带引入第二组绝缘带绕包盘和绝缘带压紧滚轮。
A two-way wrapping machine for insulating tape of superconducting strips is composed of a take-up reel, a pay-off reel, two sets of wrapping reels for insulating tape, two sets of pressing rollers for insulating tape and a set of transmission parts. The take-up reel, pay-off reel, two sets of insulating tape wrapping reels and two sets of insulating tape pressing rollers are installed on the console, and the installation sequence from right to left is: pay-off reel, first set of insulating tape wrapping reels , The first group of insulating tape pressing rollers, the second group of insulating tape wrapping reels, the second group of insulating tape pressing rollers, and the take-up reel; the transmission part is installed under the console. The first pair of insulating tape wrapping reels and insulating tape pressing rollers are used for one-way insulating tape wrapping of superconducting tape, and if superconducting tape is double-directed wrapping, the superconducting tape is introduced into the second set of insulating tape wrapping reels and Insulated tape hold down rollers.
Description
技术领域technical field
本发明涉及一种超导带材绝缘带绕包装置。The invention relates to a superconducting tape insulation tape wrapping device.
背景技术Background technique
超导带材的绝缘绕包是超导应用中比较重要的一个环节,要求绝缘带层与层之间搭接距离合适,多层绕包更是如此,否则绕包之后的超导带会出现厚度不匀的现象。绕包过程中超导带材与绝缘带之间必须做压紧处理,不能留有气泡,否则会影响到绝缘效果,一旦应用到高压环境下更可能出现事故。超导带材的极限拉伸应力不大,因此用来拉紧超导带材的电机拉力过大的话可能会导致超导带材断裂失效。目前市面上的绝缘带绕包机都是针对普通电缆的,无论是线缆拉紧力还是绝缘带绕包的紧密程度都不适用于超导带绝缘绕包。The insulation wrapping of superconducting tape is a relatively important link in the application of superconducting. It is required that the overlapping distance between layers of insulating tape is appropriate, especially for multi-layer wrapping, otherwise the superconducting tape after wrapping will appear The phenomenon of uneven thickness. During the wrapping process, the superconducting tape and the insulating tape must be compacted, and no air bubbles should be left, otherwise the insulation effect will be affected, and accidents may occur once it is applied to a high-voltage environment. The ultimate tensile stress of the superconducting tape is not large, so if the motor tension used to tension the superconducting tape is too large, the superconducting tape may break and fail. At present, the insulating tape wrapping machines on the market are all for ordinary cables, neither the cable tension nor the tightness of insulating tape wrapping are suitable for superconducting tape insulating wrapping.
发明内容Contents of the invention
本发明的目的在于克服当前绝缘带绕包机在超导带绕包过程中拉紧力过大以及绝缘带压紧程度不足的缺点,提出一种超导带材绝缘带双向绕包的装置。本发明可实现绝缘带多层绕包,绕包节距可调;并且使得超导带与绝缘带之间压紧程度合适,经检验无气泡存留,绝缘带绕包过程中超导带拉紧力适中,对超导带无损伤。The purpose of the present invention is to overcome the shortcomings of the current insulating tape wrapping machine in the superconducting tape wrapping process, such as excessive tension force and insufficient insulating tape compression degree, and propose a device for bidirectional wrapping of superconducting tape insulating tape. The invention can realize multi-layer wrapping of the insulating tape, and the pitch of the wrapping can be adjusted; and the degree of compression between the superconducting tape and the insulating tape is suitable, no air bubbles remain after inspection, and the superconducting tape is tightened during the wrapping process of the insulating tape Moderate force, no damage to the superconducting tape.
本发明具体技术方案如下:Concrete technical scheme of the present invention is as follows:
本发明超导带材绝缘带双向绕包装置由收线盘、放线盘、两组绝缘带绕包盘、两组绝缘带压紧滚轮和一套传动部分组成。按照绝缘带绕包的工作流程,收线盘、放线盘、两组绝缘带绕包盘和两组绝缘带压紧滚轮安装在操作台上,安装顺序从右往左依次是:放线盘、第一组绝缘带绕包盘、第一组绝缘带压紧滚轮、第二组绝缘带绕包盘、第二组绝缘带压紧滚轮、收线盘。第一对绝缘带绕包盘和绝缘带压紧滚轮用于超导带材单向绝缘带绕包,如果需要进行超导带双向绕包则将超导带引入第二组绝缘带绕包盘和绝缘带压紧滚轮。The two-way wrapping device for insulating tape of superconducting tape of the present invention is composed of a take-up reel, a pay-off reel, two sets of wrapping reels for insulating tape, two sets of pressing rollers for insulating tape and a set of transmission parts. According to the working process of insulating tape wrapping, the take-up reel, pay-off reel, two sets of insulating tape wrapping reels and two sets of insulating tape pressing rollers are installed on the console, and the installation sequence from right to left is: pay-off reel , The first set of insulating tape wrapping reels, the first set of insulating tape pressing rollers, the second set of insulating tape wrapping reels, the second set of insulating tape pressing rollers, and the take-up reel. The first pair of insulating tape wrapping reels and insulating tape pressing rollers are used for one-way insulating tape wrapping of superconducting tape, and if two-way wrapping of superconducting tape is required, the superconducting tape is introduced into the second set of insulating tape wrapping reels and insulating tape compression rollers.
绝缘带绕包盘是一个带中空直管的圆盘,中空直管中安装有一根超导带引线槽,链轮焊接在中空直管中间部位,用来与安装于本发明超导带材绝缘带双向绕包装置操作平台下部的传动部分连接,带动绝缘带绕包盘转动。绝缘带绕包盘圆盘部分安装有一个绝缘带夹具,绝缘带夹具用来安装绝缘带材,在运行过程中对超导带进行绝缘带绕包。The insulating tape wrapping disc is a disc with a hollow straight tube, a superconducting tape lead groove is installed in the hollow straight tube, and the sprocket is welded in the middle of the hollow straight tube to insulate the superconducting tape installed in the present invention. The transmission part at the lower part of the operating platform with two-way wrapping device is connected to drive the insulating tape to rotate around the wrapping disc. An insulating tape clamp is installed on the disk part of the insulating tape wrapping disc, and the insulating tape clamp is used to install the insulating tape, and the insulating tape is wrapped on the superconducting tape during operation.
绝缘带压紧滚轮装置有上下两个绝缘带压紧滚轮,下压紧滚轮固定,下压紧滚轮轴上安装有一个链轮,用来与安装于本发明超导带材绝缘带双向绕包装置操作平台下部的传动部分连接,带动绝缘带压紧滚轮装置转动。上压紧滚轮可上下调节位置。The insulating tape pressing roller device has two upper and lower insulating tape pressing rollers, the lower pressing roller is fixed, and a sprocket wheel is installed on the shaft of the lower pressing roller, which is used for two-way wrapping with the insulating tape installed on the superconducting strip of the present invention. The transmission part at the lower part of the operating platform of the device is connected to drive the insulating belt pressing roller device to rotate. The upper pressing roller can adjust the position up and down.
传动部分安装在本发明超导带材绝缘带双向绕包装置操作台的下方,传动部分由变速齿轮箱、正向传动轴、反向传动轴、反向齿轮组、主控电机、反向绝缘带绕包传动链、正向绝缘带绕包传动链和绝缘带压紧滚轮传动链组成。变速齿轮箱安装在本发明超导带材绝缘带双向绕包装置操作台左侧正下方,主控电机安装在本发明超导带材绝缘带双向绕包装置操作台右侧正下方,变速齿轮箱与主控电机之间通过正向传动轴连接。正向传动轴下方是反向传动轴,正向传动轴下方与反向传动轴之间安装一对反向齿轮组;正向绝缘带绕包传动链安装在第一组绝缘带绕包盘正下方,反向绝缘带绕包传动链安装在第二组绝缘带绕包盘正下方,绝缘带压紧滚轮传动链安装在变速齿轮箱侧面。The transmission part is installed under the operating table of the superconducting tape insulation tape two-way wrapping device of the present invention. It is composed of belt wrapping transmission chain, forward insulating belt wrapping transmission chain and insulating belt pressing roller transmission chain. The variable speed gear box is installed on the left side of the operating table of the superconducting tape insulating tape two-way wrapping device of the present invention, and the main control motor is installed on the right side of the superconducting tape insulating tape two-way wrapping device operating table of the present invention. The box is connected with the main control motor through a forward transmission shaft. Below the forward transmission shaft is the reverse transmission shaft, and a pair of reverse gear sets are installed between the bottom of the forward transmission shaft and the reverse transmission shaft; Below, the reverse insulating tape wrapping drive chain is installed directly below the second group of insulating tape wrapping discs, and the insulating tape pressing roller drive chain is installed on the side of the speed change gear box.
主控电机输出转速通过正向传动轴传递到变速齿轮箱,主控电机输出转速经过变速齿轮箱减速后通过绝缘带压紧滚轮传动链传递到第一组绝缘带压紧滚轮上,并带动第一组绝缘带压紧滚轮转动;主控电机输出转速通过安装在正向传动轴与第一组绝缘带绕包盘之间的正向绝缘带绕包传动链传递到第一组绝缘带绕包盘上,并带动第一组绝缘带绕包盘转动;主控电机输出转速通过安装在正向传动轴与反向传动轴之间的反向齿轮组传递到反向传动轴上,再通过安装在反向传动轴与第二组绝缘带绕包盘之间的反向绝缘带绕包传动链传递到第二组绝缘带绕包盘上,并带动第二组绝缘带绕包盘转动。The output speed of the main control motor is transmitted to the transmission gearbox through the forward drive shaft, and the output speed of the main control motor is transmitted to the first group of insulation belt compression rollers through the transmission chain of the insulation belt compression roller after being decelerated by the transmission gearbox, and drives the second set of insulation belt compression rollers. A set of insulating tape pressing rollers rotates; the output speed of the main control motor is transmitted to the first group of insulating tape wrapping rollers through the positive insulating tape wrapping drive chain installed between the forward drive shaft and the first set of insulating tape wrapping discs. and drive the first group of insulating tapes to rotate around the wrapping disk; the output speed of the main control motor is transmitted to the reverse transmission shaft through the reverse gear set installed between the forward transmission shaft and the reverse transmission shaft, and then through the installation The reverse insulating tape wrapping transmission chain between the reverse transmission shaft and the second group of insulating tape wrapping disks is transmitted to the second group of insulating tape wrapping disks, and drives the second group of insulating tape wrapping disks to rotate.
本发明的工作过程如下:Working process of the present invention is as follows:
进行超导带材绝缘带单向绕包时,将未绕包的超导带首先绕制在放线盘上,然后将绕制好超导带的放线盘安装于本发明超导带材绝缘带双向绕包装置右侧,将本发明超导带材绝缘带双向绕包装置传动部分的反向齿轮组脱开,使反向绝缘带绕包传动链处于停止状态,然后开启本发明超导带材绝缘带双向绕包装置传动部分。将绕制在放线盘上的超导带从放线盘上牵引出来引入绝缘带绕包盘。绝缘带绕包盘是一个带中空直管的圆盘,中空直管中安装有一根超导带引线槽,链轮焊接在中空直管的中间部位,与安装于操作平台下部的本发明超导带材绝缘带双向绕包装置的传动部分连接,带动绝缘带绕包盘转动。绝缘带绕包盘圆盘上的绝缘带夹具在运行过程中对超导带进行绝缘带绕包。When performing one-way wrapping of superconducting tape insulating tape, the unwrapped superconducting tape is first wound on the pay-off reel, and then the pay-off reel wound with superconducting tape is installed on the superconducting tape of the present invention. On the right side of the insulating tape two-way wrapping device, disengage the reverse gear set of the transmission part of the superconducting tape insulating tape two-way wrapping device of the present invention, so that the reverse insulating tape wrapping drive chain is in a stopped state, and then start the superconducting tape of the present invention. The transmission part of the two-way wrapping device of the conduction tape and insulating tape. The superconducting tape wound on the pay-off reel is pulled out from the pay-off reel and introduced into the insulating tape wrapping reel. The insulating tape wrapping disc is a disc with a hollow straight tube. A superconducting tape lead groove is installed in the hollow straight tube. The transmission part of the strip insulating tape two-way wrapping device is connected to drive the insulating tape to rotate around the wrapping disc. Tape clamps on the tape wrapping disc wrap the superconducting tape during operation.
绕包绝缘带后的超导带引入绝缘带压紧滚轮装置,绝缘带压紧滚轮装置有上下两个绝缘带压紧滚轮,下压紧滚轮固定,下压紧滚轮轴上安装有一个链轮,用来与安装于操作平台下部超导带材绝缘带双向绕包装置的传动部分连接,带动绝缘带压紧滚轮装置转动。上压紧滚轮可上下调节位置,绝缘带绕包后的超导带从上下两个绝缘带压紧滚轮之间经过,通过调节上压紧滚轮的松紧程度对超导带进行压紧,消除超导带与绝缘带之间的气泡,并且上下两个压紧滚轮相互运动产生的摩擦力能够带动超导带往前运动。至此超导带材绝缘带单向绕包过程完成。The superconducting tape after wrapping the insulating tape is introduced into the insulating tape pressing roller device. The insulating tape pressing roller device has two insulating tape pressing rollers, the lower pressing roller is fixed, and a sprocket is installed on the lower pressing roller shaft. , which is used to connect with the transmission part of the superconducting tape insulation tape two-way wrapping device installed at the lower part of the operation platform, to drive the insulation tape pressing roller device to rotate. The position of the upper pressing roller can be adjusted up and down. The superconducting tape after the insulating tape is wrapped passes between the upper and lower insulating tape pressing rollers. The superconducting tape is compressed by adjusting the tightness of the upper pressing roller to eliminate superconducting The air bubbles between the conductive tape and the insulating tape, and the friction force generated by the mutual movement of the upper and lower pressing rollers can drive the superconducting tape to move forward. So far, the unidirectional wrapping process of the insulating tape of the superconducting tape is completed.
如果需要进行双向绕包,将本发明超导带材绝缘带双向绕包装置传动部分的反向齿轮组啮合在一起,使反向绝缘带绕包传动链处于工作状态,然后开启本发明超导带材绝缘带双向绕包装置传动部分,将单向绕包完成的绝缘带材引入第二组绝缘带绕包盘和绝缘带压紧滚轮进行双向绝缘带绕包,最后将绕包好的超导带绕制到绕线盘上,完成整个绝缘带绕包过程。If two-way wrapping is required, the reverse gear sets of the transmission part of the superconducting tape insulating tape two-way wrapping device of the present invention are engaged together, so that the reverse insulating tape wrapping drive chain is in working condition, and then the superconducting tape of the present invention is turned on. The transmission part of the tape insulating tape two-way wrapping device introduces the insulating tape that has been wrapped in one direction into the second set of insulating tape wrapping discs and insulating tape pressing rollers for two-way insulating tape wrapping, and finally wraps the wrapped super The conductive tape is wound onto the winding reel to complete the entire insulating tape wrapping process.
附图说明Description of drawings
图1a、图1b为放线盘、收线盘结构图,其中图1a为正视图,图1b为侧视图;Fig. 1a and Fig. 1b are structural diagrams of the pay-off reel and the take-up reel, wherein Fig. 1a is a front view, and Fig. 1b is a side view;
图2a、图2b为绝缘带绕包盘结构图,其中图2a为正视图,图2b为侧视图;Fig. 2a and Fig. 2b are structural diagrams of insulating tape wrapped around the disc, wherein Fig. 2a is a front view and Fig. 2b is a side view;
图3a、图3b为绕线盘结构图,其中图3a为正视图,图3b为侧视图;Fig. 3a and Fig. 3b are structural diagrams of the winding disc, wherein Fig. 3a is a front view, and Fig. 3b is a side view;
图4为超导带引线槽结构图;Fig. 4 is a structural diagram of a superconducting tape lead groove;
图5a、图5b为绝缘带夹具结构图,其中图5a为侧视图,图5b为立体图;Figure 5a and Figure 5b are structural views of the insulating tape clamp, wherein Figure 5a is a side view and Figure 5b is a perspective view;
图6a、图6b为绝缘带压紧滚轮结构图,其中图6a为正视图,图6b为侧视图;Fig. 6a and Fig. 6b are structural diagrams of insulating tape pressing rollers, wherein Fig. 6a is a front view and Fig. 6b is a side view;
图7为压轮结构图;Fig. 7 is a structural diagram of the pinch wheel;
图8a、图8b为不锈钢底座结构图,其中图8a为正视图,图8b为俯视图;Figure 8a and Figure 8b are structural diagrams of the stainless steel base, wherein Figure 8a is a front view and Figure 8b is a top view;
图9为传动部分结构图;Figure 9 is a structural diagram of the transmission part;
图10a、图10b为主控电机示意图,其中图10a为正视图,图10b为右视图。Figure 10a and Figure 10b are schematic diagrams of the main control motor, wherein Figure 10a is a front view and Figure 10b is a right view.
具体实施方式Detailed ways
本发明超导带材绝缘带双向绕包装置由收线盘、放线盘、两组绝缘带绕包盘、两组绝缘带压紧滚轮和一套传动部分组成。按照绝缘带绕包的工作流程,收线盘、放线盘、两组绝缘带绕包盘和两组绝缘带压紧滚轮在本发明超导带材绝缘带双向绕包装置操作台上安装顺序从右往左依次是:放线盘、第一组绝缘带绕包盘、第一组绝缘带压紧滚轮、第二组绝缘带绕包盘、第二组绝缘带压紧滚轮、收线盘。第一对绝缘带绕包盘和绝缘带压紧滚轮用于超导带材单向绝缘带绕包,如果需要进行超导带双向绕包则将超导带引入第二组绝缘带绕包盘和绝缘带压紧滚轮。传动部分安装在本发明超导带材绝缘带双向绕包装置操作台的下方。The two-way wrapping device for insulating tape of superconducting tape of the present invention is composed of a take-up reel, a pay-off reel, two sets of wrapping reels for insulating tape, two sets of pressing rollers for insulating tape and a set of transmission parts. According to the working process of insulating tape wrapping, the installation sequence of the take-up reel, the pay-off reel, two sets of insulating tape wrapping reels and two sets of insulating tape pressing rollers on the operating table of the superconducting tape insulating tape two-way wrapping device of the present invention From right to left: pay-off reel, first set of insulating tape wrapping reels, first set of insulating tape pressing rollers, second set of insulating tape wrapping reels, second set of insulating tape pressing rollers, take-up reel . The first pair of insulating tape wrapping reels and insulating tape pressing rollers are used for one-way insulating tape wrapping of superconducting tape, and if two-way wrapping of superconducting tape is required, the superconducting tape is introduced into the second set of insulating tape wrapping reels and insulating tape compression rollers. The transmission part is installed under the operating table of the superconducting tape insulation tape bidirectional wrapping device of the present invention.
以下结合附图和具体实施例对本发明作进一步说明:The present invention will be further described below in conjunction with accompanying drawing and specific embodiment:
所述的收线盘、放线盘的结构如图1a和图1b所示。收线盘和放线盘的结构相同,由两块木质挡板101、102和超导带绕制板103组成。超导带绕制在超导带绕制板103上,位于超导带绕制板103左右两侧的两块木质挡板101、102可防止超导带散开。The structures of the take-up reel and pay-off reel are shown in Figure 1a and Figure 1b. The take-up reel and the pay-off reel have the same structure, consisting of two
所述绝缘带绕包盘如图2a和图2b所示,由绕线盘201、绝缘带夹具202和超导带引线槽203组成。绕线盘201是一个带中空直管的圆盘,中空直管中有内螺纹。绝缘带夹具202安装在绕线盘201的圆盘上,超导带引线槽203安装在绕线盘201的中空直管中。The insulating tape wrapping reel is shown in FIG. 2 a and FIG. 2 b , and is composed of a winding
所述的绕线盘201如图3a和图3b所示,由圆盘301、中空直管302和链轮303组成,圆盘301中心处开有一个圆孔,中空直管302卡在所述的圆孔处,将圆盘301和中空直管302焊接在一起,链轮303焊接在中空直管302轴向的中间部位,用来和本发明超导带材绝缘带双向绕包装置的传动部分连接。中空直管302有内螺纹,用来安装超导带引线槽203。圆盘301上开有距圆盘中心距离各不相同的四个螺纹孔,用来安装绝缘带夹具202。As shown in Fig. 3a and Fig. 3b, the
所述的超导带引线槽203如图4所示,超导带引线槽203是一根中空的四氟管,401为超导带的引线通道,超导带从引线通道401中穿过。超导带引线槽的外壁有螺纹402,用来和中空直管302上的内螺纹连接。The superconducting
所述的绝缘带夹具202如图5a和图5b所示,绝缘带夹具202由两块绝缘带压板501、502、调整螺母503和连接杆504组成。绝缘带放置在两块绝缘带压板501、502之间,调整螺母503安装在绝缘带压板502上,通过调整螺母503调节绝缘带的压紧程度,带有螺纹的连接杆504安装在绕线盘201的圆盘301的螺纹孔上。The insulating
所述的绝缘带压紧滚轮如图6a和6b所示,由上压紧滚轮601、活动轴承座602、不锈钢底座603、松紧螺栓604、链轮605和下压紧滚轮606组成。不锈钢底座603安装在本发明超导带材绝缘带双向绕包装置的操作台上,上压紧滚轮601安装在活动轴承座602上,活动轴承座602安装在不锈钢底座603上,松紧螺栓604安装在不锈钢底座603上方,上压紧滚轮601通过松紧螺栓604上下调节位置;下压紧滚轮606安装在不锈钢底座603上,链轮605安装在下压紧滚轮606的轴上。The insulating belt pressing roller is shown in Figures 6a and 6b, consisting of an upper
所述的上压紧滚轮601和下压紧滚轮606结构相同,如图7所示,上压紧滚轮601和下压紧滚轮606均由橡胶轮701、不锈钢内套702和连接轴703组成。不锈钢内套702镶嵌在橡胶轮701内,通过强力胶与橡胶轮701粘接在一起。连接轴703从橡胶轮701和不锈钢内套702中心孔穿过,并和不锈钢内套702焊接在一起。连接轴703轴向方向有键槽,用来安装链轮605。绝缘带压紧滚轮通过链轮605与本发明超导带材绝缘带双向绕包装置的传动部分连接,带动整个绝缘带压紧滚轮装置运动。The upper
所述的不锈钢底座603如图8a和图8b所示。不锈钢底座603侧面有三道活动的槽口801和三个固定通孔802。上压紧滚轮601安装在活动槽口801里,可上下调节绝缘带的松紧程度,下压紧滚轮606安装在固定通孔802里。不锈钢底座603上部有松紧螺栓安装孔803,松紧螺栓安装孔803安装松紧螺栓604。The
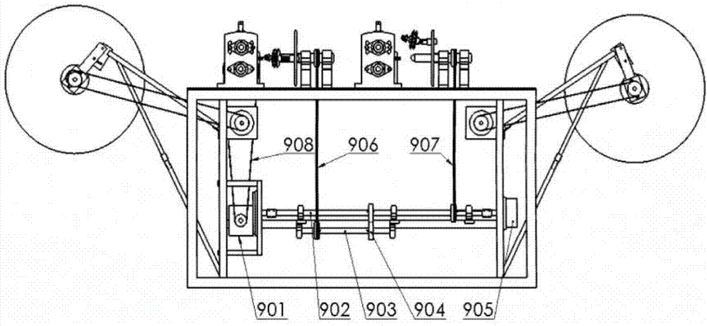
所述的传动部分如图9所示,由变速齿轮箱901、正向传动轴902、反向传动轴903、反向齿轮组904、主控电机905、反向绝缘带绕包传动链906、正向绝缘带绕包传动链907和绝缘带压紧滚轮传动链908组成。The transmission part is shown in Figure 9, consisting of a
变速齿轮箱901安装在本发明超导带材绝缘带双向绕包装置操作台左侧正下方,主控电机905安装在本发明超导带材绝缘带双向绕包装置操作台右侧正下方,正向传动轴902安装在变速齿轮箱901和主控电机905之间,反向传动轴903安装在正向传动轴902下方。反向齿轮组904由一对齿轮组成,上齿轮安装在正向传动轴902上,下齿轮安装在反向传动轴903上。正向绝缘带绕包传动链907由一个链轮和一根链条组成,链轮安装在正向传动轴902上,链轮与中空直管302上的链轮303通过链条连接。主控电机905通过正向绝缘带绕包传动链907可带动第一组绝缘带绕包盘转动绕包。反向绝缘带绕包传动链906与正向绝缘带绕包传动链907结构相同,反向绝缘带绕包传动链906的链轮安装在反向传动轴903上,通过链条与第二组绝缘带绕包盘连接。The speed
所述的主控电机905如图10a和图10b所示,1001为正向传动轴902连接口,1002为变比减速输出口。绝缘带压紧滚轮传动链908由一个链轮和一根链条组成,链轮安装在主控电机905的变比减速输出口1002上,链条与绝缘带压紧滚轮装置下压轮606上的链轮605通过链条连接。The
主控电机905输出转速通过正向传动轴902传递到变速齿轮箱901,主控电机905输出转速经过变速齿轮箱901减速后通过绝缘带压紧滚轮传动链908传递到第一组绝缘带压紧滚轮上,并带动第一组绝缘带压紧滚轮转动;主控电机905输出转速通过安装在正向传动轴902与第一组绝缘带绕包盘之间的正向绝缘带绕包传动链907传递到第一组绝缘带绕包盘上,并带动第一组绝缘带绕包盘转动;主控电机905输出转速通过安装在正向传动轴902与反向传动轴903之间的反向齿轮组904传递到反向传动轴903上,再通过安装在反向传动轴903与第二组绝缘带绕包盘之间的反向绝缘带绕包传动链906传递到第二组绝缘带绕包盘上,并带动第二组绝缘带绕包盘转动。The output speed of the
Claims (10)
Priority Applications (1)
| Application Number | Priority Date | Filing Date | Title |
|---|---|---|---|
| CN201310279860.9A CN103345983B (en) | 2013-07-04 | 2013-07-04 | Superconducting strip insulating tape two-way wrapping machine |
Applications Claiming Priority (1)
| Application Number | Priority Date | Filing Date | Title |
|---|---|---|---|
| CN201310279860.9A CN103345983B (en) | 2013-07-04 | 2013-07-04 | Superconducting strip insulating tape two-way wrapping machine |
Publications (2)
| Publication Number | Publication Date |
|---|---|
| CN103345983A true CN103345983A (en) | 2013-10-09 |
| CN103345983B CN103345983B (en) | 2015-11-04 |
Family
ID=49280772
Family Applications (1)
| Application Number | Title | Priority Date | Filing Date |
|---|---|---|---|
| CN201310279860.9A Expired - Fee Related CN103345983B (en) | 2013-07-04 | 2013-07-04 | Superconducting strip insulating tape two-way wrapping machine |
Country Status (1)
| Country | Link |
|---|---|
| CN (1) | CN103345983B (en) |
Cited By (3)
| Publication number | Priority date | Publication date | Assignee | Title |
|---|---|---|---|---|
| CN111554453A (en) * | 2020-05-07 | 2020-08-18 | 安徽英杰精工机械有限公司 | Vertical wrapping machine for cable processing |
| CN112951519A (en) * | 2021-03-16 | 2021-06-11 | 国家电网有限公司 | Flame retarded cable apparatus for producing |
| CN119132756A (en) * | 2024-11-18 | 2024-12-13 | 洛阳三五电缆集团有限公司 | Cable processing equipment |
Citations (5)
| Publication number | Priority date | Publication date | Assignee | Title |
|---|---|---|---|---|
| US1594492A (en) * | 1925-03-03 | 1926-08-03 | Acme Wire Co | Electric-wire-wrapping machine |
| CN201348898Y (en) * | 2008-12-31 | 2009-11-18 | 湖北鄂电萃宇电缆有限公司 | Concentric cable refractory layer wrapping machine |
| CN101630548A (en) * | 2009-08-11 | 2010-01-20 | 河南省电力公司新乡供电公司 | Stranding machine lapping device |
| CN201498269U (en) * | 2009-08-07 | 2010-06-02 | 常熟市豪威富机械制造有限公司 | Thin film silk wrapping machine |
| CN202871408U (en) * | 2012-11-12 | 2013-04-10 | 天津市信九电子有限公司 | Double-wrapping machine |
-
2013
- 2013-07-04 CN CN201310279860.9A patent/CN103345983B/en not_active Expired - Fee Related
Patent Citations (5)
| Publication number | Priority date | Publication date | Assignee | Title |
|---|---|---|---|---|
| US1594492A (en) * | 1925-03-03 | 1926-08-03 | Acme Wire Co | Electric-wire-wrapping machine |
| CN201348898Y (en) * | 2008-12-31 | 2009-11-18 | 湖北鄂电萃宇电缆有限公司 | Concentric cable refractory layer wrapping machine |
| CN201498269U (en) * | 2009-08-07 | 2010-06-02 | 常熟市豪威富机械制造有限公司 | Thin film silk wrapping machine |
| CN101630548A (en) * | 2009-08-11 | 2010-01-20 | 河南省电力公司新乡供电公司 | Stranding machine lapping device |
| CN202871408U (en) * | 2012-11-12 | 2013-04-10 | 天津市信九电子有限公司 | Double-wrapping machine |
Cited By (4)
| Publication number | Priority date | Publication date | Assignee | Title |
|---|---|---|---|---|
| CN111554453A (en) * | 2020-05-07 | 2020-08-18 | 安徽英杰精工机械有限公司 | Vertical wrapping machine for cable processing |
| CN112951519A (en) * | 2021-03-16 | 2021-06-11 | 国家电网有限公司 | Flame retarded cable apparatus for producing |
| CN112951519B (en) * | 2021-03-16 | 2022-06-24 | 国家电网有限公司 | Flame retarded cable apparatus for producing |
| CN119132756A (en) * | 2024-11-18 | 2024-12-13 | 洛阳三五电缆集团有限公司 | Cable processing equipment |
Also Published As
| Publication number | Publication date |
|---|---|
| CN103345983B (en) | 2015-11-04 |
Similar Documents
| Publication | Publication Date | Title |
|---|---|---|
| CN112951519B (en) | Flame retarded cable apparatus for producing | |
| CN103345983B (en) | Superconducting strip insulating tape two-way wrapping machine | |
| CN106885095A (en) | Suspension type pipeline on-line pressure sealant device | |
| CN100487823C (en) | High-temperature superconducting cable coiling machine and cable coiling method | |
| CN115579788B (en) | Fault maintenance equipment for AIS substation | |
| CN212668863U (en) | Guiding mechanism and electric shovel incoming line cable winding and unwinding device | |
| CN206955359U (en) | A kind of flexible adjustable cable arrange-line device | |
| CN204882253U (en) | Reel stress test device | |
| CN103625995B (en) | Can the identical tension formula cable drum device of flexible take-up | |
| CN111755179B (en) | Manufacturing method of special-shaped filling for cable | |
| CN212100113U (en) | Communication cable spool stand fixed establishment | |
| CN203553783U (en) | Pay-off frame | |
| CN107150924A (en) | A kind of electric wire manufacturing industry wrap-up | |
| CN116525211B (en) | Electromagnetic wire core outer ring coating winding equipment | |
| CN117104941A (en) | A compact multiple thermoplastic prepreg narrow tape laying head and laying method | |
| CN207536914U (en) | A kind of chemical fiber wire bobbin winder device | |
| CN111799032B (en) | Outer coating layer winding equipment of cable | |
| CN112761069B (en) | Method for fixing bridge cable | |
| CN212434328U (en) | Outer cladding layer winding equipment of cable | |
| CN222705245U (en) | Cable mica tape wrapping machine | |
| CN104021886A (en) | High-speed paper-lapping device | |
| CN104310132A (en) | Insulating layer setting device good in adaptability | |
| CN207328896U (en) | A kind of automatic tape winding machine | |
| CN104992783B (en) | Insulation tape compaction roller used for superconductive strip insulating tape wrapping apparatus | |
| CN204740915U (en) | Take simple lay machine of guy anchor |
Legal Events
| Date | Code | Title | Description |
|---|---|---|---|
| C06 | Publication | ||
| PB01 | Publication | ||
| C10 | Entry into substantive examination | ||
| SE01 | Entry into force of request for substantive examination | ||
| C14 | Grant of patent or utility model | ||
| GR01 | Patent grant | ||
| CF01 | Termination of patent right due to non-payment of annual fee |
Granted publication date: 20151104 Termination date: 20160704 |
|
| CF01 | Termination of patent right due to non-payment of annual fee |
