CN103083841A - Helmet structure for fire ground escape - Google Patents
Helmet structure for fire ground escape Download PDFInfo
- Publication number
- CN103083841A CN103083841A CN2012104695068A CN201210469506A CN103083841A CN 103083841 A CN103083841 A CN 103083841A CN 2012104695068 A CN2012104695068 A CN 2012104695068A CN 201210469506 A CN201210469506 A CN 201210469506A CN 103083841 A CN103083841 A CN 103083841A
- Authority
- CN
- China
- Prior art keywords
- escape
- front cover
- button
- helmet structure
- fire helmet
- Prior art date
- Legal status (The legal status is an assumption and is not a legal conclusion. Google has not performed a legal analysis and makes no representation as to the accuracy of the status listed.)
- Granted
Links
- XLYOFNOQVPJJNP-UHFFFAOYSA-N water Substances O XLYOFNOQVPJJNP-UHFFFAOYSA-N 0.000 claims abstract description 43
- 239000004744 fabric Substances 0.000 claims abstract description 25
- 241000404068 Cotula Species 0.000 claims description 13
- 238000001914 filtration Methods 0.000 claims description 5
- 239000003292 glue Substances 0.000 claims description 3
- 210000005069 ears Anatomy 0.000 claims description 2
- 230000035945 sensitivity Effects 0.000 abstract description 3
- 239000000779 smoke Substances 0.000 abstract description 3
- 239000008400 supply water Substances 0.000 abstract description 3
- 231100000614 poison Toxicity 0.000 abstract description 2
- 230000007096 poisonous effect Effects 0.000 abstract description 2
- 230000006870 function Effects 0.000 description 3
- 230000000694 effects Effects 0.000 description 2
- 230000005484 gravity Effects 0.000 description 2
- 210000003128 head Anatomy 0.000 description 2
- 238000012986 modification Methods 0.000 description 2
- 230000004048 modification Effects 0.000 description 2
- 230000029058 respiratory gaseous exchange Effects 0.000 description 2
- 231100000331 toxic Toxicity 0.000 description 2
- 230000002588 toxic effect Effects 0.000 description 2
- 230000009286 beneficial effect Effects 0.000 description 1
- 230000001914 calming effect Effects 0.000 description 1
- 238000002485 combustion reaction Methods 0.000 description 1
- 238000010586 diagram Methods 0.000 description 1
- 239000003517 fume Substances 0.000 description 1
- 238000000034 method Methods 0.000 description 1
- 239000002341 toxic gas Substances 0.000 description 1
Images
Landscapes
- Respiratory Apparatuses And Protective Means (AREA)
Abstract
本发明公开了一种火场逃生头盔结构,包括由前罩壳、过滤松紧布和后罩壳依次连接组成,所述前罩壳、过滤松紧布和后罩壳的底部设置有底部收紧网布,所述前罩壳内部设置有前预存储水仓,中间部分设置有透明视窗,所述透明视窗下方设置有鼻端凸起罩,所述过滤松紧布设置有两个耳朵避让套环,所述后罩壳内部设置有后预存储水仓。本发明使用方便,能持续供水保持湿润,并为逃生人员过滤被污染的空气和有毒的烟雾,保护了眼睛和鼻子,防止被呛,不影响呼喊求救和听力灵敏度,让人冷静,大幅提高了逃生机会。
The invention discloses a fire escape helmet structure, which consists of a front cover, a filter elastic cloth and a rear cover which are sequentially connected. The bottoms of the front cover, the filter elastic cloth and the rear cover are provided with a bottom tightening mesh , the inside of the front cover shell is provided with a front pre-storage water tank, the middle part is provided with a transparent window, and a nose-end protruding cover is provided under the transparent window, and the filter elastic cloth is provided with two ear-avoiding collars, so A rear pre-storage water tank is arranged inside the rear cover. The invention is easy to use, can continuously supply water to keep moist, and can filter polluted air and poisonous smoke for escape personnel, protect eyes and nose, prevent choking, do not affect calling for help and hearing sensitivity, make people calm, and greatly improve chance of escape.
Description
技术领域 technical field
本发明涉及一种消防救生用品领域,具体涉及一种火场逃生头盔结构。 The invention relates to the field of fire-fighting and life-saving articles, in particular to a structure of a fire escape helmet.
背景技术 Background technique
现在生活中火灾由于人口居住密集,注意不当而多发,其中火灾中死亡的人员大部分都不是直接烧伤致死,被燃烧产生的有毒气体和浓烟窒息后死亡,或被呛晕、呛盲导致失去行动力而无法逃离火场而死,火场中,人们使用湿毛巾捂住口鼻进行逃生很有效,但是湿毛巾在火场中容易变干,并且在慌乱的火场中也不能立刻找到水源和湿毛巾,而且湿毛巾也不能护住眼睛,这都不利于逃生。 In today's life, fires occur frequently due to the dense population and improper attention. Most of the people who died in the fire were not directly burned to death, but died after being suffocated by the toxic gas and thick smoke produced by the combustion, or were fainted or blinded by choking. In the fire scene, it is very effective for people to use a wet towel to cover their mouth and nose to escape, but the wet towel is easy to dry out in the fire scene, and it is impossible to find water and wet towels immediately in the panic fire scene. Moreover, the wet towel cannot protect the eyes, which is not conducive to escape.
发明内容 Contents of the invention
本发明的目的在于克服现有技术存在的以上问题,提供一种火场逃生头盔结构,本发明使用方便,能持续供水保持湿润,并为逃生人员过滤被污染的空气和有毒的烟雾,保护了眼睛和鼻子,防止被呛,不影响呼喊求救和听力灵敏度,让人冷静,大幅提高了逃生机率。 The purpose of the present invention is to overcome the above problems in the prior art and provide a fire escape helmet structure. The present invention is easy to use, can continuously supply water to keep it moist, and can filter polluted air and toxic smog for escape personnel, protecting the eyes And nose, to prevent choking, does not affect calling for help and hearing sensitivity, makes people calm, and greatly improves the chance of escape.
为实现上述技术目的,达到上述技术效果,本发明通过以下技术方案实现: In order to achieve the above-mentioned technical purpose and achieve the above-mentioned technical effect, the present invention is realized through the following technical solutions:
一种火场逃生头盔结构,包括由前罩壳、过滤松紧布和后罩壳依次连接组成,所述前罩壳、过滤松紧布和后罩壳的底部设置有底部收紧网布,所述前罩壳内部设置有前预存储水仓,中间部分设置有透明视窗,所述透明视窗下方设置有鼻端凸起罩,所述过滤松紧布设置有两个耳朵避让套环,所述后罩壳内部设置有后预存储水仓。 A fire escape helmet structure, which consists of a front cover, a filter elastic cloth and a rear cover connected in sequence, the bottoms of the front cover, filter elastic cloth and rear cover are provided with a bottom tightening mesh, the front The inside of the casing is provided with a front pre-storage water tank, the middle part is provided with a transparent window, and a nose-end protruding cover is provided below the transparent window, and the filter elastic cloth is provided with two ear-avoiding collars, and the rear casing There is a rear pre-storage water tank inside.
进一步的,所述前预存储水仓顶部下方外壳上设置有前罩壳进出水按钮,底部外壳上设置有前罩壳慢渗水按钮。 Further, a front cover water inlet and outlet button is provided on the shell below the top of the front pre-storage tank, and a front cover slow water seepage button is provided on the bottom shell.
进一步的,所述耳朵避让套环内侧设置有耳朵避让套环软胶。 Further, the inner side of the ear-avoiding loop is provided with ear-avoiding loop soft glue.
进一步的,所述后预存储水仓顶部下方外壳上设置有后罩壳进出水按钮,底部外壳上设置有后罩壳慢渗水按钮。 Further, the bottom shell of the rear pre-storage tank is provided with a rear cover water inlet and outlet button, and the bottom shell is provided with a rear cover slow water seepage button.
进一步的,所述底部收紧网布设置有底部网收紧绳。 Further, the bottom tightening net is provided with a bottom net tightening rope.
进一步的,所述前罩壳进出水按钮、前罩壳慢渗水按钮、后罩壳进出水按钮和后罩壳慢渗水按钮均为成双设置,左侧和右侧均有设置,且都与过滤松紧布直接连接。 Further, the water inlet and outlet buttons of the front cover, the slow seepage water button of the front cover, the water inlet and outlet buttons of the rear cover, and the slow seepage water buttons of the rear cover are all arranged in pairs, both on the left and right sides, and are all connected to the The filter elastic is attached directly.
进一步的,所述火场逃生头盔的外观颜色设置为蓝绿等冷色调颜色,凸出与火场的颜色差异。 Further, the appearance color of the fire escape helmet is set to a cool color such as blue and green, highlighting the color difference from the fire scene.
进一步的,所述底部收紧网布系在嘴巴中间系紧,不影响呼喊。 Further, the bottom tightening mesh is fastened in the middle of the mouth, which does not affect shouting.
本发明的有益效果是: The beneficial effects of the present invention are:
本发明使用方便,能持续供水保持湿润,并为逃生人员过滤被污染的空气和有毒的烟雾,保护了眼睛和鼻子,防止被呛,不影响呼喊求救和听力灵敏度,让人冷静,大幅提高了逃生机率。 The invention is easy to use, can continuously supply water to keep it moist, and can filter polluted air and poisonous smoke for escape personnel, protect eyes and nose, prevent choking, do not affect calling for help and hearing sensitivity, make people calm, and greatly improve chance of escape.
上述说明仅是本发明技术方案的概述,为了能够更清楚了解本发明的技术手段,并可依照说明书的内容予以实施,以下以本发明的较佳实施例并配合附图详细说明如后。本发明的具体实施方式由以下实施例及其附图详细给出。 The above description is only an overview of the technical solutions of the present invention. In order to understand the technical means of the present invention more clearly and implement them according to the contents of the description, the preferred embodiments of the present invention and accompanying drawings are described in detail below. The specific embodiment of the present invention is given in detail by the following examples and accompanying drawings.
附图说明 Description of drawings
此处所说明的附图用来提供对本发明的进一步理解,构成本申请的一部分,本发明的示意性实施例及其说明用于解释本发明,并不构成对本发明的不当限定。在附图中: The accompanying drawings described here are used to provide a further understanding of the present invention and constitute a part of the application. The schematic embodiments of the present invention and their descriptions are used to explain the present invention and do not constitute improper limitations to the present invention. In the attached picture:
图1是本发明的整体结构示意图; Fig. 1 is the overall structural representation of the present invention;
图2是本发明的俯视图; Fig. 2 is a top view of the present invention;
图3是本发明使用时的俯视截面图; Fig. 3 is the top sectional view when the present invention is used;
图4是本发明使用时的侧面截面图; Fig. 4 is a side sectional view when the present invention is in use;
图5是本发明使用时的整体结构示意图。 Fig. 5 is a schematic diagram of the overall structure of the present invention in use.
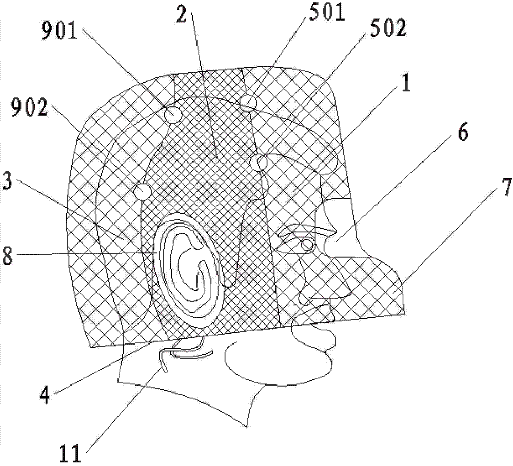
图中标号说明:1、前罩壳,2、过滤松紧布,3、后罩壳,4、底部收紧网布,5、预存储水仓,6、透明视窗,7、鼻端凸起罩,8、耳朵避让套环,9、后预存储水仓,10、耳朵避让套环软胶,11、底部网收紧绳,12、过滤呼吸通道,501、前罩壳进出水按钮,502、前罩壳慢渗水按钮,901、后罩壳进出水按钮,902、后罩壳慢渗水按钮。 Explanation of symbols in the figure: 1. Front cover, 2. Filter elastic cloth, 3. Rear cover, 4. Bottom tightening mesh, 5. Pre-storage water tank, 6. Transparent window, 7. Protruding nose cover , 8, ear avoidance collar, 9, rear pre-storage water tank, 10, ear avoidance collar soft rubber, 11, bottom net tightening rope, 12, filter breathing channel, 501, front cover water inlet and outlet button, 502, Front cover slow water seepage button, 901, back cover water inlet and outlet button, 902, rear cover slow seepage water button.
具体实施方式 Detailed ways
下面将参考附图并结合实施例,来详细说明本发明。 The present invention will be described in detail below with reference to the accompanying drawings and in combination with embodiments.
参照图1至图3所示,一种火场逃生头盔结构,包括由前罩壳1、过滤松紧布2和后罩壳3依次连接组成,所述前罩壳1、过滤松紧布2和后罩壳3的底部设置有底部收紧网布4,所述前罩壳1内部设置有前预存储水仓5,中间部分设置有透明视窗6,所述透明视窗6下方设置有鼻端凸起罩7,所述过滤松紧布2设置有两个耳朵避让套环8,所述后罩壳3内部设置有后预存储水仓9。
Referring to Figures 1 to 3, a fire escape helmet structure includes a
进一步的,所述前预存储水仓5顶部下方外壳上设置有前罩壳进出水按钮501,底部外壳上设置有前罩壳慢渗水按钮502,所述前罩壳进出水按钮501按下后具有大量出水或装水功能,所述前罩壳慢渗水按钮502按下后通过重力使水慢慢渗透出去。
Further, a front cover water inlet and
进一步的,所述耳朵避让套环8内侧设置有耳朵避让套环软胶10,使其耳朵避让套环8紧贴头部。
Further, the inner side of the
进一步的,所述后预存储水仓9顶部下方外壳上设置有后罩壳进出水按钮901,底部外壳上设置有后罩壳慢渗水按钮902。所述后罩壳进出水按钮901按下后具有大量出水或装水功能,所述后罩壳慢渗水按钮902按下后通过重力使水慢慢渗透出去。
Further, the bottom shell of the
进一步的,所述前罩壳进出水按钮501、前罩壳慢渗水按钮502、后罩壳进出水按钮901和后罩壳慢渗水按钮902均为成双设置,左侧和右侧均有设置,且都与过滤松紧布2直接连接。
Further, the front cover water inlet and
进一步的,所述火场逃生头盔的外观颜色设置为蓝绿等冷色调颜色,凸出与火场的颜色差异。 Further, the appearance color of the fire escape helmet is set to a cool color such as blue and green, highlighting the color difference from the fire scene.
进一步的,所述底部收紧网布4系在嘴巴中间系紧,不影响呼喊。
Further, the bottom tightening
参照图5所示,进一步的,所述底部收紧网布4设置有底部网收紧绳11,所述底部收紧网布4与嘴部齐平,便于火场喊话。
Referring to Fig. 5, further, the bottom tightening
本实施例的工作原理如下: The working principle of this embodiment is as follows:
使用时,将火场逃生头盔戴于头上,用底部网收紧绳11收紧在口中,不影响人的呼喊求救和沟通,耳朵位于耳朵避让套环8内,这样可以保持灵敏的听觉,眼睛从透明视窗6内可观察周围环境,保护了眼睛也保持了良好的视野,然后打开后罩壳进出水按钮901和前罩壳进出水按钮501使水大量流出,迅速浸湿过滤松紧布2和底部收紧网布4,这样呼吸的空气将会从湿润的过滤松紧布2和底部收紧网布4中进入,达到一个很好的过滤作用,人们通过过滤呼吸通道12呼吸,如图4所示。接下来打开前罩壳慢渗水按钮502和后罩壳慢渗水按钮902,通过两个按钮的功能,水将会慢慢的渗透至过滤松紧布2和底部收紧网布4中,即使被外部热量蒸发时,也能及时补充水份,保持湿润。从而不需要另外寻找水源,也不需要担心有毒烟雾呛着,冷色调的头盔颜色既突出了与环境颜色的差异,容易被发现,同时也有让人冷静的效果,有利于人们尽快寻找逃生路线。
During use, the fire escape helmet is worn on the head, and the bottom net tightens the
以上所述仅为本发明的优选实施例而已,并不用于限制本发明,对于本领域的技术人员来说,本发明可以有各种更改和变化。凡在本发明的精神和原则之内,所作的任何修改、等同替换、改进等,均应包含在本发明的保护范围之内。 The above descriptions are only preferred embodiments of the present invention, and are not intended to limit the present invention. For those skilled in the art, the present invention may have various modifications and changes. Any modifications, equivalent replacements, improvements, etc. made within the spirit and principles of the present invention shall be included within the protection scope of the present invention.
Claims (8)
Priority Applications (1)
| Application Number | Priority Date | Filing Date | Title |
|---|---|---|---|
| CN201210469506.8A CN103083841B (en) | 2012-11-19 | 2012-11-19 | Helmet structure for fire ground escape |
Applications Claiming Priority (1)
| Application Number | Priority Date | Filing Date | Title |
|---|---|---|---|
| CN201210469506.8A CN103083841B (en) | 2012-11-19 | 2012-11-19 | Helmet structure for fire ground escape |
Publications (2)
| Publication Number | Publication Date |
|---|---|
| CN103083841A true CN103083841A (en) | 2013-05-08 |
| CN103083841B CN103083841B (en) | 2015-02-25 |
Family
ID=48197294
Family Applications (1)
| Application Number | Title | Priority Date | Filing Date |
|---|---|---|---|
| CN201210469506.8A Expired - Fee Related CN103083841B (en) | 2012-11-19 | 2012-11-19 | Helmet structure for fire ground escape |
Country Status (1)
| Country | Link |
|---|---|
| CN (1) | CN103083841B (en) |
Cited By (2)
| Publication number | Priority date | Publication date | Assignee | Title |
|---|---|---|---|---|
| CN107583213A (en) * | 2017-09-26 | 2018-01-16 | 庄健峰 | Public fire protection EEBD between corridor |
| CN109963532A (en) * | 2016-11-11 | 2019-07-02 | 鲍尔法因德股份有限公司 | Tension band |
Citations (5)
| Publication number | Priority date | Publication date | Assignee | Title |
|---|---|---|---|---|
| US20060011201A1 (en) * | 2004-07-14 | 2006-01-19 | Tsung-Yuan Ku | Modified eye and mouth mask structure for escape from dense smoke of fire accident |
| CN201329133Y (en) * | 2009-01-06 | 2009-10-21 | 卢泉生 | A portable quick anti-smoke life-saving helmet |
| CN202043663U (en) * | 2011-05-16 | 2011-11-23 | 王铭静 | Watered anti-poison respirator |
| CN202069014U (en) * | 2011-05-16 | 2011-12-14 | 谢康华 | Multifunctional anti-aircraft helmet |
| CN202982977U (en) * | 2012-11-19 | 2013-06-12 | 苏州征之魂专利技术服务有限公司 | Fire escape helmet structure |
-
2012
- 2012-11-19 CN CN201210469506.8A patent/CN103083841B/en not_active Expired - Fee Related
Patent Citations (5)
| Publication number | Priority date | Publication date | Assignee | Title |
|---|---|---|---|---|
| US20060011201A1 (en) * | 2004-07-14 | 2006-01-19 | Tsung-Yuan Ku | Modified eye and mouth mask structure for escape from dense smoke of fire accident |
| CN201329133Y (en) * | 2009-01-06 | 2009-10-21 | 卢泉生 | A portable quick anti-smoke life-saving helmet |
| CN202043663U (en) * | 2011-05-16 | 2011-11-23 | 王铭静 | Watered anti-poison respirator |
| CN202069014U (en) * | 2011-05-16 | 2011-12-14 | 谢康华 | Multifunctional anti-aircraft helmet |
| CN202982977U (en) * | 2012-11-19 | 2013-06-12 | 苏州征之魂专利技术服务有限公司 | Fire escape helmet structure |
Cited By (4)
| Publication number | Priority date | Publication date | Assignee | Title |
|---|---|---|---|---|
| CN109963532A (en) * | 2016-11-11 | 2019-07-02 | 鲍尔法因德股份有限公司 | Tension band |
| US11202718B2 (en) | 2016-11-11 | 2021-12-21 | Bauerfeind Ag | Clamping band |
| CN109963532B (en) * | 2016-11-11 | 2022-03-29 | 鲍尔法因德股份有限公司 | Tension belt |
| CN107583213A (en) * | 2017-09-26 | 2018-01-16 | 庄健峰 | Public fire protection EEBD between corridor |
Also Published As
| Publication number | Publication date |
|---|---|
| CN103083841B (en) | 2015-02-25 |
Similar Documents
| Publication | Publication Date | Title |
|---|---|---|
| US6134716A (en) | Disposable smoke mask with replaceable filter | |
| CN211935225U (en) | Protective head cover | |
| JPS5931347B2 (en) | Evacuation filter device with protective hood | |
| US20220161065A1 (en) | Personal Protective Facemask System | |
| CN103083841B (en) | Helmet structure for fire ground escape | |
| CN202982977U (en) | Fire escape helmet structure | |
| CN207323870U (en) | A kind of intelligent fire clothes | |
| KR101547601B1 (en) | Portable smoke and gas mask | |
| KR102001438B1 (en) | Smoke proof mask | |
| KR101777464B1 (en) | Portable mask | |
| CN201978373U (en) | Fire escape mask | |
| CN218303620U (en) | Helmet structure for forest fire prevention | |
| KR100452167B1 (en) | Anti -Gas Mask | |
| CN213131657U (en) | Emergency escape breathing device | |
| CN106215344A (en) | Fire self-service rescue device | |
| KR20050104851A (en) | The portable emergency escape smoke hood against fire | |
| CN203447661U (en) | Wet smoke mask | |
| CN208031682U (en) | A kind of fire-fighting first aid chlorination equipment | |
| KR20220033392A (en) | the dry / wet mask equipped with the toxic gas cut off in the disaster evacuation and noncombustible function | |
| CN106983968A (en) | Wet filter cloth mouth mask | |
| CN201329133Y (en) | A portable quick anti-smoke life-saving helmet | |
| CN208338935U (en) | Easily the jacket of smog is stopped to connect cap | |
| CN213964880U (en) | Multifunctional fire mask | |
| CN206103138U (en) | Fire self-service rescue device | |
| CN220002778U (en) | Industrial safety mask |
Legal Events
| Date | Code | Title | Description |
|---|---|---|---|
| C06 | Publication | ||
| PB01 | Publication | ||
| C10 | Entry into substantive examination | ||
| SE01 | Entry into force of request for substantive examination | ||
| C14 | Grant of patent or utility model | ||
| GR01 | Patent grant | ||
| C56 | Change in the name or address of the patentee | ||
| CP02 | Change in the address of a patent holder |
Address after: 225300 No. 94 middle Yangzi Road, Taizhou high port area, Jiangsu Patentee after: Suzhou Zhengzhihun Patent Technology Service Co.,Ltd. Address before: Suzhou City, Jiangsu province 215163 Suzhou New District kolding Road No. 78 Patentee before: Suzhou Zhengzhihun Patent Technology Service Co.,Ltd. |
|
| CP02 | Change in the address of a patent holder | ||
| CP02 | Change in the address of a patent holder |
Address after: Khalid Business Plaza, No. 8 Kexinlu high tech Zone of Suzhou City, Jiangsu province 215163 Building 5 Patentee after: Suzhou Zhengzhihun Patent Technology Service Co.,Ltd. Address before: 225300 No. 94 middle Yangzi Road, Taizhou high port area, Jiangsu Patentee before: Suzhou Zhengzhihun Patent Technology Service Co.,Ltd. |
|
| CF01 | Termination of patent right due to non-payment of annual fee | ||
| CF01 | Termination of patent right due to non-payment of annual fee |
Granted publication date: 20150225 |
