CN103031927A - SCS square concrete-filled steel tube pier column - Google Patents
SCS square concrete-filled steel tube pier column Download PDFInfo
- Publication number
- CN103031927A CN103031927A CN201210580264XA CN201210580264A CN103031927A CN 103031927 A CN103031927 A CN 103031927A CN 201210580264X A CN201210580264X A CN 201210580264XA CN 201210580264 A CN201210580264 A CN 201210580264A CN 103031927 A CN103031927 A CN 103031927A
- Authority
- CN
- China
- Prior art keywords
- steel pipe
- steel tube
- rectangular steel
- concrete
- scs
- Prior art date
- Legal status (The legal status is an assumption and is not a legal conclusion. Google has not performed a legal analysis and makes no representation as to the accuracy of the status listed.)
- Granted
Links
Images
Landscapes
- Rod-Shaped Construction Members (AREA)
- Bridges Or Land Bridges (AREA)
Abstract
本发明公开了一种SCS方形钢管混凝土墩柱,包括方形钢管、套装于方形钢管内部的圆形钢管、四个分别布设于方形钢管的四个内侧壁上的加劲肋板组和由填充于方形钢管与圆形钢管之间空腔内的混凝土浇筑成型的混凝土结构;每一个加劲肋板组均包括多道呈平行布设的纵向加劲肋,且多道纵向加劲肋均与其所处方形钢管的内侧壁呈垂直布设;四个加劲肋板组中的所有纵向加劲肋的结构和尺寸均相同;方形钢管和圆形钢管呈同轴布设;每一道纵向加劲肋的横向宽度均小于其所布设位置处方形钢管和圆形钢管之间的间距。本发明结构简单、设计合理、施工方便且施工成本较低、力学性能优良、使用效果好,能有效解决现有方形钢管混凝土结构存在的多种问题。
The invention discloses an SCS square steel pipe concrete pier column, which comprises a square steel pipe, a circular steel pipe set inside the square steel pipe, four stiffening rib groups respectively arranged on the four inner side walls of the square steel pipe and filled in the square steel pipe. The concrete structure formed by pouring concrete in the cavity between the steel pipe and the circular steel pipe; each stiffener plate group includes multiple longitudinal stiffeners arranged in parallel, and the multiple longitudinal stiffeners are aligned with the inner side of the square steel pipe where they are located. The walls are arranged vertically; the structure and size of all longitudinal stiffeners in the four stiffener plate groups are the same; square steel pipes and circular steel pipes are arranged coaxially; the transverse width of each longitudinal stiffener is smaller than that at the location where it is arranged The spacing between square steel pipes and round steel pipes. The invention has the advantages of simple structure, reasonable design, convenient construction, low construction cost, excellent mechanical performance and good use effect, and can effectively solve various problems existing in the existing square steel pipe concrete structure.
Description
技术领域technical field
本发明涉及一种支撑墩柱,尤其是涉及一种SCS方形钢管混凝土墩柱。The invention relates to a supporting pier column, in particular to an SCS square steel pipe concrete pier column.
背景技术Background technique
钢管混凝土是指在钢管中填充混凝土后形成的结构。钢和混凝土两种材料相互弥补彼此的弱点,充分发挥彼此的长处,使钢管混凝土具有很高的承载力,有优良的力学性能。现如今,钢管混凝土结构在海洋平台与大跨、重载、轻型桥梁等结构中有着越来越广泛的应用,且所采用的钢管混凝土结构主要有圆形、方形和矩形三种截面形式。但是,目前所使用的钢管混凝土结构普遍存在结构自重大的缺陷,因而在很大程度上限制了钢管混凝土结构的发展应用。Concrete filled steel pipe refers to the structure formed after the steel pipe is filled with concrete. The two materials of steel and concrete make up for each other's weaknesses and give full play to each other's strengths, so that the steel tube concrete has a high bearing capacity and excellent mechanical properties. Nowadays, CFST structures are more and more widely used in structures such as offshore platforms and long-span, heavy-duty, and light bridges, and the CFST structures used mainly have three cross-sectional forms: circular, square, and rectangular. However, the currently used concrete-filled steel tube structures generally have structural defects that limit the development and application of concrete-filled steel tube structures to a large extent.
其中,方钢管混凝土结构具有以下优点:第一、方钢管混凝土梁柱节点形式简单,易于施工,尤其在框架结构中,这种节点的优势可以得到很好地发挥;第二、截面的相对惯性矩较大,整体稳定性及抗压弯性能较好;第三、具有良好的抗震性能和延性性能。但是,方钢管对核心混凝土的约束作用较差,易发生局部屈曲,且用钢量较大,结构自重大,因而使得方钢管混凝土的发展应用受到限制。针对方钢管混凝土结构存在的上述缺陷和不足,目前主要采用在方钢管内设加劲肋、钢筋、钢骨、圆钢管等方法进行改善。Among them, the square concrete-filled steel tube structure has the following advantages: first, the square concrete-filled steel tube beam-column joint form is simple and easy to construct, especially in the frame structure, the advantages of this joint can be well utilized; second, the relative inertia of the section The moment is larger, the overall stability and anti-bending performance are better; third, it has good seismic performance and ductility. However, square steel tubes have poor restraint on the core concrete, are prone to local buckling, and use a large amount of steel and the structure is heavy, which limits the development and application of square steel tube concrete. In view of the above-mentioned defects and deficiencies in the square steel tube concrete structure, at present, methods such as setting stiffeners, steel bars, steel frames, and round steel tubes in the square steel tube are mainly used to improve.
综上,现如今的方钢管混凝土柱普遍存在几个问题:第一、方钢管对混凝土的套箍作用较弱,易发生局部屈曲,且组合结构的整体性不够;第二、方钢管混凝土柱的自重偏大,因而限制了柱体的结构尺寸;3.钢材耐火性能较差。To sum up, there are several common problems in today's square steel tube concrete columns: first, square steel tubes have a weak hoop effect on concrete, are prone to local buckling, and the integrity of the composite structure is not enough; second, square steel tube concrete columns The self-weight is too large, thereby limiting the structural size of the column; 3. The fire resistance of steel is poor.
发明内容Contents of the invention
本发明所要解决的技术问题在于针对上述现有技术中的不足,提供一种SCS方形钢管混凝土墩柱,其结构简单、设计合理、施工方便且施工成本较低、力学性能优良、使用效果好,能有效解决现有方形钢管混凝土结构存在的自重大、施工不便、外侧钢管与其内部混凝土之间的连接性能差、外侧钢管对内部混凝土的套箍作用小等问题。The technical problem to be solved by the present invention is to provide an SCS square concrete filled steel pipe pier with simple structure, reasonable design, convenient construction, low construction cost, excellent mechanical properties and good use effect in view of the above-mentioned deficiencies in the prior art. The invention can effectively solve the problems existing in the existing square steel pipe concrete structure, such as self-heaviness, inconvenient construction, poor connection performance between the outer steel pipe and the inner concrete, and the small hoop effect of the outer steel pipe on the inner concrete.
为解决上述技术问题,本发明采用的技术方案是:一种SCS方形钢管混凝土墩柱,其特征在于:包括方形钢管、套装于方形钢管内部的圆形钢管、四个分别布设于方形钢管的四个内侧壁上的加劲肋板组和由填充于方形钢管与圆形钢管之间空腔内的混凝土浇筑成型的混凝土结构;每一个所述加劲肋板组均包括多道呈平行布设的纵向加劲肋,多道所述纵向加劲肋的布设方向均与方形钢管和圆形钢管的中心轴线方向一致,且多道所述纵向加劲肋均与其所处方形钢管的内侧壁呈垂直布设;四个所述加劲肋板组中的所有纵向加劲肋的结构和尺寸均相同;所述方形钢管和圆形钢管呈同轴布设;四个所述加劲肋板组中的所有纵向加劲肋的布设方向均与所述圆形钢管和方形钢管的中心轴线方向一致,且四个所述加劲肋板组中的所有纵向加劲肋均与混凝土结构紧固连接为一体;所述纵向加劲肋为长条形钢肋板,每一道所述纵向加劲肋外侧壁均紧固固定在方形钢管的内侧壁上,且每一道所述纵向加劲肋的横向宽度均小于其所布设位置处方形钢管和圆形钢管之间的间距;所述方形钢管、圆形钢管和多道所述PBL加劲肋的纵向长度均相同;所述方形钢管的顶端和多道所述PBL加劲肋的顶端均与所述圆形钢管的顶端相平齐,且所述方形钢管的底端和多道所述PBL加劲肋的底端均与所述圆形钢管的底端相平齐。In order to solve the above technical problems, the technical solution adopted by the present invention is: a square SCS steel pipe concrete pier, which is characterized in that it includes a square steel pipe, a round steel pipe set inside the square steel pipe, four four The stiffened rib plate group on the inner wall and the concrete structure formed by pouring concrete in the cavity between the square steel pipe and the circular steel pipe; each of the stiffened rib plate groups includes multiple longitudinal stiffeners arranged in parallel Ribs, the laying direction of the multiple longitudinal stiffeners is consistent with the central axis direction of the square steel pipe and the circular steel pipe, and the multiple longitudinal stiffeners are arranged vertically to the inner side wall of the square steel pipe where they are located; the four The structure and size of all the longitudinal stiffeners in the stiffener plate groups are the same; the square steel pipes and circular steel pipes are arranged coaxially; The central axes of the circular steel pipe and the square steel pipe are in the same direction, and all the longitudinal stiffeners in the four stiffener plate groups are integrally connected with the concrete structure; the longitudinal stiffeners are elongated steel ribs plate, the outer wall of each longitudinal stiffener is fastened and fixed on the inner wall of the square steel pipe, and the transverse width of each longitudinal stiffener is smaller than the distance between the square steel pipe and the circular steel pipe at the position where it is laid. spacing; the longitudinal lengths of the square steel pipe, round steel pipe, and multiple PBL stiffeners are the same; and the bottom end of the square steel pipe and the bottom ends of the plurality of PBL stiffeners are all flush with the bottom end of the circular steel pipe.
上述一种SCS方形钢管混凝土墩柱,其特征是:所述长条形钢肋板的中部由上至下开有多个通孔,且多个所述通孔布设在同一直线上。The above-mentioned SCS square concrete-filled steel pipe pier is characterized in that: the middle part of the elongated steel rib plate is provided with a plurality of through holes from top to bottom, and the plurality of through holes are arranged on the same straight line.
上述一种SCS方形钢管混凝土墩柱,其特征是:每一道所述纵向加劲肋的外侧壁与方形钢管的内侧壁之间均以焊接方式进行连接。The above-mentioned SCS square steel pipe concrete pier is characterized in that: the outer wall of each longitudinal stiffener and the inner wall of the square steel pipe are connected by welding.
上述一种SCS方形钢管混凝土墩柱,其特征是:所述方形钢管的四个内侧壁包括呈左右对称布设的左侧壁和右侧壁以及呈前后对称布设的前侧壁和后侧壁,所述前侧壁和后侧壁上所布设纵向加劲肋的数量均为N1,且所述左侧壁和右侧壁上所布设纵向加劲肋的数量均为N2,其中N1≥N2,所述前侧壁和后侧壁的横向宽度L1≥所述左侧壁和右侧壁的横向宽度L2,N1和N2均为正整数且N2≥2;当所述方形钢管的横截面为正方形时,N1=N2;当所述方形钢管的横截面为长方形时,且L1>L2。The above-mentioned SCS square steel pipe concrete pier column is characterized in that: the four inner side walls of the square steel pipe include a left side wall and a right side wall symmetrically arranged on the left and right, and a front side wall and a rear side wall arranged symmetrically on the front and rear sides, The number of longitudinal stiffeners arranged on the front side wall and the rear side wall is N1, and the number of longitudinal stiffeners arranged on the left side wall and the right side wall is N2, wherein N1≥N2, the The transverse width L1 of the front side wall and the rear side wall ≥ the transverse width L2 of the left side wall and the right side wall, N1 and N2 are both positive integers and N2 ≥ 2; when the cross section of the square steel pipe is a square, N1=N2; when the cross section of the square steel pipe is rectangular, and L1>L2.
上述一种SCS方形钢管混凝土墩柱,其特征是:四个所述加劲肋板组中的所有纵向加劲肋上所开设通孔的数量和各通孔的布设位置均相同;多个所述通孔由上至下呈均匀布设,且多个所述通孔的结构和尺寸均相同。The above-mentioned SCS square concrete-filled steel pipe pier column is characterized in that: the number of through holes and the layout positions of each through hole are the same on all longitudinal stiffeners in the four stiffener plate groups; The holes are uniformly arranged from top to bottom, and the structures and sizes of the plurality of through holes are the same.
上述一种SCS方形钢管混凝土墩柱,其特征是:所述混凝土结构为碳纤维混凝土结构。The above-mentioned SCS square steel pipe concrete pier is characterized in that: the concrete structure is a carbon fiber concrete structure.
上述一种SCS方形钢管混凝土墩柱,其特征是:所述圆形钢管的外径为Φ102mm~Φ2000mm,所述方形钢管和圆形钢管的壁厚均为4mm~100mm,且A1︰A2=1︰(0.6~0.8),其中A1=a1+b1,a1为方形钢管的横截面积且b1为方形钢管内侧中空部的横截面积,A2=π·r2且r为圆形钢管的外径。The above-mentioned SCS square steel pipe concrete pier is characterized in that: the outer diameter of the circular steel pipe is Φ102mm-Φ2000mm, the wall thickness of the square steel pipe and the circular steel pipe are both 4mm-100mm, and A1:A2=1 : (0.6~0.8), where A1=a1+b1, a1 is the cross-sectional area of the square steel pipe and b1 is the cross-sectional area of the hollow part inside the square steel pipe, A2=π·r 2 and r is the outer diameter of the circular steel pipe .
上述一种SCS方形钢管混凝土墩柱,其特征是:每一道所述纵向加劲肋的横向宽度,均为其所布设位置处方形钢管和圆形钢管之间间距的( )。The above-mentioned SCS square steel pipe concrete pier is characterized in that: the transverse width of each longitudinal stiffener is equal to the distance between the square steel pipe and the circular steel pipe at the position where it is laid ( ).
上述一种SCS方形钢管混凝土墩柱,其特征是:所述通孔为圆形孔,且所述圆形孔的孔径其中d3为所述圆形孔所处纵向加劲肋的横向宽度。The above-mentioned SCS square concrete-filled steel pipe pier is characterized in that: the through hole is a circular hole, and the aperture of the circular hole is Wherein d3 is the transverse width of the longitudinal stiffener where the circular hole is located.
上述一种SCS方形钢管混凝土墩柱,其特征是:所述方形钢管的横截面积优选为4m2~10m2且其壁厚优选为18mm~25mm,所述圆形钢管的壁厚优选为18mm~25mm;所述长条形钢肋板的横向宽度优选为100mm~250mm且其厚度优选为12mm~22mm;所述圆形孔的直径优选为Φ30mm~Φ50mm,且上下相邻两个所述圆形孔的间距优选为100mm~200mm。The above-mentioned SCS square steel pipe concrete pier is characterized in that: the cross-sectional area of the square steel pipe is preferably 4m 2 to 10m 2 and the wall thickness is preferably 18mm to 25mm, and the wall thickness of the circular steel pipe is preferably 18mm ~25mm; the transverse width of the elongated steel rib plate is preferably 100mm~250mm and its thickness is preferably 12mm~22mm; the diameter of the circular hole is preferably Φ30mm~Φ50mm, and two adjacent circles up and down The pitch of the shaped holes is preferably 100 mm to 200 mm.
本发明与现有技术相比具有以下优点:Compared with the prior art, the present invention has the following advantages:
1、结构简单、设计合理且施工成本较低。1. Simple structure, reasonable design and low construction cost.
2、结构轻盈且抗震与抗扭性能良好。同时,使用方式灵活,可适用于墩柱、拱肋、横梁等结构中。2. The structure is light and the anti-seismic and torsional performance is good. At the same time, the use method is flexible, and it can be applied to structures such as pier columns, arch ribs, and beams.
3、施工方便、使用效果好、力学性能好且结构轻盈,内外两层钢管之间通过所浇注的混凝土连接成为一个整体。实际使用时,本发明能充分改善方形钢管混凝土结构自重大、施工不便等缺陷,其利用方形钢管较大的截面积来提供较大的截面抗扭与抗弯惯性矩,利用圆形钢管有效减小混凝土体积来减轻自重,并且夹层混凝土处于三向受压状态并将内方形钢管连成整体。因而,本发明能充分发挥方形钢管混凝土节点所具有的形式简单、易于施工等优点,截面的相对惯性矩较大,抗震、抗扭性能好,能有效克服方形钢管与其内部混凝土之间的连接性能差、外侧钢管对内部混凝土的套箍作用小等缺点,本发明利用内置的圆钢管增强对混凝土的套箍作用,并利用圆形钢管有效混凝土体积来减轻自重的目的。3. The construction is convenient, the use effect is good, the mechanical properties are good, and the structure is light. The inner and outer steel pipes are connected by poured concrete to form a whole. In actual use, the invention can fully improve the defects of the square steel pipe concrete structure such as heavy weight and inconvenient construction. It uses the larger cross-sectional area of the square steel pipe to provide a larger cross-sectional torsional and bending moment of inertia, and uses the circular steel pipe to effectively reduce the The small concrete volume reduces its own weight, and the sandwich concrete is in a three-way compression state and connects the inner square steel pipes into a whole. Therefore, the present invention can give full play to the advantages of simple form and easy construction of the square steel tube concrete joint, the relative moment of inertia of the section is relatively large, the performance of earthquake resistance and torsion resistance is good, and the connection performance between the square steel tube and its internal concrete can be effectively overcome. Poor, the outer steel pipe has a small hoop effect on the inner concrete, etc., the present invention uses the built-in round steel pipe to enhance the hoop effect on the concrete, and uses the effective concrete volume of the round steel pipe to reduce the self-weight.
4、内方形钢管之间所浇注的混凝土既可以采用普通混凝土,也可以采用碳纤维混凝土。并且,所采用的碳纤维混凝土中所添加碳纤维的含量为质量百分含量在0.6%左右,可将混凝土的抗拉强度和抗拉延性分别提高30%和25%。碳纤维是由碳纤维长丝经过短切机械切制而成,长度一般以mm为单位,外形为一定长度的绒须,具有轻质、高强、高模、耐腐蚀、导电、屏蔽性能好、吸波性高等特点,且具有分散均匀,喂料方式多样,工艺简单的优点。混凝土中加入适量的短切碳纤维,可以提高混凝土的抗拉强度、抗强度和抗冲击性能,降低干缩,改善耐磨性能,且这种混凝土较普通混凝土质量轻,具有一定的隔热性能和减震性能。与圆形钢管内部以及圆形钢管与方形钢管之间形成的空间内均填满混凝土的钢管混凝土结构相比,本发明能充分利用内置圆钢管的强度。4. The concrete poured between the inner square steel pipes can be either ordinary concrete or carbon fiber concrete. Moreover, the content of carbon fiber added in the carbon fiber concrete used is about 0.6% by mass, which can increase the tensile strength and tensile ductility of the concrete by 30% and 25% respectively. Carbon fiber is made of carbon fiber filaments through chopped mechanical cutting. The length is generally in mm, and the shape is a certain length of velvet. High performance, and has the advantages of uniform dispersion, various feeding methods, and simple process. Adding an appropriate amount of chopped carbon fiber to the concrete can improve the tensile strength, strength and impact resistance of the concrete, reduce drying shrinkage, and improve wear resistance. This concrete is lighter than ordinary concrete and has certain heat insulation properties and shock absorption performance. Compared with the steel pipe concrete structure in which the interior of the circular steel pipe and the space formed between the circular steel pipe and the square steel pipe are all filled with concrete, the invention can make full use of the strength of the built-in circular steel pipe.
5、利用开孔加劲肋增强方形钢管的面外稳定性,并相应大幅度增强结构抗剪能力,同时将整个钢管混凝土结构的各组成部分紧密连成整体。再配合多道箍筋,将多道开孔加劲肋有机连接为一体,进一步增强了整个钢管混凝土结构的整体性。所设置的开孔加劲肋不仅提高了核心混凝土的抗压强度,增强管壁的稳定性;同时开孔加劲肋充当了剪力件的作用,使钢管与混凝土连成整体,提高了钢与混凝土的组合作用。并且,本发明的可操作性强,能有效解决现如今钢管的曲弯时间因与开孔加劲肋刚度有关系而导致的不易控制的难题。5. The out-of-plane stability of the square steel pipe is enhanced by using the opening stiffener, and the shear resistance of the structure is greatly enhanced accordingly, and at the same time, the various components of the entire steel pipe concrete structure are closely connected into a whole. Combined with multiple stirrups, the multiple open-hole stiffeners are organically connected as a whole, which further enhances the integrity of the entire CFST structure. The perforated stiffeners not only improve the compressive strength of the core concrete, but also enhance the stability of the pipe wall; at the same time, the perforated stiffeners act as shear members, connecting the steel pipe and concrete as a whole, improving the strength of steel and concrete. combination effect. Moreover, the present invention has strong operability, and can effectively solve the problem that the bending time of the steel pipe is not easy to control due to the relationship between the stiffness of the opening stiffener.
综上所述,本发明结构简单、设计合理、施工方便且施工成本较低、力学性能优良、使用效果好,能有效解决现有方形钢管混凝土结构存在的自重大、施工不便、外侧钢管与其内部混凝土之间的连接性能差、外侧钢管对内部混凝土的套箍作用小等多种问题。To sum up, the present invention has the advantages of simple structure, reasonable design, convenient construction, low construction cost, excellent mechanical properties, and good application effect, and can effectively solve the existing problems of the existing square steel tube concrete structure, such as heavy weight, inconvenient construction, and problems between the outer steel tube and its internal structure. There are many problems such as poor connection performance between concrete and small hoop effect of outer steel pipe on inner concrete.
下面通过附图和实施例,对本发明的技术方案做进一步的详细描述。The technical solutions of the present invention will be described in further detail below with reference to the accompanying drawings and embodiments.
附图说明Description of drawings
图1为本发明的结构示意图。Fig. 1 is a structural schematic diagram of the present invention.
图2为本发明的内部结构示意图。Fig. 2 is a schematic diagram of the internal structure of the present invention.
图3为本发明的顶部结构示意图。Fig. 3 is a schematic diagram of the top structure of the present invention.
附图标记说明:Explanation of reference signs:
1—方形钢管; 2—圆形钢管; 3—PBL加劲肋;1—square steel pipe; 2—round steel pipe; 3—PBL stiffener;
4—混凝土结构; 5—通孔。4—concrete structure; 5—through hole.
具体实施方式Detailed ways
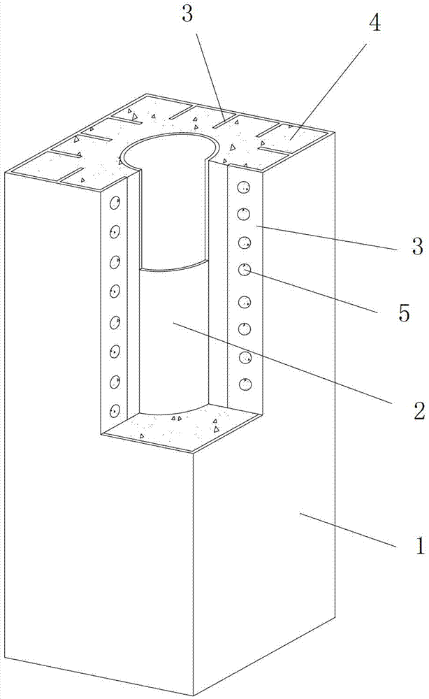
如图1、图2及图3所示,本发明包括方形钢管1、套装于方形钢管1内部的圆形钢管2、四个分别布设于方形钢管1的四个内侧壁上的加劲肋板组和由填充于方形钢管1与圆形钢管2之间空腔内的混凝土浇筑成型的混凝土结构4。每一个所述加劲肋板组均包括多道呈平行布设的纵向加劲肋3,多道所述纵向加劲肋3的布设方向均与方形钢管1和圆形钢管2的中心轴线方向一致,且多道所述纵向加劲肋3均与其所处方形钢管1的内侧壁呈垂直布设。四个所述加劲肋板组中的所有纵向加劲肋3的结构和尺寸均相同。所述方形钢管1和圆形钢管2呈同轴布设;四个所述加劲肋板组中的所有纵向加劲肋3的布设方向均与所述圆形钢管2和方形钢管1的中心轴线方向一致,且四个所述加劲肋板组中的所有纵向加劲肋3均与混凝土结构4紧固连接为一体;所述纵向加劲肋3为长条形钢肋板,每一道所述纵向加劲肋3外侧壁均紧固固定在方形钢管1的内侧壁上,且每一道所述纵向加劲肋3的横向宽度均小于其所布设位置处方形钢管1和圆形钢管2之间的间距。所述方形钢管1、圆形钢管2和多道所述PBL加劲肋3的纵向长度均相同。所述方形钢管1的顶端和多道所述PBL加劲肋3的顶端均与所述圆形钢管2的顶端相平齐,且所述方形钢管1的底端和多道所述PBL加劲肋3的底端均与所述圆形钢管2的底端相平齐。As shown in Fig. 1, Fig. 2 and Fig. 3, the present invention comprises a
本实施例中,所述长条形钢肋板的中部由上至下开有多个通孔5,且多个所述通孔5布设在同一直线上。In this embodiment, a plurality of through holes 5 are opened from top to bottom in the middle of the elongated steel rib plate, and the plurality of through holes 5 are arranged on the same straight line.
实际加工时,每一道所述纵向加劲肋3的外侧壁与方形钢管1的内侧壁之间均以焊接方式进行连接。During actual processing, the outer sidewall of each
本实施例中,所述方形钢管1的四个内侧壁包括呈左右对称布设的左侧壁和右侧壁以及呈前后对称布设的前侧壁和后侧壁,所述前侧壁和后侧壁上所布设纵向加劲肋3的数量均为N1,且所述左侧壁和右侧壁上所布设纵向加劲肋3的数量均为N2,其中N1≥N2,所述前侧壁和后侧壁的横向宽度L1≥所述左侧壁和右侧壁的横向宽度L2,N1和N2均为正整数且N2≥2;当所述方形钢管1的横截面为正方形时,N1=N2;当所述方形钢管1的横截面为长方形时,且L1>L2。In this embodiment, the four inner side walls of the
本实施例中,四个所述加劲肋板组中的所有纵向加劲肋3上所开设通孔5的数量和各通孔5的布设位置均相同。多个所述通孔5由上至下呈均匀布设,且多个所述通孔5的结构和尺寸均相同。In this embodiment, the number of through holes 5 and the layout positions of each through hole 5 are the same on all the
本实施例中,所述混凝土结构4为碳纤维混凝土结构。In this embodiment, the
实际加工时,所述圆形钢管2的外径为Φ102mm~Φ2000mm,所述方形钢管1和圆形钢管2的壁厚均为4mm~100mm,且A1︰A2=1︰(0.6~0.8),其中A1=a1+b1,a1为方形钢管1的横截面积且b1为方形钢管1内侧中空部的横截面积,A2=π·r2且r为圆形钢管2的外径。During actual processing, the outer diameter of the
每一道所述纵向加劲肋3的横向宽度,均为其所布设位置处方形钢管1和圆形钢管2之间间距的 The transverse width of each
本实施例中,所述通孔5为圆形孔,且所述圆形孔的孔径 其中d3为所述圆形孔所处纵向加劲肋3的横向宽度。In this embodiment, the through hole 5 is a circular hole, and the diameter of the circular hole is Wherein d3 is the transverse width of the
本实施例中,A1=D2且其优选为4m2~10m2,=6m2,其中D为所述方形钢管1的外侧壁边长,所述方形钢管1的壁厚优选为18mm~25mm。所述长条形钢肋板的横向宽度优选为100mm~250mm且其厚度优选为12mm~22mm;所述圆形孔的直径优选为Φ30mm~50mm,且上下相邻两个所述圆形孔的间距优选为100mm~200mm。In this embodiment, A1=D 2 and it is preferably 4m 2 ~ 10m 2 , = 6m 2 , wherein D is the length of the outer side wall of the
实际加工时,每一个所述加劲肋板组中多个所述纵向加劲肋3呈均匀布设。本实施例中,每一个所述加劲肋板组中所包括纵向加劲肋3的数量优选为1道~4道。During actual processing, the multiple
实际施工时,当所施工的钢管混凝土墩柱用于房屋建筑、桥梁等领域时,所述圆形钢管2和方形钢管1的壁厚优选在4mm~66mm的范围内进行相应调整。当所施工的钢管混凝土墩柱用于海洋平台时,所述圆形钢管2和方形钢管1的壁厚优选在12mm~100mm的范围内进行相应调整。During actual construction, when the constructed steel pipe concrete piers are used in fields such as building construction and bridges, the wall thicknesses of the
以上所述,仅是本发明的较佳实施例,并非对本发明作任何限制,凡是根据本发明技术实质对以上实施例所作的任何简单修改、变更以及等效结构变化,均仍属于本发明技术方案的保护范围内。The above are only preferred embodiments of the present invention, and do not limit the present invention in any way. All simple modifications, changes and equivalent structural changes made to the above embodiments according to the technical essence of the present invention still belong to the technical aspects of the present invention. within the scope of protection of the scheme.
Claims (10)
Priority Applications (1)
| Application Number | Priority Date | Filing Date | Title |
|---|---|---|---|
| CN201210580264.XA CN103031927B (en) | 2012-12-27 | 2012-12-27 | SCS square concrete-filled steel tube pier column |
Applications Claiming Priority (1)
| Application Number | Priority Date | Filing Date | Title |
|---|---|---|---|
| CN201210580264.XA CN103031927B (en) | 2012-12-27 | 2012-12-27 | SCS square concrete-filled steel tube pier column |
Publications (2)
| Publication Number | Publication Date |
|---|---|
| CN103031927A true CN103031927A (en) | 2013-04-10 |
| CN103031927B CN103031927B (en) | 2015-07-15 |
Family
ID=48019283
Family Applications (1)
| Application Number | Title | Priority Date | Filing Date |
|---|---|---|---|
| CN201210580264.XA Expired - Fee Related CN103031927B (en) | 2012-12-27 | 2012-12-27 | SCS square concrete-filled steel tube pier column |
Country Status (1)
| Country | Link |
|---|---|
| CN (1) | CN103031927B (en) |
Cited By (5)
| Publication number | Priority date | Publication date | Assignee | Title |
|---|---|---|---|---|
| CN103938799A (en) * | 2014-04-10 | 2014-07-23 | 北京工业大学 | Ribbed steel plate composite gigantic column and manufacturing method |
| CN110130214A (en) * | 2019-06-04 | 2019-08-16 | 姚攀峰 | A kind of bridge pier, bridge structure, king-post and construction method |
| CN111691291A (en) * | 2020-07-14 | 2020-09-22 | 中交第一公路勘察设计研究院有限公司 | Steel-concrete combined plate type pier used in central separation belt of overpass bridge and construction method thereof |
| CN113152662A (en) * | 2021-04-14 | 2021-07-23 | 中国电建集团西北勘测设计研究院有限公司 | Connecting piece for connecting concrete column and steel beam and application method of connecting piece |
| CN113848119A (en) * | 2021-09-27 | 2021-12-28 | 长安大学 | Method and device for testing PBL (Poly-p-phenylene benzobisoxazole) connecting piece in rectangular concrete-filled steel tube structure |
Citations (7)
| Publication number | Priority date | Publication date | Assignee | Title |
|---|---|---|---|---|
| JPH0351462A (en) * | 1989-07-18 | 1991-03-05 | Ohbayashi Corp | Double steel pipe concrete structure |
| JPH09165720A (en) * | 1995-12-19 | 1997-06-24 | Ishikawajima Constr Materials Co Ltd | Reinforcing method of cylindrical column |
| CN201347603Y (en) * | 2009-01-08 | 2009-11-18 | 山东科技大学 | Hollow concrete-filled tubular column |
| CN102535750A (en) * | 2012-02-14 | 2012-07-04 | 长安大学 | Cylindrical construction part provided with holed stiffening ribs and filled with steel fiber reinforced concrete |
| CN202323683U (en) * | 2011-11-19 | 2012-07-11 | 长安大学 | Steel plate light steel fiber concrete pier provided with hooping and stiffening ribs with holes |
| CN202500078U (en) * | 2012-02-14 | 2012-10-24 | 长安大学 | A hollow steel tube cylindrical structure based on externally-installed stiffeners and externally-wrapped concrete |
| CN203008235U (en) * | 2012-12-27 | 2013-06-19 | 长安大学 | SCS (steel concrete structure) square concrete-filled steel tube pier stud with internal vertical reinforcing ribs |
-
2012
- 2012-12-27 CN CN201210580264.XA patent/CN103031927B/en not_active Expired - Fee Related
Patent Citations (7)
| Publication number | Priority date | Publication date | Assignee | Title |
|---|---|---|---|---|
| JPH0351462A (en) * | 1989-07-18 | 1991-03-05 | Ohbayashi Corp | Double steel pipe concrete structure |
| JPH09165720A (en) * | 1995-12-19 | 1997-06-24 | Ishikawajima Constr Materials Co Ltd | Reinforcing method of cylindrical column |
| CN201347603Y (en) * | 2009-01-08 | 2009-11-18 | 山东科技大学 | Hollow concrete-filled tubular column |
| CN202323683U (en) * | 2011-11-19 | 2012-07-11 | 长安大学 | Steel plate light steel fiber concrete pier provided with hooping and stiffening ribs with holes |
| CN102535750A (en) * | 2012-02-14 | 2012-07-04 | 长安大学 | Cylindrical construction part provided with holed stiffening ribs and filled with steel fiber reinforced concrete |
| CN202500078U (en) * | 2012-02-14 | 2012-10-24 | 长安大学 | A hollow steel tube cylindrical structure based on externally-installed stiffeners and externally-wrapped concrete |
| CN203008235U (en) * | 2012-12-27 | 2013-06-19 | 长安大学 | SCS (steel concrete structure) square concrete-filled steel tube pier stud with internal vertical reinforcing ribs |
Cited By (5)
| Publication number | Priority date | Publication date | Assignee | Title |
|---|---|---|---|---|
| CN103938799A (en) * | 2014-04-10 | 2014-07-23 | 北京工业大学 | Ribbed steel plate composite gigantic column and manufacturing method |
| CN110130214A (en) * | 2019-06-04 | 2019-08-16 | 姚攀峰 | A kind of bridge pier, bridge structure, king-post and construction method |
| CN111691291A (en) * | 2020-07-14 | 2020-09-22 | 中交第一公路勘察设计研究院有限公司 | Steel-concrete combined plate type pier used in central separation belt of overpass bridge and construction method thereof |
| CN113152662A (en) * | 2021-04-14 | 2021-07-23 | 中国电建集团西北勘测设计研究院有限公司 | Connecting piece for connecting concrete column and steel beam and application method of connecting piece |
| CN113848119A (en) * | 2021-09-27 | 2021-12-28 | 长安大学 | Method and device for testing PBL (Poly-p-phenylene benzobisoxazole) connecting piece in rectangular concrete-filled steel tube structure |
Also Published As
| Publication number | Publication date |
|---|---|
| CN103031927B (en) | 2015-07-15 |
Similar Documents
| Publication | Publication Date | Title |
|---|---|---|
| CN102979251B (en) | A kind of SCS encased structures based on PBL stiffening rib | |
| CN101581115B (en) | A Hybrid Steel-Concrete Composite Frame System | |
| CN203008235U (en) | SCS (steel concrete structure) square concrete-filled steel tube pier stud with internal vertical reinforcing ribs | |
| CN102535750A (en) | Cylindrical construction part provided with holed stiffening ribs and filled with steel fiber reinforced concrete | |
| CN103031927B (en) | SCS square concrete-filled steel tube pier column | |
| CN202124961U (en) | Profile steel concrete shear wall | |
| CN102979179B (en) | The pipe-reinforced concrete superimposed frame structure system of a kind of steel | |
| CN102979180B (en) | SCS (steel-tube concrete structure) with built-in shear nails | |
| CN103061449B (en) | Based on stirrup and the dual SCS square steel-pipe concrete structure of putting more energy into of stiffening rib | |
| CN203639807U (en) | Y-shaped pier for concrete filled steel tube truss beam | |
| CN110306686A (en) | A steel pipe RPC frame dense rib composite shear wall | |
| CN102979250A (en) | SCS (structure cabling system) encased structure based on longitudinal stiffening ribs | |
| CN203066236U (en) | SCS concrete-filled steel tubular structure with through and long inside where PBL stiffening ribs are distributed | |
| CN203034685U (en) | Novel circular-end-shaped concrete filled steel tubular column | |
| CN102704597A (en) | Encased concrete composite shear wall embedded with dense steel plate beams between concrete-filled steel tube columns and construction method thereof | |
| CN203008236U (en) | SCS (steel concrete structure) concrete-filled steel tube structure with vertical reinforcing structure in internal whole length | |
| CN105064509B (en) | Artificial Plastic Hinge at Beam End of Building Concrete Structure and Its Construction Method | |
| CN110670475A (en) | Arch structure with mixed reinforced concrete plate girders | |
| CN203007821U (en) | SCS steel tube concrete pier with double stiffening structures added on upper end portion and lower end portion | |
| CN202990101U (en) | Steel-tube-reinforced-concrete overlapped frame structure system | |
| CN102433960A (en) | Foam filled reinforced concrete hollow beam | |
| CN107237453B (en) | A steel tube concrete composite column | |
| CN205976047U (en) | Clean steel buckling restrained brace component | |
| CN203008234U (en) | SCS (steel concrete structure) square concrete-filled steel tube column based on CFRP (carbon fiber reinforced plastic) fabric reinforcement | |
| CN204418422U (en) | A kind of combined concrete shear wall |
Legal Events
| Date | Code | Title | Description |
|---|---|---|---|
| C06 | Publication | ||
| PB01 | Publication | ||
| C10 | Entry into substantive examination | ||
| SE01 | Entry into force of request for substantive examination | ||
| C14 | Grant of patent or utility model | ||
| GR01 | Patent grant | ||
| CF01 | Termination of patent right due to non-payment of annual fee |
Granted publication date: 20150715 Termination date: 20151227 |
|
| EXPY | Termination of patent right or utility model |







