CN102777648B - Flow limiting shutoff valve - Google Patents

Flow limiting shutoff valve Download PDF

Info

Publication number
CN102777648B
CN102777648B CN201210199191.XA CN201210199191A CN102777648B CN 102777648 B CN102777648 B CN 102777648B CN 201210199191 A CN201210199191 A CN 201210199191A CN 102777648 B CN102777648 B CN 102777648B
Authority
CN
China
Prior art keywords
piston
flow
valve
cavity
water
Prior art date
Legal status (The legal status is an assumption and is not a legal conclusion. Google has not performed a legal analysis and makes no representation as to the accuracy of the status listed.)
Active
Application number
CN201210199191.XA
Other languages
Chinese (zh)
Other versions
CN102777648A (en
Inventor
高大勇
Current Assignee (The listed assignees may be inaccurate. Google has not performed a legal analysis and makes no representation or warranty as to the accuracy of the list.)
ZHUHAI EDISON ENERGY SAVING TECHNOLOGY CO LTD
Original Assignee
ZHUHAI EDISON ECOTECH CO Ltd
Priority date (The priority date is an assumption and is not a legal conclusion. Google has not performed a legal analysis and makes no representation as to the accuracy of the date listed.)
Filing date
Publication date
Application filed by ZHUHAI EDISON ECOTECH CO Ltd filed Critical ZHUHAI EDISON ECOTECH CO Ltd
Priority to CN201210199191.XA priority Critical patent/CN102777648B/en
Publication of CN102777648A publication Critical patent/CN102777648A/en
Application granted granted Critical
Publication of CN102777648B publication Critical patent/CN102777648B/en
Active legal-status Critical Current
Anticipated expiration legal-status Critical

Links

Images

Landscapes

  • Fluid-Driven Valves (AREA)
  • Safety Valves (AREA)

Abstract

本发明涉及一种流量限制截流阀,包括流量截止阀和截断阀。所述流量截止阀包括阀体、活塞和偏压部件。所述阀体上成型有通腔,所述通腔的出水口设有密封座;所述活塞可轴向往返移动地设置在所述通腔内,所述活塞的相应外壁、所述通腔的内壁以及所述密封座之间配合形成一中间腔,所述活塞上成型有预设通流面积的导流通孔,所述中间腔通过所述导流通孔与所述进水口连通。所述活塞的朝向所述密封座的一端设有密封件,在所述进水口的流量小于预设值时,所述密封件与所述密封座分离;在所述进水口的流量大于预设值时,所述活塞上的所述密封件与所述密封座接触密封;当所述截断阀关闭时,可以实现所述活塞的自动复位。

Figure 201210199191

The invention relates to a flow limiting cut-off valve, which includes a flow cut-off valve and a cut-off valve. The flow shutoff valve includes a valve body, a piston and a biasing member. A through cavity is formed on the valve body, and the water outlet of the through cavity is provided with a sealing seat; the piston is arranged in the through cavity in an axially reciprocating manner, and the corresponding outer wall of the piston, the through cavity The inner wall of the piston and the sealing seat cooperate to form an intermediate cavity, and a diversion hole with a preset flow area is formed on the piston, and the intermediate cavity communicates with the water inlet through the diversion hole. One end of the piston facing the seal seat is provided with a seal, and when the flow rate of the water inlet is less than a preset value, the seal is separated from the seal seat; the flow rate of the water inlet is greater than a preset value. When the value is high, the sealing member on the piston is in contact with the sealing seat for sealing; when the shut-off valve is closed, the automatic reset of the piston can be realized.

Figure 201210199191

Description

A kind of flow restriction shutoff valve
Technical field
The present invention relates to a kind of valve means, be specifically related to a kind of flow restriction shutoff valve.
Background technique
Day by day in short supply along with socio-economic development and the energy, especially, in water resources serious deficient today, maximization, judicial convenience and the safe of people to water resources utilization had higher requirement.In actual daily life, water pipe, because of long-term frequent use, easily there is sudden damage in the first-class equipment of fire hose place, usually cause large strand of current to outflow continuously and cause the waste of water resources, in prior art, for water pipe, the sudden damage of the first-class equipment of the fire hose, by total lock of manually closing on water pipe, make up often, and close owing to finding that water tap damages the reaction time that total lock need to be certain, particularly, when when accident occurs, nobody controls at the scene, not only easily cause the significant wastage of water resources but also can not have due to the water logging of overflowing the floor of family, the articles for use such as furniture, and cause property loss to a certain degree to user, situation is serious, even also can overflow feed through to resident family around, consequence will be more serious.
Chinese patent literature CN2937705Y discloses a kind of excess-flow valve, it comprises a shell, and the water outlet arranging on shell and water inlet, between described water outlet and water inlet, be provided with excess-flow structure, this excess-flow structure comprises: a connecting rod, can form displacement along a passage, and be connected with a closeouts, this closeouts is arranged in a shutoff chamber, in company with the displacement of described connecting rod can shutoff described in flow channel between water outlet and water inlet; One elastic component, is arranged between described connecting rod and described shell, for when lower than predetermined hydraulic pressure, supports described connecting rod automatically in making described closeouts keep the position that described flow channel is unimpeded.This excess-flow valve is provided with only complex structure between described connecting rod and described shell, can be hydraulic pressure be excessive while causing reduction valve damaged, block and keep sealed condition, preventing from directly flowing to terminal equipment and causing the destruction to terminal equipment without the current of decompression, therefore, the object that this excess-flow valve is set is in the situation that hydraulic pressure is excessive, automatically to block current, but after stopping, due to the only effect of complex structure, closeouts cannot automatically reset, therefore, use is very inconvenient.
Summary of the invention
In order to solve water-stop valve of the prior art, after cutout, closeouts cannot automatically reset technical problem occurring, the invention provides a kind of can automatically reset flow restriction throttle valve after stopping.
The technological scheme of flow restriction shutoff valve of the present invention is:
A kind of flow restriction shutoff valve, comprises when a water inlet water flow is greater than predefined value, can automatically block the flow stop valve of current, described flow stop valve comprises
Valve body, forms cavity on described valve body, and described cavity comprises water intake and water outlet, and the water outlet of described cavity is provided with sealing seat;
Piston, described piston can axially come and go and be arranged on movably in described cavity, and between the water intake in described cavity and described water outlet, between the respective external wall of described piston, the inwall of described cavity and described sealing seat, coordinate and form an intermediate cavity, on described piston, form the water conservancy diversion through hole of default flow area, described intermediate cavity is communicated with described water intake by described water conservancy diversion through hole.One end towards described sealing seat of described piston is provided with Sealing, when the flow of described water intake is less than predefined value, described Sealing is separation with described sealing seat, and described intermediate cavity communicates with described water outlet by the gap forming between described Sealing and described sealing seat; When the flow of described water intake is greater than predefined value, described piston moves towards described sealing seat direction under the promotion of hydraulic coupling, until the described Sealing on described piston contacts sealing with described sealing seat, blocks current;
Biasing member, described biasing member is arranged between described piston one end and described sealing seat near described cavity water intake;
Also comprise a block valve, the water outlet of described block valve is communicated with the water intake of described flow stop valve, when described block valve is closed, the reposition force sum of ambient pressure and described biasing member is greater than the hydraulic coupling between described block valve water outlet and described flow stop valve water intake, realizes the reset of described piston.
Above-mentioned flow restriction shutoff valve, on the surface that described Sealing contacts with described sealing seat, two have at least one to be provided with projection or recessed pattern or decorative pattern.
Above-mentioned flow restriction shutoff valve, the water outlet of described flow stop valve is provided with the adapter component of a hollow, one end that described sealing seat inserts described water outlet by described adapter component forms, and described flow stop valve is connected with extraneous pipeline by described adapter component.
Above-mentioned flow restriction shutoff valve, described piston comprises head and the less afterbody of diameter that diameter is larger, described head is applicable to sliding along described cavity inwall, and on described head, forms the throttling through hole of default flow area; On described afterbody, be provided with Sealing.
Above-mentioned flow restriction shutoff valve, is also provided with one end and stretches into the guide rod in described adapter component 6 on the end face of the described afterbody of described piston.
Above-mentioned flow restriction shutoff valve, described adapter component inserts on one end end face in described cavity and also forms annular groove, and described biasing member is that one end is set in described piston tail, and the other end is arranged on the spring in described groove.
Above-mentioned flow restriction shutoff valve, described block valve is ball valve.
Technique scheme of the present invention has the following advantages compared to existing technology:
Flow restriction shutoff valve provided by the invention not only can be realized when normal use, allow current freely pass through, can also realize simultaneously when water pipe or the sudden damage of water tap place generation, can automatically block current, the more important thing is that flow stop valve can automatically reset, only need to close block valve, when flow stop valve is when the state of blocking becomes opening state, just can make the piston in flow stop valve automatically reset under the effect of spring and ambient pressure, very easy to use.
Accompanying drawing explanation
In order to make content of the present invention more be convenient to understand, below in conjunction with the drawings and specific embodiments, content of the present invention is further elaborated.Wherein the piston in Fig. 1 to Fig. 5 has larger head and less afterbody, and water conservancy diversion through hole, on the head of described piston, is not with flex point.
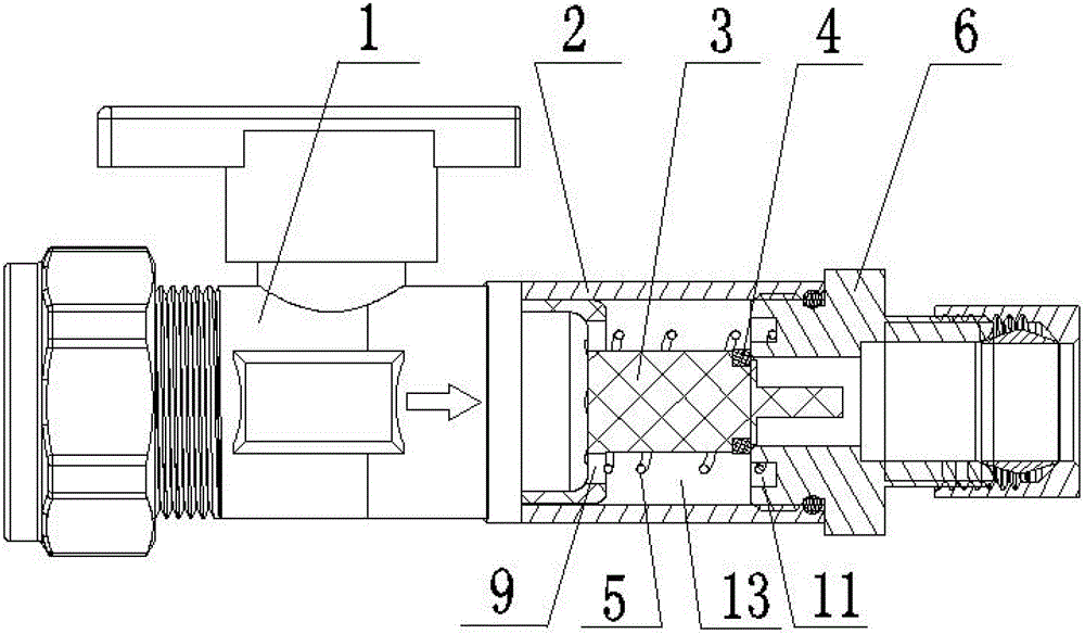
Fig. 1 is flow restriction shutoff valve embodiment's 1 of the present invention erection drawing.
Fig. 2 is the circulation schematic diagram of flow restriction shutoff valve embodiment 1 of the present invention water when flow does not exceed predefined value.
Fig. 3 is the partial enlarged drawing of flow restriction shutoff valve embodiment 1 of the present invention circulation schematic diagram of water when flow does not exceed predefined value.
Fig. 4 is flow restriction shutoff valve embodiment 1 of the present invention exceedes predefined value sealing schematic diagram at flow.
Fig. 5 is flow restriction shutoff valve embodiment 1 of the present invention exceedes the sealing schematic diagram of predefined value partial enlarged drawing at flow.
Fig. 6 is the circulation schematic diagram of flow restriction shutoff valve embodiment 2 of the present invention water when flow does not exceed predefined value.
Reference character is: 1-ball valve, 2-valve body, 3-piston, 4-Sealing, 5-spring, 6-adapter component, 7-(valve body) water intake, 8-(valve body) water outlet, 9-water conservancy diversion through hole, 10-guide rod, 11-groove, 12-(ball valve) water outlet, 13-intermediate cavity.
Embodiment
Embodiment 1
As shown in Figure 1, a kind of flow restriction shutoff valve of the present embodiment, comprises when a water inlet water flow is greater than predefined value, can automatically block flow stop valve and a ball valve 1 of current.
Described flow stop valve comprises valve body 2, piston 3 and spring 5, on described valve body, forms cavity, and described cavity comprises water intake 7 and water outlet 8, and the water outlet 8 of described cavity is provided with sealing seat; Described piston 3 can axially come and go and be arranged on movably in described cavity, and between the water intake in described cavity 7 and described water outlet 8, between the respective external wall of described piston 3, the inwall of described cavity and described sealing seat, coordinate and form an intermediate cavity 13, described piston 3 comprises head and the less afterbody of diameter that diameter is larger, described head is applicable to sliding along described cavity inwall, and the water conservancy diversion through hole 9 that forms default flow area on described head, described intermediate cavity 13 is communicated with described water intake 7 by described water conservancy diversion through hole 9; On the end face of described afterbody, be also provided with one end and stretch into the guide rod 10 in described adapter component 6, the afterbody of described piston 3 is provided with Sealing 4, on the surface that described Sealing is used for contacting with described sealing seat, is provided with protruding decorative pattern; Described spring 5 is arranged between the described head and described sealing seat of described piston 3, and one end is set in described piston 3 afterbodys, and the other end is arranged in the annular groove 11 that described adapter component 6 inserts on one end end face in described valve body cavity and form.
When flow does not exceed predefined value, as shown in Figures 2 and 3, described Sealing 4 is separation with described sealing seat, and described intermediate cavity 13 communicates with described water outlet by the gap forming between described Sealing 4 and described sealing seat.Water flows into the water intake of valve body 2 by ball valve 1, then impact piston 3 main along the water conservancy diversion through hole 9 on piston 3 and rear valve body 2 water outlets that flow into of intermediate cavity 13 outflows, by the flow channel of adapter component 6, flow out again, now spring 5 plays the effect that props up piston 3, the Sealing 4 that prevents motion together with piston 3 contacts with adapter component 6, and then water is circulated smoothly.
In the above-described embodiment, as selectable mode of execution, can make seal surface keep smooth, and projection or recessed decorative pattern or pattern are set on the surface that is used for contacting with described Sealing at described sealing seat; Projection or recessed decorative pattern or pattern also can be set on the surface of contact of the surface of contact of sealing seat and sealing seat simultaneously.
When water pipe or the sudden damage of water tap place generation, flow by ball valve 1 and flow stop valve can increase suddenly, when the flow passing through exceedes predefined value, as shown in Figure 4 and Figure 5, because the flow area of the water conservancy diversion through hole 9 on piston 3 is limited, be that the flow that in the unit time, permission is passed through is conditional, therefore, the large quantity of fluid not having enough time to pass through in water inlet will overcome the elastic force of spring 5, promoting piston 3 moves toward sealing seat direction, until the described Sealing 4 on described piston 3 contacts sealing with described sealing seat, and then block current.
At flow, exceed predefined value and after current are truncated, close ball valve 1, now at the original hydraulic pressure of valve body 2 inner maintenance, when the reposition force sum of ambient pressure and spring 5 is greater than the hydraulic coupling between described block valve water outlet 12 and described flow stop valve water intake 7, piston is pushed towards moving away from the direction of sealing seat, thereby cause Sealing 4 separation with sealing seat and realize the reset of piston, flow stop valve is opened.Now, can change damaged water pipe or water tap, after more finishing changing, open ball valve 1, flow restriction shutoff valve of the present invention can normally use again, very convenient.
Embodiment 2
As selectable mode of execution, described piston 3 can also be arranged to the identical cylinder-like structure of diameter of head and afterbody, and meanwhile, water conservancy diversion through hole 9 can be set to flex point, as shown in Figure 6.
Obviously, above-described embodiment is only for example is clearly described, and the not restriction to mode of execution.For those of ordinary skill in the field, can also make other changes in different forms on the basis of the above description.Here exhaustive without also giving all mode of executions, and the apparent variation of being extended out thus or variation are still among protection scope of the present invention.

Claims (6)

1. a flow restriction shutoff valve, is characterized in that, comprises when a water inlet water flow is greater than predefined value, and can automatically block the flow stop valve of current, described flow stop valve comprises
Valve body (2), forms cavity on described valve body, and described cavity comprises water intake (7) and water outlet, and the water outlet (8) of described cavity is provided with sealing seat;
Piston (3), described piston (3) can axially come and go and be arranged on movably in described cavity, and between the water intake in described cavity (7) and described water outlet (8), the respective external wall of described piston (3), between the inwall of described cavity and described sealing seat, coordinate and form an intermediate cavity (13), on described piston (3), form the water conservancy diversion through hole (9) of default flow area, described intermediate cavity (13) is communicated with described water intake (7) by described water conservancy diversion through hole (9), one end towards described sealing seat of described piston (3) is provided with Sealing (4), when the flow of described water intake (7) is less than predefined value, described Sealing (4) is separation with described sealing seat, described intermediate cavity (13) communicates with described water outlet by the gap forming between described Sealing (4) and described sealing seat, when the flow of described water intake (7) is greater than predefined value, described piston (3) moves towards described sealing seat direction under the promotion of hydraulic coupling, until the described Sealing (4) on described piston contacts sealing with described sealing seat, blocks current,
Biasing member, described biasing member is arranged on described piston (3) near between one end and described sealing seat of described cavity water intake (7);
Also comprise a block valve, the water outlet (12) of described block valve is communicated with the water intake (7) of described flow stop valve, when described block valve is closed, the reposition force sum of ambient pressure and described biasing member is greater than the hydraulic coupling between described block valve water outlet (12) and described flow stop valve water intake (7), realize the reset of described piston (3), on the surface that described Sealing contacts with described sealing seat, two have at least one to be provided with projection or recessed pattern or decorative pattern.
2. flow restriction shutoff valve according to claim 1, it is characterized in that, the water outlet (8) of described flow stop valve locates to be provided with the adapter component (6) of a hollow, one end that described sealing seat inserts described water outlet (8) by described adapter component (6) forms, and described flow stop valve is connected with extraneous pipeline by described adapter component (6).
3. flow restriction shutoff valve according to claim 2, it is characterized in that, described piston (3) comprises head and the less afterbody of diameter that diameter is larger, and described head is applicable to sliding along described cavity inwall, and described water conservancy diversion through hole (9) is molded over the head of described piston; Described Sealing (4) is arranged on described afterbody.
4. flow restriction shutoff valve according to claim 3, is characterized in that, is also provided with one end and stretches into the guide rod (10) in described adapter component (6) on the end face of the described afterbody of described piston (3).
5. flow restriction shutoff valve according to claim 4, it is characterized in that, described adapter component (6) inserts and on one end end face in described cavity, also forms annular groove (11), described biasing member is that one end is set in described piston (3) afterbody, and the other end is arranged on the spring (5) in described groove (11).
6. flow restriction shutoff valve according to claim 1, is characterized in that, described block valve is ball valve (1).
CN201210199191.XA 2012-06-14 2012-06-14 Flow limiting shutoff valve Active CN102777648B (en)

Priority Applications (1)

Application Number Priority Date Filing Date Title
CN201210199191.XA CN102777648B (en) 2012-06-14 2012-06-14 Flow limiting shutoff valve

Applications Claiming Priority (1)

Application Number Priority Date Filing Date Title
CN201210199191.XA CN102777648B (en) 2012-06-14 2012-06-14 Flow limiting shutoff valve

Publications (2)

Publication Number Publication Date
CN102777648A CN102777648A (en) 2012-11-14
CN102777648B true CN102777648B (en) 2014-04-16

Family

ID=47122679

Family Applications (1)

Application Number Title Priority Date Filing Date
CN201210199191.XA Active CN102777648B (en) 2012-06-14 2012-06-14 Flow limiting shutoff valve

Country Status (1)

Country Link
CN (1) CN102777648B (en)

Families Citing this family (3)

* Cited by examiner, † Cited by third party
Publication number Priority date Publication date Assignee Title
CN103322256B (en) * 2013-06-28 2016-06-29 珠海爱迪生智能家居股份有限公司 A kind of stabilization flow restriction shutoff valve
CN103511696B (en) * 2013-09-23 2016-07-13 北京航天动力研究所 A kind of excess flow valve that can realize automatically reseting with zero leakage
CN112228600B (en) * 2020-11-10 2024-06-21 瑞立集团瑞安汽车零部件有限公司 Fluid low pressure release device

Citations (8)

* Cited by examiner, † Cited by third party
Publication number Priority date Publication date Assignee Title
US5076321A (en) * 1991-01-07 1991-12-31 Terry Paul E Flow sensitive fluid shutoff safety device
CN1131248A (en) * 1994-08-24 1996-09-18 纽普罗公司 Excess flow valve
CN2833289Y (en) * 2005-07-02 2006-11-01 吴正平 Explosion-proof safety valve for pipeline
CN2926694Y (en) * 2006-08-10 2007-07-25 佛山安德里茨技术有限公司 Sealer for pressure container material transferring gate
CN101225898A (en) * 2007-01-18 2008-07-23 闫守儒 Leakage-proof valve
CN202048217U (en) * 2011-05-05 2011-11-23 珠海爱迪生节能科技有限公司 Water release valve
CN202118319U (en) * 2011-06-28 2012-01-18 寇国 Air valve type valve core of safety valve
CN202708245U (en) * 2012-06-14 2013-01-30 珠海爱迪生节能科技有限公司 Flow limit shutoff valve

Family Cites Families (2)

* Cited by examiner, † Cited by third party
Publication number Priority date Publication date Assignee Title
JP2739150B2 (en) * 1994-08-19 1998-04-08 エヌテーシー工業株式会社 Telescopic stopcock
US7111638B2 (en) * 2003-05-06 2006-09-26 Safety Flow Company, Llc Excess flow shutoff

Patent Citations (8)

* Cited by examiner, † Cited by third party
Publication number Priority date Publication date Assignee Title
US5076321A (en) * 1991-01-07 1991-12-31 Terry Paul E Flow sensitive fluid shutoff safety device
CN1131248A (en) * 1994-08-24 1996-09-18 纽普罗公司 Excess flow valve
CN2833289Y (en) * 2005-07-02 2006-11-01 吴正平 Explosion-proof safety valve for pipeline
CN2926694Y (en) * 2006-08-10 2007-07-25 佛山安德里茨技术有限公司 Sealer for pressure container material transferring gate
CN101225898A (en) * 2007-01-18 2008-07-23 闫守儒 Leakage-proof valve
CN202048217U (en) * 2011-05-05 2011-11-23 珠海爱迪生节能科技有限公司 Water release valve
CN202118319U (en) * 2011-06-28 2012-01-18 寇国 Air valve type valve core of safety valve
CN202708245U (en) * 2012-06-14 2013-01-30 珠海爱迪生节能科技有限公司 Flow limit shutoff valve

Non-Patent Citations (1)

* Cited by examiner, † Cited by third party
Title
JP特开平8-60713A 1996.03.05

Also Published As

Publication number Publication date
CN102777648A (en) 2012-11-14

Similar Documents

Publication Publication Date Title
CN103322256B (en) A kind of stabilization flow restriction shutoff valve
US9097352B2 (en) Relief valve for overload protection
US9081390B2 (en) Back pressure valve
CN104265716B (en) A kind of super-pressure pilot operated compound relief valve
CN102777648B (en) Flow limiting shutoff valve
CN103542647B (en) A kind of Bidirectional throttling electronic expansion valve
MX2008008586A (en) Control valve with integrated insert providing valve seat and plug guides.
CN103291983A (en) Safety valve and hydraulic support with same
CN202708245U (en) Flow limit shutoff valve
CN204739263U (en) A New Type of Washing Machine Faucet
CN203131130U (en) Check valve
CN102587093A (en) Hydraulic buffering device and washing machine having the same
CN203309243U (en) Valve excessive pressure prevention device
CN105597969B (en) A kind of water channel switching structure of shower and the water channel switching structure of top spray
CN105805365A (en) Pressure reduction type backflow preventing device
CN205436109U (en) Water route of gondola water faucet is switched structure and is switched structure with water route that spout on top
CN109330438B (en) Water diversion shower system
CN107314141B (en) Straight-through valve and method for controlling water pressure by same
CN102966775A (en) Direct-current piston type emergency shutoff valve and application thereof
CN205840852U (en) Constant current open flow reducer after a kind of well fracturing
CN204300440U (en) Super-pressure hydraulic control check valve
CN204985868U (en) Small -bore high -pressure axial -flow type check valve
CN203515637U (en) Pilot-operated check valve for hydraulic support
CN204025760U (en) Anti-scald water tap
CN209688180U (en) A kind of discharging device that automatic water stopping is non-return, shower faucet and water supply elbow

Legal Events

Date Code Title Description
C06 Publication
PB01 Publication
C10 Entry into substantive examination
SE01 Entry into force of request for substantive examination
C14 Grant of patent or utility model
GR01 Patent grant
C56 Change in the name or address of the patentee
CP01 Change in the name or title of a patent holder

Address after: 519170, Guangdong, Doumen District, Zhuhai Province dry town Toyama Industrial Zone, seagull bathroom Branch East of the workshop

Patentee after: Zhuhai Edison Ecotech Corp.

Address before: 519170, Guangdong, Doumen District, Zhuhai Province dry town Toyama Industrial Zone, seagull bathroom Branch East of the workshop

Patentee before: ZHUHAI EDISON ECOTECH CORPORATION Co.,Ltd.

CP03 Change of name, title or address
CP03 Change of name, title or address

Address after: 519170 east of the workshop of Haiou sanitary ware branch, Fushan Industrial Zone, Qianwu Town, Doumen District, Zhuhai City, Guangdong Province

Patentee after: Zhuhai Edison Energy saving Technology Co.,Ltd.

Country or region after: China

Address before: 519170 east of the workshop of Haiou sanitary ware branch, Fushan Industrial Zone, Qianwu Town, Doumen District, Zhuhai City, Guangdong Province

Patentee before: Zhuhai Edison Ecotech Corp.

Country or region before: China