CN102276067A - 太阳能驱动微动力人工湿地污水处理装置 - Google Patents
太阳能驱动微动力人工湿地污水处理装置 Download PDFInfo
- Publication number
- CN102276067A CN102276067A CN201110226970XA CN201110226970A CN102276067A CN 102276067 A CN102276067 A CN 102276067A CN 201110226970X A CN201110226970X A CN 201110226970XA CN 201110226970 A CN201110226970 A CN 201110226970A CN 102276067 A CN102276067 A CN 102276067A
- Authority
- CN
- China
- Prior art keywords
- power
- solar energy
- sewage
- solar
- aeration tube
- Prior art date
- Legal status (The legal status is an assumption and is not a legal conclusion. Google has not performed a legal analysis and makes no representation as to the accuracy of the status listed.)
- Pending
Links
- 239000010865 sewage Substances 0.000 title claims abstract description 38
- 241000196324 Embryophyta Species 0.000 claims abstract description 35
- 238000005273 aeration Methods 0.000 claims abstract description 28
- XLYOFNOQVPJJNP-UHFFFAOYSA-N water Substances O XLYOFNOQVPJJNP-UHFFFAOYSA-N 0.000 claims abstract description 22
- QVGXLLKOCUKJST-UHFFFAOYSA-N atomic oxygen Chemical compound [O] QVGXLLKOCUKJST-UHFFFAOYSA-N 0.000 claims abstract description 20
- 229910052760 oxygen Inorganic materials 0.000 claims abstract description 20
- 239000001301 oxygen Substances 0.000 claims abstract description 20
- 238000005276 aerator Methods 0.000 claims abstract description 15
- 244000005700 microbiome Species 0.000 claims abstract description 10
- 239000004575 stone Substances 0.000 claims abstract description 4
- 238000000034 method Methods 0.000 claims description 8
- 239000002689 soil Substances 0.000 claims description 8
- 238000012856 packing Methods 0.000 claims description 7
- 239000010802 sludge Substances 0.000 claims description 5
- 230000000694 effects Effects 0.000 claims description 4
- 239000002253 acid Substances 0.000 claims description 3
- 230000008569 process Effects 0.000 claims description 3
- 230000007812 deficiency Effects 0.000 claims description 2
- 230000037361 pathway Effects 0.000 claims description 2
- 238000006243 chemical reaction Methods 0.000 claims 1
- 238000000746 purification Methods 0.000 claims 1
- 239000002699 waste material Substances 0.000 claims 1
- 239000005416 organic matter Substances 0.000 abstract description 4
- 244000046052 Phaseolus vulgaris Species 0.000 abstract description 3
- 235000010627 Phaseolus vulgaris Nutrition 0.000 abstract description 3
- 230000009286 beneficial effect Effects 0.000 abstract description 2
- 238000010248 power generation Methods 0.000 abstract description 2
- 238000000354 decomposition reaction Methods 0.000 abstract 1
- IJGRMHOSHXDMSA-UHFFFAOYSA-N Atomic nitrogen Chemical compound N#N IJGRMHOSHXDMSA-UHFFFAOYSA-N 0.000 description 8
- OAICVXFJPJFONN-UHFFFAOYSA-N Phosphorus Chemical compound [P] OAICVXFJPJFONN-UHFFFAOYSA-N 0.000 description 8
- 229910052698 phosphorus Inorganic materials 0.000 description 8
- 239000011574 phosphorus Substances 0.000 description 8
- 238000005516 engineering process Methods 0.000 description 6
- 229910052757 nitrogen Inorganic materials 0.000 description 4
- 239000000126 substance Substances 0.000 description 3
- 238000005202 decontamination Methods 0.000 description 2
- 230000003588 decontaminative effect Effects 0.000 description 2
- 230000007423 decrease Effects 0.000 description 2
- 239000000945 filler Substances 0.000 description 2
- 230000006872 improvement Effects 0.000 description 2
- 230000014759 maintenance of location Effects 0.000 description 2
- 244000205574 Acorus calamus Species 0.000 description 1
- 241000179442 Anacharis Species 0.000 description 1
- 241000195967 Anthoceros Species 0.000 description 1
- 244000021789 Aponogeton distachyus Species 0.000 description 1
- 235000003279 Aponogeton distachyus Nutrition 0.000 description 1
- 235000011996 Calamus deerratus Nutrition 0.000 description 1
- OYPRJOBELJOOCE-UHFFFAOYSA-N Calcium Chemical compound [Ca] OYPRJOBELJOOCE-UHFFFAOYSA-N 0.000 description 1
- 241000195493 Cryptophyta Species 0.000 description 1
- 240000003826 Eichhornia crassipes Species 0.000 description 1
- 241000731961 Juncaceae Species 0.000 description 1
- 244000207740 Lemna minor Species 0.000 description 1
- 235000006439 Lemna minor Nutrition 0.000 description 1
- 235000016791 Nymphaea odorata subsp odorata Nutrition 0.000 description 1
- 241000209477 Nymphaeaceae Species 0.000 description 1
- 235000014676 Phragmites communis Nutrition 0.000 description 1
- 244000273256 Phragmites communis Species 0.000 description 1
- 235000001855 Portulaca oleracea Nutrition 0.000 description 1
- 240000001398 Typha domingensis Species 0.000 description 1
- 241000746966 Zizania Species 0.000 description 1
- 235000002636 Zizania aquatica Nutrition 0.000 description 1
- XKMRRTOUMJRJIA-UHFFFAOYSA-N ammonia nh3 Chemical compound N.N XKMRRTOUMJRJIA-UHFFFAOYSA-N 0.000 description 1
- 230000031018 biological processes and functions Effects 0.000 description 1
- 239000011575 calcium Substances 0.000 description 1
- 229910052791 calcium Inorganic materials 0.000 description 1
- 230000015556 catabolic process Effects 0.000 description 1
- 238000010276 construction Methods 0.000 description 1
- 238000006731 degradation reaction Methods 0.000 description 1
- 238000010586 diagram Methods 0.000 description 1
- 239000003651 drinking water Substances 0.000 description 1
- 235000020188 drinking water Nutrition 0.000 description 1
- 239000003344 environmental pollutant Substances 0.000 description 1
- 238000012851 eutrophication Methods 0.000 description 1
- 238000007667 floating Methods 0.000 description 1
- 238000006864 oxidative decomposition reaction Methods 0.000 description 1
- 239000002245 particle Substances 0.000 description 1
- 230000035699 permeability Effects 0.000 description 1
- 239000002957 persistent organic pollutant Substances 0.000 description 1
- 231100000719 pollutant Toxicity 0.000 description 1
Images
Classifications
-
- Y—GENERAL TAGGING OF NEW TECHNOLOGICAL DEVELOPMENTS; GENERAL TAGGING OF CROSS-SECTIONAL TECHNOLOGIES SPANNING OVER SEVERAL SECTIONS OF THE IPC; TECHNICAL SUBJECTS COVERED BY FORMER USPC CROSS-REFERENCE ART COLLECTIONS [XRACs] AND DIGESTS
- Y02—TECHNOLOGIES OR APPLICATIONS FOR MITIGATION OR ADAPTATION AGAINST CLIMATE CHANGE
- Y02W—CLIMATE CHANGE MITIGATION TECHNOLOGIES RELATED TO WASTEWATER TREATMENT OR WASTE MANAGEMENT
- Y02W10/00—Technologies for wastewater treatment
- Y02W10/10—Biological treatment of water, waste water, or sewage
-
- Y—GENERAL TAGGING OF NEW TECHNOLOGICAL DEVELOPMENTS; GENERAL TAGGING OF CROSS-SECTIONAL TECHNOLOGIES SPANNING OVER SEVERAL SECTIONS OF THE IPC; TECHNICAL SUBJECTS COVERED BY FORMER USPC CROSS-REFERENCE ART COLLECTIONS [XRACs] AND DIGESTS
- Y02—TECHNOLOGIES OR APPLICATIONS FOR MITIGATION OR ADAPTATION AGAINST CLIMATE CHANGE
- Y02W—CLIMATE CHANGE MITIGATION TECHNOLOGIES RELATED TO WASTEWATER TREATMENT OR WASTE MANAGEMENT
- Y02W10/00—Technologies for wastewater treatment
- Y02W10/30—Wastewater or sewage treatment systems using renewable energies
- Y02W10/37—Wastewater or sewage treatment systems using renewable energies using solar energy
Landscapes
- Biological Treatment Of Waste Water (AREA)
- Aeration Devices For Treatment Of Activated Polluted Sludge (AREA)
- Purification Treatments By Anaerobic Or Anaerobic And Aerobic Bacteria Or Animals (AREA)
Abstract
本发明公开了一种太阳能驱动微动力人工湿地污水处理装置。它包括进水口、填料区、曝气管、植物区、出水口、曝气机、蓄电池、太阳能电板,装置本体上部中间一侧壁上设置进水口,装置本体上部中间另一侧壁上设置出水口,装置本体内从下到上顺次设有曝气管、填料区、植物区,曝气管、曝气机、蓄电池、太阳能电板顺次相连,填料区由表面土层、中层砾石、下层小豆石三层组成。本发明具有的有益效果在于:①通过曝气使得装置内获得足够的溶解氧,加强池内有机物与微生物及溶解氧接触,从而保证池内微生物在有充足溶解氧的条件下,对污水中有机物的氧化分解作用。②通过太阳能发电与曝气管结合,使太阳能成为污水搅拌系统的最初能量来源,减小运行成本。
Description
技术领域
本发明涉及水处理技术,尤其涉及一种太阳能驱动微动力人工湿地污水处理装置。
背景技术
农村生活污水是量大面广的一类污水,随着农村建设的不断完善和人民生活水平的提高,农村生活污水排放量呈逐年增长趋势,使得农村面源污染日益加重,呈现出污染从城市向农村转移的态势。另外农村污水成分日趋复杂,未经处理的农村生活污水不仅是饮用水水源地的潜在威胁,同时也是江河湖泊富营养化的重要原因。
目前,农村分散式生活污水处理的方法中,主要以无动力厌氧生物处理、土地处理、人工湿地等工艺为主。人工湿地工艺由于其基建运行费用低、操作简便、抗冲击负荷性能好等优点已被广泛应用于污水处理中。
随着人们对人工湿地系统处理技术应用的普及以及对好氧生物过程认识的深入,人工湿地系统也得到了很好的发展。但研究表明,溶解氧供给不足是导致潜流湿地氮去除率较低的主要原因;潜流湿地磷去除率也受溶解氧影响,当湿地内部溶解氧浓度下降时,Fe3+被还原为Fe2+,其结合的磷以PO4 3-的形式释放,导致湿地磷去除效率下降。除化学除磷外,潜流湿地内部生物除磷也需要良好的好养—厌氧交替环境,改善溶解氧供给对提高湿地氮磷去除性能意义重大。
湿地植物可通过根系释放部分溶解氧,但由于释放量较小,难以满足有机污染物降解、氨氮硝化等过程对溶解氧的需求,因此有必要采取措施提高潜流湿地溶解氧供给水平。
针对湿地植物根系释放溶解氧的不足,本发明拟开发太阳能驱动微动力人工湿地污水处理技术。该系统以人工湿地作为核心处理单元对氮磷进行深度处理,曝气由蓄电池提供能量,蓄电池与太阳能电板连接,使人工湿地出水水质稳定达标排放。这种新型的农村生活污水处理技术,利用太阳能为能量进行微动力曝气,有效地去除污水中氮磷等污染物。试验证明,据此开发的新技术对农村生活污水具有良好的处理效果。
发明内容
本发明的目的在于克服现有的不足,提供一种经济、实用、处理效果好的太阳能驱动微动力人工湿地污水处理装置。
太阳能驱动微动力人工湿地污水处理装置包括进水口、填料区、曝气管、植物区、出水口、曝气机、蓄电池、太阳能电板,装置本体上部中间一侧壁上设置进水口,装置本体上部中间另一侧壁上设置出水口,装置本体内从下到上顺次设有曝气管、填料区、植物区,曝气管、曝气机、蓄电池、太阳能电板顺次相连,填料区由表面土层、中层砾石、下层小豆石三层组成。
所述的曝气管的长度为20m~50m。所述的装置本体的长宽比为2.5:1~4:1。所述的植物为水上植物、水底植物、浮游植物或大型挺水植物。所述的太阳能电板为太阳能光伏板。所述的蓄电池为太阳能专用铅酸蓄电池。
太阳能驱动微动力人工湿地的污水处理方法是:待处理污水从进水口流入人工湿地装置本体,再由表面纵向流至床底,在纵向流的过程中污水依次经过植物区和由表面土层、中层砾石、下层小砾石组成的填料区,污水通过微生物、植物根系的物理、化学和生物的共同途径完场系统的净化,然后从出水口流出;填料区有助于好氧污泥的持留,这样污水能够与好氧污泥充分接触,从而保证了好的去污效果,太阳能电板吸收太阳能转化为电能储存在蓄电池中,蓄电池连接曝气机,曝气机通过曝气管为微生物提供氧气,克服了湿地植物根系释放氧的不足,太阳能曝气系统还有效的节省了能源,污水在装置本体内停留时间为2d~4d。
本发明与现有技术相比具有的有益效果在于:①通过曝气使得装置内获得足够的溶解氧,加强池内有机物与微生物及溶解氧接触,从而保证池内微生物在有充足溶解氧的条件下,对污水中有机物的氧化分解作用。②通过太阳能发电与曝气管结合,使太阳能成为污水搅拌系统的最初能量来源,减小运行成本。
附图说明
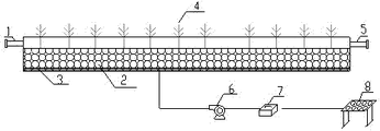
图1为太阳能驱动微动力人工湿地处理装置的剖面结构示意图;
图中:进水口1、填料区2、曝气管3、植物区4、出水口5、曝气机6、太阳能电板7、蓄电池8。
具体实施方式
如图1所示,太阳能驱动微动力人工湿地污水处理装置包括进水口1、填料区2、曝气管3、植物区4、出水口5、曝气机6、蓄电池7、太阳能电板8,装置本体上部中间一侧壁上设置进水口1,装置本体上部中间另一侧壁上设置出水口5,装置本体内从下到上顺次设有曝气管3、填料区2、植物区4,曝气管3、曝气机6、蓄电池7、太阳能电板8顺次相连,填料区2由表面土层、中层砾石、下层小豆石三层组成。表面土钙含量在2.0~2.5kg/100kg;砾石层粒径在5~50mm,铺设厚度为0.4~0.7m。人工湿地种植土壤的质地为粘土~壤土,土壤厚度为20~40cm,渗透系数为0.025cm/h~0.35cm/h。
所述的植物4为水上植物、水底植物、浮游植物或大型挺水植物。可选择的挺水植物为:芦苇、茭白、水葱、菖蒲、香蒲、灯芯草等,浮水植物为:凤眼莲、浮萍、睡莲等。沉水植物为:伊乐草、金鱼藻、黑藻等。装置本体中水面浸没植物根系的深度应均匀。所述植物的种植密度宜为9株/m2~25株/m2。
所述的曝气管3的长度为20m~50m。所述的装置本体的长宽比为2.5:1~4:1。所述的太阳能电板8为太阳能光伏板。所述的蓄电池7为太阳能专用铅酸蓄电池。
太阳能驱动微动力人工湿地的污水处理方法是:待处理污水从进水口1入人工湿地装置本体,再由表面纵向流至床底,在纵向流的过程中污水依次经过由表面土层、中层砾石、下层小砾石组成的填料区2和植物区4,污水通过微生物、植物根系的物理、化学和生物的共同途径完场系统的净化,然后从出水口5流出;填料区有助于好氧污泥的持留,这样污水能够与好氧污泥充分接触,从而保证了好的去污效果,太阳能电板8吸收太阳能转化为电能储存在蓄电池7中,蓄电池7连接曝气机6,曝气机6通过曝气管3为微生物提供氧气,克服了湿地植物根系释放氧的不足,太阳能曝气系统还有效的节省了能源,污水在装置本体内停留时间为2d~4d。
Claims (7)
1.一种太阳能驱动微动力人工湿地污水处理装置,其特征在于包括进水口(1)、填料区(2)、曝气管(3)、植物区(4)、出水口(5)、曝气机(6)、蓄电池(7)、太阳能电板(8),装置本体上部中间一侧壁上设置进水口(1),装置本体上部中间另一侧壁上设置出水口(5),装置本体内从下到上顺次设有曝气管(3)、填料区(2)、植物区(4),曝气管(3)、曝气机(6)、蓄电池(7)、太阳能电板(8)顺次相连,填料区(2)由表面土层、中层砾石、下层小豆石三层组成。
2.根据权利要求1所述的一种太阳能驱动微动力人工湿地处理装置,其特征在于所述的曝气管(3)的长度为20m~50m。
3.根据权利要求1所述的一种太阳能驱动微动力人工湿地处理装置,其特征在于所述的装置本体的长宽比为2.5:1~4:1。
4.根据权利要求1所述的一种太阳能驱动微动力人工湿地处理装置,其特征在于所述的植物(4)为水上植物、水底植物、浮游植物或大型挺水植物。
5.根据权利要求1所述的一种太阳能驱动微动力人工湿地处理装置,其特征在于所述的太阳能电板(8)为太阳能光伏板。
6.根据权利要求1所述的太阳能驱动微动力人工湿地处理装置,其特征在于所述的蓄电池(7)为太阳能专用铅酸蓄电池。
7.一种使用如权利要求1所述装置的太阳能驱动微动力人工湿地的污水处理方法,其特征在于:待处理污水从进水口(1)流入人工湿地装置本体,再由表面纵向流至床底,在纵向流的过程中污水依次经过植物区(4)和由表面土层、中层砾石、下层小砾石组成的填料区(2),污水通过微生物、植物根系的物理、化学和生物的共同途径完场系统的净化,然后从出水口(5)流出;填料区有助于好氧污泥的持留,这样污水能够与好氧污泥充分接触,从而保证了好的去污效果,太阳能电板(8)吸收太阳能转化为电能储存在蓄电池(7)中,蓄电池(7)连接曝气机(6),曝气机(6)通过曝气管(3)为微生物提供氧气,克服了湿地植物根系释放氧的不足,太阳能曝气系统还有效的节省了能源,污水在装置本体内停留时间为2d~4d。
Priority Applications (1)
| Application Number | Priority Date | Filing Date | Title |
|---|---|---|---|
| CN201110226970XA CN102276067A (zh) | 2011-08-09 | 2011-08-09 | 太阳能驱动微动力人工湿地污水处理装置 |
Applications Claiming Priority (1)
| Application Number | Priority Date | Filing Date | Title |
|---|---|---|---|
| CN201110226970XA CN102276067A (zh) | 2011-08-09 | 2011-08-09 | 太阳能驱动微动力人工湿地污水处理装置 |
Publications (1)
| Publication Number | Publication Date |
|---|---|
| CN102276067A true CN102276067A (zh) | 2011-12-14 |
Family
ID=45101867
Family Applications (1)
| Application Number | Title | Priority Date | Filing Date |
|---|---|---|---|
| CN201110226970XA Pending CN102276067A (zh) | 2011-08-09 | 2011-08-09 | 太阳能驱动微动力人工湿地污水处理装置 |
Country Status (1)
| Country | Link |
|---|---|
| CN (1) | CN102276067A (zh) |
Cited By (9)
| Publication number | Priority date | Publication date | Assignee | Title |
|---|---|---|---|---|
| CN103214143A (zh) * | 2013-03-21 | 2013-07-24 | 杭州天凯生物科技有限公司 | 一种城市污染河道水体高效组合式修复技术 |
| CN103755030A (zh) * | 2013-12-18 | 2014-04-30 | 荣诚环境工程集团有限公司 | 一种光能三相生态一体化设备 |
| CN104326573A (zh) * | 2014-11-17 | 2015-02-04 | 哈尔滨工业大学 | 一种应用于寒冷地区小城镇的太阳能潜层间歇曝气人工湿地系统 |
| CN104386840A (zh) * | 2013-12-30 | 2015-03-04 | 中国水利水电科学研究院 | 修复受污染水体的太阳能曝气系统及修复该水体的方法 |
| CN104478156A (zh) * | 2014-09-30 | 2015-04-01 | 四川省环境保护科学研究院 | 农村污染物综合处理系统 |
| CN108558124A (zh) * | 2018-02-11 | 2018-09-21 | 浙江省环境保护科学设计研究院 | 一种基于太阳能动力的智控型抗堵塞人工湿地雨污强化处理系统及方法 |
| CN108658366A (zh) * | 2018-03-22 | 2018-10-16 | 上海交通大学 | 基于强化生态净化的饮用水原水调蓄库 |
| CN109368796A (zh) * | 2018-10-22 | 2019-02-22 | 中建水务环保有限公司 | 一种用于河道水质治理的生态景观护岸 |
| CN111410321A (zh) * | 2019-01-08 | 2020-07-14 | 兰州理工大学 | 一种模块化黄土基改性填料景观塘水净化系统 |
Citations (3)
| Publication number | Priority date | Publication date | Assignee | Title |
|---|---|---|---|---|
| CN101538106A (zh) * | 2009-04-30 | 2009-09-23 | 浙江工商大学 | 无耗能污水处理装置 |
| CN201634541U (zh) * | 2009-09-25 | 2010-11-17 | 云南省环境科学研究院 | 一种太阳能及风能供能的村落生活污水生物处理设备 |
| CN201722258U (zh) * | 2010-07-02 | 2011-01-26 | 北京特兰斯福生态环境科技发展有限公司 | 太阳能型人工湿地污水处理系统 |
-
2011
- 2011-08-09 CN CN201110226970XA patent/CN102276067A/zh active Pending
Patent Citations (3)
| Publication number | Priority date | Publication date | Assignee | Title |
|---|---|---|---|---|
| CN101538106A (zh) * | 2009-04-30 | 2009-09-23 | 浙江工商大学 | 无耗能污水处理装置 |
| CN201634541U (zh) * | 2009-09-25 | 2010-11-17 | 云南省环境科学研究院 | 一种太阳能及风能供能的村落生活污水生物处理设备 |
| CN201722258U (zh) * | 2010-07-02 | 2011-01-26 | 北京特兰斯福生态环境科技发展有限公司 | 太阳能型人工湿地污水处理系统 |
Cited By (17)
| Publication number | Priority date | Publication date | Assignee | Title |
|---|---|---|---|---|
| CN103214143A (zh) * | 2013-03-21 | 2013-07-24 | 杭州天凯生物科技有限公司 | 一种城市污染河道水体高效组合式修复技术 |
| CN103755030A (zh) * | 2013-12-18 | 2014-04-30 | 荣诚环境工程集团有限公司 | 一种光能三相生态一体化设备 |
| CN103755030B (zh) * | 2013-12-18 | 2015-05-20 | 荣诚环境工程集团有限公司 | 一种光能三相生态一体化设备 |
| CN104386840B (zh) * | 2013-12-30 | 2016-08-17 | 中国水利水电科学研究院 | 修复受污染水体的太阳能曝气系统及修复该水体的方法 |
| CN104386840A (zh) * | 2013-12-30 | 2015-03-04 | 中国水利水电科学研究院 | 修复受污染水体的太阳能曝气系统及修复该水体的方法 |
| CN104478156A (zh) * | 2014-09-30 | 2015-04-01 | 四川省环境保护科学研究院 | 农村污染物综合处理系统 |
| CN104478156B (zh) * | 2014-09-30 | 2016-04-13 | 四川省环境保护科学研究院 | 农村污染物综合处理系统 |
| CN104326573B (zh) * | 2014-11-17 | 2017-03-01 | 哈尔滨工业大学 | 一种应用于寒冷地区小城镇的太阳能潜层间歇曝气人工湿地系统 |
| CN104326573A (zh) * | 2014-11-17 | 2015-02-04 | 哈尔滨工业大学 | 一种应用于寒冷地区小城镇的太阳能潜层间歇曝气人工湿地系统 |
| CN108558124A (zh) * | 2018-02-11 | 2018-09-21 | 浙江省环境保护科学设计研究院 | 一种基于太阳能动力的智控型抗堵塞人工湿地雨污强化处理系统及方法 |
| CN108558124B (zh) * | 2018-02-11 | 2023-08-18 | 浙江省环境保护科学设计研究院 | 一种基于太阳能动力的智控型抗堵塞人工湿地雨污强化处理系统及方法 |
| CN108658366A (zh) * | 2018-03-22 | 2018-10-16 | 上海交通大学 | 基于强化生态净化的饮用水原水调蓄库 |
| CN108658366B (zh) * | 2018-03-22 | 2021-10-26 | 上海交通大学 | 基于强化生态净化的饮用水原水调蓄库 |
| CN109368796A (zh) * | 2018-10-22 | 2019-02-22 | 中建水务环保有限公司 | 一种用于河道水质治理的生态景观护岸 |
| CN109368796B (zh) * | 2018-10-22 | 2024-03-15 | 中建生态环境集团有限公司 | 一种用于河道水质治理的生态景观护岸 |
| CN111410321A (zh) * | 2019-01-08 | 2020-07-14 | 兰州理工大学 | 一种模块化黄土基改性填料景观塘水净化系统 |
| CN111410321B (zh) * | 2019-01-08 | 2025-03-21 | 喀什大学 | 一种模块化黄土基改性填料景观塘水净化系统 |
Similar Documents
| Publication | Publication Date | Title |
|---|---|---|
| CN102276067A (zh) | 太阳能驱动微动力人工湿地污水处理装置 | |
| CN204125300U (zh) | 一种用于处理分散型生活污水的净化槽 | |
| CN201873573U (zh) | 微纳米气浮垂直潜流式人工湿地污水处理装置 | |
| CN101475284B (zh) | 一种生活污水处理工艺及设备 | |
| CN103058383B (zh) | 一种用于受污染河湖原位修复的多功能模块化浮岛 | |
| CN102603111A (zh) | 一种适于小城镇生活污水、废水处理的快速启动型无动力生物强化人工湿地系统 | |
| CN105645675A (zh) | 一种城市黑臭河湖水体水质高效净化技术 | |
| CN106986501B (zh) | 一种电动渗透反应墙和人工湿地耦合处理污水的方法及装置 | |
| CN103819005A (zh) | 一种由生态袋构筑的人工湿地处理系统 | |
| CN101792231A (zh) | 复合人工湿地污水处理方法 | |
| CN101633545B (zh) | 一体化生物生态协同污水处理方法及反应器 | |
| CN101597126B (zh) | 一种适合山地小城镇的污水处理方法 | |
| CN103183445A (zh) | 一种适用于农村生活污水深度处理的方法和系统 | |
| CN211644786U (zh) | 新农村生活污水生化湿地生态净化系统 | |
| CN105254127A (zh) | 自清式微曝气复合人工湿地污水处理系统及处理方法 | |
| CN202046969U (zh) | 一种生物接触氧化池与人工湿地组合污水处理系统 | |
| CN101830608B (zh) | 列车密闭式厕所集便器粪便污水一体化处理装置及其处理方法 | |
| CN203768188U (zh) | 风电互补一体化污水处理系统 | |
| CN105084555A (zh) | 一种以微生物法为主体的水体污染治理方法 | |
| CN104787884A (zh) | 利用净水厂废弃泥强化潮汐流反应器脱氮除磷的方法与系统 | |
| CN105129982B (zh) | 一种处理难降解有机废水的多级潮汐流湿地系统及方法 | |
| CN201458913U (zh) | 一种一体化生物生态协同污水处理反应器 | |
| CN201648119U (zh) | 复合人工湿地污水处理系统 | |
| CN103183456A (zh) | 一体式缺氧-好氧折流板反应器水处理设备 | |
| CN201908002U (zh) | 自然曝气垂直潜流式人工湿地污水处理装置 |
Legal Events
| Date | Code | Title | Description |
|---|---|---|---|
| C06 | Publication | ||
| PB01 | Publication | ||
| C10 | Entry into substantive examination | ||
| SE01 | Entry into force of request for substantive examination | ||
| C53 | Correction of patent for invention or patent application | ||
| CB03 | Change of inventor or designer information |
Inventor after: Wu Donglei Inventor after: Xu Qiang Inventor after: Tian Guangming Inventor before: Wu Donglei Inventor before: Xu Qiang Inventor before: Tian Guangming |
|
| C12 | Rejection of a patent application after its publication | ||
| RJ01 | Rejection of invention patent application after publication |
Application publication date: 20111214 |