CN102261513A - Inlet/exhaust valve for sewage containing lots of impurities and gases - Google Patents
Inlet/exhaust valve for sewage containing lots of impurities and gases Download PDFInfo
- Publication number
- CN102261513A CN102261513A CN201110191891XA CN201110191891A CN102261513A CN 102261513 A CN102261513 A CN 102261513A CN 201110191891X A CN201110191891X A CN 201110191891XA CN 201110191891 A CN201110191891 A CN 201110191891A CN 102261513 A CN102261513 A CN 102261513A
- Authority
- CN
- China
- Prior art keywords
- air outlet
- valve
- valve body
- sewage
- floating ball
- Prior art date
- Legal status (The legal status is an assumption and is not a legal conclusion. Google has not performed a legal analysis and makes no representation as to the accuracy of the status listed.)
- Granted
Links
- 239000010865 sewage Substances 0.000 title claims abstract description 24
- 239000012535 impurity Substances 0.000 title abstract description 7
- 239000007789 gas Substances 0.000 title 1
- 238000007789 sealing Methods 0.000 claims description 19
- XLYOFNOQVPJJNP-UHFFFAOYSA-N water Substances O XLYOFNOQVPJJNP-UHFFFAOYSA-N 0.000 claims description 10
- 229910001220 stainless steel Inorganic materials 0.000 claims description 3
- 239000010935 stainless steel Substances 0.000 claims description 3
- 230000007547 defect Effects 0.000 abstract description 2
- 239000007788 liquid Substances 0.000 abstract description 2
- 230000007774 longterm Effects 0.000 abstract description 2
- 230000005484 gravity Effects 0.000 description 4
- 238000010586 diagram Methods 0.000 description 3
- 230000009286 beneficial effect Effects 0.000 description 1
- 239000002131 composite material Substances 0.000 description 1
- 230000007812 deficiency Effects 0.000 description 1
- 238000000034 method Methods 0.000 description 1
- 230000000630 rising effect Effects 0.000 description 1
- 238000009423 ventilation Methods 0.000 description 1
Images
Landscapes
- Self-Closing Valves And Venting Or Aerating Valves (AREA)
Abstract
本发明涉及一种污水进排气阀,具体是一种用于杂质多、气量大污水的进排气阀,该排气阀加大通气孔的尺寸,有利于污水中大量气体的排出,同时能预防堵塞;通气孔处于浮球上的导杆的保护之中,不会接触到污水气体中容易结壳的气泡,减少堵塞,保证长时间运行;同时浮球位置处于正中间位置,减小了整体阀体的直径,采用的是圆形浮球可增大与液面的接触面积,亦能减少阀体的长度,该排气阀克服现有污水进排气阀所存在的杂质堵塞、以及由于出气口过小所导致的出气量小的缺陷。
The invention relates to a sewage intake and exhaust valve, in particular to an intake and exhaust valve for sewage with a lot of impurities and a large volume of gas. Prevent clogging; the vent hole is protected by the guide rod on the floating ball, and will not touch the air bubbles that are easy to crust in the sewage gas, reducing clogging and ensuring long-term operation; at the same time, the floating ball is in the middle position, reducing the The diameter of the overall valve body adopts a circular floating ball, which can increase the contact area with the liquid surface, and can also reduce the length of the valve body. The exhaust valve overcomes the impurity blockage and The defect of small air output due to too small air outlet.
Description
技术领域 technical field
本发明涉及一种污水进排气阀,具体地说是一种用于杂质多、气量大污水的进排气阀。 The invention relates to a sewage intake and exhaust valve, in particular to an intake and exhaust valve for sewage with many impurities and large air volume.
背景技术 Background technique
目前排气阀种类繁多,但污水排气阀相对较少。现有中通常采用的是污水复合式排气阀,例如常见的是如附图1所示的污水排气阀,阀体内含杠杆和浮球等部件,其中椭圆形浮球靠近阀体的一侧,杠杆位于浮球相对应侧,阀帽位于阀盖的一侧。当阀体注水时,浮球在重力作用下,下落到阀体的底部,大量压力气体从排气孔迅速排出。空气排出后,管内的水自阀体下部进入阀内,阀体内的浮球上浮,直到将活动杆顶到阀口处,而进排气阀自动关闭停止排气不泄水。管内水中溶解的空气进入阀内,阀内水面逐渐下降,而活动杆被气体托住不能自动下降。当阀体内水面降至浮球以下时,浮球借重力下落,阀口打开而大量出气。目前这类阀门所存在的缺点是结构复杂,受力件较多,体积庞大,出气口过小,导致杂质容易堵塞出气口。 At present, there are many kinds of exhaust valves, but there are relatively few sewage exhaust valves. Existing sewage composite exhaust valves are commonly used. For example, the sewage exhaust valve is commonly used as shown in Figure 1. The valve body contains levers and floating balls. side, the lever is on the opposite side of the float, and the bonnet is on one side of the bonnet. When the valve body is filled with water, the floating ball falls to the bottom of the valve body under the action of gravity, and a large amount of pressurized gas is quickly discharged from the vent hole. After the air is discharged, the water in the pipe enters the valve from the lower part of the valve body, and the floating ball in the valve body floats up until the movable rod is pushed to the valve port, and the intake and exhaust valves are automatically closed to stop exhaust and not to discharge water. The air dissolved in the water in the pipe enters the valve, and the water level in the valve drops gradually, but the movable rod is held by the gas and cannot automatically drop. When the water surface in the valve body drops below the floating ball, the floating ball will fall by gravity, and the valve port will open to release a large amount of air. At present, the disadvantages of this type of valve are that the structure is complex, there are many stressed parts, the volume is large, and the air outlet is too small, which makes it easy for impurities to block the air outlet.
发明内容 Contents of the invention
本发明针对现有的污水进排气阀所存在的结构复杂,受力件较多,体积庞大,出气口过小,导致杂质容易堵塞出气口等不足之处,提供一种能用于杂质多、气量大污水的进排气阀,从而克服现有污水进排气阀所存在的杂质堵塞、以及由于出气口过小所导致的出气量小的缺陷。 The present invention aims at the deficiencies of existing sewage inlet and exhaust valves, such as complex structure, many stressed parts, bulky size, too small gas outlet, which causes impurities to easily block the gas outlet, etc., and provides a valve that can be used for a , The intake and exhaust valves of sewage with large air volume, so as to overcome the defects of the existing sewage intake and exhaust valves that are blocked by impurities and the air output is small due to the small air outlet.
本发明解决其技术问题所采用的技术方案是:一种污水进排气阀,包括阀体、阀盖、浮球、移动密封杆、出气口、出气孔和挂架。所述阀盖固定安装在所述阀体上端,所述阀盖上设置有所述出气口;所述出气口上固定安装有阀帽,所述阀帽上设置有出气孔,所述出气口下端安装有环形密封垫,且所述出气口处安装有可上下移动的移动密封杆,所述密封杆中部固定安装有顶盘,在所述移动密封杆上所述顶盘的下方从上到下依次设置有通气孔,阀内气体可通过所述通气孔由所述出气孔排出;所述阀盖下端和所述顶盘下端都安装有环形密封垫;所述移动密封杆为中空管状,中下端设置在所述导杆内,且可在所述导杆内上下活动;所述导杆的另一端部固定安装有圆形不锈钢浮球,所述阀盖上设置有挂架,当所述导杆因所述浮球而上下移动时,可将所述导杆挂在所述挂架上。 The technical solution adopted by the present invention to solve the technical problem is: a sewage inlet and exhaust valve, including a valve body, a valve cover, a floating ball, a movable sealing rod, an air outlet, an air outlet and a hanger. The valve cover is fixedly mounted on the upper end of the valve body, the valve cover is provided with the air outlet; the valve cap is fixedly installed on the air outlet, the valve cap is provided with an air outlet, and the air outlet An annular gasket is installed at the lower end, and a movable sealing rod that can move up and down is installed at the air outlet. Vent holes are arranged on the bottom in turn, and the gas in the valve can be discharged from the vent hole through the vent holes; the lower end of the valve cover and the lower end of the top plate are equipped with annular gaskets; the movable sealing rod is hollow tubular, The middle and lower ends are set in the guide rod, and can move up and down in the guide rod; the other end of the guide rod is fixedly installed with a round stainless steel floating ball, and the valve cover is provided with a hanger. When the guide rod moves up and down due to the floating ball, the guide rod can be hung on the hanger.
本发明所涉及的阀门的工作原理为:当阀体注入污水时,移动密封杆和连接有浮球的导杆在重力作用下挂在挂架上,气体经过出气口迅速排出,当污水从进水口进入阀体后,阀体内浮球在浮力的作用下上浮,推动导杆向上运动,进而推动移动密封杆向上运动,直至顶盘堵住出气口,到此为止系统开始运行阶段的排气结束;在系统运行过程中,污水中会产生大量的气体气泡,慢慢收集到阀体内,在气体气泡压力作用下,阀体内污水逐渐减少,浮力减弱,浮球在重力的作用下就会下降,而移动密封杆和顶盘由于在阀体内的气体压力作用下,不会下降,当浮球下降到依次露出移动密封杆上的通气孔A、B时,气体会通过通气孔A、B从出气孔排出,气压下降,污水继续进入再上升,浮球上升再堵住出气口,如此反复循环,起到排气作用。 The working principle of the valve involved in the present invention is: when the valve body is injected with sewage, the moving sealing rod and the guide rod connected with the floating ball are hung on the hanger under the action of gravity, and the gas is quickly discharged through the air outlet. After the water port enters the valve body, the floating ball in the valve body floats up under the action of buoyancy, pushing the guide rod to move upward, and then pushing the moving sealing rod to move upward until the top plate blocks the air outlet, and the exhaust at the beginning of the system operation is over. ;During the operation of the system, a large number of gas bubbles will be generated in the sewage, which will be slowly collected into the valve body. Under the pressure of the gas bubbles, the sewage in the valve body will gradually decrease, the buoyancy will weaken, and the floating ball will drop under the action of gravity. However, the moving sealing rod and the top plate will not drop due to the gas pressure in the valve body. When the floating ball descends to expose the vent holes A and B on the moving sealing rod in turn, the gas will pass through the vent holes A and B from the outlet. The air hole is discharged, the air pressure drops, the sewage continues to enter and then rises, the floating ball rises and then blocks the air outlet, and this cycle is repeated to play the role of exhaust.
本发明所涉及的阀门的有益效果如下: The beneficial effects of the valve involved in the present invention are as follows:
1、加大通气孔的尺寸,有利于污水中大量气体的排出,同时能预防堵塞。 1. Enlarging the size of the air hole is conducive to the discharge of a large amount of gas in the sewage and can prevent blockage at the same time.
2 、通气孔处于浮球上的导杆的保护之中,不会接触到污水气体中容易结壳的气泡,减少堵塞,保证长时间运行。 2. The vent hole is protected by the guide rod on the floating ball, and will not touch the air bubbles that are easy to crust in the sewage gas, reducing blockage and ensuring long-term operation.
3、 由于浮球位置处于正中间位置,减小了整体阀体的直径,采用的是圆形浮球可增大与液面的接触面积,亦能减少阀体的长度。 3. Since the floating ball is in the middle position, the diameter of the overall valve body is reduced, and the use of a circular floating ball can increase the contact area with the liquid surface and reduce the length of the valve body.
4 、整个设计受力件只有三个,阀体、浮球、阀盖,其他的都不受太大的压力,增强了运行的可靠性。 4. There are only three force-bearing parts in the whole design, the valve body, floating ball, valve cover, and others are not subject to too much pressure, which enhances the reliability of operation.
5 、减少了零件的个数,密封圈3个其它件5个,减少开模个数,降低成本。 5. Reduce the number of parts, 3 sealing rings and 5 other parts, reducing the number of molds and reducing costs.
附图说明 Description of drawings
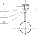
图1:现有技术中常用的污水进排气阀的剖面图。 Figure 1: A cross-sectional view of a sewage inlet and exhaust valve commonly used in the prior art.
图2:本发明结构示意图。 Figure 2: Schematic diagram of the structure of the present invention.
图2:本发明浮球上升状态示意图。 Figure 2: Schematic diagram of the rising state of the floating ball of the present invention.
图4:本发明排气状态示意图。 Figure 4: Schematic diagram of the exhaust state of the present invention.
图5:本发明俯视示意图。 Figure 5: a schematic top view of the present invention.
具体实施方式 Detailed ways
如图2所示,一种污水进排气阀,包括阀体2、阀盖1、浮球10、移动密封杆7、出气口3、出气孔5和挂架11。所述阀盖1固定安装在阀体2上端,所述阀盖1上设置有出气口3;所述出气口上固定安装有阀帽4,所述阀帽上设置有出气孔5,所述出气口下端安装有环形密封垫6,且所述出气口处安装有可上下移动的移动密封杆7,所述移动密封杆中部固定安装有顶盘8,在所述移动密封杆上所述顶盘的下方从上到下依次设置有通气孔A和B,阀内气体可通过A和B由所述出气孔排出;所述阀盖下端和所述顶盘下端都安装有环形密封垫6;所述移动密封杆为中空管状,中下端设置在导杆9内,且可在所述导杆内上下活动;所述导杆的另一端部固定安装有圆形不锈钢浮球10,所述阀盖上设置有挂架11,当所述导杆因所述浮球而上下移动时,可将所述导杆挂在所述挂架上。
As shown in FIG. 2 , a sewage inlet and exhaust valve includes a
进水口设置在所述阀体的底部,且所述阀体得底部还设置有可固定安装所述阀体的底座,所述底座和阀盖1靠近外缘出设置有螺孔12,用于与阀体固定连接。
The water inlet is arranged at the bottom of the valve body, and the bottom of the valve body is also provided with a base that can be fixedly installed with the valve body, and the base and the
在运行过程中,环形密封垫6可确保本发明的密闭性,通气孔A、B处于导杆9的保护之中,不会接触到污水气体中容易结壳的气泡,减少堵塞,排气通畅,不漏水,而且管内一旦出现负压时,此阀能迅速吸入空气,以保管道产生损坏,确保安全。
During operation, the
Claims (2)
Priority Applications (1)
| Application Number | Priority Date | Filing Date | Title |
|---|---|---|---|
| CN201110191891.XA CN102261513B (en) | 2011-07-11 | 2011-07-11 | A kind of intake and exhaust valve for sewage with many impurities and large gas volume |
Applications Claiming Priority (1)
| Application Number | Priority Date | Filing Date | Title |
|---|---|---|---|
| CN201110191891.XA CN102261513B (en) | 2011-07-11 | 2011-07-11 | A kind of intake and exhaust valve for sewage with many impurities and large gas volume |
Publications (2)
| Publication Number | Publication Date |
|---|---|
| CN102261513A true CN102261513A (en) | 2011-11-30 |
| CN102261513B CN102261513B (en) | 2014-02-12 |
Family
ID=45008269
Family Applications (1)
| Application Number | Title | Priority Date | Filing Date |
|---|---|---|---|
| CN201110191891.XA Expired - Fee Related CN102261513B (en) | 2011-07-11 | 2011-07-11 | A kind of intake and exhaust valve for sewage with many impurities and large gas volume |
Country Status (1)
| Country | Link |
|---|---|
| CN (1) | CN102261513B (en) |
Cited By (3)
| Publication number | Priority date | Publication date | Assignee | Title |
|---|---|---|---|---|
| CN104214407A (en) * | 2013-09-05 | 2014-12-17 | 任文建 | Constant-flow drain valve |
| CN105972299A (en) * | 2016-04-26 | 2016-09-28 | 英诺威阀业有限公司 | Combined air vent valve |
| CN110668521A (en) * | 2019-11-11 | 2020-01-10 | 广州市适然环境工程技术有限公司 | Three-phase separator |
Citations (5)
| Publication number | Priority date | Publication date | Assignee | Title |
|---|---|---|---|---|
| JPS58146705A (en) * | 1982-02-22 | 1983-09-01 | Nissan Motor Co Ltd | Residual pressure exhaust valve in pneumatic circuit |
| CN2277021Y (en) * | 1996-05-23 | 1998-03-25 | 马洪义 | Automatic exhaust valve |
| CN101832420A (en) * | 2010-04-30 | 2010-09-15 | 铜陵国方水暖科技有限责任公司 | Clean water composite exhaust valve |
| CN201764077U (en) * | 2010-09-10 | 2011-03-16 | 刘旭光 | Exhaust valve |
| CN202266737U (en) * | 2011-07-11 | 2012-06-06 | 长沙理工大学 | Suction and exhaust valve used for sewage with multiple impurities and large air content |
-
2011
- 2011-07-11 CN CN201110191891.XA patent/CN102261513B/en not_active Expired - Fee Related
Patent Citations (5)
| Publication number | Priority date | Publication date | Assignee | Title |
|---|---|---|---|---|
| JPS58146705A (en) * | 1982-02-22 | 1983-09-01 | Nissan Motor Co Ltd | Residual pressure exhaust valve in pneumatic circuit |
| CN2277021Y (en) * | 1996-05-23 | 1998-03-25 | 马洪义 | Automatic exhaust valve |
| CN101832420A (en) * | 2010-04-30 | 2010-09-15 | 铜陵国方水暖科技有限责任公司 | Clean water composite exhaust valve |
| CN201764077U (en) * | 2010-09-10 | 2011-03-16 | 刘旭光 | Exhaust valve |
| CN202266737U (en) * | 2011-07-11 | 2012-06-06 | 长沙理工大学 | Suction and exhaust valve used for sewage with multiple impurities and large air content |
Cited By (5)
| Publication number | Priority date | Publication date | Assignee | Title |
|---|---|---|---|---|
| CN104214407A (en) * | 2013-09-05 | 2014-12-17 | 任文建 | Constant-flow drain valve |
| CN105972299A (en) * | 2016-04-26 | 2016-09-28 | 英诺威阀业有限公司 | Combined air vent valve |
| CN105972299B (en) * | 2016-04-26 | 2018-06-26 | 英诺威阀业有限公司 | A kind of composite exhaust valve |
| CN110668521A (en) * | 2019-11-11 | 2020-01-10 | 广州市适然环境工程技术有限公司 | Three-phase separator |
| CN110668521B (en) * | 2019-11-11 | 2024-02-13 | 广州市适然环境工程技术有限公司 | Three-phase separator |
Also Published As
| Publication number | Publication date |
|---|---|
| CN102261513B (en) | 2014-02-12 |
Similar Documents
| Publication | Publication Date | Title |
|---|---|---|
| CN203129292U (en) | Low-flow started siphon water tank with water levels adjustable | |
| CN102261513B (en) | A kind of intake and exhaust valve for sewage with many impurities and large gas volume | |
| CN206020087U (en) | Safety sampler | |
| CN201651461U (en) | A Ball Type Float Breathing Valve | |
| CN216203271U (en) | Automatic overflow mechanism for fixed-row flash tank | |
| CN201586468U (en) | Automatic water discharge gas-water separator | |
| CN204061954U (en) | The automatic discharge device of condensed water | |
| CN202646875U (en) | Float valve internally provided with floats | |
| CN102401175B (en) | Air suction and exhaust valve for high-viscosity and large-capacity sewage | |
| CN202266737U (en) | Suction and exhaust valve used for sewage with multiple impurities and large air content | |
| CN201807223U (en) | Filtering cup | |
| CN206556923U (en) | A kind of self-filtering type deep water sample collector | |
| CN206458451U (en) | A kind of unpowered gas-liquid natural separation device of coal bed gas well | |
| CN204261448U (en) | A kind of gas-removing filter | |
| CN100412516C (en) | Differential pressure liquid level detection device | |
| CN212716743U (en) | Automatic ware that drains of high-efficient slagging-off of colliery gas drainage system | |
| CN207550463U (en) | A kind of permeability cell bleeder | |
| CN202418791U (en) | Quick energy-saving vent valve | |
| CN202382459U (en) | Hydraulic suction closing type automatic water feeder for solar water heater | |
| CN207333869U (en) | A kind of composite exhaust valve | |
| CN211423689U (en) | Quick exhaust valve for agricultural irrigation pipeline | |
| CN204020551U (en) | Loader fuel tank device for preventing leakage | |
| CN201652892U (en) | Solar water diversion device | |
| CN201606547U (en) | Biogas digester slag extractor one-way float valve | |
| CN205715883U (en) | A kind of automatic exhaust steam valve |
Legal Events
| Date | Code | Title | Description |
|---|---|---|---|
| C06 | Publication | ||
| PB01 | Publication | ||
| C10 | Entry into substantive examination | ||
| SE01 | Entry into force of request for substantive examination | ||
| C14 | Grant of patent or utility model | ||
| GR01 | Patent grant | ||
| CF01 | Termination of patent right due to non-payment of annual fee |
Granted publication date: 20140212 Termination date: 20160711 |
|
| CF01 | Termination of patent right due to non-payment of annual fee |
