CN102228362A - Instant heating type energy-saving desktop water dispenser - Google Patents

Instant heating type energy-saving desktop water dispenser Download PDF

Info

Publication number
CN102228362A
CN102228362A CN2011101649152A CN201110164915A CN102228362A CN 102228362 A CN102228362 A CN 102228362A CN 2011101649152 A CN2011101649152 A CN 2011101649152A CN 201110164915 A CN201110164915 A CN 201110164915A CN 102228362 A CN102228362 A CN 102228362A
Authority
CN
China
Prior art keywords
water
instant heating
outlet valve
pipeline
drinking
Prior art date
Legal status (The legal status is an assumption and is not a legal conclusion. Google has not performed a legal analysis and makes no representation as to the accuracy of the status listed.)
Granted
Application number
CN2011101649152A
Other languages
Chinese (zh)
Other versions
CN102228362B (en
Inventor
成志方
黄其杰
陈佳伟
Current Assignee (The listed assignees may be inaccurate. Google has not performed a legal analysis and makes no representation or warranty as to the accuracy of the list.)
South Perth Bay (Hangzhou) drinking water equipment Co. Ltd.
Original Assignee
CHANGSHU HAI SHENG ELECTRIC Co Ltd
Priority date (The priority date is an assumption and is not a legal conclusion. Google has not performed a legal analysis and makes no representation as to the accuracy of the date listed.)
Filing date
Publication date
Application filed by CHANGSHU HAI SHENG ELECTRIC Co Ltd filed Critical CHANGSHU HAI SHENG ELECTRIC Co Ltd
Priority to CN2011101649152A priority Critical patent/CN102228362B/en
Publication of CN102228362A publication Critical patent/CN102228362A/en
Application granted granted Critical
Publication of CN102228362B publication Critical patent/CN102228362B/en
Expired - Fee Related legal-status Critical Current
Anticipated expiration legal-status Critical

Links

Images

Landscapes

  • Devices For Dispensing Beverages (AREA)

Abstract

The invention provides an instant heating type energy-saving desktop water dispenser and belongs to the technical field of the household appliances. The instant heating type energy-saving desktop water dispenser comprises a case body equipped with a drinking water outlet nozzle, a water tank and an instant heating mechanism connected to a water source supply pipeline, and is characterized by further comprising a water circulating mechanism. The water circulating mechanism is connected to a water tank pipeline and further connected to the instant heating mechanism through a pipeline. The instant heating type energy-saving desktop water dispenser has the advantages that the demand for supplying drinking water instantly and continuously can be met, and the heating power of the heating mechanism is only 1800W by taking the 650-700 ml/min water yield as an example, so that electric energy can be saved ideally.

Description

Instant heating type energy-saving desk-top water dispenser
Technical field
The invention belongs to household electrical appliance technical field, be specifically related to a kind of Instant heating type energy-saving desk-top water dispenser
Background technology
Since the mankind have stepped into electrical equipment since the epoch, the history in existing over one hundred year of water dispenser.Previous water dispenser is almost stereotyped to be railway carriage or compartment type heated type structure, at first makes storage tank fill water during use, waits for after the boiled process for drinking.Strong point is to satisfy the centralizedly supply boiling water requirement in the short time, uses up continued filling and the boiled very long process of wait that needs in case shortcoming is the interior boiling water of storage tank.So this water dispenser is not suitable for such as school, stadiums, enterprise workshop, people-to-people contacts office space, station and airport how or the like occasion.With the school is example, and the student drinks water and concentrates on the limited time after school mostly, often is difficult to satisfy supply.And then be that the vacuum flask formula water railway carriage or compartment type water dispenser of 2L or 3L is an example with the volume, in case boiling water is taken totally, need to wait for the time of seven minutes or eight minutes, thereby the water dispenser of this structure suffers people's cold reception gradually.
The release of instant heating type drinking machine has solved the problems referred to above, and its maximum characteristics are not need the wait process, with drinking with getting.But along with the raising that people's energy conservation is realized, the weakness that the instant heating type drinking machine consumes energy is big is paid attention to by people day by day.For example hot water effluent amount is boiled to 92-95 ℃ and guarantee that need without interruption possess the power of 6000w with water at the instant heating type drinking machine of 1-1.5/min.And for example the instant heating type drinking machine of the general 0.5L/min of family flow also needs to be equipped with the power of 3000-3500w.
In disclosed Chinese patent literature, can be seen in various water dispensers in a large number, slightly with exemplify as the CN2271117Y(cold and hot water drinking machine), the desk-top heating water fountain of CN2305133Y(), the desk-top compressor cooling hot water type of CN2320160Y(water dispenser), CN2555745Y(multifunctional table-type water dispenser), CN2643793Y(small desk electrothermal refrigeration water dispenser defroster), CN2627958Y(adopts the water dispenser of built-in side plate condenser), the CN101143070B(multifunctional drinking machine), CN201337329Y(desk-top water dispenser), the CN201564288U(safe energy-saving drinking water machine of instant heating type), CN201840327U(instant heating type drinking machine), the CN201840330U(instant heating type drinking machine), the CN201422758Y(instant heating type drinking machine) and CN201481086U(instant heating type drinking machine), or the like.
But, be not limited to the top listed disclosed water dispenser of patented technology scheme and all do not provide and reduce heating power how effectively and use embodiment and both satisfied the technology enlightenment of energy savings effectively of uninterrupted supply drinking water.As the industry's knowledge of the reason, if make the flow of water dispenser reach 650-700ml/min, need to be afraid of power so at least more than 6000w.
In view of above-mentioned prior art, the trial of making a useful improvement property of the applicant, and under secrecy provision, the experiment proved that it is feasible, technical scheme described below produces under this background
Summary of the invention
Task of the present invention is to provide a kind of drinking water requirement without interruption that both helped to satisfy, and helps the Instant heating type energy-saving desk-top water dispenser of energy savings again.
Task of the present invention is finished like this, a kind of Instant heating type energy-saving desk-top water dispenser, comprise casing, water tank and the instant heating arrangements that is connected with the water source supply channel of being furnished with the drinking water faucet, characteristics are: also include a water circulation mechanism, this water circulation mechanism is connected with described water tank pipeline, and is connected with described instant heating arrangements pipeline.
In a specific embodiment of the present invention, described water tank is arranged on the top in the case chamber of described casing, the bottom of this water tank has a water outlet of water tank, and the top of water tank or upper lateral part have a water tank inlet, and has connected a water tank escape pipe at the top of water tank; Described Instant heating type heating arrangements comprises a base and a bottom nozzle on one group of instant heating tube,, the top, case chamber of last base and described casing is fixed, should go up base and have a last base delivery port that communicates with the last base chamber of last base, the bottom, case chamber of bottom nozzle and casing is fixed, this bottom nozzle has a bottom nozzle water inlet that communicates with the bottom nozzle chamber of bottom nozzle, one group of instant heating tube is fixed between the upper and lower base, and communicates with described upward base chamber and described bottom nozzle chamber; Described water circulation mechanism is connected with the water outlet of water tank pipeline with described water tank inlet, and is connected with described base delivery port, bottom nozzle water inlet, described drinking water faucet and the described water source supply channel gone up; Between described water source supply channel and described water circulation mechanism, be connected in series with at least one and be used for water filter that water quality is filtered with water filter water inlet and water filter delivery port.
In another specific embodiment of the present invention, described water circulation mechanism comprises motor, water pump, the drinking water outlet valve, the warm water outlet valve, warm water water intaking valve and filtered water water intaking valve, water pump and motor are matched and be fixed in the case chamber of described casing together with water pump by motor, the drinking water outlet valve, the warm water outlet valve, warm water water intaking valve and filtered water outlet valve all are fixed in the case chamber of body mutually, wherein: the pump intake of water pump is connected with described water outlet of water tank, the pump outlet of water pump is connected with the warm water water inlet of warm water water intaking valve, and the warm water delivery port of warm water water intaking valve is connected with described bottom nozzle water inlet by water outlet pipe, the drinking water outlet valve water inlet of drinking water outlet valve is connected with first pipeline, and the drinking water outlet valve delivery port of drinking water outlet valve is connected with described drinking water faucet by second pipeline, and the drinking water outlet valve delivery port of drinking water outlet valve is connected with described drinking water faucet by second pipeline, the warm water outlet valve water inlet of warm water outlet valve is connected with described first pipeline, first pipeline is connected with the described base delivery port of going up, the warm water outlet valve delivery port of warm water outlet valve is connected with described water tank inlet by the 3rd pipeline, the filtered water water intake valve mouth of filtered water water intaking valve is connected with the water filter delivery port of described water filter by the 4th pipeline, and the filtered water water intaking valve delivery port of filtered water water intaking valve is connected with described water outlet pipe.
In another specific embodiment of the present invention, described instant heating tube is the carbon fiber heating tube.
In another specific embodiment of the present invention, described filtered water water intaking valve is a check valve.
Also have in the specific embodiment of the present invention, the bottom of described water tank has connected a blow-off pipe.
More of the present invention and in specific embodiment, be provided with medical stone in the described water tank, and be provided with heat-insulation layer in the outside of water tank.
Technical scheme provided by the invention has been owing to established water circulation mechanism, thereby can either satisfy the requirement of instant drinking water without interruption, is example with the water yield of 650-700ml/min, and the heating power of heating arrangements only is 1800w, thus saves energy ideally.
Description of drawings
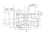
Fig. 1 is an assembling assumption diagram of the present invention.
Fig. 2 is the pipeline connection diagram of Fig. 1 structure.
The specific embodiment
For the auditor that the makes Patent Office especially public can be expressly understood technical spirit of the present invention and beneficial effect more, the applicant general elaborates in the mode of embodiment below, but to the description of embodiment all is not restriction to the present invention program, any according to the present invention's design done only for pro forma but not substantial equivalent transformation all should be considered as technical scheme category of the present invention.
See also Fig. 1 and Fig. 2, provided a casing 1, on casing 1, dispose transformer 12, circuit breaker 13, terminal box 14 and power switch 15 with the known technology same way as, on casing 1, also dispose drinking water faucet 11.
Water tank 2 is arranged on the top in the case chamber of casing 1, and dropping in this water tank 2 has medical stone, and medical stone can go out various trace elements with the abundant oxidation of water in the time of water temperature 45-55 ℃, guarantee that safety of drinking water is reliable.Have a water outlet of water tank 21 in the bottom of water tank 2 and connected a blow-off pipe 24, be connected to a water tank blast pipe 23 that communicates with the case chamber of water tank 2 at the top of water tank 2, be provided with heat-insulation layer 25 at the outer surface of water tank 2.In the present embodiment, water tank inlet 22 is arranged on the upper lateral part of water tank 2, but can be arranged at the top of water tank 2 fully.
One instant heating arrangements 3 is fixed in the casing chamber of casing 1, this instant heating arrangements 3 comprises one group of instant heating tube 31, a base 32 and a bottom nozzle 33 on one, last base 32 is fixed with the top in the casing chamber of casing 1, and should go up base 32 and have a last base delivery port 321 that communicates with the last base chamber of last base 32, bottom nozzle 33 is fixed with the bottom in the casing chamber of casing 1, and this bottom nozzle 33 has a bottom nozzle water inlet 331 that communicates with the bottom nozzle chamber of bottom nozzle 33, aforesaid one group of instant heating tube 31 is the carbon fiber heating tube, this is organized instant heating tube 31 and is fixed on, bottom nozzle 32, between 33, and go up the base chamber and the bottom nozzle chamber communicates with aforesaid.
Structure and operation principle about instant heating arrangements 3 can see the energy-saving hand washer of utility model patent ZL201020503786.6(for details) description, this patent application is proposed by the applicant.
As technical essential of the present invention, between water tank 2 and instant heating arrangements 3, be provided with a water circulation mechanism 4, this water circulation mechanism 4 comprises motor 41, water pump 42, drinking water outlet valve 43, warm water outlet valve 44, warm water water intaking valve 45 and filtered water water intaking valve 46, water pump 42 connects with motor 41 and is fixed together with the water pump 42 and the casing chamber of casing 1 by motor 41, the pump intake 421 of water pump 42 is connected with aforesaid water outlet of water tank 21 by pipeline, and the pump outlet 422 of water pump 42 is connected with the warm water water intake valve mouth 451 of warm water water intaking valve 45 by water pump pipeline 4221, the warm water water intaking valve delivery port 452 of warm water water intaking valve 45 is connected with aforesaid bottom nozzle water inlet 331 by water outlet pipe 4521, on the pipeline of water outlet pipe 4521, be connected in series with a flowmeter 4522, when flowmeter 4522 perception current through out-of-date, when promptly having current to enter instant heating arrangements 3, just give controller by flowmeter 4522 with signal feedback, give instant heating arrangements 3 by controller to signal, make instant heating arrangements 3 heating, vice versa.Drinking water outlet valve 43, warm water outlet valve 44, filtered water water intaking valve 46(check valve) and above mentioned warm water water intaking valve 45 all fix with the inwall in the casing chamber of casing 1.The drinking water outlet valve water inlet 431 of drinking water outlet valve 43 is connected with first pipeline 4311, and the drinking water outlet valve delivery port 432 of drinking water outlet valve 43 is connected with aforesaid drinking water faucet 11 by second pipeline 4321.The warm water outlet valve water inlet 441 of warm water outlet valve 44 is connected with aforesaid first pipeline 4311, and first pipeline 4311 is connected with the aforesaid base delivery port 321 of going up, the warm water outlet valve delivery port 442 of warm water water intaking valve 44 is connected with the aforesaid base delivery port 321 of going up by the 3rd pipeline 4421, and the warm water outlet valve delivery port 442 of warm water outlet valve 44 is connected with aforesaid water tank inlet 22 by the 3rd pipeline 4421.The filtered water water intake valve mouth 461 of filtered water water intaking valve 46 is connected by the water filter delivery port 62 of the water filter 6 on the 4th pipeline 4611 and the passage that is connected in series in water source supply channel 5, and the filtered water water intaking valve delivery port 462 of filtered water water intaking valve 46 is connected with aforesaid water outlet pipe 4521.
In the present embodiment, the quantity of aforesaid water filter 6 is a pair of, is serially connected on the water source supply channel 5 by water filter entery and delivery port 61,62.
Use when of the present invention, for example when water inlet, promptly be in non-ly when taking water state, drinking water outlet valve 43 and warm water water intaking valve 45 are in closed condition, and warm water outlet valve 44 and filtered water water intaking valve 46 are in opening.Introduce from water filter water inlet 61 by extraneous water such as running water that water source supply channel 5 is introduced, filter through water filter 6, introduce through drainage water intake valve mouth 461, enter the bottom nozzle water inlet 331 of bottom nozzle 33 through drainage water intaking valve delivery port 462, by one group of instant heating tube 31 heating, water after the heating is introduced from the warm water outlet valve water inlet 441 of warm water outlet valve 44 through first pipeline 4311 from the last base delivery port 321 of last base 32, is introduced in the water tank 2 through the 3rd pipeline 4421 by the warm water outlet valve delivery port 442 of warm water outlet valve 44.
When drinking, then drinking water outlet valve 43 and warm water water intaking valve 45 are in opening, and warm water outlet valve 44 and filtered water water intaking valve 46 are in closed condition.Drinking water outlet valve delivery port 432 by drinking water outlet valve 43 causes the drinking water faucet through the 3rd pipeline 421 with drinking water, by last base delivery port 321 water is introduced drinking water outlet valve water inlet 431 simultaneously.In this process, because warm water water intaking valve 45 is in opening, therefore drive under the work of water pump 42 at motor 41, warm water in the water tank 2 is introduced from the warm water water intake valve mouth 451 of warm water water intaking valve 45 through water pump pipeline 4221, introduce bottom nozzle water inlet 331 by warm water water intaking valve delivery port 452 through water outlet pipe 452, until causing the drinking water outlet valve from last base delivery port 321.Can continuously obtain the water that to drink therefrom.
From above-mentioned applicant's description as can be known, the present invention can satisfy the requirement of taking hot water continuously fully under the prerequisite of the heating power that reduces instant heating arrangements 3.Especially the applicant will make contrast test (under secrecy provision) according to the analog machine and the water dispenser in the prior art of structure fabrication of the present invention, both flows are 650-700ml/min, and both can satisfy 92-95 without interruption ℃ drinking water equally, but the power that the present invention is equipped with only needs 1800w, and existing Technology Need 6000w, thereby shown that the present invention program has desirable energy-saving effect

Claims (7)

1. Instant heating type energy-saving desk-top water dispenser, comprise casing (1), water tank (2) and the instant heating arrangements (3) that is connected with water source supply channel (5) of being furnished with drinking water faucet (11), it is characterized in that: also include a water circulation mechanism (4), this water circulation mechanism (4) is connected with described water tank (2) pipeline, and is connected with described instant heating arrangements (3) pipeline.
2. Instant heating type energy-saving desk-top water dispenser according to claim 1, it is characterized in that described water tank (2) is arranged on the top in the case chamber of described casing (1), the bottom of this water tank (2) has a water outlet of water tank (21), the top of water tank (2) or upper lateral part have a water tank inlet (22), and have connected a water tank escape pipe (23) at the top of water tank (2); Described Instant heating type heating arrangements (3) comprises one group of instant heating tube (31), a base on one (32) and a bottom nozzle (33), last base (32) is fixed with the top, case chamber of described casing (1), should go up base (32) and have a last base delivery port (321) that communicates with the last base chamber of last base (32), bottom nozzle (33) is fixed with the bottom, case chamber of casing (1), this bottom nozzle (33) has a bottom nozzle water inlet (331) that communicates with the bottom nozzle chamber of bottom nozzle (33), one group of instant heating tube (31) is fixed on, bottom nozzle (32,33) between, and go up the base chamber and described bottom nozzle chamber communicates with described; Described water circulation mechanism (4) is connected with water outlet of water tank (21) pipeline with described water tank inlet (22), and is connected with described base delivery port (321), bottom nozzle water inlet (331), described drinking water faucet (11) and the described water source supply channel (5) gone up; Between described water source supply channel (5) and described water circulation mechanism (4), be connected in series with at least one and be used for water filter (6) that water quality is filtered with water filter water inlet (61) and water filter delivery port (62).
3. Instant heating type energy-saving desk-top water dispenser according to claim 2, it is characterized in that described water circulation mechanism (4) comprises motor (41), water pump (42), drinking water outlet valve (43), warm water outlet valve (44), warm water water intaking valve (45) and filtered water water intaking valve (46), water pump (42) and motor (41) are matched and be fixed in the case chamber of described casing (1) together with water pump (42) by motor (41), drinking water outlet valve (43), warm water outlet valve (44), warm water water intaking valve (45) and filtered water outlet valve (46) all are fixed in the case chamber of body (1) mutually, wherein: the pump intake (421) of water pump (42) is connected with described water outlet of water tank (21), the pump outlet (422) of water pump (42) is connected with the warm water water inlet (451) of warm water water intaking valve (45), and the warm water delivery port (452) of warm water water intaking valve (45) is connected with described bottom nozzle water inlet (331) by water outlet pipe (4521), the drinking water outlet valve water inlet (431) of drinking water outlet valve (43) is connected with first pipeline (4311), and the drinking water outlet valve delivery port (432) of drinking water outlet valve (43) is connected with described drinking water faucet (11) by second pipeline (4321), and the drinking water outlet valve delivery port (432) of drinking water outlet valve (43) is connected with described drinking water faucet (11) by second pipeline (4321), the warm water outlet valve water inlet (441) of warm water outlet valve (44) is connected with described first pipeline (4311), first pipeline (4311) is connected with the described base delivery port (321) of going up, the warm water outlet valve delivery port (442) of warm water outlet valve (44) is connected with described water tank inlet (22) by the 3rd pipeline (4421), the filtered water water intake valve mouth (461) of filtered water water intaking valve (46) is connected with the water filter delivery port (62) of described water filter (6) by the 4th pipeline (4611), and the filtered water water intaking valve delivery port (462) of filtered water water intaking valve (46) is connected with described water outlet pipe (4521).
4. Instant heating type energy-saving desk-top water dispenser according to claim 2 is characterized in that described instant heating tube (31) is the carbon fiber heating tube.
5. Instant heating type energy-saving desk-top water dispenser according to claim 3 is characterized in that described filtered water water intaking valve (46) is a check valve.
6. Instant heating type energy-saving desk-top water dispenser according to claim 1 and 2 is characterized in that the bottom of described water tank (2) has connected a blow-off pipe (24).
7. Instant heating type energy-saving desk-top water dispenser according to claim 6 is characterized in that being provided with medical stone in the described water tank (2), and is provided with heat-insulation layer (25) in the outside of water tank (2).
CN2011101649152A 2011-06-20 2011-06-20 Instant heating type energy-saving desktop water dispenser Expired - Fee Related CN102228362B (en)

Priority Applications (1)

Application Number Priority Date Filing Date Title
CN2011101649152A CN102228362B (en) 2011-06-20 2011-06-20 Instant heating type energy-saving desktop water dispenser

Applications Claiming Priority (1)

Application Number Priority Date Filing Date Title
CN2011101649152A CN102228362B (en) 2011-06-20 2011-06-20 Instant heating type energy-saving desktop water dispenser

Publications (2)

Publication Number Publication Date
CN102228362A true CN102228362A (en) 2011-11-02
CN102228362B CN102228362B (en) 2012-11-07

Family

ID=44840998

Family Applications (1)

Application Number Title Priority Date Filing Date
CN2011101649152A Expired - Fee Related CN102228362B (en) 2011-06-20 2011-06-20 Instant heating type energy-saving desktop water dispenser

Country Status (1)

Country Link
CN (1) CN102228362B (en)

Cited By (2)

* Cited by examiner, † Cited by third party
Publication number Priority date Publication date Assignee Title
CN102599812A (en) * 2012-03-30 2012-07-25 常熟市海晟电器有限公司 Instant heating and cooling type cold and hot water dispenser
CN111297192A (en) * 2020-04-20 2020-06-19 徐州极致电器科技有限公司 Instant hot water dispenser

Citations (4)

* Cited by examiner, † Cited by third party
Publication number Priority date Publication date Assignee Title
CN2242063Y (en) * 1995-11-20 1996-12-11 张兆芳 Water container with water heater
CN101182048A (en) * 2007-11-21 2008-05-21 黄樟焱 Integral cyclic purification water purifier
CN201710154U (en) * 2010-06-01 2011-01-19 常州领航电子有限公司 Water passage device of automatic water dispenser
CN202104788U (en) * 2011-06-20 2012-01-11 常熟市海晟电器有限公司 Instant heating energy-saving desk type water dispenser

Patent Citations (4)

* Cited by examiner, † Cited by third party
Publication number Priority date Publication date Assignee Title
CN2242063Y (en) * 1995-11-20 1996-12-11 张兆芳 Water container with water heater
CN101182048A (en) * 2007-11-21 2008-05-21 黄樟焱 Integral cyclic purification water purifier
CN201710154U (en) * 2010-06-01 2011-01-19 常州领航电子有限公司 Water passage device of automatic water dispenser
CN202104788U (en) * 2011-06-20 2012-01-11 常熟市海晟电器有限公司 Instant heating energy-saving desk type water dispenser

Cited By (2)

* Cited by examiner, † Cited by third party
Publication number Priority date Publication date Assignee Title
CN102599812A (en) * 2012-03-30 2012-07-25 常熟市海晟电器有限公司 Instant heating and cooling type cold and hot water dispenser
CN111297192A (en) * 2020-04-20 2020-06-19 徐州极致电器科技有限公司 Instant hot water dispenser

Also Published As

Publication number Publication date
CN102228362B (en) 2012-11-07

Similar Documents

Publication Publication Date Title
CN202104788U (en) Instant heating energy-saving desk type water dispenser
CN201314752Y (en) Machine combined with refrigerator, sterilizer and drinking machine
CN202069459U (en) Embedded-type drinking water machine
CN102228362B (en) Instant heating type energy-saving desktop water dispenser
CN104367189B (en) Power-saving vertical drinking fountain stand
CN203506408U (en) Downward-water-pumping multifunctional cabinet type water fountain
CN204378924U (en) Boiling water quickly cooling unit
CN102620410A (en) Low-power instant heating water boiler
CN208784469U (en) A commercial energy-saving water dispenser
CN215365164U (en) Water purification heating all-in-one with quick heating function
CN202515021U (en) Water storage cabinet
CN102914044B (en) Electric heating water boiler
CN202835768U (en) Electric heating water boiler
CN202521831U (en) Low-power instantaneous water heater
CN207370574U (en) Portable energy-saving drinking machine
CN206995090U (en) Water dispenser and intelligent domestic system
CN203059393U (en) Multifunctional pure drinking water bar
CN220212658U (en) Purifying and heating integrated water dispenser
CN202820952U (en) Air-energy water dispenser
CN204813410U (en) Provide clean drink machine of boiling water and temperature boiling water respectively
CN202040978U (en) Ground energy quickly heated water heater
CN203647104U (en) Intelligent water dispenser
CN204181464U (en) Power-saving vertical drinking fountain stand
CN205913256U (en) Can sterile energy -conserving water dispenser of a key
CN203987604U (en) Tea-drinking machine

Legal Events

Date Code Title Description
C06 Publication
PB01 Publication
C10 Entry into substantive examination
SE01 Entry into force of request for substantive examination
C14 Grant of patent or utility model
GR01 Patent grant
C41 Transfer of patent application or patent right or utility model
TR01 Transfer of patent right

Effective date of registration: 20160330

Address after: Hangzhou City, Zhejiang province 311199 Yuhang District of Yuhang Economic Development Zone, Tang Mei Road No. 17 Building 2

Patentee after: South Perth Bay (Hangzhou) drinking water equipment Co. Ltd.

Address before: Hong Kong Li Tong Industrial Park, 215511 Jinjiang road in Jiangsu city of Suzhou province Changshou City Mei

Patentee before: Changshu Hai Sheng Electric Co., Ltd.

CF01 Termination of patent right due to non-payment of annual fee
CF01 Termination of patent right due to non-payment of annual fee

Granted publication date: 20121107

Termination date: 20200620