CN101581518B - Transcritical CO2 energy-saving heat pump system of solar supplementary heat source - Google Patents
Transcritical CO2 energy-saving heat pump system of solar supplementary heat source Download PDFInfo
- Publication number
- CN101581518B CN101581518B CN2009100747305A CN200910074730A CN101581518B CN 101581518 B CN101581518 B CN 101581518B CN 2009100747305 A CN2009100747305 A CN 2009100747305A CN 200910074730 A CN200910074730 A CN 200910074730A CN 101581518 B CN101581518 B CN 101581518B
- Authority
- CN
- China
- Prior art keywords
- compressor
- energy
- carbon dioxide
- solar
- expansion
- Prior art date
- Legal status (The legal status is an assumption and is not a legal conclusion. Google has not performed a legal analysis and makes no representation as to the accuracy of the status listed.)
- Expired - Fee Related
Links
Images
Classifications
-
- Y—GENERAL TAGGING OF NEW TECHNOLOGICAL DEVELOPMENTS; GENERAL TAGGING OF CROSS-SECTIONAL TECHNOLOGIES SPANNING OVER SEVERAL SECTIONS OF THE IPC; TECHNICAL SUBJECTS COVERED BY FORMER USPC CROSS-REFERENCE ART COLLECTIONS [XRACs] AND DIGESTS
- Y02—TECHNOLOGIES OR APPLICATIONS FOR MITIGATION OR ADAPTATION AGAINST CLIMATE CHANGE
- Y02E—REDUCTION OF GREENHOUSE GAS [GHG] EMISSIONS, RELATED TO ENERGY GENERATION, TRANSMISSION OR DISTRIBUTION
- Y02E10/00—Energy generation through renewable energy sources
- Y02E10/40—Solar thermal energy, e.g. solar towers
Landscapes
- Heat-Pump Type And Storage Water Heaters (AREA)
- Sorption Type Refrigeration Machines (AREA)
Abstract
一种太阳能辅助热源二氧化碳跨临界节能热泵系统,用于解决热能循环利用问题。其技术方案是:该系统由太阳能集热辅助部分和跨临界二氧化碳热泵部分组成,两个系统由两个膨胀压缩机连接,整个系统的工作介质均采用二氧化碳。本发明的优点体现在如下方面:1.节能性:本发明能够有效利用太阳能作为系统驱动能量,大大提高系统运行的COP值,起到节能的效果;2.环保性:整个系统的制冷工作介质均采用CO2,不存在对环境的污染问题;3.经济性:本发明只需一次性投资,后期维护和投资费用非常小。可广泛用于空调、供暖、制冷等场合。
A solar auxiliary heat source carbon dioxide transcritical energy-saving heat pump system is used to solve the problem of thermal energy recycling. The technical solution is: the system is composed of a solar heat collection auxiliary part and a transcritical carbon dioxide heat pump part, the two systems are connected by two expansion compressors, and the working medium of the whole system is carbon dioxide. The advantages of the present invention are reflected in the following aspects: 1. Energy saving: the present invention can effectively utilize solar energy as the driving energy of the system, greatly improving the COP value of system operation, and having the effect of saving energy; 2. Environmental protection: the refrigeration working medium of the whole system Both use CO 2 , so there is no pollution to the environment; 3. Economical efficiency: the present invention only needs one-time investment, and the subsequent maintenance and investment costs are very small. Can be widely used in air conditioning, heating, refrigeration and other occasions.
Description
技术领域technical field
本发明涉及一种太阳能热利用技术,特别是一种利用太阳能的热泵系统,属热交换技术领域。The invention relates to a solar heat utilization technology, in particular to a heat pump system utilizing solar energy, and belongs to the technical field of heat exchange.
背景技术Background technique
以煤为主的一次能源结构不但能源利用效率低,而且造成严重的环境污染,SO2排放量的90%和NOx排放量的60%都来自于燃煤。严重的环境污染对生态环境造成的影响已经威胁到经济和社会的可持续发展。随着经济的快速发展,能源消耗日益提高,能源逐渐成为制约社会经济发展的“瓶颈”。有研究报道,我国的建筑能耗占社会总能耗25%以上,而在建筑能耗中,空调能耗占到50%以上,并且建筑物空调的需求量呈逐年上升趋势,给能源、电力和环境带来很大的压力,在这种情况下,太阳能作为一种可再生能源越来越受到人们的重视。太阳能是一种巨大的清洁能源,每天到达地球表面的太阳辐射能为5.57×1018MJ,相当于190万亿吨标准煤,约为目前全世界一次能源消费总量的1.56×104倍。太阳能以其取之不尽、廉价、安全、无需运输、清洁无污染等特点受到人们的重视,光热、光电、光化学等太阳能利用技术正在迅速地发展。The coal-based primary energy structure not only has low energy utilization efficiency, but also causes serious environmental pollution. 90% of SO 2 emissions and 60% of NO x emissions come from coal combustion. The impact of serious environmental pollution on the ecological environment has threatened the sustainable development of economy and society. With the rapid development of the economy, energy consumption is increasing day by day, and energy has gradually become a "bottleneck" restricting social and economic development. According to research reports, my country's building energy consumption accounts for more than 25% of the total social energy consumption, and in building energy consumption, air-conditioning energy consumption accounts for more than 50%, and the demand for building air-conditioning is increasing year by year. In this case, solar energy, as a kind of renewable energy, has been paid more and more attention by people. Solar energy is a huge clean energy. The solar radiant energy reaching the earth's surface every day is 5.57×10 18 MJ, equivalent to 190 trillion tons of standard coal, which is about 1.56×10 4 times the current total primary energy consumption in the world. Solar energy is valued by people for its inexhaustible, cheap, safe, no need for transportation, clean and pollution-free, etc. Solar energy utilization technologies such as photothermal, photoelectric, and photochemical are developing rapidly.
由于臭氧层破坏和温室效应的影响,用自然工质替代合成工质越来越受到国内外制冷界的重视。在几种常用的自然工质中,除水和空气以外,CO2是与环境最为友善的制冷工质。CO2作为制冷工质有很多优点:它的ODP=0,GDP=1;使用安全,无毒;物理化学稳定性好;单位容积制冷量大,有利于减少装置体积;在超临界条件下,它的流动传热性能好;此外,CO2容易获取,价格低廉,不需要回收。在二氧化碳跨临界循环中,二氧化碳的放热过程是在超临界压力下进行的,有较大的温度回落,这个温度特别适合加热家用热水,二氧化碳热泵热水器是目前公认的各方面优于R22、R134a等常规工质的热泵热水装置。Due to the destruction of the ozone layer and the impact of the greenhouse effect, the use of natural refrigerants to replace synthetic refrigerants has attracted more and more attention from the refrigeration industry at home and abroad. Among several commonly used natural working fluids, CO 2 is the most environmentally friendly refrigerant except water and air. CO2 has many advantages as a refrigerant: its ODP = 0, GDP = 1; it is safe to use, non-toxic; good physical and chemical stability; large cooling capacity per unit volume, which is conducive to reducing the volume of the device; under supercritical conditions, It has good flow and heat transfer properties; moreover, CO2 is readily available and inexpensive, and does not require recycling. In the carbon dioxide transcritical cycle, the exothermic process of carbon dioxide is carried out under supercritical pressure, and there is a large temperature drop. This temperature is especially suitable for heating domestic hot water. Carbon dioxide heat pump water heaters are currently recognized to be superior to R22, R134a and other conventional working fluid heat pump water heaters.
膨胀压缩机是一种膨胀功回收装置,膨胀机的膨胀功提供给辅助压缩机作为输入功,以驱动压缩机完成压缩过程。采用膨胀压缩机有利于提高整个系统的性能系数,从而达到节能目的。The expansion compressor is an expansion work recovery device. The expansion work of the expander is provided to the auxiliary compressor as input work to drive the compressor to complete the compression process. The use of expansion compressors is conducive to improving the performance coefficient of the entire system, so as to achieve the purpose of energy saving.
综上所述,若能将太阳能的有效利用、跨临界二氧化碳热泵系统及膨胀压缩机等技术融为一体,是一种实现高效率供热、供冷等多项功能的有效途径。To sum up, if the effective use of solar energy, transcritical carbon dioxide heat pump system and expansion compressor can be integrated, it is an effective way to realize multiple functions such as high-efficiency heating and cooling.
发明内容Contents of the invention
本发明所要解决的技术问题是:提供一种有效利用太阳能、大大提高系统运行循环性能系数C0P值的太阳能辅助热源二氧化碳跨临界节能热泵系统。The technical problem to be solved by the present invention is to provide a carbon dioxide transcritical energy-saving heat pump system with an auxiliary heat source of solar energy that effectively utilizes solar energy and greatly improves the COP value of the system operation cycle performance coefficient.
本发明所称问题是由以下技术方案解决的:The said problem of the present invention is solved by following technical scheme:
一种太阳能辅助热源二氧化碳跨临界节能热泵系统,该系统以二氧化碳为工作介质,构成中包括太阳能集热器、第一膨胀压缩机、第二膨胀压缩机、贮气器、气体冷却器、蒸发器和两台分别与第一、第二膨胀压缩机的压缩机相连的电动机,其中,太阳能集热器连接在第一膨胀压缩机的膨胀机的进口管路中,膨胀机流出的二氧化碳经贮气器、气体冷却器送入第二膨胀压缩机的压缩机的进口,该压缩机出口接至太阳能集热器进口,由上述部件组成太阳能集热辅助热源的闭路循环系统;所述第一膨胀压缩机的压缩机出口将二氧化碳经贮气器、气体冷却器送入第二膨胀压缩机的膨胀机进口,膨胀机出口连通蒸发器,蒸发器出口接通第一膨胀压缩机的压缩机的进口,上述部件组成另一路跨临界二氧化碳热泵闭路循环系统。A solar auxiliary heat source carbon dioxide transcritical energy-saving heat pump system, the system uses carbon dioxide as the working medium, and its composition includes a solar heat collector, a first expansion compressor, a second expansion compressor, an air receiver, a gas cooler, and an evaporator and two electric motors respectively connected to the compressors of the first and second expansion compressors, wherein the solar heat collector is connected to the inlet pipeline of the expander of the first expansion compressor, and the carbon dioxide flowing out of the expander passes through the gas storage The compressor and the gas cooler are sent to the inlet of the compressor of the second expansion compressor, and the outlet of the compressor is connected to the inlet of the solar collector, and the above-mentioned components form a closed loop system of solar heat collection auxiliary heat source; the first expansion compression The compressor outlet of the machine sends carbon dioxide to the expander inlet of the second expansion compressor through the gas receiver and the gas cooler, the expander outlet is connected to the evaporator, and the evaporator outlet is connected to the compressor inlet of the first expansion compressor. The above components form another closed loop system of transcritical carbon dioxide heat pump.
上述太阳能辅助热源二氧化碳跨临界节能热泵系统,所述蒸发器与第一膨胀压缩机的压缩机进口之间设有气液分离器。In the above-mentioned solar auxiliary heat source carbon dioxide transcritical energy-saving heat pump system, a gas-liquid separator is arranged between the evaporator and the compressor inlet of the first expansion compressor.
上述太阳能辅助热源二氧化碳跨临界节能热泵系统,所述三通阀两个出口处分别设有电磁阀。In the above-mentioned solar auxiliary heat source carbon dioxide transcritical energy-saving heat pump system, electromagnetic valves are respectively provided at the two outlets of the three-way valve.
本发明针对目前存在的能源利用及环境污染问题,提出一种带膨胀压缩机的太阳能辅助跨临界二氧化碳节能热泵技术,该技术由太阳能集热辅助系统和跨临界二氧化碳热泵系统两部分组成,两部分中分别设置一套膨胀压缩机,整个系统以二氧化碳为工作介质。本发明的优点体现在如下方面:Aiming at the existing problems of energy utilization and environmental pollution, the present invention proposes a solar-assisted transcritical carbon dioxide energy-saving heat pump technology with an expansion compressor. A set of expansion compressors are installed in each of them, and the whole system uses carbon dioxide as the working medium. The advantages of the present invention are reflected in the following aspects:
1.节能性:本发明能够有效利用太阳能作为系统驱动能量,大大提高了系统运行的COP值,起到节能的效果。在系统刚刚启动或太阳光照强度比较弱的时候,启动两个电动机,此时,系统的COP也比单级跨临界二氧化碳热泵系统的COP大很多。当太阳光照强度足够强的时候,电动机的耗能会更小,此时系统的COP将会更大。2.环保性:整个系统的制冷工作介质均采用CO2,不存在对环境的污染问题。3.经济性:从长远考虑,本发明只需一次性投资,后期维护和投资费用非常小。基于上述优点及人们对节能环保、太阳能以及绿色工质二氧化碳的重视,同时随着膨胀压缩机的不断研究和改进,使其成本不断降低,从而为本发明的广泛应用提供了技术基础。可广泛用于空调、供暖、制冷等场合。1. Energy saving: the present invention can effectively use solar energy as the driving energy of the system, greatly improving the COP value of system operation, and achieving the effect of energy saving. When the system is just started or when the sunlight intensity is relatively weak, start the two motors. At this time, the COP of the system is also much larger than that of the single-stage transcritical carbon dioxide heat pump system. When the sunlight intensity is strong enough, the energy consumption of the motor will be smaller, and the COP of the system will be larger at this time. 2. Environmental protection: CO 2 is used as the refrigeration working medium of the whole system, so there is no pollution to the environment. 3. Economic efficiency: In the long run, the present invention only needs a one-time investment, and the subsequent maintenance and investment costs are very small. Based on the above advantages and people's emphasis on energy saving and environmental protection, solar energy and green working medium carbon dioxide, and with the continuous research and improvement of the expansion compressor, its cost is continuously reduced, thus providing a technical basis for the wide application of the present invention. Can be widely used in air conditioning, heating, refrigeration and other occasions.
附图说明Description of drawings
图1是本发明示意图;Fig. 1 is a schematic diagram of the present invention;
图2是本发明循环系统的p-h图。Figure 2 is a p-h diagram of the circulatory system of the present invention.
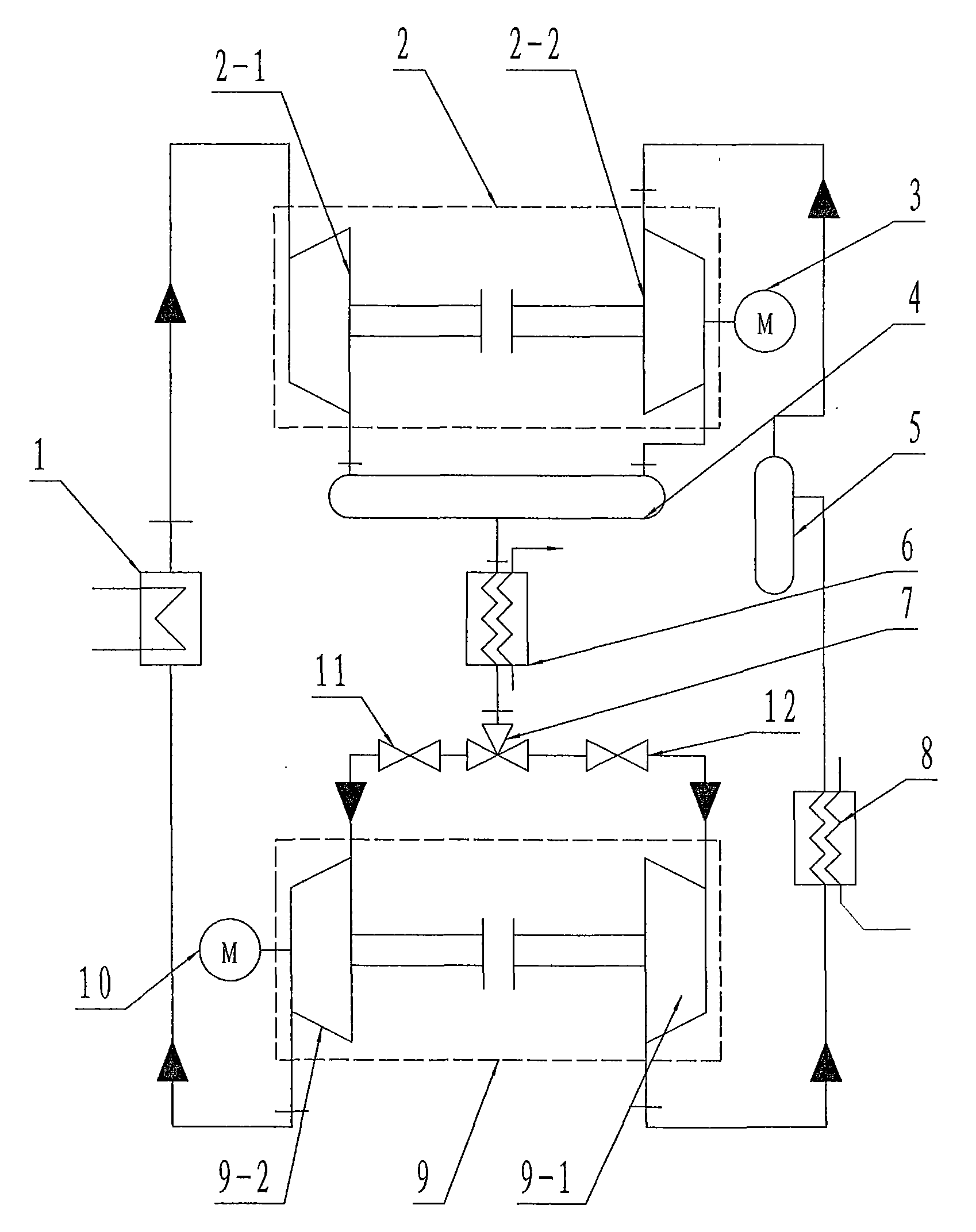
图中各标号含义如下:1.太阳能集热器;2.第一膨胀压缩机;2-1.第一膨胀压缩机的膨胀机;2-2.第一膨胀压缩机的压缩机;3.第一电动机;4.贮气器;5.气液分离器;6.气体冷却器;7.三通阀;8.蒸发器;9.第二膨胀压缩机;9-1.第二膨胀压缩机的膨胀机;9-2.第二膨胀压缩机的压缩机;10.第二电动机;11、12.电磁阀。The meanings of the labels in the figure are as follows: 1. solar heat collector; 2. the first expansion compressor; 2-1. the expander of the first expansion compressor; 2-2. the compressor of the first expansion compressor; 3. 1st electric motor; 4. Air receiver; 5. Gas-liquid separator; 6. Gas cooler; 7. Three-way valve; 8. Evaporator; 9. Second expansion compressor; 9-1. Second expansion compression 9-2. The compressor of the second expansion compressor; 10. The second electric motor; 11, 12. Solenoid valve.
具体实施方式Detailed ways
参看图1,本发明构成中包括太阳能集热器1、第一膨胀压缩机2、第二膨胀压缩机9、贮气器4、气液分离器5、气体冷却器6、蒸发器8、三通阀7、电磁阀11、12.和两台分别与第一、第二膨胀压缩机的压缩机相连的电动机M,上述部件通过管道连接,形成太阳能辅助热源二氧化碳跨临界节能热泵系统,该系统以二氧化碳为工作介质。太阳能集热器1一般放在房顶,CO2蒸气经太阳能集热器加热后通过管道进入第一膨胀压缩机2中膨胀机2-1的进口,驱动膨胀机对外做功后通过管道进入贮气器4,在贮气器中与从压缩机2-2出来的CO2蒸气混合,从贮气器出口出来后通过管道进入气体冷却器6的进口,在气体冷却器中冷却放出热量,然后通过管道依次经过三通阀7、电磁阀11,经第二膨胀压缩机9中压缩机9-2压缩后进入太阳能集热器1重新加热,这样就组成太阳能集热辅助封闭部分。CO2蒸气经第一膨胀压缩机中的压缩机2-2压缩后通过管道进入贮气器4,在贮气器中与中膨胀机的排气混合后,通过管道进入气体冷却器6冷却放出热量,从气体冷却器出来后的CO2蒸气通过管道依次经过三通阀7的另一端出口和电磁阀12,然后驱动第二膨胀压缩机9中的膨胀机带动与其相连的压缩机做功,做功后的CO2制冷剂进入蒸发器8蒸发制冷,最后通过管道经气液分离器5后进入第一膨胀压缩机中的压缩机2-2,从而组成跨临界二氧化碳热泵部分。在本发明中,两膨胀压缩机中的膨胀机和压缩机同轴连接,两膨胀压缩机中的压缩机与电动机同轴连接。Referring to Fig. 1, the present invention comprises a
图2是为本发明循环系统的p-h图。蒸发器8出口的CO2为饱和状态,经第一膨胀压缩机2中压缩机由a点压缩至b点,过热的CO2蒸气在第一膨胀压缩机2的膨胀机中由f点膨胀至e点,从b点和e点出来的CO2蒸气在贮气器混合后形成k点,然后,经气体冷却器6等压冷却至c点,再经第二膨胀压缩机9中的膨胀机等熵膨胀至d点,最后,在蒸发器内吸热至饱和蒸气状态a点。c点至e点为第二膨胀压缩机中压缩机的压缩过程,e点至f点为太阳能集热器的加热加压过程,f点至g点为第一膨胀压缩机中膨胀机的对外做功过程。其中a-b-k-c-d-a为跨临界CO2热泵部分,e-f-g-k-c-e为太阳能集热辅助循环部分。Fig. 2 is a ph diagram of the circulatory system of the present invention. The CO at the outlet of the evaporator 8 is in a saturated state, and is compressed from point a to point b by the compressor in the
下面以某小区321m2别墅住宅为例进行实例计算分析:设计采用的冷热规格:夏季采用7/12℃,冬季采用地板辐射采暖35/50℃。室外设计参数:夏季空调室外计算干球温度为33.2℃;夏季空调室外计算湿球温度为26.4℃;冬季空调室外计算温度为-12℃;冬季供暖室外计算温度为-9℃。室内设计参数如表1所示。The following takes a 321m 2 villa in a community as an example for calculation and analysis: the cooling and heating specifications adopted in the design: 7/12°C in summer and 35/50°C in winter with floor radiation heating. Outdoor design parameters: the calculated outdoor dry bulb temperature of the air conditioner in summer is 33.2°C; the calculated outdoor wet bulb temperature of the air conditioner in summer is 26.4°C; the calculated outdoor temperature of the air conditioner in winter is -12°C; the calculated outdoor temperature of the heating in winter is -9°C. The interior design parameters are shown in Table 1.
表1室内设计参数Table 1 Interior Design Parameters
根据别墅的结构和功能的特点,计算出该建筑夏季空调负荷为27.3kW,冬季地板辐射供暖及空调负荷为32.8kW。According to the characteristics of the structure and function of the villa, it is calculated that the summer air conditioning load of the building is 27.3kW, and the winter floor radiant heating and air conditioning load is 32.8kW.
为了分析方便,在以下条件下进行循环分析:(1)系统循环处于稳态;(2)压缩机的指示效率均为0.9,联轴器的机械效率为0.98,膨胀机的效率为0.8;(3)气体冷却器、蒸发器与环境之间没有热交换;(4)气体冷却器的换热温差为5℃,蒸发器的换热温差为5℃;(5)管路压力总损失忽略不计。For the convenience of analysis, cycle analysis is carried out under the following conditions: (1) The system cycle is in a steady state; (2) The indicated efficiency of the compressor is 0.9, the mechanical efficiency of the coupling is 0.98, and the efficiency of the expander is 0.8; ( 3) There is no heat exchange between the gas cooler, evaporator and the environment; (4) The heat transfer temperature difference of the gas cooler is 5°C, and the heat transfer temperature difference of the evaporator is 5°C; (5) The total loss of pipeline pressure is negligible .
基于以上的理论计算公式和初始假设条件,对带膨胀压缩机的太阳能辅助跨临界CO2热泵系统进行了理论分析。表2为跨临界CO2热泵循环主要状态点的物性参数。Based on the above theoretical calculation formulas and initial assumptions, a theoretical analysis of a solar-assisted transcritical CO2 heat pump system with an expansion compressor is carried out. Table 2 shows the physical parameters of the main state points of the transcritical CO 2 heat pump cycle.
表2跨临界CO2热泵循环主要状态点的物性参数Table 2 The physical parameters of the main state points of the transcritical CO2 heat pump cycle
理论计算分析表明:当太阳能集热器的面积为25m2,每平方米吸热量为1KW,气体冷却器总放热量为50KW时,本发明系统的COP为4.79,其性能系数明显高于单级CO2跨临界热泵系统。Theoretical calculation analysis shows that: when the area of the solar heat collector is 25m2 , the heat absorption per square meter is 1KW, and the total heat release of the gas cooler is 50KW, the COP of the system of the present invention is 4.79, and its performance coefficient is obviously higher than that of the single stage CO2 transcritical heat pump system.
为使气体冷却器进口的压力达到CO2的临界压力,应采用中温太阳能集热器,其正常工作温度范围为100℃~180℃,此时膨胀压缩机A中膨胀机进口的压力范围为12MPa~14MPa。In order to make the pressure at the inlet of the gas cooler reach the critical pressure of CO2 , a medium-temperature solar collector should be used, and its normal operating temperature range is 100°C to 180°C. At this time, the pressure range at the inlet of the expander in expansion compressor A is 12MPa ~14MPa.
当整个系统刚开始启动或太阳光照强度不能满足需要时,需要启动第一电动机3和第二电动机10,此时电动机10输入的功较大;当太阳光照强度满足需要时,可调节电动机10输入较小的功,电动机3可直接关闭。When the whole system has just started or the intensity of sunlight cannot meet the needs, it is necessary to start the
电磁阀11和12可根据需要分别调节制冷工质的流量。The
太阳能集热辅助部分和跨临界二氧化碳热泵部分共用一个气体冷却器6,气体冷却器放出的热量可供用户根据需要自由分配利用,从而达到制热、供热水或制热+热水的目的,冷却介质可以为水、空气等。The auxiliary part of solar heat collection and the transcritical carbon dioxide heat pump part share a gas cooler 6, and the heat released by the gas cooler can be freely distributed and utilized by users according to their needs, so as to achieve the purpose of heating, hot water or heating + hot water. The cooling medium can be water, air, etc.
跨临界二氧化碳热泵部分中蒸发器8向外界吸收热量,达到制冷、供冷水或制冷+冷水的目的,可根据用户需要进行合理的设计和安装。冷却介质也可采用其他物质,如水、空气等。The
Claims (3)
Priority Applications (1)
| Application Number | Priority Date | Filing Date | Title |
|---|---|---|---|
| CN2009100747305A CN101581518B (en) | 2009-06-12 | 2009-06-12 | Transcritical CO2 energy-saving heat pump system of solar supplementary heat source |
Applications Claiming Priority (1)
| Application Number | Priority Date | Filing Date | Title |
|---|---|---|---|
| CN2009100747305A CN101581518B (en) | 2009-06-12 | 2009-06-12 | Transcritical CO2 energy-saving heat pump system of solar supplementary heat source |
Publications (2)
| Publication Number | Publication Date |
|---|---|
| CN101581518A CN101581518A (en) | 2009-11-18 |
| CN101581518B true CN101581518B (en) | 2011-06-15 |
Family
ID=41363778
Family Applications (1)
| Application Number | Title | Priority Date | Filing Date |
|---|---|---|---|
| CN2009100747305A Expired - Fee Related CN101581518B (en) | 2009-06-12 | 2009-06-12 | Transcritical CO2 energy-saving heat pump system of solar supplementary heat source |
Country Status (1)
| Country | Link |
|---|---|
| CN (1) | CN101581518B (en) |
Families Citing this family (14)
| Publication number | Priority date | Publication date | Assignee | Title |
|---|---|---|---|---|
| CN102109248A (en) * | 2011-03-21 | 2011-06-29 | 冼泰来 | Transcritical carbon dioxide solar air conditioning water heater |
| CN102168871B (en) * | 2011-03-24 | 2013-01-09 | 上海交通大学 | Solar assisted carbon dioxide heat pump united air-conditioning system |
| CN102798250B (en) * | 2012-08-30 | 2015-02-25 | 华北电力大学(保定) | Double-heat-source trans-critical carbon-dioxide multifunctional heat-pump system |
| CN103397990B (en) * | 2013-08-02 | 2015-11-18 | 华北电力大学(保定) | The hybrid power system of photovoltaic photo-thermal heat collector assistant coal unit |
| CN103742966B (en) * | 2014-01-06 | 2016-01-06 | 昆明东启科技股份有限公司 | A kind of CO2 heat pump and solar energy complementary operation central heating system |
| CN103790662B (en) * | 2014-01-29 | 2015-10-07 | 中国科学院力学研究所 | Trans-critical cycle power circulating device and method |
| CN107587942A (en) * | 2016-07-08 | 2018-01-16 | 华北电力大学(保定) | A kind of light decomposes CO2The technology of afterburning dynamical system |
| CN108240235A (en) * | 2017-05-26 | 2018-07-03 | 华北电力大学(保定) | A kind of non-compensation combustion type liquefied air energy-storing and power-generating system |
| CN108240242A (en) * | 2017-05-26 | 2018-07-03 | 华北电力大学(保定) | A kind of Novel cold-storage liquefied air energy-storing and power-generating system |
| CN108252751A (en) * | 2018-01-09 | 2018-07-06 | 华北电力大学(保定) | A kind of liquefied air energy-storing and power-generating system for efficiently using liquid air cold energy |
| CN111059788A (en) * | 2019-12-27 | 2020-04-24 | 天津商业大学 | A Novel CO2 Ice Storage System |
| CN113819671B (en) * | 2021-10-21 | 2022-12-27 | 湖南大学 | Power generation and refrigeration combined system based on carbon dioxide |
| CN115479406B (en) * | 2022-04-21 | 2023-06-16 | 浙江理工大学 | Carbon-absorbing type air source heat pump composite system |
| CN116517799B (en) * | 2023-04-26 | 2025-11-11 | 西安热工研究院有限公司 | Carbon dioxide circulating photo-thermal power generation system and method |
Citations (4)
| Publication number | Priority date | Publication date | Assignee | Title |
|---|---|---|---|---|
| CN2733216Y (en) * | 2004-09-20 | 2005-10-12 | 天津大学 | Rotatable window type heat pump system |
| JP2007132622A (en) * | 2005-11-11 | 2007-05-31 | Daikin Ind Ltd | Heat pump water heater |
| CN101137873A (en) * | 2005-03-15 | 2008-03-05 | 大金工业株式会社 | freezer |
| CN201425392Y (en) * | 2009-06-12 | 2010-03-17 | 华北电力大学(保定) | A solar auxiliary heat source carbon dioxide transcritical energy-saving heat pump system |
-
2009
- 2009-06-12 CN CN2009100747305A patent/CN101581518B/en not_active Expired - Fee Related
Patent Citations (4)
| Publication number | Priority date | Publication date | Assignee | Title |
|---|---|---|---|---|
| CN2733216Y (en) * | 2004-09-20 | 2005-10-12 | 天津大学 | Rotatable window type heat pump system |
| CN101137873A (en) * | 2005-03-15 | 2008-03-05 | 大金工业株式会社 | freezer |
| JP2007132622A (en) * | 2005-11-11 | 2007-05-31 | Daikin Ind Ltd | Heat pump water heater |
| CN201425392Y (en) * | 2009-06-12 | 2010-03-17 | 华北电力大学(保定) | A solar auxiliary heat source carbon dioxide transcritical energy-saving heat pump system |
Also Published As
| Publication number | Publication date |
|---|---|
| CN101581518A (en) | 2009-11-18 |
Similar Documents
| Publication | Publication Date | Title |
|---|---|---|
| CN101581518B (en) | Transcritical CO2 energy-saving heat pump system of solar supplementary heat source | |
| CN102778079B (en) | Combined heat pump system with solar injection and two-stage compression | |
| CN100470170C (en) | Solar assisted air source transcritical carbon dioxide heat pump integrated air conditioning system | |
| CN100498128C (en) | Low grade energy driven and mechanical power driven composite heat pump, refrigeration system | |
| CN102116539B (en) | Adsorption and compression composite heat pump system driven by multiple heat sources | |
| CN101008537A (en) | Integrated air-conditioning system of solar-assisted soil source CO2 trans-critical heat pump | |
| CN104848584A (en) | Combined heat pump system with solar injection and solar photovoltaic steam injection and compression | |
| CN203586629U (en) | Air source heat pump air conditioning unit with multiple switchable heat exchangers | |
| CN201440013U (en) | Air conditioning unit | |
| CN108105833A (en) | CO is subcooled in a kind of mechanical assistance2Trans-critical cycle heat pump heating system | |
| CN113915794A (en) | A cooling and heating method for a multi-energy complementary cooling/heating energy storage system | |
| CN102759219B (en) | Energy-saving heat pump hot water air conditioner and working method thereof | |
| CN101806515B (en) | High-efficiency hot water tri-generation system for solar air conditioner | |
| CN112066586A (en) | An efficient utilization of waste heat and multi-refrigerant circulation system | |
| CN101424452B (en) | Multifunctional heat pump water heating machine easy for defrosting | |
| CN103485850B (en) | Timesharing generating/air conditioner integrated system and method for work thereof | |
| CN201425392Y (en) | A solar auxiliary heat source carbon dioxide transcritical energy-saving heat pump system | |
| CN102494439A (en) | Photovoltaic photo-thermal energy-storage heat pump system | |
| CN202018156U (en) | Energy-saving heat pump hot water air conditioner | |
| CN204648741U (en) | Solar energy jetting sprays with photovoltaic steam and compresses associating heat pump | |
| CN102798250B (en) | Double-heat-source trans-critical carbon-dioxide multifunctional heat-pump system | |
| CN104713269A (en) | Multi-heat-exchanger switching ground source heat pump hot water unit | |
| CN214172433U (en) | Water source heat pump groundwater formula vortex internal conversion heat recovery unit | |
| CN210861299U (en) | Thermoelectric super-cooling trans-critical CO2Heat pump combined heating system | |
| CN203893493U (en) | Hot and cold water type geothermal heat pump system with function of heat recovery |
Legal Events
| Date | Code | Title | Description |
|---|---|---|---|
| C06 | Publication | ||
| PB01 | Publication | ||
| C10 | Entry into substantive examination | ||
| SE01 | Entry into force of request for substantive examination | ||
| C14 | Grant of patent or utility model | ||
| GR01 | Patent grant | ||
| C17 | Cessation of patent right | ||
| CF01 | Termination of patent right due to non-payment of annual fee |
Granted publication date: 20110615 Termination date: 20120612 |

