CN101364716A - Clamp type hot-line work fastener and using method - Google Patents
Clamp type hot-line work fastener and using method Download PDFInfo
- Publication number
- CN101364716A CN101364716A CNA2007101146369A CN200710114636A CN101364716A CN 101364716 A CN101364716 A CN 101364716A CN A2007101146369 A CNA2007101146369 A CN A2007101146369A CN 200710114636 A CN200710114636 A CN 200710114636A CN 101364716 A CN101364716 A CN 101364716A
- Authority
- CN
- China
- Prior art keywords
- fastening
- fastening bolt
- clamp
- screw
- fixture
- Prior art date
- Legal status (The legal status is an assumption and is not a legal conclusion. Google has not performed a legal analysis and makes no representation as to the accuracy of the status listed.)
- Granted
Links
Landscapes
- Electric Cable Installation (AREA)
Abstract
本发明涉及工具领域,具体地说是一种更换输电线路中合成绝缘子的钳型带电作业卡具及使用方法,其由设有U型槽和丝杠孔的卡具体、带定位块的丝杠和丝杠扳手组成,特征是卡具体上设有紧固槽,紧固槽内设有紧固栓,紧固栓上设有紧固钩,本发明改变了原直线卡具的功能单一性,能够适用于目前所有类型直线塔,由于紧固件的原因,卡具不存在松动倾斜的现象,且横担角铁两面都受力不易产生变形等现象,具有操作灵活、实用性强、工作效率高、安全性高等优点。
The invention relates to the field of tools, in particular to a pincer-type live work jig for replacing composite insulators in power transmission lines and a method for using it. Composed of a lead screw wrench, the feature is that the clamp body is provided with a fastening groove, a fastening bolt is arranged in the fastening groove, and a fastening hook is arranged on the fastening bolt. The present invention changes the single function of the original linear fixture, It can be applied to all types of straight towers at present. Due to the reason of the fasteners, the fixture does not have the phenomenon of loosening and tilting, and the two sides of the cross-arm angle iron are stressed and are not easy to deform. It has flexible operation, strong practicability and high work efficiency. High, high security advantages.
Description
技术领域: Technical field:
本发明涉及工具领域,具体地说是一种更换输电线路中合成绝缘子的钳型带电作业卡具及使用方法。The invention relates to the field of tools, in particular to a pincer-type live work jig for replacing synthetic insulators in power transmission lines and a method for using it.
背景技术: Background technique:
众所周知,绝缘子是输电线路中的易损件,更换绝缘子时一般使用直线卡具,直线卡具由设有U型槽和丝杠孔的卡具体、带定位块的丝杠和丝杠扳手组成,卡具体上卡槽一侧设有紧固螺丝柄,丝杠孔可以设置有与丝杠相啮合的螺纹,也可以在卡具体上设置与丝杠相啮合卡槽和导柱,这种卡具只能适用于直线水泥杆及单回直线塔,应用于水泥杆时卡具安装在绝缘子挂点上方角铁上,由于铁塔的横担绝缘子挂点处角铁的长度比水泥杆的短1/3左右,所以铁塔上使用的直线卡具只能安装在横担两边的角铁上使用,由于角铁长短和规格存在差异,横担两边角铁的承力系数明显降低,这样一来,卡具不能在双回路塔、下压较大塔和大跨越档距塔等特殊直线塔使用,另外,这种卡具卡在横担两边的角铁上使用会使卡具与导线的竖直方向存在一定的夹角,卡具U型槽的开口方向恰好与导线相同,使得卡具的丝杠不能沿导线垂直方向摆动,限制了丝杠和卡具的可操作性,由于U型槽和丝杠间只存在1-2mm间隙,按照目前所有类型直线铁塔横担结构情况,当卡具丝杠倾角大于5°时,丝杠和卡具会存在死角出现卡死现象,丝杠单边受力过大,操作十分困难,而且存在很不安全因素。As we all know, insulators are wearing parts in power transmission lines. When replacing insulators, linear clamps are generally used. The linear clamps are composed of a clamp body with a U-shaped groove and a screw hole, a screw with a positioning block and a screw wrench. There is a fastening screw handle on one side of the card slot on the clamp body, and the screw hole can be provided with a thread that meshes with the lead screw, or a card slot and a guide post that engage with the screw screw can be provided on the clamp body. It can only be applied to straight cement poles and single-circuit straight towers. When applied to cement poles, the fixture is installed on the angle iron above the insulator hanging point, because the length of the angle iron at the cross arm insulator hanging point of the iron tower is 1/2 shorter than that of the cement pole. 3 or so, so the straight line clamps used on the iron tower can only be installed on the angle irons on both sides of the cross arm. Due to the differences in the length and specifications of the angle irons, the bearing coefficient of the angle irons on both sides of the cross arm is significantly reduced. The fixture cannot be used on special straight-line towers such as double-circuit towers, large down-pressure towers, and long-span span towers. In addition, the use of this fixture on the angle irons on both sides of the cross arm will cause the vertical direction of the fixture and the wire to exist. At a certain angle, the opening direction of the U-shaped groove of the fixture is exactly the same as the wire, so that the lead screw of the fixture cannot swing along the vertical direction of the wire, which limits the operability of the lead screw and the fixture. Due to the U-shaped groove and the lead screw There is only a 1-2mm gap between them. According to the current structure of all types of straight iron tower crossarms, when the inclination angle of the lead screw of the fixture is greater than 5°, there will be dead angles between the lead screw and the fixture, and the lead screw will be stuck. Large, very difficult to operate, and there are very unsafe factors.
发明内容: Invention content:
本发明的目的是克服上述现有技术的不足,提供一种操作灵活、实用性强、安全性好的钳型带电作业卡具及使用方法。The purpose of the present invention is to overcome the shortcomings of the above-mentioned prior art, and provide a clamp-type live work fixture with flexible operation, strong practicability and good safety and its use method.
本发明可以通过如下措施达到:The present invention can reach through following measures:
一种钳型带电作业卡具,由设有U型槽和丝杠孔的卡具体、带定位块的丝杠和丝杠扳手组成,其特征是卡具体上设有紧固槽,紧固槽内设有紧固栓,紧固栓上设有紧固钩。A pliers-type fixture for live work, consisting of a clamp body with a U-shaped groove and a screw hole, a screw with a positioning block, and a screw wrench. It is characterized in that the clamp body is provided with a fastening groove, and the fastening groove A fastening bolt is arranged inside, and a fastening hook is arranged on the fastening bolt.
本发明可以在紧固槽内设有T型垫,紧固栓经T型垫与紧固槽相连接,以增加本发明的操控性和使用寿命。In the present invention, a T-shaped pad can be provided in the fastening groove, and the fastening bolt is connected with the fastening groove through the T-shaped pad, so as to increase the handling and service life of the present invention.
本发明中紧固钩上可以设有螺纹和带旋柄的螺母,紧固钩经紧固栓上设有的通孔与紧固栓相连接,以扩大本发明的应用范围。In the present invention, the fastening hook can be provided with a screw thread and a nut with a handle, and the fastening hook is connected with the fastening bolt through the through hole provided on the fastening bolt, so as to expand the scope of application of the present invention.
本发明的使用方法为:The using method of the present invention is:
1、将钳型带电作业卡具的U型槽接卡在绝缘子上方的角铁上,1. Connect the U-shaped groove of the clamp-type live work fixture to the angle iron above the insulator,
2、调整紧固钩和紧固栓的相对位置,与角铁卡紧,2. Adjust the relative position of the fastening hook and the fastening bolt, and clamp it with the angle iron.
3、用丝杠扳手调节带定位块的丝杠,启吊电缆。3. Use the screw wrench to adjust the screw with the positioning block to start and lift the cable.
本发明改变了原直线卡具的功能单一性,能够适用于目前所有类型直线塔,由于紧固件的原因,卡具不存在松动倾斜的现象,且横担角铁两面都受力不易产生变形等现象,具有操作灵活、实用性强、工作效率高、安全性高等优点。The present invention changes the single function of the original straight line fixture, and can be applied to all types of straight line towers at present. Due to the reason of the fasteners, the fixture does not have the phenomenon of loosening and tilting, and both sides of the cross-arm angle iron are stressed and are not easy to deform. It has the advantages of flexible operation, strong practicability, high work efficiency and high safety.
附图说明: Description of drawings:
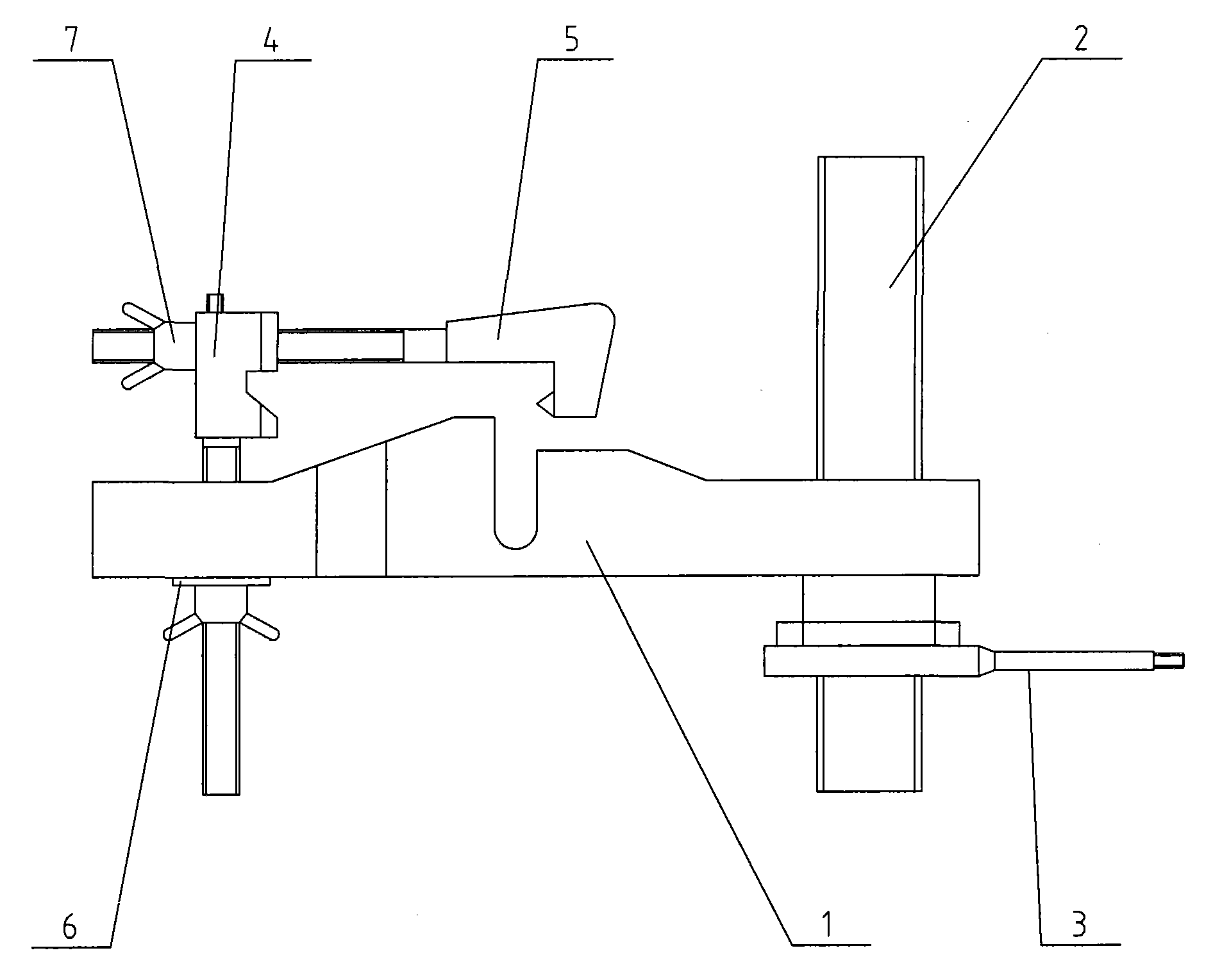
图1是本发明的结构示意图。Fig. 1 is a structural schematic diagram of the present invention.
具体实施方式: Detailed ways:
下面结合附图对本发明作进一步描述:The present invention will be further described below in conjunction with accompanying drawing:
如附图所示,一种钳型带电作业卡具,由设有U型槽和丝杠孔的卡具体1、带定位块的丝杠2和丝杠扳手3组成,上述与现有技术相同,此不赘述,本发明的特征是卡具体1上设有紧固槽,紧固槽内设有紧固栓4,紧固栓4上设有紧固钩5,本发明可以在紧固槽内设有T型垫6,紧固栓4经T型垫6与紧固槽相连接,以增加本发明的操控性和使用寿命,本发明中紧固钩5上可以设有螺纹和带旋柄的螺母7,紧固钩5经紧固栓4上设有的通孔与紧固栓4相连接,以扩大本发明的应用范围,本发明的使用方法为:先将钳型带电作业卡具的U型槽接卡在绝缘子上方的角铁上;再调整紧固钩和紧固栓的相对位置,与角铁卡紧;最后用丝杠扳手调节带定位块的丝杠,启吊电缆。As shown in the accompanying drawings, a pincer-type live work clamp is composed of a clamp body 1 with a U-shaped groove and a screw hole, a screw 2 with a positioning block, and a screw wrench 3. The above is the same as the prior art , this will not go into details, the feature of the present invention is that the card body 1 is provided with a fastening groove, the fastening groove is provided with a fastening bolt 4, and the fastening bolt 4 is provided with a fastening hook 5, the present invention can be used in the fastening groove A T-shaped pad 6 is provided inside, and the fastening bolt 4 is connected with the fastening groove through the T-shaped pad 6 to increase the handling and service life of the present invention. The nut 7 of the shank, the fastening hook 5 are connected with the fastening bolt 4 through the through hole provided on the fastening bolt 4, so as to expand the scope of application of the present invention. The U-shaped groove of the tool is connected to the angle iron above the insulator; then adjust the relative position of the fastening hook and the fastening bolt, and clamp it with the angle iron; finally, use the screw wrench to adjust the lead screw with the positioning block to lift the cable .
Claims (4)
Priority Applications (1)
| Application Number | Priority Date | Filing Date | Title |
|---|---|---|---|
| CN2007101146369A CN101364716B (en) | 2007-11-16 | 2007-11-16 | Clamp type hot-line work fastener and using method |
Applications Claiming Priority (1)
| Application Number | Priority Date | Filing Date | Title |
|---|---|---|---|
| CN2007101146369A CN101364716B (en) | 2007-11-16 | 2007-11-16 | Clamp type hot-line work fastener and using method |
Publications (2)
| Publication Number | Publication Date |
|---|---|
| CN101364716A true CN101364716A (en) | 2009-02-11 |
| CN101364716B CN101364716B (en) | 2011-11-30 |
Family
ID=40390937
Family Applications (1)
| Application Number | Title | Priority Date | Filing Date |
|---|---|---|---|
| CN2007101146369A Expired - Fee Related CN101364716B (en) | 2007-11-16 | 2007-11-16 | Clamp type hot-line work fastener and using method |
Country Status (1)
| Country | Link |
|---|---|
| CN (1) | CN101364716B (en) |
Cited By (5)
| Publication number | Priority date | Publication date | Assignee | Title |
|---|---|---|---|---|
| CN102074909A (en) * | 2010-10-28 | 2011-05-25 | 福建省电力有限公司漳州电业局 | Adjustable cross arm straight fixture |
| CN105401776A (en) * | 2015-11-20 | 2016-03-16 | 国家电网公司 | Device for supporting transmission conductor in process of replacing electric pole |
| CN107882502A (en) * | 2017-12-21 | 2018-04-06 | 国网河北省电力有限公司衡水供电分公司 | The offline special-purpose ladder fixing device of steel pipe pole cross-arm |
| CN111130008A (en) * | 2019-12-19 | 2020-05-08 | 国网浙江龙游县供电有限公司 | Adjustable drainage spreader |
| CN111130014A (en) * | 2020-02-12 | 2020-05-08 | 广东电网有限责任公司电力科学研究院 | Angle steel cross arm clamp for replacing pole tower insulator |
Family Cites Families (3)
| Publication number | Priority date | Publication date | Assignee | Title |
|---|---|---|---|---|
| CN2528135Y (en) * | 2001-11-01 | 2002-12-25 | 固原供电局设备安装检修工程公司 | Linear clamping apparatus of charged changing tower type insulating chain |
| CN2912028Y (en) * | 2006-06-16 | 2007-06-13 | 冯海潮 | Live replacing device for compact six-line insulator string |
| CN201118146Y (en) * | 2007-11-16 | 2008-09-17 | 威海供电公司 | Clamp type hot-line work fixture |
-
2007
- 2007-11-16 CN CN2007101146369A patent/CN101364716B/en not_active Expired - Fee Related
Cited By (6)
| Publication number | Priority date | Publication date | Assignee | Title |
|---|---|---|---|---|
| CN102074909A (en) * | 2010-10-28 | 2011-05-25 | 福建省电力有限公司漳州电业局 | Adjustable cross arm straight fixture |
| CN105401776A (en) * | 2015-11-20 | 2016-03-16 | 国家电网公司 | Device for supporting transmission conductor in process of replacing electric pole |
| CN107882502A (en) * | 2017-12-21 | 2018-04-06 | 国网河北省电力有限公司衡水供电分公司 | The offline special-purpose ladder fixing device of steel pipe pole cross-arm |
| CN107882502B (en) * | 2017-12-21 | 2024-01-30 | 国网河北省电力有限公司衡水供电分公司 | Special ladder fixing device for steel pipe pole cross arm offline |
| CN111130008A (en) * | 2019-12-19 | 2020-05-08 | 国网浙江龙游县供电有限公司 | Adjustable drainage spreader |
| CN111130014A (en) * | 2020-02-12 | 2020-05-08 | 广东电网有限责任公司电力科学研究院 | Angle steel cross arm clamp for replacing pole tower insulator |
Also Published As
| Publication number | Publication date |
|---|---|
| CN101364716B (en) | 2011-11-30 |
Similar Documents
| Publication | Publication Date | Title |
|---|---|---|
| CN201398032Y (en) | Hanging ring fixing device for iron tower angle steel pulley suspension | |
| CN201315445Y (en) | Slinger fixing device for hanging iron tower angle steel pulley | |
| CN111262180A (en) | Quick installation wire clamp assembly for live line work | |
| CN101364716B (en) | Clamp type hot-line work fastener and using method | |
| CN203542488U (en) | Steel-cable stay wire device | |
| CN209766678U (en) | Live loading and unloading clamp | |
| CN201118146Y (en) | Clamp type hot-line work fixture | |
| CN201656012U (en) | Clamps for repairing live conductors by indirect method on transmission lines | |
| CN205148170U (en) | Electrified fastening bolt instrument of transmission line | |
| CN102738737B (en) | The general suspension string holder of steel pipe tower head | |
| CN204809744U (en) | Wire end broadsword type load support fixture and insulator chain change device | |
| CN205377194U (en) | Auto -lock cable fixing device | |
| CN211405280U (en) | Quick installation wire clamp assembly for live line work | |
| CN104348111A (en) | Lead backup protection device for live replacement of tension insulator string, and mounting method thereof | |
| CN203839879U (en) | Multifunction lead clamping device with die | |
| CN206575086U (en) | Insulate turnbuckle plate pulling device | |
| CN203233103U (en) | Installation tool for electrical inspection grounding ring | |
| CN104143781B (en) | Live installation method of electrical inspection grounding ring and installation tool for electrical inspection grounding ring | |
| CN102386586A (en) | Tension resistance porcelain replacement device | |
| CN203456795U (en) | Conductor-side link plate clamping tool for replacing four-split conductor duplex strain insulator string | |
| CN204793832U (en) | Join in marriage electrified maintenance in many loop lines of net way and carry lineman's utensil | |
| CN102420402A (en) | New Technology of Live Fastening Drainage Wire Clamp | |
| CN104201602B (en) | A kind of UHV transmission line bunch of insulator charged for replacement method and gold utensil thereof | |
| CN104201606B (en) | A kind of 800KV strain insulator strings disengaging fixture | |
| CN204938742U (en) | Transmission of electricity steel pipe pole compound type ground wire lifting tool |
Legal Events
| Date | Code | Title | Description |
|---|---|---|---|
| C06 | Publication | ||
| PB01 | Publication | ||
| C10 | Entry into substantive examination | ||
| SE01 | Entry into force of request for substantive examination | ||
| C14 | Grant of patent or utility model | ||
| GR01 | Patent grant | ||
| ASS | Succession or assignment of patent right |
Owner name: SHANDONG ELECTRIC POWER GROUP COMPANY WEIHAI POWER Effective date: 20130106 Owner name: STATE ELECTRIC NET CROP. Free format text: FORMER OWNER: WEIHAI POWER SUPPLY COMPANY Effective date: 20130106 |
|
| C41 | Transfer of patent application or patent right or utility model | ||
| COR | Change of bibliographic data |
Free format text: CORRECT: ADDRESS; FROM: 264200 WEIHAI, SHANDONG PROVINCE TO: 100761 XICHENG, BEIJING |
|
| TR01 | Transfer of patent right |
Effective date of registration: 20130106 Address after: 100761 Beijing city Xicheng District Baiguang road two No. 1 Patentee after: State Grid Corporation of China Patentee after: WEIHAI POWER SUPPLY COMPANY OF SHANDONG ELECTRIC POWER Corp. Address before: 1210, room 23, 264200 Kunming Road, Shandong, Weihai Patentee before: WEIHAI POWER SUPPLY Co. |
|
| CF01 | Termination of patent right due to non-payment of annual fee |
Granted publication date: 20111130 |
|
| CF01 | Termination of patent right due to non-payment of annual fee |
