CN100526536C - Crimple eliminating machine for cylindrical shape knitting cloth - Google Patents
Crimple eliminating machine for cylindrical shape knitting cloth Download PDFInfo
- Publication number
- CN100526536C CN100526536C CNB2007100200116A CN200710020011A CN100526536C CN 100526536 C CN100526536 C CN 100526536C CN B2007100200116 A CNB2007100200116 A CN B2007100200116A CN 200710020011 A CN200710020011 A CN 200710020011A CN 100526536 C CN100526536 C CN 100526536C
- Authority
- CN
- China
- Prior art keywords
- cloth
- frame
- roller
- driven
- motor
- Prior art date
- Legal status (The legal status is an assumption and is not a legal conclusion. Google has not performed a legal analysis and makes no representation as to the accuracy of the status listed.)
- Expired - Fee Related
Links
Landscapes
- Treatment Of Fiber Materials (AREA)
Abstract
本发明提供一种圆筒形针织布去皱机。包括机架、电机、主动压辊、从动压辊、风机、引布辊、通风管;机架的上端通过轴承装有引布辊,引布辊的下方设有布桶,布桶内设有通风管,通风管的下端与风机相通连;通风管的上端设有出风口;两只从动压辊通过轴承座对称地固定于通风管的两侧,在机架上装有两只由电机驱动的主动压辊,两只主动压辊与两只从动压辊相对应,构成两组主、从动压辊,布匹的两道折痕分别置于两组主、从动压辊之间,通过主动压辊和从动压辊的压力和转动,而压平死折痕。本发明结构简单、设计合理,能有效去除死折痕,较现有撑幅装置对布匹的伤害小,保证了针织布的质量,且工作效率高,处理成本低,提高了经济效益。
The invention provides a cylindrical knitted fabric wrinkle removing machine. Including frame, motor, active pressure roller, driven pressure roller, fan, cloth guiding roller, ventilation pipe; the upper end of the frame is equipped with a cloth guiding roller through a bearing, and a cloth bucket is arranged under the cloth guiding roller, and a cloth bucket is installed in the cloth bucket. There is a ventilation pipe, and the lower end of the ventilation pipe is connected with the fan; the upper end of the ventilation pipe is provided with an air outlet; two driven pressure rollers are symmetrically fixed on both sides of the ventilation pipe through the bearing seat, and two motors are installed on the frame. Driven active pressure rollers, two active pressure rollers correspond to two driven pressure rollers, forming two sets of main and driven pressure rollers, and the two creases of the cloth are respectively placed between the two sets of main and driven pressure rollers , through the pressure and rotation of the active pressure roller and the driven pressure roller to flatten the dead crease. The invention has simple structure and reasonable design, can effectively remove dead creases, has less damage to cloth than the existing spreader, ensures the quality of knitted cloth, has high work efficiency, low processing cost, and improves economic benefits.
Description
所属技术领域 Technical field
本发明涉及一种织物去皱装置,特别是一种圆筒形针织布去皱机。The invention relates to a fabric wrinkle removing device, in particular to a cylindrical knitted fabric wrinkle removing machine.
背景技术 Background technique
随着我国纺织业的发展和人们生活水平的不断提高,特别是与国际接轨后,纺织品的出口日益增加,人们对纺织品的质量要求也越来越高。然而,对于圆筒形针织布一直存在着一个难以解决的问题:严重影响产品外观质量的死折痕。对于这一难题,人们采取了许多措施,如:漂染加工前将毛坯布开幅,用高温定型机预定型;在漂染工序中加入柔软剂、防皱剂,加大漂染浴比,以减少布与布之间的挤压等;或者,在漂染后,采用撑幅装置,将布匹横向撑开,增大幅宽,以去除死折痕。中国专利ZL200420062137.1公开了一种圆筒形针织布平整整理机,将漂染加工后潮湿的圆筒形针织布进行强力横向拉伸,把门幅扩大到原来的1.5至2倍,此时针织布针圈发生变化,撑幅后针织圈中纱线间接触点大幅度向两边移动,针圈中部纱线几乎被拉直,然后再在汽蒸条件下对布匹进行纵向拉伸,使横向恢复到撑幅前的幅宽,针圈形状也随之复原,以消除死折痕。虽然采用上述平整整理机对漂染工序后的布匹进行平整,可以去除死折痕,但是,此时折痕形成的时间已较长,对布匹质量已产生一定的影响。并且,强力的横向撑幅、纵向拉伸,给布匹造成再次伤害。此外,横向撑幅、纵向拉伸需在汽蒸条件下进行,使得平整整理机的结构较为复杂。With the development of my country's textile industry and the continuous improvement of people's living standards, especially after being in line with international standards, the export of textiles is increasing day by day, and people's requirements for the quality of textiles are also getting higher and higher. However, there has always been a problem that is difficult to solve for circular knitted fabrics: dead creases that seriously affect the appearance quality of products. For this problem, people have taken many measures, such as: opening the rough cloth before bleaching and dyeing, and presetting it with a high-temperature setting machine; Squeeze with the cloth, etc.; or, after bleaching and dyeing, use a stretcher to spread the cloth horizontally to increase the width to remove dead creases. Chinese patent ZL200420062137.1 discloses a cylindrical knitted fabric leveling machine, which stretches the wet cylindrical knitted fabric after bleaching and dyeing in a strong transverse direction, and expands the door width to 1.5 to 2 times the original width. At this time, the knitted fabric The needle loop changes, and the contact between the yarns in the knitting circle moves to both sides greatly after the stretching, and the yarn in the middle of the needle loop is almost straightened, and then the cloth is stretched longitudinally under steaming conditions to restore the horizontal direction to The width before the spreader and the shape of the needle loop are also restored to eliminate dead creases. Although the above-mentioned leveling machine is used to level the cloth after the bleaching and dyeing process, dead creases can be removed, but at this time, the creases have been formed for a long time, which has a certain impact on the quality of the cloth. Moreover, the strong horizontal stretching and longitudinal stretching will cause further damage to the cloth. In addition, transverse stretching and longitudinal stretching must be carried out under steaming conditions, which makes the structure of the skin-pass finishing machine more complicated.
发明内容 Contents of the invention
为克服现有技术的不足之处,本发明提供一种结构简单、设计合理、可在漂染工序前使用、对布匹损伤小的圆筒形针织布去皱机。In order to overcome the disadvantages of the prior art, the invention provides a cylindrical knitted fabric wrinkle remover with simple structure, reasonable design, which can be used before the bleaching and dyeing process, and has little damage to the fabric.
本发明解决其技术问题所采用的技术方案是:包括机架、电机、主动压辊、从动压辊、风机、引布辊、通风管;机架的上端通过轴承装有引布辊,该引布辊可随其与布匹产生的摩擦力而转动,将待整布匹引入机内;引布辊的下方设有布桶,布桶内设有通风管,通风管的下端与风机相通连;通风管的上端设有出风口;两只从动压辊通过轴承座对称地固定于通风管的两侧,在机架上装有两只由电机驱动的主动压辊,两只主动压辊与两只从动压辊相对应,构成两组主、从动压辊,布匹的两道折痕分别置于两组主、从动压辊之间,通过压力和主动压辊、从动压辊的转动、使布匹向下运行,而压平死折痕。The technical scheme that the present invention adopts to solve its technical problem is: comprise frame, motor, driving pressure roller, driven pressure roller, blower fan, cloth leading roller, ventilation pipe; The upper end of frame is equipped with cloth leading roller through bearing, and this The cloth guiding roller can rotate with the friction generated by it and the cloth, and introduce the finished cloth into the machine; there is a cloth bucket under the cloth guiding roller, and a ventilation pipe is arranged in the cloth bucket, and the lower end of the ventilation pipe is connected with the fan; The upper end of the ventilation pipe is provided with an air outlet; two driven pressure rollers are symmetrically fixed on both sides of the ventilation pipe through bearing seats, and two active pressure rollers driven by motors are installed on the frame. Only the driven pressure rollers correspond to form two sets of main and driven pressure rollers. The two creases of the cloth are respectively placed between the two sets of main and driven pressure rollers. Turn and run the fabric down, flattening dead creases.
在通风管的上端装有可将布匹撑呈圆筒形的撑布架。The upper end of the ventilation pipe is equipped with a cloth support frame that can support the cloth into a cylindrical shape.
上述主动压辊和电机固定地装于电机架上,该电机架的两端置于机架上的滑槽内,电机架与固定于机架上的气缸相连。这样,通过气缸的动作,带动电机架在机架的滑槽内移动,从而使主动压辊的运动,实现主动压辊与从动压辊的压合与分离。The above-mentioned active pressing roller and the motor are fixedly installed on the motor frame, the two ends of the motor frame are placed in the chute on the frame, and the motor frame is connected with the cylinder fixed on the frame. In this way, through the action of the air cylinder, the motor frame is driven to move in the chute of the frame, so that the movement of the active pressure roller is realized to realize the pressing and separation of the active pressure roller and the driven pressure roller.
上述主动压辊为橡胶辊。The above-mentioned active pressure roller is a rubber roller.
上述从动压辊为钢辊。The above-mentioned driven pressure roller is a steel roller.
工作时,将前道工序而来的圆筒形针织布经引布辊引至机架的上部,用撑布架将布匹撑呈圆筒形,并使圆筒形针织布的两道死折痕分别置于两组主动压辊和从动压辊之间,调节气缸,使主动压辊压向从动压辊,至适合的压力。启动风机,风力从通风管的下端进入通风管,再从其上端的出风口吹出,利用风力将圆筒形的针织布撑得更开。启动电机.带动主动压辊转动,将夹置在主动压辊与从动压辊之间的圆筒形针织布向下移动,同时,对死折痕进行压平,压平后的针织布落入布桶内。When working, guide the cylindrical knitted fabric from the previous process to the upper part of the machine frame through the fabric guide roller, use the cloth support frame to support the cloth into a cylindrical shape, and make the two dead folds of the cylindrical knitted fabric The marks are respectively placed between two sets of driving rollers and driven rollers, and the cylinder is adjusted so that the driving rollers press against the driven rollers to a suitable pressure. Start the fan, the wind enters the ventilation pipe from the lower end of the ventilation pipe, and then blows out from the air outlet at the upper end, and the cylindrical knitted fabric is stretched further by the wind force. Start the motor. Drive the active pressure roller to rotate, move the cylindrical knitted fabric sandwiched between the active pressure roller and the driven pressure roller downward, and at the same time, flatten the dead creases, and the flattened knitted fabric falls into the cloth bucket.
本发明的有益效果在于:利用风力将布匹吹成圆筒形、采用两组主、从动压辊对漂染工序前的圆筒形针织布的两道死折痕进行压平处理,结构简单、设计合理,能有效去除死折痕,较现有撑幅装置对布匹的伤害小,保证了针织布的质量,且工作效率高,处理成本低,提高了经济效益。The beneficial effect of the present invention is that: the cloth is blown into a cylinder by wind force, and the two dead creases of the cylindrical knitted fabric before the bleaching and dyeing process are flattened by two sets of main and driven pressure rollers, the structure is simple, The utility model has reasonable design, can effectively remove dead creases, has less damage to cloth than existing spreader devices, ensures the quality of knitted cloth, has high work efficiency, low processing cost, and improves economic benefits.
附图说明 Description of drawings
图1为本发明实施例的结构示意图。Fig. 1 is a schematic structural diagram of an embodiment of the present invention.
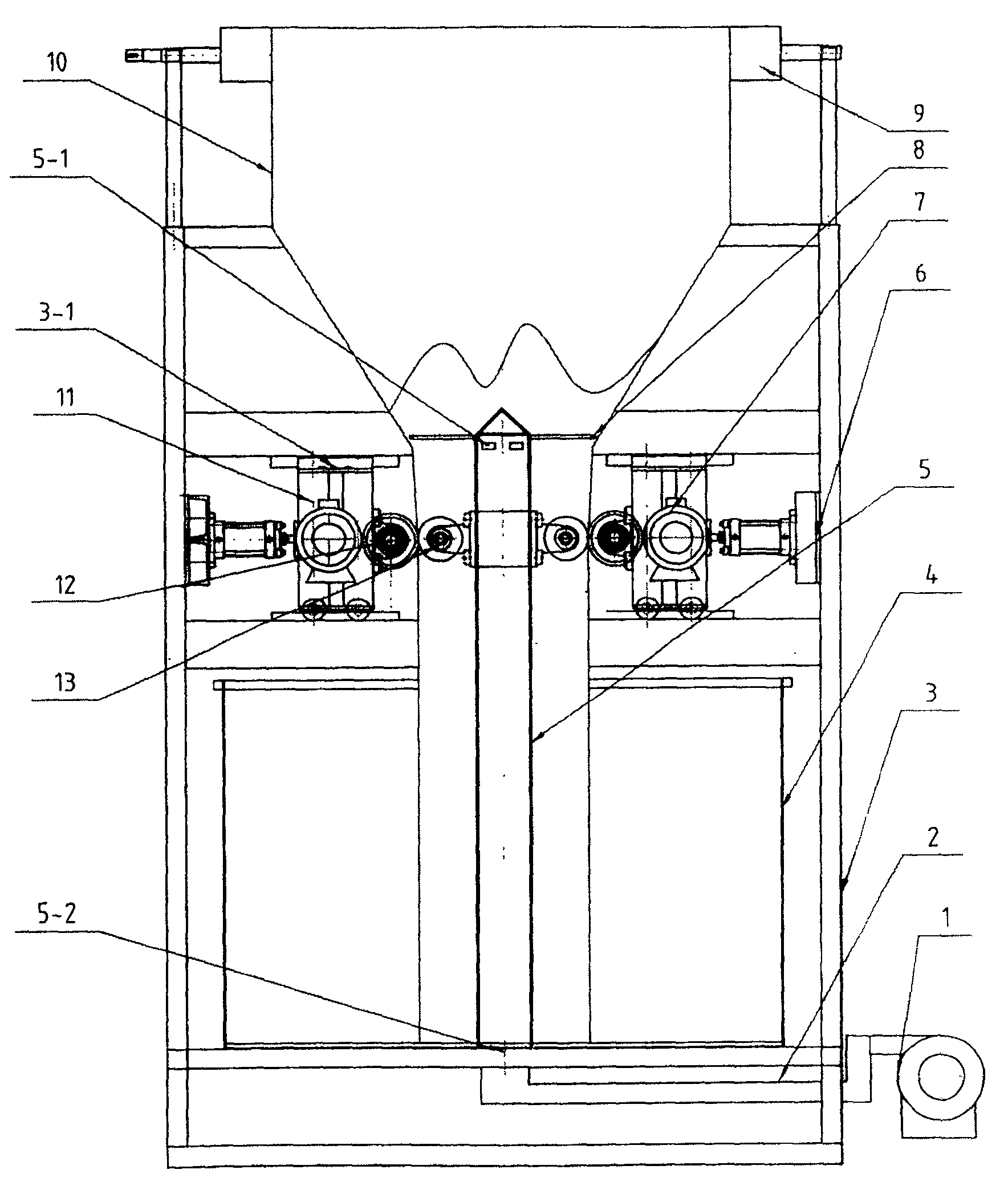
图中:为风机、2为风道、3为机架、3-1为滑槽、4为布桶、5为通风管、5-1为出风口、5-2为进风口、6为气缸、7为电机、8撑布架、9为引布辊、10为布匹、11为电机架、12为主动压辊、13为从动压辊。In the figure: Fan, 2 is the air duct, 3 is the frame, 3-1 is the chute, 4 is the cloth bucket, 5 is the ventilation pipe, 5-1 is the air outlet, 5-2 is the air inlet, 6 is the cylinder , 7 is a motor, 8 is a cloth frame, 9 is a cloth guide roller, 10 is a piece of cloth, 11 is a motor frame, 12 is a driving pressure roller, and 13 is a driven pressure roller.
具体实施方式 Detailed ways
下面结合附图和实施例对本发明作进一步详述。The present invention will be described in further detail below in conjunction with the accompanying drawings and embodiments.
本发明包括:包括机架3、电机7、电机架11、主动压辊12、从动压辊13、风机1、风道2、引布辊9、通风管5、撑布架8和布桶4;机架3的上端通过轴承装有引布辊9,该引布辊9可将待整理的布匹10引入机内,它可随其与布匹10产生的摩擦力而转动;引布辊9的下方设有布桶4,布桶4内同心地设有通风管5,中空的通风管5的底部进风口5-2通过风道2与风机1相通连;通风管5的上端密封,上端侧壁设有数个出风口5-1;在通风管5的上端装有可将布匹10撑呈圆筒形的环形撑布架8。两只为钢辊的从动压辊13,通过轴承座对称地装于通风管5的两侧,位于撑布架8的下方。两只为橡胶辊的主动压辊12和两台电机7分组相连后固定地装于两电机架11上,两电机架11分置于两从动压辊13的两侧,使主动压辊12与从动压辊13相对应。电机架11的两端置于机架3上的滑槽3-1内,电机架11与固定于机架3上的气缸6相连。The present invention includes: frame 3, motor 7, motor frame 11, driving pressure roller 12, driven pressure roller 13, fan 1, air duct 2, cloth guiding roller 9, ventilation pipe 5, cloth support frame 8 and cloth bucket 4 The upper end of the frame 3 is equipped with a cloth-leading roller 9 through a bearing, and the cloth-leading roller 9 can introduce the cloth 10 to be sorted into the machine, and it can rotate with the friction force generated by it and the cloth 10; The cloth barrel 4 is arranged below, and the vent pipe 5 is concentrically arranged in the cloth barrel 4, and the bottom air inlet 5-2 of the hollow vent pipe 5 communicates with the fan 1 through the air duct 2; the upper end of the vent pipe 5 is sealed, and the upper end side The wall is provided with several air outlets 5-1; the upper end of the ventilation pipe 5 is equipped with a circular cloth support frame 8 that can support the cloth 10 in a cylindrical shape. Two driven pressure rollers 13 that are steel rollers are symmetrically installed on both sides of the ventilation pipe 5 through bearing seats, and are positioned under the cloth support frame 8 . Two active pressure rollers 12 that are rubber rollers are connected in groups with two motors 7 and fixedly mounted on two motor frames 11, and the two motor frames 11 are placed on both sides of the two driven pressure rollers 13, so that the active pressure rollers 12 Corresponding to the driven pressure roller 13. The two ends of the motor frame 11 are placed in the chute 3-1 on the frame 3, and the motor frame 11 links to each other with the cylinder 6 fixed on the frame 3.
工作时,将前道工序而来的圆筒形针织布匹10经引布辊9引至机架3的上部,用撑布架8将布匹10撑呈圆筒形,并使布匹10的两道死折痕分别置于两组主动压辊12和从动压辊13之间。调节气缸6,驱动电机架11,使主动压辊12压向从动压辊13,至适合的压力。启动风机1,风力从通风管5的下端进风口5-2进入通风管5内,再从其上端的出风口5-1吹出,利用风力将圆筒形的针织布匹10撑得更开。启动电机7,带动主动压辊12转动,将夹置在主动压辊12与从动压辊13之间的圆筒形针织布匹10向下移动,同时,对死折痕进行压平,压平后的布匹10落入布桶4内。When working, the cylindrical knitted cloth 10 from the previous process is led to the upper part of the frame 3 through the cloth guide roller 9, and the cloth 10 is supported in a cylindrical shape with the cloth support frame 8, and the two layers of the cloth 10 are The dead creases are respectively placed between two groups of active pressing rollers 12 and driven pressing rollers 13 . Adjust the air cylinder 6 to drive the motor frame 11, so that the driving pressure roller 12 is pressed to the driven pressure roller 13 to a suitable pressure. Start blower fan 1, wind power enters in the ventilation pipe 5 from the air inlet 5-2 of the lower end of the ventilation pipe 5, and blows out from the air outlet 5-1 of its upper end again, utilizes the wind force to prop the cylindrical knitted cloth 10 further. Start the motor 7 to drive the active pressure roller 12 to rotate, and move the cylindrical knitted fabric 10 sandwiched between the active pressure roller 12 and the driven pressure roller 13 downwards, and at the same time, flatten the dead creases and flatten them. After cloth 10 falls in the cloth barrel 4.
Claims (4)
Priority Applications (1)
| Application Number | Priority Date | Filing Date | Title |
|---|---|---|---|
| CNB2007100200116A CN100526536C (en) | 2007-02-07 | 2007-02-07 | Crimple eliminating machine for cylindrical shape knitting cloth |
Applications Claiming Priority (1)
| Application Number | Priority Date | Filing Date | Title |
|---|---|---|---|
| CNB2007100200116A CN100526536C (en) | 2007-02-07 | 2007-02-07 | Crimple eliminating machine for cylindrical shape knitting cloth |
Publications (2)
| Publication Number | Publication Date |
|---|---|
| CN101016684A CN101016684A (en) | 2007-08-15 |
| CN100526536C true CN100526536C (en) | 2009-08-12 |
Family
ID=38725897
Family Applications (1)
| Application Number | Title | Priority Date | Filing Date |
|---|---|---|---|
| CNB2007100200116A Expired - Fee Related CN100526536C (en) | 2007-02-07 | 2007-02-07 | Crimple eliminating machine for cylindrical shape knitting cloth |
Country Status (1)
| Country | Link |
|---|---|
| CN (1) | CN100526536C (en) |
Families Citing this family (2)
| Publication number | Priority date | Publication date | Assignee | Title |
|---|---|---|---|---|
| CN104532497B (en) * | 2014-12-23 | 2016-08-24 | 江苏坤风纺织品有限公司 | A kind of cylinder is except trace machine |
| CN105780361A (en) * | 2016-04-12 | 2016-07-20 | 张斐斐 | Automatic flattening device for towel washing and dehydrating machine |
-
2007
- 2007-02-07 CN CNB2007100200116A patent/CN100526536C/en not_active Expired - Fee Related
Also Published As
| Publication number | Publication date |
|---|---|
| CN101016684A (en) | 2007-08-15 |
Similar Documents
| Publication | Publication Date | Title |
|---|---|---|
| CN108100738B (en) | Cloth rolling machine with prevent cloth function of corrugating | |
| CN214529738U (en) | Clothing removes wrinkle setting device | |
| CN114250568A (en) | Rapid fabric ironing device for garment production | |
| CN201010791Y (en) | Cylindrical knitted cloth wrinkle-smoothing machine | |
| CN100526536C (en) | Crimple eliminating machine for cylindrical shape knitting cloth | |
| CN208234219U (en) | A kind of cloth roll inspecting | |
| CN215628776U (en) | High-grade polyamide fibre surface fabric is aftertreatment processingequipment for printing and dyeing equipment | |
| CN207046515U (en) | A kind of efficient wrap-up of weaving cloth | |
| CN212834584U (en) | Wrinkle removing device for home textile printed fabric | |
| CN209957058U (en) | Cloth rolling device for removing cloth clamping marks | |
| CN219099585U (en) | Textile fabric ironing device | |
| CN115434095B (en) | Flattening equipment and method for producing polyester fabric | |
| CN208219210U (en) | A kind of scutcher | |
| CN102560933A (en) | Water squeezer | |
| CN213804426U (en) | A tension setting device for flannel | |
| CN215481772U (en) | Textile fabric hot drawing device for spinning | |
| CN106757923B (en) | Desizing Combined Machine | |
| CN208293247U (en) | Weaving evenness calender convenient to use | |
| CN210946129U (en) | Quick ironing device of textile fabric | |
| CN107761352B (en) | Discharging mechanism for cutting textile fabric | |
| CN221165318U (en) | Automatic cloth paving machine | |
| CN222119665U (en) | Textile fabric wrinkle removing device | |
| CN219824640U (en) | Shaping device with leveling function for soft microfiber leather | |
| CN116427128B (en) | Hydraulic padder system for spinning | |
| CN205368757U (en) | Cloth tent device |
Legal Events
| Date | Code | Title | Description |
|---|---|---|---|
| C06 | Publication | ||
| PB01 | Publication | ||
| C10 | Entry into substantive examination | ||
| SE01 | Entry into force of request for substantive examination | ||
| C14 | Grant of patent or utility model | ||
| GR01 | Patent grant | ||
| C56 | Change in the name or address of the patentee | ||
| CP01 | Change in the name or title of a patent holder |
Address after: 224043 Wolong East Road, Jiangsu province Yancheng City District Dagang Town No. 88 Patentee after: JIANGSU HONGYE MACHINERY Co.,Ltd. Address before: 224043 Wolong East Road, Jiangsu province Yancheng City District Dagang Town No. 88 Patentee before: Yancheng Hongye Machinery Co.,Ltd. |
|
| CF01 | Termination of patent right due to non-payment of annual fee | ||
| CF01 | Termination of patent right due to non-payment of annual fee |
Granted publication date: 20090812 |
