CN100443837C - New Air Refrigeration Multi-functional Controlled Atmosphere Refrigeration and Preservation System - Google Patents

New Air Refrigeration Multi-functional Controlled Atmosphere Refrigeration and Preservation System Download PDF

Info

Publication number
CN100443837C
CN100443837C CNB2007100627802A CN200710062780A CN100443837C CN 100443837 C CN100443837 C CN 100443837C CN B2007100627802 A CNB2007100627802 A CN B2007100627802A CN 200710062780 A CN200710062780 A CN 200710062780A CN 100443837 C CN100443837 C CN 100443837C
Authority
CN
China
Prior art keywords
air
water
ozone
cold
links
Prior art date
Legal status (The legal status is an assumption and is not a legal conclusion. Google has not performed a legal analysis and makes no representation as to the accuracy of the status listed.)
Expired - Fee Related
Application number
CNB2007100627802A
Other languages
Chinese (zh)
Other versions
CN101000205A (en
Inventor
文崇
杨波
Current Assignee (The listed assignees may be inaccurate. Google has not performed a legal analysis and makes no representation or warranty as to the accuracy of the list.)
Individual
Original Assignee
Individual
Priority date (The priority date is an assumption and is not a legal conclusion. Google has not performed a legal analysis and makes no representation as to the accuracy of the date listed.)
Filing date
Publication date
Application filed by Individual filed Critical Individual
Priority to CNB2007100627802A priority Critical patent/CN100443837C/en
Publication of CN101000205A publication Critical patent/CN101000205A/en
Application granted granted Critical
Publication of CN100443837C publication Critical patent/CN100443837C/en
Expired - Fee Related legal-status Critical Current
Anticipated expiration legal-status Critical

Links

Images

Classifications

    • FMECHANICAL ENGINEERING; LIGHTING; HEATING; WEAPONS; BLASTING
    • F25REFRIGERATION OR COOLING; COMBINED HEATING AND REFRIGERATION SYSTEMS; HEAT PUMP SYSTEMS; MANUFACTURE OR STORAGE OF ICE; LIQUEFACTION SOLIDIFICATION OF GASES
    • F25DREFRIGERATORS; COLD ROOMS; ICE-BOXES; COOLING OR FREEZING APPARATUS NOT OTHERWISE PROVIDED FOR
    • F25D2317/00Details or arrangements for circulating cooling fluids; Details or arrangements for circulating gas, e.g. air, within refrigerated spaces, not provided for in other groups of this subclass
    • F25D2317/04Treating air flowing to refrigeration compartments
    • F25D2317/041Treating air flowing to refrigeration compartments by purification
    • F25D2317/0416Treating air flowing to refrigeration compartments by purification using an ozone generator

Landscapes

  • Cold Air Circulating Systems And Constructional Details In Refrigerators (AREA)

Abstract

新式空气制冷多功能气调冷藏保鲜系统由单螺杆无油空气压缩机、管式陶瓷臭氧发生器、冷冻水臭氧溶解槽、氨制冷机、臭氧解吸槽、风冷降温器、贮水箱、水泵、喷淋头、保鲜库、调压滤水器和回冷式冷热空气发生器组成。本发明具有无氟里昂空气制冷,不污染大气,不破坏地球大气臭氧层,不产生温室效应,节能、环保的优点,它完全可以取代现有的保鲜技术,使人们真正能够吃上放心肉、放心粮、放心果蔬。

Figure 200710062780

The new air cooling multi-functional controlled atmosphere cold storage and preservation system consists of a single-screw oil-free air compressor, a tubular ceramic ozone generator, a chilled water ozone dissolving tank, an ammonia refrigerator, an ozone desorption tank, an air-cooled cooler, a water storage tank, a water pump, It consists of a spray head, a fresh-keeping store, a pressure-regulating water filter and a back-cooling type hot and cold air generator. The invention has the advantages of Freon-free air refrigeration, no air pollution, no damage to the earth's atmospheric ozone layer, no greenhouse effect, energy saving, and environmental protection. Grain, rest assured fruits and vegetables.

Figure 200710062780

Description

Multifunction air-conditioning refrigeration freshness retaining system of air refrigeration
Technical field
The present invention relates to a kind of multifunction air-conditioning refrigeration freshness retaining system of air refrigeration, belong to the controlled atmosphere cold storage preservation technique.
Background technology
People will eat food earning a bare living every day, these food sources, and summarizing to get up is exactly five cereals, fish, meat, fowl, egg, milk, oil, salt, sauce, vinegar, tea etc.These foods must be consumed to people's dining table on the ability through links such as production, storage, processing, transportation, sale.In for a long time storage, processing, transportation, sales process, unavoidably can go bad, spoiled, variable color, even rottenly rot, can not eat fully.According to incompletely statistics, the whole nation is annual to account for more than 20% of output because of about 8,000 ten thousand tons of the rotten fruits and vegetables that rot, and can eat 1 year for 200,000,000 people, and its economic loss is more than 7,500 hundred million yuan.Also more than tens million of tons, its loss is surprising to the annual grain that decreases because of ageing, storehouse in the whole nation.
Therefore, people are in order to reduce or to save its loss, and it is fresh-keeping also to have taked thousand and one way.Wherein using the most general preservation method has following several: as freeze preservation, ozone sterilization is fresh-keeping, the deoxygenation controlled atmosphere, and inflated with nitrogen is transferred fresh-keeping, the filling CO 2 controlled atmosphere, deepfreeze is fresh-keeping, and it is fresh-keeping to add anticorrisive agent, vacuum freshness retaining, it is cured fresh-keeping to salt down, or the like.These are the preservation method of usefulness, has obtained certain effect, reduces and has saved partial loss, still, all has its weak point to be:
(1) freeze preservation.The history that its method is used is the longest, remains one of important preservation method now.Its weak point is: the one, and the energy consumption height.The temperature design of the general storehouse of freezer should remain on about-15 ℃ between-25 ℃~-30 ℃, and relative humidity is between 95~98%.In freezing process, whenever freeze one ton of meat, need power consumption 60~80 degree, the storehouse temperature is low more, and energy consumption is big more, and fresh-keeping cost is high more.The 2nd, fresh-keeping of poor quality.Owing to freeze, the water in the biological cell is frozen into ice, makes membranolysis, though can preserve without putrefaction for a long time, meat is rotten, variable color, spoiled, has reduced edibility.So frozen meat, frozen fish, the price of freezing fowl etc. are more cheap than fresh, producer's loss is big, is not subjected to consumer's welcome again.Owing to freeze, food dries out, and is easily shrivelled, weight saving, and the storehouse is decreased big.The 3rd, microorganism, bacterium are not freezed to death, and are temporary transient dormancy, treat temperature raise thaw after, they can be come back to life again, the harm people's is healthy.Also have, build the freezer investment greatly, in freezer huge evaporation tubes will be installed, only this will increase a lot of investments.Though it is fresh-keeping that freezer also can be used for deepfreeze, because the storehouse temperature is inhomogeneous, temperature is controlled and " is frozen fruits and vegetables ripe " easily when bad, and when freezing the fruits and vegetables outbound ripe, it is very fresh that appearance seems, but spoiled when edible, outbound is just turned black soon, and mashed sooner.
(2) ozone sterilization is fresh-keeping.Because fresh-keeping cost is low, use also very generally, but weak point is: owing to ozone-air diffuses flow in the storehouse is very slow, ozone concentration is inhomogeneous, and sterilization is prone to " dead angle ", also can cause damage.
(3) coke molecule sieve series nitrogen is transferred fresh-keeping device (or oxygen permeable membrane nitrogen making machine).Nitrogen charges in the storehouse, certain preservation is also arranged, but weak point is: can not reduce the storehouse temperature, grain easily goes mouldy.Mainly be owing to contain moisture in the grain, the south of the lower reaches of the Yangtze River particularly, the grain of the intermittent drizzles in the rainy season summer harvest in season because moisture is arranged, makes the grain fermentation, storehouse temperature rise, the quickening of going mouldy.Though falling the storehouse teds and also can alleviate grain and go mouldy, and needs to drop into great amount of manpower and broad place is provided.And time one is long, and grain also can generate heat and go mouldy, and turns over the storehouse again and falls the storehouse and dry.Though the large granary that has is furnished with the window air conditioner cooling, the big grain depot for more than one hundred million jin still can not tackle the problem at its root.
(4) there is not the deepfreeze fresh-keeping warehouse of ozone sterilization.Also very general in the use, but weak point is: only be that deepfreeze is fresh-keeping, still can't resolve and go mouldy.Facts have proved that in the low temperature environment about 5 ℃, mold propagates is also very fast.The easy moldy metamorphism of cold compartment of refrigerator is exactly this reason.
(5) adding anticorrisive agent in the food, also is to use more preservation method, though also can temporarily reach fresh-keeping purpose, weak point is: no matter use which type of chemical addition agent, all unavoidably produce secondary pollution.Because chemical substance is present in the food, can slow poisoning after people are edible.The additive that has also can cause the people in desperately as formaldehyde (being commonly called as sodium formaldehyde sulfoxylate).
(6) use the oxygen scavenger controlled atmosphere.Also widely use, but weak point is: the dried food and nuts for inner wrapping still has effect as mushroom, auricularia auriculajudae etc., but is not suitable for the fresh-keeping of large-scale provision store.
(7) vacuum freshness retaining.Also be to use more method, for not producing the food of gas after the packing, a spot of inner wrapping still has fresh-keeping effect, but weak point is: for the food that can produce gas after the packing, just can not use this method, because it can destroy vacuum the packing back.The fresh-keeping of large food just can't be used.
Summary of the invention
The technical problem that the present invention solves: overcome the deficiencies in the prior art, a kind of non-freon air cooling is provided, and atmosphere pollution does not destroy the earth atmosphere ozone layer, do not produce greenhouse effects, the multifunction air-conditioning refrigeration freshness retaining system of air refrigeration of energy-saving and environmental protection.
The technical scheme that the present invention solves: multifunction air-conditioning refrigeration freshness retaining system of air refrigeration, its characteristics are: single screw rod oil-free air compressor, tubular type pottery ozone generator, chilled water ozone dissolving tank, ammonia machine, ozonolysis bothrium, wind cooling temperature lowering device, water storage tank, water pump, spray head, fresh-keeping warehouse, pressure regulation water filter and time cold and hot air generator of cold type; The air suction inlet of compressor links to each other with the gas outlet of chilled water ozone dissolving tank, the exhaust outlet of compressor links to each other with the air inlet of tubular type pottery ozone generator, the heat extraction mouth of a river of compressor links to each other with the backheat mouth of a river of ozonolysis bothrium, and the water inlet of compressor links to each other with second discharge outlet of chilled water ozone dissolving tank; The gas outlet of tubular type pottery ozone generator links to each other with the air inlet of the isobaric cooling heat exchanger of secondary in the ozonolysis bothrium, the discharge outlet of tubular type pottery ozone generator links to each other with the backheat mouth of a river of ozonolysis bothrium, and the water inlet of tubular type pottery ozone generator links to each other with the arm of the discharge outlet of chilled water ozone dissolving tank; The air inlet of chilled water ozone dissolving tank links to each other with the exhaust outlet of fresh-keeping warehouse, and first discharge outlet of chilled water ozone dissolving tank links to each other with the water inlet of ozonolysis bothrium; The ammonia steam exhaust-gas mouth of ammonia machine is connected with condenser in the ozonolysis bothrium, and the cold ammonia return-air mouth of ammonia machine and the evaporimeter in the chilled water ozone dissolving tank join; The water inlet of ozonolysis bothrium links to each other with first discharge outlet of chilled water ozone dissolving tank, and the discharge outlet of ozonolysis bothrium links to each other with the water inlet of wind cooling temperature lowering device, to the water storage tank draining.The gas outlet of the isobaric cooling heat exchanger of the secondary in the ozonolysis bothrium links to each other with the pressure regulation water filter; The outlet of pressure regulation water filter links to each other with the suction nozzle that returns the cold and hot air generator of cold type, and the cold junction that returns the cold and hot air generator of cold type links to each other with the air inlet of fresh-keeping warehouse or antistaling box; Water pump stretches in the water of water storage tank, and the water of suction is delivered to chilled water ozone dissolving tank through pipeline under water through pipeline, delivers to spray head again, and the water after the cooling sprays from spray head.
Air circulation circuit air of the present invention sucks back cold air from single screw rod oil-free air compressor air entry, compressed, pressure is elevated to 0.7Mpa, temperature is elevated to more than 220 ℃, pressure-air after the water-cooled is delivered to tubular type pottery ozone generator 2, ceramic surface under high pressure, high frequency produces corona discharge, makes airborne general oxygen O 2Ozonize O 3The high-pressure ozone air is through being immersed in the isobaric cooling heat exchanger in the chilled water, secondary heat release cooling, temperature drops to ± and about 5 ℃, enter the pressure regulation water filter, the water of filtering enters atmosphere from the bottom, the cold chamber of returning that the cold high pressure ozone-air tangentially enters back the cold and hot air generator of cold type enters vortex chamber again, be separated into cold and hot two strands of air-flows, wherein one ozone cold airflow (temperature is between-21 ℃~-27 ℃) is sent into fresh-keeping warehouse (case), reach cooling refrigeration controlled atmosphere purpose, the ozone killing bacteria and and ethylene reaction, generate carbon dioxide CO 2With water, and participate in controlled atmosphere, another stock-traders' know-how high temperature makes the hot-air after ozone decomposes enter atmosphere, finishes air circulation.
Under the swabbing action of compressor, extract back cold air out from fresh-keeping warehouse top, enter chilled water ozone dissolving tank through pipeline, fully contact with the spray water droplet, ozone is dissolved in the chilled water, enter the ozonolysis bothrium with water.Through isobaric cooling heat exchanger and twice heating of condenser, make ozone O 3Resolve into general oxygen O 2With elemental oxygen O, and enter atmosphere, reach and remove general oxygen O 2Purpose.Water still can be recycled.
Principle of the present invention is: utilize ozone-air and Ozone Water two great circulation systems, in ozone-air cyclic process constantly, reduce the storehouse temperature, reach the fresh-keeping purpose of deepfreeze.Simultaneously, utilize the characteristic of ozone sterilization, kill the bacterium in the storehouse (case).Utilize ozone and ethene (CH again 2) chemical reaction, make it generate carbon dioxide and the water favourable to controlled atmosphere.In the Ozone Water cyclic process, utilize ozone to be dissolved in the characteristic of water at low temperature and decomposes, the ozone in the system is dissolved in the chilled water, separate bothrium with the water inflow and heat, make ozone resolve into general oxygen (O 2) and elemental oxygen O, enter atmosphere.Water after heating becomes light water, and is reusable again.In the overall process of two big working medium circulations, do not produce any secondary pollution, air and water can be recycling.Owing to removed the general oxygen (O in the system 2), in storehouse (case), only stay nitrogen (N 2), carbon dioxide (CO 2) and ozone (O 3) wait controlled atmosphere gas, reach no general oxygen (O 2) purpose of controlled atmosphere.
Theory foundation of the present invention and explanation:
(1) deoxygenation controlled atmosphere.
The present invention utilizes ozone generator, airborne general oxygen O 2, under high-frequency high-voltage, the ceramic surface corona discharge produces ozone O 3, reaction equation is as follows:
Utilize high-velocity electrons to bombard general oxygen O 2, make it resolve into oxygen atom O.Because high-velocity electrons have enough kinetic energy, and then about 6~7ev forms ozone O by the three-body collision reaction 3, reaction equation is as follows:
O+O 2+M→O 3+M........................(2)
M is any other gas molecule in the gas in the formula.Meanwhile, oxygen atom O and ozone O 3Reaction also can revert to general oxygen O 2, its reaction equation is as follows:
O+O 3→2O 2....................................(3)
Electronics and ozone O 3Reaction also can make ozone become general oxygen O 2, its reaction equation is as follows:
e+O 3→O+O 2+e..............................(4)
At ozone O 3In the generator, because the heating of corona also can promote the decomposition of ozone.Therefore, the generation of ozone is a kind of summation of dynamic response with decomposing, so, clean ozone O 3Output relevant with several factors.Now, large-scale ozone O 3Generator unit ozone O 3Output can reach (being that gas production is greater than decomposition amount) about 20kg/h.
(2) the present invention utilizes ozone O 3Easily dissolve in water, and ozone O at low temperatures 3Very stable, keep not decomposing, outside water discharge system, ozone O 3Take away with water, then at high temperature make ozone resolve into general oxygen O 2, enter atmosphere, reach and remove general oxygen O 2Purpose.
General oxygen O 2In the water at normal temperatures, its solubility is 4.89ml/100ml.In the time of 0 ℃, ozone O 3Solubility in water is general oxygen O 213 times.Ozone O 3Half-life is 20~50 minutes in air, and along with the rising of temperature, decomposition rate is accelerated, and when temperature reached 270 ℃, ozone can decompose immediately.The half-life of ozone in water is 35 minutes, but very stable in 0 ℃ frozen water, and its half-life is 2000 years.
(3) the present invention also utilizes ozone O 3Can with ethene generation chemical reaction, generate carbon dioxide CO 2With water, remove ethene, its reaction equation is as follows:
O 3+CH 2→CO 2+H 2O...........................(5)
Again because ozone O 3Easily decomposite oxygen atom O, and oxygen atom O also can with ethylene reaction, generate carbon dioxide and water, its reaction equation is as follows:
CH 2+3O→CO 2+H 2O...........................(6)
Ethene CH 2Be the fruits and vegetables pernicious gases that duration of storage is emitted in the storehouse, it is again the ripener of fruits and vegetables, and the freshness date of fruits and vegetables is shortened, and is unfavorable for storage, so necessary removing.And the carbon dioxide CO that generates 2Be again good controlled atmosphere gas.Carbon dioxide CO 2Be mould, saccharomycetic inhibition gas, as carbon dioxide CO 2Concentration reaches at 20% o'clock, and unicellular bacterium is stopped growing, and can stop 80~96% intestines meat bacterial reproduction; As carbon dioxide CO 2Concentration reaches at 35% o'clock, can make the fruits and vegetables respiration inhibition to Min., as leaves 1~4 ℃ of fruits and vegetables in the storehouse in, about freshness-retained half a year.And the water that generates can increase humidity in the storehouse, prevents that fruits and vegetables are shrivelled, reduces the storehouse and decreases.
(4) the present invention has utilized ozone O 3Sterilizing mechanisms has improved preservativity.Ozone O 3Can destroy the cell membrane of bacterium, now confirm, ozone O 3Can kill various bacteria such as lactic acid bacteria, bacillus anthracis, Yersinia ruckeri, salmonella, influenza virus, clostridium botulinum.Bactericidal effect and fluoroacetic acid are suitable, are better than formaldehyde, double than chlorine, and sterilization speed is 600~3000 times of chlorine.
(5) the present invention has utilized and has removed general oxygen O 2The controlled atmosphere principle.Because general oxygen O 2Maximum to fresh-keeping harm, general oxygen O 2Can make fat at food storage phase oxidation deterioration, spoiled.Utilize ozone O 3Characteristic, the general oxygen O in the scavenge system 2, in fresh-keeping warehouse, only have nitrogen N 2, carbon dioxide CO 2, ozone O 3Three kinds of fresh-keeping gases and micro-other gases reach scarce general oxygen O 2The purpose of controlled atmosphere.
(6) the present invention has utilized general oxygen O when the design fresh-keeping warehouse 2With ozone O 3Severe difference (ozone O 3Be general oxygen O 21.65 times of air weight), design bottom trench air inlet of (case) from the storehouse.Like this, ozone O 3Can combine in the bottom in storehouse earlier, and general oxygen O 2And tonifying Qi the top of (case) is withdrawn into compressor from the storehouse.Like this, can prolong ozone O 3Sterilizing time, also can avoid directly the ozone O that just enters storehouse (case) 3Take away, improved fresh-keeping effect.
(7) an application of air refrigeration of the present invention and a year cold theory foundation and an explanation.Air cooling.In the past because the density of air was little, and unit working medium refrigerating capacity is few, and the power that consumes during compression is many, and so its Energy Efficiency Ratio is low, can not be used for general industrial freezes, and can only use under special circumstances.The present invention is exactly the compressed steam refrigeration and the low air cooling of Energy Efficiency Ratio of having used the Energy Efficiency Ratio height, phase transformation being arranged, and both combine, and have improved the Energy Efficiency Ratio of air cooling, just can be used for the general industrial refrigeration.Now central air conditioner system is that to have utilized low-pressure air to carry cold, by the long-pending airduct in heavy in section, cold is written into air conditioning room.The present invention is characteristics of having utilized time cold and hot air generator of cold type, and it is cold to utilize pressure-air to carry, and cold is sent into the place that needs cooling.Specifically, utilize the high refrigerating plant of Energy Efficiency Ratio exactly, the intake air temperature of coming the precooling generator.How many intake air temperature that experiment showed, generator reduces, and how many cold airflow temperature of generator also decreases, and so just cold is loaded into cold place by air.Observe through experiment, derive following empirical equation:
q 0 = B C · μ C · C p · ΔT c · P 1 P c · ( T 0 - T c ) . . . ( 7 )
Because Δ T c=T 1-T c
So T C=T 1-Δ T c... ... ... ... ... ... (8)
With (8) formula substitution (7) formula:
q 0 = B C · μ C · C p · ΔT c · P 1 P c · ( T 0 + ΔT c - T 1 ) . . . ( 9 )
In the formula:
q 0The refrigerating capacity (Kcal/kg) of-cold airflow unit mass flow
B C-proportionality coefficient (determining) according to the experiment measuring and calculating
μ C-cold airflow mass ratio (μ C=G C/ G 0, G 0=G C+ G h)
G C-cold air flow (kg/h)
G O-total air consumption (kg/h)
G h-hot gas flow (kg/h)
C PSpecific heat at constant pressure (the C of-air P=0.24Kcal/kg ℃)
T 0-be environment temperature
T 1The intake air temperature of-generator
Δ T C-cryogenic temperature effect
P 1The admission pressure of-generator (Mpa)
P CThe counter-pressure of-cold airflow (Mpa)
Calculate B CValue, experiment records following data:
Work as T 0=35 ℃, T 1=40 ℃ (air-cooled), P 1 P C = 5.3 , T C=5℃,ΔT C=35℃,μ C=0.5,C P=0.24Kcal/kg℃,q 0=17Kcal/kg
Substitution (9) formula,
B C=0.0254℃ -1
When system does not have ice machine, compressed-air actuated specific energy consumption L 10=0.08kwh/kg
When there was ice machine in system, the specific energy consumption of ice making was L 20=0.012kwh/kg
The total energy consumption L=L of system 10+ L 20=0.092kwh/kg
Energy Efficiency Ratio is calculated as follows:
COP=q 0/L·A................................................(10)
In the formula: A is the mechanical equivalent of heat, A=860Kcal/kwh
L or L 10Be compressed-air actuated specific energy consumption.
Work as μ C=0.6, C P=0.24Kcal/kg ℃, T 0=35 ℃, P 1 P C = 7 , Δ T C=50 ℃, B C=0.0254 ℃ -1The time, calculate various intake air temperature T 1The time, q 0, T CAnd COP, list following table in:
Intake air temperature T 1(℃) 50 (air-cooled) 40 (water-cooleds) 10 (chilled waters) 0 (ice-cold) -15 (ice-cold) -30 (ice-cold)
q 0(Kcal/kg) 17 57.6 96 108.8 128 147.2
T C(℃) 0 -10 -40 -50 -65 -80
COP 0.65 0.837 1.21 1.375 1.61 1.86
The present invention is with the chilled water cooling of flowing, and estimates that Energy Efficiency Ratio can reach about 1.2.
Characteristics of the present invention advantage compared with prior art is:
(1) used refrigeration working medium is three no working medium-air of floride-free (F), no chlorine (Cl), no methane, it is the refrigeration system of real environmental protection, contaminated air not, do not destroy the earth atmosphere ozone layer, do not increase global greenhouse effect, also not needing to add any chemical preservative, do not produce secondary pollution, is the benefit future generations offspring, safest fresh-keeping system.
(2) the present invention is a kind of energy-conservation preservation method.Utilized air to freeze, can carry cold characteristics again, the compressed air refrigeration low Energy Efficiency Ratio height, the compressed steam refrigeration that phase transformation is arranged and Energy Efficiency Ratio combines, and both brought into play air cooling and compressed steam refrigeration advantage separately, improved the Energy Efficiency Ratio of air-refrigeration system again.
(3) the present invention is a kind of preservation method of water saving.The cold that evaporimeter produced in the compressed steam refrigeration system is made chilled water (between 1 ℃~5 ℃), neither freezes, and can flow again.Part chilled water is used for reducing the delivery temperature of air compressor and the temperature of lubrication and seal recirculated water; Another part chilled water is used for reducing the temperature of tubular type pottery ozone generator.Wherein most of chilled water is used for dissolved ozone O 3, it is flowed into water separate bothrium, both can reduce the temperature of high-pressure ozone air, can reduce the temperature of ammonia condenser again.Because the rising of temperature.Dissolve in the ozone O in the water 3Resolve into general oxygen O 2With elemental oxygen O, and enter atmosphere, and after coolant-temperature gage raises, after the cooling of wind cooling temperature lowering device, become light water, flow into water storage tank, draw back again and recycle, reach the purpose of water saving.
(4) the present invention utilizes ozone sterilization and deepfreeze fresh-keeping.The combination of two kinds of preservation methods had both reduced energy consumption, had reduced fresh-keeping cost, can make by the fresh-keeping foodstuff biological cell again not to be destroyed, and made food nondiscolouring, spoiled, rotten, and not shrivelled, freshness is constant, and fresh keeping time is long, cost is low.
(5) the present invention is a kind of air regulating fresh-keeping method that fills nitrogen, filling CO 2, anoxic.In the storehouse all are biological can avoid making most the mouse worm of people's headache, the harm of sparrow because anoxic all can't be survived, and has reduced the storehouse damage, has guaranteed the safe storage and the transportation of food.
(6) multifunctional fresh-keeping method of the present invention is not used any anticorrisive agent, can prevent the secondary pollution of food, make food safer, more the cleaning, make people really can be able to eat quality-assured meat, relieved grain, relieved fruits and vegetables.
(7) it is fresh-keeping that the present invention can adapt to large granary branch storehouse, can avoid turning over the storehouse, fall the storehouse, shine grain, can save a large amount of labours and ted the place.
(8) the present invention can the many usefulness in a storehouse, both can fresh-keeping fish, meat, fowl, egg, milk, again can fruit and vegetable preservation, and can be not freezing, freeze " ripe ".
(9) the present invention can be turned waste into wealth.Fruits and vegetables discharge pernicious gas ethene (CH at duration of storage 2), it is the ripener of fruits and vegetables, shortens the storage period of fruits and vegetables.Ozone O 3Can make its become harmless, can play the carbon dioxide (CO of controlled atmosphere effect again 2) and water, water can prevent from again to be insured the shrivelled of food and reduce the storehouse and decrease.
(10) the controlled atmosphere sterilization gas of the present invention's use circulates, and can blow to any one corner, can kill the bacterium in any one corner.
Description of drawings
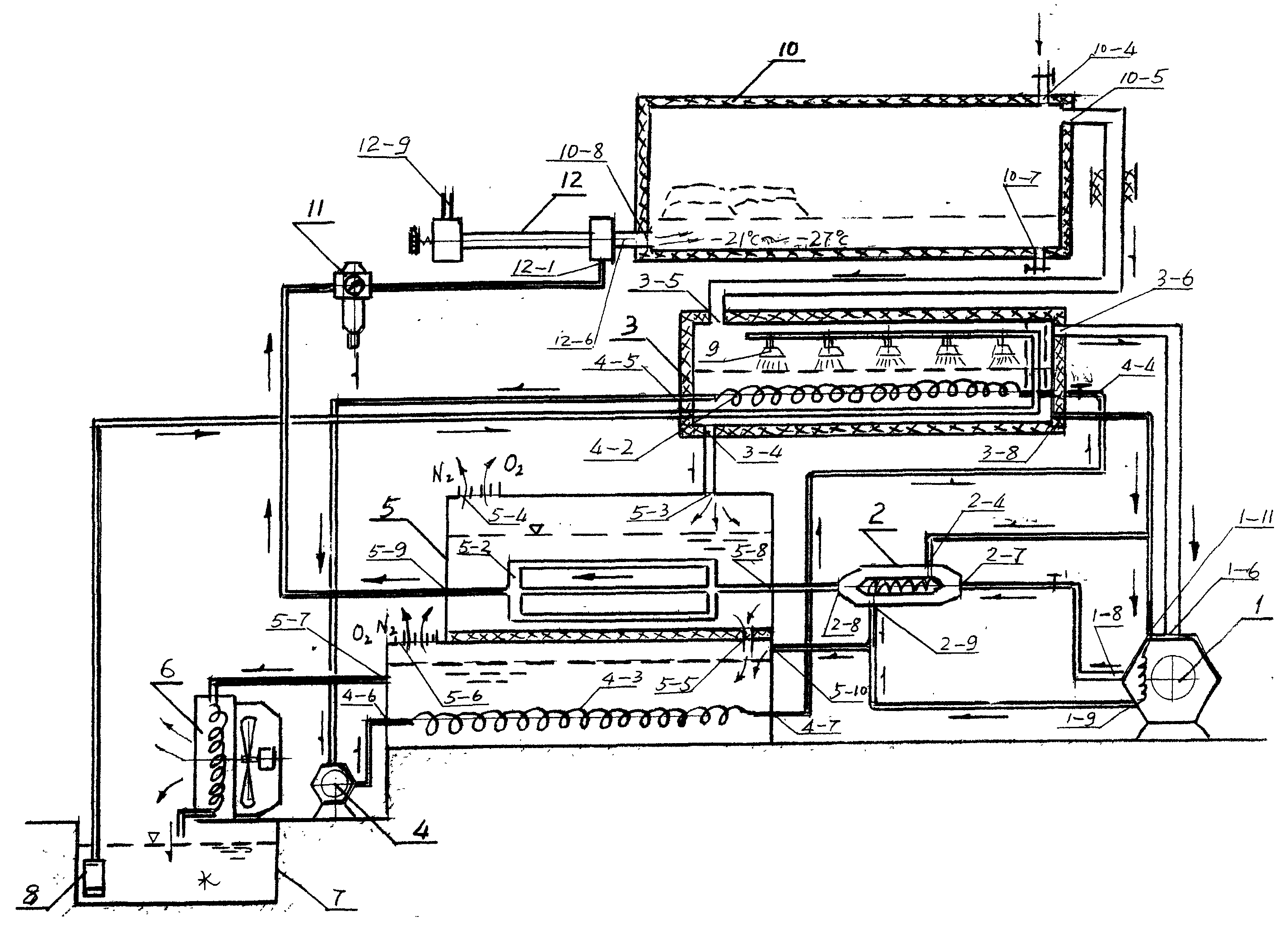
Fig. 1 is a structure composition frame chart of the present invention;
Fig. 2 is single screw rod oil-free air compressor schematic diagram of the present invention;
Fig. 3 is a tubular type pottery ozone generator schematic diagram of the present invention;
Fig. 4 is a chilled water ozone dissolving tank structural representation of the present invention;
Fig. 5 is an ammonia machine schematic diagram of the present invention;
Fig. 6 is an ozonolysis bothrium structural representation of the present invention;
Fig. 7 is fresh-keeping warehouse of the present invention (case) structural representation;
Fig. 8 is the structural representation of the of the present invention time cold and hot air generator of cold type;
Fig. 9 cuts open schematic diagram for the structure A-A of the of the present invention time cold and hot air generator of cold type;
Figure 10 is an air cooling temperature entropy schematic diagram of the present invention.
The specific embodiment
As shown in Figure 1, the present invention includes single screw rod oil-free air compressor 1, tubular type pottery ozone generator 2, chilled water ozone dissolving tank 3, ammonia machine 4, ozonolysis bothrium 5, wind cooling temperature lowering device 6, water storage tank 7, water pump 8, spray head 9, fresh-keeping warehouse 10, pressure regulation water filter 11 and time cold and hot air generator 12 of cold type.The air suction inlet 1-6 of compressor 1 links to each other with the gas outlet 3-6 of chilled water ozone dissolving tank 3, the exhaust outlet 1-8 of compressor 1 links to each other with the air inlet 2-7 of tubular type pottery ozone generator 2, the heat extraction mouth of a river 1-9 of compressor 1 links to each other with the backheat mouth of a river 5-10 of ozonolysis bothrium 5, and the water inlet 1-11 of compressor 1 links to each other with the second discharge outlet 3-8 of chilled water ozone dissolving tank 3; The gas outlet 2-8 of tubular type pottery ozone generator 2 links to each other with the isobaric cooling heat exchanger air inlet of secondary 5-8 in the ozonolysis bothrium 5, the discharge outlet 2-9 of tubular type pottery ozone generator 2 links to each other with the backheat mouth of a river 5-10 of ozonolysis bothrium 5, and the water inlet 2-4 of tubular type pottery ozone generator 2 links to each other with the arm of the discharge outlet 3-8 of chilled water ozone dissolving tank 3; The air inlet 3-5 of chilled water ozone dissolving tank 3 links to each other with the exhaust outlet 10-5 of fresh-keeping warehouse 10, the first discharge outlet 3-4 of chilled water ozone dissolving tank 3 links to each other with the water inlet 5-3 of ozonolysis bothrium 5, and the second discharge outlet 3-8 of chilled water ozone dissolving tank 3 links to each other with the water inlet 1-11 of compressor 1; The ammonia steam steam drain 4-6 of ammonia machine 4 is connected with the condenser in the ozonolysis bothrium 5, and the cold ammonia return-air mouth 4-5 of ammonia machine 4 and the evaporimeter in the chilled water ozone dissolving tank 3 join; The discharge outlet 5-7 of ozonolysis bothrium 5 links to each other with the water inlet of wind cooling temperature lowering device 6, and to water storage tank 7 drainings, the isobaric cooling heat exchanger gas outlet 5-9 of the secondary in the ozonolysis bothrium 5 links to each other with pressure regulation water filter 11; The outlet of pressure regulation water filter 11 links to each other with the suction nozzle 12-1 that returns the cold and hot air generator 12 of cold type, and the cold junction 12-6 that returns the cold and hot air generator 12 of cold type links to each other with the air inlet 10-8 of fresh-keeping warehouse 10; Water pump 8 stretches in the water of water storage tank 7, and the water of suction is delivered to the pipeline under water of chilled water ozone dissolving tank 3 through pipeline, delivers to the top spray head 9 of chilled water ozone dissolving tank 3 again, and the water after the cooling is from spray head 9 ejections.
As shown in Figure 2, single screw rod oil-free air compressor 1 is by compressor head 1-1, moisture separator 1-2, water level switch 1-3, water filter 1-4, electric-control system 1-5, air suction inlet 1-6, air cleaner 1-7, compressed air outlet port 1-8, heat extraction mouth of a river 1-9 and water cooler 1-10 form, air suction inlet 1-6 links to each other with the gas outlet 3-6 of chilled water ozone dissolving tank 3, suck back cold air, send into air cleaner 1-7, airborne dust of filtering and foreign material, its other end links to each other with the air entry of single screw compressor head 1-1, owing to be to adopt water-stop and water lubrication, have moisture content in the air unavoidably, the HTHP tangential introduction of air that has moisture content enters moisture separator 1-2 filtering steam; Bottom deposit condensed water at tube, when water level reaches barrier air, the bit switch 1-3 that fetches boiling water discharges ponding, and through the moisture content of water filter 1-4 filtering remainder, dry HTHP air enters water cooler 1-10 to air again, with the chilled water heat-shift that flows through, make the HTHP air themperature drop to water temperature+10 ℃, about about 40 ℃, enter the air inlet 2-7 of tubular type pottery ozone generator from exhaust outlet 1-8, chilled water enters from compressor and freeze water inlet 1-11, discharges from heat extraction mouth of a river 1-9.
As shown in Figure 3, tubular type pottery ozone generator 2 comprises: band fin stainless steel pressure casing 2-1, ceramic dielectric body 2-2, high voltagehigh frequency electroplax 2-3, water cooler 2-4, IGBT power supply 2-5, radiator fan 2-6; The input of IGBT power supply 2-5 links to each other with the 220V civil power, and the output ground wire links to each other with shell 2-1, and high-pressure side links to each other with high voltagehigh frequency electroplax 2-3; Ceramic dielectric body 2-2 applies on high voltagehigh frequency electroplax 2-3, and water cooler 2-4 is positioned at high voltagehigh frequency electroplax 2-3, and radiator fan 2-6 is placed on outside the shell 2-1, is its heat radiation.
As shown in Figure 4, chilled water ozone dissolving tank 3 is by stainless steel inner lining 3-1, metal shell 3-2, evaporation tubes 4-2, the first discharge outlet 3-4, air inlet 3-5, gas outlet 3-6, shelves cascade 3-7, the second discharge outlet 3-8 and Polyurethane foam insulation 3-9, insulation cover 3-3 forms, the liner 3-1 of chilled water ozone dissolving tank 3 adopts stainless steel to be welded, the bottom with evaporation tubes 4-2 is housed all around, pipeline outside filling polyurethane foam insulation 3-9 is with insulation, shell 3-2 adopts the zinc-plated post-coat lacquer of common metal plate, shelves cascade 3-7 hangs over back on the cold air passageway, necessary arranged in dislocation, in order to avoid barrier air process, but can block water droplet, do not allow water droplet enter compressor 1; Insulation cover 3-3 is stamped on whole freezing water-ozone dissolving tank 3 tops.
As shown in Figure 5, ammonia machine 4 is by semiclosed ammonia compressor 4-1, evaporimeter 4-3, condenser 4-2 forms, the hot ammonia steam exhaust-gas mouth 4-6 of semiclosed ammonia compressor 4-1 links to each other with the condenser 4-3 in being contained in ozonolysis bothrium 5, and the cold ammonia return-air mouth 4-5 of semiclosed ammonia compressor 4-1 links to each other with the evaporimeter 4-2 in the chilled water ozone dissolving tank 3.
As shown in Figure 6, ozonolysis bothrium 5 comprises: shell 5-1, isobaric cooling heat exchanger 5-2, water inlet 5-3, the first gas outlet 5-4, the first discharge outlet 5-5, the second gas outlet 5-6, the second discharge outlet 5-7, air inlet 5-8, gas outlet 5-9 and backheat mouth of a river 5-10.5 fens top boxs of ozonolysis bothrium and nowel are two-layer, middlely separate with dividing plate; Shell 5-1 adopts corrosion resistant plate to be welded, and a discharge outlet 5-5 is arranged on the dividing plate, and the water of top box can flow into nowel; There is an isobaric cooling heat exchanger 5-2 to be immersed in the chilled water in the top box, top box has ozone chilled water water inlet 5-3, one first gas outlet 5-4, nitrogen after ozone decomposes, general oxygen, elemental oxygen from then on mouth enter atmosphere, nowel has condenser 4-3 to be immersed in the water, water heat absorption back temperature raises ozone is decomposed, and reduces the ammonia vapor (steam) temperature simultaneously, makes it be condensed into liquid ammonia; Following upper box part has a backheat mouth of a river 5-10, hot water behind cooling ozone generator and the compressor, enter nowel after compiling, following upper box part has one second gas outlet 5-6, nitrogen after ozone decomposes, general oxygen, elemental oxygen from then on mouth enter atmosphere, a discharge outlet 5-7 is arranged at the bottom of nowel, makes hot water enter cooling in the wind cooling temperature lowering device 6.
As shown in Figure 7, fresh-keeping warehouse or antistaling box 10 are made up of the discharge outlet 10-7 and the air inlet 10-8 of shell 10-1, back boxing 10-2, insulation material and body of wall 10-3, the gas supplementing opening 10-4, the bleeding point 10-5 that are with valve, hermatic door 10-6, band valve, fresh-keeping warehouse or antistaling box 10 are built with sealing by building the heat insulation of freezer, open two sealing storehouse doors of energy convection current, so that when the fresh products outbound, can in time discharge fresh-keeping gas, i.e. nitrogen and carbon dioxide are in order to avoid suffocation accident occurs; Antistaling box is by the manufacturing of " cold chain " antistaling box, require sealing heat insulation, shell 10-1 and back boxing 10-2 make with steel plate, therebetween insulation material 10-3, the trench of ventilation is arranged at the bottom of fresh-keeping warehouse or antistaling box 10, there is fresh-keeping warehouse (antistaling box) door 10-6 tonifying Qi hole 10-4 to be arranged at upper side, the tolerance that replenishment system loses because of heat extraction gas, bleeding point 10-5 is arranged at top, extracts back cold air out, and air inlet 10-8 is arranged at the bottom, make cold air lead directly to trench, a discharge outlet 10-7 is arranged at the bottom, gets rid of the water that generates behind ozone and the ethylene reaction, with the regular draining of valve.
Shown in Fig. 8,9, returning the cold and hot air generator 12 of cold type is made up of suction nozzle 12-1, time cold chamber 12-2, reflection control valve 12-3, heat pipe 12-4, heat-insulation layer 12-5, silencer 12-6, tangential admission mouth 12-7, cyclonic chamber 12-8 and hot junction exhaust outlet 12-9, the suction nozzle 12-1 that returns the cold and hot air generator 12 of cold type adopts to be threaded and is spun on the shell, its endoporus leads directly to back cold chamber 12-2, and reflection control valve 12-3 is contained on the valve seat of hot junction; Heat pipe 12-4 one end links to each other with the cyclonic chamber shell with screw thread, and the other end links to each other with the hot junction valve seat; Heat-insulation layer 12-5 wraps in heat pipe 12-4 outside; Silencer 12-6 is screwed on the cold junction shell, eliminates aerodynamic noise when discharging cold air; In the cyclonic chamber outside 2-6 tangential admission mouth 12-7 arranged, returning the air importing cyclonic chamber 12-8 that cold chamber 12-2 rotates at a high speed; Hot junction exhaust outlet 12-9 drives on the valve seat of hot junction, can discharge thermal current.
Air cooling principle and warm entropy schematic diagram, as shown in figure 10, wherein, intake air temperature T 1Can be: about about 50 ℃ of wind cooling temperature lowering; About about 40 ℃ of water-cooled cooling; About about 30 ℃ of secondary water-cooled cooling; Chilled water is lowered the temperature about about 10 ℃.More than be measured data.Observe according to tephigram 10 and experiment, derive empirical equation (7), can be according to various intake air temperature T 1, substitution formula (7) calculates T C, q 0And Energy Efficiency Ratio COP, list in the table.
The operation principle of the present invention and the course of work are as follows:
Air circulation flow process: the air inlet 1-6 of single screw rod oil-free air compressor 1, gas outlet 3-6 with pipeline and chilled water ozone dissolving tank 3 joins, time cold air in suction fresh-keeping warehouse or the antistaling box 10, through the shower water of chilled water ozone dissolving tank 3, ozone dissolves in the chilled water.Be provided with Water shielding curtain 3-7 in order not allow water droplet bring compressor 1 into and block water droplet, air enters compressor air filter 1-7, filtering dust and foreign material, after through compressor head 1-1 compression, temperature is elevated to more than 220 ℃, pressure is elevated to 0.7Mpa, the high pressure-temperature air enters moisture separator 1-2, through water level switch 1-3 and water filter 1-4, enters water cooler 1-10 again, air themperature drops to water temperature and adds 10 ℃, about about 40 ℃.Discharge from exhaust outlet 1-8.The cold high pressure air enters tubular type pottery ozone generator 2, and ceramic surface corona discharge in the high-frequency and high-voltage electric field is airborne general oxygen O 2Ozonize O 3, tubular type pottery ozone generator cools off with chilled water, then with pipeline the ozone pressure-air is sent into the isobaric cooling heat exchanger 5-2 that is immersed in ozonolysis bothrium 5, makes high-pressure ozone cold air and chilled water heat exchange, and the high-pressure ozone air themperature drops to about 5 ℃.Send into pressure regulation water filter 11 with pipeline, the condensed water of filtering is discharged automatically from the bottom.The ozone cold air of high pressure drying is sent into back cold chamber 12-2 from the suction nozzle 12-1 tangent line that returns the cold and hot air generator 12 of cold type, the high-pressure ozone cold air absorbs the cold that conducts out from cold junction, high-pressure ozone cold air temperature is further reduced, spray into cyclonic chamber 12-8 from tangential admission mouth 12-7 again, air is with high speed rotation, produce the cyclone effect, be separated into cold and hot two strands of air-flows, wherein one thermal current moves to reflection control valve 12-3 along thermotube wall, the cold airflow in centre is through reflecting back into cold junction, and thermal current flows into hot junction exhaust outlet 12-9 from skin and enters atmosphere; Another strand ozone cold airflow (temperature is between-21 ℃~-27 ℃) taps into the trench that gas port 10-8 enters fresh-keeping warehouse or antistaling box 10 through silencer 12-6 with pipeline, after ozone is finished sterilization, decomposition ethene, 10-5 is drawn back by compressor from bleeding point, finishes air and follows bad.Air is in constantly circulating, and Ku Wen is more and more lower, general oxygen O 2Fewer and feweri with ethene.When the storehouse temperature drop arrives-2 ℃~5 ℃, reach the purpose of refrigeration, sterilization, controlled atmosphere.At this moment, has only nitrogen (N in fresh-keeping warehouse or the antistaling box 10 2), carbon dioxide (CO 2), ozone (O 3) three kinds of fresh-keeping gases, the envelope of just can shutting down storehouse (case), and turn-off gas supplementing opening 10-4, prevent that the storehouse outer air from entering, gas supplementing opening 10-4 is in order to replenish because of about 20% the tolerance that hot gas lacked outside the discharge system, also will regularly to get rid of the condensed water in the trench, discharging from discharge outlet 10-7.
Water circulation path: after water pump 8 started, suction water storage tank 7 filtered water were delivered to spray head 9, sprayed in the chilled water ozone dissolving tank 3, fully with the ozone O that returns in the cold air 3Contact is dissolved in the chilled water ozone.Owing to ammonia evaporator 4-2 is arranged in the chilled water ozone dissolving tank 3, absorb the heat of water, make water temperature reduce (water temperature is controlled between 1 ℃~5 ℃ above freezing, and it is not frozen, but the chilled water that can flow).Part chilled water enters the water inlet 5-3 on ozonolysis bothrium 5 tops from delivery port 3-4, cools off the ozone pressure-air in the isobaric cooling heat exchanger, dissolves in the general oxygen O that the ozone in the chilled water decomposites because of heating 2With elemental oxygen O, 5-4 enters atmosphere from the gas outlet, and Ozone Water enters the bottom of separating bothrium from discharge outlet 5-5, and under the heating of hot ammonia, temperature raises again in condenser 4-3, makes ozone continue to decompose, and enters atmosphere from the second gas outlet 5-6.After the hot water that heated chilled water and compressor and tubular type pottery ozone generator 2 are discharged mixes, flow into wind cooling temperature lowering device 6 from discharge outlet 5-7, behind the radiating and cooling, inflow water storage tank 7 is then drawn back again, finishes a circulation; Another part chilled water is divided into two strands from delivery port 3-8, one flows into the water cooler 1-10 cooling in the compressor 1, another strand then flows into the stainless steel high voltagehigh frequency electroplax 2-3 cooling of tubular type pottery ozone generator 2, after two strands of hot water of discharging are joined, bottom from backheat mouth of a river 5-10 inflow ozonolysis bothrium 5 participates in the circulation of water.

Claims (7)

1, a kind of multifunction air-conditioning refrigeration freshness retaining system of air refrigeration is characterized in that comprising: single screw rod oil-free air compressor (1), tubular type pottery ozone generator (2), chilled water ozone dissolving tank (3), ammonia machine (4), ozonolysis bothrium (5), wind cooling temperature lowering device (6), water storage tank (7), water pump (8), spray head (9), fresh-keeping warehouse or antistaling box (10), pressure regulation water filter (11) and time cold and hot air generator of cold type (12); The air suction inlet (1-6) of compressor (1) links to each other with the gas outlet (3-6) of chilled water ozone dissolving tank (3), the exhaust outlet (1-8) of compressor (1) links to each other with the air inlet (2-7) of tubular type pottery ozone generator (2), the heat extraction mouth of a river (1-9) of compressor (1) links to each other with the backheat mouth of a river (5-10) of ozonolysis bothrium (5), and the water inlet (1-11) of compressor (1) links to each other with second discharge outlet (3-8) of chilled water ozone dissolving tank (3); The gas outlet (2-8) of tubular type pottery ozone generator (2) links to each other with secondary equipressure cooling heat exchanger air inlet (5-8) in the ozonolysis bothrium (5), the discharge outlet (2-9) of tubular type pottery ozone generator (2) links to each other with the backheat mouth of a river (5-10) of ozonolysis bothrium (5), and the water inlet (2-4) of tubular type pottery ozone generator (2) links to each other with the arm of second discharge outlet (3-8) of chilled water ozone dissolving tank (3); The air inlet (3-5) of chilled water ozone dissolving tank (3) links to each other with the exhaust outlet (10-5) of fresh-keeping warehouse or antistaling box (10), and first discharge outlet (3-4) of chilled water ozone dissolving tank (3) links to each other with the water inlet (5-3) of ozonolysis bothrium (5); The ammonia steam inlet (4-6) of ammonia machine (4) is connected with condenser (4-3) in the ozonolysis bothrium (5), and the cold ammonia return-air mouth (4-5) of ammonia machine (4) joins with evaporimeter (4-2) in the chilled water ozone dissolving tank (3); The discharge outlet (5-7) of ozonolysis bothrium (5) links to each other with the water inlet of wind cooling temperature lowering device (6), and to water storage tank (7) draining, the gas outlet (5-9) of the isobaric heat exchanger of secondary links to each other with pressure regulation water filter (11) in the ozonolysis bothrium (5); The outlet of pressure regulation water filter (11) links to each other with the suction nozzle (12-1) that returns the cold and hot air generator of cold type (12), and the cold junction (12-6) that returns the cold and hot air generator of cold type (12) links to each other with the air inlet (10-8) of fresh-keeping warehouse or antistaling box (10); Water pump (8) stretches in the water of water storage tank 7, and the water of suction is delivered to chilled water ozone dissolving tank (3) through pipeline under water through pipeline, delivers to spray head (9) ejection after the cooling.
2, according to claims 1 described multifunction air-conditioning refrigeration freshness retaining system of air refrigeration, it is characterized in that: described tubular type pottery ozone generator (2) comprising: band fin stainless steel pressure casing (2-1), ceramic dielectric body (2-2), high voltagehigh frequency electroplax (2-3), water cooler (2-4), IGBT power supply (2-5), radiator fan (2-6); The input of IGBT power supply (2-5) links to each other with the 220V civil power, and the output ground wire links to each other with shell (2-1), and high-pressure side links to each other with high voltagehigh frequency electroplax (2-3); Ceramic dielectric body (2-2) applies on high voltagehigh frequency electroplax (2-3), and water cooler (2-4) is positioned at high voltagehigh frequency electroplax (2-3), and radiator fan (2-6) is placed on outside the shell (2-1), is its heat radiation.
3, according to claims 1 described multifunction air-conditioning refrigeration freshness retaining system of air refrigeration, it is characterized in that: the liner (3-1) of described chilled water ozone dissolving tank (3) adopts stainless steel to be welded, the bottom with evaporation tubes (4-2) is housed all around, pipeline outside filling polyurethane foamed plastics (3-9) is with insulation, shell (3-2) adopts the zinc-plated post-coat lacquer of common metal plate, shelves cascades (3-7) hang over back on the cold air passageway, arranged in dislocation, insulation cover (3-3) is stamped on chilled water ozone dissolving tank (3) top.
4, according to claims 1 described multifunction air-conditioning refrigeration freshness retaining system of air refrigeration, it is characterized in that: described ammonia machine (4) is by semiclosed ammonia compressor (4-1), evaporimeter (4-2), condenser (4-3) is formed, the hot ammonia steam exhaust-gas mouth (4-6) of semiclosed ammonia compressor (4-1) links to each other with condenser (4-3) in being contained in ozonolysis bothrium (5), and the cold ammonia return-air mouth (4-5) of semiclosed ammonia compressor (4-1) links to each other with evaporimeter (4-2) in the chilled water ozone dissolving tank (3).
5, according to claims 1 described multifunction air-conditioning refrigeration freshness retaining system of air refrigeration, it is characterized in that: described ozonolysis bothrium (5) branch top box and nowel are two-layer, and the centre separates with dividing plate; Shell (5-1) adopts corrosion resistant plate to be welded, and a discharge outlet (5-5) is arranged on the dividing plate, and the water of top box can flow into nowel; There is an isobaric cooling heat exchanger (5-2) to be immersed in the chilled water in the top box, top box has ozone chilled water water inlet (5-3), one first gas outlet (5-4), nitrogen after ozone decomposes, general oxygen, elemental oxygen from then on mouth enter atmosphere, nowel has condenser (4-3) to be immersed in the water, water heat absorption back temperature raises ozone is decomposed, and reduces the ammonia vapor (steam) temperature simultaneously, makes it be condensed into liquid ammonia; Following upper box part has a backheat mouth of a river (5-10), hot water behind cooling ozone generator and the compressor, enter nowel after compiling, following upper box part has one second gas outlet (5-6), nitrogen after ozone decomposes, general oxygen, elemental oxygen from then on mouth enter atmosphere, a discharge outlet (5-7) is arranged at the bottom of nowel, makes hot water enter wind cooling temperature lowering device (6) cooling.
6, according to claims 1 described multifunction air-conditioning refrigeration freshness retaining system of air refrigeration, it is characterized in that: described fresh-keeping warehouse or antistaling box (10) are built with sealing by building the heat insulation of freezer, require sealing heat insulation, shell (10-1) and back boxing (10-2) are made with steel plate, therebetween insulation material and body of wall (10-3), the trench of ventilation is arranged at the bottom of fresh-keeping warehouse or antistaling box (10), at hermatic door (10-6) upper side tonifying Qi hole (10-4) is arranged, the tolerance that replenishment system loses because of heat extraction gas, bleeding point (10-5) is arranged at top, extract back cold air out, air inlet (10-8) is arranged at the bottom, make cold air lead directly to trench, a discharge outlet (10-7) is arranged at the bottom, gets rid of the water that generates behind ozone and the ethylene reaction.
7, according to claims 1 described multifunction air-conditioning refrigeration freshness retaining system of air refrigeration, it is characterized in that: the suction nozzle (12-1) of the described time cold and hot air generator of cold type (12), be spun on the shell with being threaded, its endoporus leads directly to go back to cold chamber (12-2), and reflection control valve (12-3) is contained on the valve seat of hot junction; Heat pipe (12-4) end links to each other with the cyclonic chamber shell with screw thread, and the other end links to each other with the hot junction valve seat; Heat-insulation layer (12-5) wraps in the heat pipe outside; Silencer (12-6) is screwed on the cold junction shell; In the cyclonic chamber outside 2~6 tangential admission mouths (12-7) are arranged, returning cold chamber (12-2) the air importing cyclonic chamber (12-8) of rotation at a high speed; Hot junction exhaust outlet (12-9) is driveed on the valve seat of hot junction, can discharge thermal current.
CNB2007100627802A 2007-01-17 2007-01-17 New Air Refrigeration Multi-functional Controlled Atmosphere Refrigeration and Preservation System Expired - Fee Related CN100443837C (en)

Priority Applications (1)

Application Number Priority Date Filing Date Title
CNB2007100627802A CN100443837C (en) 2007-01-17 2007-01-17 New Air Refrigeration Multi-functional Controlled Atmosphere Refrigeration and Preservation System

Applications Claiming Priority (1)

Application Number Priority Date Filing Date Title
CNB2007100627802A CN100443837C (en) 2007-01-17 2007-01-17 New Air Refrigeration Multi-functional Controlled Atmosphere Refrigeration and Preservation System

Publications (2)

Publication Number Publication Date
CN101000205A CN101000205A (en) 2007-07-18
CN100443837C true CN100443837C (en) 2008-12-17

Family

ID=38692266

Family Applications (1)

Application Number Title Priority Date Filing Date
CNB2007100627802A Expired - Fee Related CN100443837C (en) 2007-01-17 2007-01-17 New Air Refrigeration Multi-functional Controlled Atmosphere Refrigeration and Preservation System

Country Status (1)

Country Link
CN (1) CN100443837C (en)

Families Citing this family (8)

* Cited by examiner, † Cited by third party
Publication number Priority date Publication date Assignee Title
CN103283808A (en) * 2013-05-28 2013-09-11 安徽鑫河清真牛羊肉加工有限公司 Long-time large-scale storage and preservation warehouse for beef and mutton and storage and preservation method thereof
CN103651765A (en) * 2013-12-09 2014-03-26 北海市果香园果汁有限公司 Mango automatic spraying ripening apparatus
CN106081221A (en) * 2016-06-21 2016-11-09 陈立民 A kind of controlled atmosphere deoxidization method and device
CN108592526A (en) * 2018-05-04 2018-09-28 青岛农业大学 A kind of leaf vegetables vacuum dehydration pre-cooler and forecooling method
CN109549060B (en) * 2018-12-19 2024-05-03 广州极速制冷设备有限公司 Intelligent molecule thawing library
CN110398114B (en) * 2019-07-02 2020-12-15 天津商业大学 A small food pre-cooling processing comprehensive energy device
CN110893932A (en) * 2019-12-26 2020-03-20 浙江雪波蓝科技有限公司 Modular cold chain unit delivery box
CN113791651B (en) * 2021-08-04 2022-05-27 南阳市京德啤酒技术开发有限公司 Temperature control system for preventing fermentation tank from cooling and freezing

Citations (7)

* Cited by examiner, † Cited by third party
Publication number Priority date Publication date Assignee Title
JPS6443175A (en) * 1987-08-10 1989-02-15 Ishikawajima Harima Heavy Ind Apparatus for keeping freshness of food
JPH05196330A (en) * 1991-07-22 1993-08-06 Katsumi Takao Apparatus for making ice containing dissolved ozone
JPH07301482A (en) * 1994-04-30 1995-11-14 Mitsubishi Electric Corp Refrigeration / air conditioning system
JPH1130469A (en) * 1997-07-09 1999-02-02 Ke Corp:Kk High humidity refrigerator with sterilization function and high humidity refrigeration method
CN2311459Y (en) * 1997-05-16 1999-03-24 常振宇 Air conditioning, disinfecting, refrigerating and heating automatic controlling temperature multi-function fresh-keeping container
CN2365193Y (en) * 1997-10-17 2000-02-23 江启龙 Efficient ceramic ozone generating tube
CN2751576Y (en) * 2004-11-12 2006-01-18 浙江大学 Air conditioning sterilizing machine for keeping fruits, vegetable and flowers fresh

Patent Citations (7)

* Cited by examiner, † Cited by third party
Publication number Priority date Publication date Assignee Title
JPS6443175A (en) * 1987-08-10 1989-02-15 Ishikawajima Harima Heavy Ind Apparatus for keeping freshness of food
JPH05196330A (en) * 1991-07-22 1993-08-06 Katsumi Takao Apparatus for making ice containing dissolved ozone
JPH07301482A (en) * 1994-04-30 1995-11-14 Mitsubishi Electric Corp Refrigeration / air conditioning system
CN2311459Y (en) * 1997-05-16 1999-03-24 常振宇 Air conditioning, disinfecting, refrigerating and heating automatic controlling temperature multi-function fresh-keeping container
JPH1130469A (en) * 1997-07-09 1999-02-02 Ke Corp:Kk High humidity refrigerator with sterilization function and high humidity refrigeration method
CN2365193Y (en) * 1997-10-17 2000-02-23 江启龙 Efficient ceramic ozone generating tube
CN2751576Y (en) * 2004-11-12 2006-01-18 浙江大学 Air conditioning sterilizing machine for keeping fruits, vegetable and flowers fresh

Also Published As

Publication number Publication date
CN101000205A (en) 2007-07-18

Similar Documents

Publication Publication Date Title
CN100443837C (en) New Air Refrigeration Multi-functional Controlled Atmosphere Refrigeration and Preservation System
CN201199115Y (en) Refrigerator capable of reducing oxygen and regulating fresh-keeping
CN103043308A (en) Moderate oxygen control constant-temperature humidity conditioning storage container
CN104677066B (en) A kind of vacuum impulse ultrasound drying equipment
CN2525449Y (en) Air regulation fresh-keeping refrigerator
CN204623274U (en) A kind of spontaneous controlled-atmosphere fruit and vegetable fresh-keeping and cold storage car
CN205455713U (en) Flesh of fish vacuum refreshing cabinet
CN209209539U (en) A kind of fruits and vegetables dry fog fresh-preserving container
CN201795650U (en) Lychee origin pre-cooling device
CN201156951Y (en) Fruit and vegetable vacuum precooling cold storage system
CN106885423A (en) Ventilating fruits and vegetables freezer
CN1214206A (en) Vacuum fresh-keeping warehouse with low constant temperature structure
CN204722156U (en) Negative pressure ethylene removal device
CN100458331C (en) Energy-saving clean safe vacuum pre-cooling system
CN203801615U (en) Citrus and navel orange storeroom
CN205455722U (en) Agricultural product low temperature saturated humidity vacuum precooling apparatus
CN216154561U (en) Storage warehouse after orchard harvest
CN215412686U (en) Fruit and vegetable storage refrigeration house
CN202521941U (en) Lithium bromide absorption type vacuum pre-cooling equipment
CN202311071U (en) Vacuum precooling machine for fruits and vegetables
CN201297815Y (en) Ice refrigeration constant temperature fresh-keeping device
CN202063405U (en) Small device for pre-cooling fruits and vegetables in places of origin
CN212227560U (en) A drying device for agricultural products with heat pump coupled nitrogen cycle
CN208398467U (en) Refrigerator with a door
CN102941794B (en) Continuous air suction type depressurized refrigerator truck

Legal Events

Date Code Title Description
C06 Publication
PB01 Publication
C10 Entry into substantive examination
SE01 Entry into force of request for substantive examination
C14 Grant of patent or utility model
GR01 Patent grant
CF01 Termination of patent right due to non-payment of annual fee

Granted publication date: 20081217

Termination date: 20130117

CF01 Termination of patent right due to non-payment of annual fee