CN100367900C - Two-stage vacuum cleaner dust removal device - Google Patents
Two-stage vacuum cleaner dust removal device Download PDFInfo
- Publication number
- CN100367900C CN100367900C CNB2005100955988A CN200510095598A CN100367900C CN 100367900 C CN100367900 C CN 100367900C CN B2005100955988 A CNB2005100955988 A CN B2005100955988A CN 200510095598 A CN200510095598 A CN 200510095598A CN 100367900 C CN100367900 C CN 100367900C
- Authority
- CN
- China
- Prior art keywords
- dust
- cover
- cylindrical
- cyclone separator
- cyclone
- Prior art date
- Legal status (The legal status is an assumption and is not a legal conclusion. Google has not performed a legal analysis and makes no representation as to the accuracy of the status listed.)
- Expired - Lifetime
Links
Images
Landscapes
- Filters For Electric Vacuum Cleaners (AREA)
- Cyclones (AREA)
Abstract
本发明公开了一种两段式吸尘器除尘装置,该装置包括一个上游旋风分离器和数个下游旋风分离器,下游旋风分离器位于上游旋风分离器的下方,上游旋风分离器的出风口与下游旋风分离器的进风口连通;本发明能在增加风量的同时,缩小机体的体积,同时保持较高的除尘效率,并且下游旋风分离器采用扩散式结构,气流在筒体内旋转时呈减速离心状态,气流压力损失小,吸尘效果好。
The invention discloses a two-stage vacuum cleaner dust removal device, which comprises an upstream cyclone separator and several downstream cyclone separators, the downstream cyclone separator is located below the upstream cyclone separator, and the air outlet of the upstream cyclone separator is connected to the downstream The air inlet of the cyclone separator is connected; the invention can reduce the volume of the body while increasing the air volume, while maintaining a high dust removal efficiency, and the downstream cyclone separator adopts a diffusion structure, and the airflow is decelerated and centrifugal when it rotates in the cylinder , the airflow pressure loss is small, and the dust collection effect is good.
Description
技术领域technical field
本发明涉及一种两段式吸尘器除尘装置。The invention relates to a two-stage vacuum cleaner dust removal device.
背景技术Background technique
传统的吸尘器中安装有过滤装置,目的是将吸入的脏空气进行过滤,把灰尘颗粒留在集尘装置中,因此,此类吸尘器在使用一段时间以后,用户应将过滤装置进行清理或更换,否则,过滤装置的滤孔被细灰尘堵塞后,会增大真空电机的阻力,严重者甚至会烧坏电机,不仅给用户带来了麻烦,而且也会影响吸尘器的性能和寿命。A filter device is installed in a traditional vacuum cleaner to filter the inhaled dirty air and keep the dust particles in the dust collection device. Therefore, after using this type of vacuum cleaner for a period of time, the user should clean or replace the filter device. Otherwise, the filter holes of the filter device will be blocked by fine dust, which will increase the resistance of the vacuum motor, and even burn out the motor in severe cases, which not only brings trouble to the user, but also affects the performance and life of the vacuum cleaner.
近年来,厂商根据旋风分离的原理,用旋风除尘装置来替代过滤装置,取得了较好的除尘效果,因此而广泛地应用到吸尘器上。该旋风除尘装置于尘杯内设置一个上端大、下端小的锥形筒体,锥形筒体的上端纵向设置一出风管,锥形筒体的下端开口以便于灰尘落入尘杯底部,进风管于锥形筒体上部侧壁并沿切线方向进入,使带有灰尘的气流在锥形筒体内产生旋风,灰尘颗粒在离心力的作用下沿锥形筒体侧壁下落到集尘盒底部,除尘后的气流向上经出风管排出。In recent years, based on the principle of cyclone separation, manufacturers have replaced filter devices with cyclone dust collectors, which have achieved better dust removal effects, and are therefore widely used in vacuum cleaners. The cyclone dust removal device is provided with a conical cylinder with a large upper end and a small lower end in the dust cup. An air outlet pipe is arranged longitudinally on the upper end of the conical cylinder. The lower end of the conical cylinder is open to facilitate dust falling into the bottom of the dust cup. The air inlet pipe enters the upper side wall of the conical cylinder along the tangential direction, so that the airflow with dust will generate a whirlwind in the conical cylinder, and the dust particles will fall to the dust box along the side wall of the conical cylinder under the action of centrifugal force. At the bottom, the airflow after dust removal is discharged upward through the air outlet pipe.
但是,旋风除尘装置也存在着体积较大的缺点,特别是风流量要求较大的大型吸尘器上使用的旋风除尘装置体积就更大,不仅增加了成本,而且用户使用也比较麻烦。However, the cyclone dust removal device also has the disadvantage of a large volume, especially the volume of the cyclone dust removal device used on a large vacuum cleaner with a large air flow requirement is larger, which not only increases the cost, but also is more troublesome for users to use.
发明内容Contents of the invention
本发明的目的是:提供一种两段式吸尘器除尘装置,该装置包括一个上游旋风分离器和数个下置的下游旋风分离器,上游旋风分离器的出风口与数个下游分离器的进风口连通,可在不增加机体体积的同时提高风量,保持较高的除尘效率。The object of the present invention is to provide a two-stage vacuum cleaner dust removal device, which includes an upstream cyclone separator and several downstream cyclone separators, the air outlet of the upstream cyclone separator is connected to the inlet of several downstream separators. The air port is connected, which can increase the air volume without increasing the volume of the machine and maintain a high dust removal efficiency.
本发明的技术方案是:一种两段式吸尘器除尘装置,该装置包括一个上游旋风分离器和数个下游旋风分离器,下游旋风分离器位于上游旋风分离器的下方,上游旋风分离器的出风口与下游旋风分离器的进风口连通。The technical solution of the present invention is: a two-stage vacuum cleaner dust removal device, which includes an upstream cyclone separator and several downstream cyclone separators, the downstream cyclone separator is located below the upstream cyclone separator, and the outlet of the upstream cyclone separator The tuyere is in communication with the air inlet of the downstream cyclone separator.
本发明进一步的技术方案是:一种两段式吸尘器除尘装置,该装置包括一个上游旋风分离器和数个下游旋风分离器,下游旋风分离器位于上游旋风分离器的下方,上游旋风分离器的出风口与下游旋风分离器的进风口连通;所述上游旋风分离器包括一个具有旋风进风口的圆筒形尘杯,圆筒形尘杯内同轴设有一个布满小孔的圆筒形过滤罩,圆筒形尘杯的顶端设有出风口、底端设有落尘口,圆筒形过滤罩的顶端开口并与出风口连接;所述圆筒形尘杯上罩有外罩筒,出风口通过外罩筒与圆筒形尘杯之间的间隙所形成的风道与下游旋风分离器的进风口连通;所述圆筒形尘杯的下段呈漏斗状,漏斗状尘杯的内壁设有一圈向下旋转的螺旋形叶片;所述外罩筒的顶部中间设有向下凸出并部分伸入圆筒形过滤罩中的锥形凸起。The further technical solution of the present invention is: a two-stage vacuum cleaner dust removal device, the device includes an upstream cyclone separator and several downstream cyclone separators, the downstream cyclone separator is located below the upstream cyclone separator, and the upstream cyclone separator The air outlet communicates with the air inlet of the downstream cyclone separator; the upstream cyclone separator includes a cylindrical dust cup with a cyclone air inlet, and a cylindrical dust cup full of small holes is coaxially arranged in the cylindrical dust cup. In the filter cover, the top of the cylindrical dust cup is provided with an air outlet, and the bottom end is provided with a dust outlet. The top of the cylindrical filter cover is opened and connected to the air outlet; The tuyere communicates with the air inlet of the downstream cyclone separator through the air duct formed by the gap between the outer cover tube and the cylindrical dust cup; the lower section of the cylindrical dust cup is funnel-shaped, and the inner wall of the funnel-shaped dust cup is provided with a A spiral blade that rotates downward; a conical protrusion that protrudes downward and partially extends into the cylindrical filter cover is provided in the middle of the top of the outer cover cylinder.
本发明更详细的技术方案是:一种两段式吸尘器除尘装置,该装置包括一个上游旋风分离器和数个下游旋风分离器,下游旋风分离器位于上游旋风分离器的下方,上游旋风分离器的出风口与下游旋风分离器的进风口连通;所述上游旋风分离器包括一个具有旋风进风口的圆筒形尘杯,圆筒形尘杯内同轴设有一个布满小孔的圆筒形过滤罩,圆筒形尘杯的顶端设有出风口、底端设有落尘口,圆筒形过滤罩的顶端开口并与出风口连接;所述圆筒形尘杯上罩有外罩筒,出风口通过外罩筒与圆筒形尘杯之间的间隙所形成的风道与下游旋风分离器的进风口连通;所述圆筒形尘杯的下段呈漏斗状,漏斗状尘杯的内壁设有一圈向下旋转的螺旋形叶片;所述外罩筒的顶部中间设有向下凸出并部分伸入圆筒形过滤罩中的锥形凸起;所述下游旋风分离器包括一具有旋风进风口的圆柱形筒体,圆柱形筒体的下端连接有圆锥形筒体,圆柱形筒体与圆锥形筒体的小端连接,圆柱形筒体内同轴设有一个出风管;所述上游旋风分离器和数个下游旋风分离器之间设有一个双层风罩,双层风罩的内圈以内为出风罩,下游旋风分离器的出风管与出风罩连通,出风罩的侧面连接有排风管,双层风罩的内圈与外圈之间为进风罩,进风罩与风道连通,进风罩的下方设有旋风罩,进风罩与旋风罩连通,下游旋风分离器的圆柱形筒体的上段及其设置在上段上的旋风进风口设置在旋风罩内;所述位于上游旋风分离器下方的数个下游旋风分离器布置在以上游旋风分离器的轴心线为圆心的同一圆周上,相邻的两个下游旋风分离器之间连接隔板,隔板中间形成集尘筒,圆筒形尘杯底端的落尘口从中部穿过双层风罩和旋风罩与集尘筒连通;所述圆锥形筒体的下部设有伞形反射盘,伞形反射盘的中心设有回流孔,伞形反射盘的周缘与圆锥形筒体的侧壁之间设有落尘环隙,圆锥形筒体的底部连接有集尘斗,集尘斗与中部集尘筒的底部设有下盖。The more detailed technical solution of the present invention is: a two-stage vacuum cleaner dust removal device, the device includes an upstream cyclone separator and several downstream cyclone separators, the downstream cyclone separator is located below the upstream cyclone separator, and the upstream cyclone separator The air outlet of the air outlet communicates with the air inlet of the downstream cyclone separator; the upstream cyclone separator includes a cylindrical dust cup with a cyclone air inlet, and a cylinder full of small holes is coaxially arranged in the cylindrical dust cup shaped filter cover, the top of the cylindrical dust cup is provided with an air outlet, the bottom is provided with a dust outlet, the top of the cylindrical filter cover is open and connected to the air outlet; the cylindrical dust cup is covered with an outer cover tube, The air outlet communicates with the air inlet of the downstream cyclone separator through the air duct formed by the gap between the outer cover tube and the cylindrical dust cup; the lower section of the cylindrical dust cup is funnel-shaped, and the inner wall of the funnel-shaped dust cup is designed There is a circle of spiral blades that rotate downward; the top of the outer cover tube is provided with a conical protrusion that protrudes downward and partially extends into the cylindrical filter cover; the downstream cyclone separator includes a cyclone inlet The cylindrical cylinder body of the tuyere, the lower end of the cylindrical cylinder body is connected with a conical cylinder body, the cylindrical cylinder body is connected with the small end of the conical cylinder body, and an air outlet pipe is coaxially arranged in the cylindrical cylinder body; the upstream There is a double-layer wind hood between the cyclone separator and several downstream cyclone separators. The inner ring of the double-layer wind hood is the air outlet hood. The air outlet pipe of the downstream cyclone separator is connected with the air outlet hood. There is an exhaust pipe connected to the side of the double-layer wind hood, and the air inlet hood is between the inner ring and the outer ring of the double-layer wind hood, and the air inlet hood is connected with the air duct. , the upper section of the cylindrical shell of the downstream cyclone separator and the cyclone air inlet arranged on the upper section are arranged in the cyclone cover; the several downstream cyclone separators located below the upstream cyclone separator are arranged in the upper upstream cyclone separator On the same circle where the axis line is the center of the circle, a partition is connected between two adjacent downstream cyclone separators, and a dust collection tube is formed in the middle of the partition, and the dust falling port at the bottom of the cylindrical dust cup passes through the double-layer wind turbine from the middle. The hood and the cyclone hood are connected with the dust collection tube; the lower part of the conical cylinder is provided with an umbrella-shaped reflector, and the center of the umbrella-shaped reflector is provided with a return hole. There is a dust falling ring gap between them, the bottom of the conical cylinder is connected with a dust collecting hopper, and the bottom of the dust collecting hopper and the middle dust collecting cylinder is provided with a lower cover.
本发明的优点是:The advantages of the present invention are:
1.本发明包括一个上游旋风分离器和数个下置的下游旋风分离器,上游分离器的出风口与数个下游旋风分离器的进风口连通,可在不增加机体体积的同时提高风量,保持较高的除尘效率。1. The present invention includes an upstream cyclone separator and several lower downstream cyclone separators, the air outlet of the upstream separator communicates with the air inlets of several downstream cyclone separators, which can increase the air volume without increasing the volume of the machine body, Maintain a high dust removal efficiency.
2.由于本发明的上游旋风分离器的出风从尘杯周围的内道进入下游旋风分离器的旋风进风口,并且数个下游旋风分离器呈圆周状分布,中间为上游旋风分离器的集尘筒,因此结构比较紧凑,上游旋风分离器和下旋风分离的布置比较方便。2. Since the air outlet of the upstream cyclone separator of the present invention enters the cyclone air inlet of the downstream cyclone separator from the inner channel around the dust cup, and several downstream cyclone separators are distributed in a circular shape, and the middle is the collector of the upstream cyclone separator. Therefore, the structure is relatively compact, and the arrangement of the upstream cyclone separator and the downstream cyclone separator is relatively convenient.
3.现有技术中的下游旋风分离器的锥形筒体均呈漏斗形状,旋风进风口位于上部大端,依靠气流加速旋转来分离灰尘,所以气流的压力损失较大,影响了吸尘器的吸尘效果,而且,加速的气流容易将沉入尘杯底部的细小灰尘再次扬起,随气流一起从出风管排出,产生二次污染,而本发明的下游旋风分离器采用扩散式结构,锥形筒体为上端小、下端大的形状,旋风进风口位于上部小端,气流在锥形筒体内旋转时呈减速离心状态,使气流压力损失小,因此能取得较好的吸尘效果。3. The cone-shaped barrel of the downstream cyclone separator in the prior art is in the shape of a funnel, and the cyclone air inlet is located at the upper large end, relying on the accelerated rotation of the airflow to separate the dust, so the pressure loss of the airflow is relatively large, which affects the suction of the vacuum cleaner. dust effect, and the accelerated air flow is easy to raise the fine dust that sinks into the bottom of the dust cup again, and is discharged from the air outlet pipe together with the air flow, resulting in secondary pollution. The downstream cyclone separator of the present invention adopts a diffusion structure, and the The cylindrical cylinder has a small upper end and a larger lower end. The cyclone air inlet is located at the upper small end. When the airflow rotates in the cone-shaped cylinder, it is in a decelerated centrifugal state, which makes the airflow pressure loss small, so it can achieve better dust collection effect.
4.本发明的下游旋风分离器下部的气流旋转速度比上部慢,因此可避免尘杯底部的灰尘产生扬尘现象,从而不会产生二次污染的情况。4. The rotation speed of the airflow in the lower part of the downstream cyclone separator of the present invention is slower than that in the upper part, so the dust at the bottom of the dust cup can be avoided to generate dust, thereby preventing secondary pollution.
附图说明Description of drawings
下面结合附图和实施例对本发明作进一步的描述:Below in conjunction with accompanying drawing and embodiment the present invention will be further described:
图1为本发明的装配示意图;Fig. 1 is the assembly schematic diagram of the present invention;
图2为本发明的主视剖视图;Fig. 2 is a front sectional view of the present invention;
图3为本发明的外形图。Figure 3 is an outline view of the present invention.
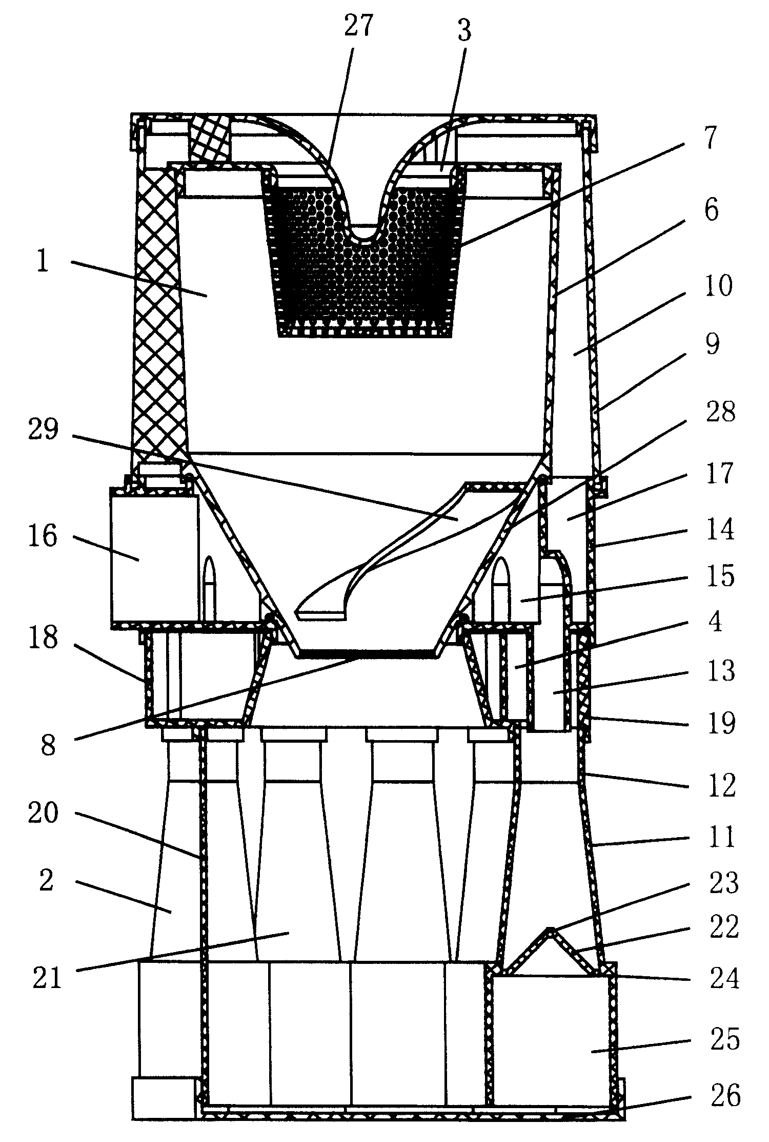
其中:1上游旋风分离器;2下游旋风分离器;3出风口;4旋风进风口;5旋风进风口;6圆筒形尘杯;7圆筒形过滤罩;8落尘口;9外罩筒;10风道;11圆锥形筒体;12圆柱形筒体;13出风管;14双层风罩;15出风罩;16排风管;17进风罩;18旋风罩;19上段;20隔板;21集尘筒;22伞形反射盘;23回流孔;24落尘环隙;25集尘斗;26下盖;27锥形凸起;28漏斗状尘杯;29螺旋形叶片。Among them: 1 upstream cyclone separator; 2 downstream cyclone separator; 3 air outlet; 4 cyclone air inlet; 5 cyclone air inlet; 6 cylindrical dust cup; 7 cylindrical filter cover; 10 air duct; 11 conical cylinder; 12 cylindrical cylinder; 13 air outlet pipe; 14 double-layer air cover; 15 air outlet hood; 16 exhaust pipe; Partition; 21 Dust collecting tube; 22 Umbrella reflector; 23 Return hole; 24 Dust falling ring gap; 25 Dust collecting bucket; 26 Lower cover;
具体实施方式Detailed ways
实施例:如图1、图2、图3所示,一种两段式吸尘器除尘装置,该装置包括一个上游旋风分离器1和九个下游旋风分离器2,下游旋风分离器2位于上游旋风分离器1的下方,并且布置在以上游旋风分离器1的轴心线为圆心的同一圆周上;Embodiment: As shown in Fig. 1, Fig. 2 and Fig. 3, a two-stage vacuum cleaner dust removal device includes an
上游旋风分离器1包括一个具有旋风进风口5的圆筒形尘杯6,圆筒形尘杯6内同轴设有一个布满小孔的圆筒形过滤罩7,圆筒形尘杯6的顶端设有出风口3、底端设有落尘口8,圆筒形过滤罩7的顶端开口并与出风口3连接,圆筒形尘杯6上罩有外罩筒9,出风 3通过外罩筒9与圆筒形尘杯6之间的间隙所形成的风道10与下游旋风分离器2的进风口4连通,圆筒形尘杯6的下段呈漏斗状,漏斗状尘杯28的内壁设有一圈向下旋转的螺旋形叶片29,外罩筒9的顶部中间设有向下凸出并部分伸入圆筒形过滤罩7中的锥形凸起27;The
下游旋风分离器2包括一具有旋风进风口4的圆柱形筒体12,圆柱形筒体12的下端连接有圆锥形筒体11,圆柱形筒体12与圆锥形筒体11的小端连接,圆柱形筒体11内同轴设有一个出风管13,上游旋风分离器1和九个下游旋风分离器2之间设有一个双层风罩14,双层风罩14的内圈以内为出风罩15,下游旋风分离器2的出风管13与出风罩15连通,出风罩15的侧面连接有排风管16,双层风罩14的内圈与外圈之间为进风罩17,进风罩17与风道10连通,进风罩17的下方设有旋风罩18,进风罩17与旋风罩18连通,下游旋风分离器2的圆柱形筒体12的上段19及其设置在上段19上的旋风进风口4设置在旋风罩18内;
九个下游旋风分离器2之间连接隔板20,隔板20中间形成集尘筒21,圆筒形尘杯6底端的落尘口8从中部穿过双层风罩14和旋风罩18与集尘筒21连通;The
圆锥形筒体11的下部设有伞形反射盘22,伞形反射盘22的中心设有回流孔23,伞形反射盘22的周缘与圆锥形筒体12的侧壁之间设有落尘环隙24,圆锥形筒体12的底部连接有集尘斗25,集尘斗25与中部集尘筒21的底部设有下盖26。The lower part of the
使用时,含有灰尘的脏空气从旋风进风口5进入圆筒形尘杯6中,粗灰尘通过落尘口8落入集尘筒21中,细灰尘和空气继续进入圆筒形过滤罩7的内部,并由圆筒形尘杯6上端的出风口3进入风道10中,再从风道10向下进入进风罩17中,然后进入各个下游旋风分离器2的旋风进风口4中,并在圆柱形筒体12中形成旋风,在旋风过程中,细灰尘沿圆锥形筒体11的内壁下落,通过落尘环隙24进入集尘斗25的底部,除去灰尘的空气则从出风管13向上进入出风罩15,由出风罩15上的排风管16集中排出。During use, the dirty air containing dust enters the
Claims (8)
Priority Applications (1)
| Application Number | Priority Date | Filing Date | Title |
|---|---|---|---|
| CNB2005100955988A CN100367900C (en) | 2005-11-14 | 2005-11-14 | Two-stage vacuum cleaner dust removal device |
Applications Claiming Priority (1)
| Application Number | Priority Date | Filing Date | Title |
|---|---|---|---|
| CNB2005100955988A CN100367900C (en) | 2005-11-14 | 2005-11-14 | Two-stage vacuum cleaner dust removal device |
Publications (2)
| Publication Number | Publication Date |
|---|---|
| CN1765274A CN1765274A (en) | 2006-05-03 |
| CN100367900C true CN100367900C (en) | 2008-02-13 |
Family
ID=36741547
Family Applications (1)
| Application Number | Title | Priority Date | Filing Date |
|---|---|---|---|
| CNB2005100955988A Expired - Lifetime CN100367900C (en) | 2005-11-14 | 2005-11-14 | Two-stage vacuum cleaner dust removal device |
Country Status (1)
| Country | Link |
|---|---|
| CN (1) | CN100367900C (en) |
Cited By (1)
| Publication number | Priority date | Publication date | Assignee | Title |
|---|---|---|---|---|
| CN101904718A (en) * | 2010-08-10 | 2010-12-08 | 胡国海 | Dust collector and collecting device thereof |
Families Citing this family (3)
| Publication number | Priority date | Publication date | Assignee | Title |
|---|---|---|---|---|
| CN101164485B (en) * | 2006-10-18 | 2011-08-24 | 苏州金莱克家用电器有限公司 | Dust-removing device for vacuum cleaner |
| CN101190115B (en) * | 2006-11-20 | 2012-07-11 | 苏州金莱克家用电器有限公司 | Dust removing device for vacuum cleaner |
| CN101411603B (en) * | 2008-11-15 | 2010-09-01 | 宁波富佳实业有限公司 | Whirlwind type non-drum shaped secondary separation dust cup of vacuum cleaner |
Citations (6)
| Publication number | Priority date | Publication date | Assignee | Title |
|---|---|---|---|---|
| EP1195125A2 (en) * | 2000-10-07 | 2002-04-10 | Hoover Limited | Vacuum cleaner with 2-stage separation |
| CN1505486A (en) * | 2001-02-24 | 2004-06-16 | �������ɭ | Vacuum cleaner |
| CN1572220A (en) * | 2003-05-24 | 2005-02-02 | 三星光州电子株式会社 | Cyclone type dust collecting apparatus of vacuum cleaner |
| CN1839738A (en) * | 2005-03-29 | 2006-10-04 | 三星光州电子株式会社 | Multi-cyclone dust separator |
| CN1839743A (en) * | 2005-03-29 | 2006-10-04 | 三星光州电子株式会社 | Multi-cyclone apparatus for vacuum cleaner |
| CN2845694Y (en) * | 2005-11-14 | 2006-12-13 | 苏州金莱克清洁器具有限公司 | Double section dust remover of vacuum cleaner |
-
2005
- 2005-11-14 CN CNB2005100955988A patent/CN100367900C/en not_active Expired - Lifetime
Patent Citations (6)
| Publication number | Priority date | Publication date | Assignee | Title |
|---|---|---|---|---|
| EP1195125A2 (en) * | 2000-10-07 | 2002-04-10 | Hoover Limited | Vacuum cleaner with 2-stage separation |
| CN1505486A (en) * | 2001-02-24 | 2004-06-16 | �������ɭ | Vacuum cleaner |
| CN1572220A (en) * | 2003-05-24 | 2005-02-02 | 三星光州电子株式会社 | Cyclone type dust collecting apparatus of vacuum cleaner |
| CN1839738A (en) * | 2005-03-29 | 2006-10-04 | 三星光州电子株式会社 | Multi-cyclone dust separator |
| CN1839743A (en) * | 2005-03-29 | 2006-10-04 | 三星光州电子株式会社 | Multi-cyclone apparatus for vacuum cleaner |
| CN2845694Y (en) * | 2005-11-14 | 2006-12-13 | 苏州金莱克清洁器具有限公司 | Double section dust remover of vacuum cleaner |
Cited By (1)
| Publication number | Priority date | Publication date | Assignee | Title |
|---|---|---|---|---|
| CN101904718A (en) * | 2010-08-10 | 2010-12-08 | 胡国海 | Dust collector and collecting device thereof |
Also Published As
| Publication number | Publication date |
|---|---|
| CN1765274A (en) | 2006-05-03 |
Similar Documents
| Publication | Publication Date | Title |
|---|---|---|
| CN100394881C (en) | Side-by-side vacuum cleaner dust removal device | |
| CN100336482C (en) | Sectional type dust remover of vacuum cleaner | |
| CN100405965C (en) | Diffusion type dust removal device for vacuum cleaners | |
| EP1785081B1 (en) | A dust cup in a centrifugal cleaner with fall | |
| CN105902240B (en) | Cyclone separator and dust cup of dust collector | |
| CN201036540Y (en) | Vacuum cleaner two-section three-time cyclone separating dust cup | |
| CN204427938U (en) | A kind of secondary dirt gas separation structure and comprise the dirt cup of this structure | |
| CN201365881Y (en) | Second-level dust-separation device of dust-separation cup of dust collector | |
| CN100374065C (en) | External vacuum cleaner dust removal device | |
| CN110314454B (en) | Dust collecting device for filtering dust by multiple cyclones | |
| US7731771B2 (en) | Cyclone collector | |
| KR102638412B1 (en) | Separation system for vacuum cleaner and vacuum cleaner including separation system | |
| CN100486509C (en) | Cyclone type secondary separation dust cup of vacuum cleaner | |
| CN201453152U (en) | Secondary dust separation device of dust collector | |
| CN100367900C (en) | Two-stage vacuum cleaner dust removal device | |
| CN100387179C (en) | Cyclone type dust cup of dust collector | |
| CN207520098U (en) | Dust collect plant and dust catcher | |
| CN202776166U (en) | Suction force loss-free dust cup for dust collector | |
| CN106762260A (en) | Prefilter and the air-intaking filter of engine using the prefilter | |
| CN212327651U (en) | Cyclone dust removal device | |
| CN2845694Y (en) | Double section dust remover of vacuum cleaner | |
| CN101147663B (en) | Vacuum cleaner | |
| CN111686519A (en) | Cyclone dust removal device | |
| CN2889143Y (en) | Dust collection device of dust collector | |
| CN212493507U (en) | Vertical cyclone separator |
Legal Events
| Date | Code | Title | Description |
|---|---|---|---|
| C06 | Publication | ||
| PB01 | Publication | ||
| C10 | Entry into substantive examination | ||
| SE01 | Entry into force of request for substantive examination | ||
| C14 | Grant of patent or utility model | ||
| GR01 | Patent grant | ||
| TR01 | Transfer of patent right |
Effective date of registration: 20210104 Address after: 215000 No.1 Xiangyang Road, Suzhou New District, Suzhou City, Jiangsu Province Patentee after: KINGCLEAN ELECTRIC Co.,Ltd. Address before: 215009 No. 1 Xiangyang Road, New District, Jiangsu, Suzhou Patentee before: Suzhou Kingclean Floorcare Co.,Ltd. |
|
| TR01 | Transfer of patent right | ||
| CX01 | Expiry of patent term |
Granted publication date: 20080213 |
|
| CX01 | Expiry of patent term |
