WO2025057660A1 - 樹脂封止装置及び樹脂封止方法 - Google Patents

樹脂封止装置及び樹脂封止方法 Download PDF

Info

Publication number
WO2025057660A1
WO2025057660A1 PCT/JP2024/029242 JP2024029242W WO2025057660A1 WO 2025057660 A1 WO2025057660 A1 WO 2025057660A1 JP 2024029242 W JP2024029242 W JP 2024029242W WO 2025057660 A1 WO2025057660 A1 WO 2025057660A1
Authority
WO
WIPO (PCT)
Prior art keywords
mold
sealing
resin
insertion hole
film
Prior art date
Legal status (The legal status is an assumption and is not a legal conclusion. Google has not performed a legal analysis and makes no representation as to the accuracy of the status listed.)
Pending
Application number
PCT/JP2024/029242
Other languages
English (en)
French (fr)
Inventor
誠 川口
和夫 成田
Current Assignee (The listed assignees may be inaccurate. Google has not performed a legal analysis and makes no representation or warranty as to the accuracy of the list.)
Apic Yamada Corp
Original Assignee
Apic Yamada Corp
Priority date (The priority date is an assumption and is not a legal conclusion. Google has not performed a legal analysis and makes no representation as to the accuracy of the date listed.)
Filing date
Publication date
Application filed by Apic Yamada Corp filed Critical Apic Yamada Corp
Publication of WO2025057660A1 publication Critical patent/WO2025057660A1/ja
Pending legal-status Critical Current
Anticipated expiration legal-status Critical

Links

Images

Classifications

    • BPERFORMING OPERATIONS; TRANSPORTING
    • B29WORKING OF PLASTICS; WORKING OF SUBSTANCES IN A PLASTIC STATE IN GENERAL
    • B29CSHAPING OR JOINING OF PLASTICS; SHAPING OF MATERIAL IN A PLASTIC STATE, NOT OTHERWISE PROVIDED FOR; AFTER-TREATMENT OF THE SHAPED PRODUCTS, e.g. REPAIRING
    • B29C33/00Moulds or cores; Details thereof or accessories therefor
    • B29C33/56Coatings, e.g. enameled or galvanised; Releasing, lubricating or separating agents
    • B29C33/68Release sheets
    • BPERFORMING OPERATIONS; TRANSPORTING
    • B29WORKING OF PLASTICS; WORKING OF SUBSTANCES IN A PLASTIC STATE IN GENERAL
    • B29CSHAPING OR JOINING OF PLASTICS; SHAPING OF MATERIAL IN A PLASTIC STATE, NOT OTHERWISE PROVIDED FOR; AFTER-TREATMENT OF THE SHAPED PRODUCTS, e.g. REPAIRING
    • B29C45/00Injection moulding, i.e. forcing the required volume of moulding material through a nozzle into a closed mould; Apparatus therefor
    • B29C45/02Transfer moulding, i.e. transferring the required volume of moulding material by a plunger from a "shot" cavity into a mould cavity
    • BPERFORMING OPERATIONS; TRANSPORTING
    • B29WORKING OF PLASTICS; WORKING OF SUBSTANCES IN A PLASTIC STATE IN GENERAL
    • B29CSHAPING OR JOINING OF PLASTICS; SHAPING OF MATERIAL IN A PLASTIC STATE, NOT OTHERWISE PROVIDED FOR; AFTER-TREATMENT OF THE SHAPED PRODUCTS, e.g. REPAIRING
    • B29C45/00Injection moulding, i.e. forcing the required volume of moulding material through a nozzle into a closed mould; Apparatus therefor
    • B29C45/17Component parts, details or accessories; Auxiliary operations
    • BPERFORMING OPERATIONS; TRANSPORTING
    • B29WORKING OF PLASTICS; WORKING OF SUBSTANCES IN A PLASTIC STATE IN GENERAL
    • B29CSHAPING OR JOINING OF PLASTICS; SHAPING OF MATERIAL IN A PLASTIC STATE, NOT OTHERWISE PROVIDED FOR; AFTER-TREATMENT OF THE SHAPED PRODUCTS, e.g. REPAIRING
    • B29C45/00Injection moulding, i.e. forcing the required volume of moulding material through a nozzle into a closed mould; Apparatus therefor
    • B29C45/17Component parts, details or accessories; Auxiliary operations
    • B29C45/40Removing or ejecting moulded articles
    • H10W74/01

Definitions

  • the present invention relates to a resin sealing device and a resin sealing method.
  • the transfer molding method is a technology in which a pot is provided to supply a predetermined amount of resin to a pair of sealing regions (cavities) provided in a sealing mold comprising an upper and lower mold, and the workpieces are placed in positions corresponding to the respective sealing regions and clamped by the upper and lower molds, and resin is poured from the pot into the cavity to seal the workpieces (see Patent Document 1: JP 2015-000520 A).
  • Potting liquid resin is one method for molding workpieces with exposed vertical terminals (electrical terminals that stand vertically from the substrate or electronic component) used in power devices, etc.
  • exposed vertical terminals electrical terminals that stand vertically from the substrate or electronic component
  • voids are likely to occur, resulting in low reliability of the molded product.
  • resin burrs are generated around the vertical terminals, and narrowing the gap between the vertical terminals and the surrounding clamping members makes it difficult to release the molded product from the mold.
  • the present invention was made in consideration of the above circumstances, and aims to provide a resin sealing device and a resin sealing method that can reliably release a workpiece equipped with vertical terminals when the mold is opened.
  • the present invention solves the above problems by using the solution described below as one embodiment.
  • a resin sealing device is a resin sealing device that uses a sealing mold having a first mold and a second mold, one of which is an upper mold and the other is a lower mold, to seal a workpiece having a vertical terminal with sealing resin and process it into a molded product, and is provided with a film supply mechanism that supplies a release film that is attached to the mold surface of the first mold, the second mold has a work holding part that holds the workpiece, the first mold has an insertion hole through which the vertical terminal is inserted from a first end facing the work holding part, and an ejector pin that is inserted from a second end of the insertion hole and is movable within the insertion hole in the mold opening and closing direction, and when the sealing mold is closed, the ejector pin retracts so that the vertical terminal can be inserted into the insertion hole, and when the sealing mold is opened, the ejector pin pushes the vertical terminal to release the molded product from the first mold.
  • the workpiece equipped with the vertical terminal can be reliably released from the mold when the mold is opened.
  • the first mold has a plurality of suction holes that suck and stretch the release film around the insertion hole.
  • the vertical terminal penetrates the release film to form a film through hole and is inserted into the insertion hole, and the release film around the edge of the film through hole is pulled into the gap between the insertion hole and the vertical terminal, closing the gap.
  • the insertion hole is formed in a sleeve member, and the sleeve member is fitted into a fitting hole provided at a predetermined position of the first mold.
  • the first end of the insertion hole of the sleeve member is formed into a tapered surface that gradually expands in diameter toward the work holding portion.
  • the suction holes are provided at least in two locations facing each other across the fitting hole in a plan view.
  • the resin sealing method is a resin sealing method for processing a molded product by sealing a workpiece having vertical terminals with sealing resin using a sealing mold having a first mold and a second mold, one of which is an upper mold and the other is a lower mold, and includes a film supplying process for supplying and adsorbing a release film to the mold surface of the first mold, a workpiece/sealing resin placing process for holding the workpiece and the sealing resin on the second mold, a mold closing process for closing the sealing mold, and a mold opening process for opening the sealing mold, the mold closing process including a process for inserting the vertical terminals into insertion holes of the first mold, and the mold opening process including a process for releasing the molded product from the first mold by an ejector pin that can move in the insertion hole in the mold opening/closing direction by pushing the vertical terminals.
  • the mold closing process preferably includes a step of inserting the vertical terminal into the insertion hole while penetrating the release film to form a film through hole, and pulling the release film around the edge of the film through hole into the gap between the insertion hole and the vertical terminal to close the gap.
  • the present invention provides a resin sealing device and a resin sealing method that can reliably release a workpiece equipped with vertical terminals when the mold is opened.
  • FIG. 1 is a plan view showing an example of a resin sealing apparatus according to an embodiment of the present invention.
  • FIG. 2 is a side view showing an example of a pressing device of the resin sealing apparatus according to the embodiment of the present invention.
  • FIG. 3 is a front cross-sectional view showing an example of a sealing die of a resin sealing apparatus according to an embodiment of the present invention.
  • FIG. 4 is a front cross-sectional view showing an example of a cavity and a workpiece holding portion of a sealing die of a resin sealing apparatus according to an embodiment of the present invention.
  • Fig. 5A is an enlarged view of a V portion in Fig. 4.
  • Fig. 5B is a plan view showing examples of fitting holes, insertion holes and suction holes.
  • FIG. 5A is an enlarged view of a V portion in Fig. 4.
  • Fig. 5B is a plan view showing examples of fitting holes, insertion holes and suction holes.
  • FIG. 6 is an explanatory diagram of a resin sealing method according to an embodiment of the present invention.
  • FIG. 7 is an explanatory diagram following FIG.
  • FIG. 8 is an enlarged view of a portion VIII in FIG.
  • FIG. 9 is an explanatory diagram following FIG.
  • FIG. 10 is an enlarged view of the portion X in FIG.
  • FIG. 11 is an explanatory diagram following FIG.
  • FIG. 12 is an enlarged view of a portion XII in FIG.
  • FIG. 13 is an explanatory diagram following FIG. 14A and 14B are perspective views showing an example of a workpiece used in the resin sealing apparatus and resin sealing method according to the embodiment of the present invention, respectively.
  • FIG. 1 is a plan view (schematic diagram) showing an example of a resin sealing device 1 according to this embodiment.
  • arrows in the figure indicate the left-right direction (X direction), front-back direction (Y direction), and up-down direction (Z direction) in the resin sealing device 1.
  • members having the same function are given the same reference numerals, and repeated explanations may be omitted.
  • the resin sealing device 1 is a device that performs resin sealing of a workpiece (molded product) W using a sealing mold 202 that includes a first mold (upper mold in this embodiment) 204 and a second mold (lower mold in this embodiment) 206.
  • a resin sealing device using a transfer molding method will be described as an example, in which the workpiece W is held by a work holding portion 205 provided on the second mold 206, a cavity 208 (including a part of the mold surface 204a) provided on the first mold 204 in a corresponding arrangement is covered with a release film (hereinafter, may be simply referred to as "film") F, a clamping operation is performed between the first mold 204 and the second mold 206, and the workpiece W is sealed with a sealing resin R.
  • film release film
  • a configuration will be described as an example in which two cavities 208 are provided in one first mold 204 and two workpieces W are arranged in one second mold 206 and resin sealing is performed all at once to obtain a molded product Wp.
  • this is not limited to this, and multiple sets of the above configuration may be arranged side by side (not shown).
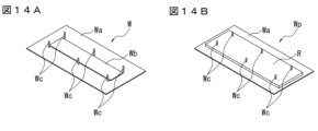
  • the workpiece W to be sealed has a configuration in which electronic components Wb and vertical terminals We are arranged on a substrate Wa as shown in FIG. 14A (the vertical terminals We may be arranged on the electronic components Wb).
  • the number of electronic components Wb arranged on one substrate Wa is set to one or more (for example, in a matrix), and the number of vertical terminals We arranged on one workpiece W is set to one or more (six in this embodiment).
  • Examples of the substrate Wa include plate-like members such as resin substrates, ceramic substrates, metal substrates, carrier plates, lead frames, and wafers.
  • the shape of the substrate Wa may be rectangular (striped), square, circular, etc.
  • Examples of the electronic component Wb include semiconductor chips, MEMS chips, passive elements, heat sinks, conductive members, spacers, etc.
  • Examples of the vertical terminals Wc include pin terminals (lead pins), etc.
  • the shape of the vertical terminals Wc may be cylindrical, prismatic, wire-like, etc.
  • Examples of methods for arranging (mounting) electronic components Wb on the substrate Wa include wire bonding and flip chip mounting.
  • the electronic components Wb can be attached using a thermally peelable adhesive tape or an ultraviolet-curing resin that hardens when exposed to ultraviolet light.
  • a tablet-shaped (e.g., cylindrical) thermosetting resin e.g., an epoxy-based resin containing a filler, but not limited to this
  • the sealing resin R is not limited to the above state, and may be a shape other than a cylindrical shape, and may be a resin other than an epoxy-based thermosetting resin.
  • film F examples include film materials with excellent heat resistance, ease of peeling, flexibility, and extensibility, such as PTFE (polytetrafluoroethylene), ETFE (polytetrafluoroethylene polymer), PET, FEP, fluorine-impregnated glass cloth, polypropylene, and polyvinylidine chloride.
  • the resin sealing apparatus 1 mainly comprises a supply unit 100A that supplies the workpiece W and sealing resin R, a press unit 100B that seals the workpiece W with sealing resin R and processes it into a molded product Wp, and a storage unit 100C that stores the molded product Wp.
  • the supply unit 100A, press unit 100B, press unit 100B, and storage unit 100C are arranged in this order along the X direction in FIG. 1.
  • the above configuration is not limited to this, and the equipment configuration within the unit, the number of units (particularly the number of press units), and the arrangement order of the units can be changed.
  • a configuration including units other than those described above (all not shown) is also possible.
  • a control unit 150 that controls the operation of each mechanism in each unit is disposed in the supply unit 100A (it may also be configured to be disposed in another unit).
  • the resin sealing device 1 has a guide rail 300 that is linearly provided between each unit, and a transport device (first loader) 302 that transports the workpiece W and sealing resin R, and a transport device (second loader) 304 that transports the molded product Wp are provided so as to be movable between predetermined units along the guide rail 300.
  • first loader transports the workpiece W and sealing resin R
  • second loader transport device
  • the configuration is not limited to the above, and a configuration may be provided with a common (single) transport device (loader) that transports the workpiece W, sealing resin R, and molded product Wp (not shown).
  • the transport device may be configured to include a robot hand or the like instead of a loader.
  • the supply unit 100A is equipped with a work supply magazine 102 in which a plurality of workpieces W are stored.
  • the work supply magazine 102 may be a known stack magazine, slit magazine, or the like.
  • the workpieces W removed from the work supply magazine 102 are placed on the work table 104.
  • the supply unit 100A (or another unit) is provided with a resin supply section 112 that supplies sealing resin R at a position to the side of the work table 104.
  • a known hopper, feeder, or the like is used for the resin supply section 112.
  • a plurality of sealing resins R (four pieces are given as an example, but the number is not limited to this, or a single piece may be used) supplied from the resin supply section 112 are held at a predetermined position on the resin table 114.
  • the work W placed on the work table 104 and the sealing resin R held on the resin table 114 are held by the first loader 302, transported to the press unit 100B, and set at a predetermined position in the sealing mold 202.
  • the work W is placed on the work holding portion 205 of the second mold 206, and the sealing resin R is contained in the pot 240 of the second mold 206 (the process will be described in detail later).
  • two rows of workpiece holding sections 302A and 302B are arranged side by side along the left-right direction, each capable of holding one workpiece W.
  • a resin holding section 302C capable of holding multiple pieces of sealing resin R (four pieces are shown as an example, but this is not limited to this, or a single piece may be used) along the front-rear direction is provided between the two rows of workpiece holding sections 302A and 302B.
  • a known holding mechanism for example, a clamping configuration with holding claws or a suction configuration with suction holes connected to a suction device for suction
  • the workpiece holding sections 302A, 302B and the resin holding section 302C (not shown in the figures).
  • a configuration may be provided in which a transport device (loader) that moves in the X direction to transport between units and a transport device (loader) that moves in the Y direction to load and set into the second mold 206 are provided separately (not shown).
  • the press unit 100B is equipped with a sealing die 202 having a pair of dies (for example, a combination of multiple die blocks, die plates, and other components made of alloy tool steel) that can be opened and closed. It is also equipped with a press device 250 that opens and closes the sealing die 202 to resin seal the workpiece W. As an example, one press device 250 is provided, but multiple press devices may be provided (not shown).
  • a side view (schematic diagram) of the press device 250 provided in the press unit 100B is shown in FIG. 2, and a front cross-sectional view (schematic diagram) of the sealing die 202 is shown in FIG. 3.
  • a front cross-sectional view (schematic diagram) of the cavity 208 and workpiece holding portion 205 of the sealing die 202 is shown in FIG. 4.
  • the press device 250 is configured to include a pair of platens 254, 256, a plurality of tie bars 252 on which the pair of platens 254, 256 are supported, and a drive device for moving (raising and lowering) the platen 256.
  • the drive device is configured to include a drive source (e.g., an electric motor) 260 and a drive transmission mechanism (e.g., a ball screw or a toggle link mechanism) 262 (however, this is not limited to this).
  • the upper platen 254 in the vertical direction is set as a fixed platen (a platen fixed to the tie bars 252)
  • the lower platen 256 is set as a movable platen (a platen slidably held by the tie bars 252 and raised and lowered).
  • the platens may be set upside down, i.e., the upper side may be set as a movable platen and the lower side as a fixed platen, or both the upper and lower sides may be set as movable platens (neither is shown).
  • the sealing mold 202 includes a first mold 204 and a second mold 206 as a pair of molds arranged between the pair of platens 254, 256 in the press device 250.
  • the upper side in the vertical direction is the first mold (upper mold) 204
  • the lower side is the second mold (lower mold) 206. That is, the first mold 204 is assembled to the upper platen (in this embodiment, the fixed platen 254), and the second mold 206 is assembled to the lower platen (in this embodiment, the movable platen 256).
  • the first mold 204 and the second mold 206 approach and move away from each other to close and open the mold (the vertical direction (up and down direction) is the mold opening and closing direction).
  • a film supply mechanism 211 is provided that transports (supplies) a roll-shaped film F into the interior of the sealing die 202.
  • a strip-shaped film F may be used instead of a roll-shaped film F.
  • the second mold (lower mold) 206 of the sealing mold 202 will be described in detail.
  • the second mold 206 includes a mold base 212, a chase block 216, a clamp block 220, etc., which are assembled together.
  • the chase block 216 is fixed onto the mold base 212
  • the mold base 212 is fixed onto a movable platen 256.
  • the second mold 206 has a plurality of cylindrical pots 240 (four pots are shown as an example, but the number is not limited to four, or a single pot may be used) arranged along the front-rear direction to accommodate the sealing resin R.
  • the pots 240 are formed as through holes that are continuous with the chase block 216 and the clamp block 220.
  • a plunger 242 is pushed into the pot 240 by a known transfer mechanism (not shown), and the sealing resin R in the pot 240 is supplied into the cavity 208 (described later).
  • the second die 206 is provided with a workpiece holding section 205 that holds one or more workpieces W, surrounded by a clamp block 220 fixed on the chase block 216. More specifically, two workpiece holding sections 205 (first workpiece holding section 205A and second workpiece holding section 205B) are provided in an arrangement that sandwiches the pot 240 in the left-right direction. As an example, this workpiece holding section 205 has a suction path (hole, groove, etc.) that communicates with a suction device (both not shown). Specifically, one end of the suction path is connected to the die surface 206a of the second die 206, and the other end is connected to a suction device disposed outside the second die 206.
  • a suction path hole, groove, etc.
  • a second mold heating mechanism (not shown) that heats the second mold 206 to a predetermined temperature.
  • This second mold heating mechanism includes a heater (e.g., an electric wire heater), a temperature sensor, a power source, etc., and heating is controlled by the control unit 150.
  • the heater is built into the mold base 212 and is configured to apply heat to the entire second mold 206 and the sealing resin R in the pot 240. The heater heats the second mold 206 to a predetermined temperature (e.g., 100°C to 300°C).
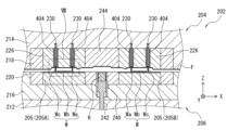
  • the first mold (upper mold) 204 of the sealing mold 202 will be described in detail.
  • the first mold 204 is composed of a mold base 210, a guide block 213, a chase block 214, a clamp block 218, etc., which are combined together.
  • the chase block 214 is fixed to its periphery by being surrounded by the guide block 213, and is supported by a plurality of support pillars 228 erected on the mold base 210.
  • the guide block 213 is fixed to the lower surface of the mold base 210, and the mold base 210 is fixed to the lower surface of a fixed platen 254.
  • the first mold 204 is provided with a cull block 244 fixed to the chase block 214 (including a member fixed to the chase block 214) directly above the pot 240 of the second mold 206 (here referring to an area of a specified width directly above), and having a cull 246 and (a part of) a runner 247 connected to the cull 246 drilled on its underside.
  • a cavity 208 is provided that communicates with the runner 247 and accommodates a specified portion of the work W (the portion where the electronic component Wb and vertical terminal Wc are arranged).
  • the boundary position (boundary area) between the runner 247 and the cavity 208 is a location called a gate 248.
  • the cavity 208 is drilled in the lower surface of the cavity block 226, which is surrounded by the clamp block 218 fixed under the chase block 214. More specifically, in correspondence with the positions of the two workpiece holding parts 205 (first workpiece holding part 205A and second workpiece holding part 205B) of the second mold 206, the cavities 208 (first cavity 208A and second cavity 208B) are disposed on both sides of the cull block 244 in a plan view in the left-right direction (or front-back direction). These workpiece holding parts 205A, 205B and cavities 208A, 208B form a set of structural units in which resin sealing is performed by one pot 240 and the corresponding cull 246, runner 247, and gate 248.
  • a plurality of sets of the structural units are arranged side by side in the front-back direction (or left-right direction).
  • the present invention is not limited to these configurations, and the workpiece holding portion 205 and the cavity 208 may be arranged on only one side of the cull block 244 in the left-right direction (or the front-rear direction) (not shown). Also, the present invention may be arranged with only one set of the above structural units (not shown).
  • Suction paths holes, grooves, etc. that communicate with a suction device are provided on the underside of the clamp block 218 and on the corners of the recessed cavity 208 of the cavity block 226 (not shown). This allows the film F supplied from the film supply mechanism 211 to be adsorbed and held on the mold surface 204a, including the inner surface of the recessed cavity 208.
  • the mold may also be structured to evacuate the cavity 208 when the mold is closed and resin sealing is performed.
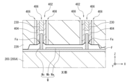
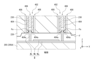
  • the cavity block 226 has a fitting hole 402 formed at a predetermined position.
  • the "predetermined position” here refers to a position corresponding to the vertical terminal Wc of the work W held by the work holding portion 205 of the second mold 206.
  • a sleeve member 404 is fitted into the fitting hole 402, and an insertion hole 406 is formed in the sleeve member 404.
  • the insertion hole 406 serves as an escape hole through which the vertical terminal Wc is inserted (inserted from the first end 406a facing the work holding portion 205) when the mold is closed, and also serves as an insertion path for the ejector pin 230 described later.
  • a plurality of suction holes 408 are provided at predetermined intervals around the insertion hole 406 to further suction and stretch the film F held by suction on the mold surface 204a.
  • the vertical terminal Wc penetrates the film F stretched over the mold surface 204a of the first mold 204, forming a film through hole Fa and being inserted into the insertion hole 406.
  • the film F around the edge of the film through hole Fa is pulled into the gap between the insertion hole 406 and the vertical terminal Wc, closing the gap. This prevents leakage of the sealing resin R into the gap between the vertical terminal Wc and the insertion hole 406, and prevents the occurrence of resin burrs (particularly the rise of resin around the vertical terminal Wc) on the molded product Wp.
  • the sleeve member 404 may be configured to be detachable from the fitting hole 402. This allows the diameter and inner shape of the insertion hole 406 to be changed by replacing the sleeve member 404 according to the type and shape of the vertical terminal Wc of the workpiece W. In addition, the cleanability of the first die 204 in the event of a misshot can be improved.
  • the sleeve member 404 is formed in a cylindrical shape, but it can be formed in a square tube shape or other tube shapes depending on the shape of the fitting hole 402.
  • the sleeve member 404 has a tapered surface 404a where the first end 406a of the insertion hole 406 gradually expands in diameter toward the work holding portion 205. This allows the tip misalignment of the vertical terminal Wc of the work W, which has low accuracy in the mounting position and verticality, to be corrected when the mold is closed, and the work W can be accurately guided from the first end 406a into the insertion hole 406.
  • the sleeve member 404 is formed from the same material as the sealing mold 202 (e.g., alloy tool steel, etc.), but may be formed from other materials (e.g., resin materials, etc.).
  • the suction holes 408 are provided at least at two locations (in this embodiment, four locations arranged to form an angle of 90°) that face each other across the fitting hole 402 in a plan view. This allows the film F around the insertion hole 406 to be stretched, making it easier to form the film through hole Fa when the mold is closed. In other words, the film F is not penetrated (film through hole Fa is not formed), and the film F is prevented from following the vertical terminal Wc and being excessively drawn into the gap between the vertical terminal Wc and the insertion hole 406. Furthermore, it is possible to prevent the sealing resin R from entering the gap between the film through hole Fa and the mold surface 204a through the film through hole Fa during molding, and the film F can be reliably released from the molded product Wp when the mold is opened after molding.
  • the first mold 204 is provided with an ejector mechanism that releases the molded product Wp from the first mold 204 when the mold is opened.
  • the ejector mechanism includes an ejector pin 230, an ejector pin plate 232, a retainer plate 234, a spring 236, a stepped bolt 237, and a return pin 238.
  • one end side (upper side) of the ejector pin 230 is the base end of the enlarged diameter portion and is sandwiched between the ejector pin plate 232 and the retainer plate 234, and the other end side (lower side) is inserted into the insertion hole 406 so as to be movable in the mold opening and closing direction (inserted into the insertion hole 406 from the second end 406b).
  • a countersink is provided from above the ejector pin plate 232, and the male thread portion of the stepped bolt 237 is screwed and fixed to the chase block 214.
  • a spring 236 is inserted around the stepped bolt 237, and the spring 236 resiliently springs between the enlarged diameter portion of the head of the stepped bolt 237 and the countersink, so that the ejector pin plate 232 is always biased in the mold closing direction (downward) and comes into contact with the chase block 214.
  • the stepped bolt 237 can be substituted for a collar, washer, and bolt.
  • One end (upper side) of the return pin 238 is the base end of the enlarged diameter portion, and is fixed to the ejector pin plate 232, with the tip (lower side) passing through the chase block 214 and protruding from the mold surface 204a.
  • the return pin 238 protrudes from the mold surface 204a of the first mold 204, so that it abuts against the mold surface 206a of the second mold 206, and the ejector pin plate 232 is pushed up by the amount of protrusion. This allows the vertical terminal Wc of the work W held by the work holding portion 205 of the second mold 206 to be inserted into the insertion hole 406 (first end 406a).
  • the ejector pin 230 moves in the mold closing direction (towards the first end 406a of the insertion hole 406) together with the ejector pin plate 232 and the retainer plate 234 due to the bias of the spring 236.
  • This allows the vertical terminal Wc of the molded product Wp, which has completed resin sealing, to be pushed, and the molded product Wp can be reliably released from the first mold 204.
  • the return pin 238 protrudes when the mold is opened, a problem occurs in that the film F is stretched by the amount of protrusion.
  • the lower end of the return pin 238 may be flush with the mold surface 204a of the first mold 204, and a push-up pin (which is pushed toward the first mold 204 by a movable mechanism (not shown) when the mold is closed) (not shown) provided on the second mold 206 may push up the return pin 238, so that the ejector pin 230 moves in the mold opening direction (toward the second end 406b of the insertion hole 406) together with the ejector pin plate 232 and the retainer plate 234.
  • a first mold heating mechanism (not shown) that heats the first mold 204 to a predetermined temperature.
  • This first mold heating mechanism includes a heater (e.g., an electric wire heater), a temperature sensor, a power source, etc., and heating is controlled by the control unit 150.
  • the heater is built into the mold base 210 and is configured to apply heat to the entire first mold 204, as well as to the molten sealing resin R that is filled in the cavity 208 and the resin flow paths 246, 247, and 248.
  • the heater heats the first mold 204 to a predetermined temperature (e.g., 100°C to 300°C).
  • the molded product Wp (including unnecessary resin portions) formed by the press unit 100B is held by the second loader 304, removed from the sealing mold 202, and transported to the storage unit 100C.
  • the second loader 304 uses a known holding mechanism for the molded product Wp (for example, a clamping mechanism with holding claws or a suction hole that communicates with a suction device and adsorbs the molded product) (not shown).
  • a configuration may be provided in which a transport device (loader) that moves in the X direction to transport between units and a transport device (loader) that moves in the Y direction to unload from the sealing mold 202 are provided separately (not shown).
  • the storage unit 100C includes a molded product table 122 on which the molded product Wp transported by the second loader 304 is placed, and a degate mechanism 124 that removes unnecessary resin portions from the molded product Wp placed on the molded product table 122.
  • the molded product Wp from which the unnecessary resin portions have been removed is stored in a storage magazine 126 that stores multiple molded products Wp.
  • a known stack magazine, slit magazine, etc. is used as the storage magazine 126.
  • the first preparation step includes the following steps.
  • a heating step (first mold heating step) is carried out in which the first mold heating mechanism adjusts and heats the first mold 204 to a predetermined temperature (e.g., 100°C to 300°C).
  • a heating step (second mold heating step) is carried out in which the second mold heating mechanism adjusts and heats the second mold 206 to a predetermined temperature (e.g., 100°C to 300°C).
  • a film supply step is carried out in which the film supply mechanism 211 is operated to supply new film F and adsorb it to cover a predetermined area of the mold surface 204a including the inner surface of the cavity 208 in the first mold 204.
  • the film supply step includes a step of sucking and stretching the film F through the suction hole 408 provided between the inner circumferential surface of the fitting hole 402 and the outer circumferential surface of the sleeve member 404.
  • the second preparation process is carried out before, after, or in parallel with the first preparation process.
  • the second preparation process has the following steps: A process is carried out in which the workpieces W are removed one by one from the workpiece supply magazine 102 by a known pusher (not shown) and placed on the upper surface of the worktable 104 (a known pickup mechanism or the like may also be used in combination). In addition, a process is carried out in which cylindrical tablets of sealing resin R are removed one by one from the resin supply section 112 by a known feeder, elevator, or the like (not shown) and multiple pieces of sealing resin R (four, as an example) are held in predetermined positions on the resin table 114.
  • a workpiece/sealing resin pick-up step is performed in which the first loader 302 holds the workpiece W and sealing resin R.
  • the first loader 302 is moved directly above the worktable 104.
  • the worktable 104 is raised (or the first loader 302 is lowered), and the workpiece W is held by the workpiece holders 302A and 302B (in this embodiment, each of the workpiece holders 302A and 302B holds one workpiece W).
  • the first loader 302 is moved directly above the resin table 114.
  • the resin table 114 is raised (or the first loader 302 is lowered), and the sealing resin R is held by the resin holder 302C (in this embodiment, the resin holder 302C holds four sealing resins R).
  • the workpiece W and sealing resin R are transported into the sealing mold 202 and held at a predetermined position in the second mold 206 in a workpiece/sealing resin placement process. Specifically, the first loader 302 holding a plurality of workpieces W (two in this embodiment) and a plurality of sealing resins R (four in this embodiment) is moved into the sealing mold 202.
  • the workpieces W are held (placed) in each of the workpiece holding parts 205 (workpiece holding parts 205A and 205B in this embodiment) in the second mold 206, and the sealing resin R is held (contained) in each of the plurality of pots 240 in the second mold 206 (four in this embodiment) (see FIG. 6).
  • a process of preheating the workpieces W and sealing resin R may be performed using a heater (not shown) provided in the first loader 302.
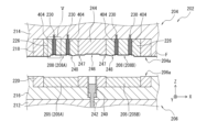
  • a mold closing process is carried out to close the sealing mold 202. Specifically, the drive source 260 and drive transmission mechanism 262 are driven to move the movable platen 256 upward, and move the second mold 206 toward the first mold 204 (i.e., upward).
  • the return pin 238 of the first mold 204 abuts against the mold surface 206a of the second mold 206 and is pushed up (or, in the case where the second mold 206 has a push-up pin (the modified example described above), the push-up pin of the second mold 206 pushes up the return pin 238 of the first mold 204), and the ejector pin 230 moves in the mold opening direction (toward the second end 406b of the insertion hole 406) together with the ejector pin plate 232 and the retainer plate 234.
  • the vertical terminal Wc of the work W held by the work holding portion 205 of the second mold 206 penetrates the film F to form a film through hole Fa, and the vertical terminal Wc is inserted into the insertion hole 406 (first end 406a) of the first mold 204 (see FIGS. 7 and 8).
  • the second mold 206 moves until the cavity block 226 of the first mold 204 abuts against the work W (substrate Wa) and clamps the work W (see FIGS. 9 and 10).
  • the film F around the film through hole Fa of the second mold 206 is pulled into the gap between the insertion hole 406 and the vertical terminal Wc, and the gap is closed.
  • a resin sealing process is carried out in which the workpiece W is sealed with sealing resin R and processed into a molded product Wp.
  • the transfer drive mechanism is operated to push the plunger 242 toward the first mold 204, and the molten sealing resin R is pressed against the cull 246 of the first mold 204, and is forced through the runner 247 etc. that communicates with the cull 246 and pressure-fed into the cavity 208 (see Figures 11 and 12). This causes the sealing resin R to thermally harden, completing the resin sealing (transfer molding).
  • a mold opening process (including separation from the used film F) is carried out to open the sealing mold 202.
  • the drive source 260 and drive transmission mechanism 262 are driven to move the movable platen 256 downward, and the second mold 206 is separated from the first mold 204.
  • the return pin 238, which was buried down to the mold surface 204a protrudes due to the biasing force of the spring 236, and the ejector pin 230 pushes out the vertical terminal Wc, ensuring reliable mold release (see FIG. 13).
  • the push-up of the return pin 238 of the first mold 204 by the push-up pin of the second mold 206 is released during separation, and the ejector pin 230 moves in the mold closing direction (towards the first end 406a of the insertion hole 406) together with the ejector pin plate 232 and the retainer plate 234 due to the biasing force of the spring 236 in the mold closing direction, pushing the vertical terminal Wc of the molded product Wp that has completed resin sealing, and releasing the molded product Wp from the first mold 204.
  • the reason for providing the push-up pin is that the mold release timing can be set separately from the mold opening.
  • the second loader 304 carries out a molded product unloading process in which the molded product Wp (in this embodiment, it includes unnecessary resin parts such as the cull portion, runner portion, and gate portion, and the two workpieces W are connected via these) is unloaded from the sealing mold 202 and unloaded onto the molded product table 122.
  • the film supply mechanism 211 is operated to unload the used film F from the sealing mold 202 and to feed a new film F into the sealing mold 202 and set it therein.
  • a de-gating process is carried out in which the de-gating mechanism 124 removes unnecessary resin parts such as the cull, runner, and gate from the molded product Wp.
  • a process is carried out in which the molded products Wp (with unnecessary resin parts removed) are transported one by one into the storage magazine 126 using a known pusher or the like (not shown). Note that a process of post-curing the molded products Wp may be carried out prior to these processes.
  • the present invention provides a resin sealing device and a resin sealing method that can reliably release a workpiece equipped with vertical terminals when the mold is opened.
  • the vertical terminals Wc of the work W form the film through holes Fa in the film F when the mold is closed in the resin sealing process.
  • a film with pre-formed film through holes Fa can also be used (a mechanism for forming the film through holes Fa can be arranged).
  • a dedicated hole-making tool (not shown) can be used to form the film through holes Fa in the film F before the vertical terminals Wc form the film through holes Fa in the film F.
  • the resin sealing apparatus and resin sealing method using the transfer molding method have been described as an example, but the present invention is also applicable to a resin sealing apparatus and resin sealing method using a compression molding method.

Landscapes

  • Engineering & Computer Science (AREA)
  • Mechanical Engineering (AREA)
  • Manufacturing & Machinery (AREA)
  • Moulds For Moulding Plastics Or The Like (AREA)
  • Encapsulation Of And Coatings For Semiconductor Or Solid State Devices (AREA)
  • Injection Moulding Of Plastics Or The Like (AREA)

Abstract

垂直端子を搭載するワークを型開き時に確実に離型させることができる樹脂封止装置及び樹脂封止方法を提供することを課題とする。解決手段として、第1金型(204)の金型面(204a)に吸着させるフィルム(F)を供給するフィルム供給機構(211)を備え、第2金型(206)は、ワーク(W)を保持するワーク保持部(205)を有し、第1金型(204)は、垂直端子(Wc)がワーク保持部(205)に対向する第1端部(406a)から挿通される挿通孔(406)と、挿通孔(406)の第2端部(406b)から挿通され、挿通孔(406)内を型開閉方向に移動可能なエジェクタピン(230)と、を有し、型閉じの際に、垂直端子(Wc)を挿通孔(406)に挿通可能にエジェクタピン(230)が退避し、型開きの際に、エジェクタピン(230)が垂直端子(Wc)を押動して成形品(Wp)を第1金型(204)から離型する。

Description

樹脂封止装置及び樹脂封止方法
 本発明は、樹脂封止装置及び樹脂封止方法に関する。
 基材に電子部品が搭載されたワークを封止樹脂(以下、単に「樹脂」と称する場合がある)により封止して成形品に加工する樹脂封止装置及び樹脂封止方法の例として、トランスファ成形方式によるものが知られている。
 トランスファ成形方式は、上型と下型とを備えて構成される封止金型に設けられる一対の封止領域(キャビティ)に所定量の樹脂を供給するポットを設けて、当該各封止領域に対応する位置にワークをそれぞれ配置して上型と下型とでクランプし、ポットからキャビティに樹脂を流し込む操作によって樹脂封止する技術である(特許文献1:特開2015-000520号公報参照)。
特開2015-000520号公報
 パワーデバイス等に採用されている垂直端子(基材又は電子部品より垂直に立設した電気的な端末の端子)が露出したワークを成形する方法として、液状樹脂をポッティングする方法がある。しかしながら、金型内で加圧をしないため、封止樹脂の成形形状を一定に保つのが困難であり、また、ボイドが発生し易く、成形品の信頼性が低いという課題があった。これに対して、垂直端子の周囲をクランプし、垂直端子を露出させた状態で樹脂モールドを行う方法がある。しかしながら、垂直端子の周りをせり上がるように樹脂バリが発生してしまい、垂直端子と周囲のクランプ部材との隙間を狭くすると成形品が金型から離型され難いという課題があった。
 本発明は、上記事情に鑑みてなされ、垂直端子を搭載するワークを型開き時に確実に離型させることができる樹脂封止装置及び樹脂封止方法を提供することを目的とする。
 本発明は、一実施形態として以下に記載するような解決手段により、前記課題を解決する。
 一実施形態に係る樹脂封止装置は、いずれか一方が上型となり、他方が下型となる第1金型及び第2金型を有する封止金型を用いて、垂直端子が立設された構成を有するワークを封止樹脂により封止して成形品に加工する樹脂封止装置であって、前記第1金型の金型面に吸着させるリリースフィルムを供給するフィルム供給機構を備え、前記第2金型は、前記ワークを保持するワーク保持部を有し、前記第1金型は、前記垂直端子が前記ワーク保持部に対向する第1端部から挿通される挿通孔と、前記挿通孔の第2端部から挿通され、前記挿通孔内を型開閉方向に移動可能なエジェクタピンと、を有し、前記封止金型が型閉じされたときに、前記垂直端子を前記挿通孔に挿通可能に前記エジェクタピンが退避し、前記封止金型が型開きされたときに、前記エジェクタピンが前記垂直端子を押動して前記成形品を前記第1金型から離型する構成であることを要件とする。
 上記の実施形態によれば、垂直端子を搭載するワークを型開き時に確実に離型させることができる。
 また、前記第1金型は、前記挿通孔の周囲において前記リリースフィルムを吸引して張設する複数の吸引孔を有することが好ましい。
 また、前記封止金型が型閉じされたときに、前記垂直端子が前記リリースフィルムを貫通してフィルム貫通孔を形成しながら前記挿通孔に挿通されると共に、前記フィルム貫通孔周縁の前記リリースフィルムが前記挿通孔と前記垂直端子との隙間に引き込まれて前記隙間が閉塞される構成であることが好ましい。
 また、前記挿通孔は、スリーブ部材に形成されており、前記スリーブ部材は、前記第1金型の所定位置に設けられた嵌合孔に嵌合されていることが好ましい。
 また、前記スリーブ部材は、前記挿通孔の前記第1端部が前記ワーク保持部に向けて徐々に拡径するテーパ面に形成されていることが好ましい。
 また、前記吸引孔は、平面視において、少なくとも前記嵌合孔を挟んで相対する二箇所に設けられていることが好ましい。
 また、一実施形態に係る樹脂封止方法は、いずれか一方が上型となり、他方が下型となる第1金型及び第2金型を有する封止金型を用いて、垂直端子が立設された構成を有するワークを封止樹脂により封止して成形品に加工する樹脂封止方法であって、前記第1金型の金型面にリリースフィルムを供給して吸着するフィルム供給工程と、前記第2金型に前記ワーク及び前記封止樹脂を保持するワーク・封止樹脂載置工程と、前記封止金型を型閉じする型閉じ工程と、前記封止金型を型開きする型開き工程と、を備え、前記型閉じ工程は、前記第1金型の挿通孔に前記垂直端子を挿通する工程を有し、前記型開き工程は、前記挿通孔内を型開閉方向に移動可能なエジェクタピンが前記垂直端子を押動して前記成形品を前記第1金型から離型する工程を有することを要件とする。
 また、前記型閉じ工程は、前記垂直端子を前記リリースフィルムに貫通させてフィルム貫通孔を形成しながら前記挿通孔に挿通すると共に、前記フィルム貫通孔周縁の前記リリースフィルムを前記挿通孔と前記垂直端子との隙間に引き込んで前記隙間を閉塞する工程を有することが好ましい。
 本発明によれば、垂直端子を搭載するワークを型開き時に確実に離型させることができる樹脂封止装置及び樹脂封止方法を提供することができる。
図1は、本発明の実施形態に係る樹脂封止装置の例を示す平面図である。 図2は、本発明の実施形態に係る樹脂封止装置のプレス装置の例を示す側面図である。 図3は、本発明の実施形態に係る樹脂封止装置の封止金型の例を示す正面断面図である。 図4は、本発明の実施形態に係る樹脂封止装置の封止金型のキャビティ及びワーク保持部の例を示す正面断面図である。 図5Aは、図4におけるV部の拡大図である。図5Bは、嵌合孔、挿通孔及び吸引孔の例を示す平面図である。 図6は、本発明の実施形態に係る樹脂封止方法の説明図である。 図7は、図6に続く説明図である。 図8は、図7におけるVIII部の拡大図である。 図9は、図7に続く説明図である。 図10は、図9におけるX部の拡大図である。 図11は、図9に続く説明図である。 図12は、図11におけるXII部の拡大図である。 図13は、図11に続く説明図である。 図14Aは、本発明の実施形態に係る樹脂封止装置及び樹脂封止方法において用いられるワークの例を示す斜視図である。図14Bは、本発明の実施形態に係る樹脂封止装置及び樹脂封止方法において形成される成形品の例を示す斜視図である。
 以下、図面を参照して、本発明の実施形態について詳しく説明する。図1は、本実施形態に係る樹脂封止装置1の例を示す平面図(概略図)である。尚、説明の便宜上、図中において矢印により樹脂封止装置1における左右方向(X方向)、前後方向(Y方向)、上下方向(Z方向)を示す。また、各実施形態を説明するための全図において、同一の機能を有する部材には同一の符号を付し、その繰返しの説明は省略する場合がある。
 本実施形態に係る樹脂封止装置1は、第1金型(本実施形態においては、上型)204及び第2金型(本実施形態においては、下型)206を備える封止金型202を用いて、ワーク(被成形品)Wの樹脂封止を行う装置である。以下、樹脂封止装置1として、第2金型206に設けられたワーク保持部205でワークWを保持し、対応する配置で第1金型204に設けられたキャビティ208(金型面204aを一部含む)をリリースフィルム(以下、単に「フィルム」と称する場合がある)Fで覆って、第1金型204と第2金型206とのクランプ動作を行い、ワークWを封止樹脂Rで封止するトランスファ成形方式による樹脂封止装置を例に挙げて説明する。尚、本実施形態においては、一つの第1金型204に二つのキャビティ208を設けると共に、一つの第2金型206に二つのワークWを配置して一括して樹脂封止を行い、成形品Wpを得る構成を例に挙げて説明する。但し、これに限定されるものではなく、上記構成を複数セット並設してもよい(不図示)。
 先ず、封止対象であるワークWは、図14Aに示すように、基材Waに電子部品Wb及び垂直端子Wcが配設された構成を備えている(電子部品Wbに垂直端子Wcが配設される構成であってもよい)。一つの基材Waに配設される電子部品Wbの個数は、一つもしくは複数個(例えば、マトリクス状等)に設定され、一つのワークWに配設される垂直端子Wcの個数は、一つもしくは複数個(本実施形態においては、六個)に設定される。
 基材Waの例として、樹脂基板、セラミックス基板、金属基板、キャリアプレート、リードフレーム、ウェハ等の板状の部材が挙げられる。基材Waの形状は、長方形状(短冊状)、正方形状、円形状等である。また、電子部品Wbの例として、半導体チップ、MEMSチップ、受動素子、放熱板、導電部材、スペーサ等が挙げられる。また、垂直端子Wcの例として、ピン端子(リードピン)等が挙げられる。垂直端子Wcの形状は、円柱状、角柱状、ワイヤー(線)状等である。
 基材Waに電子部品Wbを配設(搭載)する方法の例として、ワイヤーボンディング実装、フリップチップ実装等による方法が挙げられる。あるいは、樹脂封止後に成形品Wpから基材(ガラス製や金属製のキャリアプレート)Waを剥離する構成の場合には、熱剥離性を有する粘着テープや紫外線照射により硬化する紫外線硬化性樹脂を用いて電子部品Wbを貼付ける方法もある。
 本実施形態においては、封止樹脂Rとして、タブレット型(例えば、円柱状)の熱硬化性樹脂(例えば、フィラー含有のエポキシ系樹脂等であるが、これに限定されない)が用いられる。尚、封止樹脂Rは、上記の状態に限定されるものではなく、円柱状以外の形状であってもよく、エポキシ系熱硬化性樹脂以外の樹脂であってもよい。
 また、フィルムFの例として、耐熱性、剥離容易性、柔軟性、伸展性に優れたフィルム材、例えば、PTFE(ポリテトラフルオロエチレン)、ETFE(ポリテトラフルオロエチレン重合体)、PET、FEP、フッ素含浸ガラスクロス、ポリプロピレン、ポリ塩化ビニリジン等が好適に用いられる。
 続いて、本実施形態に係る樹脂封止装置1の概要について説明する。図1に示すように、樹脂封止装置1は、ワークW及び封止樹脂Rの供給等を行う供給ユニット100A、ワークWを封止樹脂Rによって樹脂封止して成形品Wpへの加工等を行うプレスユニット100B、成形品Wpの収納等を行う収納ユニット100Cを主要構成として備えている。一例として、図1中のX方向に沿って、供給ユニット100A、プレスユニット100B、プレスユニット100B、収納ユニット100Cの順に配置されている。但し、上記の構成に限定されるものではなく、ユニット内の機器構成やユニット数(特に、プレスユニット数)、ユニットの配置順等を変更することができる。また、上記以外のユニットを備える構成とすることもできる(いずれも不図示)。
 また、樹脂封止装置1は、各ユニットにおける各機構の作動制御等を行う制御部150が供給ユニット100Aに配置されている(他のユニットに配置される構成としてもよい)。
 また、樹脂封止装置1は、各ユニット間を跨いでガイドレール300が直線状に設けられており、ワークW及び封止樹脂Rを搬送する搬送装置(第1ローダ)302、並びに成形品Wpを搬送する搬送装置(第2ローダ)304が、ガイドレール300に沿って所定のユニット間を移動可能に設けられている。但し、上記の構成に限定されるものではなく、ワークW、封止樹脂R、及び成形品Wpを搬送する共通の(一つの)搬送装置(ローダ)を備える構成としてもよい(不図示)。また、搬送装置は、ローダに代えて、ロボットハンド等を備える構成としてもよい。
 (供給ユニット)
 続いて、樹脂封止装置1が備える供給ユニット100Aについて詳しく説明する。
 供給ユニット100Aは、複数のワークWが収納されるワーク供給マガジン102を備えている。ここで、ワーク供給マガジン102には、公知のスタックマガジン、スリットマガジン等が用いられる。ワーク供給マガジン102から取出されたワークWは、ワークテーブル104上に載置される。
 また、供給ユニット100A(他のユニットとしてもよい)は、ワークテーブル104の側方位置において、封止樹脂Rを供給する樹脂供給部112を備えている。樹脂供給部112には、公知のホッパー、フィーダ等が用いられる。樹脂供給部112から供給された複数個(一例として、四個の場合を例に挙げているが、これに限定されるものではなく、あるいは、単数でもよい)の封止樹脂Rは、樹脂テーブル114の所定位置に保持される。
 ワークテーブル104に載置されたワークW及び樹脂テーブル114に保持された封止樹脂Rは、第1ローダ302に保持され、プレスユニット100Bへ搬送されて封止金型202の所定位置にセットされる。本実施形態において、ワークWは、第2金型206のワーク保持部205に載置され、封止樹脂Rは、第2金型206のポット240に収容される(工程の詳細については後述する)。
 第1ローダ302の構成例として、左右方向に沿って二列並設されてそれぞれ一個のワークWを保持可能なワーク保持部302A、302Bが設けられている。また、二列のワーク保持部302A、302Bの間の位置に、複数個(一例として、四個の場合を例に挙げているが、これに限定されるものではなく、あるいは、単数でもよい)の封止樹脂Rを前後方向に沿って保持可能な樹脂保持部302Cが設けられている。尚、ワーク保持部302A、302B、及び樹脂保持部302Cには、公知の保持機構(例えば、保持爪を有して挟持する構成や吸引装置に連通する吸引孔を有して吸着する構成等)が用いられる(不図示)。
 上記搬送装置の変形例として、X及びY方向に移動する第1ローダ302に代えて、X方向に移動してユニット間の搬送を行う搬送装置(ローダ)と、Y方向に移動して第2金型206への搬入及びセットを行う搬送装置(ローダ)とを別個に備える構成としてもよい(不図示)。
 (プレスユニット)
 続いて、樹脂封止装置1が備えるプレスユニット100Bについて詳しく説明する。
 プレスユニット100Bは、開閉される一対の金型(例えば、合金工具鋼からなる複数の金型ブロック、金型プレート、その他の部材等が組み付けられたもの)を有する封止金型202を備えている。また、封止金型202を開閉駆動してワークWを樹脂封止するプレス装置250を備えている。一例として、プレス装置250を一台備える構成としているが、複数台備える構成としてもよい(不図示)。プレスユニット100Bに設けられるプレス装置250の側面図(概略図)を図2に示し、封止金型202の正面断面図(概略図)を図3に示す。また、封止金型202のキャビティ208及びワーク保持部205の正面断面図(概略図)を図4に示す。
 ここで、プレス装置250は、図2に示すように、一対のプラテン254、256と、一対のプラテン254、256が架設される複数のタイバー252と、プラテン256を可動(昇降)させる駆動装置等を備えて構成されている。具体的に、当該駆動装置は、駆動源(例えば、電動モータ)260及び駆動伝達機構(例えば、ボールねじやトグルリンク機構)262等を備えて構成されている(但し、これに限定されるものではない)。本実施形態では、鉛直方向において上方側のプラテン254を固定プラテン(タイバー252に固定されるプラテン)とし、下方側のプラテン256を可動プラテン(タイバー252に摺動可能に保持されて昇降するプラテン)として設定している。但し、これに限定されるものではなく、上下逆に、すなわち上方側を可動プラテン、下方側を固定プラテンに設定してもよく、あるいは、上方側、下方側共に可動プラテンとして設定してもよい(いずれも不図示)。
 一方、封止金型202は、図3に示すように、プレス装置250における上記一対のプラテン254、256間に配設される一対の金型として、第1金型204及び第2金型206を備えている。本実施形態においては、鉛直方向における上方側が第1金型(上型)204であり、下方側が第2金型(下型)206である。すなわち、第1金型204が上方側のプラテン(本実施形態においては、固定プラテン254)に組み付けられ、第2金型206が下方側のプラテン(本実施形態においては、可動プラテン256)に組み付けられている。この第1金型204と第2金型206とが相互に接近・離反することで型閉じ・型開きが行われる(鉛直方向(上下方向)が型開閉方向となる)。
 また、本実施形態においては、一例として、ロール状のフィルムFを封止金型202の内部へ搬送(供給)するフィルム供給機構211が設けられている。尚、フィルムFは、ワークWの構成に応じ、ロール状に代えて短冊状のものが用いられる場合がある。
 次に、封止金型202の第2金型(下型)206について詳しく説明する。第2金型206は、図3及び図4に示すように、モールドベース212、チェイスブロック216、クランプブロック220等を備え、これらが組付けられて構成されている。一例として、チェイスブロック216は、モールドベース212の上に固定されており、モールドベース212は、可動プラテン256の上に固定されている。
 ここで、第2金型206には、封止樹脂Rが収容される筒状のポット240が前後方向に沿って複数個(一例として、四個の場合を例に挙げているが、これに限定されるものではなく、あるいは、単数でもよい)設けられている。ポット240は、チェイスブロック216及びクランプブロック220に連続する貫通孔として形成されている。また、ポット240内には、公知のトランスファ機構(不図示)により、プランジャ242が押動されて、ポット240内の封止樹脂Rがキャビティ208(後述)内へ供給される。
 また、第2金型206には、チェイスブロック216の上に固定されたクランプブロック220に囲われる配置で、一個もしくは複数個のワークWを保持するワーク保持部205が設けられている。より具体的には、ポット240を左右方向に挟む配置で二つのワーク保持部205(第1ワーク保持部205A及び第2ワーク保持部205B)が設けられている。このワーク保持部205は、一例として、吸引装置に連通する吸引路(孔や溝等)を有している(いずれも不図示)。具体的には、吸引路の一端が第2金型206の金型面206aに通じ、他端が第2金型206外に配設される吸引装置と接続される。これにより、吸引装置を駆動させて吸引路からワークWを吸引し、金型面206a(ここでは、ワーク保持部205)にワークWを吸着させて保持することが可能となる。上記の吸着保持機構に代えて、もしくは吸着保持機構と共に、ワークWの外周を挟持する保持爪を備える構成としてもよい(不図示)。尚、一つの第2金型206に設けられるワーク保持部205の形状や個数は、ワークWの形状や個数に応じて適宜設定される(一つもしくは複数個)。
 また、本実施形態においては、第2金型206を所定温度に加熱する第2金型加熱機構(不図示)が設けられている。この第2金型加熱機構は、ヒータ(例えば、電熱線ヒータ)、温度センサ、電源等を備えており、制御部150によって加熱の制御が行われる。一例として、ヒータは、モールドベース212に内蔵され、第2金型206全体及びポット240内の封止樹脂Rに熱を加える構成となっている。当該ヒータによって、第2金型206が所定温度(例えば、100℃~300℃)となるように加熱される。
 次に、封止金型202の第1金型(上型)204について詳しく説明する。第1金型204は、図3及び図4に示すように、モールドベース210、ガイドブロック213、チェイスブロック214、クランプブロック218等を備え、これらが組合されて構成されている。一例として、チェイスブロック214は、周縁部をガイドブロック213に囲われて固定されると共に、モールドベース210に立設された複数のサポートピラー228によって支持されている。また、ガイドブロック213は、モールドベース210の下面に固定されており、モールドベース210は、固定プラテン254の下面に固定されている。
 ここで、第1金型204には、第2金型206のポット240の直上位置(ここでは、直上における所定広さの領域を指す)に、チェイスブロック214(ここでは、チェイスブロック214に固定される部材を含む)に対して固定されて、下面にカル246及び当該カル246に連通するランナー247(の一部)が穿設されたカルブロック244が設けられている。さらに、ランナー247に連通し、ワークWの所定部位(電子部品Wb及び垂直端子Wcが配設された部位)が収容されるキャビティ208が設けられている。また、ランナー247とキャビティ208との境界位置(境界領域)がゲート248と称される箇所となる。
 本実施形態に係るキャビティ208は、チェイスブロック214の下に固定されたクランプブロック218に囲われて配置されるキャビティブロック226の下面に穿設されている。より具体的には、第2金型206の二つのワーク保持部205(第1ワーク保持部205A及び第2ワーク保持部205B)の位置に対応して、平面視でカルブロック244を挟んで左右方向(もしくは前後方向)の両側にそれぞれキャビティ208(第1キャビティ208A及び第2キャビティ208B)が配設されている。これらのワーク保持部205A、205B、及びキャビティ208A、208Bが、一つのポット240とこれに対応するカル246、ランナー247、ゲート248によって樹脂封止が行われる一組の構成単位となっている。本実施形態においては、当該構成単位が複数組、前後方向(もしくは左右方向)に並設される構成となっている。但し、これらの構成に限定されるものではなく、ワーク保持部205及びキャビティ208が、カルブロック244に対して左右方向(もしくは前後方向)の一方側にのみ配設される構成としてもよい(不図示)。また、上記の構成単位が一組のみ配設される構成としてもよい(不図示)。
 クランプブロック218の下面や、キャビティブロック226のキャビティ208凹部コーナー等には、吸引装置に連通する吸引路(孔や溝等)が設けられている(不図示)。これにより、フィルム供給機構211から供給されたフィルムFを、キャビティ208の凹部内面を含む金型面204aに吸着させて保持することができる。また、型閉じをして樹脂封止を行う際にキャビティ208内の脱気を行う金型構造としてもよい。
 キャビティブロック226には、図5Aに示すように、所定位置に嵌合孔402が形成されている。ここでいう「所定位置」とは、第2金型206のワーク保持部205に保持されたワークWの垂直端子Wcに対応した位置である。嵌合孔402には、スリーブ部材404が嵌合されており、当該スリーブ部材404には、挿通孔406が形成されている。挿通孔406は、型閉じ時に垂直端子Wcが挿通される(ワーク保持部205に対向する第1端部406aから挿通される)逃げ孔となり、また、後述するエジェクタピン230の挿通路となる。尚、キャビティブロック226に直接挿通孔406を設ける構成であれば、必ずしもスリーブ部材404を用いる必要はない。また、挿通孔406の周囲には、図5Bに示すように、金型面204aに吸着保持されたフィルムFをさらに吸引して張設する吸引孔408が所定間隔で複数個設けられている。
 本実施形態に係る樹脂封止装置1は、封止金型202が型閉じされるとき、垂直端子Wcが第1金型204の金型面204aに張設されたフィルムFを貫通してフィルム貫通孔Faを形成しながら挿通孔406に挿通される。それと共に、フィルム貫通孔Fa周縁のフィルムFが挿通孔406と垂直端子Wcとの隙間に引き込まれて当該隙間が閉塞される構成である。これにより、垂直端子Wcと挿通孔406との隙間への封止樹脂Rの漏出を防止し、成形品Wpの樹脂バリ(特に、垂直端子Wc周辺の樹脂のせり上がり)の発生を防止することができる。
 ここで、スリーブ部材404は、嵌合孔402に対して着脱可能に構成されていてもよい。これにより、ワークWの垂直端子Wcの種類や形状に応じてスリーブ部材404を交換することで、挿通孔406の径や内面形状等を変更することができる。また、ミスショット時における第1金型204の清掃性を向上することができる。
 本実施形態において、スリーブ部材404は、円筒状に形成されているが、嵌合孔402の形状に応じて角筒状やその他の筒状等とすることができる。尚、スリーブ部材404は、挿通孔406の第1端部406aがワーク保持部205に向けて徐々に拡径するテーパ面404aに形成されている。これにより、取付け位置や垂直度の精度が低いワークWの垂直端子Wcの先端ズレを型閉じ時に矯正し、第1端部406aから挿通孔406内へ正確に導くことができる。スリーブ部材404は、封止金型202と同じ材料(例えば、合金工具鋼等)で形成されているが、その他の材料(例えば、樹脂材料等)から形成されていてもよい。
 また、吸引孔408は、平面視において、少なくとも嵌合孔402を挟んで相対する二箇所(本実施形態においては、角度90[°]をなすように配置された四箇所)に設けられている。これにより、挿通孔406周縁のフィルムFを張設できるため、型閉じ時にフィルム貫通孔Faを形成し易くすることができる。換言すれば、フィルムFが貫通されず(フィルム貫通孔Faが形成されず)、フィルムFが垂直端子Wcに追従して垂直端子Wcと挿通孔406との隙間に過剰に引込まれるのを防止することができる。また、成形時に封止樹脂Rがフィルム貫通孔Faを介して当該フィルム貫通孔Faと金型面204aとの隙間に入り込むことを防止することができると共に、成形後の型開き時にフィルムFと成形品Wpとを確実に離型することができる。
 ここで、本実施形態に特徴的な構成として、第1金型204には、型開きと共に成形品Wpを第1金型204から離型させるエジェクタ機構が設けられている。エジェクタ機構は、エジェクタピン230、エジェクタピンプレート232、リテーナプレート234、スプリング236、段付きボルト237及びリターンピン238を備えている。一例として、エジェクタピン230の一端側(上側)は、拡径部の基端部となっていて、エジェクタピンプレート232とリテーナプレート234とに挟まれており、他端側(下側)は、挿通孔406内を型開閉方向に移動可能に挿通されている(第2端部406bから挿通孔406に挿通されている)。また、エジェクタピンプレート232の上よりザグリが施され、段付きボルト237の雄ねじ部がチェイスブロック214に螺合固定されている。段付きボルト237の周囲にはスプリング236が挿入され、段付きボルト237の頭の拡径部とザグリとの間でスプリング236が弾発しているため、エジェクタピンプレート232が常に型閉じ方向(下方向)に付勢されており、チェイスブロック214と当接することになる。尚、段付きボルト237は、カラー、ワッシャー及びボルトに代用することが可能である。リターンピン238の一端側(上側)は、拡径部の基端部となっていて、エジェクタピンプレート232に固定され先端(下側)がチェイスブロック214を挿通し、金型面204aより突出している。
 上記のエジェクタ機構によれば、型閉じ時においては、リターンピン238が第1金型204の金型面204aより突出しているため、第2金型206の金型面206aに当接し、突出量だけエジェクタピンプレート232が押し上げられる。これにより、第2金型206のワーク保持部205に保持されたワークWの垂直端子Wcを挿通孔406(第1端部406a)に対して挿通可能な状態とすることができる。一方、型開き時においては、スプリング236の付勢によって、エジェクタピンプレート232及びリテーナプレート234と共に、エジェクタピン230が型閉じ方向へ(挿通孔406の第1端部406aへ向かって)移動する。これにより、樹脂封止が完了した成形品Wpの垂直端子Wcを押動して、成形品Wpを第1金型204から確実に離型することができる。しかしながら、型開き時にリターンピン238が突出する構成では、フィルムFが突出量だけ伸ばされるという問題が生じる。それを避けるために、変形例として、リターンピン238の下端部を第1金型204の金型面204aと同一面にし、第2金型206に設けられた突上げピン(可動機構(不図示)により、型閉じ時において第1金型204側に押動される)(不図示)がリターンピン238を突上げることで、エジェクタピンプレート232及びリテーナプレート234と共に、エジェクタピン230が型開き方向へ(挿通孔406の第2端部406bへ向かって)移動する構成としてもよい。
 また、本実施形態においては、第1金型204を所定温度に加熱する第1金型加熱機構(不図示)が設けられている。この第1金型加熱機構は、ヒータ(例えば、電熱線ヒータ)、温度センサ、電源等を備えており、制御部150によって加熱の制御が行われる。一例として、ヒータは、モールドベース210に内蔵され、第1金型204全体、並びにキャビティ208及び樹脂流路246、247、248内に充填される溶融状態の封止樹脂Rに熱を加える構成となっている。当該ヒータによって、第1金型204が所定温度(例えば、100℃~300℃)となるように加熱される。
(収納ユニット)
 続いて、樹脂封止装置1が備える収納ユニット100Cについて詳しく説明する。
 プレスユニット100Bで成形された成形品Wp(不要樹脂部分が含まれた状態)は、第2ローダ304に保持されて封止金型202から搬出され、収納ユニット100Cへ搬送される。尚、第2ローダ304における成形品Wpの保持機構には、公知の保持機構(例えば、保持爪を有して挟持する構成や吸引装置に連通する吸引孔を有して吸着する構成等)が用いられる(不図示)。
 上記搬送装置の変形例として、X及びY方向に移動する第2ローダ304に代えて、X方向に移動してユニット間の搬送を行う搬送装置(ローダ)と、Y方向に移動して封止金型202からの搬出を行う搬送装置(ローダ)とを別個に備える構成としてもよい(不図示)。
 収納ユニット100Cは、第2ローダ304によって搬送された成形品Wpを載置する成形品テーブル122と、成形品テーブル122上に載置された成形品Wpから不要樹脂部分を除去するディゲート機構124と、を備えている。不要樹脂部分が除去された成形品Wpは、複数の成形品Wpが収納される収納マガジン126に収納される。ここで、収納マガジン126には、公知のスタックマガジン、スリットマガジン等が用いられる。
(樹脂封止動作)
 続いて、上記樹脂封止装置1を用いて実施される本実施形態に係る樹脂封止方法の工程について説明する。ここでは、一個の第1金型(上型)204に二組のキャビティ208を設けると共に、一個の第2金型(下型)206に二個のワークWを並列配置して一括して樹脂封止を行い、成形品Wpを得る構成を例に挙げる。但し、この構成に限定されるものではなく、一個のワークWを配置もしくは複数個のワークWを前後左右に行列に並列配置して、樹脂封止する構成としてもよい。図6~図13は、各工程の説明図であって、図3と同方向の正面断面図として図示する。
 先ず、第1準備工程を実施する。第1準備工程は、以下の工程を有している。第1金型加熱機構により第1金型204を所定温度(例えば、100℃~300℃)に調整して加熱する加熱工程(第1金型加熱工程)を実施する。また、第2金型加熱機構により第2金型206を所定温度(例えば、100℃~300℃)に調整して加熱する加熱工程(第2金型加熱工程)を実施する。また、フィルム供給機構211を作動させて新しいフィルムFを供給して、第1金型204におけるキャビティ208の内面を含む金型面204aの所定領域を覆うように吸着させるフィルム供給工程を実施する。フィルム供給工程は、嵌合孔402の内周面と、スリーブ部材404の外周面と、の間に設けられた吸引孔408からフィルムFを吸引して張設する工程を有する。
 第1準備工程と前後して、もしくは並行して、第2準備工程を実施する。第2準備工程は、以下の工程を有している。公知のプッシャ(不図示)によって、ワーク供給マガジン102からワークWを一つずつ搬出し、ワークテーブル104の上面に載置する工程を実施する(尚、公知のピックアップ機構等を併用してもよい)。また、公知のフィーダやエレベータ等(不図示)によって、樹脂供給部112から円筒状のタブレットの封止樹脂Rを一つずつ搬出し、樹脂テーブル114の所定位置に複数個(一例として、四個)の封止樹脂Rを保持する工程を実施する。
 第2準備工程の後に、第1ローダ302にワークW及び封止樹脂Rを保持するワーク・封止樹脂ピックアップ工程を実施する。具体的には、第1ローダ302をワークテーブル104の直上に移動させる。次いで、ワークテーブル104を上昇させ(もしくは、第1ローダ302を下降させ)、ワーク保持部302A、302BによってワークWを保持する(本実施形態においては、ワーク保持部302A、302Bがそれぞれ一個のワークWを保持する)。次いで、第1ローダ302を樹脂テーブル114の直上に移動させる。次いで、樹脂テーブル114を上昇させ(もしくは、第1ローダ302を下降させ)、樹脂保持部302Cによって封止樹脂Rを保持する(本実施形態においては、樹脂保持部302Cが四個の封止樹脂Rを保持する)。
 ワーク・封止樹脂ピックアップ工程の後に、封止金型202内へワークW及び封止樹脂Rを搬送し、第2金型206の所定位置で保持するワーク・封止樹脂載置工程を実施する。具体的には、複数個(本実施形態においては、二個)のワークW及び複数個(本実施形態においては、四個)の封止樹脂Rを保持した第1ローダ302を封止金型202内に移動する。次いで、第2金型206における各ワーク保持部205(本実施形態においては、ワーク保持部205A、205B)にそれぞれワークWを保持(載置)すると共に、第2金型206における複数個(本実施形態においては、四個)のポット240にそれぞれ封止樹脂Rを保持(収容)する(図6参照)。尚、搬送途中において、第1ローダ302に設けられたヒータ(不図示)によってワークWや封止樹脂Rを予備加熱する工程(予備加熱工程)を実施してもよい。
 ワーク・封止樹脂載置工程の後に、封止金型202を型閉じする型閉じ工程を実施する。具体的には、駆動源260及び駆動伝達機構262を駆動して可動プラテン256を上方へ移動し、第2金型206を第1金型204に向かって(すなわち、上方へ)移動する。ここで、第1金型204のリターンピン238が第2金型206の金型面206aに当接して押し上げられる(もしくは、第2金型206に突上げピンを有する場合(前記変形例)は、第2金型206の突上げピンが第1金型204のリターンピン238を突上げる)ことで、エジェクタピンプレート232及びリテーナプレート234と共に、エジェクタピン230が型開き方向へ(挿通孔406の第2端部406bへ向かって)移動する。また、並行して、第2金型206のワーク保持部205に保持されたワークWの垂直端子WcがフィルムFを貫通してフィルム貫通孔Faを形成すると共に、第1金型204の挿通孔406(第1端部406a)に対して垂直端子Wcが挿通される(図7及び図8参照)。第2金型206の移動は、ワークW(基材Wa)に対して第1金型204のキャビティブロック226が当接し、ワークWをクランプした状態となるまで行われる(図9及び図10参照)。ここで、第2金型206のフィルム貫通孔Fa周縁のフィルムFが挿通孔406と垂直端子Wcとの隙間に引き込まれて当該隙間が閉塞された状態となる。
 型閉じ工程の後に、ワークWを封止樹脂Rにより封止して成形品Wpに加工する樹脂封止工程を実施する。具体的には、トランスファ駆動機構を作動させて、プランジャ242を第1金型204の方向へ押動し、溶融した封止樹脂Rを第1金型204のカル246に押し当て、当該カル246に連通するランナー247等を通過させて、キャビティ208内へ圧送する(図11及び図12参照)。これにより、封止樹脂Rが熱硬化して樹脂封止(トランスファ成形)が完了する。
 樹脂封止工程の後に、封止金型202を型開きする型開き工程(使用済みのフィルムFとの分離も含む)を実施する。具体的には、駆動源260及び駆動伝達機構262を駆動して可動プラテン256を下方へ移動し、第2金型206を第1金型204から離反させる。離反時に、金型面204aまで埋没していたリターンピン238がスプリング236の付勢力によって突出することにより、エジェクタピン230が垂直端子Wcを押し出して確実に離型することができる(図13参照)。もしくは、第2金型206に突上げピンを有する場合(前記変形例)は、離反時に、第2金型206の突上げピンによる第1金型204のリターンピン238の突上げが解放されることで、スプリング236の型閉じ方向への付勢力によって、エジェクタピンプレート232及びリテーナプレート234と共に、エジェクタピン230が型閉じ方向へ(挿通孔406の第1端部406aへ向かって)移動し、樹脂封止が完了した成形品Wpの垂直端子Wcを押動して、成形品Wpを第1金型204から離型する。突上げピンを設ける理由は、離型タイミングを型開きとは別に設定することができる点にある。
 型開き工程の後に、第2ローダ304によって、成形品Wp(本実施形態においては、カル部、ランナー部、ゲート部等の不要樹脂部分を含み、それらを介して二個のワークWが連結された状態)を封止金型202内から搬出し、成形品テーブル122へ搬出する成形品搬出工程を実施する。また、成形品搬出工程の後に、もしく並行して、フィルム供給機構211を作動させて、使用済みのフィルムFを封止金型202内から送り出し、新しいフィルムFを封止金型202内へ送り込んでセットするフィルム供給工程を実施する。
 成形品搬出工程の後に、ディゲート機構124において成形品Wpからカル部、ランナー部、ゲート部等の不要樹脂部分を除去するディゲート工程を実施する。次いで、公知のプッシャ等(不図示)によって、成形品Wp(不要樹脂部分が除去された状態)を一つずつ収納マガジン126へ搬入する工程を実施する。尚、これらの工程の前に、成形品Wpのポストキュアを行う工程を実施してもよい。
 以上が樹脂封止装置1を用いて行う樹脂封止方法の主要工程である。但し、上記の工程順は一例であって、支障がない限り先後順の変更や並行実施が可能である。
 以上説明した通り、本発明によれば、垂直端子を搭載するワークを型開き時に確実に離型させることができる樹脂封止装置及び樹脂封止方法を提供することができる。
 尚、本発明は、上記の実施形態に限定されることなく、本発明を逸脱しない範囲において種々変更可能である。上記の実施形態においては、樹脂封止工程の型閉じ時にワークWの垂直端子WcによってフィルムFにフィルム貫通孔Faを形成するが、予めフィルム貫通孔Faが形成されたフィルムを使用することもできる(フィルム貫通孔Faを形成する機構を配置してもよい)。また、フィルムFを第1金型204に吸着した後に、垂直端子WcによってフィルムFにフィルム貫通孔Faを形成する前に穴あけ専用治具(不図示)を用いてフィルムFにフィルム貫通孔Faを形成してもよい。これにより、特に、垂直端子Wcの先端形状が先細りする形状(例えば、錐状や砲丸状等)ではない場合において、フィルムFが貫通されず(フィルム貫通孔Faが形成されず)、フィルムFが垂直端子Wcに追従して垂直端子Wcと挿通孔406との隙間に過剰に引込まれるのを防止することができる。
 また、上記の実施形態においては、トランスファ成形方式による樹脂封止装置及び樹脂封止方法を例に挙げて説明したが、圧縮成形方式による樹脂封止装置及び樹脂封止方法にも適用可能である。

 

Claims (8)

  1.  いずれか一方が上型となり、他方が下型となる第1金型及び第2金型を有する封止金型を用いて、垂直端子が立設された構成を有するワークを封止樹脂により封止して成形品に加工する樹脂封止装置であって、
     前記第1金型の金型面に吸着させるリリースフィルムを供給するフィルム供給機構を備え、
     前記第2金型は、前記ワークを保持するワーク保持部を有し、
     前記第1金型は、前記垂直端子が前記ワーク保持部に対向する第1端部から挿通される挿通孔と、前記挿通孔の第2端部から挿通され、前記挿通孔内を型開閉方向に移動可能なエジェクタピンと、を有し、
     前記封止金型が型閉じされたときに、前記垂直端子を前記挿通孔に挿通可能に前記エジェクタピンが退避し、
     前記封止金型が型開きされたときに、前記エジェクタピンが前記垂直端子を押動して前記成形品を前記第1金型から離型する構成であること
    を特徴とする樹脂封止装置。
  2.  前記第1金型は、前記挿通孔の周囲において前記リリースフィルムを吸引して張設する複数の吸引孔を有すること
    を特徴とする請求項1記載の樹脂封止装置。
  3.  前記封止金型が型閉じされたときに、前記垂直端子が前記リリースフィルムを貫通してフィルム貫通孔を形成しながら前記挿通孔に挿通されると共に、前記フィルム貫通孔周縁の前記リリースフィルムが前記挿通孔と前記垂直端子との隙間に引き込まれて前記隙間が閉塞される構成であること
    を特徴とする請求項2記載の樹脂封止装置。
  4.  前記挿通孔は、スリーブ部材に形成されており、
     前記スリーブ部材は、前記第1金型の所定位置に設けられた嵌合孔に嵌合されていること
    を特徴とする請求項3記載の樹脂封止装置。
  5.  前記スリーブ部材は、前記挿通孔の前記第1端部が前記ワーク保持部に向けて徐々に拡径するテーパ面に形成されていること
    を特徴とする請求項4記載の樹脂封止装置。
  6.  前記吸引孔は、平面視において、少なくとも前記嵌合孔を挟んで相対する二箇所に設けられていること
    を特徴とする請求項5記載の樹脂封止装置。
  7.  いずれか一方が上型となり、他方が下型となる第1金型及び第2金型を有する封止金型を用いて、垂直端子が立設された構成を有するワークを封止樹脂により封止して成形品に加工する樹脂封止方法であって、
     前記第1金型の金型面にリリースフィルムを供給して吸着するフィルム供給工程と、
     前記第2金型に前記ワーク及び前記封止樹脂を保持するワーク・封止樹脂載置工程と、
     前記封止金型を型閉じする型閉じ工程と、
     前記封止金型を型開きする型開き工程と、を備え、
     前記型閉じ工程は、前記第1金型の挿通孔に前記垂直端子を挿通する工程を有し、
     前記型開き工程は、前記挿通孔内を型開閉方向に移動可能なエジェクタピンが前記垂直端子を押動して前記成形品を前記第1金型から離型する工程を有すること
    を特徴とする樹脂封止方法。
  8.  前記型閉じ工程は、前記垂直端子を前記リリースフィルムに貫通させてフィルム貫通孔を形成しながら前記挿通孔に挿通すると共に、前記フィルム貫通孔周縁の前記リリースフィルムを前記挿通孔と前記垂直端子との隙間に引き込んで前記隙間を閉塞する工程を有すること
    を特徴とする請求項7記載の樹脂封止方法。

     
PCT/JP2024/029242 2023-09-11 2024-08-19 樹脂封止装置及び樹脂封止方法 Pending WO2025057660A1 (ja)

Applications Claiming Priority (2)

Application Number Priority Date Filing Date Title
JP2023-147103 2023-09-11
JP2023147103A JP2025040280A (ja) 2023-09-11 2023-09-11 樹脂封止装置及び樹脂封止方法

Publications (1)

Publication Number Publication Date
WO2025057660A1 true WO2025057660A1 (ja) 2025-03-20

Family

ID=95022172

Family Applications (1)

Application Number Title Priority Date Filing Date
PCT/JP2024/029242 Pending WO2025057660A1 (ja) 2023-09-11 2024-08-19 樹脂封止装置及び樹脂封止方法

Country Status (3)

Country Link
JP (1) JP2025040280A (ja)
TW (1) TW202511047A (ja)
WO (1) WO2025057660A1 (ja)

Citations (2)

* Cited by examiner, † Cited by third party
Publication number Priority date Publication date Assignee Title
JPS5933839A (ja) * 1982-08-19 1984-02-23 Toshiba Corp 半導体樹脂封止用金型
JP2017007170A (ja) * 2015-06-19 2017-01-12 アピックヤマダ株式会社 モールド金型、樹脂モールド装置及び樹脂モールド方法

Patent Citations (2)

* Cited by examiner, † Cited by third party
Publication number Priority date Publication date Assignee Title
JPS5933839A (ja) * 1982-08-19 1984-02-23 Toshiba Corp 半導体樹脂封止用金型
JP2017007170A (ja) * 2015-06-19 2017-01-12 アピックヤマダ株式会社 モールド金型、樹脂モールド装置及び樹脂モールド方法

Also Published As

Publication number Publication date
JP2025040280A (ja) 2025-03-24
TW202511047A (zh) 2025-03-16

Similar Documents

Publication Publication Date Title
US20240217144A1 (en) Compression molding device and compression molding method
JP7644497B2 (ja) 樹脂封止装置及び封止金型
WO2025057660A1 (ja) 樹脂封止装置及び樹脂封止方法
WO2024047916A1 (ja) 樹脂封止装置及び樹脂封止方法
TWI902006B (zh) 用於壓縮成形的密封樹脂及其形成方法
EP4659930A1 (en) Compression-molding device and compression-molding method
TWI853274B (zh) 壓縮成形裝置
JP7752345B2 (ja) 樹脂封止装置、封止金型、及び樹脂封止方法
TWI910579B (zh) 壓縮成形裝置及壓縮成形方法
TWI900142B (zh) 壓縮成形裝置及壓縮成形方法
JP2024139406A (ja) 圧縮成形装置及び圧縮成形方法
WO2024241633A1 (ja) 搬送装置、樹脂成形装置及び樹脂成形品の製造方法
JP2024171506A (ja) 圧縮成形装置及び圧縮成形方法
WO2023149016A1 (ja) 樹脂封止装置及び樹脂封止方法
JP2025004928A (ja) 圧縮成形に用いられる封止樹脂の形成装置及び形成方法
WO2023139825A1 (ja) 樹脂封止装置
KR20220022861A (ko) 수지 성형 장치 및 수지 성형품의 제조 방법

Legal Events

Date Code Title Description
121 Ep: the epo has been informed by wipo that ep was designated in this application

Ref document number: 24865166

Country of ref document: EP

Kind code of ref document: A1