WO2025047389A1 - Molded product formation method and sealing resin - Google Patents

Molded product formation method and sealing resin Download PDF

Info

Publication number
WO2025047389A1
WO2025047389A1 PCT/JP2024/028683 JP2024028683W WO2025047389A1 WO 2025047389 A1 WO2025047389 A1 WO 2025047389A1 JP 2024028683 W JP2024028683 W JP 2024028683W WO 2025047389 A1 WO2025047389 A1 WO 2025047389A1
Authority
WO
WIPO (PCT)
Prior art keywords
resin
carrier
molded product
sealing
mold
Prior art date
Legal status (The legal status is an assumption and is not a legal conclusion. Google has not performed a legal analysis and makes no representation as to the accuracy of the status listed.)
Pending
Application number
PCT/JP2024/028683
Other languages
French (fr)
Japanese (ja)
Inventor
正明 涌井
誠 川口
Current Assignee (The listed assignees may be inaccurate. Google has not performed a legal analysis and makes no representation or warranty as to the accuracy of the list.)
Apic Yamada Corp
Original Assignee
Apic Yamada Corp
Priority date (The priority date is an assumption and is not a legal conclusion. Google has not performed a legal analysis and makes no representation as to the accuracy of the date listed.)
Filing date
Publication date
Application filed by Apic Yamada Corp filed Critical Apic Yamada Corp
Publication of WO2025047389A1 publication Critical patent/WO2025047389A1/en
Pending legal-status Critical Current
Anticipated expiration legal-status Critical

Links

Images

Classifications

    • BPERFORMING OPERATIONS; TRANSPORTING
    • B29WORKING OF PLASTICS; WORKING OF SUBSTANCES IN A PLASTIC STATE IN GENERAL
    • B29BPREPARATION OR PRETREATMENT OF THE MATERIAL TO BE SHAPED; MAKING GRANULES OR PREFORMS; RECOVERY OF PLASTICS OR OTHER CONSTITUENTS OF WASTE MATERIAL CONTAINING PLASTICS
    • B29B11/00Making preforms
    • B29B11/06Making preforms by moulding the material
    • B29B11/12Compression moulding
    • BPERFORMING OPERATIONS; TRANSPORTING
    • B29WORKING OF PLASTICS; WORKING OF SUBSTANCES IN A PLASTIC STATE IN GENERAL
    • B29CSHAPING OR JOINING OF PLASTICS; SHAPING OF MATERIAL IN A PLASTIC STATE, NOT OTHERWISE PROVIDED FOR; AFTER-TREATMENT OF THE SHAPED PRODUCTS, e.g. REPAIRING
    • B29C43/00Compression moulding, i.e. applying external pressure to flow the moulding material; Apparatus therefor
    • B29C43/02Compression moulding, i.e. applying external pressure to flow the moulding material; Apparatus therefor of articles of definite length, i.e. discrete articles
    • B29C43/18Compression moulding, i.e. applying external pressure to flow the moulding material; Apparatus therefor of articles of definite length, i.e. discrete articles incorporating preformed parts or layers, e.g. compression moulding around inserts or for coating articles
    • BPERFORMING OPERATIONS; TRANSPORTING
    • B29WORKING OF PLASTICS; WORKING OF SUBSTANCES IN A PLASTIC STATE IN GENERAL
    • B29CSHAPING OR JOINING OF PLASTICS; SHAPING OF MATERIAL IN A PLASTIC STATE, NOT OTHERWISE PROVIDED FOR; AFTER-TREATMENT OF THE SHAPED PRODUCTS, e.g. REPAIRING
    • B29C43/00Compression moulding, i.e. applying external pressure to flow the moulding material; Apparatus therefor
    • B29C43/32Component parts, details or accessories; Auxiliary operations
    • B29C43/34Feeding the material to the mould or the compression means
    • HELECTRICITY
    • H01ELECTRIC ELEMENTS
    • H01LSEMICONDUCTOR DEVICES NOT COVERED BY CLASS H10
    • H01L21/00Processes or apparatus adapted for the manufacture or treatment of semiconductor or solid state devices or of parts thereof
    • H01L21/02Manufacture or treatment of semiconductor devices or of parts thereof
    • H01L21/04Manufacture or treatment of semiconductor devices or of parts thereof the devices having potential barriers, e.g. a PN junction, depletion layer or carrier concentration layer
    • H01L21/50Assembly of semiconductor devices using processes or apparatus not provided for in a single one of the groups H01L21/18 - H01L21/326 or H10D48/04 - H10D48/07 e.g. sealing of a cap to a base of a container
    • H01L21/56Encapsulations, e.g. encapsulation layers, coatings
    • HELECTRICITY
    • H01ELECTRIC ELEMENTS
    • H01LSEMICONDUCTOR DEVICES NOT COVERED BY CLASS H10
    • H01L23/00Details of semiconductor or other solid state devices
    • H01L23/28Encapsulations, e.g. encapsulating layers, coatings, e.g. for protection

Definitions

  • the present invention relates to a method for forming a molded product and a sealing resin.
  • One example of a resin sealing device and resin sealing method that seals a workpiece having electronic components with sealing resin and processes it into a molded product is one that uses a compression molding method.
  • the compression molding method is a technique for resin sealing by supplying a predetermined amount of sealing resin to a sealing area (cavity) provided in a sealing mold comprising an upper mold and a lower mold, placing a workpiece in the sealing area, and clamping it with the upper and lower molds.
  • a sealing area cavity
  • a technique is known in which the sealing resin is supplied all at once to the center position on the workpiece and molded.
  • the so-called lower die cavity movable compression molding method was widely adopted, in which the workpiece is held in the upper die, a cavity is provided in the lower die, and sealing resin (granular resin, for example) is supplied into the cavity, as it was thought to be advantageous in terms of preventing deformation of the workpiece caused by contact due to the flow of the sealing resin or the flow of the wire.
  • sealing resin granular resin, for example
  • the sealing resin (solid resin) before resin sealing when attempting to form a molded product thin enough that the resin thickness after resin sealing (specifically, the thickness of the resin part above or below the workpiece after resin sealing) is 0.4 mm or less, the thickness of the sealing resin (solid resin) before resin sealing must also be made thin.
  • the sealing resin (solid resin) before resin sealing is naturally in a state before it has fully hardened, so it has low rigidity (brittle) and low strength, and this has revealed the problem that it is extremely susceptible to breakage during handling (particularly during transportation).
  • the present invention has been made in consideration of the above circumstances, and aims to provide a compression molding device and compression molding method that can prevent molding defects caused by uneven distribution, residual gas, and dust generation during molding, can form molded products with thin resin parts, can facilitate handling before resin sealing, and can prevent breakage during handling, as well as a molding method and sealing resin.
  • the present invention solves the above problems by using the solutions described below as embodiments.
  • the method for forming a molded product includes a carrier placing step of placing a carrier, which is a plate-like member, so as to contact the bottom surface of a cavity of a mold; a resin placing step of placing resin in the cavity after the carrier placing step; a temporary molded product forming step of forming a temporary molded product by sealing the carrier placed in the carrier placing step with the resin placed in the resin placing step; and a molded product forming step of forming a molded product by heating or pressurizing a workpiece having electronic components in contact with the temporary molded product.
  • the sealing resin according to one embodiment is composed of a carrier, which is a plate-like member, and a resin, and is required to have an exposed portion in which the carrier is exposed in a portion of the sealing resin.
  • the sealing resin has a resin sealing portion on the surface on which the exposed portion is formed, where the carrier is not exposed outside the exposed portion.
  • the method for forming a sealing resin is a method for forming a sealing resin used in compression molding of a workpiece, and is required to include a forming step for forming the sealing resin, which is a solid resin fixed to one side of a base resin with the carrier exposed.
  • a powder resin is used as the base resin, and the forming process includes a step of tableting the powder resin to form the sealing resin, which is a solid resin of a predetermined shape to which the carrier is fixed.
  • the predetermined shape is a shape in which, in a plan view, the carrier is disposed in the center and the base resin is disposed on the periphery so as to cover the outer periphery of the carrier.
  • the forming process includes a step of returning the carrier peeled off from the compression molded product to the device that forms the sealing resin and using it again when forming the sealing resin.
  • the sealing resin forming device is a sealing resin forming device that forms the sealing resin used in compression molding of a workpiece, and is required to include a tableting die that holds a base resin and a carrier and tablets the carrier to form the sealing resin, which is a solid resin of a predetermined shape to which the carrier is fixed.
  • the sealing resin in another embodiment is a sealing resin used in compression molding of a workpiece, and is required to be a solid resin that is fixed to one side of the base resin with the carrier exposed.
  • the sealing resin according to the present invention it is possible to form a sealing resin that can provide the following effects.
  • the sealing resin according to the present invention it is possible to prevent molding defects caused by uneven distribution, residual gas, and dust generation during molding, and it is possible to realize a compression molding device and compression molding method that can form a molded product with a thin resin portion. It is also possible to facilitate handling before resin sealing. It is also possible to prevent breakage during handling.
  • FIG. 1 is a plan view showing an example of an apparatus for forming a sealing resin according to an embodiment of the present invention.
  • FIG. 2 is a side view showing an example of a first pressing device of the forming apparatus shown in FIG.
  • FIG. 3 is a front cross-sectional view showing an example of a first mold of the forming apparatus shown in FIG.
  • FIG. 4 is a front cross-sectional view showing another example of the first mold of the forming apparatus shown in FIG.
  • FIG. 5 is an explanatory diagram illustrating an example of a method for forming a sealing resin according to an embodiment of the present invention.
  • FIG. 7B is a cross-sectional view taken along line AA in Fig. 7A
  • Fig. 7C is a cross-sectional view showing another example of the sealing resin.
  • FIG. 8 is an explanatory diagram following FIG.
  • FIG. 9 is a plan view showing an example of a compression molding apparatus in which the sealing resin according to the embodiment of the present invention is used.
  • FIG. 10 is a side view showing an example of the second press unit of the compression molding apparatus shown in FIG.
  • FIG. 11 is a front cross-sectional view showing an example of the second mold of the compression molding apparatus shown in FIG.
  • FIG. 12 is an explanatory diagram illustrating an example of a compression molding method in which the sealing resin according to the embodiment of the present invention is used.
  • FIG. 13 is an explanatory diagram following FIG. FIG.
  • FIG. 15A to 15C are front cross-sectional views showing an example of a molded product formed in a compression molding apparatus and a compression molding method in which a sealing resin according to an embodiment of the present invention is used, in which FIG. 15A shows the state before the carrier peeling process, FIG. 15B shows the state after the carrier peeling process, and FIG. 15C shows the state after the cutting process.
  • FIG. 16 is a side view showing an example of the third press unit of the compression molding apparatus shown in FIG.
  • FIG. 17 is a front cross-sectional view showing an example of a third mold of the compression molding apparatus shown in FIG. FIG.
  • FIG. 18 is an explanatory diagram illustrating another example of a compression molding method in which the sealing resin according to the embodiment of the present invention is used.
  • FIG. 19 is an explanatory diagram following FIG.
  • FIG. 20 is an explanatory diagram following FIG.
  • FIG. 21 is an explanatory diagram illustrating another example of a compression molding method in which the sealing resin according to the embodiment of the present invention is used.
  • FIG. 22 is an explanatory diagram illustrating another example of a compression molding method in which the sealing resin according to the embodiment of the present invention is used.
  • the sealing resin R according to the embodiment of the present invention is a resin used for compression molding of a workpiece (molded product) W.
  • a molding device 1 for the sealing resin R (hereinafter, sometimes simply referred to as a "forming device") will be described.
  • the forming device 1 may be provided either inside or outside the compression molding device 2.
  • FIG. 1 is a plan view (schematic diagram) showing an example of the forming device 1.
  • arrows in the figure indicate the left-right direction (X direction), the front-back direction (Y direction), and the up-down direction (Z direction) of the device.
  • members having the same function are given the same reference numerals, and repeated explanations thereof may be omitted.
  • the workpiece W to be molded is configured with electronic components.
  • electronic components include coil sheets, semiconductor chips, MEMS chips, passive elements, heat sinks, conductive materials, spacers, etc.
  • the workpiece W may be configured to consist of only electronic components, or may be configured to be mounted on a substrate (wire bonding mounting, flip chip mounting, etc.).
  • substrates include rectangular or circular plate-shaped members such as resin substrates, ceramic substrates, metal substrates, carrier plates, lead frames, and wafers.
  • the number of electronic components that make up the workpiece W is not particularly limited, and may be set to one or more.
  • the base resin Rm to which the carrier C is fixed is used as the sealing resin R (details of the forming device and forming method will be described later).
  • the carrier C is a plate-like member formed from a metal material (e.g., copper, copper alloy, etc.) with a thickness of approximately 0.1 mm to 0.5 mm, but is not limited to this.
  • thermosetting resin such as, but not limited to, an epoxy resin containing a filler
  • a powder resin that is a thermosetting resin (property) is preferably used as the base resin Rm (details will be described later).
  • this is not limited to this, and a configuration may be used in which a granular resin, a crushed resin, a solid resin, a liquid resin, or a resin that is a combination of two or more of these resins is used.
  • film F examples include film materials with excellent heat resistance, ease of peeling, flexibility, and extensibility, such as PTFE (polytetrafluoroethylene), ETFE (polytetrafluoroethylene polymer), PET, FEP, fluorine-impregnated glass cloth, polypropylene, and polyvinylidine chloride. Film F is also used when forming sealing resin R in resin forming section 50, which will be described later.
  • the forming device 1 mainly comprises a base resin supply unit 10D that supplies base resin Rm and carrier C, and a resin forming unit 10E that uses base resin Rm and carrier C to form sealing resin R.
  • the base resin supply unit 10D and the resin forming unit 10E are arranged in this order along the X direction in FIG. 1.
  • the above configuration is not limited, and the equipment configuration within the unit, the number of units, the order in which the units are arranged, etc. may be changed. Also, a configuration including units other than those described above (not shown) may be used.
  • the forming device 1 also has a guide rail 20 that is linearly arranged between the units, and a transport device (first loader) 21 that transports the base resin Rm and the carrier C is arranged to be movable between the units along the guide rail 20.
  • first loader transport device
  • the transport device may be configured to include a robot hand or the like instead of a loader.
  • a control unit 80 that controls the operation of each mechanism in each unit is disposed in the base resin supply unit 10D (it may also be configured to be disposed in another unit).
  • the base resin supply unit 10D includes a carrier supply section 30 that supplies carriers C, and a base resin supply section 40 that supplies base resin Rm.
  • the carrier supply section 30 is configured with a storage section (e.g., a stocker, etc.) in which multiple carriers C are stored (a pickup, stage, etc. may be provided as appropriate).
  • the base resin supply section 40 is configured with a dispenser that supplies base resin Rm, a conveying device, etc.
  • the first loader 21 may be used as the conveying device, or another conveying device (not shown) may be used (direct spraying from a dispenser, etc. may also be adopted for the base resin Rm).
  • the resin forming unit 10E provided in the forming device 1 is provided with a resin forming section 50 as a device that forms the sealing resin R using the base resin Rm and the carrier C.
  • a resin forming section 50 as a device that forms the sealing resin R using the base resin Rm and the carrier C.
  • two resin forming units 10E three or more or just one
  • one resin forming section 50 two or more is provided per resin forming unit 10E (see FIG. 1).
  • this configuration is not limited to this.
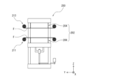
  • the resin forming section 50 is equipped with a tableting die (first die) 102 having a pair of dies (for example, a combination of multiple die blocks, die plates, die pillars, etc., made of alloy tool steel, and other components) that are opened and closed. It also has a press device (first press device) 150 that drives the first die 102 to open and close. As an example, two first press devices 150 are provided, but it may be possible to provide one device, or multiple devices (three or more) (not shown). A side view (schematic diagram) of the first press device 150 is shown in FIG. 2, and a front cross-sectional view (schematic diagram) of the first die 102 is shown in FIG. 3.
  • the first press device 150 is configured to include a pair of platens 154, 156, a plurality of tie bars 152 on which the pair of platens 154, 156 are supported, and a drive device for moving (raising and lowering) the platen 156.
  • the drive device is configured to include a drive source (e.g., an electric motor) 160 and a drive transmission mechanism (e.g., a ball screw or a toggle link mechanism) 162 (however, this is not limited to this).
  • the upper platen 154 in the vertical direction is set as a fixed platen (a platen fixed to the tie bars 152), and the lower platen 156 is set as a movable platen (a platen slidably held by the tie bars 152 and raised and lowered).
  • the platens may be set upside down, i.e., the upper side may be set as a movable platen and the lower side as a fixed platen, or both the upper and lower sides may be set as movable platens (neither is shown).
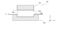
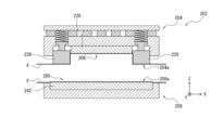
  • the first mold 102 is provided with a first upper mold 104 on the vertical side and a first lower mold 106 on the vertical side as a pair of molds arranged between the pair of platens 154, 156 in the first press device 150.
  • the first upper mold 104 is attached to the upper platen (in this embodiment, the fixed platen 154), and the first lower mold 106 is attached to the lower platen (in this embodiment, the movable platen 156).
  • the first upper mold 104 and the first lower mold 106 approach and move away from each other to close and open the mold (the vertical direction (up and down direction) is the mold opening and closing direction).
  • the first upper mold 104 constitutes a so-called "pestle mold”
  • the first lower mold 106 constitutes a so-called "mortar mold”.
  • the first lower mold 106 of the first mold 102 includes a lower mold chase (first lower mold chase) 110, a cavity piece (first cavity piece) 126 held therein, and a clamper (first clamper) 128.
  • the first lower mold chase 110 is fixed to the upper surface of a support plate (first support plate) 114 via a support pillar (first support pillar) 112.
  • a cavity (first cavity) 108 is provided on the upper surface (surface on the first upper mold 104 side) of the first lower mold 106.
  • a carrier C and a predetermined amount of base resin Rm are accommodated in this first cavity 108.
  • the first clamper 128 is configured in a ring shape to surround the first cavity piece 126, and is assembled to the upper surface of the first support plate 114 via a push pin (first push pin) 122 and a clamper spring (first clamper spring) 124 (for example, a biasing member such as a coil spring) so as to be spaced apart (floating) from the upper surface of the first support plate 114 and movable up and down (however, this assembly structure is not limited).
  • the first cavity piece 126 constitutes the inner part (bottom part) of the first cavity 108
  • the first clamper 128 constitutes the side part of the first cavity 108.
  • the upper surface of the first cavity piece 126 (the surface facing the first upper mold 104) is formed in a flat shape.
  • the shape and number of first cavities 108 provided in one first lower mold 106 are set appropriately (one or multiple).
  • the first press device 150 is provided with a lower die film supply section (first lower die film supply section) 111 that supplies film F to cover the die surface 106a (predetermined area) including the inner surface of the first cavity 108 in the first lower die 106.
  • the film F is in a roll shape, but it may also be in a strip shape.
  • the first lower mold 106 is also provided with suction paths (holes, grooves, etc.) (not shown) that communicate with a suction device at the boundaries with the first clamper 128 and the first cavity piece 126. This allows the film F supplied from the first lower mold film supply unit 111 to be adsorbed and held on the mold surface 106a, including the inner surface of the first cavity 108.
  • a first lower die heating mechanism (not shown) that heats the first lower die 106 to a predetermined temperature.
  • This first lower die heating mechanism includes a heater (e.g., an electric wire heater), a temperature sensor, a power source, etc., and heating is controlled by the control unit 80.
  • the heater is built into the first lower die chase 110 and is configured to apply heat to the entire first lower die 106 and to the carrier C and base resin Rm contained in the first cavity 108.
  • the first lower die 106 is heated to a predetermined temperature (e.g., 50°C to 80°C) at which the thermal curing (main curing) of the base resin Rm is unlikely to proceed.
  • the first upper die 104 of the first mold 102 has a tableting plate (first plate) 142 held (fixed) by an upper die chase (first upper die chase) 140.
  • This tableting plate (first plate) 142 presses the carrier C and a predetermined amount of base resin Rm contained in the first cavity 108 of the first lower die 106 to form (tablet) the sealing resin R having a predetermined shape to which the carrier C is fixed (the formation method will be described in detail later).
  • the lower surface of the first plate 142 (the surface facing the first lower die 106) is formed flat.
  • the first press device 150 is provided with an upper die film supply section (first upper die film supply section) 113 that supplies film F to cover the die surface 104a (predetermined area) of the first upper die 104.
  • the film F is in a roll shape, but it may also be in a strip shape.
  • the first upper mold 104 has suction paths (holes, grooves, etc.) that communicate with a suction device provided in the first plate 142, etc. (not shown). This allows the film F supplied from the first upper mold film supply unit 113 to be adsorbed and held on the mold surface 104a.
  • a first upper die heating mechanism (not shown) is provided that heats the first upper die 104 to a predetermined temperature.
  • This first upper die heating mechanism includes a heater (e.g., an electric wire heater), a temperature sensor, a power source, etc., and heating is controlled by the control unit 80.
  • the heater is built into the first upper die chase 140 and is configured to apply heat to the entire first upper die 104.
  • the first upper die 104 is heated to a predetermined temperature (e.g., 50°C to 80°C) at which the thermal curing (main curing) of the base resin Rm held (contained) in the first lower die 106 does not proceed easily.
  • first mold 102 has a structure that includes a movable clamper (first clamper 128) as an example, but as another example, it may have a structure that does not include a movable clamper as shown in Figure 4.
  • a method for forming the sealing resin R according to this embodiment (hereinafter, may be simply referred to as the "forming method") will be described.
  • the forming method can be carried out using the above-mentioned forming apparatus 1.
  • Figs. 5 to 8 are explanatory diagrams of main steps.
  • the first preparation step includes the following steps.
  • a heating step (first lower mold heating step) is carried out in which the first lower mold 106 is adjusted to a predetermined temperature (a temperature at which the base resin Rm and the sealing resin R do not fully cure, for example, 50°C to 80°C) and heated by the first lower mold heating mechanism.
  • a heating step (first upper mold heating step) is carried out in which the first upper mold 104 is adjusted to a predetermined temperature (a temperature at which the base resin Rm and the sealing resin R do not fully cure, for example, 50°C to 80°C) and heated by the first upper mold heating mechanism.
  • a lower mold film supply step (first lower mold film supply step) is carried out in which the first lower mold film supply unit 111 is operated to supply new film F and adsorb it to cover a predetermined area of the mold surface 106a including the inner surface of the first cavity 108 in the first lower mold 106.
  • the first upper die film supply unit 113 is operated to supply new film F, and an upper die film supply process (first upper die film supply process) is carried out in which the film F is adsorbed to cover a predetermined area of the die surface 104a of the first upper die 104.
  • a formation step is carried out to form the base resin Rm with the carrier C fixed thereto as the sealing resin R.
  • the carrier supply unit 30 supplies the carrier C.
  • a predetermined amount of base resin Rm is supplied by a dispenser or the like (not shown).
  • the carrier C and the base resin Rm are tableted (an example of "temporary molding") to form a solid sealing resin R ("temporary molded product") formed in a predetermined shape with the carrier C fixed thereto.
  • "solid” includes a state in which the resin is melted to the so-called B stage or a state immediately before melting, since the resin is tableted while being heated to a temperature at which it does not fully harden.
  • the carrier C is placed in the lower mold 106 before the base resin Rm is supplied, but the carrier C may also be attached to the underside of the film F of the upper mold 104.
  • the carrier C supplied from the carrier supply unit 30 is transported by a transport device (e.g., the first loader 21, etc.) and accommodated in a predetermined position (e.g., the center position) in the first cavity 108 of the first lower mold 106.
  • a predetermined amount of base resin Rm supplied from the base resin supply unit 40 is transported by a transport device (e.g., the first loader 21, etc.) or directly sprayed from a dispenser or the like and accommodated in the first cavity 108 of the first lower mold 106.
  • the base resin Rm is placed on the carrier C previously accommodated (see FIG. 5).
  • the first press device 150 is operated to close the first mold 102 that has been heated to the above-mentioned predetermined temperature (see FIG. 6).
  • the first cavity piece 126 rises relatively within the first cavity 108, and the carrier C and base resin Rm are compressed (sandwiched and pressed) between the first cavity piece 126 and the first plate 142.
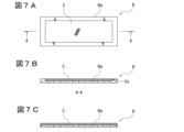
  • the above-mentioned "predetermined shape” is a shape in which, as shown in FIG. 7A (a plan view of the exposed surface of the carrier C facing upward) and FIG. 7B (a cross-sectional view of line A-A in FIG. 7A), the carrier C is arranged in the center in a plan view, and the base resin Rm (in a solid state after tableting) is arranged on the periphery so as to cover the outer periphery Ca of the carrier C (note that a positioning step (not shown) for the work W may be provided on the resin surface in order to sandwich the work W from above and below).
  • This can increase the adhesion between the carrier C and the base resin Rm, thereby preventing unintended peeling from occurring.
  • the carrier C and the base resin Rm may be almost the same.
  • a base resin Rm having a recess formed therein may be prepared, and the carrier C may be attached to the recess.
  • a flat carrier C may be attached to a base resin Rm that is simply flat and has no recess.
  • the above-mentioned adhesion includes adhesion.
  • the above tableting process is carried out at a temperature at which the thermal curing (full curing) of the base resin Rm does not proceed easily (the first lower die 106 and the first upper die 104 are heated to a temperature at which the thermal curing (full curing) does not proceed easily) so that the formed sealing resin R can be thermally cured (full cured) in the subsequent resin sealing process.
  • the "temperature at which the thermal curing does not proceed easily” depends on the material of the base resin Rm, but is specifically about 50°C to 80°C (about 70°C in this embodiment).
  • a powder resin as the base resin Rm. This allows the amount of resin to be adjusted and supplied with extremely high precision compared to when granular resin or crushed resin is used. However, it is not limited to powder resin.
  • the first mold 102 is opened and the used film F is separated from the sealing resin R (with the carrier C fixed to the lower surface side) to enable removal of the sealing resin R (first mold opening process) (see FIG. 8).
  • the film F is placed on both the mold surface 106a of the first lower mold 106 and the mold surface 104a of the first upper mold 104, which makes it easier to release the sealing resin R formed by tableting and prevents damage caused by resin adhesion to the mold.
  • the first lower mold film supply unit 111 and the first upper mold film supply unit 113 are operated to send out the used film F from within the first mold 102 and send new film F into the first mold 102 and set it therein, thereby carrying out a film supply process (first lower mold film supply process, first upper mold film supply process).
  • the thickness of the sealing resin (solid resin) before resin sealing must also be thin.
  • the sealing resin (solid resin) before resin sealing is naturally in a state before it is fully hardened, so it has low rigidity (brittle) and low strength, and therefore there is a problem that it is extremely prone to breakage during handling (particularly during transportation). It has been confirmed that this is particularly noticeable in the case of sealing resin (solid resin) formed by tableting.
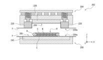
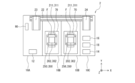
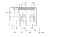
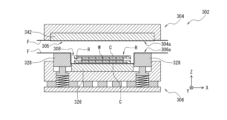
  • FIG. 9 is a plan view (schematic view) showing an example of the compression molding apparatus 2.
  • the compression molding device 2 mainly comprises a supply unit 10A for supplying the workpiece W, a press unit 10B for sealing the workpiece W with resin and processing it into a molded product Wp, and a storage unit 10C for storing the molded product Wp.
  • the supply unit 10A, press unit 10B, and storage unit 10C are arranged in this order along the X direction in FIG. 9.
  • this is not limited to the above configuration, and the equipment configuration within the unit, the number of units, and the order in which the units are arranged may be changed.
  • the supply unit 10A and the storage unit 10C may be arranged in reverse in the X direction, or may be arranged to be concentrated in one position or the other (not shown).
  • the configuration may include units other than those described above (not shown).
  • the compression molding device 2 has a guide rail 22 that is linearly provided between each unit, and a transport device (second loader) 23 that transports the workpiece W and sealing resin R (may be used for transporting items other than the workpiece W and sealing resin R) and a transport device (third loader) 24 that transports the molded product Wp (may be used for transporting items other than the molded product Wp) are provided so as to be movable between predetermined units along the guide rail 22.
  • the configuration is not limited to the above, and a configuration may be provided with a common (single) transport device (loader) that transports the workpiece W, sealing resin R, molded product Wp, etc. (not shown).
  • the transport device may be configured to include a robot hand or the like instead of a loader.
  • the compression molding device 2 has a control unit 90 that controls the operation of each mechanism in each unit and is located in the supply unit 10A (although it may be configured to be located in another unit).
  • the press unit 10B is equipped with a resin sealing section 70 that seals the workpiece W with resin and processes it into a molded product Wp.
  • a resin sealing section 70 that seals the workpiece W with resin and processes it into a molded product Wp.
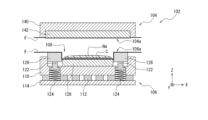
  • the resin sealing section 70 is equipped with a pair of sealing dies (for example, a pair of dies (for example, dies made of alloy tool steel, dies plates, dies pillars, etc., and other members assembled thereto) that are opened and closed by a press device.
  • the second preparation step is performed. Specifically, a heating step (second upper die heating step) is performed in which the second upper die 204 is adjusted to a predetermined temperature (e.g., 100°C to 300°C) and heated by the second upper die heating mechanism. A heating step (second lower die heating step) is also performed in which the second lower die 206 is adjusted to a predetermined temperature (e.g., 100°C to 300°C) and heated by the second lower die heating mechanism. A lower die film supply step (second lower die film supply step) is also performed in which the second lower die film supply unit 211 is operated to supply new film F and adsorb it to cover a predetermined area of the die surface 206a of the second lower die 206.
  • a heating step (second upper die heating step) is performed in which the second upper die 204 is adjusted to a predetermined temperature (e.g., 100°C to 300°C) and heated by the second upper die heating mechanism.
  • a heating step (second lower die heating step) is also performed in which the second lower
  • An upper die film supply step (second upper die film supply step) is also performed in which the second upper die film supply unit 213 is operated to supply new film F and adsorb it to cover a predetermined area of the die surface 204a including the inner surface of the second cavity 208 in the second upper die 204.
  • a resin preparation step is carried out to prepare a base resin Rm with a carrier C fixed thereto as the sealing resin R. Specifically, the sealing resin R formed by the forming device 1 described above is prepared.
  • a setting step is performed in which the sealing resin R and the workpiece W are set in the sealing mold (second mold 202). As shown in FIG. 12, the workpiece W is sandwiched between two sealing resins R arranged so that the carriers C are on the outside, and is held (including placed) on the holding portion 205.
  • one sealing resin R (for convenience of explanation, referred to as "first sealing resin R") prepared in the resin preparation process is transported by a transport device (e.g., second loader 23, etc.) and placed on the holding part 205 with the surface on which the carrier C is exposed facing down.
  • a transport device e.g., second loader 23, etc.
  • the work W supplied from the supply magazine 12 is transported by a transport device (e.g., second loader 23, etc.) and placed on the first sealing resin R.
  • the other sealing resin R (for convenience of explanation, referred to as “second sealing resin R") prepared in the resin preparation process is transported by a transport device (e.g., second loader 23, etc.) and placed on the work W with the surface on which the carrier C is exposed facing up.
  • the first sealing resin R and the second sealing resin R prepared in the resin preparation process and the workpiece W supplied from the supply magazine 12 are stacked so that the workpiece W is sandwiched between the two (first and second) sealing resins R arranged so that the carriers C are on the outside (i.e., the first sealing resin R is prepared with the surface on which the carrier C is exposed on the bottom side, the workpiece W is placed on the first sealing resin R, and the second sealing resin R is placed on the workpiece W with the surface on which the carrier C is exposed on the top side).
  • the first sealing resin R, the workpiece W, and the second sealing resin R in this stacked state are transported by a transport device (e.g., the second loader 23, etc.) and placed on the holding part 205.
  • a transport device e.g., the second loader 23, etc.
  • the workpiece W and the two sealing resins R are transported to the second mold 202 in one go, rather than being transported separately.
  • the first sealing resin R and the second sealing resin R can be supplied simultaneously to the heated sealing mold (second mold 202), which has the advantage that the thermal history does not change.
  • a resin sealing step is performed in which the work W is sealed with sealing resin R (in this embodiment, sandwiched between two sealing resins R) and processed into a molded product Wp.
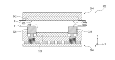
  • the second mold 202 is closed, and a mold closing step (second mold closing step) is performed in which the sealing resin R is heated and pressurized against the work W (see FIG. 13).
  • the second clamper 228 abuts against the lower plate 242 (mold surface 206a) via the film F, and the second cavity piece 226 is relatively lowered in the second cavity 208.
  • This mold closing step thermally hardens the sealing resin R to complete the resin sealing (compression molding), and a molded product Wp having the shape shown in FIG.
  • the work W is sandwiched from above and below by sealing resin R with a carrier C and compressed from above and below as shown in FIG. 12, but as another example, as shown in FIG. 21, the sealing resin R with the carrier C may be only one of the top and bottom, and the other may be sealing resin R without a carrier C.
  • the second mold 202 is opened, and a mold opening step (second mold opening step) is performed in which the molded product Wp is separated from the used film F so that the molded product Wp can be removed (see FIG. 14).
  • a molded product removal step is performed in which the molded product Wp (as an example, held by the holding portion 205 of the lower plate 242) is removed from the second mold 202 by a conveying device (e.g., the third loader 24, etc.) and conveyed to the storage unit 10C.
  • a conveying device e.g., the third loader 24, etc.
  • the second lower die film supply unit 211 and the second upper die film supply unit 213 are operated to carry out a film supply process (second lower die film supply process, second upper die film supply process) in which the used film F is sent out from within the second die 202 and a new film F is sent into and set within the second die 202.
  • a film supply process (second lower die film supply process, second upper die film supply process) in which the used film F is sent out from within the second die 202 and a new film F is sent into and set within the second die 202.
  • a carrier peeling process is carried out in which the carrier C is peeled off from the molded product Wp using a carrier peeling device 16.
  • a carrier peeling device 16 As a result, a molded product Wp having the shape shown in FIG. 15B is formed. Note that in this process, the molded product Wp may be inverted midway and the upper and lower carriers C may be peeled off in sequence using one peeling mechanism, or the molded product Wp may not be inverted and the upper and lower carriers C may be peeled off separately using two peeling mechanisms.
  • a process is carried out in which the carrier C peeled off from the molded product Wp is transported from the storage unit 10C to the resin forming unit 10E (or the base resin supply unit 10D) by a transport device (e.g., the third loader 24, etc.) (the carrier C can be finally returned to the resin forming section 50).
  • a transport device e.g., the third loader 24, etc.
  • the carrier C can be finally returned to the resin forming section 50. Note that if the carrier C is used as a heat sink or the like in the final product, it is not necessarily necessary to peel off the carrier C.
  • the carrier C can be peeled off from the molded product Wp and reused in the forming process in which the sealing resin R (i.e., the base resin Rm to which the carrier C is fixed) is formed in the forming device 1.
  • the sealing resin R i.e., the base resin Rm to which the carrier C is fixed
  • the forming device 1 This makes it possible to reduce manufacturing costs by reducing the number of parts (total number of carriers C required).
  • a cutting process is carried out to cut the molded product Wp at a predetermined position (the position indicated by the dashed line in FIG. 15B). Specifically, a cutting device 18 is used to cut the area of the molded product Wp from which the carrier C has been peeled in the thickness direction, and the outer edge is removed. This makes it possible to form a molded product Wp (final target shape) having the shape shown in FIG. 15C, i.e., a thin resin thickness (resin thickness in the upper or lower part of the workpiece W).
  • a storage process is carried out in which the molded product Wp (in this embodiment, the carrier C has been peeled off and the specified positions have been cut off) is stored in the storage magazine 14.
  • the carrier peeling device 16 and the cutting device 18 may be provided separately from the compression molding device 2, in which case the molded product Wp may be stored in a state in which it has not been peeled off or cut.
  • the third preparation step is performed. Specifically, a heating step (third upper die heating step) is performed in which the third upper die 304 is adjusted to a predetermined temperature (e.g., 100°C to 300°C) and heated by the third upper die heating mechanism. A heating step (third lower die heating step) is also performed in which the third lower die 306 is adjusted to a predetermined temperature (e.g., 100°C to 300°C) and heated by the third lower die heating mechanism.
  • a lower die film supply step (third lower die film supply step) is also performed in which the third lower die film supply unit 311 is operated to supply new film F and adsorb it to cover a predetermined area of the die surface 306a including the inner surface of the third cavity 308 in the third lower die 306.
  • a top die film supply step (third upper die film supply step) is also performed in which the third upper die film supply unit 313 is operated to supply new film F and adsorb it to cover a predetermined area of the die surface 304a of the third upper die 304
  • a resin preparation step is carried out to prepare a base resin Rm with a carrier C fixed thereto as the sealing resin R. Specifically, the sealing resin R formed by the forming device 1 described above is prepared.
  • a setting step is carried out in which the sealing resin R and the workpiece W are set in the sealing mold (third mold 302). As shown in FIG. 18, the workpiece W is sandwiched between two sealing resins R arranged so that each carrier C is on the outside, and is held (including placed) in the third cavity 308 (on the third cavity piece 326).
  • first sealing resin R for convenience of explanation, referred to as "first sealing resin R"
  • first sealing resin R the first sealing resin R
  • a transport device e.g., second loader 23, etc.
  • the third cavity 308 on the third cavity piece 326 with the surface on which the carrier C is exposed facing down.
  • the work W supplied from the supply magazine 12 is transported by a transport device (e.g., second loader 23, etc.) and placed on the first sealing resin R.
  • second sealing resin R the other sealing resin R (for convenience of explanation, referred to as “second sealing resin R") prepared in the resin preparation process is transported by a transport device (e.g., second loader 23, etc.) and placed on the work W with the surface on which the carrier C is exposed facing up.
  • a transport device e.g., second loader 23, etc.
  • the first sealing resin R and the second sealing resin R prepared in the resin preparation process and the workpiece W supplied from the supply magazine 12 are stacked so that the workpiece W is sandwiched between the two (first and second) sealing resins R arranged so that the carriers C are on the outside (i.e., the first sealing resin R is prepared with the surface on which the carrier C is exposed on the lower side, the workpiece W is placed on the first sealing resin R, and the second sealing resin R is placed on the workpiece W with the surface on which the carrier C is exposed on the upper side).
  • the first sealing resin R, the workpiece W, and the second sealing resin R in this stacked state are transported by a transport device (e.g., the second loader 23, etc.) and placed in the third cavity 308 (on the third cavity piece 326).
  • a transport device e.g., the second loader 23, etc.
  • the third cavity 308 on the third cavity piece 326.
  • the workpiece W and the two sealing resins R are transported to the third mold 302 in one go, rather than being transported separately.
  • the first sealing resin R and the second sealing resin R can be supplied simultaneously to the heated sealing mold (third mold 302), which has the advantage that the thermal history does not change.
  • a resin sealing step is performed in which the workpiece W is sealed with sealing resin R (sandwiched between two sealing resins R in this embodiment) and processed into a molded product Wp.
  • the third mold 302 is closed, and a mold closing step (third mold closing step) is performed in which the sealing resin R is heated and pressurized against the workpiece W (see FIG. 19).
  • the third clamper 328 abuts against the upper plate 342 (mold surface 304a) via the film F, and the third cavity piece 326 rises relatively within the third cavity 308.
  • This mold closing step thermally hardens the sealing resin R to complete the resin sealing (compression molding), and a molded product Wp having the shape shown in FIG.
  • sealing resin R with a carrier C from above and below and compressed and molded from above and below as shown in FIG. 18, but as another example, as shown in FIG. 22, sealing resin R with a carrier C may be used only on one side, and the other side may be sealing resin R without a carrier C.
  • the third mold 302 is opened, and the molded product Wp is separated from the used film F to enable removal of the molded product Wp (third mold opening step) (see FIG. 20).
  • the molded product removal step is performed in which the molded product Wp (as an example, held by the holding portion 305 of the upper plate 342) is removed from the third mold 302 by a conveying device (e.g., the third loader 24, etc.) and conveyed to the storage unit 10C.
  • a conveying device e.g., the third loader 24, etc.
  • the third lower die film supply unit 311 and the third upper die film supply unit 313 are operated to send out the used film F from the third die 302 and to send and set new film F into the third die 302, thereby carrying out a film supply process (third lower die film supply process, third upper die film supply process).
  • a carrier peeling process is carried out in which the carrier C is peeled off from the molded product Wp using a carrier peeling device 16.
  • a carrier peeling device 16 As a result, a molded product Wp having the shape shown in FIG. 15B is formed. Note that in this process, the molded product Wp may be inverted midway and the upper and lower carriers C may be peeled off in sequence using one peeling mechanism, or the molded product Wp may not be inverted and the upper and lower carriers C may be peeled off separately using two peeling mechanisms.
  • a process is carried out in which the carrier C peeled off from the molded product Wp is transported from the storage unit 10C to the resin forming unit 10E (or the base resin supply unit 10D) by a transport device (e.g., the third loader 24, etc.) (the carrier C can be finally returned to the resin forming section 50).
  • a transport device e.g., the third loader 24, etc.
  • the carrier C can be finally returned to the resin forming section 50. Note that if the carrier C is used as a heat sink or the like in the final product, it is not necessarily necessary to peel off the carrier C.
  • the carrier C can be peeled off from the molded product Wp and reused in the forming process in which the sealing resin R (i.e., the base resin Rm to which the carrier C is fixed) is formed in the forming device 1.
  • the sealing resin R i.e., the base resin Rm to which the carrier C is fixed
  • the forming device 1 This makes it possible to reduce manufacturing costs by reducing the number of parts (total number of carriers C required).
  • a cutting process is carried out to cut the molded product Wp at a predetermined position (the position indicated by the dashed line in FIG. 15B). Specifically, a cutting device 18 is used to cut the area of the molded product Wp from which the carrier C has been peeled in the thickness direction, and the outer edge is removed. This makes it possible to form a molded product Wp (final target shape) having the shape shown in FIG. 15C, i.e., a thin resin thickness (resin thickness in the upper or lower part of the workpiece W).
  • a storage process is carried out in which the molded product Wp (in this embodiment, the carrier C has been peeled off and the product has been cut at a predetermined position) is stored in the storage magazine 14. It is also possible to store the molded product Wp without carrying out the carrier peeling process or the cutting process (i.e., in a state in which the product has not been peeled or cut).
  • the carrier peeling device 16 and the cutting device 18 may be provided separately from the compression molding device 2, in which case the molded product Wp in a state in which it has not been peeled or cut may be stored.
  • the sealing resin according to the present invention it is possible to form a sealing resin that can provide the following effects.
  • the sealing resin according to the present invention it is possible to prevent molding defects caused by uneven distribution, residual gas, and dust generation during molding, and it is possible to realize a compression molding device and compression molding method that can form a molded product with a thin resin part.
  • the carrier can be peeled off from the molded product and reused in the forming process in which the sealing resin is formed, which reduces the number of parts, thereby lowering manufacturing costs and enabling the miniaturization of the device, mainly the carrier storage section.

Landscapes

  • Engineering & Computer Science (AREA)
  • Mechanical Engineering (AREA)
  • Physics & Mathematics (AREA)
  • Condensed Matter Physics & Semiconductors (AREA)
  • General Physics & Mathematics (AREA)
  • Computer Hardware Design (AREA)
  • Microelectronics & Electronic Packaging (AREA)
  • Power Engineering (AREA)
  • Manufacturing & Machinery (AREA)
  • Casting Or Compression Moulding Of Plastics Or The Like (AREA)
  • Encapsulation Of And Coatings For Semiconductor Or Solid State Devices (AREA)

Abstract

The present invention addresses the problem of providing a molded product formation method which makes it possible to: provide a compression molding device and a compression molding method that make it possible to prevent occurrence of molding failure due to irregular winding, residual gas, and dust generation during molding and that make it possible to form a molded product having a thin resin portion; make handling before resin sealing easier; and prevent occurrence of breakage during handling. As a means for solving this problem, a molded product formation method according to the present invention comprises a carrier placement step for placing a carrier (C) such that the carrier (C) is in contact with the bottom of a cavity (108) of a mold, a resin placement step for placing a resin (Rm) in the cavity (108), a temporary molded product formation step for forming a temporary molded product by sealing the carrier (C) in the resin (Rm), and a molded product formation step for forming a molded product (Wp) by applying heat or pressure while a workpiece (W) including an electronic component is in contact with the temporary molded product.

Description

成形品の形成方法及び封止樹脂Method for forming molded product and sealing resin

 本発明は、成形品の形成方法及び封止樹脂に関する。 The present invention relates to a method for forming a molded product and a sealing resin.

 電子部品を有するワークを封止樹脂により封止して成形品に加工する樹脂封止装置及び樹脂封止方法の例として、圧縮成形方式によるものが知られている。 One example of a resin sealing device and resin sealing method that seals a workpiece having electronic components with sealing resin and processes it into a molded product is one that uses a compression molding method.

 圧縮成形方式は、上型と下型とを備えて構成される封止金型に設けられる封止領域(キャビティ)に所定量の封止樹脂を供給すると共に当該封止領域にワークを配置して、上型と下型とでクランプする操作によって樹脂封止する技術である。一例として、上型にキャビティを設けた封止金型を用いる場合、ワーク上の中心位置に一括して封止樹脂を供給して成形する技術等が知られている。一方、下型にキャビティを設けた封止金型を用いる場合、当該キャビティを含む金型面を覆うリリースフィルム(以下、単に「フィルム」と称する場合がある)及び封止樹脂を供給して成形する技術等が知られている(特許文献1:特開2019-145550号公報参照)。 The compression molding method is a technique for resin sealing by supplying a predetermined amount of sealing resin to a sealing area (cavity) provided in a sealing mold comprising an upper mold and a lower mold, placing a workpiece in the sealing area, and clamping it with the upper and lower molds. As an example, when using a sealing mold with a cavity in the upper mold, a technique is known in which the sealing resin is supplied all at once to the center position on the workpiece and molded. On the other hand, when using a sealing mold with a cavity in the lower mold, a technique is known in which a release film (hereinafter sometimes simply referred to as "film") that covers the mold surface including the cavity and the sealing resin are supplied and molded (Patent Document 1: See JP 2019-145550 A).

特開2019-145550号公報JP 2019-145550 A

 従来は、封止樹脂の流動やワイヤーの流れに拠る接触に起因するワークの変形防止等の観点において優位性があるとの考えもあり、上型にワークが保持され、下型にキャビティが設けられ、当該キャビティ内に封止樹脂(一例として、顆粒樹脂)が供給される所謂下型キャビティ可動の圧縮成形方式が広く採用されていた。  Conventionally, the so-called lower die cavity movable compression molding method was widely adopted, in which the workpiece is held in the upper die, a cavity is provided in the lower die, and sealing resin (granular resin, for example) is supplied into the cavity, as it was thought to be advantageous in terms of preventing deformation of the workpiece caused by contact due to the flow of the sealing resin or the flow of the wire.

 しかしながら、上型にワークが保持され、下型にキャビティが設けられる構成においては、ワークが薄い場合や大型の場合に、上型での保持が難しく落下が生じ易いという課題があった。また、封止樹脂として顆粒樹脂が用いられる場合、樹脂粒同士の擦れ等により成形時の粉塵が発生するという課題や、ハンドリングが難しいという課題に加えて、下型に設けられるキャビティ内の全領域に対して均等に封止樹脂を供給(散布)することが難しく撒きムラが生じ易いという課題があった。また、封止樹脂の散布時に粒同士の隙間に含まれる空気及び溶融時に封止樹脂より脱泡することによる気体成分が抜けずに成形品にボイド等として残ってしまう成形不良が生じ易いという課題があった。 However, in a configuration in which the workpiece is held in the upper die and the cavity is provided in the lower die, there is an issue that if the workpiece is thin or large, it is difficult to hold it in the upper die and it is prone to falling. Furthermore, when granular resin is used as the sealing resin, there are issues such as dust generation during molding due to friction between the resin particles, and handling is difficult, as well as issues that it is difficult to supply (spray) the sealing resin evenly over the entire area inside the cavity provided in the lower die, which can easily result in uneven spreading. There is also an issue that the air contained in the gaps between the particles when the sealing resin is sprayed and the gas components that degas from the sealing resin when melted do not escape, which can easily result in molding defects remaining in the molded product as voids, etc.

 一方、キャビティの配置に関わらず、封止樹脂として顆粒樹脂や液状樹脂等ではない一定の形状を有する固形樹脂を用いる場合には、以下の課題が明らかになった。具体的に、樹脂封止後における樹脂厚み(具体的には、樹脂封止後におけるワークの上方位置もしくは下方位置の樹脂部分の厚み)が0.4mm以下となる程度に薄い成形品を形成しようとすると、樹脂封止前における封止樹脂(固形樹脂)の厚みも薄くせざるを得ない。しかしながら、樹脂封止前における封止樹脂(固形樹脂)は、当然、本硬化する前の状態であることから剛性が低く(脆く)、強度が弱いため、ハンドリング時(特に搬送時)に極めて割損が発生し易くなるという課題が明らかになった。 On the other hand, when using a solid resin with a fixed shape as the sealing resin, rather than a granular or liquid resin, regardless of the cavity arrangement, the following problem became clear. Specifically, when attempting to form a molded product thin enough that the resin thickness after resin sealing (specifically, the thickness of the resin part above or below the workpiece after resin sealing) is 0.4 mm or less, the thickness of the sealing resin (solid resin) before resin sealing must also be made thin. However, the sealing resin (solid resin) before resin sealing is naturally in a state before it has fully hardened, so it has low rigidity (brittle) and low strength, and this has revealed the problem that it is extremely susceptible to breakage during handling (particularly during transportation).

 本発明は、上記事情に鑑みてなされ、撒きムラ、残留気体、成形時の粉塵発生に起因する成形不良の発生を防止することが可能で、且つ、樹脂部分の厚みが薄い成形品を形成することが可能な圧縮成形装置及び圧縮成形方法を実現することができ、また、樹脂封止前のハンドリングを容易化することができ、また、ハンドリング時における割損の発生を防止することができる成形品の形成方法及び封止樹脂を提供することを目的とする。 The present invention has been made in consideration of the above circumstances, and aims to provide a compression molding device and compression molding method that can prevent molding defects caused by uneven distribution, residual gas, and dust generation during molding, can form molded products with thin resin parts, can facilitate handling before resin sealing, and can prevent breakage during handling, as well as a molding method and sealing resin.

 本発明は、実施形態として以下に記載するような解決手段により、前記課題を解決する。 The present invention solves the above problems by using the solutions described below as embodiments.

 一実施形態に係る成形品の形成方法は、板状部材であるキャリアを金型のキャビティの底面に接するように載置するキャリア載置工程と、前記キャリア載置工程の後に前記キャビティ内に樹脂を載置する樹脂載置工程と、前記樹脂載置工程により載置された前記樹脂により、前記キャリア載置工程により載置された前記キャリアを封止することにより仮成形品を形成する仮成形品形成工程と、電子部品を備えたワークと前記仮成形品を接触させた状態で加熱又は加圧することにより成形品を形成する成形品形成工程と、を備えることを要件とする。 The method for forming a molded product according to one embodiment includes a carrier placing step of placing a carrier, which is a plate-like member, so as to contact the bottom surface of a cavity of a mold; a resin placing step of placing resin in the cavity after the carrier placing step; a temporary molded product forming step of forming a temporary molded product by sealing the carrier placed in the carrier placing step with the resin placed in the resin placing step; and a molded product forming step of forming a molded product by heating or pressurizing a workpiece having electronic components in contact with the temporary molded product.

 また、前記成形品から前記キャリアを剥離するキャリア剥離工程と、前記キャリア剥離工程により剥離された前記キャリアを前記樹脂により封止することにより前記仮成形品を形成する工程と、を備えることが好ましい。 It is also preferable to include a carrier peeling step of peeling the carrier from the molded product, and a step of forming the temporary molded product by sealing the carrier peeled in the carrier peeling step with the resin.

 また、一実施形態に係る封止樹脂は、板状部材であるキャリアと樹脂により構成される封止樹脂であって、前記封止樹脂の一部に前記キャリアが露出している露出部を有することを要件とする。 The sealing resin according to one embodiment is composed of a carrier, which is a plate-like member, and a resin, and is required to have an exposed portion in which the carrier is exposed in a portion of the sealing resin.

 また、前記封止樹脂は、前記露出部が形成されている面において、前記露出部の外側に前記キャリアが露出していない樹脂封止部を有していることが好ましい。 Furthermore, it is preferable that the sealing resin has a resin sealing portion on the surface on which the exposed portion is formed, where the carrier is not exposed outside the exposed portion.

 また、一実施形態に係る封止樹脂の形成方法は、ワークの圧縮成形に用いられる封止樹脂を形成する封止樹脂の形成方法であって、ベース樹脂の一面側にキャリアが露出する状態で固着された固形樹脂である前記封止樹脂を形成する形成工程を備えることを要件とする。 In one embodiment, the method for forming a sealing resin is a method for forming a sealing resin used in compression molding of a workpiece, and is required to include a forming step for forming the sealing resin, which is a solid resin fixed to one side of a base resin with the carrier exposed.

 上記の実施形態により形成される封止樹脂を用いて圧縮成形を行うことによって、撒きムラ、残留気体、成形時の粉塵発生に起因する成形不良の発生を防止することができる。また、封止樹脂のハンドリングを容易化することができると共に、特に樹脂部分の厚みが0.4mm以下となるような薄い成形品を形成する場合であっても、ハンドリング時の割損発生を防止することができる。また、上型にキャビティが設けられ、下型にワークが保持される構成に適用することによって、ワークが落下する等の不具合を解決することができる。 By performing compression molding using the sealing resin formed according to the above embodiment, it is possible to prevent molding defects caused by uneven distribution, residual gas, and dust generation during molding. In addition, it is possible to facilitate handling of the sealing resin, and it is possible to prevent breakage during handling, especially when forming a thin molded product in which the thickness of the resin part is 0.4 mm or less. In addition, by applying this to a configuration in which a cavity is provided in the upper mold and the workpiece is held in the lower mold, it is possible to solve problems such as the workpiece falling.

 また、前記ベース樹脂としてパウダー樹脂が用いられ、前記形成工程は、前記パウダー樹脂を打錠して前記キャリアが固着された所定形状の固形樹脂である前記封止樹脂を形成する工程を有することが好ましい。 It is also preferable that a powder resin is used as the base resin, and the forming process includes a step of tableting the powder resin to form the sealing resin, which is a solid resin of a predetermined shape to which the carrier is fixed.

 また、前記所定形状は、平面視で、中央部に前記キャリアが配置され、前記キャリアの外周が被覆されるように周縁部に前記ベース樹脂が配置された形状であることが好ましい。 Furthermore, it is preferable that the predetermined shape is a shape in which, in a plan view, the carrier is disposed in the center and the base resin is disposed on the periphery so as to cover the outer periphery of the carrier.

 また、前記形成工程は、圧縮成形された成形品から剥離された前記キャリアを、前記封止樹脂の形成を行う装置へ返戻し、前記封止樹脂の形成を行う際に再度使用する工程を有することが好ましい。 Furthermore, it is preferable that the forming process includes a step of returning the carrier peeled off from the compression molded product to the device that forms the sealing resin and using it again when forming the sealing resin.

 また、一実施形態に係る封止樹脂の形成装置は、ワークの圧縮成形に用いられる封止樹脂を形成する封止樹脂の形成装置であって、ベース樹脂及びキャリアを保持して打錠することにより前記キャリアが固着された所定形状の固形樹脂である前記封止樹脂を形成する打錠金型を備えることを要件とする。 In one embodiment, the sealing resin forming device is a sealing resin forming device that forms the sealing resin used in compression molding of a workpiece, and is required to include a tableting die that holds a base resin and a carrier and tablets the carrier to form the sealing resin, which is a solid resin of a predetermined shape to which the carrier is fixed.

 また、他の実施形態に係る封止樹脂は、ワークの圧縮成形に用いられる封止樹脂であって、ベース樹脂の一面側にキャリアが露出する状態で固着された固形樹脂であることを要件とする。 In addition, the sealing resin in another embodiment is a sealing resin used in compression molding of a workpiece, and is required to be a solid resin that is fixed to one side of the base resin with the carrier exposed.

 本発明によれば、以下の効果が得られる封止樹脂を形成することができる。すなわち、本発明に係る封止樹脂を用いれば、撒きムラ、残留気体、成形時の粉塵発生に起因する成形不良の発生を防止することが可能で、且つ、樹脂部分の厚みが薄い成形品を形成することが可能な圧縮成形装置及び圧縮成形方法を実現することができる。また、樹脂封止前のハンドリングを容易化することができる。また、ハンドリング時における割損の発生を防止することができる。 According to the present invention, it is possible to form a sealing resin that can provide the following effects. In other words, by using the sealing resin according to the present invention, it is possible to prevent molding defects caused by uneven distribution, residual gas, and dust generation during molding, and it is possible to realize a compression molding device and compression molding method that can form a molded product with a thin resin portion. It is also possible to facilitate handling before resin sealing. It is also possible to prevent breakage during handling.

図1は、本発明の実施形態に係る封止樹脂の形成装置の例を示す平面図である。FIG. 1 is a plan view showing an example of an apparatus for forming a sealing resin according to an embodiment of the present invention. 図2は、図1に示す形成装置の第1プレス装置の例を示す側面図である。FIG. 2 is a side view showing an example of a first pressing device of the forming apparatus shown in FIG. 図3は、図1に示す形成装置の第1金型の例を示す正面断面図である。FIG. 3 is a front cross-sectional view showing an example of a first mold of the forming apparatus shown in FIG. 図4は、図1に示す形成装置の第1金型の他の例を示す正面断面図である。FIG. 4 is a front cross-sectional view showing another example of the first mold of the forming apparatus shown in FIG. 図5は、本発明の実施形態に係る封止樹脂の形成方法の例を説明する説明図である。FIG. 5 is an explanatory diagram illustrating an example of a method for forming a sealing resin according to an embodiment of the present invention. 図6は、図5に続く説明図である。FIG. 6 is an explanatory diagram following FIG. 図7Aは、本発明の実施形態に係る封止樹脂の例を示す平面図である。図7Bは、図7AにおけるA-A線断面図である。図7Cは、封止樹脂の他の例を示す断面図である。Fig. 7A is a plan view showing an example of a sealing resin according to an embodiment of the present invention, Fig. 7B is a cross-sectional view taken along line AA in Fig. 7A, and Fig. 7C is a cross-sectional view showing another example of the sealing resin. 図8は、図6に続く説明図である。FIG. 8 is an explanatory diagram following FIG. 図9は、本発明の実施形態に係る封止樹脂が用いられる圧縮成形装置の例を示す平面図である。FIG. 9 is a plan view showing an example of a compression molding apparatus in which the sealing resin according to the embodiment of the present invention is used. 図10は、図9に示す圧縮成形装置の第2プレス装置の例を示す側面図である。FIG. 10 is a side view showing an example of the second press unit of the compression molding apparatus shown in FIG. 図11は、図9に示す圧縮成形装置の第2金型の例を示す正面断面図である。FIG. 11 is a front cross-sectional view showing an example of the second mold of the compression molding apparatus shown in FIG. 図12は、本発明の実施形態に係る封止樹脂が用いられる圧縮成形方法の例を説明する説明図である。FIG. 12 is an explanatory diagram illustrating an example of a compression molding method in which the sealing resin according to the embodiment of the present invention is used. 図13は、図12に続く説明図である。FIG. 13 is an explanatory diagram following FIG. 図14は、図13に続く説明図である。FIG. 14 is an explanatory diagram following FIG. 図15A~図15Cは、本発明の実施形態に係る封止樹脂が用いられる圧縮成形装置及び圧縮成形方法において形成される成形品の例を示す正面断面図であり、図15Aはキャリア剥離工程実施前の状態であり、図15Bはキャリア剥離工程実施後の状態であり、図15Cは切断工程実施後の状態である。15A to 15C are front cross-sectional views showing an example of a molded product formed in a compression molding apparatus and a compression molding method in which a sealing resin according to an embodiment of the present invention is used, in which FIG. 15A shows the state before the carrier peeling process, FIG. 15B shows the state after the carrier peeling process, and FIG. 15C shows the state after the cutting process. 図16は、図9に示す圧縮成形装置の第3プレス装置の例を示す側面図である。FIG. 16 is a side view showing an example of the third press unit of the compression molding apparatus shown in FIG. 図17は、図9に示す圧縮成形装置の第3金型の例を示す正面断面図である。FIG. 17 is a front cross-sectional view showing an example of a third mold of the compression molding apparatus shown in FIG. 図18は、本発明の実施形態に係る封止樹脂が用いられる圧縮成形方法の他の例を説明する説明図である。FIG. 18 is an explanatory diagram illustrating another example of a compression molding method in which the sealing resin according to the embodiment of the present invention is used. 図19は、図18に続く説明図である。FIG. 19 is an explanatory diagram following FIG. 図20は、図19に続く説明図である。FIG. 20 is an explanatory diagram following FIG. 図21は、本発明の実施形態に係る封止樹脂が用いられる圧縮成形方法の他の例を説明する説明図である。FIG. 21 is an explanatory diagram illustrating another example of a compression molding method in which the sealing resin according to the embodiment of the present invention is used. 図22は、本発明の実施形態に係る封止樹脂が用いられる圧縮成形方法の他の例を説明する説明図である。FIG. 22 is an explanatory diagram illustrating another example of a compression molding method in which the sealing resin according to the embodiment of the present invention is used.

(封止樹脂の形成装置)
 本発明の実施形態に係る封止樹脂Rは、ワーク(被成形品)Wの圧縮成形に用いられる樹脂である。初めに、封止樹脂Rの形成装置1(以下、単に「形成装置」と称する場合がある)について説明する。当該形成装置1は、圧縮成形装置2の装置内、装置外のいずれに設けてもよい。ここで、図1は、形成装置1の例を示す平面図(概略図)である。尚、説明の便宜上、図中において矢印により装置の左右方向(X方向)、前後方向(Y方向)、上下方向(Z方向)を示す。また、各実施形態を説明するための全図において、同一の機能を有する部材には同一の符号を付し、その繰返しの説明は省略する場合がある。
(Sealing resin forming device)
The sealing resin R according to the embodiment of the present invention is a resin used for compression molding of a workpiece (molded product) W. First, a molding device 1 for the sealing resin R (hereinafter, sometimes simply referred to as a "forming device") will be described. The forming device 1 may be provided either inside or outside the compression molding device 2. Here, FIG. 1 is a plan view (schematic diagram) showing an example of the forming device 1. For convenience of explanation, arrows in the figure indicate the left-right direction (X direction), the front-back direction (Y direction), and the up-down direction (Z direction) of the device. In addition, in all the figures for explaining each embodiment, members having the same function are given the same reference numerals, and repeated explanations thereof may be omitted.

 成形対象であるワークWは、電子部品を備えて構成されている。電子部品の例として、コイルシート、半導体チップ、MEMSチップ、受動素子、放熱板、導電部材、スペーサ等が挙げられる。ワークWは、電子部品のみからなる構成としてもよく、あるいは、基材に搭載(ワイヤーボンディング実装、フリップチップ実装等)された構成としてもよい。尚、基材の例として、樹脂基板、セラミックス基板、金属基板、キャリアプレート、リードフレーム、ウェハ等の矩形もしくは円形の板状部材が挙げられる。また、ワークWを構成する電子部品の個数は、特に限定されるものではなく、一つもしくは複数個に設定される。 The workpiece W to be molded is configured with electronic components. Examples of electronic components include coil sheets, semiconductor chips, MEMS chips, passive elements, heat sinks, conductive materials, spacers, etc. The workpiece W may be configured to consist of only electronic components, or may be configured to be mounted on a substrate (wire bonding mounting, flip chip mounting, etc.). Examples of substrates include rectangular or circular plate-shaped members such as resin substrates, ceramic substrates, metal substrates, carrier plates, lead frames, and wafers. The number of electronic components that make up the workpiece W is not particularly limited, and may be set to one or more.

 本実施形態においては、封止樹脂Rとして、キャリアCが固着された状態のベース樹脂Rmが用いられる(形成装置及び形成方法の詳細については後述する)。一例として、キャリアCは、金属材料(例えば、銅、銅合金等)を用いて厚さ寸法が0.1mm~0.5mm程度に形成された板状部材であるが、これに限定されるものではない。 In this embodiment, the base resin Rm to which the carrier C is fixed is used as the sealing resin R (details of the forming device and forming method will be described later). As an example, the carrier C is a plate-like member formed from a metal material (e.g., copper, copper alloy, etc.) with a thickness of approximately 0.1 mm to 0.5 mm, but is not limited to this.

 本実施形態においては、ベース樹脂Rm、及び、封止樹脂Rとして、熱硬化性樹脂(例えば、フィラー含有のエポキシ系樹脂等であるが、これに限定されない)が用いられる。尚、ベース樹脂Rmには、熱硬化性樹脂(性質)であるパウダー樹脂(粉状樹脂)が好適に用いられる(詳細は後述)。但し、これに限定されるものではなく、顆粒樹脂、破砕状樹脂、固形樹脂、液状樹脂、もしくは、それらの内の複数を組合せた樹脂、が用いられる構成としてもよい。 In this embodiment, a thermosetting resin (such as, but not limited to, an epoxy resin containing a filler) is used as the base resin Rm and the sealing resin R. In addition, a powder resin (powdered resin) that is a thermosetting resin (property) is preferably used as the base resin Rm (details will be described later). However, this is not limited to this, and a configuration may be used in which a granular resin, a crushed resin, a solid resin, a liquid resin, or a resin that is a combination of two or more of these resins is used.

 また、フィルムFの例として、耐熱性、剥離容易性、柔軟性、伸展性に優れたフィルム材、例えば、PTFE(ポリテトラフルオロエチレン)、ETFE(ポリテトラフルオロエチレン重合体)、PET、FEP、フッ素含浸ガラスクロス、ポリプロピレン、ポリ塩化ビニリジン等が好適に用いられる。尚、フィルムFは、後述の樹脂形成部50において封止樹脂Rを形成する際にも用いられる。 Examples of film F that can be suitably used include film materials with excellent heat resistance, ease of peeling, flexibility, and extensibility, such as PTFE (polytetrafluoroethylene), ETFE (polytetrafluoroethylene polymer), PET, FEP, fluorine-impregnated glass cloth, polypropylene, and polyvinylidine chloride. Film F is also used when forming sealing resin R in resin forming section 50, which will be described later.

 図1に示すように、形成装置1は、ベース樹脂Rm、キャリアCの供給等を行うベース樹脂供給ユニット10D、ベース樹脂Rm、キャリアCを用いて封止樹脂Rの形成等を行う樹脂形成ユニット10Eを主要構成として備えている。一例として、図1中のX方向に沿って、ベース樹脂供給ユニット10D、樹脂形成ユニット10Eの順に配置されている。但し、上記の構成に限定されるものではなく、ユニット内の機器構成やユニット数、ユニットの配置順等を変更してもよい。また、上記以外のユニットを備える構成としてもよい(不図示)。 As shown in FIG. 1, the forming device 1 mainly comprises a base resin supply unit 10D that supplies base resin Rm and carrier C, and a resin forming unit 10E that uses base resin Rm and carrier C to form sealing resin R. As an example, the base resin supply unit 10D and the resin forming unit 10E are arranged in this order along the X direction in FIG. 1. However, the above configuration is not limited, and the equipment configuration within the unit, the number of units, the order in which the units are arranged, etc. may be changed. Also, a configuration including units other than those described above (not shown) may be used.

 また、形成装置1は、ユニット間を跨いでガイドレール20が直線状に設けられており、ベース樹脂Rm、キャリアCを搬送する搬送装置(第1ローダ)21がガイドレール20に沿ってユニット間を移動可能に設けられている。但し、上記の構成に限定されるものではなく、搬送装置は、ローダに代えて、ロボットハンド等を備える構成としてもよい。 The forming device 1 also has a guide rail 20 that is linearly arranged between the units, and a transport device (first loader) 21 that transports the base resin Rm and the carrier C is arranged to be movable between the units along the guide rail 20. However, this is not limited to the above configuration, and the transport device may be configured to include a robot hand or the like instead of a loader.

 また、形成装置1は、各ユニットにおける各機構の作動制御等を行う制御部80がベース樹脂供給ユニット10Dに配置されている(他のユニットに配置される構成としてもよい)。 In addition, in the forming device 1, a control unit 80 that controls the operation of each mechanism in each unit is disposed in the base resin supply unit 10D (it may also be configured to be disposed in another unit).

 次に、形成装置1が備えるベース樹脂供給ユニット10Dについて詳しく説明する。ベース樹脂供給ユニット10Dは、キャリアCを供給するキャリア供給部30、及び、ベース樹脂Rmを供給するベース樹脂供給部40を備えている。一例として、キャリア供給部30は、複数のキャリアCが収納される収納部(例えば、ストッカ等)を備えて構成されている(適宜、ピックアップやステージ等を設けてもよい)。また、ベース樹脂供給部40は、ベース樹脂Rmを供給するディスペンサ、搬送装置等を備えて構成されている。尚、キャリアC、ベース樹脂Rmをベース樹脂供給ユニット10Dから樹脂形成ユニット10Eへ搬送する場合、搬送装置には第1ローダ21を用いてもよく、他の搬送装置等(不図示)を用いてもよい(ベース樹脂Rmに関しては、ディスペンサからの直接散布等も採用し得る)。 Next, the base resin supply unit 10D provided in the forming device 1 will be described in detail. The base resin supply unit 10D includes a carrier supply section 30 that supplies carriers C, and a base resin supply section 40 that supplies base resin Rm. As an example, the carrier supply section 30 is configured with a storage section (e.g., a stocker, etc.) in which multiple carriers C are stored (a pickup, stage, etc. may be provided as appropriate). The base resin supply section 40 is configured with a dispenser that supplies base resin Rm, a conveying device, etc. When the carriers C and base resin Rm are conveyed from the base resin supply unit 10D to the resin forming unit 10E, the first loader 21 may be used as the conveying device, or another conveying device (not shown) may be used (direct spraying from a dispenser, etc. may also be adopted for the base resin Rm).

 次に、形成装置1が備える樹脂形成ユニット10Eについて詳しく説明する。樹脂形成ユニット10Eは、ベース樹脂Rm、キャリアCを用いて封止樹脂Rの形成を行う装置として樹脂形成部50を備えている。本実施形態においては、当該樹脂形成ユニット10Eを二台(三台以上もしくは一台としてもよい)備えており、一台の樹脂形成ユニット10E当たり一台(二台以上としてもよい)の樹脂形成部50を備えている(図1参照)。但し、この構成に限定されるものではない。 Next, the resin forming unit 10E provided in the forming device 1 will be described in detail. The resin forming unit 10E is provided with a resin forming section 50 as a device that forms the sealing resin R using the base resin Rm and the carrier C. In this embodiment, two resin forming units 10E (three or more or just one) are provided, and one resin forming section 50 (two or more) is provided per resin forming unit 10E (see FIG. 1). However, this configuration is not limited to this.

 樹脂形成部50は、型開閉される一対の金型(例えば、合金工具鋼からなる複数の金型ブロック、金型プレート、金型ピラー等やその他の部材が組み付けられたもの)を有する打錠金型(第1金型)102を備えている。また、第1金型102を開閉駆動するプレス装置(第1プレス装置)150を備えている。一例として、第1プレス装置150を二台備える構成としているが、一台備える構成としてもよく、複数台(三台以上)備える構成としてもよい(不図示)。第1プレス装置150の側面図(概略図)を図2に示し、第1金型102の正面断面図(概略図)を図3に示す。 The resin forming section 50 is equipped with a tableting die (first die) 102 having a pair of dies (for example, a combination of multiple die blocks, die plates, die pillars, etc., made of alloy tool steel, and other components) that are opened and closed. It also has a press device (first press device) 150 that drives the first die 102 to open and close. As an example, two first press devices 150 are provided, but it may be possible to provide one device, or multiple devices (three or more) (not shown). A side view (schematic diagram) of the first press device 150 is shown in FIG. 2, and a front cross-sectional view (schematic diagram) of the first die 102 is shown in FIG. 3.

 ここで、第1プレス装置150は、図2に示すように、一対のプラテン154、156と、一対のプラテン154、156が架設される複数のタイバー152と、プラテン156を可動(昇降)させる駆動装置等を備えて構成されている。具体的に、当該駆動装置は、駆動源(例えば、電動モータ)160及び駆動伝達機構(例えば、ボールねじやトグルリンク機構)162等を備えて構成されている(但し、これに限定されるものではない)。本実施形態では、鉛直方向において上方側のプラテン154を固定プラテン(タイバー152に固定されるプラテン)とし、下方側のプラテン156を可動プラテン(タイバー152に摺動可能に保持されて昇降するプラテン)として設定している。但し、これに限定されるものではなく、上下逆に、すなわち上方側を可動プラテン、下方側を固定プラテンに設定してもよく、あるいは、上方側、下方側共に可動プラテンとして設定してもよい(いずれも不図示)。 Here, as shown in FIG. 2, the first press device 150 is configured to include a pair of platens 154, 156, a plurality of tie bars 152 on which the pair of platens 154, 156 are supported, and a drive device for moving (raising and lowering) the platen 156. Specifically, the drive device is configured to include a drive source (e.g., an electric motor) 160 and a drive transmission mechanism (e.g., a ball screw or a toggle link mechanism) 162 (however, this is not limited to this). In this embodiment, the upper platen 154 in the vertical direction is set as a fixed platen (a platen fixed to the tie bars 152), and the lower platen 156 is set as a movable platen (a platen slidably held by the tie bars 152 and raised and lowered). However, this is not limited to this, and the platens may be set upside down, i.e., the upper side may be set as a movable platen and the lower side as a fixed platen, or both the upper and lower sides may be set as movable platens (neither is shown).

 一方、第1金型102は、図3に示すように、第1プレス装置150における上記一対のプラテン154、156間に配設される一対の金型として、鉛直方向における上方側の第1上型104と、下方側の第1下型106とを備えている。第1上型104が上方側のプラテン(本実施形態では、固定プラテン154)に組み付けられ、第1下型106が下方側のプラテン(本実施形態では、可動プラテン156)に組み付けられている。この第1上型104と第1下型106とが相互に接近・離反することで型閉じ・型開きが行われる(鉛直方向(上下方向)が型開閉方向となる)。本実施形態に係る第1金型102においては、第1上型104がいわゆる「杵型」を構成し、第1下型106がいわゆる「臼型」を構成する。 On the other hand, as shown in FIG. 3, the first mold 102 is provided with a first upper mold 104 on the vertical side and a first lower mold 106 on the vertical side as a pair of molds arranged between the pair of platens 154, 156 in the first press device 150. The first upper mold 104 is attached to the upper platen (in this embodiment, the fixed platen 154), and the first lower mold 106 is attached to the lower platen (in this embodiment, the movable platen 156). The first upper mold 104 and the first lower mold 106 approach and move away from each other to close and open the mold (the vertical direction (up and down direction) is the mold opening and closing direction). In the first mold 102 according to this embodiment, the first upper mold 104 constitutes a so-called "pestle mold", and the first lower mold 106 constitutes a so-called "mortar mold".

 次に、第1金型102の第1下型106について詳しく説明する。図3に示すように、第1下型106は、下型チェイス(第1下型チェイス)110と、これに保持されるキャビティ駒(第1キャビティ駒)126、クランパ(第1クランパ)128等を備えている。第1下型チェイス110は、サポートピラー(第1サポートピラー)112を介してサポートプレート(第1サポートプレート)114の上面に対して固定されている。第1下型106の上面(第1上型104側の面)にキャビティ(第1キャビティ)108が設けられている。この第1キャビティ108内に一枚のキャリアCと所定量のベース樹脂Rmとが収容される。 Next, the first lower mold 106 of the first mold 102 will be described in detail. As shown in FIG. 3, the first lower mold 106 includes a lower mold chase (first lower mold chase) 110, a cavity piece (first cavity piece) 126 held therein, and a clamper (first clamper) 128. The first lower mold chase 110 is fixed to the upper surface of a support plate (first support plate) 114 via a support pillar (first support pillar) 112. A cavity (first cavity) 108 is provided on the upper surface (surface on the first upper mold 104 side) of the first lower mold 106. A carrier C and a predetermined amount of base resin Rm are accommodated in this first cavity 108.

 第1クランパ128は、第1キャビティ駒126を囲うように環状に構成されると共に、押動ピン(第1押動ピン)122及びクランパバネ(第1クランパバネ)124(例えば、コイルバネに例示される付勢部材)を介して、第1サポートプレート114の上面に対して離間(フローティング)して上下動可能に組み付けられる(但し、この組み付け構造に限定されるものではない)。この第1キャビティ駒126が第1キャビティ108の奥部(底部)を構成し、第1クランパ128が第1キャビティ108の側部を構成する。一例として、第1キャビティ駒126の上面(第1上型104側の面)は平面状に形成されている。尚、一つの第1下型106に設けられる第1キャビティ108の形状や個数は、適宜設定される(一つもしくは複数個)。 The first clamper 128 is configured in a ring shape to surround the first cavity piece 126, and is assembled to the upper surface of the first support plate 114 via a push pin (first push pin) 122 and a clamper spring (first clamper spring) 124 (for example, a biasing member such as a coil spring) so as to be spaced apart (floating) from the upper surface of the first support plate 114 and movable up and down (however, this assembly structure is not limited). The first cavity piece 126 constitutes the inner part (bottom part) of the first cavity 108, and the first clamper 128 constitutes the side part of the first cavity 108. As an example, the upper surface of the first cavity piece 126 (the surface facing the first upper mold 104) is formed in a flat shape. The shape and number of first cavities 108 provided in one first lower mold 106 are set appropriately (one or multiple).

 ここで、第1プレス装置150には、第1下型106における第1キャビティ108の内面を含む金型面106a(所定領域)を覆うためのフィルムFを供給する下型フィルム供給部(第1下型フィルム供給部)111が設けられている。尚、一例として、フィルムFは、ロール状であるが短冊状であってもよい。 Here, the first press device 150 is provided with a lower die film supply section (first lower die film supply section) 111 that supplies film F to cover the die surface 106a (predetermined area) including the inner surface of the first cavity 108 in the first lower die 106. As an example, the film F is in a roll shape, but it may also be in a strip shape.

 また、第1下型106は、第1クランパ128や第1キャビティ駒126との境界部等に、吸引装置に連通する吸引路(孔や溝等)が設けられている(不図示)。これにより、第1下型フィルム供給部111から供給されたフィルムFを、第1キャビティ108の内面を含む金型面106aに吸着させて保持することができる。 The first lower mold 106 is also provided with suction paths (holes, grooves, etc.) (not shown) that communicate with a suction device at the boundaries with the first clamper 128 and the first cavity piece 126. This allows the film F supplied from the first lower mold film supply unit 111 to be adsorbed and held on the mold surface 106a, including the inner surface of the first cavity 108.

 また、本実施形態においては、第1下型106を所定温度に加熱する第1下型加熱機構(不図示)が設けられている。この第1下型加熱機構は、ヒータ(例えば、電熱線ヒータ)、温度センサ、電源等を備えており、制御部80によって加熱の制御が行われる。一例として、ヒータは、第1下型チェイス110に内蔵され、第1下型106全体及び第1キャビティ108内に収容されるキャリアC及びベース樹脂Rmに熱を加える構成となっている。このとき、ベース樹脂Rmの熱硬化(本硬化)が進み難い程度の所定温度(例えば、50℃~80℃)となるように、第1下型106が加熱される。 In addition, in this embodiment, a first lower die heating mechanism (not shown) is provided that heats the first lower die 106 to a predetermined temperature. This first lower die heating mechanism includes a heater (e.g., an electric wire heater), a temperature sensor, a power source, etc., and heating is controlled by the control unit 80. As an example, the heater is built into the first lower die chase 110 and is configured to apply heat to the entire first lower die 106 and to the carrier C and base resin Rm contained in the first cavity 108. At this time, the first lower die 106 is heated to a predetermined temperature (e.g., 50°C to 80°C) at which the thermal curing (main curing) of the base resin Rm is unlikely to proceed.

 次に、第1金型102の第1上型104について詳しく説明する。図3に示すように、第1上型104は、上型チェイス(第1上型チェイス)140に保持(固定)された打錠プレート(第1プレート)142を備えている。この打錠プレート(第1プレート)142は、第1下型106の第1キャビティ108内に収容されるキャリアC及び所定量のベース樹脂Rmを押圧して、キャリアCが固着された所定形状を有する封止樹脂Rとなるように形成(打錠)する作用をなす(形成方法の詳細については後述する)。一例として、第1プレート142の下面(第1下型106側の面)は平面状に形成されている。 Next, the first upper die 104 of the first mold 102 will be described in detail. As shown in FIG. 3, the first upper die 104 has a tableting plate (first plate) 142 held (fixed) by an upper die chase (first upper die chase) 140. This tableting plate (first plate) 142 presses the carrier C and a predetermined amount of base resin Rm contained in the first cavity 108 of the first lower die 106 to form (tablet) the sealing resin R having a predetermined shape to which the carrier C is fixed (the formation method will be described in detail later). As an example, the lower surface of the first plate 142 (the surface facing the first lower die 106) is formed flat.

 ここで、第1プレス装置150には、第1上型104の金型面104a(所定領域)を覆うためのフィルムFを供給する上型フィルム供給部(第1上型フィルム供給部)113が設けられている。尚、一例として、フィルムFは、ロール状であるが短冊状であってもよい。 Here, the first press device 150 is provided with an upper die film supply section (first upper die film supply section) 113 that supplies film F to cover the die surface 104a (predetermined area) of the first upper die 104. As an example, the film F is in a roll shape, but it may also be in a strip shape.

 また、第1上型104は、第1プレート142等に、吸引装置に連通する吸引路(孔や溝等)が設けられている(不図示)。これにより、第1上型フィルム供給部113から供給されたフィルムFを、金型面104aに吸着させて保持することができる。 Furthermore, the first upper mold 104 has suction paths (holes, grooves, etc.) that communicate with a suction device provided in the first plate 142, etc. (not shown). This allows the film F supplied from the first upper mold film supply unit 113 to be adsorbed and held on the mold surface 104a.

 また、本実施形態においては、第1上型104を所定温度に加熱する第1上型加熱機構(不図示)が設けられている。この第1上型加熱機構は、ヒータ(例えば、電熱線ヒータ)、温度センサ、電源等を備えており、制御部80によって加熱の制御が行われる。一例として、ヒータは、第1上型チェイス140に内蔵され、第1上型104全体に熱を加える構成となっている。このとき、上記第1下型106に保持(収容)されるベース樹脂Rmの熱硬化(本硬化)が進み難い程度の所定温度(例えば、50℃~80℃)となるように、第1上型104が加熱される。 In addition, in this embodiment, a first upper die heating mechanism (not shown) is provided that heats the first upper die 104 to a predetermined temperature. This first upper die heating mechanism includes a heater (e.g., an electric wire heater), a temperature sensor, a power source, etc., and heating is controlled by the control unit 80. As an example, the heater is built into the first upper die chase 140 and is configured to apply heat to the entire first upper die 104. At this time, the first upper die 104 is heated to a predetermined temperature (e.g., 50°C to 80°C) at which the thermal curing (main curing) of the base resin Rm held (contained) in the first lower die 106 does not proceed easily.

 尚、上記の第1金型102は、一例として可動式クランパ(第1クランパ128)を有する構造であるが、他の例として図4に示すように可動式クランパを有しない構造であってもよい。 Note that the above-mentioned first mold 102 has a structure that includes a movable clamper (first clamper 128) as an example, but as another example, it may have a structure that does not include a movable clamper as shown in Figure 4.

(封止樹脂の形成方法)
 続いて、本実施形態に係る封止樹脂Rの形成方法(以下、単に「形成方法」と称する場合がある)について説明する。当該形成方法は、一例として、上記形成装置1を用いて実施することができる。ここで、図5~図8は、主要工程の説明図である。
(Method of forming sealing resin)
Next, a method for forming the sealing resin R according to this embodiment (hereinafter, may be simply referred to as the "forming method") will be described. As an example, the forming method can be carried out using the above-mentioned forming apparatus 1. Here, Figs. 5 to 8 are explanatory diagrams of main steps.

 先ず、第1準備工程を実施する。第1準備工程は以下の工程を有している。第1下型加熱機構により第1下型106を所定温度(ベース樹脂Rm、封止樹脂Rが本硬化しない温度であり、例えば、50℃~80℃)に調整して加熱する加熱工程(第1下型加熱工程)を実施する。また、第1上型加熱機構により第1上型104を所定温度(ベース樹脂Rm、封止樹脂Rが本硬化しない温度であり、例えば、50℃~80℃)に調整して加熱する加熱工程(第1上型加熱工程)を実施する。また、第1下型フィルム供給部111を作動させて新しいフィルムFを供給して、第1下型106における第1キャビティ108の内面を含む金型面106aの所定領域を覆うように吸着させる下型フィルム供給工程(第1下型フィルム供給工程)を実施する。また、第1上型フィルム供給部113を作動させて新しいフィルムFを供給して、第1上型104の金型面104aの所定領域を覆うように吸着させる上型フィルム供給工程(第1上型フィルム供給工程)を実施する。 First, the first preparation step is carried out. The first preparation step includes the following steps. A heating step (first lower mold heating step) is carried out in which the first lower mold 106 is adjusted to a predetermined temperature (a temperature at which the base resin Rm and the sealing resin R do not fully cure, for example, 50°C to 80°C) and heated by the first lower mold heating mechanism. In addition, a heating step (first upper mold heating step) is carried out in which the first upper mold 104 is adjusted to a predetermined temperature (a temperature at which the base resin Rm and the sealing resin R do not fully cure, for example, 50°C to 80°C) and heated by the first upper mold heating mechanism. In addition, a lower mold film supply step (first lower mold film supply step) is carried out in which the first lower mold film supply unit 111 is operated to supply new film F and adsorb it to cover a predetermined area of the mold surface 106a including the inner surface of the first cavity 108 in the first lower mold 106. In addition, the first upper die film supply unit 113 is operated to supply new film F, and an upper die film supply process (first upper die film supply process) is carried out in which the film F is adsorbed to cover a predetermined area of the die surface 104a of the first upper die 104.

 上記の第1準備工程と前後して、もしくは並行して、封止樹脂RとしてキャリアCが固着された状態のベース樹脂Rmを形成する形成工程を実施する。  Before or after the first preparation step, or in parallel with it, a formation step is carried out to form the base resin Rm with the carrier C fixed thereto as the sealing resin R.

 形成工程の一例として、キャリア供給部30において、キャリアCを供給する。また、ベース樹脂供給部40において、図示しないディスペンサ等によって所定量のベース樹脂Rmを供給する。次いで、樹脂形成部50において、キャリアC及びベース樹脂Rmを打錠(「仮成形」の一例)することにより、キャリアCが固着された所定形状に形成された固形状態の封止樹脂R(「仮成形品」)を形成する打錠工程を実施する。尚、「固形」とは、本硬化しない温度まで加熱しながら打錠するため、いわゆるBステージまで溶融した状態となったものや、溶融する直前の状態のものが含まれる。一例として下型106内にキャリアCをベース樹脂Rm供給の前に入れたが、上型104のフィルムF下側にキャリアCを貼ってもよい。 As an example of the forming process, the carrier supply unit 30 supplies the carrier C. In addition, in the base resin supply unit 40, a predetermined amount of base resin Rm is supplied by a dispenser or the like (not shown). Next, in the resin forming unit 50, the carrier C and the base resin Rm are tableted (an example of "temporary molding") to form a solid sealing resin R ("temporary molded product") formed in a predetermined shape with the carrier C fixed thereto. Note that "solid" includes a state in which the resin is melted to the so-called B stage or a state immediately before melting, since the resin is tableted while being heated to a temperature at which it does not fully harden. As an example, the carrier C is placed in the lower mold 106 before the base resin Rm is supplied, but the carrier C may also be attached to the underside of the film F of the upper mold 104.

 上記打錠工程は、具体的に、キャリア供給部30から供給されたキャリアCを、搬送装置(例えば、第1ローダ21等)によって搬送し、第1下型106の第1キャビティ108内の所定位置(例えば、中央位置)に収容する。次いで、ベース樹脂供給部40から供給された所定量のベース樹脂Rmを、搬送装置(例えば、第1ローダ21等)によって搬送して、もしくは、ディスペンサ等から直接散布して、第1下型106の第1キャビティ108内に収容する。一例として、第1キャビティ108内において、先に収容されたキャリアCの上にベース樹脂Rmが載置された状態となる(図5参照)。次いで、第1プレス装置150を作動させて、上記の所定温度に昇温された第1金型102の型閉じを行う(図6参照)。このとき、第1キャビティ108内で第1キャビティ駒126が相対的に上昇して、第1キャビティ駒126と第1プレート142とでキャリアC及びベース樹脂Rmを打錠(挟み込んで加圧)する。これにより、キャリアCが固着された所定形状を有し、熱硬化(本硬化)していない固形状態の封止樹脂Rが形成される。 Specifically, in the tableting process, the carrier C supplied from the carrier supply unit 30 is transported by a transport device (e.g., the first loader 21, etc.) and accommodated in a predetermined position (e.g., the center position) in the first cavity 108 of the first lower mold 106. Next, a predetermined amount of base resin Rm supplied from the base resin supply unit 40 is transported by a transport device (e.g., the first loader 21, etc.) or directly sprayed from a dispenser or the like and accommodated in the first cavity 108 of the first lower mold 106. As an example, in the first cavity 108, the base resin Rm is placed on the carrier C previously accommodated (see FIG. 5). Next, the first press device 150 is operated to close the first mold 102 that has been heated to the above-mentioned predetermined temperature (see FIG. 6). At this time, the first cavity piece 126 rises relatively within the first cavity 108, and the carrier C and base resin Rm are compressed (sandwiched and pressed) between the first cavity piece 126 and the first plate 142. This forms a solid sealing resin R that has a predetermined shape with the carrier C fixed thereto and is not thermally cured (mainly cured).

 一例として、上記「所定形状」は、図7A(キャリアCの露出面を上面とした状態の平面図)及び図7B(図7AにおけるA-A線断面図)に示すように、平面視で、中央部にキャリアCが配置され、キャリアCの外周Caが被覆されるように周縁部にベース樹脂Rm(打錠後の固形状態)が配置された形状である(尚、ワークWを上下で挟むため、ワークWの位置決め段差(不図示)を樹脂面に設けてもよい)。これによれば、キャリアCとベース樹脂Rmとの固着性を高めることができるため、意図しない相互の剥離が発生することを防止できる。尚、端部は必ずしもベース樹脂Rmの方が外側まである必要は無く、図7C(図7Bと同様の断面図)に示すように、キャリアCとベース樹脂Rmとがほぼ同じでもよい。また、凹部を形成したベース樹脂Rmを用意し、その凹部にキャリアCを貼着してもよい。また、凹部の無い単なる平板状のベース樹脂Rmに平板状のキャリアCを貼着してもよい。前記固着は貼着を含むものとする。 As an example, the above-mentioned "predetermined shape" is a shape in which, as shown in FIG. 7A (a plan view of the exposed surface of the carrier C facing upward) and FIG. 7B (a cross-sectional view of line A-A in FIG. 7A), the carrier C is arranged in the center in a plan view, and the base resin Rm (in a solid state after tableting) is arranged on the periphery so as to cover the outer periphery Ca of the carrier C (note that a positioning step (not shown) for the work W may be provided on the resin surface in order to sandwich the work W from above and below). This can increase the adhesion between the carrier C and the base resin Rm, thereby preventing unintended peeling from occurring. Note that the end of the base resin Rm does not necessarily need to extend to the outside, and as shown in FIG. 7C (a cross-sectional view similar to FIG. 7B), the carrier C and the base resin Rm may be almost the same. Alternatively, a base resin Rm having a recess formed therein may be prepared, and the carrier C may be attached to the recess. Alternatively, a flat carrier C may be attached to a base resin Rm that is simply flat and has no recess. The above-mentioned adhesion includes adhesion.

 上記の打錠工程は、形成される封止樹脂Rが、後の樹脂封止工程において熱硬化(本硬化)することができるように、ベース樹脂Rmの熱硬化(本硬化)が進み難い温度で実施すること(熱硬化(本硬化)が進み難い温度に第1下型106及び第1上型104を加熱して実施すること)が重要である。前述の通り、「熱硬化が進み難い温度」は、ベース樹脂Rmの材質にもよるが、具体例として、50℃~80℃程度である(本実施形態においては、70℃程度である)。 It is important that the above tableting process is carried out at a temperature at which the thermal curing (full curing) of the base resin Rm does not proceed easily (the first lower die 106 and the first upper die 104 are heated to a temperature at which the thermal curing (full curing) does not proceed easily) so that the formed sealing resin R can be thermally cured (full cured) in the subsequent resin sealing process. As described above, the "temperature at which the thermal curing does not proceed easily" depends on the material of the base resin Rm, but is specifically about 50°C to 80°C (about 70°C in this embodiment).

 また、上記ベース樹脂Rmとして、パウダー樹脂が用いられることが好適である。これによれば、顆粒樹脂や破砕状樹脂が用いられる場合と比較して、樹脂量を極めて正確に調整して供給することができる。但し、パウダー樹脂に限定されるものではない。 Furthermore, it is preferable to use a powder resin as the base resin Rm. This allows the amount of resin to be adjusted and supplied with extremely high precision compared to when granular resin or crushed resin is used. However, it is not limited to powder resin.

 打錠工程の後に、第1金型102の型開きを行い、封止樹脂R(下面側にキャリアCが固着された状態)と使用済みのフィルムFとを分離して当該封止樹脂Rを取出せるようにする型開き工程(第1型開き工程)を実施する(図8参照)。本実施形態においては、前述の下型フィルム供給工程及び上型フィルム供給工程を備えることによって、第1下型106の金型面106a及び第1上型104の金型面104aの両方にフィルムFが配置されるため、打錠により形成された封止樹脂Rの離型が容易となり、金型への樹脂付着による欠損を防止することができる。 After the tableting process, the first mold 102 is opened and the used film F is separated from the sealing resin R (with the carrier C fixed to the lower surface side) to enable removal of the sealing resin R (first mold opening process) (see FIG. 8). In this embodiment, by providing the lower mold film supply process and upper mold film supply process described above, the film F is placed on both the mold surface 106a of the first lower mold 106 and the mold surface 104a of the first upper mold 104, which makes it easier to release the sealing resin R formed by tableting and prevents damage caused by resin adhesion to the mold.

 また、第1型開き工程の後に、もしくは、並行して、第1下型フィルム供給部111、第1上型フィルム供給部113を作動させて、使用済みのフィルムFを第1金型102内から送り出し、新しいフィルムFを第1金型102内へ送り込んでセットするフィルム供給工程(第1下型フィルム供給工程、第1上型フィルム供給工程)を実施する。 Furthermore, after or in parallel with the first mold opening process, the first lower mold film supply unit 111 and the first upper mold film supply unit 113 are operated to send out the used film F from within the first mold 102 and send new film F into the first mold 102 and set it therein, thereby carrying out a film supply process (first lower mold film supply process, first upper mold film supply process).

 以上が本実施形態に係る封止樹脂Rの形成方法の主要工程である。但し、上記の工程順は一例であって、支障がない限り先後順の変更や並行実施が可能である。 The above are the main steps in the method for forming the sealing resin R according to this embodiment. However, the above order of steps is only an example, and the order of steps can be changed or steps can be performed in parallel as long as no problems occur.

 前述の通り、樹脂封止(圧縮成形)後における樹脂厚み(具体的に、図15Cに示すように樹脂封止後におけるワークWの上方位置の樹脂部分の厚みDaもしくは下方位置の樹脂部分の厚みDb)が0.4mm以下となる程度に薄い成形品Wpを形成しようとすると、樹脂封止前における封止樹脂(固形樹脂)の厚みも薄くせざるを得ない。しかしながら、樹脂封止前における封止樹脂(固形樹脂)は、当然、本硬化する前の状態であることから剛性が低く(脆く)、強度が弱いため、ハンドリング時(特に搬送時)に極めて割損が発生し易くなるという課題があった。特に、打錠により形成される封止樹脂(固形樹脂)の場合はより顕著であることも確認された。これに対して、本実施形態に係る封止樹脂Rを用いて樹脂封止(圧縮成形)を行うことによって、当該課題の解決、すなわち、封止樹脂Rのハンドリング時(特に搬送時)における割損の発生を防止することができ、且つ、樹脂部分の厚みが薄い成形品Wpを形成することができる。尚、本発明者の実験により、Da=Db=0.1mmの形状も実現できることが検証されている。 As mentioned above, when trying to form a molded product Wp with a resin thickness of 0.4 mm or less after resin sealing (compression molding) (specifically, the thickness Da of the resin part at the upper position of the workpiece W after resin sealing or the thickness Db of the resin part at the lower position as shown in FIG. 15C), the thickness of the sealing resin (solid resin) before resin sealing must also be thin. However, the sealing resin (solid resin) before resin sealing is naturally in a state before it is fully hardened, so it has low rigidity (brittle) and low strength, and therefore there is a problem that it is extremely prone to breakage during handling (particularly during transportation). It has been confirmed that this is particularly noticeable in the case of sealing resin (solid resin) formed by tableting. In contrast, by performing resin sealing (compression molding) using the sealing resin R according to this embodiment, the problem can be solved, that is, the occurrence of breakage during handling (particularly during transportation) of the sealing resin R can be prevented, and a molded product Wp with a thin resin part can be formed. Furthermore, the inventor's experiments have demonstrated that it is possible to achieve a shape where Da = Db = 0.1 mm.

 また、上記構成の封止樹脂Rを用いて樹脂封止(圧縮成形)を行うことによって、従来のように、顆粒樹脂に起因する撒きムラ、残留気体、成形時の粉塵が発生するという課題や、ハンドリングが難しいという課題の解決もしくは低減を図ることができる。 In addition, by performing resin sealing (compression molding) using the sealing resin R of the above configuration, it is possible to solve or reduce the problems that were previously caused by granular resin, such as uneven distribution, residual gas, and dust generation during molding, as well as the difficulty of handling.

(圧縮成形装置及び圧縮成形方法)
 続いて、本実施形態に係る封止樹脂Rを用いてワークWの樹脂封止(圧縮成形)を行う圧縮成形装置2及び圧縮成形方法の概略について説明する。ここで、図9は、圧縮成形装置2の例を示す平面図(概略図)である。
(Compression molding device and compression molding method)
Next, an outline of a compression molding apparatus 2 and a compression molding method for resin sealing (compression molding) a workpiece W using the sealing resin R according to the present embodiment will be described. Here, FIG. 9 is a plan view (schematic view) showing an example of the compression molding apparatus 2.

 図9に示すように、圧縮成形装置2は、ワークWの供給等を行う供給ユニット10A、ワークWを樹脂封止して成形品Wpへの加工等を行うプレスユニット10B、成形品Wpの収納等を行う収納ユニット10Cを主要構成として備えている。一例として、図9中のX方向に沿って、供給ユニット10A、プレスユニット10B、収納ユニット10Cの順に配置されている。但し、上記の構成に限定されるものではなく、ユニット内の機器構成やユニット数、ユニットの配置順等を変更してもよい。例えば、供給ユニット10Aと、収納ユニット10Cとを、X方向において相互に逆の配置としてもよく、あるいは、いずれか一方の位置に集約される配置としてもよい(不図示)。また、上記以外のユニットを備える構成としてもよい(不図示)。 As shown in FIG. 9, the compression molding device 2 mainly comprises a supply unit 10A for supplying the workpiece W, a press unit 10B for sealing the workpiece W with resin and processing it into a molded product Wp, and a storage unit 10C for storing the molded product Wp. As an example, the supply unit 10A, press unit 10B, and storage unit 10C are arranged in this order along the X direction in FIG. 9. However, this is not limited to the above configuration, and the equipment configuration within the unit, the number of units, and the order in which the units are arranged may be changed. For example, the supply unit 10A and the storage unit 10C may be arranged in reverse in the X direction, or may be arranged to be concentrated in one position or the other (not shown). In addition, the configuration may include units other than those described above (not shown).

 また、圧縮成形装置2は、各ユニット間を跨いでガイドレール22が直線状に設けられており、ワークW、封止樹脂Rを搬送する(ワークW、封止樹脂R以外の搬送に用いてもよい)搬送装置(第2ローダ)23、及び、成形品Wpを搬送する(成形品Wp以外の搬送に用いてもよい)搬送装置(第3ローダ)24が、ガイドレール22に沿って所定のユニット間を移動可能に設けられている。但し、上記の構成に限定されるものではなく、ワークW、封止樹脂R、及び成形品Wp等を搬送する共通の(一つの)搬送装置(ローダ)を備える構成としてもよい(不図示)。また、搬送装置は、ローダに代えて、ロボットハンド等を備える構成としてもよい。 In addition, the compression molding device 2 has a guide rail 22 that is linearly provided between each unit, and a transport device (second loader) 23 that transports the workpiece W and sealing resin R (may be used for transporting items other than the workpiece W and sealing resin R) and a transport device (third loader) 24 that transports the molded product Wp (may be used for transporting items other than the molded product Wp) are provided so as to be movable between predetermined units along the guide rail 22. However, the configuration is not limited to the above, and a configuration may be provided with a common (single) transport device (loader) that transports the workpiece W, sealing resin R, molded product Wp, etc. (not shown). In addition, the transport device may be configured to include a robot hand or the like instead of a loader.

 また、圧縮成形装置2は、各ユニットにおける各機構の作動制御等を行う制御部90が供給ユニット10Aに配置されている(他のユニットに配置される構成としてもよい)。 In addition, the compression molding device 2 has a control unit 90 that controls the operation of each mechanism in each unit and is located in the supply unit 10A (although it may be configured to be located in another unit).

 プレスユニット10Bは、ワークWを樹脂封止して成形品Wpへの加工を行う樹脂封止部70を備えている。本実施形態においては、当該樹脂封止部70を備えるプレスユニット10Bを二台(三台以上もしくは一台としてもよい)備えており、一台のプレスユニット10B当たり一台(二台以上としてもよい)の樹脂封止部70を備えている(図9参照)。但し、この構成に限定されるものではない。樹脂封止部70は、プレス装置によって型開閉される一対の封止金型(例えば、合金工具鋼からなる複数の金型ブロック、金型プレート、金型ピラー等やその他の部材が組み付けられたもの)を備えている。 The press unit 10B is equipped with a resin sealing section 70 that seals the workpiece W with resin and processes it into a molded product Wp. In this embodiment, there are two press units 10B (three or more, or just one) equipped with the resin sealing section 70, and one press unit 10B is equipped with one resin sealing section 70 (two or more) (see FIG. 9). However, this configuration is not limited to this. The resin sealing section 70 is equipped with a pair of sealing dies (for example, a pair of dies (for example, dies made of alloy tool steel, dies plates, dies pillars, etc., and other members assembled thereto) that are opened and closed by a press device.

 ここで、一例として、第2プレス装置250(図10参照)及び第2金型202(図11参照)を備える圧縮成形装置2を用いて実施される圧縮成形方法の工程について図12~図14を参照して説明する。 Here, as an example, the steps of a compression molding method performed using a compression molding device 2 equipped with a second press device 250 (see FIG. 10) and a second mold 202 (see FIG. 11) will be described with reference to FIGS. 12 to 14.

 先ず、第2準備工程を実施する。具体的に、第2上型加熱機構により第2上型204を所定温度(例えば、100℃~300℃)に調整して加熱する加熱工程(第2上型加熱工程)を実施する。また、第2下型加熱機構により第2下型206を所定温度(例えば、100℃~300℃)に調整して加熱する加熱工程(第2下型加熱工程)を実施する。また、第2下型フィルム供給部211を作動させて新しいフィルムFを供給して、第2下型206の金型面206aの所定領域を覆うように吸着させる下型フィルム供給工程(第2下型フィルム供給工程)を実施する。また、第2上型フィルム供給部213を作動させて新しいフィルムFを供給して、第2上型204における第2キャビティ208の内面を含む金型面204aの所定領域を覆うように吸着させる上型フィルム供給工程(第2上型フィルム供給工程)を実施する。 First, the second preparation step is performed. Specifically, a heating step (second upper die heating step) is performed in which the second upper die 204 is adjusted to a predetermined temperature (e.g., 100°C to 300°C) and heated by the second upper die heating mechanism. A heating step (second lower die heating step) is also performed in which the second lower die 206 is adjusted to a predetermined temperature (e.g., 100°C to 300°C) and heated by the second lower die heating mechanism. A lower die film supply step (second lower die film supply step) is also performed in which the second lower die film supply unit 211 is operated to supply new film F and adsorb it to cover a predetermined area of the die surface 206a of the second lower die 206. An upper die film supply step (second upper die film supply step) is also performed in which the second upper die film supply unit 213 is operated to supply new film F and adsorb it to cover a predetermined area of the die surface 204a including the inner surface of the second cavity 208 in the second upper die 204.

 上記の第2準備工程と前後して、もしくは並行して、封止樹脂RとしてキャリアCが固着された状態のベース樹脂Rmを準備する樹脂準備工程を実施する。具体的には、前述の形成装置1によって形成された封止樹脂Rを準備する。 Before or after the second preparation step, or in parallel with it, a resin preparation step is carried out to prepare a base resin Rm with a carrier C fixed thereto as the sealing resin R. Specifically, the sealing resin R formed by the forming device 1 described above is prepared.

 第2準備工程の後に、封止樹脂R及びワークWを封止金型(第2金型202)内にセットするセット工程を実施する。図12に示すように、それぞれのキャリアCが外側となるように配置した二つの封止樹脂Rの間にワークWを挟んだ状態で保持部205上に保持(載置を含む)する。 After the second preparation step, a setting step is performed in which the sealing resin R and the workpiece W are set in the sealing mold (second mold 202). As shown in FIG. 12, the workpiece W is sandwiched between two sealing resins R arranged so that the carriers C are on the outside, and is held (including placed) on the holding portion 205.

 上記セット工程の一例として、樹脂準備工程で準備した一の封止樹脂R(説明の便宜上、「第1の封止樹脂R」と称する)を、搬送装置(例えば、第2ローダ23等)によって搬送し、キャリアCが露出する面を下側として保持部205上に載置する。次いで、供給マガジン12から供給されたワークWを、搬送装置(例えば、第2ローダ23等)によって搬送し、第1の封止樹脂R上に載置する。次いで、樹脂準備工程で準備した他の封止樹脂R(説明の便宜上、「第2の封止樹脂R」と称する)を、搬送装置(例えば、第2ローダ23等)によって搬送し、キャリアCが露出する面を上側としてワークW上に載置する。 As an example of the above-mentioned setting process, one sealing resin R (for convenience of explanation, referred to as "first sealing resin R") prepared in the resin preparation process is transported by a transport device (e.g., second loader 23, etc.) and placed on the holding part 205 with the surface on which the carrier C is exposed facing down. Next, the work W supplied from the supply magazine 12 is transported by a transport device (e.g., second loader 23, etc.) and placed on the first sealing resin R. Next, the other sealing resin R (for convenience of explanation, referred to as "second sealing resin R") prepared in the resin preparation process is transported by a transport device (e.g., second loader 23, etc.) and placed on the work W with the surface on which the carrier C is exposed facing up.

 または、セット工程の他の例として、樹脂準備工程で準備した第1の封止樹脂R及び第2の封止樹脂Rと、供給マガジン12から供給されたワークWとを、それぞれのキャリアCが外側となるように配置した二つ(第1及び第2)の封止樹脂Rの間にワークWを挟んだ状態となるように積層する(すなわち、第1の封止樹脂Rを、キャリアCが露出する面を下側として準備し、ワークWを、第1の封止樹脂R上に載置し、第2の封止樹脂Rを、キャリアCが露出する面を上側としてワークW上に載置する)。次いで、当該積層状態の第1の封止樹脂R、ワークW、第2の封止樹脂Rを、搬送装置(例えば、第2ローダ23等)によって搬送し、保持部205上に載置する。この場合、第2金型202へのワークWと二つの封止樹脂Rとの搬送をそれぞれ別に行うのではなく、一回で行う利点がある。また、加熱された封止金型(第2金型202)に第1の封止樹脂Rと第2の封止樹脂Rとを同時に供給することができるため、熱履歴が変わらない利点がある。 Or, as another example of the setting process, the first sealing resin R and the second sealing resin R prepared in the resin preparation process and the workpiece W supplied from the supply magazine 12 are stacked so that the workpiece W is sandwiched between the two (first and second) sealing resins R arranged so that the carriers C are on the outside (i.e., the first sealing resin R is prepared with the surface on which the carrier C is exposed on the bottom side, the workpiece W is placed on the first sealing resin R, and the second sealing resin R is placed on the workpiece W with the surface on which the carrier C is exposed on the top side). Next, the first sealing resin R, the workpiece W, and the second sealing resin R in this stacked state are transported by a transport device (e.g., the second loader 23, etc.) and placed on the holding part 205. In this case, there is an advantage in that the workpiece W and the two sealing resins R are transported to the second mold 202 in one go, rather than being transported separately. In addition, the first sealing resin R and the second sealing resin R can be supplied simultaneously to the heated sealing mold (second mold 202), which has the advantage that the thermal history does not change.

 上記の各工程を全て実施した後に、ワークWを封止樹脂R(本実施形態では、二つの封止樹脂Rで挟んだ状態)により封止して成形品Wpに加工する樹脂封止工程を実施する。具体的に、第2金型202の型閉じを行い、ワークWに対して封止樹脂Rを加熱加圧する型閉じ工程(第2型閉じ工程)を実施する(図13参照)。このとき、第2クランパ228がフィルムFを介して下プレート242(金型面206a)と当接し、第2キャビティ208内で第2キャビティ駒226が相対的に下降する。この型閉じ工程によって、封止樹脂Rが熱硬化して樹脂封止(圧縮成形)が完了し、図15Aに示す形状を有する成形品Wpが形成される。尚、本実施形態では図12に示すようにワークWを上下からキャリアC付き封止樹脂Rで挟み込んで上下に圧縮成形したが、他の例として図21に示すようにキャリアC付き封止樹脂Rは上下の一方のみで、他方はキャリアCの無い封止樹脂Rであってもよい。 After all the above steps are performed, a resin sealing step is performed in which the work W is sealed with sealing resin R (in this embodiment, sandwiched between two sealing resins R) and processed into a molded product Wp. Specifically, the second mold 202 is closed, and a mold closing step (second mold closing step) is performed in which the sealing resin R is heated and pressurized against the work W (see FIG. 13). At this time, the second clamper 228 abuts against the lower plate 242 (mold surface 206a) via the film F, and the second cavity piece 226 is relatively lowered in the second cavity 208. This mold closing step thermally hardens the sealing resin R to complete the resin sealing (compression molding), and a molded product Wp having the shape shown in FIG. 15A is formed. In this embodiment, the work W is sandwiched from above and below by sealing resin R with a carrier C and compressed from above and below as shown in FIG. 12, but as another example, as shown in FIG. 21, the sealing resin R with the carrier C may be only one of the top and bottom, and the other may be sealing resin R without a carrier C.

 第2型閉じ工程の後に、第2金型202の型開きを行い、成形品Wpと使用済みのフィルムFとを分離して当該成形品Wpを取出せるようにする型開き工程(第2型開き工程)を実施する(図14参照)。次いで、成形品Wp(一例として、下プレート242の保持部205に保持された状態)を搬送装置(例えば、第3ローダ24等)によって第2金型202内から搬出し、収納ユニット10Cへ搬送する成形品搬出工程を実施する。 After the second mold closing step, the second mold 202 is opened, and a mold opening step (second mold opening step) is performed in which the molded product Wp is separated from the used film F so that the molded product Wp can be removed (see FIG. 14). Next, a molded product removal step is performed in which the molded product Wp (as an example, held by the holding portion 205 of the lower plate 242) is removed from the second mold 202 by a conveying device (e.g., the third loader 24, etc.) and conveyed to the storage unit 10C.

 成形品搬出工程の後に、もしくは、並行して、第2下型フィルム供給部211、第2上型フィルム供給部213を作動させて、使用済みのフィルムFを第2金型202内から送り出し、新しいフィルムFを第2金型202内へ送り込んでセットするフィルム供給工程(第2下型フィルム供給工程、第2上型フィルム供給工程)を実施する。 After or in parallel with the molded product removal process, the second lower die film supply unit 211 and the second upper die film supply unit 213 are operated to carry out a film supply process (second lower die film supply process, second upper die film supply process) in which the used film F is sent out from within the second die 202 and a new film F is sent into and set within the second die 202.

 また、成形品搬出工程の後に、キャリア剥離装置16を用いて成形品WpからキャリアCを剥離するキャリア剥離工程を実施する。これにより、図15Bに示す形状を有する成形品Wpが形成される。尚、本工程は、成形品Wpの反転を途中で行って、上面及び下面のキャリアCを一つの剥離機構で順に剥離してもよく、あるいは、成形品Wpの反転を行わずに、上面及び下面のキャリアCを二つの剥離機構でそれぞれ剥離してもよい。 Furthermore, after the molded product removal process, a carrier peeling process is carried out in which the carrier C is peeled off from the molded product Wp using a carrier peeling device 16. As a result, a molded product Wp having the shape shown in FIG. 15B is formed. Note that in this process, the molded product Wp may be inverted midway and the upper and lower carriers C may be peeled off in sequence using one peeling mechanism, or the molded product Wp may not be inverted and the upper and lower carriers C may be peeled off separately using two peeling mechanisms.

 キャリア剥離工程の後、成形品Wpから剥離されたキャリアCを、搬送装置(例えば、第3ローダ24等)によって収納ユニット10Cから樹脂形成ユニット10E(もしくは、ベース樹脂供給ユニット10D)へ搬送する工程を実施する(最終的に樹脂形成部50へ当該キャリアCを返戻すればよい)。尚、最終製品においてキャリアCを放熱板等に使用する場合は、キャリアCを必ずしも剥離する必要は無い。 After the carrier peeling process, a process is carried out in which the carrier C peeled off from the molded product Wp is transported from the storage unit 10C to the resin forming unit 10E (or the base resin supply unit 10D) by a transport device (e.g., the third loader 24, etc.) (the carrier C can be finally returned to the resin forming section 50). Note that if the carrier C is used as a heat sink or the like in the final product, it is not necessarily necessary to peel off the carrier C.

 上記の構成によれば、成形品WpからキャリアCを剥離して、形成装置1において封止樹脂R(すなわち、キャリアCが固着された状態のベース樹脂Rm)を形成する形成工程から当該キャリアCを再度使用することができる。したがって、部品数(必要なキャリアCの総数)の削減による製造コストの低減を図ることができる。また、予め多くのキャリアCを用意しておく必要がないため、特にキャリアCの収納部(例えば、ストッカ等)のサイズや設置スペース等を主として装置の小型化を図ることができる。 With the above configuration, the carrier C can be peeled off from the molded product Wp and reused in the forming process in which the sealing resin R (i.e., the base resin Rm to which the carrier C is fixed) is formed in the forming device 1. This makes it possible to reduce manufacturing costs by reducing the number of parts (total number of carriers C required). In addition, since there is no need to prepare many carriers C in advance, it is possible to miniaturize the device, particularly in terms of the size of the storage section for the carrier C (e.g., a stocker) and the installation space.

 また、キャリア剥離工程の後、成形品Wpの所定位置(図15Bに示す破線位置)を切断する切断工程を実施する。具体的に、切断装置18を用いて、成形品WpにおけるキャリアCが剥離された領域内を厚さ方向に切断して、外縁部を切除する。これにより、図15Cに示す形状を有する、すなわち、樹脂厚み(ワークWの上方もしくは下方部分の樹脂厚み)が薄い成形品Wp(最終目的形状)を形成することができる。 Furthermore, after the carrier peeling process, a cutting process is carried out to cut the molded product Wp at a predetermined position (the position indicated by the dashed line in FIG. 15B). Specifically, a cutting device 18 is used to cut the area of the molded product Wp from which the carrier C has been peeled in the thickness direction, and the outer edge is removed. This makes it possible to form a molded product Wp (final target shape) having the shape shown in FIG. 15C, i.e., a thin resin thickness (resin thickness in the upper or lower part of the workpiece W).

 切断工程の後、成形品Wp(本実施形態では、キャリアCが剥離され、所定位置が切断された状態)を収納マガジン14に収納する収納工程を実施する。尚、キャリア剥離装置16及び切断装置18は、本圧縮成形装置2に設けずに別に設けてもよく、その場合は剥離もしくは切断がなされていない状態の成形品Wpを収納する構成としてもよい。 After the cutting process, a storage process is carried out in which the molded product Wp (in this embodiment, the carrier C has been peeled off and the specified positions have been cut off) is stored in the storage magazine 14. Note that the carrier peeling device 16 and the cutting device 18 may be provided separately from the compression molding device 2, in which case the molded product Wp may be stored in a state in which it has not been peeled off or cut.

 以上が圧縮成形装置2(第2金型202を備える場合)を用いて行う圧縮成形方法の主要工程である。但し、上記の工程順は一例であって、支障がない限り先後順の変更や並行実施が可能である。 The above are the main steps of the compression molding method performed using the compression molding device 2 (when equipped with the second mold 202). However, the above order of steps is only an example, and the order of steps can be changed or steps can be performed in parallel as long as no problems occur.

 次に、他の例として、第3プレス装置350(図16参照)及び第3金型302(図17参照)を備える圧縮成形装置2を用いて実施される圧縮成形方法の工程について図18~図20を参照して説明する。 Next, as another example, the steps of a compression molding method performed using a compression molding device 2 equipped with a third press device 350 (see FIG. 16) and a third mold 302 (see FIG. 17) will be described with reference to FIGS. 18 to 20.

 先ず、第3準備工程を実施する。具体的に、第3上型加熱機構により第3上型304を所定温度(例えば、100℃~300℃)に調整して加熱する加熱工程(第3上型加熱工程)を実施する。また、第3下型加熱機構により第3下型306を所定温度(例えば、100℃~300℃)に調整して加熱する加熱工程(第3下型加熱工程)を実施する。また、第3下型フィルム供給部311を作動させて新しいフィルムFを供給して、第3下型306における第3キャビティ308の内面を含む金型面306aの所定領域を覆うように吸着させる下型フィルム供給工程(第3下型フィルム供給工程)を実施する。また、第3上型フィルム供給部313を作動させて新しいフィルムFを供給して、第3上型304の金型面304aの所定領域を覆うように吸着させる上型フィルム供給工程(第3上型フィルム供給工程)を実施する。 First, the third preparation step is performed. Specifically, a heating step (third upper die heating step) is performed in which the third upper die 304 is adjusted to a predetermined temperature (e.g., 100°C to 300°C) and heated by the third upper die heating mechanism. A heating step (third lower die heating step) is also performed in which the third lower die 306 is adjusted to a predetermined temperature (e.g., 100°C to 300°C) and heated by the third lower die heating mechanism. A lower die film supply step (third lower die film supply step) is also performed in which the third lower die film supply unit 311 is operated to supply new film F and adsorb it to cover a predetermined area of the die surface 306a including the inner surface of the third cavity 308 in the third lower die 306. A top die film supply step (third upper die film supply step) is also performed in which the third upper die film supply unit 313 is operated to supply new film F and adsorb it to cover a predetermined area of the die surface 304a of the third upper die 304.

 上記の第3準備工程と前後して、もしくは並行して、封止樹脂RとしてキャリアCが固着された状態のベース樹脂Rmを準備する樹脂準備工程を実施する。具体的には、前述の形成装置1によって形成された封止樹脂Rを準備する。 Before or after the third preparation step, or in parallel with it, a resin preparation step is carried out to prepare a base resin Rm with a carrier C fixed thereto as the sealing resin R. Specifically, the sealing resin R formed by the forming device 1 described above is prepared.

 第3準備工程の後に、封止樹脂R及びワークWを封止金型(第3金型302)内にセットするセット工程を実施する。図18に示すように、それぞれのキャリアCが外側となるように配置した二つの封止樹脂Rの間にワークWを挟んだ状態で第3キャビティ308内(第3キャビティ駒326上)に保持(載置を含む)する。 After the third preparation step, a setting step is carried out in which the sealing resin R and the workpiece W are set in the sealing mold (third mold 302). As shown in FIG. 18, the workpiece W is sandwiched between two sealing resins R arranged so that each carrier C is on the outside, and is held (including placed) in the third cavity 308 (on the third cavity piece 326).

 上記セット工程の一例として、樹脂準備工程で準備した一の封止樹脂R(説明の便宜上、「第1の封止樹脂R」と称する)を、搬送装置(例えば、第2ローダ23等)によって搬送し、キャリアCが露出する面を下側として第3キャビティ308内(第3キャビティ駒326上)に載置する。次いで、供給マガジン12から供給されたワークWを、搬送装置(例えば、第2ローダ23等)によって搬送し、第1の封止樹脂R上に載置する。次いで、樹脂準備工程で準備した他の封止樹脂R(説明の便宜上、「第2の封止樹脂R」と称する)を、搬送装置(例えば、第2ローダ23等)によって搬送し、キャリアCが露出する面を上側としてワークW上に載置する。 As an example of the above-mentioned setting process, one sealing resin R (for convenience of explanation, referred to as "first sealing resin R") prepared in the resin preparation process is transported by a transport device (e.g., second loader 23, etc.) and placed in the third cavity 308 (on the third cavity piece 326) with the surface on which the carrier C is exposed facing down. Next, the work W supplied from the supply magazine 12 is transported by a transport device (e.g., second loader 23, etc.) and placed on the first sealing resin R. Next, the other sealing resin R (for convenience of explanation, referred to as "second sealing resin R") prepared in the resin preparation process is transported by a transport device (e.g., second loader 23, etc.) and placed on the work W with the surface on which the carrier C is exposed facing up.

 または、セット工程の他の例として、樹脂準備工程で準備した第1の封止樹脂R及び第2の封止樹脂Rと、供給マガジン12から供給されたワークWとを、それぞれのキャリアCが外側となるように配置した二つ(第1及び第2)の封止樹脂Rの間にワークWを挟んだ状態となるように積層する(すなわち、第1の封止樹脂Rを、キャリアCが露出する面を下側として準備し、ワークWを、第1の封止樹脂R上に載置し、第2の封止樹脂Rを、キャリアCが露出する面を上側としてワークW上に載置する)。次いで、当該積層状態の第1の封止樹脂R、ワークW、第2の封止樹脂Rを、搬送装置(例えば、第2ローダ23等)によって搬送し、第3キャビティ308内(第3キャビティ駒326上)に載置する。この場合、第3金型302へのワークWと二つの封止樹脂Rとの搬送をそれぞれ別に行うのではなく、一回で行う利点がある。また、加熱された封止金型(第3金型302)に第1の封止樹脂Rと第2の封止樹脂Rとを同時に供給することができるため、熱履歴が変わらない利点がある。 Or, as another example of the setting process, the first sealing resin R and the second sealing resin R prepared in the resin preparation process and the workpiece W supplied from the supply magazine 12 are stacked so that the workpiece W is sandwiched between the two (first and second) sealing resins R arranged so that the carriers C are on the outside (i.e., the first sealing resin R is prepared with the surface on which the carrier C is exposed on the lower side, the workpiece W is placed on the first sealing resin R, and the second sealing resin R is placed on the workpiece W with the surface on which the carrier C is exposed on the upper side). Next, the first sealing resin R, the workpiece W, and the second sealing resin R in this stacked state are transported by a transport device (e.g., the second loader 23, etc.) and placed in the third cavity 308 (on the third cavity piece 326). In this case, there is an advantage in that the workpiece W and the two sealing resins R are transported to the third mold 302 in one go, rather than being transported separately. In addition, the first sealing resin R and the second sealing resin R can be supplied simultaneously to the heated sealing mold (third mold 302), which has the advantage that the thermal history does not change.

 上記の各工程を全て実施した後に、ワークWを封止樹脂R(本実施形態では、二つの封止樹脂Rで挟んだ状態)により封止して成形品Wpに加工する樹脂封止工程を実施する。具体的に、第3金型302の型閉じを行い、ワークWに対して封止樹脂Rを加熱加圧する型閉じ工程(第3型閉じ工程)を実施する(図19参照)。このとき、第3クランパ328がフィルムFを介して上プレート342(金型面304a)と当接し、第3キャビティ308内で第3キャビティ駒326が相対的に上昇する。この型閉じ工程によって、封止樹脂Rが熱硬化して樹脂封止(圧縮成形)が完了し、図15Aに示す形状(すなわち、第2金型202を用いる場合と同様形状)を有する成形品Wpが形成される。尚、本実施形態では図18に示すようにワークWを上下からキャリアC付き封止樹脂Rで挟み込んで上下に圧縮成形したが、他の例として図22に示すようにキャリアC付き封止樹脂Rは上下の一方のみで、他方はキャリアCの無い封止樹脂Rであってもよい。 After all of the above steps are performed, a resin sealing step is performed in which the workpiece W is sealed with sealing resin R (sandwiched between two sealing resins R in this embodiment) and processed into a molded product Wp. Specifically, the third mold 302 is closed, and a mold closing step (third mold closing step) is performed in which the sealing resin R is heated and pressurized against the workpiece W (see FIG. 19). At this time, the third clamper 328 abuts against the upper plate 342 (mold surface 304a) via the film F, and the third cavity piece 326 rises relatively within the third cavity 308. This mold closing step thermally hardens the sealing resin R to complete the resin sealing (compression molding), and a molded product Wp having the shape shown in FIG. 15A (i.e., the same shape as when the second mold 202 is used) is formed. In this embodiment, the workpiece W is sandwiched between sealing resin R with a carrier C from above and below and compressed and molded from above and below as shown in FIG. 18, but as another example, as shown in FIG. 22, sealing resin R with a carrier C may be used only on one side, and the other side may be sealing resin R without a carrier C.

 第3型閉じ工程の後に、第3金型302の型開きを行い、成形品Wpと使用済みのフィルムFとを分離して当該成形品Wpを取出せるようにする型開き工程(第3型開き工程)を実施する(図20参照)。次いで、成形品Wp(一例として、上プレート342の保持部305に保持された状態)を搬送装置(例えば、第3ローダ24等)によって第3金型302内から搬出し、収納ユニット10Cへ搬送する成形品搬出工程を実施する。 After the third mold closing step, the third mold 302 is opened, and the molded product Wp is separated from the used film F to enable removal of the molded product Wp (third mold opening step) (see FIG. 20). Next, the molded product removal step is performed in which the molded product Wp (as an example, held by the holding portion 305 of the upper plate 342) is removed from the third mold 302 by a conveying device (e.g., the third loader 24, etc.) and conveyed to the storage unit 10C.

 成形品搬出工程の後に、もしくは、並行して、第3下型フィルム供給部311、第3上型フィルム供給部313を作動させて、使用済みのフィルムFを第3金型302内から送り出し、新しいフィルムFを第3金型302内へ送り込んでセットするフィルム供給工程(第3下型フィルム供給工程、第3上型フィルム供給工程)を実施する。 After or in parallel with the molded product removal process, the third lower die film supply unit 311 and the third upper die film supply unit 313 are operated to send out the used film F from the third die 302 and to send and set new film F into the third die 302, thereby carrying out a film supply process (third lower die film supply process, third upper die film supply process).

 また、成形品搬出工程の後に、キャリア剥離装置16を用いて成形品WpからキャリアCを剥離するキャリア剥離工程を実施する。これにより、図15Bに示す形状を有する成形品Wpが形成される。尚、本工程は、成形品Wpの反転を途中で行って、上面及び下面のキャリアCを一つの剥離機構で順に剥離してもよく、あるいは、成形品Wpの反転を行わずに、上面及び下面のキャリアCを二つの剥離機構でそれぞれ剥離してもよい。 Furthermore, after the molded product removal process, a carrier peeling process is carried out in which the carrier C is peeled off from the molded product Wp using a carrier peeling device 16. As a result, a molded product Wp having the shape shown in FIG. 15B is formed. Note that in this process, the molded product Wp may be inverted midway and the upper and lower carriers C may be peeled off in sequence using one peeling mechanism, or the molded product Wp may not be inverted and the upper and lower carriers C may be peeled off separately using two peeling mechanisms.

 キャリア剥離工程の後、成形品Wpから剥離されたキャリアCを、搬送装置(例えば、第3ローダ24等)によって収納ユニット10Cから樹脂形成ユニット10E(もしくは、ベース樹脂供給ユニット10D)へ搬送する工程を実施する(最終的に樹脂形成部50へ当該キャリアCを返戻すればよい)。尚、最終製品においてキャリアCを放熱板等に使用する場合は、キャリアCを必ずしも剥離する必要は無い。 After the carrier peeling process, a process is carried out in which the carrier C peeled off from the molded product Wp is transported from the storage unit 10C to the resin forming unit 10E (or the base resin supply unit 10D) by a transport device (e.g., the third loader 24, etc.) (the carrier C can be finally returned to the resin forming section 50). Note that if the carrier C is used as a heat sink or the like in the final product, it is not necessarily necessary to peel off the carrier C.

 上記の構成によれば、成形品WpからキャリアCを剥離して、形成装置1において封止樹脂R(すなわち、キャリアCが固着された状態のベース樹脂Rm)を形成する形成工程から当該キャリアCを再度使用することができる。したがって、部品数(必要なキャリアCの総数)の削減による製造コストの低減を図ることができる。また、予め多くのキャリアCを用意しておく必要がないため、特にキャリアCの収納部(例えば、ストッカ等)のサイズや設置スペース等を主として装置の小型化を図ることができる。 With the above configuration, the carrier C can be peeled off from the molded product Wp and reused in the forming process in which the sealing resin R (i.e., the base resin Rm to which the carrier C is fixed) is formed in the forming device 1. This makes it possible to reduce manufacturing costs by reducing the number of parts (total number of carriers C required). In addition, since there is no need to prepare many carriers C in advance, it is possible to miniaturize the device, particularly in terms of the size of the storage section for the carrier C (e.g., a stocker) and the installation space.

 また、キャリア剥離工程の後、成形品Wpの所定位置(図15Bに示す破線位置)を切断する切断工程を実施する。具体的に、切断装置18を用いて、成形品WpにおけるキャリアCが剥離された領域内を厚さ方向に切断して、外縁部を切除する。これにより、図15Cに示す形状を有する、すなわち、樹脂厚み(ワークWの上方もしくは下方部分の樹脂厚み)が薄い成形品Wp(最終目的形状)を形成することができる。 Furthermore, after the carrier peeling process, a cutting process is carried out to cut the molded product Wp at a predetermined position (the position indicated by the dashed line in FIG. 15B). Specifically, a cutting device 18 is used to cut the area of the molded product Wp from which the carrier C has been peeled in the thickness direction, and the outer edge is removed. This makes it possible to form a molded product Wp (final target shape) having the shape shown in FIG. 15C, i.e., a thin resin thickness (resin thickness in the upper or lower part of the workpiece W).

 切断工程の後、成形品Wp(本実施形態では、キャリアCが剥離され、所定位置が切断された状態)を収納マガジン14に収納する収納工程を実施する。尚、キャリア剥離工程もしくは切断工程を実施せずに(すなわち、剥離もしくは切断がなされていない状態の)成形品Wpを収納する工程とすることも可能である。尚、キャリア剥離装置16及び切断装置18は、本圧縮成形装置2に設けずに別に設けてもよく、その場合は剥離もしくは切断がなされていない状態の成形品Wpを収納する構成としてもよい。 After the cutting process, a storage process is carried out in which the molded product Wp (in this embodiment, the carrier C has been peeled off and the product has been cut at a predetermined position) is stored in the storage magazine 14. It is also possible to store the molded product Wp without carrying out the carrier peeling process or the cutting process (i.e., in a state in which the product has not been peeled or cut). The carrier peeling device 16 and the cutting device 18 may be provided separately from the compression molding device 2, in which case the molded product Wp in a state in which it has not been peeled or cut may be stored.

 以上が圧縮成形装置2(第3金型302を備える場合)を用いて行う圧縮成形方法の主要工程である。但し、上記の工程順は一例であって、支障がない限り先後順の変更や並行実施が可能である。 The above are the main steps of the compression molding method performed using the compression molding device 2 (when equipped with the third mold 302). However, the above order of steps is only an example, and the order of steps can be changed or steps can be performed in parallel as long as no problems occur.

 以上、説明した通り、本発明によれば、以下の効果が得られる封止樹脂を形成することができる。すなわち、本発明に係る封止樹脂を用いれば、撒きムラ、残留気体、成形時の粉塵発生に起因する成形不良の発生を防止することが可能で、且つ、樹脂部分の厚みが薄い成形品を形成することが可能な圧縮成形装置及び圧縮成形方法を実現することができる。また、樹脂封止前のハンドリングを容易化することができる。また、ハンドリング時における割損の発生を防止することができる As explained above, according to the present invention, it is possible to form a sealing resin that can provide the following effects. In other words, by using the sealing resin according to the present invention, it is possible to prevent molding defects caused by uneven distribution, residual gas, and dust generation during molding, and it is possible to realize a compression molding device and compression molding method that can form a molded product with a thin resin part. In addition, it is possible to facilitate handling before resin sealing. In addition, it is possible to prevent breakage during handling.

 さらに、本発明に係る形成方法によれば、成形品からキャリアを剥離し、封止樹脂を形成する形成工程から当該キャリアを再度使用することができるため、部品数の削減による製造コストの低減、及びキャリア収納部を主とする装置の小型化を図ることができる。 Furthermore, with the forming method according to the present invention, the carrier can be peeled off from the molded product and reused in the forming process in which the sealing resin is formed, which reduces the number of parts, thereby lowering manufacturing costs and enabling the miniaturization of the device, mainly the carrier storage section.

 尚、本発明は、上記の実施形態に限定されることなく、本発明を逸脱しない範囲において種々変更可能である。 The present invention is not limited to the above-described embodiment, and various modifications are possible without departing from the scope of the present invention.

Claims (4)

 板状部材であるキャリアを金型のキャビティの底面に接するように載置するキャリア載置工程と、
 前記キャリア載置工程の後に前記キャビティ内に樹脂を載置する樹脂載置工程と、
 前記樹脂載置工程により載置された前記樹脂により、前記キャリア載置工程により載置された前記キャリアを封止することにより仮成形品を形成する仮成形品形成工程と、
 電子部品を備えたワークと前記仮成形品を接触させた状態で加熱又は加圧することにより成形品を形成する成形品形成工程と、を備えること
を特徴とする成形品の形成方法。
a carrier placing step of placing a carrier, which is a plate-like member, on a bottom surface of a cavity of a mold so as to be in contact with the bottom surface of the mold;
a resin placing step of placing a resin in the cavity after the carrier placing step;
a temporary molded product forming step of forming a temporary molded product by sealing the carrier placed in the carrier placing step with the resin placed in the resin placing step;
a molded product forming step of forming a molded product by heating or pressurizing a workpiece having electronic components and the temporary molded product while they are in contact with each other.
 前記成形品から前記キャリアを剥離するキャリア剥離工程と、
 前記キャリア剥離工程により剥離された前記キャリアを前記樹脂により封止することにより前記仮成形品を形成する工程と、を備えること
を特徴とする請求項1記載の成形品の形成方法。
a carrier peeling step of peeling the carrier from the molded product;
2. The method for forming a molded product according to claim 1, further comprising the step of forming the temporary molded product by sealing the carrier peeled off in the carrier peeling step with the resin.
 板状部材であるキャリアと樹脂により構成される封止樹脂であって、
 前記封止樹脂の一部に前記キャリアが露出している露出部を有すること
を特徴とする封止樹脂。
A sealing resin including a carrier that is a plate-shaped member and a resin,
The sealing resin has an exposed portion where the carrier is exposed in a part of the sealing resin.
 前記封止樹脂は、前記露出部が形成されている面において、前記露出部の外側に前記キャリアが露出していない樹脂封止部を有していること
を特徴とする請求項3記載の封止樹脂。
4. The sealing resin according to claim 3, wherein the sealing resin has a resin sealing portion on the surface on which the exposed portion is formed, the resin sealing portion being outside the exposed portion and from which the carrier is not exposed.
PCT/JP2024/028683 2023-08-30 2024-08-09 Molded product formation method and sealing resin Pending WO2025047389A1 (en)

Applications Claiming Priority (2)

Application Number Priority Date Filing Date Title
JP2023140345 2023-08-30
JP2023-140345 2023-08-30

Publications (1)

Publication Number Publication Date
WO2025047389A1 true WO2025047389A1 (en) 2025-03-06

Family

ID=94819100

Family Applications (1)

Application Number Title Priority Date Filing Date
PCT/JP2024/028683 Pending WO2025047389A1 (en) 2023-08-30 2024-08-09 Molded product formation method and sealing resin

Country Status (2)

Country Link
TW (1) TW202511048A (en)
WO (1) WO2025047389A1 (en)

Citations (1)

* Cited by examiner, † Cited by third party
Publication number Priority date Publication date Assignee Title
JP2010179507A (en) * 2009-02-04 2010-08-19 Apic Yamada Corp Compression molding method

Patent Citations (1)

* Cited by examiner, † Cited by third party
Publication number Priority date Publication date Assignee Title
JP2010179507A (en) * 2009-02-04 2010-08-19 Apic Yamada Corp Compression molding method

Also Published As

Publication number Publication date
TW202511048A (en) 2025-03-16

Similar Documents

Publication Publication Date Title
TW202308063A (en) Compression molding device and compression molding method
WO2025047389A1 (en) Molded product formation method and sealing resin
WO2025047093A1 (en) Compression molding apparatus and compression molding method
JP2025008394A (en) Compression molding apparatus and compression molding method
TWI907903B (en) Sealing resin for compression molding, and method and apparatus for forming the same.
JP2025049905A (en) Compression molding apparatus and compression molding method
TWI885727B (en) Compression forming device and compression forming method
JP2025049872A (en) Sealing resin for use in compression molding and forming method and forming apparatus thereof
JP2024139398A (en) Encapsulating resin for use in compression molding, and forming method and forming device thereof
TWI885481B (en) Compression forming device and compression forming method
JP2024139395A (en) Apparatus and method for forming sealing resin used in compression molding
JP2025032602A (en) Compression molding apparatus and compression molding method
WO2024203997A1 (en) Compression molding apparatus and compression molding method
WO2024204028A1 (en) Compression-molding device and compression-molding method
WO2024236855A1 (en) Formation device for sealing resin that is used for compression molding
JP2024139406A (en) Compression molding apparatus and compression molding method
JP2024139399A (en) Apparatus and method for forming sealing resin used in compression molding
WO2024161681A1 (en) Sealing resin used for compression molding, and forming method for same
TW202330243A (en) Resin sealing device
WO2024204008A1 (en) Device and method for forming sealing resin used for compression molding, and compression molding device
JP2025004928A (en) Apparatus and method for forming sealing resin used in compression molding

Legal Events

Date Code Title Description
121 Ep: the epo has been informed by wipo that ep was designated in this application

Ref document number: 24857473

Country of ref document: EP

Kind code of ref document: A1