WO2024247343A1 - Compression molding device and compression molding method - Google Patents

Compression molding device and compression molding method Download PDF

Info

Publication number
WO2024247343A1
WO2024247343A1 PCT/JP2024/000135 JP2024000135W WO2024247343A1 WO 2024247343 A1 WO2024247343 A1 WO 2024247343A1 JP 2024000135 W JP2024000135 W JP 2024000135W WO 2024247343 A1 WO2024247343 A1 WO 2024247343A1
Authority
WO
WIPO (PCT)
Prior art keywords
workpiece
resin
compression molding
sealing
work
Prior art date
Legal status (The legal status is an assumption and is not a legal conclusion. Google has not performed a legal analysis and makes no representation as to the accuracy of the status listed.)
Pending
Application number
PCT/JP2024/000135
Other languages
French (fr)
Japanese (ja)
Inventor
達司 小口
Current Assignee (The listed assignees may be inaccurate. Google has not performed a legal analysis and makes no representation or warranty as to the accuracy of the list.)
Apic Yamada Corp
Original Assignee
Apic Yamada Corp
Priority date (The priority date is an assumption and is not a legal conclusion. Google has not performed a legal analysis and makes no representation as to the accuracy of the date listed.)
Filing date
Publication date
Application filed by Apic Yamada Corp filed Critical Apic Yamada Corp
Priority to KR1020257032858A priority Critical patent/KR20250168267A/en
Priority to CN202480028871.6A priority patent/CN121039794A/en
Publication of WO2024247343A1 publication Critical patent/WO2024247343A1/en
Anticipated expiration legal-status Critical
Pending legal-status Critical Current

Links

Images

Classifications

    • BPERFORMING OPERATIONS; TRANSPORTING
    • B29WORKING OF PLASTICS; WORKING OF SUBSTANCES IN A PLASTIC STATE IN GENERAL
    • B29CSHAPING OR JOINING OF PLASTICS; SHAPING OF MATERIAL IN A PLASTIC STATE, NOT OTHERWISE PROVIDED FOR; AFTER-TREATMENT OF THE SHAPED PRODUCTS, e.g. REPAIRING
    • B29C43/00Compression moulding, i.e. applying external pressure to flow the moulding material; Apparatus therefor
    • B29C43/02Compression moulding, i.e. applying external pressure to flow the moulding material; Apparatus therefor of articles of definite length, i.e. discrete articles
    • B29C43/18Compression moulding, i.e. applying external pressure to flow the moulding material; Apparatus therefor of articles of definite length, i.e. discrete articles incorporating preformed parts or layers, e.g. compression moulding around inserts or for coating articles
    • BPERFORMING OPERATIONS; TRANSPORTING
    • B29WORKING OF PLASTICS; WORKING OF SUBSTANCES IN A PLASTIC STATE IN GENERAL
    • B29CSHAPING OR JOINING OF PLASTICS; SHAPING OF MATERIAL IN A PLASTIC STATE, NOT OTHERWISE PROVIDED FOR; AFTER-TREATMENT OF THE SHAPED PRODUCTS, e.g. REPAIRING
    • B29C43/00Compression moulding, i.e. applying external pressure to flow the moulding material; Apparatus therefor
    • B29C43/32Component parts, details or accessories; Auxiliary operations
    • B29C43/34Feeding the material to the mould or the compression means
    • HELECTRICITY
    • H01ELECTRIC ELEMENTS
    • H01LSEMICONDUCTOR DEVICES NOT COVERED BY CLASS H10
    • H01L21/00Processes or apparatus adapted for the manufacture or treatment of semiconductor or solid state devices or of parts thereof
    • H01L21/02Manufacture or treatment of semiconductor devices or of parts thereof
    • H01L21/04Manufacture or treatment of semiconductor devices or of parts thereof the devices having potential barriers, e.g. a PN junction, depletion layer or carrier concentration layer
    • H01L21/50Assembly of semiconductor devices using processes or apparatus not provided for in a single one of the groups H01L21/18 - H01L21/326 or H10D48/04 - H10D48/07 e.g. sealing of a cap to a base of a container
    • H01L21/56Encapsulations, e.g. encapsulation layers, coatings

Definitions

  • the present invention relates to a compression molding device and a compression molding method.
  • One example of a resin sealing device and resin sealing method that uses a compression molding method to seal a workpiece, which is a base material mounted with electronic components, with sealing resin and process it into a molded product.
  • the compression molding method is a technology in which a predetermined amount of sealing resin is supplied to a sealing area (cavity) provided in a sealing mold comprising an upper mold and a lower mold, and a workpiece is placed in the sealing area and sealed with resin by clamping it between the upper and lower molds (see Patent Document 1: JP 2013-42017 A, Patent Document 2: JP 2019-145550 A).
  • sealing resin is supplied into the cavity of the sealing mold, and the cavity moves in the thickness direction, causing the sealing resin to harden and seal the workpiece, so when the mold is opened, the workpiece and sealing resin must overlap even if there is a space vertically between them.
  • Patent Document 1 describes a method for transporting a workpiece and sealing resin into a sealing die of a compression molding die with a movable upper cavity, in which the sealing resin is generally placed on top of the workpiece and then the workpiece is transported and set into the compression molding die.
  • a pre-molded workpiece is transported from the left side of the sealing die and a molded workpiece is removed, and sealing resin is supplied from the right side of the sealing die.
  • Patent Document 2 in which a first hand (a hand that transports the pre-molded workpiece) and a second hand (a hand that transports the molded workpiece) are arranged in front and behind at two locations at the front end of one loader.
  • first hand and the second hand are arranged side by side in the front-back direction, there is a problem that the transport device becomes large in the front-back direction.
  • the distance from the front of the compression molding device to the sealing mold becomes long, which makes the sealing mold difficult to maintain.
  • the travel distance of the conveying device increases, which causes an issue of extended machine time.
  • the present invention was made in consideration of the above circumstances, and aims to provide a compression molding device and a compression molding method that can make the compression molding device more compact, improve the maintainability of the sealing mold, and reduce machine time and improve productivity.
  • the present invention solves the above problems by using the solution described below as one embodiment.
  • the compression molding device is a compression molding device that uses a sealing die having an upper die with a cavity and a lower die having a workpiece holding portion to seal a workpiece with sealing resin and process it into a molded product, and is equipped with a transport device that transports the workpiece and the sealing resin into the sealing die, the transport device having a work hand that holds the workpiece and a resin hand that holds the sealing resin, and the work hand is configured to hold the workpiece in a position directly below the sealing resin held by the resin hand.
  • the workpiece and sealing resin are held in a vertical hierarchical manner in the conveying device, so the front-to-rear dimension of the conveying device can be reduced.
  • This allows the compression molding device to be made more compact.
  • the distance from the front of the compression molding device to the sealing mold is shortened, so the maintainability of the sealing mold can be improved.
  • the sealing resin can be placed continuously on the workpiece without moving the conveying device, so machine time can be shortened and productivity can be improved.
  • the workpiece has a structure in which electronic components are mounted on a substrate, and the sealing resin is a plate- or block-shaped solid resin formed into a predetermined shape whose overall shape corresponds to the shape of the workpiece.
  • the work hand has a first holding part that holds the work by gripping the bottom or side surface of the work or by suctioning the top surface
  • the resin hand has a second holding part that holds the work by gripping the bottom or side surface of the sealing resin or by suctioning the top surface.
  • the transport device has a moving device that moves the holding position of the sealing resin in the second holding part of the resin hand upward and downward relative to the holding position of the work in the first holding part of the work hand.
  • the compression molding method is a compression molding method in which a workpiece is sealed with sealing resin and processed into a molded product using a sealing mold that includes an upper mold having a cavity and a lower mold having a workpiece holding portion, and includes a resin holding step of holding the sealing resin with a resin hand, a workpiece holding step of holding the workpiece with a workpiece hand at a position directly below the sealing resin after the resin holding step, a workpiece placing step of placing the workpiece on the workpiece holding portion provided on the lower mold after the workpiece holding step, and a resin placing step of placing the sealing resin on the workpiece after the workpiece placing step.
  • the present invention makes it possible to make compression molding equipment more compact, improves the maintainability of sealing molds, and also shortens machine time and improves productivity.
  • FIG. 1 is a plan view showing an example of a compression molding apparatus according to an embodiment of the present invention.
  • FIG. 2 is a side view showing an example of a press device of the compression molding apparatus according to the embodiment of the present invention.
  • FIG. 3 is a front cross-sectional view showing an example of a sealing mold of a compression molding apparatus according to an embodiment of the present invention.
  • FIG. 4 is an explanatory diagram of a compression molding method according to an embodiment of the present invention.
  • FIG. 5 is an explanatory diagram following FIG.
  • FIG. 6 is an explanatory diagram following FIG.
  • FIG. 7 is an explanatory diagram following FIG.
  • FIG. 8 is an explanatory diagram following FIG.
  • FIG. 9 is an explanatory diagram following FIG.
  • FIG. 10 is an explanatory diagram following FIG. FIG.
  • FIG. 11 is an explanatory diagram following FIG.
  • FIG. 12 is an explanatory diagram following FIG.
  • FIG. 13 is an explanatory diagram following FIG.
  • Fig. 14A is an enlarged view of part XIV in Fig. 13.
  • Fig. 14B is an explanatory view following Fig. 14A.
  • FIG. 15 is an explanatory diagram following FIG. 14B.
  • FIG. 16 is an explanatory diagram following FIG.
  • FIG. 17 is a perspective view showing an example of a sealing resin used in the compression molding apparatus and the compression molding method according to the embodiment of the present invention.
  • FIG. 18 is a perspective view showing another example of a sealing resin used in the compression molding apparatus and the compression molding method according to the embodiment of the present invention.
  • FIG. 19 is a perspective view showing another example of a sealing resin used in the compression molding apparatus and the compression molding method according to the embodiment of the present invention.
  • FIG. 20 is a perspective view showing another example of a sealing resin used in the compression molding apparatus and the compression molding method according to the embodiment of the present invention.
  • FIG. 21 is a plan view showing an example of a compression molding device according to a comparative example.
  • FIG. 1 is a plan view (schematic diagram) showing an example of a compression molding device 1 according to this embodiment.
  • arrows in the figure indicate the left-right direction (X direction), front-back direction (Y direction), and up-down direction (Z direction) in the compression molding device 1.
  • members having the same function are given the same reference numerals, and repeated explanations may be omitted.
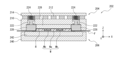
  • the compression molding apparatus 1 is an apparatus that performs resin sealing (compression molding) of a workpiece (molded product) W using a sealing mold 202 that includes an upper mold 204 and a lower mold 206.
  • the lower mold 206 is provided with one or more workpiece holding portions 205 that hold the workpiece W.
  • the upper mold 204 is provided with one or more cavities 208 depending on the shape and number of the workpieces W.
  • a release film (hereinafter sometimes simply referred to as "film”) F is adsorbed and held within this cavity 208.
  • the apparatus is not limited to this configuration.
  • the workpiece W to be sealed has a configuration in which electronic components Wb are mounted on a substrate Wa.
  • the substrate Wa include plate-shaped members such as resin substrates, ceramic substrates, metal substrates, carrier plates, lead frames, and wafers.
  • the electronic components Wb include semiconductor chips, MEMS chips, passive elements, heat sinks, conductive members, spacers, and the like.
  • the shape of the substrate Wa is rectangular (striped), square, circular, and the like.
  • the number of electronic components Wb mounted on one substrate Wa is set to one or more (for example, in a matrix).
  • Examples of methods for mounting electronic components Wb on the substrate Wa include wire bonding and flip chip mounting.
  • the electronic components Wb can be attached using a thermally peelable adhesive tape or an ultraviolet-curing resin that hardens when exposed to ultraviolet light.
  • the sealing resin R is a solid resin that is a thermosetting resin (for example, but not limited to, an epoxy resin containing a filler) and has a predetermined overall shape (details will be described later) that corresponds to the shape of the workpiece W. Normally, one piece constitutes the "whole" amount of sealing required (one application per workpiece W), but it may be configured so that several pieces (for example, two or three pieces) are divided to constitute the "whole" amount of sealing required.
  • a thermosetting resin for example, but not limited to, an epoxy resin containing a filler
  • film F examples include film materials with excellent heat resistance, ease of peeling, flexibility, and extensibility, such as PTFE (polytetrafluoroethylene), ETFE (polytetrafluoroethylene polymer), PET, FEP, fluorine-impregnated glass cloth, polypropylene, and polyvinylidine chloride.
  • the compression molding device 1 mainly comprises a work supply unit 100A for supplying the work W, a resin supply unit 100B for transporting the sealing resin R, a press unit 100C for sealing the work W with resin and processing it into a molded product Wp, and a storage unit 100D for storing the molded product Wp.
  • the work supply unit 100A, the resin supply unit 100B, the press unit 100C, the press unit 100C, and the storage unit 100D are arranged in this order along the X direction in FIG. 1.
  • the above configuration is not limited to this, and the equipment configuration within the unit, the number of units (particularly the number of press units), the arrangement order of the units, etc. can be changed.
  • a configuration including units other than those described above is also possible.
  • a control unit 150 that controls the operation of each mechanism in each unit is located in the work supply unit 100A (it may also be configured to be located in another unit).
  • the compression molding device 1 has a guide rail 300 that is linearly provided between each unit, and a transport device (first loader) 302 that transports the workpiece W and the sealing resin R, and a transport device (second loader) 304 that transports the molded product Wp are provided so as to be movable between predetermined units along the guide rail 300.
  • the configuration is not limited to the above, and a configuration including a common (single) transport device (loader) that transports the workpiece W, the sealing resin R, and the molded product Wp (not shown) may also be used.
  • two workpieces W are arranged in the X direction and transported into the sealing mold 202, but the following description will be given for one workpiece to simplify the drawings.
  • the number of workpieces is not limited to two.
  • the inventors of the present application have devised a comparative compression molding device 400 (see FIG. 21) in order to study a transport device for transporting the workpiece W and the sealing resin R.
  • the compression molding device 400 is configured to transport the workpiece W and the sealing resin R into the sealing die 401 by a transport device 402 in which a first hand (a workpiece hand for transporting the workpiece W) 412 and a second hand (a resin hand for transporting the sealing resin R) 422 are arranged side by side in the front-to-rear direction.
  • the first hand and the second hand are arranged side by side in the front-to-rear direction, which creates the problem that the conveying device becomes large in the front-to-rear direction.
  • the distance from the front of the compression molding apparatus to the sealing mold becomes long, which creates the problem that the maintenance of the sealing mold is difficult.
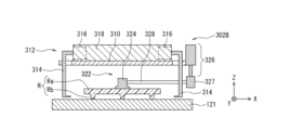
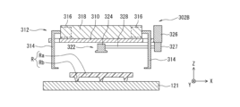
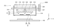
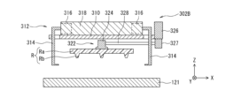
  • the conveying device (first loader) 302 has the following configuration. Specifically, as shown in FIG. 1, the first loader 302 has a loader body 302A that can move in the X direction within the compression molding device 1, and a loader head 302B that is attached to the loader body 302A and can move in the Y and Z directions within the compression molding device 1.
  • the loader head 302B has a work hand 312 that holds the workpiece W and a resin hand 322 that holds the sealing resin R, and the work hand 312 and the resin hand 322 are attached to the loader head 302B (specifically, the support part 310).
  • the work hand 312 is arranged to hold the workpiece W at a position directly below the sealing resin R held by the resin hand 322.
  • the compression molding apparatus 1 according to this embodiment is able to solve the above problems. Specifically, the compression molding apparatus 1 according to this embodiment is able to hold the workpiece W and sealing resin R in a vertically hierarchical manner in the loader head 302B. With this configuration, the front-to-rear dimension of the conveying device (first loader) 302 can be reduced. Therefore, the compression molding apparatus 1 can be made more compact. In addition, the distance from the front of the compression molding apparatus 1 to the sealing mold 202 is shortened, improving the maintainability of the sealing mold 202.
  • the work hand 312 has a first holding portion (as an example, a chuck having holding claws at its tip) 314 that holds the work W, and a first moving device 316 that drives the chuck 314 to open and close in the X direction (see FIG. 4).
  • the first moving device 316 is provided on a chuck support portion 318 that supports the chuck 314.
  • the work hand 312 can hold the work W by gripping the bottom or side of the work W.
  • the chuck 314 may be configured to include a rotating shaft that rotates the chuck 314, or may be configured to move the chuck 314 by combining horizontal and rotational movements (neither of which are shown).
  • the resin hand 322 also has a second holding section (suction mechanism (configuration for suction having a suction hole communicating with a suction device)) 324 that holds the sealing resin R by suctioning the upper surface of the sealing resin R, and a second moving device 326 that drives the suction mechanism 324 to move up and down (Z direction).
  • the second moving device 326 is configured with a cylinder mechanism, and is connected to the suction mechanism 324 via an arm support section 327 attached to the tip of the rod and an arm 328 supported by the arm support section 327. With this configuration, the resin hand 322 can move the holding position of the sealing resin R in the suction mechanism 324 upward and downward relative to the holding position of the workpiece W in the chuck 314 of the work hand 312.
  • the sealing resin R held by the suction mechanism 324 can be placed in contact with the workpiece W (substrate Wa) placed on the work holding section 205, thereby preventing the sealing resin R from shifting out of position.
  • the second moving device 326 is not limited to this configuration, and may be configured to move the suction mechanism 324 up and down using a combination of a servo motor and a linear guide, etc. (not shown).
  • the first holding portion of the work hand 312 may be an adsorption mechanism
  • the second holding portion of the resin hand 322 may be a chuck. Both may also be chucks or adsorption mechanisms.
  • the second holding portion 324 of the resin hand 322 is arranged on the outside of the first holding portion 314 using an arm 328, and is further moved up and down by the second moving device 326, but a through hole may be provided in the center of the chuck support portion 318, and the second moving device 326 may be provided directly on the second holding portion 324.
  • Other known holding mechanisms may also be employed (not shown).
  • the compression molding device 1 has been given as an example in which the loader head 302B moves up and down (Z direction) to transport the workpiece W and sealing resin R, but the device may also be configured to move the chuck 314 up and down (Z direction) to transport the workpiece W and sealing resin R, or may be configured to have both.
  • the work supply unit 100A is equipped with a work supply magazine 102 in which a plurality of workpieces W are stored.
  • the work supply magazine 102 may be a known stack magazine, slit magazine, or the like.
  • the work supply unit 100A also has a work table 103 that transfers the workpieces W from the work supply magazine 102 to the first loader 302.
  • the work supply unit 100A may also be configured to include a work stage (not shown) on which the work W removed from the work supply magazine 102 is placed.
  • the workpiece W is held in advance by the workpiece hand 312 of the first loader 302 in the resin supply unit 100B (described later) with the sealing resin R held by the resin hand 322, and is transported to the press unit 100C and set at a predetermined position in the sealing mold 202.
  • the workpiece W is placed on the workpiece holding portion 205 of the lower mold 206, and the sealing resin R is placed on top of the workpiece W placed on the workpiece holding portion 205 (details of the process will be described later).
  • the resin supply unit 100B includes a resin supply magazine 120 that supplies the sealing resin R.
  • a resin supply magazine 120 that supplies the sealing resin R.
  • a known stack magazine, slit magazine, or the like is used as the resin supply magazine 120.
  • the resin supply unit 100B also includes a resin table 121 that transfers the sealing resin R from the resin supply magazine 120 to the first loader 302.
  • the resin supply unit 100B may also be configured to include a resin stage (not shown) on which the sealing resin R taken out from the resin supply magazine 120 is placed.
  • the sealing resin R is held by the resin hand 322 of the first loader 302 and transported to the press unit 100C via the work supply unit 100A.
  • the work supply unit 100A is arranged in this order from the left end, followed by the resin supply unit 100B, but this order is not necessary and may be followed by the resin supply unit 100B, followed by the work supply unit 100A from the left end.
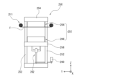
  • the press unit 100C is equipped with a sealing die 202 having a pair of dies (for example, a combination of multiple die blocks, die plates, die pillars, etc., made of alloy tool steel, and other components) that can be opened and closed. It also has a press device 250 that opens and closes the sealing die 202 to resin seal the workpiece W. As an example, a configuration is shown that includes one press device 250, but a configuration that includes multiple press devices (not shown) may also be used.
  • a side view (schematic diagram) of the press device 250 provided in the press unit 100C is shown in FIG. 2, and a front cross-sectional view (schematic diagram) of the sealing die 202 is shown in FIG. 3.
  • the press device 250 is configured to include a pair of platens 254, 256, a plurality of tie bars 252 on which the pair of platens 254, 256 are supported, and a drive device for moving (raising and lowering) the platen 256.
  • the drive device is configured to include a drive source (e.g., an electric motor) 260 and a drive transmission mechanism (e.g., a ball screw or a toggle link mechanism) 262 (however, this is not limited to this).
  • the upper platen 254 in the vertical direction is set as a fixed platen (a platen fixed to the tie bars 252)
  • the lower platen 256 is set as a movable platen (a platen slidably held by the tie bars 252 and raised and lowered).
  • the platens may be set upside down, i.e., the upper side may be set as a movable platen and the lower side as a fixed platen, or both the upper and lower sides may be set as movable platens (neither is shown).
  • the sealing mold 202 is provided with an upper mold 204 on the upper side in the vertical direction and a lower mold 206 on the lower side as a pair of molds arranged between the pair of platens 254, 256 in the press device 250. That is, the upper mold 204 is assembled to the upper platen (in this embodiment, the fixed platen 254), and the lower mold 206 is assembled to the lower platen (in this embodiment, the movable platen 256). The upper mold 204 and the lower mold 206 move toward and away from each other to close and open the mold (the vertical direction (up and down direction) is the mold opening and closing direction).
  • a film supply mechanism 211 is provided that transports (supplies) a roll-shaped film F into the interior of the sealing die 202.
  • a strip-shaped film F may be used instead of a roll-shaped film F.
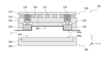
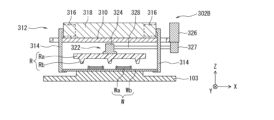
  • the upper mold 204 of the sealing mold 202 includes an upper mold chase 210, a cavity piece 226 held by the upper mold chase, a clamper 228, and the like.
  • the upper mold chase 210 is fixed to the lower surface of a support plate 214 via a support pillar 212.
  • a cavity 208 is provided on the lower surface of the upper mold 204 (the surface facing the lower mold 206).
  • the clamper 228 is configured in a ring shape to surround the cavity piece 226, and is assembled to the underside of the support plate 214 via a push pin 222 and a clamper spring (a biasing member such as a coil spring) 224 so as to be spaced apart (floating) from the bottom surface of the support plate 214 and movable up and down (however, this assembly structure is not limited).
  • the cavity piece 226 forms the inner part (bottom part) of the cavity 208, and the clamper 228 forms the side part of the cavity 208.
  • the shape and number of cavities 208 provided in one upper mold 204 are appropriately set according to the shape and number of workpieces W (one or multiple).
  • suction paths holes, grooves, etc. that communicate with a suction device are provided on the underside of the clamper 228 and at the boundary between the clamper 228 and the cavity piece 226 (not shown). This allows the film F supplied from the film supply mechanism 211 to be adsorbed and held on the mold surface 204a, including the inner surface of the cavity 208. In addition, the cavity 208 can be degassed when the mold is closed and resin sealing is performed.
  • an upper die heating mechanism (not shown) that heats the upper die 204 to a predetermined temperature.
  • This upper die heating mechanism includes a heater (e.g., an electric wire heater), a temperature sensor, a power source, etc., and heating is controlled by the control unit 150.
  • the heater is built into the upper die chase 210 and is configured to apply heat to the entire upper die 204 and the sealing resin R contained in the cavity 208.
  • the heater heats the upper die 204 to a predetermined temperature (e.g., 100°C to 300°C).
  • the lower die 206 of the sealing mold 202 will be described in detail. As shown in FIG. 3, the lower die 206 includes a lower die chase 240 and a lower plate 242 held by the chase.
  • a workpiece holding section 205 is provided to hold the workpiece W at a predetermined position on the upper surface of the lower plate 242.
  • the workpiece holding section 205 has a workpiece guide pin (not shown) and a suction passage (hole, groove, etc.) that is arranged to penetrate the lower plate 242 and communicates with a suction device (not shown).
  • a suction passage hole, groove, etc.
  • one end of the suction passage is connected to the die surface 206a of the lower die 206, and the other end is connected to a suction device arranged outside the lower die 206.
  • a configuration may be provided with holding claws that clamp the outer periphery of the workpiece W (not shown).
  • the shape and number of the workpiece holding sections 205 provided on one lower die 206 are appropriately set according to the shape and number of the workpieces W (one or multiple).
  • a lower die heating mechanism (not shown) that heats the lower die 206 to a predetermined temperature.
  • This lower die heating mechanism includes a heater (e.g., an electric wire heater), a temperature sensor, a power source, etc., and heating is controlled by the control unit 150.
  • the heater is built into the lower die chase 240 and is configured to apply heat to the entire lower die 206 and the workpiece W held by the workpiece holding unit 205.
  • the heater heats the lower die 206 to a predetermined temperature (e.g., 100°C to 300°C).
  • Storage unit Next, the storage unit 100D included in the compression molding apparatus 1 will be described in detail.
  • the molded product Wp is held by the second loader 304, removed from the sealing mold 202, and transported to the storage unit 100D.
  • the second loader 304 uses a known holding mechanism for the molded product Wp (e.g., a clamping mechanism with holding claws, a suction hole that communicates with a suction device and a suction mechanism, etc.) (not shown).
  • a configuration may be provided in which a transport device (loader) that moves in the X direction to transport between units and a transport device (loader) that moves in the Y direction to unload from the sealing mold 202 are provided separately (not shown).
  • the storage unit 100D is equipped with a storage magazine 104 in which multiple molded products Wp are stored.
  • a storage magazine 104 in which multiple molded products Wp are stored.
  • a known stack magazine, slit magazine, or the like is used as the storage magazine 104.
  • It is also equipped with a molded product table 105 (alignment section) on which the molded products Wp transported by the second loader 304 are temporarily placed, but this can be omitted in the configuration.
  • the storage unit 100D may also be configured to include a molded product stage (not shown) on which the molded product Wp transported from the press unit 100C is placed.
  • Fig. 4 to Fig. 16 are explanatory views of each step, and are illustrated as front cross-sectional views in the same direction as Fig. 3.
  • a heating process (upper mold heating process) is carried out in which the upper mold heating mechanism adjusts and heats the upper mold 204 to a predetermined temperature (e.g., 100°C to 300°C).
  • a heating process (lower mold heating process) is carried out in which the lower mold heating mechanism adjusts and heats the lower mold 206 to a predetermined temperature (e.g., 100°C to 300°C).
  • a film supply process (upper mold film supply process) is carried out in which the film supply mechanism 211 is operated to supply new film F and adsorb it to cover a predetermined area of the mold surface 204a, including the inner surface of the cavity 208 in the upper mold 204.
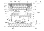
  • a resin holding process is performed in which the sealing resin R is held by the resin hand 322 of the first loader 302.
  • the first loader 302 is moved to the resin supply unit 100B, and the loader head 302B is moved above the resin table 121 on which the sealing resin R supplied from the resin supply magazine 120 is placed (see FIG. 4).
  • the loader head 302B is lowered, and the second moving device 326 is operated (moved downward) to lower the suction mechanism 324 until it abuts against the upper surface of the sealing resin R, thereby holding (adsorbing) the sealing resin R (see FIG. 5).
  • the second moving device 326 is operated (moved upward) to raise the suction mechanism 324, and the loader head 302B is raised (see FIG. 6).
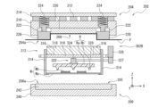
  • a work holding process is performed in which the work W is held by the work hand 312 of the first loader 302.
  • the first loader 302 with the sealing resin R held by the resin hand 322 is moved to the work supply unit 100A, and the loader head 302B is moved above the work table 103 on which the work W supplied from the work supply magazine 102 is placed (see FIG. 7).
  • the loader head 302B is lowered, and the first moving device 316 is operated to bring the chuck 314 close to the work W, and the work W is held (gripped) at a position directly below the sealing resin R (see FIG. 8).
  • the loader head 302B is raised (see FIG. 9).
  • a work placing process is carried out in which the work W is placed on the work holding portion 205 of the lower die 206.
  • the first loader 302 holding the work W and the sealing resin R is moved to the press unit 100C, and the loader head 302B is moved above the work holding portion 205 of the lower die 206 (see FIG. 10).
  • the loader head 302B is lowered, and the first moving device 316 is operated to move the chuck 314 away from the work W, and the work W is placed (held) on the work holding portion 205 (see FIG. 11).
  • a resin placement process is carried out in which the sealing resin R is placed on the workpiece W placed on the workpiece holding section 205.
  • the second moving device 326 is operated to lower the suction mechanism 324, the suction of the sealing resin R is released, and the sealing resin R is placed on the workpiece W placed on the workpiece holding section 205 (see FIG. 12).
  • the second moving device 326 is operated to raise the suction mechanism 324 and raise the loader head 302B, and then the loader head 302B is moved outside the sealing mold 202 (see FIG. 13).
  • the first hand and second hand are arranged side by side in the front-to-rear direction, and therefore it was necessary to advance the conveying device up to the front side of the device relative to the sealing mold during the workpiece placement process.
  • a resin sealing process is carried out in which the workpiece W is sealed with sealing resin R and processed into a molded product Wp.
  • the sealing mold 202 is closed, and the cavity piece 226 is lowered relatively within the cavity 208 to carry out a mold closing process in which the sealing resin R is heated and pressurized against the workpiece W. This causes the sealing resin R to thermally harden, completing the resin sealing (compression molding) (see FIG. 15).
  • the compression molding device 1 is able to solve the above problem by adopting a configuration in which a solid resin formed into a predetermined shape corresponding to the shape of the workpiece W is used as the sealing resin R.
  • the above-mentioned "predetermined shape” is a shape that does not come into contact with the electronic component Wb (including the wire in the case of the electronic component Wb having a wire) when placed on the substrate Wa of the work W.
  • a sealing resin R having a shape in which a plate-shaped or block-shaped main body Ra and legs Rb arranged intermittently (or continuously) on one side of the main body Ra (the side facing the electronic component Wb of the work W) are provided is preferred (however, this shape is not limited).
  • the main body Ra is of a size that fits into the cavity 208 in a plan view, and considering the resin flow, a size that is slightly smaller than the shape of the cavity 208 (particularly the cavity piece 226) is preferred.
  • the legs Rb need to have a height H (see FIG. 14A) that does not come into contact with the electronic component Wb, but this does not exclude contact to the extent that the wire does not undergo plastic deformation.
  • the legs Rb are arranged at a position where they do not come into contact with the electronic components Wb in a plan view of the main body Ra, and where the main body Ra will not tilt when placed on the substrate Wa of the work W.
  • the legs Rb are arranged between the electronic components Wb or on the outer periphery of the electronic components Wb so as not to damage the wiring (particularly the wires) of the work W even slightly during molding.
  • the total amount of resin in the plate-shaped or block-shaped main body Ra and the legs Rb may be just the right amount of resin, or may be a large amount of resin, so long as it is sufficient for one compression molding. Details of specific configuration examples of the sealing resin R ( Figures 17 to 20) will be described later.
  • FIG. 14A and FIG. 14B are shown as enlarged views of part XIV in FIG. 13).
  • the resin specifically, the main body part Ra
  • the wires see FIG. 14B.
  • the inventors of the present application actually conducted experiments using the compression molding device 1 according to this embodiment, and confirmed that wire flow was suppressed and molding quality was improved compared to a conventional compression molding device in which a workpiece is held in the upper die, a cavity is provided in the lower die, and sealing resin (specifically, granular resin) is supplied to the cavity.
  • the sealing resin R is a solid resin, it is possible to solve the problems that were previously caused by granular resin, such as uneven distribution, residual gas, and dust generation during molding, as well as the difficulty of handling. In addition, even when forming a thick molded product with a thickness exceeding 1 mm, it is possible to prevent the film F from getting caught in the molded product Wp.
  • the mold opening step is performed to open the sealing mold 202 and separate the molded product Wp from the used film F (see FIG. 16).
  • the molded product unloading step is performed to unload the molded product Wp from the sealing mold 202 by the second loader 304 and unload it into the storage unit 100D.
  • the film supply mechanism 211 is operated to send out the used film F from the sealing mold 202 and to feed and set new film F into the sealing mold 202.
  • the main body portion Ra is formed in a plate shape (it may also be in a shape other than a plate shape, for example, a block shape having concave and convex portions). Furthermore, the leg portions Rb are erected on the main body portion Ra so that when the sealing resin R is placed in a predetermined position (a position set by design) on the substrate Wa of the work W, it is in a position that does not abut against the electronic components Wb of the work W, and are formed at a height H (see Figure 14A) that ensures a distance at which the main body portion Ra does not abut against the electronic components Wb.
  • the legs Rb are all (or part of) formed as tapered convex bodies Rb1 arranged in a dot pattern.
  • the convex bodies Rb1 they are arranged at multiple positions and formed in a shape where the ratio t of the length L1 to the width W1 in a plan view is, for example, 0.5 ⁇ t ⁇ 2.
  • the leg Rb is formed as a convex body Rb2 in which a part (or all) is arranged in a line.
  • the convex body Rb2 it is arranged at one position (or multiple positions) and is formed in a shape in which the ratio t of the length L2 to the width W2 in a plan view is, for example, t ⁇ 0.5 or 2 ⁇ t.
  • the legs Rb are formed as convex bodies Rb3 that are arranged so as to surround the entire periphery (referring to the outer edge region) of the main body Ra intermittently (or may be continuous).
  • convex bodies Rb3 convex bodies having the same configuration as Rb2 are formed in a continuous manner to form a circumference with gaps L3 at predetermined intervals.
  • the outer peripheral position of the sealing resin R in the molded product Wp is the position that is cut by a dicer or the like when it is divided into individual pieces, and since there are no electronic components Wb, a larger amount of resin is required for sealing compared to the central position.
  • the legs Rb in this case, the convex bodies Rb3 that are arranged so as to surround the entire periphery as in this configuration, it is possible to supply a large amount of resin to the outer peripheral position while suppressing the resin flow during compression molding. Furthermore, the provision of the gaps L3 promotes the discharge of gas components such as air from the inside (center) to the outside.
  • the example of sealing resin R shown in Figure 20 is a configuration example for the other surface of the main body portion Ra (the surface on which the legs Rb are not provided, i.e., the surface on the side that does not face the electronic components Wb of the workpiece W).
  • linear grooves Rg are formed on the other surface of the main body portion Ra at the position where dicing for individualization is performed. This reduces wear on the dicing blade and reduces dust generated during dicing.
  • the grooves Rg are arranged in a grid pattern to match the dicing position, but are not limited to this.
  • the present invention it is possible to make the compression molding device more compact, improve the maintainability of the sealing mold, and reduce machine time and improve productivity.
  • the following effects can be obtained. Specifically, it is possible to prevent molding defects caused by flow, uneven distribution, and residual gas of the sealing resin. In addition, it is possible to facilitate handling of the sealing resin and prevent dust from being generated by the sealing resin during molding. In addition, it is possible to form not only thin molded products (thickness dimension less than 1 mm) but also thick molded products (thickness dimension 1 mm or more). Although the upper limit of the thickness dimension depends on various setting conditions, it is considered that it is possible to form a thickness of up to about 10 mm.

Landscapes

  • Engineering & Computer Science (AREA)
  • Mechanical Engineering (AREA)
  • Physics & Mathematics (AREA)
  • Condensed Matter Physics & Semiconductors (AREA)
  • General Physics & Mathematics (AREA)
  • Manufacturing & Machinery (AREA)
  • Computer Hardware Design (AREA)
  • Microelectronics & Electronic Packaging (AREA)
  • Power Engineering (AREA)
  • Casting Or Compression Moulding Of Plastics Or The Like (AREA)
  • Encapsulation Of And Coatings For Semiconductor Or Solid State Devices (AREA)

Abstract

This invention addresses the problem of providing a compression molding device and a compression molding method that enable: a compression molding device to be made compact; the maintainability of a sealing mold to be improved; machining time to be reduced; and productivity to be improved. As a means for solving the problem, a compression molding device (1) uses a sealing mold (202) comprises: an upper mold (204) having a cavity (208); and a lower mold (206) having a workpiece retention section (205). The compression molding device seals a workpiece (W) with a sealing resin (R) and process the foregoing into a molded product (Wp). A conveyance device (302) for conveying the workpiece (W) and the sealing resin (R) into the sealing mold (202) is provided. The conveyance device (302) is provided with a workpiece hand (312) for holding the workpiece (W) and a resin hand (322) for holding the sealing resin (R). The workpiece hand (312) holds the workpiece (W) at a location directly under the sealing resin (R) held by the resin hand (322).

Description

圧縮成形装置及び圧縮成形方法Compression molding device and compression molding method

 本発明は、圧縮成形装置及び圧縮成形方法に関する。 The present invention relates to a compression molding device and a compression molding method.

 基材に電子部品が搭載されたワークを封止樹脂により封止して成形品に加工する樹脂封止装置及び樹脂封止方法の例として、圧縮成形方式によるものが知られている。 One example of a resin sealing device and resin sealing method that uses a compression molding method to seal a workpiece, which is a base material mounted with electronic components, with sealing resin and process it into a molded product.

 圧縮成形方式は、上型と下型とを備えて構成される封止金型に設けられる封止領域(キャビティ)に所定量の封止樹脂を供給すると共に当該封止領域にワークを配置して、上型と下型とでクランプする操作によって樹脂封止する技術である(特許文献1:特開2013-42017号公報、特許文献2:特開2019-145550号公報参照)。 The compression molding method is a technology in which a predetermined amount of sealing resin is supplied to a sealing area (cavity) provided in a sealing mold comprising an upper mold and a lower mold, and a workpiece is placed in the sealing area and sealed with resin by clamping it between the upper and lower molds (see Patent Document 1: JP 2013-42017 A, Patent Document 2: JP 2019-145550 A).

特開2013-42017号公報JP 2013-42017 A 特開2019-145550号公報JP 2019-145550 A

 圧縮成形方式の場合に、封止金型のキャビティ内に封止樹脂を供給し、キャビティが厚さ方向に可動することで封止樹脂が硬化してワークに樹脂封止がなされるため、金型開時はワークと封止樹脂に垂直方向に空間があっても重なっている必要がある。 In the case of compression molding, sealing resin is supplied into the cavity of the sealing mold, and the cavity moves in the thickness direction, causing the sealing resin to harden and seal the workpiece, so when the mold is opened, the workpiece and sealing resin must overlap even if there is a space vertically between them.

 一例として、上型にキャビティが設けられた上型キャビティ可動の圧縮成形金型の封止金型内へワーク及び封止樹脂を搬送する方法として、一般的にはワークの上に封止樹脂を載せてワークごと圧縮成形金型に搬入セットする方法が特許文献1に記載されている。 As an example, Patent Document 1 describes a method for transporting a workpiece and sealing resin into a sealing die of a compression molding die with a movable upper cavity, in which the sealing resin is generally placed on top of the workpiece and then the workpiece is transported and set into the compression molding die.

 他の例として、下型にキャビティが設けられた下型キャビティ可動の圧縮成形金型の封止金型内へワーク及び封止樹脂を搬送する方法として、主に顆粒樹脂を使用するタイプでは、顆粒樹脂から発生する粉塵による成形不良を減らす目的で、封止金型を挟んで左側より成形前ワークを搬送すると共に成形後のワークを取出し、封止樹脂は封止金型を挟んで右側より供給することが特許文献2に記載されている。この場合、成形前ワークと成形後ワークを速やかに搬送、取出しするには、一つのローダの前端二箇所に第1ハンド(成形前ワークを搬送するハンド)と第2ハンド(成形後ワークを搬送するハンド)を前後に配置させて搬送する方法が特許文献2に記載されている。しかしながら、このような供給方法においては、第1ハンドと第2ハンドとが前後方向に並んで配置されているため、搬送装置が前後方向に大型化してしまうという課題があった。また、封止金型に対して装置の前面側まで搬送装置を進入させるためのスペースを設ける必要があり、圧縮成形装置全体が大型化してしまうという課題があった。また、圧縮成形装置の前面から封止金型までの距離が長くなってしまい、封止金型のメンテナンス性が悪いという課題があった。また、搬送装置の移動距離が増加するため、マシンタイムが延長するという課題があった。 As another example, in a method for transporting a workpiece and sealing resin into a sealing die of a compression molding die with a movable lower cavity, in a type that mainly uses granular resin, in order to reduce molding defects due to dust generated from the granular resin, a pre-molded workpiece is transported from the left side of the sealing die and a molded workpiece is removed, and sealing resin is supplied from the right side of the sealing die. In this case, in order to quickly transport and remove the pre-molded workpiece and the molded workpiece, a method is described in Patent Document 2 in which a first hand (a hand that transports the pre-molded workpiece) and a second hand (a hand that transports the molded workpiece) are arranged in front and behind at two locations at the front end of one loader. However, in this supply method, since the first hand and the second hand are arranged side by side in the front-back direction, there is a problem that the transport device becomes large in the front-back direction. In addition, it is necessary to provide a space for the transport device to enter the front side of the sealing die, which causes the entire compression molding device to become large. In addition, the distance from the front of the compression molding device to the sealing mold becomes long, which makes the sealing mold difficult to maintain. In addition, the travel distance of the conveying device increases, which causes an issue of extended machine time.

 本発明は、上記事情に鑑みてなされ、圧縮成形装置のコンパクト化が可能で、また、封止金型のメンテナンス性の向上が可能で、また、マシンタイムの短縮及び生産性の向上が可能な圧縮成形装置及び圧縮成形方法を提供することを目的とする。 The present invention was made in consideration of the above circumstances, and aims to provide a compression molding device and a compression molding method that can make the compression molding device more compact, improve the maintainability of the sealing mold, and reduce machine time and improve productivity.

 本発明は、一実施形態として以下に記載するような解決手段により、前記課題を解決する。 The present invention solves the above problems by using the solution described below as one embodiment.

 一実施形態に係る圧縮成形装置は、キャビティを有する上型とワーク保持部を有する下型とを備える封止金型を用いて、ワークを封止樹脂により封止して成形品に加工する圧縮成形装置であって、前記ワーク及び前記封止樹脂を前記封止金型内へ搬送する搬送装置を備え、前記搬送装置は、前記ワークを保持するワークハンドと、前記封止樹脂を保持する樹脂ハンドと、を備え、前記ワークハンドは、前記樹脂ハンドが保持する前記封止樹脂の直下の位置で前記ワークを保持する構成であることを要件とする。 The compression molding device according to one embodiment is a compression molding device that uses a sealing die having an upper die with a cavity and a lower die having a workpiece holding portion to seal a workpiece with sealing resin and process it into a molded product, and is equipped with a transport device that transports the workpiece and the sealing resin into the sealing die, the transport device having a work hand that holds the workpiece and a resin hand that holds the sealing resin, and the work hand is configured to hold the workpiece in a position directly below the sealing resin held by the resin hand.

 上記の実施形態によれば、搬送装置においてワーク及び封止樹脂が上下方向に階層状に保持されるため、搬送装置の前後方向の寸法を抑えることができる。従って、圧縮成形装置をコンパクト化することができる。また、圧縮成形装置の前面から封止金型までの距離が短縮されるため、封止金型のメンテナンス性を向上することができる。また、ワークをワーク保持部に載置した後、搬送装置を移動することなく連続的に封止樹脂をワーク上へ載置できるため、マシンタイムが短縮され、生産性を向上することができる。 In the above embodiment, the workpiece and sealing resin are held in a vertical hierarchical manner in the conveying device, so the front-to-rear dimension of the conveying device can be reduced. This allows the compression molding device to be made more compact. Also, the distance from the front of the compression molding device to the sealing mold is shortened, so the maintainability of the sealing mold can be improved. Furthermore, after the workpiece is placed on the work holding section, the sealing resin can be placed continuously on the workpiece without moving the conveying device, so machine time can be shortened and productivity can be improved.

 また、前記ワークとして、基材に電子部品が搭載された構成を有するワークが用いられ、前記封止樹脂として、全体の形状を前記ワークの形状に対応させた所定形状に形成された板状もしくはブロック状の固形樹脂が用いられることが好ましい。 Furthermore, it is preferable that the workpiece has a structure in which electronic components are mounted on a substrate, and the sealing resin is a plate- or block-shaped solid resin formed into a predetermined shape whose overall shape corresponds to the shape of the workpiece.

 また、前記ワークハンドは、前記ワークの下面もしくは側面を把持することにより又は上面を吸着することにより前記ワークを保持する第1保持部を有し、前記樹脂ハンドは、前記封止樹脂の下面もしくは側面を把持することにより又は上面を吸着することにより前記ワークを保持する第2保持部を有することが好ましい。 Furthermore, it is preferable that the work hand has a first holding part that holds the work by gripping the bottom or side surface of the work or by suctioning the top surface, and the resin hand has a second holding part that holds the work by gripping the bottom or side surface of the sealing resin or by suctioning the top surface.

 また、前記搬送装置は、前記樹脂ハンドの前記第2保持部における前記封止樹脂の保持位置を前記ワークハンドの前記第1保持部における前記ワークの保持位置に対して相対的に上方及び下方へ移動させる移動装置を有することが好ましい。 Furthermore, it is preferable that the transport device has a moving device that moves the holding position of the sealing resin in the second holding part of the resin hand upward and downward relative to the holding position of the work in the first holding part of the work hand.

 また、一実施形態に係る圧縮成形方法は、キャビティを有する上型とワーク保持部を有する下型とを備える封止金型を用いて、ワークを封止樹脂により封止して成形品に加工する圧縮成形方法であって、前記封止樹脂を樹脂ハンドで保持する樹脂保持工程と、前記樹脂保持工程の後に、前記封止樹脂の直下の位置で前記ワークをワークハンドで保持するワーク保持工程と、前記ワーク保持工程の後に、前記下型に設けられた前記ワーク保持部に前記ワークを載置するワーク載置工程と、前記ワーク載置工程の後に、前記ワークの上に前記封止樹脂を載置する樹脂載置工程と、を備えることを要件とする。 In one embodiment, the compression molding method is a compression molding method in which a workpiece is sealed with sealing resin and processed into a molded product using a sealing mold that includes an upper mold having a cavity and a lower mold having a workpiece holding portion, and includes a resin holding step of holding the sealing resin with a resin hand, a workpiece holding step of holding the workpiece with a workpiece hand at a position directly below the sealing resin after the resin holding step, a workpiece placing step of placing the workpiece on the workpiece holding portion provided on the lower mold after the workpiece holding step, and a resin placing step of placing the sealing resin on the workpiece after the workpiece placing step.

 本発明によれば、圧縮成形装置のコンパクト化が可能で、また、封止金型のメンテナンス性の向上が可能で、また、マシンタイムの短縮及び生産性の向上が可能となる。 The present invention makes it possible to make compression molding equipment more compact, improves the maintainability of sealing molds, and also shortens machine time and improves productivity.

図1は、本発明の実施形態に係る圧縮成形装置の例を示す平面図である。FIG. 1 is a plan view showing an example of a compression molding apparatus according to an embodiment of the present invention. 図2は、本発明の実施形態に係る圧縮成形装置のプレス装置の例を示す側面図である。FIG. 2 is a side view showing an example of a press device of the compression molding apparatus according to the embodiment of the present invention. 図3は、本発明の実施形態に係る圧縮成形装置の封止金型の例を示す正面断面図である。FIG. 3 is a front cross-sectional view showing an example of a sealing mold of a compression molding apparatus according to an embodiment of the present invention. 図4は、本発明の実施形態に係る圧縮成形方法の説明図である。FIG. 4 is an explanatory diagram of a compression molding method according to an embodiment of the present invention. 図5は、図4に続く説明図である。FIG. 5 is an explanatory diagram following FIG. 図6は、図5に続く説明図である。FIG. 6 is an explanatory diagram following FIG. 図7は、図6に続く説明図である。FIG. 7 is an explanatory diagram following FIG. 図8は、図7に続く説明図である。FIG. 8 is an explanatory diagram following FIG. 図9は、図8に続く説明図である。FIG. 9 is an explanatory diagram following FIG. 図10は、図9に続く説明図である。FIG. 10 is an explanatory diagram following FIG. 図11は、図10に続く説明図である。FIG. 11 is an explanatory diagram following FIG. 図12は、図11に続く説明図である。FIG. 12 is an explanatory diagram following FIG. 図13は、図12に続く説明図である。FIG. 13 is an explanatory diagram following FIG. 図14Aは、図13におけるXIV部の拡大図である。図14Bは、図14Aに続く説明図である。Fig. 14A is an enlarged view of part XIV in Fig. 13. Fig. 14B is an explanatory view following Fig. 14A. 図15は、図14Bに続く説明図である。FIG. 15 is an explanatory diagram following FIG. 14B. 図16は、図15に続く説明図である。FIG. 16 is an explanatory diagram following FIG. 図17は、本発明の実施形態に係る圧縮成形装置及び圧縮成形方法において用いられる封止樹脂の例を示す斜視図である。FIG. 17 is a perspective view showing an example of a sealing resin used in the compression molding apparatus and the compression molding method according to the embodiment of the present invention. 図18は、本発明の実施形態に係る圧縮成形装置及び圧縮成形方法において用いられる封止樹脂の他の例を示す斜視図である。FIG. 18 is a perspective view showing another example of a sealing resin used in the compression molding apparatus and the compression molding method according to the embodiment of the present invention. 図19は、本発明の実施形態に係る圧縮成形装置及び圧縮成形方法において用いられる封止樹脂の他の例を示す斜視図である。FIG. 19 is a perspective view showing another example of a sealing resin used in the compression molding apparatus and the compression molding method according to the embodiment of the present invention. 図20は、本発明の実施形態に係る圧縮成形装置及び圧縮成形方法において用いられる封止樹脂の他の例を示す斜視図である。FIG. 20 is a perspective view showing another example of a sealing resin used in the compression molding apparatus and the compression molding method according to the embodiment of the present invention. 図21は、比較例に係る圧縮成形装置の例を示す平面図である。FIG. 21 is a plan view showing an example of a compression molding device according to a comparative example.

 以下、図面を参照して、本発明の実施形態について詳しく説明する。図1は、本実施形態に係る圧縮成形装置1の例を示す平面図(概略図)である。尚、説明の便宜上、図中において矢印により圧縮成形装置1における左右方向(X方向)、前後方向(Y方向)、上下方向(Z方向)を示す。また、各実施形態を説明するための全図において、同一の機能を有する部材には同一の符号を付し、その繰返しの説明は省略する場合がある。 Below, an embodiment of the present invention will be described in detail with reference to the drawings. FIG. 1 is a plan view (schematic diagram) showing an example of a compression molding device 1 according to this embodiment. For ease of explanation, arrows in the figure indicate the left-right direction (X direction), front-back direction (Y direction), and up-down direction (Z direction) in the compression molding device 1. In addition, in all the figures used to explain each embodiment, members having the same function are given the same reference numerals, and repeated explanations may be omitted.

 本実施形態に係る圧縮成形装置1は、上型204及び下型206を備える封止金型202を用いて、ワーク(被成形品)Wの樹脂封止(圧縮成形)を行う装置である。下型206に、ワークWを保持する一又は複数のワーク保持部205が設けられる。上型204に、ワークWの形状や個数に応じて一又は複数のキャビティ208が設けられる。このキャビティ208内にリリースフィルム(以下、単に「フィルム」と称する場合がある)Fが吸着保持される。但し、この構成に限定されるものではない。 The compression molding apparatus 1 according to this embodiment is an apparatus that performs resin sealing (compression molding) of a workpiece (molded product) W using a sealing mold 202 that includes an upper mold 204 and a lower mold 206. The lower mold 206 is provided with one or more workpiece holding portions 205 that hold the workpiece W. The upper mold 204 is provided with one or more cavities 208 depending on the shape and number of the workpieces W. A release film (hereinafter sometimes simply referred to as "film") F is adsorbed and held within this cavity 208. However, the apparatus is not limited to this configuration.

 先ず、封止対象であるワークWは、基材Waに電子部品Wbが搭載された構成を備えている。より具体的には、基材Waの例として、樹脂基板、セラミックス基板、金属基板、キャリアプレート、リードフレーム、ウェハ等の板状の部材が挙げられる。また、電子部品Wbの例として、半導体チップ、MEMSチップ、受動素子、放熱板、導電部材、スペーサ等が挙げられる。尚、基材Waの形状は、長方形状(短冊状)、正方形状、円形状等である。また、一つの基材Waに搭載される電子部品Wbの個数は、一つもしくは複数個(例えば、マトリクス状等)に設定される。 First, the workpiece W to be sealed has a configuration in which electronic components Wb are mounted on a substrate Wa. More specifically, examples of the substrate Wa include plate-shaped members such as resin substrates, ceramic substrates, metal substrates, carrier plates, lead frames, and wafers. Examples of the electronic components Wb include semiconductor chips, MEMS chips, passive elements, heat sinks, conductive members, spacers, and the like. The shape of the substrate Wa is rectangular (striped), square, circular, and the like. The number of electronic components Wb mounted on one substrate Wa is set to one or more (for example, in a matrix).

 基材Waに電子部品Wbを搭載する方法の例として、ワイヤーボンディング実装、フリップチップ実装等による方法が挙げられる。あるいは、樹脂封止後に成形品Wpから基材(ガラス製や金属製のキャリアプレート)Waを剥離する構成の場合には、熱剥離性を有する粘着テープや紫外線照射により硬化する紫外線硬化性樹脂を用いて電子部品Wbを貼付ける方法もある。 Examples of methods for mounting electronic components Wb on the substrate Wa include wire bonding and flip chip mounting. Alternatively, in the case of a configuration in which the substrate (glass or metal carrier plate) Wa is peeled off from the molded product Wp after resin sealing, the electronic components Wb can be attached using a thermally peelable adhesive tape or an ultraviolet-curing resin that hardens when exposed to ultraviolet light.

 本実施形態においては、封止樹脂Rとして、熱硬化性樹脂(例えば、フィラー含有のエポキシ系樹脂等であるが、これに限定されない)であって、全体の形状がワークWの形状に対応させた所定形状(詳細は後述)を有する固形樹脂が用いられる。通常は、一個で封止必要量(ワークW一個当たりの一回分)の「全体」をなすが、数個(例えば二、三個程度)の分割状態で封止必要量の「全体」をなすように構成してもよい。 In this embodiment, the sealing resin R is a solid resin that is a thermosetting resin (for example, but not limited to, an epoxy resin containing a filler) and has a predetermined overall shape (details will be described later) that corresponds to the shape of the workpiece W. Normally, one piece constitutes the "whole" amount of sealing required (one application per workpiece W), but it may be configured so that several pieces (for example, two or three pieces) are divided to constitute the "whole" amount of sealing required.

 また、フィルムFの例として、耐熱性、剥離容易性、柔軟性、伸展性に優れたフィルム材、例えば、PTFE(ポリテトラフルオロエチレン)、ETFE(ポリテトラフルオロエチレン重合体)、PET、FEP、フッ素含浸ガラスクロス、ポリプロピレン、ポリ塩化ビニリジン等が好適に用いられる。 Examples of film F that can be suitably used include film materials with excellent heat resistance, ease of peeling, flexibility, and extensibility, such as PTFE (polytetrafluoroethylene), ETFE (polytetrafluoroethylene polymer), PET, FEP, fluorine-impregnated glass cloth, polypropylene, and polyvinylidine chloride.

 続いて、本実施形態に係る圧縮成形装置1の概要について説明する。図1に示すように、圧縮成形装置1は、ワークWの供給等を行うワーク供給ユニット100A、封止樹脂Rの搬送等を行う樹脂供給ユニット100B、ワークWを樹脂封止して成形品Wpへの加工等を行うプレスユニット100C、成形品Wpの収納等を行う収納ユニット100Dを主要構成として備えている。一例として、図1中のX方向に沿って、ワーク供給ユニット100A、樹脂供給ユニット100B、プレスユニット100C、プレスユニット100C、収納ユニット100Dの順に配置されている。但し、上記の構成に限定されるものではなく、ユニット内の機器構成やユニット数(特に、プレスユニット数)、ユニットの配置順等を変更することができる。また、上記以外のユニットを備える構成とすることもできる(いずれも不図示)。 Next, an overview of the compression molding device 1 according to this embodiment will be described. As shown in FIG. 1, the compression molding device 1 mainly comprises a work supply unit 100A for supplying the work W, a resin supply unit 100B for transporting the sealing resin R, a press unit 100C for sealing the work W with resin and processing it into a molded product Wp, and a storage unit 100D for storing the molded product Wp. As an example, the work supply unit 100A, the resin supply unit 100B, the press unit 100C, the press unit 100C, and the storage unit 100D are arranged in this order along the X direction in FIG. 1. However, the above configuration is not limited to this, and the equipment configuration within the unit, the number of units (particularly the number of press units), the arrangement order of the units, etc. can be changed. In addition, a configuration including units other than those described above (not shown in the figures) is also possible.

 また、圧縮成形装置1は、各ユニットにおける各機構の作動制御等を行う制御部150がワーク供給ユニット100Aに配置されている(他のユニットに配置される構成としてもよい)。 In addition, in the compression molding device 1, a control unit 150 that controls the operation of each mechanism in each unit is located in the work supply unit 100A (it may also be configured to be located in another unit).

 また、圧縮成形装置1は、各ユニット間を跨いでガイドレール300が直線状に設けられており、ワークW及び封止樹脂Rを搬送する搬送装置(第1ローダ)302、並びに、成形品Wpを搬送する搬送装置(第2ローダ)304が、ガイドレール300に沿って所定のユニット間を移動可能に設けられている。但し、上記の構成に限定されるものではなく、ワークW、封止樹脂R、及び成形品Wpを搬送する共通の(一つの)搬送装置(ローダ)を備える構成としてもよい(不図示)。尚、本実施形態においては、ワークWをX方向に二枚並べて封止金型202内へ搬送するが、図の簡素化等のため、以下、一枚分で説明する。尚、枚数は二枚に限定されない。 In addition, the compression molding device 1 has a guide rail 300 that is linearly provided between each unit, and a transport device (first loader) 302 that transports the workpiece W and the sealing resin R, and a transport device (second loader) 304 that transports the molded product Wp are provided so as to be movable between predetermined units along the guide rail 300. However, the configuration is not limited to the above, and a configuration including a common (single) transport device (loader) that transports the workpiece W, the sealing resin R, and the molded product Wp (not shown) may also be used. In this embodiment, two workpieces W are arranged in the X direction and transported into the sealing mold 202, but the following description will be given for one workpiece to simplify the drawings. The number of workpieces is not limited to two.

 ここで、本願発明者は、ワークW及び封止樹脂Rを搬送する搬送装置の検討を行うべく、比較例に係る圧縮成形装置400を案出した(図21参照)。具体的に、圧縮成形装置400は、第1ハンド(ワークWを搬送するワークハンド)412と第2ハンド(封止樹脂Rを搬送する樹脂ハンド)422とが前後方向に並んで配置されている搬送装置402によって、ワークW及び封止樹脂Rを封止金型401内へ搬送するという構成を備えている。 The inventors of the present application have devised a comparative compression molding device 400 (see FIG. 21) in order to study a transport device for transporting the workpiece W and the sealing resin R. Specifically, the compression molding device 400 is configured to transport the workpiece W and the sealing resin R into the sealing die 401 by a transport device 402 in which a first hand (a workpiece hand for transporting the workpiece W) 412 and a second hand (a resin hand for transporting the sealing resin R) 422 are arranged side by side in the front-to-rear direction.

 しかしながら、比較例に係る圧縮成形装置400は、特許文献2記載の従来の圧縮成形装置と同様に、第1ハンドと第2ハンドとが前後方向に並んで配置されているため、搬送装置が前後方向に大型化してしまうという課題が生じる。また、封止金型に対して圧縮成形装置の前面側まで搬送装置を進入させるための装置前面にスペースを設ける必要があり、圧縮成形装置全体が大型化してしまうという課題が生じる。また、圧縮成形装置の前面から封止金型までの距離が長くなってしまい、封止金型のメンテナンス性が悪いという課題が生じる。 However, in the compression molding apparatus 400 according to the comparative example, like the conventional compression molding apparatus described in Patent Document 2, the first hand and the second hand are arranged side by side in the front-to-rear direction, which creates the problem that the conveying device becomes large in the front-to-rear direction. In addition, it is necessary to provide space in front of the apparatus to allow the conveying device to enter the front side of the compression molding apparatus relative to the sealing mold, which creates the problem that the entire compression molding apparatus becomes large. In addition, the distance from the front of the compression molding apparatus to the sealing mold becomes long, which creates the problem that the maintenance of the sealing mold is difficult.

 上記の課題を解決すべく、本実施形態に係る搬送装置(第1ローダ)302は、以下の構成を備えている。具体的に、第1ローダ302は、図1に示すように、圧縮成形装置1内をX方向に移動可能なローダ本体部302Aと、当該ローダ本体部302Aに取付けられて圧縮成形装置1内をY及びZ方向に移動可能なローダヘッド302Bと、を備えている。また、ローダヘッド302Bは、ワークWを保持するワークハンド312と、封止樹脂Rを保持する樹脂ハンド322と、を有しており、ワークハンド312及び樹脂ハンド322は、ローダヘッド302B(具体的には、支持部310)に取付けられている。本実施形態において、ワークハンド312は、樹脂ハンド322が保持する封止樹脂Rの直下の位置でワークWを保持するように配置されている。 In order to solve the above problems, the conveying device (first loader) 302 according to this embodiment has the following configuration. Specifically, as shown in FIG. 1, the first loader 302 has a loader body 302A that can move in the X direction within the compression molding device 1, and a loader head 302B that is attached to the loader body 302A and can move in the Y and Z directions within the compression molding device 1. The loader head 302B has a work hand 312 that holds the workpiece W and a resin hand 322 that holds the sealing resin R, and the work hand 312 and the resin hand 322 are attached to the loader head 302B (specifically, the support part 310). In this embodiment, the work hand 312 is arranged to hold the workpiece W at a position directly below the sealing resin R held by the resin hand 322.

 これにより、本実施形態に係る圧縮成形装置1は、上記の課題を解決することができる。具体的に、本実施形態に係る圧縮成形装置1は、ローダヘッド302BにおいてワークW及び封止樹脂Rを上下方向に階層状に保持することができる。この構成によれば、搬送装置(第1ローダ)302の前後方向の寸法を抑えることができる。従って、圧縮成形装置1をコンパクト化することができる。また、圧縮成形装置1の前面から封止金型202までの距離が短縮されるため、封止金型202のメンテナンス性を向上することができる。 As a result, the compression molding apparatus 1 according to this embodiment is able to solve the above problems. Specifically, the compression molding apparatus 1 according to this embodiment is able to hold the workpiece W and sealing resin R in a vertically hierarchical manner in the loader head 302B. With this configuration, the front-to-rear dimension of the conveying device (first loader) 302 can be reduced. Therefore, the compression molding apparatus 1 can be made more compact. In addition, the distance from the front of the compression molding apparatus 1 to the sealing mold 202 is shortened, improving the maintainability of the sealing mold 202.

 本実施形態において、ワークハンド312は、ワークWを把持する第1保持部(一例として、先端部に保持爪を有するチャック)314と、当該チャック314をX方向に開閉移動させる駆動を行う第1移動装置316と、を有している(図4参照)。第1移動装置316は、チャック314を支持するチャック支持部318に設けられている。この構成により、ワークハンド312は、ワークWの下面もしくは側面を把持してワークWを保持することができる。但し、この構成に限定されるものではなく、チャック314を回転移動させる回動軸を備える構成、あるいは水平移動と回転移動とを組合せて移動させる構成等としてもよい(いずれも不図示)。 In this embodiment, the work hand 312 has a first holding portion (as an example, a chuck having holding claws at its tip) 314 that holds the work W, and a first moving device 316 that drives the chuck 314 to open and close in the X direction (see FIG. 4). The first moving device 316 is provided on a chuck support portion 318 that supports the chuck 314. With this configuration, the work hand 312 can hold the work W by gripping the bottom or side of the work W. However, this is not limited to this configuration, and the chuck 314 may be configured to include a rotating shaft that rotates the chuck 314, or may be configured to move the chuck 314 by combining horizontal and rotational movements (neither of which are shown).

 また、樹脂ハンド322は、封止樹脂Rの上面を吸着することにより封止樹脂Rを保持する第2保持部(吸着機構(吸引装置に連通する吸引孔を有して吸着する構成))324と、当該吸着機構324を上下(Z方向)に移動させる駆動を行う第2移動装置326と、を有している。第2移動装置326は、シリンダ機構を備えて構成され、ロッド先端に取付けられるアーム支持部327及び当該アーム支持部327に支持されるアーム328を介して吸着機構324と接続されている。この構成により、樹脂ハンド322は、吸着機構324における封止樹脂Rの保持位置をワークハンド312のチャック314におけるワークWの保持位置に対して相対的に上方及び下方へ移動することができる。これによれば、吸着機構324によって保持された封止樹脂Rをワーク保持部205に載置されたワークW(基材Wa)に当接させた状態で載置することができるため、封止樹脂Rの位置ずれを防止することができる。但し、第2移動装置326は、この構成に限定されるものではなく、サーボモータとリニアガイド等の組み合わせで吸着機構324を上下移動させる構成等としてもよい(不図示)。 The resin hand 322 also has a second holding section (suction mechanism (configuration for suction having a suction hole communicating with a suction device)) 324 that holds the sealing resin R by suctioning the upper surface of the sealing resin R, and a second moving device 326 that drives the suction mechanism 324 to move up and down (Z direction). The second moving device 326 is configured with a cylinder mechanism, and is connected to the suction mechanism 324 via an arm support section 327 attached to the tip of the rod and an arm 328 supported by the arm support section 327. With this configuration, the resin hand 322 can move the holding position of the sealing resin R in the suction mechanism 324 upward and downward relative to the holding position of the workpiece W in the chuck 314 of the work hand 312. As a result, the sealing resin R held by the suction mechanism 324 can be placed in contact with the workpiece W (substrate Wa) placed on the work holding section 205, thereby preventing the sealing resin R from shifting out of position. However, the second moving device 326 is not limited to this configuration, and may be configured to move the suction mechanism 324 up and down using a combination of a servo motor and a linear guide, etc. (not shown).

 尚、ワークハンド312の第1保持部を吸着機構とし、樹脂ハンド322の第2保持部をチャックとしてもよい。また、共にチャックもしくは吸着機構としてもよい。また、本実施形態においては、樹脂ハンド322の第2保持部324を、アーム328を用いて第1保持部314の外側に配置して、さらに第2移動装置326で上下動する構成としているが、チャック支持部318の中央部に貫通孔を設けて第2保持部324に直接第2移動装置326を設けてもよい。また、他の公知の保持機構を採用してもよい(いずれも不図示)。 The first holding portion of the work hand 312 may be an adsorption mechanism, and the second holding portion of the resin hand 322 may be a chuck. Both may also be chucks or adsorption mechanisms. In this embodiment, the second holding portion 324 of the resin hand 322 is arranged on the outside of the first holding portion 314 using an arm 328, and is further moved up and down by the second moving device 326, but a through hole may be provided in the center of the chuck support portion 318, and the second moving device 326 may be provided directly on the second holding portion 324. Other known holding mechanisms may also be employed (not shown).

 また、ローダヘッド302Bを上下(Z方向)に移動してワークW及び封止樹脂Rを搬送する圧縮成形装置1を例に上げたが、チャック314を上下(Z方向)に移動してワークW及び封止樹脂Rを搬送する構成としてもよく、あるいは、その両方を備える構成としてもよい。 In addition, the compression molding device 1 has been given as an example in which the loader head 302B moves up and down (Z direction) to transport the workpiece W and sealing resin R, but the device may also be configured to move the chuck 314 up and down (Z direction) to transport the workpiece W and sealing resin R, or may be configured to have both.

 (ワーク供給ユニット)
 続いて、圧縮成形装置1が備えるワーク供給ユニット100Aについて詳しく説明する。
(Work supply unit)
Next, the workpiece supply unit 100A provided in the compression molding apparatus 1 will be described in detail.

 ワーク供給ユニット100Aは、複数のワークWが収納されるワーク供給マガジン102を備えている。ここで、ワーク供給マガジン102には、公知のスタックマガジン、スリットマガジン等が用いられる。また、ワーク供給ユニット100Aは、ワーク供給マガジン102からワークWを第1ローダ302に受け渡すワークテーブル103を備えている。 The work supply unit 100A is equipped with a work supply magazine 102 in which a plurality of workpieces W are stored. Here, the work supply magazine 102 may be a known stack magazine, slit magazine, or the like. The work supply unit 100A also has a work table 103 that transfers the workpieces W from the work supply magazine 102 to the first loader 302.

 尚、ワーク供給ユニット100Aは、ワーク供給マガジン102から取出されたワークWが載置されるワークステージ等(不図示)を備える構成としてもよい。 The work supply unit 100A may also be configured to include a work stage (not shown) on which the work W removed from the work supply magazine 102 is placed.

 ワークWは、事前に樹脂供給ユニット100B(後述)において封止樹脂Rを樹脂ハンド322に保持した状態の第1ローダ302のワークハンド312に保持され、プレスユニット100Cへ搬送されて封止金型202の所定位置にセットされる。本実施形態においては、ワークWは、下型206のワーク保持部205に載置され、封止樹脂Rは、ワーク保持部205に載置されたワークWの上に載置される(工程の詳細については後述する)。 The workpiece W is held in advance by the workpiece hand 312 of the first loader 302 in the resin supply unit 100B (described later) with the sealing resin R held by the resin hand 322, and is transported to the press unit 100C and set at a predetermined position in the sealing mold 202. In this embodiment, the workpiece W is placed on the workpiece holding portion 205 of the lower mold 206, and the sealing resin R is placed on top of the workpiece W placed on the workpiece holding portion 205 (details of the process will be described later).

(樹脂供給ユニット)
 続いて、圧縮成形装置1が備える樹脂供給ユニット100Bについて詳しく説明する。
(Resin supply unit)
Next, the resin supplying unit 100B included in the compression molding apparatus 1 will be described in detail.

 樹脂供給ユニット100Bは、封止樹脂Rの供給を行う樹脂供給マガジン120を備えている。ここで、樹脂供給マガジン120には、公知のスタックマガジン、スリットマガジン等が用いられる。また、樹脂供給ユニット100Bは、樹脂供給マガジン120から封止樹脂Rを第1ローダ302に受け渡す樹脂テーブル121を備えている。 The resin supply unit 100B includes a resin supply magazine 120 that supplies the sealing resin R. Here, a known stack magazine, slit magazine, or the like is used as the resin supply magazine 120. The resin supply unit 100B also includes a resin table 121 that transfers the sealing resin R from the resin supply magazine 120 to the first loader 302.

 尚、樹脂供給ユニット100Bは、樹脂供給マガジン120から取出された封止樹脂Rが載置される樹脂ステージ等(不図示)を備える構成としてもよい。 The resin supply unit 100B may also be configured to include a resin stage (not shown) on which the sealing resin R taken out from the resin supply magazine 120 is placed.

 封止樹脂Rは、第1ローダ302の樹脂ハンド322に保持され、ワーク供給ユニット100Aを経由してプレスユニット100Cへ搬送される。本実施形態においては、左端からワーク供給ユニット100A、樹脂供給ユニット100Bの順に配置しているが、必ずしもこの順に配置する必要はなく、左端から樹脂供給ユニット100B、ワーク供給ユニット100Aの順でもよい。 The sealing resin R is held by the resin hand 322 of the first loader 302 and transported to the press unit 100C via the work supply unit 100A. In this embodiment, the work supply unit 100A is arranged in this order from the left end, followed by the resin supply unit 100B, but this order is not necessary and may be followed by the resin supply unit 100B, followed by the work supply unit 100A from the left end.

 (プレスユニット)
 続いて、圧縮成形装置1が備えるプレスユニット100Cについて詳しく説明する。
(Press unit)
Next, the press unit 100C included in the compression molding apparatus 1 will be described in detail.

 プレスユニット100Cは、開閉される一対の金型(例えば、合金工具鋼からなる複数の金型ブロック、金型プレート、金型ピラー等やその他の部材が組み付けられたもの)を有する封止金型202を備えている。また、封止金型202を開閉駆動してワークWを樹脂封止するプレス装置250を備えている。一例として、プレス装置250を一台備える構成としているが、複数台備える構成としてもよい(不図示)。プレスユニット100Cに設けられるプレス装置250の側面図(概略図)を図2に示し、封止金型202の正面断面図(概略図)を図3に示す。 The press unit 100C is equipped with a sealing die 202 having a pair of dies (for example, a combination of multiple die blocks, die plates, die pillars, etc., made of alloy tool steel, and other components) that can be opened and closed. It also has a press device 250 that opens and closes the sealing die 202 to resin seal the workpiece W. As an example, a configuration is shown that includes one press device 250, but a configuration that includes multiple press devices (not shown) may also be used. A side view (schematic diagram) of the press device 250 provided in the press unit 100C is shown in FIG. 2, and a front cross-sectional view (schematic diagram) of the sealing die 202 is shown in FIG. 3.

 ここで、プレス装置250は、図2に示すように、一対のプラテン254、256と、一対のプラテン254、256が架設される複数のタイバー252と、プラテン256を可動(昇降)させる駆動装置等を備えて構成されている。具体的に、当該駆動装置は、駆動源(例えば、電動モータ)260及び駆動伝達機構(例えば、ボールねじやトグルリンク機構)262等を備えて構成されている(但し、これに限定されるものではない)。本実施形態では、鉛直方向において上方側のプラテン254を固定プラテン(タイバー252に固定されるプラテン)とし、下方側のプラテン256を可動プラテン(タイバー252に摺動可能に保持されて昇降するプラテン)として設定している。但し、これに限定されるものではなく、上下逆に、すなわち上方側を可動プラテン、下方側を固定プラテンに設定してもよく、あるいは、上方側、下方側共に可動プラテンとして設定してもよい(いずれも不図示)。 Here, as shown in FIG. 2, the press device 250 is configured to include a pair of platens 254, 256, a plurality of tie bars 252 on which the pair of platens 254, 256 are supported, and a drive device for moving (raising and lowering) the platen 256. Specifically, the drive device is configured to include a drive source (e.g., an electric motor) 260 and a drive transmission mechanism (e.g., a ball screw or a toggle link mechanism) 262 (however, this is not limited to this). In this embodiment, the upper platen 254 in the vertical direction is set as a fixed platen (a platen fixed to the tie bars 252), and the lower platen 256 is set as a movable platen (a platen slidably held by the tie bars 252 and raised and lowered). However, this is not limited to this, and the platens may be set upside down, i.e., the upper side may be set as a movable platen and the lower side as a fixed platen, or both the upper and lower sides may be set as movable platens (neither is shown).

 一方、封止金型202は、図3に示すように、プレス装置250における上記一対のプラテン254、256間に配設される一対の金型として、鉛直方向における上方側の上型204と、下方側の下型206とを備えている。すなわち、上型204が上方側のプラテン(本実施形態では、固定プラテン254)に組み付けられ、下型206が下方側のプラテン(本実施形態では、可動プラテン256)に組み付けられている。この上型204と下型206とが相互に接近・離反することで型閉じ・型開きが行われる(鉛直方向(上下方向)が型開閉方向となる)。 On the other hand, as shown in FIG. 3, the sealing mold 202 is provided with an upper mold 204 on the upper side in the vertical direction and a lower mold 206 on the lower side as a pair of molds arranged between the pair of platens 254, 256 in the press device 250. That is, the upper mold 204 is assembled to the upper platen (in this embodiment, the fixed platen 254), and the lower mold 206 is assembled to the lower platen (in this embodiment, the movable platen 256). The upper mold 204 and the lower mold 206 move toward and away from each other to close and open the mold (the vertical direction (up and down direction) is the mold opening and closing direction).

 また、本実施形態においては、一例として、ロール状のフィルムFを封止金型202の内部へ搬送(供給)するフィルム供給機構211が設けられている。尚、フィルムFは、ワークWの構成に応じ、ロール状に代えて短冊状のものが用いられる場合がある。 In addition, in this embodiment, as an example, a film supply mechanism 211 is provided that transports (supplies) a roll-shaped film F into the interior of the sealing die 202. Note that, depending on the configuration of the workpiece W, a strip-shaped film F may be used instead of a roll-shaped film F.

 次に、封止金型202の上型204について詳しく説明する。図3に示すように、上型204は、上型チェイス210と、これに保持されるキャビティ駒226、クランパ228等を備えている。上型チェイス210は、サポートピラー212を介してサポートプレート214の下面に対して固定されている。上型204の下面(下型206側の面)にキャビティ208が設けられている。 Next, the upper mold 204 of the sealing mold 202 will be described in detail. As shown in FIG. 3, the upper mold 204 includes an upper mold chase 210, a cavity piece 226 held by the upper mold chase, a clamper 228, and the like. The upper mold chase 210 is fixed to the lower surface of a support plate 214 via a support pillar 212. A cavity 208 is provided on the lower surface of the upper mold 204 (the surface facing the lower mold 206).

 クランパ228は、キャビティ駒226を囲うように環状に構成されると共に、押動ピン222及びクランパバネ(例えば、コイルバネに例示される付勢部材)224を介して、サポートプレート214の下面に対して離間(フローティング)して上下動可能に組み付けられる(但し、この組み付け構造に限定されるものではない)。このキャビティ駒226がキャビティ208の奥部(底部)を構成し、クランパ228がキャビティ208の側部を構成する。尚、一つの上型204に設けられるキャビティ208の形状や個数は、ワークWの形状や個数に応じて適宜設定される(一つもしくは複数個)。 The clamper 228 is configured in a ring shape to surround the cavity piece 226, and is assembled to the underside of the support plate 214 via a push pin 222 and a clamper spring (a biasing member such as a coil spring) 224 so as to be spaced apart (floating) from the bottom surface of the support plate 214 and movable up and down (however, this assembly structure is not limited). The cavity piece 226 forms the inner part (bottom part) of the cavity 208, and the clamper 228 forms the side part of the cavity 208. The shape and number of cavities 208 provided in one upper mold 204 are appropriately set according to the shape and number of workpieces W (one or multiple).

 また、クランパ228下面やクランパ228とキャビティ駒226との境界部等に、吸引装置に連通する吸引路(孔や溝等)が設けられている(不図示)。これにより、フィルム供給機構211から供給されたフィルムFを、キャビティ208の内面を含む金型面204aに吸着させて保持することができる。また、型閉じをして樹脂封止を行う際にキャビティ208内の脱気を行うことができる。 In addition, suction paths (holes, grooves, etc.) that communicate with a suction device are provided on the underside of the clamper 228 and at the boundary between the clamper 228 and the cavity piece 226 (not shown). This allows the film F supplied from the film supply mechanism 211 to be adsorbed and held on the mold surface 204a, including the inner surface of the cavity 208. In addition, the cavity 208 can be degassed when the mold is closed and resin sealing is performed.

 また、本実施形態においては、上型204を所定温度に加熱する上型加熱機構(不図示)が設けられている。この上型加熱機構は、ヒータ(例えば、電熱線ヒータ)、温度センサ、電源等を備えており、制御部150によって加熱の制御が行われる。一例として、ヒータは、上型チェイス210に内蔵され、上型204全体及びキャビティ208内に収容される封止樹脂Rに熱を加える構成となっている。当該ヒータによって、上型204が所定温度(例えば、100℃~300℃)となるように加熱される。 In addition, in this embodiment, an upper die heating mechanism (not shown) is provided that heats the upper die 204 to a predetermined temperature. This upper die heating mechanism includes a heater (e.g., an electric wire heater), a temperature sensor, a power source, etc., and heating is controlled by the control unit 150. As an example, the heater is built into the upper die chase 210 and is configured to apply heat to the entire upper die 204 and the sealing resin R contained in the cavity 208. The heater heats the upper die 204 to a predetermined temperature (e.g., 100°C to 300°C).

 次に、封止金型202の下型206について詳しく説明する。図3に示すように、下型206は、下型チェイス240と、これに保持される下プレート242等を備えている。 Next, the lower die 206 of the sealing mold 202 will be described in detail. As shown in FIG. 3, the lower die 206 includes a lower die chase 240 and a lower plate 242 held by the chase.

 また、本実施形態においては、ワークWを下プレート242の上面における所定位置に保持するワーク保持部205が設けられている。このワーク保持部205は、一例として、ワークガイドピン(不図示)、及び下プレート242を貫通して配設され、吸引装置に連通する吸引路(孔や溝等)を有している(不図示)。具体的には、吸引路の一端が下型206の金型面206aに通じ、他端が下型206外に配設される吸引装置と接続される。これにより、吸引装置を駆動させて吸引路からワークWを吸引し、金型面206a(ここでは、下プレート242の上面)にワークWを吸着させて保持することが可能となる。上記の吸着保持機構に代えて、もしくは吸着保持機構と共に、ワークWの外周を挟持する保持爪を備える構成としてもよい(不図示)。尚、一つの下型206に設けられるワーク保持部205の形状や個数は、ワークWの形状や個数に応じて適宜設定される(一つもしくは複数個)。 In this embodiment, a workpiece holding section 205 is provided to hold the workpiece W at a predetermined position on the upper surface of the lower plate 242. As an example, the workpiece holding section 205 has a workpiece guide pin (not shown) and a suction passage (hole, groove, etc.) that is arranged to penetrate the lower plate 242 and communicates with a suction device (not shown). Specifically, one end of the suction passage is connected to the die surface 206a of the lower die 206, and the other end is connected to a suction device arranged outside the lower die 206. This makes it possible to drive the suction device to suck the workpiece W through the suction passage and hold the workpiece W by suction on the die surface 206a (here, the upper surface of the lower plate 242). Instead of the above-mentioned suction holding mechanism, or together with the suction holding mechanism, a configuration may be provided with holding claws that clamp the outer periphery of the workpiece W (not shown). The shape and number of the workpiece holding sections 205 provided on one lower die 206 are appropriately set according to the shape and number of the workpieces W (one or multiple).

 また、本実施形態においては、下型206を所定温度に加熱する下型加熱機構(不図示)が設けられている。この下型加熱機構は、ヒータ(例えば、電熱線ヒータ)、温度センサ、電源等を備えており、制御部150によって加熱の制御が行われる。一例として、ヒータは、下型チェイス240に内蔵され、下型206全体及びワーク保持部205に保持されるワークWに熱を加える構成となっている。当該ヒータによって、下型206が所定温度(例えば、100℃~300℃)となるように加熱される。 In addition, in this embodiment, a lower die heating mechanism (not shown) is provided that heats the lower die 206 to a predetermined temperature. This lower die heating mechanism includes a heater (e.g., an electric wire heater), a temperature sensor, a power source, etc., and heating is controlled by the control unit 150. As an example, the heater is built into the lower die chase 240 and is configured to apply heat to the entire lower die 206 and the workpiece W held by the workpiece holding unit 205. The heater heats the lower die 206 to a predetermined temperature (e.g., 100°C to 300°C).

(収納ユニット)
 続いて、圧縮成形装置1が備える収納ユニット100Dについて詳しく説明する。
(Storage unit)
Next, the storage unit 100D included in the compression molding apparatus 1 will be described in detail.

 成形品Wpは、第2ローダ304に保持されて封止金型202から搬出され、収納ユニット100Dへ搬送される。尚、第2ローダ304における成形品Wpの保持機構には、公知の保持機構(例えば、保持爪を有して挟持する構成、吸引装置に連通する吸引孔を有して吸着する構成、等)が用いられる(不図示)。 The molded product Wp is held by the second loader 304, removed from the sealing mold 202, and transported to the storage unit 100D. The second loader 304 uses a known holding mechanism for the molded product Wp (e.g., a clamping mechanism with holding claws, a suction hole that communicates with a suction device and a suction mechanism, etc.) (not shown).

 上記搬送装置の変形例として、X及びY方向に移動する第2ローダ304に代えて、X方向に移動してユニット間の搬送を行う搬送装置(ローダ)と、Y方向に移動して封止金型202からの搬出を行う搬送装置(ローダ)とを別個に備える構成としてもよい(不図示)。 As a variation of the above-mentioned transport device, instead of the second loader 304 that moves in the X and Y directions, a configuration may be provided in which a transport device (loader) that moves in the X direction to transport between units and a transport device (loader) that moves in the Y direction to unload from the sealing mold 202 are provided separately (not shown).

 収納ユニット100Dは、複数の成形品Wpが収納される収納マガジン104を備えている。ここで、収納マガジン104には、公知のスタックマガジン、スリットマガジン等が用いられる。尚、第2ローダ304によって搬送された成形品Wpを一旦載置する成形品テーブル105(整列部)を備えているが、省略した構成とすることもできる。 The storage unit 100D is equipped with a storage magazine 104 in which multiple molded products Wp are stored. Here, a known stack magazine, slit magazine, or the like is used as the storage magazine 104. It is also equipped with a molded product table 105 (alignment section) on which the molded products Wp transported by the second loader 304 are temporarily placed, but this can be omitted in the configuration.

 尚、収納ユニット100Dは、プレスユニット100Cから搬送された成形品Wpが載置される成形品ステージ等(不図示)を備える構成としてもよい。 The storage unit 100D may also be configured to include a molded product stage (not shown) on which the molded product Wp transported from the press unit 100C is placed.

(樹脂封止動作)
 続いて、上記圧縮成形装置1を用いて実施される本実施形態に係る圧縮成形方法の工程について説明する。ここで、図4~図16は、各工程の説明図であって、図3と同方向の正面断面図として図示する。
(Resin sealing operation)
Next, there will be described steps of the compression molding method according to the present embodiment, which is carried out using the compression molding apparatus 1. Here, Fig. 4 to Fig. 16 are explanatory views of each step, and are illustrated as front cross-sectional views in the same direction as Fig. 3.

 先ず、準備工程として、上型加熱機構により上型204を所定温度(例えば、100℃~300℃)に調整して加熱する加熱工程(上型加熱工程)を実施する。また、下型加熱機構により下型206を所定温度(例えば、100℃~300℃)に調整して加熱する加熱工程(下型加熱工程)を実施する。また、フィルム供給機構211を作動させて新しいフィルムFを供給して、上型204におけるキャビティ208の内面を含む金型面204aの所定領域を覆うように吸着させるフィルム供給工程(上型フィルム供給工程)を実施する。 First, as a preparation process, a heating process (upper mold heating process) is carried out in which the upper mold heating mechanism adjusts and heats the upper mold 204 to a predetermined temperature (e.g., 100°C to 300°C). In addition, a heating process (lower mold heating process) is carried out in which the lower mold heating mechanism adjusts and heats the lower mold 206 to a predetermined temperature (e.g., 100°C to 300°C). In addition, a film supply process (upper mold film supply process) is carried out in which the film supply mechanism 211 is operated to supply new film F and adsorb it to cover a predetermined area of the mold surface 204a, including the inner surface of the cavity 208 in the upper mold 204.

 次いで、第1ローダ302の樹脂ハンド322に封止樹脂Rを保持する樹脂保持工程を実施する。具体的には、第1ローダ302を樹脂供給ユニット100Bへ移動し、ローダヘッド302Bを樹脂供給マガジン120から供給された封止樹脂Rが載置された樹脂テーブル121の上方へ移動する(図4参照)。次いで、ローダヘッド302Bを下降し、第2移動装置326を作動(下動)させて吸着機構324を封止樹脂Rの上面に当接するまで下降し、封止樹脂Rを保持(吸着)する(図5参照)。次いで、第2移動装置326を作動(上動)させて吸着機構324を上昇し、ローダヘッド302Bを上昇する(図6参照)。 Next, a resin holding process is performed in which the sealing resin R is held by the resin hand 322 of the first loader 302. Specifically, the first loader 302 is moved to the resin supply unit 100B, and the loader head 302B is moved above the resin table 121 on which the sealing resin R supplied from the resin supply magazine 120 is placed (see FIG. 4). Next, the loader head 302B is lowered, and the second moving device 326 is operated (moved downward) to lower the suction mechanism 324 until it abuts against the upper surface of the sealing resin R, thereby holding (adsorbing) the sealing resin R (see FIG. 5). Next, the second moving device 326 is operated (moved upward) to raise the suction mechanism 324, and the loader head 302B is raised (see FIG. 6).

 樹脂保持工程の後に、第1ローダ302のワークハンド312にワークWを保持するワーク保持工程を実施する。具体的には、封止樹脂Rを樹脂ハンド322に保持した状態の第1ローダ302をワーク供給ユニット100Aへ移動し、ローダヘッド302Bをワーク供給マガジン102から供給されたワークWが載置されたワークテーブル103の上方へ移動する(図7参照)。次いで、ローダヘッド302Bを下降し、第1移動装置316を作動させてチャック314をワークWに接近させ、ワークWを封止樹脂Rの直下の位置で保持(把持)する(図8参照)。次いで、ローダヘッド302Bを上昇する(図9参照)。 After the resin holding process, a work holding process is performed in which the work W is held by the work hand 312 of the first loader 302. Specifically, the first loader 302, with the sealing resin R held by the resin hand 322, is moved to the work supply unit 100A, and the loader head 302B is moved above the work table 103 on which the work W supplied from the work supply magazine 102 is placed (see FIG. 7). Next, the loader head 302B is lowered, and the first moving device 316 is operated to bring the chuck 314 close to the work W, and the work W is held (gripped) at a position directly below the sealing resin R (see FIG. 8). Next, the loader head 302B is raised (see FIG. 9).

 ワーク保持工程の後に、下型206のワーク保持部205にワークWを載置するワーク載置工程を実施する。具体的には、ワークW及び封止樹脂Rを保持した状態の第1ローダ302をプレスユニット100Cへ移動し、ローダヘッド302Bを下型206のワーク保持部205の上方へ移動する(図10参照)。次いで、ローダヘッド302Bを下降し、第1移動装置316を作動させてチャック314をワークWから離反させ、ワーク保持部205にワークWを載置(保持)する(図11参照)。 After the work holding process, a work placing process is carried out in which the work W is placed on the work holding portion 205 of the lower die 206. Specifically, the first loader 302 holding the work W and the sealing resin R is moved to the press unit 100C, and the loader head 302B is moved above the work holding portion 205 of the lower die 206 (see FIG. 10). Next, the loader head 302B is lowered, and the first moving device 316 is operated to move the chuck 314 away from the work W, and the work W is placed (held) on the work holding portion 205 (see FIG. 11).

 ワーク載置工程の後に、ワーク保持部205に載置したワークWの上に封止樹脂Rを載置する樹脂載置工程を実施する。具体的には、第2移動装置326を作動させて吸着機構324を下降し、封止樹脂Rの吸着を解除して、ワーク保持部205に載置されたワークWの上に封止樹脂Rを載置する(図12参照)。次いで、第2移動装置326を作動させて吸着機構324を上昇し、ローダヘッド302Bを上昇し、その後ローダヘッド302Bを封止金型202外へ移動する(図13参照)。 After the workpiece placement process, a resin placement process is carried out in which the sealing resin R is placed on the workpiece W placed on the workpiece holding section 205. Specifically, the second moving device 326 is operated to lower the suction mechanism 324, the suction of the sealing resin R is released, and the sealing resin R is placed on the workpiece W placed on the workpiece holding section 205 (see FIG. 12). Next, the second moving device 326 is operated to raise the suction mechanism 324 and raise the loader head 302B, and then the loader head 302B is moved outside the sealing mold 202 (see FIG. 13).

 前述の通り、従来の圧縮成形方法においては、第1ハンドと第2ハンドとが前後方向に並んで配置されているため、ワークを載置する工程で封止金型に対して装置の前面側まで搬送装置を進入させる必要があった。これに対して、本実施形態においては、ワーク載置工程でワーク保持部205までローダヘッド302Bを進入させればよく、ローダヘッド302Bの移動距離を短縮することができる。従って、マシンタイムの短縮及び生産性の向上が可能となる。 As mentioned above, in conventional compression molding methods, the first hand and second hand are arranged side by side in the front-to-rear direction, and therefore it was necessary to advance the conveying device up to the front side of the device relative to the sealing mold during the workpiece placement process. In contrast, in this embodiment, it is sufficient to advance the loader head 302B up to the workpiece holding section 205 during the workpiece placement process, and the travel distance of the loader head 302B can be shortened. This makes it possible to shorten machine time and improve productivity.

 樹脂載置工程の後に、ワークWを封止樹脂Rにより封止して成形品Wpに加工する樹脂封止工程を実施する。具体的に、封止金型202の型閉じを行い、キャビティ208内でキャビティ駒226を相対的に下降させて、ワークWに対して封止樹脂Rを加熱加圧する型閉じ工程を実施する。これにより、封止樹脂Rが熱硬化して樹脂封止(圧縮成形)が完了する(図15参照)。 After the resin placement process, a resin sealing process is carried out in which the workpiece W is sealed with sealing resin R and processed into a molded product Wp. Specifically, the sealing mold 202 is closed, and the cavity piece 226 is lowered relatively within the cavity 208 to carry out a mold closing process in which the sealing resin R is heated and pressurized against the workpiece W. This causes the sealing resin R to thermally harden, completing the resin sealing (compression molding) (see FIG. 15).

 ここで、例えば、ストリップタイプのワイヤー接続された電子部品(半導体チップ)Wbが搭載されたワークW等に対して、上型にキャビティが設けられる従来の圧縮成形装置では、型閉じ工程の実施時に、下型に保持されるワークのワイヤー部分が予めキャビティに搬送した封止樹脂又はワーク上に搬送した封止樹脂と接触して変形してしまうため、樹脂封止が困難であるという課題があった。 Here, for example, in a conventional compression molding device in which a cavity is provided in the upper die for a workpiece W on which a strip-type wire-connected electronic component (semiconductor chip) Wb is mounted, there is a problem that resin sealing is difficult to perform when the wire portion of the workpiece held in the lower die comes into contact with the sealing resin previously transferred to the cavity or transferred onto the workpiece during the mold closing process and becomes deformed.

 上記の課題に対して、本実施形態に係る圧縮成形装置1は、封止樹脂RとしてワークWの形状に対応させた所定形状に形成された固形樹脂を用いる構成を採用することにより、その解決を可能としている。 The compression molding device 1 according to this embodiment is able to solve the above problem by adopting a configuration in which a solid resin formed into a predetermined shape corresponding to the shape of the workpiece W is used as the sealing resin R.

 具体的に、上記「所定形状」は、ワークWの基材Wa上に載置されたときに電子部品Wb(ワイヤーを有する電子部品Wbは、ワイヤーを含む)に当接しない形状である。一例として、図14A及び図14Bに示すように、板状もしくはブロック状の本体部Raと、本体部Raの一方の面(ワークWの電子部品Wbと対向する側の面)に断続的(もしくは連続的)に立設された脚部Rbと、が設けられた形状の封止樹脂Rが好適である(但し、この形状に限定されるものではない)。本体部Raは、平面視でキャビティ208内に入る大きさであり、樹脂流動を考慮すると、キャビティ208の形状(特に、キャビティ駒226)より少し小さい大きさが好適である。また、脚部Rbは、電子部品Wbに当接しない高さH(図14A参照)が必要ではあるが、ワイヤーが塑性変形しない程度の接触を除外するものではない。また、脚部Rbは、本体部Raの平面視で電子部品Wbに当接しない位置で、ワークWの基材Wa上に載置されたときに本体部Raが傾かない位置に配置されている。さらに、成形時にワークWの配線(特に、ワイヤー)を少しでも損傷させないように電子部品Wb間又は電子部品Wbの外周位置に配置される構成が好適である。尚、板状もしくはブロック状の本体部Raと、脚部Rbの合計樹脂量は、一回の圧縮成形に不足しない程度に、過不足の無い樹脂量であってもよいし、多くの樹脂量であってもよい。封止樹脂Rの具体的な構成例(図17~図20)の詳細については後述する。 Specifically, the above-mentioned "predetermined shape" is a shape that does not come into contact with the electronic component Wb (including the wire in the case of the electronic component Wb having a wire) when placed on the substrate Wa of the work W. As an example, as shown in FIG. 14A and FIG. 14B, a sealing resin R having a shape in which a plate-shaped or block-shaped main body Ra and legs Rb arranged intermittently (or continuously) on one side of the main body Ra (the side facing the electronic component Wb of the work W) are provided is preferred (however, this shape is not limited). The main body Ra is of a size that fits into the cavity 208 in a plan view, and considering the resin flow, a size that is slightly smaller than the shape of the cavity 208 (particularly the cavity piece 226) is preferred. In addition, the legs Rb need to have a height H (see FIG. 14A) that does not come into contact with the electronic component Wb, but this does not exclude contact to the extent that the wire does not undergo plastic deformation. The legs Rb are arranged at a position where they do not come into contact with the electronic components Wb in a plan view of the main body Ra, and where the main body Ra will not tilt when placed on the substrate Wa of the work W. Furthermore, it is preferable that the legs Rb are arranged between the electronic components Wb or on the outer periphery of the electronic components Wb so as not to damage the wiring (particularly the wires) of the work W even slightly during molding. The total amount of resin in the plate-shaped or block-shaped main body Ra and the legs Rb may be just the right amount of resin, or may be a large amount of resin, so long as it is sufficient for one compression molding. Details of specific configuration examples of the sealing resin R (Figures 17 to 20) will be described later.

 上記の構成によれば、型閉じ工程の実施過程において、図14Aから図14Bに移行するように、封止樹脂Rの軟化及び溶融が進む(尚、図14A、図14Bは図13におけるXIV部の拡大図として示す)。このとき、全てのワイヤーに均一に樹脂(具体的には、本体部Ra)が当接する状態となる(図14B参照)。その結果、ワイヤー流れが抑制される効果が得られる。 With the above configuration, during the mold closing process, the softening and melting of the sealing resin R progresses, transitioning from FIG. 14A to FIG. 14B (note that FIG. 14A and FIG. 14B are shown as enlarged views of part XIV in FIG. 13). At this time, the resin (specifically, the main body part Ra) comes into uniform contact with all the wires (see FIG. 14B). As a result, the effect of suppressing wire flow is obtained.

 本願発明者が、実際に本実施形態に係る圧縮成形装置1を用いて実験を行ったところ、上型にワークが保持され、下型にキャビティが設けられ、当該キャビティに封止樹脂(具体的には、顆粒樹脂)が供給される方式の従来の圧縮成形装置と比較して、ワイヤー流れが抑制され、成形品質が向上する結果が確認できた。 The inventors of the present application actually conducted experiments using the compression molding device 1 according to this embodiment, and confirmed that wire flow was suppressed and molding quality was improved compared to a conventional compression molding device in which a workpiece is held in the upper die, a cavity is provided in the lower die, and sealing resin (specifically, granular resin) is supplied to the cavity.

 さらに、封止樹脂Rが固形樹脂であることによって、従来のように、顆粒樹脂に起因する撒きムラ、残留気体、成形時の粉塵が発生するという課題や、ハンドリングが難しいという課題の解決を図ることもできる。また、厚さ寸法が1mmを超えるような厚い成形品を形成する場合にも、成形品WpへのフィルムFの噛み込みを防止することができる。 Furthermore, because the sealing resin R is a solid resin, it is possible to solve the problems that were previously caused by granular resin, such as uneven distribution, residual gas, and dust generation during molding, as well as the difficulty of handling. In addition, even when forming a thick molded product with a thickness exceeding 1 mm, it is possible to prevent the film F from getting caught in the molded product Wp.

 尚、上記の型閉じ工程に続く後の工程は、従来の圧縮成形方法と同様である。概略として、封止金型202の型開きを行い、成形品Wpと使用済みのフィルムFとを分離する型開き工程を実施する(図16参照)。次いで、第2ローダ304によって、成形品Wpを封止金型202内から搬出し、収納ユニット100Dへ搬出する成形品搬出工程を実施する。さらに、成形品搬出工程の後に、もしく並行して、フィルム供給機構211を作動させて、使用済みのフィルムFを封止金型202内から送り出し、新しいフィルムFを封止金型202内へ送り込んでセットするフィルム供給工程を実施する。 The steps following the mold closing step are the same as those in conventional compression molding methods. In summary, the mold opening step is performed to open the sealing mold 202 and separate the molded product Wp from the used film F (see FIG. 16). Next, the molded product unloading step is performed to unload the molded product Wp from the sealing mold 202 by the second loader 304 and unload it into the storage unit 100D. Furthermore, after or in parallel with the molded product unloading step, the film supply mechanism 211 is operated to send out the used film F from the sealing mold 202 and to feed and set new film F into the sealing mold 202.

 以上が圧縮成形装置1を用いて行う圧縮成形方法の主要工程である。但し、上記の工程順は一例であって、支障がない限り先後順の変更や並行実施が可能である。 The above are the main steps of the compression molding method performed using the compression molding device 1. However, the above order of steps is only one example, and the order of steps can be changed or steps can be performed in parallel as long as no problems occur.

(封止樹脂)
 続いて、上記の圧縮成形装置1による圧縮成形方法に用いられる封止樹脂Rの具体的な構成例を図17~図20に示すと共に、それぞれの特徴について説明する。
(Sealing resin)
Next, specific configuration examples of the sealing resin R used in the compression molding method by the compression molding apparatus 1 described above are shown in Figs. 17 to 20, and the features of each will be described.

 先ず、図17~図20に示す各例に共通する構成として、本体部Raは、板状に形成されている(尚、板状以外の形状、例えば、凹部や凸部等を有するブロック状等としてもよい)。また、脚部Rbは、当該封止樹脂Rが、ワークWの基材Wa上の所定位置(設計上の設定位置)に載置されたときに、ワークWの電子部品Wbに当接しない位置となるように本体部Raに立設され、本体部Raが電子部品Wbに当接しない距離が確保できる高さH(図14A参照)に形成されている。 First, as a configuration common to each of the examples shown in Figures 17 to 20, the main body portion Ra is formed in a plate shape (it may also be in a shape other than a plate shape, for example, a block shape having concave and convex portions). Furthermore, the leg portions Rb are erected on the main body portion Ra so that when the sealing resin R is placed in a predetermined position (a position set by design) on the substrate Wa of the work W, it is in a position that does not abut against the electronic components Wb of the work W, and are formed at a height H (see Figure 14A) that ensures a distance at which the main body portion Ra does not abut against the electronic components Wb.

 図17に示す封止樹脂Rの例では、脚部Rbは、全部(もしくは一部としてもよい)が点状に配置される先細の凸状体Rb1として形成されている。凸状体Rb1の例として、複数の位置に配設され、平面視で幅W1に対する長さL1の比tが、一例として0.5≦t≦2となる形状に形成されている。これによれば、脚部Rbが点状に配設される柱状である構成によって、ワークW上に載置される封止樹脂Rが圧縮成形時に流動することを抑制できる。従って、ワイヤー流れ等を防止でき、成形品質を向上させることができる。 In the example of sealing resin R shown in FIG. 17, the legs Rb are all (or part of) formed as tapered convex bodies Rb1 arranged in a dot pattern. As an example of the convex bodies Rb1, they are arranged at multiple positions and formed in a shape where the ratio t of the length L1 to the width W1 in a plan view is, for example, 0.5≦t≦2. With this, the configuration in which the legs Rb are columnar and arranged in a dot pattern can suppress the sealing resin R placed on the workpiece W from flowing during compression molding. This can prevent wire drift and the like, improving molding quality.

 図18に示す封止樹脂Rの例では、脚部Rbは、一部(もしくは全部としてもよい)が線状に配置される凸状体Rb2として形成されている。凸状体Rb2の例として、一つの位置(もしくは複数の位置としてもよい)に配設され、平面視で幅W2に対する長さL2の比tが、一例としてt<0.5又は2<tとなる形状に形成されている。これによれば、所定長さの堤状の構成を有する脚部Rb(この場合、凸状体Rb2)から樹脂流動を意図的に発生させて、ワークWにおける狭隘部(例えば、フリップチップ接続された基材Waと電子部品Wbとの間等)への封止樹脂Rの充填を促進することができる。従って、成形品Wpに気体が残留することを防止でき、成形品質を向上させることができる。 In the example of the sealing resin R shown in FIG. 18, the leg Rb is formed as a convex body Rb2 in which a part (or all) is arranged in a line. As an example of the convex body Rb2, it is arranged at one position (or multiple positions) and is formed in a shape in which the ratio t of the length L2 to the width W2 in a plan view is, for example, t < 0.5 or 2 < t. This makes it possible to intentionally generate resin flow from the leg Rb (in this case, the convex body Rb2) having a bank-like configuration of a predetermined length, and to promote the filling of the sealing resin R into narrow parts of the workpiece W (for example, between the substrate Wa and electronic component Wb that are flip-chip connected). This makes it possible to prevent gas from remaining in the molded product Wp, and improve the molding quality.

 図19に示す封止樹脂Rの例では、脚部Rbは、本体部Raの外周(外縁領域を指す)全域(全周)にわたって断続的(もしくは連続的としてもよい)に囲うように配置される凸状体Rb3として形成されている。凸状体Rb3の例として、上記Rb2と同様構成の凸状体が、所定間隔で隙間L3を設けつつ、周状をなすように連なって形成されている。一般的に、成形品Wpにおける封止樹脂Rの外周位置は、個片化される際にダイサー等によって切断される位置であり、電子部品Wbが存在しないため、中央位置と比較して封止するための樹脂量を多く必要とする。そのため、この構成のように、外周全域にわたって囲うように配置される脚部Rb(この場合、凸状体Rb3)を設けておくことによって、圧縮成形時の樹脂流動を抑制しつつ、外周位置に多くの樹脂を供給することが可能となる。さらに、隙間L3が設けられることによって、内部(中央部)から外部への空気等の気体成分の排出が促進される。 In the example of the sealing resin R shown in FIG. 19, the legs Rb are formed as convex bodies Rb3 that are arranged so as to surround the entire periphery (referring to the outer edge region) of the main body Ra intermittently (or may be continuous). As an example of the convex bodies Rb3, convex bodies having the same configuration as Rb2 are formed in a continuous manner to form a circumference with gaps L3 at predetermined intervals. Generally, the outer peripheral position of the sealing resin R in the molded product Wp is the position that is cut by a dicer or the like when it is divided into individual pieces, and since there are no electronic components Wb, a larger amount of resin is required for sealing compared to the central position. Therefore, by providing the legs Rb (in this case, the convex bodies Rb3) that are arranged so as to surround the entire periphery as in this configuration, it is possible to supply a large amount of resin to the outer peripheral position while suppressing the resin flow during compression molding. Furthermore, the provision of the gaps L3 promotes the discharge of gas components such as air from the inside (center) to the outside.

 一方、図20に示す封止樹脂Rの例は、本体部Raの他方の面(脚部Rbが設けられない側の面、すなわちワークWの電子部品Wbと対向しない側の面)に関する構成例である。具体的に、本体部Raは、他方の面において、個片化するためのダイシングが行われる位置に、線状の溝部Rgが形成されている。これによれば、ダイシング刃の摩耗の低減と、ダイシング時に発生する粉塵の低減とを図ることができる。一例として、溝部Rgはダイシング位置に一致させて格子状に設けられているが、これに限定されるものではない。 On the other hand, the example of sealing resin R shown in Figure 20 is a configuration example for the other surface of the main body portion Ra (the surface on which the legs Rb are not provided, i.e., the surface on the side that does not face the electronic components Wb of the workpiece W). Specifically, linear grooves Rg are formed on the other surface of the main body portion Ra at the position where dicing for individualization is performed. This reduces wear on the dicing blade and reduces dust generated during dicing. As an example, the grooves Rg are arranged in a grid pattern to match the dicing position, but are not limited to this.

 以上、説明した通り、本発明によれば、圧縮成形装置のコンパクト化が可能で、また、封止金型のメンテナンス性の向上が可能で、また、マシンタイムの短縮及び生産性の向上が可能である。 As explained above, according to the present invention, it is possible to make the compression molding device more compact, improve the maintainability of the sealing mold, and reduce machine time and improve productivity.

 また、図17~図19に例示される脚部Rbを有する形状の封止樹脂Rを用いた圧縮成形を行うことが可能となるため、以下の効果を得ることができる。具体的に、封止樹脂の流動、撒きムラ、残留気体に起因する成形不良の発生を防止することができる。また、封止樹脂のハンドリングを容易化することができると共に、成形時の封止樹脂による粉塵の発生を防止することができる。また、薄い成形品(厚さ寸法が1mm未満)はもちろん、厚い成形品(厚さ寸法が1mm以上)を形成することができる。尚、厚さ寸法の上限は、各種設定条件によるものの、10mm程度まで十分形成可能であると考えられる。また、上型にキャビティが設けられる構成に適用することによって、下型にキャビティが設けられる構成において、ワークが薄い場合や大型の場合に上型での保持が難しく落下が生じ易いという課題の解決を図ることができる。 In addition, since it is possible to perform compression molding using the sealing resin R having a shape with legs Rb as exemplified in Figures 17 to 19, the following effects can be obtained. Specifically, it is possible to prevent molding defects caused by flow, uneven distribution, and residual gas of the sealing resin. In addition, it is possible to facilitate handling of the sealing resin and prevent dust from being generated by the sealing resin during molding. In addition, it is possible to form not only thin molded products (thickness dimension less than 1 mm) but also thick molded products (thickness dimension 1 mm or more). Although the upper limit of the thickness dimension depends on various setting conditions, it is considered that it is possible to form a thickness of up to about 10 mm. In addition, by applying this to a configuration in which a cavity is provided in the upper mold, it is possible to solve the problem that when a workpiece is thin or large, it is difficult to hold it in the upper mold and it is easy for it to fall in a configuration in which a cavity is provided in the lower mold.

 尚、本発明は、上記の実施形態に限定されることなく、本発明を逸脱しない範囲において種々変更可能である。

 
The present invention is not limited to the above-described embodiment, and various modifications are possible without departing from the scope of the present invention.

Claims (6)

 キャビティを有する上型とワーク保持部を有する下型とを備える封止金型を用いて、ワークを封止樹脂により封止して成形品に加工する圧縮成形装置であって、
 前記ワークと前記封止樹脂とを前記封止金型内へ搬送する搬送装置を備え、
 前記搬送装置は、前記ワークを保持するワークハンドと、前記封止樹脂を保持する樹脂ハンドと、を備え、
 前記ワークハンドは、前記樹脂ハンドが保持する前記封止樹脂の直下の位置で前記ワークを保持する構成であること
を特徴とする圧縮成形装置。
A compression molding apparatus that uses a sealing die having an upper die having a cavity and a lower die having a workpiece holding portion to seal a workpiece with a sealing resin and process the workpiece into a molded product,
a conveying device that conveys the workpiece and the sealing resin into the sealing die;
The conveying device includes a work hand that holds the workpiece and a resin hand that holds the sealing resin,
The compression molding apparatus is characterized in that the work hand is configured to hold the work at a position directly below the sealing resin held by the resin hand.
 前記ワークとして、基材に電子部品が搭載された構成を有するワークが用いられ、
 前記封止樹脂として、全体の形状を前記ワークの形状に対応させた所定形状に形成された板状もしくはブロック状の固形樹脂が用いられること
を特徴とする請求項1記載の圧縮成形装置。
As the workpiece, a workpiece having a configuration in which an electronic component is mounted on a substrate is used,
2. The compression molding apparatus according to claim 1, wherein the sealing resin is a plate-like or block-like solid resin formed into a predetermined shape corresponding to the shape of the workpiece.
 前記ワークハンドは、前記ワークの下面もしくは側面を把持することにより又は上面を吸着することにより前記ワークを保持する第1保持部を有し、
 前記樹脂ハンドは、前記封止樹脂の下面もしくは側面を把持することにより又は上面を吸着することにより前記ワークを保持する第2保持部を有すること
を特徴とする請求項1又は請求項2記載の圧縮成形装置。
The work hand has a first holding part that holds the work by gripping a lower surface or a side surface of the work or by suctioning an upper surface of the work,
3. The compression molding apparatus according to claim 1, wherein the resin hand has a second holding portion that holds the workpiece by gripping a lower surface or a side surface of the sealing resin or by suctioning an upper surface of the sealing resin.
 前記搬送装置は、前記樹脂ハンドの前記第2保持部における前記封止樹脂の保持位置を前記ワークハンドの前記第1保持部における前記ワークの保持位置に対して相対的に上方及び下方へ移動させる移動装置を有すること
を特徴とする請求項3記載の圧縮成形装置。
The compression molding apparatus according to claim 3, characterized in that the conveying device has a moving device that moves the holding position of the sealing resin in the second holding portion of the resin hand upward and downward relative to the holding position of the work in the first holding portion of the work hand.
 キャビティを有する上型とワーク保持部を有する下型とを備える封止金型を用いて、ワークを封止樹脂により封止して成形品に加工する圧縮成形方法であって、
 前記封止樹脂を樹脂ハンドで保持する樹脂保持工程と、
 前記樹脂保持工程の後に、前記封止樹脂の直下の位置で前記ワークをワークハンドで保持するワーク保持工程と、
 前記ワーク保持工程の後に、前記下型に設けられた前記ワーク保持部に前記ワークを載置するワーク載置工程と、
 前記ワーク載置工程の後に、前記ワークの上に前記封止樹脂を載置する樹脂載置工程と、
を備えること
を特徴とする圧縮成形方法。
A compression molding method for processing a molded product by sealing a workpiece with a sealing resin using a sealing die having an upper die having a cavity and a lower die having a workpiece holding portion,
a resin holding step of holding the sealing resin with a resin hand;
a work holding step of holding the work by a work hand at a position directly below the sealing resin after the resin holding step;
a work placing step of placing the work on the work holding portion provided in the lower mold after the work holding step;
a resin placing step of placing the sealing resin on the workpiece after the workpiece placing step;
A compression molding method comprising:
 前記ワークとして、基材に電子部品が搭載された構成を有するワークが用いられ、
 前記封止樹脂として、全体の形状を前記ワークの形状に対応させた所定形状に形成された板状もしくはブロック状の固形樹脂が用いられること
を特徴とする請求項5記載の圧縮成形方法。

 
As the workpiece, a workpiece having a configuration in which an electronic component is mounted on a substrate is used,
6. The compression molding method according to claim 5, wherein the sealing resin is a plate-like or block-like solid resin formed into a predetermined shape corresponding to the shape of the workpiece.

PCT/JP2024/000135 2023-05-30 2024-01-09 Compression molding device and compression molding method Pending WO2024247343A1 (en)

Priority Applications (2)

Application Number Priority Date Filing Date Title
KR1020257032858A KR20250168267A (en) 2023-05-30 2024-01-09 Compression molding device and compression molding method
CN202480028871.6A CN121039794A (en) 2023-05-30 2024-01-09 Compression molding device and compression molding method

Applications Claiming Priority (2)

Application Number Priority Date Filing Date Title
JP2023088548A JP2024171506A (en) 2023-05-30 2023-05-30 Compression molding device and compression molding method
JP2023-088548 2023-05-30

Publications (1)

Publication Number Publication Date
WO2024247343A1 true WO2024247343A1 (en) 2024-12-05

Family

ID=93657041

Family Applications (1)

Application Number Title Priority Date Filing Date
PCT/JP2024/000135 Pending WO2024247343A1 (en) 2023-05-30 2024-01-09 Compression molding device and compression molding method

Country Status (5)

Country Link
JP (1) JP2024171506A (en)
KR (1) KR20250168267A (en)
CN (1) CN121039794A (en)
TW (1) TWI885727B (en)
WO (1) WO2024247343A1 (en)

Citations (4)

* Cited by examiner, † Cited by third party
Publication number Priority date Publication date Assignee Title
JPH1050745A (en) * 1996-07-31 1998-02-20 Nec Corp Apparatus and method for resin-sealing semiconductor device
JP2007307843A (en) * 2006-05-20 2007-11-29 Apic Yamada Corp Resin molding method/device
JP2009028902A (en) * 2007-07-24 2009-02-12 Sumitomo Heavy Ind Ltd Resin sealing device and resin transport method in the resin sealing device
JP2009147188A (en) * 2007-12-17 2009-07-02 Sumitomo Heavy Ind Ltd Resin sealing device provided with resin transport mechanism, and resin transport method in resin seal device

Family Cites Families (3)

* Cited by examiner, † Cited by third party
Publication number Priority date Publication date Assignee Title
JP5793806B2 (en) 2011-08-17 2015-10-14 アピックヤマダ株式会社 Resin molding equipment
TW201827319A (en) * 2017-01-10 2018-08-01 日商信越工程股份有限公司 Workpiece transferring apparatus and workpiece transferring method, and apparatus for laminating workpieces and workpiece laminating method capable of uniformly transferring a film-like workpiece directly, in a state of the functional portion being stretched and regardless of the size, to a holding surface facing downward
JP7088687B2 (en) 2018-02-16 2022-06-21 アピックヤマダ株式会社 Resin molding device and resin molding method

Patent Citations (4)

* Cited by examiner, † Cited by third party
Publication number Priority date Publication date Assignee Title
JPH1050745A (en) * 1996-07-31 1998-02-20 Nec Corp Apparatus and method for resin-sealing semiconductor device
JP2007307843A (en) * 2006-05-20 2007-11-29 Apic Yamada Corp Resin molding method/device
JP2009028902A (en) * 2007-07-24 2009-02-12 Sumitomo Heavy Ind Ltd Resin sealing device and resin transport method in the resin sealing device
JP2009147188A (en) * 2007-12-17 2009-07-02 Sumitomo Heavy Ind Ltd Resin sealing device provided with resin transport mechanism, and resin transport method in resin seal device

Also Published As

Publication number Publication date
TWI885727B (en) 2025-06-01
CN121039794A (en) 2025-11-28
JP2024171506A (en) 2024-12-12
KR20250168267A (en) 2025-12-02
TW202446583A (en) 2024-12-01

Similar Documents

Publication Publication Date Title
JP7644489B2 (en) Compression molding apparatus and compression molding method
JP2015013371A (en) Resin sealing method and compression molding apparatus
WO2024247343A1 (en) Compression molding device and compression molding method
JP7644497B2 (en) Resin sealing equipment and sealing mold
WO2024047916A1 (en) Resin sealing device and resin sealing method
TWI902006B (en) Sealing resin for compression molding and forming method thereof
WO2024161680A1 (en) Compression-molding device and compression-molding method
JP7562145B2 (en) Compression Molding Equipment
JP2025049905A (en) Compression molding apparatus and compression molding method
JP2024139406A (en) Compression molding apparatus and compression molding method
WO2024204028A1 (en) Compression-molding device and compression-molding method
WO2024203997A1 (en) Compression molding apparatus and compression molding method
WO2024202232A1 (en) Apparatus and method for forming sealing resin to be used for compression molding
JP2025032602A (en) Compression molding apparatus and compression molding method
JP2025008394A (en) Compression molding apparatus and compression molding method
JP2024139399A (en) Apparatus and method for forming sealing resin used in compression molding
JP2023105331A (en) Resin sealing equipment
WO2025047093A1 (en) Compression molding apparatus and compression molding method
WO2023105840A1 (en) Resin sealing device and sealing mold
WO2024204008A1 (en) Device and method for forming sealing resin used for compression molding, and compression molding device
WO2025057660A1 (en) Resin encapsulation device and resin encapsulation method
JP2024139398A (en) Encapsulating resin for use in compression molding, and forming method and forming device thereof
WO2025047389A1 (en) Molded product formation method and sealing resin
JP2025004928A (en) Apparatus and method for forming sealing resin used in compression molding

Legal Events

Date Code Title Description
121 Ep: the epo has been informed by wipo that ep was designated in this application

Ref document number: 24814831

Country of ref document: EP

Kind code of ref document: A1

ENP Entry into the national phase

Ref document number: 1020257032858

Country of ref document: KR

Free format text: ST27 STATUS EVENT CODE: A-0-1-A10-A15-NAP-PA0105 (AS PROVIDED BY THE NATIONAL OFFICE)

WWE Wipo information: entry into national phase

Ref document number: KR1020257032858

Country of ref document: KR