WO2024204008A1 - Device and method for forming sealing resin used for compression molding, and compression molding device - Google Patents

Device and method for forming sealing resin used for compression molding, and compression molding device Download PDF

Info

Publication number
WO2024204008A1
WO2024204008A1 PCT/JP2024/011583 JP2024011583W WO2024204008A1 WO 2024204008 A1 WO2024204008 A1 WO 2024204008A1 JP 2024011583 W JP2024011583 W JP 2024011583W WO 2024204008 A1 WO2024204008 A1 WO 2024204008A1
Authority
WO
WIPO (PCT)
Prior art keywords
resin
sealing resin
sealing
workpiece
compression molding
Prior art date
Legal status (The legal status is an assumption and is not a legal conclusion. Google has not performed a legal analysis and makes no representation as to the accuracy of the status listed.)
Pending
Application number
PCT/JP2024/011583
Other languages
French (fr)
Japanese (ja)
Inventor
正明 涌井
高志 斉藤
誠 川口
祐大 野村
Current Assignee (The listed assignees may be inaccurate. Google has not performed a legal analysis and makes no representation or warranty as to the accuracy of the list.)
Apic Yamada Corp
Original Assignee
Apic Yamada Corp
Priority date (The priority date is an assumption and is not a legal conclusion. Google has not performed a legal analysis and makes no representation as to the accuracy of the date listed.)
Filing date
Publication date
Application filed by Apic Yamada Corp filed Critical Apic Yamada Corp
Priority to JP2025510817A priority Critical patent/JPWO2024204008A1/ja
Publication of WO2024204008A1 publication Critical patent/WO2024204008A1/en
Anticipated expiration legal-status Critical
Pending legal-status Critical Current

Links

Images

Classifications

    • BPERFORMING OPERATIONS; TRANSPORTING
    • B29WORKING OF PLASTICS; WORKING OF SUBSTANCES IN A PLASTIC STATE IN GENERAL
    • B29CSHAPING OR JOINING OF PLASTICS; SHAPING OF MATERIAL IN A PLASTIC STATE, NOT OTHERWISE PROVIDED FOR; AFTER-TREATMENT OF THE SHAPED PRODUCTS, e.g. REPAIRING
    • B29C43/00Compression moulding, i.e. applying external pressure to flow the moulding material; Apparatus therefor
    • B29C43/32Component parts, details or accessories; Auxiliary operations
    • B29C43/58Measuring, controlling or regulating

Definitions

  • the present invention relates to an apparatus and method for forming sealing resin used in compression molding, and a compression molding apparatus.
  • One example of a resin sealing device and resin sealing method that uses a compression molding method to seal a workpiece, which is a base material mounted with electronic components, with sealing resin and process it into a molded product.
  • the compression molding method is a technique for resin sealing by supplying a predetermined amount of sealing resin to a sealing area (cavity) provided in a sealing mold comprising an upper mold and a lower mold, placing a workpiece in the sealing area, and clamping it with the upper and lower molds.
  • a sealing area cavity
  • a technique is known in which the sealing resin is supplied all at once to the center position on the workpiece and molded.
  • the compression molding method in which a cavity is provided in the upper die has the problem that resin sealing is difficult because the wire portion of the workpiece held in the lower die comes into contact with the sealing resin previously supplied to the cavity or the sealing resin supplied onto the workpiece and becomes deformed. For this reason, the compression molding method in which the workpiece is held in the upper die, a cavity is provided in the lower die, and sealing resin (granular resin, as an example) is supplied into the cavity is generally used.
  • the sealing resin is usually supplied into the cavity of the lower mold through a film, when trying to form a thick molded product with a thickness (here, the thickness of the resin part after molding) exceeding 1 mm, the molding stroke becomes large, and there is a problem that the film is likely to get caught in the molded product, resulting in molding defects.
  • the present invention was made in consideration of the above circumstances, and aims to provide a molding device and a molding method that accurately forms the correct amount of sealing resin, which is easy to handle, and can realize a compression molding device and a compression molding method that solves the problems of configurations in which a cavity is provided in the upper mold and configurations in which a cavity is provided in the lower mold, prevents molding defects caused by resin flow, uneven distribution, residual gas, and dust generation during molding, and enables the formation of molded products with large thickness dimensions.
  • the present invention solves the above problems by using the solutions described in the following embodiments.
  • the device is required to include a provisional molding section that provisionally molds a base resin according to one embodiment to form a provisionally molded resin to be used for sealing the workpiece, a measuring section that measures the weight or shape of the provisionally molded resin, and a removal mechanism that removes a portion of the provisionally molded resin when the result of the measurement in the measuring section is greater than the weight required for sealing the workpiece or greater than the required shape.
  • the removal mechanism has a processing tool for processing the provisionally molded resin.
  • Another embodiment of the sealing resin forming device is a forming device that compresses a base resin into tablets to form a sealing resin to be used in compression molding of a workpiece, and is required to include a tableting die that contains an initial set amount of the base resin and compresses the base resin into a sealing resin having a predetermined shape that corresponds to the shape of the workpiece, and a removal mechanism that removes a portion of the sealing resin formed by tableting to a predetermined amount.
  • the workpiece is a workpiece having a configuration in which electronic components are mounted on a substrate.
  • the predetermined shape of the workpiece is a shape that does not contact the electronic components when the sealing resin is placed on the substrate.
  • a powder resin is used as the base resin.
  • the sealing resin has a plate-shaped or block-shaped main body and multiple legs erected on one surface of the main body, and further, it is preferable that the legs include multiple types of legs with different amounts of resin.
  • a control calculation unit is provided for controlling the operation of the removal mechanism, and the control calculation unit sets the predetermined amount by calculating the amount of resin required based on data obtained by measuring the presence or absence of the electronic components mounted on one of the substrates for each of the workpieces, and controls the operation of the removal mechanism so as to achieve the predetermined amount.
  • the removal mechanism has a removal tool for removing a portion of the leg so as to achieve the predetermined amount.
  • the method for forming a sealing resin is a method for forming a sealing resin to be used in compression molding of a workpiece by tableting a base resin, and includes a tableting step in which an initial set amount of the base resin is placed in a tableting die and tableted to form the sealing resin having a predetermined shape corresponding to the shape of the workpiece, and a removal step in which a portion of the sealing resin formed by tableting is removed so that the amount of the sealing resin formed by tableting is a predetermined amount.
  • the tableting process is preferably carried out at a temperature at which the base resin does not harden thermally, so that the encapsulating resin formed can be hardened thermally in the subsequent compression molding process.
  • the compression molding device is required to include a final molding section that seals the workpiece with a provisionally molded resin that is provisionally molded using a base resin to perform final molding, a measurement section that measures the weight or shape of the provisionally molded resin, and a removal mechanism that removes a portion of the provisionally molded resin when the measurement result in the measurement section is greater than the weight required to seal the workpiece or greater than the required shape.
  • the removal mechanism has a processing tool for processing the provisionally molded resin.
  • the compression molding device is a compression molding device that seals a workpiece with sealing resin and processes it into a molded product, and is required to have a removal mechanism that removes a portion of the sealing resin formed by tableting so that the amount is a predetermined amount.
  • the amount of the sealing resin formed can be appropriately changed and fine-tuned, so that the right amount of sealing resin can be accurately formed for each workpiece. Furthermore, by using the sealing resin formed by the molding device and molding method, it is possible to realize a compression molding device and compression molding method that can solve the problems of configurations in which a cavity is provided in the upper mold and configurations in which a cavity is provided in the lower mold, prevent molding defects caused by resin flow, uneven scattering, residual gas, and dust generation during molding, and form molded products with large thickness dimensions. Furthermore, handling is easier than with granular resin, especially when supplying and setting.
  • FIG. 1 is a plan view showing an example of a compression molding apparatus in which a sealing resin formed by a forming apparatus and a forming method according to an embodiment of the present invention is used.
  • FIG. 2 is an explanatory diagram illustrating an example of a compression molding method in which a sealing resin formed by the forming apparatus and forming method according to the embodiment of the present invention is used.
  • Fig. 3A is an enlarged view of part III in Fig. 2.
  • Fig. 3B is an explanatory view following Fig. 3A.
  • FIG. 4 is an explanatory diagram following FIG. 3B.
  • FIG. 5 is an explanatory diagram following FIG. FIG.
  • FIG. 6 is an explanatory diagram illustrating another example of a compression molding method in which a sealing resin formed by the forming apparatus and forming method according to an embodiment of the present invention is used.
  • FIG. 7 is an explanatory diagram following FIG.
  • FIG. 8 is an explanatory diagram following FIG.
  • FIG. 9 is a plan view illustrating an example of the sealing resin forming apparatus according to the first embodiment of the present invention.
  • FIG. 10 is a side view showing an example of a pressing device of the forming apparatus shown in FIG.
  • FIG. 11 is a side cross-sectional view showing an example of a tableting die of the forming apparatus shown in FIG. 12 is a front cross-sectional view (cross-sectional view taken along line XII-XII in FIG.
  • FIG. 11 showing an example of a tableting die of the forming apparatus shown in FIG. 9.
  • FIG. 13 is an explanatory diagram of a method for forming a sealing resin according to an embodiment of the present invention.
  • FIG. 14 is an explanatory diagram following FIG.
  • FIG. 15 is an explanatory diagram following FIG.
  • FIG. 16 is a perspective view showing an example of a sealing resin formed by the forming apparatus and forming method according to an embodiment of the present invention.
  • FIG. 17 is a perspective view showing another example of the sealing resin formed by the forming apparatus and the forming method according to the embodiment of the present invention.
  • FIG. 18 is a perspective view showing an example of the sealing resin after the removal step is performed in the sealing resin forming method according to the embodiment of the present invention.
  • FIG. 19 is an explanatory diagram of a conventional compression molding method.
  • FIG. 20 is an explanatory diagram of a conventional compression molding method.
  • FIG. 21 is a plan view showing an example of a compression molding device according to another embodiment of the present invention.
  • FIG. 22 is a plan view illustrating an example of an apparatus for forming a sealing resin according to the second embodiment of the present invention.
  • FIG. 23 is a plan view showing an example of a compression molding device according to another embodiment of the present invention.
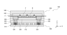
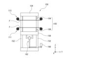
  • FIG. 1 is a plan view (schematic diagram) showing an example of a compression molding apparatus 1.
  • arrows may be used in the figure to indicate the left-right direction (X direction), the front-back direction (Y direction), and the up-down direction (Z direction).
  • members having the same function are given the same reference numerals, and repeated explanations thereof may be omitted.
  • the workpiece W to be sealed has a structure in which electronic components Wb are mounted on a substrate Wa.
  • the substrate Wa include plate-shaped members such as resin substrates, ceramic substrates, metal substrates, carrier plates, lead frames, and wafers.
  • the electronic components Wb include semiconductor chips, MEMS chips, passive elements, heat sinks, conductive members, spacers, and the like.
  • the shape of the substrate Wa is rectangular (striped), square, circular, and the like.
  • the number of electronic components Wb mounted on one substrate Wa is set to one or more (for example, in a matrix).
  • Examples of methods for mounting electronic components Wb on the substrate Wa include wire bonding and flip chip mounting.
  • the electronic components Wb can be attached using a thermally peelable adhesive tape or an ultraviolet-curing resin that hardens when exposed to ultraviolet light.
  • the film F examples include film materials with excellent heat resistance, ease of peeling, flexibility, and extensibility, such as PTFE (polytetrafluoroethylene), ETFE (polytetrafluoroethylene polymer), PET, FEP, fluorine-impregnated glass cloth, polypropylene, and polyvinylidine chloride.
  • PTFE polytetrafluoroethylene
  • ETFE polytetrafluoroethylene polymer
  • PET PET
  • FEP fluorine-impregnated glass cloth
  • polypropylene polypropylene
  • polyvinylidine chloride polyvinylidine chloride
  • the compression molding device 1 mainly comprises a supply unit 10A for supplying the workpiece W, a press unit 10B for sealing the workpiece W with resin and processing it into a molded product Wp, and a storage unit 10C for storing the molded product Wp.
  • the supply unit 10A, press unit 10B, and storage unit 10C are arranged in this order along the X direction in FIG. 1.
  • the above configuration is not limited to this, and the equipment configuration within the unit, the number of units (particularly the number of press units), and the arrangement order of the units can be changed. It is also possible to have a configuration that includes units other than those mentioned above (all not shown).
  • the compression molding device 1 has a guide rail 20 that is linearly arranged between each unit, and a transport device (first loader) 22 that transports the workpiece W and sealing resin R, and a transport device (second loader) 24 that transports the molded product Wp (which may be used to transport the sealing resin R) are arranged to be movable between predetermined units along the guide rail 20.
  • a transport device first loader 22 that transports the workpiece W and sealing resin R
  • second loader transport device that transports the molded product Wp (which may be used to transport the sealing resin R) are arranged to be movable between predetermined units along the guide rail 20.
  • the configuration is not limited to the above, and a configuration that includes a common (single) transport device (loader) that transports the workpiece W, sealing resin R, and molded product Wp (not shown) may also be used.
  • the transport device may be configured to include a robot hand or the like instead of a loader.
  • the compression molding device 1 has a control unit 30 that controls the operation of each mechanism in each unit, which is located in the supply unit 10A (although it may also be configured to be located in another unit).
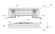
  • the press unit 10B is equipped with a pair of sealing dies that are opened and closed by the press device 250.
  • the sealing dies may be configured such that a cavity is provided in the upper die (sealing die 202), and as another example, they may be configured such that a cavity is provided in the lower die (sealing die 302).
  • the press device 250 is provided with a film supply section 211 that supplies film F to cover the mold surface 204a (predetermined area) including the inner surface of the cavity 208 in the upper mold 204.
  • the film F is in a roll shape, but it may also be in a strip shape.
  • a preparation process (sealing preparation process) is carried out. Specifically, a process is carried out in which the upper mold 204 and the lower mold 206 are adjusted to a predetermined temperature (e.g., 100°C to 300°C) and heated. In addition, a process is carried out in which the film supply unit 211 is operated to supply new film F and adsorb it so as to cover a predetermined area of the mold surface 204a, including the inner surface of the cavity 208 in the upper mold 204.
  • a predetermined temperature e.g. 100°C to 300°C
  • a workpiece holding process is carried out in which the workpiece W is held by the workpiece holding portion 205 of the lower die 206.
  • the workpiece W supplied from the supply magazine 12 is held by the first loader 22 and carried into the sealing die 202, where it is held by the workpiece holding portion 205 of the lower plate 242 (die surface 206a).
  • a resin placing step is performed in which the sealing resin R is placed on the workpiece W held by the workpiece holding portion 205 (see FIG. 2).
  • the sealing resin R formed in the sealing resin forming device (which may simply be referred to as the "forming device") 100 described below is held by the first loader 22 (or another transport device) and carried into the sealing mold 202, where it is placed on the workpiece W held by the workpiece holding portion 205.
  • the sealing resin R formed in the forming device 100 may be placed on the workpiece W prior to the above-mentioned workpiece holding process.
  • the workpiece holding process is a process in which the workpiece W with the sealing resin R placed thereon is held by the workpiece holding section 205. That is, the first loader 22 holds the workpiece W with the sealing resin R placed thereon, carries it into the sealing die 202, and holds it in the workpiece holding section 205. This has the advantage of carrying out the workpiece W and sealing resin R in the sealing die 202 in one go, rather than separately.
  • FIG. 3A is an enlarged view of part III in FIG. 2, and during the mold closing process, the sealing resin R softens and melts so that it changes from the state in FIG. 3A to the state in FIG. 3B.
  • the mold opening step is performed to open the sealing mold 202 and separate the molded product Wp from the used film F so that the molded product Wp can be removed (see FIG. 5).
  • the molded product unloading step is performed to unload the molded product Wp from the sealing mold 202 by the second loader 24 and transport it to the storage unit 10C.
  • the transported molded product Wp is stored in the storage magazine 14.
  • the film supply unit 211 is operated to send out the used film F from the sealing mold 202 and send a new film F into the sealing mold 202 and set it therein.
  • the above are the main steps of the compression molding method performed using the compression molding device 1 when equipped with the sealing mold 202.
  • the above order of steps is only an example, and the order of steps can be changed or steps can be performed in parallel as long as no problems occur.
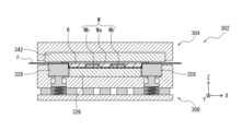
  • the press device 250 is provided with a film supply section 311 that supplies film F to cover the mold surface 306a (predetermined area) including the inner surface of the cavity 308 in the lower mold 306.
  • the film F is in a roll shape, but it may also be in a strip shape.
  • a preparation process (sealing preparation process) is carried out. Specifically, a process is carried out in which the upper die 304 and the lower die 306 are adjusted to a predetermined temperature (e.g., 100°C to 300°C) and heated. In addition, a process is carried out in which the film supply unit 311 is operated to supply new film F and adsorb it so as to cover a predetermined area of the die surface 306a, including the inner surface of the cavity 308 in the lower die 306.
  • a predetermined temperature e.g. 100°C to 300°C
  • a workpiece holding process is carried out in which the workpiece W is held by the workpiece holding portion 305 of the upper die 304.
  • the workpiece W supplied from the supply magazine 12 is held by the first loader 22 and carried into the sealing die 302, where it is held by the workpiece holding portion 305 of the upper plate 342 (die surface 304a).
  • the resin holding process is carried out (it may be carried out before the workpiece holding process or in parallel).
  • the resin holding process has the following steps:
  • the sealing resin R is held in the cavity 308 of the lower die 306 (see FIG. 6).
  • the sealing resin R formed in the forming device 100 is held by the first loader 22 (or another transport device) and carried into the sealing die 302, and is housed in the cavity 308 (specifically, it is placed on the top surface of the cavity piece 326).
  • a resin sealing process is carried out in which the workpiece W is sealed with sealing resin R and processed into a molded product Wp.
  • the sealing mold 302 is closed, and the cavity piece 326 is raised relatively within the cavity 308 surrounded by the clamper 328 to carry out the mold closing process in which the sealing resin R is heated and pressurized against the workpiece W. This causes the sealing resin R to thermally harden, completing the resin sealing (compression molding) (see FIG. 7).
  • the mold opening step is performed to open the sealing mold 302 and separate the molded product Wp from the used film F so that the molded product Wp can be removed (see FIG. 8).
  • the molded product unloading step is performed to unload the molded product Wp from the sealing mold 302 by the second loader 24 and transport it to the storage unit 10C.
  • the transported molded product Wp is stored in the storage magazine 14.
  • the film supply unit 311 is operated to send out the used film F from the sealing mold 302 and send a new film F into the sealing mold 302 and set it there.
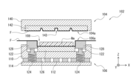
  • a forming apparatus 100 for forming the sealing resin R used in the compression molding apparatus 1 and the compression molding method will be described with reference to Figs. 9 to 12.
  • the forming apparatus 100 processes the base resin Rm to form the sealing resin R.
  • Fig. 9 is a plan view (schematic diagram) showing an example of the forming apparatus 100.
  • the forming apparatus 100 may be provided either inside or outside the compression molding apparatus 1.
  • thermosetting resin such as, but not limited to, an epoxy resin containing a filler
  • the sealing resin R is formed as a solid or semi-solid resin having a predetermined shape (details will be described later) that corresponds to the shape of the workpiece W.
  • one piece constitutes the "whole" of the required amount of sealing (one amount per workpiece W), but it may be configured so that several pieces (for example, about two or three pieces) are divided to constitute the "whole" of the required amount of sealing.
  • the above-mentioned "semi-solid” does not mean a completely solid state, but a state in which it is melted to the so-called B stage.
  • a powder resin (form) that is a thermosetting resin (property) is preferably used for the base resin Rm.
  • a granular resin, a crushed resin, a solid resin, a liquid resin, or a resin that is a combination of two or more of these may be used.
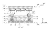
  • the forming device 100 is equipped with a tableting die 102 having a pair of dies (for example, a combination of multiple die blocks, die plates, die pillars, etc., made of alloy tool steel, and other components) that can be opened and closed. It is also equipped with a press device 150 that drives the tableting die 102 to open and close. It is also equipped with a control and calculation unit 170 that controls the operation of each mechanism.
  • a side view (schematic diagram) of the press device 150 is shown in FIG. 10.
  • a side cross-sectional view (schematic diagram) of the tableting die 102 is shown in FIG. 11, and a front cross-sectional view (schematic diagram) at the XII-XII position is shown in FIG. 12.
  • the press device 150 is configured with a pair of platens 154, 156, a number of tie bars 152 on which the pair of platens 154, 156 are supported, and a drive device for moving (raising and lowering) the platen 156.
  • the drive device is configured with a drive source (e.g., an electric motor) 160 and a drive transmission mechanism (e.g., a ball screw or a toggle link mechanism) 162 (however, this is not limited to this).
  • the upper platen 154 in the vertical direction is set as a fixed platen (a platen fixed to the tie bars 152), and the lower platen 156 is set as a movable platen (a platen slidably held by the tie bars 152 and raised and lowered).
  • the platens may be set upside down, i.e., the upper side may be set as a movable platen and the lower side as a fixed platen, or both the upper and lower sides may be set as movable platens (neither is shown).
  • the tableting die 102 is provided with an upper die 104 on the upper side in the vertical direction and a lower die 106 on the lower side as a pair of dies arranged between the pair of platens 154, 156 in the press device 150.
  • the upper die 104 is assembled to the upper platen (in this embodiment, the fixed platen 154), and the lower die 106 is assembled to the lower platen (in this embodiment, the movable platen 156).
  • the upper die 104 and the lower die 106 move toward and away from each other to close and open the die (the vertical direction (up and down direction) is the die opening and closing direction).
  • the upper die 104 constitutes a so-called "pestle die”
  • the lower die 106 constitutes a so-called "mortar die”.
  • the press device 150 is provided with an upper die film supply section 113 that supplies film F to cover the die surface 104a (predetermined area) of the upper die 104, and a lower die film supply section 111 that supplies film F to cover the die surface 106a (predetermined area) including the inner surface of the cavity 108 in the lower die 106.
  • the film F is in a roll shape, but it may also be in a strip shape.
  • the lower die 106 of the tableting die 102 comprises a lower die chase 110, a cavity piece 126 held by it, a clamper 128, etc.
  • the lower die chase 110 is fixed to the upper surface of the support plate 114 via a support pillar 112.
  • a cavity 108 is provided on the upper surface of the lower die 106 (the surface facing the upper die 104).
  • a predetermined amount of base resin Rm is contained in this cavity 108.
  • the clamper 128 is configured in an annular shape to surround the cavity piece 126, and is assembled to be movable up and down while being spaced (floating) from the upper surface of the support plate 114 via the push pin 122 and the clamper spring 124 (a biasing member such as a coil spring, for example) (however, this assembly structure is not limited).
  • the cavity piece 126 forms the inner part (bottom part) of the cavity 108, and the clamper 128 forms the side part of the cavity 108.
  • the shape and number of cavities 108 provided in one lower mold 106 are set appropriately (one or multiple).
  • the lower mold 106 is also provided with suction paths (holes, grooves, etc.) (not shown) that communicate with a suction device on the upper surface of the clamper 128 and at the boundary between the clamper 128 and the cavity piece 126. This allows the film F supplied from the lower mold film supply unit 111 to be adsorbed and held on the mold surface 106a, including the inner surface of the cavity 108.
  • a lower die heating mechanism (not shown) that heats the lower die 106 to a predetermined temperature.
  • This lower die heating mechanism includes a heater (e.g., an electric wire heater), a temperature sensor, a power source, etc., and heating is controlled by the control and calculation unit 170.
  • the heater is built into the lower die chase 110 and is configured to apply heat to the entire lower die 106 and the base resin Rm contained in the cavity 108.
  • the lower die 106 is heated to a predetermined temperature (e.g., 50°C to 80°C) that does not cause the base resin Rm to thermally harden (mainly harden).
  • the lower mold 106 described above has a structure that includes a movable clamper (clamper 128) as an example, but as another example, it may have a structure that does not include a movable clamper (not shown).
  • the upper die 104 of the tableting die 102 will be described in detail.
  • the upper die 104 is equipped with a tableting plate 142 that presses a predetermined amount of base resin Rm contained in the cavity 108 of the lower die 106 to form (tablet) the sealing resin R having a predetermined shape corresponding to the shape of the workpiece W (the forming method will be described in detail later).
  • the tableting plate 142 is held (fixed) by the upper die chase 140.
  • a leg forming groove (including a recess) 143 for forming the leg Rb of the sealing resin R is provided on the lower surface (the surface facing the lower die 106) of the tableting plate 142.
  • leg forming grooves 143 with different recess volumes i.e., inner diameter and depth of the recess
  • shape (recess volume) of leg forming groove 143 is set so that multiple types of legs Rb with different resin amounts (for example, 1g, 2g, 3g, 5g, etc.) can be formed.
  • the leg forming groove 143 is provided on the tableting plate 142, but it may also be provided on the cavity piece 126, or on both.
  • the upper die 104 also has suction paths (holes, grooves, etc.) (not shown) in the tableting plate 142 etc. that communicate with the suction device. This allows the film F supplied from the upper die film supply unit 113 to be adsorbed and held on the die surface 104a.
  • an upper die heating mechanism (not shown) that heats the upper die 104 to a predetermined temperature.
  • This upper die heating mechanism includes a heater (e.g., an electric wire heater), a temperature sensor, a power source, etc., and heating is controlled by the control and calculation unit 170.
  • the heater is built into the upper die chase 140 and is configured to apply heat to the entire upper die 104.
  • the upper die 104 is heated to a predetermined temperature (e.g., 50°C to 80°C) at which the base resin Rm held (contained) in the lower die 106 does not thermally harden (mainly harden).
  • the forming device 100 is provided with a removal mechanism 180 that removes a portion of the sealing resin R after tableting so that the amount of the sealing resin R formed by tableting is a predetermined amount.
  • the removal mechanism 180 is provided with a removal tool that removes a portion of the sealing resin R (as an example, the leg portion Rb).
  • “removal” is defined broadly as the concept of removal, such as cutting, scraping, and breaking off. Examples of removal tools that can be used include a metal blade cutter that performs mechanical removal, a thermal melting cutter that performs thermal melting removal, and the like (neither of which are shown).
  • the amount of sealing resin R after tableting can be appropriately changed and fine-tuned. Therefore, the appropriate amount of sealing resin R can be accurately formed for each workpiece W.
  • the work of removing the legs Rb to obtain a predetermined amount of sealing resin R can be performed quickly and easily.
  • the legs Rb to be removed can be cylindrical in shape to facilitate removal, but are not limited to this shape.
  • the removal mechanism 180 may be provided in the compression molding device 1 instead of the forming device 100 (see FIG. 21). As an example, it is provided in the supply unit 10A, but this is not limiting and the mechanism may be provided in another unit (not shown). In this embodiment, the operation of the removal mechanism 180 is controlled by the control unit 30.
  • Fig. 13 to Fig. 15 are explanatory views of each step, and are illustrated as front cross-sectional views taken in the same direction as Fig. 12.
  • a preparation step (tabletting preparation step) is performed.
  • the preparation step includes the following steps.
  • a lower mold heating step is performed in which the lower mold 106 is heated to a predetermined temperature (a temperature at which the base resin Rm and the sealing resin R do not fully harden, for example, 50°C to 80°C) by the lower mold heating mechanism.
  • An upper mold heating step is performed in which the upper mold 104 is heated to a predetermined temperature (a temperature at which the base resin Rm and the sealing resin R do not fully harden, for example, 50°C to 80°C) by the upper mold heating mechanism.
  • a lower mold film supply step is performed in which the lower mold film supply unit 111 is operated to supply new film F and adsorb it to cover a predetermined area of the mold surface 106a including the inner surface of the cavity 108 in the lower mold 106.
  • An upper mold film supply step is performed in which the upper mold film supply unit 113 is operated to supply new film F and adsorb it to cover a predetermined area of the mold surface 104a of the upper mold 104.
  • a tableting process is carried out in which the base resin Rm is tableted to form a solid or semi-solid resin having a predetermined shape (described later) that corresponds to the shape of the workpiece W as the sealing resin R.
  • an initial set amount (a resin amount greater than or equal to the maximum required amount expected for each workpiece W) of the base resin Rm is accommodated in the cavity 108 of the lower die 106 using a dispenser, a conveying device, etc. (not shown) (see FIG. 13).
  • the press device 150 is operated to close the tableting die 102 that has been heated to the above-mentioned predetermined temperature (see FIG. 14).
  • the cavity piece 126 rises relatively in the cavity 108, and the base resin Rm is tableted (sandwiched and pressed) between the cavity piece 126 and the tableting plate 142.
  • a solid or semi-solid sealing resin R having a predetermined shape and not yet thermally cured (mainly cured) is formed.
  • the base resin Rm that enters the leg forming groove 143 of the tableting plate 142 through the film F becomes the leg Rb of the sealing resin R, and the other (remaining) base resin Rm becomes the body Ra of the sealing resin R (the detailed configuration of the sealing resin R will be described later).
  • a part of the base resin Rm may be held (welded, gripped, etc.) by the upper die 104 (not shown). Also, although the leg forming groove 143 is provided in the tableting plate 142, it may be provided in the cavity piece 126 or both.
  • the above tableting process is carried out at a temperature at which the base resin Rm does not thermally harden (fully harden) (the lower die 106 and the upper die 104 are heated to a temperature at which the base resin Rm does not thermally harden (fully harden)) so that the encapsulating resin R formed can be thermally hardened (fully hardened) in the subsequent resin encapsulating process (a process of the compression molding method).
  • the "temperature at which the base resin Rm does not thermally harden (fully harden)” depends on the material of the base resin Rm, but as a specific example, it is about 50°C to 80°C (about 70°C in this embodiment).
  • the "predetermined shape” of the sealing resin R will be described.
  • the "predetermined shape” is a shape that does not contact the electronic component Wb (electronic component Wb having wires includes the wires) when placed on the substrate Wa of the work W.
  • a sealing resin R having a shape in which a plate-shaped or block-shaped main body Ra and legs Rb arranged intermittently (or continuously) on one side of the main body Ra (the side facing the electronic component Wb of the work W) are provided is preferable (however, this shape is not limited).
  • the main body Ra is a size that fits into the cavity 208 in a plan view, and considering the resin flow, a size slightly smaller than the shape of the cavity 208 (particularly the cavity piece 226) is preferable.
  • the legs Rb need to have a height H (see FIG. 3A) that does not contact the electronic components Wb, but this does not exclude contact to the extent that the wires are not plastically deformed.
  • the legs Rb are arranged in a position where they do not contact the electronic components Wb in a plan view of the main body Ra, and where the main body Ra does not tilt when placed on the substrate Wa of the work W.
  • the legs Rb are arranged between the electronic components Wb or on the outer periphery of the electronic components Wb so as not to damage the wiring (especially the wires) of the work W even slightly during molding. Details of specific configuration examples of the sealing resin R (FIGS. 16 and 17) will be described later.
  • the "predetermined shape” is a shape in which, when the upper mold 304 is gradually brought closer to the lower mold 306 during closing of the sealing mold 302, the body portion Ra of the sealing resin R does not come into contact with the electronic component Wb of the work W (including the wire in the case of the electronic component Wb having a wire), when the tip portion (upper end portion) of the leg portion Rb of the sealing resin R contained in the cavity 308 comes into contact with the substrate Wa of the work W held by the work holding portion 305.
  • the specific shape of the sealing resin R is the same as that of the sealing resin R used in the compression molding apparatus 1 when the sealing mold 202 is provided (see FIGS. 16 and 17).
  • the sealing resin R is formed into a shape having a plate-like or block-like main body portion Ra and multiple legs Rb erected on one surface of the main body portion Ra.
  • multiple types of legs Rb are provided (set appropriately to 1g, 2g, 3g, 5g, etc.) with different resin amounts (number of grams of the portion protruding from the erected surface of the main body portion Ra).
  • all (or part) of the legs Rb are formed as convex bodies Rb1 to Rb4 arranged in a dot pattern.
  • a leg Rb1 for placement (standing leg) is provided at the four corners of the main body Ra (or a position other than the four corners) to ensure a distance at which the main body Ra does not come into contact with the electronic component Wb.
  • a plurality of different types of legs Rb with different amounts of resin are provided at positions other than the four corners of the main body Ra (or the four corners).
  • leg Rb2 with a resin amount of 1 g a leg Rb3 with a resin amount of 2 g, and a leg Rb4 with a resin amount of 5 g are provided.
  • the above types are merely examples, and the amount of resin (in grams) and the number of legs provided are set appropriately.
  • the legs Rb2 to Rb4 to be removed can be easily removed if they are cylindrical, for example, but are not limited to this shape.
  • the amount of resin in the sealing resin R can be adjusted by removing some of the legs Rb (the combination and number is appropriately set from Rb2 to Rb4) in the sealing resin R after tablet formation. Therefore, the appropriate amount of sealing resin R can be accurately prepared for each workpiece W and supplied for compression molding.
  • the configuration in which the legs Rb are arranged in a columnar dotted pattern can prevent the sealing resin R placed on the workpiece W from flowing during compression molding. This can prevent wire drift and improve molding quality.
  • part of the leg Rb is formed as a linearly arranged convex body Rb5.
  • Rb1 and Rb5 are used as mounting (standing) legs that ensure a distance at which the main body Ra does not come into contact with the electronic component Wb.
  • the legs Rb2 to Rb4 which are used to adjust the amount of resin by removal, have the same configuration as the sealing resin R shown in FIG. 16.
  • the above-mentioned sealing resin R can be used to intentionally generate resin flow from the leg Rb5, which has a bank-like configuration of a certain length, to promote the filling of the sealing resin R into narrow areas in the work W (for example, between the substrate Wa and electronic component Wb that are flip-chip connected). This can therefore prevent gas from remaining in the molded product Wp, improving molding quality.
  • the tableting mold 102 is opened and the sealing resin R and the used film F are separated to enable the sealing resin R to be removed (see FIG. 15).
  • the film F is placed on both the mold surface 106a of the lower mold 106 and the mold surface 104a of the upper mold 104, so that the sealing resin R formed by tableting can be easily released and damage due to the resin adhering to the mold can be prevented.
  • the lower mold film supply unit 111 and the upper mold film supply unit 113 are operated to send out the used film F from inside the tableting mold 102 and to send and set new film F into the tableting mold 102, thereby carrying out a film supply process (lower mold film supply process, upper mold film supply process).
  • a removal process is carried out to remove a part of the sealing resin R formed by the tableting process so that the sealing resin R is a "predetermined amount".
  • the number of electronic components Wb mounted on one substrate Wa (the number of mounted or missing components, which may also include measuring the height of the electronic components Wb) is measured by a measuring mechanism or the like (not shown), and the control calculation unit 170 calculates the amount of resin (in grams) required for resin sealing (compression molding) by subtracting the total volume of the electronic components Wb from the volume of the cavities 208, 308 of the sealing molds 202, 302, and sets the "predetermined amount".
  • a part of the sealing resin R is removed using the removal mechanism 180 so that the set "predetermined amount” is reached (note that the control calculation unit 170 may control the operation of the removal mechanism 180, or the operator may operate the operation of the removal mechanism 180).
  • the control calculation unit 170 may control the operation of the removal mechanism 180, or the operator may operate the operation of the removal mechanism 180.
  • a part of the leg Rb (a part of multiple legs Rb, which may be the whole leg Rb or a part of the leg Rb) is removed using a removal tool provided in the removal mechanism 180.
  • mechanical removal may be performed using, for example, a metal blade cutter, or thermal melt removal may be performed using a thermal melting cutter.
  • the legs Rb in this embodiment are formed with multiple types of resin with different amounts (for example, 1g, 2g, 3g, 5g, etc.), so that the work of removing the legs Rb can be performed quickly and easily to obtain a set, predetermined amount of sealing resin R.
  • the legs Rb to be removed can be easily removed if they are cylindrical, but are not limited to this shape.
  • the amount of resin in the sealing resin R after tableting (forming) can be appropriately changed and fine-tuned.
  • the sealing resin R after tableting (forming) has the configuration (shape) shown in FIG. 16, if it is desired to reduce the amount of resin (total amount) of the sealing resin R by, for example, 8 g, it is sufficient to remove each of the legs Rb2 with a resin amount of 1 g, the legs Rb3 with a resin amount of 2 g, and the legs Rb4 with a resin amount of 5 g within the dashed line frame in FIG. 18 one by one (other combinations are also possible).
  • sealing resin R an appropriate amount (the "predetermined amount” mentioned above) of sealing resin R can be supplied to the workpiece W. This makes it possible to prevent molding defects caused by a shortage of the amount of resin required during resin sealing. Furthermore, it is possible to prevent waste caused by supplying an amount of resin that is greater than necessary.
  • a powder resin as the base resin Rm. This allows the "predetermined amount" of resin to be adjusted and supplied with extremely high precision compared to when granular or crushed resin is used. However, it is not limited to powder resin.
  • the above-mentioned removal process may be performed as one process of the compression molding method in the compression molding device 1 (before the resin sealing process).
  • the forming device 100 and forming method according to the present invention can appropriately change and fine-tune the amount of sealing resin R formed, so that the appropriate amount of sealing resin R can be accurately formed for each workpiece W.
  • the compression molding device 1 can be made unaffected by dust generated when the powder resin in the molding device 100 is tableted, and the compression molding device 1 can be easily placed in a clean room. Furthermore, by docking the molding device 100 for the sealing resin R and the compression molding device 1, data on a predetermined amount of resin obtained as a result of measuring each workpiece W supplied to the compression molding device 1 can be sent to the molding device 100, and a portion of the sealing resin R can be removed so that the amount becomes the predetermined amount. As described above, in one embodiment, the removal mechanism 180 is provided in the forming device 100, but in another embodiment, it may be provided in the compression molding device 1.
  • the sealing resin R formed by the forming device 100 and forming method it is possible to realize a compression molding device 1 and a compression molding method that achieve the following effects.
  • the compression molding device 1 and the compression molding method can prevent molding defects caused by resin flow, uneven scattering, residual gas, and dust generation during molding.
  • the upper limit of the thickness dimension depends on various setting conditions, but it is believed that it is possible to form a thickness of up to about 10 mm. Furthermore, handling during supply and setting is made easier.
  • the compression molding apparatus 1 and compression molding method can solve the problem that arises when a cavity is provided in the upper mold. That is, in a conventional compression molding apparatus in which a cavity is provided in the upper mold, when performing a mold closing process on a workpiece W on which a strip-type wire-connected electronic component (semiconductor chip) Wb is mounted, the wire portion of the workpiece held in the lower mold comes into contact with the sealing resin previously supplied to the cavity or the sealing resin supplied onto the workpiece, and is deformed or cut, making resin sealing difficult.
  • This problem can be solved by adopting a configuration that uses the sealing resin R formed by the apparatus and method of this embodiment, that is, a solid or semi-solid resin formed into a predetermined shape corresponding to the shape of the workpiece W.
  • the sealing resin R is heated and softened and melted, as shown in the transition from FIG. 3A to FIG. 3B.
  • the resin (specifically, the main body portion Ra) comes into uniform contact with all of the wires (see FIG. 3B). This makes it possible to prevent the wires from being deformed or cut.
  • the compression molding apparatus 1 and the compression molding method can also solve the problems that arise when a cavity is provided in the lower mold. That is, in a conventional compression molding apparatus in which a cavity is provided in the lower mold, especially when granular resin is used as the sealing resin, the particle size and height (lamination thickness) of the sealing resin (granular resin) contained in the cavity are not uniform. Therefore, for example, depending on the type and melting state of the granular resin, it may not be completely liquid (low viscosity state), and when performing a mold closing process on a workpiece W on which a strip-type wire-connected electronic component (semiconductor chip) Wb is mounted, as shown in FIG.
  • the compression molding device 1 shown in FIG. 21 can appropriately change and fine-tune the amount of sealing resin R after molding, preventing molding defects caused by an excess or deficiency of the amount of resin.
  • a second embodiment of the present invention will be described.
  • the forming apparatus 100 for the sealing resin R according to this embodiment has a basic configuration similar to that of the first embodiment described above, and the following description will focus on the differences.
  • Fig. 22 is a plan view (schematic diagram) showing an example of the forming apparatus 100 according to this embodiment.
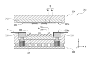
  • the forming device 100 includes a provisional molding section 101 that provisionally molds the base resin Rm to form the sealing resin (provisionally molded resin) R used in compression molding of the workpiece W.
  • the "provisional molding” is "tabletting”
  • the provisional molding section 101 includes a press device 150.
  • the configuration of the press device 150 is the same as that of the first embodiment described above.
  • the "provisional molding” is not limited to “tabletting”
  • the provisional molding section 51 may include a device other than the press device 150 (not shown).
  • the configuration includes one provisional molding section 101, but the configuration may include multiple provisional molding sections 101 (not shown).
  • the forming device 100 also includes a removal mechanism 180 that removes a portion of the sealing resin (temporary molding resin) R when the result of measurement in the measuring unit 190 indicates that the weight or shape is large compared to the "predetermined amount" (as in the first embodiment) required to seal the workpiece W.
  • a known transport device loader, robot hand, etc.
  • the removal mechanism 180 can be configured similarly to the first embodiment described above.
  • the measuring section 190 and the removal mechanism 180 are provided in the supply unit 10A of the compression molding device 1. However, they may be provided in other units (not shown).
  • the press unit 10B of the compression molding device 1 also includes a final molding section 201 that seals the workpiece W using a provisionally molded sealing resin (provisionally molded resin) R to perform final molding.
  • the final molding section 201 includes a press device 250.
  • the configuration of the press device 250 is the same as that described above.

Landscapes

  • Engineering & Computer Science (AREA)
  • Mechanical Engineering (AREA)
  • Casting Or Compression Moulding Of Plastics Or The Like (AREA)
  • Encapsulation Of And Coatings For Semiconductor Or Solid State Devices (AREA)

Abstract

The present invention addresses the problem of providing a device and method for accurately forming a sealing resin in a suitable amount, the device and method making it possible to achieve a compression molding device and a compression molding method that are able to prevent the occurrence of molding defects. As the solution, a device (100) for forming a sealing resin according to the present invention comprises: a preliminary molding unit (101) that preliminarily molds a base resin (Rm) to form a preliminary molded resin (R) to be used for sealing a workpiece (W); a measurement unit (190) that measures the weight or shape of the preliminary molded resin (R); and a removal mechanism (180) that removes part of the preliminary molded resin (R) if the measurement result from the measurement unit (190) is greater than the weight or larger than the shape required for sealing the workpiece (W).

Description

圧縮成形に用いられる封止樹脂の形成装置及び形成方法並びに圧縮成形装置Apparatus and method for forming sealing resin used in compression molding, and compression molding apparatus

 本発明は、圧縮成形に用いられる封止樹脂の形成装置及び形成方法並びに圧縮成形装置に関する。 The present invention relates to an apparatus and method for forming sealing resin used in compression molding, and a compression molding apparatus.

 基材に電子部品が搭載されたワークを封止樹脂により封止して成形品に加工する樹脂封止装置及び樹脂封止方法の例として、圧縮成形方式によるものが知られている。 One example of a resin sealing device and resin sealing method that uses a compression molding method to seal a workpiece, which is a base material mounted with electronic components, with sealing resin and process it into a molded product.

 圧縮成形方式は、上型と下型とを備えて構成される封止金型に設けられる封止領域(キャビティ)に所定量の封止樹脂を供給すると共に当該封止領域にワークを配置して、上型と下型とでクランプする操作によって樹脂封止する技術である。一例として、上型にキャビティを設けた封止金型を用いる場合、ワーク上の中心位置に一括して封止樹脂を供給して成形する技術等が知られている。一方、下型にキャビティを設けた封止金型を用いる場合、当該キャビティを含む金型面を覆うリリースフィルム(以下、単に「フィルム」と称する場合がある)及び封止樹脂を供給して成形する技術等が知られている(特許文献1:特開2019-145550号公報参照)。 The compression molding method is a technique for resin sealing by supplying a predetermined amount of sealing resin to a sealing area (cavity) provided in a sealing mold comprising an upper mold and a lower mold, placing a workpiece in the sealing area, and clamping it with the upper and lower molds. As an example, when using a sealing mold with a cavity in the upper mold, a technique is known in which the sealing resin is supplied all at once to the center position on the workpiece and molded. On the other hand, when using a sealing mold with a cavity in the lower mold, a technique is known in which a release film (hereinafter sometimes simply referred to as "film") that covers the mold surface including the cavity and the sealing resin are supplied and molded (Patent Document 1: See JP 2019-145550 A).

特開2019-145550号公報JP 2019-145550 A

 例えば、ワークとして、ストリップタイプのワイヤー接続された電子部品(半導体チップ)を樹脂封止する場合に、上型にキャビティが設けられる圧縮成形方式では、下型に保持されるワークのワイヤー部分が予めキャビティに供給した封止樹脂またはワーク上に供給した封止樹脂と接触して変形してしまうため、樹脂封止が困難であるという課題があった。そのため、一般的には、上型にワークが保持され、下型にキャビティが設けられ、当該キャビティ内に封止樹脂(一例として、顆粒樹脂)が供給される圧縮成形方式が採用されていた。 For example, when resin-sealing a strip-type wire-connected electronic component (semiconductor chip) as the workpiece, the compression molding method in which a cavity is provided in the upper die has the problem that resin sealing is difficult because the wire portion of the workpiece held in the lower die comes into contact with the sealing resin previously supplied to the cavity or the sealing resin supplied onto the workpiece and becomes deformed. For this reason, the compression molding method in which the workpiece is held in the upper die, a cavity is provided in the lower die, and sealing resin (granular resin, as an example) is supplied into the cavity is generally used.

 しかしながら、上型にワークが保持され、下型にキャビティが設けられる構成においては、ワークが薄い場合や大型の場合に、上型での保持が難しく落下が生じ易いという課題があった。また、通常、フィルムを介在させて下型のキャビティ内に封止樹脂が供給される構成となるが、厚み(ここでは、成形後の樹脂部分の厚み)が1mmを超える程度に厚い成形品を形成しようとすると、成形ストロークが大きくなり、フィルムが成形品に噛み込んでしまう成形不良が生じ易いという課題があった。さらに、封止樹脂として顆粒樹脂が用いられる場合、前記のフィルム噛み込みが発生し易くなり、また、粉塵が発生するという課題や、ハンドリングが難しいという課題に加えて、下型に設けられるキャビティ内の全領域に対して均等に封止樹脂を供給(散布)することが難しく撒きムラが生じ易いという課題があった。また、封止樹脂の散布時に粒同士の隙間に含まれる空気及び溶融時に封止樹脂より脱泡することによる気体成分が抜けずに成形品に残ってしまう成形不良が生じ易いという課題があった。特に、電子部品がワイヤー接続により搭載されたワークの場合、樹脂封止時のキャビティ内における樹脂流動に起因するワイヤー流れ(ワイヤーの変形、切断)が生じるおそれもあった。 However, in a configuration in which the workpiece is held in the upper mold and the cavity is provided in the lower mold, if the workpiece is thin or large, it is difficult to hold it in the upper mold and it is likely to fall. In addition, although the sealing resin is usually supplied into the cavity of the lower mold through a film, when trying to form a thick molded product with a thickness (here, the thickness of the resin part after molding) exceeding 1 mm, the molding stroke becomes large, and there is a problem that the film is likely to get caught in the molded product, resulting in molding defects. Furthermore, when granular resin is used as the sealing resin, in addition to the problem of the film being easily caught in the molded product, dust is generated, and handling is difficult, there is a problem that it is difficult to evenly supply (spray) the sealing resin over the entire area of the cavity provided in the lower mold, and uneven spreading is likely to occur. In addition, there is a problem that the air contained in the gaps between the particles when the sealing resin is sprayed and the gas components due to degassing from the sealing resin when melted are not released and remain in the molded product, resulting in molding defects. In particular, in the case of workpieces in which electronic components are mounted via wire connections, there is a risk of wire flow (deformation or breakage of the wire) due to the flow of resin inside the cavity during resin sealing.

 一方、キャビティの配置に関わらず、封止対象のワークにおいて電子部品の欠落(例えば、間引きのための未搭載や、搭載後の落失等)が生じた場合には、封止に必要な樹脂の総量が増加するため、樹脂量が不足して成形不良が生じる原因となる。また逆に、必要よりも過多の樹脂量が供給された場合には、オーバーフロー量が増加するため、多くの無駄が生じる原因となる。しがたって、ワーク毎に適正量の封止樹脂を正確に形成することが重要となる。 On the other hand, regardless of the cavity arrangement, if the workpiece to be sealed is missing electronic components (for example, not mounted due to thinning out, or dropped after mounting, etc.), the total amount of resin required for sealing increases, causing a resin shortage and resulting in molding defects. Conversely, if more resin than necessary is supplied, the amount of overflow increases, causing a lot of waste. Therefore, it is important to accurately form the correct amount of sealing resin for each workpiece.

 本発明は、上記事情に鑑みてなされ、ハンドリングが容易な封止樹脂であって、且つ、上型にキャビティが設けられる構成の課題解決及び下型にキャビティが設けられる構成の課題解決と、樹脂流動、撒きムラ、残留気体、成形時の粉塵発生に起因する成形不良の発生防止と、厚さ寸法が大きい成形品の形成と、を可能とする圧縮成形装置及び圧縮成形方法を実現することができる封止樹脂を正確に適正量で形成する形成装置及び形成方法を提供することを目的とする。 The present invention was made in consideration of the above circumstances, and aims to provide a molding device and a molding method that accurately forms the correct amount of sealing resin, which is easy to handle, and can realize a compression molding device and a compression molding method that solves the problems of configurations in which a cavity is provided in the upper mold and configurations in which a cavity is provided in the lower mold, prevents molding defects caused by resin flow, uneven distribution, residual gas, and dust generation during molding, and enables the formation of molded products with large thickness dimensions.

 本発明は、以下の実施形態に記載するような解決手段により、前記課題を解決する。 The present invention solves the above problems by using the solutions described in the following embodiments.

 一実施形態に係るベース樹脂を仮成形して、ワークの封止に用いられる仮成形樹脂を形成する仮成形部と、前記仮成形樹脂の重量もしくは形状を測定する測定部と、前記測定部における測定の結果が、前記ワークの封止に必要な重量よりも多い場合もしくは必要な形状よりも大きい場合に、前記仮成形樹脂の一部を除去する除去機構と、を備えることを要件とする。 The device is required to include a provisional molding section that provisionally molds a base resin according to one embodiment to form a provisionally molded resin to be used for sealing the workpiece, a measuring section that measures the weight or shape of the provisionally molded resin, and a removal mechanism that removes a portion of the provisionally molded resin when the result of the measurement in the measuring section is greater than the weight required for sealing the workpiece or greater than the required shape.

 また、前記除去機構は、前記仮成形樹脂を加工する加工ツールを有することが好ましい。 It is also preferable that the removal mechanism has a processing tool for processing the provisionally molded resin.

 他の実施形態に係る封止樹脂の形成装置は、ベース樹脂を打錠して、ワークの圧縮成形に用いられる封止樹脂を形成する形成装置であって、初期設定量の前記ベース樹脂を収容し、前記ワークの形状に対応させた所定形状を有する前記封止樹脂となるように打錠する打錠金型と、打錠して形成された前記封止樹脂が所定量となるように一部を除去する除去機構と、を備えることを要件とする。 Another embodiment of the sealing resin forming device is a forming device that compresses a base resin into tablets to form a sealing resin to be used in compression molding of a workpiece, and is required to include a tableting die that contains an initial set amount of the base resin and compresses the base resin into a sealing resin having a predetermined shape that corresponds to the shape of the workpiece, and a removal mechanism that removes a portion of the sealing resin formed by tableting to a predetermined amount.

 例えば、前記ワークとして、基材に電子部品が搭載された構成を有するワークが用いられる。また、前記ワークについて、前記所定形状は、前記封止樹脂が前記基材上に載置されたときに前記電子部品に当接しない形状であることが好ましい。尚、前記ベース樹脂として、パウダー樹脂が用いられることが好ましい。また、前記封止樹脂について、板状もしくはブロック状の本体部と、前記本体部の一方の面に立設される複数本の脚部と、を有することが好ましく、さらに、前記脚部として、樹脂量の異なる複数種類の脚部を備えていることが好ましい。 For example, the workpiece is a workpiece having a configuration in which electronic components are mounted on a substrate. Furthermore, it is preferable that the predetermined shape of the workpiece is a shape that does not contact the electronic components when the sealing resin is placed on the substrate. It is preferable that a powder resin is used as the base resin. It is also preferable that the sealing resin has a plate-shaped or block-shaped main body and multiple legs erected on one surface of the main body, and further, it is preferable that the legs include multiple types of legs with different amounts of resin.

 また、前記除去機構の作動を制御する制御演算部を備え、前記制御演算部は、前記ワーク毎に一つの前記基材に搭載された前記電子部品の有無の数を計測したデータに基づいて必要な樹脂量を算定することにより前記所定量を設定し、前記所定量となるように前記除去機構の作動を制御することが好ましい。また、前記除去機構は、前記所定量となるように、前記脚部の一部を除去する除去具を有することが好ましい。 Furthermore, it is preferable that a control calculation unit is provided for controlling the operation of the removal mechanism, and the control calculation unit sets the predetermined amount by calculating the amount of resin required based on data obtained by measuring the presence or absence of the electronic components mounted on one of the substrates for each of the workpieces, and controls the operation of the removal mechanism so as to achieve the predetermined amount. It is also preferable that the removal mechanism has a removal tool for removing a portion of the leg so as to achieve the predetermined amount.

 また、一実施形態に係る封止樹脂の形成方法は、ベース樹脂を打錠して、ワークの圧縮成形に用いられる封止樹脂を形成する封止樹脂の形成方法であって、打錠金型に初期設定量の前記ベース樹脂を収容して打錠し、前記ワークの形状に対応させた所定形状を有する前記封止樹脂を形成する打錠工程と、打錠して形成された前記封止樹脂が所定量となるように一部を除去する除去工程と、を備えることを要件とする。 In one embodiment, the method for forming a sealing resin is a method for forming a sealing resin to be used in compression molding of a workpiece by tableting a base resin, and includes a tableting step in which an initial set amount of the base resin is placed in a tableting die and tableted to form the sealing resin having a predetermined shape corresponding to the shape of the workpiece, and a removal step in which a portion of the sealing resin formed by tableting is removed so that the amount of the sealing resin formed by tableting is a predetermined amount.

 また、前記打錠工程は、形成される前記封止樹脂が後の圧縮成形工程において熱硬化することができるように、前記ベース樹脂が熱硬化しない温度で実施することが好ましい。 In addition, the tableting process is preferably carried out at a temperature at which the base resin does not harden thermally, so that the encapsulating resin formed can be hardened thermally in the subsequent compression molding process.

 また、一実施形態に係る圧縮成形装置は、ベース樹脂を用いて仮成形された仮成形樹脂によってワークを封止して本成形する本成形部と、前記仮成形樹脂の重量もしくは形状を測定する測定部と、前記測定部における測定の結果が、前記ワークの封止に必要な重量よりも多い場合もしくは必要な形状よりも大きい場合に、前記仮成形樹脂の一部を除去する除去機構と、を備えることを要件とする。 Furthermore, the compression molding device according to one embodiment is required to include a final molding section that seals the workpiece with a provisionally molded resin that is provisionally molded using a base resin to perform final molding, a measurement section that measures the weight or shape of the provisionally molded resin, and a removal mechanism that removes a portion of the provisionally molded resin when the measurement result in the measurement section is greater than the weight required to seal the workpiece or greater than the required shape.

 また、前記除去機構は、前記仮成形樹脂を加工する加工ツールを有することが好ましい。 It is also preferable that the removal mechanism has a processing tool for processing the provisionally molded resin.

 また、他の実施形態に係る圧縮成形装置は、ワークを封止樹脂により封止して成形品に加工する圧縮成形装置であって、打錠して形成された前記封止樹脂が所定量となるように一部を除去する除去機構を備えることを要件とする。 In another embodiment, the compression molding device is a compression molding device that seals a workpiece with sealing resin and processes it into a molded product, and is required to have a removal mechanism that removes a portion of the sealing resin formed by tableting so that the amount is a predetermined amount.

 本発明に係る形成装置及び形成方法によれば、形成される封止樹脂の樹脂量を適宜、変化させて微調整することができるため、ワーク毎に適正量の封止樹脂を正確に形成することができる。また、当該形成装置及び形成方法によって形成される封止樹脂を用いれば、上型にキャビティが設けられる構成の課題解決及び下型にキャビティが設けられる構成の課題解決と、樹脂流動、撒きムラ、残留気体、成形時の粉塵発生に起因する成形不良の発生防止と、厚さ寸法が大きい成形品の形成と、を可能とする圧縮成形装置及び圧縮成形方法を実現することができる。また、顆粒樹脂等と比べて特に供給時やセット時におけるハンドリングが容易となる。  With the molding device and molding method according to the present invention, the amount of the sealing resin formed can be appropriately changed and fine-tuned, so that the right amount of sealing resin can be accurately formed for each workpiece. Furthermore, by using the sealing resin formed by the molding device and molding method, it is possible to realize a compression molding device and compression molding method that can solve the problems of configurations in which a cavity is provided in the upper mold and configurations in which a cavity is provided in the lower mold, prevent molding defects caused by resin flow, uneven scattering, residual gas, and dust generation during molding, and form molded products with large thickness dimensions. Furthermore, handling is easier than with granular resin, especially when supplying and setting.

図1は、本発明の実施形態に係る形成装置及び形成方法により形成される封止樹脂が用いられる圧縮成形装置の例を示す平面図である。FIG. 1 is a plan view showing an example of a compression molding apparatus in which a sealing resin formed by a forming apparatus and a forming method according to an embodiment of the present invention is used. 図2は、本発明の実施形態に係る形成装置及び形成方法により形成される封止樹脂が用いられる圧縮成形方法の例を説明する説明図である。FIG. 2 is an explanatory diagram illustrating an example of a compression molding method in which a sealing resin formed by the forming apparatus and forming method according to the embodiment of the present invention is used. 図3Aは、図2におけるIII部拡大図である。図3Bは、図3Aに続く説明図である。Fig. 3A is an enlarged view of part III in Fig. 2. Fig. 3B is an explanatory view following Fig. 3A. 図4は、図3Bに続く説明図である。FIG. 4 is an explanatory diagram following FIG. 3B. 図5は、図4に続く説明図である。FIG. 5 is an explanatory diagram following FIG. 図6は、本発明の実施形態に係る形成装置及び形成方法により形成される封止樹脂が用いられる圧縮成形方法の他の例を説明する説明図である。FIG. 6 is an explanatory diagram illustrating another example of a compression molding method in which a sealing resin formed by the forming apparatus and forming method according to an embodiment of the present invention is used. 図7は、図6に続く説明図である。FIG. 7 is an explanatory diagram following FIG. 図8は、図7に続く説明図である。FIG. 8 is an explanatory diagram following FIG. 図9は、本発明の第1の実施形態に係る封止樹脂の形成装置の例を示す平面図である。FIG. 9 is a plan view illustrating an example of the sealing resin forming apparatus according to the first embodiment of the present invention. 図10は、図9に示す形成装置のプレス装置の例を示す側面図である。FIG. 10 is a side view showing an example of a pressing device of the forming apparatus shown in FIG. 図11は、図9に示す形成装置の打錠金型の例を示す側面断面図である。FIG. 11 is a side cross-sectional view showing an example of a tableting die of the forming apparatus shown in FIG. 図12は、図9に示す形成装置の打錠金型の例を示す正面断面図(図11におけるXII-XII線断面図)である。12 is a front cross-sectional view (cross-sectional view taken along line XII-XII in FIG. 11) showing an example of a tableting die of the forming apparatus shown in FIG. 9. 図13は、本発明の実施形態に係る封止樹脂の形成方法の説明図である。FIG. 13 is an explanatory diagram of a method for forming a sealing resin according to an embodiment of the present invention. 図14は、図13に続く説明図である。FIG. 14 is an explanatory diagram following FIG. 図15は、図14に続く説明図である。FIG. 15 is an explanatory diagram following FIG. 図16は、本発明の実施形態に係る形成装置及び形成方法により形成される封止樹脂の例を示す斜視図である。FIG. 16 is a perspective view showing an example of a sealing resin formed by the forming apparatus and forming method according to an embodiment of the present invention. 図17は、本発明の実施形態に係る形成装置及び形成方法により形成される封止樹脂の他の例を示す斜視図である。FIG. 17 is a perspective view showing another example of the sealing resin formed by the forming apparatus and the forming method according to the embodiment of the present invention. 図18は、本発明の実施形態に係る封止樹脂の形成方法における除去工程実施後の封止樹脂の例を示す斜視図である。FIG. 18 is a perspective view showing an example of the sealing resin after the removal step is performed in the sealing resin forming method according to the embodiment of the present invention. 図19は、従来の圧縮成形方法の説明図である。FIG. 19 is an explanatory diagram of a conventional compression molding method. 図20は、従来の圧縮成形方法の説明図である。FIG. 20 is an explanatory diagram of a conventional compression molding method. 図21は、本発明の他の実施形態に係る圧縮成形装置の例を示す平面図である。FIG. 21 is a plan view showing an example of a compression molding device according to another embodiment of the present invention. 図22は、本発明の第2の実施形態に係る封止樹脂の形成装置の例を示す平面図である。FIG. 22 is a plan view illustrating an example of an apparatus for forming a sealing resin according to the second embodiment of the present invention. 図23は、本発明の他の実施形態に係る圧縮成形装置の例を示す平面図である。FIG. 23 is a plan view showing an example of a compression molding device according to another embodiment of the present invention.

(圧縮成形装置及び圧縮成形方法)
 本発明の実施形態に係る封止樹脂の形成装置100及び形成方法は、ワークWの圧縮成形に用いられる封止樹脂Rを形成する装置及び方法である。初めに、当該封止樹脂Rを用いてワークWの樹脂封止(圧縮成形)を行う圧縮成形装置1及び圧縮成形方法の概略について説明する。ここで、図1は、圧縮成形装置1の例を示す平面図(概略図)である。尚、説明の便宜上、図中において矢印により左右方向(X方向)、前後方向(Y方向)、上下方向(Z方向)を示す場合がある。また、各実施形態を説明するための全図において、同一の機能を有する部材には同一の符号を付し、その繰返しの説明は省略する場合がある。
(Compression molding device and compression molding method)
The sealing resin forming apparatus 100 and the forming method according to the embodiment of the present invention are an apparatus and a method for forming a sealing resin R used in compression molding of a workpiece W. First, an outline of a compression molding apparatus 1 and a compression molding method for resin sealing (compression molding) a workpiece W using the sealing resin R will be described. Here, FIG. 1 is a plan view (schematic diagram) showing an example of a compression molding apparatus 1. For convenience of explanation, arrows may be used in the figure to indicate the left-right direction (X direction), the front-back direction (Y direction), and the up-down direction (Z direction). In addition, in all the figures for explaining each embodiment, members having the same function are given the same reference numerals, and repeated explanations thereof may be omitted.

 封止対象であるワークWは、基材Waに電子部品Wbが搭載された構成を備えている。より具体的には、基材Waの例として、樹脂基板、セラミックス基板、金属基板、キャリアプレート、リードフレーム、ウェハ等の板状の部材が挙げられる。また、電子部品Wbの例として、半導体チップ、MEMSチップ、受動素子、放熱板、導電部材、スペーサ等が挙げられる。尚、基材Waの形状は、長方形状(短冊状)、正方形状、円形状等である。また、一つの基材Waに搭載される電子部品Wbの個数は、一つもしくは複数個(例えば、マトリクス状等)に設定される。 The workpiece W to be sealed has a structure in which electronic components Wb are mounted on a substrate Wa. More specifically, examples of the substrate Wa include plate-shaped members such as resin substrates, ceramic substrates, metal substrates, carrier plates, lead frames, and wafers. Examples of the electronic components Wb include semiconductor chips, MEMS chips, passive elements, heat sinks, conductive members, spacers, and the like. The shape of the substrate Wa is rectangular (striped), square, circular, and the like. The number of electronic components Wb mounted on one substrate Wa is set to one or more (for example, in a matrix).

 基材Waに電子部品Wbを搭載する方法の例として、ワイヤーボンディング実装、フリップチップ実装等による方法が挙げられる。あるいは、樹脂封止後に成形品Wpから基材(ガラス製や金属製のキャリアプレート)Waを剥離する構成の場合には、熱剥離性を有する粘着テープや紫外線照射により硬化する紫外線硬化性樹脂を用いて電子部品Wbを貼付ける方法もある。 Examples of methods for mounting electronic components Wb on the substrate Wa include wire bonding and flip chip mounting. Alternatively, in the case of a configuration in which the substrate (glass or metal carrier plate) Wa is peeled off from the molded product Wp after resin sealing, the electronic components Wb can be attached using a thermally peelable adhesive tape or an ultraviolet-curing resin that hardens when exposed to ultraviolet light.

 また、フィルムFの例として、耐熱性、剥離容易性、柔軟性、伸展性に優れたフィルム材、例えば、PTFE(ポリテトラフルオロエチレン)、ETFE(ポリテトラフルオロエチレン重合体)、PET、FEP、フッ素含浸ガラスクロス、ポリプロピレン、ポリ塩化ビニリジン等が好適に用いられる。尚、フィルムFは、後述の形成装置100において封止樹脂Rを形成する際にも用いられる。 Examples of the film F include film materials with excellent heat resistance, ease of peeling, flexibility, and extensibility, such as PTFE (polytetrafluoroethylene), ETFE (polytetrafluoroethylene polymer), PET, FEP, fluorine-impregnated glass cloth, polypropylene, and polyvinylidine chloride. The film F is also used when forming the sealing resin R in the forming device 100 described below.

 図1に示すように、圧縮成形装置1は、ワークWの供給等を行う供給ユニット10A、ワークWを樹脂封止して成形品Wpへの加工等を行うプレスユニット10B、成形品Wpの収納等を行う収納ユニット10Cを主要構成として備えている。一例として、図1中のX方向に沿って、供給ユニット10A、プレスユニット10B、収納ユニット10Cの順に配置されている。但し、上記の構成に限定されるものではなく、ユニット内の機器構成やユニット数(特に、プレスユニット数)、ユニットの配置順等を変更することができる。また、上記以外のユニットを備える構成とすることもできる(いずれも不図示)。 As shown in FIG. 1, the compression molding device 1 mainly comprises a supply unit 10A for supplying the workpiece W, a press unit 10B for sealing the workpiece W with resin and processing it into a molded product Wp, and a storage unit 10C for storing the molded product Wp. As an example, the supply unit 10A, press unit 10B, and storage unit 10C are arranged in this order along the X direction in FIG. 1. However, the above configuration is not limited to this, and the equipment configuration within the unit, the number of units (particularly the number of press units), and the arrangement order of the units can be changed. It is also possible to have a configuration that includes units other than those mentioned above (all not shown).

 また、圧縮成形装置1は、各ユニット間を跨いでガイドレール20が直線状に設けられており、ワークW及び封止樹脂Rを搬送する搬送装置(第1ローダ)22、並びに、成形品Wpを搬送する(封止樹脂Rの搬送に用いてもよい)搬送装置(第2ローダ)24が、ガイドレール20に沿って所定のユニット間を移動可能に設けられている。但し、上記の構成に限定されるものではなく、ワークW、封止樹脂R、及び成形品Wpを搬送する共通の(一つの)搬送装置(ローダ)を備える構成としてもよい(不図示)。また、搬送装置は、ローダに代えて、ロボットハンド等を備える構成としてもよい。 In addition, the compression molding device 1 has a guide rail 20 that is linearly arranged between each unit, and a transport device (first loader) 22 that transports the workpiece W and sealing resin R, and a transport device (second loader) 24 that transports the molded product Wp (which may be used to transport the sealing resin R) are arranged to be movable between predetermined units along the guide rail 20. However, the configuration is not limited to the above, and a configuration that includes a common (single) transport device (loader) that transports the workpiece W, sealing resin R, and molded product Wp (not shown) may also be used. In addition, the transport device may be configured to include a robot hand or the like instead of a loader.

 また、圧縮成形装置1は、各ユニットにおける各機構の作動制御を行う制御部30が供給ユニット10Aに配置されている(他のユニットに配置される構成としてもよい)。 In addition, the compression molding device 1 has a control unit 30 that controls the operation of each mechanism in each unit, which is located in the supply unit 10A (although it may also be configured to be located in another unit).

 プレスユニット10Bは、プレス装置250によって型開閉される一対の封止金型を備えている。封止金型は、一例として、上型にキャビティが設けられる構成(封止金型202)としてもよく、他の例として、下型にキャビティが設けられる構成(封止金型302)としてもよい。 The press unit 10B is equipped with a pair of sealing dies that are opened and closed by the press device 250. As an example, the sealing dies may be configured such that a cavity is provided in the upper die (sealing die 202), and as another example, they may be configured such that a cavity is provided in the lower die (sealing die 302).

 一例として、封止金型202を備える場合の圧縮成形装置1を用いて実施される圧縮成形方法の工程について図2~図5を参照して説明する。この場合、プレス装置250には、上型204におけるキャビティ208の内面を含む金型面204a(所定領域)を覆うためのフィルムFを供給するフィルム供給部211が設けられている。尚、一例として、フィルムFは、ロール状であるが短冊状であってもよい。 As an example, the steps of a compression molding method performed using a compression molding apparatus 1 equipped with a sealing mold 202 will be described with reference to Figs. 2 to 5. In this case, the press device 250 is provided with a film supply section 211 that supplies film F to cover the mold surface 204a (predetermined area) including the inner surface of the cavity 208 in the upper mold 204. As an example, the film F is in a roll shape, but it may also be in a strip shape.

 先ず、準備工程(封止準備工程)を実施する。具体的に、上型204及び下型206を所定温度(例えば、100℃~300℃)に調整して加熱する工程を実施する。また、フィルム供給部211を作動させて新しいフィルムFを供給して、上型204におけるキャビティ208の内面を含む金型面204aの所定領域を覆うように吸着させる工程を実施する。 First, a preparation process (sealing preparation process) is carried out. Specifically, a process is carried out in which the upper mold 204 and the lower mold 206 are adjusted to a predetermined temperature (e.g., 100°C to 300°C) and heated. In addition, a process is carried out in which the film supply unit 211 is operated to supply new film F and adsorb it so as to cover a predetermined area of the mold surface 204a, including the inner surface of the cavity 208 in the upper mold 204.

 準備工程の後に、下型206のワーク保持部205にワークWを保持させるワーク保持工程を実施する。具体的には、供給マガジン12から供給されたワークWを、第1ローダ22によって保持して封止金型202内へ搬入し、下プレート242(金型面206a)のワーク保持部205に保持させる。 After the preparation process, a workpiece holding process is carried out in which the workpiece W is held by the workpiece holding portion 205 of the lower die 206. Specifically, the workpiece W supplied from the supply magazine 12 is held by the first loader 22 and carried into the sealing die 202, where it is held by the workpiece holding portion 205 of the lower plate 242 (die surface 206a).

 ワーク保持工程の後に、封止樹脂Rを、ワーク保持部205に保持させたワークWの上に載置する樹脂載置工程を実施する(図2参照)。具体的には、後述する封止樹脂の形成装置(単に、「形成装置」と称する場合がある)100において形成された封止樹脂Rを、第1ローダ22(他の搬送装置でもよい)によって保持して封止金型202内へ搬入し、ワーク保持部205に保持されたワークWの上に載置する。 After the workpiece holding step, a resin placing step is performed in which the sealing resin R is placed on the workpiece W held by the workpiece holding portion 205 (see FIG. 2). Specifically, the sealing resin R formed in the sealing resin forming device (which may simply be referred to as the "forming device") 100 described below is held by the first loader 22 (or another transport device) and carried into the sealing mold 202, where it is placed on the workpiece W held by the workpiece holding portion 205.

 または、樹脂載置工程の他の例として、上記のワーク保持工程の前に、形成装置100において形成された封止樹脂RをワークWの上に載置する工程として実施してもよい。その場合、ワーク保持工程は、封止樹脂Rが載置された状態のワークWをワーク保持部205に保持させる工程となる。すなわち、第1ローダ22は、封止樹脂Rが載置された状態のワークWを保持して封止金型202内へ搬入し、ワーク保持部205に保持させる。封止金型202へのワークWと封止樹脂Rをそれぞれ別に行うのではなく、一回で行う利点がある。 Alternatively, as another example of the resin placing process, the sealing resin R formed in the forming device 100 may be placed on the workpiece W prior to the above-mentioned workpiece holding process. In this case, the workpiece holding process is a process in which the workpiece W with the sealing resin R placed thereon is held by the workpiece holding section 205. That is, the first loader 22 holds the workpiece W with the sealing resin R placed thereon, carries it into the sealing die 202, and holds it in the workpiece holding section 205. This has the advantage of carrying out the workpiece W and sealing resin R in the sealing die 202 in one go, rather than separately.

 次いで、ワークWを封止樹脂Rにより封止して成形品Wpに加工する樹脂封止工程を実施する。具体的に、封止金型202の型閉じを行い、クランパ228に囲われたキャビティ208内でキャビティ駒226を相対的に下降させて、ワークWに対して封止樹脂Rを加熱加圧する型閉じ工程を実施する。尚、図3Aは図2におけるIII部の拡大図であり、型閉じ工程おいて図3Aの状態から図3Bの状態となるように封止樹脂Rの軟化・溶融が進行する。 Next, a resin sealing process is carried out in which the workpiece W is sealed with sealing resin R and processed into a molded product Wp. Specifically, the sealing mold 202 is closed, and the cavity piece 226 is lowered relatively within the cavity 208 surrounded by the clamper 228 to carry out the mold closing process in which the sealing resin R is heated and pressurized against the workpiece W. Note that FIG. 3A is an enlarged view of part III in FIG. 2, and during the mold closing process, the sealing resin R softens and melts so that it changes from the state in FIG. 3A to the state in FIG. 3B.

 これにより、封止樹脂Rが熱硬化して樹脂封止(圧縮成形)が完了する(図4参照)。 This causes the sealing resin R to thermally harden and complete the resin sealing (compression molding) (see Figure 4).

 尚、上記の型閉じ工程に続く後の工程は、従来の圧縮成形方法と同様である。概略として、封止金型202の型開きを行い、成形品Wpと使用済みのフィルムFとを分離して当該成形品Wpを取出せるようにする型開き工程を実施する(図5参照)。次いで、第2ローダ24によって、成形品Wpを封止金型202内から搬出し、収納ユニット10Cへ搬送する成形品搬出工程を実施する。一例として、搬送した成形品Wpは、収納マガジン14に収納する。また、成形品搬出工程の後に、もしくは、並行して、フィルム供給部211を作動させて、使用済みのフィルムFを封止金型202内から送り出し、新しいフィルムFを封止金型202内へ送り込んでセットする工程を実施する。 The steps following the mold closing step are the same as those in conventional compression molding methods. In summary, the mold opening step is performed to open the sealing mold 202 and separate the molded product Wp from the used film F so that the molded product Wp can be removed (see FIG. 5). Next, the molded product unloading step is performed to unload the molded product Wp from the sealing mold 202 by the second loader 24 and transport it to the storage unit 10C. As an example, the transported molded product Wp is stored in the storage magazine 14. In addition, after or in parallel with the molded product unloading step, the film supply unit 211 is operated to send out the used film F from the sealing mold 202 and send a new film F into the sealing mold 202 and set it therein.

 以上が封止金型202を備える場合の圧縮成形装置1を用いて行う圧縮成形方法の主要工程である。但し、上記の工程順は一例であって、支障がない限り先後順の変更や並行実施が可能である。 The above are the main steps of the compression molding method performed using the compression molding device 1 when equipped with the sealing mold 202. However, the above order of steps is only an example, and the order of steps can be changed or steps can be performed in parallel as long as no problems occur.

 他の例として、封止金型302を備える場合の圧縮成形装置1を用いて実施される圧縮成形方法の工程について図6~図8を参照して説明する。この場合、プレス装置250には、下型306におけるキャビティ308の内面を含む金型面306a(所定領域)を覆うためのフィルムFを供給するフィルム供給部311が設けられている。尚、一例として、フィルムFは、ロール状であるが短冊状であってもよい。 As another example, the steps of a compression molding method performed using a compression molding apparatus 1 equipped with a sealing mold 302 will be described with reference to Figures 6 to 8. In this case, the press device 250 is provided with a film supply section 311 that supplies film F to cover the mold surface 306a (predetermined area) including the inner surface of the cavity 308 in the lower mold 306. As an example, the film F is in a roll shape, but it may also be in a strip shape.

 先ず、準備工程(封止準備工程)を実施する。具体的に、上型304及び下型306を所定温度(例えば、100℃~300℃)に調整して加熱する工程を実施する。また、フィルム供給部311を作動させて新しいフィルムFを供給して、下型306におけるキャビティ308の内面を含む金型面306aの所定領域を覆うように吸着させる工程を実施する。 First, a preparation process (sealing preparation process) is carried out. Specifically, a process is carried out in which the upper die 304 and the lower die 306 are adjusted to a predetermined temperature (e.g., 100°C to 300°C) and heated. In addition, a process is carried out in which the film supply unit 311 is operated to supply new film F and adsorb it so as to cover a predetermined area of the die surface 306a, including the inner surface of the cavity 308 in the lower die 306.

 準備工程の後に、上型304のワーク保持部305にワークWを保持させるワーク保持工程を実施する。具体的には、供給マガジン12から供給されたワークWを、第1ローダ22によって保持して封止金型302内へ搬入し、上プレート342(金型面304a)のワーク保持部305に保持させる。 After the preparation process, a workpiece holding process is carried out in which the workpiece W is held by the workpiece holding portion 305 of the upper die 304. Specifically, the workpiece W supplied from the supply magazine 12 is held by the first loader 22 and carried into the sealing die 302, where it is held by the workpiece holding portion 305 of the upper plate 342 (die surface 304a).

 ワーク保持工程の後に、樹脂保持工程を実施する(尚、ワーク保持工程の前に、もしくは並行して実施してもよい)。樹脂保持工程は以下の工程を有している。封止樹脂Rを、下型306のキャビティ308内に保持させる(図6参照)。具体的には、形成装置100において形成された封止樹脂Rを、第1ローダ22(他の搬送装置でもよい)によって保持して封止金型302内へ搬入し、キャビティ308内に収容する(具体的には、キャビティ駒326の上面に載置する)。 After the workpiece holding process, the resin holding process is carried out (it may be carried out before the workpiece holding process or in parallel). The resin holding process has the following steps: The sealing resin R is held in the cavity 308 of the lower die 306 (see FIG. 6). Specifically, the sealing resin R formed in the forming device 100 is held by the first loader 22 (or another transport device) and carried into the sealing die 302, and is housed in the cavity 308 (specifically, it is placed on the top surface of the cavity piece 326).

 次いで、ワークWを封止樹脂Rにより封止して成形品Wpに加工する樹脂封止工程を実施する。具体的に、封止金型302の型閉じを行い、クランパ328に囲われたキャビティ308内でキャビティ駒326を相対的に上昇させて、ワークWに対して封止樹脂Rを加熱加圧する型閉じ工程を実施する。これにより、封止樹脂Rが熱硬化して樹脂封止(圧縮成形)が完了する(図7参照)。 Next, a resin sealing process is carried out in which the workpiece W is sealed with sealing resin R and processed into a molded product Wp. Specifically, the sealing mold 302 is closed, and the cavity piece 326 is raised relatively within the cavity 308 surrounded by the clamper 328 to carry out the mold closing process in which the sealing resin R is heated and pressurized against the workpiece W. This causes the sealing resin R to thermally harden, completing the resin sealing (compression molding) (see FIG. 7).

 尚、上記の型閉じ工程に続く後の工程は、従来の圧縮成形方法と同様である。概略として、封止金型302の型開きを行い、成形品Wpと使用済みのフィルムFとを分離して当該成形品Wpを取出せるようにする型開き工程を実施する(図8参照)。次いで、第2ローダ24によって、成形品Wpを封止金型302内から搬出し、収納ユニット10Cへ搬送する成形品搬出工程を実施する。一例として、搬送した成形品Wpは、収納マガジン14に収納する。また、成形品搬出工程の後に、もしくは、並行して、フィルム供給部311を作動させて、使用済みのフィルムFを封止金型302内から送り出し、新しいフィルムFを封止金型302内へ送り込んでセットする工程を実施する。 The steps following the mold closing step are the same as those in conventional compression molding methods. In summary, the mold opening step is performed to open the sealing mold 302 and separate the molded product Wp from the used film F so that the molded product Wp can be removed (see FIG. 8). Next, the molded product unloading step is performed to unload the molded product Wp from the sealing mold 302 by the second loader 24 and transport it to the storage unit 10C. As an example, the transported molded product Wp is stored in the storage magazine 14. In addition, after or in parallel with the molded product unloading step, the film supply unit 311 is operated to send out the used film F from the sealing mold 302 and send a new film F into the sealing mold 302 and set it there.

 以上が封止金型302を備える場合の圧縮成形装置1を用いて行う圧縮成形方法の主要工程である。但し、上記の工程順は一例であって、支障がない限り先後順の変更や並行実施が可能である。 The above are the main steps of the compression molding method performed using the compression molding device 1 when equipped with the sealing mold 302. However, the above order of steps is only an example, and the order of steps can be changed or steps can be performed in parallel as long as no problems occur.

[第1の実施形態]
(封止樹脂の形成装置)
 続いて、上記の圧縮成形装置1及び圧縮成形方法に用いられる封止樹脂Rを形成する形成装置100(第1の実施形態)について図9~図12を参照して説明する。当該形成装置100は、ベース樹脂Rmを加工して、封止樹脂Rを形成する。ここで、図9は、形成装置100の例を示す平面図(概略図)である。尚、形成装置100は、圧縮成形装置1の装置内、装置外のいずれに設けてもよい。
[First embodiment]
(Sealing resin forming device)
Next, a forming apparatus 100 (first embodiment) for forming the sealing resin R used in the compression molding apparatus 1 and the compression molding method will be described with reference to Figs. 9 to 12. The forming apparatus 100 processes the base resin Rm to form the sealing resin R. Fig. 9 is a plan view (schematic diagram) showing an example of the forming apparatus 100. The forming apparatus 100 may be provided either inside or outside the compression molding apparatus 1.

 本実施形態においては、ベース樹脂Rm、及び、当該ベース樹脂Rmから形成される封止樹脂Rとして、熱硬化性樹脂(例えば、フィラー含有のエポキシ系樹脂等であるが、これに限定されない)が用いられる。封止樹脂Rは、全体の形状がワークWの形状に対応させた所定形状(詳細は後述)を有する固形・半固形樹脂として形成される。通常は、一個で封止必要量(ワークW一個当たりの一回分)の「全体」をなすが、数個(例えば二、三個程度)の分割状態で封止必要量の「全体」をなすように構成してもよい。また、上記「半固形」とは完全な固形状態ではなくいわゆるBステージまで溶融した状態をいう。尚、ベース樹脂Rmには、熱硬化性樹脂(性質)であるパウダー樹脂(態様)が好適に用いられる。但し、これに限定されるものではなく、顆粒樹脂、破砕状樹脂、固形樹脂、液状樹脂、もしくは、それらの内の複数を組合せた樹脂、が用いられる構成としてもよい。 In this embodiment, a thermosetting resin (such as, but not limited to, an epoxy resin containing a filler) is used as the base resin Rm and the sealing resin R formed from the base resin Rm. The sealing resin R is formed as a solid or semi-solid resin having a predetermined shape (details will be described later) that corresponds to the shape of the workpiece W. Usually, one piece constitutes the "whole" of the required amount of sealing (one amount per workpiece W), but it may be configured so that several pieces (for example, about two or three pieces) are divided to constitute the "whole" of the required amount of sealing. In addition, the above-mentioned "semi-solid" does not mean a completely solid state, but a state in which it is melted to the so-called B stage. In addition, a powder resin (form) that is a thermosetting resin (property) is preferably used for the base resin Rm. However, it is not limited to this, and a granular resin, a crushed resin, a solid resin, a liquid resin, or a resin that is a combination of two or more of these may be used.

 図9に示すように、形成装置100は、型開閉される一対の金型(例えば、合金工具鋼からなる複数の金型ブロック、金型プレート、金型ピラー等やその他の部材が組み付けられたもの)を有する打錠金型102を備えている。また、打錠金型102を開閉駆動するプレス装置150を備えている。また、各機構の作動制御等を行う制御演算部170を備えている。ここで、プレス装置150の側面図(概略図)を図10に示す。また、打錠金型102の側面断面図(概略図)を図11に示し、XII-XII位置の正面断面図(概略図)を図12に示す。 As shown in FIG. 9, the forming device 100 is equipped with a tableting die 102 having a pair of dies (for example, a combination of multiple die blocks, die plates, die pillars, etc., made of alloy tool steel, and other components) that can be opened and closed. It is also equipped with a press device 150 that drives the tableting die 102 to open and close. It is also equipped with a control and calculation unit 170 that controls the operation of each mechanism. Here, a side view (schematic diagram) of the press device 150 is shown in FIG. 10. Also, a side cross-sectional view (schematic diagram) of the tableting die 102 is shown in FIG. 11, and a front cross-sectional view (schematic diagram) at the XII-XII position is shown in FIG. 12.

 プレス装置150は、図10に示すように、一対のプラテン154、156と、一対のプラテン154、156が架設される複数のタイバー152と、プラテン156を可動(昇降)させる駆動装置等を備えて構成されている。具体的に、当該駆動装置は、駆動源(例えば、電動モータ)160及び駆動伝達機構(例えば、ボールねじやトグルリンク機構)162等を備えて構成されている(但し、これに限定されるものではない)。本実施形態では、鉛直方向において上方側のプラテン154を固定プラテン(タイバー152に固定されるプラテン)とし、下方側のプラテン156を可動プラテン(タイバー152に摺動可能に保持されて昇降するプラテン)として設定している。但し、これに限定されるものではなく、上下逆に、すなわち上方側を可動プラテン、下方側を固定プラテンに設定してもよく、あるいは、上方側、下方側共に可動プラテンとして設定してもよい(いずれも不図示)。 As shown in FIG. 10, the press device 150 is configured with a pair of platens 154, 156, a number of tie bars 152 on which the pair of platens 154, 156 are supported, and a drive device for moving (raising and lowering) the platen 156. Specifically, the drive device is configured with a drive source (e.g., an electric motor) 160 and a drive transmission mechanism (e.g., a ball screw or a toggle link mechanism) 162 (however, this is not limited to this). In this embodiment, the upper platen 154 in the vertical direction is set as a fixed platen (a platen fixed to the tie bars 152), and the lower platen 156 is set as a movable platen (a platen slidably held by the tie bars 152 and raised and lowered). However, this is not limited to this, and the platens may be set upside down, i.e., the upper side may be set as a movable platen and the lower side as a fixed platen, or both the upper and lower sides may be set as movable platens (neither is shown).

 一方、打錠金型102は、図10に示すように、プレス装置150における上記一対のプラテン154、156間に配設される一対の金型として、鉛直方向における上方側の上型104と、下方側の下型106とを備えている。上型104が上方側のプラテン(本実施形態では、固定プラテン154)に組み付けられ、下型106が下方側のプラテン(本実施形態では、可動プラテン156)に組み付けられている。この上型104と下型106とが相互に接近・離反することで型閉じ・型開きが行われる(鉛直方向(上下方向)が型開閉方向となる)。本実施形態に係る打錠金型102においては、上型104がいわゆる「杵型」を構成し、下型106がいわゆる「臼型」を構成する。 On the other hand, as shown in FIG. 10, the tableting die 102 is provided with an upper die 104 on the upper side in the vertical direction and a lower die 106 on the lower side as a pair of dies arranged between the pair of platens 154, 156 in the press device 150. The upper die 104 is assembled to the upper platen (in this embodiment, the fixed platen 154), and the lower die 106 is assembled to the lower platen (in this embodiment, the movable platen 156). The upper die 104 and the lower die 106 move toward and away from each other to close and open the die (the vertical direction (up and down direction) is the die opening and closing direction). In the tableting die 102 according to this embodiment, the upper die 104 constitutes a so-called "pestle die", and the lower die 106 constitutes a so-called "mortar die".

 プレス装置150には、上型104の金型面104a(所定領域)を覆うためのフィルムFを供給する上型フィルム供給部113、及び、下型106におけるキャビティ108の内面を含む金型面106a(所定領域)を覆うためのフィルムFを供給する下型フィルム供給部111が設けられている。尚、一例として、フィルムFは、ロール状であるが短冊状であってもよい。 The press device 150 is provided with an upper die film supply section 113 that supplies film F to cover the die surface 104a (predetermined area) of the upper die 104, and a lower die film supply section 111 that supplies film F to cover the die surface 106a (predetermined area) including the inner surface of the cavity 108 in the lower die 106. As an example, the film F is in a roll shape, but it may also be in a strip shape.

 次に、打錠金型102の下型106について詳しく説明する。図11、図12に示すように、下型106は、下型チェイス110と、これに保持されるキャビティ駒126、クランパ128等を備えている。下型チェイス110は、サポートピラー112を介してサポートプレート114の上面に対して固定されている。下型106の上面(上型104側の面)にキャビティ108が設けられている。このキャビティ108内に所定量のベース樹脂Rmが収容される。 Next, the lower die 106 of the tableting die 102 will be described in detail. As shown in Figures 11 and 12, the lower die 106 comprises a lower die chase 110, a cavity piece 126 held by it, a clamper 128, etc. The lower die chase 110 is fixed to the upper surface of the support plate 114 via a support pillar 112. A cavity 108 is provided on the upper surface of the lower die 106 (the surface facing the upper die 104). A predetermined amount of base resin Rm is contained in this cavity 108.

 クランパ128は、キャビティ駒126を囲うように環状に構成されると共に、押動ピン122及びクランパバネ124(例えば、コイルバネに例示される付勢部材)を介して、サポートプレート114の上面に対して離間(フローティング)して上下動可能に組み付けられる(但し、この組み付け構造に限定されるものではない)。このキャビティ駒126がキャビティ108の奥部(底部)を構成し、クランパ128がキャビティ108の側部を構成する。尚、一つの下型106に設けられるキャビティ108の形状や個数は、適宜設定される(一つもしくは複数個)。 The clamper 128 is configured in an annular shape to surround the cavity piece 126, and is assembled to be movable up and down while being spaced (floating) from the upper surface of the support plate 114 via the push pin 122 and the clamper spring 124 (a biasing member such as a coil spring, for example) (however, this assembly structure is not limited). The cavity piece 126 forms the inner part (bottom part) of the cavity 108, and the clamper 128 forms the side part of the cavity 108. The shape and number of cavities 108 provided in one lower mold 106 are set appropriately (one or multiple).

 また、下型106は、クランパ128上面やクランパ128とキャビティ駒126との境界部等に、吸引装置に連通する吸引路(孔や溝等)が設けられている(不図示)。これにより、下型フィルム供給部111から供給されたフィルムFを、キャビティ108の内面を含む金型面106aに吸着させて保持することができる。 The lower mold 106 is also provided with suction paths (holes, grooves, etc.) (not shown) that communicate with a suction device on the upper surface of the clamper 128 and at the boundary between the clamper 128 and the cavity piece 126. This allows the film F supplied from the lower mold film supply unit 111 to be adsorbed and held on the mold surface 106a, including the inner surface of the cavity 108.

 また、本実施形態においては、下型106を所定温度に加熱する下型加熱機構(不図示)が設けられている。この下型加熱機構は、ヒータ(例えば、電熱線ヒータ)、温度センサ、電源等を備えており、制御演算部170によって加熱の制御が行われる。一例として、ヒータは、下型チェイス110に内蔵され、下型106全体及びキャビティ108内に収容されるベース樹脂Rmに熱を加える構成となっている。このとき、ベース樹脂Rmが熱硬化(本硬化)しない程度の所定温度(例えば、50℃~80℃)となるように、下型106が加熱される。 In addition, in this embodiment, a lower die heating mechanism (not shown) is provided that heats the lower die 106 to a predetermined temperature. This lower die heating mechanism includes a heater (e.g., an electric wire heater), a temperature sensor, a power source, etc., and heating is controlled by the control and calculation unit 170. As an example, the heater is built into the lower die chase 110 and is configured to apply heat to the entire lower die 106 and the base resin Rm contained in the cavity 108. At this time, the lower die 106 is heated to a predetermined temperature (e.g., 50°C to 80°C) that does not cause the base resin Rm to thermally harden (mainly harden).

 尚、上記の下型106は、一例として可動式クランパ(クランパ128)を有する構造であるが、他の例として可動式クランパを有しない構造であってもよい(不図示)。 In addition, the lower mold 106 described above has a structure that includes a movable clamper (clamper 128) as an example, but as another example, it may have a structure that does not include a movable clamper (not shown).

 次に、打錠金型102の上型104について詳しく説明する。図11、図12に示すように、上型104は、下型106のキャビティ108内に収容される所定量のベース樹脂Rmを押圧して、ワークWの形状に対応させた所定形状を有する封止樹脂Rとなるように形成(打錠)する打錠プレート142を備えている(形成方法の詳細については後述する)。打錠プレート142は、上型チェイス140に保持(固定)される。一例として、打錠プレート142の下面(下型106側の面)に、封止樹脂Rの脚部Rbを形成するための脚部形成溝(凹部を含む)143が設けられている。 Next, the upper die 104 of the tableting die 102 will be described in detail. As shown in Figures 11 and 12, the upper die 104 is equipped with a tableting plate 142 that presses a predetermined amount of base resin Rm contained in the cavity 108 of the lower die 106 to form (tablet) the sealing resin R having a predetermined shape corresponding to the shape of the workpiece W (the forming method will be described in detail later). The tableting plate 142 is held (fixed) by the upper die chase 140. As an example, a leg forming groove (including a recess) 143 for forming the leg Rb of the sealing resin R is provided on the lower surface (the surface facing the lower die 106) of the tableting plate 142.

 本実施形態においては、樹脂量の異なる複数種類の脚部Rbを備える封止樹脂Rを形成するために、凹部容積(すなわち凹部の内径・深さ)の異なる複数種類の脚部形成溝143が設けられている。一例として、樹脂量の異なる複数種類(一例として、1g、2g、3g、5g等)の脚部Rbを形成することができるように、脚部形成溝143の形状(凹部容積)が設定されている。 In this embodiment, in order to form sealing resin R having multiple types of legs Rb with different resin amounts, multiple types of leg forming grooves 143 with different recess volumes (i.e., inner diameter and depth of the recess) are provided. As an example, the shape (recess volume) of leg forming groove 143 is set so that multiple types of legs Rb with different resin amounts (for example, 1g, 2g, 3g, 5g, etc.) can be formed.

 尚、脚部形成溝143は、打錠プレート142に設けたが、キャビティ駒126に設けてもよいし、両方に設けてもよい。 The leg forming groove 143 is provided on the tableting plate 142, but it may also be provided on the cavity piece 126, or on both.

 また、上型104は、打錠プレート142等に、吸引装置に連通する吸引路(孔や溝等)が設けられている(不図示)。これにより、上型フィルム供給部113から供給されたフィルムFを、金型面104aに吸着させて保持することができる。 The upper die 104 also has suction paths (holes, grooves, etc.) (not shown) in the tableting plate 142 etc. that communicate with the suction device. This allows the film F supplied from the upper die film supply unit 113 to be adsorbed and held on the die surface 104a.

 また、本実施形態においては、上型104を所定温度に加熱する上型加熱機構(不図示)が設けられている。この上型加熱機構は、ヒータ(例えば、電熱線ヒータ)、温度センサ、電源等を備えており、制御演算部170によって加熱の制御が行われる。一例として、ヒータは、上型チェイス140に内蔵され、上型104全体に熱を加える構成となっている。このとき、上記下型106に保持(収容)されるベース樹脂Rmが熱硬化(本硬化)しない程度の所定温度(例えば、50℃~80℃)となるように、上型104が加熱される。 In addition, in this embodiment, an upper die heating mechanism (not shown) is provided that heats the upper die 104 to a predetermined temperature. This upper die heating mechanism includes a heater (e.g., an electric wire heater), a temperature sensor, a power source, etc., and heating is controlled by the control and calculation unit 170. As an example, the heater is built into the upper die chase 140 and is configured to apply heat to the entire upper die 104. At this time, the upper die 104 is heated to a predetermined temperature (e.g., 50°C to 80°C) at which the base resin Rm held (contained) in the lower die 106 does not thermally harden (mainly harden).

 さらに、本実施形態に特徴的な構成として、形成装置100は、打錠して形成された封止樹脂Rが所定量となるように、打錠後にその一部を除去する除去機構180を備えている。当該除去機構180は、封止樹脂R(一例として、脚部Rb)の一部を除去する除去具を備えている。本願における「除去」は、切り取り、削り取り、折り取り等、広く除去する概念として定義する。除去具の例として、機械的除去を行う金属刃カッタ、熱溶融除去を行う熱溶融カッタ、等を用いることができる(いずれも不図示)。 Furthermore, as a characteristic configuration of this embodiment, the forming device 100 is provided with a removal mechanism 180 that removes a portion of the sealing resin R after tableting so that the amount of the sealing resin R formed by tableting is a predetermined amount. The removal mechanism 180 is provided with a removal tool that removes a portion of the sealing resin R (as an example, the leg portion Rb). In this application, "removal" is defined broadly as the concept of removal, such as cutting, scraping, and breaking off. Examples of removal tools that can be used include a metal blade cutter that performs mechanical removal, a thermal melting cutter that performs thermal melting removal, and the like (neither of which are shown).

 これによれば、打錠して形成された封止樹脂Rの一部を除去することによって、打錠後(形成後)の封止樹脂Rの樹脂量を適宜、変化させて微調整することができる。したがって、ワークW毎に適正量の封止樹脂Rを正確に形成することができる。 By removing a portion of the sealing resin R formed by tableting, the amount of sealing resin R after tableting (formation) can be appropriately changed and fine-tuned. Therefore, the appropriate amount of sealing resin R can be accurately formed for each workpiece W.

 前述の通り、封止樹脂Rにおいて樹脂量の異なる複数種類(一例として、1g、2g、3g、5g等)の脚部Rbを形成しておけば、所定量の封止樹脂Rとするために脚部Rbを除去する作業を迅速且つ容易に行うことができる。尚、除去対象となる脚部Rbは、一例として、円柱状とすれば除去が容易となるが、当該形状に限定されるものではない。 As mentioned above, if multiple types of legs Rb with different resin amounts (for example, 1g, 2g, 3g, 5g, etc.) are formed in the sealing resin R, the work of removing the legs Rb to obtain a predetermined amount of sealing resin R can be performed quickly and easily. Note that, as an example, the legs Rb to be removed can be cylindrical in shape to facilitate removal, but are not limited to this shape.

 尚、他の実施形態として、除去機構180を形成装置100に代えて圧縮成形装置1に設けてもよい(図21参照)。一例として、供給ユニット10Aに設けているが、これに限定されるものではなく、他のユニットに設けてもよい(不図示)。この実施形態の場合、除去機構180の作動制御は制御部30が行う。 In another embodiment, the removal mechanism 180 may be provided in the compression molding device 1 instead of the forming device 100 (see FIG. 21). As an example, it is provided in the supply unit 10A, but this is not limiting and the mechanism may be provided in another unit (not shown). In this embodiment, the operation of the removal mechanism 180 is controlled by the control unit 30.

(封止樹脂の形成方法)
 続いて、上記の形成装置100を用いて実施される本実施形態に係る封止樹脂の形成方法の工程について説明する。ここで、図13~図15は、各工程の説明図であって、図12と同方向の正面断面図として図示する。
(Method of forming sealing resin)
Next, there will be described steps of the method for forming the sealing resin according to the present embodiment, which is carried out using the above-mentioned forming apparatus 100. Here, Fig. 13 to Fig. 15 are explanatory views of each step, and are illustrated as front cross-sectional views taken in the same direction as Fig. 12.

 先ず、準備工程(打錠準備工程)を実施する。準備工程は以下の工程を有している。下型加熱機構により下型106を所定温度(ベース樹脂Rm、封止樹脂Rが本硬化しない温度であり、例えば、50℃~80℃)に調整して加熱する下型加熱工程を実施する。また、上型加熱機構により上型104を所定温度(ベース樹脂Rm、封止樹脂Rが本硬化しない温度であり、例えば、50℃~80℃)に調整して加熱する上型加熱工程を実施する。また、下型フィルム供給部111を作動させて新しいフィルムFを供給して、下型106におけるキャビティ108の内面を含む金型面106aの所定領域を覆うように吸着させる下型フィルム供給工程を実施する。また、上型フィルム供給部113を作動させて新しいフィルムFを供給して、上型104の金型面104aの所定領域を覆うように吸着させる上型フィルム供給工程を実施する。 First, a preparation step (tabletting preparation step) is performed. The preparation step includes the following steps. A lower mold heating step is performed in which the lower mold 106 is heated to a predetermined temperature (a temperature at which the base resin Rm and the sealing resin R do not fully harden, for example, 50°C to 80°C) by the lower mold heating mechanism. An upper mold heating step is performed in which the upper mold 104 is heated to a predetermined temperature (a temperature at which the base resin Rm and the sealing resin R do not fully harden, for example, 50°C to 80°C) by the upper mold heating mechanism. A lower mold film supply step is performed in which the lower mold film supply unit 111 is operated to supply new film F and adsorb it to cover a predetermined area of the mold surface 106a including the inner surface of the cavity 108 in the lower mold 106. An upper mold film supply step is performed in which the upper mold film supply unit 113 is operated to supply new film F and adsorb it to cover a predetermined area of the mold surface 104a of the upper mold 104.

 準備工程の後に、ベース樹脂Rmを打錠することにより、封止樹脂Rとして、全体の形状がワークWの形状に対応させた所定形状(後述)を有する固形・半固形樹脂を形成する打錠工程を実施する。具体的には、図示しないディスペンサ、搬送装置等を用いて、初期設定量(ワークW毎に想定される最大必要量よりも多い、もしくは等しい樹脂量)のベース樹脂Rmを下型106のキャビティ108内に収容する(図13参照)。次いで、プレス装置150を作動させて、上記の所定温度に昇温された打錠金型102の型閉じを行う(図14参照)。このとき、キャビティ108内でキャビティ駒126が相対的に上昇して、キャビティ駒126と打錠プレート142とでベース樹脂Rmを打錠(挟み込んで加圧)する。これにより、所定形状を有し、熱硬化(本硬化)していない状態の固形・半固形の封止樹脂Rが形成される。このとき、フィルムFを介して打錠プレート142の脚部形成溝143内に進入するベース樹脂Rmが封止樹脂Rの脚部Rbとなり、その他の(残余の)ベース樹脂Rmが封止樹脂Rの本体部Raとなる(封止樹脂Rの詳細構成については後述する)。尚、打錠工程の変形例として、ベース樹脂Rmの一部を上型104に保持(溶着、把持等)させてもよい(不図示)。また、脚部形成溝143は、打錠プレート142に設けたが、キャビティ駒126に設けてもよいし、両方に設けてもよい。 After the preparation process, a tableting process is carried out in which the base resin Rm is tableted to form a solid or semi-solid resin having a predetermined shape (described later) that corresponds to the shape of the workpiece W as the sealing resin R. Specifically, an initial set amount (a resin amount greater than or equal to the maximum required amount expected for each workpiece W) of the base resin Rm is accommodated in the cavity 108 of the lower die 106 using a dispenser, a conveying device, etc. (not shown) (see FIG. 13). Next, the press device 150 is operated to close the tableting die 102 that has been heated to the above-mentioned predetermined temperature (see FIG. 14). At this time, the cavity piece 126 rises relatively in the cavity 108, and the base resin Rm is tableted (sandwiched and pressed) between the cavity piece 126 and the tableting plate 142. As a result, a solid or semi-solid sealing resin R having a predetermined shape and not yet thermally cured (mainly cured) is formed. At this time, the base resin Rm that enters the leg forming groove 143 of the tableting plate 142 through the film F becomes the leg Rb of the sealing resin R, and the other (remaining) base resin Rm becomes the body Ra of the sealing resin R (the detailed configuration of the sealing resin R will be described later). As a modified example of the tableting process, a part of the base resin Rm may be held (welded, gripped, etc.) by the upper die 104 (not shown). Also, although the leg forming groove 143 is provided in the tableting plate 142, it may be provided in the cavity piece 126 or both.

 上記の打錠工程は、形成される封止樹脂Rが、後の樹脂封止工程(圧縮成形方法の工程である)において熱硬化(本硬化)することができるように、ベース樹脂Rmが熱硬化(本硬化)しない温度で実施すること(熱硬化(本硬化)しない温度に下型106及び上型104を加熱して実施すること)が重要である。前述の通り、「熱硬化しない温度」は、ベース樹脂Rmの材質にもよるが、具体例として、50℃~80℃程度である(本実施形態においては、70℃程度である)。 It is important that the above tableting process is carried out at a temperature at which the base resin Rm does not thermally harden (fully harden) (the lower die 106 and the upper die 104 are heated to a temperature at which the base resin Rm does not thermally harden (fully harden)) so that the encapsulating resin R formed can be thermally hardened (fully hardened) in the subsequent resin encapsulating process (a process of the compression molding method). As mentioned above, the "temperature at which the base resin Rm does not thermally harden (fully harden)" depends on the material of the base resin Rm, but as a specific example, it is about 50°C to 80°C (about 70°C in this embodiment).

 ここで、封止樹脂Rの「所定形状」について説明する。一例として、封止金型202を備える場合の圧縮成形装置1に用いられる封止樹脂Rの場合、「所定形状」は、ワークWの基材Wa上に載置されたときに電子部品Wb(ワイヤーを有する電子部品Wbは、ワイヤーを含む)に当接しない形状である。一例として、図2に示すように、板状もしくはブロック状の本体部Raと、本体部Raの一方の面(ワークWの電子部品Wbと対向する側の面)に断続的(もしくは連続的)に立設された脚部Rbと、が設けられた形状の封止樹脂Rが好適である(但し、この形状に限定されるものではない)。本体部Raは、平面視でキャビティ208内に入る大きさであり、樹脂流動を考慮すると、キャビティ208の形状(特に、キャビティ駒226)より少し小さい大きさが好適である。また、脚部Rbは、電子部品Wbに当接しない高さH(図3A参照)が必要ではあるが、ワイヤーが塑性変形しない程度の接触を除外するものではない。また、脚部Rbは、本体部Raの平面視で電子部品Wbに当接しない位置で、ワークWの基材Wa上に載置されたときに本体部Raが傾かない位置に配置されている。さらに、成形時にワークWの配線(特に、ワイヤー)を少しでも損傷させないように電子部品Wb間または電子部品Wbの外周位置に配置される構成が好適である。封止樹脂Rの具体的な構成例(図16、図17)の詳細については後述する。 Here, the "predetermined shape" of the sealing resin R will be described. As an example, in the case of the sealing resin R used in the compression molding device 1 when equipped with the sealing mold 202, the "predetermined shape" is a shape that does not contact the electronic component Wb (electronic component Wb having wires includes the wires) when placed on the substrate Wa of the work W. As an example, as shown in FIG. 2, a sealing resin R having a shape in which a plate-shaped or block-shaped main body Ra and legs Rb arranged intermittently (or continuously) on one side of the main body Ra (the side facing the electronic component Wb of the work W) are provided is preferable (however, this shape is not limited). The main body Ra is a size that fits into the cavity 208 in a plan view, and considering the resin flow, a size slightly smaller than the shape of the cavity 208 (particularly the cavity piece 226) is preferable. In addition, the legs Rb need to have a height H (see FIG. 3A) that does not contact the electronic components Wb, but this does not exclude contact to the extent that the wires are not plastically deformed. The legs Rb are arranged in a position where they do not contact the electronic components Wb in a plan view of the main body Ra, and where the main body Ra does not tilt when placed on the substrate Wa of the work W. Furthermore, it is preferable that the legs Rb are arranged between the electronic components Wb or on the outer periphery of the electronic components Wb so as not to damage the wiring (especially the wires) of the work W even slightly during molding. Details of specific configuration examples of the sealing resin R (FIGS. 16 and 17) will be described later.

 図6に示す他の例として、封止金型302を備える場合の圧縮成形装置1に用いられる封止樹脂Rの場合、「所定形状」は、封止金型302の型閉じをする際に、上型304を下型306に徐々に接近させて、キャビティ308内に収容された封止樹脂Rの脚部Rbの先端部(上端部)が、ワーク保持部305に保持されたワークWの基材Waと当接した状態において、封止樹脂Rの本体部RaがワークWの電子部品Wb(ワイヤーを有する電子部品Wbは、ワイヤーを含む)と当接しない形状である。尚、封止樹脂Rの具体的な形状については、上記の封止金型202を備える場合の圧縮成形装置1に用いられる封止樹脂Rの場合と同様となる(図16、図17参照)。 6, in the case of the sealing resin R used in the compression molding apparatus 1 when the sealing mold 302 is provided, the "predetermined shape" is a shape in which, when the upper mold 304 is gradually brought closer to the lower mold 306 during closing of the sealing mold 302, the body portion Ra of the sealing resin R does not come into contact with the electronic component Wb of the work W (including the wire in the case of the electronic component Wb having a wire), when the tip portion (upper end portion) of the leg portion Rb of the sealing resin R contained in the cavity 308 comes into contact with the substrate Wa of the work W held by the work holding portion 305. The specific shape of the sealing resin R is the same as that of the sealing resin R used in the compression molding apparatus 1 when the sealing mold 202 is provided (see FIGS. 16 and 17).

 ここで、封止樹脂Rの構成例(形状)について図16、図17を参照して説明する。封止樹脂Rは、板状もしくはブロック状の本体部Raと、本体部Raの一方の面に立設される複数本の脚部Rbと、を有する形状に形成されている。本実施形態において、脚部Rbは、樹脂量(本体部Raの立設面から突出している部分のグラム数)の異なる複数種類(1g、2g、3g、5g等のように適宜設定される)が設けられている。 Here, an example of the configuration (shape) of the sealing resin R will be described with reference to Figures 16 and 17. The sealing resin R is formed into a shape having a plate-like or block-like main body portion Ra and multiple legs Rb erected on one surface of the main body portion Ra. In this embodiment, multiple types of legs Rb are provided (set appropriately to 1g, 2g, 3g, 5g, etc.) with different resin amounts (number of grams of the portion protruding from the erected surface of the main body portion Ra).

 先ず、図16に示す封止樹脂Rの例では、脚部Rbの全部(もしくは一部としてもよい)が点状に配置される凸状体Rb1~Rb4として形成されている。一例として、本体部Raの四隅の位置(四隅以外の位置でもよい)に、本体部Raが電子部品Wbに当接しない距離を確保する載置用(立脚用)の脚部Rb1が設けられている。また、本体部Raの四隅以外の位置(四隅の位置でもよい)に、樹脂量の異なる複数種類の脚部Rbがそれぞれ複数本設けられている。これらは、後述の除去工程における除去用(樹脂量の調整用)であって、具体的に、樹脂量が1gの脚部Rb2、樹脂量が2gの脚部Rb3、樹脂量が5gの脚部Rb4が設けられている。尚、上記の種類はあくまでも一例であって、樹脂量(グラム数)や設置本数は適宜設定される。また、除去対象となる脚部Rb2~Rb4は、一例として、円柱状とすれば除去が容易となるが、当該形状に限定されるものではない。 First, in the example of the sealing resin R shown in FIG. 16, all (or part) of the legs Rb are formed as convex bodies Rb1 to Rb4 arranged in a dot pattern. As an example, a leg Rb1 for placement (standing leg) is provided at the four corners of the main body Ra (or a position other than the four corners) to ensure a distance at which the main body Ra does not come into contact with the electronic component Wb. Also, a plurality of different types of legs Rb with different amounts of resin are provided at positions other than the four corners of the main body Ra (or the four corners). These are for removal (for adjusting the amount of resin) in the removal process described below, and specifically, a leg Rb2 with a resin amount of 1 g, a leg Rb3 with a resin amount of 2 g, and a leg Rb4 with a resin amount of 5 g are provided. Note that the above types are merely examples, and the amount of resin (in grams) and the number of legs provided are set appropriately. Additionally, the legs Rb2 to Rb4 to be removed can be easily removed if they are cylindrical, for example, but are not limited to this shape.

 上記の封止樹脂Rによれば、打錠形成後の封止樹脂Rにおいて脚部Rbの一部(Rb2~Rb4から組合せ・本数が適宜設定される)を除去することによって、封止樹脂Rの樹脂量を調整することができる。したがって、ワークW毎に適正量の封止樹脂Rを正確に準備して、圧縮成形用に供出することができる。また、脚部Rbが点状に配設される柱状である構成によって、ワークW上に載置される封止樹脂Rが圧縮成形時に流動することを抑制できる。したがって、ワイヤー流れ等を防止でき、成形品質を向上させることができる。 With the above-mentioned sealing resin R, the amount of resin in the sealing resin R can be adjusted by removing some of the legs Rb (the combination and number is appropriately set from Rb2 to Rb4) in the sealing resin R after tablet formation. Therefore, the appropriate amount of sealing resin R can be accurately prepared for each workpiece W and supplied for compression molding. In addition, the configuration in which the legs Rb are arranged in a columnar dotted pattern can prevent the sealing resin R placed on the workpiece W from flowing during compression molding. This can prevent wire drift and improve molding quality.

 次に、図17に示す封止樹脂Rの例では、脚部Rbの一部が線状に配置される凸状体Rb5として形成されている。この例では、本体部Raが電子部品Wbに当接しない距離を確保する載置用(立脚用)の脚部として、Rb1及びRb5が用いられる。尚、除去による樹脂量の調整用の脚部Rb2~Rb4については、図16に示す封止樹脂Rの構成と同様となる。 Next, in the example of sealing resin R shown in FIG. 17, part of the leg Rb is formed as a linearly arranged convex body Rb5. In this example, Rb1 and Rb5 are used as mounting (standing) legs that ensure a distance at which the main body Ra does not come into contact with the electronic component Wb. Note that the legs Rb2 to Rb4, which are used to adjust the amount of resin by removal, have the same configuration as the sealing resin R shown in FIG. 16.

 上記の封止樹脂Rによれば、所定長さの堤状の構成を有する脚部Rb5から樹脂流動を意図的に発生させて、ワークWにおける狭隘部(例えば、フリップチップ接続された基材Waと電子部品Wbとの間等)への封止樹脂Rの充填を促進することができる。したがって、成形品Wpに気体が残留することを防止でき、成形品質を向上させることができる The above-mentioned sealing resin R can be used to intentionally generate resin flow from the leg Rb5, which has a bank-like configuration of a certain length, to promote the filling of the sealing resin R into narrow areas in the work W (for example, between the substrate Wa and electronic component Wb that are flip-chip connected). This can therefore prevent gas from remaining in the molded product Wp, improving molding quality.

 続いて、上記打錠工程の後工程について説明する。打錠工程の後に、打錠金型102の型開きを行い、封止樹脂Rと使用済みのフィルムFとを分離して当該封止樹脂Rを取出せるようにする型開き工程を実施する(図15参照)。本実施形態においては、前述の下型フィルム供給工程及び上型フィルム供給工程を備えることによって、下型106の金型面106a及び上型104の金型面104aの両方にフィルムFが配置されるため、打錠により形成された封止樹脂Rの離型が容易となり、金型への樹脂付着による欠損を防止することができる。 Next, the process after the tableting process will be described. After the tableting process, the tableting mold 102 is opened and the sealing resin R and the used film F are separated to enable the sealing resin R to be removed (see FIG. 15). In this embodiment, by including the lower mold film supply process and upper mold film supply process described above, the film F is placed on both the mold surface 106a of the lower mold 106 and the mold surface 104a of the upper mold 104, so that the sealing resin R formed by tableting can be easily released and damage due to the resin adhering to the mold can be prevented.

 型開き工程の後に、もしくは、並行して、下型フィルム供給部111、上型フィルム供給部113を作動させて、使用済みのフィルムFを打錠金型102内から送り出し、新しいフィルムFを打錠金型102内へ送り込んでセットするフィルム供給工程(下型フィルム供給工程、上型フィルム供給工程)を実施する。 After or in parallel with the mold opening process, the lower mold film supply unit 111 and the upper mold film supply unit 113 are operated to send out the used film F from inside the tableting mold 102 and to send and set new film F into the tableting mold 102, thereby carrying out a film supply process (lower mold film supply process, upper mold film supply process).

 また、型開き工程の後に、上記打錠工程によって形成された封止樹脂Rが「所定量」となるように、当該封止樹脂Rの一部を除去する除去工程を実施する。具体的には、封止対象となるワークW毎に、一つの基材Waに搭載された電子部品Wbの有無の数(搭載数もしくは欠落数であり、さらには電子部品Wbの高さを計測する場合を含んでもよい)を計測機構等(不図示)により計測し、封止金型202、302のキャビティ208、308の体積より電子部品Wbの総体積を引くことにより、樹脂封止(圧縮成形)に必要な樹脂量(グラム数)を制御演算部170が算定して「所定量」を設定する。次いで、設定した「所定量」となるように、除去機構180を用いて封止樹脂Rの一部を除去する(尚、制御演算部170が除去機構180の作動を制御してもよく、あるいは、オペレータが除去機構180の作動を操作してもよい)。このとき、前述の「所定形状」(電子部品Wbに当接しない形状)を成立させるために、幾つか(例えば、四隅)の脚部Rbを除去しないようにする必要がある。また、除去を前提とするため、電子部品Wbの欠落率等も考慮しつつワークW毎に想定される最大必要量よりも多い(もしくは等しい)樹脂量(「初期設定量」として設定する)のベース樹脂Rmを用いて封止樹脂Rを打錠形成しておく必要がある。 Furthermore, after the mold opening process, a removal process is carried out to remove a part of the sealing resin R formed by the tableting process so that the sealing resin R is a "predetermined amount". Specifically, for each workpiece W to be sealed, the number of electronic components Wb mounted on one substrate Wa (the number of mounted or missing components, which may also include measuring the height of the electronic components Wb) is measured by a measuring mechanism or the like (not shown), and the control calculation unit 170 calculates the amount of resin (in grams) required for resin sealing (compression molding) by subtracting the total volume of the electronic components Wb from the volume of the cavities 208, 308 of the sealing molds 202, 302, and sets the "predetermined amount". Next, a part of the sealing resin R is removed using the removal mechanism 180 so that the set "predetermined amount" is reached (note that the control calculation unit 170 may control the operation of the removal mechanism 180, or the operator may operate the operation of the removal mechanism 180). At this time, in order to achieve the aforementioned "predetermined shape" (a shape that does not come into contact with the electronic component Wb), it is necessary not to remove some (for example, the four corners) of the legs Rb. Also, since removal is a prerequisite, it is necessary to form the sealing resin R by tableting using an amount of base resin Rm (set as the "initial setting amount") that is greater than (or equal to) the maximum amount expected for each workpiece W, while taking into account factors such as the loss rate of the electronic component Wb.

 具体的な除去方法としては、除去機構180に設けられた除去具によって、脚部Rbの一部(複数本の内の一部の脚部Rbであって、当該脚部Rbの全体でもよく、部分でもよい)を除去する。前述の通り、例えば金属刃カッタによって機械的除去を行ってもよく、熱溶融カッタによって熱溶融除去を行ってもよい。 As a specific removal method, a part of the leg Rb (a part of multiple legs Rb, which may be the whole leg Rb or a part of the leg Rb) is removed using a removal tool provided in the removal mechanism 180. As described above, mechanical removal may be performed using, for example, a metal blade cutter, or thermal melt removal may be performed using a thermal melting cutter.

 本実施形態に係る脚部Rbは、樹脂量の異なる複数種類(一例として、1g、2g、3g、5g等)で形成されていることによって、設定された所定量の封止樹脂Rとなるように脚部Rbを除去する作業を迅速且つ容易に行うことができる。尚、除去対象となる脚部Rbは、一例として、円柱状とすれば除去が容易となるが、当該形状に限定されるものではない。 The legs Rb in this embodiment are formed with multiple types of resin with different amounts (for example, 1g, 2g, 3g, 5g, etc.), so that the work of removing the legs Rb can be performed quickly and easily to obtain a set, predetermined amount of sealing resin R. Note that, as an example, the legs Rb to be removed can be easily removed if they are cylindrical, but are not limited to this shape.

 上記の工程を備えることによって、打錠後(形成後)の封止樹脂Rの樹脂量を適宜、変化させて微調整することができる。具体例として、打錠後(形成後)の封止樹脂Rが図16に示す構成(形状)であるときに、封止樹脂Rの樹脂量(総量)を例えば8g減少させようとした場合、図18の破線枠内の樹脂量が1gの脚部Rb2、樹脂量が2gの脚部Rb3、及び、樹脂量が5gの脚部Rb4を、それぞれ一本ずつ除去すればよい(他の組合せでもよい)。 By carrying out the above steps, the amount of resin in the sealing resin R after tableting (forming) can be appropriately changed and fine-tuned. As a specific example, when the sealing resin R after tableting (forming) has the configuration (shape) shown in FIG. 16, if it is desired to reduce the amount of resin (total amount) of the sealing resin R by, for example, 8 g, it is sufficient to remove each of the legs Rb2 with a resin amount of 1 g, the legs Rb3 with a resin amount of 2 g, and the legs Rb4 with a resin amount of 5 g within the dashed line frame in FIG. 18 one by one (other combinations are also possible).

 このように、ワークWに対して適正な量(上記「所定量」)の封止樹脂Rを供給することができる。したがって、樹脂封止時に必要な樹脂量が不足することに起因する成形不良の発生を防止することができる。さらに、必要よりも過多の樹脂量が供給されることによる無駄の発生を防止することができる。 In this way, an appropriate amount (the "predetermined amount" mentioned above) of sealing resin R can be supplied to the workpiece W. This makes it possible to prevent molding defects caused by a shortage of the amount of resin required during resin sealing. Furthermore, it is possible to prevent waste caused by supplying an amount of resin that is greater than necessary.

 上記ベース樹脂Rmとして、パウダー樹脂が用いられることが好適である。これによれば、顆粒樹脂や破砕状樹脂が用いられる場合と比較して、「所定量」の樹脂を極めて正確に調整して供給することができる。但し、パウダー樹脂に限定されるものではない。 It is preferable to use a powder resin as the base resin Rm. This allows the "predetermined amount" of resin to be adjusted and supplied with extremely high precision compared to when granular or crushed resin is used. However, it is not limited to powder resin.

 尚、他の実施形態として、除去機構180が圧縮成形装置1に設けられる場合には、上記除去工程を圧縮成形装置1における圧縮成形方法の一工程として(樹脂封止工程よりも前に)実施すればよい。 In another embodiment, when the removal mechanism 180 is provided in the compression molding device 1, the above-mentioned removal process may be performed as one process of the compression molding method in the compression molding device 1 (before the resin sealing process).

 以上、説明した通り、本発明に係る形成装置100及び形成方法によれば、形成される封止樹脂Rの樹脂量を適宜、変化させて微調整することができるため、ワークW毎に適正量の封止樹脂Rを正確に形成することができる。 As described above, the forming device 100 and forming method according to the present invention can appropriately change and fine-tune the amount of sealing resin R formed, so that the appropriate amount of sealing resin R can be accurately formed for each workpiece W.

 また、封止樹脂Rの形成装置100と圧縮成形装置1とは別の装置とすることで、形成装置100内のパウダー樹脂を打錠する際の粉塵に影響されない圧縮成形装置1とすることができ、圧縮成形装置1をクリーンルーム内に容易に入れることができる。また、封止樹脂Rの形成装置100と圧縮成形装置1とをドッキングさせることで、圧縮成形装置1に供給されたワークW毎に計測した結果として所定量の樹脂量を求めたデータを形成装置100に送り、封止樹脂Rが所定量となるように一部を除去してもよい。前述の通り、一実施形態として除去機構180は形成装置100内に設けたが、他の実施形態として圧縮成形装置1内に設けてもよい。 Furthermore, by making the molding device 100 for the sealing resin R and the compression molding device 1 separate devices, the compression molding device 1 can be made unaffected by dust generated when the powder resin in the molding device 100 is tableted, and the compression molding device 1 can be easily placed in a clean room. Furthermore, by docking the molding device 100 for the sealing resin R and the compression molding device 1, data on a predetermined amount of resin obtained as a result of measuring each workpiece W supplied to the compression molding device 1 can be sent to the molding device 100, and a portion of the sealing resin R can be removed so that the amount becomes the predetermined amount. As described above, in one embodiment, the removal mechanism 180 is provided in the forming device 100, but in another embodiment, it may be provided in the compression molding device 1.

 また、当該形成装置100及び形成方法によって形成される封止樹脂Rを用いれば、以下の効果を奏する圧縮成形装置1及び圧縮成形方法を実現することができる。具体的に、当該圧縮成形装置1及び圧縮成形方法によって、樹脂流動、撒きムラ、残留気体、成形時の粉塵発生に起因する成形不良の発生を防止することができる。また、薄い成形品Wp(厚さ寸法が1mm未満)はもちろん、厚い成形品Wp(厚さ寸法が1mm以上)を形成することができる。尚、厚さ寸法の上限は、各種設定条件によるものの、10mm程度まで十分形成可能であると考えられる。また、供給時やセット時におけるハンドリングが容易となる。 Furthermore, by using the sealing resin R formed by the forming device 100 and forming method, it is possible to realize a compression molding device 1 and a compression molding method that achieve the following effects. Specifically, the compression molding device 1 and the compression molding method can prevent molding defects caused by resin flow, uneven scattering, residual gas, and dust generation during molding. Furthermore, it is possible to form not only thin molded products Wp (thickness dimension less than 1 mm) but also thick molded products Wp (thickness dimension 1 mm or more). The upper limit of the thickness dimension depends on various setting conditions, but it is believed that it is possible to form a thickness of up to about 10 mm. Furthermore, handling during supply and setting is made easier.

 さらに、当該圧縮成形装置1及び圧縮成形方法によって、上型にキャビティが設けられる構成の場合に生じる課題の解決を図ることができる。すなわち、上型にキャビティが設けられる従来の圧縮成形装置では、例えば、ストリップタイプのワイヤー接続された電子部品(半導体チップ)Wbが搭載されたワークW等に対して型閉じ工程を実施する際に、下型に保持されるワークのワイヤー部分が予めキャビティに供給した封止樹脂またはワーク上に供給した封止樹脂と接触して変形・切断してしまうため、樹脂封止が困難であるという課題があった。この課題に対して、本実施形態に係る装置・方法によって形成される封止樹脂R、すなわち、ワークWの形状に対応させた所定形状に形成された固形・半固形樹脂を用いる構成を採用することにより、その解決を図ることができる。 Furthermore, the compression molding apparatus 1 and compression molding method can solve the problem that arises when a cavity is provided in the upper mold. That is, in a conventional compression molding apparatus in which a cavity is provided in the upper mold, when performing a mold closing process on a workpiece W on which a strip-type wire-connected electronic component (semiconductor chip) Wb is mounted, the wire portion of the workpiece held in the lower mold comes into contact with the sealing resin previously supplied to the cavity or the sealing resin supplied onto the workpiece, and is deformed or cut, making resin sealing difficult. This problem can be solved by adopting a configuration that uses the sealing resin R formed by the apparatus and method of this embodiment, that is, a solid or semi-solid resin formed into a predetermined shape corresponding to the shape of the workpiece W.

 具体的には、型閉じ工程の際に、図3Aから図3Bに移行するように、封止樹脂Rの加熱による軟化及び溶融が進む。このとき、全てのワイヤーに均一に樹脂(具体的には、本体部Ra)が当接する状態となる(図3B参照)。したがって、ワイヤーの変形・切断を防止することが可能となる。 Specifically, during the mold closing process, the sealing resin R is heated and softened and melted, as shown in the transition from FIG. 3A to FIG. 3B. At this time, the resin (specifically, the main body portion Ra) comes into uniform contact with all of the wires (see FIG. 3B). This makes it possible to prevent the wires from being deformed or cut.

 尚、実際に本願発明者が上記の圧縮成形装置1において、本実施形態に係る装置・方法によって形成された封止樹脂Rを用いて実験を行ったところ、上型にワークWが保持され、下型にキャビティが設けられ、当該キャビティに封止樹脂(具体的には、顆粒樹脂)が供給される構成を有する従来の圧縮成形装置と比較して、ワイヤーの変形・切断が防止され、成形品質が向上する結果が確認できた。 In addition, when the inventors of the present application actually conducted experiments in the above-mentioned compression molding device 1 using sealing resin R formed by the device and method of this embodiment, it was confirmed that deformation and breakage of the wire was prevented and molding quality was improved compared to a conventional compression molding device having a configuration in which a workpiece W is held in the upper die, a cavity is provided in the lower die, and sealing resin (specifically, granular resin) is supplied to the cavity.

 一方、当該圧縮成形装置1及び圧縮成形方法によって、下型にキャビティが設けられる構成の場合に生じる課題の解決を図ることもできる。すなわち、下型にキャビティが設けられる従来の圧縮成形装置では、特に、封止樹脂として顆粒樹脂が用いられる場合、キャビティ内に収容される封止樹脂(顆粒樹脂)の粒径や高さ(積層厚さ)は均一にはならない。そのため、例えば、顆粒樹脂の種類及び溶融状態によっては完全に液状(粘度が低い状態)にはなっていない場合があり、ストリップタイプのワイヤー接続された電子部品(半導体チップ)Wbが搭載されたワークW等に対して型閉じ工程を実施する際に、図19に示すように、位置によっては、上型に保持されるワークのワイヤー部分が当該封止樹脂(顆粒樹脂)と部分的に強く(大きく)接触して変形・切断してしまう課題があった。さらに、図20に示すように、キャビティ内における樹脂流動が大きく発生し、ワイヤー部分が変形・切断してしまう課題があった。この課題に対して、本実施形態に係る装置・方法によって形成される封止樹脂R、すなわち、ワークWの形状に対応させた所定形状に形成された固形・半固形樹脂を用いる構成を採用することにより、その解決を図ることができる。 On the other hand, the compression molding apparatus 1 and the compression molding method can also solve the problems that arise when a cavity is provided in the lower mold. That is, in a conventional compression molding apparatus in which a cavity is provided in the lower mold, especially when granular resin is used as the sealing resin, the particle size and height (lamination thickness) of the sealing resin (granular resin) contained in the cavity are not uniform. Therefore, for example, depending on the type and melting state of the granular resin, it may not be completely liquid (low viscosity state), and when performing a mold closing process on a workpiece W on which a strip-type wire-connected electronic component (semiconductor chip) Wb is mounted, as shown in FIG. 19, depending on the position, there is a problem that the wire part of the workpiece held by the upper mold comes into strong (large) contact with the sealing resin (granular resin) and is deformed or cut. Furthermore, as shown in FIG. 20, there is a problem that a large resin flow occurs in the cavity, causing the wire part to be deformed or cut. This problem can be solved by adopting a configuration that uses sealing resin R formed by the device and method according to this embodiment, that is, a solid or semi-solid resin formed into a predetermined shape that corresponds to the shape of the workpiece W.

 具体的には、上記の図3A、図3Bによって説明される理由と同様であり、型閉じ工程の際に、封止樹脂Rの加熱による軟化及び溶融が進み、全てのワイヤーに均一に樹脂(具体的には、本体部Ra)が当接する状態となるためである。 Specifically, this is for the same reason as explained above with reference to Figures 3A and 3B, and is because during the mold closing process, the heating of the sealing resin R causes it to soften and melt, resulting in the resin (specifically, the main body portion Ra) being in uniform contact with all of the wires.

 また、図21に示す圧縮成形装置1によれば、形成後の封止樹脂Rの樹脂量を適宜、変化させて微調整することができるため、樹脂量の過不足に起因する成形不良の発生を防止することができる。 In addition, the compression molding device 1 shown in FIG. 21 can appropriately change and fine-tune the amount of sealing resin R after molding, preventing molding defects caused by an excess or deficiency of the amount of resin.

[第2の実施形態]
 続いて、本発明の第2の実施形態について説明する。本実施形態に係る封止樹脂Rの形成装置100は、前述の第1の実施形態と基本的な構成は同様であり、以下、相違点を中心に説明する。図22は、本実施形態に係る形成装置100の例を示す平面図(概略図)である。
Second Embodiment
Next, a second embodiment of the present invention will be described. The forming apparatus 100 for the sealing resin R according to this embodiment has a basic configuration similar to that of the first embodiment described above, and the following description will focus on the differences. Fig. 22 is a plan view (schematic diagram) showing an example of the forming apparatus 100 according to this embodiment.

 形成装置100は、ベース樹脂Rmを仮成形することによって、ワークWの圧縮成形に用いられる封止樹脂(仮成形樹脂)Rの形成を行う仮成形部101を備えている。一例として、「仮成形」は「打錠」であり、仮成形部101はプレス装置150を備えて構成される。尚、プレス装置150の構成は、前述の第1の実施形態と同様である。但し、「仮成形」は「打錠」に限定されるものではなく、仮成形部51にはプレス装置150以外の装置を備える構成としてもよい(不図示)。本実施形態においては、一台の仮成形部101を備える構成としているが、複数台の仮成形部101を備える構成としてもよい(不図示)。 The forming device 100 includes a provisional molding section 101 that provisionally molds the base resin Rm to form the sealing resin (provisionally molded resin) R used in compression molding of the workpiece W. As an example, the "provisional molding" is "tabletting", and the provisional molding section 101 includes a press device 150. The configuration of the press device 150 is the same as that of the first embodiment described above. However, the "provisional molding" is not limited to "tabletting", and the provisional molding section 51 may include a device other than the press device 150 (not shown). In this embodiment, the configuration includes one provisional molding section 101, but the configuration may include multiple provisional molding sections 101 (not shown).

 また、形成装置100は、封止樹脂(仮成形樹脂)Rを測定する測定部190を備えている。一例として、測定部190は、重量計を備えて仮成形樹脂Rの重量を測定する構成である。あるいは、他の例として、測定部190は、画像処理装置を備えて仮成形樹脂Rの形状を測定する構成である。 The forming device 100 also includes a measuring unit 190 that measures the sealing resin (preliminary molded resin) R. As one example, the measuring unit 190 includes a weight scale and is configured to measure the weight of the preliminarily molded resin R. As another example, the measuring unit 190 includes an image processing device and is configured to measure the shape of the preliminarily molded resin R.

 また、形成装置100は、上記の測定部190における測定の結果が、ワークWの封止に必要な「所定量」(第1の実施形態と同様)に対して、重量が多い場合もしくは形状が大きい場合に、封止樹脂(仮成形樹脂)Rの一部を除去する除去機構180を備えている。尚、各機構(仮成形部101、測定部190、除去機構180)間の移動には、公知の搬送装置(ローダ、ロボットハンド等)を用いればよい(不図示)。 The forming device 100 also includes a removal mechanism 180 that removes a portion of the sealing resin (temporary molding resin) R when the result of measurement in the measuring unit 190 indicates that the weight or shape is large compared to the "predetermined amount" (as in the first embodiment) required to seal the workpiece W. Note that a known transport device (loader, robot hand, etc.) can be used to move between the mechanisms (temporary molding unit 101, measuring unit 190, removal mechanism 180) (not shown).

 一例として、除去機構180は、前述の第1の実施形態と同様の構成とすることができる。 As an example, the removal mechanism 180 can be configured similarly to the first embodiment described above.

 あるいは、他の例として、除去機構180は、封止樹脂(仮成形樹脂)Rを加工する加工ツールを有する構成とすることができる。具体的には、公知のマシニングセンタ(もしくは、これに類する加工装置)を用いることができる。この構成によれば、「所定量」に対する差分を高精度に除去することが可能となる。 Alternatively, as another example, the removal mechanism 180 can be configured to have a processing tool that processes the sealing resin (preliminary molded resin) R. Specifically, a known machining center (or a processing device similar thereto) can be used. With this configuration, it becomes possible to remove the difference from the "predetermined amount" with high precision.

 上記の例は、測定部190及び除去機構180が形成装置100に設けられる構成である。あるいは、他の例として、測定部190及び除去機構180が圧縮成形装置1に設けられる構成としてもよい(図23参照)。 In the above example, the measuring unit 190 and the removal mechanism 180 are provided in the forming device 100. Alternatively, as another example, the measuring unit 190 and the removal mechanism 180 may be provided in the compression molding device 1 (see FIG. 23).

 具体的には、図23に示すように、測定部190及び除去機構180が圧縮成形装置1の供給ユニット10Aに設けられる構成である。但し、他のユニットに設けられる構成としてもよい(不図示)。 Specifically, as shown in FIG. 23, the measuring section 190 and the removal mechanism 180 are provided in the supply unit 10A of the compression molding device 1. However, they may be provided in other units (not shown).

 また、圧縮成形装置1のプレスユニット10Bは、仮成形された封止樹脂(仮成形樹脂)Rを用いてワークWを封止して本成形する本成形部201を備えている。一例として、本成形部201はプレス装置250を備えて構成される。尚、プレス装置250の構成は、前述の構成と同様である。 The press unit 10B of the compression molding device 1 also includes a final molding section 201 that seals the workpiece W using a provisionally molded sealing resin (provisionally molded resin) R to perform final molding. As an example, the final molding section 201 includes a press device 250. The configuration of the press device 250 is the same as that described above.

 本発明は、上記の実施形態に限定されることなく、本発明を逸脱しない範囲において種々変更可能である。

 
The present invention is not limited to the above-described embodiment, and various modifications are possible without departing from the scope of the present invention.

Claims (18)

 ベース樹脂を仮成形して、ワークの封止に用いられる仮成形樹脂を形成する仮成形部と、
 前記仮成形樹脂の重量もしくは形状を測定する測定部と、
 前記測定部における測定の結果が、前記ワークの封止に必要な重量よりも多い場合もしくは必要な形状よりも大きい場合に、前記仮成形樹脂の一部を除去する除去機構と、を備えること
を特徴とする封止樹脂の形成装置。
a temporary molding section for temporarily molding a base resin to form a temporary molded resin used for sealing the workpiece;
A measuring unit for measuring a weight or a shape of the provisionally molded resin;
and a removal mechanism that removes a portion of the pre-molded resin when the measurement result in the measuring unit is greater than the weight required to seal the work or is larger than the required shape.
 前記除去機構は、前記仮成形樹脂を加工する加工ツールを有すること
を特徴とする請求項1記載の封止樹脂の形成装置。
2. The sealing resin forming apparatus according to claim 1, wherein the removing mechanism has a processing tool for processing the provisionally molded resin.
 ベース樹脂を打錠して、ワークの圧縮成形に用いられる封止樹脂を形成する形成装置であって、
 初期設定量の前記ベース樹脂を収容し、前記ワークの形状に対応させた所定形状を有する前記封止樹脂となるように打錠する打錠金型と、
 打錠して形成された前記封止樹脂が所定量となるように一部を除去する除去機構と、を備えること
を特徴とする封止樹脂の形成装置。
A forming apparatus for tableting a base resin to form an encapsulating resin to be used in compression molding of a workpiece, comprising:
a tableting die that accommodates an initial setting amount of the base resin and tablets the base resin into the sealing resin having a predetermined shape corresponding to the shape of the workpiece;
and a removal mechanism for removing a portion of the sealing resin formed by tableting so that the amount of the sealing resin formed by tableting is a predetermined amount.
 前記ワークとして、基材に電子部品が搭載された構成を有するワークが用いられ、
 前記所定形状は、前記封止樹脂が前記基材上に載置されたときに前記電子部品に当接しない形状であること
を特徴とする請求項3記載の封止樹脂の形成装置。
As the workpiece, a workpiece having a configuration in which an electronic component is mounted on a substrate is used,
4. The sealing resin forming apparatus according to claim 3, wherein the predetermined shape is a shape that does not contact the electronic components when the sealing resin is placed on the base material.
 前記除去機構の作動を制御する制御演算部を備え、
 前記制御演算部は、前記ワーク毎に一つの前記基材に搭載された前記電子部品の有無の数を計測したデータに基づいて必要な樹脂量を算定することにより前記所定量を設定し、前記所定量となるように前記除去機構の作動を制御すること
を特徴とする請求項4記載の封止樹脂の形成装置。
A control and calculation unit is provided for controlling the operation of the removal mechanism,
The sealing resin forming apparatus according to claim 4, characterized in that the control and calculation unit sets the predetermined amount by calculating the required amount of resin based on data measuring the presence or absence of the electronic components mounted on one of the substrates for each of the workpieces, and controls the operation of the removal mechanism so as to achieve the predetermined amount.
 前記封止樹脂は、板状もしくはブロック状の本体部と、前記本体部の一方の面に立設される複数本の脚部と、を有し、
 前記除去機構は、前記所定量となるように、前記脚部の一部を除去する除去具を有すること
を特徴とする請求項3または請求項4記載の封止樹脂の形成装置。
the sealing resin has a plate-shaped or block-shaped main body and a plurality of legs provided upright on one surface of the main body,
5. The sealing resin forming apparatus according to claim 3, wherein the removing mechanism includes a remover for removing a part of the leg portion so as to obtain the predetermined amount.
 前記脚部として、樹脂量の異なる複数種類の脚部を備えていること
を特徴とする請求項6記載の封止樹脂の形成装置。
7. The sealing resin forming apparatus according to claim 6, wherein the leg portions include a plurality of types of leg portions each having a different amount of resin.
 前記ベース樹脂として、パウダー樹脂が用いられること
を特徴とする請求項3または請求項4記載の封止樹脂の形成装置。
5. The sealing resin forming apparatus according to claim 3, wherein the base resin is a powder resin.
 ベース樹脂を用いて仮成形された仮成形樹脂によってワークを封止して本成形する本成形部と、
 前記仮成形樹脂の重量もしくは形状を測定する測定部と、
 前記測定部における測定の結果が、前記ワークの封止に必要な重量よりも多い場合もしくは必要な形状よりも大きい場合に、前記仮成形樹脂の一部を除去する除去機構と、を備えること
を特徴とする圧縮成形装置。
a final molding section that seals the workpiece with a provisionally molded resin that is provisionally molded using a base resin, and performs final molding;
A measuring unit for measuring a weight or a shape of the provisionally molded resin;
A compression molding apparatus characterized by having a removal mechanism that removes a portion of the pre-molded resin when the measurement result in the measuring unit is greater than the weight required to seal the work or is larger than the required shape.
 前記除去機構は、前記仮成形樹脂を加工する加工ツールを有すること
を特徴とする請求項9記載の圧縮成形装置。
10. The compression molding apparatus according to claim 9, wherein the removing mechanism has a processing tool for processing the provisionally molded resin.
 ワークを封止樹脂により封止して成形品に加工する圧縮成形装置であって、
 打錠して形成された前記封止樹脂が所定量となるように一部を除去する除去機構を備えること
を特徴とする圧縮成形装置。
A compression molding apparatus that seals a workpiece with sealing resin to process it into a molded product,
A compression molding apparatus comprising a removal mechanism for removing a portion of the sealing resin formed by tableting so that the amount of the sealing resin is a predetermined amount.
 ベース樹脂を打錠して、ワークの圧縮成形に用いられる封止樹脂を形成する封止樹脂の形成方法であって、
 打錠金型に初期設定量の前記ベース樹脂を収容して打錠し、前記ワークの形状に対応させた所定形状を有する前記封止樹脂を形成する打錠工程と、
 打錠して形成された前記封止樹脂が所定量となるように一部を除去する除去工程と、を備えること
を特徴とする封止樹脂の形成方法。
A method for forming an encapsulating resin for use in compression molding of a workpiece, comprising tableting a base resin, the method comprising:
a tableting step of putting an initial setting amount of the base resin into a tableting die and tableting the base resin to form the sealing resin having a predetermined shape corresponding to the shape of the workpiece;
and a removing step of removing a portion of the sealing resin formed by tableting so that the amount of the sealing resin formed by tableting is a predetermined amount.
 前記ワークとして、基材に電子部品が搭載された構成を有するワークが用いられ、
 前記所定形状は、前記封止樹脂が前記基材上に載置されたときに前記電子部品に当接しない形状であること
を特徴とする請求項12記載の封止樹脂の形成方法。
As the workpiece, a workpiece having a configuration in which an electronic component is mounted on a substrate is used,
13. The method for forming a sealing resin according to claim 12, wherein the predetermined shape is a shape that does not contact the electronic component when the sealing resin is placed on the base material.
 前記除去工程は、前記ワーク毎に一つの前記基材に搭載された前記電子部品の有無の数を計測したデータに基づいて必要な樹脂量を算定することにより前記所定量を設定し、前記所定量となるように前記封止樹脂の一部を除去する工程を有すること
を特徴とする請求項13記載の封止樹脂の形成方法。
The method for forming a sealing resin according to claim 13, characterized in that the removing process includes a process of setting the predetermined amount by calculating the amount of resin required based on data obtained by measuring the number of electronic components mounted on one of the substrates for each of the workpieces, and removing a portion of the sealing resin to achieve the predetermined amount.
 前記打錠工程は、板状もしくはブロック状の本体部と、前記本体部の一方の面に立設される複数本の脚部と、を有する前記封止樹脂を形成する工程を有し、
 前記除去工程は、前記封止樹脂に設けられている複数本の前記脚部の一部を除去する工程を有すること
を特徴とする請求項14記載の封止樹脂の形成方法。
The tableting step includes a step of forming the sealing resin having a plate-like or block-like main body and a plurality of legs provided upright on one surface of the main body,
15. The method for forming a sealing resin according to claim 14, wherein the removing step includes a step of removing a part of the plurality of legs provided on the sealing resin.
 前記打錠工程は、前記脚部として、樹脂量の異なる複数種類の脚部を有する前記封止樹脂を形成する工程を有すること、
を特徴とする請求項15記載の封止樹脂の形成方法。
the tableting step includes a step of forming the sealing resin having a plurality of types of leg portions having different amounts of resin as the leg portions;
The method for forming a sealing resin according to claim 15,
 前記ベース樹脂として、パウダー樹脂が用いられること
を特徴とする請求項12または請求項13記載の封止樹脂の形成方法。
14. The method for forming a sealing resin according to claim 12, wherein a powder resin is used as the base resin.
 前記打錠工程は、形成される前記封止樹脂が後の圧縮成形工程において熱硬化することができるように、前記ベース樹脂が熱硬化しない温度で実施すること
を特徴とする請求項12または請求項13記載の封止樹脂の形成方法。

 
The method for forming an encapsulating resin according to claim 12 or 13, characterized in that the tableting step is carried out at a temperature at which the base resin does not harden by heat, so that the encapsulating resin to be formed can be hardened by heat in a subsequent compression molding step.

PCT/JP2024/011583 2023-03-27 2024-03-25 Device and method for forming sealing resin used for compression molding, and compression molding device Pending WO2024204008A1 (en)

Priority Applications (1)

Application Number Priority Date Filing Date Title
JP2025510817A JPWO2024204008A1 (en) 2023-03-27 2024-03-25

Applications Claiming Priority (2)

Application Number Priority Date Filing Date Title
JP2023-050316 2023-03-27
JP2023050316 2023-03-27

Publications (1)

Publication Number Publication Date
WO2024204008A1 true WO2024204008A1 (en) 2024-10-03

Family

ID=92905260

Family Applications (1)

Application Number Title Priority Date Filing Date
PCT/JP2024/011583 Pending WO2024204008A1 (en) 2023-03-27 2024-03-25 Device and method for forming sealing resin used for compression molding, and compression molding device

Country Status (3)

Country Link
JP (1) JPWO2024204008A1 (en)
TW (1) TW202438281A (en)
WO (1) WO2024204008A1 (en)

Citations (4)

* Cited by examiner, † Cited by third party
Publication number Priority date Publication date Assignee Title
JP2003231145A (en) * 2001-12-04 2003-08-19 Sainekkusu:Kk Resin sealing device and method
JP2004174801A (en) * 2002-11-26 2004-06-24 Towa Corp Resin sealing device
JP2011183622A (en) * 2010-03-05 2011-09-22 Fujifilm Corp Method for molding wafer level lens array, mold, wafer level lens array, lens module, and imaging unit
JP2015128908A (en) * 2011-11-08 2015-07-16 アピックヤマダ株式会社 Resin sealing device, resin supply device, and resin supply method

Patent Citations (4)

* Cited by examiner, † Cited by third party
Publication number Priority date Publication date Assignee Title
JP2003231145A (en) * 2001-12-04 2003-08-19 Sainekkusu:Kk Resin sealing device and method
JP2004174801A (en) * 2002-11-26 2004-06-24 Towa Corp Resin sealing device
JP2011183622A (en) * 2010-03-05 2011-09-22 Fujifilm Corp Method for molding wafer level lens array, mold, wafer level lens array, lens module, and imaging unit
JP2015128908A (en) * 2011-11-08 2015-07-16 アピックヤマダ株式会社 Resin sealing device, resin supply device, and resin supply method

Also Published As

Publication number Publication date
TW202438281A (en) 2024-10-01
JPWO2024204008A1 (en) 2024-10-03

Similar Documents

Publication Publication Date Title
US20240217144A1 (en) Compression molding device and compression molding method
WO2024204008A1 (en) Device and method for forming sealing resin used for compression molding, and compression molding device
WO2024202232A1 (en) Apparatus and method for forming sealing resin to be used for compression molding
WO2024047916A1 (en) Resin sealing device and resin sealing method
WO2024204028A1 (en) Compression-molding device and compression-molding method
JP2024139399A (en) Apparatus and method for forming sealing resin used in compression molding
WO2024202235A1 (en) Sealing resin used for compression molding, and forming method and forming device for same
WO2024203997A1 (en) Compression molding apparatus and compression molding method
JP2025049872A (en) Sealing resin for use in compression molding and forming method and forming apparatus thereof
TWI902006B (en) Sealing resin for compression molding and forming method thereof
JP2025004928A (en) Apparatus and method for forming sealing resin used in compression molding
JP2024139406A (en) Compression molding apparatus and compression molding method
JP2025032602A (en) Compression molding apparatus and compression molding method
TWI895900B (en) Forming device and forming method for compression-molded sealing resin
WO2024161680A1 (en) Compression-molding device and compression-molding method
WO2024236855A1 (en) Formation device for sealing resin that is used for compression molding
JP2025049905A (en) Compression molding apparatus and compression molding method
WO2024161681A1 (en) Sealing resin used for compression molding, and forming method for same
TWI900142B (en) Compression forming device and compression forming method
WO2025047093A1 (en) Compression molding apparatus and compression molding method
JP7562145B2 (en) Compression Molding Equipment
WO2025047389A1 (en) Molded product formation method and sealing resin
WO2024247343A1 (en) Compression molding device and compression molding method
JP2025008394A (en) Compression molding apparatus and compression molding method
WO2025057660A1 (en) Resin encapsulation device and resin encapsulation method

Legal Events

Date Code Title Description
121 Ep: the epo has been informed by wipo that ep was designated in this application

Ref document number: 24780126

Country of ref document: EP

Kind code of ref document: A1

WWE Wipo information: entry into national phase

Ref document number: 2025510817

Country of ref document: JP