WO2023140611A1 - Smart led distance adjusting device - Google Patents

Smart led distance adjusting device Download PDF

Info

Publication number
WO2023140611A1
WO2023140611A1 PCT/KR2023/000857 KR2023000857W WO2023140611A1 WO 2023140611 A1 WO2023140611 A1 WO 2023140611A1 KR 2023000857 W KR2023000857 W KR 2023000857W WO 2023140611 A1 WO2023140611 A1 WO 2023140611A1
Authority
WO
WIPO (PCT)
Prior art keywords
frame
led
distance adjusting
distance
adjusting member
Prior art date
Legal status (The legal status is an assumption and is not a legal conclusion. Google has not performed a legal analysis and makes no representation as to the accuracy of the status listed.)
Ceased
Application number
PCT/KR2023/000857
Other languages
French (fr)
Korean (ko)
Inventor
김보영
양희득
Current Assignee (The listed assignees may be inaccurate. Google has not performed a legal analysis and makes no representation or warranty as to the accuracy of the list.)
Griin Agriculture Co ltd
Original Assignee
Griin Agriculture Co ltd
Priority date (The priority date is an assumption and is not a legal conclusion. Google has not performed a legal analysis and makes no representation as to the accuracy of the date listed.)
Filing date
Publication date
Application filed by Griin Agriculture Co ltd filed Critical Griin Agriculture Co ltd
Publication of WO2023140611A1 publication Critical patent/WO2023140611A1/en
Anticipated expiration legal-status Critical
Ceased legal-status Critical Current

Links

Images

Classifications

    • AHUMAN NECESSITIES
    • A01AGRICULTURE; FORESTRY; ANIMAL HUSBANDRY; HUNTING; TRAPPING; FISHING
    • A01GHORTICULTURE; CULTIVATION OF VEGETABLES, FLOWERS, RICE, FRUIT, VINES, HOPS OR SEAWEED; FORESTRY; WATERING
    • A01G9/00Cultivation in receptacles, forcing-frames or greenhouses; Edging for beds, lawn or the like
    • A01G9/24Devices or systems for heating, ventilating, regulating temperature, illuminating, or watering, in greenhouses, forcing-frames, or the like
    • FMECHANICAL ENGINEERING; LIGHTING; HEATING; WEAPONS; BLASTING
    • F21LIGHTING
    • F21VFUNCTIONAL FEATURES OR DETAILS OF LIGHTING DEVICES OR SYSTEMS THEREOF; STRUCTURAL COMBINATIONS OF LIGHTING DEVICES WITH OTHER ARTICLES, NOT OTHERWISE PROVIDED FOR
    • F21V21/00Supporting, suspending, or attaching arrangements for lighting devices; Hand grips
    • F21V21/06Bases for movable standing lamps; Fixing standards to the bases
    • FMECHANICAL ENGINEERING; LIGHTING; HEATING; WEAPONS; BLASTING
    • F21LIGHTING
    • F21VFUNCTIONAL FEATURES OR DETAILS OF LIGHTING DEVICES OR SYSTEMS THEREOF; STRUCTURAL COMBINATIONS OF LIGHTING DEVICES WITH OTHER ARTICLES, NOT OTHERWISE PROVIDED FOR
    • F21V21/00Supporting, suspending, or attaching arrangements for lighting devices; Hand grips
    • F21V21/14Adjustable mountings
    • F21V21/15Adjustable mountings specially adapted for power operation, e.g. by remote control
    • FMECHANICAL ENGINEERING; LIGHTING; HEATING; WEAPONS; BLASTING
    • F21LIGHTING
    • F21VFUNCTIONAL FEATURES OR DETAILS OF LIGHTING DEVICES OR SYSTEMS THEREOF; STRUCTURAL COMBINATIONS OF LIGHTING DEVICES WITH OTHER ARTICLES, NOT OTHERWISE PROVIDED FOR
    • F21V21/00Supporting, suspending, or attaching arrangements for lighting devices; Hand grips
    • F21V21/34Supporting elements displaceable along a guiding element
    • FMECHANICAL ENGINEERING; LIGHTING; HEATING; WEAPONS; BLASTING
    • F21LIGHTING
    • F21YINDEXING SCHEME ASSOCIATED WITH SUBCLASSES F21K, F21L, F21S and F21V, RELATING TO THE FORM OR THE KIND OF THE LIGHT SOURCES OR OF THE COLOUR OF THE LIGHT EMITTED
    • F21Y2115/00Light-generating elements of semiconductor light sources
    • F21Y2115/10Light-emitting diodes [LED]
    • YGENERAL TAGGING OF NEW TECHNOLOGICAL DEVELOPMENTS; GENERAL TAGGING OF CROSS-SECTIONAL TECHNOLOGIES SPANNING OVER SEVERAL SECTIONS OF THE IPC; TECHNICAL SUBJECTS COVERED BY FORMER USPC CROSS-REFERENCE ART COLLECTIONS [XRACs] AND DIGESTS
    • Y02TECHNOLOGIES OR APPLICATIONS FOR MITIGATION OR ADAPTATION AGAINST CLIMATE CHANGE
    • Y02ATECHNOLOGIES FOR ADAPTATION TO CLIMATE CHANGE
    • Y02A40/00Adaptation technologies in agriculture, forestry, livestock or agroalimentary production
    • Y02A40/10Adaptation technologies in agriculture, forestry, livestock or agroalimentary production in agriculture
    • Y02A40/25Greenhouse technology, e.g. cooling systems therefor

Definitions

  • the present invention relates to a motorized LED distance control device, and more particularly, to a motorized distance control device for controlling the distance of LEDs used in an indoor vertical cultivation facility by a motorized method.
  • a plant factory refers to a system that artificially controls environmental conditions such as light, temperature, humidity, carbon dioxide concentration, and culture medium in a controlled facility for crops and automatically and continuously produces them regardless of the season or place.
  • Light which plays a role in photosynthesis, is an important factor as it can promote plant growth by improving light utilization efficiency by 2 to 3 times depending on the plant factory system.
  • Light is an important factor in plant growth and development. High light intensity can increase the productivity of various vegetables and increase the dry weight and relative growth rate. Depending on the sober photoperiod, it affects not only flowering response, plant growth and development, but also elongation, branching, and chlorophyll content.
  • light used in plant factories is a light emitting diode (LED), which is mercury-free, environmentally friendly, lightweight, excellent in power saving, and has a long lifespan.
  • LED light emitting diode
  • the prior art plant cultivation system of a plant factory is a structure in which plants are stacked and grown in several layers in a multi-stage frame, and LEDs are installed on top of each stage to have a fixed height.
  • the LED emits light of a certain intensity, but as the plants grow, the distance from the LED decreases. Since the temperature and humidity change according to the distance of the LED, there is a problem that the plant may not grow or the leaves may not grow if the proper temperature is not provided. In addition, the closer to the LED, the higher the temperature around the plant, causing deterioration of the leaves. Therefore, it is necessary to properly adjust the distance between the plant and the light source.
  • the chain used in the prior art document has a problem that it rusts when it comes into contact with water, so if it is not managed steadily, friction increases and the life span is shortened, so it is difficult to use in a plant factory where a lot of water is used.
  • the present invention was created to solve the above problems, and an object of the present invention is to increase space efficiency by moving the LED fastening frame left and right through a sliding frame connected to the upper part of the main frame, and to increase user convenience and productivity using a manual remote control and automatic spacing control system.
  • It consists of a main frame installed at a certain height from the ground, a sliding frame connected to both sides of the upper part of the main frame, an auxiliary frame connected between the sliding frames, and an LED frame mounted on the lower end of the sliding frame and moved in the left and right directions, a distance adjusting member connected to one side of the auxiliary frame and the LED frame, a cylinder attached to one side of the auxiliary frame and the distance adjusting member and driven up and down to move the position of the LED frame in the left and right directions, and a control unit for inputting the distance adjustment of the LED frame, both sides of the main frame based on the main frame The distance of the LED frame can be adjusted.
  • At least one electric cylinder may be configured.
  • the at least one electric cylinder is composed of a transmission part and a cylinder, the transmission part may be fixed to one side of the auxiliary frame and the end of the cylinder may be fixed to one side of the distance adjusting member.
  • the distance adjusting member is composed of one or more, the distance adjusting member is located between the auxiliary frame and the LED frame, and is connected to one side of each distance adjusting member by a hinge that rotates 180 degrees, and the driving force of the electric cylinder and the action of the hinge.
  • the distance adjusting member can be unfolded or folded.
  • the front of the LED frame is in the form of ' ⁇ ', one side of the LED frame is attached to the LED, and a wheel is attached to the top, so it is mounted inside the sliding frame and can move in the left and right directions.
  • the side of the sliding frame vertically connected to the top of the main frame is formed in a 'T' shape, and a fastening groove through which the slide wheel can move is formed inside the frame.
  • a stopper is mounted inside the fastening groove to limit the movement range of the LED frame, so that it can be prevented from coming too close to the plant or moving away from the plant by more than a certain range.
  • the production cost is reduced through unification of the plant cultivation frame and the LED fastening frame, and space efficiency and work efficiency can be increased by removing the floor support of the LED fastening frame.
  • labor costs can be reduced by automatically adjusting the distance between the LED and the plant using a sensor, and by maintaining a certain distance between the LED and the plant, it can contribute to an increase in production by maintaining an appropriate growth environment.
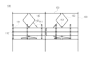
  • FIG. 1 is a right side view of a smart LED distance adjusting device 100 according to an embodiment of the present invention
  • FIG. 2 is a right side view of a state in which a plurality of smart LED distance adjusting devices 100 showing an embodiment of the present invention are coupled
  • Figure 3 is a combination view of the sliding frame 120 and the LED frame 130 according to an embodiment of the present invention
  • 5 is a side view of the smart LED distance adjusting device 100 according to electric control
  • Figure 6 is a detailed view of the attached stopper 122 of the sliding frame 120 showing an embodiment of the present invention
  • FIG. 7 is a right side view of the smart LED distance adjusting device 100 to which the LED 132 is attached according to an embodiment of the present invention
  • FIG. 8 is a front view of a smart LED distance adjusting device 100 to which LEDs 132 are attached according to an embodiment of the present invention
  • Figure 6 is a detailed view of the stopper 122 attached to the sliding frame 120 showing an embodiment of the present invention
  • Figure 7 is a right side view of the smart LED distance adjusting device 100 to which the LED 132 according to the embodiment of the present invention is attached
  • Figure 8 is a front view of the smart LED distance adjusting device 100 to which the LED 132 according to the embodiment of the present invention is attached
  • Figure 9 is a smart according to an embodiment of the present invention It is a plan view of the LED distance adjusting device 100.
  • the motorized LED distance adjusting device 100 is composed of a main frame 110 installed at a certain height from the ground, a sliding frame 120 connected to both sides of the upper part based on the main frame 110 for a center of gravity, an auxiliary frame 111 connected between the sliding frames 120, and an LED frame 130 mounted at the bottom of the sliding frame 120 and moved in the left and right directions, and has a bar shape , since the shape or shape is not necessarily limited, it can be transformed into other shapes as needed.
  • the front side of the LED frame 130 is in the form of a 'L' and the side when combined with the main frame 110 is preferably in a 'T' shape, but the LED frame 130 is the right or left side of the main frame 110. Since it can be coupled only, the shape of the frame is not necessarily limited and can be transformed into various shapes as needed.
  • the electric smart LED distance adjusting device 100 stably enables the distance adjustment of the LED frame 130 It has a structure.
  • the motorized smart LED distance adjusting device 100 includes a sliding frame 120 mounted on both upper ends of the main frame 110, an LED frame 130 mounted on the sliding frame 120 and moved in the left and right directions, and one or more distance adjusting members 150 mounted on one side of the LED frame 130 and the main frame 110 and moved in the left and right directions, respectively, and including an electric cylinder 140.
  • Wheels 160 can be connected to the lower surface of the main frame 110 so that the smart LED distance adjusting device 100 can be moved more easily.
  • the driving of the electric cylinder 140 is according to the user input. That is, the motor-type smart LED distance adjusting device described above includes the main frame 110, the sliding frame 120, the LED frame 130, the distance adjusting member 150, and the electric cylinder 140. In addition to the configuration, a control unit for user input of distance adjustment is further included as an intrinsic essential component.
  • This control unit is configured in the form of a switch provided on one side of the main frame 110, so that the user can adjust the left and right directions. That is, the left and right intervals of the LED frames 130 may be adjusted according to the time the user maintains the input switching state after performing a switching input for selecting the left and right directions of the electric cylinder 140 .
  • the LED frame 130 can be moved 3 cm to the right.
  • the LED frame 130 can be moved to the left by 2 cm.
  • the control unit may also be configured in the form of a separate control pad. According to the menu of the configured control pad, the user can more easily set the direction and movement width of the LED frame 130 .
  • one side of the sliding frame 120 has an internal fastening groove 123, so that the slide wheel 131 at the top of the LED frame 130 is inserted into the fastening groove 123 of the sliding frame 120 to be coupled to each other, and within the fastening groove 123, the slide wheel 131 can move to the left or right.
  • the LED frame 130 can be moved to the left or right according to the driving force and driving direction of the electric cylinder 140 .
  • the electric cylinder 140 is configured to include a driving unit 141 and a cylinder 142, and the driving unit 141 rotates in parallel with one side of the auxiliary frame 111 and is fixed by a rotating shaft so that it can rotate, and the end of the cylinder 142 is preferably fixed by the central axis of the bracket so that it can rotate and move parallel to one side of the distance adjusting member 150.
  • the distance adjusting member 150 has a long rectangular bar shape, but the shape of the distance adjusting member 150 is not limited and may have a circular or polygonal cross section as needed.
  • One side of the two distance adjusting members 150 is connected by a hinge 151, and the distance adjusting member 150 is unfolded or folded by the driving of the electric cylinder 140 and the action of the hinge 151.
  • the hinge 151 is formed to rotate 180 degrees.
  • the cylinder 142 reciprocates according to the pressure generated by the driving unit 141, and when the cylinder 142 is pulled into the driving unit 141 and the length of the cylinder 142 is shortened, the distance adjusting member 150 is folded by the action of the hinge 151, and the LED frame 130 connected to one side of the distance adjusting member 150 moves in the direction of the main frame 110 it becomes
  • the distance adjusting member 150 is spread by the action of the hinge 151, and the LED frame 130 connected to one side of the distance adjusting member 150 moves in the opposite direction of the main frame 110.
  • Figure 6 is a detailed view of the attached stopper 122 of the sliding frame 120 showing an embodiment of the present invention.
  • the stopper 122 is attached to the end of the sliding frame 120 to prevent unexpected accidents or mechanical failures, but the location is not necessarily limited and can be changed as needed.
  • the stopper 122 serves to limit the movement range so that the slide wheel 131 of the LED frame 130 can no longer be moved in the entry direction when the slide wheel 131 of the LED frame 130 is in contact, and is mounted inside the fastening groove 123.
  • the stopper 122 attached to the end of the sliding frame 120 serves to prevent the LED frame 130 from moving further by the stopper 122.
  • the smart LED distance adjusting device increases space efficiency by moving the LED frame 130 left and right through the sliding frame 120 connected to the upper part of the main frame 110, and the user's convenience and productivity can be increased by using a manual remote control and automatic spacing control system.
  • the present invention when used, there is an advantage in that installation cost and time can be reduced compared to when it is installed alone, and the operator can operate it easily and conveniently from the control unit.

Landscapes

  • Engineering & Computer Science (AREA)
  • General Engineering & Computer Science (AREA)
  • Life Sciences & Earth Sciences (AREA)
  • Environmental Sciences (AREA)
  • Led Device Packages (AREA)

Abstract

The present invention relates to a smart LED distance adjusting device. The smart LED distance adjusting device according to the present invention comprises a main frame installed at a certain height from the ground, sliding frames connected to both sides of the upper end of the main frame, an auxiliary frame connected between the sliding frames, and LED frames installed at the lower ends of the sliding frames and moving in position in the left and right directions, wherein a length adjusting member connected to the auxiliary frame and one side of the LED frames, a cylinder attached to the auxiliary frame and one side of the length adjusting members and driven in the vertical direction to make the LED frames move in position in the left and right directions, and a control unit for inputting the distance adjustment of the LED frames are mounted, and thus, adjustment of the distance between the LED frames on both sides with respect to the main frame is enabled.

Description

스마트 LED 간격조절장치Smart LED spacer

본 발명은 전동방식의 LED 거리조절장치에 관한 것으로, 더욱 상세하게는 실내수직재배시설에 사용되는 LED를 전동방식으로 간격 조절하기 위한 전동방식의 간격 조절 장치에 관한 것이다.The present invention relates to a motorized LED distance control device, and more particularly, to a motorized distance control device for controlling the distance of LEDs used in an indoor vertical cultivation facility by a motorized method.

빛은 작물 생육 및 생산량 증대에 있어 중요한 역할을 하고 있다. 고품질 작물 생산을 위한 조건은 작물의 충분한 광합성에 따른 동화산물의 생산이다. 이를 위해서는 광합성에 영향을 미치는 요인들 즉, 광, 이산화탄소, 수분조건이 필요한데 특히 광합성은 광에 의한 영향을 많이 받고 있다. 실내에서 작물을 생산하는 경우 햇빛을 이용한 광합성이 아닌 LED를 이용한 광합성에 필요한 광을 Light plays an important role in increasing crop growth and yield. The condition for producing high-quality crops is the production of assimilative products according to sufficient photosynthesis of crops. To this end, factors that affect photosynthesis, that is, light, carbon dioxide, and moisture conditions are required. In particular, photosynthesis is greatly affected by light. When crops are produced indoors, the light required for photosynthesis using LEDs is not used for photosynthesis using sunlight.

식물공장이란 농작물에 대하여 통제된 일정한 시설 내에서 광, 온도, 습도, 이산화탄소 농도 및 배양액 등의 환경조건을 인공적으로 제어하여 계절이나 장소에 관계없이 자동적으로 연속 생산하는 시스템을 말한다. 식물공장 시스템에 따라 광이용 효율을 2~3배 향상시켜 식물생육을 촉진할 수 있어 광합성의 역할을 하는 광이 중요한 요소이다.A plant factory refers to a system that artificially controls environmental conditions such as light, temperature, humidity, carbon dioxide concentration, and culture medium in a controlled facility for crops and automatically and continuously produces them regardless of the season or place. Light, which plays a role in photosynthesis, is an important factor as it can promote plant growth by improving light utilization efficiency by 2 to 3 times depending on the plant factory system.

광은 식물의 생장과 발달에 중요한 요인이다. 광도가 높으면 다양한 채소의 생산성을 증가시킬 수 있고 건물중과 상대적 생장율이 증가한다. 아양한 광주기에 따라 개화반응, 식물생장과 발달뿐만 아니라 신장, 측지, 엽록소 함량에도 영향을 미친다.Light is an important factor in plant growth and development. High light intensity can increase the productivity of various vegetables and increase the dry weight and relative growth rate. Depending on the sober photoperiod, it affects not only flowering response, plant growth and development, but also elongation, branching, and chlorophyll content.

일반적으로 식물공장에서 사용하는 광은 발광다이오드(LED)로 무수은으로 환경친화적이며 경량이고 전력 절감이 탁월하고 수명이 긴 장점이 있다. 특정한 광질을 이용하여 식물공장에서 채소재배 시 재배목적에 따라 막춤식 광질로 제어할 수 있다는 장점이 있다. In general, light used in plant factories is a light emitting diode (LED), which is mercury-free, environmentally friendly, lightweight, excellent in power saving, and has a long lifespan. When cultivating vegetables in a plant factory using a specific light quality, it has the advantage of being able to control the light quality according to the cultivation purpose.

식물공장의 식물 재배 시스템 선행기술은 다단형태의 프레임에 식물을 여러 층에 쌓아서 키우는 구조이며, LED는 각 단의 상부에 설치되어 높이가 고정되는 있는 형태이다. 이러한 시스템은 LED는 일정한 세기의 빛을 내뿜지만 식물은 점점 성장해 LED와의 거리가 좁아지게 된다. LED의 거리에 따라 온습도가 변하기 때문에 식물의 알맞은 온도를 형성해주지 않으면 식물이 웃자라거나 잎이 성장하지 않을 수 있는 문제가 있다. 또한 LED에 가까워질수록 식물 주변의 온도상승이 수반되어 잎의 열화현상이 발생한다. 따라서, 식물과 광원의 적당한 거리 조절이 필요하다.The prior art plant cultivation system of a plant factory is a structure in which plants are stacked and grown in several layers in a multi-stage frame, and LEDs are installed on top of each stage to have a fixed height. In this system, the LED emits light of a certain intensity, but as the plants grow, the distance from the LED decreases. Since the temperature and humidity change according to the distance of the LED, there is a problem that the plant may not grow or the leaves may not grow if the proper temperature is not provided. In addition, the closer to the LED, the higher the temperature around the plant, causing deterioration of the leaves. Therefore, it is necessary to properly adjust the distance between the plant and the light source.

이러한 문제를 해결하기 위해서 선행기술에서 LED를 체인을 이용해 거리조절을 할 수 있도록 작동방식의 편의성이 증대된 장치 등이 개발되어왔다. In order to solve this problem, in the prior art, a device with increased convenience in operation method has been developed so that the distance can be adjusted using a chain of LEDs.

상기 선행기술문헌에서 사용되는 체인은 물에 닿으면 녹슬어버린다는 문제가 있어 꾸준한 관리를 하지 않으면 마찰이 증가해 수명이 짧아지기 때문에 물의 사용이 많은 식물공장에서는 사용하기 어려운 문제점이 있다. The chain used in the prior art document has a problem that it rusts when it comes into contact with water, so if it is not managed steadily, friction increases and the life span is shortened, so it is difficult to use in a plant factory where a lot of water is used.

또한, 유지관리를 위해 사용하는 녹제거 제품들을 사용해야 하기 때문에 비용이 소요되는 단점이 있으며 녹 제거 제품을 사용하더라도 체인이 금새 뻑뻑해지거나 체인에 먼지들이 붙어 지저분해지는 어려운 문제점이 있다.In addition, since rust removal products used for maintenance must be used, there is a disadvantage in that cost is required, and even if rust removal products are used, there is a difficult problem in that the chain quickly becomes stiff or dust adheres to the chain and becomes dirty.

본 발명은 상기의 문제점을 해결하기 위해 창출된 것으로, 본 발명의 과제는 메인프레임 상부에 연결된 슬라이딩 프레임을 통하여 LED 체결프레임이 좌우로 움직이게 하여 공간효율을 증대하였으며, 수동 리모컨 및 자동 간격조절 시스템을 이용해 사용자의 편의성 및 생산성을 높이는 것에 있다.The present invention was created to solve the above problems, and an object of the present invention is to increase space efficiency by moving the LED fastening frame left and right through a sliding frame connected to the upper part of the main frame, and to increase user convenience and productivity using a manual remote control and automatic spacing control system.

지면으로부터 일정 높이로 설치되는 메인프레임, 상기 메인프레임의 상단부의 양쪽에 연결되는 슬라이딩프레임, 슬라이딩프레임 사이에 연결되는 보조프레임, 슬라이딩프레임의 하단에 장착되어 좌우 방향으로 위치 이동되는 LED프레임으로 구성되며, 상기 보조프레임과 LED프레임의 일측에 연결되는 거리조절부재, 상기 보조프레임과 거리조절부재의 일측에 부착되며, 상하 방향으로 구동하여 LED프레임을 좌우 방향으로 위치 이동시키는 실린더, 상기 LED프레임의 거리 조절의 입력을 위한 제어부가 장착되어 있어 메인프레임을 기준으로 양측의 LED프레임의 거리를 조절이 가능하다.It consists of a main frame installed at a certain height from the ground, a sliding frame connected to both sides of the upper part of the main frame, an auxiliary frame connected between the sliding frames, and an LED frame mounted on the lower end of the sliding frame and moved in the left and right directions, a distance adjusting member connected to one side of the auxiliary frame and the LED frame, a cylinder attached to one side of the auxiliary frame and the distance adjusting member and driven up and down to move the position of the LED frame in the left and right directions, and a control unit for inputting the distance adjustment of the LED frame, both sides of the main frame based on the main frame The distance of the LED frame can be adjusted.

상기 전동실린더가 적어도 하나로 구성될 수 있다.At least one electric cylinder may be configured.

상기 적어도 하나의 전동실린더는 전동부와 실린더로 구성되며, 전동부는 상기 보조프레임의 일 측면에 고정되고 실린더의 종단은 거리조절부재의 일 측면에 고정될 수 있다.The at least one electric cylinder is composed of a transmission part and a cylinder, the transmission part may be fixed to one side of the auxiliary frame and the end of the cylinder may be fixed to one side of the distance adjusting member.

상기 거리조절부재는 한개 이상으로 이루어져 있으며, 거리조절부재는 보조프레임과 LED프레임 사이에 위치해 있고 각 거리조절부재의 일측에는 180도 회전되는 경첩에 의해 연결되며 상기 전동실린더의 구동력과 경첩의 작용에 의하여 거리조절부재가 펼쳐지거나 접어질 수 있다.The distance adjusting member is composed of one or more, the distance adjusting member is located between the auxiliary frame and the LED frame, and is connected to one side of each distance adjusting member by a hinge that rotates 180 degrees, and the driving force of the electric cylinder and the action of the hinge. The distance adjusting member can be unfolded or folded.

상기 LED프레임 정면은 'ㅂ' 형태로, LED프레임의 일 측면은 LED가 부착되고 상단에는 바퀴가 부착되어 슬라이딩프레임 내부로 장착되어 좌우방향으로 이동이 가능하다.The front of the LED frame is in the form of 'ㅅ', one side of the LED frame is attached to the LED, and a wheel is attached to the top, so it is mounted inside the sliding frame and can move in the left and right directions.

상기 슬라이딩프레임은 메인 프레임 상부에 수직방향으로 연결된 측면은 'T'형태로 형성되어 있으며 프레임 내부에 상기 슬라이드바퀴가 이동할 수 있는 체결홈이 형성되어있다.The side of the sliding frame vertically connected to the top of the main frame is formed in a 'T' shape, and a fastening groove through which the slide wheel can move is formed inside the frame.

상기 LED프레임의 이동범위를 제한할 수 있도록 상기 체결홈 내부에 스토퍼가 장착되어 식물에 너무 가깝게 다가가거나 식물로부터 일정범위 이상 멀어지는 것을 방지할 수 있다.A stopper is mounted inside the fastening groove to limit the movement range of the LED frame, so that it can be prevented from coming too close to the plant or moving away from the plant by more than a certain range.

상기 제어부는 상기 메인프레임에 부착되고 중앙통제함이 별도로 생성되어 있어 복수개의 장치도 중앙에서 개별로 제어신호에 따라 상기 LED프레임이 좌우방향으로 이동이 가능하다.Since the control unit is attached to the main frame and a central control box is separately created, the LED frame can be moved left and right according to a control signal individually from the center of a plurality of devices.

상기 메인프레임의 하단에는 바퀴가 부착되어 있어 이동의 편리성을 향상될 수 있다.Since wheels are attached to the lower end of the main frame, the convenience of movement can be improved.

본 발명에 따르면, 식물재배 프레임과 LED 체결 프레임의 일원화를 통해 제작 비용을 줄였으며, LED 체결프레임의 바닥 지지대를 제거하여 공간효성 및 작업효율성 높일 수 있다.According to the present invention, the production cost is reduced through unification of the plant cultivation frame and the LED fastening frame, and space efficiency and work efficiency can be increased by removing the floor support of the LED fastening frame.

또한, 센서를 이용해 LED와 식물 사이간격을 자동으로 조절함으로써 인건비를 절감할 수 있고, LED와 식물이 일정한 거리를 유지하여 적절한 생육환경 유지를 통해 생산량 증가에 기여할 수 있다.In addition, labor costs can be reduced by automatically adjusting the distance between the LED and the plant using a sensor, and by maintaining a certain distance between the LED and the plant, it can contribute to an increase in production by maintaining an appropriate growth environment.

본 발명의 효과들은 이상에서 언급한 효과들로 제한되지 않으며, 언급되지 않은 또 다른 효과들은 청구범위에 기재되어 관계자들이 명확하게 이해할 수 있을 것이다.The effects of the present invention are not limited to the effects mentioned above, and other effects not mentioned above will be clearly understood by those concerned by being described in the claims.

도 1은 본 발명의 실시 예에 따른 스마트 LED 거리조절장치(100)의 우측면도1 is a right side view of a smart LED distance adjusting device 100 according to an embodiment of the present invention

도 2는 본 발명의 실시 예를 나타낸 복수의 스마트 LED 거리조절장치(100)가 결합된 상태의 우측면도2 is a right side view of a state in which a plurality of smart LED distance adjusting devices 100 showing an embodiment of the present invention are coupled

도 3는 본 발명의 실시 예에 따른 슬라이딩프레임(120)과 LED프레임(130)의 결합도Figure 3 is a combination view of the sliding frame 120 and the LED frame 130 according to an embodiment of the present invention

도 4는 전동 조절에 따른 거리조절부재(150)의 실시 예4 is an embodiment of a distance adjusting member 150 according to electric control

도 5는 전동 조절에 따른 스마트 LED 거리조절장치(100)의 측면도5 is a side view of the smart LED distance adjusting device 100 according to electric control

도 6는 본 발명의 실시 예를 나타낸 슬라이딩프레임(120)의 부착된 스토퍼(122)의 상세도Figure 6 is a detailed view of the attached stopper 122 of the sliding frame 120 showing an embodiment of the present invention

도 7는 본 발명의 실시 예에 따른 LED(132)가 부착된 스마트 LED거리조절장치(100)의 우측면도7 is a right side view of the smart LED distance adjusting device 100 to which the LED 132 is attached according to an embodiment of the present invention

도 8는 본 발명의 실시 예에 따른 LED(132)가 부착된 스마트 LED거리조절장치(100)의 정면도8 is a front view of a smart LED distance adjusting device 100 to which LEDs 132 are attached according to an embodiment of the present invention

도 9는 본 발명의 실시 예에 따른 스마트 LED거리조절장치(100)의 평면도9 is a plan view of a smart LED distance adjusting device 100 according to an embodiment of the present invention

본 발명은 그 기술적 사상 또는 주요한 특징으로부터 벗어남이 없이 다른 여러가지 형태로 실시될 수 있다. 따라서, 본 발명의 실시 예들은 모든 점에서 단순한 예시에 지나지 않으며 한정적으로 해석되어서는 안 된다.The present invention may be embodied in other various forms without departing from its technical spirit or essential characteristics. Therefore, the embodiments of the present invention are mere examples in all respects and should not be construed in a limited manner.

어떤 구성요소가 다른 구성요소에 “연결되어” 있다고 언급된 때에는, 그 다른 구성요소에 직접적으로 연결되어 있거나 또는 접속되어 있을 수도 있지만, 중간에 다른 구성요소가 존재할 수도 있다.When an element is referred to as being “connected” to another element, it may be directly connected or connected to the other element, but other elements may exist in the middle.

본 출원에서 사용한 단수의 표현은 문맥상 명백하게 다르게 뜻하지 않는 한, 복수의 표현을 포함한다. 본 출원에서, "포함하다" 또는 "구비하다", "가지다" 등의 용어는 명세서에 기재된 구성요소 또는 이들의 조합이 존재하는 것을 표현하려는 것이지, 다른 구성요소 또는 특징이 존재 또는 부가될 가능성을 미리 배제하는 것은 아니다.Singular expressions used in this application include plural expressions unless the context clearly dictates otherwise. In this application, terms such as "comprise" or "have" or "have" are intended to express that the components described in the specification or combinations thereof exist, but the possibility that other components or features may exist or be added is not excluded in advance.

또한, 명세서에 기재된 “…부” 등의 용어는 적어도 하나의 기능이나 동작을 처리하는 단위를 의미한다. 또한 도면에서는 설명의 편의를 위하여 구성 요소들이 그 크기가 과장 또는 축소될 수 있다. In addition, as described in the specification, "... Terms such as “unit” mean a unit that processes at least one function or operation. In addition, in the drawings, the size of components may be exaggerated or reduced for convenience of explanation.

예컨대, 도면에서 나타난 각 구성의 크기 및 두께는 설명의 편의를 위해 임의로 나타내었으므로, 본 발명이 반드시 도시된 바에 한정되지 않는다.For example, since the size and thickness of each component shown in the drawings are arbitrarily shown for convenience of description, the present invention is not necessarily limited to the illustrated bar.

이하, 첨부된 도면을 참조하여 본 발명에 따른 바람직한 실시 예를 상세히 설명한다.Hereinafter, preferred embodiments according to the present invention will be described in detail with reference to the accompanying drawings.

도 1은 본 발명의 실시 예에 따른 스마트 LED 거리조절장치(100)의 우측면도, 도 2는 본 발명의 실시 예를 나타낸 복수의 스마트 LED 거리조절장치(100)가 결합된 상태의 우측면도, 도 3는 본 발명의 실시 예에 따른 슬라이딩프레임(120)과 LED프레임(130)의 결합도, 도 4는 전동 조절에 따른 거리조절부재(150)의 실시 예, 도 5는 전동 조절에 따른 스마트 LED 거리조절장치(100)의 측면도, 도 6는 본 발명의 실시 예를 나타낸 슬라이딩프레임(120)의 부착된 스토퍼(122)의 상세도, 도 7는 본 발명의 실시 예에 따른 LED(132)가 부착된 스마트 LED거리조절장치(100)의 우측면도, 도 8는 본 발명의 실시 예에 따른 LED(132)가 부착된 스마트 LED거리조절장치(100)의 정면도, 도 9는 본 발명의 실시 예에 따른 스마트 LED거리조절장치(100)의 평면도이다.1 is a right side view of a smart LED distance adjusting device 100 according to an embodiment of the present invention, FIG. 2 is a right side view of a plurality of smart LED distance adjusting devices 100 combined according to an embodiment of the present invention, FIG. 3 is a combination view of a sliding frame 120 and an LED frame 130 according to an embodiment of the present invention, FIG. Side view of (100), Figure 6 is a detailed view of the stopper 122 attached to the sliding frame 120 showing an embodiment of the present invention, Figure 7 is a right side view of the smart LED distance adjusting device 100 to which the LED 132 according to the embodiment of the present invention is attached, Figure 8 is a front view of the smart LED distance adjusting device 100 to which the LED 132 according to the embodiment of the present invention is attached, Figure 9 is a smart according to an embodiment of the present invention It is a plan view of the LED distance adjusting device 100.

도 1 및 도 2에 도시된 바와 같이, 전동방식의 LED 거리조절장치(100)은 지면으로부터 일정 높이로 설치되는 메인프레임(110), 무게 중심을 위해 메인프레임(110)을 기준으로 상단부의 양쪽에 연결되는 슬라이딩프레임(120), 슬라이딩프레임(120) 사이에 연결되는 보조프레임(111), 슬라이딩프레임(120)의 하단에 장착되어 좌우 방향으로 위치 이동되는 LED프레임(130)으로 구성되며 바 형상을 가지나, 모양이나 형상은 반드시 한정되지 않기 때문에 필요에 따라 다른 형상으로 변형될 수 있다. As shown in FIGS. 1 and 2, the motorized LED distance adjusting device 100 is composed of a main frame 110 installed at a certain height from the ground, a sliding frame 120 connected to both sides of the upper part based on the main frame 110 for a center of gravity, an auxiliary frame 111 connected between the sliding frames 120, and an LED frame 130 mounted at the bottom of the sliding frame 120 and moved in the left and right directions, and has a bar shape , since the shape or shape is not necessarily limited, it can be transformed into other shapes as needed.

상기 LED프레임(130) 정면은 'ㅂ' 형태이고 상기 메인프레임(110)과 결합 시에 측면은 'T'형태가 바람직하지만, LED프레임(130)이 메인프레임(110)의 오른쪽이나 왼쪽에만 결합될 수 있어 프레임의 형태는 반드시 한정되지는 않으며 필요에 따라 다양한 형태로 변형시킬 수 있다.The front side of the LED frame 130 is in the form of a 'L' and the side when combined with the main frame 110 is preferably in a 'T' shape, but the LED frame 130 is the right or left side of the main frame 110. Since it can be coupled only, the shape of the frame is not necessarily limited and can be transformed into various shapes as needed.

또한, 전동방식의 스마트 LED 거리조절장치(100)는 전동실린더(140)로부터 발생되는 구동력을 통해 LED프레임(130)의 거리 조절을 실행하더라도, 안정적으로 LED프레임(130)의 거리 조절이 가능하게 하는 구조로 되어있다.In addition, even if the distance control of the LED frame 130 is executed through the driving force generated from the electric cylinder 140, the electric smart LED distance adjusting device 100 stably enables the distance adjustment of the LED frame 130 It has a structure.

구체적으로, 전동방식의 스마트 LED 거리조절장치(100)는 메인프레임(110)을 기준으로 양쪽 상단에 장착되어있는 슬라이딩프레임(120), 슬라이딩프레임(120)에 장착되어 좌우방향으로 위치 이동되는 LED프레임(130), LED프레임(130)과 메인프레임(110)의 일측에 장착되어 좌우 방향으로 위치 이동되는 거리조절부재(150)가 각각 하나 이상으로 구성되고 전동실린더(140)를 포함한다.Specifically, the motorized smart LED distance adjusting device 100 includes a sliding frame 120 mounted on both upper ends of the main frame 110, an LED frame 130 mounted on the sliding frame 120 and moved in the left and right directions, and one or more distance adjusting members 150 mounted on one side of the LED frame 130 and the main frame 110 and moved in the left and right directions, respectively, and including an electric cylinder 140.

상기 메인프레임(110)의 하면에는 바퀴(160)가 연결될 수 있어 스마트 LED 거리조절장치(100)는 보다 쉽게 이동될 수 있다.Wheels 160 can be connected to the lower surface of the main frame 110 so that the smart LED distance adjusting device 100 can be moved more easily.

여기서, 전동실린더(140)의 구동은 사용자 입력에 따른다. 즉, 위 설명된 전동방식의 스마트 LED 거리조절장치는 메인프레임(110), 슬라이딩프레임(120), LED프레임(130), 거리조절부재(150), 전동실린더(140)를 포함하는 구성 외에, 내재적 필수구성으로서 거리 조절의 사용자 입력을 위한 제어부가 더 포함된다.Here, the driving of the electric cylinder 140 is according to the user input. That is, the motor-type smart LED distance adjusting device described above includes the main frame 110, the sliding frame 120, the LED frame 130, the distance adjusting member 150, and the electric cylinder 140. In addition to the configuration, a control unit for user input of distance adjustment is further included as an intrinsic essential component.

이러한 제어부는 메인프레임(110)의 일측에 구비된 스위치 형태로 구성되어서, 좌우 방향을 사용자가 조절할 수 있도록 할 수 있다. 즉, 사용자가 전동실린더(140)의 좌우 방향을 선택하는 스위칭 입력을 한 후 입력 스위칭 상태를 유지하는 시간에 따라 LED프레임(130)의 좌우 간격이 조절될 수 있다.This control unit is configured in the form of a switch provided on one side of the main frame 110, so that the user can adjust the left and right directions. That is, the left and right intervals of the LED frames 130 may be adjusted according to the time the user maintains the input switching state after performing a switching input for selecting the left and right directions of the electric cylinder 140 .

예를 들어, 사용자가 전동실린더(140)의 좌우 방향을 '우측 방향'으로 선택하고, 선택된 '우측 방향'의 스위칭 입력 상태를 '5초'가 유지한 경우, 이에 대응되어 LED프레임(130)이 우측으로 3cm 이동될 수 있다.For example, when the user selects the left and right direction of the electric cylinder 140 as 'right direction' and maintains the switching input state of the selected 'right direction' for '5 seconds', the LED frame 130 can be moved 3 cm to the right.

반대로, 사용자가 전동실린더(140)의 좌우 방향을 '좌측 방향'으로 선택하고, 선택된 '좌측 방향'의 스위칭 입력 상태를 '3초'가 유지한 경우, 이에 대응되어 LED프레임(130)이 좌측으로 2cm 이동될 수 있다.Conversely, when the user selects the left and right direction of the electric cylinder 140 as 'left direction' and maintains the switching input state of the selected 'left direction' for '3 seconds', the LED frame 130 can be moved to the left by 2 cm.

제어부는 별도의 제어 패드 형태로 구성되는 것도 가능하다. 구성된 제어 패드의 메뉴에 따라 사용자는 LED프레임(130) 방향 및 이동 폭을 보다 용이하게 설정하는 것도 가능하다.The control unit may also be configured in the form of a separate control pad. According to the menu of the configured control pad, the user can more easily set the direction and movement width of the LED frame 130 .

도 3에 도시된 바와 같이, 슬라이딩프레임(120)의 일측면은 내부의 체결홈(123)을 있어 LED프레임(130)의 상단의 슬라이드바퀴(131)가 슬라이딩 프레임(120)의 체결홈(123)에 끼워짐으로써 서로 결합되게 되는데, 체결홈(123) 내에서 슬라이드바퀴(131)가 좌측 혹은 우측으로 이동이 가능하다.As shown in FIG. 3, one side of the sliding frame 120 has an internal fastening groove 123, so that the slide wheel 131 at the top of the LED frame 130 is inserted into the fastening groove 123 of the sliding frame 120 to be coupled to each other, and within the fastening groove 123, the slide wheel 131 can move to the left or right.

도 4 및 도 5를 참고하면, 본 발명에서 상기 전동실린더(140)의 작동에 따른 거리조절부재(150)의 길이 변화를 설명하기 위한 개념도로서 상부에서 스마트 LED 거리조절장치(100)를 바라본 전동실린더(140)를 도시한 것이다. 4 and 5, in the present invention, as a conceptual diagram for explaining the length change of the distance adjusting member 150 according to the operation of the electric cylinder 140, the electric cylinder 140 viewed from the top of the smart LED distance adjusting device 100 is shown.

LED프레임(130)은 전동실린더(140)의 구동력 및 구동 방향에 따라 좌측 혹은 우측으로 위치 이동이 가능하다. 전동실린더(140)는 구동부(141) 및 실린더(142)를 포함하여 구성되고, 상기 구동부(141)는 보조프레임(111)의 일 측면과 평행하게 회전하며 회동할 수 있도록 회전축에 의하여 고정되도록 하며, 상기 실린더(142)의 종단은 상기 거리조절부재(150) 의 일 측면과 평행하게 회전하며 움직일 수 있도록 브라켓의 중심축에 의하여 고정되도록 하는 것이 바람직하다. The LED frame 130 can be moved to the left or right according to the driving force and driving direction of the electric cylinder 140 . The electric cylinder 140 is configured to include a driving unit 141 and a cylinder 142, and the driving unit 141 rotates in parallel with one side of the auxiliary frame 111 and is fixed by a rotating shaft so that it can rotate, and the end of the cylinder 142 is preferably fixed by the central axis of the bracket so that it can rotate and move parallel to one side of the distance adjusting member 150.

도 4에 도시된 바와 같이, 거리조절부재(150)는 긴 직사각형의 바형태로 이루어져 있으나, 거리조절부재(150)의 모양은 한정되지 않으며 필요에 따라 단면이 원형 혹은 다각형일 수 있다. 두 개의 거리조절부재(150)의 일측이 경첩(151)에 의해 연결되어 있으며, 상기 전동실린더(140)의 구동 및 경첩(151)의 작용에 의하여 거리조절부재(150)가 펼쳐지거나 접어지게 된다. 상기 경첩(151)은 180도 회전하도록 형성되어 있다.As shown in FIG. 4 , the distance adjusting member 150 has a long rectangular bar shape, but the shape of the distance adjusting member 150 is not limited and may have a circular or polygonal cross section as needed. One side of the two distance adjusting members 150 is connected by a hinge 151, and the distance adjusting member 150 is unfolded or folded by the driving of the electric cylinder 140 and the action of the hinge 151. The hinge 151 is formed to rotate 180 degrees.

상기 전동 실린더(140)는 구동부(141)에서 발생되는 압력에 따라 실린더(142)가 왕복운동을 하게 되며, 실린더(142)가 구동부(141) 내부로 당겨져서 실린더(142)의 길이가 짧아지게 되면 경첩(151)의 작용에 의해 거리조절부재(150)가 접어지게 되어 거리조절부재(150)의 일측에 연결된 LED프레임(130)이 메인프레임(110) 방향으로 움직이게 된다. In the electric cylinder 140, the cylinder 142 reciprocates according to the pressure generated by the driving unit 141, and when the cylinder 142 is pulled into the driving unit 141 and the length of the cylinder 142 is shortened, the distance adjusting member 150 is folded by the action of the hinge 151, and the LED frame 130 connected to one side of the distance adjusting member 150 moves in the direction of the main frame 110 it becomes

반대로, 실린더(142)의 전체가 구동부에(141)서 밀어져서 실린더(142)가 길어지게 되면 경첩(151)의 작용에 의해 거리조절부재(150)가 펼쳐지게 되어 거리조절부재(150)의 일측에 연결된 LED프레임(130)이 메인프레임(110)의 반대방향으로 움직이게 된다.Conversely, when the entire cylinder 142 is pushed by the driving unit 141 and the cylinder 142 becomes longer, the distance adjusting member 150 is spread by the action of the hinge 151, and the LED frame 130 connected to one side of the distance adjusting member 150 moves in the opposite direction of the main frame 110.

도 6은 본 발명의 실시 예를 나타낸 슬라이딩프레임(120)의 부착된 스토퍼(122)의 상세도이다. Figure 6 is a detailed view of the attached stopper 122 of the sliding frame 120 showing an embodiment of the present invention.

도 6에 도시한 바와 같이, 불의의 사고나 기계 고장이 발생되는 것을 방지하기 위해서 스토퍼(122)가 슬라이딩프레임(120)의 끝단에 부착되어 있으나, 위치는 반드시 한정되지 않으며, 필요에 따라 변경될 수 있다.As shown in FIG. 6, the stopper 122 is attached to the end of the sliding frame 120 to prevent unexpected accidents or mechanical failures, but the location is not necessarily limited and can be changed as needed.

스토퍼(122)는 LED프레임(130)의 슬라이드바퀴(131)가 접촉되면 더 이상 그 진입방향으로 슬라이드바퀴(131)가 이동될 수 없도록 이동범위를 제한하는 역할로 상기 체결홈(123) 내부에 장착되어 메인프레임(110)쪽으로 너무 가깝게 다가가거나 일정범위 이상 멀어지는 것을 방지하는 것을 특징으로 한다. The stopper 122 serves to limit the movement range so that the slide wheel 131 of the LED frame 130 can no longer be moved in the entry direction when the slide wheel 131 of the LED frame 130 is in contact, and is mounted inside the fastening groove 123.

구체적으로, 전동 실린더(140)의 구동력으로 인해 거리조절부재(150)가 펼쳐지면서 LED프레임(130)이 메인프레임(110)의 반대방향으로 움직일때 슬라이딩프레임(120) 끝단에 부착되어 있는 스토퍼(122)에 의해 LED프레임(130)이 스토퍼(122)에 의해 그 이상 움직이지 않게 하는 역할을 한다. Specifically, when the LED frame 130 moves in the opposite direction of the main frame 110 while the distance adjusting member 150 is unfolded due to the driving force of the electric cylinder 140, the stopper 122 attached to the end of the sliding frame 120 serves to prevent the LED frame 130 from moving further by the stopper 122.

상술한 바와 같이 본 발명의 바람직한 실시예에 따른 스마트 LED 거리조절장치는 메인프레임(110) 상부에 연결된 슬라이딩프레임(120)을 통하여 LED프레임(130)이 좌우로 움직이게 하여 공간효율을 증대하였으며, 수동 리모컨 및 자동 간격조절 시스템을 이용해 사용자의 편의성 및 생산성을 높일 수 있다는 효과가 있다. 또한, 본 발명을 이용할 경우, 단독으로 설치되어 있을 경우보다 설치비용과 시간을 감소시킬 수 있으며 작업자가 제어부에서 쉽고 간편하게 작동시킬 수 있다는 장점이 있다.As described above, the smart LED distance adjusting device according to a preferred embodiment of the present invention increases space efficiency by moving the LED frame 130 left and right through the sliding frame 120 connected to the upper part of the main frame 110, and the user's convenience and productivity can be increased by using a manual remote control and automatic spacing control system. In addition, when the present invention is used, there is an advantage in that installation cost and time can be reduced compared to when it is installed alone, and the operator can operate it easily and conveniently from the control unit.

이상과 첨부된 도면을 참조하여 본 발명의 실시 예를 설명하였지만, 본 발명이 속하는 기술분야에서 통상의 지식을 가진 자는 본 발명이 그 기술적 사상이나 필수적인 특징을 변경하지 않고서 다른 구체적인 형태로 실시될 수 있다는 것을 이해할 수 있을 것이다. 그러므로 이상에서 기술한 실시 예들은 모든 면에서 예시적인 것이며 한정적이 아닌 것으로 이해해야만 한다.Although the embodiments of the present invention have been described with reference to the above and the accompanying drawings, those skilled in the art to which the present invention pertains may understand that the present invention may be embodied in other specific forms without changing the technical spirit or essential features. Therefore, the embodiments described above should be understood as illustrative in all respects and not limiting.

[부호의 설명][Description of code]

스마트 LED 거리조절장치(100)Smart LED Distance Adjuster (100)

메인프레임(110) 보조프레임(111)Main frame (110) Auxiliary frame (111)

슬라이딩프레임(120) 스토퍼(122) 체결홈(123)Sliding frame (120) Stopper (122) Fastening groove (123)

LED프레임(130) 슬라이드바퀴(131) LED(132) 버클(133)LED Frame(130) Slide Wheel(131) LED(132) Buckle(133)

전동실린더(140) 구동부(141) 실린더(142)Electric cylinder (140) driving part (141) cylinder (142)

거리조절부재(150) 경첩(151)Distance adjusting member (150) Hinge (151)

바퀴(160)wheels(160)

Claims (8)

지면으로부터 일정 높이로 설치되는 메인프레임, 상기 메인프레임의 상단부의 양쪽에 연결되는 슬라이딩프레임, 슬라이딩프레임 사이에 연결되는 보조프레임, 슬라이딩프레임의 하단에 장착되어 좌우 방향으로 위치 이동되는 LED프레임으로 구성되며,It consists of a main frame installed at a certain height from the ground, a sliding frame connected to both sides of the upper part of the main frame, an auxiliary frame connected between the sliding frames, and an LED frame mounted at the bottom of the sliding frame and moved in the left and right directions, 상기 보조프레임과 거리조절부재의 일측에 부착되어 상하 방향으로 구동하고 LED프레임을 좌우 방향으로 위치 이동시키는 전동실린더는 전동부와 실린더로 구성되며 전동부는 상기 보조프레임의 일 측면에 고정되고 실린더의 종단은 거리조절부재의 일 측면에 고정되며,The electric cylinder attached to one side of the auxiliary frame and the distance adjusting member to drive in the vertical direction and move the LED frame in the left and right directions is composed of a transmission part and a cylinder, and the transmission part is fixed to one side of the auxiliary frame and the end of the cylinder is fixed to one side of the distance adjusting member, 상기 LED프레임의 거리 조절의 입력을 위한 제어부가 장착되어 있어 메인프레임을 기준으로 양측의 LED프레임의 거리를 조절이 가능한 것을 특징으로 하는 스마트 LED 거리조절장치. Smart LED distance adjusting device, characterized in that the control unit for input of the distance adjustment of the LED frame is equipped to adjust the distance of the LED frames on both sides based on the main frame. 제 1항에 있어서, 상기 전동실린더가 한 개 이상으로 구성되는 스마트 LED 거리조절장치.According to claim 1, Smart LED distance adjusting device consisting of one or more electric cylinders. 제 2항에 있어서, 상기 전동실린더는 전동부와 실린더로 구성되며, 전동부는 상기 보조프레임의 일 측면에 고정되고 실린더의 종단은 거리조절부재의 일 측면에 고정되는 것을 특징으로 하는 스마트 LED 거리조절장치The smart LED distance adjusting device according to claim 2, wherein the electric cylinder is composed of a transmission part and a cylinder, and the transmission part is fixed to one side of the auxiliary frame and the end of the cylinder is fixed to one side of the distance adjusting member. 제 3항에 있어서, 상기 거리조절부재는 한개 이상으로 이루어져 있으며, 거리조절부재는 보조프레임과 LED프레임 사이에 위치해 있고 각 거리조절부재의 일측에는 180도 회전되는 경첩에 의해 연결되며 상기 전동실린더의 구동력과 경첩의 작용에 의하여 거리조절부재가 펼쳐지거나 접어지게 되는 것을 특징으로 하는 스마트 LED 거리조절장치The smart LED distance adjusting device according to claim 3, wherein the distance adjusting member is composed of one or more, and the distance adjusting member is located between the auxiliary frame and the LED frame, and is connected to one side of each distance adjusting member by a hinge that rotates 180 degrees, and the distance adjusting member is unfolded or folded by the driving force of the electric cylinder and the action of the hinge. 제 4항에 있어서, 상기 LED프레임 정면은 'ㅂ' 형태로, LED프레임의 일 측면은 LED가 부착되고 상단에는 슬라이드바퀴가 슬라이딩프레임 내부로 거꾸로 장착되어 좌우방향으로 이동하며 LED프레임과 슬라이딩프레임은 수직으로 결합 및 이동하는 것을 특징으로 하는 스마트 LED 거리조절장치The method of claim 4, wherein the front of the LED frame is in the form of 'ㅅ', one side of the LED frame is attached to the LED, and the slide wheel is mounted upside down inside the sliding frame to move in the left and right directions, and the LED frame and the sliding frame are combined and moved vertically. 제 5항에 있어서, 상기 슬라이딩프레임은 메인 프레임 상부에 수직방향으로 연결된 측면은 'T'형태로 형성되어 있으며 슬라이딩프레임 내부에 상기 슬라이드바퀴가 이동할 수 있는 체결홈이 형성되어 있으며 LED프레임의 이동범위를 제한할 수 있도록 상기 체결홈 내부에 스토퍼가 장착되어 메인프레임으로부터 일정범위 이상 가까워지거나 멀어지는 것을 방지하는 것을 특징으로 하는 스마트 LED 거리조절장치The method of claim 5, wherein the sliding frame has a side surface connected vertically to the upper part of the main frame in a 'T' shape, and a fastening groove through which the slide wheel can move is formed inside the sliding frame, and a stopper is mounted inside the fastening groove to limit the range of movement of the LED frame. 제 1항에 있어서, 상기 제어부는 전동실린더의 구동을 조절하는 것으로 메인프레임에 유선으로 부착되기도 하고 중앙통제함이 별도로 생성되어 있어 복수개의 장치도 중앙에서 개별로 제어신호에 따라 상기 LED프레임이 좌우방향으로 이동시키는 것을 특징으로 하는 스마트 LED 거리조절장치The smart LED distance adjusting device according to claim 1, wherein the control unit adjusts the driving of the electric cylinder and is attached to the main frame by wire, and the central control box is separately created so that the LED frame moves in the left and right directions according to the control signal individually in the center of the plurality of devices. 제 7항에 있어서, 상기 메인프레임의 하단에는 바퀴가 부착되어 있으며 바퀴에는 브레이크 기능이 있어 이동의 편리성과 안정성을 향상시킨 것을 특징으로 하는 스마트 LED 거리조절장치The smart LED distance control device according to claim 7, wherein wheels are attached to the lower end of the main frame, and the wheels have a brake function to improve the convenience and stability of movement.
PCT/KR2023/000857 2022-01-19 2023-01-18 Smart led distance adjusting device Ceased WO2023140611A1 (en)

Applications Claiming Priority (2)

Application Number Priority Date Filing Date Title
KR1020220007740A KR102388917B1 (en) 2022-01-19 2022-01-19 Smart LED separation adjusting apparatus
KR10-2022-0007740 2022-01-19

Publications (1)

Publication Number Publication Date
WO2023140611A1 true WO2023140611A1 (en) 2023-07-27

Family

ID=81437558

Family Applications (1)

Application Number Title Priority Date Filing Date
PCT/KR2023/000857 Ceased WO2023140611A1 (en) 2022-01-19 2023-01-18 Smart led distance adjusting device

Country Status (2)

Country Link
KR (1) KR102388917B1 (en)
WO (1) WO2023140611A1 (en)

Families Citing this family (3)

* Cited by examiner, † Cited by third party
Publication number Priority date Publication date Assignee Title
KR102388917B1 (en) * 2022-01-19 2022-04-21 농업회사법인 주식회사 그린 Smart LED separation adjusting apparatus
KR102509636B1 (en) * 2022-11-10 2023-03-15 농업회사법인 주식회사 그린 Smart hydroponics apparatus
KR102513095B1 (en) * 2022-11-10 2023-03-23 농업회사법인 주식회사 그린 Smart hydroponics apparatus

Citations (6)

* Cited by examiner, † Cited by third party
Publication number Priority date Publication date Assignee Title
KR20130118096A (en) * 2012-04-19 2013-10-29 농업회사법인주식회사 세이프푸드 Plant cultivation device
KR20150113457A (en) * 2014-03-28 2015-10-08 농업회사법인 만나씨이에이 주식회사 Plant Cultivation Apparatus for Plant Factory with Right Automatic Height Control System
JP2019187282A (en) * 2018-04-24 2019-10-31 藤澤建機株式会社 Hydroponics device, hydroponics system, lift mechanism, and cultivation/harvesting method of plant
KR102055868B1 (en) * 2017-11-03 2019-12-13 경기도 Plant cultivation system
JP2021177736A (en) * 2020-05-14 2021-11-18 三洋テクノソリューションズ鳥取株式会社 Plant cultivation equipment
KR102388917B1 (en) * 2022-01-19 2022-04-21 농업회사법인 주식회사 그린 Smart LED separation adjusting apparatus

Family Cites Families (3)

* Cited by examiner, † Cited by third party
Publication number Priority date Publication date Assignee Title
CA3072995C (en) 2018-03-15 2023-03-21 Plants Laboratory, Inc. Plant cultivation method, plant cultivation system, and rack
KR102092079B1 (en) 2018-07-30 2020-03-23 장보원 Neck band type fan
KR20200089429A (en) 2019-01-17 2020-07-27 백승희 LED plant growth lamp & Lamp Replaceable hydroponic cultivating apparatus

Patent Citations (6)

* Cited by examiner, † Cited by third party
Publication number Priority date Publication date Assignee Title
KR20130118096A (en) * 2012-04-19 2013-10-29 농업회사법인주식회사 세이프푸드 Plant cultivation device
KR20150113457A (en) * 2014-03-28 2015-10-08 농업회사법인 만나씨이에이 주식회사 Plant Cultivation Apparatus for Plant Factory with Right Automatic Height Control System
KR102055868B1 (en) * 2017-11-03 2019-12-13 경기도 Plant cultivation system
JP2019187282A (en) * 2018-04-24 2019-10-31 藤澤建機株式会社 Hydroponics device, hydroponics system, lift mechanism, and cultivation/harvesting method of plant
JP2021177736A (en) * 2020-05-14 2021-11-18 三洋テクノソリューションズ鳥取株式会社 Plant cultivation equipment
KR102388917B1 (en) * 2022-01-19 2022-04-21 농업회사법인 주식회사 그린 Smart LED separation adjusting apparatus

Also Published As

Publication number Publication date
KR102388917B1 (en) 2022-04-21

Similar Documents

Publication Publication Date Title
WO2023140611A1 (en) Smart led distance adjusting device
WO2011027999A2 (en) Illumination system for a plant factory
CN102511342A (en) Greenhouse light replenishing device with movable light source
FI124137B (en) Procedure and arrangement for lighting greenhouse plants and trolley to be used in a greenhouse
EP2393347A1 (en) Method and arrangement for illuminating greenhouse plants
CN216415271U (en) Indoor intelligent vegetation device
CN203243759U (en) Intelligent vegetable greenhouse curtain roller
CN211475662U (en) Light filling lamp for artificial climate chamber
KR102107509B1 (en) Gutter lifting means
CN114747404B (en) Grape planting arch shed ventilation and heat dissipation device and using method thereof
CN214094286U (en) Lamp is bred to chicken coop
CN211558104U (en) Equipment with lifting lamp for plant cultivation
WO2024117380A1 (en) Circulation-type crop cultivation system
KR20230139494A (en) Conveyor system for plant factory and plant factory using the same
CN223553932U (en) Facility for automatically cultivating edible fungi by utilizing tobacco curing barn
CN202757013U (en) Light source device
CN216243990U (en) Intelligent networking device for LED plant lamps
CN117730763B (en) Hanging type three-dimensional cultivation facility
CN112167045A (en) A kind of automatic seedling raising method and planting equipment according to plant growth cycle
CN112278795A (en) Conveying system is cultivated to base-material
CN223444685U (en) An automatic tray loading device suitable for drip irrigation tape production line
CN215269719U (en) Intelligent greenhouse system
CN214580750U (en) A fill light lifting device
KR102902066B1 (en) Apparatus for cultivating plants
KR20250128567A (en) High cultivation facility apparatus with fall prevention capability

Legal Events

Date Code Title Description
121 Ep: the epo has been informed by wipo that ep was designated in this application

Ref document number: 23743458

Country of ref document: EP

Kind code of ref document: A1

NENP Non-entry into the national phase

Ref country code: DE

122 Ep: pct application non-entry in european phase

Ref document number: 23743458

Country of ref document: EP

Kind code of ref document: A1