WO2022224392A1 - ヒートポンプ給湯装置 - Google Patents

ヒートポンプ給湯装置 Download PDF

Info

Publication number
WO2022224392A1
WO2022224392A1 PCT/JP2021/016246 JP2021016246W WO2022224392A1 WO 2022224392 A1 WO2022224392 A1 WO 2022224392A1 JP 2021016246 W JP2021016246 W JP 2021016246W WO 2022224392 A1 WO2022224392 A1 WO 2022224392A1
Authority
WO
WIPO (PCT)
Prior art keywords
water
refrigerant
degree
compressor
circuit
Prior art date
Legal status (The legal status is an assumption and is not a legal conclusion. Google has not performed a legal analysis and makes no representation as to the accuracy of the status listed.)
Ceased
Application number
PCT/JP2021/016246
Other languages
English (en)
French (fr)
Inventor
功典 河野
仁隆 門脇
Current Assignee (The listed assignees may be inaccurate. Google has not performed a legal analysis and makes no representation or warranty as to the accuracy of the list.)
Mitsubishi Electric Corp
Original Assignee
Mitsubishi Electric Corp
Priority date (The priority date is an assumption and is not a legal conclusion. Google has not performed a legal analysis and makes no representation as to the accuracy of the date listed.)
Filing date
Publication date
Application filed by Mitsubishi Electric Corp filed Critical Mitsubishi Electric Corp
Priority to EP21937886.6A priority Critical patent/EP4328527A4/en
Priority to JP2023515963A priority patent/JP7542730B2/ja
Priority to US18/548,620 priority patent/US20240077231A1/en
Priority to PCT/JP2021/016246 priority patent/WO2022224392A1/ja
Publication of WO2022224392A1 publication Critical patent/WO2022224392A1/ja
Anticipated expiration legal-status Critical
Ceased legal-status Critical Current

Links

Images

Classifications

    • FMECHANICAL ENGINEERING; LIGHTING; HEATING; WEAPONS; BLASTING
    • F24HEATING; RANGES; VENTILATING
    • F24HFLUID HEATERS, e.g. WATER OR AIR HEATERS, HAVING HEAT-GENERATING MEANS, e.g. HEAT PUMPS, IN GENERAL
    • F24H4/00Fluid heaters characterised by the use of heat pumps
    • F24H4/02Water heaters
    • F24H4/04Storage heaters
    • FMECHANICAL ENGINEERING; LIGHTING; HEATING; WEAPONS; BLASTING
    • F25REFRIGERATION OR COOLING; COMBINED HEATING AND REFRIGERATION SYSTEMS; HEAT PUMP SYSTEMS; MANUFACTURE OR STORAGE OF ICE; LIQUEFACTION SOLIDIFICATION OF GASES
    • F25BREFRIGERATION MACHINES, PLANTS OR SYSTEMS; COMBINED HEATING AND REFRIGERATION SYSTEMS; HEAT PUMP SYSTEMS
    • F25B49/00Arrangement or mounting of control or safety devices
    • F25B49/02Arrangement or mounting of control or safety devices for compression type machines, plants or systems
    • FMECHANICAL ENGINEERING; LIGHTING; HEATING; WEAPONS; BLASTING
    • F24HEATING; RANGES; VENTILATING
    • F24DDOMESTIC- OR SPACE-HEATING SYSTEMS, e.g. CENTRAL HEATING SYSTEMS; DOMESTIC HOT-WATER SUPPLY SYSTEMS; ELEMENTS OR COMPONENTS THEREFOR
    • F24D17/00Domestic hot-water supply systems
    • F24D17/02Domestic hot-water supply systems using heat pumps
    • FMECHANICAL ENGINEERING; LIGHTING; HEATING; WEAPONS; BLASTING
    • F24HEATING; RANGES; VENTILATING
    • F24DDOMESTIC- OR SPACE-HEATING SYSTEMS, e.g. CENTRAL HEATING SYSTEMS; DOMESTIC HOT-WATER SUPPLY SYSTEMS; ELEMENTS OR COMPONENTS THEREFOR
    • F24D19/00Details
    • F24D19/10Arrangement or mounting of control or safety devices
    • F24D19/1006Arrangement or mounting of control or safety devices for water heating systems
    • F24D19/1051Arrangement or mounting of control or safety devices for water heating systems for domestic hot water
    • F24D19/1054Arrangement or mounting of control or safety devices for water heating systems for domestic hot water the system uses a heat pump
    • FMECHANICAL ENGINEERING; LIGHTING; HEATING; WEAPONS; BLASTING
    • F24HEATING; RANGES; VENTILATING
    • F24HFLUID HEATERS, e.g. WATER OR AIR HEATERS, HAVING HEAT-GENERATING MEANS, e.g. HEAT PUMPS, IN GENERAL
    • F24H15/00Control of fluid heaters
    • F24H15/20Control of fluid heaters characterised by control inputs
    • F24H15/212Temperature of the water
    • F24H15/223Temperature of the water in the water storage tank
    • FMECHANICAL ENGINEERING; LIGHTING; HEATING; WEAPONS; BLASTING
    • F24HEATING; RANGES; VENTILATING
    • F24HFLUID HEATERS, e.g. WATER OR AIR HEATERS, HAVING HEAT-GENERATING MEANS, e.g. HEAT PUMPS, IN GENERAL
    • F24H15/00Control of fluid heaters
    • F24H15/30Control of fluid heaters characterised by control outputs; characterised by the components to be controlled
    • F24H15/335Control of pumps, e.g. on-off control
    • F24H15/34Control of the speed of pumps
    • FMECHANICAL ENGINEERING; LIGHTING; HEATING; WEAPONS; BLASTING
    • F24HEATING; RANGES; VENTILATING
    • F24HFLUID HEATERS, e.g. WATER OR AIR HEATERS, HAVING HEAT-GENERATING MEANS, e.g. HEAT PUMPS, IN GENERAL
    • F24H15/00Control of fluid heaters
    • F24H15/30Control of fluid heaters characterised by control outputs; characterised by the components to be controlled
    • F24H15/375Control of heat pumps
    • F24H15/38Control of compressors of heat pumps
    • FMECHANICAL ENGINEERING; LIGHTING; HEATING; WEAPONS; BLASTING
    • F24HEATING; RANGES; VENTILATING
    • F24HFLUID HEATERS, e.g. WATER OR AIR HEATERS, HAVING HEAT-GENERATING MEANS, e.g. HEAT PUMPS, IN GENERAL
    • F24H15/00Control of fluid heaters
    • F24H15/30Control of fluid heaters characterised by control outputs; characterised by the components to be controlled
    • F24H15/375Control of heat pumps
    • F24H15/385Control of expansion valves of heat pumps
    • FMECHANICAL ENGINEERING; LIGHTING; HEATING; WEAPONS; BLASTING
    • F24HEATING; RANGES; VENTILATING
    • F24HFLUID HEATERS, e.g. WATER OR AIR HEATERS, HAVING HEAT-GENERATING MEANS, e.g. HEAT PUMPS, IN GENERAL
    • F24H15/00Control of fluid heaters
    • F24H15/20Control of fluid heaters characterised by control inputs
    • F24H15/227Temperature of the refrigerant in heat pump cycles
    • FMECHANICAL ENGINEERING; LIGHTING; HEATING; WEAPONS; BLASTING
    • F24HEATING; RANGES; VENTILATING
    • F24HFLUID HEATERS, e.g. WATER OR AIR HEATERS, HAVING HEAT-GENERATING MEANS, e.g. HEAT PUMPS, IN GENERAL
    • F24H15/00Control of fluid heaters
    • F24H15/40Control of fluid heaters characterised by the type of controllers
    • F24H15/414Control of fluid heaters characterised by the type of controllers using electronic processing, e.g. computer-based
    • F24H15/421Control of fluid heaters characterised by the type of controllers using electronic processing, e.g. computer-based using pre-stored data
    • F24H15/429Control of fluid heaters characterised by the type of controllers using electronic processing, e.g. computer-based using pre-stored data for selecting operation modes
    • FMECHANICAL ENGINEERING; LIGHTING; HEATING; WEAPONS; BLASTING
    • F25REFRIGERATION OR COOLING; COMBINED HEATING AND REFRIGERATION SYSTEMS; HEAT PUMP SYSTEMS; MANUFACTURE OR STORAGE OF ICE; LIQUEFACTION SOLIDIFICATION OF GASES
    • F25BREFRIGERATION MACHINES, PLANTS OR SYSTEMS; COMBINED HEATING AND REFRIGERATION SYSTEMS; HEAT PUMP SYSTEMS
    • F25B2339/00Details of evaporators; Details of condensers
    • F25B2339/04Details of condensers
    • F25B2339/047Water-cooled condensers
    • FMECHANICAL ENGINEERING; LIGHTING; HEATING; WEAPONS; BLASTING
    • F25REFRIGERATION OR COOLING; COMBINED HEATING AND REFRIGERATION SYSTEMS; HEAT PUMP SYSTEMS; MANUFACTURE OR STORAGE OF ICE; LIQUEFACTION SOLIDIFICATION OF GASES
    • F25BREFRIGERATION MACHINES, PLANTS OR SYSTEMS; COMBINED HEATING AND REFRIGERATION SYSTEMS; HEAT PUMP SYSTEMS
    • F25B2400/00General features or devices for refrigeration machines, plants or systems, combined heating and refrigeration systems or heat-pump systems, i.e. not limited to a particular subgroup of F25B
    • F25B2400/04Refrigeration circuit bypassing means
    • FMECHANICAL ENGINEERING; LIGHTING; HEATING; WEAPONS; BLASTING
    • F25REFRIGERATION OR COOLING; COMBINED HEATING AND REFRIGERATION SYSTEMS; HEAT PUMP SYSTEMS; MANUFACTURE OR STORAGE OF ICE; LIQUEFACTION SOLIDIFICATION OF GASES
    • F25BREFRIGERATION MACHINES, PLANTS OR SYSTEMS; COMBINED HEATING AND REFRIGERATION SYSTEMS; HEAT PUMP SYSTEMS
    • F25B2400/00General features or devices for refrigeration machines, plants or systems, combined heating and refrigeration systems or heat-pump systems, i.e. not limited to a particular subgroup of F25B
    • F25B2400/04Refrigeration circuit bypassing means
    • F25B2400/0401Refrigeration circuit bypassing means for the compressor
    • FMECHANICAL ENGINEERING; LIGHTING; HEATING; WEAPONS; BLASTING
    • F25REFRIGERATION OR COOLING; COMBINED HEATING AND REFRIGERATION SYSTEMS; HEAT PUMP SYSTEMS; MANUFACTURE OR STORAGE OF ICE; LIQUEFACTION SOLIDIFICATION OF GASES
    • F25BREFRIGERATION MACHINES, PLANTS OR SYSTEMS; COMBINED HEATING AND REFRIGERATION SYSTEMS; HEAT PUMP SYSTEMS
    • F25B2600/00Control issues
    • F25B2600/25Control of valves
    • F25B2600/2501Bypass valves
    • FMECHANICAL ENGINEERING; LIGHTING; HEATING; WEAPONS; BLASTING
    • F25REFRIGERATION OR COOLING; COMBINED HEATING AND REFRIGERATION SYSTEMS; HEAT PUMP SYSTEMS; MANUFACTURE OR STORAGE OF ICE; LIQUEFACTION SOLIDIFICATION OF GASES
    • F25BREFRIGERATION MACHINES, PLANTS OR SYSTEMS; COMBINED HEATING AND REFRIGERATION SYSTEMS; HEAT PUMP SYSTEMS
    • F25B2700/00Sensing or detecting of parameters; Sensors therefor
    • F25B2700/19Pressures
    • F25B2700/193Pressures of the compressor
    • F25B2700/1931Discharge pressures
    • FMECHANICAL ENGINEERING; LIGHTING; HEATING; WEAPONS; BLASTING
    • F25REFRIGERATION OR COOLING; COMBINED HEATING AND REFRIGERATION SYSTEMS; HEAT PUMP SYSTEMS; MANUFACTURE OR STORAGE OF ICE; LIQUEFACTION SOLIDIFICATION OF GASES
    • F25BREFRIGERATION MACHINES, PLANTS OR SYSTEMS; COMBINED HEATING AND REFRIGERATION SYSTEMS; HEAT PUMP SYSTEMS
    • F25B2700/00Sensing or detecting of parameters; Sensors therefor
    • F25B2700/19Pressures
    • F25B2700/193Pressures of the compressor
    • F25B2700/1933Suction pressures
    • FMECHANICAL ENGINEERING; LIGHTING; HEATING; WEAPONS; BLASTING
    • F25REFRIGERATION OR COOLING; COMBINED HEATING AND REFRIGERATION SYSTEMS; HEAT PUMP SYSTEMS; MANUFACTURE OR STORAGE OF ICE; LIQUEFACTION SOLIDIFICATION OF GASES
    • F25BREFRIGERATION MACHINES, PLANTS OR SYSTEMS; COMBINED HEATING AND REFRIGERATION SYSTEMS; HEAT PUMP SYSTEMS
    • F25B2700/00Sensing or detecting of parameters; Sensors therefor
    • F25B2700/21Temperatures
    • F25B2700/2115Temperatures of a compressor or the drive means therefor
    • F25B2700/21151Temperatures of a compressor or the drive means therefor at the suction side of the compressor
    • FMECHANICAL ENGINEERING; LIGHTING; HEATING; WEAPONS; BLASTING
    • F25REFRIGERATION OR COOLING; COMBINED HEATING AND REFRIGERATION SYSTEMS; HEAT PUMP SYSTEMS; MANUFACTURE OR STORAGE OF ICE; LIQUEFACTION SOLIDIFICATION OF GASES
    • F25BREFRIGERATION MACHINES, PLANTS OR SYSTEMS; COMBINED HEATING AND REFRIGERATION SYSTEMS; HEAT PUMP SYSTEMS
    • F25B2700/00Sensing or detecting of parameters; Sensors therefor
    • F25B2700/21Temperatures
    • F25B2700/2115Temperatures of a compressor or the drive means therefor
    • F25B2700/21152Temperatures of a compressor or the drive means therefor at the discharge side of the compressor
    • YGENERAL TAGGING OF NEW TECHNOLOGICAL DEVELOPMENTS; GENERAL TAGGING OF CROSS-SECTIONAL TECHNOLOGIES SPANNING OVER SEVERAL SECTIONS OF THE IPC; TECHNICAL SUBJECTS COVERED BY FORMER USPC CROSS-REFERENCE ART COLLECTIONS [XRACs] AND DIGESTS
    • Y02TECHNOLOGIES OR APPLICATIONS FOR MITIGATION OR ADAPTATION AGAINST CLIMATE CHANGE
    • Y02BCLIMATE CHANGE MITIGATION TECHNOLOGIES RELATED TO BUILDINGS, e.g. HOUSING, HOUSE APPLIANCES OR RELATED END-USER APPLICATIONS
    • Y02B30/00Energy efficient heating, ventilation or air conditioning [HVAC]
    • Y02B30/12Hot water central heating systems using heat pumps

Definitions

  • Patent Document 1 a heat pump water heater that utilizes heat absorbed from outside air by a heat pump that uses a refrigeration cycle to heat water in a hot water storage tank.
  • the user of the heat pump water heater operates the heat pump water heater at night when electricity is cheap, heats the entire amount of water in the hot water tank, and stores the hot water in the hot water tank. It provides hot water for daily use.
  • the heat pump water heater operates at night by lowering the frequency of the compressor, thereby enabling highly efficient operation to boil all the water in the hot water storage tank over time.
  • the heat pump water heater when the heat pump water heater heats the water in the hot water storage tank, it drives the compressor and blower provided in the refrigerant circuit through which the refrigerant that exchanges heat with the water flows.
  • noise generated by rotation of an air blower arranged adjacent to an air heat exchanger is one of the main total sound sources generated from the heat pump device.
  • the heat pump water heater may operate at night for the reasons described above, and it is desired to reduce the noise generated by the operation at night.
  • the heat pump water heater of the present disclosure has a refrigerant circuit in which refrigerant circulates in refrigerant pipes, a water circuit in which water circulates in water pipes, and a control device that controls devices provided in the refrigerant circuit and water circuit.
  • the refrigerant circuit has a main circuit and a bypass circuit.
  • the main circuit is formed in an annular shape, and includes a compressor that compresses and discharges the sucked refrigerant, a refrigerant that flows through the refrigerant circuit, and a water circuit.
  • a water heat exchanger that exchanges heat with water flowing through the air, a first decompression device that decompresses the refrigerant, a heat exchange unit that exchanges heat between the air and the refrigerant, and heat exchange with the refrigerant an air heat exchanger with a blower for sending air to the heat exchange section, and a bypass circuit between the refrigerant piping between the compressor and the water heat exchanger and between the air heat exchanger and the compressor.
  • the water circuit has a second pressure reducing device that adjusts the flow rate of the refrigerant flowing through the bypass circuit, and the water circuit is a hot water storage tank that stores water supplied from the outside and heated water.
  • a water pump that supplies water flowing out of the hot water storage tank to the water heat exchanger and supplies water flowing out of the water heat exchanger to the hot water storage tank;
  • the water pump In the case of the nighttime hot water supply mode, in which water is heated by heat exchange between water and refrigerant in the water heat exchanger and hot water is stored in the hot water storage tank, the water pump is operated at a preset minimum frequency, and the compressor is operated in advance. It operates at the set lowest frequency and stops the blower.
  • the control device of the heat pump water heater operates the water pump at the preset minimum frequency, operates the compressor at the preset minimum frequency, and In the air heat exchanger, the blower that promotes heat exchange between the air and the refrigerant is stopped and not rotated. In the nighttime hot water supply mode, the heat pump water heater has the blower stopped by the control device, so that noise generated by the operation of the heat pump water heater at night can be reduced.
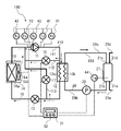
  • FIG. 1 is a schematic diagram showing an example of a configuration of a heat pump water heater according to Embodiment 1;
  • FIG. 2 is a block diagram showing an example of a configuration of a control device in FIG. 1;
  • FIG. 4 shows a flow chart of the heat pump water heater according to Embodiment 1 up to the start of the nighttime hot water supply mode. 4 shows a control flowchart of the heat pump water heater according to Embodiment 1 in the nighttime hot water supply mode.
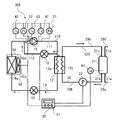
  • FIG. 4 is a schematic diagram showing an example of the configuration of a heat pump water heater according to Embodiment 2;
  • FIG. 11 shows a control flowchart of a nighttime hot water supply mode of the heat pump water heater according to Embodiment 2.
  • FIG. 1 is a schematic diagram showing an example of a configuration of a heat pump water heater according to Embodiment 1
  • FIG. 2 is a block diagram showing an example of a configuration of a control device in FIG. 1
  • FIG. 4 shows a flow
  • FIG. 1 is a schematic diagram showing an example of the configuration of heat pump water heater 100 according to Embodiment 1.
  • Heat pump water heater 100 is a water heater using a heat pump.
  • heat pump water heater 100 has refrigerant circuit 110 in which devices are connected by refrigerant pipes 10 and water circuit 120 in which devices are connected by water pipes 20 .
  • Heat pump water heater 100 heats water by heat exchange between refrigerant flowing through refrigerant circuit 110 and water flowing through water circuit 120, and stores the heated water in hot water storage tank 21 provided in water circuit 120. .
  • the refrigerant circuit 110 has a compressor 11 , a water heat exchanger 12 , a first pressure reducing device 13 , an air heat exchanger 14 and a second pressure reducing device 16 .
  • Compressor 11 , water heat exchanger 12 , first pressure reducing device 13 , air heat exchanger 14 and second pressure reducing device 16 are connected by refrigerant pipe 10 .
  • Refrigerant flows inside the refrigerant pipe 10, and the refrigerant circuit 110 is a closed circuit and forms a channel through which the refrigerant flows.
  • the refrigerant flows to circulate within the refrigerant circuit 110 .
  • the refrigerant circuit 110 may also be called a heat pump circuit or a heat source machine.
  • Refrigerant circuit 110 which is a heat source, heats water flowing through water circuit 120 .
  • the refrigerant circuit 110 has a main circuit 111 and a first bypass circuit 112 .
  • the main circuit 111 has a compressor 11 , a water heat exchanger 12 , a first pressure reducing device 13 and an air heat exchanger 14 .
  • the main circuit 111 is formed in an annular shape. In the main circuit 111 , the compressor 11 , the water heat exchanger 12 , the first decompression device 13 and the air heat exchanger 14 are sequentially connected via refrigerant pipes 10 .
  • the first bypass circuit 112 forms a flow path connecting the refrigerant pipe 10 between the compressor 11 and the water heat exchanger 12 and the refrigerant pipe 10 between the air heat exchanger 14 and the compressor 11. . That is, the first bypass circuit 112 allows part of the refrigerant discharged from the discharge port of the compressor 11 to flow through the compressor 11 without passing through the water heat exchanger 12, the first pressure reducing device 13 and the air heat exchanger 14. Form a channel leading to the suction port.
  • the first bypass circuit 112 has a second pressure reducing device 16 .
  • the heat pump water heater 100 includes the first bypass circuit 112, so that the high-temperature and high-pressure gas refrigerant discharged from the compressor 11 is bypassed to the piping on the refrigerant suction side of the compressor 11 via the first bypass circuit 112. can be made Therefore, the heat pump water heater 100 mixes the high-temperature and high-pressure gas refrigerant with the refrigerant sucked into the compressor 11 , thereby suppressing the return of the liquid refrigerant from the compressor 11 .
  • the compressor 11 sucks in a low-temperature, low-pressure refrigerant, compresses the sucked-in refrigerant, and discharges a high-temperature, high-pressure refrigerant.
  • the compressor 11 is composed of, for example, a compressor provided with an inverter whose capacity, which is the output amount per unit time, is controlled by changing the operating frequency. Therefore, the capacity of the compressor 11 can be controlled, and when the amount of heating by the refrigerant circuit 110 is to be increased, the capacity is increased for operation. That is, the compressor 11 is operated so as to increase the refrigerant circulation amount.
  • the operating frequency of the compressor 11 is controlled by a control device 30, which will be described later.
  • the water heat exchanger 12 causes heat exchange between the refrigerant flowing through the refrigerant circuit 110 and the water flowing through the water circuit 120, and heats the water with the heat of the refrigerant.
  • the water heat exchanger 12 has a first flow path 12a forming part of the refrigerant circuit 110 through which the refrigerant flows, and a second flow path 12b forming part of the water circuit 120 through which water flows. there is That is, the water heat exchanger 12 causes heat exchange between the refrigerant flowing through the first flow path 12a and the water flowing through the second flow path 12b, and heats the water with the heat of the refrigerant.
  • the first flow path 12a and the second flow path 12b may be composed of heat transfer tubes, for example.
  • the first flow path 12a is the refrigerant side heat transfer tube
  • the second flow path 12b is the water supply side heat transfer tube.
  • the water heat exchanger 12 for example, when the first flow path 12a and the second flow path 12b are respectively configured by heat transfer tubes like a plate heat exchanger, the refrigerant side heat transfer tube and the water supply side heat transfer tube are used. Refrigerant and water perform heat exchange through it.
  • the water heat exchanger 12 functions as a condenser that radiates the heat of the refrigerant to water to condense the refrigerant.
  • the second decompression device 16 decompresses the refrigerant. Also, the second pressure reducing device 16 adjusts the flow rate of the refrigerant flowing through the first bypass circuit 112 .
  • the second decompression device 16 is composed of, for example, a valve whose degree of opening can be controlled, such as an electronic expansion valve. The degree of opening of the valve of the second pressure reducing device 16 is controlled by the control device 30 .
  • an inlet 21c is provided at the top of the hot water storage tank 21.
  • a hot water supply pipe 20c is connected to the inlet 21c.
  • the hot water supply pipe 20 c constitutes a part of the water pipe 20 described above, and communicates the outlet of the second flow path 12 b provided in the water heat exchanger 12 with the hot water storage tank 21 .
  • the hot water storage tank 21 is supplied with the heated water heated by the water heat exchanger 12 through the inflow port 21c, and stores the supplied heated water.
  • a hot water supply port 21d is provided at the top of the hot water storage tank 21.
  • An external hot water supply pipe 20d is connected to the hot water supply port 21d, and the external hot water supply pipe 20d allows communication between the hot water storage tank 21 and the hot water supply location.
  • the heated water stored in the upper part of the hot water storage tank 21 is discharged to the outside from the hot water supply port 21d, and is used as hot water for a shower, for example.
  • the water pump 22 is provided on the water supply pipe 20b.
  • the water pump 22 is provided in the water circuit 120 between the outflow port 21 b of the hot water storage tank 21 and the inlet of the second flow path 12 b provided in the water heat exchanger 12 . Operation of the water pump 22 is controlled by the controller 30 .
  • Heat pump water heater 100 has various measuring devices.
  • Heat pump water heater 100 includes discharge temperature sensor 41 in refrigerant circuit 110 .
  • a discharge temperature sensor 41 detects the pipe temperature of the refrigerant pipe 10 connected to the discharge port of the compressor 11 .
  • the pipe temperature of the refrigerant pipe 10 detected by the discharge temperature sensor 41 is defined as the discharge pipe temperature.
  • the discharge pipe temperature is the pipe temperature on the discharge refrigerant side of the compressor 11 , and is the pipe temperature near the discharge port of the compressor 11 .
  • the discharge temperature sensor 41 detects the discharge pipe temperature and supplies it to the control device 30, which will be described later.
  • the heat pump water heater 100 has a compressor temperature sensor 43 in the compressor 11 .
  • Compressor temperature sensor 43 detects the temperature of the lower portion of the shell container forming the outer shell of compressor 11 .
  • a compressor temperature sensor 43 detects the temperature of the lower portion of the shell container of the compressor 11 and supplies it to the controller 30 .
  • the heat pump water heater 100 includes a high pressure sensor 51 in the refrigerant circuit 110 .
  • a high pressure sensor 51 detects the pressure of the refrigerant discharged from the compressor 11 .
  • the high-pressure sensor 51 detects the pressure of the refrigerant, for example, by measuring the pipe pressure of the refrigerant pipe 10 connected to the discharge port of the compressor 11 .
  • the high-pressure sensor 51 detects the pressure of the refrigerant discharged from the compressor 11 , which is the pressure on the high-pressure side, and supplies the detected pressure to the control device 30 .
  • the heat pump water heater 100 has a water temperature sensor 44 in the water circuit 120 .
  • a water temperature sensor 44 detects the temperature of water stored in the hot water storage tank 21 .
  • the water temperature sensor 44 detects the temperature of water stored in the hot water storage tank 21 and supplies it to the control device 30, which will be described later.
  • Heat pump water heater 100 also includes control device 30 .
  • the control device 30 controls devices provided in the refrigerant circuit 110 and the water circuit 120 .
  • Control device 30 controls the overall operation of heat pump water heater 100 in order to store hot water in hot water storage tank 21 based on various information received from each unit of heat pump water heater 100 .
  • the control device 30 controls the operating frequency of the compressor 11, the operating frequency of the blower 15, the operating frequency of the water pump 22, and the opening of the first pressure reducing device 13 based on information from various sensors provided in the heat pump water heater 100. degree, the degree of opening of the second decompression device 16, and the like.
  • FIG. 2 is a block diagram showing an example of the configuration of the control device 30 of FIG.
  • the control device 30 has an operating state determination section 32 and a superheat degree calculation section 33 .
  • the control device 30 also has an input unit 31 , a storage unit 34 , a clock unit 35 , and an operating state determination unit 36 .
  • the control device 30 also has a compressor control section 37 , a fan control section 38 , a decompression device control section 39 , and a pump control section 40 .
  • Driving information regarding the heat pump water heater 100 is input to the operating state determination unit 32 .
  • the driving information includes, for example, the frequency for driving the compressor 11, the frequency for driving the motor 15a of the blower 15, the opening degree of the first pressure reducing device 13 and the opening degree of the second pressure reducing device 16, the water pump 22 and a frequency for driving the motor (not shown).
  • the operating state determination unit 32 receives the drive state of each device as drive information from each device.
  • the driving state determination unit 32 supplies the driving information of each device such as the compressor 11 to the driving state determination unit 36 based on the input driving information. Note that the driving state determination unit 32 is not necessarily required.
  • the drive information of each device currently set in the operating state determination unit 36 may be used as the drive information.
  • the pressure of the refrigerant discharged from the compressor 11 detected by the high-pressure sensor 51 is input to the degree-of-superheat calculator 33 .
  • the degree-of-superheat calculator 33 calculates the saturated gas temperature of the refrigerant from the pressure of the refrigerant detected by the high pressure sensor 51 .
  • the saturated gas temperature of the refrigerant is calculated from the pressure of the refrigerant detected by the high-pressure sensor 51 by using a conversion table of the saturated gas temperature of the refrigerant corresponding to the pressure of the various refrigerants input to the control device 30. be.
  • a conversion table for the saturated gas temperature of the refrigerant is stored in advance in the storage unit 34, for example.
  • the pressure of the refrigerant sucked into the compressor 11 detected by the low-pressure sensor 52 is input to the degree-of-superheat calculation unit 33 .
  • the degree-of-superheat calculator 33 calculates the saturated gas temperature of the refrigerant from the pressure of the refrigerant detected by the low-pressure sensor 52 .
  • the saturated gas temperature of the refrigerant is calculated from the pressure of the refrigerant detected by the low-pressure sensor 52 using a conversion table of the saturated gas temperature of the refrigerant corresponding to the pressure of the various refrigerants input to the control device 30. be.
  • the suction pipe temperature detected by the suction temperature sensor 42 is input to the degree-of-superheat calculator 33 .
  • the degree-of-superheat calculator 33 calculates the degree of superheat of the refrigerant in the suction pipe from the difference between the temperature in the suction pipe of the compressor 11 and the saturated gas temperature of the refrigerant calculated from the pressure detected by the low-pressure sensor 52 .
  • the degree-of-superheat calculation unit 33 supplies the calculated degree of superheat of the refrigerant in the suction pipe to the operating state determination unit 36 .
  • the degree of refrigerant superheat in the suction pipe is defined as the degree of suction superheat.
  • the temperature of the lower portion of the shell container of the compressor 11 detected by the compressor temperature sensor 43 is input to the degree-of-superheat calculator 33 .
  • the degree-of-superheat calculation unit 33 calculates the degree of superheat of the refrigerant in the compressor 11 from the difference between the lower temperature of the shell container of the compressor 11 and the saturated gas temperature of the refrigerant calculated from the pressure detected by the low pressure sensor 52 .
  • the degree-of-superheat calculation unit 33 supplies the calculated degree of superheat of refrigerant in the compressor 11 to the operating state determination unit 36 .
  • the degree of superheat of the refrigerant in the compressor 11 is defined as the degree of superheat below the compressor shell.
  • the opening degrees of the first decompression device 13 and the second decompression device 16 in the normal hot water supply mode and the nighttime hot water supply mode are stored in advance in the storage unit 34 .
  • the storage unit 34 stores in advance the frequency of the compressor 11, the rotation speed of the motor 15a of the blower 15, the rotation speed of the water pump 22, and the like in the normal hot water supply mode and the nighttime hot water supply mode.
  • Various setting information input to the input unit 31 may be stored in the storage unit 34 .
  • the pressure reducing device control unit 39 performs control for increasing the opening degree of the second pressure reducing device 16 based on the determination result of the operating state determining unit 36.
  • a signal is output to the second pressure reducing device 16 .
  • the degree of opening of the second decompression device 16 is preset and stored in the storage unit 34 .
  • Refrigerant and water flow First, the flow of refrigerant and water in the normal hot water supply mode will be described.
  • Refrigerant flowing through the refrigerant circuit 110 is compressed by the compressor 11 and discharged.
  • Refrigerant discharged from the compressor 11 flows into the first flow path 12 a of the water heat exchanger 12 .
  • the refrigerant flowing into the first flow path 12a of the water heat exchanger 12 heats the water by condensing while exchanging heat with the water flowing through the second flow path 12b of the water circuit 120, and the water heat exchanger heats the water. outflow from 12.
  • the refrigerant that has flowed out of the water heat exchanger 12 is decompressed and expanded by the first pressure reducing device 13 and flows out of the first pressure reducing device 13 .
  • the refrigerant that has flowed out of the first pressure reducing device 13 flows into the air heat exchanger 14 .
  • the refrigerant that has flowed into the air heat exchanger 14 exchanges heat with the outdoor air, absorbs heat, evaporates, and flows out of the air heat exchanger 14 .
  • the refrigerant that has flowed out of the air heat exchanger 14 is sucked into the compressor 11 . Thereafter, the refrigerant repeats the circulation described above.
  • the heated water that has flowed out of the water heat exchanger 12 flows into the hot water tank 21 through an inlet 21 c provided at the top of the hot water tank 21 and is stored in the hot water tank 21 . Thereafter, the unheated water in the hot water storage tank 21 repeats the circulation described above.
  • step S2 When the operating state determining unit 36 determines in step S2 that the temperature of the water detected by the water temperature sensor 44 is equal to or lower than the target water temperature (if YES in step S2), it sets the start time of the nighttime hot water supply mode. It is determined whether or not it has passed (step S3). That is, the operating state determination unit 36 compares the current time input from the clock unit 35 with the start time of the nighttime hot water supply mode input using the input unit 31 in step S1 (step S3). Then, the operating state determination unit 36 determines whether or not the current time has passed the start time of the nighttime hot water supply mode.
  • step S3 When the operating state determining unit 36 determines in step S3 that the start time of the nighttime hot water supply mode has not elapsed (NO in step S3), the user turns on the nighttime hot water supply mode switch. (step S4).
  • step S4 When the operating state determining unit 36 determines in step S4 that the nighttime hot water supply mode switch has not been turned on by the user (NO in step S4), the process returns to step S2. Then, the operating state determining unit 36 again compares the water temperature detected by the water temperature sensor 44 with the target water temperature (step S2).
  • step S5 When the operating state determining unit 36 determines in step S3 that the start time of the nighttime hot water supply mode has passed (if YES in step S3), it starts the nighttime hot water supply mode (step S5). Further, when the operation state determining unit 36 determines in step S4 that the nighttime hot water supply mode switch is turned on by the user (if YES in step S4), the nighttime hot water supply mode is started ( step S5).
  • step S5 when the nighttime hot water supply mode starts (step S5), the operating state determination unit 36 causes the pump control unit 40 to instruct the pump control unit 40 to send orders.
  • step S5 the pump control unit 40 outputs a control signal to the water pump 22 so that the operating frequency of the water pump 22 becomes the preset minimum frequency (step S6).
  • step S6 when the operating frequency of the water pump 22 is set to the lowest frequency (step S6), the operating state determining unit 36 changes the operating frequency information about the compressor 11 pre-stored in the storage unit 34 to Based on this, a command is sent to the compressor control unit 37 .
  • step S6 the compressor control unit 37 sends a control signal to the compressor 11 so that the operating frequency of the compressor 11 becomes the preset lowest frequency. is output (step S7).
  • step S6 when the operating frequency of the water pump 22 is set to the lowest frequency (step S6), the operating state determination unit 36 sends a command to the fan control unit 38.
  • step S6 the fan controller 38 keeps the blower 15 stopped (step S7).
  • the operating state determining unit 36 determines the opening degree of the first pressure reducing device 13, which is stored in the storage unit 34 in advance. A command is sent to the device control unit 39 . Further, when the operating frequency of the water pump 22 is set to the lowest frequency (step S6), the operating state determination unit 36 determines the pressure reduction based on the opening information regarding the second pressure reducing device 16 stored in advance in the storage unit 34. A command is sent to the device control unit 39 .
  • the decompression device control unit 39 controls the opening degrees of the first decompression device 13 and the second decompression device 16 to the preset opening degrees. , a control signal is output to the first decompression device 13 and the second decompression device 16 (step S7).
  • the preset opening degree of the first decompression device 13 is a predetermined opening degree that can ensure the degree of suction superheat.
  • step S7 when the compressor 11 is operated at the preset minimum frequency, the blower 15 is kept stopped, and the first decompression device 13 and the second decompression device 16 are set to the preset opening degrees, the control device 30 proceeds to step S8 after the preset time has elapsed.
  • the preset time is stored in the storage section 34 .
  • the operating state determination unit 36 determines whether or not the control interval has elapsed (step S8).
  • the control interval is an interval for controlling the operation of the first pressure reducing device 13 and the second pressure reducing device 16 .
  • the control interval is the time for determining the timing of determining whether or not to operate the first decompression device 13 and the second decompression device 16 .
  • the control device 30 performs control to proceed to step S9 for each preset period.
  • the control interval is stored in the storage unit 34 in advance. As an example, the control interval is set from 10 seconds to 60 seconds.
  • step S8 the reason why the operating state determination unit 36 determines whether or not the control interval has passed is that the amount of control overshoots (overshoots) or This is to prevent the occurrence of instability (hunting). If the conditions of steps S9, S12, and S13, which will be described later, are not satisfied (if the judgment is NO) and the decompression device is always in operation, the conditions of steps S9 to S13 are satisfied (judgment is YES). The decompression device works. In this case, overshoot or hunting may occur during control of the decompression device. In step S8, the operating state determining unit 36 determines whether or not the control interval has elapsed, thereby preventing overshoot and hunting during control of the pressure reducing device.
  • the superheat degree calculation unit 33 of the control device 30 supplies the calculated discharge superheat degree to the operating state determination unit 36 .
  • the operating state determination unit 36 compares the current discharge superheat degree calculated by the superheat degree calculation unit 33 with the first threshold stored in advance in the storage unit 34 (step S9). Then, the operating state determination unit 36 determines whether or not the degree of discharge superheat is equal to or greater than the first threshold.
  • the operating state determining unit 36 controls the pressure reducing device based on the information on the opening degree of the second pressure reducing device 16 stored in advance in the storage unit 34.
  • the decompression device control unit 39 outputs a control signal to the second decompression device 16 so that the degree of opening of the second decompression device 16 becomes the preset degree of opening (step S11).
  • the preset opening degree of the second decompression device 16 is set to be larger than the current opening degree.
  • the operating state determining unit 36 determines the second 1 Sends a command to the decompression device control unit 39 based on information on the degree of opening of the decompression device 13 .
  • the decompression device control unit 39 outputs a control signal to the first decompression device 13 so that the degree of opening of the first decompression device 13 becomes the preset degree of opening (step S10).
  • the preset opening degree of the first decompression device 13 is set to be smaller than the current opening degree.
  • the refrigerant circuit 110 secures the degree of superheat by reducing the degree of opening of the first decompression device 13 .
  • the operating state determination unit 36 determines that the degree of superheat of the compressor lower shell is less than the third threshold value, it determines that the liquid refrigerant is returning to the compressor 11 . Therefore, the operating state determining unit 36 increases the flow rate of the refrigerant flowing through the first bypass circuit 112 by increasing the opening degree of the second pressure reducing device 16, thereby bypassing the refrigerant from the discharge pipe of the compressor 11 to the suction pipe. increase the amount of
  • step S2 When the operating state determination unit 36 determines in step S2 that the temperature of the water detected by the water temperature sensor 44 is lower than the target water temperature (NO in step S14), the end time of the nighttime hot water supply mode is set. It is determined whether or not it has passed (step S15). The operating state determination unit 36 compares the current time input from the clock unit 35 with the end time of the nighttime hot water supply mode input using the input unit 31 in step S1 (step S15).
  • step S16 When the operating state determination unit 36 determines that the nighttime hot water supply mode switch has not been turned off by the user (NO in step S16), the operation returns to step S9.
  • the operating state determination unit 36 again compares the current discharge superheat degree with the preset first threshold value (step S9).
  • step S15 determines in step S15 that the end time of the nighttime hot water supply mode has passed (when step S15 is YES), it stops the compressor 11 (step S17), The nighttime hot water supply mode is terminated (step S18).
  • step S16 when the operation state determination unit 36 determines that the nighttime hot water supply mode switch is turned off by the user (YES in step S16), the operation state determination unit 36 stops the compressor 11 (step S17), The nighttime hot water supply mode is terminated (step S18).
  • the control device 30 In the nighttime hot water supply mode, the control device 30 operates the water pump 22 at a preset lowest frequency, operates the compressor 11 at a preset lowest frequency, and heats the air and the refrigerant in the air heat exchanger 14. The blower 15 that promotes replacement is stopped and not rotated. Generally, the noise generated by the rotation of the blower arranged adjacent to the air heat exchanger accounts for most of the noise generated from the refrigerant circuit 110 . In heat pump water heater 100, control device 30 stops blower 15 in the nighttime water heater mode, so that noise generated by operation of heat pump water heater 100 at night can be reduced.
  • heat pump water heaters generally operate fans even during nighttime operation.
  • the control device 30 stops the blower 15, and the heat pump water heater 100 can reduce the power consumption due to the operation of the blower 15 at night. energy saving.
  • the control device 30 of the heat pump water heater 100 controls the degree of opening of the second pressure reducing device 16 to increase from the current degree of opening when the degree of discharge superheat is less than a preset first threshold value. First, the opening degree of the second decompression device 16 is controlled to a preset opening degree.
  • FIG. 5 is a schematic diagram showing an example of the configuration of heat pump water heater 100 according to Embodiment 2. As shown in FIG. Components having the same functions and actions as those of heat pump hot water supply apparatus 100 according to Embodiment 1 are assigned the same reference numerals, and descriptions thereof are omitted.
  • the second embodiment will be described with a focus on the differences from the first embodiment, and the configurations not described in the second embodiment are the same as those of the first embodiment.

Landscapes

  • Engineering & Computer Science (AREA)
  • Physics & Mathematics (AREA)
  • Thermal Sciences (AREA)
  • Mechanical Engineering (AREA)
  • General Engineering & Computer Science (AREA)
  • Chemical & Material Sciences (AREA)
  • Combustion & Propulsion (AREA)
  • Heat-Pump Type And Storage Water Heaters (AREA)

Abstract

ヒートポンプ給湯装置は、冷媒配管を冷媒が循環する冷媒回路と、水配管内を水が循環する水回路と、冷媒回路及び水回路に設けられた機器を制御する制御装置と、を有し、冷媒回路は、主回路と、バイパス回路とを有し、主回路は、圧縮機と、冷媒と水との間で熱交換を行わせる水熱交換器と、第1減圧装置と、空気熱交換器と、送風機と、を有し、バイパス回路は、圧縮機と水熱交換器との間の冷媒配管と、空気熱交換器と圧縮機との間の冷媒配管とを接続する流路を形成しており、冷媒の流量を調整する第2減圧装置を有し、水回路は、貯湯タンクと、貯湯タンクから流出した水を水熱交換器に供給し、水熱交換器から流出した水を貯湯タンクに供給する送水ポンプと、水熱交換器と、を有し、制御装置は、夜間給湯モードの場合に、送水ポンプを予め設定された最低周波数で稼働させ、圧縮機を予め設定された最低周波数で稼働させ、送風機を停止するものである。

Description

ヒートポンプ給湯装置
 本開示は、ヒートポンプを給湯装置に用いたヒートポンプ給湯装置に関するものである。
 従来、冷凍サイクルを利用したヒートポンプにより外気から吸収した熱を貯湯タンク内の水の加熱に利用するヒートポンプ給湯装置が知られている(例えば、特許文献1)。一般的に、このヒートポンプ給湯装置の使用者は、電力が安価な夜間にこのヒートポンプ給湯装置を稼働させ、貯湯タンク内の全ての量の水を加熱して貯湯タンクに湯を貯えることによって、一日使用する湯を賄っている。ヒートポンプ給湯装置は、夜間では圧縮機の周波数を下げることで高効率の運転を行い、時間をかけて貯湯タンク内の全ての量の水を湯に沸き上げる高効率な運転が可能となる。
特開2006-308261号公報
 しかしながら、ヒートポンプ給湯装置は、貯湯タンク内の水を加熱する際に、この水と熱交換する冷媒が流れる冷媒回路に設けられた圧縮機及び送風機を駆動させる。一般的に、ヒートポンプ給湯装置は、空気熱交換器に隣接して配置された送風機の回転により生じる騒音が、ヒートポンプ装置から生じる主要な総音源の1つとなっている。ヒートポンプ給湯装置は、上述した理由により夜間に運転を行う場合があり、夜間において運転により発生する騒音の低減が望まれている。
 本開示は、上記のような課題を解決するものであり、夜間においてヒートポンプ給湯装置の運転により発生する騒音を低減させたヒートポンプ給湯装置を提供することを目的とする。
 本開示のヒートポンプ給湯装置は、冷媒配管を冷媒が循環する冷媒回路と、水配管内を水が循環する水回路と、冷媒回路及び水回路に設けられた機器を制御する制御装置と、を有し、冷媒回路は、主回路と、バイパス回路とを有し、主回路は、環状に形成されており、吸入した冷媒を圧縮して吐出する圧縮機と、冷媒回路を流れる冷媒と、水回路を流れる水との間で熱交換を行わせる水熱交換器と、冷媒を減圧させる第1減圧装置と、空気と冷媒との間で熱交換を行わせる熱交換部及び冷媒と熱交換を行う空気を熱交換部に送る送風機を備えた空気熱交換器と、を有し、バイパス回路は、圧縮機と水熱交換器との間の冷媒配管と、空気熱交換器と圧縮機との間の冷媒配管とを接続する流路を形成しており、バイパス回路を流れる冷媒の流量を調整する第2減圧装置を有し、水回路は、外部から供給された水及び加熱水を貯める貯湯タンクと、貯湯タンクから流出した水を水熱交換器に供給し、水熱交換器から流出した水を貯湯タンクに供給する送水ポンプと、水熱交換器と、を有し、制御装置は、夜間に、水熱交換器における水と冷媒との熱交換によって水を加熱し、貯湯タンクに湯を貯める夜間給湯モードの場合に、送水ポンプを予め設定された最低周波数で稼働させ、圧縮機を予め設定された最低周波数で稼働させ、送風機を停止するものである。
 以上のように、本開示によれば、ヒートポンプ給湯装置の制御装置は、夜間給湯モードにおいて、送水ポンプを予め設定された最低周波数で稼働させ、圧縮機を予め設定された最低周波数で稼働させ、空気熱交換器において空気と冷媒との熱交換を促進する送風機を停止し回転させない。ヒートポンプ給湯装置は、夜間給湯モードにおいて、制御装置が送風機を停止しており、夜間においてヒートポンプ給湯装置の運転により発生する騒音を低減することができる。
実施の形態1に係るヒートポンプ給湯装置の構成の一例を示す概略図である。 図1の制御装置の構成の一例を示すブロック図である。 実施の形態1に係るヒートポンプ給湯装置の、夜間給湯モードの開始に至るまでのフローチャートを示している。 実施の形態1に係るヒートポンプ給湯装置の、夜間給湯モードの制御フローチャートを示している。 実施の形態2に係るヒートポンプ給湯装置の構成の一例を示す概略図である。 実施の形態2に係るヒートポンプ給湯装置の、夜間給湯モードの制御フローチャートを示している。
 以下、本開示の実施の形態を図面に基づいて説明する。なお、以下に説明する実施の形態によって本開示が限定されるものではない。また、以下の図面では各構成部材の大きさの関係が実際のものとは異なる場合がある。
実施の形態1.
[ヒートポンプ給湯装置100の構成]
 図1は、実施の形態1に係るヒートポンプ給湯装置100の構成の一例を示す概略図である。ヒートポンプ給湯装置100は、ヒートポンプを用いた給湯装置である。図1に示すように、ヒートポンプ給湯装置100は、各機器が冷媒配管10で接続された冷媒回路110と、各機器が水配管20で接続された水回路120とを有する。ヒートポンプ給湯装置100は、冷媒回路110を流れる冷媒と、水回路120を流れる水との間で熱交換を行うことによって水を加熱し、加熱水を水回路120に設けられた貯湯タンク21に貯める。
(冷媒回路110)
 冷媒回路110は、圧縮機11、水熱交換器12、第1減圧装置13、空気熱交換器14、第2減圧装置16を有する。圧縮機11、水熱交換器12、第1減圧装置13、空気熱交換器14及び第2減圧装置16は、冷媒配管10によって接続されている。冷媒配管10の内部を冷媒が流れており、冷媒回路110は、閉回路であり、冷媒が流れる流路を形成する。冷媒は、冷媒回路110内で循環するように流れている。冷媒回路110は、ヒートポンプ回路、あるいは、熱源機と称してもよい。熱源機である冷媒回路110は、水回路120を流れる水を加熱する。
 冷媒回路110は、主回路111と、第1バイパス回路112とを有する。主回路111は、圧縮機11、水熱交換器12、第1減圧装置13及び空気熱交換器14を有する。主回路111は、環状に形成されている。主回路111において、圧縮機11、水熱交換器12、第1減圧装置13及び空気熱交換器14は、冷媒配管10を介して順次接続されている。
 第1バイパス回路112は、圧縮機11と水熱交換器12との間の冷媒配管10と、空気熱交換器14と圧縮機11との間の冷媒配管10とを接続する流路を形成する。すなわち、第1バイパス回路112は、圧縮機11の吐出口から吐出された冷媒の一部を、水熱交換器12、第1減圧装置13及び空気熱交換器14を通過させず圧縮機11の吸入口に導く流路を形成する。第1バイパス回路112は、第2減圧装置16を有する。
 ヒートポンプ給湯装置100は、第1バイパス回路112を有することによって、圧縮機11から吐出された高温高圧のガス冷媒を、第1バイパス回路112を経由させて圧縮機11の吸入冷媒側の配管にバイパスさせることができる。そのため、ヒートポンプ給湯装置100は、圧縮機11に吸入される冷媒に高温高圧のガス冷媒を混合させることにより圧縮機11の液冷媒戻りを抑制できる。
 圧縮機11は、低温低圧の冷媒を吸入し、吸入した冷媒を圧縮し、高温高圧の冷媒を吐出する。圧縮機11は、例えば、運転周波数を変化させることにより、単位時間あたりの送出量である容量が制御されるインバータを備えた圧縮機からなる。そのため、圧縮機11は、容量の制御が可能であり、冷媒回路110による加熱量を増加させるときは、この容量を増加して運転させる。すなわち、圧縮機11は、冷媒循環量を増すように運転させる。圧縮機11の運転周波数は、後述する制御装置30によって制御される。
 水熱交換器12は、冷媒回路110を流れる冷媒と、水回路120を流れる水との間で熱交換を行わせ、冷媒の熱によって水を加熱する。水熱交換器12は、冷媒回路110の一部を構成して冷媒が流れる第1流路12aと、水回路120の一部を構成して水が流れる第2流路12bとを有している。すなわち、水熱交換器12は、第1流路12aを流れる冷媒と、第2流路12bを流れる水との間で熱交換を行わせ、冷媒の熱によって水を加熱する。
 第1流路12a及び第2流路12bは、例えば、伝熱管によって構成されてもよい。この場合、第1流路12aは、冷媒側伝熱管であり、第2流路12bは、給水側伝熱管である。水熱交換器12は、例えば、プレート式熱交換器のように、第1流路12a及び第2流路12bがそれぞれ伝熱管によって構成されている場合、冷媒側伝熱管及び給水側伝熱管を介して、冷媒と水とが熱交換を行う。水熱交換器12は、冷媒の熱を水に放熱して冷媒を凝縮させる凝縮器として機能する。
 第1減圧装置13は、冷媒を減圧させる。第1減圧装置13は、例えば、電子式膨張弁等の開度の制御が可能な弁で構成される。第1減圧装置13の弁の開度は、制御装置30によって制御される。なお、以下の説明では、第1減圧装置13及び第2減圧装置16の総称を減圧装置と称する場合がある。
 空気熱交換器14は、空気と冷媒との間で熱交換を行わせる熱交換部14aと、送風機15とを有し、送風機15によって供給される室外空気と熱交換部14aを流れる冷媒との間で熱交換を行わせる。空気熱交換器14は、給湯運転の際に、冷媒を蒸発させ、その際の気化熱により室外空気を冷却する蒸発器として機能する。
 送風機15は、空気熱交換器14で冷媒と熱交換を行う室外空気を空気熱交換器14の熱交換部14aに送る。送風機15は、モータ15aの駆動によってファン15bが回転し、ファン15bの回転によって、空気の流れを形成する。送風機15のモータ15aの回転数は、制御装置30によって制御される。
 第2減圧装置16は、冷媒を減圧させる。また、第2減圧装置16は、第1バイパス回路112を流れる冷媒の流量を調整する。第2減圧装置16は、例えば、電子式膨張弁等の開度の制御が可能な弁で構成される。第2減圧装置16の弁の開度は、制御装置30によって制御される。
 冷媒回路110を流れる冷媒は、単一冷媒だけでなく、混合冷媒、あるいは、非共沸冷媒を適用できる。冷媒回路110を流れる冷媒は、例えば、CO冷媒、あるいは、R1234yf及びR32を混合した冷媒にも適用できる。
(水回路120)
 図1の水回路120は、貯湯タンク21、送水ポンプ22及び水熱交換器12を有する。貯湯タンク21、送水ポンプ22及び水熱交換器12は、水配管20によって順次接続されている。水配管20の内部を水が流れており、水回路120は、水が流れる流路を形成する。水回路120は、環状に形成されている。水は、水回路120内で循環するように流れている。
 貯湯タンク21は、外部から供給された水及び加熱水を貯める。この加熱水は、冷媒回路110を流れる冷媒との熱交換によって加熱された水である。貯湯タンク21の下部には、給水口21a及び流出口21bが設けられている。給水口21aには、外部給水管20aが接続されており、外部給水管20aは、給水元(図示は省略)と貯湯タンク21とを連通させる。貯湯タンク21は、給水口21aを介して外部から水が供給され、供給された水を加熱されていない未加熱水として貯める。
 流出口21bには、給水管20bが接続されている。給水管20bは、上述した水配管20の一部を構成し、貯湯タンク21と、水熱交換器12に設けられた第2流路12bの入口とを連通させる。貯湯タンク21の下部に貯められた未加熱水は、流出口21bを介して流出し、給水管20bを通って水熱交換器12に供給される。
 また、貯湯タンク21の上部には、流入口21cが設けられている。流入口21cには、給湯管20cが接続されている。給湯管20cは、上述した水配管20の一部を構成し、水熱交換器12に設けられた第2流路12bの出口と、貯湯タンク21とを連通させる。貯湯タンク21は、水熱交換器12で加熱された加熱水が流入口21cを介して供給され、供給された加熱水を貯める。
 また、貯湯タンク21の上部には、給湯口21dが設けられている。給湯口21dには外部給湯管20dが接続されており、外部給湯管20dは、貯湯タンク21と給湯場所とを連通させる。貯湯タンク21の上部に貯められた加熱水は、給湯口21dから外部に放出され、例えばシャワー等の温水として利用される。
 送水ポンプ22は、図示しないモータによって駆動され、貯湯タンク21から流出した水を水熱交換器12に供給する。また、送水ポンプ22は、水熱交換器12から流出した水を貯湯タンク21に供給する。送水ポンプ22は、例えば、インバータを備えており、運転周波数を変化させることにより、単位時間あたりのモータの回転数が制御される。
 送水ポンプ22は、給水管20bに設けられている。送水ポンプ22は、水回路120において、貯湯タンク21の流出口21bと、水熱交換器12に設けられた第2流路12bの入口との間に設けられている。送水ポンプ22の稼働は、制御装置30によって制御される。
(各種測定装置)
 また、ヒートポンプ給湯装置100は、各種測定装置を有している。ヒートポンプ給湯装置100は、冷媒回路110において、吐出温度センサ41を備えている。吐出温度センサ41は、圧縮機11の吐出口に接続された冷媒配管10の配管温度を検知する。吐出温度センサ41によって検知された冷媒配管10の配管温度を、吐出配管温度と定義する。吐出配管温度は、圧縮機11の吐出冷媒側の配管温度であり、圧縮機11の吐出口付近の配管温度である。吐出温度センサ41は、吐出配管温度を検知し、後述する制御装置30に供給する。
 ヒートポンプ給湯装置100は、冷媒回路110において、吸入温度センサ42を備えている。吸入温度センサ42は、圧縮機11の吸入口に接続された冷媒配管10の配管温度を検知する。吸入温度センサ42によって検知された冷媒配管10の配管温度を、吸入配管温度と定義する。吸入配管温度は、圧縮機11の吸入冷媒側の配管温度であり、圧縮機11の吸入口付近の配管温度である。吸入温度センサ42は、吸入配管温度を検知し、制御装置30に供給する。
 ヒートポンプ給湯装置100は、圧縮機11において、圧縮機温度センサ43を備えている。圧縮機温度センサ43は、圧縮機11の外郭を構成するシェル容器の下部温度を検知する。圧縮機温度センサ43は、圧縮機11のシェル容器の下部温度を検知し、制御装置30に供給する。
 ヒートポンプ給湯装置100は、冷媒回路110において、高圧圧力センサ51を備えている。高圧圧力センサ51は、圧縮機11から吐出される冷媒の圧力を検知する。高圧圧力センサ51は、例えば、圧縮機11の吐出口に接続された冷媒配管10の配管圧力を測定することによって、冷媒の圧力を検知する。高圧圧力センサ51は、高圧側の圧力である圧縮機11から吐出される冷媒の圧力を検知し、制御装置30に供給する。
 ヒートポンプ給湯装置100は、冷媒回路110において、低圧圧力センサ52を備えている。低圧圧力センサ52は、圧縮機11に吸入される冷媒の圧力を検知する。低圧圧力センサ52は、圧縮機11の吸入冷媒側と空気熱交換器14との間に設けられている。低圧圧力センサ52は、例えば、圧縮機11の吸入口に接続された冷媒配管10の配管圧力を測定することによって、冷媒の圧力を検知する。低圧圧力センサ52は、低圧側の圧力である圧縮機11に吸入される冷媒の圧力を検知し、制御装置30に供給する。
 ヒートポンプ給湯装置100は、水回路120において、水温度センサ44を備えている。水温度センサ44は、貯湯タンク21内に貯められている水の温度を検知する。水温度センサ44は、貯湯タンク21内に貯められている水の温度を検知し、後述する制御装置30に供給する。
(制御装置30)
 また、ヒートポンプ給湯装置100は、制御装置30を備えている。制御装置30は、冷媒回路110及び水回路120に設けられた機器を制御する。制御装置30は、ヒートポンプ給湯装置100の各部から受け取る各種情報に基づき貯湯タンク21に貯湯を行うために、ヒートポンプ給湯装置100全体の動作を制御する。例えば、制御装置30は、ヒートポンプ給湯装置100に設けられた各種センサからの情報に基づき、圧縮機11の運転周波数、送風機15の運転周波数、送水ポンプ22の運転周波数、第1減圧装置13の開度及び第2減圧装置16の開度等を制御する。
 制御装置30は、マイクロコンピュータなどの演算装置上でソフトウェアを実行することにより各種機能が実現され、もしくは各種機能を実現する回路デバイスなどのハードウェア等で構成されている。
 図2は、図1の制御装置30の構成の一例を示すブロック図である。図2に示すように、制御装置30は、運転状態判定部32と、過熱度算出部33とを有する。また、制御装置30は、入力部31と、記憶部34と、計時部35と、運転状態決定部36とを有する。また、制御装置30は、圧縮機制御部37と、ファン制御部38と、減圧装置制御部39と、ポンプ制御部40とを有する。
 運転状態判定部32には、ヒートポンプ給湯装置100に関する駆動情報が入力される。駆動情報としては、例えば、圧縮機11を駆動するための周波数、送風機15のモータ15aを駆動するための周波数、第1減圧装置13の開度及び第2減圧装置16の開度、送水ポンプ22のモータ(図示は省略)を駆動するための周波数等である。運転状態判定部32は、各機器の駆動状態を、駆動情報として各機器から受信する。運転状態判定部32は、入力された駆動情報に基づき、圧縮機11等の各機器の駆動情報を、運転状態決定部36に供給する。なお、運転状態判定部32は、必ずしも必要ではない。例えば、これらの駆動情報は、運転状態決定部36において現在設定されている各機器の駆動情報を用いてもよい。
 また、運転状態判定部32には、水温度センサ44によって検知された貯湯タンク21内に貯められている水の温度等の駆動情報が入力される。運転状態判定部32は、入力された貯湯タンク21内の水温情報を、運転状態決定部36に供給する。
 過熱度算出部33は、吐出温度センサ41、吸入温度センサ42、圧縮機温度センサ43、高圧圧力センサ51、及び、低圧圧力センサ52の測定データを用いて、各位置における冷媒過熱度を算出する。
 具体的には、過熱度算出部33には、高圧圧力センサ51によって検知された圧縮機11から吐出される冷媒の圧力が入力される。過熱度算出部33は、高圧圧力センサ51によって検知された冷媒の圧力から冷媒の飽和ガス温度を算出する。冷媒の飽和ガス温度は、高圧圧力センサ51によって検知された冷媒の圧力から、制御装置30にインプットされている各種冷媒に応じた冷媒の圧力に対応した冷媒の飽和ガス温度の換算表によって算出される。冷媒の飽和ガス温度の換算表は、例えば、記憶部34に予め記憶されている。また、過熱度算出部33には、吐出温度センサ41によって検知された吐出配管温度が入力される。過熱度算出部33は、圧縮機11の吐出配管温度と、高圧圧力センサ51の検知圧力から算出された冷媒の飽和ガス温度との差から吐出配管の冷媒過熱度を算出する。過熱度算出部33は、算出された吐出配管の冷媒過熱度を運転状態決定部36に供給する。なお、吐出配管の冷媒過熱度を吐出過熱度と定義する。
 また、過熱度算出部33には、低圧圧力センサ52によって検知された圧縮機11に吸入される冷媒の圧力が入力される。過熱度算出部33は、低圧圧力センサ52によって検知された冷媒の圧力から冷媒の飽和ガス温度を算出する。冷媒の飽和ガス温度は、低圧圧力センサ52によって検知された冷媒の圧力から、制御装置30にインプットされている各種冷媒に応じた冷媒の圧力に対応した冷媒の飽和ガス温度の換算表によって算出される。また、過熱度算出部33には、吸入温度センサ42によって検知された吸入配管温度が入力される。過熱度算出部33は、圧縮機11の吸入配管温度と、低圧圧力センサ52の検知圧力から算出された冷媒の飽和ガス温度との差から吸入配管の冷媒過熱度を算出する。過熱度算出部33は、算出された吸入配管の冷媒過熱度を運転状態決定部36に供給する。吸入配管の冷媒過熱度を吸入過熱度と定義する。
 また、過熱度算出部33には、圧縮機温度センサ43によって検知された圧縮機11のシェル容器の下部温度が入力される。過熱度算出部33は、圧縮機11のシェル容器の下部温度と、低圧圧力センサ52の検知圧力から算出された冷媒の飽和ガス温度との差から圧縮機11における冷媒過熱度を算出する。過熱度算出部33は、算出された圧縮機11における冷媒過熱度を運転状態決定部36に供給する。圧縮機11における冷媒過熱度を圧縮機シェル下過熱度と定義する。
 入力部31は、夜間給湯モードを設定するために使用される入力装置である。入力部31は、例えば、接点、スイッチ、あるいは、リモコン等である。入力部31への入力によって、夜間給湯モードのON又はOFFの設定、貯湯タンク21内に貯められる水の目標水温の設定、夜間給湯モードの開始時刻の設定、夜間給湯モードの終了時刻の設定等を行うことができる。
 記憶部34は、制御装置30で行われる制御に必要なプログラム及びデータ等が予め記憶されている。例えば、記憶部34には、運転状態決定部36で用いられる吐出過熱度に対する第1閾値、吸入過熱度に対する第2閾値、及び、圧縮機シェル下過熱度に対する第3閾値が予め記憶されている。
 また、記憶部34には、後述する通常給湯モード及び夜間給湯モードにおける第1減圧装置13及び第2減圧装置16の開度が予め記憶されている。また、記憶部34には、通常給湯モード及び夜間給湯モードにおける圧縮機11の周波数、送風機15のモータ15aの回転数、送水ポンプ22のモータの回転数等が予め記憶されている。また、記憶部34には、入力部31に入力された各種設定情報が記憶されてもよい。
 計時部35は、例えば、タイマー又はリアルタイムクロック等からなり、現在時刻示し、あるいは、時間を計る。
 運転状態決定部36は、運転状態判定部32、過熱度算出部33、入力部31、記憶部34、及び、計時部35等からの入力情報に基づき、圧縮機制御部37、ファン制御部38、減圧装置制御部39、及び、ポンプ制御部40に指令を送る。運転状態決定部36は、運転状態判定部32、過熱度算出部33、入力部31、記憶部34、及び、計時部35等からの入力情報に基づき、通常給湯モード及び夜間給湯モードを実行する。
 圧縮機制御部37は、ヒートポンプ給湯装置100の運転状態が夜間給湯モードである場合に、運転状態決定部36の判定結果に基づき、圧縮機11の運転周波数を低下させ、圧縮機11の運転周波数が最低周波数となるように制御信号を圧縮機11に出力する。最低周波数は、圧縮機11を故障することなく連続して運転するために必要な最低の周波数として、予め設定された周波数であり、記憶部34に記憶されている。
 ファン制御部38は、ヒートポンプ給湯装置100の運転状態が夜間給湯モードである場合に、送風機15の運転を停止させる制御信号を送風機15に出力する。
 減圧装置制御部39は、ヒートポンプ給湯装置100の運転状態が夜間給湯モードである場合に、第1減圧装置13の開度及び第2減圧装置16の開度を予め設定した開度に設定する。また、減圧装置制御部39は、ヒートポンプ給湯装置100の運転状態が夜間給湯モードである場合に、運転状態決定部36の判定結果に基づき、第1減圧装置13の開度を小さくするための制御信号を第1減圧装置13に出力し、冷媒の過熱度を確保する。第1減圧装置13の開度は、予め設定されており、記憶部34に記憶されている。
 また、減圧装置制御部39は、ヒートポンプ給湯装置100の運転状態が夜間給湯モードである場合に、運転状態決定部36の判定結果に基づき、第2減圧装置16の開度を大きくするための制御信号を第2減圧装置16に出力する。第2減圧装置16の開度は、予め設定されており、記憶部34に記憶されている。
 ポンプ制御部40は、ヒートポンプ給湯装置100の運転状態が夜間給湯モードである場合に、送水ポンプ22の運転周波数を低下させ、送水ポンプ22の運転周波数が最低周波数となるように送水ポンプ22に制御信号を出力する。最低周波数は、送水ポンプ22を運転するために必要な最低の周波数として、予め設定された周波数であり、記憶部34に記憶されている。
[ヒートポンプ給湯装置100の動作]
 上記の構成を有するヒートポンプ給湯装置100の動作について説明する。ここでは、通常給湯モードの冷媒及び水の流れと、夜間給湯モードの動作について説明する。
(冷媒及び水の流れ)
 まず、通常給湯モードの冷媒及び水の流れについて説明する。冷媒回路110を流れる冷媒は、圧縮機11によって圧縮されて吐出される。圧縮機11から吐出された冷媒は、水熱交換器12の第1流路12aに流入する。水熱交換器12の第1流路12aに流入した冷媒は、水回路120の第2流路12bを流れる水と熱交換して放熱しながら凝縮することによって水を加熱し、水熱交換器12から流出する。
 水熱交換器12から流出した冷媒は、第1減圧装置13によって減圧および膨張され、第1減圧装置13から流出する。第1減圧装置13から流出した冷媒は、空気熱交換器14に流入する。空気熱交換器14に流入した冷媒は、室外空気と熱交換して吸熱および蒸発し、空気熱交換器14から流出する。空気熱交換器14から流出した冷媒は、圧縮機11へ吸入される。そして、以下、冷媒は上述した循環を繰り返す。
 一方、水回路120において、送水ポンプ22の稼働により、貯湯タンク21の下部に設けられた流出口21bから未加熱水が流出する。貯湯タンク21から流出した未加熱水は、水熱交換器12の第2流路12bに流入する。水熱交換器12の第2流路12bに流入した未加熱水は、冷媒回路110の第1流路12aを流れる冷媒と熱交換して加熱され、水熱交換器12から流出する。水熱交換器12から流出した加熱水は、貯湯タンク21の上部に設けられた流入口21cから貯湯タンク21に流入し、貯湯タンク21に貯められる。そして、以下、貯湯タンク21内の未加熱水は、上述した循環を繰り返す。
(夜間給湯モード)
 図3は、実施の形態1に係るヒートポンプ給湯装置100の、夜間給湯モードの開始に至るまでのフローチャートを示している。図4は、実施の形態1に係るヒートポンプ給湯装置100の、夜間給湯モードの制御フローチャートを示している。夜間給湯モードは、夜間に行われるヒートポンプ給湯装置100の動作である。夜間給湯モードは、夜間に、水熱交換器12における水と冷媒との熱交換によって水を加熱し、貯湯タンク21に湯を貯めるモードである。図3及び図4を用いてヒートポンプ給湯装置100の夜間給湯モードの動作について説明する。
 図3に示すように、使用者は、制御装置30に設けられた入力部31を用いて、夜間給湯モード用の各種情報を入力する(ステップS1)。例えば、使用者は、入力部31を用いて、貯湯タンク21に貯湯される加熱水の目標水温を入力する(ステップS1)。また、使用者は、入力部31を用いて、夜間給湯モードの開始時刻を入力する(ステップS1)。使用者は、入力部31を用いて、夜間給湯モードの終了時刻を入力する(ステップS1)。
 次に、運転状態判定部32には、水温度センサ44によって検知された貯湯タンク21内に貯められている水の温度が入力される。運転状態判定部32は、入力された貯湯タンク21内の水温情報を、運転状態決定部36に供給する。制御装置30の運転状態決定部36は、水温度センサ44によって検知された現時点での貯湯タンク21内の水の温度と、ステップS1で入力部31を用いて入力された目標水温とを比較する(ステップS2)。そして、運転状態決定部36は、水温度センサ44によって検知された水の温度が、目標水温以下であるか否かを判断する(ステップS2)。
 なお、ヒートポンプ給湯装置100は、ステップS2の時点では、圧縮機11及び送風機15が停止している状態である。なお、送水ポンプ22は、水温検知の観点から常時水を循環させる必要があるため最低周波数にて運転されている。
 運転状態決定部36は、ステップS2において、水温度センサ44によって検知された水の温度が目標水温よりも高いと判断した場合(ステップS2がNOの場合)には、再び、水温度センサ44によって検知された水の温度と、目標水温とを比較する。
 運転状態決定部36は、ステップS2において、水温度センサ44によって検知された水の温度が目標水温以下であると判断した場合(ステップS2がYESの場合)には、夜間給湯モードの開始時刻を経過したか否かを判断する(ステップS3)。すなわち、運転状態決定部36は、計時部35から入力される現時点での時刻と、ステップS1で入力部31を用いて入力された夜間給湯モードの開始時刻とを比較する(ステップS3)。そして、運転状態決定部36は、現時点での時刻が、夜間給湯モードの開始時刻を経過したか否かを判断する。
 運転状態決定部36は、ステップS3において、夜間給湯モードの開始時刻を経過していないと判断した場合(ステップS3がNOの場合)には、使用者によって夜間給湯モードスイッチがONの状態にされているか否かを判断する(ステップS4)。
 運転状態決定部36は、ステップS4において、使用者によって夜間給湯モードスイッチがONの状態にされていないと判断した場合(ステップS4がNOの場合)には、ステップS2に戻る。そして、運転状態決定部36は、再び、水温度センサ44によって検知された水の温度と、目標水温とを比較する(ステップS2)。
 運転状態決定部36は、ステップS3において、夜間給湯モードの開始時刻を経過していると判断した場合(ステップS3がYESの場合)には、夜間給湯モードを開始する(ステップS5)。また、運転状態決定部36は、ステップS4において、使用者によって夜間給湯モードスイッチがONの状態にされていると判断した場合(ステップS4がYESの場合)には、夜間給湯モードを開始する(ステップS5)。
 図4に示すように、夜間給湯モードが開始する(ステップS5)と、運転状態決定部36は、記憶部34に予め記憶された送水ポンプ22に関する運転周波数の情報に基づき、ポンプ制御部40に指令を送る。夜間給湯モードが開始する(ステップS5)と、ポンプ制御部40は、送水ポンプ22の運転周波数が予め設定された最低周波数となるように、送水ポンプ22に制御信号を出力する(ステップS6)。
 図4に示すように、送水ポンプ22の運転周波数が最低周波数に設定されると(ステップS6)、運転状態決定部36は、記憶部34に予め記憶された圧縮機11に関する運転周波数の情報に基づき、圧縮機制御部37に指令を送る。送水ポンプ22の運転周波数が最低周波数に設定されると(ステップS6)、圧縮機制御部37は、圧縮機11の運転周波数が予め設定された最低周波数となるように、圧縮機11に制御信号を出力する(ステップS7)。
 また、送水ポンプ22の運転周波数が最低周波数に設定されると(ステップS6)、運転状態決定部36は、ファン制御部38に指令を送る。送水ポンプ22の運転周波数が最低周波数に設定されると(ステップS6)、ファン制御部38は、送風機15の運転の停止を維持する(ステップS7)。
 また、送水ポンプ22の運転周波数が最低周波数に設定されると(ステップS6)、運転状態決定部36は、記憶部34に予め記憶された第1減圧装置13に関する開度の情報に基づき、減圧装置制御部39に指令を送る。また、送水ポンプ22の運転周波数が最低周波数に設定されると(ステップS6)、運転状態決定部36は、記憶部34に予め記憶された第2減圧装置16に関する開度の情報に基づき、減圧装置制御部39に指令を送る。
 送水ポンプ22の運転周波数が最低周波数に設定されると(ステップS6)、減圧装置制御部39は、第1減圧装置13及び第2減圧装置16の開度が予め設定された開度となるように第1減圧装置13及び第2減圧装置16に制御信号を出力する(ステップS7)。なお、予め設定された第1減圧装置13の開度は、吸入過熱度が確保可能な所定の開度である。
 ステップS7において、圧縮機11を予め設定された最低周波数で稼働させ、送風機15の停止を維持し、第1減圧装置13及び第2減圧装置16を予め設定された開度に設定すると、制御装置30は、予め設定された時間の経過後、ステップS8に進む。予め設定された時間は、記憶部34に記憶されている。
 運転状態決定部36は、制御間隔を経過したか否かを判断する(ステップS8)。制御間隔は、第1減圧装置13及び第2減圧装置16を動作させる制御のためのインターバルである。制御間隔は、第1減圧装置13及び第2減圧装置16を動作させるか否かの判断を行うタイミングを決定するための時間である。制御装置30は、ステップS8を行うことによって、予め設定された期間毎にステップS9へ進む制御を行う。制御間隔は、予め記憶部34に記憶されている。制御間隔は、一例として、10秒から60秒までの時間が設定される。
 ステップS8において、運転状態決定部36が制御間隔を経過したか否かを判断する理由は、第1減圧装置13及び第2減圧装置16を制御する際の、制御量の行き過ぎ(オーバーシュート)あるいは不安定性(ハンチング)の発生を防止するためである。後述するステップS9、ステップS12及びステップS13の条件を満足せず(判定がNOの場合)、常時減圧装置が動作してしまうと、ステップS9~ステップS13の条件を満足する(判定がYES)まで減圧装置が動作してしまう。この場合、減圧装置の制御の際にオーバーシュートあるいはハンチングが発生する恐れがある。ステップS8において、運転状態決定部36が制御間隔を経過したか否かを判断することにより、減圧装置の制御に際し、オーバーシュート及びハンチングの発生を防止できる。
 運転状態決定部36は、計時部35による計時と、記憶部34に予め記憶されている制御間隔とを用いる。運転状態決定部36は、制御間隔を経過したか否かを判断する(ステップS8)。運転状態決定部36が制御間隔を経過していないと判断した場合(ステップS8がNOの場合)には、再びステップS8に戻り、運転状態決定部36は、制御間隔を経過したか否かを判断する(ステップS8)。運転状態決定部36が制御間隔を経過したと判断した場合(ステップS8がYESの場合)には、ステップS9へ進む。
 制御装置30の過熱度算出部33は、算出した吐出過熱度を、運転状態決定部36に供給する。運転状態決定部36は、過熱度算出部33によって算出された現時点での吐出過熱度と、記憶部34に予め記憶された第1閾値とを比較する(ステップS9)。そして、運転状態決定部36は、吐出過熱度が第1閾値以上であるか否かを判断する。
 現時点での吐出過熱度が、予め設定された第1閾値未満であると判断された場合(ステップS9がNOの場合)には、運転状態決定部36は、記憶部34に予め記憶された第1減圧装置13に関する開度の情報に基づき、減圧装置制御部39に指令を送る。減圧装置制御部39は、第1減圧装置13の開度が予め設定された開度となるように、第1減圧装置13に制御信号を出力する(ステップS10)。この場合、予め設定されている第1減圧装置13の開度は、現時点での開度よりも小さくなるように設定されている。冷媒回路110は、第1減圧装置13の開度を小さくすることによって過熱度を確保する。
 そして、運転状態決定部36は、ステップS10において、第1減圧装置13の開度を小さくした後、記憶部34に予め記憶された第2減圧装置16に関する開度の情報に基づき、減圧装置制御部39に指令を送る。減圧装置制御部39は、第2減圧装置16の開度が予め設定された開度となるように、第2減圧装置16に制御信号を出力する(ステップS11)。この場合、予め設定されている第2減圧装置16の開度は、現時点での開度よりも大きくなるように設定されている。
 運転状態決定部36は、吐出過熱度が第1閾値未満であると判断して場合には、圧縮機11への液冷媒戻りが発生していると判断する。そのため、運転状態決定部36は、第2減圧装置16の開度を大きくすることによって、第1バイパス回路112を流れる冷媒の流量を多くし、圧縮機11の吐出配管から吸入配管へバイパスさせる冷媒の量を多くする。
 制御装置30は、ステップS11において、第2減圧装置16の開度を設定した後、ステップS9に戻る。運転状態決定部36は、再び、現時点での吐出過熱度と、予め設定された第1閾値とを比較する(ステップS9)。
 現時点での吐出過熱度が、予め設定された第1閾値以上であると判断された場合(ステップS9がYESの場合)には、制御装置30は、ステップS12に進む。
 制御装置30の過熱度算出部33は、算出した吸入過熱度を、運転状態決定部36に供給する。運転状態決定部36は、過熱度算出部33によって算出された現時点での吸入過熱度と、記憶部34に予め記憶された第2閾値とを比較する(ステップS12)。そして、運転状態決定部36は、吸入過熱度が第2閾値以上であるか否かを判断する。
 現時点での吸入過熱度が、予め設定された第2閾値未満であると判断された場合(ステップS12がNOの場合)には、運転状態決定部36は、記憶部34に予め記憶された第1減圧装置13に関する開度の情報に基づき、減圧装置制御部39に指令を送る。減圧装置制御部39は、第1減圧装置13の開度が予め設定された開度となるように、第1減圧装置13に制御信号を出力する(ステップS10)。この場合、予め設定されている第1減圧装置13の開度は、現時点での開度よりも小さくなるように設定されている。冷媒回路110は、第1減圧装置13の開度を小さくすることによって過熱度を確保する。
 そして、運転状態決定部36は、ステップS10において、第1減圧装置13の開度を小さくした後、記憶部34に予め記憶された第2減圧装置16に関する開度の情報に基づき、減圧装置制御部39に指令を送る。減圧装置制御部39は、第2減圧装置16の開度が予め設定された開度となるように、第2減圧装置16に制御信号を出力する(ステップS11)。この場合、予め設定されている第2減圧装置16の開度は、現時点での開度よりも大きくなるように設定されている。
 運転状態決定部36は、吸入過熱度が第2閾値未満であると判断して場合には、圧縮機11への液冷媒戻りが発生していると判断する。そのため、運転状態決定部36は、第2減圧装置16の開度を大きくすることによって、第1バイパス回路112を流れる冷媒の流量を多くし、圧縮機11の吐出配管から吸入配管へバイパスさせる冷媒の量を多くする。
 制御装置30は、ステップS11において、第2減圧装置16の開度を設定した後、ステップS9に戻る。運転状態決定部36は、再び、現時点での吐出過熱度と、予め設定された第1閾値とを比較する(ステップS9)。
 現時点での吸入過熱度が、予め設定された第2閾値以上であると判断された場合(ステップS12がYESの場合)には、制御装置30は、ステップS13に進む。
 制御装置30の過熱度算出部33は、算出した圧縮機シェル下過熱度を、運転状態決定部36に供給する。運転状態決定部36は、過熱度算出部33によって算出された現時点での圧縮機シェル下過熱度と、記憶部34に予め記憶された第3閾値とを比較する(ステップS13)。そして、運転状態決定部36は、圧縮機シェル下過熱度が第3閾値以上であるか否かを判断する。
 現時点での圧縮機シェル下過熱度が、予め設定された第3閾値未満であると判断された場合(ステップS13がNOの場合)には、運転状態決定部36は、記憶部34に予め記憶された第1減圧装置13に関する開度の情報に基づき減圧装置制御部39に指令を送る。減圧装置制御部39は、第1減圧装置13の開度が予め設定された開度となるように、第1減圧装置13に制御信号を出力する(ステップS10)。この場合、予め設定されている第1減圧装置13の開度は、現時点での開度よりも小さくなるように設定されている。冷媒回路110は、第1減圧装置13の開度を小さくすることによって過熱度を確保する。
 そして、運転状態決定部36は、ステップS10において、第1減圧装置13の開度を小さくした後、記憶部34に予め記憶された第2減圧装置16に関する開度の情報に基づき、減圧装置制御部39に指令を送る。減圧装置制御部39は、第2減圧装置16の開度が予め設定された開度となるように、第2減圧装置16に制御信号を出力する(ステップS11)。この場合、予め設定されている第2減圧装置16の開度は、現時点での開度よりも大きくなるように設定されている。
 運転状態決定部36は、圧縮機下シェル過熱度が第3閾値未満であると判断して場合には、圧縮機11への液冷媒戻りが発生していると判断する。そのため、運転状態決定部36は、第2減圧装置16の開度を大きくすることによって、第1バイパス回路112を流れる冷媒の流量を多くし、圧縮機11の吐出配管から吸入配管へバイパスさせる冷媒の量を多くする。
 制御装置30は、ステップS11において、第2減圧装置16の開度を設定した後、ステップS9に戻る。運転状態決定部36は、再び、現時点での吐出過熱度と、予め設定された第1閾値とを比較する(ステップS9)。
 ステップS13の工程において、現時点での吸入過熱度が、予め設定された第3閾値以上であると判断された場合(ステップS13がYESの場合)には、制御装置30は、ステップS14に進む。
 運転状態決定部36は、水温度センサ44によって検知された現時点での貯湯タンク21内の水の温度と、ステップS1で入力部31を用いて入力された目標水温とを比較する(ステップS14)。そして、運転状態決定部36は、水温度センサ44によって検知された水の温度が、目標水温以上であるか否かを判断する(ステップS14)。なお、運転状態判定部32には、水温度センサ44によって検知された貯湯タンク21内に貯められている水の温度が入力される。運転状態判定部32は、入力された貯湯タンク21内の水温情報を、運転状態決定部36に供給する。
 運転状態決定部36は、ステップS2において、水温度センサ44によって検知された水の温度が目標水温よりも低いと判断した場合(ステップS14がNOの場合)には、夜間給湯モードの終了時刻を経過したか否かを判断する(ステップS15)。運転状態決定部36は、計時部35から入力される現時点での時刻と、ステップS1で入力部31を用いて入力された夜間給湯モードの終了時刻とを比較する(ステップS15)。
 運転状態決定部36は、ステップS15において、夜間給湯モードの終了時刻を経過していないと判断した場合(ステップS15がNOの場合)には、使用者によって夜間給湯モードスイッチがOFFの状態にされているか否かを判断する(ステップS16)。
 運転状態決定部36は、使用者によって夜間給湯モードスイッチがOFFの状態にされていないと判断した場合(ステップS16がNOの場合)には、再びステップS9に戻る。運転状態決定部36は、再び、現時点での吐出過熱度と、予め設定された第1閾値とを比較する(ステップS9)。
 運転状態決定部36は、ステップS14において、水温度センサ44によって検知された水の温度が目標水温以上であると判断した場合(ステップS14がYESの場合)に、圧縮機11を停止し(ステップS17)、夜間給湯モードを終了する(ステップS18)。
 また、運転状態決定部36は、ステップS15において、夜間給湯モードの終了時刻を経過していると判断した場合(ステップS15がYESの場合)には、圧縮機11を停止し(ステップS17)、夜間給湯モードを終了する(ステップS18)。
 また、運転状態決定部36は、使用者によって夜間給湯モードスイッチがOFFの状態にされていると判断した場合(ステップS16がYESの場合)には、圧縮機11を停止し(ステップS17)、夜間給湯モードを終了する(ステップS18)。
[ヒートポンプ給湯装置100の作用効果]
 制御装置30は、夜間給湯モードにおいて、送水ポンプ22を予め設定された最低周波数で稼働させ、圧縮機11を予め設定された最低周波数で稼働させ、空気熱交換器14において空気と冷媒との熱交換を促進する送風機15を停止し回転させない。一般的に、空気熱交換器に隣接して配置された送風機の回転により生じる騒音が、冷媒回路110から生じる騒音の大半を占めている。ヒートポンプ給湯装置100は、夜間給湯モードにおいて、制御装置30が送風機15を停止しており、夜間においてヒートポンプ給湯装置100の運転により発生する騒音を低減することができる。
 また、一般的にヒートポンプ給湯装置は、夜間における運転でも送風機を稼働させている。ヒートポンプ給湯装置100は、夜間給湯モードにおいて、制御装置30が送風機15を停止しており夜間において送風機15の稼働による消費電力を削減することができ、送風機15を稼働させる従来のヒートポンプ給湯装置と比較して省エネを図ることができる。
 また、一般的に、ヒートポンプ給湯装置の運転において、目標水温に到達後は冷媒回路における圧縮機の運転が停止し、圧縮機の運転停止後に再度水温が低下することによって圧縮機が始動する。そのため、夜間において、ヒートポンプ給湯装置は、冷媒回路における加熱運転及び水回路における貯湯運転と、これらの運転の停止とを頻繁に繰り返す場合がある。制御装置30は、夜間給湯モードにおいて、送水ポンプ22を予め設定された最低周波数で稼働させ、圧縮機11を予め設定された最低周波数で稼働させる。ヒートポンプ給湯装置100は、夜間給湯モードにおいて、圧縮機11を最低周波数で稼働させることによって高効率の運転を行い、時間をかけて貯湯タンク21内の全ての量の水を湯に沸き上げる高効率な運転が可能となる。そのため、ヒートポンプ給湯装置100は、冷媒回路110における加熱運転及び水回路120における貯湯運転と、これらの運転の停止との頻繁な繰り返しを抑制できる。
 また、制御装置30は、夜間給湯モードにおいて、送水ポンプ22を予め設定された最低周波数で稼働させ、圧縮機11を予め設定された最低周波数で稼働させる。そのため、ヒートポンプ給湯装置100は、最低周波数よりも大きい周波数で送水ポンプ22及び圧縮機11を動作させた場合と比較して、ヒートポンプ給湯装置100から生じる騒音を低減できる。また、制御装置30は、夜間給湯モードにおいて、送水ポンプ22を予め設定された最低周波数で稼働させるため、ポンプ入力が低下し、最低周波数以上の周波数で稼働させた場合と比較して省エネが図ることができる。そのため、ヒートポンプ給湯装置100は、システム全体の高効率化を図ることができる。
 また、制御装置30は、夜間給湯モードにおいて、吐出過熱度が予め設定された第1閾値未満の場合には、第1減圧装置13の開度が現時点での開度から小さくなるように、第1減圧装置13の開度を予め設定した開度に制御する。また、制御装置30は、吸入過熱度が予め設定された第2閾値未満の場合には、第1減圧装置13の開度が現時点での開度から小さくなるように、第1減圧装置13の開度を予め設定した開度に制御する。また、制御装置30は、圧縮機シェル下過熱度が予め設定された第3閾値未満の場合には、第1減圧装置13の開度が現時点での開度から小さくなるように、第1減圧装置13の開度を予め設定した開度に制御する。ヒートポンプ給湯装置100は、第1減圧装置13の開度を現時点よりも小さくすることによって吐出過熱度、吸入過熱度、及び、圧縮機シェル下過熱度等の過熱度を確保することができる。
 また、一般的に、送風機を停止させた場合、蒸発器である空気熱交換器の性能が低下し、蒸発器内でガス及び液の二相冷媒を蒸発しきれず、二相冷媒が圧縮機へ流入することにより、圧縮機への液戻りが発生する場合がある。ヒートポンプ給湯装置100の制御装置30は、夜間給湯モードにおいて、吐出過熱度が予め設定された第1閾値未満の場合には、第2減圧装置16の開度が現時点での開度から大きくなるように、第2減圧装置16の開度を予め設定した開度に制御する。また、制御装置30は、吸入過熱度が予め設定された第2閾値未満の場合には、第2減圧装置16の開度が現時点での開度から大きくなるように、第2減圧装置16の開度を予め設定した開度に制御する。また、制御装置30は、圧縮機シェル下過熱度が予め設定された第3閾値未満の場合には、第2減圧装置16の開度が現時点での開度から大きくなるように、第2減圧装置16の開度を予め設定した開度に制御する。ヒートポンプ給湯装置100は、冷媒回路110の第2減圧装置16の開度を現時点の開度よりも大きくすることで、圧縮機11から吐出されたガス冷媒を吸入配管にバイパスさせることができ、圧縮機11への液冷媒戻りを抑制することができる。
実施の形態2.
 図5は、実施の形態2に係るヒートポンプ給湯装置100の構成の一例を示す概略図である。実施の形態1に係るヒートポンプ給湯装置100と同一の機能及び作用を有する構成要素については、同一の符号を付してその説明を省略する。以下、実施の形態2が実施の形態1と異なる点を中心に説明し、実施の形態2で説明しない構成は実施の形態1と同様である。
 冷媒回路110は、主回路111と、第1バイパス回路112と、第2バイパス回路113とを有する。第2バイパス回路113は、水熱交換器12と第1減圧装置13との間の冷媒配管10と、空気熱交換器14と圧縮機11との間の冷媒配管10とを接続する流路を形成する。すなわち、第2バイパス回路113は、水熱交換器12から流出した冷媒の一部を、第1減圧装置13及び空気熱交換器14を通過させず圧縮機11の吸入口に導く流路を形成する。第2バイパス回路113は、第3減圧装置17を有する。
 第3減圧装置17は、冷媒を減圧させる。また、第3減圧装置17は、第2バイパス回路113を流れる冷媒の流量を調整する。第3減圧装置17は、例えば、電子式膨張弁等の開度の制御が可能な弁で構成される。第3減圧装置17の弁の開度は、制御装置30によって制御される。
 図6は、実施の形態2に係るヒートポンプ給湯装置100の、夜間給湯モードの制御フローチャートを示している。図6を用いて、実施の形態2に係るヒートポンプ給湯装置100の夜間モードと、実施の形態1に係るヒートポンプ給湯装置100の夜間モードとの相違点のみ説明する。実施の形態2に係るヒートポンプ給湯装置100の制御装置30は、ステップS11において、第2減圧装置16の開度を設定した後、ステップS19に進む。
 そして、運転状態決定部36は、ステップS11において、第2減圧装置16の開度を大きくした後、記憶部34に予め記憶された第3減圧装置17に関する開度の情報に基づき、減圧装置制御部39に指令を送る。減圧装置制御部39は、第3減圧装置17の開度が予め設定された開度となるように、第3減圧装置17に制御信号を出力する(ステップS19)。この場合、予め設定されている第3減圧装置17の開度は、現時点での開度よりも大きくなるように設定されている。
 運転状態決定部36は、吐出過熱度が第1閾値未満であると判断して場合には、圧縮機11への液冷媒戻りが発生していると判断する。また、運転状態決定部36は、吸入過熱度が第2閾値未満であると判断して場合には、圧縮機11への液冷媒戻りが発生していると判断する。また、運転状態決定部36は、圧縮機シェル下過熱度が第3閾値未満であると判断して場合には、圧縮機11への液冷媒戻りが発生していると判断する。そのため、運転状態決定部36は、第3減圧装置17の開度を大きくすることによって、第2バイパス回路113を流れる冷媒の流量を多くし、圧縮機11の吐出配管から吸入配管へバイパスさせる冷媒の量を多くする。
 制御装置30は、ステップS19において、第3減圧装置17の開度を設定した後、ステップS9に戻る。運転状態決定部36は、再び、現時点での吐出過熱度と、予め設定された第1閾値とを比較する(ステップS9)。
 なお、実施の形態2では、制御間隔は、第1減圧装置13、第2減圧装置16及び第3減圧装置17を動作させる制御のためのインターバルである。制御間隔は、第1減圧装置13、第2減圧装置16及び第3減圧装置17を動作させるか否かの判断を行うタイミングを決定するための時間である。ステップS8において、運転状態決定部36が制御間隔を経過したか否かを判断する理由は、第1減圧装置13、第2減圧装置16及び第3減圧装置17を制御する際に、オーバーシュートあるいはハンチングを防止するためである。
[ヒートポンプ給湯装置100の作用効果]
 冷媒回路110は、水熱交換器12と第1減圧装置13との間の冷媒配管10と、空気熱交換器14と圧縮機11との間の冷媒配管10とを接続する流路を形成する第2バイパス回路113を更に有する。ヒートポンプ給湯装置100は、第2バイパス回路113を有することによって、水熱交換器12から流出した液冷媒、ガス冷媒、あるいは、気液二相冷媒を、第2バイパス回路113を経由させて圧縮機11の吸入冷媒側の配管にバイパスさせることができる。そのため、ヒートポンプ給湯装置100は、圧縮機11に吸入される冷媒に第1バイパス回路112を経由した高温高圧のガス冷媒と、第2バイパス回路113を経由した冷媒とを混合させることにより圧縮機11の液冷媒戻りを抑制できる。
 制御装置30は、吐出過熱度が予め設定された第1閾値未満の場合には、第3減圧装置17の開度が現時点での開度から大きくなるように、第3減圧装置17の開度を予め設定した開度に制御する。また、制御装置30は、吸入過熱度が予め設定された第2閾値未満の場合には、第3減圧装置17の開度が現時点での開度から大きくなるように、第3減圧装置17の開度を予め設定した開度に制御する。また、制御装置30は、圧縮機シェル下過熱度が予め設定された第3閾値未満の場合には、第3減圧装置17の開度が現時点での開度から大きくなるように、第3減圧装置17の開度を予め設定した開度に制御する。ヒートポンプ給湯装置100は、第3減圧装置17の開度を現時点の開度よりも大きくすることで、圧縮機11に吸入される冷媒に第1バイパス回路112を経由した高温高圧のガス冷媒と、第2バイパス回路113を経由した冷媒とを混合させる。ヒートポンプ給湯装置100は、圧縮機11に吸入される冷媒に第1バイパス回路112を経由した高温高圧のガス冷媒と、第2バイパス回路113を経由した冷媒とを混合させることにより圧縮機11の液冷媒戻りを抑制できる。
 また、ヒートポンプ給湯装置100は、第1バイパス回路112と第2バイパス回路113との2本のバイパス回路を有するため、第1バイパス回路112のみを有する場合と比較して冷媒温度及び冷媒状態の調整幅が大きい。
 以上の実施の形態1及び実施の形態2に示した構成は、本開示の内容の一例を示すものであり、別の公知の技術と組み合わせることも可能であるし、本開示の要旨を逸脱しない範囲で、構成の一部を省略、変更することも可能である。例えば、圧縮機11のシェル容器の下部温度を検知する圧縮機温度センサ43は構成上必要でない場合は用いなくてもよい。圧縮機11への液戻りを正確に検知するには、圧縮機11のシェル容器の下部温度又は圧縮機シェル下冷媒過熱度を算出することが望ましい。しかし、制御装置30は、吐出過熱度及び吸入過熱度を用いても圧縮機11への液戻りが発生しているかは判定することはできるため、必ずしも圧縮機温度センサ43は用いなくてもよい。圧縮機温度センサ43を用いない場合には、冷媒回路110の製造コスト及び材料コストを低減することができる。
 また、実施の形態1及び実施の形態2では、ヒートポンプ給湯装置100について説明したが、ヒートポンプ給湯装置100について説明した上記内容は、チリングユニット、あるいは、循環加温器等の冷媒回路を有する他の機器にも適用できる。貯湯タンク21等を有さない冷媒回路110を有する機器においても目標水温を設定しておけば、例えば、水が流動する配管において水の凍結を防止する運転等に適用できる。
 10 冷媒配管、11 圧縮機、12 水熱交換器、12a 第1流路、12b 第2流路、13 第1減圧装置、14 空気熱交換器、14a 熱交換部、15 送風機、15a モータ、15b ファン、16 第2減圧装置、17 第3減圧装置、20 水配管、20a 外部給水管、20b 給水管、20c 給湯管、20d 外部給湯管、21 貯湯タンク、21a 給水口、21b 流出口、21c 流入口、21d 給湯口、22 送水ポンプ、30 制御装置、31 入力部、32 運転状態判定部、33 過熱度算出部、34 記憶部、35 計時部、36 運転状態決定部、37 圧縮機制御部、38 ファン制御部、39 減圧装置制御部、40 ポンプ制御部、41 吐出温度センサ、42 吸入温度センサ、43 圧縮機温度センサ、44 水温度センサ、51 高圧圧力センサ、52 低圧圧力センサ、100 ヒートポンプ給湯装置、110 冷媒回路、111 主回路、112 第1バイパス回路、113 第2バイパス回路、120 水回路。

Claims (4)

  1.  冷媒配管を冷媒が循環する冷媒回路と、
     水配管内を水が循環する水回路と、
     前記冷媒回路及び前記水回路に設けられた機器を制御する制御装置と、
    を有し、
     前記冷媒回路は、
     主回路と、バイパス回路とを有し、
     前記主回路は、
     環状に形成されており、
     吸入した前記冷媒を圧縮して吐出する圧縮機と、
     前記冷媒回路を流れる前記冷媒と、前記水回路を流れる前記水との間で熱交換を行わせる水熱交換器と、
     前記冷媒を減圧させる第1減圧装置と、
     空気と前記冷媒との間で熱交換を行わせる熱交換部及び前記冷媒と熱交換を行う前記空気を前記熱交換部に送る送風機を備えた空気熱交換器と、
    を有し、
     前記バイパス回路は、
     前記圧縮機と前記水熱交換器との間の前記冷媒配管と、前記空気熱交換器と前記圧縮機との間の前記冷媒配管とを接続する流路を形成しており、
     前記バイパス回路を流れる前記冷媒の流量を調整する第2減圧装置を有し、
     前記水回路は、
     外部から供給された水及び加熱水を貯める貯湯タンクと、
     前記貯湯タンクから流出した水を前記水熱交換器に供給し、前記水熱交換器から流出した水を前記貯湯タンクに供給する送水ポンプと、
     前記水熱交換器と、
    を有し、
     前記制御装置は、
     夜間に、前記水熱交換器における前記水と前記冷媒との熱交換によって前記水を加熱し、前記貯湯タンクに湯を貯める夜間給湯モードの場合に、
     前記送水ポンプを予め設定された最低周波数で稼働させ、
     前記圧縮機を予め設定された最低周波数で稼働させ、
     前記送風機を停止するヒートポンプ給湯装置。
  2.  前記圧縮機の吐出口に接続された前記冷媒配管の配管温度を検知する吐出温度センサと、
     前記圧縮機の吸入口に接続された前記冷媒配管の配管温度を検知する吸入温度センサと、
     前記圧縮機の外郭を構成するシェル容器の下部温度を検知する圧縮機温度センサと、
     前記貯湯タンクに貯められている前記水の温度を検知する水温度センサと、
     前記圧縮機から吐出される前記冷媒の圧力を検知する高圧圧力センサと、
     前記圧縮機に吸入される前記冷媒の圧力を検知する低圧圧力センサと、
    を更に有し、
     前記制御装置は、
     前記夜間給湯モードにおいて、
     前記吐出温度センサによって検知された前記圧縮機の吐出配管温度と、前記高圧圧力センサの検知圧力から算出された前記冷媒の飽和ガス温度との差から吐出過熱度を算出し、
     前記吸入温度センサによって検知された前記圧縮機の吸入配管温度と、前記低圧圧力センサの検知圧力から算出された前記冷媒の飽和ガス温度との差から吸入過熱度を算出し、
     前記圧縮機温度センサによって検知された前記シェル容器の前記下部温度と、前記低圧圧力センサの検知圧力から算出された前記冷媒の飽和ガス温度との差から圧縮機シェル下過熱度を算出し、
     前記吐出過熱度が予め設定された第1閾値未満の場合には、前記第1減圧装置の開度が現時点での開度から小さくなるように、前記第1減圧装置の開度を予め設定した開度に制御し、前記第2減圧装置の開度が現時点での開度から大きくなるように、前記第2減圧装置の開度を予め設定した開度に制御し、
     前記吸入過熱度が予め設定された第2閾値未満の場合には、前記第1減圧装置の開度が現時点での開度から小さくなるように、前記第1減圧装置の開度を予め設定した開度に制御し、前記第2減圧装置の開度が現時点での開度から大きくなるように、前記第2減圧装置の開度を予め設定した開度に制御し、
     前記圧縮機シェル下過熱度が予め設定された第3閾値未満の場合には、前記第1減圧装置の開度が現時点での開度から小さくなるように、前記第1減圧装置の開度を予め設定した開度に制御し、前記第2減圧装置の開度が現時点での開度から大きくなるように、前記第2減圧装置の開度を予め設定した開度に制御する請求項1に記載のヒートポンプ給湯装置。
  3.  前記冷媒回路は、
     前記水熱交換器と前記第1減圧装置との間の前記冷媒配管と、前記空気熱交換器と前記圧縮機との間の前記冷媒配管とを接続する流路を形成する第2バイパス回路を更に有し、
     前記第2バイパス回路は、
     前記第2バイパス回路を流れる前記冷媒の流量を調整する第3減圧装置を有する請求項2に記載のヒートポンプ給湯装置。
  4.  前記制御装置は、
     前記吐出過熱度が予め設定された前記第1閾値未満の場合には、前記第3減圧装置の開度が現時点での開度から大きくなるように、前記第3減圧装置の開度を予め設定した開度に制御し、
     前記吸入過熱度が予め設定された前記第2閾値未満の場合には、前記第3減圧装置の開度が現時点での開度から大きくなるように、前記第3減圧装置の開度を予め設定した開度に制御し、
     前記圧縮機シェル下過熱度が予め設定された前記第3閾値未満の場合には、前記第3減圧装置の開度が現時点での開度から大きくなるように、前記第3減圧装置の開度を予め設定した開度に制御する請求項3に記載のヒートポンプ給湯装置。
PCT/JP2021/016246 2021-04-22 2021-04-22 ヒートポンプ給湯装置 Ceased WO2022224392A1 (ja)

Priority Applications (4)

Application Number Priority Date Filing Date Title
EP21937886.6A EP4328527A4 (en) 2021-04-22 2021-04-22 Heat pump water heater
JP2023515963A JP7542730B2 (ja) 2021-04-22 2021-04-22 ヒートポンプ給湯装置
US18/548,620 US20240077231A1 (en) 2021-04-22 2021-04-22 Heat-pump water heater
PCT/JP2021/016246 WO2022224392A1 (ja) 2021-04-22 2021-04-22 ヒートポンプ給湯装置

Applications Claiming Priority (1)

Application Number Priority Date Filing Date Title
PCT/JP2021/016246 WO2022224392A1 (ja) 2021-04-22 2021-04-22 ヒートポンプ給湯装置

Publications (1)

Publication Number Publication Date
WO2022224392A1 true WO2022224392A1 (ja) 2022-10-27

Family

ID=83722180

Family Applications (1)

Application Number Title Priority Date Filing Date
PCT/JP2021/016246 Ceased WO2022224392A1 (ja) 2021-04-22 2021-04-22 ヒートポンプ給湯装置

Country Status (4)

Country Link
US (1) US20240077231A1 (ja)
EP (1) EP4328527A4 (ja)
JP (1) JP7542730B2 (ja)
WO (1) WO2022224392A1 (ja)

Cited By (2)

* Cited by examiner, † Cited by third party
Publication number Priority date Publication date Assignee Title
NL2034018B1 (en) * 2023-01-24 2024-07-30 Conico Valves B V heat pump system, heating system comprising the heat pump system and method of operating the heat pump system
EP4575330A1 (en) * 2023-12-14 2025-06-25 A.O. Smith Corporation Heat pump water flow control

Citations (8)

* Cited by examiner, † Cited by third party
Publication number Priority date Publication date Assignee Title
JPH0534036A (ja) * 1991-07-31 1993-02-09 Yanmar Diesel Engine Co Ltd エンジンヒートポンプ装置
JP2002206805A (ja) * 2000-06-05 2002-07-26 Denso Corp 給湯装置
JP2005188879A (ja) * 2003-12-26 2005-07-14 Matsushita Electric Ind Co Ltd ヒートポンプ式給湯装置
JP2006308261A (ja) 2005-05-02 2006-11-09 Hitachi Home & Life Solutions Inc ヒートポンプ給湯機
JP2010169350A (ja) * 2009-01-26 2010-08-05 Mitsubishi Electric Corp ヒートポンプ式給湯装置
JP2013019602A (ja) * 2011-07-12 2013-01-31 Mitsubishi Heavy Ind Ltd ヒートポンプ給湯機
JP2014006010A (ja) * 2012-06-26 2014-01-16 Hitachi Appliances Inc ヒートポンプ給湯機
JP2018115830A (ja) * 2017-01-20 2018-07-26 株式会社デンソー ヒートポンプ装置

Family Cites Families (4)

* Cited by examiner, † Cited by third party
Publication number Priority date Publication date Assignee Title
JP3956674B2 (ja) * 2001-11-13 2007-08-08 ダイキン工業株式会社 冷媒回路
JP2010175106A (ja) * 2009-01-28 2010-08-12 Sanyo Electric Co Ltd 冷凍装置
JP5570531B2 (ja) * 2010-01-26 2014-08-13 三菱電機株式会社 ヒートポンプ装置
JP5373964B2 (ja) * 2010-03-01 2013-12-18 株式会社日立製作所 空調給湯システム

Patent Citations (8)

* Cited by examiner, † Cited by third party
Publication number Priority date Publication date Assignee Title
JPH0534036A (ja) * 1991-07-31 1993-02-09 Yanmar Diesel Engine Co Ltd エンジンヒートポンプ装置
JP2002206805A (ja) * 2000-06-05 2002-07-26 Denso Corp 給湯装置
JP2005188879A (ja) * 2003-12-26 2005-07-14 Matsushita Electric Ind Co Ltd ヒートポンプ式給湯装置
JP2006308261A (ja) 2005-05-02 2006-11-09 Hitachi Home & Life Solutions Inc ヒートポンプ給湯機
JP2010169350A (ja) * 2009-01-26 2010-08-05 Mitsubishi Electric Corp ヒートポンプ式給湯装置
JP2013019602A (ja) * 2011-07-12 2013-01-31 Mitsubishi Heavy Ind Ltd ヒートポンプ給湯機
JP2014006010A (ja) * 2012-06-26 2014-01-16 Hitachi Appliances Inc ヒートポンプ給湯機
JP2018115830A (ja) * 2017-01-20 2018-07-26 株式会社デンソー ヒートポンプ装置

Non-Patent Citations (1)

* Cited by examiner, † Cited by third party
Title
See also references of EP4328527A4

Cited By (2)

* Cited by examiner, † Cited by third party
Publication number Priority date Publication date Assignee Title
NL2034018B1 (en) * 2023-01-24 2024-07-30 Conico Valves B V heat pump system, heating system comprising the heat pump system and method of operating the heat pump system
EP4575330A1 (en) * 2023-12-14 2025-06-25 A.O. Smith Corporation Heat pump water flow control

Also Published As

Publication number Publication date
EP4328527A4 (en) 2024-05-29
EP4328527A1 (en) 2024-02-28
JP7542730B2 (ja) 2024-08-30
JPWO2022224392A1 (ja) 2022-10-27
US20240077231A1 (en) 2024-03-07

Similar Documents

Publication Publication Date Title
TWI252904B (en) Refrigerator
CN104246395B (zh) 制冷循环装置
US10753645B2 (en) Refrigeration cycle apparatus
JP3783711B2 (ja) ヒートポンプ給湯装置
JP6589946B2 (ja) 冷凍装置
CN109716033B (zh) 用于空气调节和热水供给的系统
JP3894190B2 (ja) ヒートポンプ給湯装置
JP2009264715A (ja) ヒートポンプ温水システム
JP2010243111A (ja) ヒートポンプ式給湯機
JP6728535B2 (ja) 冷房機能付きヒートポンプ給湯機
US20210025627A1 (en) Air-conditioning apparatus
WO2022224392A1 (ja) ヒートポンプ給湯装置
JP2005147584A (ja) ヒートポンプ給湯装置の起動制御装置および起動制御方法
JP2012007851A (ja) ヒートポンプサイクル装置
JP2011257098A (ja) ヒートポンプサイクル装置
JP2009264718A (ja) ヒートポンプ温水システム
JP2012007751A (ja) ヒートポンプサイクル装置
JP5517891B2 (ja) 空気調和装置
US20200400319A1 (en) Hot water supply apparatus
JP2008224067A (ja) ヒートポンプ給湯装置
JP2003106615A (ja) 空気調和装置
AU2018411936B2 (en) Hot water supply apparatus
JP5092692B2 (ja) ヒートポンプ給湯装置
JP2003056907A (ja) ヒートポンプ式給湯機
JP2009085476A (ja) ヒートポンプ給湯装置

Legal Events

Date Code Title Description
121 Ep: the epo has been informed by wipo that ep was designated in this application

Ref document number: 21937886

Country of ref document: EP

Kind code of ref document: A1

ENP Entry into the national phase

Ref document number: 2023515963

Country of ref document: JP

Kind code of ref document: A

WWE Wipo information: entry into national phase

Ref document number: 18548620

Country of ref document: US

WWE Wipo information: entry into national phase

Ref document number: 2021937886

Country of ref document: EP

NENP Non-entry into the national phase

Ref country code: DE

ENP Entry into the national phase

Ref document number: 2021937886

Country of ref document: EP

Effective date: 20231122