WO2021166838A1 - Uninterruptible power supply and uninterruptible power supply system equipped with same - Google Patents

Uninterruptible power supply and uninterruptible power supply system equipped with same Download PDF

Info

Publication number
WO2021166838A1
WO2021166838A1 PCT/JP2021/005470 JP2021005470W WO2021166838A1 WO 2021166838 A1 WO2021166838 A1 WO 2021166838A1 JP 2021005470 W JP2021005470 W JP 2021005470W WO 2021166838 A1 WO2021166838 A1 WO 2021166838A1
Authority
WO
WIPO (PCT)
Prior art keywords
power supply
power
control signal
input
instantaneous
Prior art date
Legal status (The legal status is an assumption and is not a legal conclusion. Google has not performed a legal analysis and makes no representation as to the accuracy of the status listed.)
Ceased
Application number
PCT/JP2021/005470
Other languages
French (fr)
Japanese (ja)
Inventor
崇富 洪
卓也 建部
Current Assignee (The listed assignees may be inaccurate. Google has not performed a legal analysis and makes no representation or warranty as to the accuracy of the list.)
Kairen Techno Bridge Co Ltd
Original Assignee
Kairen Techno Bridge Co Ltd
Priority date (The priority date is an assumption and is not a legal conclusion. Google has not performed a legal analysis and makes no representation as to the accuracy of the date listed.)
Filing date
Publication date
Application filed by Kairen Techno Bridge Co Ltd filed Critical Kairen Techno Bridge Co Ltd
Publication of WO2021166838A1 publication Critical patent/WO2021166838A1/en
Anticipated expiration legal-status Critical
Ceased legal-status Critical Current

Links

Images

Classifications

    • HELECTRICITY
    • H02GENERATION; CONVERSION OR DISTRIBUTION OF ELECTRIC POWER
    • H02JCIRCUIT ARRANGEMENTS OR SYSTEMS FOR SUPPLYING OR DISTRIBUTING ELECTRIC POWER; SYSTEMS FOR STORING ELECTRIC ENERGY
    • H02J13/00Circuit arrangements for providing remote indication of network conditions, e.g. an instantaneous record of the open or closed condition of each circuitbreaker in the network; Circuit arrangements for providing remote control of switching means in a power distribution network, e.g. switching in and out of current consumers by using a pulse code signal carried by the network
    • HELECTRICITY
    • H02GENERATION; CONVERSION OR DISTRIBUTION OF ELECTRIC POWER
    • H02JCIRCUIT ARRANGEMENTS OR SYSTEMS FOR SUPPLYING OR DISTRIBUTING ELECTRIC POWER; SYSTEMS FOR STORING ELECTRIC ENERGY
    • H02J7/00Circuit arrangements for charging or depolarising batteries or for supplying loads from batteries
    • H02J7/34Parallel operation in networks using both storage and other DC sources, e.g. providing buffering
    • HELECTRICITY
    • H02GENERATION; CONVERSION OR DISTRIBUTION OF ELECTRIC POWER
    • H02JCIRCUIT ARRANGEMENTS OR SYSTEMS FOR SUPPLYING OR DISTRIBUTING ELECTRIC POWER; SYSTEMS FOR STORING ELECTRIC ENERGY
    • H02J9/00Circuit arrangements for emergency or stand-by power supply, e.g. for emergency lighting
    • H02J9/04Circuit arrangements for emergency or stand-by power supply, e.g. for emergency lighting in which the distribution system is disconnected from the normal source and connected to a standby source
    • H02J9/06Circuit arrangements for emergency or stand-by power supply, e.g. for emergency lighting in which the distribution system is disconnected from the normal source and connected to a standby source with automatic change-over, e.g. UPS systems
    • YGENERAL TAGGING OF NEW TECHNOLOGICAL DEVELOPMENTS; GENERAL TAGGING OF CROSS-SECTIONAL TECHNOLOGIES SPANNING OVER SEVERAL SECTIONS OF THE IPC; TECHNICAL SUBJECTS COVERED BY FORMER USPC CROSS-REFERENCE ART COLLECTIONS [XRACs] AND DIGESTS
    • Y02TECHNOLOGIES OR APPLICATIONS FOR MITIGATION OR ADAPTATION AGAINST CLIMATE CHANGE
    • Y02BCLIMATE CHANGE MITIGATION TECHNOLOGIES RELATED TO BUILDINGS, e.g. HOUSING, HOUSE APPLIANCES OR RELATED END-USER APPLICATIONS
    • Y02B70/00Technologies for an efficient end-user side electric power management and consumption
    • Y02B70/30Systems integrating technologies related to power network operation and communication or information technologies for improving the carbon footprint of the management of residential or tertiary loads, i.e. smart grids as climate change mitigation technology in the buildings sector, including also the last stages of power distribution and the control, monitoring or operating management systems at local level
    • YGENERAL TAGGING OF NEW TECHNOLOGICAL DEVELOPMENTS; GENERAL TAGGING OF CROSS-SECTIONAL TECHNOLOGIES SPANNING OVER SEVERAL SECTIONS OF THE IPC; TECHNICAL SUBJECTS COVERED BY FORMER USPC CROSS-REFERENCE ART COLLECTIONS [XRACs] AND DIGESTS
    • Y02TECHNOLOGIES OR APPLICATIONS FOR MITIGATION OR ADAPTATION AGAINST CLIMATE CHANGE
    • Y02BCLIMATE CHANGE MITIGATION TECHNOLOGIES RELATED TO BUILDINGS, e.g. HOUSING, HOUSE APPLIANCES OR RELATED END-USER APPLICATIONS
    • Y02B90/00Enabling technologies or technologies with a potential or indirect contribution to GHG emissions mitigation
    • Y02B90/20Smart grids as enabling technology in buildings sector
    • YGENERAL TAGGING OF NEW TECHNOLOGICAL DEVELOPMENTS; GENERAL TAGGING OF CROSS-SECTIONAL TECHNOLOGIES SPANNING OVER SEVERAL SECTIONS OF THE IPC; TECHNICAL SUBJECTS COVERED BY FORMER USPC CROSS-REFERENCE ART COLLECTIONS [XRACs] AND DIGESTS
    • Y04INFORMATION OR COMMUNICATION TECHNOLOGIES HAVING AN IMPACT ON OTHER TECHNOLOGY AREAS
    • Y04SSYSTEMS INTEGRATING TECHNOLOGIES RELATED TO POWER NETWORK OPERATION, COMMUNICATION OR INFORMATION TECHNOLOGIES FOR IMPROVING THE ELECTRICAL POWER GENERATION, TRANSMISSION, DISTRIBUTION, MANAGEMENT OR USAGE, i.e. SMART GRIDS
    • Y04S20/00Management or operation of end-user stationary applications or the last stages of power distribution; Controlling, monitoring or operating thereof
    • Y04S20/12Energy storage units, uninterruptible power supply [UPS] systems or standby or emergency generators, e.g. in the last power distribution stages
    • YGENERAL TAGGING OF NEW TECHNOLOGICAL DEVELOPMENTS; GENERAL TAGGING OF CROSS-SECTIONAL TECHNOLOGIES SPANNING OVER SEVERAL SECTIONS OF THE IPC; TECHNICAL SUBJECTS COVERED BY FORMER USPC CROSS-REFERENCE ART COLLECTIONS [XRACs] AND DIGESTS
    • Y04INFORMATION OR COMMUNICATION TECHNOLOGIES HAVING AN IMPACT ON OTHER TECHNOLOGY AREAS
    • Y04SSYSTEMS INTEGRATING TECHNOLOGIES RELATED TO POWER NETWORK OPERATION, COMMUNICATION OR INFORMATION TECHNOLOGIES FOR IMPROVING THE ELECTRICAL POWER GENERATION, TRANSMISSION, DISTRIBUTION, MANAGEMENT OR USAGE, i.e. SMART GRIDS
    • Y04S20/00Management or operation of end-user stationary applications or the last stages of power distribution; Controlling, monitoring or operating thereof
    • Y04S20/20End-user application control systems
    • Y04S20/248UPS systems or standby or emergency generators

Definitions

  • the present invention relates to an uninterruptible power supply (UPS) with a built-in battery and an uninterruptible power supply system including the UPS (Uninterruptible Power Supply).
  • UPS Uninterruptible Power Supply
  • the uninterruptible power supply (uninterruptible power supply) aims to continuously supply power to various devices such as servers, personal computers, and communication equipment installed in companies even in the event of a power outage.
  • a system for remotely managing a plurality of these non-instantaneous power supply devices has also been proposed (see, for example, Patent Documents 1 and 2).
  • the present invention attempts to solve the problem by efficiently supplying power according to the situation of each connected device, grasping and ensuring safety of abnormalities such as electric leakage of each device, and remaining battery capacity.
  • the point is to provide a non-instantaneous power supply device and a non-instantaneous power supply system that enable efficient operation of power supply to each device according to the above and centralized management of these remote locations with a simple structure.
  • the present invention includes the following inventions.
  • a switching means which is a device and is provided in a power supply path to each device leading to the power output port and controls on / off (ON / OFF) switching of each power output port individually or collectively. It has a single or a plurality of input / output contacts for sending and receiving signals to and from each device, and a state information acquisition unit for acquiring state information of each device through the input / output contacts.
  • the power supply control unit has each.
  • a non-instantaneous power supply device characterized in that it receives an input of a control signal created based on device status information and controls an ON / OFF switching operation by the switching means based on the control signal. ..
  • It has a power amount information acquisition unit that acquires quantity information, and the power supply control unit receives an input of a control signal created based on the power amount information, and uses the switching means based on the control signal.
  • a non-instantaneous power supply device that controls the on / off (ON / OFF) switching operation.
  • Switching means for / OFF (ON / OFF) switching control It has an electric capacity sensor that detects the electric capacity of the battery and a battery capacity information acquisition unit that acquires information on the electric capacity of the battery through the electric capacity sensor, and the power supply control unit has the electric capacity of the battery.
  • a non-instantaneous power supply device characterized in that it receives an input of a control signal created based on the information of the above and controls an ON / OFF switching operation by the switching means based on the control signal.
  • a non-instantaneous power supply system including the non-instantaneous power supply device according to (1) and a management computer communicatively connected to the non-instantaneous power supply device.
  • a state information reception processing unit that receives information and a control signal generation processing unit that generates a control signal instructing an on / off (ON / OFF) switching operation by the switching means and transmits the control signal to the non-instantaneous power supply device.
  • a non-instantaneous power supply system is
  • a non-instantaneous power supply system including the non-instantaneous power supply device according to (2) and a management computer communicatively connected to the non-instantaneous power supply device.
  • a power amount information receiving processing unit that receives information on the amount of power flowing through each of the power supply lines and a control signal that commands an on / off (ON / OFF) switching operation by the switching means are generated, and this is instantaneously generated.
  • a non-instantaneous power supply system including the non-instantaneous power supply device according to (3) and a management computer communicatively connected to the non-instantaneous power supply device, wherein the management computer has an electric capacity of the battery.
  • the battery capacity information reception processing unit that receives the information of the above, and the control signal generation that commands the on / off (ON / OFF) switching operation by the switching means and transmits the control signal to the power supply device without instantaneous power failure
  • a single or a plurality of input / output contacts for sending and receiving signals to and from each device, a state information acquisition unit for acquiring state information of each device through the input / output contacts, and a power supply output. It has a switching means for switching ON / OFF (ON / OFF) of multiple ports individually or collectively, and the power supply control unit receives an input of a control signal created based on the state information of each device. Since the ON / OFF switching operation by the switching means is controlled based on the control signal, when an abnormality such as unstable operation or freezing of each device occurs, the device is sent to the device. It is possible to manage the power supply from the power output port individually according to the situation of each device, such as stopping the power supply, and to easily perform efficient power supply.
  • a wattmeter sensor provided in each of the power input path and the power supply path, an electric energy information acquisition unit for acquiring information on the amount of electric current flowing in each of the power input path and the power supply path by the wattmeter sensor, and a power input. It has a switching means for switching on / off (ON / OFF) of a port and a plurality of power output ports individually or collectively, and the power supply control unit is a control signal created based on the information on the electric energy.
  • the ON / OFF switching operation by the switching means based on the control signal, an electric leakage or the like in which a larger current than usual flows through the power input path or the power supply path, etc.
  • the capacitance sensor that detects the capacitance of the battery
  • the battery capacitance information acquisition unit that acquires the information of the capacitance of the battery through the capacitance sensor
  • the power input port and the power output port are turned on individually or collectively. It has a switching means for controlling / OFF switching, and the power supply control unit receives an input of a control signal created based on the information of the electric capacity of the battery, and the switching is performed based on the control signal.
  • efficient operation and more suitable power supply can be easily realized based on the remaining capacity of the battery.
  • the management computer can be used for the status information of each of the above devices and the power circuit of the non-instantaneous power supply device. It can receive information such as the amount of power and battery capacity, and generate and transmit control signals that command the ON / OFF switching operation by the switching means of the non-instantaneous power supply device, so it can be generated and transmitted at any time in a remote location. It is possible to easily provide a multifunctional non-instantaneous power supply system that can collectively manage connected devices anywhere and individually control power input / output ports as needed, without incurring costs.
  • the explanatory view which shows the structure of the instantaneous power failure power supply system which concerns on the typical embodiment of this invention.
  • the block diagram which shows the structure of the input port switching module.
  • the block diagram which shows the structure of the output port switching module.
  • the block diagram which shows the structure of the control part of the non-instantaneous power supply device.
  • the non-instantaneous power supply device 1 has a built-in battery (storage battery) 2, one or more power input ports (AC input port 31, DC input port 32), and a plurality of power input ports (AC input port 31).
  • a power supply control unit (control unit 4) for controlling power supply to each device connected to a power output port (AC output port 33, DC output port 34) and at least a power output port (33/34) is provided.
  • the battery 2 includes a BMS (Battery Management Systems) 20 for protecting, safety, and ensuring performance of the battery and an electric capacity sensor 21 for detecting the electric capacity of the battery, and the control unit 4 grasps the state of the battery via the BMS 20. can.
  • BMS Battery Management Systems
  • the non-instantaneous power supply device 1 includes a communication module 11 for communicating with a management computer 5 in a remote management center through a communication network N, each device for supplying power, and another device attached to each device or another.
  • Input / output signal module 12 for remote monitoring by exchanging signals with independent sensors, switches, lights, buzzers, etc. that operate on a power source (dry battery, etc.) and input ports 31/32 individually or collectively.
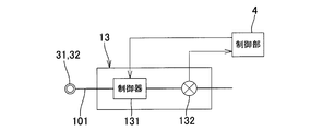
  • the input port switching module 13 as a switching means for on / off (ON / OFF) switching control and the output port 33/34 as a switching means for turning on / off (ON / OFF) switching control individually or collectively.
  • the input port switching module 13 is located at a position between the AC input port 31 and the AC / DC converter 15 of the power input path 101 and a position between the DC input port 32 and the DC / DC converter 16. , Each is provided. Further, the output port switching module 14 is provided at a position between the DC / AC inverter 17 and the AC output port 33 of the power supply path 102 and a position between the DC / DC converter 18 and the DC output port 34, respectively. There is.
  • the bypass path 103 branches from the position between the AC input port 31 of the power input path 101 and the input port switching module 13, and is located at the position between the DC / AC inverter 17 and the output port switching module 14 of the power supply path 102. It is a circuit to be connected, and the controller 19 is provided at a branch or connection position.
  • the input / output signal module 12 includes an I / O (input / output) contact and the like.
  • I / O input / output
  • the input contact a known photocoupler insulated contact input terminal or the like can be used, and as the output contact, a known relay insulated contact output terminal or the like can be used.
  • the device connected to the contact can be easily converted into IOT, and remote status monitoring and control can be realized.
  • the input port switching module 13 includes a controller 131 that switches the input port 31/32 on / off (ON / OFF), and is further provided with a power meter sensor 132.
  • the output port switching module 14 includes a controller 141 that switches the output port 33/34 on / off (ON / OFF), and is further provided with a power meter sensor 142.
  • the wattmeter sensors 132 and 142 are provided inside the input port switching module 13 and the output port switching module 14, respectively, but at other positions on the power input path 101 and the power supply path 102, respectively. Of course, it can be provided independently.
  • the power supply control unit is realized by processing by the program of the control unit 4.
  • the control unit 4 is mainly composed of a CPU such as a microprocessor or an MPU, has a storage unit including a RAM and a ROM (not shown), and stores programs and processing data that define procedures for various processing operations.
  • the control unit 4 has a state acquisition processing unit 41 as a state information acquisition unit that acquires the state information of each device through the input / output signal module 12 and transmits the state information to the management computer 5.
  • the electric energy acquisition processing unit 42 as an electric energy information acquisition unit that acquires information on the electric energy flowing through each of the power input path 101 and the power supply path 102 by the electric energy meter sensors 132 and 142 and transmits the information to the management computer 5.
  • the battery capacity acquisition processing unit 43 as the battery capacity information acquisition unit that acquires the electric capacity information of the battery 2 through the electric capacity sensor 21 (further BMS20 in this example) and transmits it to the management computer 5 and the input port switching process. It is provided with a power supply control unit 44 including an input port switching processing unit 441 to perform input port switching processing unit 441 and an output port switching processing unit 442 to perform output port switching processing, and these functions are realized by the above program or the like.
  • the power supply control unit 44 is created by the management computer 5, which will be described later, based on the state information of each of the above devices, the amount of power flowing through each of the power input path and the power supply path, and the electric capacity of the battery.
  • the input of the control signal is received, and the on / off (ON / OFF) switching operation of the input port / output port is controlled by the input port switching processing unit 441 or the output port switching processing unit 442 based on the control signal.
  • the non-instantaneous power supply system S provides a management computer 5 provided in a remote management sensor or the like connected to the non-instantaneous power supply device 1 via a communication network N.
  • the communication network N can use an existing network as a means of communication between remote locations.
  • a wired LAN (Local Area Network), a wireless LAN (for example, WiFi), or a mobile phone communication network such as 3G / 4G / 5G can be used for the communication module 11.
  • the management computer 5 is composed of a single computer or a plurality of computers including the processing device 50 and the storage means 51. Specifically, the storage means 51 and the communication control unit are centered on the processing device 50. 52.
  • an input operation means (not shown), a conventional computer device including a pointing device, a keyboard, a display, or the like can be used.
  • the processing device 50 is mainly composed of a CPU such as a microprocessor, has a storage unit including a RAM and a ROM (not shown), and stores programs and processing data that define procedures for various processing operations.
  • the storage means 51 includes memories, hard disks, and the like inside and outside the management computer 5. The contents of a part or all of the storage unit may be stored in the memory or hard disk of another computer connected to the management computer 5 by communication.
  • the processing device 50 receives the state information of each device from the non-instantaneous power supply device 1 and stores the information in the state storage unit 51a of the storage means 51, and the state information receiving processing unit 50a and each of the above. Based on the device status information, the control signal generation processing unit 50b that generates a control signal that commands the ON / OFF switching operation by the switching means and transmits this to the non-instantaneous power supply device, and the non-instantaneous power supply device.
  • the power amount information receiving processing unit 50c that receives information on the amount of power flowing through each of the power input path 101 and the power supply path 102 from the power stop device 1 and stores it in the power amount storage unit 51b of the storage means 51, and the power amount.
  • a control signal generation processing unit 50d that generates a control signal instructing an ON / OFF switching operation by the switching means and transmits the control signal to the non-instantaneous power supply device based on the information of Based on the battery capacity information reception processing unit 50e that receives information on the electric capacity of the battery from the device 1 and stores it in the battery capacity storage unit 51c of the storage means 51, and the information on the battery capacity, it is turned on / off (ON) by the switching means. It is provided with a control signal generation processing unit 50f that generates a control signal instructing a switching operation of (/ OFF) and transmits the control signal to the non-instantaneous power supply device 1, and these processing functions are realized by the above program.
  • the non-instantaneous power supply device 1 has a built-in battery 2 and also has a DC input port 32, information can be continuously transmitted to the management computer 5 even in the event of a power failure, and the management computer 5 ensures remote management. It is possible to do.
  • control signal generated / transmitted by the control signal generation processing unit 50b when each device acquires abnormal state information such as operation instability or freeze, power is supplied to the device during that time. It is conceivable that the output port switching processing unit 442 generates a signal for controlling the ON / OFF switching operation of the output port in order to stop or start when the normal state is restored.
  • the input port switching processing unit 441 or the output port switching processing unit 442 controls the ON / OFF switching operation of the corresponding input port or output port. It is conceivable to generate the signal of.
  • the input port switching processing unit 441 or the output port is used to realize efficient operation and more suitable power supply based on the remaining capacity of the battery. It is conceivable that the switching processing unit 442 generates a signal for controlling the ON / OFF switching operation of the corresponding input port or output port.
  • the input port switching processing unit 441 when the battery is fully charged or has a capacity close to that of the battery, the input port switching processing unit 441 generates a control signal to turn off the input port to enter the power failure mode in order to use the battery power source rather than the external input power source, and the battery capacity.
  • Output port switching to generate a control signal to restart the external input when is less than the specified amount, and to select the device to supply power according to the importance based on the remaining capacity of the battery, especially in the case of a power failure. It is conceivable to generate a signal for controlling the ON / OFF switching operation of the output port by the processing unit 442.
  • control signals may be selected (input) by a person from the control signals prepared in advance based on the information received from the non-instantaneous power supply device 1.
  • the present invention is not limited to such an embodiment.
  • the processing device in the control unit of the non-instantaneous power supply device instead of configuring the processing device in the control unit of the non-instantaneous power supply device by software processing by a computer.
  • a part or the whole is composed of a hardware processing circuit, and it is needless to say that it can be carried out in various forms without departing from the gist of the present invention.

Landscapes

  • Engineering & Computer Science (AREA)
  • Power Engineering (AREA)
  • Business, Economics & Management (AREA)
  • Emergency Management (AREA)
  • Charge And Discharge Circuits For Batteries Or The Like (AREA)
  • Stand-By Power Supply Arrangements (AREA)
  • Remote Monitoring And Control Of Power-Distribution Networks (AREA)

Abstract

[Problem] To provide an uninterruptible power supply and an uninterruptible power supply system that enable, in remote areas, the centralized management of efficient power supplies according to the situation of each connected device, the awareness of abnormalities such as electric leakage in each device, ensuring safety, and the operation of an efficient power supply to each device according to the remaining battery capacity. [Solution] The present invention comprises: a switching means 14 provided in a power supply path 102 to each device leading to power output ports 33, 34, and controlling ON/OFF switching of each power output port individually or collectively; single or multiple input/output contacts 12 which transmit and receive signals to and from each device; a status information acquisition unit 4 which acquires status information on each device through the input/output contacts 12, wherein the power supply control unit 4 receives the input of a control signal created on the basis of the state information on each device, and controls the ON/OFF switching operation by the switching means 14 on the basis of the control signal.

Description

無瞬停電源装置及びこれを備える無瞬停電源システムInstantaneous power supply device and non-instantaneous power supply system equipped with it

 本発明は、バッテリー内蔵の無瞬停電源装置(UPS(Uninterruptible Power Supply)及びこれを備える無瞬停電源システムに関する。 The present invention relates to an uninterruptible power supply (UPS) with a built-in battery and an uninterruptible power supply system including the UPS (Uninterruptible Power Supply).

 無瞬停(無停電)電源装置は、企業等に設置のサーバーやパーソナルコンピュータ、通信設備など様々の機器に対し、停電時にも継続して給電することを目的としている。
 これら無瞬停電源装置の複数を遠隔で管理するシステムも提案されている(例えば、特許文献1、2参照。)。
The uninterruptible power supply (uninterruptible power supply) aims to continuously supply power to various devices such as servers, personal computers, and communication equipment installed in companies even in the event of a power outage.
A system for remotely managing a plurality of these non-instantaneous power supply devices has also been proposed (see, for example, Patent Documents 1 and 2).

 しかし、無瞬停電源装置に接続されている各機器への電源供給を細かく監視・制御できる簡易な管理システムは存在しない。 However, there is no simple management system that can finely monitor and control the power supply to each device connected to the non-instantaneous power supply device.

特開2004-254459号公報Japanese Unexamined Patent Publication No. 2004-254459 特開2015-15820号公報Japanese Unexamined Patent Publication No. 2015-15820

 そこで、本発明が前述の状況に鑑み、解決しようとするところは、接続される各機器の状況に応じた効率のよい給電や、各機器の漏電などの異常の把握・安全確保、バッテリ残容量に応じた各機器への効率のよい給電の運用、これらの遠隔地での一括管理が簡易な構造で実現可能となる無瞬停電源装置および無瞬停電源システムを提供する点にある。 Therefore, in view of the above-mentioned situation, the present invention attempts to solve the problem by efficiently supplying power according to the situation of each connected device, grasping and ensuring safety of abnormalities such as electric leakage of each device, and remaining battery capacity. The point is to provide a non-instantaneous power supply device and a non-instantaneous power supply system that enable efficient operation of power supply to each device according to the above and centralized management of these remote locations with a simple structure.

 本発明は、以下の発明を包含する。
 (1) バッテリを内蔵し、一つ以上の電源入力口、複数の電源出力口、及び前記電源出力口に接続された各機器への電源供給を制御する電源供給制御部を備える無瞬停電源装置であって、前記電源出力口に通じる各機器への電源供給路に設けられ、各電源出力口を個別に又は複数一括してオン/オフ(ON/OFF)切り替え制御する切り替え手段と、前記各機器との間で信号の授受を行う単又は複数の入出力接点と、前記入出力接点を通じて各機器の状態情報を取得する状態情報取得部とを有し、前記電源供給制御部は、各機器の状態情報に基づいて作成される制御信号の入力を受け、該制御信号に基づき前記切り替え手段によるオン/オフ(ON/OFF)の切り替え動作を制御することを特徴とする無瞬停電源装置。
The present invention includes the following inventions.
(1) Non-instantaneous power supply with a built-in battery and a power supply control unit that controls power supply to one or more power input ports, a plurality of power output ports, and each device connected to the power output port. A switching means, which is a device and is provided in a power supply path to each device leading to the power output port and controls on / off (ON / OFF) switching of each power output port individually or collectively. It has a single or a plurality of input / output contacts for sending and receiving signals to and from each device, and a state information acquisition unit for acquiring state information of each device through the input / output contacts. The power supply control unit has each. A non-instantaneous power supply device characterized in that it receives an input of a control signal created based on device status information and controls an ON / OFF switching operation by the switching means based on the control signal. ..

 (2) バッテリを内蔵し、一つ以上の電源入力口、複数の電源出力口、及び前記電源出力口に接続された各機器への電源供給を制御する電源供給制御部を備える無瞬停電源装置であって、前記電源入力口に通じる電源入力路、及び前記電源出力口に通じる各機器への電源供給路に設けられ、各電源入力口および電源出力口を個別に又は複数一括してオン/オフ(ON/OFF)切り替え制御する切り替え手段と、前記電源入力路及び前記電源供給路に各々設けられる電力計センサと、前記電力計センサにより前記電源入力路及び電源供給路の各々を流れる電力量の情報を取得する電力量情報取得部とを有し、前記電源供給制御部は、前記電力量の情報に基づいて作成される制御信号の入力を受け、該制御信号に基づき前記切り替え手段によるオン/オフ(ON/OFF)の切り替え動作を制御することを特徴とする無瞬停電源装置。 (2) Non-instantaneous power supply with a built-in battery, one or more power input ports, multiple power output ports, and a power supply control unit that controls the power supply to each device connected to the power output port. A device provided in a power input path leading to the power input port and a power supply path to each device leading to the power output port, and each power input port and a plurality of power output ports are turned on individually or collectively. A switching means for controlling / OFF (ON / OFF) switching, a power meter sensor provided in each of the power input path and the power supply path, and power flowing through each of the power input path and the power supply path by the power meter sensor. It has a power amount information acquisition unit that acquires quantity information, and the power supply control unit receives an input of a control signal created based on the power amount information, and uses the switching means based on the control signal. A non-instantaneous power supply device that controls the on / off (ON / OFF) switching operation.

 (3) バッテリを内蔵し、一つ以上の電源入力口、複数の電源出力口、及び前記電源出力口に接続された各機器への電源供給を制御する電源供給制御部を備える無瞬停電源装置であって、前記電源入力口に通じる電源入力路、及び前記電源出力口に通じる各機器への電源供給路に設けられ、各電源入力口および電源出力口を個別に又は複数一括してオン/オフ(ON/OFF)切り替え制御する切り替え手段と、
 前記バッテリの電気容量を検出する電気容量センサと、前記電気容量センサを通じて前記バッテリの電気容量の情報を取得するバッテリ容量情報取得部とを有し、前記電源供給制御部は、前記バッテリの電気容量の情報に基づいて作成される制御信号の入力を受け、該制御信号に基づき前記切り替え手段によるオン/オフ(ON/OFF)の切り替え動作を制御することを特徴とする無瞬停電源装置。
(3) Non-instantaneous power supply with a built-in battery, one or more power input ports, a plurality of power output ports, and a power supply control unit that controls power supply to each device connected to the power output port. A device provided in a power input path leading to the power input port and a power supply path to each device leading to the power output port, and each power input port and a plurality of power output ports are turned on individually or collectively. Switching means for / OFF (ON / OFF) switching control,
It has an electric capacity sensor that detects the electric capacity of the battery and a battery capacity information acquisition unit that acquires information on the electric capacity of the battery through the electric capacity sensor, and the power supply control unit has the electric capacity of the battery. A non-instantaneous power supply device characterized in that it receives an input of a control signal created based on the information of the above and controls an ON / OFF switching operation by the switching means based on the control signal.

 (4) (1)記載の無瞬停電源装置と、前記無瞬停電源装置に通信接続される管理コンピュータとを備える無瞬停電源システムであって、前記管理コンピュータは、前記各機器の状態情報を受信する状態情報受信処理部と、前記切り替え手段によるオン/オフ(ON/OFF)の切り替え動作を命令する制御信号を生成し、これを無瞬停電源装置に送信する制御信号生成処理部を備える、無瞬停電源システム。 (4) A non-instantaneous power supply system including the non-instantaneous power supply device according to (1) and a management computer communicatively connected to the non-instantaneous power supply device. A state information reception processing unit that receives information and a control signal generation processing unit that generates a control signal instructing an on / off (ON / OFF) switching operation by the switching means and transmits the control signal to the non-instantaneous power supply device. A non-instantaneous power supply system.

 (5) (2)記載の無瞬停電源装置と、前記無瞬停電源装置に通信接続される管理コンピュータとを備える無瞬停電源システムであって、前記管理コンピュータは、前記電源入力路及び電源供給路の各々を流れる電力量の情報を受信する電力量情報受信処理部と、前記切り替え手段によるオン/オフ(ON/OFF)の切り替え動作を命令する制御信号を生成し、これを無瞬停電源装置に送信する制御信号生成処理部を備える、無瞬停電源システム。 (5) A non-instantaneous power supply system including the non-instantaneous power supply device according to (2) and a management computer communicatively connected to the non-instantaneous power supply device. A power amount information receiving processing unit that receives information on the amount of power flowing through each of the power supply lines and a control signal that commands an on / off (ON / OFF) switching operation by the switching means are generated, and this is instantaneously generated. A non-instantaneous power supply system equipped with a control signal generation processing unit that transmits to the power supply stop.

 (6) (3)記載の無瞬停電源装置と、前記無瞬停電源装置に通信接続される管理コンピュータとを備える無瞬停電源システムであって、前記管理コンピュータは、前記バッテリの電気容量の情報を受信するバッテリ容量情報受信処理部と、前記切り替え手段によるオン/オフ(ON/OFF)の切り替え動作を命令する制御信号を生成し、これを無瞬停電源装置に送信する制御信号生成処理部を備える、無瞬停電源システム。 (6) A non-instantaneous power supply system including the non-instantaneous power supply device according to (3) and a management computer communicatively connected to the non-instantaneous power supply device, wherein the management computer has an electric capacity of the battery. The battery capacity information reception processing unit that receives the information of the above, and the control signal generation that commands the on / off (ON / OFF) switching operation by the switching means and transmits the control signal to the power supply device without instantaneous power failure A non-instantaneous power supply system equipped with a processing unit.

 以上にしてなる本願発明によれば、各機器との間で信号の授受を行う単又は複数の入出力接点と、入出力接点を通じて各機器の状態情報を取得する状態情報取得部と、電源出力口を個別に又は複数一括してオン/オフ(ON/OFF)切り替え制御する切り替え手段とを有し、電源供給制御部は、各機器の状態情報に基づいて作成される制御信号の入力を受け、該制御信号に基づき切り替え手段によるオン/オフ(ON/OFF)の切り替え動作を制御するので、各機器が動作不安定やフリーズになってしまったような異常が生じた場合に、当該機器への給電を停止すること等、各機器の状況に応じて電源出力口からの給電を個別管理し、効率のよい給電を簡易に行うことができる。 According to the invention of the present application as described above, a single or a plurality of input / output contacts for sending and receiving signals to and from each device, a state information acquisition unit for acquiring state information of each device through the input / output contacts, and a power supply output. It has a switching means for switching ON / OFF (ON / OFF) of multiple ports individually or collectively, and the power supply control unit receives an input of a control signal created based on the state information of each device. Since the ON / OFF switching operation by the switching means is controlled based on the control signal, when an abnormality such as unstable operation or freezing of each device occurs, the device is sent to the device. It is possible to manage the power supply from the power output port individually according to the situation of each device, such as stopping the power supply, and to easily perform efficient power supply.

 また、電源入力路及び前記電源供給路に各々設けられる電力計センサと、電力計センサにより電源入力路及び電源供給路の各々を流れる電力量の情報を取得する電力量情報取得部と、電源入力口および電源出力口を個別に又は複数一括してオン/オフ(ON/OFF)切り替え制御する切り替え手段とを有し、電源供給制御部は、前記電力量の情報に基づいて作成される制御信号の入力を受け、該制御信号に基づき切り替え手段によるオン/オフ(ON/OFF)の切り替え動作を制御するものでは、電源入力路や電源供給路に通常よりも大きな電流が流れたような漏電等の異常事態が発生した場合に、当該電力回路への給電を停止する等、状況に応じて入力口又は出力口をオン/オフ(ON/OFF)制御し、素早く安全確保することが簡易に可能になる。 Further, a wattmeter sensor provided in each of the power input path and the power supply path, an electric energy information acquisition unit for acquiring information on the amount of electric current flowing in each of the power input path and the power supply path by the wattmeter sensor, and a power input. It has a switching means for switching on / off (ON / OFF) of a port and a plurality of power output ports individually or collectively, and the power supply control unit is a control signal created based on the information on the electric energy. In the case of controlling the ON / OFF switching operation by the switching means based on the control signal, an electric leakage or the like in which a larger current than usual flows through the power input path or the power supply path, etc. In the event of an abnormal situation, it is possible to easily secure safety quickly by controlling the input port or output port on / off (ON / OFF) according to the situation, such as stopping the power supply to the power circuit. become.

 また、バッテリの電気容量を検出する電気容量センサと、電気容量センサを通じてバッテリの電気容量の情報を取得するバッテリ容量情報取得部と、電源入力口および電源出力口を個別に又は複数一括してオン/オフ(ON/OFF)切り替え制御する切り替え手段とを有し、電源供給制御部は、前記バッテリの電気容量の情報に基づいて作成される制御信号の入力を受け、該制御信号に基づき前記切り替え手段によるオン/オフ(ON/OFF)の切り替え動作を制御するものでは、バッテリの残容量に基づき、効率のよい運用、より適した給電を簡易に実現できる。 In addition, the capacitance sensor that detects the capacitance of the battery, the battery capacitance information acquisition unit that acquires the information of the capacitance of the battery through the capacitance sensor, and the power input port and the power output port are turned on individually or collectively. It has a switching means for controlling / OFF switching, and the power supply control unit receives an input of a control signal created based on the information of the electric capacity of the battery, and the switching is performed based on the control signal. In the one that controls the on / off (ON / OFF) switching operation by means, efficient operation and more suitable power supply can be easily realized based on the remaining capacity of the battery.

 また、本発明の無瞬停電源装置に通信接続される管理コンピュータを備えた無瞬停電源システムとすることにより、管理コンピュータは、上記各機器の状態情報や無瞬停電源装置の電力回路の電力量、バッテリ容量などの情報を受信し、無瞬停電源装置の切り替え手段によるオン/オフ(ON/OFF)の切り替え動作を命令する制御信号を生成・送信できるので、遠隔地にて、いつでもどこでも接続機器を一括管理し、必要に応じて電源入出力口の個別制御ができる多機能な無瞬停電源システムをコストを掛けることなく簡易に提供できる。 Further, by adopting a non-instantaneous power supply system including a management computer for communication connection to the non-instantaneous power supply device of the present invention, the management computer can be used for the status information of each of the above devices and the power circuit of the non-instantaneous power supply device. It can receive information such as the amount of power and battery capacity, and generate and transmit control signals that command the ON / OFF switching operation by the switching means of the non-instantaneous power supply device, so it can be generated and transmitted at any time in a remote location. It is possible to easily provide a multifunctional non-instantaneous power supply system that can collectively manage connected devices anywhere and individually control power input / output ports as needed, without incurring costs.

本発明の代表的実施形態に係る無瞬停電源システムの構成を示す説明図。The explanatory view which shows the structure of the instantaneous power failure power supply system which concerns on the typical embodiment of this invention. 入力口切り換えモジュールの構成を示すブロック図。The block diagram which shows the structure of the input port switching module. 出力口切り換えモジュールの構成を示すブロック図。The block diagram which shows the structure of the output port switching module. 無瞬停電源装置の制御部の構成を示すブロック図。The block diagram which shows the structure of the control part of the non-instantaneous power supply device. 管理コンピュータの構成を示すブロック図。A block diagram showing the configuration of the management computer.

 次に、本発明の代表的実施形態に係る無瞬停電源装置及びこれを備える無瞬停電源システムについて、添付図面に基づき詳細に説明する。 Next, a non-instantaneous power supply device according to a typical embodiment of the present invention and a non-instantaneous power supply system including the same will be described in detail based on the attached drawings.

 本実施形態にかかる無瞬停電源装置1は、図1に示すように、バッテリ(蓄電池)2を内蔵し、一つ以上の電源入力口(AC入力口31、DC入力口32)、複数の電源出力口(AC出力口33、DC出力口34)、及び少なくとも電源出力口(33/34)に接続される各機器への電源供給を制御する電源供給制御部(制御部4)を備えている。バッテリ2は、バッテリの保護・安全・性能確保のためのBMS(Battery Management Systems)20やバッテリの電気容量を検出する電気容量センサ21を備え、制御部4によりBMS20を介してバッテリの状態を把握できる。 As shown in FIG. 1, the non-instantaneous power supply device 1 according to the present embodiment has a built-in battery (storage battery) 2, one or more power input ports (AC input port 31, DC input port 32), and a plurality of power input ports (AC input port 31). A power supply control unit (control unit 4) for controlling power supply to each device connected to a power output port (AC output port 33, DC output port 34) and at least a power output port (33/34) is provided. There is. The battery 2 includes a BMS (Battery Management Systems) 20 for protecting, safety, and ensuring performance of the battery and an electric capacity sensor 21 for detecting the electric capacity of the battery, and the control unit 4 grasps the state of the battery via the BMS 20. can.

 また、無瞬停電源装置1は、遠隔の管理センターの管理コンピュータ5と通信ネットワークNを通じて通信接続するための通信モジュール11と、電源供給する各機器や、各機器に付属の、或いは他の別電源(乾電池など)で動作する独立のセンサ、スイッチ、ライト、ブザーなどと信号の授受を行い、遠隔監視するための入出力信号モジュール12と、入力口31/32を個別に又は複数一括してオン/オフ(ON/OFF)切り替え制御する切り替え手段としての入力口切り換えモジュール13と、出力口33/34を個別に又は複数一括してオン/オフ(ON/OFF)切り替え制御する切り替え手段としての出力口切り換えモジュール14と、バッテリ2への入力路101に設けられるAC/DCコンバータ15及びDC/DCコンバータ16と、バッテリ2からの供給路102に設けられるDC/ACインバータ17及びDC/DCコンバータ18と、AC入力を直接出力するためのバイパス路103を開閉する制御器19を備えている。 Further, the non-instantaneous power supply device 1 includes a communication module 11 for communicating with a management computer 5 in a remote management center through a communication network N, each device for supplying power, and another device attached to each device or another. Input / output signal module 12 for remote monitoring by exchanging signals with independent sensors, switches, lights, buzzers, etc. that operate on a power source (dry battery, etc.) and input ports 31/32 individually or collectively. The input port switching module 13 as a switching means for on / off (ON / OFF) switching control and the output port 33/34 as a switching means for turning on / off (ON / OFF) switching control individually or collectively. The output port switching module 14, the AC / DC converter 15 and the DC / DC converter 16 provided in the input path 101 to the battery 2, and the DC / AC inverter 17 and the DC / DC converter provided in the supply path 102 from the battery 2. It includes 18 and a controller 19 that opens and closes a bypass path 103 for directly outputting an AC input.

 入力口切り換えモジュール13は、図1に示すように、電源入力路101のAC入力口31とAC/DCコンバータ15の間の位置、及びDC入力口32とDC/DCコンバータ16の間の位置に、それぞれ設けられている。また、出力口切り換えモジュール14は、電源供給路102のDC/ACインバータ17とAC出力口33の間の位置、及びDC/DCコンバータ18とDC出力口34との間の位置にそれぞれ設けられている。 As shown in FIG. 1, the input port switching module 13 is located at a position between the AC input port 31 and the AC / DC converter 15 of the power input path 101 and a position between the DC input port 32 and the DC / DC converter 16. , Each is provided. Further, the output port switching module 14 is provided at a position between the DC / AC inverter 17 and the AC output port 33 of the power supply path 102 and a position between the DC / DC converter 18 and the DC output port 34, respectively. There is.

 バイパス路103は、電源入力路101のAC入力口31と上記入力口切り換えモジュール13の間の位置から分岐し、電源供給路102のDC/ACインバータ17と出力口切り換えモジュール14の間の位置に接続する回路であり、分岐または接続位置に上記制御器19が設けられる。 The bypass path 103 branches from the position between the AC input port 31 of the power input path 101 and the input port switching module 13, and is located at the position between the DC / AC inverter 17 and the output port switching module 14 of the power supply path 102. It is a circuit to be connected, and the controller 19 is provided at a branch or connection position.

 入出力信号モジュール12は、I/O(入出力)接点などを備える。入力接点としては、公知のフォトカプラ絶縁型接点入力端子などを用いることができ、出力接点には公知のリレー絶縁型の接点出力端子などを用いることができる。この入出力信号モジュール12により当該接点に接続された機器を簡単にIOT化でき、遠隔での状態監視や制御が実現されることになる。具体的には、上述のとおり独自の電源を有するセンサやスイッチなどを接続して各機器と連携動作させることも可能であり、たとえば独立電源(乾電池など)を有する人感センサからの入力変化を検知して、所定の機器への出力接点動作あるいは電源供給を制御するようなことが可能となる。 The input / output signal module 12 includes an I / O (input / output) contact and the like. As the input contact, a known photocoupler insulated contact input terminal or the like can be used, and as the output contact, a known relay insulated contact output terminal or the like can be used. With this input / output signal module 12, the device connected to the contact can be easily converted into IOT, and remote status monitoring and control can be realized. Specifically, as described above, it is also possible to connect sensors and switches that have their own power supply to operate in cooperation with each device. For example, input changes from a motion sensor that has an independent power supply (dry cell, etc.) It is possible to detect and control the output contact operation or power supply to a predetermined device.

 入力口切り換えモジュール13は、図2Aに示すように、入力口31/32をオン/オフ(ON/OFF)切り替えする制御器131よりなり、さらに電力計センサ132が設けられている。出力口切り換えモジュール14は、図2Bに示すように、出力口33/34をオン/オフ(ON/OFF)切り替えする制御器141よりなり、さらに電力計センサ142が設けられている。本例ではこのように電力計センサ132、142が、それぞれ入力口切り換えモジュール13、出力口切り換えモジュール14の内部に設けられているが、電源入力路101、電源供給路102上の他の位置に独立して設けることも勿論できる。 As shown in FIG. 2A, the input port switching module 13 includes a controller 131 that switches the input port 31/32 on / off (ON / OFF), and is further provided with a power meter sensor 132. As shown in FIG. 2B, the output port switching module 14 includes a controller 141 that switches the output port 33/34 on / off (ON / OFF), and is further provided with a power meter sensor 142. In this example, the wattmeter sensors 132 and 142 are provided inside the input port switching module 13 and the output port switching module 14, respectively, but at other positions on the power input path 101 and the power supply path 102, respectively. Of course, it can be provided independently.

 電源供給制御部は、制御部4のプログラムによる処理で実現される。制御部4は、マイクロプロセッサなどのCPUやMPUを主体に構成され、図示しないRAM、ROMからなる記憶部を有して各種処理動作の手順を規定するプログラムや処理データが記憶される。 The power supply control unit is realized by processing by the program of the control unit 4. The control unit 4 is mainly composed of a CPU such as a microprocessor or an MPU, has a storage unit including a RAM and a ROM (not shown), and stores programs and processing data that define procedures for various processing operations.

 制御部4は、機能的には、図3に示すように、入出力信号モジュール12を通じて各機器の状態情報を取得し、管理コンピュータ5に送信する状態情報取得部としての状態取得処理部41と、電力計センサ132、142により電源入力路101及び電源供給路102の各々を流れる電力量の情報を取得し、管理コンピュータ5に送信する電力量情報取得部としての電力量取得処理部42と、電気容量センサ21(本例ではさらにBMS20)を通じてバッテリ2の電気容量の情報を取得し、管理コンピュータ5に送信するバッテリ容量情報取得部としてのバッテリ容量取得処理部43と、入力口の切り換え処理を行う入力口切り換え処理部441、及び出力口の切り換え処理を行う出力口切り換え処理部442からなる電源供給制御部44とを備えており、これら機能は上記プログラム等により実現される。 Functionally, as shown in FIG. 3, the control unit 4 has a state acquisition processing unit 41 as a state information acquisition unit that acquires the state information of each device through the input / output signal module 12 and transmits the state information to the management computer 5. , The electric energy acquisition processing unit 42 as an electric energy information acquisition unit that acquires information on the electric energy flowing through each of the power input path 101 and the power supply path 102 by the electric energy meter sensors 132 and 142 and transmits the information to the management computer 5. The battery capacity acquisition processing unit 43 as the battery capacity information acquisition unit that acquires the electric capacity information of the battery 2 through the electric capacity sensor 21 (further BMS20 in this example) and transmits it to the management computer 5 and the input port switching process. It is provided with a power supply control unit 44 including an input port switching processing unit 441 to perform input port switching processing unit 441 and an output port switching processing unit 442 to perform output port switching processing, and these functions are realized by the above program or the like.

 電源供給制御部44は、より詳しくは、後述する管理コンピュータ5により、上記各機器の状態情報や電源入力路及び電源供給路の各々を流れる電力量、バッテリの電気容量の情報に基づき、作成される制御信号の入力を受け、該制御信号に基づき、入力口切り換え処理部441又は出力口切り換え処理部442により入力口/出力口のオン/オフ(ON/OFF)切り替え動作を制御する。 More specifically, the power supply control unit 44 is created by the management computer 5, which will be described later, based on the state information of each of the above devices, the amount of power flowing through each of the power input path and the power supply path, and the electric capacity of the battery. The input of the control signal is received, and the on / off (ON / OFF) switching operation of the input port / output port is controlled by the input port switching processing unit 441 or the output port switching processing unit 442 based on the control signal.

 本実施形態にかかる無瞬停電源システムSは、図1に示すように、無瞬停電源装置1に対し、通信ネットワークNを介して通信接続される遠隔管理センサー等に設けられる管理コンピュータ5を備えている。通信ネットワークNは、遠隔地間の通信手段として既存のネットワークを利用できる。通信モジュール11には有線LAN(Local Area Network)や無線LAN(たとえばWiFi)または3G/4G/5Gなどの携帯電話通信網などを利用できる。 As shown in FIG. 1, the non-instantaneous power supply system S according to the present embodiment provides a management computer 5 provided in a remote management sensor or the like connected to the non-instantaneous power supply device 1 via a communication network N. I have. The communication network N can use an existing network as a means of communication between remote locations. A wired LAN (Local Area Network), a wireless LAN (for example, WiFi), or a mobile phone communication network such as 3G / 4G / 5G can be used for the communication module 11.

 管理コンピュータ5は、図4に示すように、処理装置50と記憶手段51とを備える単または複数のコンピュータで構成され、具体的には、処理装置50を中心に、記憶手段51、通信制御部52、図示しない入力操作手段としてポインティングデバイスやキーボード、ディスプレイなどよりなる従来から汎用されているコンピュータ装置を用いることができる。 As shown in FIG. 4, the management computer 5 is composed of a single computer or a plurality of computers including the processing device 50 and the storage means 51. Specifically, the storage means 51 and the communication control unit are centered on the processing device 50. 52. As an input operation means (not shown), a conventional computer device including a pointing device, a keyboard, a display, or the like can be used.

 処理装置50は、マイクロプロセッサなどのCPUを主体に構成され、図示しないRAM、ROMからなる記憶部を有して各種処理動作の手順を規定するプログラムや処理データが記憶される。記憶手段51は、管理コンピュータ5内外のメモリやハードディスクなどからなる。管理コンピュータ5に通信接続された他のコンピュータのメモリやハードディスクなどで一部又は全部の記憶部の内容を記憶してもよい。 The processing device 50 is mainly composed of a CPU such as a microprocessor, has a storage unit including a RAM and a ROM (not shown), and stores programs and processing data that define procedures for various processing operations. The storage means 51 includes memories, hard disks, and the like inside and outside the management computer 5. The contents of a part or all of the storage unit may be stored in the memory or hard disk of another computer connected to the management computer 5 by communication.

 処理装置50は、機能的には、無瞬停電源装置1から各機器の状態情報を受信し、当該情報を記憶手段51の状態記憶部51aに記憶する状態情報受信処理部50aと、当該各機器の状態情報に基づき、切り替え手段によるオン/オフ(ON/OFF)の切り替え動作を命令する制御信号を生成し、これを無瞬停電源装置に送信する制御信号生成処理部50bと、無瞬停電源装置1から電源入力路101及び電源供給路102の各々を流れる電力量の情報を受信し、記憶手段51の電力量記憶部51bに記憶する電力量情報受信処理部50cと、当該電力量の情報に基づき、切り替え手段によるオン/オフ(ON/OFF)の切り替え動作を命令する制御信号を生成し、これを無瞬停電源装置に送信する制御信号生成処理部50dと、無瞬停電源装置1からバッテリの電気容量の情報を受信し、記憶手段51のバッテリ容量記憶部51cに記憶するバッテリ容量情報受信処理部50eと、当該バッテリ容量の情報に基づき、切り替え手段によるオン/オフ(ON/OFF)の切り替え動作を命令する制御信号を生成し、これを無瞬停電源装置1に送信する制御信号生成処理部50fとを備えており、これらの処理機能は上記プログラムにより実現される。 Functionally, the processing device 50 receives the state information of each device from the non-instantaneous power supply device 1 and stores the information in the state storage unit 51a of the storage means 51, and the state information receiving processing unit 50a and each of the above. Based on the device status information, the control signal generation processing unit 50b that generates a control signal that commands the ON / OFF switching operation by the switching means and transmits this to the non-instantaneous power supply device, and the non-instantaneous power supply device. The power amount information receiving processing unit 50c that receives information on the amount of power flowing through each of the power input path 101 and the power supply path 102 from the power stop device 1 and stores it in the power amount storage unit 51b of the storage means 51, and the power amount. A control signal generation processing unit 50d that generates a control signal instructing an ON / OFF switching operation by the switching means and transmits the control signal to the non-instantaneous power supply device based on the information of Based on the battery capacity information reception processing unit 50e that receives information on the electric capacity of the battery from the device 1 and stores it in the battery capacity storage unit 51c of the storage means 51, and the information on the battery capacity, it is turned on / off (ON) by the switching means. It is provided with a control signal generation processing unit 50f that generates a control signal instructing a switching operation of (/ OFF) and transmits the control signal to the non-instantaneous power supply device 1, and these processing functions are realized by the above program.

 無瞬停電源装置1はバッテリ2を内蔵するとともに、DC入力口32も備えているので、停電時も管理コンピュータ5への情報の送信は途絶えることなく行われ、管理コンピュータ5により確実に遠隔管理することが可能である。 Since the non-instantaneous power supply device 1 has a built-in battery 2 and also has a DC input port 32, information can be continuously transmitted to the management computer 5 even in the event of a power failure, and the management computer 5 ensures remote management. It is possible to do.

 制御信号生成処理部50bが生成・送信する制御信号の例としては、各機器が動作不安定やフリーズになってしまったような異常な状態情報を取得した場合に、当該機器への給電をその間停止したり、正常に戻った場合に起動したりするべく、出力口切り換え処理部442により出力口のオン/オフ(ON/OFF)切り替え動作を制御するための信号を生成することが考えられる。 As an example of the control signal generated / transmitted by the control signal generation processing unit 50b, when each device acquires abnormal state information such as operation instability or freeze, power is supplied to the device during that time. It is conceivable that the output port switching processing unit 442 generates a signal for controlling the ON / OFF switching operation of the output port in order to stop or start when the normal state is restored.

 制御信号生成処理部50dが生成・送信する制御信号の例としては、電源入力路や電源供給路に通常よりも大きな電流が流れたような情報を取得した場合に、漏電等の異常事態が発生したとして、当該電力回路への給電を停止するべく、入力口切り換え処理部441又は出力口切り換え処理部442により該当する入力口又は出力口のオン/オフ(ON/OFF)切り替え動作を制御するための信号を生成することが考えられる。 As an example of the control signal generated / transmitted by the control signal generation processing unit 50d, an abnormal situation such as electric leakage occurs when information such as a larger current flowing through the power input path or the power supply path is acquired. Therefore, in order to stop the power supply to the power circuit, the input port switching processing unit 441 or the output port switching processing unit 442 controls the ON / OFF switching operation of the corresponding input port or output port. It is conceivable to generate the signal of.

 また、制御信号生成処理部50fが生成・送信する制御信号の例としては、バッテリの残容量に基づき、効率のよい運用、より適した給電を実現するべく、入力口切り換え処理部441又は出力口切り換え処理部442により該当する入力口又は出力口のオン/オフ(ON/OFF)切り替え動作を制御するための信号を生成することが考えられる。 Further, as an example of the control signal generated / transmitted by the control signal generation processing unit 50f, the input port switching processing unit 441 or the output port is used to realize efficient operation and more suitable power supply based on the remaining capacity of the battery. It is conceivable that the switching processing unit 442 generates a signal for controlling the ON / OFF switching operation of the corresponding input port or output port.

 例えば、バッテリが満充電またはそれに近い容量の場合、外部入力電源よりもバッテリ電源を使用するべく、入力口切り換え処理部441により入力口をOFFにして停電モードにする制御信号を生成し、バッテリ容量が所定量以下になれば外部入力を再開する制御信号を生成するようなことや、とくに停電の場合において、バッテリの残容量に基づき、給電する機器を重要度に応じて選択するべく出力口切り換え処理部442による出力口のオン/オフ(ON/OFF)切り替え動作を制御する信号を生成するようなことが考えられる。 For example, when the battery is fully charged or has a capacity close to that of the battery, the input port switching processing unit 441 generates a control signal to turn off the input port to enter the power failure mode in order to use the battery power source rather than the external input power source, and the battery capacity. Output port switching to generate a control signal to restart the external input when is less than the specified amount, and to select the device to supply power according to the importance based on the remaining capacity of the battery, especially in the case of a power failure. It is conceivable to generate a signal for controlling the ON / OFF switching operation of the output port by the processing unit 442.

 これら制御信号は無瞬停電源装置1から受けた情報に基づき、あらかじめ用意された制御信号から人が判断して選択(入力)するようにしてもよい。 These control signals may be selected (input) by a person from the control signals prepared in advance based on the information received from the non-instantaneous power supply device 1.

 以上、本発明の実施形態について説明したが、本発明はこうした実施例に何ら限定されるものではなく、例えば、無瞬停電源装置の制御部における処理装置をコンピュータによるソフトウエア処理で構成する代わりに、一部又は全部をハードウエア処理回路で構成することも好ましく、その他、本発明の要旨を逸脱しない範囲において種々なる形態で実施し得ることは勿論である。 Although the embodiment of the present invention has been described above, the present invention is not limited to such an embodiment. For example, instead of configuring the processing device in the control unit of the non-instantaneous power supply device by software processing by a computer. In addition, it is preferable that a part or the whole is composed of a hardware processing circuit, and it is needless to say that it can be carried out in various forms without departing from the gist of the present invention.

 1 無瞬停電源装置
 2 バッテリ
 4 制御部
 5 管理コンピュータ
 11 通信モジュール
 12 入出力信号モジュール
 13 入力口切り換えモジュール
 14 出力口切り換えモジュール
 15 AC/DCコンバータ
 16 DC/DCコンバータ
 17 DC/ACインバータ
 18 DC/DCコンバータ
 19 制御器
 20 BMS
 21 電気容量センサ
 31、32 入力口
 33、34 出力口
 41 状態取得処理部
 42 電力量取得処理部
 43 バッテリ容量取得処理部
 44 電源供給制御部
 50 処理装置
 50a 状態情報受信処理部
 50b 制御信号生成処理部
 50c 電力量情報受信処理部
 50d 制御信号生成処理部
 50e バッテリ容量情報受信処理部
 50f 制御信号生成処理部
 51 記憶手段
 51a 状態記憶部
 51b 電力量記憶部
 51c バッテリ容量記憶部
 52 通信制御部
 101 入力路
 102 供給路
 103 バイパス路
 131 制御器
 132 電力計センサ
 141 制御器
 142 電力計センサ
 441 入力口切り換え処理部
 442 出力口切り換え処理部
 N 通信ネットワーク
 S 無瞬停電源システム
 
1 Instantaneous power supply 2 Battery 4 Control unit 5 Management computer 11 Communication module 12 Input / output signal module 13 Input port switching module 14 Output port switching module 15 AC / DC converter 16 DC / DC converter 17 DC / AC inverter 18 DC / DC converter 19 controller 20 BMS
21 Electric capacity sensor 31, 32 Input port 33, 34 Output port 41 Status acquisition processing unit 42 Electric energy acquisition processing unit 43 Battery capacity acquisition processing unit 44 Power supply control unit 50 Processing device 50a Status information reception processing unit 50b Control signal generation processing 50c Electric energy information reception processing unit 50d Control signal generation processing unit 50e Battery capacity information reception processing unit 50f Control signal generation processing unit 51 Storage means 51a State storage unit 51b Electric energy storage unit 51c Battery capacity storage unit 52 Communication control unit 101 Input Road 102 Supply path 103 Bypass path 131 Controller 132 Electric energy meter sensor 141 Controller 142 Electric energy meter sensor 441 Input port switching processing unit 442 Output port switching processing unit N Communication network S Instantaneous power supply system

Claims (6)

 バッテリを内蔵し、一つ以上の電源入力口、複数の電源出力口、及び前記電源出力口に接続された各機器への電源供給を制御する電源供給制御部を備える無瞬停電源装置であって、
 前記電源出力口に通じる各機器への電源供給路に設けられ、各電源出力口を個別に又は複数一括してオン/オフ(ON/OFF)切り替え制御する切り替え手段と、
 前記各機器との間で信号の授受を行う単又は複数の入出力接点と、
 前記入出力接点を通じて各機器の状態情報を取得する状態情報取得部とを有し、
 前記電源供給制御部は、各機器の状態情報に基づいて作成される制御信号の入力を受け、該制御信号に基づき前記切り替え手段によるオン/オフ(ON/OFF)の切り替え動作を制御することを特徴とする無瞬停電源装置。
It is a non-instantaneous power supply device that has a built-in battery and is equipped with one or more power input ports, a plurality of power output ports, and a power supply control unit that controls power supply to each device connected to the power output ports. hand,
A switching means provided in the power supply path to each device leading to the power output port and controlling ON / OFF switching of each power output port individually or collectively.
A single or multiple input / output contacts that send and receive signals to and from each of the above devices,
It has a status information acquisition unit that acquires status information of each device through the input / output contact.
The power supply control unit receives an input of a control signal created based on the state information of each device, and controls an ON / OFF switching operation by the switching means based on the control signal. A featured non-instantaneous power supply.
 バッテリを内蔵し、一つ以上の電源入力口、複数の電源出力口、及び前記電源出力口に接続された各機器への電源供給を制御する電源供給制御部を備える無瞬停電源装置であって、
 前記電源入力口に通じる電源入力路、及び前記電源出力口に通じる各機器への電源供給路に設けられ、各電源入力口および電源出力口を個別に又は複数一括してオン/オフ(ON/OFF)切り替え制御する切り替え手段と、
 前記電源入力路及び前記電源供給路に各々設けられる電力計センサと、
 前記電力計センサにより前記電源入力路及び電源供給路の各々を流れる電力量の情報を取得する電力量情報取得部とを有し、
 前記電源供給制御部は、前記電力量の情報に基づいて作成される制御信号の入力を受け、該制御信号に基づき前記切り替え手段によるオン/オフ(ON/OFF)の切り替え動作を制御することを特徴とする無瞬停電源装置。
It is a non-instantaneous power supply device that has a built-in battery and is equipped with one or more power input ports, a plurality of power output ports, and a power supply control unit that controls power supply to each device connected to the power output ports. hand,
It is provided in the power input path leading to the power input port and the power supply path to each device leading to the power output port, and each power input port and a plurality of power output ports are turned on / off individually or collectively. OFF) Switching means for switching control and
A wattmeter sensor provided in each of the power input path and the power supply path, and
It has a power amount information acquisition unit that acquires information on the amount of power flowing through each of the power input path and the power supply path by the power meter sensor.
The power supply control unit receives an input of a control signal created based on the information of the electric energy, and controls an ON / OFF switching operation by the switching means based on the control signal. A featured non-instantaneous power supply.
 バッテリを内蔵し、一つ以上の電源入力口、複数の電源出力口、及び前記電源出力口に接続された各機器への電源供給を制御する電源供給制御部を備える無瞬停電源装置であって、
 前記電源入力口に通じる電源入力路、及び前記電源出力口に通じる各機器への電源供給路に設けられ、各電源入力口および電源出力口を個別に又は複数一括してオン/オフ(ON/OFF)切り替え制御する切り替え手段と、
 前記バッテリの電気容量を検出する電気容量センサと、
 前記電気容量センサを通じて前記バッテリの電気容量の情報を取得するバッテリ容量情報取得部とを有し、
 前記電源供給制御部は、前記バッテリの電気容量の情報に基づいて作成される制御信号の入力を受け、該制御信号に基づき前記切り替え手段によるオン/オフ(ON/OFF)の切り替え動作を制御することを特徴とする無瞬停電源装置。
It is a non-instantaneous power supply device that has a built-in battery and is equipped with one or more power input ports, a plurality of power output ports, and a power supply control unit that controls power supply to each device connected to the power output ports. hand,
It is provided in the power input path leading to the power input port and the power supply path to each device leading to the power output port, and each power input port and a plurality of power output ports are turned on / off individually or collectively. OFF) Switching means for switching control and
An electric capacity sensor that detects the electric capacity of the battery and
It has a battery capacity information acquisition unit that acquires information on the electric capacity of the battery through the electric capacity sensor.
The power supply control unit receives an input of a control signal created based on information on the electric capacity of the battery, and controls an ON / OFF switching operation by the switching means based on the control signal. A non-instantaneous power supply that is characterized by this.
 請求項1記載の無瞬停電源装置と、
 前記無瞬停電源装置に通信接続される管理コンピュータとを備える無瞬停電源システムであって、
 前記管理コンピュータは、
 前記各機器の状態情報を受信する状態情報受信処理部と、
 前記切り替え手段によるオン/オフ(ON/OFF)の切り替え動作を命令する制御信号を生成し、これを無瞬停電源装置に送信する制御信号生成処理部を備える、無瞬停電源システム。
The non-instantaneous power supply device according to claim 1 and
A non-instantaneous power supply system including a management computer that is communicatively connected to the non-instantaneous power supply device.
The management computer
A status information reception processing unit that receives the status information of each device, and
A non-instantaneous power supply system including a control signal generation processing unit that generates a control signal instructing an on / off (ON / OFF) switching operation by the switching means and transmits the control signal to the non-instantaneous power supply device.
 請求項2記載の無瞬停電源装置と、
 前記無瞬停電源装置に通信接続される管理コンピュータとを備える無瞬停電源システムであって、
 前記管理コンピュータは、
 前記電源入力路及び電源供給路の各々を流れる電力量の情報を受信する電力量情報受信処理部と、
 前記切り替え手段によるオン/オフ(ON/OFF)の切り替え動作を命令する制御信号を生成し、これを無瞬停電源装置に送信する制御信号生成処理部を備える、無瞬停電源システム。
The non-instantaneous power supply device according to claim 2 and
A non-instantaneous power supply system including a management computer that is communicatively connected to the non-instantaneous power supply device.
The management computer
A power amount information receiving processing unit that receives information on the amount of power flowing through each of the power input path and the power supply path, and a power amount information receiving processing unit.
A non-instantaneous power supply system including a control signal generation processing unit that generates a control signal instructing an on / off (ON / OFF) switching operation by the switching means and transmits the control signal to the non-instantaneous power supply device.
 請求項3記載の無瞬停電源装置と、
 前記無瞬停電源装置に通信接続される管理コンピュータとを備える無瞬停電源システムであって、
 前記管理コンピュータは、
 前記バッテリの電気容量の情報を受信するバッテリ容量情報受信処理部と、
 前記切り替え手段によるオン/オフ(ON/OFF)の切り替え動作を命令する制御信号を生成し、これを無瞬停電源装置に送信する制御信号生成処理部を備える、無瞬停電源システム。
 
The non-instantaneous power supply device according to claim 3 and
A non-instantaneous power supply system including a management computer that is communicatively connected to the non-instantaneous power supply device.
The management computer
A battery capacity information receiving processing unit that receives information on the electric capacity of the battery, and a battery capacity information receiving processing unit.
A non-instantaneous power supply system including a control signal generation processing unit that generates a control signal instructing an on / off (ON / OFF) switching operation by the switching means and transmits the control signal to the non-instantaneous power supply device.
PCT/JP2021/005470 2020-02-18 2021-02-15 Uninterruptible power supply and uninterruptible power supply system equipped with same Ceased WO2021166838A1 (en)

Applications Claiming Priority (2)

Application Number Priority Date Filing Date Title
JP2020024987A JP7687648B2 (en) 2020-02-18 2020-02-18 Uninterruptible power supply device and uninterruptible power supply system equipped with the same
JP2020-024987 2020-02-18

Publications (1)

Publication Number Publication Date
WO2021166838A1 true WO2021166838A1 (en) 2021-08-26

Family

ID=77391163

Family Applications (1)

Application Number Title Priority Date Filing Date
PCT/JP2021/005470 Ceased WO2021166838A1 (en) 2020-02-18 2021-02-15 Uninterruptible power supply and uninterruptible power supply system equipped with same

Country Status (3)

Country Link
JP (1) JP7687648B2 (en)
TW (1) TW202137667A (en)
WO (1) WO2021166838A1 (en)

Families Citing this family (1)

* Cited by examiner, † Cited by third party
Publication number Priority date Publication date Assignee Title
JP7572585B1 (en) * 2024-05-21 2024-10-23 ソフトバンク株式会社 Power supply relay device, power supply system and mounting device

Citations (2)

* Cited by examiner, † Cited by third party
Publication number Priority date Publication date Assignee Title
JPH0915285A (en) * 1995-06-30 1997-01-17 Nippon Densan Setsubi Kk Remote monitoring device for uninterruptible power supply
JP2010098864A (en) * 2008-10-17 2010-04-30 Omron Corp Power distribution device, information processing apparatus, and uninterruptible power supply management system

Family Cites Families (2)

* Cited by examiner, † Cited by third party
Publication number Priority date Publication date Assignee Title
JPH06165411A (en) * 1992-11-13 1994-06-10 Fuji Electric Co Ltd Uninterruptible power supply
JP2010088170A (en) * 2008-09-30 2010-04-15 Omron Corp Uninterruptible power supply device, information processor, and uninterruptible power supply management system

Patent Citations (2)

* Cited by examiner, † Cited by third party
Publication number Priority date Publication date Assignee Title
JPH0915285A (en) * 1995-06-30 1997-01-17 Nippon Densan Setsubi Kk Remote monitoring device for uninterruptible power supply
JP2010098864A (en) * 2008-10-17 2010-04-30 Omron Corp Power distribution device, information processing apparatus, and uninterruptible power supply management system

Also Published As

Publication number Publication date
JP2021132419A (en) 2021-09-09
TW202137667A (en) 2021-10-01
JP7687648B2 (en) 2025-06-03

Similar Documents

Publication Publication Date Title
JP6602782B2 (en) Apparatus and method for supplying uninterruptible power to PoE device
AU2012312715B2 (en) Fault detection for parallel inverters system
AU2012312714A1 (en) Parallel control and protection for UPS
EP3001536A1 (en) Communication system, method for controlling power supply, and non-transitory computer readable medium for controlling power supply
WO2021166838A1 (en) Uninterruptible power supply and uninterruptible power supply system equipped with same
JP2016208634A (en) Charging system
CN111431269A (en) Data center power supply system and corresponding control method
JP2009124911A (en) Power-feeding controller
WO2020215583A1 (en) Battery pack monitoring system and method
CN113783295A (en) Remote control device and method for power distribution system
JP3072644B2 (en) Uninterruptible power supply and system
JP2022100785A (en) Interlock system
CN108695566B (en) Synchronous control system architecture for improving energy-saving efficiency
CN223597862U (en) A power monitoring system, server and data center
JP7088372B2 (en) Switch device
JP4830940B2 (en) Power line carrier communication system
JP2010098860A (en) Power feeding system and work space
JP2018064430A (en) Charge / discharge device and power control device
JP2022072557A (en) Charge and discharge system
US20240223392A1 (en) Network unit, power supply device, maintenance system, computer program, and power supply device data transmission method
CN103944253A (en) Online power supply system for wireless base station internal equipment
JP3062157B2 (en) Electronic device with sub power supply circuit for battery control circuit
JP2914044B2 (en) Battery backup method
CN202888952U (en) Power control box with standby power source
JP3097578U (en) Programmable power output type uninterruptible power supply

Legal Events

Date Code Title Description
121 Ep: the epo has been informed by wipo that ep was designated in this application

Ref document number: 21756940

Country of ref document: EP

Kind code of ref document: A1

NENP Non-entry into the national phase

Ref country code: DE

122 Ep: pct application non-entry in european phase

Ref document number: 21756940

Country of ref document: EP

Kind code of ref document: A1