WO2021065254A1 - 磁石、膜、積層体、モータ、発電機、及び、自動車 - Google Patents
磁石、膜、積層体、モータ、発電機、及び、自動車 Download PDFInfo
- Publication number
- WO2021065254A1 WO2021065254A1 PCT/JP2020/032132 JP2020032132W WO2021065254A1 WO 2021065254 A1 WO2021065254 A1 WO 2021065254A1 JP 2020032132 W JP2020032132 W JP 2020032132W WO 2021065254 A1 WO2021065254 A1 WO 2021065254A1
- Authority
- WO
- WIPO (PCT)
- Prior art keywords
- magnet
- phase
- film
- atomic
- layer
- Prior art date
- Legal status (The legal status is an assumption and is not a legal conclusion. Google has not performed a legal analysis and makes no representation as to the accuracy of the status listed.)
- Ceased
Links
Images
Classifications
-
- C—CHEMISTRY; METALLURGY
- C22—METALLURGY; FERROUS OR NON-FERROUS ALLOYS; TREATMENT OF ALLOYS OR NON-FERROUS METALS
- C22C—ALLOYS
- C22C19/00—Alloys based on nickel or cobalt
- C22C19/03—Alloys based on nickel or cobalt based on nickel
-
- C—CHEMISTRY; METALLURGY
- C22—METALLURGY; FERROUS OR NON-FERROUS ALLOYS; TREATMENT OF ALLOYS OR NON-FERROUS METALS
- C22C—ALLOYS
- C22C19/00—Alloys based on nickel or cobalt
- C22C19/07—Alloys based on nickel or cobalt based on cobalt
-
- C—CHEMISTRY; METALLURGY
- C22—METALLURGY; FERROUS OR NON-FERROUS ALLOYS; TREATMENT OF ALLOYS OR NON-FERROUS METALS
- C22C—ALLOYS
- C22C38/00—Ferrous alloys, e.g. steel alloys
-
- C—CHEMISTRY; METALLURGY
- C23—COATING METALLIC MATERIAL; COATING MATERIAL WITH METALLIC MATERIAL; CHEMICAL SURFACE TREATMENT; DIFFUSION TREATMENT OF METALLIC MATERIAL; COATING BY VACUUM EVAPORATION, BY SPUTTERING, BY ION IMPLANTATION OR BY CHEMICAL VAPOUR DEPOSITION, IN GENERAL; INHIBITING CORROSION OF METALLIC MATERIAL OR INCRUSTATION IN GENERAL
- C23C—COATING METALLIC MATERIAL; COATING MATERIAL WITH METALLIC MATERIAL; SURFACE TREATMENT OF METALLIC MATERIAL BY DIFFUSION INTO THE SURFACE, BY CHEMICAL CONVERSION OR SUBSTITUTION; COATING BY VACUUM EVAPORATION, BY SPUTTERING, BY ION IMPLANTATION OR BY CHEMICAL VAPOUR DEPOSITION, IN GENERAL
- C23C14/00—Coating by vacuum evaporation, by sputtering or by ion implantation of the coating forming material
- C23C14/22—Coating by vacuum evaporation, by sputtering or by ion implantation of the coating forming material characterised by the process of coating
- C23C14/34—Sputtering
-
- H—ELECTRICITY
- H01—ELECTRIC ELEMENTS
- H01F—MAGNETS; INDUCTANCES; TRANSFORMERS; SELECTION OF MATERIALS FOR THEIR MAGNETIC PROPERTIES
- H01F1/00—Magnets or magnetic bodies characterised by the magnetic materials therefor; Selection of materials for their magnetic properties
- H01F1/01—Magnets or magnetic bodies characterised by the magnetic materials therefor; Selection of materials for their magnetic properties of inorganic materials
- H01F1/03—Magnets or magnetic bodies characterised by the magnetic materials therefor; Selection of materials for their magnetic properties of inorganic materials characterised by their coercivity
- H01F1/032—Magnets or magnetic bodies characterised by the magnetic materials therefor; Selection of materials for their magnetic properties of inorganic materials characterised by their coercivity of hard-magnetic materials
- H01F1/04—Magnets or magnetic bodies characterised by the magnetic materials therefor; Selection of materials for their magnetic properties of inorganic materials characterised by their coercivity of hard-magnetic materials metals or alloys
- H01F1/047—Alloys characterised by their composition
- H01F1/053—Alloys characterised by their composition containing rare earth metals
- H01F1/055—Alloys characterised by their composition containing rare earth metals and magnetic transition metals, e.g. SmCo5
- H01F1/059—Alloys characterised by their composition containing rare earth metals and magnetic transition metals, e.g. SmCo5 and Va elements, e.g. Sm2Fe17N2
-
- H—ELECTRICITY
- H01—ELECTRIC ELEMENTS
- H01F—MAGNETS; INDUCTANCES; TRANSFORMERS; SELECTION OF MATERIALS FOR THEIR MAGNETIC PROPERTIES
- H01F41/00—Apparatus or processes specially adapted for manufacturing or assembling magnets, inductances or transformers; Apparatus or processes specially adapted for manufacturing materials characterised by their magnetic properties
- H01F41/02—Apparatus or processes specially adapted for manufacturing or assembling magnets, inductances or transformers; Apparatus or processes specially adapted for manufacturing materials characterised by their magnetic properties for manufacturing cores, coils, or magnets
-
- H—ELECTRICITY
- H02—GENERATION; CONVERSION OR DISTRIBUTION OF ELECTRIC POWER
- H02K—DYNAMO-ELECTRIC MACHINES
- H02K15/00—Processes or apparatus specially adapted for manufacturing, assembling, maintaining or repairing of dynamo-electric machines
- H02K15/02—Processes or apparatus specially adapted for manufacturing, assembling, maintaining or repairing of dynamo-electric machines of stator or rotor bodies
- H02K15/03—Processes or apparatus specially adapted for manufacturing, assembling, maintaining or repairing of dynamo-electric machines of stator or rotor bodies having permanent magnets
-
- Y—GENERAL TAGGING OF NEW TECHNOLOGICAL DEVELOPMENTS; GENERAL TAGGING OF CROSS-SECTIONAL TECHNOLOGIES SPANNING OVER SEVERAL SECTIONS OF THE IPC; TECHNICAL SUBJECTS COVERED BY FORMER USPC CROSS-REFERENCE ART COLLECTIONS [XRACs] AND DIGESTS
- Y02—TECHNOLOGIES OR APPLICATIONS FOR MITIGATION OR ADAPTATION AGAINST CLIMATE CHANGE
- Y02T—CLIMATE CHANGE MITIGATION TECHNOLOGIES RELATED TO TRANSPORTATION
- Y02T10/00—Road transport of goods or passengers
- Y02T10/60—Other road transportation technologies with climate change mitigation effect
- Y02T10/64—Electric machine technologies in electromobility
Definitions
- the present invention relates to magnets, membranes, laminates, motors, generators, and automobiles.
- R is a rare earth element
- rare earth magnets using a compound represented by R-Fe (iron) -B (boron) are used in motors of hybrid automobiles and electric automobiles, and have specific characteristics.
- R-Fe iron
- B boron
- magnets (rare earth magnets) to which heavy rare earths (for example, Dy (dysprosium)) are added have been studied so that desired characteristics can be exhibited even in a high temperature environment for automobile motors.
- rare earth magnets made of compounds having a "ThMn 12 type" crystal structure, which requires a small amount of rare earth elements to be used.
- the ThMn 12 type crystal phase may be unstable, and in order to stabilize this, a method of substituting a part of the ThMn 12 type crystal phase with an element such as Ti has been proposed. However, according to the above method, the magnetization of the obtained rare earth magnet may be insufficient.
- Non-Patent Document 1 states that a single crystal of a compound represented by Sm (Fe 0.8 Co 0.2 ) 12 can be synthesized, and that the obtained single crystal is saturated with magnetic anisotropy. It is described that the intrinsic magnetic characteristics such as the anisotropic magnetic field and the Curie temperature all have excellent characteristics exceeding Nd 2 Fe 14 B.
- an object of the present invention is to provide a magnet (rare earth magnet) having an excellent coercive force.
- Another object of the present invention is to provide a film, a laminate, a motor, a generator, and an automobile.
- Another object of the present invention is to provide a method for producing a magnet layer containing the magnet by a sputtering method.
- the overall composition is a group consisting of formula 1: (R 1 (1-x) R 2 x ) a T b M c (in the above formula, R 1 is Sm, Pm, Er, Tm, and Yb. at least one element more selective, at least 1 R 2 is, Zr, Y, La, Ce , Pr, Nd, Eu, Gd, Tb, Dy, Ho, and selected from the group consisting of Lu Species element, T is at least one element selected from the group consisting of Fe, Co, and Ni, M is boron, x is a number from 0 to 0.5, a.
- [5] The magnet according to any one of [1] to [4], wherein at least one selected from the group consisting of a crystal orientation and an easy magnetization axis is preferentially oriented along a predetermined direction.
- [6] The magnet according to any one of [1] to [5], wherein a is 6.0 to 10.0 atomic%.
- [7] The magnet according to any one of [1] to [6], which has the ThMn 12 type crystal phase as the main phase and has an amorphous grain boundary phase existing between the main phases.
- [8] The magnet according to [7], wherein the absolute value of the difference between the boron content in the main phase and the boron content in the grain boundary phase is 1.0 atomic% or more.
- a magnet having an excellent coercive force it is possible to provide a magnet having an excellent coercive force. Further, according to the present invention, a film, a laminate, a method for manufacturing a magnet, a motor, a generator, and an automobile can also be provided. Further, according to the present invention, it is also possible to provide a method for producing a magnet layer containing the above magnet by a sputtering method.
- IP In-Plane
- OOP Out-of-Plane
- Examples 21 (A) and (b) are the analysis results of the membrane of Example 19 by 3DAP. It is the analysis result by 3DAP of the membrane of (a) and (b) Example 20. It is a schematic diagram which shows the fine structure of the thin film of Example 19 and Example 20.
- Examples 21 (a) and (b) to (e) are Sm (Fe 0.8 Co 0.2 ) 12 B film Out-of-Plane XRD patterns.
- Examples 21 (a) and (f) to (i) are Sm (Fe 0.8 Co 0.2 ) 12 B film Out-of-Plane XRD patterns.
- 9 is an in-plane and quadrangular magnetization curve of the films of Examples 21 (a) and (b) to (e).
- Example 21 is an in-plane and quadrangular magnetization curve of the films of Examples 21 (a) and (f) to (i). It is a figure which shows the magnetic property of the film of Example 21 (c)-(i); (a) saturation magnetization (M s ), (b) coercive force (H c ), (c) residual magnetization ratio in a zero magnetic field. ( Mr / M s ), (d) Vertical anisotropy ( Ku ).
- [magnet] Magnet according to an embodiment of the present invention, the whole composition, wherein 1: is represented by (R 1 (1-x) R 2 x) a T b M c, is a magnet having at least ThMn 12 type crystal phase .
- R 1 is at least one element selected from the group consisting of Sm, Pm, Er, Tm, and Yb
- R 2 is Zr, La, Ce, Pr, Nd. , Eu, Gd, Tb, Dy, Ho, and Lu
- T is at least one element selected from the group consisting of Fe, Co, and Ni.
- M is boron
- x is a number from 0 to 0.5 (0 ⁇ x ⁇ 0.5)
- a is a number from 6.0 to 13.7 atomic% (6.0).
- c is a number greater than 0 atomic% and 12 atomic% or less (0 ⁇ c ⁇ 12), and b is a number represented by 100-ac atomic%.
- the overall composition of the magnet according to the embodiment of the present invention is represented by (R 1 (1-x) R 2 x ) a T b M c .
- the "overall composition” is determined by an ICP emission spectrophotometer (ICP-OES), and the measuring method thereof is as described in Examples.
- R 1 is at least one element selected from the group consisting of Sm (samarium), Pm (promethium), Er (erbium), Tm (thulium), and Yb (ytterbium) (hereinafter, "" It is also called “specific rare earth element”).
- Sm sinarium
- Pm promethium
- Er erbium
- Tm thulium
- Yb ytterbium
- R 1 is at least one element selected from the group consisting of Sm (samarium), Pm (promethium), Er (erbium), Tm (thulium), and Yb (ytterbium) (hereinafter, "" It is also called “specific rare earth element”).
- specific rare earth element of R 1 one kind may be used alone, or two or more kinds may be used in combination.
- the specific rare earth element is a rare earth element having a Stevens factor.
- the Stevens factor is a physical quantity related to the electrification density (shape) of 4f electrons in the inner shell of a rare earth element. If this is negative, the shape is contracted with respect to the axis of symmetry, and if it is positive, the shape is elongated from spherical symmetry. Since the 4f electron cloud receives a crystal field from surrounding ions and its stable direction is determined, the shape of the electron cloud determines the direction of magnetic anisotropy.
- the magnet according to the embodiment of the present invention has excellent magnet characteristics because it contains an element in which the Stevens factor is positive.
- the magnet has an effect of better present invention is obtained, as the R 1, at least one Stevens factor positive matrix Sm, Yb, Tm, and selected from the group consisting of Pm Is preferable, at least one selected from the group consisting of Sm, Yb, and Tm is more preferable, and at least one selected from the group consisting of Sm, Yb, and Tm is further preferable.
- the R 1 at least one Stevens factor positive matrix Sm, Yb, Tm, and selected from the group consisting of Pm Is preferable, at least one selected from the group consisting of Sm, Yb, and Tm is more preferable, and at least one selected from the group consisting of Sm, Yb, and Tm is further preferable.
- R 1 contains Sm, the obtained magnet is more excellent. It has the effect of the present invention. Therefore, it is preferable that R 1 contains at least Sm.
- R 2 in the overall composition
- R 2 is Zr (zylonium), Y (yttrium), La (lantern), Ce (cerium), Pr (praseodymium), Nd (neodymium), Eu (europium), Gd (gadolinium), Tb ( It is at least one selected from the group consisting of terbium), Dy (dysprosium), Ho (holmium), and Lu (lutetium) (hereinafter, also referred to as “specific element”). Specific element of R 2 may be used alone or in combination of two or more thereof.
- R 2 is a component that contributes to the stabilization of the ThMn 12 type crystal phase of the magnet.
- Y and Ce preferably Ce (IV) are elements that do not have magnetism by themselves, but the magnet obtained by containing the above as R 2 in the magnet is Has excellent stability.
- Gd and Zr have a function of further improving the stability of the obtained magnet, and the effect is more remarkable especially when R 1 contains Sm. That is, when the magnet contains at least Sm as R 1 , the magnet preferably contains at least one specific element selected from the group consisting of Gd and Zr as R 2.
- La, Ce, Pr, Nd, Eu, Gd, Tb, Dy, Ho, and Lu have a negative or zero Stevens factor and contribute to the stabilization of the ThMn 12 type crystal phase of this magnet. To do.
- the R 2 element since the R 2 element also has an action of weakening the magnetic anisotropy derived from the R 1 element, it is preferable to adjust the content thereof from both the stability of the crystal phase and the magnetic characteristics.
- the content ratio of the content of R 2 based on the atomic% (at%) to the total content of R 1 and R 2 in this magnet (the number represented by x in the formula) is It is 0.5 or less, preferably 0.4 or less, and more preferably 0.3 or less.
- the magnet may not contain R 2. That is, in this magnet, 0 ⁇ x ⁇ 0.5, 0 ⁇ x ⁇ 0.4 is preferable, and 0 ⁇ x ⁇ 0.3 is more preferable.
- the total content a of R 1 and R 2 on an atomic% basis in the overall composition is 6.0 ⁇ a ⁇ 13.7.
- a is preferably 6.0 ⁇ a ⁇ 10.
- T is at least one element selected from the group consisting of Fe (iron), Co (cobalt), and Ni (nickel). These are classified as iron group elements and have common properties in that they exhibit ferromagnetism at normal temperature and pressure. Therefore, Fe, Co, and Ni as T can be replaced with each other, and as T, the above-mentioned iron group element may be used alone, or two or more kinds may be used in combination.
- the content of T in the overall composition is not particularly limited as long as it satisfies 100-ac in relation to a described above and c described later, but is generally preferably 50 to 95 atomic%, preferably 60 to 85 atoms. % Is more preferable.
- T contains at least one element selected from the group consisting of Fe and Co in that a magnet having a more excellent effect of the present invention can be obtained, and Fe and Co are used in combination. It is preferable to do so.
- Co is contained as T, the magnetization of the magnet is further improved and the Curie temperature is further increased.
- T is preferably Fe and Co. That is, the overall composition of the present magnet, formula 2: (R 1 (1- x) R 2 x) a (Fe p Co 1-p) is preferably represented by b M c. At this time, p is a number of 0.5 to 0.9. In particular, in that a magnet having the superior effect of the present invention can be obtained, the overall composition of the magnet is as follows: (Sm 1-x R 2 x ) a (Fe p Co 1-p ) b M c. It is more preferable to be represented by. At this time, p is a number of 0.5 to 0.9, preferably 0.7 to 0.8.
- ⁇ M in the overall composition M is boron (boron element, B).
- the content of boron in the overall composition is preferably greater than 0 atomic% and preferably 12 atomic% or less.
- this magnet has a crystal phase such as ⁇ -Fe ( ⁇ - (Fe, Co)) phase in addition to the 1-12 phase. Nevertheless, it has an excellent coercive force.
- the mixture of the other crystal phases in the structure of a magnet having the 1-12 phase as the main phase may cause a decrease in coercive force or a decrease in the squareness of the demagnetization curve.
- the present magnet has particularly excellent performance that cannot be predicted by those skilled in the art even when the above-mentioned other crystal phases are contained. It was revealed.
- the content of boron in the main phase (1-12 phase) and the amorphous grain boundary phase (the amorphous grain boundary phase) is preferably 1.0 atomic% or more.
- the absolute value of the difference in the boron content may be a larger value depending on the boron content in the overall composition, and may be, for example, 1.5 atomic% or more. It may be 0 atomic% or more, 3.0 atomic% or more, 4.0 atomic% or more, 5.0 atomic% or more, 7.5 atomic% or more. It may be% or more, and may be 10 atomic% or more.
- the content of boron in the main phase (1-12 phase) is more than 0 atomic%. Therefore, the content of boron in the amorphous grain boundary phase (B-concentrated phase) is preferably more than 1.0 atomic%. Further, the content of boron in the amorphous grain boundary phase (B-concentrated phase) may be 1.5 atomic% or more, 2.0 atomic% or more, or 3.0 atoms. % Or more, 4.0 atomic% or more, 5.0 atomic% or more, 7.5 atomic% or more, 10 atomic% or more. You may.
- the upper limit of the boron content in the main phase (1-12 phase) is a value obtained by dividing 1.0 from half the value based on the boron content (atomic%) in the overall composition.
- the value is preferably less than.
- the boron content in the main phase (1-12 phase) is less than 5.0 atomic%. Is preferable, 4.0 atomic% or less is more preferable, 3.0 atomic% or less is further preferable, 2.0 atomic% or less is particularly preferable, 1.0 atomic% or less is most preferable, and 0.5 atomic% or less is preferable. More preferred.
- the boron content in the amorphous grain boundary phase (B-concentrated phase) is preferably a value equal to or more than half of the boron content (atomic%) in the overall composition.
- the boron content in the amorphous grain boundary phase (B concentrated phase) is 6. 0 atomic% or more is preferable, 6.5 atomic% or more is more preferable, 7.0 atomic% or more is further preferable, 8.0 atomic% or more is particularly preferable, 9.0 atomic% or more is most preferable, and 10 atomic% or more is 10 atomic%.
- the upper limit of the boron content in the amorphous grain boundary phase is not particularly limited and may vary depending on the boron content in the overall composition.
- the present magnet includes Ti (titanium), V (vanadium), Mo (molybdenum), Nb (niobium), Cr (chromium), and W. It is preferable that substantially none of (tungsten) (hereinafter, also referred to as “excluded element”) is contained. Magnets that are substantially free of the exclusion elements have a better maximum magnetic energy product and coercive force.
- substantially free means that the content of the excluded element is 0.1 atomic% or less of all atoms when the elements contained in the main phase are analyzed by ICP-OES analysis. It is more preferably 0.01 atomic% or less, and further preferably 0.001 atomic% or less.
- the main phase contains two or more kinds of excluded elements, it is preferable that the total of the two or more kinds of excluded elements is within the above numerical range.
- This magnet may have another crystal phase as long as it has a ThMn 12 type crystal phase.
- the other crystal phase is not particularly limited, but for example, when the overall composition is represented by Sm (Fe 0.8 Co 0.2 ) 12 B, ⁇ -Fe, ⁇ - (Fe, Co), Sm (FeCo). ) 7 and Sm 2 (FeCo) 17 phase and the like.
- the main phase is a ThMn 12 type crystal phase, and ⁇ -Fe, ⁇ - (Fe, Co), Sm (FeCo) 7 , and Sm 2 (FeCo) It is preferable that the structure has a 17 phase or the like as another crystal phase.
- the main phase means the phase having the highest peak intensity detected in the X-ray diffraction measurement of the magnet.
- the crystal orientation and the orientation state of the easy magnetization axis are not particularly limited, but are selected from the group consisting of the crystal orientation and the easy magnetization axis in that the maximum energy product (BH) max tends to be larger. It is preferable that at least one of them is preferentially oriented along a predetermined direction.
- a magnet in which at least one selected from the group consisting of a crystal orientation and an easy magnetization axis is preferentially oriented along a predetermined direction is also referred to as an anisotropic magnet. That is, the magnet according to the embodiment of the present invention is preferably an anisotropic magnet.
- the [001] direction is the easy magnetization axis, and the easy magnetization axis is preferentially oriented in a predetermined direction. If so, an anisotropic magnet with a better maximum energy product (BH) max is obtained.
- This magnet has a ThMn 12 type crystal phase, and when the crystal orientation and / or the easy magnetization axis is preferentially oriented in a predetermined direction, a magnet having a better effect of the present invention can be obtained. Easy to obtain.
- the peak intensity of the diffraction line from (00L) of the ThMn 12 type crystal phase is 1 or more with respect to the peak intensity of the phase (second phase) other than the detected ThMn 12 type crystal phase. It means, and it is preferable that it is 2 or more.
- This magnet may have a phase other than the ThMn 12 type crystal phase (such as the ⁇ -Fe phase already described). In this case, the peak derived from the ⁇ -Fe phase is that of the ThMn 12 type crystal phase. It is not included in the peaks derived from a predetermined crystal orientation or the like.
- the magnet according to the embodiment of the present invention is not particularly limited as long as it has the above-mentioned material structure and properties.
- the form of the magnet may be, for example, a particle shape, a flat plate shape, or a three-dimensional shape having a curved surface. Further, the magnet may have a flat plate shape (film).
- the manufacturing method of this magnet is not particularly limited, and a known manufacturing method of a magnet can be applied.
- Examples of the above-mentioned manufacturing method include Japanese Patent Application Laid-Open No. 2017-50396, and the above contents are incorporated in the present specification.
- the method for forming the magnet is not particularly limited, and a sintering method, an ultra-quenching solidification method, a vapor deposition method, an HDDR (Hydrogenation Decomposition Decomposition) method, and the like can be applied. Above all, it is preferable to form the magnet (layer) on the support by the sputtering method because the magnet (layer) can be formed more easily. In the following, the form of forming the magnet layer by the sputtering method will be described in detail.
- the support is not particularly limited, and a known support can be used. Among them, in that the magnet has an effect of better present invention is obtained, as the support, silicon, low-temperature co-fired ceramic, Al 2 O 3, LiTaO 3 , LiNbO, quartz, SiC, GaAs, GaN and, Examples include glass. Further, the support may be doped with another element (for example, arsenic and / or phosphorus-doped silicon), or may be a laminate having a plurality of layers (for example). , Silicon with thermal oxide film).
- the pressure in the chamber of the film forming apparatus during sputtering is not particularly limited, but is preferably 10-6 Pa or less, preferably 10-8 Pa or less, from the viewpoint of further reducing the mixing of unintended components in the obtained magnet. Is more preferable.
- the method for cleaning the surface of the support is not particularly limited, and examples thereof include a method of sputtering the support itself. According to the above, the oxide film of the support formed on the support, organic substances and the like can be removed. Further, the surface of the support may be cleaned by heating the support to a predetermined temperature (for example, about 600 to 800 ° C.), holding the support for a predetermined time (for example, about 10 to 30 minutes), and performing a heat treatment. ..
- the sputtering method is not particularly limited, but the magnetron sputtering method, which enables sputtering in a lower pressure Ar atmosphere, is preferable.
- the thickness of the target material by adjusting the thickness of the target material, the reduction of the leakage flux of the magnetron sputtering can be further suppressed, and the sputtering can be made easier.
- the power source for sputtering can be either DC or RF, and can be appropriately selected depending on the target material.
- the heating temperature of the support of the magnet, the film formation rate, and the film formation time are not particularly limited, and may be appropriately adjusted according to the required thickness of the magnet.
- the film formation rate can be adjusted by the power of sputtering and / or the time.
- the support heating temperature is preferably 250 to 400 ° C., more preferably 300 to 350 ° C., from the viewpoint of more efficiently obtaining the magnet according to the embodiment of the present invention having the above-mentioned structure. Further, it is preferable to cool the magnet layer at a temperature lower than the support heating temperature after forming the magnet layer on the support (lamination of magnets). Thereby, the effect of the magnet according to the embodiment of the present invention can be obtained more reliably.
- the cooling means and the cooling time when cooling at a temperature lower than the support heating temperature are not particularly limited.
- the magnet layer after the magnet layer is formed, it may be naturally cooled without heating and cooling the support. In the case of the above natural cooling, it depends on the value of the support heating temperature, the atmosphere in the chamber of the film forming apparatus, etc., but for example, under the condition that the support heating temperature is 300 to 350 ° C., the support is after about 20 to 50 minutes. The temperature drops to about 50-70 ° C.
- the temperature of the support heating means may be set to a temperature lower than the support heating temperature and held for a predetermined time to cool the support.
- the set temperature of the support heating means may be any temperature as long as it is lower than the support heating temperature, and the holding time may be any time. Further, cooling by the support heating means described above and natural cooling may be combined. Further, after the magnet layer is formed, the support may be cooled by using a cooling medium such as nitrogen gas, whereby the magnet according to the embodiment of the present invention can be obtained in a shorter production time. In the case of cooling using the above cooling medium, the temperature of the support drops to about 20 ° C. in about several minutes to 10 minutes, for example, when nitrogen gas is used, although it depends on the type of cooling medium and the value of the support heating temperature. To do.
- a cooling medium such as nitrogen gas
- the average cooling rate (° C./min) obtained by dividing the difference between the support heating temperature at the time of film formation of the magnet layer and the support temperature at the end of cooling by the cooling time is approximate.
- it may be about 3 to 85 ° C./min.
- the method for manufacturing the magnet may further include a step of forming a base layer on the support before forming the magnet.
- the base layer is a layer formed between the support and the magnet layer, and is preferably formed so as to be in direct contact with the magnet layer. That is, the magnet layer is preferably formed on the base layer formed on the support. In other words, the magnet layer is preferably formed on the underlying layer with a support.
- the magnet precursor By forming the magnet precursor on the base layer, it is preferable in that the crystal orientation of the magnet layer can be controlled.
- the material of the base layer is not particularly limited, but a form capable of reducing lattice defects due to lattice mismatch with the magnet formed thereafter and improving crystallinity is preferable. That is, it is more preferable that the material of the base layer is about the same as the lattice constant of the magnet.
- the material component of the base layer is not particularly limited and may be appropriately selected depending on the magnet formed thereafter. For example, crystals having higher crystallinity and / or higher orientation can be obtained. In terms of points, it is preferable to contain MgO, V and the like.
- the material of the base layer preferably contains one or more of the above-mentioned material components, but may contain two or more. In that case, it may be a solid solution, a eutectic (eutectic mixture), an intermetallic compound, or a mixture thereof, or may be a laminate. That is, the base layer may be a laminated body of a plurality of layers.
- the material of the base layer may be a single crystal or a polycrystal, but it is preferably a single crystal in that a magnet having a better effect of the present invention can be obtained.
- the magnet layer formed thereafter is more likely to grow epitaxially, and as a result, a magnet having a better effect of the present invention can be obtained.
- the method for forming the base layer is not particularly limited, and a known method can be applied. Among them, a method similar to the method for forming a magnet (layer) described above is preferable in that the base layer can be formed more easily.
- a step of arranging the cap layer on the magnet layer may be further included.
- the cap layer is a layer formed for the purpose of protecting the magnet layer and / or preventing modification (for example, oxidation) of the magnet layer.
- the material component of the cap layer is not particularly limited, but the same material as the base layer already described can be used.
- the method for forming the cap layer is not particularly limited, but the same method as for forming the magnet layer can be applied.
- the film according to the embodiment of the present invention is a film containing a magnet as described above.
- the content of the magnet in the film according to the embodiment of the present invention is not particularly limited, but generally, 50% by volume or more is preferable, 60% by volume or more is more preferable, 70% by volume or more is further preferable, and 80% by volume or more. Is particularly preferable.
- the form in which the film contains a magnet is not particularly limited, and examples thereof include a form containing a particle-shaped magnet and a binder, and a form having a layer made of magnets (magnet layer).
- the film containing the magnet according to the embodiment of the present invention may contain other components as long as the effects of the present invention are exhibited.
- other components include binders and the like.
- the binder is not particularly limited, and known materials can be used, and inorganic materials, organic materials, and composite materials thereof can be used. Examples of known binders include epoxy resins and the like.
- the film according to the embodiment of the present invention may contain other components within the range in which the effects of the present invention are exhibited, and the other components include R 1 , R 2 , T, and M in Formula 1. Examples thereof include compounds containing at least one of each element described as described above.
- the magnet in the film has a ThMn 12 type crystal phase which may be a single crystal, and is typically a polycrystalline phase as a whole.
- the crystal orientation in the film and at least one orientation state selected from the group consisting of the easy magnetization axes are not particularly limited. Above all, it is preferable that the crystal orientation of the magnet is preferentially oriented in the [001] direction in that the maximum energy product (BH) max tends to be larger. That is, the film preferably contains a magnet whose crystal orientation is preferentially oriented in the [001] direction.
- the thickness of the film is not particularly limited, but as shown in FIG. 11 described later, 1 nm to 10000 ⁇ m is preferable, 10 to 1000 nm is more preferable, and 15 to 300 nm is further preferable, in that a more excellent effect of the present invention can be obtained.
- 20 to 200 nm is particularly preferable, 30 to 180 nm is most preferable, 50 to 150 nm is more preferable, 60 to 120 nm is even more preferable, and 80 to 120 nm is particularly preferable.
- the laminate according to the embodiment of the present invention has a base layer and a magnet layer containing a magnet already described, which is formed so as to be in contact with the base layer, and the base layer has a single crystal structure.
- the crystal orientation of the magnet layer is preferentially oriented in the [001] direction.
- the laminated body 10 has a magnet layer 12, a base layer 13, and a support 14 in this order from the cap layer 11.
- the form of the magnet layer 12 is not particularly limited as long as it contains the magnet, but it is preferably the film, and the preferred form thereof is also the same. Further, the configurations of the other layers are the same as those described in the method for manufacturing a magnet, and the preferred forms are also the same.
- the magnet according to the embodiment of the present invention has an excellent coercive force, it can be applied to the field of MEMS (Micro Electro Mechanical Systems), the field of energy such as energy harvesting (environmental power generation), the field of medical equipment, and the like.
- MEMS Micro Electro Mechanical Systems
- the field of energy such as energy harvesting (environmental power generation)
- the field of medical equipment and the like.
- FIG. 2 shows a permanent magnet motor 20 as a motor according to an embodiment of the present invention.
- the permanent magnet motor 20 has a stator 21 and a rotor 24 rotatably arranged in the stator 21.
- the rotor 24 has a core material 22 and a plurality of magnets 23 arranged in the core material 22.
- FIG. 2 shows a permanent magnet motor
- the motor according to the embodiment of the present invention is not limited to the above, and can be applied to a variable magnetic flux motor and the like.
- the generator according to the embodiment of the present invention is a generator having the above magnet.
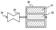
- FIG. 3 shows a generator according to an embodiment of the present invention.
- the generator 30 has a stator 31 having the magnet and a rotor 32 rotatably provided.
- the rotor 32 is arranged inside the stator 31, and the rotor 32 is connected to the turbine 33 by a shaft 34.
- the turbine 33 is rotated by, for example, a fluid supplied from the outside, and the electromotive force generated by the rotation is taken out as the output of the generator 30.
- the generator 30 may have other members known, such as a phase-separated bus, a main transformer, and a brush for removing charge.
- the generator according to the embodiment of the present invention is not limited to the above, and the regenerative energy of an automobile or the like can be input. it can.
- FIG. 4 is a conceptual diagram showing a power generation, storage, and drive mechanism of an automobile according to an embodiment of the present invention.
- the automobile 40 has wheels 41 and a motor 42, which are connected by an axle 45.
- the motor 42 is a motor having a magnet as described above, and the wheels 41 are rotated by the output of the motor.
- the motor 42 is electrically connected to the storage battery 43, and electric energy is input to the motor 42 from the storage battery 43.
- the storage battery 43 is electrically connected to the generator 44, and the electric power generated by the generator 44 is supplied to the storage battery 43.
- the generator 44 is a generator having a magnet as described above.
- the generator 44 is connected to an engine (not shown) by a shaft, and the rotor of the generator 44 is configured to rotate by mechanical energy generated from the engine.
- both the motor 42 and the generator 44 have magnets, but the automobile according to the embodiment of the present invention is not limited to the above, and either the magnet or the generator can be used. It suffices to have a magnet.
- the substrate was heated to 325 ° C., and the Sm, Fe, Fe 50 Co 50 , and Fe 80 B 20 targets were simultaneously sputtered. Further, V (10 nm) was deposited as a cap layer to prevent oxidation.
- the relationship between the setting conditions of the DC magnetron sputtering apparatus and the film formation rate was measured in advance using a step meter, and the amount of boron introduced into each sample film was estimated from the film formation rate using this result.
- the amount of boron introduced can be controlled by controlling the film formation rate, and if the film formation rate is constant, the samples having a constant boron content and different film thicknesses. Can also be formed.
- Sm (Fe 0.8 Co 0.2 ) having a thickness of 5 nm or more on the substrate using the above materials, film forming conditions, and film forming apparatus. 12 It has been confirmed that the B layer can be formed. If necessary, it is also possible to make the thickness of the Sm (Fe 0.8 Co 0.2) 12 B layer less than 5 nm.
- Table 1 summarizes the samples prepared in the examples, the amount of boron introduced (target), and the results of elemental analysis by ICP-OES.
- the ICP-OES analysis was carried out according to the following procedure. First, the sample was taken in a quartz beaker, 5 ml of a 1: 1 (volume) solution of nitric acid and water, 10 ml of a 1: 1 (volume) solution of hydrochloric acid and water, and 1: 1 of sulfuric acid and water. (Volume) 3 ml of the solution was added, and the solution was heated at 120 ° C. for 30 minutes to dissolve it, and after allowing to cool, the volume was adjusted to 100 ml. The content of each element in this solution was measured by an ICP-OES apparatus "720-ES ICP-OES" manufactured by Agilent.
- FIG. 5 shows a plane (Out-of-Plane) XRD pattern of Sm (Fe 0.8 Co 0.2) 12 B film of Example 1 and Example 3-9 The thickness of the film was 50nm. From the results of Out-of-Plane XRD, diffraction patterns derived from (002) and (004) (indicated by downward white triangles in the figure) were observed, and the (001) plane of the ThMn 12 type crystal phase was observed. it is strongly oriented, i.e., it was found that crystal orientation of Sm (Fe 0.8 Co 0.2) 12 B layer are preferentially oriented in the [001] direction.
- FIG. 6 the lattice constants a, c, and c / a (vertical axis) and the content of B (horizontal axis) of the thin films of Examples 1 to 6 and Example 9 in which the film thickness is constant (50 nm) are shown.
- A showed an almost constant value at about 8.56 ⁇ (angstrom) up to a B content of 4% by volume, but increased sharply when B exceeded 4% by volume.
- c and c / a decreased monotonically as the B content increased.
- FIG. 7 shows the in-plane and perpendicular-plane magnetization curves of the thin films of Examples 1 and 3 to 9 in which the B content was changed while the film thickness was constant.
- a superconducting quantum interference magnetometer (SQUID) was used to measure the magnetic characteristics, and a magnetic field was applied in the range of ⁇ 7 T (70 kOe) at room temperature.
- FIGS. 11, 14 (a) and 14 (b), which will be described later, and FIGS. 23 and 24 According to FIG. 7, when B is 0% by volume, it shows strong vertical anisotropy.
- the coercive force is 0.14 T (in the figure, it is expressed as 1.4 kOe using the Oersted unit Oe). According to FIG.
- the coercive force in the perpendicular direction increased with the increase in the B content, and the B content showed a coercive force of 0.75 T at 5.0% by volume. Moreover, in the above, it showed a high magnetization of 1.59T. Furthermore, the in-plane component also increased.
- FIG. 8 shows the magnetization of a thin film with a constant film thickness (M s ), the residual magnetization ratio at zero magnetic field ( Mr / M s ), the coercive force (H c ), and the vertical anisotropy (K). The dependence of u ) on the B content was shown. Note that FIG. 8 also shows the results of samples prepared under film formation conditions different from the target amount of B introduced in Examples 1 to 9.
- FIG. 9 shows the Out-of-Plane XRD patterns of the thin films of Examples 10, 13 to 16 and Example 18 in which the thickness of the film was changed from 20 nm to 200 nm.
- the intensities of the diffraction lines from (002) and (004) (indicated by the downward white triangles in the figure) increase as the thickness of the film increases.
- the intensity of the diffraction line (indicated by the downward black triangle mark in the figure) from the second phase ( ⁇ -Fe, Sm (FeCo) 7 , Sm 2 (FeCo) 17) observed near 65 ° is It did not change depending on the thickness of the film.
- FIG. 10 shows changes in the lattice constants a, c, and c / a of the thin films of Examples 10 to 18 in which the film thickness (t SFC) was changed.
- a increased to 8.70 ⁇ at 30 nm, then showed a constant value of 8.70 ⁇ up to 80 nm, and then decreased.
- c decreased to 4.75 ⁇ at 30 nm and then showed a constant value of 4.75 ⁇ .
- c / a decreased to 30 nm, but then showed a constant value.
- FIG. 11 shows the magnetization curves of the thin films of Examples 10, 13 to 16 and Example 18 in which the thickness of the film was changed. Both were perpendicularly magnetized films. The coercive force in the vertical direction increases with the increase in the thickness of the film, and shows a maximum value of 0.94 T at 100 nm. This value was the largest value among the films of Examples 1 to 18.
- the magnetization value is 1.55 T, which is a relatively high value.
- the coercive force decreased.
- FIG. 12 shows the magnetization of a thin film with a constant B content (M s ), the residual magnetization ratio at zero magnetic field ( Mr / M s ), coercive force (H c ), and vertical anisotropy ( Ku ). Dependence on the thickness of the film (t SFC ) was shown.
- FIG. 13 shows the temperature dependence of the coercive force.
- the horizontal axis represents the temperature (K) and the vertical axis represents the coercive force (T).
- K the temperature
- T the coercive force
- SQUID-VSM equipped with a sample vibration magnetometer was used, and the temperature was changed in the range of 50 to 700 K.
- the black circle plot is a sample obtained by adjusting the film formation conditions so that the boron content is 5% by volume, and the black square plot is Cu diffusion to Sm (Fe 0.8 Co 0.2 ) 12.
- the black triangular plot is Sm (Fe 0.8 Co 0.2 ) 12 with Cu-Ga diffusion.
- a total of three black solid lines and two black broken lines are commercial Nd 2 Fe 14 B magnets (NMX-36 (Dy content 8%), NMX-43 (Dy content 4%), NMX-52 (Dy content). Free)) shows the temperature dependence.
- FIG. 13 it can be seen that the Sm (FeCo) 12 magnet exhibits a smaller temperature dependence than the Nd 2 Fe 14 B magnet.
- the sample containing 5% by volume of boron showed a high coercive force over the entire temperature range, and the temperature coefficient ( ⁇ ) of the coercive force in the temperature range of 300 to 700 K was the lowest value (-0. It was 15% / K).
- Example 14 (a) and 14 (b) show in-plane (In-Plane (IP)) and straight (Out-of-Plane) of the thin films of Example 19 and Example 20 having a film thickness of 100 nm, respectively.
- the magnetization curve in the OOP)) direction is shown.
- the film of Example 19 in which B is 0% by volume shows strong vertical anisotropy.
- the coercive force was 0.1 T and the residual magnetization in a zero magnetic field was 0.2 T.
- the film of Example 20 in which B is 0.5% by volume shows a strong vertical anisotropy comparable to that of Example 19 and 1.2T, which is significantly higher than that of Example 19.
- the coercive force of was shown.
- the residual magnetization in the zero magnetic field was 1.50 T.
- the temperature coefficient ( ⁇ ) of the coercive force of the film of Example 20 in the temperature range of 300 to 500 K (27 to 227 ° C) was calculated to be ⁇ 0.22% / ° C. Since the temperature coefficient ( ⁇ ) of the coercive force of the conventionally reported anisotropic Nd-Fe-B magnet is about -0.4 to -0.6% / ° C., it was obtained for the film of Example 20.
- the absolute value of the temperature coefficient is much smaller than that of the conventional Nd-Fe-B magnet, which means that the film according to the embodiment of the present invention has a coercive force as compared with the conventional Nd-Fe-B magnet. It shows that it has excellent thermal stability.
- demagnetic correction is performed to set the demagnetization rate to 0.83 based on the result of the microstructure analysis of the thin film described later.
- the value of the residual magnetization at zero magnetic field (1.50T) obtained from the film of Example 20 is the value (1.61T) of the previously reported anisotropic Nd 2 Fe 14 B / FeCo nanocomposite thin film. Although it is slightly smaller than that, as far as the present inventors know, it is the largest value among the anisotropic Sm (Fe 0.8 Co 0.2 ) 12 films.
- FIG. 15 (a) and 15 (b) show in-plane and cross-sectional transmission electron microscope images (BF-TEM images) of the thin films of Examples 19 and 20, respectively.
- FIG. 15A the film of Example 19
- FIG. 15B film of Example 20
- FIG. 15B columnar SmFe 12- based crystal grains were confirmed.
- the average particle size of the columnar grains was about 40 to 50 nm, and the ratio of height to width (average particle size) was about 2.5: 1 (average aspect ratio of about 2.5).
- the structure is such that the columnar grains are used as the main phase and grain boundary phases having a certain width (about 1 nm or more) exist between the main phases.
- the main phase ThMn 12 type crystal phase (1-12 phase) grows in a columnar shape and is columnar. It was suggested that grain boundary phases having a certain thickness were formed between the crystal phases, and that such a fine structure exerted a high coercive force.
- 16 (a) to 16 (d) show high-angle annular dark-field scanning transmission electron microscope (HAADF-STEM) images.
- 16 (a) and 16 (b) are HAADF-STEM images of the thin film (Sm (Fe 0.8 Co 0.2 ) 12 film) of Example 19, and FIGS. 16 (c) and 16 (d) are examples. It is a HAADF-STEM image of 20 thin films (Sm (Fe 0.8 Co 0.2 ) 12 B 0.5 film).
- FIG. 16A in the film of Example 19, no clear phase was observed between the two Sm (Fe, Co) 12 crystal grains, and the two crystal grains were in direct contact with each other.
- FIG. 16B is a high-magnification image obtained along the crystal zone axis of [100] of Sm (Fe, Co) 12 crystal grains in the film of Example 19 (direction on the paper surface of FIG. 16A). .. Since contrast occurs in the HAADF-STEM image due to the number of atomic atoms of the elements contained in the sample, what is seen as a brighter spot in the image corresponds to the atomic column of the heavier element, that is, Sm (Fe). , Co) It is considered to be Sm in 12 compounds.
- FIG. 16 (c) in the film of Example 20, an amorphous grain boundary phase (GB) having a thickness of about 3 nm was confirmed between two Sm (Fe, Co) 12 crystal grains.
- FIG. 16 (d) is a high-magnification image obtained along the crystal zone axis of [100] of the Sm (Fe, Co) 12 crystal grains in the film of Example 20 (direction on the paper surface of FIG. 16 (c)). .. From the nanobeam electron diffraction patterns (upper right and upper left) inserted in FIG. 16 (d), the two Sm (Fe, Co) 12 crystal grains separated by the grain boundary phase both have a ThMn 12 type structure.
- Misalignment is as small as about 2 °, and the [001] direction (c-axis) of 12 Sm (Fe 0.8 Co 0.2 ) crystal grains adjacent to each other is upward (the direction on the paper surface in FIG. 16 (d)). It was shown to be oriented to.
- FIG. 17 (a) and 17 (b) show the results (STEM-EDS image) of the in-plane and cross-sectional scanning transmission electron microscope-energy dispersive X-ray analysis of the thin films of Examples 19 and 20, respectively. It was. According to FIG. 17A, it can be seen that in the film of Example 19, Sm, Fe and Co are uniformly distributed in the film. In addition, although a portion having a partially different concentration of Sm is observed, the portion is due to the existence of a second phase different from the main phase, and the second phase is shown in FIG. 16 (b).
- FIGS. 18 (a) and 18 (b) show the results of analysis of the membrane of Example 19 by a three-dimensional atom probe (3DAP).
- the 3DAP map shown in FIG. 18A was obtained by scanning the probe parallel to the plane of the thin film.
- FIG. 18B shows a 3DAP map of Sm in the rectangular parallelepiped region shown in FIG. 18A (upper row), a composition profile of Sm, Co and Fe in the region (middle row), and Sm shown in the middle row. This is an enlarged composition profile (lower).
- the content ratio of Co and Fe based on the atomic% (at%) is 1: 4, and the composition ratio predicted from the film forming conditions. It was the value of.
- the Sm content As explained with reference to the STEM-EDS image shown in FIG. 17 (a), a portion where the Sm concentration is partially different is observed, and the Sm content is about 10 in this portion. Although it was ⁇ 11 atomic%, the average content of Sm was about 7.95 atomic%, and this value was anisotropic Sm (Fe 0.8 Co 0.2 ) 12 having a ThMn 12 type structure. It is consistent with the composition of Sm in the phase.
- FIG. 19 (a) and 19 (b) show the results of analysis of the membrane of Example 20 by a three-dimensional atom probe (3DAP).
- the 3DAP map shown in FIG. 19A was obtained by scanning the probe parallel to the plane of the thin film. That is, the paper surface penetration direction in FIG. 19A is the plane perpendicular direction of the thin film.
- FIG. 19 (b) is a composition profile of the constituent elements (Sm, Co, Fe and B) in the region shown by the rectangular parallelepiped in FIG. 19 (a). According to FIG. 19 (a), it can be seen that a large amount of B is distributed in the portion where the concentration of Co is low, which was explained with reference to the STEM-EDS image shown in FIG. 17 (b).
- B is distributed in both the main phase (1-12 phase) and the grain boundary phase (GB), and is particularly unevenly distributed in the grain boundary phase (uneven distribution).
- GB grain boundary phase
- the content of B in the grain boundary phase calculated based on the composition profile shown in FIG. 19B was about 10.3 atomic%.
- the average content of Sm in the grain boundary phase was slightly lower than that in the 1-12 phase, and was about 5.8 atomic%.
- B is also distributed in the main phase, but its amount is negligibly low.
- the Co content was about 19.8 atomic% in the central portion of the 1-12 phase, but was about 10.6 atomic% in the grain boundary phase, which is the B-concentrated phase.
- the overall composition of the membrane was Sm 7.7 Fe 72.1 Co 16.5 B 3.7 (atomic%), and the main phase 1-12 phase.
- the composition of the amorphous grain boundary phase is Sm 8.0 Fe 71.9 Co 19.8 B 0.3 and Sm 5.8 Fe 73.3 Co 10.6 B 10.3 (both atomic%). )Met.
- the grain boundary phase is considered to be ferromagnetic.
- the grain boundary phase can act as a barrier for domain wall movement, which is a factor showing a high coercive force of 1.2T.
- the film of Example 20 since all the phases were preferentially oriented in the [001] direction on the V base layer, it is considered that 1.50 T of residual magnetization was obtained.
- Example 20 The thin film of Example 20 was described with reference to the microstructure as described with reference to FIGS. 16 (c) and 16 (d), and with reference to FIGS. 17 (b), 19 (a) and (b). The distribution and composition profile of such constituent elements were also confirmed from the HAADF-STEM image, nanobeam electron diffraction pattern, STEM-EDS image, and analysis results by 3DAP of the thin film of Example 15 above (data not shown).
- FIG. 20 shows a schematic diagram of the fine structure of the thin films of Examples 19 and 20 derived from the results of the above-mentioned characteristic analysis.
- the film of Example 19 there may be a second phase having a Sm content partially different from that of the main phase, but in addition to the second phase, it is structurally and structurally clearly distinguished from the main phase 1-12 phase.
- the film of Example 20 since it is a Sm (Fe, Co) 12 film containing B, anisotropic crystal grains having a ThMn 12 type structure as the main phase (1-12 phase) are formed.
- the main phase is surrounded by an amorphous grain boundary phase having a certain thickness, and the grain boundary phase is a B-concentrated phase.
- a columnar 1-12 phase having an average particle size of about 40 to 50 nm is formed by using a Sm (Fe, Co) 12 film containing 3.7 atomic% of B.
- the 1-12 phase is surrounded by an amorphous grain boundary phase having an average thickness of about 3 nm, and the grain boundary phase has a B concentration of about 10.3 atomic%. It is a chemical phase.
- the film of Example 20 exhibited a coercive force of 1.2 T, which was not obtained with the conventional Sm (Fe, Co) 12 film containing no B.
- Example 21 Next, using the same material and film forming apparatus as in Example 20, a sample having a thickness of 100 nm and a B content of 0.5% by volume (Sm (Fe 0.8 Co 0.). 2 ) 12 B 0.5 film) was prepared.
- the substrate temperature at the time of forming the Sm (Fe 0.8 Co 0.2 ) 12 B layer is 350 ° C., and the temperature conditions after the V cap layer (10 nm) is deposited are set.
- a total of 9 types of samples were prepared by setting as shown in (a) to (i) below.
- condition (a) will be a normal process (Normal process), and the conditions (b) to (i) will be Sm (Fe 0.8 Co 0. 2 ) 12
- the substrate temperature (350 ° C.) at the time of film formation of the B layer those below the temperature ((b) to (e)) are cooled and those above the temperature ((f)).
- ⁇ (I)) is classified as an annealing condition, and the characteristics of the sample prepared under each condition will be described.
- FIG. 21 shows the Out-of-Plane XRD pattern of the film obtained under the cooling conditions (Cooling) of the conditions (a) and the conditions (b) to (e).
- diffraction patterns derived from (002) and (004) (indicated by downward white triangle marks in the figure) were observed, and the (001) plane was strongly oriented ThMn 12 type.
- the crystal phase of Sm (Fe 0.8 Co 0.2 ) 12 B layer is the main phase, that is, the crystal orientation of the Sm (Fe 0.8 Co 0.2) 12 B layer is preferentially oriented in the [001] direction.
- no significant change was observed in the peak intensity and position of the main phase.
- FIG. 22 shows the Out-of-Plane XRD pattern of the film obtained under the conditions (a) and the heating conditions (Annealing) of the conditions (f) to (i).
- a diffraction pattern derived from (002) and (004) (indicated by a downward white triangle mark in the figure) was observed, and the (001) plane was strongly oriented ThMn 12 type.
- the crystal phase of Sm (Fe 0.8 Co 0.2 ) 12 B layer is the main phase, that is, the crystal orientation of the Sm (Fe 0.8 Co 0.2) 12 B layer is preferentially oriented in the [001] direction.
- FIG. 23 shows the in-plane and perpendicular-plane magnetization curves of the film obtained under the cooling conditions (Cooling) of the conditions (a) and the conditions (b) to (e). According to FIG. 23, it was confirmed that all the samples had a coercive force of 11.6 kOe.
- FIG. 24 shows the in-plane and perpendicular-plane magnetization curves of the film obtained under the conditions (a) and the heating conditions (Annealing) of the conditions (f) to (i).
- the value of the coercive force is lower than the value (11.6 kOe) obtained in the sample of the condition (a), and the higher the holding temperature, the lower the value.
- the value was a low result.
- 25 (a) to 25 (d) show the magnetic characteristics (saturation magnetization, coercive force, residual magnetization ratio at zero magnetic field, and vertical anisotropy) of the samples under the conditions (c) to (i), respectively. Indicated. According to FIG. 25 (a), the saturation magnetization ( Ms ) tended to increase linearly as the holding temperature increased. According to FIG. 25 (b), it was confirmed that the coercive force (H c ) decreases under heating conditions (Annealing) in which the holding temperature is 350 ° C. or higher. According to FIG.
- the magnet according to the embodiment of the present invention has an excellent coercive force, it can be applied to the field of MEMS (Micro Electro Electrical Systems), the field of energy such as energy harvesting (environmental power generation), the field of medical equipment, and the like.
- MEMS Micro Electro Electrical Systems
- the field of energy such as energy harvesting (environmental power generation)
- the field of medical equipment and the like.
- it can be preferably used as a motor and a generator used in transportation machines such as automobiles and trains.
Landscapes
- Chemical & Material Sciences (AREA)
- Engineering & Computer Science (AREA)
- Metallurgy (AREA)
- Power Engineering (AREA)
- Materials Engineering (AREA)
- Mechanical Engineering (AREA)
- Organic Chemistry (AREA)
- Manufacturing & Machinery (AREA)
- Crystallography & Structural Chemistry (AREA)
- Inorganic Chemistry (AREA)
- Chemical Kinetics & Catalysis (AREA)
- Hard Magnetic Materials (AREA)
- Thin Magnetic Films (AREA)
- Heat Treatment Of Articles (AREA)
Abstract
本発明は、優れた保磁力を有する磁石を提供することを課題とする。また、膜、積層体、モータ、発電機、及び、自動車を提供することも課題とする。 本発明の実施形態に係る磁石は、全体組成が、式1:(R1 (1-x)R2 x)aTbMc(上記式中、R1は、Sm、Pm、Er、Tm、及び、Ybからなる群より選択される少なくとも1種の元素であり、R2は、Zr、Y、La、Ce、Pr、Nd、Eu、Gd、Tb、Dy、Ho、及び、Luからなる群より選択される少なくとも1種の元素であり、TはFe、Co、及び、Niからなる群より選択される少なくとも1種の元素であり、Mはホウ素であり、xは、0~0.5の数であり、aは6.0~13.7原子%の数であり、cは0原子%より大きく、12原子%以下の数であり、bは、100-a-c原子%で表される数である。)で表され、少なくともThMn12型の結晶相を有する。
Description
本発明は、磁石、膜、積層体、モータ、発電機、及び、自動車に関する。
Rを希土類元素としたとき、R-Fe(鉄)-B(ホウ素)で表される化合物を用いた希土類磁石は、ハイブリット自動車、及び、電気自動車のモータ等に使用されており、特定の特性を向上させるため、種々の試みがなされている。なかでも、自動車モータ用としては、高温環境下でも所望の特性が発揮されるよう、重希土類(例えばDy(ジスプロシウム)等)を添加した磁石(希土類磁石)が検討されてきた。
しかし近年、重希土類が希少な資源であることに鑑み、重希土類の使用量をできるだけ少なくした希土類磁石の開発が求められるようになってきた。そこで、希土類元素の使用量が少なくて済む、「ThMn12型」結晶構造を有する化合物からなる希土類磁石に注目が集まっている。
一方で、ThMn12型の結晶相は不安定である場合があり、これを安定化させるためにはTi等の元素でThMn12型の結晶相の一部を置換する方法が提案されている。しかし、上記の方法によれば、得られる希土類磁石の磁化が不十分である場合があった。
このような背景のもと、非特許文献1には、Sm(Fe0.8Co0.2)12で表される化合物の単結晶が合成できること、また、得られた単結晶は、飽和磁化、異方性磁場、及び、キュリー温度等の固有磁気特性がいずれもNd2Fe14Bを上回る優れた特性を有することが記載されている。
Y. Hirayama, et al., Scr. Mater. 138 (2017) 62-65.
本発明者らは非特許文献1に記載された化合物を用いて磁石の作製を試みたところ、上記化合物は優れた固有磁気特性を有するものの、磁石に適用した場合、保磁力に改善の余地があることを知見した。
そこで、本発明は、優れた保磁力を有する磁石(希土類磁石)を提供することを課題とする。また、本発明は、膜、積層体、モータ、発電機、及び、自動車を提供することも課題とする。
また、本発明は、上記磁石を含有する磁石層をスパッタリング法によって製造する方法を提供することも課題とする。
そこで、本発明は、優れた保磁力を有する磁石(希土類磁石)を提供することを課題とする。また、本発明は、膜、積層体、モータ、発電機、及び、自動車を提供することも課題とする。
また、本発明は、上記磁石を含有する磁石層をスパッタリング法によって製造する方法を提供することも課題とする。
本発明者らは、上記課題を達成すべく鋭意検討した結果、以下の構成により上記課題を達成することができることを見出した。
[1] 全体組成が、式1:(R1
(1-x)R2
x)aTbMc(上記式中、R1は、Sm、Pm、Er、Tm、及び、Ybからなる群より選択される少なくとも1種の元素であり、R2は、Zr、Y、La、Ce、Pr、Nd、Eu、Gd、Tb、Dy、Ho、及び、Luからなる群より選択される少なくとも1種の元素であり、TはFe、Co、及び、Niからなる群より選択される少なくとも1種の元素であり、Mはホウ素であり、xは、0~0.5の数であり、aは6.0~13.7原子%の数であり、cは0原子%より大きく、12原子%以下の数であり、bは、100-a-c原子%で表される数である。)で表され、少なくともThMn12型の結晶相を有する磁石。
[2] 上記R1が、少なくともSmを含む、[1]に記載の磁石。
[3] 実質的にTi、V、Mo、Nb、Cr、及び、Wのいずれも含有しない[1]又は[2]に記載の磁石。
[4] 上記TがFe、及び、Coである、[1]~[3]のいずれかに記載の磁石。
[5] 所定の方向に沿って、結晶方位、及び、磁化容易軸からなる群より選択される少なくとも一方が優先配向している[1]~[4]のいずれかに記載の磁石。
[6] 上記aが、6.0~10.0原子%である、[1]~[5]のいずれかに記載の磁石。
[7] 上記ThMn12型の結晶相を主相とし、上記主相間に存在するアモルファスの粒界相を有する[1]~[6]のいずれかに記載の磁石。
[8] 上記主相中のホウ素の含有量と上記粒界相中のホウ素の含有量の差の絶対値が、1.0原子%以上である[7]に記載の磁石。
[9] [1]~[8]のいずれかに記載の磁石を含有する膜。
[10] 上記磁石の結晶方位が、[001]方向に優先配向している[9]に記載の膜。
[11] 下地層と、上記下地層に接するように形成された[1]~[8]のいずれかに記載の磁石を含有する磁石層と、を有し、上記下地層は単結晶構造を有する、積層体。
[12] 上記磁石層の結晶方位が、[001]方向に優先配向している[11]に記載の積層体。
[13] 上記下地層が、更に支持体を有する支持体付き下地層である、[11]又は[12]に記載の積層体。
[14] 更にキャップ層を備える、[11]~[13]のいずれかに記載の積層体。
[15] [1]~[8]のいずれかに記載の磁石を有するモータ。
[16] [15]に記載のモータを有する自動車。
[17] [1]~[8]のいずれかに記載の磁石を有する発電機。
[18] [17]に記載の発電機を有する自動車。
[19] 支持体上に[1]~[8]のいずれかに記載の磁石を含有する磁石層をスパッタリング法によって製造する方法であって、上記支持体を250~400℃に加熱して、上記磁石を構成する元素(R1、R2、T、及び、M)を含むターゲットをスパッタした後、上記支持体加熱温度未満の温度で冷却する方法。
[2] 上記R1が、少なくともSmを含む、[1]に記載の磁石。
[3] 実質的にTi、V、Mo、Nb、Cr、及び、Wのいずれも含有しない[1]又は[2]に記載の磁石。
[4] 上記TがFe、及び、Coである、[1]~[3]のいずれかに記載の磁石。
[5] 所定の方向に沿って、結晶方位、及び、磁化容易軸からなる群より選択される少なくとも一方が優先配向している[1]~[4]のいずれかに記載の磁石。
[6] 上記aが、6.0~10.0原子%である、[1]~[5]のいずれかに記載の磁石。
[7] 上記ThMn12型の結晶相を主相とし、上記主相間に存在するアモルファスの粒界相を有する[1]~[6]のいずれかに記載の磁石。
[8] 上記主相中のホウ素の含有量と上記粒界相中のホウ素の含有量の差の絶対値が、1.0原子%以上である[7]に記載の磁石。
[9] [1]~[8]のいずれかに記載の磁石を含有する膜。
[10] 上記磁石の結晶方位が、[001]方向に優先配向している[9]に記載の膜。
[11] 下地層と、上記下地層に接するように形成された[1]~[8]のいずれかに記載の磁石を含有する磁石層と、を有し、上記下地層は単結晶構造を有する、積層体。
[12] 上記磁石層の結晶方位が、[001]方向に優先配向している[11]に記載の積層体。
[13] 上記下地層が、更に支持体を有する支持体付き下地層である、[11]又は[12]に記載の積層体。
[14] 更にキャップ層を備える、[11]~[13]のいずれかに記載の積層体。
[15] [1]~[8]のいずれかに記載の磁石を有するモータ。
[16] [15]に記載のモータを有する自動車。
[17] [1]~[8]のいずれかに記載の磁石を有する発電機。
[18] [17]に記載の発電機を有する自動車。
[19] 支持体上に[1]~[8]のいずれかに記載の磁石を含有する磁石層をスパッタリング法によって製造する方法であって、上記支持体を250~400℃に加熱して、上記磁石を構成する元素(R1、R2、T、及び、M)を含むターゲットをスパッタした後、上記支持体加熱温度未満の温度で冷却する方法。
本発明によれば、優れた保磁力を有する磁石を提供できる。また、本発明によれば、膜、積層体、磁石の製造方法、モータ、発電機、及び、自動車も提供できる。
また、本発明によれば、上記磁石を含有する磁石層をスパッタリング法によって製造する方法も提供できる。
また、本発明によれば、上記磁石を含有する磁石層をスパッタリング法によって製造する方法も提供できる。
以下、本発明について詳細に説明する。
以下に記載する構成要件の説明は、本発明の代表的な実施形態に基づいてなされることがあるが、本発明はそのような実施形態に制限されるものではない。
なお、本明細書において、「~」を用いて表される数値範囲は、特に断らない限り「~」の前後に記載される数値を下限値及び上限値として含有する範囲を意味する。
以下に記載する構成要件の説明は、本発明の代表的な実施形態に基づいてなされることがあるが、本発明はそのような実施形態に制限されるものではない。
なお、本明細書において、「~」を用いて表される数値範囲は、特に断らない限り「~」の前後に記載される数値を下限値及び上限値として含有する範囲を意味する。
[磁石]
本発明の実施形態に係る磁石は、全体組成が、式1:(R1 (1-x)R2 x)aTbMcで表され、少なくともThMn12型の結晶相を有する磁石である。
ここで、上記式中、R1は、Sm、Pm、Er、Tm、及び、Ybからなる群より選択される少なくとも1種の元素であり、R2は、Zr、La、Ce、Pr、Nd、Eu、Gd、Tb、Dy、Ho、及び、Luからなる群より選択される少なくとも1種の元素であり、TはFe、Co、及び、Niからなる群より選択される少なくとも1種の元素であり、Mはホウ素であり、xは、0~0.5の数であり(0≦x≦0.5)、aは6.0~13.7原子%の数であり(6.0≦a≦13.7)、cは0原子%より大きく、12原子%以下の数であり(0<c≦12)、bは、100-a-c原子%で表される数である。
本発明の実施形態に係る磁石は、全体組成が、式1:(R1 (1-x)R2 x)aTbMcで表され、少なくともThMn12型の結晶相を有する磁石である。
ここで、上記式中、R1は、Sm、Pm、Er、Tm、及び、Ybからなる群より選択される少なくとも1種の元素であり、R2は、Zr、La、Ce、Pr、Nd、Eu、Gd、Tb、Dy、Ho、及び、Luからなる群より選択される少なくとも1種の元素であり、TはFe、Co、及び、Niからなる群より選択される少なくとも1種の元素であり、Mはホウ素であり、xは、0~0.5の数であり(0≦x≦0.5)、aは6.0~13.7原子%の数であり(6.0≦a≦13.7)、cは0原子%より大きく、12原子%以下の数であり(0<c≦12)、bは、100-a-c原子%で表される数である。
以下、本発明の実施形態に係る磁石の構成について詳述する。
〔全体組成〕
本発明の実施形態に係る磁石の全体組成は、(R1 (1-x)R2 x)aTbMcで表される。
本明細書において、「全体組成」は、ICP発光分光分析装置(Inductivity coupled plasma optical emission spectrometer ; ICP-OES)により求められ、その測定方法は実施例に記載したとおりである。
本発明の実施形態に係る磁石の全体組成は、(R1 (1-x)R2 x)aTbMcで表される。
本明細書において、「全体組成」は、ICP発光分光分析装置(Inductivity coupled plasma optical emission spectrometer ; ICP-OES)により求められ、その測定方法は実施例に記載したとおりである。
・全体組成中のR1
式1中、R1は、Sm(サマリウム)、Pm(プロメチウム)、Er(エルビウム)、Tm(ツリウム)、及び、Yb(イッテルビウム)からなる群より選択される少なくとも1種の元素(以下、「特定希土類元素」ともいう。)である。R1の特定希土類元素は、1種を単独で用いてもよく、2種以上を併用してもよい。
式1中、R1は、Sm(サマリウム)、Pm(プロメチウム)、Er(エルビウム)、Tm(ツリウム)、及び、Yb(イッテルビウム)からなる群より選択される少なくとも1種の元素(以下、「特定希土類元素」ともいう。)である。R1の特定希土類元素は、1種を単独で用いてもよく、2種以上を併用してもよい。
特定希土類元素は、スティーブンス因子を有する希土類元素である。スティーブンス因子とは、希土類元素の内殻にある4f電子の電化密度(形状)に関する物理量である。これが負であると対称軸に対して縮んだ形、正であると球対称から伸びた形になる。4f電子雲は周りのイオンからの結晶場を受けて、その安定方向が決まるため、電子雲の形状は磁気異方性の向きを決定づける。
本発明の実施形態に係る磁石は、スティーブンス因子が正である元素を含有するため、優れた磁石特性を有する。
本発明の実施形態に係る磁石は、スティーブンス因子が正である元素を含有するため、優れた磁石特性を有する。
なかでも、より優れた本発明の効果を有する磁石が得られる点で、R1としては、スティーブンス因子が正であるSm、Yb、Tm、及び、Pmからなる群より選択される少なくとも1種が好ましく、Sm、Yb、及び、Tmからなる群より選択される少なくとも1種がより好ましく、Sm、及び、Ybからなる群より選択される少なくとも1種が更に好ましい。
なかでも、Smは、スティーブンス因子が正で、基底状態では後述するTで表される原子と強磁性的な結合をすると推測され、R1がSmを含有すると、得られる磁石はより優れた本発明の効果を有する。
従い、R1としては少なくともSmを含有することが好ましい。
従い、R1としては少なくともSmを含有することが好ましい。
・全体組成中のR2
式1中、R2は、Zr(ジルコニウム)、Y(イットリウム)、La(ランタン)、Ce(セリウム)、Pr(プラセオジム)、Nd(ネオジム)、Eu(ユウロピウム)、Gd(ガドリニウム)、Tb(テルビウム)、Dy(ジスプロシウム)、Ho(ホルミウム)、及び、Lu(ルテチウム)からなる群より選択される少なくとも1種(以下、「特定元素」ともいう。)である。R2の特定元素は、1種を単独で用いてもよく、2種以上を併用してもよい。
式1中、R2は、Zr(ジルコニウム)、Y(イットリウム)、La(ランタン)、Ce(セリウム)、Pr(プラセオジム)、Nd(ネオジム)、Eu(ユウロピウム)、Gd(ガドリニウム)、Tb(テルビウム)、Dy(ジスプロシウム)、Ho(ホルミウム)、及び、Lu(ルテチウム)からなる群より選択される少なくとも1種(以下、「特定元素」ともいう。)である。R2の特定元素は、1種を単独で用いてもよく、2種以上を併用してもよい。
R2は磁石が有するThMn12型結晶相の安定化に寄与する成分である。
このうち、Y、及び、Ce(中でも、Ce(IV)が好ましい。)は、それ自体は磁性を有さない元素であるものの、磁石がR2として上記を含有することによって、得られる磁石は優れた安定性を有する。
このうち、Y、及び、Ce(中でも、Ce(IV)が好ましい。)は、それ自体は磁性を有さない元素であるものの、磁石がR2として上記を含有することによって、得られる磁石は優れた安定性を有する。
Gd、及び、Zrは、得られる磁石の安定性をより向上させる機能を有し、特に、R1がSmを含有する場合に、その効果がより顕著である。すなわち、磁石が、R1として少なくともSmを含有する場合、磁石は、R2として、Gd、及び、Zrからなる群より選択される少なくとも1種の特定元素を含有することが好ましい。
La、Ce、Pr、Nd、Eu、Gd、Tb、Dy、Ho、及び、Luは、スティーブンス因子が負、又は、ゼロであり、本磁石が有するThMn12型の結晶相の安定化に寄与する。一方で、R2元素は、R1元素に由来する磁気異方性を弱める作用もまた有するため、結晶相の安定性と、磁気特性の両面から、その含有量を調整することが好ましい。
具体的には、本磁石中におけるR1、及び、R2の含有量の合計に対するR2の原子%(at%)基準の含有量の含有量比(式中xで表される数)は0.5以下であり、0.4以下が好ましく、0.3以下が更に好ましい。
なお、下限としては特に制限されないが、本磁石は、R2を含有していなくてもよい。すなわち、本磁石においては、0≦x≦0.5であり、0≦x≦0.4が好ましく、0≦x≦0.3がより好ましい。
なお、下限としては特に制限されないが、本磁石は、R2を含有していなくてもよい。すなわち、本磁石においては、0≦x≦0.5であり、0≦x≦0.4が好ましく、0≦x≦0.3がより好ましい。
全体組成中におけるR1とR2との原子%基準の合計含有量aは6.0≦a≦13.7である。より優れた本発明の効果を有する磁石が得られる点で、aとしては、6.0≦a≦10であることが好ましい。
・全体組成中のT
式1中、Tは、Fe(鉄)、Co(コバルト)、及び、Ni(ニッケル)からなる群より選択される少なくとも1種の元素である。これらは鉄族元素に分類され、常温、及び、常圧において、強磁性を示す点で共通の性質を有する。従って、TとしてのFe、Co、及び、Niは互いに置換可能であり、Tとしては上記鉄族元素を単独で用いてもよく、2種以上を併用してもよい。
全体組成中のTの含有量としては、上述したa、及び、後述するcとの関係で100-a-cを満足すれば特に制限されないが一般に50~95原子%が好ましく、60~85原子%がより好ましい。
式1中、Tは、Fe(鉄)、Co(コバルト)、及び、Ni(ニッケル)からなる群より選択される少なくとも1種の元素である。これらは鉄族元素に分類され、常温、及び、常圧において、強磁性を示す点で共通の性質を有する。従って、TとしてのFe、Co、及び、Niは互いに置換可能であり、Tとしては上記鉄族元素を単独で用いてもよく、2種以上を併用してもよい。
全体組成中のTの含有量としては、上述したa、及び、後述するcとの関係で100-a-cを満足すれば特に制限されないが一般に50~95原子%が好ましく、60~85原子%がより好ましい。
Tとしては、より優れた本発明の効果を有する磁石が得られる点で、Fe、及び、Coからなる群より選択される少なくとも1種の元素を含むことが好ましく、Fe、及び、Coを併用することが好ましい。
TとしてCoを含有する場合、磁石の磁化がより向上し、キュリー温度がより上昇する。
TとしてCoを含有する場合、磁石の磁化がより向上し、キュリー温度がより上昇する。
Tは、Fe、及び、Coであることが好ましい。すなわち、本磁石の全体組成としては、式2:(R1
(1-x)R2
x)a(FepCo1-p)bMcで表されることが好ましい。このとき、pは、0.5~0.9の数である。
なかでもより優れた本発明の効果を有する磁石が得られる点で、本磁石の全体組成としては、式3:(Sm1-xR2 x)a(FepCo1-p)bMcで表されることがより好ましい。このとき、pは、0.5~0.9の数であり、好ましくは、0.7~0.8の数である。
なかでもより優れた本発明の効果を有する磁石が得られる点で、本磁石の全体組成としては、式3:(Sm1-xR2 x)a(FepCo1-p)bMcで表されることがより好ましい。このとき、pは、0.5~0.9の数であり、好ましくは、0.7~0.8の数である。
・全体組成中のM
Mはホウ素(ホウ素元素、B)である。全体組成中のホウ素の含有量としては、0原子%より大きく、12原子%以下が好ましい。
Mはホウ素(ホウ素元素、B)である。全体組成中のホウ素の含有量としては、0原子%より大きく、12原子%以下が好ましい。
従来、ホウ素のような軽元素を1-12相(ThMn12型の結晶相)に添加することによれば、異方性が面内に変化するために得られる磁石の保磁力が低下してしまうと考えられてきた。
しかし、本発明者らは上記のような技術常識にとらわれずに、様々な元素の可能性を多面的な視点で検討してきた。その努力の結果、所定量のホウ素を含有する式1で表される全体組成を有する磁石であれば、すぐれた保磁力を有することを見出し、本発明を完成させた。
しかし、本発明者らは上記のような技術常識にとらわれずに、様々な元素の可能性を多面的な視点で検討してきた。その努力の結果、所定量のホウ素を含有する式1で表される全体組成を有する磁石であれば、すぐれた保磁力を有することを見出し、本発明を完成させた。
更に、本磁石は、驚くべきことに、後述する実施例で示すように、構造中に、1-12相のほかにα-Fe(α-(Fe,Co))相等の結晶相を有するにもかかわらず、優れた保磁力を有している。一般に、1-12相を主相とする磁石の構造中に、上記他の結晶相が混在することは、保磁力を低減させたり、減磁曲線の角形性を低下させたりする原因となり得ると考えられてきたが、本発明者らの鋭意の検討によって、本磁石については、上記他の結晶相が含有されている場合であっても、当業者の予想しえない特に優れた性能を有することが明らかにされた。
結晶相として1-12相のほかにα-Fe(α-(Fe,Co))相等を有する場合でも優れた保磁力が発揮される理由は必ずしも明らかではないが、後述する実施例で示す構造解析の結果から、本発明者らは以下の通り推測している。すなわち、ホウ素を添加することにより1-12相を主相とする結晶相の粒界にホウ素濃度が高いアモルファス相(B濃化相)が形成され、α-Fe(α-(Fe,Co))相等の軟磁性相が形成されても、当該アモルファスの粒界相(B濃化相)に含まれる非磁性のホウ素化合物により磁壁の移動が制限されたため、あるいは当該アモルファス相と主相間の磁壁エネルギー差が急峻なため保磁力が増加したと考えられる。
また、上記アモルファスの粒界相(B濃化相)による保磁力の向上効果をより確実に得る観点から、主相(1-12相)中のホウ素の含有量と当該アモルファスの粒界相(B濃化相)中のホウ素の含有量の差の絶対値は、1.0原子%以上であることが好ましい。また、当該ホウ素の含有量の差の絶対値は、全体組成中のホウ素の含有量に応じてより大きい値であってもよく、例えば、1.5原子%以上であってもよく、2.0原子%以上であってもよく、3.0原子%以上であってもよく、4.0原子%以上であってもよく、5.0原子%以上であってもよく、7.5原子%以上であってもよく、10原子%以上であってもよい。
より具体的には、主相(1-12相)中のホウ素の含有量は0原子%超である。従って、上記アモルファスの粒界相(B濃化相)中のホウ素の含有量は、1.0原子%超であることが好ましい。また、上記アモルファスの粒界相(B濃化相)中のホウ素の含有量は、1.5原子%以上であってもよく、2.0原子%以上であってもよく、3.0原子%以上であってもよく、4.0原子%以上であってもよく、5.0原子%以上であってもよく、7.5原子%以上であってもよく、10原子%以上であってもよい。
主相(1-12相)中のホウ素の含有量の上限としては、全体組成中のホウ素の含有量(原子%)を基準として、その半分の値から1.0を除算して得た値未満の値であることが好ましい。例えば、本発明の実施形態に係る磁石の全体組成中のホウ素の含有量が12原子%である態様では、主相(1-12相)中のホウ素の含有量は、5.0原子%未満が好ましく、4.0原子%以下がより好ましく、3.0原子%以下が更に好ましく、2.0原子%以下が特に好ましく、1.0原子%以下が最も好ましく、0.5原子%以下がより最も好ましい。
上記アモルファスの粒界相(B濃化相)中のホウ素の含有量は、全体組成中のホウ素の含有量(原子%)を基準として、その半分の値以上の値であることが好ましい。例えば、本発明の実施形態に係る磁石の全体組成中のホウ素の含有量が12原子%である態様では、上記アモルファスの粒界相(B濃化相)中のホウ素の含有量は、6.0原子%以上が好ましく、6.5原子%以上がより好ましく、7.0原子%以上が更に好ましく、8.0原子%以上が特に好ましく、9.0原子%以上が最も好ましく、10原子%以上がより最も好ましく、10.5原子%以上が更に最も好ましい。なお、上記アモルファスの粒界相(B濃化相)中のホウ素の含有量の上限としては特に制限されず、全体組成中のホウ素の含有量によって変動し得ることが理解されるべきである。
また、より優れた本発明の効果を有する磁石が得られる点で、本磁石は、Ti(チタン)、V(バナジウム)、Mo(モリブデン)、Nb(ニオブ)、Cr(クロム)、及び、W(タングステン)(以下、「除外元素」ともいう。)のいずれをも実質的に含有しないことが好ましい。上記除外元素を実質的に含有しない磁石は、より優れた最大磁気エネルギー積および保磁力を有する。
なお、本明細書において、実質的に含有しないとは、ICP-OES分析によって主相中に含まれる元素を分析した場合に、除外元素の含有量が、全原子中の0.1原子%以下であることを意味し、0.01原子%以下であることがより好ましく、0.001原子%以下であることが更に好ましい、
なお、上記主相が2種以上の除外元素を含有する場合、上記2種以上の除外元素の合計が上記数値範囲内であることが好ましい。
なお、上記主相が2種以上の除外元素を含有する場合、上記2種以上の除外元素の合計が上記数値範囲内であることが好ましい。
本磁石は、ThMn12型の結晶相を有していれば他の結晶相を有していてもよい。他の結晶相としては特に制限されないが、例えば、全体組成がSm(Fe0.8Co0.2)12Bで表される場合、α-Fe、α-(Fe,Co)、Sm(FeCo)7、及び、Sm2(FeCo)17相等が挙げられる。
より優れた本発明の効果が得られやすい点で、本磁石は、ThMn12型の結晶相を主相とし、α-Fe、α-(Fe,Co)、Sm(FeCo)7、及び、Sm2(FeCo)17相等を他の結晶相とする構造であることが好ましい。
なお、本明細書において、主相とは磁石のX線回折測定において、検出されるピーク強度が最も大きい相を意味する。
より優れた本発明の効果が得られやすい点で、本磁石は、ThMn12型の結晶相を主相とし、α-Fe、α-(Fe,Co)、Sm(FeCo)7、及び、Sm2(FeCo)17相等を他の結晶相とする構造であることが好ましい。
なお、本明細書において、主相とは磁石のX線回折測定において、検出されるピーク強度が最も大きい相を意味する。
本磁石において、結晶方位、及び、磁化容易軸の配向状態としては特に制限されないが、最大エネルギー積(BH)maxがより大きくなりやすい点で、結晶方位、及び、磁化容易軸からなる群より選択される少なくとも一方が、所定の方向に沿って優先配向していることが好ましい。結晶方位、及び、磁化容易軸からなる群より選択される少なくとも一方が所定の方向に沿って優先配向した磁石を、本明細書においては、異方性磁石ともいう。
すなわち、本発明の実施形態に係る磁石は、異方性磁石であることが好ましい。
すなわち、本発明の実施形態に係る磁石は、異方性磁石であることが好ましい。
例えば、ThMn12型の結晶相を有する磁性化合物であるSm(Fe0.8Co0.2)12は、[001]方向が磁化容易軸であり、上記磁化容易軸が所定の方向に優先配向している場合、より優れた最大エネルギー積(BH)maxを有する異方性磁石が得られる。
本磁石は、ThMn12型の結晶相を有しており、この結晶方位、及び/又は、磁化容易軸が所定の方向に優先配向していると、より優れた本発明の効果を有する磁石が得られやすい。
本磁石は、ThMn12型の結晶相を有しており、この結晶方位、及び/又は、磁化容易軸が所定の方向に優先配向していると、より優れた本発明の効果を有する磁石が得られやすい。
なお、本明細書において、「優先配向」とは、XRD(X‐ray diffraction)の面内測定(In-Plane XRD)、又は、通常の薄膜X線回折(面外(Out-of-Plane)XRD)において、検出されるThMn12型の結晶相以外の相(第2相)のピーク強度に対する、ThMn12型の結晶相の(00L)からの回折線のピーク強度が、1以上であることを意味し、2以上であることが好ましい。
本磁石は、ThMn12型の結晶相以外の相(すでに説明したα-Fe相等)を有していてもよく、この場合、α-Fe相に由来するピークは、ThMn12型の結晶相の所定の結晶方位等に由来するピークには含まれない。
本磁石は、ThMn12型の結晶相以外の相(すでに説明したα-Fe相等)を有していてもよく、この場合、α-Fe相に由来するピークは、ThMn12型の結晶相の所定の結晶方位等に由来するピークには含まれない。
本発明の実施形態に係る磁石は、上記の材料組織及び特性を有していれば、その形態等は特に制限されない。磁石の形態としては、例えば、粒子状であってもよいし、平板状であってもよいし、曲面を有する3次元形状であってもよい。
また、本磁石は平板状(膜)であってもよい。
また、本磁石は平板状(膜)であってもよい。
〔磁石の用途〕
本磁石は、優れた保磁力を有するため、高性能永久磁石として、自動車モータ、及び、省エネ電化製品等に好ましく用いることができる。
本磁石は、優れた保磁力を有するため、高性能永久磁石として、自動車モータ、及び、省エネ電化製品等に好ましく用いることができる。
[磁石の製造方法]
本磁石の製造方法としては特に制限されず、公知の磁石の製造方法が適用できる。上記の様な製造方法としては、例えば、特開2017-50396号公報等が挙げられ、上記内容は本明細書に組み込まれる。
本磁石の製造方法としては特に制限されず、公知の磁石の製造方法が適用できる。上記の様な製造方法としては、例えば、特開2017-50396号公報等が挙げられ、上記内容は本明細書に組み込まれる。
磁石を形成する方法としては特に制限されず、焼結法、超急冷凝固法、蒸着法、及び、HDDR(Hydrogenation Decomposition Desorption Recombination)法等が適用可能である。なかでも、より簡易に、磁石(層)を形成できる点で、スパッタリング法により支持体上に形成することが好ましい。以下では、スパッタリング法により磁石層を形成する形態について詳述する。
支持体としては特に制限されず、公知の支持体を使用可能である。なかでも、より優れた本発明の効果を有する磁石が得られる点で、支持体としては、シリコン、低温焼成セラミックス、Al2O3、LiTaO3、LiNbO、水晶、SiC、GaAs、GaN、及び、ガラス等が挙げられる。
また、上記支持体は別の元素がドープされたものであってもよく(例えば、ヒ素、及び/又は、リンがドープされたシリコン)、複数の層を有する積層体であってもよい(例えば、熱酸化膜付きシリコン)。
また、上記支持体は別の元素がドープされたものであってもよく(例えば、ヒ素、及び/又は、リンがドープされたシリコン)、複数の層を有する積層体であってもよい(例えば、熱酸化膜付きシリコン)。
スパッタリングを行う際の成膜装置のチャンバ内の圧力としては特に制限されないが、得られる磁石中の意図しない成分の混入をより減少させる観点で、10-6Pa以下が好ましく、10-8Pa以下がより好ましい。
また、支持体上に磁石を積層する前に、支持体表面を清浄化することが好ましい。支持体表面を清浄化する方法としては特に制限されないが、例えば、支持体自体をスパッタリングする方法等が挙げられる。上記によれば支持体上に形成された支持体の酸化被膜、及び、有機物等を除去できる。また、支持体を所定の温度(例えば、600~800℃程度)に加熱し、所定時間(例えば、10~30分間程度)保持して熱処理を施すことにより、支持体表面を清浄化してもよい。
また、支持体上に磁石を積層する前に、支持体表面を清浄化することが好ましい。支持体表面を清浄化する方法としては特に制限されないが、例えば、支持体自体をスパッタリングする方法等が挙げられる。上記によれば支持体上に形成された支持体の酸化被膜、及び、有機物等を除去できる。また、支持体を所定の温度(例えば、600~800℃程度)に加熱し、所定時間(例えば、10~30分間程度)保持して熱処理を施すことにより、支持体表面を清浄化してもよい。
スパッタリングの方法としては特に制限されないが、より低圧のAr雰囲気でスパッタリングが可能となるマグネトロン・スパッタリング法が好ましい。ここで、ターゲット材の厚みを調整することで、マグネトロン・スパッタリングの漏れ磁束の低減をより抑制し、スパッタリングをより容易にできる。スパッタリングの電源は、DC、及び、RFどちらでも使用可能であり、ターゲット材に応じて適宜選択できる。
磁石の支持体加熱温度、成膜レート、及び、成膜時間としては特に制限されず、必要な磁石の厚みに応じて適宜調整すればよい。成膜レートは、スパッタリングのパワー、及び/又は、時間により調整可能である。
支持体加熱温度は、上述した構造を有する本発明の実施形態に係る磁石がより効率的に得られる観点で、250~400℃が好ましく、300~350℃がより好ましい。
また、支持体上への磁石層の成膜(磁石の積層)後、支持体加熱温度未満の温度で冷却することが好ましい。これにより、本発明の実施形態に係る磁石の効果をより確実に得ることができる。なお、上記支持体加熱温度未満の温度で冷却する際の冷却手段及び冷却時間は特に制限されない。例えば、磁石層の成膜後、支持体の加熱及び冷却を行わずに、自然冷却してもよい。上記自然冷却の場合、支持体加熱温度の値や成膜装置のチャンバ内の雰囲気等によって異なるが、例えば、支持体加熱温度が300~350℃の条件では、約20~50分後に支持体の温度は約50~70℃まで低下する。
また、磁石層の成膜後、支持体加熱手段の温度を、支持体加熱温度未満の温度に設定し、所定時間保持することで支持体を冷却してもよい。この場合において、支持体加熱手段の設定温度は上記支持体加熱温度未満の温度であれば任意の温度であってよく、保持時間も任意の時間であってよい。
また、上述した支持体加熱手段による冷却と自然冷却を組み合わせてもよい。
さらに、磁石層の成膜後、窒素ガス等の冷却媒体を用いて支持体を冷却してもよく、これにより、より短い製造時間で本発明の実施形態に係る磁石を得ることができる。上記冷却媒体を用いる冷却の場合、冷却媒体の種類や支持体加熱温度の値等によって異なるが、例えば窒素ガスを用いた場合、数分~10分程度で支持体の温度は20℃程度まで低下する。
なお、上述した冷却条件について、磁石層の成膜時の支持体加熱温度と冷却終了時の支持体温度との差を冷却時間で除算して得られる平均冷却速度(℃/分)のおおよその目安としては、約3~85℃/分であってよい。
支持体加熱温度は、上述した構造を有する本発明の実施形態に係る磁石がより効率的に得られる観点で、250~400℃が好ましく、300~350℃がより好ましい。
また、支持体上への磁石層の成膜(磁石の積層)後、支持体加熱温度未満の温度で冷却することが好ましい。これにより、本発明の実施形態に係る磁石の効果をより確実に得ることができる。なお、上記支持体加熱温度未満の温度で冷却する際の冷却手段及び冷却時間は特に制限されない。例えば、磁石層の成膜後、支持体の加熱及び冷却を行わずに、自然冷却してもよい。上記自然冷却の場合、支持体加熱温度の値や成膜装置のチャンバ内の雰囲気等によって異なるが、例えば、支持体加熱温度が300~350℃の条件では、約20~50分後に支持体の温度は約50~70℃まで低下する。
また、磁石層の成膜後、支持体加熱手段の温度を、支持体加熱温度未満の温度に設定し、所定時間保持することで支持体を冷却してもよい。この場合において、支持体加熱手段の設定温度は上記支持体加熱温度未満の温度であれば任意の温度であってよく、保持時間も任意の時間であってよい。
また、上述した支持体加熱手段による冷却と自然冷却を組み合わせてもよい。
さらに、磁石層の成膜後、窒素ガス等の冷却媒体を用いて支持体を冷却してもよく、これにより、より短い製造時間で本発明の実施形態に係る磁石を得ることができる。上記冷却媒体を用いる冷却の場合、冷却媒体の種類や支持体加熱温度の値等によって異なるが、例えば窒素ガスを用いた場合、数分~10分程度で支持体の温度は20℃程度まで低下する。
なお、上述した冷却条件について、磁石層の成膜時の支持体加熱温度と冷却終了時の支持体温度との差を冷却時間で除算して得られる平均冷却速度(℃/分)のおおよその目安としては、約3~85℃/分であってよい。
また、本磁石の製造方法は、上記に加えて、磁石を形成する前に、更に、支持体上に下地層を形成する工程を更に有していてもよい。
下地層は、支持体と磁石層との間に形成される層であって、磁石層と直接接するように形成されることが好ましい。
すなわち、磁石層は、支持体上に形成された下地層上に形成されることが好ましい。言い換えれば、磁石層は支持体付き下地層上に形成されることが好ましい。下地層上に磁石前駆体を形成することにより、磁石層の結晶配向を制御できる点で好ましい。
すなわち、磁石層は、支持体上に形成された下地層上に形成されることが好ましい。言い換えれば、磁石層は支持体付き下地層上に形成されることが好ましい。下地層上に磁石前駆体を形成することにより、磁石層の結晶配向を制御できる点で好ましい。
下地層の材料としては特に制限されないが、その後に形成される磁石との格子ミスマッチによる格子欠陥を低減し、結晶性を改善できる形態が好ましい。すなわち、下地層の材料は、磁石の格子定数と同程度であるものがより好ましい。
下地層の材料成分としては、特に制限されず、その後に形成される磁石に応じて適宜選択すればよいが、例えば、より結晶性が高い、及び/又は、より配向性の高い結晶が得られる点で、MgO、及び、V等を含有することが好ましい。
なお、下地層の材料は、上記の材料成分の1つ以上を含有することが好ましいが、2つ以上を含んでもよい。その場合、固溶体、共晶(共融混合物)、金属間化合物、及び、これらの混合物のいずれであってもよいし、積層体であってもよい。すなわち、下地層は、複数の層の積層体であってもよい。
なお、下地層の材料は、上記の材料成分の1つ以上を含有することが好ましいが、2つ以上を含んでもよい。その場合、固溶体、共晶(共融混合物)、金属間化合物、及び、これらの混合物のいずれであってもよいし、積層体であってもよい。すなわち、下地層は、複数の層の積層体であってもよい。
下地層の材料は、単結晶であっても多結晶であってもよいが、より優れた本発明の効果を有する磁石が得られる点で、単結晶であることが好ましい。単結晶である下地層を用いることにより、その後に形成される磁石層が、よりエピタキシャル成長しやすく、結果として、より優れた本発明の効果を有する磁石が得られる。
下地層の形成方法としては特に制限されず、公知の方法が適用可能である。なかでも、より簡便に下地層を形成できる点で、すでに説明した磁石(層)の形成方法と同様の方法が好ましい。
また、上記以外の工程として、更に、磁石層上にキャップ層を配置する工程を有していてもよい。
キャップ層は磁石層を保護し、及び/又は、磁石層の変性(例えば、酸化)等を防止する目的で形成される層である。
キャップ層は磁石層を保護し、及び/又は、磁石層の変性(例えば、酸化)等を防止する目的で形成される層である。
キャップ層の材料成分としては特に制限されないが、すでに説明した下地層と同様の材料を用いることができる。また、キャップ層の形成方法としては特に制限されないが、磁石層の形成と同様の方法が適用できる。
[膜]
本発明の実施形態に係る膜は、すでに説明した磁石を含有する膜である。
本発明の実施形態に係る膜中における磁石の含有量としては特に制限されないが、一般に、50体積%以上が好ましく、60体積%以上がより好ましく、70体積%以上が更に好ましく、80体積%以上が特に好ましい。
また、膜が磁石を含有する形態としては特に制限されないが、粒子状の磁石と、バインダとを含有する形態、及び、磁石からなる層(磁石層)を有する形態等が挙げられる。
本発明の実施形態に係る膜は、すでに説明した磁石を含有する膜である。
本発明の実施形態に係る膜中における磁石の含有量としては特に制限されないが、一般に、50体積%以上が好ましく、60体積%以上がより好ましく、70体積%以上が更に好ましく、80体積%以上が特に好ましい。
また、膜が磁石を含有する形態としては特に制限されないが、粒子状の磁石と、バインダとを含有する形態、及び、磁石からなる層(磁石層)を有する形態等が挙げられる。
本発明の実施形態に係る磁石を含有する膜としては、すでに説明した磁石を含有すれば、本発明の効果を奏する限りにおいて他の成分を含有していてもよい。他の成分としては、例えば、バインダ等が挙げられる。
バインダとしては特に制限されず、公知の材料を使用でき、無機材料、有機材料、及び、これらの複合材料が使用できる。公知のバインダとしては例えば、エポキシ樹脂等が挙げられる。
バインダとしては特に制限されず、公知の材料を使用でき、無機材料、有機材料、及び、これらの複合材料が使用できる。公知のバインダとしては例えば、エポキシ樹脂等が挙げられる。
本発明の実施形態に係る膜は、本発明の効果を奏する範囲内において、他の成分を含有していてもよく、他の成分としては式1においてR1、R2、T、及び、Mとして説明した各元素を少なくとも1つを含有する化合物が挙げられる。
上記膜中における磁石は、単結晶であってもよいThMn12型の結晶相を有し、典型的には全体としては多結晶相である。このとき、膜における結晶方位、及び、磁化容易軸からなる群より選択される少なくとも一方の配向状態としては特に制限されない。
なかでも、最大エネルギー積(BH)maxがより大きくなりやすい点で、上記磁石の結晶方位が、[001]方向に優先配向していることが好ましい。
すなわち、上記膜は、結晶方位が[001]方向に優先配向した磁石を含有する膜であることが好ましい。
なかでも、最大エネルギー積(BH)maxがより大きくなりやすい点で、上記磁石の結晶方位が、[001]方向に優先配向していることが好ましい。
すなわち、上記膜は、結晶方位が[001]方向に優先配向した磁石を含有する膜であることが好ましい。
膜の厚みとしては特に制限されないが、後述する図11に示したとおり、より優れた本発明の効果が得られる点で、1nm~10000μmが好ましく、10~1000nmがより好ましく、15~300nmが更に好ましく、20~200nmが特に好ましく、30~180nmが最も好ましく、50~150nmがより最も好ましく、60~120nmが更に最も好ましく、80~120nmが特に最も好ましい。
[積層体]
本発明の実施形態に係る積層体は、下地層と、上記下地層に接するように形成された、すでに説明した磁石を含有する磁石層と、を有し、上記下地層は単結晶構造を有し、かつ、上記磁石層の結晶方位が、[001]方向に優先配向している積層体である。
本発明の実施形態に係る積層体は、下地層と、上記下地層に接するように形成された、すでに説明した磁石を含有する磁石層と、を有し、上記下地層は単結晶構造を有し、かつ、上記磁石層の結晶方位が、[001]方向に優先配向している積層体である。
本積層体について、図1をもとに説明する。積層体10は、キャップ層11から順に、磁石層12、下地層13、及び、支持体14とを有している。
磁石層12は、上記磁石を含有していればその形態としては特に制限されないが、例えば、上記膜であることが好ましく、その好適形態も同様である。またその他の層の構成も磁石の製造方法において説明したのと同様であり、好適形態も同様である。
本発明の実施形態に係る磁石は、優れた保磁力を有するため、MEMS(Micro Electro Mechanical Systems)分野、エナジーハーベスト(環境発電)等エネルギー分野、及び、医療機器分野等に適用可能である。
[モータ]
本発明の実施形態に係るモータは、上記磁石を有するモータである。図2には、本発明の実施形態に係るモータとして、永久磁石モータ20を示した。永久磁石モータ20は、固定子21と、固定子21内に回転可能に配置された回転子24とを有する。回転子24は、芯材22と、芯材22中に配置された複数の磁石23とを有する。
本発明の実施形態に係るモータは、上記磁石を有するモータである。図2には、本発明の実施形態に係るモータとして、永久磁石モータ20を示した。永久磁石モータ20は、固定子21と、固定子21内に回転可能に配置された回転子24とを有する。回転子24は、芯材22と、芯材22中に配置された複数の磁石23とを有する。
図2は永久磁石モータであるが、本発明の実施形態に係るモータとしては上記に制限されず、可変磁束モータ等にも適用可能である。
[発電機]
本発明の実施形態に係る発電機は、上記磁石を有する発電機である。図3には、本発明の実施形態に係る発電機を示した。
発電機30は、上記磁石を有する固定子31と、回転可能に設けられた回転子32とを有する。回転子32は、固定子31の内側に配置されており、回転子32は、シャフト34により、タービン33に接続されている。タービン33は、例えば、外部から供給される流体により回転し、上記回転によって発生した起電力が、発電機30の出力として取り出される。なお、発電機30は、他の部材であって公知の物、例えば、相分離母線、主変圧器、及び、帯電除去用のブラシ等を有していてもよい。
また、上記発電機30の回転子32には、タービン33の回転が伝達されているが本発明の実施形態に係る発電機としては上記に制限されず、自動車の回生エネルギー等を入力することもできる。
本発明の実施形態に係る発電機は、上記磁石を有する発電機である。図3には、本発明の実施形態に係る発電機を示した。
発電機30は、上記磁石を有する固定子31と、回転可能に設けられた回転子32とを有する。回転子32は、固定子31の内側に配置されており、回転子32は、シャフト34により、タービン33に接続されている。タービン33は、例えば、外部から供給される流体により回転し、上記回転によって発生した起電力が、発電機30の出力として取り出される。なお、発電機30は、他の部材であって公知の物、例えば、相分離母線、主変圧器、及び、帯電除去用のブラシ等を有していてもよい。
また、上記発電機30の回転子32には、タービン33の回転が伝達されているが本発明の実施形態に係る発電機としては上記に制限されず、自動車の回生エネルギー等を入力することもできる。
[自動車]
本発明の実施形態に係る自動車は、上記モータ、及び/又は、発電機を有する自動車である。
図4は、本発明の実施形態に係る自動車の発電、蓄電、及び、駆動機構を示す概念図である。自動車40は、車輪41と、モータ42とを有し、これらが車軸45で連結されている。モータ42は、すでに説明した磁石を有するモータであり、このモータの出力により車輪41が回転する。
本発明の実施形態に係る自動車は、上記モータ、及び/又は、発電機を有する自動車である。
図4は、本発明の実施形態に係る自動車の発電、蓄電、及び、駆動機構を示す概念図である。自動車40は、車輪41と、モータ42とを有し、これらが車軸45で連結されている。モータ42は、すでに説明した磁石を有するモータであり、このモータの出力により車輪41が回転する。
モータ42は蓄電池43と電気的に接続されており、モータ42へ蓄電池43から電気エネルギーが入力される。蓄電池43は発電機44と電気的に接続されており、発電機44で発生した電力が蓄電池43へと供給される。なお、上記発電機44はすでに説明した磁石を有する発電機である。
発電機44は、図示しないエンジンとシャフトにより接続されており、エンジンから生じた機械的エネルギーにより発電機44の回転子が回転するよう構成されている。
発電機44は、図示しないエンジンとシャフトにより接続されており、エンジンから生じた機械的エネルギーにより発電機44の回転子が回転するよう構成されている。
自動車40においては、モータ42、及び、発電機44のいずれもが磁石を有しているが、本発明の実施形態に係る自動車としては上記に制限されず、磁石と発電機のいずれか一方が磁石を有していればよい。
以下に実施例に基づいて本発明を更に詳細に説明する。以下の実施例に示す材料、使用量、割合、処理内容、処理手順等は、本発明の趣旨を逸脱しない限り適宜変更することができる。従って、本発明の範囲は以下に示す実施例により限定的に解釈されるべきものではない。
〔全体組成がSm(Fe0.8Co0.2)12Bで表される磁石を含有する膜の作製〕
(例1~例18)
膜の作製には、DCマグネトロンスパッタ法を用いた。
0.167Pa(1.30mTorr)のAr雰囲気下、超高真空(UHV)対応のDCマグネトロンスパッタ装置のチャンバ内の圧力を10-8Pa未満とし、MgO(100)単結晶基板を700℃で20分間熱処理し、表面を清浄化した。その後、このMgO(100)単結晶基板上に、Sm(Fe0.8Co0.2)12と格子ミスマッチの小さいV(厚み=20nm)を配置し、下地層とし、下地層付き基板(以下、単に「基板」ともいう。)を準備した。
(例1~例18)
膜の作製には、DCマグネトロンスパッタ法を用いた。
0.167Pa(1.30mTorr)のAr雰囲気下、超高真空(UHV)対応のDCマグネトロンスパッタ装置のチャンバ内の圧力を10-8Pa未満とし、MgO(100)単結晶基板を700℃で20分間熱処理し、表面を清浄化した。その後、このMgO(100)単結晶基板上に、Sm(Fe0.8Co0.2)12と格子ミスマッチの小さいV(厚み=20nm)を配置し、下地層とし、下地層付き基板(以下、単に「基板」ともいう。)を準備した。
続いて、Sm(Fe0.8Co0.2)12B層の成膜では、基板を325℃に加熱して、Sm、Fe、Fe50Co50、Fe80B20ターゲットを同時にスパッタした。更に、酸化防止のためキャップ層としてV(10nm)を堆積した。
なお、予めDCマグネトロンスパッタ装置の設定条件と、成膜レートとの関係を段差計を用いて測定し、この結果を用いて、各試料膜におけるホウ素の導入量を成膜レートから見積もった。
すなわち、同じ厚みの膜であっても、成膜レートを制御することでホウ素の導入量を制御でき、成膜レートを一定とすれば、一定のホウ素含有量を有し膜の厚みの異なる試料を成膜することもできる。なお、本発明者らの予備実験によれば、上記の材料、成膜条件、及び、成膜装置を用いて、基板上に5nm以上の厚みを有するSm(Fe0.8Co0.2)12B層を成膜することができることが確認されている。また、必要に応じて、Sm(Fe0.8Co0.2)12B層の厚みを5nm未満とすることも可能である。
なお、予めDCマグネトロンスパッタ装置の設定条件と、成膜レートとの関係を段差計を用いて測定し、この結果を用いて、各試料膜におけるホウ素の導入量を成膜レートから見積もった。
すなわち、同じ厚みの膜であっても、成膜レートを制御することでホウ素の導入量を制御でき、成膜レートを一定とすれば、一定のホウ素含有量を有し膜の厚みの異なる試料を成膜することもできる。なお、本発明者らの予備実験によれば、上記の材料、成膜条件、及び、成膜装置を用いて、基板上に5nm以上の厚みを有するSm(Fe0.8Co0.2)12B層を成膜することができることが確認されている。また、必要に応じて、Sm(Fe0.8Co0.2)12B層の厚みを5nm未満とすることも可能である。
以下の表1には、実施例で作製した試料とホウ素の導入(目標)量、及び、ICP-OESによる元素分析結果をまとめて示した。
なお、ICP-OES分析は、以下の手順によって実施した。
まず、試料を石英ビーカーに採取し、硝酸と水との1:1(体積)溶液の5ml、塩酸と水との1:1(体積)溶液の10ml、及び、硫酸と水との1:1(体積)溶液の3mlを加え、120℃で30分間加熱して溶解させ、放冷後100mlに定容した。この溶液中の各元素の含有量をアジレント社製ICP-OES装置「720-ES ICP-OES」により測定した。
なお、ICP-OES分析は、以下の手順によって実施した。
まず、試料を石英ビーカーに採取し、硝酸と水との1:1(体積)溶液の5ml、塩酸と水との1:1(体積)溶液の10ml、及び、硫酸と水との1:1(体積)溶液の3mlを加え、120℃で30分間加熱して溶解させ、放冷後100mlに定容した。この溶液中の各元素の含有量をアジレント社製ICP-OES装置「720-ES ICP-OES」により測定した。
なお、表1中、「-」はICP-OES測定を実施しなかったことを示す。また、表中「at%」は原子%を表す。
図5には、膜の厚みを50nmとした例1及び例3~9のSm(Fe0.8Co0.2)12B膜の面外(Out-of-Plane)XRDパターンを示した。Out-of-Plane XRDの結果より、(002)及び(004)に由来する回折パターン(図中、下向き白三角印で示す。)が観測され、ThMn12型の結晶相の(001)面が強く配向していること、すなわち、Sm(Fe0.8Co0.2)12B層の結晶方位が[001]方向に優先配向していることがわかった。
ここで、Bの含有量を増やしていくと(002)、(004)からの回折線は高角側へシフトするとともに、α-Fe、Sm(FeCo)7、Sm2(FeCo)17に起因するピーク(図中、下向き黒三角印で示す。)が2θ=65°付近に観測された。また、その強度はBの含有量の増加とともに増加した。
図6には、膜の厚みを一定(50nm)とした例1~6及び例9の薄膜の格子定数a、c、及び、c/a(縦軸)と、Bの含有量(横軸)との関係を示した。aはBの含有量が4体積%までは約8.56Å(オングストローム)でほぼ一定値を示すが、Bが4体積%を超えると急激に増加した。一方、c、及び、c/aはBの含有量の増加とともに単調に減少した。
図7に、膜の厚みを一定としてBの含有量を変化させた例1及び例3~9の薄膜の面内及び面直方向の磁化曲線を示した。磁気特性の測定には、超伝導量子干渉磁束計(SQUID)を用い、室温下で±7T(70kOe)の範囲で磁場を印加した。後述する図11、図14(a)及び(b)、図23、図24についても同様である。
図7によれば、Bが0体積%では強い垂直異方性を示している。保磁力は0.14T(図中ではエルステッド単位Oeを用いて1.4kOeと表している)である。
図7によれば、Bの含有量の増加とともに面直方向の保磁力が増加し、Bの含有量が5.0体積%で0.75Tの保磁力を示した。また、上記においては1.59Tの高い磁化を示した。更に、面内成分も増加した。
図7によれば、Bが0体積%では強い垂直異方性を示している。保磁力は0.14T(図中ではエルステッド単位Oeを用いて1.4kOeと表している)である。
図7によれば、Bの含有量の増加とともに面直方向の保磁力が増加し、Bの含有量が5.0体積%で0.75Tの保磁力を示した。また、上記においては1.59Tの高い磁化を示した。更に、面内成分も増加した。
更にBの含有量を増加させると面直方向の保磁力は減少し、磁化容易方向が面内へと変化した。
図8には、膜の厚みを一定とした薄膜の磁化(Ms)、ゼロ磁場での残留磁化比(Mr/Ms)、保磁力(Hc)、及び、垂直異方性(Ku)のBの含有量への依存性を示した。なお、図8には、例1~9のB導入目標量とは異なる成膜条件で作製した試料の結果も併せて示している。
図8には、膜の厚みを一定とした薄膜の磁化(Ms)、ゼロ磁場での残留磁化比(Mr/Ms)、保磁力(Hc)、及び、垂直異方性(Ku)のBの含有量への依存性を示した。なお、図8には、例1~9のB導入目標量とは異なる成膜条件で作製した試料の結果も併せて示している。
図9には、膜の厚みを20nmから200nmまで変化させた例10、例13~16及び例18の薄膜のOut-of-Plane XRDパターンを示した。
(002)及び(004)からの回折線(図中、下向き白三角印で示す。)の強度は膜の厚みの増加とともに増加する。一方で、65°付近に観測される第2相(α-Fe、Sm(FeCo)7、Sm2(FeCo)17)からの回折線(図中、下向き黒三角印で示す。)の強度は膜の厚みによって変化しなかった。
(002)及び(004)からの回折線(図中、下向き白三角印で示す。)の強度は膜の厚みの増加とともに増加する。一方で、65°付近に観測される第2相(α-Fe、Sm(FeCo)7、Sm2(FeCo)17)からの回折線(図中、下向き黒三角印で示す。)の強度は膜の厚みによって変化しなかった。
図10には、膜の厚み(tSFC)を変化させた例10~18の薄膜の格子定数a、c、及び、c/aの変化を示した。aは30nmの8.70Åまで増加するが、その後80nmまでは8.70Åの一定値を示し、その後減少した。
一方、cは30nmの4.75Åまで減少し、その後、4.75Åの一定値を示した。c/aは30nmまで減少するが、その後、一定値を示した。
一方、cは30nmの4.75Åまで減少し、その後、4.75Åの一定値を示した。c/aは30nmまで減少するが、その後、一定値を示した。
図11に、膜の厚みを変化させた例10、例13~16及び例18の薄膜の磁化曲線を示す。いずれも垂直磁化膜であった。膜の厚みの増加とともに垂直方向の保磁力が増加し、100nmのときに0.94Tの最大値を示す。この値は例1~例18の膜の中では最大の値だった。
なお、膜の厚みが100nmのとき、磁化の値は1.55Tと比較的高い値を示している。更にB濃度を増加させると、保磁力は低下した。
図12に、Bの含有量を一定とした薄膜の磁化(Ms)、ゼロ磁場での残留磁化比(Mr/Ms)、保磁力(Hc)、垂直異方性(Ku)の膜の厚み(tSFC)に対する依存性を示した。
図13に保磁力の温度依存性を示した。図中、横軸は温度(K)、縦軸は保磁力(T)を示している。保磁力の温度依存性の測定には、試料振動型磁力計を備えたSQUID-VSMを用い、温度を50~700Kの範囲で変化させて測定した。
黒色の丸のプロットがホウ素の含有量が5体積%となるよう成膜条件を調整して得られた試料、黒色の四角のプロットがSm(Fe0.8Co0.2)12にCu拡散をしたもの、黒色の三角のプロットがSm(Fe0.8Co0.2)12にCu-Ga拡散をしたものである。
黒色の実線、黒色の破線2本の計3本は商用のNd2Fe14B磁石(NMX-36(Dy含有量8%)、NMX-43(Dy含有量4%)、NMX-52(Dyフリー))の温度依存性を表している。図13によれば、Sm(FeCo)12磁石はNd2Fe14B磁石よりも小さい温度依存性を示すことがわかる。Sm(FeCo)12磁石の中でも、ホウ素を5体積%含む試料は全温度領域にわたって高い保磁力を示し、300~700Kの温度範囲における保磁力の温度係数(β)は最も低い値(-0.15%/K)であった。
黒色の丸のプロットがホウ素の含有量が5体積%となるよう成膜条件を調整して得られた試料、黒色の四角のプロットがSm(Fe0.8Co0.2)12にCu拡散をしたもの、黒色の三角のプロットがSm(Fe0.8Co0.2)12にCu-Ga拡散をしたものである。
黒色の実線、黒色の破線2本の計3本は商用のNd2Fe14B磁石(NMX-36(Dy含有量8%)、NMX-43(Dy含有量4%)、NMX-52(Dyフリー))の温度依存性を表している。図13によれば、Sm(FeCo)12磁石はNd2Fe14B磁石よりも小さい温度依存性を示すことがわかる。Sm(FeCo)12磁石の中でも、ホウ素を5体積%含む試料は全温度領域にわたって高い保磁力を示し、300~700Kの温度範囲における保磁力の温度係数(β)は最も低い値(-0.15%/K)であった。
(例19~例20)
次に、ホウ素の導入(目標)量を0体積%から1.5体積%まで変化させて、上記と同様の材料、成膜条件、及び、成膜装置を用いて、100nmの厚みを有するSm(Fe0.8Co0.2)12B膜を作製した。以下では、Bの含有量が0体積%である試料(Sm(Fe0.8Co0.2)12膜;例19)、及び、Bの含有量が0.5体積%である試料(Sm(Fe0.8Co0.2)12B0.5膜;例20)の特性について説明する。
次に、ホウ素の導入(目標)量を0体積%から1.5体積%まで変化させて、上記と同様の材料、成膜条件、及び、成膜装置を用いて、100nmの厚みを有するSm(Fe0.8Co0.2)12B膜を作製した。以下では、Bの含有量が0体積%である試料(Sm(Fe0.8Co0.2)12膜;例19)、及び、Bの含有量が0.5体積%である試料(Sm(Fe0.8Co0.2)12B0.5膜;例20)の特性について説明する。
図14(a)及び(b)には、それぞれ、膜の厚みが100nmである例19及び例20の薄膜の、面内(In-Plane(IP))及び面直(Out-of-Plane(OOP))方向の磁化曲線を示した。
図14(a)によれば、Bが0体積%である例19の膜は強い垂直異方性を示している。保磁力は0.1Tであり、ゼロ磁場での残留磁化は0.2Tであった。
図14(b)によれば、Bが0.5体積%である例20の膜は、例19の膜に匹敵する強い垂直異方性を示し、例19の膜を有意に上回る1.2Tの保磁力を示した。また、ゼロ磁場での残留磁化は1.50Tであった。加えて、300~500K(27~227℃)の温度範囲における例20の膜の保磁力の温度係数(β)は、-0.22%/℃と計算された。従来報告されている異方性Nd-Fe-B系磁石の保磁力の温度係数(β)は約-0.4~-0.6%/℃であるので、例20の膜に関して得られた上記温度係数の絶対値は従来のNd-Fe-B系磁石よりも非常に小さく、このことは、本発明の実施形態に係る膜が従来のNd-Fe-B系磁石に比べて保磁力の熱安定性に優れることを示している。
図14(a)によれば、Bが0体積%である例19の膜は強い垂直異方性を示している。保磁力は0.1Tであり、ゼロ磁場での残留磁化は0.2Tであった。
図14(b)によれば、Bが0.5体積%である例20の膜は、例19の膜に匹敵する強い垂直異方性を示し、例19の膜を有意に上回る1.2Tの保磁力を示した。また、ゼロ磁場での残留磁化は1.50Tであった。加えて、300~500K(27~227℃)の温度範囲における例20の膜の保磁力の温度係数(β)は、-0.22%/℃と計算された。従来報告されている異方性Nd-Fe-B系磁石の保磁力の温度係数(β)は約-0.4~-0.6%/℃であるので、例20の膜に関して得られた上記温度係数の絶対値は従来のNd-Fe-B系磁石よりも非常に小さく、このことは、本発明の実施形態に係る膜が従来のNd-Fe-B系磁石に比べて保磁力の熱安定性に優れることを示している。
なお、例20の膜の磁化曲線(図14(b))については、後述する薄膜の微細構造解析の結果に基づき、減磁率を0.83とする反磁界補正を行っている。例20の膜で得られたゼロ磁場での残留磁化の値(1.50T)は、従来報告されている異方性Nd2Fe14B/FeCoナノコンポジット薄膜での値(1.61T)と比べてやや小さいものの、本発明者らが知る限りにおいて、異方性Sm(Fe0.8Co0.2)12膜の中では最大の値である。また、XRDの回折パターン(データ示さず。)から、Bが0体積%である例19の膜では、格子定数a、c、及び、c/aは、それぞれ、a=0.8524nm、c=0.4811nm、c/a=0.564であり、Bが0.5体積%である例20の膜では、a=0.8656nm、c=0.4755nm、c/a=0.549であった。
図15(a)及び(b)には、それぞれ、例19及び例20の薄膜の、面内及び断面の透過型電子顕微鏡像(BF-TEM像)を示した。
図15(a)(例19の膜)では、上側の面内像からは薄膜が連続的であり、下側の断面像からは柱状構造を持っていることがわかる。柱状構造を持つ粒子の間には粒界相は観察されない。
これに対して、図15(b)(例20の膜)では、柱状のSmFe12系結晶粒が確認された。この柱状粒の平均粒径は、約40~50nmであり、高さと幅(平均粒径)の比率は、約2.5:1(平均アスペクト比約2.5)であった。また、この柱状粒を主相として、主相間に一定の幅(約1nm以上)を有する粒界相が存在する構造であることがわかる。
これらのBF-TEM像から、本発明の実施形態に係る膜では、所定量のホウ素が添加されることにより、主相のThMn12型の結晶相(1-12相)が柱状成長すると共に柱状結晶相間に一定の厚みを有する粒界相が形成され、このような微細構造によって高い保磁力が発揮されることが示唆された。
図15(a)(例19の膜)では、上側の面内像からは薄膜が連続的であり、下側の断面像からは柱状構造を持っていることがわかる。柱状構造を持つ粒子の間には粒界相は観察されない。
これに対して、図15(b)(例20の膜)では、柱状のSmFe12系結晶粒が確認された。この柱状粒の平均粒径は、約40~50nmであり、高さと幅(平均粒径)の比率は、約2.5:1(平均アスペクト比約2.5)であった。また、この柱状粒を主相として、主相間に一定の幅(約1nm以上)を有する粒界相が存在する構造であることがわかる。
これらのBF-TEM像から、本発明の実施形態に係る膜では、所定量のホウ素が添加されることにより、主相のThMn12型の結晶相(1-12相)が柱状成長すると共に柱状結晶相間に一定の厚みを有する粒界相が形成され、このような微細構造によって高い保磁力が発揮されることが示唆された。
図16(a)~(d)に、高角度環状暗視野走査透過型電子顕微鏡(HAADF-STEM)像を示した。図16(a)及び(b)は、例19の薄膜(Sm(Fe0.8Co0.2)12膜)のHAADF-STEM像であり、図16(c)及び(d)は、例20の薄膜(Sm(Fe0.8Co0.2)12B0.5膜)のHAADF-STEM像である。
図16(a)によれば、例19の膜では、2つのSm(Fe,Co)12結晶粒の間には明確な相は見られず、2つの結晶粒が互いに直接接触していることがわかる。図16(b)は、例19の膜におけるSm(Fe,Co)12結晶粒の[100]の晶帯軸(図16(a)の紙面上方向)に沿って得た高倍率画像である。HAADF-STEM像では試料中に含まれる元素の原子数に起因してコントラストが生じるので、画像中、より明るいスポットとして見られるのは、より重い元素の原子カラムに対応する、すなわち、Sm(Fe,Co)12化合物中のSmであると考えられる。また、図16(b)中に記号iで示した領域のナノビーム電子回折パターン(右上)、及び、原子分解能STEM-EDSマッピングの結果を投影することにより、例19の膜におけるSm(Fe,Co)12結晶粒はThMn12型構造を有することが示された。しかしながら、例19の膜では、図16(b)中に記号iiで示すように、ナノビーム電子回折パターン(左上)、及び、原子分解能STEM-EDSマッピングの結果が異なる領域も存在している。
図16(c)によれば、例20の膜では、2つのSm(Fe,Co)12結晶粒の間に約3nmの厚みを有するアモルファスの粒界相(GB)が確認された。図16(d)は、例20の膜におけるSm(Fe,Co)12結晶粒の[100]の晶帯軸(図16(c)の紙面上方向)に沿って得た高倍率画像である。図16(d)中に挿入したナノビーム電子回折パターン(右上及び左上)から、上記粒界相によって隔てられている2つのSm(Fe,Co)12結晶粒はいずれもThMn12型構造を有し、ミスアラインメントは2°程度と小さく、両者の近接するSm(Fe0.8Co0.2)12結晶粒の[001]方向(c軸)が上向き(図16(d)の紙面上方向)に配向していることが示された。
図17(a)及び(b)には、それぞれ、例19及び例20の薄膜の、面内及び断面の走査透過型電子顕微鏡-エネルギー分散型X線分析の結果(STEM-EDS像)を示した。
図17(a)によれば、例19の膜では、Sm、Fe及びCoが膜中に均一に分布していることがわかる。なお、部分的にSmの濃度が異なる部分が見られるが、当該部分は、主相とは異なる第2相の存在に起因するものであり、当該第2相は、図16(b)に示すHAADF-STEM像から、Th2Mn17型相(Sm2(FeCo)17相)又はTbCu7型相(Sm(FeCo)7相)のいずれかであると考えられる。
図17(b)によれば、例20の膜では、不均一なCoの分布が確認され、Coの濃度が低い部分は、図15(b)に示すBF-TEM像を参照して説明した粒界相に対応する部分であることが確認された。なお、エネルギー分散型X線分析装置の検出限界により、STEM-EDS像からはBの分布に関する情報は得られていない。
図17(a)によれば、例19の膜では、Sm、Fe及びCoが膜中に均一に分布していることがわかる。なお、部分的にSmの濃度が異なる部分が見られるが、当該部分は、主相とは異なる第2相の存在に起因するものであり、当該第2相は、図16(b)に示すHAADF-STEM像から、Th2Mn17型相(Sm2(FeCo)17相)又はTbCu7型相(Sm(FeCo)7相)のいずれかであると考えられる。
図17(b)によれば、例20の膜では、不均一なCoの分布が確認され、Coの濃度が低い部分は、図15(b)に示すBF-TEM像を参照して説明した粒界相に対応する部分であることが確認された。なお、エネルギー分散型X線分析装置の検出限界により、STEM-EDS像からはBの分布に関する情報は得られていない。
図18(a)及び(b)には、例19の膜の、3次元アトムプローブ(3DAP)による分析結果を示した。図18(a)に示す3DAPマップは、薄膜の面に対して平行にプローブを走査して得た。図18(b)は、図18(a)中の直方体で示した領域におけるSmの3DAPマップ(上段)、当該領域のSm、Co及びFeの組成プロファイル(中段)、及び、中段に示すSmの組成プロファイルを拡大したもの(下段)である。
図18(a)及び(b)によれば、例19の膜では、CoとFeの原子%(at%)基準の含有量比は1:4であり、成膜条件から予測される組成比の値であった。Smの含有量に関しては、図17(a)に示すSTEM-EDS像を参照して説明したように、部分的にSmの濃度が異なる部分が見られ、当該部分ではSmの含有量は約10~11原子%であったが、Smの平均含有量としては約7.95原子%であり、この値は、ThMn12型構造を有する異方性Sm(Fe0.8Co0.2)12相におけるSmの組成と一致している。
図18(a)及び(b)によれば、例19の膜では、CoとFeの原子%(at%)基準の含有量比は1:4であり、成膜条件から予測される組成比の値であった。Smの含有量に関しては、図17(a)に示すSTEM-EDS像を参照して説明したように、部分的にSmの濃度が異なる部分が見られ、当該部分ではSmの含有量は約10~11原子%であったが、Smの平均含有量としては約7.95原子%であり、この値は、ThMn12型構造を有する異方性Sm(Fe0.8Co0.2)12相におけるSmの組成と一致している。
図19(a)及び(b)には、例20の膜の、3次元アトムプローブ(3DAP)による分析結果を示した。図19(a)に示す3DAPマップは、薄膜の面に対して平行にプローブを走査して得た。つまり、図19(a)の紙面貫通方向が、薄膜の面直方向である。図19(b)は、図19(a)中の直方体で示した領域における構成元素(Sm、Co、Fe及びB)の組成プロファイルである。
図19(a)によれば、図17(b)に示すSTEM-EDS像を参照して説明した、Coの濃度が低い部分において、Bが多く分布していることがわかる。また、このことは、図19(b)に示す原子%(at%)基準の組成プロファイルからもはっきりと確認することができる。
より具体的には、図19(b)によれば、Bは、主相(1-12相)及び粒界相(GB)の両方に分布し、特に粒界相に偏って分布する(偏在している)ことがわかる。言い換えると、例20の膜では、主相とは元素組成が明確に異なる粒界相が存在し、当該粒界相は、B濃化相であることが確認された。なお、図19(b)に示す組成プロファイルに基づいて計算された粒界相におけるBの含有量は、約10.3原子%であった。
図19(a)によれば、図17(b)に示すSTEM-EDS像を参照して説明した、Coの濃度が低い部分において、Bが多く分布していることがわかる。また、このことは、図19(b)に示す原子%(at%)基準の組成プロファイルからもはっきりと確認することができる。
より具体的には、図19(b)によれば、Bは、主相(1-12相)及び粒界相(GB)の両方に分布し、特に粒界相に偏って分布する(偏在している)ことがわかる。言い換えると、例20の膜では、主相とは元素組成が明確に異なる粒界相が存在し、当該粒界相は、B濃化相であることが確認された。なお、図19(b)に示す組成プロファイルに基づいて計算された粒界相におけるBの含有量は、約10.3原子%であった。
主相である1-12相(ThMn12型の結晶相)におけるSmの平均含有量は、約8.0原子%であり、1-12相の化学量論組成と一致した。一方、粒界相におけるSmの平均含有量は1-12相より若干低く、約5.8原子%であった。上述したように、Bは主相中にも分布するが、その量は無視できる程度に低い。Coの含有量は、1-12相の中央部において約19.8原子%であるが、B濃化相である粒界相では約10.6原子%であった。
例20の膜についてICP-OES分析を行った結果、膜の全体組成は、Sm7.7Fe72.1Co16.5B3.7(原子%)であり、主相の1-12相及びアモルファスの粒界相の組成は、それぞれ、Sm8.0Fe71.9Co19.8B0.3及びSm5.8Fe73.3Co10.6B10.3(いずれも原子%)であった。また、粒界相におけるFeとCoの合計含有量が約84%であることから、当該粒界相は強磁性であると考えられる。加えて、Nd-Fe-B磁石について確認されているように、当該粒界相は磁壁移動の障壁として作用し得ることが、1.2Tの高い保磁力を示した要因であると考えられる。そして、例20の膜において、すべての相は、Vの下地層上で[001]方向に優先配向しているため、1.50Tの残留磁化が得られたと考えられる。
なお、例20の薄膜に関して図16(c)及び(d)を参照して説明したような微細構造、及び、図17(b)、図19(a)及び(b)を参照して説明したような構成元素の分布及び組成プロファイルは、上記例15の薄膜のHAADF-STEM像、ナノビーム電子回折パターン、STEM-EDS像、及び、3DAPによる分析結果からも確認された(データ示さず。)。
図20には、上述した特性分析の結果から導かれる、例19及び例20の薄膜の微細構造の模式図を示した。図20の左側が、例19の薄膜(Sm(Fe0.8Co0.2)12膜、保磁力(μ0Hc=0.1T))であり、右側が、例20の薄膜(Sm(Fe0.8Co0.2)12B0.5膜、保磁力(μ0Hc=1.2T))である。
例19の膜では、部分的に主相とはSm含有量が異なる第2相が存在し得るが、当該第2相以外に、主相の1-12相と構造的かつ組成上明確に区別できるような相は存在しない。
これに対して、例20の膜では、Bを含有するSm(Fe,Co)12膜であることにより、主相(1-12相)としてThMn12型構造を有する異方性の結晶粒を含み、当該主相は、一定の厚みを有するアモルファスの粒界相に囲まれており、当該粒界相は、B濃化相である。具体的には、例20の膜では、3.7原子%のBを含有するSm(Fe,Co)12膜であることにより、平均粒径が約40~50nmの柱状の1-12相を有し、当該1-12相は、平均で約3nm程度の厚みを有するアモルファスの粒界相に囲まれており、当該粒界相は、約10.3原子%のB含有量を有するB濃化相である。そして、このような微細構造を有することにより、例20の膜は、従来のBを含まないSm(Fe,Co)12膜では得られなかった1.2Tの保磁力を示した。
例19の膜では、部分的に主相とはSm含有量が異なる第2相が存在し得るが、当該第2相以外に、主相の1-12相と構造的かつ組成上明確に区別できるような相は存在しない。
これに対して、例20の膜では、Bを含有するSm(Fe,Co)12膜であることにより、主相(1-12相)としてThMn12型構造を有する異方性の結晶粒を含み、当該主相は、一定の厚みを有するアモルファスの粒界相に囲まれており、当該粒界相は、B濃化相である。具体的には、例20の膜では、3.7原子%のBを含有するSm(Fe,Co)12膜であることにより、平均粒径が約40~50nmの柱状の1-12相を有し、当該1-12相は、平均で約3nm程度の厚みを有するアモルファスの粒界相に囲まれており、当該粒界相は、約10.3原子%のB含有量を有するB濃化相である。そして、このような微細構造を有することにより、例20の膜は、従来のBを含まないSm(Fe,Co)12膜では得られなかった1.2Tの保磁力を示した。
(例21)
次に、上記例20と同様の材料、及び、成膜装置を用いて、100nmの厚みを有し、Bの含有量が0.5体積%である試料(Sm(Fe0.8Co0.2)12B0.5膜)を作製した。例21では、成膜条件として、Sm(Fe0.8Co0.2)12B層の成膜時の基板温度を350℃とし、Vのキャップ層(10nm)を堆積した後の温度条件を以下の(a)~(i)のように設定して、計9種類の試料を作製した。
(a)自然冷却(30分間で60℃まで冷却)
(b)窒素ガスによる冷却(4分間で20℃まで冷却後、30分間保持)
(c)200℃で60分間保持した後、自然冷却(30分間で50℃まで冷却)
(d)250℃で60分間保持した後、自然冷却(30分間で60℃まで冷却)
(e)300℃で60分間保持した後、自然冷却(30分間で65℃まで冷却)
(f)350℃で60分間保持した後、自然冷却(30分間で65℃まで冷却)
(g)400℃で60分間保持した後、自然冷却(30分間で70℃まで冷却)
(h)450℃で60分間保持した後、自然冷却(30分間で70℃まで冷却)
(i)500℃で60分間保持した後、自然冷却(30分間で80℃まで冷却)
次に、上記例20と同様の材料、及び、成膜装置を用いて、100nmの厚みを有し、Bの含有量が0.5体積%である試料(Sm(Fe0.8Co0.2)12B0.5膜)を作製した。例21では、成膜条件として、Sm(Fe0.8Co0.2)12B層の成膜時の基板温度を350℃とし、Vのキャップ層(10nm)を堆積した後の温度条件を以下の(a)~(i)のように設定して、計9種類の試料を作製した。
(a)自然冷却(30分間で60℃まで冷却)
(b)窒素ガスによる冷却(4分間で20℃まで冷却後、30分間保持)
(c)200℃で60分間保持した後、自然冷却(30分間で50℃まで冷却)
(d)250℃で60分間保持した後、自然冷却(30分間で60℃まで冷却)
(e)300℃で60分間保持した後、自然冷却(30分間で65℃まで冷却)
(f)350℃で60分間保持した後、自然冷却(30分間で65℃まで冷却)
(g)400℃で60分間保持した後、自然冷却(30分間で70℃まで冷却)
(h)450℃で60分間保持した後、自然冷却(30分間で70℃まで冷却)
(i)500℃で60分間保持した後、自然冷却(30分間で80℃まで冷却)
上記(a)~(i)の温度条件に関し、以下では、条件(a)を通常のプロセス(Normal process)とし、条件(b)~(i)については、Sm(Fe0.8Co0.2)12B層の成膜時の基板温度(350℃)を基準として、当該温度未満のもの((b)~(e))を冷却条件(Cooling)、当該温度以上のもの((f)~(i))を加熱条件(Annealing)と分類して、各条件で作製した試料の特性について説明する。
図21には、条件(a)、及び、条件(b)~(e)の冷却条件(Cooling)によって得られた膜のOut-of-Plane XRDパターンを示した。
図21によれば、いずれの試料でも、(002)及び(004)に由来する回折パターン(図中、下向き白三角印で示す。)が観測され、(001)面が強く配向したThMn12型の結晶相が主相であること、すなわち、Sm(Fe0.8Co0.2)12B層の結晶方位が[001]方向に優先配向していることがわかった。また、条件(a)と条件(b)~(e)との比較では、主相のピーク強度及び位置に大きな変化は見られなかった。
図21によれば、いずれの試料でも、(002)及び(004)に由来する回折パターン(図中、下向き白三角印で示す。)が観測され、(001)面が強く配向したThMn12型の結晶相が主相であること、すなわち、Sm(Fe0.8Co0.2)12B層の結晶方位が[001]方向に優先配向していることがわかった。また、条件(a)と条件(b)~(e)との比較では、主相のピーク強度及び位置に大きな変化は見られなかった。
図22には、条件(a)、及び、条件(f)~(i)の加熱条件(Annealing)によって得られた膜のOut-of-Plane XRDパターンを示した。
図22によれば、いずれの試料でも、(002)及び(004)に由来する回折パターン(図中、下向き白三角印で示す。)が観測され、(001)面が強く配向したThMn12型の結晶相が主相であること、すなわち、Sm(Fe0.8Co0.2)12B層の結晶方位が[001]方向に優先配向していることがわかった。また、条件(a)と条件(f)~(i)との比較では、主相のピークの強度及び位置に大きな変化は見られなかった。一方、条件(f)~(i)の試料では、第2相(α-Fe、Sm(FeCo)7、Sm2(FeCo)17相等)のピーク(図中、下向き黒三角印で示す。)のピーク強度が増加する傾向が見られた。また、下地層及びキャップ層に用いたVのピーク強度が減少する傾向が見られた。このことから、加熱条件(Annealing)では、V層が主相内に拡散していることが示唆される。
図22によれば、いずれの試料でも、(002)及び(004)に由来する回折パターン(図中、下向き白三角印で示す。)が観測され、(001)面が強く配向したThMn12型の結晶相が主相であること、すなわち、Sm(Fe0.8Co0.2)12B層の結晶方位が[001]方向に優先配向していることがわかった。また、条件(a)と条件(f)~(i)との比較では、主相のピークの強度及び位置に大きな変化は見られなかった。一方、条件(f)~(i)の試料では、第2相(α-Fe、Sm(FeCo)7、Sm2(FeCo)17相等)のピーク(図中、下向き黒三角印で示す。)のピーク強度が増加する傾向が見られた。また、下地層及びキャップ層に用いたVのピーク強度が減少する傾向が見られた。このことから、加熱条件(Annealing)では、V層が主相内に拡散していることが示唆される。
図23には、条件(a)、及び、条件(b)~(e)の冷却条件(Cooling)によって得られた膜の、面内及び面直方向の磁化曲線を示した。
図23によれば、いずれの試料でも、11.6kOeの保磁力を有することが確認された。
図23によれば、いずれの試料でも、11.6kOeの保磁力を有することが確認された。
図24には、条件(a)、及び、条件(f)~(i)の加熱条件(Annealing)によって得られた膜の、面内及び面直方向の磁化曲線を示した。
図24によれば、条件(f)~(i)の試料では、保磁力の値は条件(a)の試料で得られた値(11.6kOe)よりも低く、保持温度が高いほどその値は低い結果であった。
図24によれば、条件(f)~(i)の試料では、保磁力の値は条件(a)の試料で得られた値(11.6kOe)よりも低く、保持温度が高いほどその値は低い結果であった。
図25(a)~(d)には、それぞれ、条件(c)~(i)の試料の磁気特性(飽和磁化、保磁力、ゼロ磁場での残留磁化比、及び、垂直異方性)を示した。
図25(a)によれば、飽和磁化(Ms)は、保持温度の増加に伴い線形に増加する傾向が見られた。
図25(b)によれば、保磁力(Hc)は、保持温度が350℃以上の加熱条件(Annealing)において減少することが確認された。
図25(c)によれば、ゼロ磁場での残留磁化比(Mr/Ms)は、保磁力と同様に、保持温度が350℃以上の加熱条件(Annealing)において減少することが確認された。
図25(d)によれば、垂直異方性(Ku)は、保持温度が350℃以上の加熱条件(Annealing)において増加するものの、保持温度が500℃の条件(i)では減少することが確認された。
これらの結果、及び、図23及び図24を参照して説明した各条件での保磁力の結果から、上述したアモルファスの粒界相(B濃化相)は、Sm(Fe0.8Co0.2)12B層の成膜時に形成されることが示唆された。また、本発明の実施形態に係る膜の製造方法において、基板(支持体)上に本発明の実施形態に係る磁石を含有する磁石層をスパッタリング法によって成膜する場合には、基板(支持体)を所定の温度に加熱して当該磁石を構成する元素を含むターゲットをスパッタした後、当該基板(支持体)の加熱温度未満の温度で冷却することが望ましいことが確認された。
図25(a)によれば、飽和磁化(Ms)は、保持温度の増加に伴い線形に増加する傾向が見られた。
図25(b)によれば、保磁力(Hc)は、保持温度が350℃以上の加熱条件(Annealing)において減少することが確認された。
図25(c)によれば、ゼロ磁場での残留磁化比(Mr/Ms)は、保磁力と同様に、保持温度が350℃以上の加熱条件(Annealing)において減少することが確認された。
図25(d)によれば、垂直異方性(Ku)は、保持温度が350℃以上の加熱条件(Annealing)において増加するものの、保持温度が500℃の条件(i)では減少することが確認された。
これらの結果、及び、図23及び図24を参照して説明した各条件での保磁力の結果から、上述したアモルファスの粒界相(B濃化相)は、Sm(Fe0.8Co0.2)12B層の成膜時に形成されることが示唆された。また、本発明の実施形態に係る膜の製造方法において、基板(支持体)上に本発明の実施形態に係る磁石を含有する磁石層をスパッタリング法によって成膜する場合には、基板(支持体)を所定の温度に加熱して当該磁石を構成する元素を含むターゲットをスパッタした後、当該基板(支持体)の加熱温度未満の温度で冷却することが望ましいことが確認された。
本発明の実施形態に係る磁石は、優れた保磁力を有するため、MEMS(Micro Electro Mechanical Systems)分野、エナジーハーベスト(環境発電)等エネルギー分野、及び、医療機器分野等に適用可能である。
特に、自動車、及び、電車等の輸送用機械に用いられるモータ、及び、発電機として好ましく用いることができる。
特に、自動車、及び、電車等の輸送用機械に用いられるモータ、及び、発電機として好ましく用いることができる。
10 :積層体
11 :キャップ層
12 :磁石層
13 :下地層
14 :支持体
20 :永久磁石モータ
21 :固定子
22 :芯材
23 :磁石
24 :回転子
30 :発電機
31 :固定子
32 :回転子
33 :タービン
34 :シャフト
40 :自動車
41 :車輪
42 :モータ
43 :蓄電池
44 :発電機
45 :車軸
11 :キャップ層
12 :磁石層
13 :下地層
14 :支持体
20 :永久磁石モータ
21 :固定子
22 :芯材
23 :磁石
24 :回転子
30 :発電機
31 :固定子
32 :回転子
33 :タービン
34 :シャフト
40 :自動車
41 :車輪
42 :モータ
43 :蓄電池
44 :発電機
45 :車軸
Claims (19)
- 全体組成が、式1:(R1 (1-x)R2 x)aTbMc
(上記式中、R1は、Sm、Pm、Er、Tm、及び、Ybからなる群より選択される少なくとも1種の元素であり、R2は、Zr、Y、La、Ce、Pr、Nd、Eu、Gd、Tb、Dy、Ho、及び、Luからなる群より選択される少なくとも1種の元素であり、TはFe、Co、及び、Niからなる群より選択される少なくとも1種の元素であり、Mはホウ素であり、xは、0~0.5の数であり、aは6.0~13.7原子%の数であり、cは0原子%より大きく、12原子%以下の数であり、bは、100-a-c原子%で表される数である。)
で表され、少なくともThMn12型の結晶相を有する磁石。 - 前記R1が、少なくともSmを含む、請求項1に記載の磁石。
- 実質的にTi、V、Mo、Nb、Cr、及び、Wのいずれも含有しない請求項1又は2に記載の磁石。
- 前記TがFe、及び、Coである、請求項1~3のいずれか1項に記載の磁石。
- 所定の方向に沿って、結晶方位、及び、磁化容易軸からなる群より選択される少なくとも一方が優先配向している請求項1~4のいずれか1項に記載の磁石。
- 前記aが、6.0~10.0原子%である、請求項1~5のいずれか1項に記載の磁石。
- 前記ThMn12型の結晶相を主相とし、前記主相間に存在するアモルファスの粒界相を有する請求項1~6のいずれか1項に記載の磁石。
- 前記主相中のホウ素の含有量と前記粒界相中のホウ素の含有量の差の絶対値が、1.0原子%以上である請求項7に記載の磁石。
- 請求項1~8のいずれか1項に記載の磁石を含有する膜。
- 前記磁石の結晶方位が、[001]方向に優先配向している請求項9に記載の膜。
- 下地層と、前記下地層に接するように形成された請求項1~8のいずれか1項に記載の磁石を含有する磁石層と、を有し、前記下地層は単結晶構造を有する、積層体。
- 前記磁石層の結晶方位が、[001]方向に優先配向している請求項11に記載の積層体。
- 前記下地層が、更に支持体を有する支持体付き下地層である、請求項11又は12に記載の積層体。
- 更にキャップ層を備える、請求項11~13のいずれか1項に記載の積層体。
- 請求項1~8のいずれか1項に記載の磁石を有するモータ。
- 請求項15に記載のモータを有する自動車。
- 請求項1~8のいずれか1項に記載の磁石を有する発電機。
- 請求項17に記載の発電機を有する自動車。
- 支持体上に請求項1~8のいずれか1項に記載の磁石を含有する磁石層をスパッタリング法によって製造する方法であって、
前記支持体を250~400℃に加熱して、前記磁石を構成する元素(R1、R2、T、及び、M)を含むターゲットをスパッタした後、前記支持体加熱温度未満の温度で冷却する方法。
Priority Applications (1)
| Application Number | Priority Date | Filing Date | Title |
|---|---|---|---|
| JP2021550429A JP7224582B2 (ja) | 2019-10-02 | 2020-08-26 | 磁石、膜、積層体、モータ、発電機、及び、自動車 |
Applications Claiming Priority (4)
| Application Number | Priority Date | Filing Date | Title |
|---|---|---|---|
| JP2019181786 | 2019-10-02 | ||
| JP2019-181786 | 2019-10-02 | ||
| JP2020-084275 | 2020-05-13 | ||
| JP2020084275 | 2020-05-13 |
Publications (1)
| Publication Number | Publication Date |
|---|---|
| WO2021065254A1 true WO2021065254A1 (ja) | 2021-04-08 |
Family
ID=75337890
Family Applications (1)
| Application Number | Title | Priority Date | Filing Date |
|---|---|---|---|
| PCT/JP2020/032132 Ceased WO2021065254A1 (ja) | 2019-10-02 | 2020-08-26 | 磁石、膜、積層体、モータ、発電機、及び、自動車 |
Country Status (2)
| Country | Link |
|---|---|
| JP (1) | JP7224582B2 (ja) |
| WO (1) | WO2021065254A1 (ja) |
Cited By (1)
| Publication number | Priority date | Publication date | Assignee | Title |
|---|---|---|---|---|
| JP2025501432A (ja) * | 2022-11-22 | 2025-01-22 | 中国科学院▲寧▼波材料技▲術▼与工程研究所 | 粒界相含有サマリウム鉄系希土類永久磁石材料およびその製造方法、並びに応用 |
Citations (2)
| Publication number | Priority date | Publication date | Assignee | Title |
|---|---|---|---|---|
| JPH04322405A (ja) * | 1991-04-22 | 1992-11-12 | Shin Etsu Chem Co Ltd | 希土類永久磁石 |
| JPH0565603A (ja) * | 1990-10-05 | 1993-03-19 | Hitachi Metals Ltd | 鉄−希土類系永久磁石材料およびその製造方法 |
-
2020
- 2020-08-26 WO PCT/JP2020/032132 patent/WO2021065254A1/ja not_active Ceased
- 2020-08-26 JP JP2021550429A patent/JP7224582B2/ja active Active
Patent Citations (2)
| Publication number | Priority date | Publication date | Assignee | Title |
|---|---|---|---|---|
| JPH0565603A (ja) * | 1990-10-05 | 1993-03-19 | Hitachi Metals Ltd | 鉄−希土類系永久磁石材料およびその製造方法 |
| JPH04322405A (ja) * | 1991-04-22 | 1992-11-12 | Shin Etsu Chem Co Ltd | 希土類永久磁石 |
Cited By (1)
| Publication number | Priority date | Publication date | Assignee | Title |
|---|---|---|---|---|
| JP2025501432A (ja) * | 2022-11-22 | 2025-01-22 | 中国科学院▲寧▼波材料技▲術▼与工程研究所 | 粒界相含有サマリウム鉄系希土類永久磁石材料およびその製造方法、並びに応用 |
Also Published As
| Publication number | Publication date |
|---|---|
| JP7224582B2 (ja) | 2023-02-20 |
| JPWO2021065254A1 (ja) | 2021-04-08 |
Similar Documents
| Publication | Publication Date | Title |
|---|---|---|
| Li et al. | Grain interface modification and magnetic properties of Nd–Fe–B sintered magnets | |
| Li et al. | Recent developments of rare-earth-free hard-magnetic materials | |
| CN101656133B (zh) | 具备烧结磁铁的旋转机械以及烧结磁铁的制造方法 | |
| US20080241513A1 (en) | Rare earth magnet and manufacturing method thereof | |
| US9502165B2 (en) | Permanent magnet, motor, and generator | |
| EP3297002B1 (en) | Motor and generator using permanent magnet | |
| JP5501828B2 (ja) | R−t−b系希土類永久磁石 | |
| US20120025651A1 (en) | Sintered magnet and rotating electric machine using same | |
| US20080241368A1 (en) | Treating solution for forming fluoride coating film and method for forming fluoride coating film | |
| BRPI0816463B1 (pt) | Magneto sinterizado anisotrópico baseado em r-fe-b | |
| WO2012090765A1 (ja) | 磁性体 | |
| JPS62192566A (ja) | 永久磁石材料及びその製造方法 | |
| US9773592B2 (en) | Permanent magnet, and motor and generator using the same | |
| Tan et al. | Effect of Dy substitution on the microstructure and magnetic properties of high (BH) max Nd-Dy-Fe-Co-B nanoparticles prepared by microwave processing | |
| CN106357014A (zh) | 旋转电机和车辆 | |
| CN108092422A (zh) | 永久磁铁、旋转电机及车辆 | |
| WO2011068107A1 (ja) | 軽希土類磁石及び磁気デバイス | |
| JP7224582B2 (ja) | 磁石、膜、積層体、モータ、発電機、及び、自動車 | |
| JPH11214219A (ja) | 薄膜磁石およびその製造方法 | |
| JP2023003525A (ja) | 希土類化合物、その製造方法、及び、その用途 | |
| JPH07272929A (ja) | 希土類元素−Fe−B系薄膜永久磁石 | |
| CN106356173A (zh) | 永久磁石 | |
| JP7166615B2 (ja) | 希土類磁石、膜、積層体、希土類磁石の製造方法、モータ、発電機、及び、自動車。 | |
| KR20210076311A (ko) | Mn-Bi-Sb계 자성체 및 이의 제조방법 | |
| JP2020031144A (ja) | R―t―b系希土類永久磁石 |
Legal Events
| Date | Code | Title | Description |
|---|---|---|---|
| 121 | Ep: the epo has been informed by wipo that ep was designated in this application |
Ref document number: 20872545 Country of ref document: EP Kind code of ref document: A1 |
|
| ENP | Entry into the national phase |
Ref document number: 2021550429 Country of ref document: JP Kind code of ref document: A |
|
| NENP | Non-entry into the national phase |
Ref country code: DE |
|
| 122 | Ep: pct application non-entry in european phase |
Ref document number: 20872545 Country of ref document: EP Kind code of ref document: A1 |
