WO2019073723A1 - Filter device - Google Patents

Filter device Download PDF

Info

Publication number
WO2019073723A1
WO2019073723A1 PCT/JP2018/033046 JP2018033046W WO2019073723A1 WO 2019073723 A1 WO2019073723 A1 WO 2019073723A1 JP 2018033046 W JP2018033046 W JP 2018033046W WO 2019073723 A1 WO2019073723 A1 WO 2019073723A1
Authority
WO
WIPO (PCT)
Prior art keywords
air
shaft
filter
filter member
filter device
Prior art date
Legal status (The legal status is an assumption and is not a legal conclusion. Google has not performed a legal analysis and makes no representation as to the accuracy of the status listed.)
Ceased
Application number
PCT/JP2018/033046
Other languages
French (fr)
Japanese (ja)
Inventor
良至 堀
剛史 細野
Current Assignee (The listed assignees may be inaccurate. Google has not performed a legal analysis and makes no representation or warranty as to the accuracy of the list.)
Denso Corp
Original Assignee
Denso Corp
Priority date (The priority date is an assumption and is not a legal conclusion. Google has not performed a legal analysis and makes no representation as to the accuracy of the date listed.)
Filing date
Publication date
Application filed by Denso Corp filed Critical Denso Corp
Publication of WO2019073723A1 publication Critical patent/WO2019073723A1/en
Anticipated expiration legal-status Critical
Ceased legal-status Critical Current

Links

Images

Classifications

    • BPERFORMING OPERATIONS; TRANSPORTING
    • B01PHYSICAL OR CHEMICAL PROCESSES OR APPARATUS IN GENERAL
    • B01DSEPARATION
    • B01D46/00Filters or filtering processes specially modified for separating dispersed particles from gases or vapours
    • B01D46/18Particle separators, e.g. dust precipitators, using filtering belts
    • BPERFORMING OPERATIONS; TRANSPORTING
    • B60VEHICLES IN GENERAL
    • B60HARRANGEMENTS OF HEATING, COOLING, VENTILATING OR OTHER AIR-TREATING DEVICES SPECIALLY ADAPTED FOR PASSENGER OR GOODS SPACES OF VEHICLES
    • B60H3/00Other air-treating devices
    • B60H3/06Filtering
    • FMECHANICAL ENGINEERING; LIGHTING; HEATING; WEAPONS; BLASTING
    • F24HEATING; RANGES; VENTILATING
    • F24FAIR-CONDITIONING; AIR-HUMIDIFICATION; VENTILATION; USE OF AIR CURRENTS FOR SCREENING
    • F24F1/00Room units for air-conditioning, e.g. separate or self-contained units or units receiving primary air from a central station
    • F24F1/0007Indoor units, e.g. fan coil units
    • F24F1/0071Indoor units, e.g. fan coil units with means for purifying supplied air
    • F24F1/0073Indoor units, e.g. fan coil units with means for purifying supplied air characterised by the mounting or arrangement of filters
    • FMECHANICAL ENGINEERING; LIGHTING; HEATING; WEAPONS; BLASTING
    • F24HEATING; RANGES; VENTILATING
    • F24FAIR-CONDITIONING; AIR-HUMIDIFICATION; VENTILATION; USE OF AIR CURRENTS FOR SCREENING
    • F24F13/00Details common to, or for air-conditioning, air-humidification, ventilation or use of air currents for screening
    • F24F13/28Arrangement or mounting of filters

Definitions

  • the present disclosure relates to a filter device.
  • a filter device which collects foreign matter such as dust and dirt contained in air flowing from an air suction port of an air conditioner to a heat exchanger.
  • the filter device described in Patent Document 1 uses a brush to clean foreign matter collected on the filter member, and the filter member is used repeatedly.
  • the filter device described in Patent Document 1 there is a risk that foreign matter removed from the filter member by the brush may fall into the space that the air conditioner targets for air conditioning.
  • the filter device when the foreign matter removed from the filter member by the brush is accumulated inside the air conditioner, the foreign matter may enter the heat exchanger side in the air conditioner.
  • the filter member provided in the filter device described in Patent Document 1 has substantially the same size as the air suction port of the air conditioner.
  • This filter device is configured to continue to use the same portion while cleaning the foreign matter adhering to the substantially entire surface of the filter member with a brush. Therefore, in the filter device, since the same portion of the filter member is continuously used, the filter member and the cleaning member may be worn in a short period, and the ability of the filter member to collect foreign matter may be decreased in a short period. is there.
  • An object of the present disclosure is to provide a filter device capable of maintaining the ability to collect foreign matter over a long period of time.
  • a filter device for collecting foreign matter contained in air sucked into an air suction port of an air conditioner or air flowing from the air suction port to a heat exchanger.
  • a sheet-like filter member arranged to pass a stream of air;
  • this filter device can maintain the ability of the filter member to collect foreign matter for a long time. Therefore, this filter device can improve the maintainability of the user.
  • FIG. 2 is a cross-sectional view of a bus air conditioner and a bus ceiling portion as viewed from the direction of the arrow indicated by II in the cross section including the II-II line in FIG. 1; It is a sectional view of a filter device concerning a 1st embodiment. It is sectional drawing of the IV-IV line of FIG. It is sectional drawing which shows the use condition of the filter apparatus concerning 1st Embodiment. It is sectional drawing of the filter apparatus concerning 2nd Embodiment. It is sectional drawing of the filter apparatus concerning 3rd Embodiment.
  • FIG. 10 is a cross-sectional view taken along line XX in FIG.
  • FIG. 10 is a cross-sectional view taken along line XI-XI of FIG.
  • FIG. 13 is a cross-sectional view as seen from the direction of the arrow shown by XIII in the cross section including the line XIII-XIII in FIG. 12;
  • the filter device 1 of the first embodiment is installed in a bus air conditioner 2.
  • the air conditioning unit 3 of the bus air conditioner 2 is mounted on the roof of the bus vehicle 4.
  • the air conditioning unit 3 has an air inlet 5 at a central portion on the vehicle interior side, and an air outlet 6 at the left and right in the vehicle width direction.
  • the filter device 1 is provided at a position corresponding to the air suction port 5 of the air conditioning unit 3 in the ceiling member 7 of the bus.
  • An air passage 9 is formed between the filter device 1 and the air suction port 5 of the air conditioning unit 3 by a packing 8 or a duct. Therefore, the air in the passenger compartment passes through the air passage 9 from the filter device 1 and is sucked into the air suction port 5 of the air conditioning unit 3.
  • the filter device 1 is provided on the ceiling member 7 which is a portion on the upstream side of the air suction port 5 of the air conditioning unit 3.
  • the filter device 1 is for collecting foreign matter such as dust and dirt contained in air sucked into the air suction port 5 from the vehicle compartment.
  • the filter device 1 may be provided not only to the ceiling member 7 of the bus but also to the air suction port 5 of the air conditioning unit 3. The configuration of the filter device 1 will be described later.
  • a ventilation passage 10 in which air flows from the air suction port 5 to the air blowout port 6 is formed inside the air conditioning unit 3. Further, inside the air conditioning unit 3, a blower 11, an inner filter device 12, an evaporator 13 and the like are installed.
  • the filter device 1 provided on the upstream side of the air suction port 5 described above and the inner filter device 12 provided inside the air conditioning unit 3 both correspond to an example of the “filter device” of the present disclosure.
  • the evaporator 13 is corresponded to an example of the "heat exchanger" of this indication.
  • the blower 11 has an electric motor (not shown) and a fan which is rotated by the electric motor.
  • the air in the passenger compartment is sucked into the ventilation passage 10 of the air conditioning unit 3 from the air suction port 5 through the filter device 1 and passes through the inner filter device 12 and the evaporator 13 to blow the left and right air. It is blown out into the vehicle compartment from the outlet 6.
  • the flows of air flowing from the air suction port 5 to the air outlets 6 on the left and right are indicated by arrows F1 to F5.
  • the inner filter device 12 collects foreign substances contained in the air flowing from the air suction port 5 to the evaporator 13.
  • a plurality of inner filter devices 12 are disposed to correspond to the plurality of evaporators 13 provided respectively on the left and right in the vehicle width direction.
  • the evaporator 13 constitutes a known refrigeration cycle together with a compressor, a condenser, an expansion valve and the like which are not shown.
  • the refrigerant circulating in the refrigeration cycle is compressed by the compressor, and then, when flowing through the condenser, dissipates heat to the outside air and condenses. Thereafter, it is decompressed and expanded by the expansion valve, and flows into the evaporator 13 in a gas-liquid two-phase state.
  • the refrigerant flowing into the evaporator 13 absorbs heat from the air flowing through the air passage 10 of the air conditioning unit 3, evaporates, and flows into the compressor.
  • the air flowing through the air passage 10 of the air conditioning unit 3 is cooled by heat exchange with the refrigerant flowing through the evaporator 13 and then blown out from the air outlet 6 into the vehicle compartment.
  • the configuration of the filter device 1 provided on the upstream side of the air suction port 5 will be described.
  • the configuration of the filter device 1 and the configuration of the inner filter device 12 provided inside the air conditioning unit 3 are substantially the same.
  • the filter device 1 includes a filter member 20, a first axis 21, a second axis 22, and the like.
  • the filter member 20, the first shaft 21, and the second shaft 22 are provided inside the filter case 23.
  • the flow of air passing through the filter device 1 is indicated by arrows F6 and F7.
  • the flow of air passing through the filter device 1 flows into the inside from the air inlet 23 a of the filter case 23, passes through the filter member 20, and flows out from the air outlet 23 b of the filter case 23.
  • Each of the first shaft 21 and the second shaft 22 is formed in a substantially cylindrical shape.
  • the first shaft 21 is provided on one side intersecting the flow direction of the air passing through the filter case 23.
  • the second shaft 22 is provided on the other side intersecting the flow direction of the air passing through the filter case 23. That is, the first shaft 21 and the second shaft 22 are provided on one side and the other side of the filter case 23.
  • the first axis 21 and the second axis 22 are provided in parallel.
  • the first shaft 21 is provided rotatably around the axis with respect to the filter case 23.
  • the second axis 22 is also provided rotatably about the axis with respect to the filter case 23.
  • the filter member 20 is formed in a sheet shape by, for example, a sponge or a non-woven fabric, and is disposed so that the flow of air passes through.
  • the filter member 20 is capable of collecting foreign matter such as dust and dirt contained in the air by the portion 20a arranged to pass the flow of air.
  • One side of the filter member 20 in the longitudinal direction is wound around the first shaft 21 multiple times.
  • a portion of the filter member 20 opposite to the first shaft 21 is fixed to the second shaft 22.
  • the filter member 20 is provided across the first shaft 21 and the second shaft 22 so that the flow of air passes therethrough.
  • the second shaft 22 supports the opposite side of the first shaft 21 to the portion 20a through which the air flow passes.
  • the filter member 20 is configured such that the portion 20a through which the air flow passes is replaced.
  • the filter case 23 is detachably provided to the ceiling member 7 of the bus. That is, the first shaft 21, the second shaft 22 and the filter member 20 are detachably provided to the ceiling member 7 of the bus.
  • the filter case 23 is eliminated, and the first shaft 21, the second shaft 22 and the filter member 20 included in the filter device 1 can be directly attached to and detached from the ceiling member 7 of the bus or the air inlet 5 of the air conditioning unit 3. You may provide. Further, in the case of the inner filter device 12 provided inside the air conditioning unit 3, the filter case 23 is eliminated, and the first shaft 21, the second shaft 22 and the filter member 20 are directly detachable to the air conditioning unit 3. May be
  • FIG. 5 shows a state after a predetermined period has elapsed since the start of use of the filter device 1.
  • a portion of the portion of the filter member 20 wound around the first shaft 21 is pulled out toward the second shaft 22 side, and the first shaft is allowed to pass the air flow
  • a portion disposed across the distance between the second shaft 21 and the second shaft 22 is wound around the second shaft 22.
  • the foreign matter 80 is hatched in order to easily show the foreign matter 80 collected on the surface of the filter member 20.
  • the filter device 1 has a configuration in which the filter member 20 is wound around the second shaft 22 in a state where the filter member 20 collects the foreign matter 80. That is, the filter member 20 is wound around the second shaft 22 together with the collected foreign matter 80.
  • the filter device 1 causes the foreign matter 80 collected by the filter member 20 to fall into the vehicle compartment to be air conditioned by the bus air conditioner 2, and the foreign matter 80 is on the evaporator 13 side in the air conditioning unit 3. It is possible to prevent it from invading.
  • the filter device 1 can be configured to automatically wind the filter member 20 around the second shaft 22 under the control of an air conditioning ECU (not shown).
  • ECU is an abbreviation of electronic control unit.
  • the air conditioning ECU detects a clogging state of the filter member 20 based on a change in current value or the like supplied to the electric motor of the blower 11 provided in the air conditioning unit 3.
  • the air conditioning ECU can drive an actuator (not shown) provided on the second shaft 22 to wind the filter member 20 on the second shaft 22. It is.
  • the air conditioning ECU may drive the actuator provided on the second shaft 22 at regular intervals to wind the filter member 20 around the second shaft 22 regardless of the clogging state of the filter member 20. This control can further improve the maintainability of the user.
  • the filter device 1 may be configured to wind the filter member 20 around the second shaft 22 manually by the user instead of or in addition to the control of the air conditioning ECU. Even with this configuration, the filter device 1 according to the present embodiment can save time and effort for the user to clean the filter member 20 by discharging water or the like, so that the user's maintainability can be improved.
  • the filter device 1 has the following effects.
  • one side of the filter member 20 in the longitudinal direction is wound around the first shaft 21, and the side opposite to the first shaft 21 is the second shaft 22 with respect to the portion 20a through which the air flow passes. It is supported by In the filter member 20, when the portion 20a through which the air flow passes is moved toward the second shaft 22, the portion wound around the first shaft 21 is drawn toward the second shaft 22, and the air flow is The passing site 20a is configured to be replaced.
  • the filter device 1 can maintain the ability of the filter member 20 to collect the foreign object 80 for a long time, and can improve the maintainability of the user.
  • the filter member 20 is configured such that the portion 20 a through which the flow of air passes is wound around the second shaft 22. According to this, the filter device 1 winds around the second shaft 22 in a state where the foreign matter 80 is attached to the filter member 20 without scraping the foreign matter 80 collected by the filter member 20 from the filter member 20. Is possible. Therefore, in the filter device 1, the foreign object 80 collected by the filter member 20 falls into the vehicle compartment to be air conditioned by the bus air conditioner 2, or the foreign object 80 goes to the evaporator 13 side in the air conditioning unit 3. It can be prevented from intruding. Further, in the filter device 1, when the foreign matter 80 collected by the filter member 20 is not scraped off from the filter member 20, a space for storing the foreign matter 80 becomes unnecessary. Therefore, the filter device 1 can be miniaturized.
  • the filter member 20 and the first shaft 21 and the second shaft 22 are detachably provided at the air suction port 5 of the air conditioning unit 3 or at a site upstream of the air suction port 5. . According to this, it is possible to attach or detach the filter device 1 to the air conditioning unit 3 without disassembling the air conditioning unit 3 or the like. Therefore, this filter device 1 can improve the maintainability of the user.
  • the filter device 1 is installed in the bus air conditioner 2. Since the air conditioner 2 for a bus has a long operation time, the filter member 20 is likely to be clogged with the foreign matter 80. Therefore, by installing the filter device 1 in the air conditioner 2 for a bus, the replacement time or cleaning time of the filter member 20 becomes long, so the user's maintainability can be improved.
  • the second embodiment will be described.
  • the second embodiment is a modification of the first embodiment in which part of the configuration of the filter device 1 is changed.
  • the portion 20 b opposite to the portion 20 a through which the flow of air passes with respect to the second shaft 22 is the second shaft 22. It is configured to drip from the bottom.
  • the second shaft 22 may be configured to support the filter member 20 without winding the filter member 20.
  • the portion 20 b of the filter member 20 which is dripped from the second shaft 22 is accommodated in the accommodating portion 24 provided in the filter case 23. Thereby, the foreign material 80 collected by the filter member 20 is prevented from spilling out of the housing portion 24 to the outside of the filter case 23.
  • the direction in which the filter device 1 is installed is not limited. That is, also in the second embodiment, the portion 20b which is dripped from the second shaft 22 is not limited to the lower side in the direction of gravity.
  • the filter device 1 of the second embodiment described above can also achieve the same effects as those of the first embodiment. Furthermore, in the filter device 1 according to the second embodiment, the configuration on the second shaft 22 side is simplified as compared with the configuration in which the filter member 20 is wound around the second shaft 22 as in the above-described first embodiment. It is possible.
  • the second shaft 22 may be configured to support the filter member 20 without winding the filter member 20. The user of the filter device 1 can pull out the portion 20b where the filter member 20 extends from the second shaft 22 and cut it at a predetermined length.
  • the filter device 1 according to the third embodiment described above can also provide the same effects as those of the first and second embodiments. Furthermore, the filter device 1 according to the third embodiment does not need to have the accommodating portion 24 as in the second embodiment described above, so the size of the filter device 1 can be reduced.
  • the filter device 1 of the fourth embodiment is installed in a compact air conditioner 41 mounted on a vehicle 40.
  • the small air conditioner 41 may be the ceiling 42 of the vehicle 40, under the seat 43, the rear surface of the backrest 44 of the seat 43, the rear surface of the headrest restraint 45, or the middle portion of the left and right seat 43 Provided near the cooler box 46 mounted on the
  • the compact air conditioner 41 provided on the ceiling 42 of the vehicle 40 can blow the conditioned air toward the upper body of the occupant seated on the seat 43.
  • the small air conditioner 41 provided under the seat 43 is conditioned air from the bottom of the seat 43 through the urethane member and the skin constituting the seat 43 toward the back and thighs of the occupant seated on the seat 43 and the conditioned air. It is possible to blow out.
  • the compact air conditioner 41 provided on the back surface of the backrest 44 of the seat 43 is air conditioned from the back surface of the backrest 44 toward the back of the occupant seated on the seat 43 through the urethane member and the skin constituting the backrest 44. It is possible to blow the wind.
  • the small air conditioner 41 provided on the rear surface of the headrest restraint 45 can blow conditioned air toward the neck of the occupant seated on the seat 43.
  • the compact air conditioner 41 provided in the vicinity of the cooler box 46 mounted in the middle part of the left and right sheets 43 can blow the conditioned air inside the cooler box 46.
  • the compact air conditioner 41 is accommodated in the air conditioning case 54 in a state where the compressor 50, the condenser 51, the expansion valve 52, and the evaporator 53, which constitute a refrigeration cycle, are connected by refrigerant piping.
  • the condenser 51 and the evaporator 53 correspond to an example of the “heat exchanger” of the present disclosure.
  • the compressor 50 compresses the refrigerant circulating in the refrigeration cycle.
  • the condenser 51 causes the air to dissipate the refrigerant compressed by the compressor 50 and condenses the refrigerant.
  • the expansion valve 52 decompresses and expands the refrigerant flowing out of the condenser 51.
  • the evaporator 53 exchanges heat between the decompressed and expanded low-temperature low-pressure refrigerant and the air to evaporate the refrigerant.
  • the refrigerant evaporated by the evaporator 53 is compressed again by the compressor 50.
  • a partition plate 55 is provided inside the air conditioning case 54. Therefore, the air conditioning case 54 has two air passages 56, 57. Of the two air passages 56, 57 provided in the air conditioning case 54, the first air passage 58 is provided with a first fan 58 together with a compressor 50 and a condenser 51 which constitute a refrigeration cycle. Of the two air passages 56, 57 provided in the air conditioning case 54, the second air passage 57 is provided with a second fan 59 together with an expansion valve 52, an evaporator 53 and the like that constitute a refrigeration cycle.
  • the air conditioning case 54 has a first air suction port 60 for sucking air into the first ventilation passage 56 and a first air outlet 61 for blowing air from the first ventilation passage 56.
  • the first air suction port 60 is provided with a first filter device 1 a.
  • the air conditioning case 54 has a second air suction port 62 for sucking the air into the second ventilation passage 57 and a second air outlet 63 for blowing the air from the second ventilation passage 57.
  • the second air suction port 62 is provided with a second filter device 1 b.
  • Each of the first filter device 1 a and the second filter device 1 b corresponds to an example of the “filter device” in the present disclosure.
  • the configurations and operations of the first filter device 1a and the second filter device 1b are the same as the filter device 1 described in the first to third embodiments described above, or the filter device 1 described in the sixth and seventh embodiments described later. It is the same.
  • the first fan 58 provided in the first ventilation passage 56 When the first fan 58 provided in the first ventilation passage 56 is driven, air is drawn into the first ventilation passage 56 from the first air suction port 60 via the first filter device 1 a.
  • the air flowing through the first air passage 56 absorbs heat from the refrigerant flowing through the condenser 51 and is heated by the compressor 50 to become warm air and blown out from the first air outlet 61.
  • the flow of the air is indicated by arrows F8 and F9.
  • the first filter device 1 a can collect foreign matter 80 contained in the air sucked into the first air suction port 60.
  • the second blower 59 provided in the second ventilation passage 57 When the second blower 59 provided in the second ventilation passage 57 is driven, air is drawn into the second ventilation passage 57 from the second air suction port 62 via the second filter device 1 b.
  • the air flowing through the second ventilation path 57 dissipates heat to the refrigerant flowing through the evaporator 53 and becomes cold air and is blown out from the second air outlet 63.
  • the flow of the air is indicated by arrows F10 and F11.
  • the second filter device 1 b can collect the foreign matter 80 contained in the air sucked into the second air suction port 62.
  • the first and second filter devices 1a and 1b of the fourth embodiment have the same configuration as the filter device 1 and the like of the first to third embodiments described above. Therefore, the first and second filter devices 1a and 1b of the fourth embodiment can exhibit the same effects as those of the filter device 1 and the like of the first to third embodiments described above.
  • 1st, 2nd filter apparatus 1a, 1b of 4th Embodiment is installed in the small air conditioning apparatus 41 for vehicle mounting.
  • the small air conditioner 41 for mounting on a vehicle since the area of the air suction port 5 is small, the foreign material 80 is easily clogged in the filter member 20. Furthermore, when the small air conditioner 41 for vehicle installation is arrange
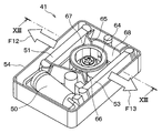
  • the filter device 1 of the fifth embodiment is also installed in the compact air conditioner 41 mounted on the vehicle 40.
  • the small-sized air conditioner 41 is also an air conditioner in a state where the compressor 50, the condenser 51, the expansion valve, and the evaporator 53 constituting the refrigeration cycle are connected by refrigerant piping. It is a so-called all-in-one type air conditioner housed in the case 54.
  • partition plates 65 and 66 are provided on one and the other sides of the centrifugal fan 64 in the radial direction.
  • the two partition plates 65 and 66 are provided on both sides of the rotation shaft of the centrifugal fan 64. Therefore, in the air conditioning case 54, two ventilation paths 67 and 68 are formed.
  • the first air passage 67 is provided with a condenser 51 that constitutes a refrigeration cycle.
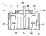
  • the evaporator 53 which comprises a refrigerating cycle is installed in the 2nd ventilation path 68 among two ventilation paths 67 and 68 formed in air-conditioning case 54. As shown in FIG.
  • the air conditioning case 54 has an air suction port 70 for sucking in air from one side in the rotational axis direction of the centrifugal fan 64.
  • the air conditioning case 54 also has a first air outlet 71 for blowing out the air that has passed through the condenser 51 and a second air outlet 72 for blowing out the air that has passed through the evaporator 53.
  • the air suction port 70 is provided with a filter device 1.
  • the configuration and operation of the filter device 1 are the same as the filter device 1 described in the first to third embodiments described above, or the filter device 1 described in the sixth and seventh embodiments described later.
  • the filter device 1 can collect the foreign matter 80 contained in the air sucked into the centrifugal fan 64 from the air suction port 70.
  • the filter device 1 of the fifth embodiment also has the same configuration as the filter device 1 of the first to third embodiments described above. Therefore, the filter device 1 according to the fifth embodiment can also provide the same effects as those of the first to third embodiments described above.
  • the filter device 1 of the fifth embodiment is also installed in the small air conditioner 41 for mounting on a vehicle, similarly to the filter devices 1a and 1b of the fourth embodiment. Therefore, the filter device 1 of the fifth embodiment can also achieve the same effects as those of the above-described fourth embodiment.
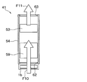
  • the filter device 1 includes a filter member 20, a first shaft 21, a second shaft 22, a filter case 23, a first cleaning member 25, a second cleaning member 26, and the like.
  • the filter member 20, the first shaft 21 and the second shaft 22 are substantially the same as the configuration described in the first embodiment.
  • the filter member 20 is formed in a sheet shape, for example, with a sponge or a non-woven fabric, and is disposed so that the air flow passes.
  • the first shaft 21 and the second shaft 22 are provided on one side and the other side of the filter case 23.
  • One side of the filter member 20 in the longitudinal direction is wound around the first shaft 21.
  • the second shaft 22 supports the opposite side of the first shaft 21 to the portion 20a through which the air flow passes.
  • the filter member 20 draws the portion wound around the first shaft 21 toward the second shaft 22 side, and is wound around the second shaft 22 so that the air flows. It is comprised so that the site
  • Two support members 27 and 28 are provided between the first shaft 21 and the second shaft 22.
  • the two support members 27 and 28 are provided on the downstream side in the flow direction of the air passing through the filter device 1 with respect to the portion 20a through which the flow of air passes.
  • the two support members 27 and 28 support the downstream surface of the portion 20a through which the air flow passes. Therefore, bending of the filter member 20 due to the wind pressure passing through the filter member 20 is suppressed.
  • the flow of air passing through the filter device 1 is indicated by arrows F14 and F15.
  • foreign substances 80 such as dust and dirt collected by the filter member 20 are schematically indicated by ⁇ .
  • the filter case 23 has a first accommodating portion 29 provided to surround the outer side of the first shaft 21. Further, the filter case 23 has a second accommodating portion 30 provided to surround the outer side of the second shaft 22.
  • a first cleaning member 25 is provided on the inner wall of the first housing portion 29.
  • a second cleaning member 26 is provided on the inner wall of the second housing portion 30.
  • the first cleaning member 25 and the second cleaning member 26 are made of, for example, a rubber spatula or a brush.
  • the first cleaning member 25 is provided in sliding contact with the filter member 20 wound around the first shaft 21.
  • the first cleaning member 25 is provided to close a gap 29 a between the filter member 20 wound around the first shaft 21 and the first accommodation portion 29.
  • the first cleaning member 25 can elastically deform following the change of the outer diameter of the filter member 20 wound around the first shaft 21. Therefore, even if the outer diameter of the filter member 20 wound around the first shaft 21 changes, the first cleaning member 25 can always be in sliding contact with the filter member 20. Therefore, even if the outer diameter of the filter member 20 wound around the first shaft 21 changes, the first cleaning member 25 forms a gap 29 a between the filter member 20 wound around the first shaft 21 and the first accommodation portion 29. It is possible to close the
  • the second cleaning member 26 is provided in sliding contact with the filter member 20 wound around the second shaft 22.
  • the second cleaning member 26 is provided to close the gap 30 a between the filter member 20 wound around the second shaft 22 and the second accommodation portion 30.
  • the second cleaning member 26 can also elastically deform following the change of the outer diameter of the filter member 20 wound around the second shaft 22. Therefore, even if the outer diameter of the filter member 20 wound around the second shaft 22 changes, the second cleaning member 26 can always be in sliding contact with the filter member 20. Therefore, even if the outer diameter of the filter member 20 wound around the second shaft 22 changes, the second cleaning member 26 has a gap 30 a between the filter member 20 wound around the second shaft 22 and the second accommodation portion 30. It is possible to close the
  • the filter device 1 can be configured to automatically wind the filter member 20 around the second shaft 22 under the control of an air conditioning ECU (not shown).
  • the air conditioning ECU detects a clogging state of the filter member 20 based on a change in current value or the like supplied to the electric motor of the blower 11 provided in the air conditioner.
  • the air conditioning ECU can drive an actuator (not shown) provided on the second shaft 22 to wind the filter member 20 on the second shaft 22. It is.
  • the air conditioning ECU may drive an actuator provided on the second shaft 22 at regular intervals to wind the filter member 20 around the second shaft 22 regardless of the clogging of the filter member 20. This control can further improve the maintainability of the user.
  • the filter device 1 may be configured to wind the filter member 20 around the second shaft 22 manually by the user instead of or in addition to the control of the air conditioning ECU. Even with this configuration, the filter device 1 according to the present embodiment can save time and effort for the user to clean the filter member 20 by discharging water or the like, so that the user's maintainability can be improved.
  • FIG. 15 shows a state after a certain period of time has elapsed since the start of use of the filter device 1.
  • the portion of the filter member 20 which has been wound around the first shaft 21 is pulled out toward the second shaft 22 side and wound around the second shaft 22.
  • the foreign matter 80 collected by the filter member 20 is filtered by the second cleaning member 26 while the portion 20a through which the air flow passes is taken up by the second shaft 22. It is configured to be removed from the The foreign material 80 removed from the filter member 20 by the second cleaning member 26 is accommodated in the second accommodation portion 30. Also in FIG. 15, the foreign matter 80 collected by the filter member 20 and the foreign matter 80 removed from the filter member 20 by the second cleaning member 26 are schematically indicated by ⁇ .
  • the second cleaning member 26 is wound around the second shaft 22 with the filter member 20 and the second housing portion 30. Can be always closed. Therefore, the second cleaning member 26 can prevent the foreign material 80 stored in the storage portion 24 from flowing out from the gap 30 a between the filter member 20 and the second storage portion 30.
  • the filter device 1 of the sixth embodiment rotates the first shaft 21 under the control of the air conditioning ECU, and automatically winds up the filter member 20 wound around the second shaft 22 around the first shaft 21.
  • the air conditioning ECU drives an actuator (not shown) provided on the first shaft 21 to wind the filter member 20 around the first shaft 21 when the current value of the electric motor of the blower 11 included in the air conditioner becomes larger than a predetermined threshold. Let me take it.
  • the air conditioning ECU may drive an actuator provided on the first shaft 21 at regular intervals to wind the filter member 20 around the first shaft 21 regardless of the clogging of the filter member 20.
  • the filter device 1 may be configured to wind the filter member 20 around the first shaft 21 manually by the user instead of or in addition to the control of the air conditioning ECU. Thus, the filter device 1 shifts from the state of FIG. 15 to the state of FIG. 14 again.
  • the filter device 1 has a configuration in which the foreign material 80 collected by the filter member 20 is removed from the filter member 20 by the first cleaning member 25 while the portion 20a through which the air flow passes is wound around the first shaft 21. It has become.
  • the foreign material 80 removed from the filter member 20 by the first cleaning member 25 is accommodated in the first accommodation portion 29.
  • the first cleaning member 25 is wound around the first shaft 21 with the filter member 20 and the first accommodation portion 29. Can be always closed. Therefore, the first cleaning member 25 can prevent the foreign object 80 stored in the storage portion 24 from flowing out from the gap 29 a between the filter member 20 and the first storage portion 29.
  • the filter device 1 of the sixth embodiment described above has the following effects.
  • the second cleaning member 26 is in sliding contact with the filter member 20 wound around the second shaft 22 to remove the foreign matter 80 from the filter member 20.
  • the second housing portion 30 is provided so as to surround the outer side of the second shaft 22, and accommodates the foreign object 80 removed from the filter member 20 by the cleaning member. According to this, the portion 20 a through which the air flow passes is wound around the second shaft 22 in a state where the foreign matter 80 is removed by the second cleaning member 26. Therefore, the filter member 20 wound around the second shaft 22 can be used again.
  • the first cleaning member 25 is in sliding contact with the filter member 20 wound around the first shaft 21 to remove the foreign matter 80 from the filter member 20.
  • the first accommodating portion 29 is provided to surround the outer side of the first shaft 21 and accommodates the foreign matter 80 removed from the filter member 20 by the cleaning member. According to this, the portion 20 a through which the flow of air passes is wound around the first shaft 21 in a state where the foreign matter 80 is removed by the first cleaning member 25. Thus, the filter member 20 wound around the first shaft 21 can be used again.
  • the first cleaning member 25 is provided to close the gap 29 a between the filter member 20 wound around the first shaft 21 and the first accommodation portion 29.
  • the second cleaning member 26 is also provided so as to close the gap 30 a between the filter member 20 wound around the second shaft 22 and the accommodation portion 24.
  • the first cleaning member 25 can prevent the foreign object 80 removed from the filter member 20 from flowing out from the gap 29 a between the filter member 20 and the first accommodation portion 29.
  • the second cleaning member 26 can also prevent the foreign matter 80 removed from the filter member 20 from flowing out through the gap 30 a between the filter member 20 and the second accommodation portion 30.
  • the filter device 1 includes the first cleaning member 25, the first accommodation portion 29, the second cleaning member 26 and the second accommodation portion 30.
  • the filter device 1 alternately winds the filter member 20 around the first shaft 21 and the second shaft 22 while removing the foreign material 80 from the filter member 20 by the first cleaning member 25 and the second cleaning member 26. It is possible. Therefore, the filter device 1 can use the filter member 20 for a long time while maintaining the ability of the filter member 20 to collect the foreign matter 80.
  • Seventh Embodiment A seventh embodiment will be described.
  • a part of the configuration of the filter device 1 is modified with respect to the first to third and sixth embodiments.
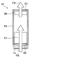
  • the filter device 1 of the seventh embodiment includes a filter member 20, a first shaft 21, a second shaft 22, a third shaft 31, and the like.
  • the flow of air passing through the filter device 1 is indicated by arrows F16 and F17.
  • the first shaft 21 is provided on one side of the filter case 23, and the second shaft 22 is provided on the other side of the filter case 23.
  • One side of the filter member 20 in the longitudinal direction is wound around the first shaft 21.
  • the second shaft 22 supports the opposite side of the first shaft 21 to the portion 20a through which the air flow passes.
  • the third shaft 31 is provided at a position different from the first shaft 21 and the second shaft 22, and is configured to wind up a portion 20a through which the flow of air passes.
  • the third shaft 31 is not limited to being provided on the first shaft 21 side in the filter case 23 but may be provided on the second shaft 22 side. That is, the position at which the shaft member for winding the filter member 20 is provided is not limited. Further, another shaft member for supporting the filter member 20 may be provided between the second shaft 22 and the third shaft 31, and the filter member 20 may be provided between the first shaft 21 and the second shaft 22. Another shaft member may be provided for supporting.
  • the portion extending from the second shaft 22 is wound around the third shaft 31, and the portion wound around the first shaft 21 faces the second shaft 22 side.
  • the portion 20a through which the air flow passes is configured to be replaced.
  • the filter device 1 of the seventh embodiment can exhibit the same effects as those of the filter device 1 of the first to sixth embodiments described above. Furthermore, the filter device 1 according to the seventh embodiment can wind the filter member 20 around the third shaft 31 even if there is no space for winding the filter member 20 at the location where the second shaft 22 is installed, for example. is there. Therefore, this filter device 1 can increase the degree of freedom in design.
  • the shape of the components when referring to a positional relationship or the like, except in particular clearly the case and principle specific shape, etc. If to be limited to the positional relationship or the like, the shape, It is not limited to the positional relationship and the like.
  • the filter devices 1, 1a, 1b, 12 may be installed in an air conditioner installed in other types of vehicles, or installed in a building etc. It may be installed in an air conditioning system.
  • the filter device comprises a filter member, a first axis and a second axis.
  • the filter member is in the form of a sheet and is arranged to pass a stream of air.
  • One longitudinal side of the filter member is wound around the first axis.
  • the second axis supports the side of the filter member opposite to the first axis with respect to the portion through which the air flow passes. Then, when the filter member moves the portion through which the air flow passes to the second axis side, the portion wound around the first axis is pulled out toward the second axis side, and the portion through which the air flow passes is It is configured to be replaced.
  • the filter member is configured such that a portion through which the flow of air passes is wound around the second axis.
  • the filter device can be wound around the second shaft in a state where foreign matter is attached to the filter member without scraping the foreign matter collected by the filter member from the filter member. Therefore, the filter device can prevent the foreign matter collected by the filter member from falling into the space to be air-conditioned by the air conditioner, and the foreign matter from entering the heat exchanger side in the air conditioner. . Further, this filter device does not require a space for storing foreign matter if the foreign matter collected on the filter member is not scraped off from the filter member. Therefore, this filter device can miniaturize the physique.
  • the filter member is configured such that a portion through which the air flow passes is wound around a third axis provided at a position different from the first axis and the second axis. According to this, even when there is no space for winding the filter member at the place where the second axis is installed, it is possible to wind the filter member around the third axis. Therefore, this filter device can increase the freedom of design.
  • the filter member is configured such that a portion on the opposite side to the portion through which the air flow passes with respect to the second axis is dripped from the second axis. According to this, it is possible to make simple the composition by the side of the 2nd axis to the composition which winds up a filter member to the 2nd axis.
  • the filter member and the first axis and the second axis are detachably provided to the air suction port of the air conditioner, or detachably provided at a portion on the upstream side of the air suction port. According to this, it is possible to attach or detach the filter device to the air conditioner without disassembling the air conditioner. Therefore, this filter device can improve the maintainability of the user.
  • the filter device further comprises a cleaning member and a housing.
  • the cleaning member is in sliding contact with the filter member wound around the second shaft to remove foreign matter from the filter member.
  • the accommodating portion is provided to surround the outer side of the second shaft, and accommodates the foreign matter removed from the filter member by the cleaning member. According to this, a portion of the filter member through which the flow of air passes is wound around the second shaft in the state where the foreign matter is removed. Therefore, it is possible to use the filter member wound around the second axis again.
  • the cleaning member is provided so as to close the gap between the filter member wound around the second shaft and the housing portion. According to this, the cleaning member can prevent the foreign matter removed from the filter member from flowing out from the gap between the filter member and the housing portion.
  • the filter device further includes a first cleaning member, a first accommodating portion, a second cleaning member, and a second accommodating portion.
  • the first cleaning member is in sliding contact with the filter member wound around the first shaft to remove foreign matter from the filter member.
  • the first accommodating portion is provided to surround the outside of the first shaft, and accommodates the foreign matter removed from the filter member by the first cleaning member.
  • the second cleaning member is in sliding contact with the filter member wound around the second shaft to remove foreign matter from the filter member.
  • the second accommodating portion is provided to surround the outer side of the second shaft, and accommodates the foreign matter removed from the filter member by the second cleaning member. According to this, the filter device can alternately wind around the first shaft and the second shaft while removing foreign substances from the filter member by the first cleaning member and the second cleaning member. Therefore, the filter device can use the filter member for a long time while maintaining the ability of the filter member to collect foreign matter.
  • the first cleaning member is provided so as to close a gap between the filter member wound around the first shaft and the first accommodation portion.
  • the second cleaning member is provided to close a gap between the filter member wound around the second shaft and the second accommodation portion.
  • the first cleaning member can prevent the foreign matter contained in the first accommodation portion from flowing out from the gap between the filter member and the first accommodation portion.
  • the filter device can prevent the foreign matter contained in the second accommodation portion from flowing out from the gap between the filter member and the second accommodation portion by the second cleaning member.
  • the filter device is a foreign object contained in the air sucked into the air suction port of the air conditioning unit provided in the bus air conditioner mounted on the bus vehicle, or the air flowing from the air suction port to the heat exchanger To collect foreign substances contained in According to this, since the air conditioner for a bus has a long operation time, the filter member is likely to be clogged with foreign matter. Therefore, by installing this filter device in the air conditioner for a bus, the replacement time or cleaning time of the filter member becomes long, so that the maintainability of the user can be improved.
  • the filter device is installed in the small-sized air conditioner housed inside the air conditioning case in a state where the compressor, the condenser, the expansion valve, and the evaporator that constitute the refrigeration cycle are connected by the refrigerant pipe. Be done.
  • the compact air conditioner is mounted on a vehicle.
  • the filter device is for collecting foreign matter contained in the air sucked into the air suction port of the compact air conditioner or foreign matter contained in the air flowing from the air suction port to the evaporator or the condenser. According to this, since the small air conditioner for vehicle installation has a small area of the air suction port, the filter member is easily clogged with foreign matter.

Landscapes

  • Engineering & Computer Science (AREA)
  • Chemical & Material Sciences (AREA)
  • Mechanical Engineering (AREA)
  • Combustion & Propulsion (AREA)
  • General Engineering & Computer Science (AREA)
  • Chemical Kinetics & Catalysis (AREA)
  • Air Filters, Heat-Exchange Apparatuses, And Housings Of Air-Conditioning Units (AREA)
  • Air-Conditioning For Vehicles (AREA)
  • Central Air Conditioning (AREA)
  • Filtering Of Dispersed Particles In Gases (AREA)

Abstract

This filter device (1, 1a, 1b, 12) collects foreign material (80) contained in the air sucked into an air suction port (5, 60, 62, 70) of an air conditioning device (2, 41) or the air flowing into a heat exchanger (13, 51, 53) from the air suction port (5, 60, 62, 70). A filter member (20) is formed into a sheet and is disposed such that air flows therethrough. One side of the filter member (20) in a longitudinal direction is wound around a first shaft (21). A second shaft (22) supports the opposite side of the filter member (20) to the first shaft (21) across a part (20a) of the filter member (20) through which air flows. The filter member (20) is configured such that when the part (20a) through which air flows moves toward the second shaft (22), a part of the filter member (20) that has been wound around the first shaft (21) is drawn toward the second shaft (22) and serves as a new part (20a) through which air flows.

Description

フィルタ装置Filter device 関連出願への相互参照CROSS-REFERENCE TO RELATED APPLICATIONS

 本出願は、2017年10月12日に出願された日本特許出願番号2017-198370号に基づくもので、ここにその記載内容が参照により組み入れられる。 This application is based on Japanese Patent Application No. 2017-198370 filed on October 12, 2017, the contents of which are incorporated herein by reference.

 本開示は、フィルタ装置に関するものである。 The present disclosure relates to a filter device.

 従来、空調装置の空気吸込口から熱交換器へ流れる空気に含まれる塵や埃などの異物を捕集するフィルタ装置が知られている。
 特許文献1に記載のフィルタ装置は、フィルタ部材に捕集された異物をブラシによって清掃し、そのフィルタ部材を繰り返し使用するものである。
2. Description of the Related Art Conventionally, a filter device is known which collects foreign matter such as dust and dirt contained in air flowing from an air suction port of an air conditioner to a heat exchanger.
The filter device described in Patent Document 1 uses a brush to clean foreign matter collected on the filter member, and the filter member is used repeatedly.

特開2016-20747号公報JP, 2016-20747, A

 しかしながら、特許文献1に記載のフィルタ装置は、ブラシによってフィルタ部材から除去された異物が、空調装置が空調対象とする空間にこぼれ落ちるおそれがある。また、このフィルタ装置は、ブラシによってフィルタ部材から除去された異物が空調装置の内側に溜まると、その異物が空調装置内の熱交換器側に侵入することが懸念される。
 さらに、特許文献1に記載のフィルタ装置が備えるフィルタ部材は、空調装置の空気吸込口と略同一の大きさである。このフィルタ装置は、そのフィルタ部材の略全面に付着した異物をブラシにより清掃しつつ、同一箇所を継続して使用する構成である。そのため、このフィルタ装置は、フィルタ部材の同一箇所が継続して使用されるので、フィルタ部材と清掃部材が短期間で摩耗し、フィルタ部材の異物を捕集する能力が短期間で低下するおそれがある。
However, in the filter device described in Patent Document 1, there is a risk that foreign matter removed from the filter member by the brush may fall into the space that the air conditioner targets for air conditioning. In the filter device, when the foreign matter removed from the filter member by the brush is accumulated inside the air conditioner, the foreign matter may enter the heat exchanger side in the air conditioner.
Furthermore, the filter member provided in the filter device described in Patent Document 1 has substantially the same size as the air suction port of the air conditioner. This filter device is configured to continue to use the same portion while cleaning the foreign matter adhering to the substantially entire surface of the filter member with a brush. Therefore, in the filter device, since the same portion of the filter member is continuously used, the filter member and the cleaning member may be worn in a short period, and the ability of the filter member to collect foreign matter may be decreased in a short period. is there.

 本開示は、異物を捕集する能力を長期間に亘り維持することの可能なフィルタ装置を提供することを目的とする。 An object of the present disclosure is to provide a filter device capable of maintaining the ability to collect foreign matter over a long period of time.

 本開示の1つの観点によれば、空調装置の空気吸込口に吸い込まれる空気または空気吸込口から熱交換器へ流れる空気に含まれる異物を捕集するフィルタ装置であって、
 空気の流れが通過するように配置されるシート状のフィルタ部材と、
 フィルタ部材の長手方向の一方の側が巻かれる第1軸と、
 フィルタ部材のうち空気の流れが通過する部位に対し第1軸とは反対側を支持する第2軸と、を備え、
 フィルタ部材は、空気の流れが通過する部位を第2軸側に移動させると、第1軸に巻かれた部位が第2軸側に向けて引き出され、空気の流れが通過する部位が交換されるように構成されている。
According to one aspect of the present disclosure, there is provided a filter device for collecting foreign matter contained in air sucked into an air suction port of an air conditioner or air flowing from the air suction port to a heat exchanger.
A sheet-like filter member arranged to pass a stream of air;
A first axis on which one longitudinal side of the filter member is wound;
A second shaft supporting a side of the filter member opposite to the first shaft with respect to a portion through which the air flow passes;
When the portion through which the air flow passes is moved to the second axis side, the portion wound around the first axis is pulled out toward the second axis, and the portion through which the air flow passes is exchanged. Are configured to

 これによれば、フィルタ部材のうち空気の流れが通過する部位に異物が付着すると、第1軸に巻かれた部位を引き出し、空気の流れが通過する部位を交換することが可能である。そのため、このフィルタ装置は、フィルタ部材による異物を捕集する能力を長期間に亘り維持することが可能である。したがって、このフィルタ装置は、ユーザのメンテナンス性を向上することができる。 According to this, when foreign matter adheres to the part through which the flow of air passes among the filter members, it is possible to draw out the part wound around the first axis and exchange the part through which the flow of air passes. Therefore, this filter device can maintain the ability of the filter member to collect foreign matter for a long time. Therefore, this filter device can improve the maintainability of the user.

 なお、各構成要素等に付された括弧付きの参照符号は、その構成要素等と後述する実施形態に記載の具体的な構成要素等との対応関係の一例を示すものである。 The reference numerals in parentheses attached to each component, etc., shows an example of a relationship of the specific component such as described in the following embodiments and their components, and the like.

第1実施形態に係るフィルタ装置が設置されるバス用空調装置が搭載されるバスの斜視図である。It is a perspective view of a bus in which a bus air conditioner is installed in which a filter device concerning a 1st embodiment is installed. 図1のII―II線を含む断面において、IIで示す矢印の方向から視たバス用空調装置およびバス天井部分の断面図である。FIG. 2 is a cross-sectional view of a bus air conditioner and a bus ceiling portion as viewed from the direction of the arrow indicated by II in the cross section including the II-II line in FIG. 1; 第1実施形態に係るフィルタ装置の断面図である。It is a sectional view of a filter device concerning a 1st embodiment. 図3のIV―IV線の断面図である。It is sectional drawing of the IV-IV line of FIG. 第1実施形態に係るフィルタ装置の使用状態を示す断面図である。It is sectional drawing which shows the use condition of the filter apparatus concerning 1st Embodiment. 第2実施形態に係るフィルタ装置の断面図である。It is sectional drawing of the filter apparatus concerning 2nd Embodiment. 第3実施形態に係るフィルタ装置の断面図である。It is sectional drawing of the filter apparatus concerning 3rd Embodiment. 第4実施形態に係るフィルタ装置が設置される小型空調装置が搭載される車両の車室内透視図である。It is a vehicle interior perspective view of the vehicle by which the small air conditioning apparatus in which the filter apparatus which concerns on 4th Embodiment is installed is mounted. 第4実施形態に係るフィルタ装置が設置される小型空調装置の断面図である。It is sectional drawing of the small air conditioner in which the filter apparatus which concerns on 4th Embodiment is installed. 図9のX―X線の断面図である。FIG. 10 is a cross-sectional view taken along line XX in FIG. 図9のXI―XI線の断面図である。FIG. 10 is a cross-sectional view taken along line XI-XI of FIG. 第5実施形態に係るフィルタ装置が設置される小型空調装置の断面図である。It is sectional drawing of the small air conditioner in which the filter apparatus concerning 5th Embodiment is installed. 図12のXIII―XIII線を含む断面において、XIIIで示す矢印の方向から視た断面図である。FIG. 13 is a cross-sectional view as seen from the direction of the arrow shown by XIII in the cross section including the line XIII-XIII in FIG. 12; 第6実施形態に係るフィルタ装置の断面図である。It is sectional drawing of the filter apparatus concerning 6th Embodiment. 第6実施形態に係るフィルタ装置の使用状態を示す断面図である。It is sectional drawing which shows the use condition of the filter apparatus concerning 6th Embodiment. 第7実施形態に係るフィルタ装置の断面図である。It is sectional drawing of the filter apparatus concerning 7th Embodiment.

 以下、本開示の実施形態について図面を参照しつつ説明する。なお、以下の各実施形態相互において、互いに同一もしくは均等である部分には、同一符号を付し、その説明を省略する。 Hereinafter, embodiments of the present disclosure will be described with reference to the drawings. In the following embodiments, parts identical or equivalent to each other are given the same reference numerals, and descriptions thereof will be omitted.

 (第1実施形態)
 第1実施形態について図1~図5を参照しつつ説明する。第1実施形態のフィルタ装置1は、バス用空調装置2に設置されるものである。
First Embodiment
The first embodiment will be described with reference to FIGS. 1 to 5. The filter device 1 of the first embodiment is installed in a bus air conditioner 2.

 図1および図2に示すように、バス用空調装置2の空調ユニット3は、バス車両4の屋根上に搭載される。空調ユニット3は、車室内側の中央部に空気吸込口5を有し、車幅方向左右に空気吹出口6を有している。フィルタ装置1は、バスの天井部材7のうち空調ユニット3の空気吸込口5に対応する位置に設けられている。フィルタ装置1と空調ユニット3の空気吸込口5との間には、パッキン8またはダクトなどにより空気通路9が形成されている。そのため、車室内の空気はフィルタ装置1から、その空気通路9を通り、空調ユニット3の空気吸込口5に吸い込まれる。すなわち、フィルタ装置1は、空調ユニット3の空気吸込口5の上流側の部位である天井部材7に設けられている。フィルタ装置1は、車室内から空気吸込口5に吸い込まれる空気に含まれる塵や埃などの異物を捕集するものである。なお、フィルタ装置1は、バスの天井部材7に限らず、空調ユニット3の空気吸込口5に設けてもよい。フィルタ装置1の構成については後述する。 As shown in FIGS. 1 and 2, the air conditioning unit 3 of the bus air conditioner 2 is mounted on the roof of the bus vehicle 4. The air conditioning unit 3 has an air inlet 5 at a central portion on the vehicle interior side, and an air outlet 6 at the left and right in the vehicle width direction. The filter device 1 is provided at a position corresponding to the air suction port 5 of the air conditioning unit 3 in the ceiling member 7 of the bus. An air passage 9 is formed between the filter device 1 and the air suction port 5 of the air conditioning unit 3 by a packing 8 or a duct. Therefore, the air in the passenger compartment passes through the air passage 9 from the filter device 1 and is sucked into the air suction port 5 of the air conditioning unit 3. That is, the filter device 1 is provided on the ceiling member 7 which is a portion on the upstream side of the air suction port 5 of the air conditioning unit 3. The filter device 1 is for collecting foreign matter such as dust and dirt contained in air sucked into the air suction port 5 from the vehicle compartment. The filter device 1 may be provided not only to the ceiling member 7 of the bus but also to the air suction port 5 of the air conditioning unit 3. The configuration of the filter device 1 will be described later.

 空調ユニット3の内側には、空気吸込口5から空気吹出口6に空気が流れる通風路10が形成されている。また、空調ユニット3の内側には、送風機11、内側フィルタ装置12および蒸発器13などが設置されている。上述した空気吸込口5の上流側に設けられるフィルタ装置1と、空調ユニット3の内側に設けられる内側フィルタ装置12はいずれも、本開示の「フィルタ装置」の一例に相当する。また、蒸発器13は、本開示の「熱交換器」の一例に相当する。 Inside the air conditioning unit 3, a ventilation passage 10 in which air flows from the air suction port 5 to the air blowout port 6 is formed. Further, inside the air conditioning unit 3, a blower 11, an inner filter device 12, an evaporator 13 and the like are installed. The filter device 1 provided on the upstream side of the air suction port 5 described above and the inner filter device 12 provided inside the air conditioning unit 3 both correspond to an example of the “filter device” of the present disclosure. Moreover, the evaporator 13 is corresponded to an example of the "heat exchanger" of this indication.

 送風機11は、図示しない電動モータと、その電動モータにより回転するファンを有している。送風機11が駆動すると、車室内の空気がフィルタ装置1を介して空気吸込口5から空調ユニット3の通風路10に吸い込まれ、内側フィルタ装置12および蒸発器13を通過した後、左右の空気吹出口6から車室内に吹き出される。図2では、空気吸込口5から左右の空気吹出口6へ流れる空気の流れを矢印F1~F5で示している。 The blower 11 has an electric motor (not shown) and a fan which is rotated by the electric motor. When the blower 11 is driven, the air in the passenger compartment is sucked into the ventilation passage 10 of the air conditioning unit 3 from the air suction port 5 through the filter device 1 and passes through the inner filter device 12 and the evaporator 13 to blow the left and right air. It is blown out into the vehicle compartment from the outlet 6. In FIG. 2, the flows of air flowing from the air suction port 5 to the air outlets 6 on the left and right are indicated by arrows F1 to F5.

 内側フィルタ装置12は、空気吸込口5から蒸発器13へ流れる空気に含まれる異物を捕集するものである。内側フィルタ装置12は、車幅方向左右にそれぞれ設けられた複数の蒸発器13に対応するように複数個配置されている。 The inner filter device 12 collects foreign substances contained in the air flowing from the air suction port 5 to the evaporator 13. A plurality of inner filter devices 12 are disposed to correspond to the plurality of evaporators 13 provided respectively on the left and right in the vehicle width direction.

 蒸発器13は、図示していない圧縮機、凝縮器および膨張弁などと共に周知の冷凍サイクルを構成している。冷凍サイクルを循環する冷媒は、圧縮機により圧縮された後、凝縮器を流れる際に外気に放熱して凝縮する。その後、膨張弁により減圧膨張され、気液二相状態となって蒸発器13に流入する。蒸発器13に流入した冷媒は、空調ユニット3の通風路10を流れる空気から吸熱して蒸発し、圧縮機に流入する。これにより、空調ユニット3の通風路10を流れる空気は、蒸発器13を流れる冷媒との熱交換により冷却された後、空気吹出口6から車室内に吹き出される。 The evaporator 13 constitutes a known refrigeration cycle together with a compressor, a condenser, an expansion valve and the like which are not shown. The refrigerant circulating in the refrigeration cycle is compressed by the compressor, and then, when flowing through the condenser, dissipates heat to the outside air and condenses. Thereafter, it is decompressed and expanded by the expansion valve, and flows into the evaporator 13 in a gas-liquid two-phase state. The refrigerant flowing into the evaporator 13 absorbs heat from the air flowing through the air passage 10 of the air conditioning unit 3, evaporates, and flows into the compressor. Thus, the air flowing through the air passage 10 of the air conditioning unit 3 is cooled by heat exchange with the refrigerant flowing through the evaporator 13 and then blown out from the air outlet 6 into the vehicle compartment.

 次に、空気吸込口5の上流側に設けられるフィルタ装置1の構成について説明する。なお、このフィルタ装置1の構成と、空調ユニット3の内側に設けられる内側フィルタ装置12の構成とは実質的に同一である。 Next, the configuration of the filter device 1 provided on the upstream side of the air suction port 5 will be described. The configuration of the filter device 1 and the configuration of the inner filter device 12 provided inside the air conditioning unit 3 are substantially the same.

 図3および図4に示すように、フィルタ装置1は、フィルタ部材20、第1軸21、および第2軸22などを備えている。フィルタ部材20、第1軸21、および第2軸22は、フィルタケース23の内側に設けられている。なお、図3では、フィルタ装置1を通過する空気の流れを矢印F6、F7で示している。フィルタ装置1を通過する空気の流れは、フィルタケース23の空気入口23aからその内側に流入し、フィルタ部材20を通過して、フィルタケース23の空気出口23bから流出する。 As shown in FIGS. 3 and 4, the filter device 1 includes a filter member 20, a first axis 21, a second axis 22, and the like. The filter member 20, the first shaft 21, and the second shaft 22 are provided inside the filter case 23. In FIG. 3, the flow of air passing through the filter device 1 is indicated by arrows F6 and F7. The flow of air passing through the filter device 1 flows into the inside from the air inlet 23 a of the filter case 23, passes through the filter member 20, and flows out from the air outlet 23 b of the filter case 23.

 第1軸21と第2軸22はいずれも略円柱状に形成されている。第1軸21は、フィルタケース23を通過する空気の流れ方向に対して交差する一方の側に設けられている。第2軸22は、フィルタケース23を通過する空気の流れ方向に対して交差する他方の側に設けられている。すなわち、第1軸21と第2軸22は、フィルタケース23の一方の側と他方の側に設けられている。また、第1軸21と第2軸22は、平行に設けられている。なお、第1軸21は、フィルタケース23に対し軸周りに回転可能に設けられている。第2軸22も、フィルタケース23に対し軸周りに回転可能に設けられている。 Each of the first shaft 21 and the second shaft 22 is formed in a substantially cylindrical shape. The first shaft 21 is provided on one side intersecting the flow direction of the air passing through the filter case 23. The second shaft 22 is provided on the other side intersecting the flow direction of the air passing through the filter case 23. That is, the first shaft 21 and the second shaft 22 are provided on one side and the other side of the filter case 23. The first axis 21 and the second axis 22 are provided in parallel. The first shaft 21 is provided rotatably around the axis with respect to the filter case 23. The second axis 22 is also provided rotatably about the axis with respect to the filter case 23.

 フィルタ部材20は、例えばスポンジまたは不織布などによりシート状に形成され、空気の流れが通過するように配置される。フィルタ部材20は、空気の流れが通過するように配置された部位20aにより、その空気中に含まれる塵や埃などの異物を捕集することが可能なものである。フィルタ部材20は、長手方向の一方の側が第1軸21に複数回巻かれている。また、フィルタ部材20は、第1軸21とは反対側の部位が第2軸22に固定されている。そして、フィルタ部材20は、空気の流れが通過するように、第1軸21と第2軸22との間を跨いで設けられている。第2軸22は、空気の流れが通過する部位20aに対し第1軸21とは反対側を支持している。そして、フィルタ部材20は、第2軸22が回転すると、空気の流れが通過する部位20aが第2軸22側に移動し、第2軸22に巻き取られる。それと共に、フィルタ部材20は、第1軸21に巻かれた部位が第2軸22側に向けて引き出される。このようにして、フィルタ部材20は、空気の流れが通過する部位20aが交換されるように構成されている。 The filter member 20 is formed in a sheet shape by, for example, a sponge or a non-woven fabric, and is disposed so that the flow of air passes through. The filter member 20 is capable of collecting foreign matter such as dust and dirt contained in the air by the portion 20a arranged to pass the flow of air. One side of the filter member 20 in the longitudinal direction is wound around the first shaft 21 multiple times. In addition, a portion of the filter member 20 opposite to the first shaft 21 is fixed to the second shaft 22. The filter member 20 is provided across the first shaft 21 and the second shaft 22 so that the flow of air passes therethrough. The second shaft 22 supports the opposite side of the first shaft 21 to the portion 20a through which the air flow passes. Then, when the second shaft 22 rotates, in the filter member 20, the portion 20a through which the flow of air passes moves toward the second shaft 22 and is wound around the second shaft 22. At the same time, the portion of the filter member 20 wound around the first shaft 21 is pulled out toward the second shaft 22 side. Thus, the filter member 20 is configured such that the portion 20a through which the air flow passes is replaced.

 フィルタケース23は、バスの天井部材7に対し着脱可能に設けられている。すなわち、第1軸21、第2軸22およびフィルタ部材20は、バスの天井部材7に対し着脱可能に設けられている。なお、フィルタケース23を廃止し、フィルタ装置1が備える第1軸21、第2軸22およびフィルタ部材20を直接、バスの天井部材7または空調ユニット3の空気吸込口5に対して着脱可能に設けてもよい。また、空調ユニット3の内側に設けられる内側フィルタ装置12の場合、フィルタケース23を廃止し、第1軸21、第2軸22およびフィルタ部材20を直接、空調ユニット3に対して着脱可能に設けてもよい。 The filter case 23 is detachably provided to the ceiling member 7 of the bus. That is, the first shaft 21, the second shaft 22 and the filter member 20 are detachably provided to the ceiling member 7 of the bus. The filter case 23 is eliminated, and the first shaft 21, the second shaft 22 and the filter member 20 included in the filter device 1 can be directly attached to and detached from the ceiling member 7 of the bus or the air inlet 5 of the air conditioning unit 3. You may provide. Further, in the case of the inner filter device 12 provided inside the air conditioning unit 3, the filter case 23 is eliminated, and the first shaft 21, the second shaft 22 and the filter member 20 are directly detachable to the air conditioning unit 3. May be

 続いて、フィルタ装置1の動作について説明する。
 図5は、フィルタ装置1の使用開始から一定期間が経過した後の状態を示している。この状態で、フィルタ装置1は、フィルタ部材20のうち第1軸21に巻かれていた部位の一部が第2軸22側に向けて引き出され、空気の流れが通過するように第1軸21と第2軸22との間を跨いで配置されていた部位が第2軸22に巻き取られている。なお、図5では、フィルタ部材20の表面に捕集された異物80を分かりやすく示すため、その異物80にハッチングを付している。
Subsequently, the operation of the filter device 1 will be described.
FIG. 5 shows a state after a predetermined period has elapsed since the start of use of the filter device 1. In this state, in the filter device 1, a portion of the portion of the filter member 20 wound around the first shaft 21 is pulled out toward the second shaft 22 side, and the first shaft is allowed to pass the air flow A portion disposed across the distance between the second shaft 21 and the second shaft 22 is wound around the second shaft 22. In FIG. 5, the foreign matter 80 is hatched in order to easily show the foreign matter 80 collected on the surface of the filter member 20.

 第1実施形態のフィルタ装置1は、フィルタ部材20が異物80を捕集したままの状態で、そのフィルタ部材20を第2軸22に巻き取る構成としている。すなわち、フィルタ部材20は、捕集した異物80と一緒に第2軸22に巻き取られる。これにより、フィルタ装置1は、バス用空調装置2が空調対象とする車室内にフィルタ部材20に捕集された異物80がこぼれ落ちることや、その異物80が空調ユニット3内の蒸発器13側へ侵入することを防ぐことが可能である。 The filter device 1 according to the first embodiment has a configuration in which the filter member 20 is wound around the second shaft 22 in a state where the filter member 20 collects the foreign matter 80. That is, the filter member 20 is wound around the second shaft 22 together with the collected foreign matter 80. As a result, the filter device 1 causes the foreign matter 80 collected by the filter member 20 to fall into the vehicle compartment to be air conditioned by the bus air conditioner 2, and the foreign matter 80 is on the evaporator 13 side in the air conditioning unit 3. It is possible to prevent it from invading.

 フィルタ装置1は、図示していない空調ECUの制御により、フィルタ部材20を第2軸22に自動で巻き取る構成とすることが可能である。なお、ECUは、electronic control unitの略である。具体的には、空調ECUは、フィルタ部材20の目詰まり状態を、空調ユニット3内に設けられた送風機11の電動モータに通電される電流値等の変化により検出する。そして、空調ECUは、その電動モータの電流値が所定の閾値より大きくなると、第2軸22に設けた図示していないアクチュエータを駆動し、フィルタ部材20を第2軸22に巻き取ることが可能である。なお、空調ECUは、フィルタ部材20の目詰まり状態に関わらず、第2軸22に設けたアクチュエータを一定期間ごとに駆動し、フィルタ部材20を第2軸22に巻き取るようにしてもよい。このように制御することで、ユーザのメンテナンス性をより向上することができる。 The filter device 1 can be configured to automatically wind the filter member 20 around the second shaft 22 under the control of an air conditioning ECU (not shown). ECU is an abbreviation of electronic control unit. Specifically, the air conditioning ECU detects a clogging state of the filter member 20 based on a change in current value or the like supplied to the electric motor of the blower 11 provided in the air conditioning unit 3. When the current value of the electric motor becomes larger than a predetermined threshold value, the air conditioning ECU can drive an actuator (not shown) provided on the second shaft 22 to wind the filter member 20 on the second shaft 22. It is. The air conditioning ECU may drive the actuator provided on the second shaft 22 at regular intervals to wind the filter member 20 around the second shaft 22 regardless of the clogging state of the filter member 20. This control can further improve the maintainability of the user.

 なお、フィルタ装置1は、空調ECUの制御に代えて、または空調ECUの制御に加えて、ユーザの手動により、フィルタ部材20を第2軸22に巻き取る構成としてもよい。このようにしても、本実施形態のフィルタ装置1は、ユーザがフィルタ部材20を放水等により清掃する手間が省けるので、ユーザのメンテナンス性を向上することができる。 The filter device 1 may be configured to wind the filter member 20 around the second shaft 22 manually by the user instead of or in addition to the control of the air conditioning ECU. Even with this configuration, the filter device 1 according to the present embodiment can save time and effort for the user to clean the filter member 20 by discharging water or the like, so that the user's maintainability can be improved.

 以上説明した第1実施形態のフィルタ装置1は、次の作用効果を奏するものである。
 (1)第1実施形態では、フィルタ部材20は、長手方向の一方の側が第1軸21に巻かれ、空気の流れが通過する部位20aに対し第1軸21とは反対側が第2軸22に支持されている。このフィルタ部材20は、空気の流れが通過する部位20aを第2軸22側に移動させると、第1軸21に巻かれた部位が第2軸22側に向けて引き出され、空気の流れが通過する部位20aが交換されるように構成されている。これによれば、フィルタ部材20のうち空気の流れが通過する部位20aに異物80が付着すると、第1軸21に巻かれた部位を引き出し、空気の流れが通過する部位20aを交換することが可能である。そのため、このフィルタ装置1は、フィルタ部材20による異物80を捕集する能力を長期間に亘り維持し、ユーザのメンテナンス性を向上することができる。
The filter device 1 according to the first embodiment described above has the following effects.
(1) In the first embodiment, one side of the filter member 20 in the longitudinal direction is wound around the first shaft 21, and the side opposite to the first shaft 21 is the second shaft 22 with respect to the portion 20a through which the air flow passes. It is supported by In the filter member 20, when the portion 20a through which the air flow passes is moved toward the second shaft 22, the portion wound around the first shaft 21 is drawn toward the second shaft 22, and the air flow is The passing site 20a is configured to be replaced. According to this, when the foreign matter 80 adheres to the portion 20a of the filter member 20 through which the flow of air passes, the portion wound around the first shaft 21 is pulled out, and the portion 20a through which the flow of air passes is exchanged. It is possible. Therefore, the filter device 1 can maintain the ability of the filter member 20 to collect the foreign object 80 for a long time, and can improve the maintainability of the user.

 (2)第1実施形態では、フィルタ部材20は、空気の流れが通過する部位20aが第2軸22に巻き取られるように構成されている。これによれば、フィルタ装置1は、フィルタ部材20が捕集した異物80をフィルタ部材20から削ぎ落とすことなく、フィルタ部材20に異物80を付着させたままの状態で第2軸22に巻き付けることが可能である。そのため、フィルタ装置1は、バス用空調装置2が空調対象とする車室内にフィルタ部材20に捕集された異物80がこぼれ落ちることや、その異物80が空調ユニット3内の蒸発器13側へ侵入することを防ぐことができる。また、このフィルタ装置1は、フィルタ部材20に捕集された異物80をフィルタ部材20から削ぎ落さない場合、異物80を貯めておくスペースが不要となる。したがって、このフィルタ装置1は、体格を小型化することができる。 (2) In the first embodiment, the filter member 20 is configured such that the portion 20 a through which the flow of air passes is wound around the second shaft 22. According to this, the filter device 1 winds around the second shaft 22 in a state where the foreign matter 80 is attached to the filter member 20 without scraping the foreign matter 80 collected by the filter member 20 from the filter member 20. Is possible. Therefore, in the filter device 1, the foreign object 80 collected by the filter member 20 falls into the vehicle compartment to be air conditioned by the bus air conditioner 2, or the foreign object 80 goes to the evaporator 13 side in the air conditioning unit 3. It can be prevented from intruding. Further, in the filter device 1, when the foreign matter 80 collected by the filter member 20 is not scraped off from the filter member 20, a space for storing the foreign matter 80 becomes unnecessary. Therefore, the filter device 1 can be miniaturized.

 (3)第1実施形態では、フィルタ部材20と第1軸21と第2軸22は、空調ユニット3の空気吸込口5または空気吸込口5より上流側の部位に着脱可能に設けられている。これによれば、空調ユニット3を分解等することなく、空調ユニット3に対してフィルタ装置1を着脱することが可能である。したがって、このフィルタ装置1は、ユーザのメンテナンス性を向上することができる。 (3) In the first embodiment, the filter member 20 and the first shaft 21 and the second shaft 22 are detachably provided at the air suction port 5 of the air conditioning unit 3 or at a site upstream of the air suction port 5. . According to this, it is possible to attach or detach the filter device 1 to the air conditioning unit 3 without disassembling the air conditioning unit 3 or the like. Therefore, this filter device 1 can improve the maintainability of the user.

 (4)第1実施形態では、フィルタ装置1は、バス用空調装置2に設置されるものである。バス用空調装置2は、稼働時間が長いので、フィルタ部材20に異物80が詰まりやすい。そこで、このフィルタ装置1をバス用空調装置2に設置することで、フィルタ部材20の交換時期または清掃時期が長くなるので、ユーザのメンテナンス性を向上することができる。 (4) In the first embodiment, the filter device 1 is installed in the bus air conditioner 2. Since the air conditioner 2 for a bus has a long operation time, the filter member 20 is likely to be clogged with the foreign matter 80. Therefore, by installing the filter device 1 in the air conditioner 2 for a bus, the replacement time or cleaning time of the filter member 20 becomes long, so the user's maintainability can be improved.

 (第2実施形態)
 第2実施形態について説明する。第2実施形態は、第1実施形態に対してフィルタ装置1の構成の一部を変更したものである。
Second Embodiment
The second embodiment will be described. The second embodiment is a modification of the first embodiment in which part of the configuration of the filter device 1 is changed.

 図6に示すように、第2実施形態では、フィルタ装置1が備えるフィルタ部材20は、第2軸22に対して空気の流れが通過する部位20aとは反対側の部位20bが第2軸22から垂れ流されるように構成されている。第2軸22は、フィルタ部材20を巻き取ることなく、フィルタ部材20を支持する構成であればよい。フィルタ部材20のうち、第2軸22から垂れ流される部位20bは、フィルタケース23に設けられた収容部24に収容される。これにより、フィルタ部材20に捕集された異物80は、収容部24からフィルタケース23の外部にこぼれ落ちることが防がれている。
 なお、各実施形態において、フィルタ装置1が設置される向きに限定はない。すなわち、第2実施形態においても、第2軸22から垂れ流される部位20bは、重力方向下側に限るものではない。
As shown in FIG. 6, in the second embodiment, in the filter member 20 included in the filter device 1, the portion 20 b opposite to the portion 20 a through which the flow of air passes with respect to the second shaft 22 is the second shaft 22. It is configured to drip from the bottom. The second shaft 22 may be configured to support the filter member 20 without winding the filter member 20. The portion 20 b of the filter member 20 which is dripped from the second shaft 22 is accommodated in the accommodating portion 24 provided in the filter case 23. Thereby, the foreign material 80 collected by the filter member 20 is prevented from spilling out of the housing portion 24 to the outside of the filter case 23.
In each embodiment, the direction in which the filter device 1 is installed is not limited. That is, also in the second embodiment, the portion 20b which is dripped from the second shaft 22 is not limited to the lower side in the direction of gravity.

 上述した第2実施形態のフィルタ装置1も、第1実施形態と同様の作用効果を奏することができる。さらに、第2実施形態のフィルタ装置1は、上述した第1実施形態のようにフィルタ部材20を第2軸22に巻き取る構成と比較して、第2軸22側の構成を簡素なものにすることが可能である。 The filter device 1 of the second embodiment described above can also achieve the same effects as those of the first embodiment. Furthermore, in the filter device 1 according to the second embodiment, the configuration on the second shaft 22 side is simplified as compared with the configuration in which the filter member 20 is wound around the second shaft 22 as in the above-described first embodiment. It is possible.

 (第3実施形態)
 第3実施形態について説明する。第3実施形態は、第1および第2実施形態に対してフィルタ装置1の構成の一部を変更したものである。
Third Embodiment
A third embodiment will be described. In the third embodiment, a part of the configuration of the filter device 1 is modified with respect to the first and second embodiments.

 図7に示すように、第3実施形態では、フィルタ装置1が備えるフィルタ部材20は、第2軸22に対して空気の流れが通過する部位20aとは反対側の部位20bが、第2軸22から延び出た部位20bで切断されている。第2軸22は、フィルタ部材20を巻き取ることなく、フィルタ部材20を支持する構成であればよい。フィルタ装置1のユーザは、フィルタ部材20が第2軸22から延び出た部位20bを引き出して、所定の長さで切断することが可能である。 As shown in FIG. 7, in the third embodiment, in the filter member 20 provided in the filter device 1, the portion 20 b opposite to the portion 20 a through which the flow of air passes with respect to the second axis 22 is the second axis 22 is cut at a portion 20b extending from 22. The second shaft 22 may be configured to support the filter member 20 without winding the filter member 20. The user of the filter device 1 can pull out the portion 20b where the filter member 20 extends from the second shaft 22 and cut it at a predetermined length.

 上述した第3実施形態のフィルタ装置1も、第1および第2実施形態と同様の作用効果を奏することができる。さらに、第3実施形態のフィルタ装置1は、上述した第2実施形態のように収容部24を設ける必要が無いので、フィルタ装置1の体格を小型化することができる。 The filter device 1 according to the third embodiment described above can also provide the same effects as those of the first and second embodiments. Furthermore, the filter device 1 according to the third embodiment does not need to have the accommodating portion 24 as in the second embodiment described above, so the size of the filter device 1 can be reduced.

 (第4実施形態)
 第4実施形態について説明する。第4実施形態のフィルタ装置1は、車両40に搭載される小型空調装置41に設置されるものである。図8に示すように、小型空調装置41は、例えば、車両40の天井42、シート43の下、シート43の背凭れ44の後面、ヘッドレストレイント45の後面、または、左右シート43の中間部に搭載されたクーラーボックス46に近傍などに設けられる。
Fourth Embodiment
A fourth embodiment will be described. The filter device 1 of the fourth embodiment is installed in a compact air conditioner 41 mounted on a vehicle 40. As shown in FIG. 8, for example, the small air conditioner 41 may be the ceiling 42 of the vehicle 40, under the seat 43, the rear surface of the backrest 44 of the seat 43, the rear surface of the headrest restraint 45, or the middle portion of the left and right seat 43 Provided near the cooler box 46 mounted on the

 車両40の天井42に設けられる小型空調装置41は、シート43に着座した乗員の上半身に向けて空調風を吹き出すことが可能である。シート43の下に設けられる小型空調装置41は、シート43の下からそのシート43を構成するウレタン部材や表皮を介して、シート43に着座した乗員の臀部および大腿部裏側に向けて空調風を吹き出すことが可能である。シート43の背凭れ44の後面に設けられる小型空調装置41は、背凭れ44の後面からその背凭れ44を構成するウレタン部材や表皮を介して、シート43に着座した乗員の背中に向けて空調風を吹き出すことが可能である。ヘッドレストレイント45の後面に設けられる小型空調装置41は、シート43に着座した乗員の首周りに向けて空調風を吹き出すことが可能である。左右シート43の中間部に搭載されたクーラーボックス46の近傍に設けられる小型空調装置41は、そのクーラーボックス46の内側に空調風を吹き出すことが可能である。 The compact air conditioner 41 provided on the ceiling 42 of the vehicle 40 can blow the conditioned air toward the upper body of the occupant seated on the seat 43. The small air conditioner 41 provided under the seat 43 is conditioned air from the bottom of the seat 43 through the urethane member and the skin constituting the seat 43 toward the back and thighs of the occupant seated on the seat 43 and the conditioned air. It is possible to blow out. The compact air conditioner 41 provided on the back surface of the backrest 44 of the seat 43 is air conditioned from the back surface of the backrest 44 toward the back of the occupant seated on the seat 43 through the urethane member and the skin constituting the backrest 44. It is possible to blow the wind. The small air conditioner 41 provided on the rear surface of the headrest restraint 45 can blow conditioned air toward the neck of the occupant seated on the seat 43. The compact air conditioner 41 provided in the vicinity of the cooler box 46 mounted in the middle part of the left and right sheets 43 can blow the conditioned air inside the cooler box 46.

 小型空調装置41の構成の一例について説明する。
 図9~図11に示すように、小型空調装置41は、冷凍サイクルを構成する圧縮機50、凝縮器51、膨張弁52および蒸発器53が冷媒配管により接続された状態で空調ケース54に収容された、いわゆるオールインワンタイプの空調装置である。凝縮器51および蒸発器53は、本開示の「熱交換器」の一例に相当する。
An example of the configuration of the small air conditioner 41 will be described.
As shown in FIGS. 9 to 11, the compact air conditioner 41 is accommodated in the air conditioning case 54 in a state where the compressor 50, the condenser 51, the expansion valve 52, and the evaporator 53, which constitute a refrigeration cycle, are connected by refrigerant piping. A so-called all-in-one type air conditioner. The condenser 51 and the evaporator 53 correspond to an example of the “heat exchanger” of the present disclosure.

 冷凍サイクルでは、圧縮機50は、冷凍サイクルを循環する冷媒を圧縮する。凝縮器51は、その圧縮機50により圧縮された冷媒を空気に放熱させて凝縮させる。膨張弁52は、凝縮器51から流出した冷媒を減圧膨張させる。蒸発器53は、減圧膨張した低温低圧の冷媒と空気とを熱交換させ、冷媒を蒸発させる。蒸発器53で蒸発した冷媒は、再び圧縮機50により圧縮される。 In the refrigeration cycle, the compressor 50 compresses the refrigerant circulating in the refrigeration cycle. The condenser 51 causes the air to dissipate the refrigerant compressed by the compressor 50 and condenses the refrigerant. The expansion valve 52 decompresses and expands the refrigerant flowing out of the condenser 51. The evaporator 53 exchanges heat between the decompressed and expanded low-temperature low-pressure refrigerant and the air to evaporate the refrigerant. The refrigerant evaporated by the evaporator 53 is compressed again by the compressor 50.

 空調ケース54の内側には、仕切板55が設けられている。そのため、空調ケース54は、2つの通風路56、57を有している。空調ケース54に設けられた2つの通風路56、57のうち、第1通風路56には、冷凍サイクルを構成する圧縮機50および凝縮器51などと共に、第1送風機58が設置されている。空調ケース54に設けられた2つの通風路56、57のうち、第2通風路57には、冷凍サイクルを構成する膨張弁52および蒸発器53などと共に、第2送風機59が設置されている。 A partition plate 55 is provided inside the air conditioning case 54. Therefore, the air conditioning case 54 has two air passages 56, 57. Of the two air passages 56, 57 provided in the air conditioning case 54, the first air passage 58 is provided with a first fan 58 together with a compressor 50 and a condenser 51 which constitute a refrigeration cycle. Of the two air passages 56, 57 provided in the air conditioning case 54, the second air passage 57 is provided with a second fan 59 together with an expansion valve 52, an evaporator 53 and the like that constitute a refrigeration cycle.

 空調ケース54は、第1通風路56に空気を吸い込むための第1空気吸込口60と、第1通風路56から空気を吹き出すための第1空気吹出口61とを有している。第1空気吸込口60には、第1フィルタ装置1aが設けられている。また、空調ケース54は、第2通風路57に空気を吸い込むための第2空気吸込口62と、第2通風路57から空気を吹き出すための第2空気吹出口63とを有している。第2空気吸込口62には、第2フィルタ装置1bが設けられている。第1フィルタ装置1aと第2フィルタ装置1bはいずれも、本開示の「フィルタ装置」の一例に相当する。第1フィルタ装置1aと第2フィルタ装置1bの構成及び作動は、上述した第1~第3実施形態で説明したフィルタ装置1、または後述する第6、第7実施形態で説明するフィルタ装置1と同一である。 The air conditioning case 54 has a first air suction port 60 for sucking air into the first ventilation passage 56 and a first air outlet 61 for blowing air from the first ventilation passage 56. The first air suction port 60 is provided with a first filter device 1 a. Further, the air conditioning case 54 has a second air suction port 62 for sucking the air into the second ventilation passage 57 and a second air outlet 63 for blowing the air from the second ventilation passage 57. The second air suction port 62 is provided with a second filter device 1 b. Each of the first filter device 1 a and the second filter device 1 b corresponds to an example of the “filter device” in the present disclosure. The configurations and operations of the first filter device 1a and the second filter device 1b are the same as the filter device 1 described in the first to third embodiments described above, or the filter device 1 described in the sixth and seventh embodiments described later. It is the same.

 第1通風路56に設けられた第1送風機58が駆動すると、第1フィルタ装置1aを経由して、第1空気吸込口60から第1通風路56に空気が吸い込まれる。第1通風路56を流れる空気は、凝縮器51を流れる冷媒から吸熱し、また、圧縮機50で加熱され、温風となって第1空気吹出口61から吹き出される。図9~図11では、その空気の流れを矢印F8、F9で示している。第1フィルタ装置1aは、第1空気吸込口60に吸い込まれる空気に含まれる異物80を捕集することが可能である。 When the first fan 58 provided in the first ventilation passage 56 is driven, air is drawn into the first ventilation passage 56 from the first air suction port 60 via the first filter device 1 a. The air flowing through the first air passage 56 absorbs heat from the refrigerant flowing through the condenser 51 and is heated by the compressor 50 to become warm air and blown out from the first air outlet 61. In FIGS. 9 to 11, the flow of the air is indicated by arrows F8 and F9. The first filter device 1 a can collect foreign matter 80 contained in the air sucked into the first air suction port 60.

 第2通風路57に設けられた第2送風機59が駆動すると、第2フィルタ装置1bを経由して、第2空気吸込口62から第2通風路57に空気が吸い込まれる。第2通風路57を流れる空気は、蒸発器53を流れる冷媒に放熱し、冷風となって第2空気吹出口63から吹き出される。図9~図11では、その空気の流れを矢印F10、F11で示している。第2フィルタ装置1bは、第2空気吸込口62に吸い込まれる空気に含まれる異物80を捕集することが可能である。 When the second blower 59 provided in the second ventilation passage 57 is driven, air is drawn into the second ventilation passage 57 from the second air suction port 62 via the second filter device 1 b. The air flowing through the second ventilation path 57 dissipates heat to the refrigerant flowing through the evaporator 53 and becomes cold air and is blown out from the second air outlet 63. In FIGS. 9 to 11, the flow of the air is indicated by arrows F10 and F11. The second filter device 1 b can collect the foreign matter 80 contained in the air sucked into the second air suction port 62.

 第4実施形態の第1、第2フィルタ装置1a、1bは、上述した第1~第3実施形態のフィルタ装置1等と同様の構成を備えるものである。したがって、第4実施形態の第1、第2フィルタ装置1a、1bは、上述した第1~第3実施形態のフィルタ装置1等と同様の作用効果を奏することができる。 The first and second filter devices 1a and 1b of the fourth embodiment have the same configuration as the filter device 1 and the like of the first to third embodiments described above. Therefore, the first and second filter devices 1a and 1b of the fourth embodiment can exhibit the same effects as those of the filter device 1 and the like of the first to third embodiments described above.

 また、第4実施形態の第1、第2フィルタ装置1a、1bは、車両搭載用の小型空調装置41に設置されるものである。車両搭載用の小型空調装置41は、空気吸込口5の面積が小さいので、フィルタ部材20に異物80が詰まりやすい。さらに、車両搭載用の小型空調装置41がシート43の下に配置される場合、フィルタ部材20に埃などの異物80の付着が多くなる。そこで、車両搭載用の小型空調装置41に対し、第4実施形態の第1、第2フィルタ装置1a、1bを設置することで、フィルタ部材20の交換時期または清掃時期を長くすることが可能である。したがって、第4実施形態のフィルタ装置1も、ユーザのメンテナンス性を向上することができる。 Moreover, 1st, 2nd filter apparatus 1a, 1b of 4th Embodiment is installed in the small air conditioning apparatus 41 for vehicle mounting. In the small air conditioner 41 for mounting on a vehicle, since the area of the air suction port 5 is small, the foreign material 80 is easily clogged in the filter member 20. Furthermore, when the small air conditioner 41 for vehicle installation is arrange | positioned under the sheet | seat 43, adhesion of foreign materials 80, such as a dust, on the filter member 20 will increase. Therefore, by installing the first and second filter devices 1a and 1b of the fourth embodiment with respect to the small-sized air conditioner 41 mounted on a vehicle, it is possible to lengthen the replacement time or cleaning time of the filter member 20. is there. Therefore, the filter device 1 of the fourth embodiment can also improve the maintainability of the user.

 (第5実施形態)
 第5実施形態について説明する。第5実施形態のフィルタ装置1も、車両40に搭載される小型空調装置41に設置されるものである。
Fifth Embodiment
A fifth embodiment will be described. The filter device 1 of the fifth embodiment is also installed in the compact air conditioner 41 mounted on the vehicle 40.

 図12および図13に示すように、第5実施形態の小型空調装置41も、冷凍サイクルを構成する圧縮機50、凝縮器51、膨張弁および蒸発器53が冷媒配管により接続された状態で空調ケース54に収容された、いわゆるオールインワンタイプの空調装置である。 As shown in FIGS. 12 and 13, the small-sized air conditioner 41 according to the fifth embodiment is also an air conditioner in a state where the compressor 50, the condenser 51, the expansion valve, and the evaporator 53 constituting the refrigeration cycle are connected by refrigerant piping. It is a so-called all-in-one type air conditioner housed in the case 54.

 空調ケース54の内側には、遠心ファン64の径方向外側の一方と他方に仕切板65、66が設けられている。その2枚の仕切板65、66は、遠心ファン64の回転軸を挟んで両側に設けられている。そのため、空調ケース54には、2つの通風路67、68が形成されている。空調ケース54に形成された2つの通風路67、68のうち、第1通風路67には、冷凍サイクルを構成する凝縮器51が設置されている。空調ケース54に形成された2つの通風路67、68のうち、第2通風路68には、冷凍サイクルを構成する蒸発器53が設置されている。 On the inner side of the air conditioning case 54, partition plates 65 and 66 are provided on one and the other sides of the centrifugal fan 64 in the radial direction. The two partition plates 65 and 66 are provided on both sides of the rotation shaft of the centrifugal fan 64. Therefore, in the air conditioning case 54, two ventilation paths 67 and 68 are formed. Of the two air passages 67, 68 formed in the air conditioning case 54, the first air passage 67 is provided with a condenser 51 that constitutes a refrigeration cycle. The evaporator 53 which comprises a refrigerating cycle is installed in the 2nd ventilation path 68 among two ventilation paths 67 and 68 formed in air-conditioning case 54. As shown in FIG.

 図13に示すように、空調ケース54は、遠心ファン64の回転軸方向の一方の側から空気を吸い込むための空気吸込口70を有している。また、空調ケース54は、凝縮器51を通過した空気を吹き出すための第1空気吹出口71と、蒸発器53を通過した空気を吹き出すための第2空気吹出口72を有している。空気吸込口70には、フィルタ装置1が設けられている。フィルタ装置1の構成及び作動は、上述した第1~第3実施形態で説明したフィルタ装置1、または後述する第6、第7実施形態で説明するフィルタ装置1と同一である。 As shown in FIG. 13, the air conditioning case 54 has an air suction port 70 for sucking in air from one side in the rotational axis direction of the centrifugal fan 64. The air conditioning case 54 also has a first air outlet 71 for blowing out the air that has passed through the condenser 51 and a second air outlet 72 for blowing out the air that has passed through the evaporator 53. The air suction port 70 is provided with a filter device 1. The configuration and operation of the filter device 1 are the same as the filter device 1 described in the first to third embodiments described above, or the filter device 1 described in the sixth and seventh embodiments described later.

 遠心ファン64が回転すると、フィルタ装置1を経由して、空気吸込口70から遠心ファン64の内側に空気が吸入される。遠心ファン64の径方向外側に吹き出された空気は、第1通風路67または第2通風路68へ流れる。第1通風路67を流れる空気は、凝縮器51を流れる冷媒から吸熱し、温風となって第1空気吹出口71から吹き出される。第2通風路68を流れる空気は、蒸発器53を流れる冷媒に放熱し、冷風となって第2空気吹出口72から吹き出される。図12および図13では、その空気の流れを矢印F11~F13で示している。フィルタ装置1は、空気吸込口70から遠心ファン64に吸い込まれる空気に含まれる異物80を捕集することが可能である。 When the centrifugal fan 64 rotates, air is sucked into the centrifugal fan 64 from the air suction port 70 via the filter device 1. The air blown out radially outward of the centrifugal fan 64 flows to the first air passage 67 or the second air passage 68. The air flowing through the first ventilation path 67 absorbs heat from the refrigerant flowing through the condenser 51 and becomes hot air and is blown out from the first air outlet 71. The air flowing through the second ventilation path 68 dissipates heat to the refrigerant flowing through the evaporator 53 and becomes cold air and is blown out from the second air outlet 72. In FIGS. 12 and 13, the flow of the air is indicated by arrows F11 to F13. The filter device 1 can collect the foreign matter 80 contained in the air sucked into the centrifugal fan 64 from the air suction port 70.

 第5実施形態のフィルタ装置1も、上述した第1~第3実施形態のフィルタ装置1等と同様の構成を備えるものである。したがって、第5実施形態のフィルタ装置1も、上述した第1~第3実施形態等と同様の作用効果を奏することができる。 The filter device 1 of the fifth embodiment also has the same configuration as the filter device 1 of the first to third embodiments described above. Therefore, the filter device 1 according to the fifth embodiment can also provide the same effects as those of the first to third embodiments described above.

 また、第5実施形態のフィルタ装置1も、第4実施形態のフィルタ装置1a、1bと同じく、車両搭載用の小型空調装置41に設置されるものである。したがって、第5実施形態のフィルタ装置1も、上述した第4実施形態と同様の作用効果を奏することができる。 The filter device 1 of the fifth embodiment is also installed in the small air conditioner 41 for mounting on a vehicle, similarly to the filter devices 1a and 1b of the fourth embodiment. Therefore, the filter device 1 of the fifth embodiment can also achieve the same effects as those of the above-described fourth embodiment.

 (第6実施形態)
 第6実施形態について説明する。第6実施形態は、第1~第3実施形態に対してフィルタ装置1の構成の一部を変更したものである。
Sixth Embodiment
A sixth embodiment will be described. In the sixth embodiment, a part of the configuration of the filter device 1 is modified with respect to the first to third embodiments.

 図14に示すように、第6実施形態のフィルタ装置1は、フィルタ部材20、第1軸21、第2軸22、フィルタケース23、第1清掃部材25および第2清掃部材26などを備えている。フィルタ部材20、第1軸21および第2軸22は、第1実施形態で説明した構成と実質的に同一である。簡単に説明すれば、フィルタ部材20は、例えばスポンジまたは不織布などによりシート状に形成され、空気の流れが通過するように配置される。第1軸21と第2軸22は、フィルタケース23の一方の側と他方の側に設けられている。第1軸21には、フィルタ部材20の長手方向の一方の側が巻かれている。第2軸22は、空気の流れが通過する部位20aに対し第1軸21とは反対側を支持している。そして、フィルタ部材20は、第2軸22が回転すると、第1軸21に巻かれた部位が第2軸22側に向けて引き出され、第2軸22に巻き取られることで、空気の流れが通過する部位20aが交換されるように構成されている。 As shown in FIG. 14, the filter device 1 according to the sixth embodiment includes a filter member 20, a first shaft 21, a second shaft 22, a filter case 23, a first cleaning member 25, a second cleaning member 26, and the like. There is. The filter member 20, the first shaft 21 and the second shaft 22 are substantially the same as the configuration described in the first embodiment. Briefly, the filter member 20 is formed in a sheet shape, for example, with a sponge or a non-woven fabric, and is disposed so that the air flow passes. The first shaft 21 and the second shaft 22 are provided on one side and the other side of the filter case 23. One side of the filter member 20 in the longitudinal direction is wound around the first shaft 21. The second shaft 22 supports the opposite side of the first shaft 21 to the portion 20a through which the air flow passes. Then, when the second shaft 22 rotates, the filter member 20 draws the portion wound around the first shaft 21 toward the second shaft 22 side, and is wound around the second shaft 22 so that the air flows. It is comprised so that the site | part 20a which 2 passes may be replaced | exchanged.

 第1軸21と第2軸22との間には、2本の支持部材27、28が設けられている。2本の支持部材27、28は、空気の流れが通過する部位20aに対し、フィルタ装置1を通過する空気の流れ方向の下流側に設けられている。2本の支持部材27、28は、空気の流れが通過する部位20aのうち下流側の面を支持している。そのため、フィルタ部材20を通過する風圧によってフィルタ部材20が撓むことが抑制される。なお、図14では、フィルタ装置1を通過する空気の流れを矢印F14、F15で示している。また、図14では、フィルタ部材20に捕集される塵や埃などの異物80を模式的に○で示している。 Two support members 27 and 28 are provided between the first shaft 21 and the second shaft 22. The two support members 27 and 28 are provided on the downstream side in the flow direction of the air passing through the filter device 1 with respect to the portion 20a through which the flow of air passes. The two support members 27 and 28 support the downstream surface of the portion 20a through which the air flow passes. Therefore, bending of the filter member 20 due to the wind pressure passing through the filter member 20 is suppressed. In FIG. 14, the flow of air passing through the filter device 1 is indicated by arrows F14 and F15. Further, in FIG. 14, foreign substances 80 such as dust and dirt collected by the filter member 20 are schematically indicated by ○.

 フィルタケース23は、第1軸21の外側を囲うように設けられた第1収容部29を有している。また、フィルタケース23は、第2軸22の外側を囲うように設けられた第2収容部30を有している。 The filter case 23 has a first accommodating portion 29 provided to surround the outer side of the first shaft 21. Further, the filter case 23 has a second accommodating portion 30 provided to surround the outer side of the second shaft 22.

 第1収容部29の内壁には、第1清掃部材25が設けられている。第2収容部30の内壁には、第2清掃部材26が設けられている。第1清掃部材25と第2清掃部材26は、例えばゴム製のヘラ、または、ブラシなどにより構成されている。第1清掃部材25は、第1軸21に巻かれているフィルタ部材20に摺接するように設けられている。また、第1清掃部材25は、第1軸21に巻かれるフィルタ部材20と第1収容部29との隙間29aを塞ぐように設けられている。第1清掃部材25は、第1軸21に巻かれているフィルタ部材20の外径の変化に追従して弾性変形することが可能である。そのため、第1清掃部材25は、第1軸21に巻かれているフィルタ部材20の外径が変化しても、そのフィルタ部材20に常に摺接することが可能である。したがって、第1清掃部材25は、第1軸21に巻かれているフィルタ部材20の外径が変化しても、第1軸21に巻かれるフィルタ部材20と第1収容部29との隙間29aを常に塞ぐことが可能である。 A first cleaning member 25 is provided on the inner wall of the first housing portion 29. A second cleaning member 26 is provided on the inner wall of the second housing portion 30. The first cleaning member 25 and the second cleaning member 26 are made of, for example, a rubber spatula or a brush. The first cleaning member 25 is provided in sliding contact with the filter member 20 wound around the first shaft 21. The first cleaning member 25 is provided to close a gap 29 a between the filter member 20 wound around the first shaft 21 and the first accommodation portion 29. The first cleaning member 25 can elastically deform following the change of the outer diameter of the filter member 20 wound around the first shaft 21. Therefore, even if the outer diameter of the filter member 20 wound around the first shaft 21 changes, the first cleaning member 25 can always be in sliding contact with the filter member 20. Therefore, even if the outer diameter of the filter member 20 wound around the first shaft 21 changes, the first cleaning member 25 forms a gap 29 a between the filter member 20 wound around the first shaft 21 and the first accommodation portion 29. It is possible to close the

 第2清掃部材26は、第2軸22に巻かれているフィルタ部材20に摺接するように設けられている。また、第2清掃部材26は、第2軸22に巻かれるフィルタ部材20と第2収容部30との隙間30aを塞ぐように設けられている。第2清掃部材26も、第2軸22に巻かれているフィルタ部材20の外径の変化に追従して弾性変形することが可能である。そのため、第2清掃部材26は、第2軸22に巻かれているフィルタ部材20の外径が変化しても、そのフィルタ部材20に常に摺接することが可能である。したがって、第2清掃部材26は、第2軸22に巻かれているフィルタ部材20の外径が変化しても、第2軸22に巻かれるフィルタ部材20と第2収容部30との隙間30aを常に塞ぐことが可能である。 The second cleaning member 26 is provided in sliding contact with the filter member 20 wound around the second shaft 22. The second cleaning member 26 is provided to close the gap 30 a between the filter member 20 wound around the second shaft 22 and the second accommodation portion 30. The second cleaning member 26 can also elastically deform following the change of the outer diameter of the filter member 20 wound around the second shaft 22. Therefore, even if the outer diameter of the filter member 20 wound around the second shaft 22 changes, the second cleaning member 26 can always be in sliding contact with the filter member 20. Therefore, even if the outer diameter of the filter member 20 wound around the second shaft 22 changes, the second cleaning member 26 has a gap 30 a between the filter member 20 wound around the second shaft 22 and the second accommodation portion 30. It is possible to close the

 次に、第6実施形態のフィルタ装置1の動作について説明する。
 フィルタ装置1は、図示していない空調ECUの制御により、フィルタ部材20を第2軸22に自動で巻き取る構成とすることが可能である。具体的には、空調ECUは、フィルタ部材20の目詰まり状態を、空調装置が備える送風機11の電動モータに通電される電流値等の変化により検出する。そして、空調ECUは、その電動モータの電流値が所定の閾値より大きくなると、第2軸22に設けた図示していないアクチュエータを駆動し、フィルタ部材20を第2軸22に巻き取ることが可能である。なお、空調ECUは、フィルタ部材20の目詰まり状態に関わらず、一定期間ごとに第2軸22に設けたアクチュエータを駆動し、フィルタ部材20を第2軸22に巻き取るようにしてもよい。このように制御することで、ユーザのメンテナンス性をより向上することができる。
Next, the operation of the filter device 1 of the sixth embodiment will be described.
The filter device 1 can be configured to automatically wind the filter member 20 around the second shaft 22 under the control of an air conditioning ECU (not shown). Specifically, the air conditioning ECU detects a clogging state of the filter member 20 based on a change in current value or the like supplied to the electric motor of the blower 11 provided in the air conditioner. When the current value of the electric motor becomes larger than a predetermined threshold value, the air conditioning ECU can drive an actuator (not shown) provided on the second shaft 22 to wind the filter member 20 on the second shaft 22. It is. The air conditioning ECU may drive an actuator provided on the second shaft 22 at regular intervals to wind the filter member 20 around the second shaft 22 regardless of the clogging of the filter member 20. This control can further improve the maintainability of the user.

 なお、フィルタ装置1は、空調ECUの制御に代えて、または空調ECUの制御に加えて、ユーザの手動により、フィルタ部材20を第2軸22に巻き取る構成としてもよい。このようにしても、本実施形態のフィルタ装置1は、ユーザがフィルタ部材20を放水等により清掃する手間が省けるので、ユーザのメンテナンス性を向上することができる。 The filter device 1 may be configured to wind the filter member 20 around the second shaft 22 manually by the user instead of or in addition to the control of the air conditioning ECU. Even with this configuration, the filter device 1 according to the present embodiment can save time and effort for the user to clean the filter member 20 by discharging water or the like, so that the user's maintainability can be improved.

 図15は、フィルタ装置1の使用開始から一定期間が経過した後の状態を示している。この状態で、フィルタ装置1は、フィルタ部材20のうち第1軸21に巻かれていた部位が第2軸22側に向けて引き出され、第2軸22に巻き取られている。 FIG. 15 shows a state after a certain period of time has elapsed since the start of use of the filter device 1. In this state, in the filter device 1, the portion of the filter member 20 which has been wound around the first shaft 21 is pulled out toward the second shaft 22 side and wound around the second shaft 22.

 第6実施形態のフィルタ装置1は、空気の流れが通過する部位20aが第2軸22に巻き取られる途中で、フィルタ部材20に捕集された異物80が第2清掃部材26によりフィルタ部材20から取り除かれる構成となっている。第2清掃部材26によりフィルタ部材20から取り除かれた異物80は、第2収容部30に収容される。なお、図15でも、フィルタ部材20に捕集される異物80と、第2清掃部材26によってフィルタ部材20から除去された異物80を模式的に○で示している。 In the filter device 1 according to the sixth embodiment, the foreign matter 80 collected by the filter member 20 is filtered by the second cleaning member 26 while the portion 20a through which the air flow passes is taken up by the second shaft 22. It is configured to be removed from the The foreign material 80 removed from the filter member 20 by the second cleaning member 26 is accommodated in the second accommodation portion 30. Also in FIG. 15, the foreign matter 80 collected by the filter member 20 and the foreign matter 80 removed from the filter member 20 by the second cleaning member 26 are schematically indicated by ○.

 上述したように、第2清掃部材26は、第2軸22に巻かれているフィルタ部材20の外径が変化しても、第2軸22に巻かれるフィルタ部材20と第2収容部30との隙間30aを常に塞ぐことが可能である。そのため、第2清掃部材26は、収容部24に収容された異物80がフィルタ部材20と第2収容部30との隙間30aから流出してしまうことを防ぐことが可能である。 As described above, even if the outer diameter of the filter member 20 wound around the second shaft 22 changes, the second cleaning member 26 is wound around the second shaft 22 with the filter member 20 and the second housing portion 30. Can be always closed. Therefore, the second cleaning member 26 can prevent the foreign material 80 stored in the storage portion 24 from flowing out from the gap 30 a between the filter member 20 and the second storage portion 30.

 さらに、第6実施形態のフィルタ装置1は、空調ECUの制御により、第1軸21を回転させ、第2軸22に巻き取られたフィルタ部材20を、第1軸21に自動で巻き取ることが可能である。空調ECUは、空調装置が備える送風機11の電動モータの電流値が所定の閾値より大きくなると、第1軸21に設けた図示していないアクチュエータを駆動し、フィルタ部材20を第1軸21に巻き取らせる。なお、空調ECUは、フィルタ部材20の目詰まり状態に関わらず、一定期間ごとに第1軸21に設けたアクチュエータを駆動し、フィルタ部材20を第1軸21に巻き取るようにしてもよい。また、フィルタ装置1は、空調ECUの制御に代えて、または空調ECUの制御に加えて、ユーザの手動により、フィルタ部材20を第1軸21に巻き取る構成としてもよい。これにより、フィルタ装置1は、図15の状態から再び図14の状態に移行する。 Furthermore, the filter device 1 of the sixth embodiment rotates the first shaft 21 under the control of the air conditioning ECU, and automatically winds up the filter member 20 wound around the second shaft 22 around the first shaft 21. Is possible. The air conditioning ECU drives an actuator (not shown) provided on the first shaft 21 to wind the filter member 20 around the first shaft 21 when the current value of the electric motor of the blower 11 included in the air conditioner becomes larger than a predetermined threshold. Let me take it. The air conditioning ECU may drive an actuator provided on the first shaft 21 at regular intervals to wind the filter member 20 around the first shaft 21 regardless of the clogging of the filter member 20. The filter device 1 may be configured to wind the filter member 20 around the first shaft 21 manually by the user instead of or in addition to the control of the air conditioning ECU. Thus, the filter device 1 shifts from the state of FIG. 15 to the state of FIG. 14 again.

 フィルタ装置1は、空気の流れが通過する部位20aが第1軸21に巻き取られる途中で、フィルタ部材20に捕集された異物80が第1清掃部材25によりフィルタ部材20から取り除かれる構成となっている。第1清掃部材25によりフィルタ部材20から取り除かれた異物80は、第1収容部29に収容される。上述したように、第1清掃部材25は、第1軸21に巻かれているフィルタ部材20の外径が変化しても、第1軸21に巻かれるフィルタ部材20と第1収容部29との隙間29aを常に塞ぐことが可能である。そのため、第1清掃部材25は、収容部24に収容された異物80がフィルタ部材20と第1収容部29との隙間29aから流出してしまうことを防ぐことが可能である。 The filter device 1 has a configuration in which the foreign material 80 collected by the filter member 20 is removed from the filter member 20 by the first cleaning member 25 while the portion 20a through which the air flow passes is wound around the first shaft 21. It has become. The foreign material 80 removed from the filter member 20 by the first cleaning member 25 is accommodated in the first accommodation portion 29. As described above, even if the outer diameter of the filter member 20 wound around the first shaft 21 changes, the first cleaning member 25 is wound around the first shaft 21 with the filter member 20 and the first accommodation portion 29. Can be always closed. Therefore, the first cleaning member 25 can prevent the foreign object 80 stored in the storage portion 24 from flowing out from the gap 29 a between the filter member 20 and the first storage portion 29.

 以上説明した第6実施形態のフィルタ装置1は、次の作用効果を奏する。
 (1)第6実施形態では、第2清掃部材26は、第2軸22に巻かれるフィルタ部材20に摺接し、フィルタ部材20から異物80を除去する。第2収容部30は、第2軸22の外側を囲うように設けられ、清掃部材によってフィルタ部材20から除去された異物80を収容する。
 これによれば、空気の流れが通過する部位20aは、第2清掃部材26によって異物80が除去された状態で第2軸22に巻き取られる。そのため、第2軸22に巻き取られたフィルタ部材20を、再び使用することが可能である。
The filter device 1 of the sixth embodiment described above has the following effects.
(1) In the sixth embodiment, the second cleaning member 26 is in sliding contact with the filter member 20 wound around the second shaft 22 to remove the foreign matter 80 from the filter member 20. The second housing portion 30 is provided so as to surround the outer side of the second shaft 22, and accommodates the foreign object 80 removed from the filter member 20 by the cleaning member.
According to this, the portion 20 a through which the air flow passes is wound around the second shaft 22 in a state where the foreign matter 80 is removed by the second cleaning member 26. Therefore, the filter member 20 wound around the second shaft 22 can be used again.

 (2)第6実施形態では、第1清掃部材25は、第1軸21に巻かれるフィルタ部材20に摺接し、フィルタ部材20から異物80を除去する。第1収容部29は、第1軸21の外側を囲うように設けられ、清掃部材によってフィルタ部材20から除去された異物80を収容する。
 これによれば、空気の流れが通過する部位20aは、第1清掃部材25によって異物80が除去された状態で第1軸21に巻き取られる。そのため、第1軸21に巻き取られたフィルタ部材20を、再び使用することが可能である。
(2) In the sixth embodiment, the first cleaning member 25 is in sliding contact with the filter member 20 wound around the first shaft 21 to remove the foreign matter 80 from the filter member 20. The first accommodating portion 29 is provided to surround the outer side of the first shaft 21 and accommodates the foreign matter 80 removed from the filter member 20 by the cleaning member.
According to this, the portion 20 a through which the flow of air passes is wound around the first shaft 21 in a state where the foreign matter 80 is removed by the first cleaning member 25. Thus, the filter member 20 wound around the first shaft 21 can be used again.

 (3)第6実施形態では、第1清掃部材25は、第1軸21に巻かれるフィルタ部材20と第1収容部29との隙間29aを塞ぐように設けられている。また、第2清掃部材26も、第2軸22に巻かれるフィルタ部材20と収容部24との隙間30aを塞ぐように設けられている。これにより、第1清掃部材25は、フィルタ部材20から除去された異物80がフィルタ部材20と第1収容部29との隙間29aから流出してしまうことを防ぐことができる。また、第2清掃部材26も、フィルタ部材20から除去された異物80がフィルタ部材20と第2収容部30との隙間30aから流出してしまうことを防ぐことができる。 (3) In the sixth embodiment, the first cleaning member 25 is provided to close the gap 29 a between the filter member 20 wound around the first shaft 21 and the first accommodation portion 29. The second cleaning member 26 is also provided so as to close the gap 30 a between the filter member 20 wound around the second shaft 22 and the accommodation portion 24. Thereby, the first cleaning member 25 can prevent the foreign object 80 removed from the filter member 20 from flowing out from the gap 29 a between the filter member 20 and the first accommodation portion 29. In addition, the second cleaning member 26 can also prevent the foreign matter 80 removed from the filter member 20 from flowing out through the gap 30 a between the filter member 20 and the second accommodation portion 30.

 (4)第6実施形態では、フィルタ装置1は、第1清掃部材25、第1収容部29、第2清掃部材26および第2収容部30を備える。これにより、フィルタ装置1は、第1清掃部材25と第2清掃部材26によりフィルタ部材20から異物80を除去しつつ、そのフィルタ部材20を第1軸21と第2軸22に交互に巻き取ることが可能である。したがって、このフィルタ装置1は、フィルタ部材20の異物80を捕集する能力を維持しつつ、フィルタ部材20を長期間に亘り使用することが可能である。 (4) In the sixth embodiment, the filter device 1 includes the first cleaning member 25, the first accommodation portion 29, the second cleaning member 26 and the second accommodation portion 30. Thus, the filter device 1 alternately winds the filter member 20 around the first shaft 21 and the second shaft 22 while removing the foreign material 80 from the filter member 20 by the first cleaning member 25 and the second cleaning member 26. It is possible. Therefore, the filter device 1 can use the filter member 20 for a long time while maintaining the ability of the filter member 20 to collect the foreign matter 80.

 (第7実施形態)
 第7実施形態について説明する。第7実施形態は、第1~第3および第6実施形態に対してフィルタ装置1の構成の一部を変更したものである。
Seventh Embodiment
A seventh embodiment will be described. In the seventh embodiment, a part of the configuration of the filter device 1 is modified with respect to the first to third and sixth embodiments.

 図16に示すように、第7実施形態のフィルタ装置1は、フィルタ部材20、第1軸21、第2軸22、および第3軸31などを備えている。なお、図16では、フィルタ装置1を通過する空気の流れを矢印F16、F17で示している。第1軸21は、フィルタケース23の一方の側に設けられており、第2軸22は、フィルタケース23の他方の側に設けられている。第1軸21には、フィルタ部材20の長手方向の一方の側が巻かれている。第2軸22は、空気の流れが通過する部位20aに対し第1軸21とは反対側を支持している。第3軸31は、第1軸21および第2軸22とは異なる位置に設けられ、空気の流れが通過する部位20aを巻き取るように構成されている。図16では、フィルタ部材20の長手方向の一方の側が第1軸21に複数回巻かれ、他方の側が第3軸31に複数回巻かれた状態を示している。なお、第3軸31は、フィルタケース23の中で第1軸21側に設けることに限らず、第2軸22側に設けてもよい。すなわち、フィルタ部材20を巻き取るための軸部材を設ける位置に限定はない。また、第2軸22と第3軸31との間にフィルタ部材20を支持するための別の軸部材を設けてもよく、第1軸21と第2軸22との間にフィルタ部材20を支持するための別の軸部材を設けてもよい。 As shown in FIG. 16, the filter device 1 of the seventh embodiment includes a filter member 20, a first shaft 21, a second shaft 22, a third shaft 31, and the like. In FIG. 16, the flow of air passing through the filter device 1 is indicated by arrows F16 and F17. The first shaft 21 is provided on one side of the filter case 23, and the second shaft 22 is provided on the other side of the filter case 23. One side of the filter member 20 in the longitudinal direction is wound around the first shaft 21. The second shaft 22 supports the opposite side of the first shaft 21 to the portion 20a through which the air flow passes. The third shaft 31 is provided at a position different from the first shaft 21 and the second shaft 22, and is configured to wind up a portion 20a through which the flow of air passes. In FIG. 16, one side of the filter member 20 in the longitudinal direction is wound around the first shaft 21 a plurality of times, and the other side is wound around the third shaft 31 a plurality of times. The third shaft 31 is not limited to being provided on the first shaft 21 side in the filter case 23 but may be provided on the second shaft 22 side. That is, the position at which the shaft member for winding the filter member 20 is provided is not limited. Further, another shaft member for supporting the filter member 20 may be provided between the second shaft 22 and the third shaft 31, and the filter member 20 may be provided between the first shaft 21 and the second shaft 22. Another shaft member may be provided for supporting.

 フィルタ部材20は、第3軸31が回転すると、第2軸22から延び出た部位が第3軸31に巻き取られ、第1軸21に巻かれた部位が第2軸22側に向けて引き出されることで、空気の流れが通過する部位20aが交換されるように構成されている。 In the filter member 20, when the third shaft 31 rotates, the portion extending from the second shaft 22 is wound around the third shaft 31, and the portion wound around the first shaft 21 faces the second shaft 22 side. By being pulled out, the portion 20a through which the air flow passes is configured to be replaced.

 したがって、第7実施形態のフィルタ装置1は、上述した第1~第6実施形態のフィルタ装置1と同様の作用効果を奏することができる。さらに、第7実施形態のフィルタ装置1は、例えば、第2軸22が設置される箇所にフィルタ部材20を巻きつけるスペースが無い場合でも、フィルタ部材20を第3軸31に巻き付けることが可能である。したがって、このフィルタ装置1は、設計の自由度を高めることが可能である。 Therefore, the filter device 1 of the seventh embodiment can exhibit the same effects as those of the filter device 1 of the first to sixth embodiments described above. Furthermore, the filter device 1 according to the seventh embodiment can wind the filter member 20 around the third shaft 31 even if there is no space for winding the filter member 20 at the location where the second shaft 22 is installed, for example. is there. Therefore, this filter device 1 can increase the degree of freedom in design.

 (他の実施形態)
 本開示は上記した実施形態に限定されるものではなく、適宜変更が可能である。また、上記各実施形態は、互いに無関係なものではなく、組み合わせが明らかに不可な場合を除き、適宜組み合わせが可能である。また、上記各実施形態において、実施形態を構成する要素は、特に必須であると明示した場合および原理的に明らかに必須であると考えられる場合等を除き、必ずしも必須のものではないことは言うまでもない。また、上記各実施形態において、実施形態の構成要素の個数、数値、量、範囲等の数値が言及されている場合、特に必須であると明示した場合および原理的に明らかに特定の数に限定される場合等を除き、その特定の数に限定されるものではない。また、上記各実施形態において、構成要素等の形状、位置関係等に言及するときは、特に明示した場合および原理的に特定の形状、位置関係等に限定される場合等を除き、その形状、位置関係等に限定されるものではない。
(Other embodiments)
The present disclosure is not limited to the embodiments described above, and can be modified as appropriate. Further, the above embodiments are not irrelevant to each other, combination unless obviously impossible, can be appropriately combined. In each of the above embodiments, the elements constituting the embodiments, unless such case considered if explicitly and in principle clearly essential to be essential, it is not necessarily indispensable needless to say Yes. Further, in the above embodiments, when numerical values such as the number, numerical value, amount, range, etc. of constituent elements of the embodiment are mentioned, it is clearly indicated that they are particularly essential and clearly limited to a specific number in principle. It is not limited to the specific number except when it is done. In each of the above embodiments, the shape of the components, when referring to a positional relationship or the like, except in particular clearly the case and principle specific shape, etc. If to be limited to the positional relationship or the like, the shape, It is not limited to the positional relationship and the like.

 例えば、上記各実施形態では、バスに搭載されるバス用空調装置2に設置されるフィルタ装置1、12、または、車両40に搭載される小型空調装置41に設置されるフィルタ装置1、1a、1bについて説明した。これに対し、他の実施形態では、フィルタ装置1、1a、1b、12は、その他の種類の車両に搭載される空調装置に設置されるものであってもよく、または、建築物等に設置される空調装置に設置されるものであってもよい。 For example, in the above embodiments, the filter devices 1 and 12 installed in the bus air conditioner 2 mounted on the bus or the filter devices 1 and 1a installed in the small air conditioner 41 mounted on the vehicle 40 Described about 1b. On the other hand, in other embodiments, the filter devices 1, 1a, 1b, 12 may be installed in an air conditioner installed in other types of vehicles, or installed in a building etc. It may be installed in an air conditioning system.

 (まとめ)
 上述の実施形態の一部または全部で示された第1の観点によれば、空調装置の空気吸込口に吸い込まれる空気または空気吸込口から熱交換器へ流れる空気に含まれる異物を捕集するフィルタ装置は、フィルタ部材、第1軸、および、第2軸を備える。フィルタ部材は、シート状に形成され、空気の流れが通過するように配置される。第1軸には、フィルタ部材の長手方向の一方の側が巻かれている。第2軸は、フィルタ部材のうち空気の流れが通過する部位に対し第1軸とは反対側を支持する。そして、フィルタ部材は、空気の流れが通過する部位を第2軸側に移動させると、第1軸に巻かれた部位が第2軸側に向けて引き出され、空気の流れが通過する部位が交換されるように構成されている。
(Summary)
According to a first aspect of the present invention described in part or all of the above embodiments, foreign matter contained in air sucked into the air suction port of the air conditioner or air flowing from the air suction port to the heat exchanger is collected The filter device comprises a filter member, a first axis and a second axis. The filter member is in the form of a sheet and is arranged to pass a stream of air. One longitudinal side of the filter member is wound around the first axis. The second axis supports the side of the filter member opposite to the first axis with respect to the portion through which the air flow passes. Then, when the filter member moves the portion through which the air flow passes to the second axis side, the portion wound around the first axis is pulled out toward the second axis side, and the portion through which the air flow passes is It is configured to be replaced.

 第2の観点によれば、フィルタ部材は、空気の流れが通過する部位が第2軸に巻き取られるように構成されている。
 これによれば、フィルタ装置は、フィルタ部材が捕集した異物をフィルタ部材から削ぎ落とすことなく、フィルタ部材に異物を付着させた状態で第2軸に巻き付けることが可能である。そのため、フィルタ装置は、フィルタ部材に捕集された異物が、空調装置が空調対象とする空間にこぼれ落ちることや、その異物が空調装置内の熱交換器側へ侵入することを防ぐことができる。また、このフィルタ装置は、フィルタ部材に捕集された異物をフィルタ部材から削ぎ落さない場合、異物を貯めておくスペースが不要となる。したがって、このフィルタ装置は、体格を小型化することができる。
According to a second aspect, the filter member is configured such that a portion through which the flow of air passes is wound around the second axis.
According to this, the filter device can be wound around the second shaft in a state where foreign matter is attached to the filter member without scraping the foreign matter collected by the filter member from the filter member. Therefore, the filter device can prevent the foreign matter collected by the filter member from falling into the space to be air-conditioned by the air conditioner, and the foreign matter from entering the heat exchanger side in the air conditioner. . Further, this filter device does not require a space for storing foreign matter if the foreign matter collected on the filter member is not scraped off from the filter member. Therefore, this filter device can miniaturize the physique.

 第3の観点によれば、フィルタ部材は、空気の流れが通過する部位が、第1軸および第2軸とは異なる位置に設けられた第3軸に巻き取られるように構成されている。
 これによれば、第2軸が設置される箇所にフィルタ部材を巻きつけるスペースが無い場合でも、フィルタ部材を第3軸に巻き付けることが可能である。したがって、このフィルタ装置は、設計の自由度を高めることが可能である。
According to the third aspect, the filter member is configured such that a portion through which the air flow passes is wound around a third axis provided at a position different from the first axis and the second axis.
According to this, even when there is no space for winding the filter member at the place where the second axis is installed, it is possible to wind the filter member around the third axis. Therefore, this filter device can increase the freedom of design.

 第4の観点によれば、フィルタ部材は、第2軸に対して空気の流れが通過する部位とは反対側の部位が第2軸から垂れ流されるように構成されている。
 これによれば、フィルタ部材を第2軸に巻き取る構成に対し、第2軸側の構成を簡素なものにすることが可能である。
According to the fourth aspect, the filter member is configured such that a portion on the opposite side to the portion through which the air flow passes with respect to the second axis is dripped from the second axis.
According to this, it is possible to make simple the composition by the side of the 2nd axis to the composition which winds up a filter member to the 2nd axis.

 第5の観点によれば、フィルタ部材と第1軸と第2軸は、空調装置の空気吸込口に対して着脱可能、または空気吸込口より上流側の部位に着脱可能に設けられている。
 これによれば、空調装置を分解等することなく、空調装置に対してフィルタ装置を着脱することが可能である。したがって、このフィルタ装置は、ユーザのメンテナンス性を向上することができる。
According to the fifth aspect, the filter member and the first axis and the second axis are detachably provided to the air suction port of the air conditioner, or detachably provided at a portion on the upstream side of the air suction port.
According to this, it is possible to attach or detach the filter device to the air conditioner without disassembling the air conditioner. Therefore, this filter device can improve the maintainability of the user.

 第6の観点によれば、フィルタ装置は、清掃部材および収容部をさらに備える。清掃部材は、第2軸に巻かれるフィルタ部材に摺接し、フィルタ部材から異物を除去する。収容部は、第2軸の外側を囲うように設けられ、清掃部材によってフィルタ部材から除去された異物を収容する。
 これによれば、フィルタ部材のうち空気の流れが通過する部位は、異物が除去された状態で第2軸に巻き取られる。そのため、第2軸に巻き取られたフィルタ部材を、再び使用することが可能である。
According to a sixth aspect, the filter device further comprises a cleaning member and a housing. The cleaning member is in sliding contact with the filter member wound around the second shaft to remove foreign matter from the filter member. The accommodating portion is provided to surround the outer side of the second shaft, and accommodates the foreign matter removed from the filter member by the cleaning member.
According to this, a portion of the filter member through which the flow of air passes is wound around the second shaft in the state where the foreign matter is removed. Therefore, it is possible to use the filter member wound around the second axis again.

 第7の観点によれば、清掃部材は、第2軸に巻かれるフィルタ部材と収容部との隙間を塞ぐように設けられる。
 これによれば、清掃部材は、フィルタ部材から除去された異物がフィルタ部材と収容部との隙間から流出してしまうことを防ぐことができる。
According to the seventh aspect, the cleaning member is provided so as to close the gap between the filter member wound around the second shaft and the housing portion.
According to this, the cleaning member can prevent the foreign matter removed from the filter member from flowing out from the gap between the filter member and the housing portion.

 第8の観点によれば、フィルタ装置は、第1清掃部材、第1収容部、第2清掃部材および第2収容部をさらに備える。第1清掃部材は、第1軸に巻かれるフィルタ部材に摺接し、フィルタ部材から異物を除去する。第1収容部は、第1軸の外側を囲うように設けられ、第1清掃部材によってフィルタ部材から除去された異物を収容する。第2清掃部材は、第2軸に巻かれるフィルタ部材に摺接し、フィルタ部材から異物を除去する。第2収容部は、第2軸の外側を囲うように設けられ、第2清掃部材によってフィルタ部材から除去された異物を収容する。
 これによれば、フィルタ装置は、第1清掃部材と第2清掃部材によりフィルタ部材から異物を除去しつつ第1軸と第2軸に交互に巻き取ることが可能である。したがって、このフィルタ装置は、フィルタ部材の異物を捕集する能力を維持しつつ、フィルタ部材を長期間に亘り使用することが可能である。
According to an eighth aspect, the filter device further includes a first cleaning member, a first accommodating portion, a second cleaning member, and a second accommodating portion. The first cleaning member is in sliding contact with the filter member wound around the first shaft to remove foreign matter from the filter member. The first accommodating portion is provided to surround the outside of the first shaft, and accommodates the foreign matter removed from the filter member by the first cleaning member. The second cleaning member is in sliding contact with the filter member wound around the second shaft to remove foreign matter from the filter member. The second accommodating portion is provided to surround the outer side of the second shaft, and accommodates the foreign matter removed from the filter member by the second cleaning member.
According to this, the filter device can alternately wind around the first shaft and the second shaft while removing foreign substances from the filter member by the first cleaning member and the second cleaning member. Therefore, the filter device can use the filter member for a long time while maintaining the ability of the filter member to collect foreign matter.

 第9の観点によれば、第1清掃部材は、第1軸に巻かれるフィルタ部材と第1収容部との隙間を塞ぐように設けられている。第2清掃部材は、第2軸に巻かれるフィルタ部材と第2収容部との隙間を塞ぐように設けられている。
 これによれば、フィルタ装置は、第1収容部に収容された異物がフィルタ部材と第1収容部との隙間から流出してしまうことを、第1清掃部材により防ぐことができる。また、フィルタ装置は、第2収容部に収容された異物がフィルタ部材と第2収容部との隙間から流出してしまうことを、第2清掃部材により防ぐことができる。
According to the ninth aspect, the first cleaning member is provided so as to close a gap between the filter member wound around the first shaft and the first accommodation portion. The second cleaning member is provided to close a gap between the filter member wound around the second shaft and the second accommodation portion.
According to this, the first cleaning member can prevent the foreign matter contained in the first accommodation portion from flowing out from the gap between the filter member and the first accommodation portion. Further, the filter device can prevent the foreign matter contained in the second accommodation portion from flowing out from the gap between the filter member and the second accommodation portion by the second cleaning member.

 第10の観点によれば、フィルタ装置は、バス車両に搭載されるバス用空調装置が備える空調ユニットの空気吸込口に吸い込まれる空気に含まれる異物、または空気吸込口から熱交換器へ流れる空気に含まれる異物を捕集するものである。
 これによれば、バス用空調装置は、稼働時間が長いので、フィルタ部材に異物が詰まりやすい。そこで、このフィルタ装置をバス用空調装置に設置することで、フィルタ部材の交換時期または清掃時期が長くなるので、ユーザのメンテナンス性を向上することができる。
According to the tenth aspect, the filter device is a foreign object contained in the air sucked into the air suction port of the air conditioning unit provided in the bus air conditioner mounted on the bus vehicle, or the air flowing from the air suction port to the heat exchanger To collect foreign substances contained in
According to this, since the air conditioner for a bus has a long operation time, the filter member is likely to be clogged with foreign matter. Therefore, by installing this filter device in the air conditioner for a bus, the replacement time or cleaning time of the filter member becomes long, so that the maintainability of the user can be improved.

 第11の観点によれば、フィルタ装置は、冷凍サイクルを構成する圧縮機、凝縮器、膨張弁および蒸発器が冷媒配管により接続された状態で空調ケースの内側に収容された小型空調装置に設置される。小型空調装置は車両に搭載されるものである。フィルタ装置は、その小型空調装置の空気吸込口に吸い込まれる空気に含まれる異物、または空気吸込口から蒸発器または凝縮器へ流れる空気に含まれる異物を捕集するものである。
 これによれば、車両搭載用の小型空調装置は空気吸込口の面積が小さいので、フィルタ部材に異物が詰まりやすい。また、車両搭載用の小型空調装置がシートの下に配置される場合、フィルタ部材に異物の付着が多くなる。そこで、このフィルタ装置を車両に搭載される小型空調装置に設置することで、フィルタ部材の交換時期または清掃時期が長くなり、ユーザのメンテナンス性を向上することができる。
 
According to the eleventh aspect, the filter device is installed in the small-sized air conditioner housed inside the air conditioning case in a state where the compressor, the condenser, the expansion valve, and the evaporator that constitute the refrigeration cycle are connected by the refrigerant pipe. Be done. The compact air conditioner is mounted on a vehicle. The filter device is for collecting foreign matter contained in the air sucked into the air suction port of the compact air conditioner or foreign matter contained in the air flowing from the air suction port to the evaporator or the condenser.
According to this, since the small air conditioner for vehicle installation has a small area of the air suction port, the filter member is easily clogged with foreign matter. Moreover, when the small air conditioner for vehicle mounting is arrange | positioned under a sheet | seat, adhesion of a foreign material to a filter member will increase. Therefore, by installing this filter device in a compact air conditioner mounted on a vehicle, the replacement time or cleaning time of the filter member becomes long, and the maintainability of the user can be improved.

Claims (11)

 空調装置(2、41)の空気吸込口(5、60、62、70)に吸い込まれる空気または前記空気吸込口から熱交換器(13、51、53)へ流れる空気に含まれる異物(80)を捕集するフィルタ装置(1、1a、1b、12)であって、
 空気の流れが通過するように配置されるシート状のフィルタ部材(20)と、
 前記フィルタ部材の長手方向の一方の側が巻かれる第1軸(21)と、
 前記フィルタ部材のうち空気の流れが通過する部位(20a)に対し前記第1軸とは反対側を支持する第2軸(22)と、を備え、
 前記フィルタ部材は、空気の流れが通過する部位を前記第2軸側に移動させると、前記第1軸に巻かれた部位が前記第2軸側に向けて引き出され、空気の流れが通過する部位が交換されるように構成されているフィルタ装置。
Air sucked into the air suction port (5, 60, 62, 70) of the air conditioner (2, 41) or foreign matter (80) contained in the air flowing from the air suction port to the heat exchanger (13, 51, 53) Filter device (1, 1a, 1b, 12) for collecting
A sheet-like filter member (20) arranged to pass a stream of air;
A first shaft (21) on which one longitudinal side of the filter member is wound;
And a second shaft (22) supporting a side (20a) of the filter member through which the flow of air passes, the side opposite to the first shaft.
In the filter member, when the portion through which the air flow passes is moved to the second axis side, the portion wound around the first axis is pulled out toward the second axis, and the air flow passes through. A filter device that is configured to be replaced.
 前記フィルタ部材は、空気の流れが通過する部位が前記第2軸に巻き取られるように構成されている、請求項1に記載のフィルタ装置。 The filter device according to claim 1, wherein the filter member is configured such that a portion through which the air flow passes is wound around the second shaft.  前記フィルタ部材は、空気の流れが通過する部位が、前記第1軸および前記第2軸とは異なる位置に設けられた第3軸(31)に巻き取られるように構成されている、請求項1に記載のフィルタ装置。 The filter member is configured such that a portion through which the air flow passes is wound around a third axis (31) provided at a position different from the first axis and the second axis. The filter device according to 1.  前記フィルタ部材は、前記第2軸に対して空気の流れが通過する部位とは反対側の部位(20b)が前記第2軸から垂れ流されるように構成されている、請求項1に記載のフィルタ装置。 The said filter member is comprised so that the site | part (20b) on the opposite side to the site | part through which the flow of air passes with respect to the said 2nd axis may be dripped from the said 2nd axis | shaft. Filter device.  前記フィルタ部材と前記第1軸と前記第2軸は、前記空調装置の前記空気吸込口に対して着脱可能、または前記空気吸込口より上流側の部位(7)に着脱可能に設けられている、請求項1ないし4のいずれか1つに記載のフィルタ装置。 The filter member, the first shaft, and the second shaft are detachably provided to the air suction port of the air conditioner, or provided detachably at a portion (7) upstream of the air suction port. The filter device according to any one of claims 1 to 4.  前記第2軸に巻かれる前記フィルタ部材に摺接し、前記フィルタ部材から異物を除去する清掃部材(25、26)と、
 前記第2軸の外側を囲うように設けられ、前記清掃部材によって前記フィルタ部材から除去された異物を収容する収容部(29、30)をさらに備える、請求項2に記載のフィルタ装置。
A cleaning member (25, 26) in sliding contact with the filter member wound around the second shaft to remove foreign matter from the filter member;
The filter device according to claim 2, further comprising a housing (29, 30) provided to surround the outer side of the second shaft, and housing a foreign substance removed from the filter member by the cleaning member.
 前記清掃部材は、前記第2軸に巻かれる前記フィルタ部材と前記収容部との隙間(30a)を塞ぐように設けられる、請求項6に記載のフィルタ装置。 The filter device according to claim 6, wherein the cleaning member is provided to close a gap (30a) between the filter member wound around the second shaft and the accommodation portion.  前記第1軸に巻かれる前記フィルタ部材に摺接し、前記フィルタ部材から異物を除去する第1清掃部材(25)と、
 前記第1軸の外側を囲うように設けられ、前記第1清掃部材によって前記フィルタ部材から除去された異物を収容する第1収容部(29)と、
 前記第2軸に巻かれる前記フィルタ部材に摺接し、前記フィルタ部材から異物を除去する第2清掃部材(26)と、
 前記第2軸の外側を囲うように設けられ、前記第2清掃部材によって前記フィルタ部材から除去された異物を収容する第2収容部(30)をさらに備える、請求項2に記載のフィルタ装置。
A first cleaning member (25) in sliding contact with the filter member wound around the first shaft to remove foreign matter from the filter member;
A first accommodating portion (29) which is provided so as to surround the outside of the first shaft, and which accommodates foreign matter removed from the filter member by the first cleaning member;
A second cleaning member (26) in sliding contact with the filter member wound around the second shaft to remove foreign matter from the filter member;
The filter device according to claim 2, further comprising: a second accommodating portion (30) which is provided so as to surround the outer side of the second shaft, and accommodates the foreign matter removed from the filter member by the second cleaning member.
 前記第1清掃部材は、前記第1軸に巻かれる前記フィルタ部材と前記第1収容部との隙間(29a)を塞ぐように設けられ、
 前記第2清掃部材は、前記第2軸に巻かれる前記フィルタ部材と前記第2収容部との隙間(30a)を塞ぐように設けられている、請求項8に記載のフィルタ装置。
The first cleaning member is provided to close a gap (29a) between the filter member wound around the first shaft and the first accommodation portion.
The filter device according to claim 8, wherein the second cleaning member is provided to close a gap (30a) between the filter member wound around the second shaft and the second accommodation portion.
 前記フィルタ装置は、バス車両(4)に搭載されるバス用空調装置(2)が備える空調ユニット(3)の空気吸込口(5)に吸い込まれる空気に含まれる異物、または前記空気吸込口から前記熱交換器(13)へ流れる空気に含まれる異物を捕集するものである、請求項1ないし9のいずれか1つに記載のフィルタ装置。 The filter device is a foreign object contained in the air sucked into the air suction port (5) of the air conditioning unit (3) provided in the bus air conditioner (2) mounted on the bus vehicle (4), or the air suction port The filter device according to any one of claims 1 to 9, wherein foreign matter contained in air flowing to the heat exchanger (13) is collected.  前記フィルタ装置は、冷凍サイクルを構成する圧縮機(50)、凝縮器(51)、膨張弁(52)および蒸発器(53)が冷媒配管により接続された状態で空調ケース(54)の内側に収容された小型空調装置(41)の空気吸込口(60、62、70)に吸い込まれる空気に含まれる異物、または前記空気吸込口から前記蒸発器または前記凝縮器へ流れる空気に含まれる異物を捕集するものであり、
 前記小型空調装置は車両(40)に搭載されるものである、請求項1ないし9のいずれか1つに記載のフィルタ装置。
The filter device is disposed inside the air conditioning case (54) in a state where the compressor (50), the condenser (51), the expansion valve (52) and the evaporator (53) constituting the refrigeration cycle are connected by refrigerant piping. Foreign matter contained in the air sucked into the air suction ports (60, 62, 70) of the housed compact air conditioner (41) or foreign matter contained in the air flowing from the air suction port to the evaporator or the condenser To collect
The filter device according to any one of the preceding claims, wherein the compact air conditioner is mounted on a vehicle (40).
PCT/JP2018/033046 2017-10-12 2018-09-06 Filter device Ceased WO2019073723A1 (en)

Applications Claiming Priority (2)

Application Number Priority Date Filing Date Title
JP2017-198370 2017-10-12
JP2017198370A JP2019073055A (en) 2017-10-12 2017-10-12 Filter device

Publications (1)

Publication Number Publication Date
WO2019073723A1 true WO2019073723A1 (en) 2019-04-18

Family

ID=66101466

Family Applications (1)

Application Number Title Priority Date Filing Date
PCT/JP2018/033046 Ceased WO2019073723A1 (en) 2017-10-12 2018-09-06 Filter device

Country Status (2)

Country Link
JP (1) JP2019073055A (en)
WO (1) WO2019073723A1 (en)

Cited By (2)

* Cited by examiner, † Cited by third party
Publication number Priority date Publication date Assignee Title
CN112902343A (en) * 2021-01-28 2021-06-04 鲍岚 Heat exchange type fan
CN113639405A (en) * 2021-07-23 2021-11-12 青岛海尔空调电子有限公司 Method, device and smart air conditioner for controlling air conditioner

Families Citing this family (2)

* Cited by examiner, † Cited by third party
Publication number Priority date Publication date Assignee Title
US11161621B2 (en) * 2018-01-18 2021-11-02 Raytheon Technologies Corporation Heat exchanger with moving ice filter
CN111503746B (en) * 2020-04-16 2022-10-28 青岛海尔空调电子有限公司 Air conditioner and control method thereof

Citations (4)

* Cited by examiner, † Cited by third party
Publication number Priority date Publication date Assignee Title
JPS6070418U (en) * 1983-10-24 1985-05-18 株式会社東芝 Vehicle air conditioner
JP2002331215A (en) * 2001-05-10 2002-11-19 Takasago Thermal Eng Co Ltd Oil mist removal device and operation method
JP2008044481A (en) * 2006-08-11 2008-02-28 Shin Caterpillar Mitsubishi Ltd Filter device
JP2011016433A (en) * 2009-07-08 2011-01-27 East Japan Railway Co Roll filter unit for railroad vehicle

Patent Citations (4)

* Cited by examiner, † Cited by third party
Publication number Priority date Publication date Assignee Title
JPS6070418U (en) * 1983-10-24 1985-05-18 株式会社東芝 Vehicle air conditioner
JP2002331215A (en) * 2001-05-10 2002-11-19 Takasago Thermal Eng Co Ltd Oil mist removal device and operation method
JP2008044481A (en) * 2006-08-11 2008-02-28 Shin Caterpillar Mitsubishi Ltd Filter device
JP2011016433A (en) * 2009-07-08 2011-01-27 East Japan Railway Co Roll filter unit for railroad vehicle

Cited By (2)

* Cited by examiner, † Cited by third party
Publication number Priority date Publication date Assignee Title
CN112902343A (en) * 2021-01-28 2021-06-04 鲍岚 Heat exchange type fan
CN113639405A (en) * 2021-07-23 2021-11-12 青岛海尔空调电子有限公司 Method, device and smart air conditioner for controlling air conditioner

Also Published As

Publication number Publication date
JP2019073055A (en) 2019-05-16

Similar Documents

Publication Publication Date Title
WO2019073723A1 (en) Filter device
EP2762791B1 (en) Air conditioner with filter cleaning arrangement and method of filter cleaning
EP3091303B1 (en) Filter cleaning device and air conditioner having the same
JP5679796B2 (en) Vehicle air conditioner using magnetic filter
WO2014065255A1 (en) Battery temperature adjustment unit and vehicle having said unit installed
JP2009270726A (en) Air conditioner
JP6638855B2 (en) Dehumidifier
JP2010210191A (en) Air conditioning device
EP3591308B1 (en) Indoor unit of air conditioner
JP2003021356A (en) Air conditioner
JP5487599B2 (en) Air conditioner
WO2018230128A1 (en) Air conditioner
JP5642135B2 (en) Dust remover for air conditioner and air conditioner
JP6967693B2 (en) Air conditioner
JP2015101181A (en) Damper for air conditioner
JP5566483B2 (en) air conditioner
JP2004116971A (en) Filter frame, filter and air conditioner
JP6032035B2 (en) Car interior air conditioning unit
JP2011157002A (en) Drain structure of air conditioner for vehicle
JP7009967B2 (en) Vehicle air conditioner
JP5393262B2 (en) Air conditioner for vehicles
JP5062114B2 (en) Air conditioner indoor unit
JP2003074965A (en) Air conditioner
KR20020083804A (en) Air-filter assembly for air conditioning-system of automobile
JP5721683B2 (en) Dust remover for air conditioner and air conditioner

Legal Events

Date Code Title Description
121 Ep: the epo has been informed by wipo that ep was designated in this application

Ref document number: 18865731

Country of ref document: EP

Kind code of ref document: A1

NENP Non-entry into the national phase

Ref country code: DE

122 Ep: pct application non-entry in european phase

Ref document number: 18865731

Country of ref document: EP

Kind code of ref document: A1