WO2019019362A1 - Vehicle and omnidirectional wheel thereof - Google Patents

Vehicle and omnidirectional wheel thereof Download PDF

Info

Publication number
WO2019019362A1
WO2019019362A1 PCT/CN2017/104256 CN2017104256W WO2019019362A1 WO 2019019362 A1 WO2019019362 A1 WO 2019019362A1 CN 2017104256 W CN2017104256 W CN 2017104256W WO 2019019362 A1 WO2019019362 A1 WO 2019019362A1
Authority
WO
WIPO (PCT)
Prior art keywords
roller
omnidirectional wheel
support
diameter end
elastic
Prior art date
Legal status (The legal status is an assumption and is not a legal conclusion. Google has not performed a legal analysis and makes no representation as to the accuracy of the status listed.)
Ceased
Application number
PCT/CN2017/104256
Other languages
French (fr)
Chinese (zh)
Inventor
朱吴伟
Current Assignee (The listed assignees may be inaccurate. Google has not performed a legal analysis and makes no representation or warranty as to the accuracy of the list.)
Guangzhou Shiyuan Electronics Thecnology Co Ltd
Guangzhou Shirui Electronics Co Ltd
Original Assignee
Guangzhou Shiyuan Electronics Thecnology Co Ltd
Guangzhou Shirui Electronics Co Ltd
Priority date (The priority date is an assumption and is not a legal conclusion. Google has not performed a legal analysis and makes no representation as to the accuracy of the date listed.)
Filing date
Publication date
Application filed by Guangzhou Shiyuan Electronics Thecnology Co Ltd, Guangzhou Shirui Electronics Co Ltd filed Critical Guangzhou Shiyuan Electronics Thecnology Co Ltd
Publication of WO2019019362A1 publication Critical patent/WO2019019362A1/en
Anticipated expiration legal-status Critical
Ceased legal-status Critical Current

Links

Images

Classifications

    • BPERFORMING OPERATIONS; TRANSPORTING
    • B60VEHICLES IN GENERAL
    • B60BVEHICLE WHEELS; CASTORS; AXLES FOR WHEELS OR CASTORS; INCREASING WHEEL ADHESION
    • B60B19/00Wheels not otherwise provided for or having characteristics specified in one of the subgroups of this group
    • B60B19/003Multidirectional wheels
    • BPERFORMING OPERATIONS; TRANSPORTING
    • B60VEHICLES IN GENERAL
    • B60BVEHICLE WHEELS; CASTORS; AXLES FOR WHEELS OR CASTORS; INCREASING WHEEL ADHESION
    • B60B9/00Wheels of high resiliency, e.g. with conical interacting pressure-surfaces
    • B60B9/02Wheels of high resiliency, e.g. with conical interacting pressure-surfaces using springs resiliently mounted bicycle rims
    • YGENERAL TAGGING OF NEW TECHNOLOGICAL DEVELOPMENTS; GENERAL TAGGING OF CROSS-SECTIONAL TECHNOLOGIES SPANNING OVER SEVERAL SECTIONS OF THE IPC; TECHNICAL SUBJECTS COVERED BY FORMER USPC CROSS-REFERENCE ART COLLECTIONS [XRACs] AND DIGESTS
    • Y02TECHNOLOGIES OR APPLICATIONS FOR MITIGATION OR ADAPTATION AGAINST CLIMATE CHANGE
    • Y02TCLIMATE CHANGE MITIGATION TECHNOLOGIES RELATED TO TRANSPORTATION
    • Y02T10/00Road transport of goods or passengers
    • Y02T10/80Technologies aiming to reduce greenhouse gasses emissions common to all road transportation technologies
    • Y02T10/86Optimisation of rolling resistance, e.g. weight reduction 

Definitions

  • the invention relates to a wheel of a vehicle, in particular to a vehicle and an omnidirectional wheel thereof.
  • wheels which are a circular activating member of the vehicle that is coupled with the axle to allow the thrust to roll forward on a predetermined route.
  • Current wheels usually only travel in the straight direction of the vehicle, which makes the movement of the vehicle in other directions more inconvenient, so it is necessary to design a newer wheel to achieve flexible movement of the vehicle.
  • the present invention provides an omnidirectional wheel capable of realizing omnidirectional movement of a vehicle and facilitating flexible movement of the vehicle.
  • the present invention provides an omnidirectional wheel comprising a rotating member rotatable about an axle and a plurality of rollers mounted on the rotating member, the roller being freely rotatable about a central axis thereof, and each of the rollers
  • the central axes are each disposed in a plane orthogonal to the axle, the central axis of the roller intersecting the radial direction of the rotating member and forming an acute angle, the roller having a large diameter end and a small diameter end, and
  • the diameter of the roller gradually decreases along the large diameter end to the small diameter end, and the large diameter end of the roller is provided with a concave portion, and the two adjacent rollers are respectively recorded as the first roller and the second roller.
  • a portion of the small diameter end of the first roller extends into the recess of the large diameter end of the second roller such that the outer contours of the rollers are disposed on the same circumference centered on the axle.
  • the curvature of the outer contour of the roller coincides with the curvature of a circle centered on the axle.
  • a central axis of the second roller is tangent to an outer circumference of the first roller small diameter end.
  • the small-diameter end of the roller includes an inner corner portion and an outer corner portion, and the inner corner portion of the small-diameter end of the first roller protrudes into the concave portion of the large-diameter end of the second roller, and the outer corner portion of the small-diameter end of the first roller is There is a gap between the large diameter ends of the second roller.
  • the outer surface of the roller is provided with at least two annular ribs arranged in parallel, and a space is formed between two adjacent annular ridges.
  • the distance corresponding to the gap and the distance corresponding to the spacing are equal to the top width of the annular ridge.
  • the rotating member includes a hub, an elastic damper member, and a plurality of supporting members, each of the supporting members is uniformly disposed around a circumference of the hub, and each of the rollers is respectively mounted on a corresponding supporting member;
  • the support member includes a support base having an outer circumferential surface, and the elastic shock absorbing member is interposed between a support base of the support member and an outer circumferential surface of the hub.
  • the support base comprises a support substrate and a connection hole seat, and the connection hole seat protrudes from a bottom surface of the support substrate, the elastic damping member has an outer annular surface and an inner annular surface, A concave groove is formed on the outer ring surface, and the connecting hole seat is engaged in the concave groove, and the inner ring surface is in close contact with the outer circumferential surface of the hub.
  • the support member includes a support bar that intersects with a radial direction of the hub and forms an acute angle, the roller is mounted at an end of the support bar, and a central axis of the roller is The support strips are perpendicular.
  • the roller comprises a first wheel portion and a second wheel portion, and the first wheel portion and the second wheel portion are respectively mounted on two sides of the support bar.
  • a gap is formed between the first wheel portion and the second wheel portion, and a width of the notch is equal to a distance corresponding to the gap.
  • the rotating member includes a first lateral restricting member and a second lateral restricting member, the supporting member being sandwiched between the first lateral restricting member and the second lateral restricting member
  • the support member includes a connection hole seat, and each of the support members is fixedly coupled to the first lateral restriction member and the second lateral restriction member by a connection hole seat thereof.
  • an intermediate restriction member is disposed at an intermediate position of the hub, and the elastic damping member is configured as two, and the two elastic damping members are respectively recorded as a first elastic damping member and a second elastic damping device.
  • the first elastic damper member is interposed between the intermediate restricting member and the first lateral restricting member
  • the second elastic damper member is interposed between the intermediate restricting member and the first Two laterally restricting members.
  • the elastic damper member is an elastic ring body, and the elastic ring body is provided with a damper hole, and the damper hole is provided with an elastic support rib.
  • the invention also provides a vehicle comprising the omnidirectional wheel described above.
  • the omnidirectional wheel of the present invention includes a rotating member and a plurality of rollers mounted on the rotating member, a central axis of the roller intersecting with a radial direction of the rotating member and forming an acute angle, the diameter of the roller being along a portion of the small diameter end of the first roller extends into the recess of the large diameter end of the second roller, so that the outer contour of each roller can be disposed around the axle
  • the omnidirectional wheel can, on the one hand, enable the vehicle to travel in its straight-forward direction, and on the other hand, by the action of the roller, the vehicle can also be moved in a direction orthogonal to the straight-forward direction.
  • the omnidirectional movement of the vehicle can be realized, and the vehicle movement is more flexible.
  • the structural design of the omnidirectional wheel is novel and ingenious, and the structures of the respective rollers are uniform, which is advantageous for reducing the manufacturing cost.
  • the omnidirectional wheel of the present invention is further provided with an elastic damper member capable of suppressing transmission of vibration from the ground or the like to the axle, which is advantageous for improving ride comfort.
  • the structure of the support member of the present invention is also uniform, and it is possible to further reduce the manufacturing cost.
  • the vehicle of the present invention is equipped with the above omnidirectional wheel, it can realize all-round flexible movement, and can also be reduced in manufacturing. this.
  • FIG. 1 is a schematic view showing the overall structure of an omnidirectional wheel according to an embodiment of the present invention.
  • FIG 2 is an assembled structural view of the omnidirectional wheel after the first lateral restricting member is removed, according to an embodiment of the present invention.
  • FIG. 3 is a schematic exploded view of an omnidirectional wheel according to an embodiment of the present invention.
  • FIG 4 is a first cross-sectional view of the omnidirectional wheel according to the embodiment of the present invention.
  • Figure 5 is a second cross-sectional view of the omnidirectional wheel in accordance with an embodiment of the present invention.
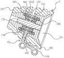
  • Fig. 6 is a view showing the assembly structure between the support member of the omnidirectional wheel, the center support shaft, and the rolling bearing according to the embodiment of the present invention.
  • Figure 7 is a cross-sectional view showing the assembly of the roller and the mount according to the embodiment of the present invention.
  • FIG. 8 is a schematic structural view of an elastic shock absorbing member according to an embodiment of the present invention.
  • Figure 9 is a schematic view showing the structure of an omnidirectional wheel equipped with another elastic shock absorbing member in the embodiment of the present invention.
  • Figure 10 is a schematic view showing the structure of the elastic damper member of the omnidirectional wheel shown in Figure 9.
  • Figure 11 is a schematic view showing the structure of the supporting member of the omnidirectional wheel shown in Figure 9.
  • Figure 12 is a schematic view showing the overall structure of an omnidirectional wheel equipped with an elastic shock absorbing member according to an embodiment of the present invention.
  • Figure 13 is a schematic view showing the assembled structure of the omnidirectional wheel shown in Figure 12 after the first lateral restricting member is removed.
  • Figure 14 is a schematic view showing the structure of an elastic shock absorbing member according to an embodiment of the present invention.
  • Figure 15 is a schematic illustration of a variation of the omnidirectional wheel in accordance with an embodiment of the present invention.
  • Figure 16 is a cross-sectional view of the omnidirectional wheel shown in Figure 15 .
  • Figure 17 is an assembled structural view of the support member, the center support shaft, and the rolling bearing of the omnidirectional wheel shown in Figure 15;
  • Figure 18 is a cross-sectional view of an omnidirectional wheel of an unassembled elastic shock absorbing member according to an embodiment of the present invention.
  • Figure 19 is an exploded perspective view of the omnidirectional wheel shown in Figure 18.
  • Fig. 20 is a view showing the overall structure of an omnidirectional wheel which is fixed by a chain according to an embodiment of the present invention.
  • Figure 21 is an exploded perspective view of the omnidirectional wheel shown in Figure 20.
  • the embodiment provides an omnidirectional wheel that can be mounted on a vehicle such as a wheelchair, and includes a rotating member 1 rotatable about an axle and a plurality of mounted on the rotating member 1
  • the roller 2 is freely rotatable about its own central axis, and the central axes of the rollers 2 are all disposed in a plane orthogonal to the axle, and the central axis of the roller 2 intersects with the radial direction of the rotating member 1 and forms an acute angle.
  • the roller 2 has a large diameter end 21 and a small diameter end 22, and the diameter of the roller 2 gradually decreases along the large diameter end 21 to the small diameter end 22 to form the roller 2 into a substantially truncated cone shape, and the large diameter end 21 of the roller 2 is provided.
  • two adjacent rollers 2 are respectively referred to as a first roller 2a and a second roller 2b, and a part of the small diameter end 22 of the first roller 2a protrudes into the concave portion 211 of the large diameter end 21 of the second roller 2b, so that each The outer contours of the rollers 2 are all arranged on the same circumference centered on the axle.
  • the omnidirectional wheel when a thrust or a driving force is applied to the vehicle on which the omnidirectional wheel is mounted, the omnidirectional wheel can make the vehicle travel in the straight forward direction on the one hand, and can also cause the vehicle along the other side by the action of the above roller 2 Moving in a direction orthogonal to the straight direction, thereby enabling omnidirectional movement of the vehicle, making the vehicle movement more flexible, the structural design of the omnidirectional wheel is novel and ingenious, and the structure of each roller 2 can be uniform, Conducive to reducing manufacturing costs.
  • the small-diameter end 22 of the roller 2 includes an inner corner portion 221 and an outer corner portion 222.
  • the inner corner portion 221 of the small-diameter end 22 of the first roller 2a extends into the recess 211 of the large-diameter end 21 of the second roller 2b.
  • the first roller 2a There is a gap between the outer corner portion 222 of the small diameter end 22 and the large diameter end 21 of the second roller 2b, and the curvature of the outer contour of each roller 2 coincides with the curvature of a circle centered on the axle, thereby It is advantageous to realize that the outer contours of the rollers 2 are arranged on the same circumference centered on the axle, thereby facilitating the all-round flexible movement of the omnidirectional wheel.
  • the outer surface of the roller 2 can be provided with at least two annular ribs 23 arranged in parallel, and the spacing between the two adjacent annular ridges 23 is beneficial to improve the friction between the roller 2 and the ground.
  • the "outer contour" of the roller 2 specifically refers to the outer contour of the roller 2 in a stationary state
  • the "inner corner portion" of the small diameter end 22 of the roller 2 specifically refers to The small diameter end 22 of the roller 2 in the stationary state is located at the inner corner
  • the "outer corner” of the large diameter end 22 of the roller 2 specifically refers to the corner where the small diameter end 22 of the roller 2 is located at the outer side in the stationary state.
  • the rotating member 1 includes a hub 11, an elastic damper member 12, and a support body.
  • the support body is disposed around a circumference centered on the axle, and the rollers 2 are respectively mounted on the support body, and the elastic damper members 12 are disposed. Between the hub 11 and the support body, the mounting of the respective rollers 2 can be achieved, and the vibration from the ground or the like can be buffered by the action of the elastic damper member 12, and the ride comfort can be improved.
  • the support body includes twelve support members 13, and correspondingly, the number of the rollers 2 is also set to twelve, and the support members 13 are evenly arranged around the circumference of the hub 11, and the rollers 2 are respectively mounted on the corresponding support members 13 on.
  • the support member 13 includes a support base 136 having an outer circumferential surface 111, and the elastic shock absorbing member 12 is sandwiched between the support base 136 of the support member 13 and the hub 11. Further, the support base 136 includes a support substrate 1361 and two connection hole holders 1362. The two connection hole holders 1362 are respectively disposed on the support substrate 1361, and the connection hole holder 1362 is convex.
  • the elastic damper member 12 has an inner annular surface and an outer annular surface on the bottom surface of the support substrate 1361. The outer annular surface is provided with a concave groove 123.
  • the connecting hole holder 1362 protrudes from the bottom surface of the support substrate 1361.
  • connection hole holders 1362 can be set to two or more to strengthen the cooperation.
  • the support member 13 of the present embodiment includes a support bar 132 that intersects the radial direction of the hub 11 and forms an acute angle, and the roller 2 is attached to the end of the support bar 132. And the central axis of the roller 2 is perpendicular to the support bar 132, whereby the central axis of the roller 2 described above can be made to intersect the radial direction of the rotating member 1 and form an acute angle.
  • the support member 13 includes a mounting seat 133 for mounting the roller 2, and the mounting seat 133 is provided at the end of the support bar 132, so that the support body of the embodiment has twelve mounts 133, which can be combined with ten The two rollers 2 correspond.
  • the mounting structure between the mounting seat 133 and the corresponding roller 2 is specifically: the mounting seat 133 is provided with a mounting through hole, the center of the mounting through hole is provided with a central supporting shaft 135, the inner ring 1341 of the rolling bearing 134 and the central supporting shaft 135
  • the fixing sleeve is fixedly sleeved with the outer wall 1342 of the rolling bearing 134, and the roller 2 is fixedly coupled to the central supporting shaft 135, whereby the roller 2 can be mounted to the corresponding supporting member 13 by the rolling bearing 134.
  • the mounting seat 133 is configured to realize smooth rolling of the roller 2 under the action of the rolling bearing 134, and it is not easy to cause mutual wear between the components.
  • each of the mounting seats 133 is mounted with two rolling bearings 134, and the mounting seat 133 is installed in the through hole
  • Two mounting recesses 1331 are provided, the two rolling bearings 134 are respectively mounted in the corresponding mounting recesses 1331, and the central support shaft 135 passes through the two rolling shafts.
  • the roller 2 includes a first wheel portion 201 and a second wheel portion 202, and the first wheel portion 201 and the second wheel portion 202 are respectively provided On the two sides of the support bar 132 and the corresponding mounting seat 133, and the first wheel portion 201 and the second wheel portion 202 are fixedly connected to the central support shaft 135, respectively, and the central support shaft 135 is provided with an annular convex portion 1351, two rolling bearings.
  • the inner ring 1341 of the 134 is respectively fixedly sleeved with the annular protrusion 1351, and the roller 2 and the central support shaft 135 are screwed.
  • a fixed connection is achieved; it is noted here that only one rolling bearing 134 is illustrated in Figure 6 for ease of understanding the assembled structure between the rolling bearing 134 and the central support shaft 135.
  • the central support shaft 135 can be fixedly coupled to the mounting seat 133, and the roller 2 is sleeved on the central support shaft 135, and the roller 2 is rollingly connected with the central support shaft 135;
  • the portion 210 and the second wheel portion 202 can be rotated separately to improve steering accuracy and smoothness.
  • the side of the roller 2 opposite to the mounting seat 133 of the embodiment is provided with a first mounting slot, and the mounting seat 133 is disposed in the first mounting slot.
  • the first wheel portion 201 and the second wheel portion 202 are respectively provided with a first mounting groove on a side close to the mounting seat 133, and the mounting seat 133 is wrapped in the first mounting groove, so that the first wheel The distance between the portion 201 and the second wheel portion 202 is the shortest distance from each other.
  • a second mounting groove is further disposed in the first mounting groove of the roller 2 and the outer ring of the mounting seat 133 and the outer ring 1342 of the rolling bearing 134.
  • the second mounting groove is provided with a sealing member, and the roller 2 is sealed.
  • the member and the outer ring of the mounting seat 133 and the outer ring 1342 of the rolling bearing 134 are pressed against each other, and thus, the sealing member can effectively prevent dust from entering the inside of the rolling bearing 134 to prevent wear; moreover, the sealing member and the outer ring of the mounting seat 133 And a side surface of the outer ring 1342 of the rolling bearing 134 abutting each other also constitutes a sliding friction surface.
  • the sealing member includes a sliding friction ring 502 and a sealing rubber ring 501.
  • the other side of the sliding friction ring 502 is provided with an annular groove, and the sealing rubber ring 501 is disposed on the annular groove.
  • the sliding friction ring 502 is made of polytetrafluoroethylene
  • the sealing rubber ring 501 is made of a nitrile rubber ring
  • at least one heat dissipating groove is disposed on the sliding friction surface.
  • the sliding friction ring 502 and the mounting seat 133 have the above-mentioned sliding friction surface
  • the sliding friction ring 502 is made of polytetrafluoroethylene, which can improve the wear resistance.
  • the annular groove is disposed on the other side of the sliding friction ring 502 with respect to the sliding friction surface, and the nitrile rubber ring is disposed on the annular groove, and the nitrile rubber is installed when the roller 2 and the mounting seat 133 are locked to each other.
  • the ring is deformed to provide a pre-tightening force, which can effectively improve the sealing degree.
  • the number of the support member 13 and the roller 2 of the present invention may not be limited by the embodiment. In other embodiments, the number of the support member 13 and the roller 2 may be set to multiple (except twelve). In addition, of course, when their number is set to a number other than twelve, the acute angle formed between the support bar 132 and the radial direction of the hub 11 and the central axis of the roller 2 and the radial direction of the rotating member 1 The acute angle formed between the two can be changed accordingly to ensure that the outer contour of each roller 2 is disposed on the same circumference centered on the axle. Further, it should be noted that the radial direction of the hub 11 is also the radial direction of the rotating member 1.
  • the rotating member 1 further includes a first lateral restricting member 14 and a second lateral restricting member 15, each supporting member 13 being sandwiched between the first lateral restricting member 14 and the second side
  • the first lateral restricting member 14 and the second lateral restricting member 15 are fixedly coupled to the restricting members 15 and respectively, and specifically, the first lateral restricting members 14 and the connecting members 13 are connected to the connecting holes.
  • the seat 1362 and the second lateral restricting member 15 are fixedly connected by the long bolts 4, so that the stability of the omnidirectional wheel structure can be ensured.
  • an intermediate restricting member 112 is provided at an intermediate position of the outer circumferential surface 111 of the hub 11, and the elastic damper member 12 is provided. Two are provided.
  • the first elastic damper member 1201 is interposed between the intermediate restricting member 112 and between the first lateral restricting members 14 , the second elastic damper member 1202 is interposed between the intermediate restricting member 112 and the second lateral restricting member 15 , and thus passes through the first elastic damper members 1201 and the second
  • the action of the elastic damper member 1202 can further dampen vibrations from the ground and the like, and further suppress transmission of vibration to the axle, which can contribute to improvement in ride comfort.
  • the first lateral restricting member 14, the second lateral restricting member 15, and the intermediate restricting member 112 of the present embodiment are both plate members.
  • the omnidirectional wheel as shown in the figure is a fixed connection of the above-mentioned support members 13 by a chain 5, and the structure does not use a single plate member to connect the support members 13, which is advantageous for reducing the required production materials, and is advantageous for Further cost reduction, and the connection by means of the chain 5, can also make the support member 13 more convenient and flexible in installation calibration.
  • the chain 5 may include a plurality of link plates 51 and a plurality of link members 52, and the adjacent two link plates 51 are connected by the link members 52, so that the link plates 51 can be connected in series to the chain 5.
  • the link element 52 of the present embodiment may be a cuff; of course, in the present invention, the specific structural form of the link element 52 may not be limited by this embodiment.
  • the link element 52 It may be a structural form of a sub-chain connected by a chain link.
  • the link plate 51 protrudes from the bottom of the support base 136 of the support member 13, and the elastic shock absorbing member 12 is interposed between the link plate 51 and the intermediate restricting plate member 112, thereby enabling elastic shock absorption.
  • the fixed positioning of the member 12 in the axial direction of the hub 11; specifically, the chain 5 can be set to two, the two chains 5 can be respectively recorded as a first chain and a second chain, and the first elastic damping member 1201
  • the intermediate elastic damper member 1202 may be interposed between the intermediate restricting plate member 112 and the link plate 51 of the first chain, and the second elastic damper member 1202 may be interposed between the intermediate restricting plate member 112 and the link plate 51 of the second chain.
  • link plate 51 of the first chain and the link plate 51 of the second chain also sandwich the support member 13 between the link plate 51 of the first chain, the support member 13 and the corresponding link plate 51 of the second chain.
  • the fastening can be fastened by the long bolts 4, so that a firm connection between the support member 13 and the link plate 51 can be achieved, which in turn ensures the structural stability of the omnidirectional wheel.
  • the elastic damper member of the present embodiment includes an elastic ring body 124.
  • the elastic ring body 124 is provided with a plurality of damper holes 121, and the damper holes 121 are disposed around the central axis of the elastic ring body 124.
  • Elastic support ribs 122 are connected to the damper hole 121, and the elastic support ribs 122 are disposed along the diameter direction of the damper hole 121.
  • the above-mentioned respective damper holes 121 of the present embodiment can be arranged around the central axis of the elastic ring body 124 to form a ring of holes (see FIG. 10).
  • each of the shock absorbing holes 121 can be arranged around the central axis of the elastic ring body 124 to form at least two ring holes.
  • the number of the hole rings is set to two.
  • the adjacent two ring holes can be respectively recorded as the first ring ring and the second ring ring, and the first hole ring has the shock hole 121 and the second hole
  • the damper holes 121 of the eyelet can be staggered along the circumferential direction of the central axis of the elastic ring body 124.
  • an elastic support rib 122 connected in the damper hole 121 of the first rim and an elastic support rib 122 connected to the damper hole 121 of the second ferrule form an angle greater than 0 degrees, thereby Through the action of the shock absorbing holes 121 and the elastic supporting ribs 122, it is advantageous to further improve the shock absorbing cushioning effect, thereby facilitating the comfort of riding the vehicle.
  • the omnidirectional wheel of the embodiment may not be provided with the elastic damper member 12 described above, and if the elastic damper member 12 is not provided, the structure of the omnidirectional wheel may be simpler, which is advantageous for reducing the cost.
  • the omnidirectional wheel shown is not provided with an elastic damper member 12, in this embodiment, both ends of the hub 11 can be directly coupled to the first lateral restricting member 14 and the second lateral direction.
  • the restricting member 15 is fixedly coupled, and the hub 11 can be modified accordingly.
  • the hub 11 of the embodiment is configured to include two annular members 113, which can be oppositely disposed and joined, and the two annular members 113 may be fixedly coupled to the first lateral restricting member 14 and the second lateral restricting member 15, respectively; thus, the hub 11 is more conveniently disposed between the two lateral restricting members by being disposed as two annular members 113 assembly.
  • the annular member 113 includes a cylindrical portion and a flange plate portion, and the flange plate portion is provided at one end of the cylindrical portion, and the annular member 113 can be fixedly connected to the corresponding lateral restricting member through the flange plate portion; This fixed connection can be achieved with a screw connection.
  • the omnidirectional wheel further comprises an annular rolling member 3 for mounting an axle, the annular rolling member 3 comprising two roller bearings 32 and a central roller 31 for the socket axle, two rollers
  • the bearing 32 is sleeved on the outer wall of the center drum 31, and the center hole of the hub 11 sleeves the two roller bearings 32, so that the omnidirectional wheel can be more smoothly rolled.
  • FIG. 4 is a cross-sectional view showing the maximum diameter of the omnidirectional wheel in the radial direction (intersecting with the axial direction thereof).
  • the force point of the whole vehicle is always maintained in the outer contour part of Fig. 4 (that is, the maximum diameter of the omnidirectional wheel in the radial direction) Connect).
  • the inner corner portion 221 of the small diameter end 22 of the first roller 2a penetrates as much as possible into the concave portion 211 of the large diameter end 21 of the second roller 2b, so that the outer corner portion 222 of the small diameter end 22 of the first roller 2a and the first portion
  • the distance between the two-wheel 2b large-diameter end 21 on the outer contour is the shortest (the distance value is H) to improve the force point of the omnidirectional wheel in the process of rotating from the first roller 2a to the second roller 2b.
  • the bumps of the whole vehicle are the smallest.
  • H is a value associated with the maximum diameter of the omnidirectional wheel. In the case where the maximum diameter of the omnidirectional wheel is determined, H has a minimum value.
  • the roller 2 includes a first wheel portion 201 and a second wheel portion 202, the first wheel portion 201 and the second wheel portion 202 having equal arc lengths on the outer contour circumference of the omnidirectional wheel. Still alternatively, in another aspect, a notch is provided between the first wheel portion 201 and the second wheel portion 202, and a distance between the first wheel portion 201 and the second wheel portion 202 is equal to the above-described H value.
  • the outer surface of the roller 2 may be provided with at least two annular projections arranged in parallel
  • the pattern 23 and the spacing between the two adjacent annular ridges 23 are beneficial to improve the friction between the roller 2 and the ground to prevent the wheels from slipping.
  • a groove is formed between adjacent annular ridges 23, the width of the notch (i.e., the distance corresponding to the spacing between the two adjacent annular ridges 23) is H, where possible Next, the top width of the annular relief is also H.
  • the inventors have also conducted intensive studies on the damper technology of the omnidirectional wheel.
  • the outer ring surface of the elastic damper member of the present embodiment may be a smooth toroidal surface without providing the above-mentioned concave groove 123. Accordingly, the bottom surface of the support substrate 1361 of the support base 136 is disposed. The curved surface 131 is not protruded from the bottom surface of the support substrate 1361, so that the curved surface 131 of each support base 136 can enclose the inner circumferential surface of the support. Thereby, the outer annular surface of the elastic shock absorbing member 12 of the structural type can be in close contact with the inner circumferential surface of the support body, and further, the elastic shock absorbing member 12 can be mounted to achieve a good shock absorbing cushioning effect.
  • the elastic damper member of each structure type which is different from the omnidirectional wheel is used, and the omnidirectional wheel replaces the above-mentioned elastic damper member 12 by using the elastic damper member 12a of a novel structure.
  • the elastic damper member 12a includes a sleeve 125 and a plurality of shock absorbing ribs 126. The two adjacent shock absorbing spokes 126 form a space therebetween.
  • Each of the shock absorbing spokes 126 is connected to the sleeve 125 and surrounds the sleeve 125. Arranged, the shock absorbing spoke 126 is pressed against the support body, and the elastic damper member 12a of the structure further includes a ring sleeve 127, and the shock absorbing spoke 126 is connected between the sleeve 125 and the ring sleeve 127, and is shock absorbing.
  • the web 126 presses against the support base 136 of the support member by the collar 127; thus, when the omnidirectional wheel is subjected to vibration, the shock can be transmitted to the shock absorbing spoke due to the relationship between the adjacent two shock absorbing splines When there is a gap, the shock absorbing spline can be deformed by the vibration, thereby suppressing the transmission of the vibration to the axle of the omnidirectional wheel, so as to achieve a good shock absorbing effect.
  • the omnidirectional wheel having the elastic damper structure may not be provided with the above-mentioned hub 11, so that the elastic damper member 12a becomes a necessary component, and specifically, when installed, the elasticity can be directly reduced.
  • the sleeve 125 of the seismic member 12a sleeves the two roller bearings 32 of the above-mentioned annular rolling member 3, thereby realizing the assembly between the elastic shock absorbing member 12a having the structure of the shock absorbing spoke 126 and the annular rolling member 3.
  • the first damper strip 126 includes a first strip portion 1261 and a second strip portion 1262, and the first end of the first strip portion 1261 is coupled to the sleeve 125, the first frame
  • the second end of the strip 1261 is connected to the first end of the second strip 1262
  • the second end of the second strip 1262 is connected to the collar 127
  • the first strip 1261 and the second strip A bent corner is formed between 1262
  • the first strip portion 1261 is disposed along a radial direction of the rolling member
  • the second web portion 1262 forms an acute angle with a radial direction of the annular rolling member 3, thereby facilitating shock absorption of the specific structure.
  • the spoke 126 has a better shock absorbing effect.
  • the ring sleeve 127 can be provided with a card slot 1271, and correspondingly, for the support member of the support body of the present embodiment, the connection on the support substrate 1361 is supported.
  • the hole holder 1362 can be protruded from the bottom surface of the support substrate 1361, so that the portion of the connection hole holder 1362 protruding from the bottom surface of the support substrate 1361 can be caught in the card slot 1271 of the collar 127, A close fit between the elastic shock absorbing member 12a and each of the support members 13 of the support body is achieved.
  • the ring sleeve 127 may not be provided with the card slot 1271.
  • the bottom surface of the support substrate 1361 of the support base 136 may be correspondingly disposed as a curved surface 131, and the connection hole holder 1362 may not be from the bottom surface of the support substrate 1361. Therefore, the curved surface of each supporting base 136 can also enclose the inner circumferential surface of the supporting body, so that the ring sleeve 127 can be in close contact with the inner circumferential surface of the supporting body, thereby realizing the elastic reduction of the structure type. Assembly of seismic components.
  • the body structure of the omnidirectional wheel can be modified.
  • the main difference between the omnidirectional wheel of the modified structure and the omnidirectional wheel described above is that the structure of the roller 2 of the omnidirectional wheel of the modified structure and the assembly between the rollers 2 thereof are as described above.
  • the omnidirectional wheel is different. Specifically, the roller 2 is divided into a large diameter roller 2c and a small diameter roller 2d having a smaller diameter than the large diameter roller 2c.
  • the large diameter roller 2c and the small diameter roller 2d are alternately arranged with each other, and the large diameter roller 2c is arranged.
  • the end portion is provided with a recess 203, and a part of the end portion of the small-diameter roller 2d protrudes into the recess 203 of the large-diameter roller 2c; and, regardless of the large-diameter roller 2c or the small-diameter roller 2d, the diameter of the roller 2 is along the roller. 2
  • the center axis is gradually narrowed toward both sides.
  • the support bar 132 of the support member 13 of the omnidirectional wheel of the modified structure is disposed in the radial direction of the hub 11, and the central axis of the roller 2 is radially opposite to the hub 11.
  • the support member 13 of the present embodiment is divided into a first support member 13a for supporting the large-diameter roller 2c and a second support member 13b for supporting the small-diameter roller 2d.
  • the difference between the first support member 13a and the second support member 13b is mainly due to the difference in thickness and strength of the structure at the support bar 132.
  • the omnidirectional wheel of the modified structure may adopt any one of the elastic shock absorbing structures shown in FIG.
  • FIG. 9 or FIG. 13, and FIG. 16 does not constitute a limitation on the assembled structure thereof, and Other structures and corresponding effects of the omnidirectional wheel of the modified structure, such as the assembly structure between the roller 2 and the support member 13, the rolling bearing 134, the intermediate support shaft 135, etc., may also be related to the omnidirectional wheels described above. Consistent, no further details are provided here.
  • the omnidirectional wheel of the embodiment of the present invention can make the vehicle travel in the straight forward direction on the one hand, and can also move the vehicle in the direction orthogonal to the straight forward direction by the action of the roller 2, and further It can realize all-round movement, making the vehicle movement more flexible, and its structural design is novel and ingenious.
  • first, second, and the like are used in the present invention to describe various information, but the information should not be limited to these terms, and these terms are only used to distinguish the same type of information from each other.
  • first information may also be referred to as “second” information
  • second information may also be referred to as “first” information, without departing from the scope of the invention.

Landscapes

  • Engineering & Computer Science (AREA)
  • Mechanical Engineering (AREA)
  • Tires In General (AREA)

Abstract

A vehicle and an omnidirectional wheel thereof. The omnidirectional wheel comprises a rotating component (1) capable of rotating around a vehicle axle and multiple rollers (2) mounted on the rotating component (1). The rollers (2) can rotate freely around the central axis of selves and the central axes of the rollers (2) are provided in a plane orthogonal to the vehicle axle. The central axes of the rollers (2) intersect the radial direction of the rotating component (1) and form acute angles. The rollers (2) are correspondingly provided with a large diameter extremity (21) and a small diameter extremity (22), the diameter of the rollers (2) gradually decreases from the large diameter extremity (21) to the small diameter extremity (22), and the rollers (2) are correspondingly provided at the large diameter extremity (21) with a recess (211). With adjacent two of the rollers (2) being marked respectively as a first roller (2a) and a second roller (2b), a part of the small diameter extremity (22) of the first roller (2a) extends into the recess (211) of the large diameter extremity (21) of the second roller (2b), thus the outer contours of the rollers (2) are provided on a same circumference with the vehicle axle as the center. The omnidirectional wheel is capable of implementing omnidirectional movements of the vehicle and facilitates flexible movements of the vehicle.

Description

车辆及其全向轮Vehicle and its omnidirectional wheel 技术领域Technical field

本发明涉及一种车辆的轮子,尤其涉及一种车辆及其全向轮。The invention relates to a wheel of a vehicle, in particular to a vehicle and an omnidirectional wheel thereof.

背景技术Background technique

各类车辆(包括轮椅车等)通常都安装有轮子,轮子为车辆的一种圆形助动构件,其配上车轴给以推力可以按预定路线滚动前进。目前的轮子通常都只能沿车辆的直进方向行进,这使得车辆在其他各个方向上的移动较为不便,因而有必要设计一种更新颖的轮子来实现车辆的灵活移动。Various types of vehicles (including wheelchairs, etc.) are usually equipped with wheels, which are a circular activating member of the vehicle that is coupled with the axle to allow the thrust to roll forward on a predetermined route. Current wheels usually only travel in the straight direction of the vehicle, which makes the movement of the vehicle in other directions more inconvenient, so it is necessary to design a newer wheel to achieve flexible movement of the vehicle.

发明内容Summary of the invention

为解决上述技术问题,本发明提供一种全向轮,该全向轮能够实现车辆的全方位移动,能够方便车辆的灵活移动。In order to solve the above technical problem, the present invention provides an omnidirectional wheel capable of realizing omnidirectional movement of a vehicle and facilitating flexible movement of the vehicle.

基于此,本发明提出了一种全向轮,包括能够绕车轴旋转的旋转构件以及多个安装于所述旋转构件上的滚轮,所述滚轮可围绕自身中心轴线自由旋转,且各所述滚轮的中心轴线均设置在与所述车轴正交的平面内,所述滚轮的中心轴线与所述旋转构件的径向相交叉并形成锐角,所述滚轮具有大径端和小径端,且所述滚轮的直径沿所述大径端至所述小径端逐渐减小,所述滚轮的大径端设有凹部,将两个相邻的所述滚轮分别记为第一滚轮和第二滚轮,所述第一滚轮小径端的一部分伸入所述第二滚轮大径端的凹部内,使各所述滚轮的外轮廓均配置在以所述车轴为中心的同一圆周上。Based on this, the present invention provides an omnidirectional wheel comprising a rotating member rotatable about an axle and a plurality of rollers mounted on the rotating member, the roller being freely rotatable about a central axis thereof, and each of the rollers The central axes are each disposed in a plane orthogonal to the axle, the central axis of the roller intersecting the radial direction of the rotating member and forming an acute angle, the roller having a large diameter end and a small diameter end, and The diameter of the roller gradually decreases along the large diameter end to the small diameter end, and the large diameter end of the roller is provided with a concave portion, and the two adjacent rollers are respectively recorded as the first roller and the second roller. A portion of the small diameter end of the first roller extends into the recess of the large diameter end of the second roller such that the outer contours of the rollers are disposed on the same circumference centered on the axle.

可选的,所述滚轮的外轮廓的曲率与以所述车轴为中心的圆的曲率相一致。Optionally, the curvature of the outer contour of the roller coincides with the curvature of a circle centered on the axle.

可选的,所述第二滚轮的中心轴线与所述第一滚轮小径端所在的外部圆周相切。Optionally, a central axis of the second roller is tangent to an outer circumference of the first roller small diameter end.

可选的,所述滚轮的小径端包括有内角部和外角部,所述第一滚轮小径端的内角部伸入所述第二滚轮大径端的凹部内,所述第一滚轮小径端的外角部与所述第二滚轮的大径端之间存在间隙。Optionally, the small-diameter end of the roller includes an inner corner portion and an outer corner portion, and the inner corner portion of the small-diameter end of the first roller protrudes into the concave portion of the large-diameter end of the second roller, and the outer corner portion of the small-diameter end of the first roller is There is a gap between the large diameter ends of the second roller.

可选的,所述滚轮的外表面设有至少两个并行排布的环形凸纹,且两个相邻的所述环形凸纹之间形成间距。Optionally, the outer surface of the roller is provided with at least two annular ribs arranged in parallel, and a space is formed between two adjacent annular ridges.

可选的,所述间隙所对应的距离、所述间距所对应的距离与所述环形凸纹的顶部宽度相等。Optionally, the distance corresponding to the gap and the distance corresponding to the spacing are equal to the top width of the annular ridge.

可选的,所述旋转构件包括轮毂、弹性减震构件以及多个支承构件,各所述支承构件围绕以所述轮毂的周向均匀设置,各所述滚轮分别安装于相应的支承构件上;所述支承构件包括支承基座,所述轮毂具有外圆周面,所述弹性减震构件夹设在所述支承构件的支承基座与所述轮毂的外圆周面之间。 Optionally, the rotating member includes a hub, an elastic damper member, and a plurality of supporting members, each of the supporting members is uniformly disposed around a circumference of the hub, and each of the rollers is respectively mounted on a corresponding supporting member; The support member includes a support base having an outer circumferential surface, and the elastic shock absorbing member is interposed between a support base of the support member and an outer circumferential surface of the hub.

可选的,所述支承基座包括支承基板和连接孔座,且所述连接孔座从所述支承基板的底面凸出,所述弹性减震构件具有外环面和内环面,所述外环面上设有凹形槽,所述连接孔座卡设于所述凹形槽中,所述内环面贴紧所述轮毂的外圆周面。Optionally, the support base comprises a support substrate and a connection hole seat, and the connection hole seat protrudes from a bottom surface of the support substrate, the elastic damping member has an outer annular surface and an inner annular surface, A concave groove is formed on the outer ring surface, and the connecting hole seat is engaged in the concave groove, and the inner ring surface is in close contact with the outer circumferential surface of the hub.

可选的,所述支承构件包括支撑条,所述支撑条与所述轮毂的径向相交叉并形成锐角,所述滚轮安装于所述支撑条的端部,且所述滚轮的中心轴线与所述支撑条相垂直。Optionally, the support member includes a support bar that intersects with a radial direction of the hub and forms an acute angle, the roller is mounted at an end of the support bar, and a central axis of the roller is The support strips are perpendicular.

可选的,所述滚轮包括第一轮部和第二轮部,所述第一轮部和所述第二轮部分别安装于所述支撑条的两侧。Optionally, the roller comprises a first wheel portion and a second wheel portion, and the first wheel portion and the second wheel portion are respectively mounted on two sides of the support bar.

可选的,所述第一轮部和所述第二轮部之间形成缺口,所述缺口的宽度与所述间隙所对应的距离相等。Optionally, a gap is formed between the first wheel portion and the second wheel portion, and a width of the notch is equal to a distance corresponding to the gap.

可选的,所述旋转构件包括有第一侧向限制构件和第二侧向限制构件,所述支承构件夹设在所述第一侧向限制构件和所述第二侧向限制构件之间,所述支承构件包括有连接孔座,各所述支承构件均通过其连接孔座与所述第一侧向限制构件和所述第二侧向限制构件固定连接。Optionally, the rotating member includes a first lateral restricting member and a second lateral restricting member, the supporting member being sandwiched between the first lateral restricting member and the second lateral restricting member The support member includes a connection hole seat, and each of the support members is fixedly coupled to the first lateral restriction member and the second lateral restriction member by a connection hole seat thereof.

可选的,所述轮毂中间位置设置有中间限制构件,所述弹性减震构件设为两个,将两个所述弹性减震构件分别记为第一弹性减震构件和第二弹性减震构件,所述第一弹性减震构件夹设在所述中间限制构件和所述第一侧向限制构件之间,所述第二弹性减震构件夹设在所述中间限制构件和所述第二侧向限制构件之间。Optionally, an intermediate restriction member is disposed at an intermediate position of the hub, and the elastic damping member is configured as two, and the two elastic damping members are respectively recorded as a first elastic damping member and a second elastic damping device. a member, the first elastic damper member is interposed between the intermediate restricting member and the first lateral restricting member, and the second elastic damper member is interposed between the intermediate restricting member and the first Two laterally restricting members.

可选的,所述弹性减震构件为弹性圈本体,所述弹性圈本体上设有减震孔,所述减震孔内设置有弹性支撑肋。Optionally, the elastic damper member is an elastic ring body, and the elastic ring body is provided with a damper hole, and the damper hole is provided with an elastic support rib.

本发明还提供一种车辆,其包括上述的全向轮。The invention also provides a vehicle comprising the omnidirectional wheel described above.

实施本发明实施例,具有如下有益效果:Embodiments of the present invention have the following beneficial effects:

本发明的全向轮包括旋转构件以及多个安装于所述旋转构件上的滚轮,所述滚轮的中心轴线与所述旋转构件的径向相交叉并形成锐角,所述滚轮的直径沿所述大径端至所述小径端逐渐减小,所述第一滚轮小径端的一部分伸入所述第二滚轮大径端的凹部内,从而能够使各滚轮的外轮廓均配置在以所述车轴为中心的同一圆周上,由此,所述全向轮一方面能够使车辆沿其直进方向行进,另一方面通过所述滚轮的作用还能够使车辆沿与所述直进方向正交的方向移动,进而能够实现车辆的全方位移动,使得车辆移动更为灵活,该全向轮的结构设计新颖巧妙,其各个滚轮的结构均一致,这有利于降低制造成本。The omnidirectional wheel of the present invention includes a rotating member and a plurality of rollers mounted on the rotating member, a central axis of the roller intersecting with a radial direction of the rotating member and forming an acute angle, the diameter of the roller being along a portion of the small diameter end of the first roller extends into the recess of the large diameter end of the second roller, so that the outer contour of each roller can be disposed around the axle On the same circumference, the omnidirectional wheel can, on the one hand, enable the vehicle to travel in its straight-forward direction, and on the other hand, by the action of the roller, the vehicle can also be moved in a direction orthogonal to the straight-forward direction. In addition, the omnidirectional movement of the vehicle can be realized, and the vehicle movement is more flexible. The structural design of the omnidirectional wheel is novel and ingenious, and the structures of the respective rollers are uniform, which is advantageous for reducing the manufacturing cost.

进一步的,本发明的全向轮还设置有弹性减震构件,其能够抑制来自地面等的振动传递给车轴,有利于改善乘坐的舒适性。另外,本发明的支承构件的结构也一致,能够有利于进一步降低制造成本。Further, the omnidirectional wheel of the present invention is further provided with an elastic damper member capable of suppressing transmission of vibration from the ground or the like to the axle, which is advantageous for improving ride comfort. Further, the structure of the support member of the present invention is also uniform, and it is possible to further reduce the manufacturing cost.

本发明的车辆由于安装有上述全向轮,则其能够实现全方位的灵活移动,且同样能够降低制造成 本。Since the vehicle of the present invention is equipped with the above omnidirectional wheel, it can realize all-round flexible movement, and can also be reduced in manufacturing. this.

附图说明DRAWINGS

图1是本发明实施例所述的全向轮的整体结构示意图。1 is a schematic view showing the overall structure of an omnidirectional wheel according to an embodiment of the present invention.

图2是本发明实施例所述的全向轮在卸掉第一侧向限制构件后的装配结构图。2 is an assembled structural view of the omnidirectional wheel after the first lateral restricting member is removed, according to an embodiment of the present invention.

图3是本发明实施例所述的全向轮的分解结构示意图。3 is a schematic exploded view of an omnidirectional wheel according to an embodiment of the present invention.

图4是本发明实施例所述的全向轮的第一剖视图。4 is a first cross-sectional view of the omnidirectional wheel according to the embodiment of the present invention.

图5是本发明实施例所述的全向轮的第二剖视图。Figure 5 is a second cross-sectional view of the omnidirectional wheel in accordance with an embodiment of the present invention.

图6是本发明实施例所述的全向轮的支承构件、中心支撑轴以及滚动轴承之间的装配结构图。Fig. 6 is a view showing the assembly structure between the support member of the omnidirectional wheel, the center support shaft, and the rolling bearing according to the embodiment of the present invention.

图7是本发明实施例所述的滚轮与安装座组装体的剖视图。Figure 7 is a cross-sectional view showing the assembly of the roller and the mount according to the embodiment of the present invention.

图8是本发明实施例所述的弹性减震构件的结构示意图。FIG. 8 is a schematic structural view of an elastic shock absorbing member according to an embodiment of the present invention.

图9是本发明实施例中装配有另外一种弹性减震构件的全向轮的结构示意图。Figure 9 is a schematic view showing the structure of an omnidirectional wheel equipped with another elastic shock absorbing member in the embodiment of the present invention.

图10是图9所示全向轮的弹性减震构件的结构示意图。Figure 10 is a schematic view showing the structure of the elastic damper member of the omnidirectional wheel shown in Figure 9.

图11是图9所示全向轮的支承构件的结构示意图。Figure 11 is a schematic view showing the structure of the supporting member of the omnidirectional wheel shown in Figure 9.

图12是本发明实施例所述的装配有弹性减震部件的全向轮的整体结构示意图。Figure 12 is a schematic view showing the overall structure of an omnidirectional wheel equipped with an elastic shock absorbing member according to an embodiment of the present invention.

图13是图12所示的全向轮在卸掉第一侧向限制构件后的装配结构示意图。Figure 13 is a schematic view showing the assembled structure of the omnidirectional wheel shown in Figure 12 after the first lateral restricting member is removed.

图14是本发明实施例所述的弹性减震部件的结构示意图。Figure 14 is a schematic view showing the structure of an elastic shock absorbing member according to an embodiment of the present invention.

图15是本发明实施例所述的全向轮的一种变型结构的示意图。Figure 15 is a schematic illustration of a variation of the omnidirectional wheel in accordance with an embodiment of the present invention.

图16是图15所示的全向轮的剖视图。Figure 16 is a cross-sectional view of the omnidirectional wheel shown in Figure 15 .

图17是图15所示全向轮的支承构件、中心支撑轴以及滚动轴承之间的装配结构图。Figure 17 is an assembled structural view of the support member, the center support shaft, and the rolling bearing of the omnidirectional wheel shown in Figure 15;

图18是本发明实施例所述的未装配弹性减震构件的全向轮的剖视图。Figure 18 is a cross-sectional view of an omnidirectional wheel of an unassembled elastic shock absorbing member according to an embodiment of the present invention.

图19是图18所示全向轮的分解结构示意图。Figure 19 is an exploded perspective view of the omnidirectional wheel shown in Figure 18.

图20是本发明实施例所述的采用链条来进行结构固定的全向轮的整体结构图。Fig. 20 is a view showing the overall structure of an omnidirectional wheel which is fixed by a chain according to an embodiment of the present invention.

图21是图20所示全向轮的分解结构示意图。Figure 21 is an exploded perspective view of the omnidirectional wheel shown in Figure 20.

附图标记说明:Description of the reference signs:

1、旋转构件,11、轮毂,111、外圆周面,112、中间限制构件,113、环形构件,12、弹性减震构件,121、减震孔,122、弹性支撑肋,123、凹形槽,124、弹性圈本体,1201、第一弹性减震构件,1202、第二弹性减震构件,12a、弹性减震部件,125、套筒,126、减震幅条,1261、第一幅条部,1262、第二幅条部,127、环套,1271、卡槽,13、支承构件,131、弧形面,132、支撑条,133、安装座,1331、安装凹位,134、滚动轴承,1341、内圈,1342、外圈,135、中心支撑轴,1351、环形 凸部,136、支承基座,1361、支承基板,1362、连接孔座,13a、第一支承构件,13b、第二支承构件,14、第一侧向限制构件,15、第二侧向限制构件,2、滚轮,21、大径端,211、凹部,22、小径端,221、内角部,222、外角部,23、环形凸纹,201、第一轮部,202、第二轮部,203、凹槽,2a、第一滚轮,2b、第二滚轮,2c、大径滚轮,2d、小径滚轮,3、环形滚动件,31、中心滚筒,32、滚轮轴承,4、长螺栓,5、链条,51、链板,52、链节元件,501、密封胶圈,502、滑动摩擦环。1. Rotating member, 11, hub, 111, outer circumferential surface, 112, intermediate restricting member, 113, annular member, 12, elastic shock absorbing member, 121, shock absorbing hole, 122, elastic supporting rib, 123, concave groove , 124, elastic ring body, 1201, first elastic shock absorbing member, 1202, second elastic shock absorbing member, 12a, elastic shock absorbing member, 125, sleeve, 126, shock absorbing spoke, 1261, first strip Part, 1262, second strip, 127, ring sleeve, 1271, card slot, 13, support member, 131, curved surface, 132, support strip, 133, mount, 1331, mounting recess, 134, rolling bearing , 1341, inner ring, 1342, outer ring, 135, central support shaft, 1351, ring Projection portion 136, support base, 1361, support substrate, 1362, connection hole holder, 13a, first support member, 13b, second support member 14, first lateral restriction member, 15, second lateral restriction Member, 2, roller, 21, large diameter end, 211, recess, 22, small diameter end, 221, inner corner, 222, outer corner, 23, annular relief, 201, first wheel, 202, second wheel , 203, groove, 2a, first roller, 2b, second roller, 2c, large diameter roller, 2d, small diameter roller, 3, annular rolling member, 31, center roller, 32, roller bearing, 4, long bolt, 5, chain, 51, chain plate, 52, chain link components, 501, sealing rubber ring, 502, sliding friction ring.

具体实施方式Detailed ways

下面将结合本发明实施例中的附图,对本发明实施例中的技术方案进行清楚、完整地描述,显然,所描述的实施例仅仅是本发明一部分实施例,而不是全部的实施例。基于本发明中的实施例,本领域普通技术人员在没有作出创造性劳动前提下所获得的所有其他实施例,都属于本发明保护的范围。The technical solutions in the embodiments of the present invention are clearly and completely described in the following with reference to the accompanying drawings in the embodiments of the present invention. It is obvious that the described embodiments are only a part of the embodiments of the present invention, but not all embodiments. All other embodiments obtained by those skilled in the art based on the embodiments of the present invention without creative efforts are within the scope of the present invention.

参见图1至图5,本实施例提供一种全向轮,该全向轮可安装于轮椅车等车辆上,其包括能够绕车轴旋转的旋转构件1以及多个安装于旋转构件1上的滚轮2,滚轮2可围绕自身中心轴线自由旋转,且各滚轮2的中心轴线均设置在与车轴正交的平面内,滚轮2的中心轴线与旋转构件1的径向相交叉并形成锐角,该滚轮2具有大径端21和小径端22,且滚轮2的直径沿所述大径端21至小径端22逐渐减小而使滚轮2形成大致圆锥台状,滚轮2的大径端21设有凹部211,将两个相邻的滚轮2分别记为第一滚轮2a和第二滚轮2b,第一滚轮2a小径端22的一部分伸入第二滚轮2b大径端21的凹部211内,使各滚轮2的外轮廓均配置在以车轴为中心的同一圆周上。1 to 5, the embodiment provides an omnidirectional wheel that can be mounted on a vehicle such as a wheelchair, and includes a rotating member 1 rotatable about an axle and a plurality of mounted on the rotating member 1 The roller 2, the roller 2 is freely rotatable about its own central axis, and the central axes of the rollers 2 are all disposed in a plane orthogonal to the axle, and the central axis of the roller 2 intersects with the radial direction of the rotating member 1 and forms an acute angle. The roller 2 has a large diameter end 21 and a small diameter end 22, and the diameter of the roller 2 gradually decreases along the large diameter end 21 to the small diameter end 22 to form the roller 2 into a substantially truncated cone shape, and the large diameter end 21 of the roller 2 is provided. In the recess 211, two adjacent rollers 2 are respectively referred to as a first roller 2a and a second roller 2b, and a part of the small diameter end 22 of the first roller 2a protrudes into the concave portion 211 of the large diameter end 21 of the second roller 2b, so that each The outer contours of the rollers 2 are all arranged on the same circumference centered on the axle.

基于上述结构,则当对安装有全向轮的车辆施加推力或驱动力时,全向轮一方面能够使车辆沿其直进方向行进,另一方面通过上述滚轮2的作用还能够使车辆沿与所述直进方向正交的方向移动,进而能够实现车辆的全方位移动,使得车辆移动更为灵活,该全向轮的结构设计新颖巧妙,且其各个滚轮2的结构均可一致,有利于降低制造成本。Based on the above structure, when a thrust or a driving force is applied to the vehicle on which the omnidirectional wheel is mounted, the omnidirectional wheel can make the vehicle travel in the straight forward direction on the one hand, and can also cause the vehicle along the other side by the action of the above roller 2 Moving in a direction orthogonal to the straight direction, thereby enabling omnidirectional movement of the vehicle, making the vehicle movement more flexible, the structural design of the omnidirectional wheel is novel and ingenious, and the structure of each roller 2 can be uniform, Conducive to reducing manufacturing costs.

其中,滚轮2的小径端22包括有内角部221和外角部222,上述第一滚轮2a小径端22的内角部221伸入上述第二滚轮2b大径端21的凹部211内,第一滚轮2a小径端22的外角部222与上述第二滚轮2b的大径端21之间存在间隙,而且,各个滚轮2的外轮廓的曲率与以上述车轴为中心的圆的曲率相一致,由此,有利于实现各滚轮2的外轮廓均配置在以车轴为中心的同一圆周上,进而有利于实现全向轮的全方位灵活移动。此外,滚轮2的外表面可设有至少两个并行排布的环形凸纹23,且两个相邻的环形凸纹23之间形成间距,则有利于提升滚轮2与地面之间的摩擦力,避免轮子出现打滑。在此需要说明的是,在本实施例中,滚轮2的“外轮廓”具体是指滚轮2在静止状态下的外侧轮廓,而同样的,滚轮2小径端22的“内角部”具体是指滚轮2在静止状态下的小径端22位置位于内侧的角部,滚轮2大径端22的“外角部”具体是指滚轮2在静止状态下的小径端22位置位于外侧的角部。 The small-diameter end 22 of the roller 2 includes an inner corner portion 221 and an outer corner portion 222. The inner corner portion 221 of the small-diameter end 22 of the first roller 2a extends into the recess 211 of the large-diameter end 21 of the second roller 2b. The first roller 2a There is a gap between the outer corner portion 222 of the small diameter end 22 and the large diameter end 21 of the second roller 2b, and the curvature of the outer contour of each roller 2 coincides with the curvature of a circle centered on the axle, thereby It is advantageous to realize that the outer contours of the rollers 2 are arranged on the same circumference centered on the axle, thereby facilitating the all-round flexible movement of the omnidirectional wheel. In addition, the outer surface of the roller 2 can be provided with at least two annular ribs 23 arranged in parallel, and the spacing between the two adjacent annular ridges 23 is beneficial to improve the friction between the roller 2 and the ground. To avoid slipping on the wheels. It should be noted that in the present embodiment, the "outer contour" of the roller 2 specifically refers to the outer contour of the roller 2 in a stationary state, and similarly, the "inner corner portion" of the small diameter end 22 of the roller 2 specifically refers to The small diameter end 22 of the roller 2 in the stationary state is located at the inner corner, and the "outer corner" of the large diameter end 22 of the roller 2 specifically refers to the corner where the small diameter end 22 of the roller 2 is located at the outer side in the stationary state.

在本实施例中,旋转构件1包括轮毂11、弹性减震构件12以及支承体,支承体围绕以车轴为中心的圆周设置,各滚轮2分别安装于支承体上,弹性减震构件12夹设在轮毂11和支承体之间,由此,能够实现各滚轮2的安装,并且通过弹性减震构件12的作用能够缓冲来自地面等的振动,进而能够提高乘坐的舒适性。具体的,支承体包括十二个支承构件13,相应的,滚轮2数量也设为十二个,各支承构件13围绕轮毂11的周向均匀布置,各滚轮2分别安装在相应的支承构件13上。再结合图2、图6和图8所示,支承构件13包括支承基座136,轮毂11具有外圆周面111,上述弹性减震构件12夹设在支承构件13的支承基座136和轮毂11的外圆周面111之间;更进一步的,上述支承基座136包括支承基板1361和两个连接孔座1362,该两个连接孔座1362均设于支承基板1361上,且连接孔座1362凸出于支承基板1361的底面,上述弹性减震构件12具有内环面和外环面,该外环面上设有凹形槽123,连接孔座1362从支承基板1361的底面凸出的部位卡合于凹形槽123中,所述内环面贴紧轮毂11的外圆周面111;因而,具体实现了将滚轮2安装在支承体上,而且使弹性减震构件2与支承体的支承构件13之间紧密配合。这里需指出的是,上述连接孔座1362的数量可设为两个以上,以加强配合。In the present embodiment, the rotating member 1 includes a hub 11, an elastic damper member 12, and a support body. The support body is disposed around a circumference centered on the axle, and the rollers 2 are respectively mounted on the support body, and the elastic damper members 12 are disposed. Between the hub 11 and the support body, the mounting of the respective rollers 2 can be achieved, and the vibration from the ground or the like can be buffered by the action of the elastic damper member 12, and the ride comfort can be improved. Specifically, the support body includes twelve support members 13, and correspondingly, the number of the rollers 2 is also set to twelve, and the support members 13 are evenly arranged around the circumference of the hub 11, and the rollers 2 are respectively mounted on the corresponding support members 13 on. 2, 6 and 8, the support member 13 includes a support base 136 having an outer circumferential surface 111, and the elastic shock absorbing member 12 is sandwiched between the support base 136 of the support member 13 and the hub 11. Further, the support base 136 includes a support substrate 1361 and two connection hole holders 1362. The two connection hole holders 1362 are respectively disposed on the support substrate 1361, and the connection hole holder 1362 is convex. The elastic damper member 12 has an inner annular surface and an outer annular surface on the bottom surface of the support substrate 1361. The outer annular surface is provided with a concave groove 123. The connecting hole holder 1362 protrudes from the bottom surface of the support substrate 1361. In the concave groove 123, the inner annular surface abuts against the outer circumferential surface 111 of the hub 11; thus, the roller 2 is mounted on the support body, and the elastic damping member 2 and the support member of the support body are realized. 13 closely matched. It should be noted here that the number of the above-mentioned connection hole holders 1362 can be set to two or more to strengthen the cooperation.

参见图2、图4、图6和图7,本实施例的支承构件13包括支撑条132,支撑条132与轮毂11的径向相交叉并形成锐角,滚轮2安装于支撑条132的端部,且滚轮2的中心轴线与支撑条132相垂直,由此能够实现上述的滚轮2的中心轴线与旋转构件1的径向相交叉并形成锐角。在本实施例中,支承构件13包括有用于安装滚轮2的安装座133,安装座133设于支撑条132的端部,从而本实施例的支承体具有十二个安装座133,能够与十二个滚轮2相对应。安装座133与相应滚轮2之间的装配结构具体为:安装座133设有安装通孔,所述安装通孔的中央穿设有中心支撑轴135,滚动轴承134的内圈1341与中心支撑轴135固定套接,安装通孔的孔壁与滚动轴承134的外圈1342固定套接,滚轮2与所述中心支撑轴135固定连接,由此,能够通过滚动轴承134将滚轮2安装于相应支承构件13的安装座133,从而能够在滚动轴承134的作用下实现滚轮2的顺畅滚动,不易造成零部件之间的相互磨损,而且,由于中心支撑轴135是通过滚动轴承134的转动传递来实现转动,而滚轮2固定连接在中心支撑轴135上,因而,滚轮2不易发生松脱,其结构可靠性较高;更进一步的,每一安装座133都安装有两个滚动轴承134,安装座133的安装通孔内设有两个相背设置的安装凹位1331,两个滚动轴承134分别安装于相应的安装凹位1331中,中心支撑轴135穿过两个滚动轴承134,且两个滚动轴承134的内圈1341分别固定套接中心支撑轴135,上述滚轮2包括第一轮部201和第二轮部202,该第一轮部201和第二轮部202分别设于支撑条132及相应安装座133的两侧,且第一轮部201和第二轮部202分别固定连接中心支撑轴135,而中心支撑轴135的中间设有环形凸部1351,两个滚动轴承134的内圈1341分别固定套接环形凸部1351,而且,滚轮2与中心支撑轴135之间以螺纹连接方式 实现固定连接;这里要指出的是,为便于看清滚动轴承134与中心支撑轴135之间的装配结构,图6中仅仅示意出一个滚动轴承134。由此,能够实现可靠的转动传递结构,使滚轮2的两个轮部能更加平稳的滚动。当然,在其他实施例中,中心支撑轴135可与安装座133固定连接,而滚轮2为套设于中心支撑轴135上,且滚轮2与中心支撑轴135滚动连接;这时,第一轮部210和第二轮部202可以分别转动,以提高转向的精确度以及平顺性。Referring to FIGS. 2, 4, 6, and 7, the support member 13 of the present embodiment includes a support bar 132 that intersects the radial direction of the hub 11 and forms an acute angle, and the roller 2 is attached to the end of the support bar 132. And the central axis of the roller 2 is perpendicular to the support bar 132, whereby the central axis of the roller 2 described above can be made to intersect the radial direction of the rotating member 1 and form an acute angle. In the present embodiment, the support member 13 includes a mounting seat 133 for mounting the roller 2, and the mounting seat 133 is provided at the end of the support bar 132, so that the support body of the embodiment has twelve mounts 133, which can be combined with ten The two rollers 2 correspond. The mounting structure between the mounting seat 133 and the corresponding roller 2 is specifically: the mounting seat 133 is provided with a mounting through hole, the center of the mounting through hole is provided with a central supporting shaft 135, the inner ring 1341 of the rolling bearing 134 and the central supporting shaft 135 The fixing sleeve is fixedly sleeved with the outer wall 1342 of the rolling bearing 134, and the roller 2 is fixedly coupled to the central supporting shaft 135, whereby the roller 2 can be mounted to the corresponding supporting member 13 by the rolling bearing 134. The mounting seat 133 is configured to realize smooth rolling of the roller 2 under the action of the rolling bearing 134, and it is not easy to cause mutual wear between the components. Moreover, since the central supporting shaft 135 is rotated by the rotation of the rolling bearing 134, the roller 2 is realized. Fixedly connected to the central support shaft 135, so that the roller 2 is less likely to loosen and has high structural reliability; further, each of the mounting seats 133 is mounted with two rolling bearings 134, and the mounting seat 133 is installed in the through hole Two mounting recesses 1331 are provided, the two rolling bearings 134 are respectively mounted in the corresponding mounting recesses 1331, and the central support shaft 135 passes through the two rolling shafts. 134, and the inner ring 1341 of the two rolling bearings 134 respectively fix the sleeve central support shaft 135, the roller 2 includes a first wheel portion 201 and a second wheel portion 202, and the first wheel portion 201 and the second wheel portion 202 are respectively provided On the two sides of the support bar 132 and the corresponding mounting seat 133, and the first wheel portion 201 and the second wheel portion 202 are fixedly connected to the central support shaft 135, respectively, and the central support shaft 135 is provided with an annular convex portion 1351, two rolling bearings. The inner ring 1341 of the 134 is respectively fixedly sleeved with the annular protrusion 1351, and the roller 2 and the central support shaft 135 are screwed. A fixed connection is achieved; it is noted here that only one rolling bearing 134 is illustrated in Figure 6 for ease of understanding the assembled structure between the rolling bearing 134 and the central support shaft 135. Thereby, a reliable rotation transmission structure can be realized, and the two wheel portions of the roller 2 can be more smoothly rolled. Of course, in other embodiments, the central support shaft 135 can be fixedly coupled to the mounting seat 133, and the roller 2 is sleeved on the central support shaft 135, and the roller 2 is rollingly connected with the central support shaft 135; The portion 210 and the second wheel portion 202 can be rotated separately to improve steering accuracy and smoothness.

进一步的,参见图6和图7,本实施例的滚轮2与安装座133相对的一侧设置有第一安装槽,安装座133设置在该第一安装槽内。具体来说,上述第一轮部201和第二轮部202在与安装座133相互靠近的一侧均设置有第一安装槽,安装座133被包裹在第一安装槽内,使得第一轮部201和第二轮部202相互接近处距离最短,当全向移动轮的着地点由第一轮部201转移到第二轮部202时,可以有效提高这个过程的平顺性。而在滚轮2的第一安装槽内与安装座133的外圈以及滚动轴承134的外圈1342相互对应处还设置有第二安装槽,该第二安装槽内设置有密封构件,滚轮2通过密封构件与安装座133的外圈以及滚动轴承134的外圈1342相互压紧,因而,密封构件可以有效防止沙尘进入滚动轴承134的内部,以防止磨损;此外,该密封构件与安装座133的外圈以及滚动轴承134的外圈1342相互抵接的一侧面还构成滑动摩擦面。具体的,密封构件包括滑动摩擦环502和密封胶圈501,滑动摩擦环502的另一侧面设置有环状槽,密封胶圈501设置于该环状槽上。优选地,滑动摩擦环502为聚四氟乙烯材质,密封胶圈501采用丁腈橡胶圈,并且在滑动摩擦面设置有至少一个散热槽。滑动摩擦环502与安装座133之间具有上述滑动摩擦面,且滑动摩擦环502采用聚四氟乙烯材质,可以提高耐磨度。而在滑动摩擦环502相对于滑动摩擦面的另一侧面设置上述环状槽,且环状槽上设置上述丁腈橡胶圈,则在滚轮2与安装座133相互锁紧安装时,丁腈橡胶圈发生形变,提供预紧力,可有效提高密封度。Further, referring to FIG. 6 and FIG. 7 , the side of the roller 2 opposite to the mounting seat 133 of the embodiment is provided with a first mounting slot, and the mounting seat 133 is disposed in the first mounting slot. Specifically, the first wheel portion 201 and the second wheel portion 202 are respectively provided with a first mounting groove on a side close to the mounting seat 133, and the mounting seat 133 is wrapped in the first mounting groove, so that the first wheel The distance between the portion 201 and the second wheel portion 202 is the shortest distance from each other. When the position of the omnidirectional moving wheel is transferred from the first wheel portion 201 to the second wheel portion 202, the smoothness of the process can be effectively improved. A second mounting groove is further disposed in the first mounting groove of the roller 2 and the outer ring of the mounting seat 133 and the outer ring 1342 of the rolling bearing 134. The second mounting groove is provided with a sealing member, and the roller 2 is sealed. The member and the outer ring of the mounting seat 133 and the outer ring 1342 of the rolling bearing 134 are pressed against each other, and thus, the sealing member can effectively prevent dust from entering the inside of the rolling bearing 134 to prevent wear; moreover, the sealing member and the outer ring of the mounting seat 133 And a side surface of the outer ring 1342 of the rolling bearing 134 abutting each other also constitutes a sliding friction surface. Specifically, the sealing member includes a sliding friction ring 502 and a sealing rubber ring 501. The other side of the sliding friction ring 502 is provided with an annular groove, and the sealing rubber ring 501 is disposed on the annular groove. Preferably, the sliding friction ring 502 is made of polytetrafluoroethylene, the sealing rubber ring 501 is made of a nitrile rubber ring, and at least one heat dissipating groove is disposed on the sliding friction surface. The sliding friction ring 502 and the mounting seat 133 have the above-mentioned sliding friction surface, and the sliding friction ring 502 is made of polytetrafluoroethylene, which can improve the wear resistance. The annular groove is disposed on the other side of the sliding friction ring 502 with respect to the sliding friction surface, and the nitrile rubber ring is disposed on the annular groove, and the nitrile rubber is installed when the roller 2 and the mounting seat 133 are locked to each other. The ring is deformed to provide a pre-tightening force, which can effectively improve the sealing degree.

在此需要说明的是,本发明的支承构件13与滚轮2的数量可不受本实施例的限制,在其他实施例中,该支承构件13与滚轮2的数量可设为多个(除十二个以外),当然,当它们的数量设置为十二个以外的数量时,则支撑条132与轮毂11的径向之间形成的锐角角度以及滚轮2的中心轴线与旋转构件1的径向之间形成的锐角角度可发生相应变化,以确保各滚轮2的外轮廓配置在以车轴为中心的同一圆周上。此外,还需要指出的是,轮毂11的径向也即为旋转构件1的径向。It should be noted that the number of the support member 13 and the roller 2 of the present invention may not be limited by the embodiment. In other embodiments, the number of the support member 13 and the roller 2 may be set to multiple (except twelve). In addition, of course, when their number is set to a number other than twelve, the acute angle formed between the support bar 132 and the radial direction of the hub 11 and the central axis of the roller 2 and the radial direction of the rotating member 1 The acute angle formed between the two can be changed accordingly to ensure that the outer contour of each roller 2 is disposed on the same circumference centered on the axle. Further, it should be noted that the radial direction of the hub 11 is also the radial direction of the rotating member 1.

参见图1、图3和图5,旋转构件1还包括有第一侧向限制构件14和第二侧向限制构件15,各支承构件13夹设在第一侧向限制构件14和第二侧向限制构件15之间,且各支承构件13分别与第一侧向限制构件14和第二侧向限制构件15固定连接,具体的,第一侧向限制构件14、支承构件13的上述连接孔座1362和第二侧向限制构件15三者之间通过长螺栓4固定连接,因而能够确保全向轮结构的稳定。此外,轮毂11的外圆周面111中间位置设置有中间限制构件112,上述弹性减震构件12 设为两个,若将两个所述弹性减震构件12分别记为第一弹性减震构件1201和第二弹性减震构件1202,第一弹性减震构件1201夹设在中间限制构件112和上述第一侧向限制构件14之间,第二弹性减震构件1202夹设在中间限制构件112和上述第二侧向限制构件15之间,因而,通过第一弹性减震构件1201和第二弹性减震构件1202的作用,能够进一步缓冲来自地面等的振动,进一步抑制将振动传递给车轴,能有利于改善乘坐的舒适性。此外,本实施例的第一侧向限制构件14、第二侧向限制构件15和中间限制构件112均为板件。Referring to Figures 1, 3 and 5, the rotating member 1 further includes a first lateral restricting member 14 and a second lateral restricting member 15, each supporting member 13 being sandwiched between the first lateral restricting member 14 and the second side The first lateral restricting member 14 and the second lateral restricting member 15 are fixedly coupled to the restricting members 15 and respectively, and specifically, the first lateral restricting members 14 and the connecting members 13 are connected to the connecting holes. The seat 1362 and the second lateral restricting member 15 are fixedly connected by the long bolts 4, so that the stability of the omnidirectional wheel structure can be ensured. Further, an intermediate restricting member 112 is provided at an intermediate position of the outer circumferential surface 111 of the hub 11, and the elastic damper member 12 is provided. Two are provided. If the two elastic damper members 12 are respectively referred to as the first elastic damper member 1201 and the second elastic damper member 1202, the first elastic damper member 1201 is interposed between the intermediate restricting member 112 and Between the first lateral restricting members 14 , the second elastic damper member 1202 is interposed between the intermediate restricting member 112 and the second lateral restricting member 15 , and thus passes through the first elastic damper members 1201 and the second The action of the elastic damper member 1202 can further dampen vibrations from the ground and the like, and further suppress transmission of vibration to the axle, which can contribute to improvement in ride comfort. Further, the first lateral restricting member 14, the second lateral restricting member 15, and the intermediate restricting member 112 of the present embodiment are both plate members.

参见图20和图21,上述第一侧向限制构件14和第二侧向限制构件15也可以用链条5来进行替代。如图所示的全向轮即为通过链条5将上述各支承构件13固定连接成一体,该结构没有采用一整体板件来连接各支承构件13,有利于减少所需的生产材料,有利于进一步降低成本,而且,通过链条5的方式来进行连接,还能够使支承构件13在安装校准上更为方便灵活。上述链条5可包括多个链板51和多个链节元件52,且相邻的两个链板51之间通过链节元件52相连接,则能够将各链板51串联于链条5中,由此能够避免链板51在未进行安装时丢失,而相邻的两个支承构件13通过链板51固定连接,则能够确保相邻的两个支承构件13之间的连接稳固牢靠,进而能够确保各支承构件13固定连接成一体。本实施例的链节元件52可为链扣;当然,在本发明中,该链节元件52的具体结构形式可不受本实施例的限制,比如,在其他实施例中,该链节元件52可以是由一个个链环连接而成的子链条的结构形式。进一步的,链板51的一侧伸出于支承构件13的支承基座136底部,弹性减震构件12夹设在链板51与中间限制板件112之间,由此,能够实现弹性减震构件12在轮毂11的轴向方向上的固定定位;具体的,链条5可设为两个,该两个链条5可分别记为第一链条和第二链条,上述第一弹性减震构件1201可夹设在中间限制板件112和第一链条的链板51之间,第二弹性减震构件1202可夹设在中间限制板件112和第二链条的链板51之间。而且,第一链条的链板51与第二链条的链板51还将支承构件13夹设在中间,该第一链条的链板51、支承构件13和第二链条的相应链板51之间可通过长螺栓4紧固连接,则能够实现支承构件13与链板51之间的牢靠连接,进而也可确保全向轮在结构上的稳定。Referring to Figures 20 and 21, the first lateral restricting member 14 and the second lateral restricting member 15 described above may be replaced with a chain 5. The omnidirectional wheel as shown in the figure is a fixed connection of the above-mentioned support members 13 by a chain 5, and the structure does not use a single plate member to connect the support members 13, which is advantageous for reducing the required production materials, and is advantageous for Further cost reduction, and the connection by means of the chain 5, can also make the support member 13 more convenient and flexible in installation calibration. The chain 5 may include a plurality of link plates 51 and a plurality of link members 52, and the adjacent two link plates 51 are connected by the link members 52, so that the link plates 51 can be connected in series to the chain 5. Thereby, it is possible to prevent the link plate 51 from being lost when it is not mounted, and the adjacent two support members 13 are fixedly connected by the link plate 51, thereby ensuring that the connection between the adjacent two support members 13 is securely secured, thereby enabling It is ensured that the respective support members 13 are fixedly coupled in one body. The link element 52 of the present embodiment may be a cuff; of course, in the present invention, the specific structural form of the link element 52 may not be limited by this embodiment. For example, in other embodiments, the link element 52 It may be a structural form of a sub-chain connected by a chain link. Further, one side of the link plate 51 protrudes from the bottom of the support base 136 of the support member 13, and the elastic shock absorbing member 12 is interposed between the link plate 51 and the intermediate restricting plate member 112, thereby enabling elastic shock absorption. The fixed positioning of the member 12 in the axial direction of the hub 11; specifically, the chain 5 can be set to two, the two chains 5 can be respectively recorded as a first chain and a second chain, and the first elastic damping member 1201 The intermediate elastic damper member 1202 may be interposed between the intermediate restricting plate member 112 and the link plate 51 of the first chain, and the second elastic damper member 1202 may be interposed between the intermediate restricting plate member 112 and the link plate 51 of the second chain. Moreover, the link plate 51 of the first chain and the link plate 51 of the second chain also sandwich the support member 13 between the link plate 51 of the first chain, the support member 13 and the corresponding link plate 51 of the second chain. The fastening can be fastened by the long bolts 4, so that a firm connection between the support member 13 and the link plate 51 can be achieved, which in turn ensures the structural stability of the omnidirectional wheel.

参见图8和图10,本实施例的弹性减震构件包括弹性圈本体124,弹性圈本体124上设有多个减震孔121,各减震孔121围绕弹性圈本体124的中心轴线设置,减震孔121内连接有弹性支撑肋122,且弹性支撑肋122沿所述减震孔121的直径方向设置。具体的,本实施例的上述各减震孔121绕弹性圈本体124的中心轴线的周向排布可围成一圈孔圈(见图10)。当然,在本实施例中,上述各减震孔121绕弹性圈本体124的中心轴线的周向也可排布围成至少两圈孔圈,比如图8所示,孔圈的数量设为两圈;当孔圈的数量为两圈或两圈以上时,可将相邻的两圈孔圈分别记为第一孔圈和第二孔圈,第一孔圈的减震孔121与第二孔圈的减震孔121沿弹性圈本体124的中心轴线的周向可相互交错排布, 而且第一孔圈的减震孔121内所连接的弹性支撑肋122与第二孔圈的减震孔121内所连接的弹性支撑肋122之间形成角度大于0度的夹角,由此,通过减震孔121和弹性支撑肋122的作用,有利于进一步提升减震缓冲效果,进而有利于提升车辆乘坐的舒适性。8 and FIG. 10, the elastic damper member of the present embodiment includes an elastic ring body 124. The elastic ring body 124 is provided with a plurality of damper holes 121, and the damper holes 121 are disposed around the central axis of the elastic ring body 124. Elastic support ribs 122 are connected to the damper hole 121, and the elastic support ribs 122 are disposed along the diameter direction of the damper hole 121. Specifically, the above-mentioned respective damper holes 121 of the present embodiment can be arranged around the central axis of the elastic ring body 124 to form a ring of holes (see FIG. 10). Of course, in the embodiment, each of the shock absorbing holes 121 can be arranged around the central axis of the elastic ring body 124 to form at least two ring holes. For example, as shown in FIG. 8, the number of the hole rings is set to two. When the number of the ring rings is two or more rings, the adjacent two ring holes can be respectively recorded as the first ring ring and the second ring ring, and the first hole ring has the shock hole 121 and the second hole The damper holes 121 of the eyelet can be staggered along the circumferential direction of the central axis of the elastic ring body 124. Moreover, an elastic support rib 122 connected in the damper hole 121 of the first rim and an elastic support rib 122 connected to the damper hole 121 of the second ferrule form an angle greater than 0 degrees, thereby Through the action of the shock absorbing holes 121 and the elastic supporting ribs 122, it is advantageous to further improve the shock absorbing cushioning effect, thereby facilitating the comfort of riding the vehicle.

在此需要指出的是,本实施例的全向轮也可不设置上述的弹性减震构件12,而若不设置弹性减震构件12,则全向轮的结构会更为简单,有利于降低成本。参见图18和图19,图中所示的全向轮并未设置弹性减震构件12,在该具体实施中,轮毂11的两端可直接与第一侧向限制构件14和第二侧向限制构件15固定连接,且轮毂11可作相应改动,具体来说,该实施的轮毂11设置为包括两个环形构件113,这两个环形构件113可相对设置并相接,且两个环形构件113可分别与第一侧向限制构件14和所述第二侧向限制构件15固定连接;因而,轮毂11通过设置为两个环形构件113,能更方便与两个侧向限制构件之间的装配。更具体的,环形构件113包括圆筒部和凸缘板部,凸缘板部设于圆筒部的一端,环形构件113可通过凸缘板部与相应的侧向限制构件固定连接;而且,该固定连接可采用螺钉连接来实现。It should be noted that the omnidirectional wheel of the embodiment may not be provided with the elastic damper member 12 described above, and if the elastic damper member 12 is not provided, the structure of the omnidirectional wheel may be simpler, which is advantageous for reducing the cost. . Referring to Figures 18 and 19, the omnidirectional wheel shown is not provided with an elastic damper member 12, in this embodiment, both ends of the hub 11 can be directly coupled to the first lateral restricting member 14 and the second lateral direction. The restricting member 15 is fixedly coupled, and the hub 11 can be modified accordingly. Specifically, the hub 11 of the embodiment is configured to include two annular members 113, which can be oppositely disposed and joined, and the two annular members 113 may be fixedly coupled to the first lateral restricting member 14 and the second lateral restricting member 15, respectively; thus, the hub 11 is more conveniently disposed between the two lateral restricting members by being disposed as two annular members 113 assembly. More specifically, the annular member 113 includes a cylindrical portion and a flange plate portion, and the flange plate portion is provided at one end of the cylindrical portion, and the annular member 113 can be fixedly connected to the corresponding lateral restricting member through the flange plate portion; This fixed connection can be achieved with a screw connection.

另外,参见图1至图3,该全向轮还包括有用于安装车轴的环形滚动件3,该环形滚动件3包括两个滚轮轴承32以及用于套接车轴的中心滚筒31,两个滚轮轴承32分别套设在该中心滚筒31的外壁,轮毂11的中心孔将两个滚轮轴承32套接其中,从而能实现全向轮更加顺畅的滚动。In addition, referring to Figures 1 to 3, the omnidirectional wheel further comprises an annular rolling member 3 for mounting an axle, the annular rolling member 3 comprising two roller bearings 32 and a central roller 31 for the socket axle, two rollers The bearing 32 is sleeved on the outer wall of the center drum 31, and the center hole of the hub 11 sleeves the two roller bearings 32, so that the omnidirectional wheel can be more smoothly rolled.

此外,保证全向轮向前运动时的平顺性、减少颠簸,提高用户乘坐体验的一致性是本实施的另一个努力的方向。请参见图4,图4为本实施例所述全向轮的径向方向(与其轴向方向相交)的直径最大值处的剖视图。在全向轮运行(前后、径向或者两者的复合运动)过程中,整车的受力点始终保持在图4中的外轮廓部分(即系全向轮的径向方向的直径最大值连线)。为此,第一滚轮2a小径端22的内角部221尽量多地深入到上述第二滚轮2b大径端21的凹部211内,以使得第一滚轮2a小径端22的外角部222与所述第二滚轮2b大径端21在所述外部轮廓上的距离最短(以该距离数值为H),以提高全向轮的受力点在从第一滚轮2a转动到第二滚轮2b的过程中,整车的颠簸最小。发明人多达数十次的设计修改以及打样测试的过程中,发现当第二滚轮2b的中心轴线与第一滚轮2a小径端的外部圆周相切时,第一滚轮2a小径端22的外角部222与所述第二滚轮2b大径端21在所述外部轮廓上的距离最短(H值最小)。需要注意的是,H是一个与全向轮最大直径相关联动的数值,在全向轮最大直径确定的情况下,H具有最小值。In addition, ensuring the smoothness of the omnidirectional wheel forward movement, reducing bumps, and improving the consistency of the user's ride experience is another direction of the effort of this implementation. Referring to FIG. 4, FIG. 4 is a cross-sectional view showing the maximum diameter of the omnidirectional wheel in the radial direction (intersecting with the axial direction thereof). During the omnidirectional wheel operation (combined motion of front, rear, radial or both), the force point of the whole vehicle is always maintained in the outer contour part of Fig. 4 (that is, the maximum diameter of the omnidirectional wheel in the radial direction) Connect). Therefore, the inner corner portion 221 of the small diameter end 22 of the first roller 2a penetrates as much as possible into the concave portion 211 of the large diameter end 21 of the second roller 2b, so that the outer corner portion 222 of the small diameter end 22 of the first roller 2a and the first portion The distance between the two-wheel 2b large-diameter end 21 on the outer contour is the shortest (the distance value is H) to improve the force point of the omnidirectional wheel in the process of rotating from the first roller 2a to the second roller 2b. The bumps of the whole vehicle are the smallest. During the design modification and proofing test of the inventor for dozens of times, it was found that when the central axis of the second roller 2b is tangent to the outer circumference of the small diameter end of the first roller 2a, the outer corner portion 222 of the small diameter end 22 of the first roller 2a. The distance from the large diameter end 21 of the second roller 2b on the outer contour is the shortest (the H value is the smallest). It should be noted that H is a value associated with the maximum diameter of the omnidirectional wheel. In the case where the maximum diameter of the omnidirectional wheel is determined, H has a minimum value.

同时,为了提高全向轮运行的平顺性,发明人还做了另一部分的努力。在本实施中,在一个方面,滚轮2包括第一轮部201和第二轮部202,所述第一轮部201和第二轮部202在全向轮外部轮廓圆周上的弧长相等。又或者,在另一个方面,第一轮部201和第二轮部202之间设置有缺口,该第一轮部201和第二轮部202之间的距离与上述H值相等。滚轮2的外表面可设有至少两个并行排布的环形凸 纹23,且两个相邻的环形凸纹23之间形成间距,则有利于提升滚轮2与地面之间的摩擦力,避免轮子出现打滑。在第三个方面,相邻的环形凸纹23之间形成槽,该槽口的宽度(即上述两个相邻环形凸纹23之间的间距所对应的距离)为H,在可能的情况下,该环形凸纹的顶部宽度也为H。可以理解,在本实施中以上所述的几个方面可以排列组合进行实现。At the same time, in order to improve the smoothness of the omnidirectional wheel operation, the inventor has made another part of the effort. In the present embodiment, in one aspect, the roller 2 includes a first wheel portion 201 and a second wheel portion 202, the first wheel portion 201 and the second wheel portion 202 having equal arc lengths on the outer contour circumference of the omnidirectional wheel. Still alternatively, in another aspect, a notch is provided between the first wheel portion 201 and the second wheel portion 202, and a distance between the first wheel portion 201 and the second wheel portion 202 is equal to the above-described H value. The outer surface of the roller 2 may be provided with at least two annular projections arranged in parallel The pattern 23 and the spacing between the two adjacent annular ridges 23 are beneficial to improve the friction between the roller 2 and the ground to prevent the wheels from slipping. In a third aspect, a groove is formed between adjacent annular ridges 23, the width of the notch (i.e., the distance corresponding to the spacing between the two adjacent annular ridges 23) is H, where possible Next, the top width of the annular relief is also H. It can be understood that several aspects described above in this embodiment can be implemented in a permutation and combination.

在本实施的一个方面,发明人对全向轮的减震技术也进行了深入研究。参见图9至图11,本实施例的弹性减震构件的外环面可以为平滑的圆环面而不设置上述的凹形槽123,相应的,支承基座136的支承基板1361的底面设置为弧形面131,而上述连接孔座1362可以不从支承基板1361的底面凸出,从而,各支承基座136的弧形面131可围成支承体的内圆周面。由此,该结构类型的弹性减震构件12的外环面可贴紧该支承体的内圆周面,进而,也可实现弹性减震构件12的安装,以实现良好的减震缓冲效果。In one aspect of the present embodiment, the inventors have also conducted intensive studies on the damper technology of the omnidirectional wheel. Referring to FIG. 9 to FIG. 11 , the outer ring surface of the elastic damper member of the present embodiment may be a smooth toroidal surface without providing the above-mentioned concave groove 123. Accordingly, the bottom surface of the support substrate 1361 of the support base 136 is disposed. The curved surface 131 is not protruded from the bottom surface of the support substrate 1361, so that the curved surface 131 of each support base 136 can enclose the inner circumferential surface of the support. Thereby, the outer annular surface of the elastic shock absorbing member 12 of the structural type can be in close contact with the inner circumferential surface of the support body, and further, the elastic shock absorbing member 12 can be mounted to achieve a good shock absorbing cushioning effect.

为了实现更加良好的减震缓冲效果,以及使弹性减震的装配结构以至全向轮的装配结构更加简单可靠,发明人还对弹性减震结构作了进一步的改进努力。参见图12至图14,区别于上面全向轮所采用的各结构类型的弹性减震构件,此全向轮通过采用新型结构的弹性减震部件12a来替代上述的弹性减震构件12,该弹性减震部件12a包括套筒125以及多个减震幅条126,相邻的两个减震幅条126之间形成间隔,各减震幅条126均连接于套筒125并围绕套筒125布置,减震幅条126抵压于支承体,而且,该结构的弹性减震部件12a还包括环套127,上述减震幅条126连接在套筒125和环套127之间,且减震幅条126通过环套127抵压支承构件的支承基座136;从而,当全向轮受到震动时,能够将该震动传递给减震幅条,由于相邻的两个减震幅条之间存在间隔,则减震幅条能够因震动发生变形,进而抑制将震动传递给全向轮的车轴,以实现良好的减震缓冲效果。与之相对应的,具有该弹性减震结构的全向轮可以不设置上述的轮毂11,从而弹性减震部件12a则成为必须设置的部件,具体的,在安装时,可直接通过该弹性减震部件12a的套筒125将上述环形滚动件3的两个滚轮轴承32套接其中,以此可实现该具有减震幅条126结构的弹性减震部件12a与环形滚动件3之间的装配,从而能够减少零部件;而上述减震幅条126则包括第一幅条部1261和第二幅条部1262,该第一幅条部1261的第一端连接于套筒125,第一幅条部1261的第二端和第二幅条部1262的第一端相连,第二幅条部1262的第二端连接于上述环套127,且第一幅条部1261和第二幅条部1262之间形成弯折拐角,此第一幅条部1261沿滚动件的径向设置,第二幅条部1262与环形滚动件3的径向形成锐角,从而,该具体结构有利于实现减震幅条126更为良好的减震缓冲效果。In order to achieve a better shock absorbing cushioning effect, and to make the elastic shock absorbing assembly structure and the assembly structure of the omnidirectional wheel more simple and reliable, the inventors have made further efforts to improve the elastic shock absorbing structure. Referring to FIG. 12 to FIG. 14, the elastic damper member of each structure type which is different from the omnidirectional wheel is used, and the omnidirectional wheel replaces the above-mentioned elastic damper member 12 by using the elastic damper member 12a of a novel structure. The elastic damper member 12a includes a sleeve 125 and a plurality of shock absorbing ribs 126. The two adjacent shock absorbing spokes 126 form a space therebetween. Each of the shock absorbing spokes 126 is connected to the sleeve 125 and surrounds the sleeve 125. Arranged, the shock absorbing spoke 126 is pressed against the support body, and the elastic damper member 12a of the structure further includes a ring sleeve 127, and the shock absorbing spoke 126 is connected between the sleeve 125 and the ring sleeve 127, and is shock absorbing. The web 126 presses against the support base 136 of the support member by the collar 127; thus, when the omnidirectional wheel is subjected to vibration, the shock can be transmitted to the shock absorbing spoke due to the relationship between the adjacent two shock absorbing splines When there is a gap, the shock absorbing spline can be deformed by the vibration, thereby suppressing the transmission of the vibration to the axle of the omnidirectional wheel, so as to achieve a good shock absorbing effect. Correspondingly, the omnidirectional wheel having the elastic damper structure may not be provided with the above-mentioned hub 11, so that the elastic damper member 12a becomes a necessary component, and specifically, when installed, the elasticity can be directly reduced. The sleeve 125 of the seismic member 12a sleeves the two roller bearings 32 of the above-mentioned annular rolling member 3, thereby realizing the assembly between the elastic shock absorbing member 12a having the structure of the shock absorbing spoke 126 and the annular rolling member 3. The first damper strip 126 includes a first strip portion 1261 and a second strip portion 1262, and the first end of the first strip portion 1261 is coupled to the sleeve 125, the first frame The second end of the strip 1261 is connected to the first end of the second strip 1262, the second end of the second strip 1262 is connected to the collar 127, and the first strip 1261 and the second strip A bent corner is formed between 1262, the first strip portion 1261 is disposed along a radial direction of the rolling member, and the second web portion 1262 forms an acute angle with a radial direction of the annular rolling member 3, thereby facilitating shock absorption of the specific structure. The spoke 126 has a better shock absorbing effect.

此外,在该具有减震幅条126的弹性减震结构中,其环套127可设有卡槽1271,相应的,对于本实施的支承体的支承构件而言,其支承基板1361上的连接孔座1362可从支承基板1361的底面凸出,从而该连接孔座1362从上述支承基板1361的底面凸出的部位可卡设于环套127的卡槽1271中,以 实现弹性减震部件12a与支承体的各支承构件13之间的紧密配合。当然,环套127上也可不设置卡槽1271,在该情况下,支承基座136的支承基板1361的底面可相应设置为弧形面131,且连接孔座1362可以不从支承基板1361的底面凸出,从而,各支承基座136的弧形面也相应可围成上述支承体的内圆周面,从而,环套127可贴紧该支承体的内圆周面,实现该结构类型的弹性减震部件的装配。In addition, in the elastic shock absorbing structure having the shock absorbing spoke 126, the ring sleeve 127 can be provided with a card slot 1271, and correspondingly, for the support member of the support body of the present embodiment, the connection on the support substrate 1361 is supported. The hole holder 1362 can be protruded from the bottom surface of the support substrate 1361, so that the portion of the connection hole holder 1362 protruding from the bottom surface of the support substrate 1361 can be caught in the card slot 1271 of the collar 127, A close fit between the elastic shock absorbing member 12a and each of the support members 13 of the support body is achieved. Of course, the ring sleeve 127 may not be provided with the card slot 1271. In this case, the bottom surface of the support substrate 1361 of the support base 136 may be correspondingly disposed as a curved surface 131, and the connection hole holder 1362 may not be from the bottom surface of the support substrate 1361. Therefore, the curved surface of each supporting base 136 can also enclose the inner circumferential surface of the supporting body, so that the ring sleeve 127 can be in close contact with the inner circumferential surface of the supporting body, thereby realizing the elastic reduction of the structure type. Assembly of seismic components.

在本实施的另一方面,全向轮的主体结构可以进行变型。参见图15至图17,该变型结构的全向轮与上面所描述的全向轮的主要区别在于:该变型结构的全向轮的滚轮2结构及其各滚轮2之间的装配与上述的全向轮存在不同,具体来说,其滚轮2分为大径滚轮2c以及比大径滚轮2c直径小的小径滚轮2d,大径滚轮2c和小径滚轮2d相互交错布置,且大径滚轮2c的端部的设有凹槽203,小径滚轮2d的端部的一部分伸入大径滚轮2c的凹槽203内;而且,无论大径滚轮2c还是小径滚轮2d,其滚轮2的直径均沿该滚轮2中心轴线的中间向两侧逐渐缩小,另外,该变型结构的全向轮的支承构件13的支撑条132为沿轮毂11的径向设置,而滚轮2的中心轴线与轮毂11的径向相交叉并相垂直,这样的设置均是为了确保各滚轮2的外轮廓能够配置在以车轴为中心的同一圆周上。此外,为适应大径滚轮2c和小径滚轮2d的安装,本实施例的支承构件13分为用于支撑大径滚轮2c的第一支承构件13a和用于支撑小径滚轮2d的第二支承构件13b,该第一支承构件13a和第二支承构件13b的区别主要在于支撑条132处的结构厚度和强度存有差别。这里需要指出的是,该变型结构的全向轮可以采用图2、图9或图13中所示的任意一种弹性减震结构,图16并不构成对其装配结构的限制,而且,该变型结构的全向轮的其他结构及相应效果,比如其滚轮2与支承构件13、滚动轴承134、中间支撑轴135之间的装配结构等等,也可与上面所描述的各全向轮的相一致,此处不再另行赘述。In another aspect of the present embodiment, the body structure of the omnidirectional wheel can be modified. Referring to Figures 15 to 17, the main difference between the omnidirectional wheel of the modified structure and the omnidirectional wheel described above is that the structure of the roller 2 of the omnidirectional wheel of the modified structure and the assembly between the rollers 2 thereof are as described above. The omnidirectional wheel is different. Specifically, the roller 2 is divided into a large diameter roller 2c and a small diameter roller 2d having a smaller diameter than the large diameter roller 2c. The large diameter roller 2c and the small diameter roller 2d are alternately arranged with each other, and the large diameter roller 2c is arranged. The end portion is provided with a recess 203, and a part of the end portion of the small-diameter roller 2d protrudes into the recess 203 of the large-diameter roller 2c; and, regardless of the large-diameter roller 2c or the small-diameter roller 2d, the diameter of the roller 2 is along the roller. 2 The center axis is gradually narrowed toward both sides. In addition, the support bar 132 of the support member 13 of the omnidirectional wheel of the modified structure is disposed in the radial direction of the hub 11, and the central axis of the roller 2 is radially opposite to the hub 11. The crossings are perpendicular to each other, and such an arrangement is to ensure that the outer contour of each roller 2 can be disposed on the same circumference centered on the axle. Further, in order to accommodate the mounting of the large-diameter roller 2c and the small-diameter roller 2d, the support member 13 of the present embodiment is divided into a first support member 13a for supporting the large-diameter roller 2c and a second support member 13b for supporting the small-diameter roller 2d. The difference between the first support member 13a and the second support member 13b is mainly due to the difference in thickness and strength of the structure at the support bar 132. It should be noted here that the omnidirectional wheel of the modified structure may adopt any one of the elastic shock absorbing structures shown in FIG. 2, FIG. 9 or FIG. 13, and FIG. 16 does not constitute a limitation on the assembled structure thereof, and Other structures and corresponding effects of the omnidirectional wheel of the modified structure, such as the assembly structure between the roller 2 and the support member 13, the rolling bearing 134, the intermediate support shaft 135, etc., may also be related to the omnidirectional wheels described above. Consistent, no further details are provided here.

综上,本发明实施例的全向轮一方面能够使车辆沿其直进方向行进,另一方面通过上述滚轮2的作用还能够使车辆沿与所述直进方向正交的方向移动,进而能够实现全方位移动,使得车辆移动更为灵活,其结构设计新颖巧妙。In summary, the omnidirectional wheel of the embodiment of the present invention can make the vehicle travel in the straight forward direction on the one hand, and can also move the vehicle in the direction orthogonal to the straight forward direction by the action of the roller 2, and further It can realize all-round movement, making the vehicle movement more flexible, and its structural design is novel and ingenious.

应当理解的是,本发明中采用术语“第一”、“第二”等来描述各种信息,但这些信息不应限于这些术语,这些术语仅用来将同一类型的信息彼此区分开。例如,在不脱离本发明范围的情况下,“第一”信息也可以被称为“第二”信息,类似的,“第二”信息也可以被称为“第一”信息。It should be understood that the terms "first", "second", and the like are used in the present invention to describe various information, but the information should not be limited to these terms, and these terms are only used to distinguish the same type of information from each other. For example, "first" information may also be referred to as "second" information, and similarly, "second" information may also be referred to as "first" information, without departing from the scope of the invention.

以上所述是本发明的优选实施方式,应当指出,对于本技术领域的普通技术人员来说,在不脱离本发明原理的前提下,还可以做出若干改进和变形,这些改进和变形也视为本发明的保护范围。 The above is a preferred embodiment of the present invention, and it should be noted that those skilled in the art can also make several improvements and modifications without departing from the principles of the present invention. It is the scope of protection of the present invention.

Claims (15)

一种全向轮,其特征在于,包括能够绕车轴旋转的旋转构件以及多个安装于所述旋转构件上的滚轮,所述滚轮可围绕自身中心轴线自由旋转,且各所述滚轮的中心轴线均设置在与所述车轴正交的平面内,所述滚轮的中心轴线与所述旋转构件的径向相交叉并形成锐角,所述滚轮具有大径端和小径端,且所述滚轮的直径沿所述大径端至所述小径端逐渐减小,所述滚轮的大径端设有凹部,将两个相邻的所述滚轮分别记为第一滚轮和第二滚轮,所述第一滚轮小径端的一部分伸入所述第二滚轮大径端的凹部内,使各所述滚轮的外轮廓均配置在以所述车轴为中心的同一圆周上。An omnidirectional wheel comprising: a rotating member rotatable about an axle and a plurality of rollers mounted on the rotating member, the roller being freely rotatable about a central axis thereof, and a central axis of each of the rollers Both are disposed in a plane orthogonal to the axle, the central axis of the roller intersects with the radial direction of the rotating member and forms an acute angle, the roller has a large diameter end and a small diameter end, and the diameter of the roller And gradually decreasing along the large diameter end to the small diameter end, the large diameter end of the roller is provided with a concave portion, and two adjacent rollers are respectively recorded as a first roller and a second roller, the first A portion of the small diameter end of the roller extends into the recess of the large diameter end of the second roller such that the outer contours of the rollers are disposed on the same circumference centered on the axle. 根据权利要求1所述的全向轮,其特征在于,所述滚轮的外轮廓的曲率与以所述车轴为中心的圆的曲率相一致。The omnidirectional wheel of claim 1 wherein the curvature of the outer contour of the roller coincides with the curvature of a circle centered on the axle. 根据权利要求1所述的全向轮,其特征在于,所述第二滚轮的中心轴线与所述第一滚轮小径端所在的外部圆周相切。The omnidirectional wheel according to claim 1, wherein a center axis of said second roller is tangent to an outer circumference of said first roller small diameter end. 根据权利要求1所述的全向轮,其特征在于,所述滚轮的小径端包括有内角部和外角部,所述第一滚轮小径端的内角部伸入所述第二滚轮大径端的凹部内,所述第一滚轮小径端的外角部与所述第二滚轮的大径端之间存在间隙。The omnidirectional wheel according to claim 1, wherein the small diameter end of the roller comprises an inner corner portion and an outer corner portion, and the inner corner portion of the small diameter end of the first roller protrudes into the concave portion of the large diameter end of the second roller There is a gap between the outer corner of the small diameter end of the first roller and the large diameter end of the second roller. 根据权利要求4所述的全向轮,其特征在于,所述滚轮的外表面设有至少两个并行排布的环形凸纹,且两个相邻的所述环形凸纹之间形成间距。The omnidirectional wheel according to claim 4, wherein the outer surface of the roller is provided with at least two annular ribs arranged in parallel, and a space is formed between two adjacent annular ridges. 根据权利要求5所述的全向轮,其特征在于,所述间隙所对应的距离、所述间距所对应的距离与所述环形凸纹的顶部宽度相等。The omnidirectional wheel according to claim 5, wherein the distance corresponding to the gap and the distance corresponding to the pitch are equal to the top width of the annular ridge. 根据权利要求4至6任一项所述的全向轮,其特征在于,所述旋转构件包括轮毂、弹性减震构件以及多个支承构件,各所述支承构件围绕以所述轮毂的周向均匀设置,各所述滚轮分别安装于相应的支承构件上;所述支承构件包括支承基座,所述轮毂具有外圆周面,所述弹性减震构件夹设在所述支承构件的支承基座与所述轮毂的外圆周面之间。The omnidirectional wheel according to any one of claims 4 to 6, wherein the rotating member comprises a hub, an elastic damper member, and a plurality of supporting members, each of the supporting members surrounding a circumference of the hub Evenly disposed, each of the rollers is respectively mounted on a corresponding support member; the support member includes a support base, the hub has an outer circumferential surface, and the elastic shock absorbing member is sandwiched on a support base of the support member Between the outer circumferential surface of the hub. 根据权利要求7所述的全向轮,其特征在于,所述支承基座包括支承基板和连接孔座,且所述连接孔座从所述支承基板的底面凸出,所述弹性减震构件具有外环面和内环面,所述外环面上设有凹形槽,所述连接孔座卡设于所述凹形槽中,所述内环面贴紧所述轮毂的外圆周面。The omnidirectional wheel according to claim 7, wherein the support base comprises a support substrate and a connection hole holder, and the connection hole holder protrudes from a bottom surface of the support substrate, the elastic shock absorbing member An outer annular surface and an inner annular surface, wherein the outer annular surface is provided with a concave groove, the connecting hole seat is engaged in the concave groove, and the inner annular surface is in close contact with the outer circumferential surface of the hub . 根据权利要求7所述的全向轮,其特征在于,所述支承构件包括支撑条,所述支撑条与所述轮毂的径向相交叉并形成锐角,所述滚轮安装于所述支撑条的端部,且所述滚轮的中心轴线与所述支撑条相垂直。The omnidirectional wheel according to claim 7, wherein said support member comprises a support bar, said support bar intersecting a radial direction of said hub and forming an acute angle, said roller being mounted to said support bar An end portion, and a center axis of the roller is perpendicular to the support strip. 根据权利要求9所述的全向轮,其特征在于,所述滚轮包括第一轮部和第二轮部,所述第一轮部和所述第二轮部分别安装于所述支撑条的两侧。 The omnidirectional wheel according to claim 9, wherein the roller comprises a first wheel portion and a second wheel portion, and the first wheel portion and the second wheel portion are respectively mounted to the support bar On both sides. 根据权利要求10所述的全向轮,其特征在于,所述第一轮部和所述第二轮部之间形成缺口,所述缺口的宽度与所述间隙所对应的距离相等。The omnidirectional wheel according to claim 10, wherein a gap is formed between the first wheel portion and the second wheel portion, and a width of the notch is equal to a distance corresponding to the gap. 根据权利要求7所述的全向轮,其特征在于,所述旋转构件包括有第一侧向限制构件和第二侧向限制构件,所述支承构件夹设在所述第一侧向限制构件和所述第二侧向限制构件之间,所述支承构件包括有连接孔座,各所述支承构件均通过其连接孔座与所述第一侧向限制构件和所述第二侧向限制构件固定连接。The omnidirectional wheel according to claim 7, wherein the rotating member includes a first lateral restricting member and a second lateral restricting member, the supporting member being interposed on the first lateral restricting member And the second lateral restricting member, the supporting member includes a connecting hole seat, each of the supporting members passing through the connecting hole seat and the first lateral restricting member and the second lateral restriction The components are fixedly connected. 根据权利要求12所述的全向轮,其特征在于,所述轮毂中间位置设置有中间限制构件,所述弹性减震构件设为两个,将两个所述弹性减震构件分别记为第一弹性减震构件和第二弹性减震构件,所述第一弹性减震构件夹设在所述中间限制构件和所述第一侧向限制构件之间,所述第二弹性减震构件夹设在所述中间限制构件和所述第二侧向限制构件之间。The omnidirectional wheel according to claim 12, wherein the intermediate position of the hub is provided with an intermediate restricting member, and the elastic damper members are provided as two, and the two elastic damper members are respectively referred to as An elastic damper member and a second elastic damper member interposed between the intermediate restricting member and the first lateral restricting member, the second elastic damper member clip Provided between the intermediate restricting member and the second lateral restricting member. 根据权利要求7所述的全向轮,其特征在于,所述弹性减震构件为弹性圈本体,所述弹性圈本体上设有减震孔,所述减震孔内设置有弹性支撑肋。The omnidirectional wheel according to claim 7, wherein the elastic damper member is an elastic ring body, the elastic ring body is provided with a damper hole, and the damper hole is provided with an elastic support rib. 一种车辆,其特征在于,包括如权利要求1至14任一项所述的全向轮。 A vehicle characterized by comprising the omnidirectional wheel according to any one of claims 1 to 14.
PCT/CN2017/104256 2017-07-28 2017-09-29 Vehicle and omnidirectional wheel thereof Ceased WO2019019362A1 (en)

Applications Claiming Priority (2)

Application Number Priority Date Filing Date Title
CN201710632525.0 2017-07-28
CN201710632525.0A CN107364279B (en) 2017-07-28 2017-07-28 Vehicles and their omnidirectional wheels

Publications (1)

Publication Number Publication Date
WO2019019362A1 true WO2019019362A1 (en) 2019-01-31

Family

ID=60307851

Family Applications (1)

Application Number Title Priority Date Filing Date
PCT/CN2017/104256 Ceased WO2019019362A1 (en) 2017-07-28 2017-09-29 Vehicle and omnidirectional wheel thereof

Country Status (2)

Country Link
CN (1) CN107364279B (en)
WO (1) WO2019019362A1 (en)

Cited By (1)

* Cited by examiner, † Cited by third party
Publication number Priority date Publication date Assignee Title
US12202295B1 (en) * 2021-03-22 2025-01-21 Amazon Technologies, Inc. Omni-directional wheel with compliant structure for rough terrain

Families Citing this family (4)

* Cited by examiner, † Cited by third party
Publication number Priority date Publication date Assignee Title
JP6932170B2 (en) * 2019-11-08 2021-09-08 Whill株式会社 Omni-directional wheels
JP7301026B2 (en) * 2020-06-26 2023-06-30 ダイハツ工業株式会社 omnidirectional wheels
CN114074500A (en) * 2020-08-12 2022-02-22 北京无疆科技有限公司 Omnidirectional wheel and scooter with same
CN117124769A (en) * 2023-06-01 2023-11-28 维森(常州)健康科技有限公司 Low-cost omni-wheel and mobile tool using same

Citations (7)

* Cited by examiner, † Cited by third party
Publication number Priority date Publication date Assignee Title
CN202623789U (en) * 2012-06-19 2012-12-26 杭州电子科技大学 Novel omni-directional wheel structure
JP2015205542A (en) * 2014-04-17 2015-11-19 トヨタ自動車東日本株式会社 Movable body
CN206307196U (en) * 2016-12-23 2017-07-07 桂林电子科技大学 Can omnibearing movable single wheel mechanism of car
CN206983647U (en) * 2017-07-28 2018-02-09 广州视源电子科技股份有限公司 Vehicle and shock absorbing mechanism thereof
CN207106036U (en) * 2017-07-28 2018-03-16 广州视源电子科技股份有限公司 Omnidirectional wheel
CN207106028U (en) * 2017-07-28 2018-03-16 广州视源电子科技股份有限公司 Elastic damping component and omni wheel comprising same
CN207106029U (en) * 2017-07-28 2018-03-16 广州视源电子科技股份有限公司 Vehicle and omni wheel thereof

Family Cites Families (4)

* Cited by examiner, † Cited by third party
Publication number Priority date Publication date Assignee Title
JP4459245B2 (en) * 2007-02-28 2010-04-28 関東自動車工業株式会社 Omnidirectional wheel
JP5687325B1 (en) * 2013-11-08 2015-03-18 Whill株式会社 Omnidirectional moving wheel and omnidirectional moving vehicle equipped with the same
JP5988952B2 (en) * 2013-11-14 2016-09-07 本田技研工業株式会社 Wheel, wheel device and inverted pendulum type vehicle
JP2017128327A (en) * 2016-01-18 2017-07-27 株式会社富士製作所 Omnidirectional movement wheel, omnidirectional movement wheel pair and omnidirectional movement vehicle comprising the same

Patent Citations (7)

* Cited by examiner, † Cited by third party
Publication number Priority date Publication date Assignee Title
CN202623789U (en) * 2012-06-19 2012-12-26 杭州电子科技大学 Novel omni-directional wheel structure
JP2015205542A (en) * 2014-04-17 2015-11-19 トヨタ自動車東日本株式会社 Movable body
CN206307196U (en) * 2016-12-23 2017-07-07 桂林电子科技大学 Can omnibearing movable single wheel mechanism of car
CN206983647U (en) * 2017-07-28 2018-02-09 广州视源电子科技股份有限公司 Vehicle and shock absorbing mechanism thereof
CN207106036U (en) * 2017-07-28 2018-03-16 广州视源电子科技股份有限公司 Omnidirectional wheel
CN207106028U (en) * 2017-07-28 2018-03-16 广州视源电子科技股份有限公司 Elastic damping component and omni wheel comprising same
CN207106029U (en) * 2017-07-28 2018-03-16 广州视源电子科技股份有限公司 Vehicle and omni wheel thereof

Cited By (1)

* Cited by examiner, † Cited by third party
Publication number Priority date Publication date Assignee Title
US12202295B1 (en) * 2021-03-22 2025-01-21 Amazon Technologies, Inc. Omni-directional wheel with compliant structure for rough terrain

Also Published As

Publication number Publication date
CN107364279A (en) 2017-11-21
CN107364279B (en) 2023-08-25

Similar Documents

Publication Publication Date Title
WO2019019362A1 (en) Vehicle and omnidirectional wheel thereof
JP5687325B1 (en) Omnidirectional moving wheel and omnidirectional moving vehicle equipped with the same
US9527344B1 (en) Terrain resilient wheel maintaining a uniform elevation
JP6839847B2 (en) Omni-directional moving wheels and omnidirectional moving vehicles equipped with them
CN207106029U (en) Vehicle and omni wheel thereof
JP5405431B2 (en) Traveling wheel
CN207106036U (en) Omnidirectional wheel
CN207106028U (en) Elastic damping component and omni wheel comprising same
WO2019019363A1 (en) Omnidirectional moving wheel
CN207106035U (en) Vehicle and all-directional moving wheel thereof
US12415380B2 (en) Wheel and mobility including the same
CN207241301U (en) Omnidirectional moving wheel
CN206983610U (en) Vehicle and omnidirectional moving wheel thereof
CN207106030U (en) Elastic damping part and omni-directional moving wheel comprising same
JP5514303B2 (en) Bicycle hub device
CN210851871U (en) Assembled single-row omnidirectional wheel
US20250332877A1 (en) Vehicle suspension device
CN215096779U (en) Omni wheel and mobile equipment
TWM572836U (en) Double-row omni-directional wheel with damping effect
WO2018021189A1 (en) Spring seat support structure
TW202003282A (en) Omnidirectional wheel comprising a wheel seat and a plurality of roller devices that each is provided with a cushioning and shock-absorbing effect
JP4321503B2 (en) Suspension bearing
JP7282276B1 (en) Omni-directional wheel and moving device
JP6455828B2 (en) Traveling mechanism
JP2022039075A (en) Omnidirectional wheel

Legal Events

Date Code Title Description
121 Ep: the epo has been informed by wipo that ep was designated in this application

Ref document number: 17918975

Country of ref document: EP

Kind code of ref document: A1

NENP Non-entry into the national phase

Ref country code: DE

122 Ep: pct application non-entry in european phase

Ref document number: 17918975

Country of ref document: EP

Kind code of ref document: A1