WO2018173441A1 - 搬送システム - Google Patents
搬送システム Download PDFInfo
- Publication number
- WO2018173441A1 WO2018173441A1 PCT/JP2018/001455 JP2018001455W WO2018173441A1 WO 2018173441 A1 WO2018173441 A1 WO 2018173441A1 JP 2018001455 W JP2018001455 W JP 2018001455W WO 2018173441 A1 WO2018173441 A1 WO 2018173441A1
- Authority
- WO
- WIPO (PCT)
- Prior art keywords
- conveyor
- load
- unit
- package
- sub
- Prior art date
- Legal status (The legal status is an assumption and is not a legal conclusion. Google has not performed a legal analysis and makes no representation as to the accuracy of the status listed.)
- Ceased
Links
Images
Classifications
-
- B—PERFORMING OPERATIONS; TRANSPORTING
- B65—CONVEYING; PACKING; STORING; HANDLING THIN OR FILAMENTARY MATERIAL
- B65G—TRANSPORT OR STORAGE DEVICES, e.g. CONVEYORS FOR LOADING OR TIPPING, SHOP CONVEYOR SYSTEMS OR PNEUMATIC TUBE CONVEYORS
- B65G47/00—Article or material-handling devices associated with conveyors; Methods employing such devices
- B65G47/74—Feeding, transfer, or discharging devices of particular kinds or types
- B65G47/90—Devices for picking-up and depositing articles or materials
- B65G47/905—Control arrangements
-
- B—PERFORMING OPERATIONS; TRANSPORTING
- B65—CONVEYING; PACKING; STORING; HANDLING THIN OR FILAMENTARY MATERIAL
- B65G—TRANSPORT OR STORAGE DEVICES, e.g. CONVEYORS FOR LOADING OR TIPPING, SHOP CONVEYOR SYSTEMS OR PNEUMATIC TUBE CONVEYORS
- B65G61/00—Use of pick-up or transfer devices or of manipulators for stacking or de-stacking articles not otherwise provided for
-
- B—PERFORMING OPERATIONS; TRANSPORTING
- B25—HAND TOOLS; PORTABLE POWER-DRIVEN TOOLS; MANIPULATORS
- B25J—MANIPULATORS; CHAMBERS PROVIDED WITH MANIPULATION DEVICES
- B25J9/00—Programme-controlled manipulators
- B25J9/0093—Programme-controlled manipulators co-operating with conveyor means
-
- B—PERFORMING OPERATIONS; TRANSPORTING
- B65—CONVEYING; PACKING; STORING; HANDLING THIN OR FILAMENTARY MATERIAL
- B65G—TRANSPORT OR STORAGE DEVICES, e.g. CONVEYORS FOR LOADING OR TIPPING, SHOP CONVEYOR SYSTEMS OR PNEUMATIC TUBE CONVEYORS
- B65G37/00—Combinations of mechanical conveyors of the same kind, or of different kinds, of interest apart from their application in particular machines or use in particular manufacturing processes
-
- G—PHYSICS
- G05—CONTROLLING; REGULATING
- G05B—CONTROL OR REGULATING SYSTEMS IN GENERAL; FUNCTIONAL ELEMENTS OF SUCH SYSTEMS; MONITORING OR TESTING ARRANGEMENTS FOR SUCH SYSTEMS OR ELEMENTS
- G05B19/00—Programme-control systems
- G05B19/02—Programme-control systems electric
- G05B19/418—Total factory control, i.e. centrally controlling a plurality of machines, e.g. direct or distributed numerical control [DNC], flexible manufacturing systems [FMS], integrated manufacturing systems [IMS] or computer integrated manufacturing [CIM]
- G05B19/41815—Total factory control, i.e. centrally controlling a plurality of machines, e.g. direct or distributed numerical control [DNC], flexible manufacturing systems [FMS], integrated manufacturing systems [IMS] or computer integrated manufacturing [CIM] characterised by the cooperation between machine tools, manipulators and conveyor or other workpiece supply system, workcell
- G05B19/4182—Total factory control, i.e. centrally controlling a plurality of machines, e.g. direct or distributed numerical control [DNC], flexible manufacturing systems [FMS], integrated manufacturing systems [IMS] or computer integrated manufacturing [CIM] characterised by the cooperation between machine tools, manipulators and conveyor or other workpiece supply system, workcell manipulators and conveyor only
-
- G—PHYSICS
- G05—CONTROLLING; REGULATING
- G05B—CONTROL OR REGULATING SYSTEMS IN GENERAL; FUNCTIONAL ELEMENTS OF SUCH SYSTEMS; MONITORING OR TESTING ARRANGEMENTS FOR SUCH SYSTEMS OR ELEMENTS
- G05B2219/00—Program-control systems
- G05B2219/30—Nc systems
- G05B2219/39—Robotics, robotics to robotics hand
- G05B2219/39107—Pick up article, object, measure, test it during motion path, place it
-
- G—PHYSICS
- G05—CONTROLLING; REGULATING
- G05B—CONTROL OR REGULATING SYSTEMS IN GENERAL; FUNCTIONAL ELEMENTS OF SUCH SYSTEMS; MONITORING OR TESTING ARRANGEMENTS FOR SUCH SYSTEMS OR ELEMENTS
- G05B2219/00—Program-control systems
- G05B2219/30—Nc systems
- G05B2219/45—Nc applications
- G05B2219/45054—Handling, conveyor
-
- Y—GENERAL TAGGING OF NEW TECHNOLOGICAL DEVELOPMENTS; GENERAL TAGGING OF CROSS-SECTIONAL TECHNOLOGIES SPANNING OVER SEVERAL SECTIONS OF THE IPC; TECHNICAL SUBJECTS COVERED BY FORMER USPC CROSS-REFERENCE ART COLLECTIONS [XRACs] AND DIGESTS
- Y02—TECHNOLOGIES OR APPLICATIONS FOR MITIGATION OR ADAPTATION AGAINST CLIMATE CHANGE
- Y02P—CLIMATE CHANGE MITIGATION TECHNOLOGIES IN THE PRODUCTION OR PROCESSING OF GOODS
- Y02P90/00—Enabling technologies with a potential contribution to greenhouse gas [GHG] emissions mitigation
- Y02P90/02—Total factory control, e.g. smart factories, flexible manufacturing systems [FMS] or integrated manufacturing systems [IMS]
Definitions
- Embodiment of this invention is related with a conveyance system.
- a transport system equipped with a robot apparatus that takes out accumulated packages and transports them to a target location such as a belt conveyor at a distribution center or the like is known.
- the conveyance system is expected to speed up the conveyance process.
- the problem to be solved by the present invention is to provide a transport system capable of speeding up the transport process.
- the conveyance system of the embodiment includes a robot apparatus, a second conveyor, and a control unit.
- the robot apparatus includes a holding unit capable of holding a load and an arm for moving the holding unit, and is provided in a second direction different from the first direction with respect to a first conveyor extending in the first direction. Is done.
- the second conveyor is provided side by side in the first direction with respect to the robot apparatus, and conveys the load toward the first conveyor in the second direction.
- the control unit controls the robot apparatus to take out the baggage from the baggage accumulation unit and place the taken-out baggage on the second conveyor.
- the top view which shows the conveyance system of 1st Embodiment The block diagram which shows the system configuration
- the top view which shows the conveyance system of 5th Embodiment.
- the perspective view which shows the example of the attitude
- the flowchart which shows an example of the flow of operation
- the top view which shows the conveyance system of a reference form.
- the side view which shows the behavior of the luggage
- the flowchart which shows an example of the flow of operation
- the conveyance system of the embodiment includes a robot apparatus, a second conveyor, and a control unit.
- the robot apparatus includes a holding unit capable of holding a load and an arm for moving the holding unit, and is provided in a second direction different from the first direction with respect to a first conveyor extending in the first direction. Is done.
- the second conveyor is provided side by side in the first direction with respect to the robot apparatus, and conveys the load toward the first conveyor in the second direction.
- the control unit controls the robot apparatus to take out the baggage from the baggage accumulation unit and place the taken-out baggage on the second conveyor.
- based on XX in the present application means “based on at least XX”, and includes a case based on another element in addition to XX. “Based on XX” is not limited to the case where XX is directly used, but also includes the case where it is based on an operation or processing performed on XX. “XX” is an arbitrary element (for example, an arbitrary detection result, set value, index, physical quantity, or other information).
- the + X direction, -X direction, + Y direction, -Y direction, and Z direction are defined first.
- the + X direction, ⁇ X direction, + Y direction, and ⁇ Y direction are directions along the horizontal plane.
- the ⁇ X direction is the opposite direction to the + X direction. When the + X direction and the ⁇ X direction are not distinguished, they are simply referred to as the X direction.
- the + Y direction and the ⁇ Y direction are directions that intersect (for example, substantially orthogonal) with the X direction.
- the ⁇ Y direction is the opposite direction to the + Y direction. When the + Y direction and the ⁇ Y direction are not distinguished, they are simply referred to as the Y direction.
- the Z direction is the vertical direction.
- the X direction is an example of a “first direction”.
- the Y direction is an example of a “second direction”.
- FIG. 1 is a plan view showing a transport system 1 according to the first embodiment.
- the transport system 1 according to the present embodiment is an unloading apparatus that is installed in a distribution center or the like and transports a package from, for example, a container that stores the package to a conveyor that discharges the package.
- the installation environment in which the transport system 1 is installed includes, for example, a main conveyor MC, a first integrated body arrangement area A1, a second integrated body arrangement area A2, and a luggage collection area A3.
- the main conveyor MC extends in the X direction, for example.
- the main conveyor MC conveys the cargo P placed on the main conveyor MC in the + X direction.
- the main conveyor MC is a discharge conveyor that discharges the cargo P unloaded by the transport system 1 to a downstream process.
- the first integrated body arrangement area A1 and the second integrated body arrangement area A2 are arranged with a predetermined distance between them in the X direction.
- area means a surface, for example, a mounting surface on which a container C described later is placed.
- Each of the first integrated body arrangement area A1 and the second integrated body arrangement area A2 is provided in the Y direction with respect to the main conveyor MC.
- a container (luggage container) C in which a plurality of luggage P is accommodated is carried into the first accumulation body arrangement area A1 and the second accumulation body arrangement area A2.
- the container C arranged in the first integrated body arrangement region A1 is an example of a “first integrated unit”.
- the container C arranged in the second integrated body arrangement region A2 is an example of a “second integrated unit”.
- the plurality of packages P accommodated in the container C may be referred to as “packages”.
- the container C is, for example, a box pallet or another pallet.
- the container C is not limited to the above example as long as it can accommodate or place the luggage P.
- the container C has a first side wall Ca, a second side wall Cb, and a rear wall Cc, as well as an opening Cd that opens the front part when viewed from above.
- the “wall” (for example, the first side wall Ca, the second side wall Cb, or the rear wall Cc) referred to in the present application is not limited to a plate-like wall but includes a partition such as a fence or a lattice.
- the container C is arranged such that the opening Cd is directed to a region S between the first integrated body arranging region A1 and the second integrated body arranging region A2, and the first integrated body arranging region A1 and the second integrated body arranging region A2. Arranged in each of the.
- the inside of the container C arranged in the first integrated body arrangement region A1 is opened in the + X direction through the opening Cd.
- the inside of the container C arranged in the second aggregate arrangement region A2 is opened in the ⁇ X direction through the opening Cd.
- the luggage collection area A3 is located on the opposite side of the main conveyor MC with respect to the area S between the first integrated body arrangement area A1 and the second integrated body arrangement area A2.
- a collection container RC is arranged in the luggage collection area A3.
- the collection container RC is an example of a “luggage collection unit”.
- the collection container RC collects the luggage P that does not satisfy the predetermined condition (first condition) among the plurality of luggage P accommodated in the container C.
- “Not satisfying the predetermined condition” is, for example, a case where the package P corresponds to a size, weight, type, or the like that cannot be handled in a process downstream of the main conveyor MC.
- the package P is handled as a package that does not satisfy the predetermined condition when the size of the package P (for example, the maximum dimension of the package P) exceeds a predetermined size will be described.
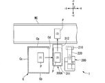
- the transport system 1 includes, for example, a detection unit 100, a robot device 200, a first sub-conveyor 300 ⁇ / b> A, a second sub-conveyor 300 ⁇ / b> B, an exclusion conveyor 400, a control unit 500 (see FIG. 2), and a storage unit. 600 (see FIG. 2).
- a detection unit 100 for example, a robot device 200, a first sub-conveyor 300 ⁇ / b> A, a second sub-conveyor 300 ⁇ / b> B, an exclusion conveyor 400, a control unit 500 (see FIG. 2), and a storage unit. 600 (see FIG. 2).
- the first sub-conveyor 300A and the second sub-conveyor 300B are not distinguished, they may be simply referred to as the sub-conveyor 300.
- the detection unit 100 includes, for example, a first upper camera 110 (see FIG. 2), a first side camera 120, a second upper camera 130 (see FIG. 2), and a second side camera 140.
- the first upper camera 110 is arranged above the first integrated body arrangement region A1.
- the first upper camera 110 photographs a plurality of loads P in the container C arranged in the first integrated body arrangement area A1 from above. That is, the first upper camera 110 captures the upper surface of the plurality of luggage P.
- the first side cameras 120 are arranged in the X direction, for example, with respect to the first integrated body arrangement region A1 in plan view.
- the first side camera 120 captures an image of the side surface of the luggage P taken out (lifted) by the robot device 200 from the container C disposed in the first stack arrangement area A1.
- the “side surface” used here means “a surface different from the upper surface and the lower surface”.
- Information detected by the first upper camera 110 and the first side camera 120 is sent to the control unit 500 and used for determination of the predetermined condition.
- the detection unit 100 acquires information on the length of the luggage P in the X direction and the Y direction from the image or video captured by the first upper camera 110, and the image captured by the first side camera 120.
- information on the length of the package P in the Z direction is acquired from the video.
- Each of the first upper camera 110 and the first side camera 120 is an example of a detection device that detects information related to the size of the luggage P.
- the second upper camera 130 is arranged above the second integrated body arrangement region A2.
- the second upper camera 130 photographs a plurality of loads P in the container C arranged in the second stack arrangement area A2 from above. That is, the second upper camera 130 images the upper surfaces of the plurality of luggage P.
- the second side camera 140 is arranged in the X direction with respect to, for example, the second integrated body arrangement region A2 in plan view. The second side camera 140 captures an image of the side surface of the load P that is taken out (lifted) by the robot apparatus 200 from the container C disposed in the second stack arrangement area A2. Information detected by the second upper camera 130 and the second side camera 140 is sent to the control unit 500 and used for determination of the predetermined condition.
- the detection unit 100 acquires information on the length of the luggage P in the X direction and the Y direction from the image or video captured by the second upper camera 130, and the image captured by the second side camera 140.
- information on the length of the package P in the Z direction is acquired from the video.
- the second upper camera 130 and the second side camera 140 are an example of a detection device that detects information related to the size of the luggage P.
- the detection device that detects information on the size of the package P is not limited to the above example.
- a laser range finder or other various sensors can be appropriately applied to the detection device that detects information related to the size of the luggage P.
- the detection unit 100 may include a weight scale 150 (see FIG. 2) for detecting the weight of the luggage P.
- the weight scale 150 is provided, for example, in the first integrated body arrangement area A1 and the second integrated body arrangement area A2, and the weight of the container C and the weight of the luggage in the container C that change when the luggage P is lifted by the robot apparatus 200. By detecting the height, information on the weight of the luggage P may be acquired. Instead, the weight scale 150 is provided inside or below the robot apparatus 200, and detects the load acting on the robot apparatus 200 when the luggage P is lifted by the robot apparatus 200. You may acquire the information regarding length.
- the weighing scale 150 is provided below the first sub-conveyor 300A and the second sub-conveyor 300B.
- the weight P is loaded.
- information on the weight of the load P may be acquired.
- the robot apparatus 200 includes a holding unit 210 and an arm 220.
- the holding unit 210 includes, for example, one or more suction pads 211 (see FIG. 12).
- a pump that vacuums the suction pad 211 is connected to the suction pad 211 via, for example, a hose.
- the holding unit 210 can hold the load P by sucking the suction pad 211 in a state where the suction pad 211 is pressed against the load P.
- the holding unit 210 is not limited to the above example, and may hold the luggage P by a mechanism that holds the luggage P or other mechanisms.
- the arm 220 is, for example, an articulated arm, and includes a plurality of arm members and a connecting portion that rotatably connects the plurality of arm members.
- the distal end of the arm 220 is connected to the holding unit 210 and supports the holding unit 210.
- the arm 220 can move the holding unit 210 to a desired position in the three-dimensional space based on the coordinates in the X direction, the Y direction, and the Z direction input by the control unit 500.
- the arm 220 conveys the luggage P held by the holding unit 210 by moving the holding unit 210.
- Robot device 200 is provided in the Y direction with respect to main conveyor MC.
- the robot apparatus 200 is located in a substantially central portion between the first integrated body arrangement area A1 and the second integrated body arrangement area A2 in the X direction.
- the robot apparatus 200 can move the holding unit 210 to the inside of the container C arranged in the first integrated body arrangement region A1, and can hold and lift the luggage P inside the container C. Thereby, the robot apparatus 200 can perform unloading of the cargo P accumulated in the container C arranged in the first integrated body arrangement area A1.
- the robot apparatus 200 places the load P taken out from the container C arranged in the first integrated body arrangement area A1 on the first sub-conveyor 300A.
- the robot apparatus 200 can move the holding unit 210 to the inside of the container C arranged in the second integrated body arrangement region A2, and can hold and lift the luggage P inside the container C. As a result, the robot apparatus 200 can unload the cargo P collected in the container C arranged in the second integrated body arrangement region A2. The robot apparatus 200 places the luggage P taken out from the inside of the container C arranged in the second stack arrangement area A2 on the second sub-conveyor 300B.
- the first sub-conveyor 300A is located between the first integrated body arrangement area A1 (that is, the container C arranged in the first integrated body arrangement area A1) and the robot apparatus 200 in the X direction.
- the first sub-conveyor 300A is provided in the X direction with respect to the robot apparatus 200.
- the first sub-conveyor 300A extends along the Y direction.
- the first sub-conveyor 300A has a first end 300Aa that faces the main conveyor MC in the + Y direction.
- the first sub-conveyor 300A conveys the cargo P placed on the first sub-conveyor 300A in the + Y direction.
- the first sub-conveyor 300A receives, from the robot apparatus 200, the luggage P that has been taken out by the robot apparatus 200 from the container C disposed in the first integrated body arrangement area A1.
- the first sub-conveyor 300A conveys the cargo P received from the robot apparatus 200 toward the main conveyor MC.
- the first sub-conveyor 300A sends the cargo P conveyed toward the main conveyor MC to the main conveyor MC.
- the second sub-conveyor 300B is located between the second stack arrangement area A2 (that is, the container C arranged in the second stack arrangement area A2) and the robot apparatus 200 in the X direction. That is, the second sub-conveyor 300B is provided side by side with respect to the robot apparatus 200 on the side opposite to the first sub-conveyor 300A.
- the second sub conveyor 300B extends along the Y direction.
- the second sub-conveyor 300B has a first end 300Ba that faces the main conveyor MC in the + Y direction.
- the second sub-conveyor 300B conveys the cargo P placed on the second sub-conveyor 300B in the + Y direction.
- the second sub-conveyor 300B receives, from the robot apparatus 200, the luggage P that has been taken out by the robot apparatus 200 from the container C disposed in the second integrated body arrangement area A2.
- the second sub-conveyor 300B conveys the cargo P received from the robot apparatus 200 toward the main conveyor MC.
- the second sub-conveyor 300B sends the cargo P transported toward the main conveyor MC to the main conveyor MC.
- the first integrated body arrangement area A1, the first sub-conveyor 300A, the second integrated body arrangement area A2, and the second sub-conveyor 300B are arranged symmetrically about the robot apparatus 200. Has been.
- the sub-conveyor 300 has a lift mechanism (not shown) that lifts the main body of the sub-conveyor 300 with respect to the installation surface on which the sub-conveyor 300 is installed. As a result, even when the sub-conveyor 300 is attached to the robot apparatus 200, access to the robot apparatus 200 is facilitated during maintenance of the robot apparatus 200.
- the exclusion conveyor 400 is located on the opposite side of the main conveyor MC with respect to the robot apparatus 200.
- the exclusion conveyor 400 extends along the Y direction.
- the exclusion conveyor 400 extends toward the package collection area A3 (that is, the collection container RC arranged in the package collection area A3).
- the exclusion conveyor 400 conveys the luggage P placed on the exclusion conveyor 400 toward the collection container RC.
- the exclusion conveyor 400 sends the cargo P conveyed toward the collection container RC into the collection container RC.
- the main conveyor MC, the first sub-conveyor 300A, the second sub-conveyor 300B, and the exclusion conveyor 400 described above are, in one aspect, “first conveyor”, “second conveyor”, “third conveyor”, And “fourth conveyor”.
- the main conveyor MC, the first sub-conveyor 300A, and the exclusion conveyor 400 are examples of “first conveyor”, “second conveyor”, and “third conveyor”, respectively.
- the main conveyor MC, the first sub-conveyor 300A, the second sub-conveyor 300B, and the exclusion conveyor 400 may each be a belt conveyor, a roller conveyor formed by a plurality of rotating rollers, or other types of conveyors. It may be a conveyor.
- FIG. 2 is a block diagram showing a system configuration of the transport system 1 of the present embodiment.
- the control unit 500 can communicate with each detection device included in the detection unit 100, the robot device 200, the first sub-conveyor 300 ⁇ / b> A, the second sub-conveyor 300 ⁇ / b> B, the exclusion conveyor 400, and the storage unit 600. It is connected.
- the control unit 500 controls the operations of these apparatuses by sending instructions regarding the operations of the robot apparatus 200, the first sub-conveyor 300A, the second sub-conveyor 300B, and the exclusion conveyor 400 to these apparatuses.
- the control unit 500 is a software function unit realized by a processor (for example, CPU (Central Processing Unit)) of the transport system 1 executing a program. However, part or all of the control unit 500 may be realized by hardware such as LSI (Large Scale Integration), ASIC (Application Specific Integrated Circuit), FPGA (Field-Programmable Gate Array), or a software function unit. And hardware may cooperate with each other.
- a processor for example, CPU (Central Processing Unit)
- CPU Central Processing Unit
- part or all of the control unit 500 may be realized by hardware such as LSI (Large Scale Integration), ASIC (Application Specific Integrated Circuit), FPGA (Field-Programmable Gate Array), or a software function unit. And hardware may cooperate with each other.
- the storage unit 600 is realized by, for example, a RAM (Random Access Memory), a ROM (Read Only Memory), an HDD (Hard Disk Drive), a flash memory, or a hybrid storage device in which a plurality of these are combined.
- the storage unit 600 stores threshold values used for various determinations including the predetermined condition.
- the control unit 500 includes, for example, an information acquisition unit 510, an image analysis unit 520, a selection unit 530, a determination unit 540, a robot drive control unit 550, a sub-conveyor drive control unit 560, and an exclusion conveyor drive control. Part 570.
- the information acquisition unit 510 acquires information detected by the detection unit 100 (for example, the first upper camera 110, the first side camera 120, the second upper camera 130, and the second side camera 140) from the detection unit 100. To do.
- the information acquisition unit 510 outputs the information acquired from the detection unit 100 to the image analysis unit 520.
- the image analysis unit 520 analyzes the information (image or video) acquired by the detection unit 100. For example, the image analysis unit 520 analyzes the image or the video captured by the first upper camera 110, so that the positions of the plurality of packages P accommodated in the container C arranged in the first integrated body arrangement region A1 and Get the dimensions. For example, the image analysis unit 520 acquires the dimensions of the luggage P (width and depth dimensions of the luggage P) when viewed from above. In addition, the image analysis unit 520 analyzes the image or video captured by the first side camera 120, thereby height dimension of the luggage P lifted from the container C arranged in the first integrated body arrangement region A1. To get.
- the image analysis unit 520 analyzes the image or the video captured by the second upper camera 130, so that the positions of the plurality of packages P accommodated in the container C arranged in the second stack arrangement area A2 are analyzed. And get dimensions. For example, the image analysis unit 520 acquires the dimensions of the luggage P (width and depth dimensions of the luggage P) when viewed from above. In addition, the image analysis unit 520 analyzes the image or video captured by the second side camera 140, thereby height dimension of the luggage P lifted from the container C arranged in the second integrated body arrangement region A2. To get. The image analysis unit 520 outputs the position information of the luggage P acquired by the image analysis to the selection unit 530 and the robot drive control unit 550. In addition, the image analysis unit 520 outputs the dimension information of the luggage P acquired by the image analysis to the determination unit 540.
- the selection unit 530 based on the position information of the luggage P acquired by the image analysis unit 520, the container C arranged in the first integrated body arrangement area A1 (or the container C arranged in the second integrated body arrangement area A2). ) To select one or more packages P to be taken out preferentially. For example, the selection unit 530 selects the packages P to be preferentially taken in consideration of the overlapping state of the plurality of packages P and the position of the robot apparatus 200 with respect to the container C. “Preferentially” means that the extraction order is first. For example, the selection unit 530 selects the baggage P positioned at the top of the baggage P stored in the container C or the baggage P near the opening Cd as the baggage P to be taken out preferentially. The selection unit 530 outputs information indicating the selected package P (hereinafter sometimes referred to as “picking package P”) to the robot drive control unit 550.
- picking package P information indicating the selected package P
- the determination unit 540 determines whether or not the package P taken out by the robot apparatus 200 satisfies the predetermined condition (first condition) based on the dimension information of the package P acquired by the image analysis unit 520. For example, the determination unit 540 compares the maximum dimension of the package P with a threshold value related to the size read from the storage unit 600, and determines whether the maximum dimension of the package P is less than the threshold value. To do. If the maximum dimension of the package P is less than the threshold, the determination unit 540 recognizes the package P as a handling target package, assuming that the predetermined condition is satisfied.
- the determination unit 540 recognizes the package P as an unhandled package, assuming that the predetermined condition is not satisfied.
- the determination unit 540 outputs a determination result regarding the predetermined condition to the robot drive control unit 550 and the sub-conveyor drive control unit 560.
- the configurations and functions of the detection unit 100 and the determination unit 540 are not limited to the above example.
- the detection unit 100 may not include the first side camera 120 and the second side camera 140.
- the determination unit 540 may perform determination processing related to the predetermined condition based only on information detected by the first upper camera 110 and the second upper camera 130 (that is, the dimensions of the upper surface of the luggage P). .
- the robot drive control unit 550 controls the drive of the robot apparatus 200. For example, the robot drive control unit 550 calculates the trajectory path of the arm 220 based on the position information of the package P acquired by the image analysis unit 520, the information indicating the picked package P selected by the selection unit 530, and the like. Then, the robot drive control unit 550 holds the luggage P by the holding unit 210 and moves the arm 220 to move the arm C to the container C (or the second integration unit arrangement region A2) arranged in the first integration unit arrangement region A1. The robot apparatus 200 is controlled so as to take out the load P from the placed container C).
- the robot drive control unit 550 based on the determination result determined by the determination unit 540, the container C arranged in the first integrated body arrangement area A1 (or the container C arranged in the second integrated body arrangement area A2). ) To determine the movement destination (placement destination) of the package P taken out. For example, when the predetermined condition is satisfied (when the baggage is recognized as a handling target baggage), the robot drive control unit 550 removes the baggage taken out from the container C from the sub-conveyor 300 (the first sub-conveyor 300A or the second sub-carriage 300A). The robot apparatus 200 is controlled to be placed on the sub-conveyor 300B). On the other hand, the robot drive control unit 550 causes the robot device 200 to place the luggage P taken out from the container C on the exclusion conveyor 400 when the predetermined condition is not satisfied (when it is recognized as an unhandled luggage). To control.
- FIG. 3 is a diagram illustrating an example of a transport route of the package P by the transport system 1.
- the first sub conveyor 300 ⁇ / b> A has, for example, a first area 311 and a second area 312.
- the first region 311 is a region aligned with the opening Cd of the container C in the X direction.
- the first region 311 is a region where the load P can be moved from the inside of the container C without being obstructed by the first side wall Ca and the second side wall Cb of the container C.
- the robot drive control unit 550 moves the load P from the container C to the first area 311 of the first sub-conveyor 300A (from (1) to (2) in FIG. 3).
- the robot apparatus 200 is controlled. According to such a transport route of the load P, the robot device 200 does not need to calculate a route for transporting the load P toward the main conveyor MC while avoiding the first side wall Ca and the second side wall Cb of the container C. For this reason, the control algorithm of the robot apparatus 200 can be simplified.
- FIG. 3 shows an example related to the first sub conveyor 300A, but the same applies to the second sub conveyor 300B.
- the sub-conveyor drive control unit 560 controls the driving of the first sub-conveyor 300A and the second sub-conveyor 300B.
- the sub-conveyor drive control unit 560 drives the first sub-conveyor 300A when the robot apparatus 200 takes out the luggage P from the container C arranged in the first stack arrangement area A1.
- the first sub-conveyor 300A may be driven only when the load P is actually placed on the first sub-conveyor 300A, or with respect to the container C arranged in the first integrated body arrangement region A1.
- the robot apparatus 200 may continue to be driven while continuing the operation of taking out the luggage P.
- the sub-conveyor drive control unit 560 conveys the cargo P placed on the first region 311 of the first sub-conveyor 300A toward the main conveyor MC by the robot apparatus 200 (from (2) in FIG. 3).
- the first sub-conveyor 300A is driven so as to move the load P to (3).
- the sub-conveyor drive control unit 560 drives the second sub-conveyor 300B when the robot apparatus 200 takes out the load P from the container C arranged in the second stack arrangement area A2.
- the second sub-conveyor 300B may be driven only when the load P is actually placed on the second sub-conveyor 300B, or with respect to the container C arranged in the second integrated body arrangement region A2.
- the robot apparatus 200 may continue to be driven while continuing the operation of taking out the luggage P.
- the sub-conveyor drive control unit 560 controls the second sub-conveyor 300B so that the robot apparatus 200 conveys the cargo P placed on the first region 311 of the second sub-conveyor 300B toward the main conveyor MC. .
- the exclusion conveyor drive control unit 570 controls the driving of the exclusion conveyor 400.
- the exclusion conveyor drive control unit 570 is driven when the luggage P is placed on the exclusion conveyor 400.
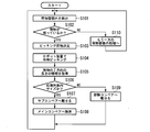
- FIG. 4 is a flowchart showing an example of the operation flow of the transport system 1 of the present embodiment.
- the detection unit 100 detects the state in the container C (S101).
- the detection unit 100 captures an image or video in the container C.
- the detection unit 100 sends the captured image or video to the control unit 500.
- the image analysis unit 520 of the control unit 500 analyzes the image or video received from the detection unit 100 and acquires the position information and size information of the package P.
- the selection unit 530 of the control unit 500 determines whether or not the package P remains inside the container C based on the analysis result of the image analysis unit 520 (S102).
- the selection unit 530 determines one or more packages P (picking package P) to be taken out of the packages P in the container C (S103). ).
- the selection unit 530 sends information indicating the picking luggage P determined by the selection unit 530 to the robot drive control unit 550.
- the robot drive control unit 550 controls the driving of the robot apparatus 200 based on the information related to the picking baggage P determined by the selection unit 530, the position information of the baggage P acquired by the image analysis unit 520, and the like.
- Remove from container C S104
- the detection unit 100 acquires information on the length of the luggage P in the Z direction from the image or video captured by the first side camera 120 (or the second side camera 140) (S105).
- the determination unit 540 determines whether or not the package P taken out by the robot apparatus 200 satisfies the predetermined condition (S106).
- the robot drive control unit 550 converts the taken package P into the container C from which the package P has been taken out.
- the robot apparatus 200 is controlled to be placed on the nearby sub-conveyor 300 (S107).
- the sub-conveyor 300 on which the package P is loaded by the robot apparatus 200 conveys the package P toward the main conveyor MC, and sends the package P to the main conveyor MC (S108).
- the robot drive control unit 550 places the taken package P on the exclusion conveyor 400.
- the robot apparatus 200 is controlled (S109). Then, the exclusion conveyor 400 on which the package P is placed by the robot apparatus 200 conveys the package P toward the collection container RC, and sends the package P to the collection container RC.
- the selection unit 530 uses the robot drive control unit 550 and the sub-conveyor drive control to indicate information indicating that no baggage P remains.
- the robot drive control unit 550 moves the robot toward the other container C among the containers C arranged in the first integrated body arrangement area A1 and the containers C arranged in the second integrated body arrangement area A2.
- the apparatus 200 is rotated (S110).
- the control part 500 performs operation
- the above operation is alternately repeated for the container C arranged in the first integrated body arrangement region A1 and the container C arranged in the second integrated body arrangement region A2.
- the package P can be processed without interrupting the picking operation of the robot apparatus 200, and the speed of the transfer process can be increased.
- the speed of the transport process can be increased. That is, the transport system 1 of the present embodiment includes the robot device 200 and a first sub-conveyor 300A that is attached to the robot device 200 and transports the cargo P received from the robot device 200 toward the main conveyor MC. According to such a configuration, the movement distance of the robot apparatus 200 can be shortened as compared with the case where the luggage P accommodated in the container C is directly conveyed to the main conveyor MC by the robot apparatus 200. Thereby, it is possible to shorten the time required for taking out the luggage P from the container C, and it is possible to speed up the conveyance process.
- the transport system 1 of the present embodiment includes a first sub-conveyor 300A.
- the first sub-conveyor 300A by designing the length and inclination of the first sub-conveyor 300A so as to match the position and height of the main conveyor MC, the position and height of the main conveyor MC need not be considered for the control of the robot apparatus 200. Get better. For this reason, the burden at the time of installation of the conveyance system 1 can be reduced. Further, according to the configuration of the present embodiment, the main conveyor MC does not need to be modified. Also from this viewpoint, the burden at the time of installation of the conveyance system 1 can be reduced. Furthermore, since the first sub-conveyor 300A is arranged using the space between the container C and the robot apparatus 200, it is possible to avoid an excessively large space used by the transport system 1.
- the transport system 1 is located on the opposite side of the robot device 200 from the first sub-conveyor 300A, and transports the cargo P received from the robot device 200 toward the main conveyor MC.
- a conveyor 300B is provided.
- the exclusion conveyor 400 is disposed behind the robot apparatus 200. That is, the exclusion conveyor 400 is located on the opposite side of the main conveyor belt MC with respect to the robot apparatus 200. According to such a configuration, it is possible to place the unloadable cargo on the exclusion conveyor 400 during unloading from either the first integrated body arrangement area A1 or the second integrated body arrangement area A2. Also from this viewpoint, the robot apparatus 200 can be continuously moved without being stopped, and the efficiency of the conveyance process can be improved.
- the package P is transported to the exclusion conveyor 400 by the robot apparatus 200 when the predetermined condition (first condition) is not satisfied.
- the package P is directly conveyed to the package collection area A3 (for example, the collection container RC arranged in the package collection area A3) by the robot apparatus 200. Also good.
- FIG. 5 is a plan view showing the transport system 1 of the present embodiment.
- the first sub-conveyor 300A has a first end portion 300Aa and a second end portion 300Ab.
- the first end portion 300Aa faces the main conveyor MC in the + Y direction.
- the second end portion 300Ab is located on the side opposite to the first end portion 300Aa and faces the exclusion conveyor 400 in the ⁇ Y direction.
- the exclusion conveyor 400 is located on the side opposite to the main conveyor MC with respect to the first sub-conveyor 300A and is provided side by side with respect to the first sub-conveyor 300A.
- the first sub-conveyor 300A includes a first portion 321 that extends linearly along the Y direction, and a second portion 322 that is bent from the first portion 321 and extends toward the removal conveyor 400.
- the second portion 322 has a plurality of rollers (not shown) arranged to be inclined with respect to the Y direction, and conveys the cargo P placed on the first sub-conveyor 300 ⁇ / b> A toward the exclusion conveyor 400. .
- the second sub-conveyor 300B has a first end portion 300Ba and a second end portion 300Bb.
- the first end 300Ba faces the main conveyor MC in the + Y direction.
- the second end portion 300Bb is located on the side opposite to the first end portion 300Ba and faces the exclusion conveyor 400 in the ⁇ Y direction.
- the exclusion conveyor 400 is located on the side opposite to the main conveyor MC with respect to the second sub-conveyor 300B and is provided side by side with respect to the second sub-conveyor 300B.
- the second sub-conveyor 300B includes a first portion 321 that extends linearly along the Y direction, and a second portion 322 that is bent from the first portion 321 and extends toward the removal conveyor 400.
- the second portion 322 has a plurality of rollers (not shown) arranged to be inclined with respect to the Y direction, and conveys the cargo P placed on the second sub-conveyor 300B toward the rejection conveyor 400.
- the robot apparatus 200 loads the baggage P taken out from the container C arranged in the first stack arrangement area A1 on the first sub-conveyor 300A regardless of whether or not the predetermined condition is satisfied. Put it on. Similarly, regardless of whether or not the predetermined condition is satisfied, the robot apparatus 200 places the luggage P taken out from the container C arranged in the second stack arrangement area A2 on the second sub-conveyor 300B. .
- the determination unit 540 outputs a determination result related to the predetermined condition to the sub-conveyor drive control unit 560.
- the sub-conveyor drive control unit 560 moves the first sub-conveyor 300A.
- the cargo P placed on the first sub-conveyor 300A is transported toward the main conveyor MC by the robot apparatus 200, and the cargo P is sent to the main conveyor MC.
- the sub-conveyor drive control unit 560 when the baggage P taken out from the container C arranged in the first stack arrangement area A1 does not satisfy the predetermined condition (when handled as non-carrying baggage), The first sub-conveyor 300A is rotated in the reverse direction, and the robot apparatus 200 transports the load P placed on the first sub-conveyor 300A toward the rejection conveyor 400, and sends the load P to the rejection conveyor 400.
- the sub-conveyor drive control unit 560 when the package P taken out from the container C arranged in the second stack arrangement area A2 satisfies the predetermined condition (when handled as a cargo to be transported), The conveyor 300B is rotated forward, and the robot P 200 transports the cargo P placed on the second sub-conveyor 300B toward the main conveyor MC, and sends the cargo P to the main conveyor MC.
- the sub-conveyor drive control unit 560 when the baggage P taken out from the container C arranged in the second stack arrangement area A2 does not satisfy the predetermined condition (when handled as an unconveyed baggage), The two sub-conveyors 300 ⁇ / b> B are rotated in the reverse direction, and the load P placed on the second sub-conveyor 300 ⁇ / b> B is transported toward the rejection conveyor 400 by the robot apparatus 200, and the cargo P is sent to the rejection conveyor 400.
- FIG. 6 is a flowchart illustrating an example of the operation flow of the transport system 1 of the present embodiment.
- the processing from S101 to S107 and S110 is the same as the corresponding processing in the first embodiment.
- the process of S107 is described before the process of S106 for easy understanding. However, either the process of S106 or the process of S107 may be performed first and may be performed in parallel. Moreover, the process of S107 may be performed before the process of S105 and may be performed in parallel with the process of S105.
- the control unit 500 rotates the sub-conveyor 300 in the normal direction, thereby loading the package P placed on the sub-conveyor 300. Is conveyed to the main conveyor MC (S108).
- the control unit 500 reversely rotates the sub-conveyor 300 so that the package P placed on the sub-conveyor 300 is removed. It conveys to the exclusion conveyor 400 (S109).
- the control unit 500 reversely rotates the first sub-conveyor 300A to convey the package P received from the robot apparatus 200 to the exclusion conveyor 400. This operation is performed by the first sub-conveyor 300A. According to such a configuration, the moving distance of the robot apparatus 200 can be shortened. Thereby, further speeding-up of a conveyance process can be achieved.
- the package P is transported to the exclusion conveyor 400 by the sub-conveyor 300 when the predetermined condition (first condition) is not satisfied.
- the parcel P is directly conveyed to the parcel collection area A3 (for example, the collection container RC arranged in the parcel collection area A3) by the sub-conveyor 300. Also good.
- FIG. 7 is a plan view showing the transport system 1 of the present embodiment.
- the detection unit 100 includes a luggage sensor 160.
- the luggage sensor 160 is provided adjacent to the main conveyor MC and detects the flow of the luggage P on the main conveyor MC. For example, when there is a baggage P that falls within a predetermined distance from the sub-conveyor 300, the baggage sensor 160 detects the baggage P. The detection result detected by the luggage sensor 160 is output to the control unit 500.
- the sub-conveyor drive control unit 560 drives the first sub-conveyor 300A when it is detected that the luggage P is present on the main conveyor MC within a predetermined distance from the first sub-conveyor 300A. It stops and prevents the cargo P placed on the first sub-conveyor 300A from being sent out to the main conveyor MC. Further, the sub-conveyor drive control unit 560 determines that the parcel P of the main conveyor MC has passed near the first sub-conveyor 300A based on the detection result of the parcel sensor 160 and the conveyance speed (rotational speed) of the main conveyor MC.
- the robot drive control unit 550 may perform an operation of taking out the luggage P from the container C arranged in the first stack arrangement area A1, for example, while the first sub-conveyor 300A is stopped.
- the sub-conveyor drive control unit 560 stops driving the second sub-conveyor 300B, for example, when it is detected that the luggage P exists on the main conveyor MC within a predetermined distance from the second sub-conveyor 300B.
- the cargo P placed on the second sub-conveyor 300B is prevented from being sent out to the main conveyor MC.
- the sub-conveyor drive control unit 560 determines that the parcel P of the main conveyor MC has passed near the second sub-conveyor 300B based on the detection result of the parcel sensor 160 and the transport speed (rotational speed) of the main conveyor MC.
- the robot drive control unit 550 may perform an operation of taking out the luggage P from the container C arranged in the second integrated body arrangement region A2 while the second sub-conveyor 300B is stopped.
- the sub-conveyor 300 functions as a buffer, the operation of the robot apparatus 200 can be continued even when there is an obstacle P on the main conveyor MC. . As a result, the time during which the robot apparatus 200 is stopped can be shortened or eliminated, and the conveyance process can be further speeded up.
- the present embodiment is different from the second embodiment in that the transport system 1 is a loading device that loads the cargo P supplied from the main conveyor MC into the container C.
- the configurations other than those described below are the same as those in the second embodiment.
- FIG. 8 is a plan view showing the transport system 1 of the present embodiment.
- the main conveyor MC transfers the cargo P loaded in the containers C arranged in the first integrated body arrangement area A1 and the second integrated body arrangement area A2 to the transport system 1.
- It is a supply conveyor which supplies to
- the main conveyor MC has a supply unit MCa that supplies the cargo P flowing through the main conveyor MC to the sub-conveyor 300 (the first sub-conveyor 300A or the second sub-conveyor 300B).
- the supply unit MCa is a direction changing unit that changes the flow direction of the load P flowing in the + X direction, and sends the load P onto the sub-conveyor 300.
- the supply unit MCa is, for example, a diverter conveyor or a turn roller, but is not limited thereto.
- empty containers C on which the packages P are loaded by the transport system 1 are arranged in the first integrated body arrangement area A1 and the second integrated body arrangement area A2.
- the first upper camera 110 is disposed above the first sub-conveyor 300A and photographs the load P placed on the first sub-conveyor 300A.
- the second upper camera 130 is disposed above the second sub-conveyor 300B and photographs the luggage P placed on the second sub-conveyor 300B.
- the 1st side camera 120 image
- the second side camera 140 photographs the side surface of the luggage P placed on the second sub-conveyor 300B.
- the image analysis unit 520 obtains position information and size information of the luggage P conveyed by the first sub-conveyor 300A by analyzing an image or video captured by the first upper camera 110 and the first side camera 120. . Similarly, the image analysis unit 520 analyzes the image or the video captured by the second upper camera 130 and the second side camera 140, so that the position information and size information of the luggage P conveyed by the second sub-conveyor 300B. To get.
- the first sub-conveyor 300A receives the package P from the supply unit MCa of the main conveyor MC as described above.
- the first sub-conveyor 300A conveys the cargo P received from the supply unit MCa in the ⁇ Y direction.
- the first sub-conveyor 300A conveys the cargo P received from the supply unit MCa to a position closer to the robot apparatus 200 than the main conveyor MC.
- the first sub-conveyor 300A conveys the cargo P received from the supply unit MCa to a position aligned with the robot apparatus 200 in the X direction.
- the first sub-conveyor 300A conveys the parcel P received from the supply unit MCa to a position where the entire parcel P is included in the first region 311 of the first sub-conveyor 300A.
- the second sub-conveyor 300B receives the package P from the supply unit MCa of the main conveyor MC.
- the second sub-conveyor 300B transports the cargo P received from the supply unit MCa in the ⁇ Y direction.
- the second sub-conveyor 300B conveys the cargo P received from the supply unit MCa to a position closer to the robot apparatus 200 than the main conveyor MC.
- the second sub-conveyor 300B conveys the cargo P received from the supply unit MCa to a position aligned with the robot apparatus 200 in the X direction.
- the second sub-conveyor 300B conveys the parcel P received from the supply unit MCa to a position where the entire parcel P is included in the first region 311 of the second sub-conveyor 300B.
- the robot drive control unit 550 holds the load P transported by the first sub-conveyor 300A by the holding unit 210, and the held load P is arranged in the first integrated body arrangement.
- the robot apparatus 200 is controlled so as to be transferred into the container C arranged in the area A1. Thereby, the robot apparatus 200 loads the luggage P on the container C arranged in the first integrated body arrangement area A1.
- the robot drive control unit 550 controls the robot apparatus 200 so as not to take out the load P on the first sub-conveyor 300A.
- the cargo P on the first sub-conveyor 300 ⁇ / b> A is transported toward the rejection conveyor 400 by the first sub-conveyor 300 ⁇ / b> A and is sent out to the rejection conveyor 400.
- the robot drive control unit 550 holds the load P conveyed by the second sub-conveyor 300B by the holding unit 210, and holds the held load P in the second integrated body arrangement region A2.
- the robot apparatus 200 is controlled so as to be transported to the inside of the container C disposed in the position. Thereby, the robot apparatus 200 loads the luggage P on the container C arranged in the second integrated body arrangement region A2.
- the robot drive control unit 550 controls the robot apparatus 200 so as not to take out the load P on the second sub-conveyor 300B.
- the cargo P on the second sub-conveyor 300 ⁇ / b> B is transported toward the rejection conveyor 400 by the second sub-conveyor 300 ⁇ / b> B and sent out to the rejection conveyor 400.
- the moving distance of the robot apparatus 200 can be shortened as in the first embodiment, it is possible to speed up the transfer process.
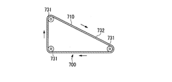
- the present embodiment is different from the first embodiment in that an inclined table 700 is provided that changes the vertically oriented baggage P to a horizontally long posture and supplies it to the main conveyor MC. Configurations other than those described below are the same as those in the first embodiment.
- FIG. 9 is a plan view showing the transport system 1 of the present embodiment.
- the transport system 1 includes an inclined table 700.
- the tilting table 700 is provided alongside the main conveyor MC, on which the luggage P supplied to the main conveyor MC is placed.
- the tilting table 700 is disposed on the opposite side of the main conveyor MC from the robot apparatus 200.
- the arrangement position of the tilting table 700 is not limited to the above example, and may be arranged on the same side as the robot apparatus 200 with respect to the main conveyor MC.
- the tilting table 700 has a baggage receiving portion (upper surface portion) 710 that is inclined so that its height decreases as it approaches the main conveyor MC.
- the height of the baggage receiving portion 710 decreases as it proceeds in the direction indicated by the arrow A in FIG.
- An end portion 710a on the downstream side of the luggage receiving portion 710 is disposed at substantially the same height as the upper surface (conveying surface) of the main conveyor MC or slightly higher than the upper surface of the main conveyor MC.
- the baggage receiving portion 710 of the tilt table 700 is formed of a metal or resin plate material and has a smooth surface.
- the configuration and material of the tilt table 700 are not limited to the example of this embodiment. A modification of the tilting table 700 will be described later.
- FIG. 10 is a diagram illustrating an example of the posture of the luggage P taken out from the container C.
- FIG. 10A shows the luggage P in the horizontally long posture D1.
- the horizontally long posture D1 means a posture in which c, which is the shortest dimension among the three dimensions a, b, and c that define the width, depth, and height of the load P, is substantially along the vertical direction.
- FIG. 10B shows the luggage P in the vertically long posture D2.
- the vertically long posture D2 means a posture in which c, which is the shortest of the three dimensions a, b, and c that define the width, depth, and height of the load P, does not follow the substantially vertical direction.
- the horizontally long posture D1 may be, for example, a posture in which b, which is the second smallest among the three dimensions a, b, and c, is substantially along the vertical direction.
- the vertically long posture D2 is a posture in which the largest dimension “a” among the three dimensions “a”, “b”, and “c” is substantially along the vertical direction.
- the posture of the luggage P in the horizontally long posture D1 is stable.
- the load P in the vertically long posture D2 has an unstable posture and may fall over while being conveyed by the conveyor.
- a transfer device of a certain comparative example when a load P in a vertically long posture D2 is taken out of a container, there is a transfer device that re-grips the load by a robot device and changes the posture of the load P to a horizontally long posture D1.
- a robot device changes the posture of the load P to a horizontally long posture D1.
- FIG. 11 is a diagram for explaining the operation of the tilting table 700.
- FIG. 11A when the luggage P is placed on the luggage P in the vertically long posture D2 on the luggage receiving section 710 of the tilt table 700 inclined at a certain angle or more, the bottom surface of the luggage P becomes the luggage receiving section 710. The speed of sliding down along the line becomes faster than a certain level.
- the force that the load P tries to rotate forward in the direction of arrow R1 in FIG.
- the robot drive control unit 550 causes the load P held by the holding unit 210 above the load receiving unit 710 to be loaded when the load P taken out from the container C is in the vertically long posture D2.
- the robot apparatus 200 may be instructed to release the holding of the luggage P while being tilted in the direction along 710.
- the state in which the load is inclined toward the direction along the load receiving portion (or the direction along the inclined platform) is when the inclination of the load P is substantially the same as the inclination of the load receiving portion 710. It is not limited.
- the “state where the load is inclined toward the direction along the load receiving surface” may be a state where the load P is slightly inclined with respect to the vertical direction toward the direction along the inclination of the load receiving portion 710.
- the baggage P is dropped on the baggage receiving portion 710 in a state where the baggage P is inclined by approximately 5 ° with respect to the vertical direction.
- FIG. 12 is a diagram for explaining an operation example in which the load P is tilted by the robot apparatus 200.
- the following operation example is performed by the control by the robot drive control unit 550.
- the robot apparatus 200 conveys the load P in the vertically long posture D ⁇ b> 2 to above the load receiving portion 710 of the tilting table 700.
- the robot apparatus 200 slightly tilts the load P held by the holding unit 210 toward the direction along the load receiving unit 710.
- the robot apparatus 200 lowers the holding unit 210 so that the package P is brought close to the package receiving unit 710.
- the robot apparatus 200 releases the holding of the holding portion 210 with respect to the load P, and causes the load P to be placed on the load receiving portion 710. To drop. As shown in (d), the load P is reliably rotated by being dropped on the load receiving portion 710 while being inclined toward the direction along the load receiving portion 710.
- the operation example in which the load P is tilted by the robot apparatus 200 is not limited to the above example.
- the robot apparatus 200 may slightly tilt the load P held by the holding unit 210 toward the direction along the load receiving unit 710 after the baggage P is sufficiently brought close to the load receiving unit 710. Then, the robot device 200 may drop the baggage P onto the baggage receiving unit 710 as it is after the baggage P is tilted toward the direction along the baggage receiving unit 710.
- the robot drive control unit 550 when the load P changes to the horizontally long posture D1, among the three sizes a, b, and c of the load P, the shortest size c is set in a substantially vertical direction.
- the arm 220 of the robot apparatus 200 may be controlled so that the load P is rotated in advance to a necessary posture in order to follow it.
- FIG. 13 is a flowchart showing an example of the operation flow of the transport system 1 of the present embodiment.
- the processing from S101 to S110 is the same as the corresponding processing in the first embodiment.
- the determination unit 540 of the control unit 500 determines whether or not the load P is in the vertically long posture D2 when the load P is taken out (lifted) from the container C (whether or not the second condition is satisfied). (S201). Whether or not the package P is in the vertically long posture D2 is determined based on the size of the upper surface of the package P taken by the first upper camera 110 (or the second upper camera 130) and analyzed by the image analysis unit 520, and the first side portion. The determination is made based on the height dimension of the luggage P taken by the camera 120 (or the second side camera 140) and analyzed by the image analysis unit 520. A determination result regarding whether or not the load P is in the vertically long posture D2 is output from the determination unit 540 to the robot drive control unit 550.
- the robot drive control unit 550 performs the same operation as in the first embodiment when the load P is not in the vertically long posture D2 (that is, when the load P is in the horizontally long posture D1). That is, the robot drive control unit 550 controls the robot apparatus 200 so that the luggage P taken out from the container C is placed on the sub-conveyor 300 (S107). The cargo P placed on the sub-conveyor 300 is sent out to the main conveyor MC by the sub-conveyor 300 (S108).
- the robot drive control unit 550 controls the robot apparatus 200 so that the load P is not placed on the sub-conveyor 300 when the load P is in the vertically long posture D2.
- the robot drive control unit 550 controls the robot apparatus 200 so that the load P is transported above the load receiving portion 710 of the tilting table 700 (S202).
- the robot drive control unit 550 controls the rotation of the arm member included in the arm 220, and slightly tilts the load P held by the holding unit 210 toward the direction along the load receiving unit 710 (S203).
- the robot drive control unit 550 releases the load P on the load receiving unit 710 of the tilting table 700 by releasing the holding of the load P by the holding unit 210 (S204).
- the luggage P rotates from the vertically long position D2 to the horizontally long position D1, slides down the tilt table 700 in the state of the horizontally long position D1, and is supplied to the main conveyor MC.
- the conveyance system 1 further includes an inclined table 700 that is inclined so that the height decreases as it approaches the main conveyor MC.
- an inclined table 700 is provided, the load P is rotated from the vertically long position D2 to the horizontally long position D1 by dropping the load P in the vertically long position D2 onto the load receiving portion 710, and is in the state of the horizontally long position D1. Is supplied to the main conveyor MC. For this reason, it is possible to omit the operation of re-grabbing the baggage P in the vertically long posture D2 and changing it to the horizontally long posture D1 by the robot apparatus 200. Thereby, speeding up of a conveyance process can be achieved. Furthermore, since the tilting table 700 does not require substantial modification to the main conveyor MC, the burden at the time of installing the transport system 1 can be reduced.
- the robot drive control unit 550 of the transport system 1 allows the load P held by the holding unit 210 above the load receiving unit 710 along the load receiving unit 710 when the load P is in the vertically long posture D2.
- the robot apparatus 200 is instructed to release the holding of the luggage P while being tilted in the direction. According to such a configuration, the luggage P can be reliably rotated backward. Thereby, it is possible to prevent an unnecessary large force from acting on the luggage P due to the luggage P rotating forward.
- FIG. 14 is a diagram showing an inclined table 700 according to the first modification.
- the baggage receiving portion 710 of the tilting table 700 according to this modification includes a first portion (first inclined portion) 711 and a second portion (second inclined portion) 712.
- the second part 712 is farther from the main conveyor MC than the first part 711.
- the inclination of the second portion 712 with respect to the horizontal plane is larger than the inclination of the first portion 711 with respect to the horizontal plane.
- the second portion 712 when the luggage P rotates backward, the second portion 712 functions as a stopper, and the rotation angle of the luggage P can be reduced.
- size of the force which acts on the load P when the load P contacts the load receiving part 710 can be reduced.
- FIG. 15 is a view showing an inclined table 700 according to a second modification.
- the baggage receiving portion 710 of the tilting table 700 of this modification is formed in an arc shape that protrudes obliquely downward.
- the package receiving portion 710 formed in an arc shape is an example of an “arc portion”. According to such a configuration, when the luggage P rotates backward, the arc-shaped luggage receiving portion 710 functions as a stopper, and the rotation angle of the luggage P can be reduced. Thereby, the magnitude
- FIG. 16 is a diagram showing an inclined table 700 according to a third modification.
- the baggage receiving portion 710 of the tilting table 700 of this modification is formed by a plurality of rollers 721.
- the roller 721 is, for example, a roller that does not have a driving force, but may be a roller that is actively rotated by being supplied with the driving force.
- FIG. 17 is a view showing an inclined table 700 according to a fourth modification.
- the baggage receiving portion 710 of the tilt base 700 of this modification is formed by a belt 732 that is stretched around a plurality of rollers 731.
- the belt 732 is driven by actively rotating one or more rollers 731. Note that these first to fourth modifications may be applied in combination with each other.
- FIG. 18 is a plan view showing the transport system 1 according to the present embodiment.
- the tilting table 700 is, for example, above the main conveyor MC or at a position that is provided side by side in the X direction with respect to the main conveyor MC.
- the position of the tilt table 700 is not limited to the above example.
- the tilting table 700 may be provided at the same position as in the fifth embodiment.
- the robot apparatus 200 conveys all the luggage P taken out from the container C to the upper side of the luggage receiving part 710 of the tilting table 700, and drops it on the luggage receiving part 710.
- the behavior when the load P in the vertically long posture D2 is dropped on the load receiving portion 710 is as described with reference to FIG.
- FIG. 19 shows the behavior when the load P in the horizontally long posture D1 is dropped on the load receiving portion 710.
- FIG. 19A when the load P in the horizontally long posture D1 is placed on the load receiving portion 710 of the tilting table 700, the load P is rearward (in FIG. 11). The force that the load P tries to rotate forward (in the direction of arrow R1 in FIG.
- the load P in the horizontally long posture D1 rotates forward along the load receiving portion 710 and slides down on the load receiving portion 710 while maintaining the horizontally long posture D1 as shown in FIG.
- the baggage P that has slid down on the baggage receiving portion 710 in the horizontally long posture D1 is supplied to the main conveyor MC in the horizontally long posture D1.
- the distance between the luggage P and the luggage receiver 710 is small even when the luggage P rotates forward. For this reason, the force which acts on the load P by the load P rotating and contacting the load receiving part 710 is not large.
- FIG. 20 is a flowchart illustrating an example of the operation flow of the transport system 1 according to the present embodiment.
- the processing from S101 to S106 and S110 is the same as the corresponding processing in the first embodiment.
- the processing from S201 to S204 is the same as the corresponding processing of the fifth embodiment.
- the process of S202 is described before the process of S201 for easy understanding. However, either the process of S201 or the process of S202 may be performed first or may be performed in parallel.
- the robot apparatus 200 drops the baggage P onto the baggage receiving unit 710 without tilting the baggage P when the baggage P taken out from the container C is in the horizontally long posture D1.
- the robot apparatus 200 tilts the baggage P and drops it on the baggage receiving unit 710 as described with reference to FIG.
- the luggage P is rotated from the vertically long position D2 to the horizontally long position D1 by dropping the load P in the vertically long position D2 onto the load receiving portion 710 of the tilting table 700, and the horizontally long position D1.
- it is supplied to the main conveyor MC.
- it is possible to omit the operation of re-grabbing the baggage P in the vertically long posture D2 and changing it to the horizontally long posture D1 by the robot apparatus 200. Thereby, speeding up of a conveyance process can be achieved.
- an inclined table 700 having an arcuate load receiving portion 710 as shown in FIG. 15 when used, for example, an inclined stand 700 having a linear load receiving portion 710 as shown in FIG. 19 is used.
- the distance between the load P in the horizontally long posture D1 and the load receiving portion 710 (the distance until it rotates forward and contacts) can be reduced. Thereby, it can suppress that magnitude
- the conveyance process can be speeded up by having the second conveyor that is attached to the robot apparatus and conveys the cargo received from the robot apparatus toward the first conveyor. Can do.
- the embodiment can be expressed as follows. (1) It has a holding part capable of holding a load and an arm for moving the holding part, and is provided in a second direction different from the first direction with respect to a first conveyor extending in the first direction.
- a robotic device A second conveyor that is provided side by side in the first direction with respect to the robot apparatus, and that conveys the load toward the first conveyor in the second direction;
- a storage unit for storing information;
- a hardware processor for executing a program stored in the storage unit, In the storage unit, the hardware processor, A process of controlling the robot device to take out the load from the first stacking unit of the load and place the taken-out load on the second conveyor;
- the program for executing is stored, Conveying system.
- a robot apparatus having a holding section capable of holding a load and an arm for moving the holding section, and provided side by side with the first conveyor; A second conveyor for transporting the load toward the first conveyor; A storage unit for storing information; A hardware processor for executing a program stored in the storage unit, In the storage unit, the hardware processor, A process of controlling the robot device to take out the load from the load accumulation unit and place the taken-out load on the second conveyor; When the package satisfies the first condition, the package is conveyed to the first conveyor by rotating the second conveyor forward, and when the package does not satisfy the first condition, the second conveyor is rotated backward. A process for controlling the second conveyor so as to convey the luggage to a luggage collection section or a third conveyor extending toward the luggage collection section, The program for executing is stored, Conveying system.
- a holding part capable of holding a load and an arm for moving the holding part, and is attached to the first conveyor extending in the first direction in a second direction different from the first direction.
- a robotic device A second conveyor which is provided in the first direction with respect to the robotic device and conveys the cargo received from the first conveyor in a direction away from the first conveyor;
- a storage unit for storing information;
- a hardware processor for executing a program stored in the storage unit, In the storage unit, the hardware processor, A process for controlling the robotic device so as to convey the luggage conveyed by the second conveyor to the accumulation unit of the luggage;
- the program for executing is stored, Conveying system.
Landscapes
- Engineering & Computer Science (AREA)
- Mechanical Engineering (AREA)
- Robotics (AREA)
- General Engineering & Computer Science (AREA)
- Manufacturing & Machinery (AREA)
- Quality & Reliability (AREA)
- Physics & Mathematics (AREA)
- General Physics & Mathematics (AREA)
- Automation & Control Theory (AREA)
- Specific Conveyance Elements (AREA)
- Manipulator (AREA)
- Relays Between Conveyors (AREA)
Abstract
搬送システムは、ロボット装置と、第2コンベアと、制御部とを持つ。前記ロボット装置は、荷物を保持可能な保持部と、前記保持部を移動させるアームとを有し、第1方向に延びた第1コンベアに対して前記第1方向とは異なる第2方向で併設される。前記第2コンベアは、前記ロボット装置に対して前記第1方向で併設され、前記第2方向で前記第1コンベアに向けて前記荷物を搬送する。前記制御部は、前記荷物の集積部から前記荷物を取り出し、取り出された前記荷物を前記第2コンベアに載せるように前記ロボット装置を制御する。
Description
本発明の実施形態は、搬送システムに関する。
物流センターなどで、集積された荷物を取り出してベルトコンベアなどの目的箇所まで搬送するロボット装置を備えた搬送システムが知られている。ところで、搬送システムは、搬送処理の高速化が期待されている。
本発明が解決しようとする課題は、搬送処理の高速化を図ることができる搬送システムを提供することである。
実施形態の搬送システムは、ロボット装置と、第2コンベアと、制御部とを持つ。前記ロボット装置は、荷物を保持可能な保持部と、前記保持部を移動させるアームとを有し、第1方向に延びた第1コンベアに対して前記第1方向とは異なる第2方向で併設される。前記第2コンベアは、前記ロボット装置に対して前記第1方向で併設され、前記第2方向で前記第1コンベアに向けて前記荷物を搬送する。前記制御部は、前記荷物の集積部から前記荷物を取り出し、取り出された前記荷物を前記第2コンベアに載せるように前記ロボット装置を制御する。
実施形態の搬送システムは、ロボット装置と、第2コンベアと、制御部とを持つ。前記ロボット装置は、荷物を保持可能な保持部と、前記保持部を移動させるアームとを有し、第1方向に延びた第1コンベアに対して前記第1方向とは異なる第2方向で併設される。前記第2コンベアは、前記ロボット装置に対して前記第1方向で併設され、前記第2方向で前記第1コンベアに向けて前記荷物を搬送する。前記制御部は、前記荷物の集積部から前記荷物を取り出し、取り出された前記荷物を前記第2コンベアに載せるように前記ロボット装置を制御する。
以下、実施形態の搬送システムを、図面を参照して説明する。なお以下の説明では、同一または類似の機能を有する構成に同一の符号を付す。そして、それら構成の重複する説明は省略する場合がある。また、本願でいう「XXに基づく」とは、「少なくともXXに基づく」ことを意味し、XXに加えて別の要素に基づく場合も含む。「XXに基づく」とは、XXを直接に用いる場合に限定されず、XXに対して演算や加工が行われたものに基づく場合も含む。「XX」は、任意の要素(例えば、任意の検出結果や設定値、指標、物理量、その他の情報)である。
また、+X方向、-X方向、+Y方向、-Y方向、およびZ方向について先に定義する。+X方向、-X方向、+Y方向、および-Y方向は、水平面に沿う方向である。-X方向は、+X方向とは反対の方向である。+X方向と-X方向とを区別しない場合は、単にX方向と称する。+Y方向および-Y方向は、X方向とは交差する(例えば略直交する)方向である。-Y方向は、+Y方向とは反対の方向である。+Y方向と-Y方向とを区別しない場合は、単にY方向と称する。Z方向は、鉛直方向である。X方向は、「第1方向」の一例である。Y方向は、「第2方向」の一例である。
(第1の実施形態)
まず、実施形態の搬送システム1が設置される設置環境の一例について説明する。
図1は、第1の実施形態の搬送システム1を示す平面図である。本実施形態の搬送システム1は、物流センターなどに設置され、例えば荷物が収容された容器から、荷物を排出するコンベアへ荷物を搬送する荷下ろし装置である。図1に示すように、搬送システム1が設置される設置環境は、例えば、メインコンベアMC、第1集積体配置領域A1、第2集積体配置領域A2、および荷物回収領域A3を有する。
まず、実施形態の搬送システム1が設置される設置環境の一例について説明する。
図1は、第1の実施形態の搬送システム1を示す平面図である。本実施形態の搬送システム1は、物流センターなどに設置され、例えば荷物が収容された容器から、荷物を排出するコンベアへ荷物を搬送する荷下ろし装置である。図1に示すように、搬送システム1が設置される設置環境は、例えば、メインコンベアMC、第1集積体配置領域A1、第2集積体配置領域A2、および荷物回収領域A3を有する。
メインコンベアMCは、例えば、X方向に延びている。メインコンベアMCは、メインコンベアMCの上に載せられた荷物Pを、+X方向に搬送する。本実施形態では、メインコンベアMCは、搬送システム1によって荷下ろしされた荷物Pを、下流側の工程に排出する排出コンベアである。
第1集積体配置領域A1および第2集積体配置領域A2は、両者の間にX方向に所定の距離を空けて配置されている。ここで、「領域」とは、面を意味し、例えば後述する容器Cが置かれる載置面を意味する。第1集積体配置領域A1および第2集積体配置領域A2の各々は、メインコンベアMCに対してY方向で併設される。第1集積体配置領域A1および第2集積体配置領域A2の各々には、複数の荷物Pが収容された容器(荷物容器)Cが外部から搬入される。第1集積体配置領域A1に配置された容器Cは、「第1集積部」の一例である。第2集積体配置領域A2に配置された容器Cは、「第2集積部」の一例である。また、容器Cに収容された複数の荷物Pは、「荷物の集積体」と称されてもよい。容器Cは、例えば、ボックスパレットまたはその他のパレットである。ただし、容器Cは、荷物Pが収容または載置可能なものであればよく、上記例に限定されない。
本実施形態では、容器Cは、上方から見た場合、第1側壁Ca、第2側壁Cb、および後壁Ccを有するとともに、前面部を開放させる開口部Cdを有する。本願でいう「壁」(例えば、第1側壁Ca、第2側壁Cb、または後壁Cc)とは、板状の壁に限らず、例えば柵や格子のような仕切りを含む。容器Cは、第1集積体配置領域A1と第2集積体配置領域A2との間の領域Sに開口部Cdを向けるようにして、第1集積体配置領域A1および第2集積体配置領域A2の各々に配置される。すなわち、第1集積体配置領域A1に配置された容器Cの内部は、開口部Cdを通じて、+X方向に開放されている。一方で、第2集積体配置領域A2に配置された容器Cの内部は、開口部Cdを通じて、-X方向に開放されている。
荷物回収領域A3は、第1集積体配置領域A1と第2集積体配置領域A2との間の領域Sに対して、メインコンベアMCとは反対側に位置する。荷物回収領域A3には、回収容器RCが配置される。回収容器RCは、「荷物回収部」の一例である。回収容器RCには、容器Cに収容された複数の荷物Pのなかで、所定の条件(第1条件)を満たさない荷物Pが回収される。「所定の条件を満たさない」とは、例えば、荷物Pが、メインコンベアMCの下流側の工程で取り扱うことができないサイズ、重さ、または種類などに該当する場合である。本実施形態では、荷物Pのサイズ(例えば荷物Pのなかの最大寸法)が所定の大きさを超える場合に、荷物Pが前記所定の条件を満たさない荷物として取り扱われる例を取り上げて説明する。
次に、本実施形態の搬送システム1について説明する。
図1に示すように、搬送システム1は、例えば、検出部100、ロボット装置200、第1サブコンベア300A、第2サブコンベア300B、排除コンベア400、制御部500(図2参照)、および記憶部600(図2参照)を有する。なお以下の説明において、第1サブコンベア300Aと第2サブコンベア300Bとを区別しない場合は、単にサブコンベア300と称する場合がある。
図1に示すように、搬送システム1は、例えば、検出部100、ロボット装置200、第1サブコンベア300A、第2サブコンベア300B、排除コンベア400、制御部500(図2参照)、および記憶部600(図2参照)を有する。なお以下の説明において、第1サブコンベア300Aと第2サブコンベア300Bとを区別しない場合は、単にサブコンベア300と称する場合がある。
検出部100は、例えば、第1上部カメラ110(図2参照)、第1側部カメラ120、第2上部カメラ130(図2参照)、および第2側部カメラ140を有する。
第1上部カメラ110は、第1集積体配置領域A1の上方に配置される。第1上部カメラ110は、第1集積体配置領域A1に配置された容器C内の複数の荷物Pを上方から撮影する。すなわち、第1上部カメラ110は、複数の荷物Pの上面を撮影する。一方で、第1側部カメラ120は、平面視において、例えば、第1集積体配置領域A1に対してX方向に並ぶ。第1側部カメラ120は、第1集積体配置領域A1に配置された容器Cからロボット装置200によって取り出された(持ち上げられた)荷物Pの側面を撮影する。なお、ここで言う「側面」とは、「上面および下面とは異なる面」の意味で用いられている。第1上部カメラ110および第1側部カメラ120によって検出された情報は、制御部500に送られ、前記所定の条件の判定に用いられる。例えば、検出部100は、第1上部カメラ110によって撮影された画像または映像から、荷物PのX方向、およびY方向の長さの情報を取得し、第1側部カメラ120によって撮影された画像または映像から、荷物PのZ方向の長さの情報を取得する。第1上部カメラ110および第1側部カメラ120の各々は、荷物Pのサイズに関する情報を検出する検出装置の一例である。
同様に、第2上部カメラ130は、第2集積体配置領域A2の上方に配置される。第2上部カメラ130は、第2集積体配置領域A2に配置された容器C内の複数の荷物Pを上方から撮影する。すなわち、第2上部カメラ130は、複数の荷物Pの上面を撮影する。一方で、第2側部カメラ140は、平面視において、例えば、第2集積体配置領域A2に対してX方向に並ぶ。第2側部カメラ140は、第2集積体配置領域A2に配置された容器Cからロボット装置200によって取り出された(持ち上げられた)荷物Pの側面を撮影する。第2上部カメラ130および第2側部カメラ140によって検出された情報は、制御部500に送られ、前記所定の条件の判定に用いられる。例えば、検出部100は、第2上部カメラ130によって撮影された画像または映像から、荷物PのX方向、およびY方向の長さの情報を取得し、第2側部カメラ140によって撮影された画像または映像から、荷物PのZ方向の長さの情報を取得する。第2上部カメラ130および第2側部カメラ140は、荷物Pのサイズに関する情報を検出する検出装置の一例である。
なお、荷物Pのサイズに関する情報を検出する検出装置は、上記例に限定されない。荷物Pのサイズに関する情報を検出する検出装置は、例えば、レーザレンジファインダや、その他の各種センサを適宜適用することができる。
また、前記所定の条件の判定が荷物Pの重さに基づき行われる場合は、検出部100は、荷物Pの重さを検出するための重量計150(図2参照)を有してもよい。重量計150は、例えば、第1集積体配置領域A1および第2集積体配置領域A2に設けられ、ロボット装置200によって荷物Pが持ち上げられた場合に変化する容器Cと容器C内の荷物の重さを検出することで、荷物Pの重さに関する情報を取得してもよい。これに代えて、重量計150は、ロボット装置200の内部または下方に設けられ、ロボット装置200によって荷物Pが持ち上げられた場合にロボット装置200に作用する荷重を検出することで、荷物Pの重さに関する情報を取得してもよい。また、重量計150は、第1サブコンベア300Aおよび第2サブコンベア300Bの下方に設けられて、第1サブコンベア300Aまたは第2サブコンベア300Bに荷物Pが載せられた場合に、荷物Pが載せられることで変化する第1サブコンベア300Aまたは第2サブコンベア300Bと荷物Pの重さを検出することで、荷物Pの重さに関する情報を取得してもよい。
ロボット装置200は、保持部210と、アーム220とを有する。
保持部210は、例えば、1つ以上の吸着パッド211(図12参照)を有する。吸着パッド211には、吸着パッド211を真空吸引するポンプが例えばホースなどを介して接続されている。保持部210は、荷物Pに対して吸着パッド211が押し当てられた状態で吸着パッド211が吸引されることで荷物Pを保持することができる。なお、保持部210は、上記例に限定されず、荷物Pを挟み持つ機構や、その他の機構によって荷物Pを保持するものでもよい。
保持部210は、例えば、1つ以上の吸着パッド211(図12参照)を有する。吸着パッド211には、吸着パッド211を真空吸引するポンプが例えばホースなどを介して接続されている。保持部210は、荷物Pに対して吸着パッド211が押し当てられた状態で吸着パッド211が吸引されることで荷物Pを保持することができる。なお、保持部210は、上記例に限定されず、荷物Pを挟み持つ機構や、その他の機構によって荷物Pを保持するものでもよい。
アーム220は、例えば多関節アームであり、複数のアーム部材と、複数のアーム部材を回動可能に連結する連結部とを有する。アーム220の先端部は、保持部210に接続され、保持部210を支持している。アーム220は、制御部500によって入力されるX方向、Y方向、Z方向の座標に基づき、3次元空間の所望の位置に保持部210を移動させることができる。アーム220は、保持部210を移動させることで、保持部210によって保持された荷物Pを搬送する。
ロボット装置200は、メインコンベアMCに対してY方向で併設される。ロボット装置200は、X方向において、第1集積体配置領域A1と第2集積体配置領域A2との間の略中央部に位置する。ロボット装置200は、第1集積体配置領域A1に配置された容器Cの内部に保持部210を移動させ、容器Cの内部で荷物Pを保持して持ち上げることができる。これにより、ロボット装置200は、第1集積体配置領域A1に配置された容器Cに集積された荷物Pの荷下ろしを行うことができる。ロボット装置200は、第1集積体配置領域A1に配置された容器Cから取り出した荷物Pを、第1サブコンベア300Aの上に載せる。
同様に、ロボット装置200は、第2集積体配置領域A2に配置された容器Cの内部に保持部210を移動させ、容器Cの内部で荷物Pを保持して持ち上げることができる。これにより、ロボット装置200は、第2集積体配置領域A2に配置された容器Cに集積された荷物Pの荷下ろしを行うことができる。ロボット装置200は、第2集積体配置領域A2に配置された容器Cの内部から取り出した荷物Pを、第2サブコンベア300Bの上に載せる。
第1サブコンベア300Aは、X方向において、第1集積体配置領域A1(すなわち、第1集積体配置領域A1に配置された容器C)と、ロボット装置200との間に位置する。第1サブコンベア300Aは、ロボット装置200に対してX方向で併設される。第1サブコンベア300Aは、Y方向に沿って延びている。第1サブコンベア300Aは、メインコンベアMCに対して+Y方向で面する第1端部300Aaを有する。第1サブコンベア300Aは、第1サブコンベア300Aの上に載せられた荷物Pを、+Y方向に搬送する。第1サブコンベア300Aは、第1集積体配置領域A1に配置された容器Cからロボット装置200によって取り出された荷物Pを、ロボット装置200から受け取る。第1サブコンベア300Aは、ロボット装置200から受け取った荷物PをメインコンベアMCに向けて搬送する。第1サブコンベア300Aは、メインコンベアMCに向けて搬送した荷物PをメインコンベアMCに送り出す。
第2サブコンベア300Bは、X方向において、第2集積体配置領域A2(すなわち、第2集積体配置領域A2に配置された容器C)と、ロボット装置200との間に位置する。すなわち、第2サブコンベア300Bは、ロボット装置200に対して第1サブコンベア300Aとは反対側でロボット装置200に対して併設される。第2サブコンベア300Bは、Y方向に沿って延びている。第2サブコンベア300Bは、メインコンベアMCに対して+Y方向で面する第1端部300Baを有する。第2サブコンベア300Bは、第2サブコンベア300Bの上に載せられた荷物Pを、+Y方向に搬送する。第2サブコンベア300Bは、第2集積体配置領域A2に配置された容器Cからロボット装置200によって取り出された荷物Pを、ロボット装置200から受け取る。第2サブコンベア300Bは、ロボット装置200から受け取った荷物PをメインコンベアMCに向けて搬送する。第2サブコンベア300Bは、メインコンベアMCに向けて搬送した荷物PをメインコンベアMCに送り出す。
以上説明したように、本実施形態では、第1集積体配置領域A1、第1サブコンベア300A、第2集積体配置領域A2、および第2サブコンベア300Bは、ロボット装置200を中心として対称に配置されている。
サブコンベア300は、サブコンベア300が設置される設置面に対してサブコンベア300の本体部を持ち上げるリフト機構(不図示)を有する。これにより、サブコンベア300がロボット装置200に対して併設された場合であっても、ロボット装置200の保守時にロボット装置200に対するアクセスが容易になる。
排除コンベア400は、ロボット装置200に対して、メインコンベアMCとは反対側に位置する。排除コンベア400は、Y方向に沿って延びている。排除コンベア400は、荷物回収領域A3(すなわち、荷物回収領域A3に配置される回収容器RC)に向けて延びている。排除コンベア400は、排除コンベア400の上に載せられた荷物Pを、回収容器RCに向けて搬送する。排除コンベア400は、回収容器RCに向けて搬送した荷物Pを回収容器RCの内部に送り出す。
以上説明した、メインコンベアMC、第1サブコンベア300A、第2サブコンベア300B、および排除コンベア400は、1つの観点では、それぞれ「第1コンベア」、「第2コンベア」、「第3コンベア」、および「第4コンベア」の一例である。また別の観点では、メインコンベアMC、第1サブコンベア300A、および排除コンベア400は、それぞれ「第1コンベア」、「第2コンベア」、および「第3コンベア」の一例である。なお、メインコンベアMC、第1サブコンベア300A、第2サブコンベア300B、および排除コンベア400は、それぞれ、ベルトコンベアでもよいし、複数の回転ローラによって形成されたローラコンベアでもよいし、その他の種類のコンベアであってもよい。
図2は、本実施形態の搬送システム1のシステム構成を示すブロック図である。
図2に示すように、制御部500は、検出部100に含まれる各検出装置、ロボット装置200、第1サブコンベア300A、第2サブコンベア300B、排除コンベア400、および記憶部600と通信可能に接続されている。制御部500は、ロボット装置200、第1サブコンベア300A、第2サブコンベア300B、および排除コンベア400の動作に関する指示をこれら装置に送ることで、これら装置の動作を制御する。
図2に示すように、制御部500は、検出部100に含まれる各検出装置、ロボット装置200、第1サブコンベア300A、第2サブコンベア300B、排除コンベア400、および記憶部600と通信可能に接続されている。制御部500は、ロボット装置200、第1サブコンベア300A、第2サブコンベア300B、および排除コンベア400の動作に関する指示をこれら装置に送ることで、これら装置の動作を制御する。
制御部500は、搬送システム1のプロセッサ(例えば、CPU(Central Processing Unit))がプログラムを実行することで実現されるソフトウェア機能部である。ただし、制御部500の一部または全部は、LSI(Large Scale Integration)、ASIC(Application Specific Integrated Circuit)、FPGA(Field-Programmable Gate Array)などのハードウェアによって実現されてもよいし、ソフトウェア機能部とハードウェアとが協働することで実現されてもよい。
記憶部600は、例えば、RAM(Random Access Memory)、ROM(Read Only Memory)、HDD(Hard Disk Drive)、フラッシュメモリ、またはこれらのうち複数が組み合わされたハイブリッド型記憶装置などにより実現される。記憶部600には、前記所定の条件を含む各種判定に用いられる閾値が格納されている。
次に、本実施形態の制御部500について詳しく説明する。
図2に示すように、制御部500は、例えば、情報取得部510、画像解析部520、選出部530、判定部540、ロボット駆動制御部550、サブコンベア駆動制御部560、および排除コンベア駆動制御部570を有する。
図2に示すように、制御部500は、例えば、情報取得部510、画像解析部520、選出部530、判定部540、ロボット駆動制御部550、サブコンベア駆動制御部560、および排除コンベア駆動制御部570を有する。
情報取得部510は、検出部100(例えば、第1上部カメラ110、第1側部カメラ120、第2上部カメラ130、および第2側部カメラ140)が検出した情報を、検出部100から取得する。情報取得部510は、検出部100から取得した情報を、画像解析部520に出力する。
画像解析部520は、検出部100によって取得された情報(画像または映像)を解析する。例えば、画像解析部520は、第1上部カメラ110によって撮影された画像または映像を解析することで、第1集積体配置領域A1に配置された容器Cに収容された複数の荷物Pの位置および寸法を取得する。例えば、画像解析部520は、上方から見た場合の荷物Pの寸法(荷物Pの幅および奥行きの寸法)を取得する。また、画像解析部520は、第1側部カメラ120によって撮影された画像または映像を解析することで、第1集積体配置領域A1に配置された容器Cから持ち上げられた荷物Pの高さ寸法を取得する。
同様に、画像解析部520は、第2上部カメラ130によって撮影された画像または映像を解析することで、第2集積体配置領域A2に配置された容器Cに収容された複数の荷物Pの位置および寸法を取得する。例えば、画像解析部520は、上方から見た場合の荷物Pの寸法(荷物Pの幅および奥行きの寸法)を取得する。また、画像解析部520は、第2側部カメラ140によって撮影された画像または映像を解析することで、第2集積体配置領域A2に配置された容器Cから持ち上げられた荷物Pの高さ寸法を取得する。画像解析部520は、画像解析によって取得した荷物Pの位置情報を、選出部530およびロボット駆動制御部550に出力する。また、画像解析部520は、画像解析によって取得した荷物Pの寸法情報を、判定部540に出力する。
選出部530は、画像解析部520によって取得された荷物Pの位置情報に基づき、第1集積体配置領域A1に配置された容器C(または、第2集積体配置領域A2に配置された容器C)のなかから優先して取り出す1以上の荷物Pを選出する。例えば、選出部530は、複数の荷物Pの重なり具合や容器Cに対するロボット装置200の位置などを総合的に考慮し、優先して取り出す荷物Pを選出する。「優先して」とは、取り出す順序が先であることを意味する。例えば、選出部530は、容器Cに収容された荷物Pのなかで最上部に位置する荷物P、または開口部Cdに近い荷物Pなどを優先して取り出す荷物Pとして選出する。選出部530は、選出した荷物P(以下、「ピッキング荷物P」と称することがある)を示す情報を、ロボット駆動制御部550に出力する。
判定部540は、画像解析部520によって取得された荷物Pの寸法情報に基づき、ロボット装置200によって取り出された荷物Pが前記所定の条件(第1条件)を満たすか否かを判定する。例えば、判定部540は、荷物Pのなかの最大寸法と、記憶部600から読み出されたサイズに関する閾値とを比較し、荷物Pのなかの最大寸法が前記閾値未満であるか否かを判定する。判定部540は、荷物Pの最大寸法が前記閾値未満である場合、前記所定の条件を満たすとして、その荷物Pを取扱対象荷物と認定する。一方で、判定部540は、荷物Pの最大寸法が前記閾値以上である場合、前記所定の条件を満たさないとして、その荷物Pを取扱対象外荷物と認定する。判定部540は、前記所定の条件に関する判定結果を、ロボット駆動制御部550およびサブコンベア駆動制御部560に出力する。
なお、検出部100および判定部540の構成および機能は、上記例に限定されない。例えば、検出部100は、第1側部カメラ120および第2側部カメラ140を有しなくてもよい。この場合、判定部540は、第1上部カメラ110および第2上部カメラ130により検出された情報(すなわち、荷物Pの上面の寸法)のみに基づき、前記所定の条件に関する判定処理を行ってもよい。
ロボット駆動制御部550は、ロボット装置200の駆動を制御する。例えば、ロボット駆動制御部550は、画像解析部520によって取得された荷物Pの位置情報、および選出部530によって選出されたピッキング荷物Pを示す情報などに基づき、アーム220の軌道経路を計算する。そして、ロボット駆動制御部550は、保持部210によって荷物Pを保持し、アーム220を移動させることで第1集積体配置領域A1に配置された容器C(または、第2集積体配置領域A2に配置された容器C)から荷物Pを取り出すようにロボット装置200を制御する。
また、ロボット駆動制御部550は、判定部540によって判定された判定結果に基づき、第1集積体配置領域A1に配置された容器C(または、第2集積体配置領域A2に配置された容器C)から取り出した荷物Pの移動先(載置先)を決定する。例えば、ロボット駆動制御部550は、前記所定の条件を満たす場合(取扱対象荷物と認定される場合)、容器Cから取り出した荷物を容器Cから近いサブコンベア300(第1サブコンベア300Aまたは第2サブコンベア300B)の上に載せるようにロボット装置200を制御する。一方で、ロボット駆動制御部550は、前記所定の条件が満たされない場合(取扱対象外荷物と認定される場合)、容器Cから取り出した荷物Pを排除コンベア400の上に載せるようにロボット装置200を制御する。
ここで、図3は、搬送システム1による荷物Pの搬送経路の一例を示す図である。図3に示すように、第1サブコンベア300Aは、例えば、第1領域311と、第2領域312とを有する。第1領域311は、X方向で、容器Cの開口部Cdと並ぶ領域である。言い換えると、第1領域311は、容器Cの第1側壁Caおよび第2側壁Cbに邪魔されずに、容器Cの内部から荷物Pを移動させることができる領域である。本実施形態では、ロボット駆動制御部550は、荷物Pを容器Cから第1サブコンベア300Aの第1領域311に移すように(図3中の(1)から(2)へ荷物Pを移動させるように)、ロボット装置200を制御する。このような荷物Pの搬送経路によれば、ロボット装置200によって、容器Cの第1側壁Caおよび第2側壁Cbを避けながら荷物PをメインコンベアMCに向けて搬送する経路計算などが必要なくなる。このため、ロボット装置200の制御アルゴリズムを単純化することができる。なお、図3は、第1サブコンベア300Aに関する例を取り上げて示すが、第2サブコンベア300Bについても同様である。
サブコンベア駆動制御部560は、第1サブコンベア300Aおよび第2サブコンベア300Bの駆動を制御する。例えば、サブコンベア駆動制御部560は、第1集積体配置領域A1に配置された容器Cからロボット装置200が荷物Pを取り出す場合、第1サブコンベア300Aを駆動させる。なお、第1サブコンベア300Aは、第1サブコンベア300Aの上に荷物Pが実際に載せられた場合だけ駆動されてもよいし、第1集積体配置領域A1に配置された容器Cに対してロボット装置200が荷物Pを取り出す作業を続ける間に亘って駆動され続けてもよい。例えば、サブコンベア駆動制御部560は、ロボット装置200によって第1サブコンベア300Aの第1領域311に載せられた荷物PをメインコンベアMCに向けて搬送するように(図3中の(2)から(3)へ荷物Pを移動させるように)、第1サブコンベア300Aを駆動する。
同様に、サブコンベア駆動制御部560は、第2集積体配置領域A2に配置された容器Cからロボット装置200が荷物Pを取り出す場合、第2サブコンベア300Bを駆動させる。なお、第2サブコンベア300Bは、第2サブコンベア300Bの上に荷物Pが実際に載せられた場合だけ駆動されてもよいし、第2集積体配置領域A2に配置された容器Cに対してロボット装置200が荷物Pを取り出す作業を続ける間に亘って駆動され続けてもよい。例えば、サブコンベア駆動制御部560は、ロボット装置200によって第2サブコンベア300Bの第1領域311に載せられた荷物PをメインコンベアMCに向けて搬送するように、第2サブコンベア300Bを制御する。
排除コンベア駆動制御部570は、排除コンベア400の駆動を制御する。例えば、排除コンベア駆動制御部570は、排除コンベア400の上に荷物Pが載せられる場合に駆動される。
次に、本実施形態の搬送システム1の動作の流れの一例について説明する。
図4は、本実施形態の搬送システム1の動作の流れの一例を示すフローチャートである。図4に示すように、まず、検出部100は、容器C内の様子を検出する(S101)。本実施形態では、検出部100は、容器C内の画像または映像を撮影する。検出部100は、撮影された画像または映像を制御部500に送る。制御部500の画像解析部520は、検出部100から受け取る画像または映像を解析し、荷物Pの位置情報および寸法情報を取得する。
図4は、本実施形態の搬送システム1の動作の流れの一例を示すフローチャートである。図4に示すように、まず、検出部100は、容器C内の様子を検出する(S101)。本実施形態では、検出部100は、容器C内の画像または映像を撮影する。検出部100は、撮影された画像または映像を制御部500に送る。制御部500の画像解析部520は、検出部100から受け取る画像または映像を解析し、荷物Pの位置情報および寸法情報を取得する。
次に、制御部500の選出部530は、画像解析部520の解析結果に基づき、容器Cの内部に荷物Pが残っているか否かを判定する(S102)。選出部530は、容器C内に荷物Pが残っていると判定した場合、容器C内にある荷物Pのなかから優先して取り出す1つ以上の荷物P(ピッキング荷物P)を決定する(S103)。そして、選出部530は、選出部530によって決定されたピッキング荷物Pを示す情報を、ロボット駆動制御部550に送る。ロボット駆動制御部550は、選出部530によって決定されたピッキング荷物Pに関する情報と、画像解析部520により取得された荷物Pの位置情報などに基づきロボット装置200の駆動を制御し、ピッキング荷物Pを容器Cから取り出す(S104)。そして、検出部100は、第1側部カメラ120(または第2側部カメラ140)によって撮影された画像または映像から、荷物PのZ方向の長さの情報を取得する(S105)。
次に、判定部540は、ロボット装置200によって取り出された荷物Pが前記所定の条件を満たすか否かを判定する(S106)。そして、ロボット駆動制御部550は、ロボット装置200によって取り出された荷物Pが前記所定の条件を満たすと判定部540によって判定された場合、取り出した荷物Pを、荷物Pが取り出された容器Cに近いサブコンベア300の上に載せるようにロボット装置200を制御する(S107)。ロボット装置200によって荷物Pが載せられたサブコンベア300は、荷物PをメインコンベアMCに向けて搬送し、荷物PをメインコンベアMCへ送り出す(S108)。
一方で、ロボット駆動制御部550は、ロボット装置200によって取り出された荷物Pが前記所定の条件を満たさないと判定部540によって判定された場合、取り出した荷物Pを、排除コンベア400の上に載せるようにロボット装置200を制御する(S109)。そして、ロボット装置200によって荷物Pが載せられた排除コンベア400は、荷物Pを回収容器RCに向けて搬送し、荷物Pを回収容器RCへ送り出す。
また、選出部530は、S102の処理において、容器Cの内部に荷物Pが残っていないと判定した場合、荷物Pが残っていないことを示す情報を、ロボット駆動制御部550およびサブコンベア駆動制御部560に出力する。この場合、ロボット駆動制御部550は、第1集積体配置領域A1に配置された容器Cおよび第2集積体配置領域A2に配置された容器Cのなかで、もう一方の容器Cに向けてロボット装置200を回転させる(S110)。そして、制御部500は、荷物Pが入った容器Cに対してS101からS109の動作を実行する。この間に、先の処理において空になった容器Cは、新しい荷物Pが入った容器Cに交換される。以上のような動作が、第1集積体配置領域A1に配置された容器Cおよび第2集積体配置領域A2に配置された容器Cに対して交互に繰り返される。これにより、ロボット装置200のピッキング作業を中断することなく、荷物Pを処理することができ、搬送処理の高速化を図ることができる。
以上のような構成の搬送システム1によれば、搬送処理の高速化を図ることができる。すなわち、本実施形態の搬送システム1は、ロボット装置200と、ロボット装置200に対して併設されてロボット装置200から受け取る荷物PをメインコンベアMCに向けて搬送する第1サブコンベア300Aとを有する。このような構成によれば、容器Cに収容された荷物Pをロボット装置200によってメインコンベアMCに直接搬送する場合に比べて、ロボット装置200の移動距離を短くすることができる。これにより、容器Cから荷物Pを取り出す1回当たりの必要時間を短くすることができ、搬送処理の高速化を図ることができる。
ここで比較例として、サブコンベア300を有しない搬送システムが既設のメインコンベアMCに追加的に設置される場合について考える。ここで、メインコンベアMCの位置や高さは、搬送システム1の設置環境によって様々である。そのため、本比較例の搬送システムでは、メインコンベアMCの位置や高さに応じてロボット装置200のアーム220の移動先の座標や軌道経路などを個別に設定する必要がある。
一方で、本実施形態の搬送システム1は、第1サブコンベア300Aを有する。この場合、メインコンベアMCの位置や高さに合うように、第1サブコンベア300Aの長さや傾斜を設計することで、ロボット装置200の制御に関してメインコンベアMCの位置や高さを考慮しなくて良くなる。このため、搬送システム1の設置時の負担を低減することができる。また、本実施形態の構成によれば、メインコンベアMCには改造が必要ない。この観点でも搬送システム1の設置時の負担を低減することができる。さらに、第1サブコンベア300Aは、容器Cとロボット装置200との間の空間を利用して配置されるので、搬送システム1が使用するスペースが過大に大きくなることを避けることができる。
本実施形態では、搬送システム1は、ロボット装置200に対して第1サブコンベア300Aとは反対側に位置して、ロボット装置200から受け取った荷物PをメインコンベアMCに向けて搬送する第2サブコンベア300Bを備える。このような構成によれば、第1集積体配置領域A1に配置された容器Cが空になった場合に、第2集積体配置領域A2に配置された容器Cから荷物Pをロボット装置200によって取り出すことができ、その間に第1集積体配置領域A1に配置された容器Cを、荷物Pが入った容器Cに置き換えることができる。第2集積体配置領域A2に配置された容器Cが空になった場合も同様である。これにより、いずれか一方の容器Cが空になった場合でも、ロボット装置200を停止させることなく動かし続けることができる。これにより、搬送処理の効率向上を図ることができる。
本実施形態では、排除コンベア400がロボット装置200の後方に配置されている。すなわち、排除コンベア400がロボット装置200に対してメインコンベアベルトMCとは反対側に位置する。このような構成によれば、第1集積体配置領域A1および第2集積体配置領域A2のいずれからの荷下ろし中にも、取扱対象外荷物を排除コンベア400に載せることができる。この観点でも、ロボット装置200を停止させることなく動かし続けることができ、搬送処理の効率向上を図ることができる。
なお、第1の実施形態では、前記所定の条件(第1条件)が満たされない場合、荷物Pは、ロボット装置200によって排除コンベア400に搬送される例を説明した。これに代えて、例えば排除コンベア400が設けられていない場合は、荷物Pは、ロボット装置200によって荷物回収領域A3(例えば、荷物回収領域A3に配置された回収容器RC)に直接に搬送されてもよい。
(第2の実施形態)
次に、第2の実施形態について説明する。本実施形態は、前記所定の条件(第1条件)が満たされない場合、第1サブコンベア300Aおよび第2サブコンベア300Bが逆回転されることで荷物Pが排除コンベア400に搬送される点で、第1の実施形態とは異なる。なお、以下に説明する以外の構成は、第1の実施形態と同様である。
次に、第2の実施形態について説明する。本実施形態は、前記所定の条件(第1条件)が満たされない場合、第1サブコンベア300Aおよび第2サブコンベア300Bが逆回転されることで荷物Pが排除コンベア400に搬送される点で、第1の実施形態とは異なる。なお、以下に説明する以外の構成は、第1の実施形態と同様である。
図5は、本実施形態の搬送システム1を示す平面図である。
図5に示すように、本実施形態では、第1サブコンベア300Aは、第1端部300Aaと、第2端部300Abとを有する。第1端部300Aaは、メインコンベアMCに対して+Y方向で面する。第2端部300Abは、第1端部300Aaとは反対側に位置し、排除コンベア400に対して-Y方向で面する。言い換えると、排除コンベア400は、第1サブコンベア300Aに対してメインコンベアMCとは反対側に位置して第1サブコンベア300Aに対して併設される。また別の観点では、第1サブコンベア300Aは、Y方向に沿って直線状に延びた第1部分321と、第1部分321から折れ曲がり、排除コンベア400に向けて延びた第2部分322とを有する。第2部分322は、Y方向に対して傾斜して配置された複数のローラ(不図示)を有し、第1サブコンベア300Aの上に載せられた荷物Pを排除コンベア400に向けて搬送する。
図5に示すように、本実施形態では、第1サブコンベア300Aは、第1端部300Aaと、第2端部300Abとを有する。第1端部300Aaは、メインコンベアMCに対して+Y方向で面する。第2端部300Abは、第1端部300Aaとは反対側に位置し、排除コンベア400に対して-Y方向で面する。言い換えると、排除コンベア400は、第1サブコンベア300Aに対してメインコンベアMCとは反対側に位置して第1サブコンベア300Aに対して併設される。また別の観点では、第1サブコンベア300Aは、Y方向に沿って直線状に延びた第1部分321と、第1部分321から折れ曲がり、排除コンベア400に向けて延びた第2部分322とを有する。第2部分322は、Y方向に対して傾斜して配置された複数のローラ(不図示)を有し、第1サブコンベア300Aの上に載せられた荷物Pを排除コンベア400に向けて搬送する。
同様に、第2サブコンベア300Bは、第1端部300Baと、第2端部300Bbとを有する。第1端部300Baは、メインコンベアMCに対して+Y方向で面する。第2端部300Bbは、第1端部300Baとは反対側に位置し、排除コンベア400に対して-Y方向で面する。言い換えると、排除コンベア400は、第2サブコンベア300Bに対してメインコンベアMCとは反対側に位置して第2サブコンベア300Bに対して併設される。また別の観点では、第2サブコンベア300Bは、Y方向に沿って直線状に延びた第1部分321と、第1部分321から折れ曲がり、排除コンベア400に向けて延びた第2部分322とを有する。第2部分322は、Y方向に対して傾斜して配置された複数のローラ(不図示)を有し、第2サブコンベア300Bの上に載せられた荷物Pを排除コンベア400に向けて搬送する。
本実施形態では、ロボット装置200は、前記所定の条件が満たされるか否かに関わらず、第1集積体配置領域A1に配置された容器Cから取り出した荷物Pを第1サブコンベア300Aの上に載せる。同様に、ロボット装置200は、前記所定の条件が満たされるか否かに関わらず、第2集積体配置領域A2に配置された容器Cから取り出した荷物Pを第2サブコンベア300Bの上に載せる。
本実施形態では、判定部540は、前記所定の条件に関する判定結果を、サブコンベア駆動制御部560に出力する。サブコンベア駆動制御部560は、第1集積体配置領域A1に配置された容器Cから取り出した荷物Pが前記所定の条件を満たす場合(搬送対象荷物として取り扱われる場合)、第1サブコンベア300Aを正回転させ、ロボット装置200によって第1サブコンベア300Aに載せられた荷物PをメインコンベアMCに向けて搬送し、その荷物PをメインコンベアMCに送り出す。一方で、サブコンベア駆動制御部560は、第1集積体配置領域A1に配置された容器Cから取り出した荷物Pが前記所定の条件を満たさない場合(搬送対象外荷物として取り扱われる場合)、第1サブコンベア300Aを逆回転させ、ロボット装置200によって第1サブコンベア300Aに載せられた荷物Pを排除コンベア400に向けて搬送し、その荷物Pを排除コンベア400に送り出す。
同様に、サブコンベア駆動制御部560は、第2集積体配置領域A2に配置された容器Cから取り出した荷物Pが前記所定の条件を満たす場合(搬送対象荷物として取り扱われる場合)、第2サブコンベア300Bを正回転させ、ロボット装置200によって第2サブコンベア300Bに載せられた荷物PをメインコンベアMCに向けて搬送し、その荷物PをメインコンベアMCに送り出す。一方で、サブコンベア駆動制御部560は、第2集積体配置領域A2に配置された容器Cから取り出した荷物Pが前記所定の条件を満たさない場合(搬送対象外荷物として取り扱われる場合)、第2サブコンベア300Bを逆回転させ、ロボット装置200によって第2サブコンベア300Bに載せられた荷物Pを排除コンベア400に向けて搬送し、その荷物Pを排除コンベア400に送り出す。
次に、本実施形態の搬送システム1の動作の流れの一例について説明する。
図6は、本実施形態の搬送システム1の動作の流れの一例を示すフローチャートである。なお、図6中で、S101からS107、およびS110の処理は、第1の実施形態の対応する処理と同様である。図6中では、理解容易のため、S107の処理を、S106の処理の前に記載している。ただし、S106の処理とS107の処理は、どちらが先に行われてもよく、並行して行われてもよい。また、S107の処理は、S105の処理よりも先に行われてもよく、S105の処理と並行して行われてもよい。
図6は、本実施形態の搬送システム1の動作の流れの一例を示すフローチャートである。なお、図6中で、S101からS107、およびS110の処理は、第1の実施形態の対応する処理と同様である。図6中では、理解容易のため、S107の処理を、S106の処理の前に記載している。ただし、S106の処理とS107の処理は、どちらが先に行われてもよく、並行して行われてもよい。また、S107の処理は、S105の処理よりも先に行われてもよく、S105の処理と並行して行われてもよい。
本実施形態では、制御部500は、荷物Pが前記所定の条件を満たすと判定部540によって判定された場合、サブコンベア300を正回転させることで、サブコンベア300の上に載せられた荷物PをメインコンベアMCへ搬送する(S108)。一方で、制御部500は、荷物Pが前記所定の条件を満たさないと判定部540によって判定された場合、サブコンベア300を逆回転させることで、サブコンベア300の上に載せられた荷物Pを排除コンベア400へ搬送する(S109)。
以上のような構成によれば、第1の実施形態と同様に、搬送処理の高速化を図ることができる。ここで、ロボット装置200が容器Cから荷物Pを取り出すために1回当たり必要な時間は、サブコンベア300が荷物PをメインコンベアMCまたは排除コンベア400に搬送するために必要な時間よりも長い場合がある。そこで、本実施形態では、制御部500は、荷物Pが前記所定の条件を満たさない場合、第1サブコンベア300Aを逆回転させることで、ロボット装置200から受け取った荷物Pを排除コンベア400に搬送する動作を第1サブコンベア300Aによって行う。このような構成によれば、ロボット装置200の移動距離を短くすることができる。これにより、搬送処理のさらなる高速化を図ることができる。
なお、第2の実施形態では、前記所定の条件(第1条件)が満たされない場合、荷物Pは、サブコンベア300によって排除コンベア400に搬送される例を説明した。これに代えて、例えば排除コンベア400が設けられていない場合は、荷物Pは、サブコンベア300によって荷物回収領域A3(例えば、荷物回収領域A3に配置された回収容器RC)に直接に搬送されてもよい。
(第3の実施形態)
次に、第3の実施形態について説明する。本実施形態は、メインコンベアMCに対して搬送システム1よりも上流側から荷物Pが流れてくる点で、第1の実施形態とは異なる。なお、以下に説明する以外の構成は、第1の実施形態と同様である。
次に、第3の実施形態について説明する。本実施形態は、メインコンベアMCに対して搬送システム1よりも上流側から荷物Pが流れてくる点で、第1の実施形態とは異なる。なお、以下に説明する以外の構成は、第1の実施形態と同様である。
図7は、本実施形態の搬送システム1を示す平面図である。
図7に示すように、本実施形態では、検出部100は、荷物センサ160を有する。荷物センサ160は、メインコンベアMCに対して併設され、メインコンベアMCの荷物Pの流れを検出する。例えば、荷物センサ160は、サブコンベア300に対して所定の距離内に入る荷物Pが存在する場合、その荷物Pを検出する。荷物センサ160によって検出された検出結果は、制御部500に出力される。
図7に示すように、本実施形態では、検出部100は、荷物センサ160を有する。荷物センサ160は、メインコンベアMCに対して併設され、メインコンベアMCの荷物Pの流れを検出する。例えば、荷物センサ160は、サブコンベア300に対して所定の距離内に入る荷物Pが存在する場合、その荷物Pを検出する。荷物センサ160によって検出された検出結果は、制御部500に出力される。
本実施形態では、サブコンベア駆動制御部560は、例えば、第1サブコンベア300Aから所定の距離内でメインコンベアMCに荷物Pが存在することが検出された場合、第1サブコンベア300Aの駆動を停止し、第1サブコンベア300Aに載せられた荷物PがメインコンベアMCに送り出されないようにする。また、サブコンベア駆動制御部560は、荷物センサ160の検出結果およびメインコンベアMCの搬送速度(回転速度)などに基づき、メインコンベアMCの荷物Pが第1サブコンベア300Aの近傍を通過したと判定された場合、第1サブコンベア300Aの駆動を再開し、第1サブコンベア300Aに載せられた荷物PをメインコンベアMCに送り出す。なお、ロボット駆動制御部550は、例えば、第1サブコンベア300Aが停止されている間も第1集積体配置領域A1に配置された容器Cから荷物Pを取り出す動作を行ってもよい。
同様に、サブコンベア駆動制御部560は、例えば、第2サブコンベア300Bから所定の距離内でメインコンベアMCに荷物Pが存在することが検出された場合、第2サブコンベア300Bの駆動を停止し、第2サブコンベア300Bに載せられた荷物PがメインコンベアMCに送り出されないようにする。また、サブコンベア駆動制御部560は、荷物センサ160の検出結果およびメインコンベアMCの搬送速度(回転速度)などに基づき、メインコンベアMCの荷物Pが第2サブコンベア300Bの近傍を通過したと判定された場合、第2サブコンベア300Bの駆動を再開し、第2サブコンベア300Bに載せられた荷物PをメインコンベアMCに送り出す。なお、ロボット駆動制御部550は、例えば、第2サブコンベア300Bが停止されている間も第2集積体配置領域A2に配置された容器Cから荷物Pを取り出す動作を行ってもよい。
以上のような構成によれば、第1の実施形態と同様に、搬送処理の高速化を図ることができる。また本実施形態によれば、サブコンベア300がバッファとして機能することで、メインコンベアMCの上に障害となる荷物Pが存在する場合であっても、ロボット装置200の動作を継続することができる。これにより、ロボット装置200が停止している時間を短縮または無くし、搬送処理のさらなる高速化を図ることができる。
(第4の実施形態)
次に、第4の実施形態について説明する。本実施形態は、搬送システム1がメインコンベアMCから供給される荷物Pを容器Cに積み込む荷積み装置である点で、第2の実施形態とは異なる。なお、以下に説明する以外の構成は、第2の実施形態と同様である。
次に、第4の実施形態について説明する。本実施形態は、搬送システム1がメインコンベアMCから供給される荷物Pを容器Cに積み込む荷積み装置である点で、第2の実施形態とは異なる。なお、以下に説明する以外の構成は、第2の実施形態と同様である。
図8は、本実施形態の搬送システム1を示す平面図である。
図8に示すように、本実施形態では、メインコンベアMCは、第1集積体配置領域A1および第2集積体配置領域A2に配置される容器Cに荷積みされる荷物Pを、搬送システム1に供給する供給コンベアである。メインコンベアMCは、メインコンベアMCを流れる荷物Pをサブコンベア300(第1サブコンベア300Aまたは第2サブコンベア300B)に供給する供給部MCaを有する。供給部MCaは、+X方向に流れる荷物Pの流れ方向を変化させる方向転換部であり、荷物Pをサブコンベア300の上に送り出す。供給部MCaは、例えば、ダイバータコンベアまたはターンローラなどであるが、これらに限定されない。また、本実施形態では、第1集積体配置領域A1および第2集積体配置領域A2には、搬送システム1によって荷物Pが積まれる空の容器Cが配置される。
図8に示すように、本実施形態では、メインコンベアMCは、第1集積体配置領域A1および第2集積体配置領域A2に配置される容器Cに荷積みされる荷物Pを、搬送システム1に供給する供給コンベアである。メインコンベアMCは、メインコンベアMCを流れる荷物Pをサブコンベア300(第1サブコンベア300Aまたは第2サブコンベア300B)に供給する供給部MCaを有する。供給部MCaは、+X方向に流れる荷物Pの流れ方向を変化させる方向転換部であり、荷物Pをサブコンベア300の上に送り出す。供給部MCaは、例えば、ダイバータコンベアまたはターンローラなどであるが、これらに限定されない。また、本実施形態では、第1集積体配置領域A1および第2集積体配置領域A2には、搬送システム1によって荷物Pが積まれる空の容器Cが配置される。
本実施形態では、第1上部カメラ110は、第1サブコンベア300Aの上方に配置され、第1サブコンベア300Aに載せられた荷物Pを撮影する。同様に、第2上部カメラ130は、第2サブコンベア300Bの上方に配置され、第2サブコンベア300Bに載せられた荷物Pを撮影する。また、本実施形態では、第1側部カメラ120は、第1サブコンベア300Aに載せられた荷物Pの側面を撮影する。同様に、第2側部カメラ140は、第2サブコンベア300Bに載せられた荷物Pの側面を撮影する。画像解析部520は、第1上部カメラ110および第1側部カメラ120によって撮影された画像または映像を解析することで、第1サブコンベア300Aが搬送する荷物Pの位置情報および寸法情報を取得する。同様に、画像解析部520は、第2上部カメラ130および第2側部カメラ140によって撮影された画像または映像を解析することで、第2サブコンベア300Bが搬送する荷物Pの位置情報および寸法情報を取得する。
第1サブコンベア300Aは、上述したようにメインコンベアMCの供給部MCaから荷物Pを受け取る。第1サブコンベア300Aは、供給部MCaから受け取った荷物Pを、-Y方向に搬送する。第1サブコンベア300Aは、供給部MCaから受け取った荷物Pを、メインコンベアMCよりもロボット装置200に近い位置に搬送する。例えば、第1サブコンベア300Aは、供給部MCaから受け取った荷物Pを、X方向でロボット装置200に並ぶ位置まで搬送する。例えば、第1サブコンベア300Aは、供給部MCaから受け取った荷物Pを、荷物Pの全部が第1サブコンベア300Aの第1領域311に含まれる位置まで搬送する。
同様に、第2サブコンベア300Bは、メインコンベアMCの供給部MCaから荷物Pを受け取る。第2サブコンベア300Bは、供給部MCaから受け取った荷物Pを、-Y方向に搬送する。第2サブコンベア300Bは、供給部MCaから受け取った荷物Pを、メインコンベアMCよりもロボット装置200に近い位置に搬送する。例えば、第2サブコンベア300Bは、供給部MCaから受け取った荷物Pを、X方向でロボット装置200に並ぶ位置まで搬送する。例えば、第2サブコンベア300Bは、供給部MCaから受け取った荷物Pを、荷物Pの全部が第2サブコンベア300Bの第1領域311に含まれる位置まで搬送する。
ロボット駆動制御部550は、前記所定の条件(第1条件)が満たされる場合、第1サブコンベア300Aによって搬送された荷物Pを保持部210によって保持し、保持した荷物Pを第1集積体配置領域A1に配置された容器Cの内部に搬送するようにロボット装置200を制御する。これにより、ロボット装置200は、第1集積体配置領域A1に配置された容器Cに対して荷物Pの荷積みを行う。一方で、ロボット駆動制御部550は、前記所定の条件が満たされない場合、第1サブコンベア300A上の荷物Pを取り出さないようにロボット装置200を制御する。これにより、第1サブコンベア300A上の荷物Pは、第1サブコンベア300Aによって排除コンベア400に向けて搬送され、排除コンベア400に送り出される。
同様に、ロボット駆動制御部550は、前記所定の条件が満たされる場合、第2サブコンベア300Bによって搬送された荷物Pを保持部210によって保持し、保持した荷物Pを第2集積体配置領域A2に配置された容器Cの内部に搬送するようにロボット装置200を制御する。これにより、ロボット装置200は、第2集積体配置領域A2に配置された容器Cに対して荷物Pの荷積みを行う。一方で、ロボット駆動制御部550は、前記所定の条件が満たされない場合、第2サブコンベア300B上の荷物Pを取り出さないようにロボット装置200を制御する。これにより、第2サブコンベア300B上の荷物Pは、第2サブコンベア300Bによって排除コンベア400に向けて搬送され、排除コンベア400に送り出される。
以上のような構成によれば、第1の実施形態と同様に、ロボット装置200の移動距離を短くすることができるので、搬送処理の高速化を図ることができる。
(第5の実施形態)
次に、第5の実施形態について説明する。本実施形態は、縦長姿勢の荷物Pを横長姿勢に変えてメインコンベアMCに供給する傾斜台700が設けられた点で、第1の実施形態とは異なる。なお、以下に説明する以外の構成は、第1の実施形態と同様である。
次に、第5の実施形態について説明する。本実施形態は、縦長姿勢の荷物Pを横長姿勢に変えてメインコンベアMCに供給する傾斜台700が設けられた点で、第1の実施形態とは異なる。なお、以下に説明する以外の構成は、第1の実施形態と同様である。
図9は、本実施形態の搬送システム1を示す平面図である。
図9に示すように、本実施形態では、搬送システム1は、傾斜台700を有する。傾斜台700は、メインコンベアMCに対して併設され、メインコンベアMCに供給される荷物Pが載せられる。例えば、傾斜台700は、メインコンベアMCに対してロボット装置200とは反対側に配置される。ただし、傾斜台700の配置位置は、上記例に限定されず、メインコンベアMCに対してロボット装置200と同じ側に配置されてもよい。
図9に示すように、本実施形態では、搬送システム1は、傾斜台700を有する。傾斜台700は、メインコンベアMCに対して併設され、メインコンベアMCに供給される荷物Pが載せられる。例えば、傾斜台700は、メインコンベアMCに対してロボット装置200とは反対側に配置される。ただし、傾斜台700の配置位置は、上記例に限定されず、メインコンベアMCに対してロボット装置200と同じ側に配置されてもよい。
傾斜台700は、メインコンベアMCに近付くに従い高さが低くなるように傾斜した荷物受け部(上面部)710を有する。例えば、荷物受け部710は、図9中の矢印Aで示す方向に進むに従い高さが低くなる。荷物受け部710の下流側の端部710aは、メインコンベアMCの上面(搬送面)と略同じ高さまたはメインコンベアMCの上面よりも僅かにかに高い位置に配置される。本実施形態では、傾斜台700の荷物受け部710は、金属製または樹脂製などの板材で形成されて滑らかな表面を有する。ただし、傾斜台700の構成および材質は、本実施形態の例に限定されない。傾斜台700の変形例については、後述する。
ここで、容器Cから取り出される荷物Pの姿勢の例について説明する。
図10は、容器Cから取り出される荷物Pの姿勢の例を示す図である。図10(a)は、横長姿勢D1にある荷物Pを示す。横長姿勢D1とは、荷物Pの幅、奥行き、高さを規定する3つの寸法a,b,cのうち、最も寸法が短いcが略鉛直方向に沿う姿勢を意味する。一方で、図10(b)は、縦長姿勢D2にある荷物Pを示す。縦長姿勢D2とは、荷物Pの幅、奥行き、高さを規定する3つの寸法a,b,cのうち、最も寸法が短いcが略鉛直方向に沿わない姿勢を意味する。ただし、横長姿勢D1および縦長姿勢D2の定義は、上記例に限定されない。横長姿勢D1は、例えば、3つの寸法a,b,cのうち、2番目に寸法が小さいbが略鉛直方向に沿う姿勢でもよい。この場合、縦長姿勢D2は、3つの寸法a,b,cのうち、最も寸法が大きいaが略鉛直方向に沿う姿勢となる。
図10は、容器Cから取り出される荷物Pの姿勢の例を示す図である。図10(a)は、横長姿勢D1にある荷物Pを示す。横長姿勢D1とは、荷物Pの幅、奥行き、高さを規定する3つの寸法a,b,cのうち、最も寸法が短いcが略鉛直方向に沿う姿勢を意味する。一方で、図10(b)は、縦長姿勢D2にある荷物Pを示す。縦長姿勢D2とは、荷物Pの幅、奥行き、高さを規定する3つの寸法a,b,cのうち、最も寸法が短いcが略鉛直方向に沿わない姿勢を意味する。ただし、横長姿勢D1および縦長姿勢D2の定義は、上記例に限定されない。横長姿勢D1は、例えば、3つの寸法a,b,cのうち、2番目に寸法が小さいbが略鉛直方向に沿う姿勢でもよい。この場合、縦長姿勢D2は、3つの寸法a,b,cのうち、最も寸法が大きいaが略鉛直方向に沿う姿勢となる。
一般的に、横長姿勢D1にある荷物Pは、姿勢が安定する。一方で、縦長姿勢D2にある荷物Pは、姿勢が不安定であり、コンベアによる搬送中に転倒する可能性がある。ある比較例の搬送装置としては、縦長姿勢D2の荷物Pが容器から取り出された場合、ロボット装置によって荷物を掴み直し、荷物Pの姿勢を横長姿勢D1に変えるものがある。しかしながら、このような構成によれば、搬送処理が遅くなる可能性がある。
そこで、本実施形態では、上述した傾斜台700が利用され、縦長姿勢D2にある荷物Pの姿勢が横長姿勢D1に変えられる。詳しく述べると、図11は、傾斜台700の作用を説明するための図である。図11に(a)で示すように、ある程度以上の角度で傾斜した傾斜台700の荷物受け部710の上に縦長姿勢D2にある荷物Pに載せられると、荷物Pの底面が荷物受け部710に沿って滑り下りる速度が一定以上に早くなる。荷物Pの底面が荷物受け部710に沿って滑り下りる速度が一定以上に早くなると、(b)で示すように荷物Pが前方(図11中の矢印R1の方向)に回転しようとする力よりも、荷物Pが後方(図11中の矢印R2の方向)に回転しようとする力が大きくなり、荷物Pが後方に回転する。その結果、縦長姿勢D2にある荷物Pは、荷物受け部710に沿うように後方に回転し、(c)で示すように横長姿勢D1になって荷物受け部710の上を滑り降りる。横長姿勢D1になって荷物受け部710の上を滑り降りた荷物Pは、横長姿勢D1でメインコンベアMCに供給される。なお、荷物Pが前方ではなく後方に回転することが好ましいのは、荷物Pが前方に回転する場合に比べて荷物Pが後方に回転する場合のほうが、荷物Pが回転して荷物受け部710に接したときに荷物Pに作用する力が小さくなるためである。これは、縦長姿勢D2にある荷物Pの後面と荷物受け部710とが成す角度(言い換えると、縦長姿勢D2にある荷物Pが横長姿勢D1に向けて後方に回転する場合に、荷物Pの後面が荷物受け部710に向けて移動する距離)が、縦長姿勢D2にある荷物Pの前面と荷物受け部710とが成す角度(言い換えると、縦長姿勢D2にある荷物Pが横長姿勢D1に向けて前方に回転する場合に、荷物Pの前面が荷物受け部710に向けて移動する距離)よりも小さいため、荷物Pに回転の勢いがつきにくいためである。
さらに本実施形態では、ロボット駆動制御部550は、容器Cから取り出された荷物Pが縦長姿勢D2にある場合に、荷物受け部710の上方で保持部210によって保持された荷物Pが荷物受け部710に沿う方向に向けて傾けられた状態で荷物Pに対する保持を解除することをロボット装置200に指示してもよい。なお、「荷物を荷物受け部に沿う方向に向けて(または傾斜台に沿う方向に向けて)傾けた状態」とは、荷物Pの傾きが荷物受け部710の傾きと略同じである場合に限定されない。「荷物を荷物受け面に沿う方向に向けて傾けた状態」とは、荷物受け部710の傾きに沿う方向に向けて荷物Pが鉛直方向に対して僅かに傾けられた状態でもよい。例えば、荷物Pは、鉛直方向に対して略5°傾けられた状態で、荷物受け部710の上に落とされる。
図12は、ロボット装置200によって荷物Pが傾けられる動作例を説明するための図である。なお、以下の動作例は、ロボット駆動制御部550による制御によって行われる。図12に(a)で示すように、例えば、ロボット装置200は、縦長姿勢D2にある荷物Pを傾斜台700の荷物受け部710の上方まで搬送する。次に、(b)で示すように、ロボット装置200は、保持部210によって保持された荷物Pを荷物受け部710に沿う方向に向けて僅かに傾ける。次に、(c)で示すように、ロボット装置200は、荷物Pを荷物受け部710に近付けるように、保持部210を下降させる。そして、ロボット装置200は、荷物Pと傾斜台700の荷物受け部710との間の距離が一定以下になると、荷物Pに対する保持部210の保持を解除し、荷物Pを荷物受け部710の上に落とす。(d)で示すように、荷物Pは、荷物受け部710に沿う方向に向けて傾けられた状態で荷物受け部710の上に落とされることで確実に後方に回転する。
ただし、ロボット装置200によって荷物Pが傾けられる動作例は、上記例に限定されない。例えば、ロボット装置200は、荷物受け部710に対して荷物Pを十分に近づけた後に、保持部210によって保持された荷物Pを荷物受け部710に沿う方向に向けて僅かに傾けてもよい。そして、ロボット装置200は、荷物Pを荷物受け部710に沿う方向に向けて傾けた後、そのまま荷物Pを荷物受け部710の上に落としてもよい。
また、本実施形態では、ロボット駆動制御部550は、荷物Pが横長姿勢D1に変化する場合に、荷物Pの3つの寸法a,b,cのうち、最も寸法が短いcを略鉛直方向に沿わせるために荷物Pを予め必要な姿勢に回転させるように、ロボット装置200のアーム220を制御してもよい。
次に、本実施形態の搬送システム1の動作の流れの一例について説明する。
図13は、本実施形態の搬送システム1の動作の流れの一例を示すフローチャートである。なお、図13中で、S101からS110の処理は、第1の実施形態の対応する処理と同様である。
図13は、本実施形態の搬送システム1の動作の流れの一例を示すフローチャートである。なお、図13中で、S101からS110の処理は、第1の実施形態の対応する処理と同様である。
本実施形態では、制御部500の判定部540は、容器Cから荷物Pが取り出された(持ち上げられた)場合に、荷物Pが縦長姿勢D2であるか否か(第2条件を満たすか否か)を判定する(S201)。荷物Pが縦長姿勢D2であるか否かは、第1上部カメラ110(または第2上部カメラ130)で撮影されて画像解析部520で解析された荷物Pの上面の寸法と、第1側部カメラ120(または第2側部カメラ140)で撮影されて画像解析部520で解析された荷物Pの高さ寸法とに基づき判定される。荷物Pが縦長姿勢D2であるか否かに関する判定結果は、判定部540からロボット駆動制御部550に出力される。
ロボット駆動制御部550は、荷物Pが縦長姿勢D2でない場合(すなわち、荷物Pが横長姿勢D1である場合)は、第1の実施形態と同様の動作を行う。すなわち、ロボット駆動制御部550は、容器Cから取り出した荷物Pを、サブコンベア300の上に載せるようにロボット装置200を制御する(S107)。サブコンベア300に載せられた荷物Pは、サブコンベア300によってメインコンベアMCに送り出される(S108)。
一方で、ロボット駆動制御部550は、荷物Pが縦長姿勢D2である場合は、荷物Pをサブコンベア300の上に載せないようにロボット装置200を制御する。ロボット駆動制御部550は、荷物Pが縦長姿勢D2である場合は、荷物Pを傾斜台700の荷物受け部710の上方に搬送するようにロボット装置200を制御する(S202)。次に、ロボット駆動制御部550は、アーム220に含まれるアーム部材の回転を制御し、保持部210によって保持された荷物Pを荷物受け部710に沿う方向に向けて僅かに傾ける(S203)。そして、ロボット駆動制御部550は、保持部210による荷物Pの保持を解除することで、荷物Pを傾斜台700の荷物受け部710の上に落とす(S204)。その結果、荷物Pは、縦長姿勢D2から横長姿勢D1に回転し、横長姿勢D1の状態で傾斜台700を滑り落ち、メインコンベアMCに供給される。
以上のような構成によれば、第1の実施形態と同様に、搬送処理の高速化を図ることができる。さらに本実施形態では、搬送システム1は、メインコンベアMCに近付くに従い高さが低くなるように傾斜した傾斜台700をさらに備える。このような傾斜台700が設けられると、縦長姿勢D2にある荷物Pを荷物受け部710の上に落とすことで、荷物Pは、縦長姿勢D2から横長姿勢D1に回転し、横長姿勢D1の状態でメインコンベアMCに供給される。このため、ロボット装置200によって縦長姿勢D2の荷物Pを掴み直して横長姿勢D1に変える動作などを省略することができる。これにより、搬送処理の高速化を図ることができる。さらに、傾斜台700は、メインコンベアMCに対する実質的な改造が不要であるので、搬送システム1の設置時の負担を低減することができる。
本実施形態では、搬送システム1のロボット駆動制御部550は、荷物Pが縦長姿勢D2である場合に、荷物受け部710の上方で保持部210によって保持された荷物Pが荷物受け部710に沿う方向に向けて傾けられた状態で荷物Pに対する保持を解除することをロボット装置200に指示する。このような構成によれば、荷物Pを確実に後方に回転させることができる。これにより、荷物Pが前方に回転することで荷物Pに不要に大きな力が作用することを抑制することができる。
次に、傾斜台700のいくつかの変形例について説明する。
図14は、第1変形例の傾斜台700を示す図である。図14に示すように、本変形例の傾斜台700の荷物受け部710は、第1部分(第1傾斜部)711と、第2部分(第2傾斜部)712とを有する。第2部分712は、第1部分711よりもメインコンベアMCから離れている。水平面に対する第2部分712の傾斜は、水平面に対する第1部分711の傾斜よりも大きい。このような構成によれば、荷物Pが後方に回転する場合に、第2部分712がストッパとして機能し、荷物Pの回転角度を小さくすることができる。これにより、荷物Pが荷物受け部710に接するときに荷物Pに作用する力の大きさを低減することができる。
図14は、第1変形例の傾斜台700を示す図である。図14に示すように、本変形例の傾斜台700の荷物受け部710は、第1部分(第1傾斜部)711と、第2部分(第2傾斜部)712とを有する。第2部分712は、第1部分711よりもメインコンベアMCから離れている。水平面に対する第2部分712の傾斜は、水平面に対する第1部分711の傾斜よりも大きい。このような構成によれば、荷物Pが後方に回転する場合に、第2部分712がストッパとして機能し、荷物Pの回転角度を小さくすることができる。これにより、荷物Pが荷物受け部710に接するときに荷物Pに作用する力の大きさを低減することができる。
図15は、第2変形例の傾斜台700を示す図である。図15に示すように、本変形例の傾斜台700の荷物受け部710は、斜め下方に向けて凸となる円弧状に形成されている。円弧状に形成された荷物受け部710は、「円弧部」の一例である。このような構成によれば、荷物Pが後方に回転する場合に、円弧状の荷物受け部710がストッパとして機能し、荷物Pの回転角度を小さくすることができる。これにより、荷物Pが荷物受け部710に接することで荷物Pに作用する力の大きさを低減することができる。また、荷物受け部710が斜め下方に向けて凸となる円弧状に形成されていると、荷物Pをスムーズに縦長姿勢D2から横長姿勢D1に変えることができる。
図16は、第3変形例の傾斜台700を示す図である。図16に示すように、本変形例の傾斜台700の荷物受け部710は、複数のローラ721によって形成されている。ローラ721は、例えば駆動力を有しないローラであるが、駆動力が供給されて能動的に回転されるローラであってもよい。
図17は、第4変形例の傾斜台700を示す図である。図17に示すように、本変形例の傾斜台700の荷物受け部710は、複数のローラ731に掛け渡されたベルト732によって形成されている。ベルト732は、1つ以上のローラ731が能動的に回転されることで駆動される。なお、これら第1から第4の変形例は、互いに組み合わせて適用されてもよい。
(参考形態)
次に、上述した実施形態に関連する参考形態について説明する。本参考形態は、容器Cから取り出された全ての荷物Pが傾斜台700の荷物受け部710の上に落とされる点で、第5の実施形態とは異なる。なお、以下に説明する以外の構成は、第5の実施形態と同様である。
次に、上述した実施形態に関連する参考形態について説明する。本参考形態は、容器Cから取り出された全ての荷物Pが傾斜台700の荷物受け部710の上に落とされる点で、第5の実施形態とは異なる。なお、以下に説明する以外の構成は、第5の実施形態と同様である。
図18は、本参考形態の搬送システム1を示す平面図である。
図18に示すように、本参考形態では、傾斜台700は、例えば、メインコンベアMCの上方、またはメインコンベアMCに対してX方向で併設される位置にある。なお、傾斜台700の位置は、上記例に限定されない。傾斜台700は、第5の実施形態と同様の位置に設けられてもよい。
図18に示すように、本参考形態では、傾斜台700は、例えば、メインコンベアMCの上方、またはメインコンベアMCに対してX方向で併設される位置にある。なお、傾斜台700の位置は、上記例に限定されない。傾斜台700は、第5の実施形態と同様の位置に設けられてもよい。
本参考形態では、ロボット装置200は、容器Cから取り出した全ての荷物Pを、傾斜台700の荷物受け部710の上方に搬送し、荷物受け部710の上に落とす。ここで、縦長姿勢D2である荷物Pが荷物受け部710の上に落とされた場合の挙動は、図11を用いて説明したとおりである。一方で、図19は、横長姿勢D1にある荷物Pが荷物受け部710の上に落とされた場合の挙動を示す。図19に(a)で示すように、傾斜台700の荷物受け部710の上に横長姿勢D1にある荷物Pが載せられると、(b)で示すように、荷物Pが後方(図11中の矢印R2の方向)に回転しようとする力よりも荷物Pが前方(図11中の矢印R1の方向)に回転しようとする力が大きくなる。その結果、横長姿勢D1にある荷物Pは、荷物受け部710に沿うように前方に回転し、(c)で示すように、横長姿勢D1のまま荷物受け部710の上を滑り降りる。横長姿勢D1のまま荷物受け部710の上を滑り降りた荷物Pは、横長姿勢D1でメインコンベアMCに供給される。ここで、荷物Pが横長姿勢D1にある場合は、荷物Pが前方に回転した場合であっても、荷物Pと荷物受け部710との間の距離が小さい。このため、荷物Pが回転して荷物受け部710に接することで荷物Pに作用する力は大きくない。
次に、本参考形態の搬送システム1の動作の流れの一例について説明する。
図20は、本参考形態の搬送システム1の動作の流れの一例を示すフローチャートである。なお、図20中で、S101からS106、およびS110の処理は、第1の実施形態の対応する処理と同様である。また、図20中で、S201からS204の処理は、第5の実施形態の対応する処理と同様である。図20中では、理解容易のため、S202の処理を、S201の処理の前に記載している。ただし、S201の処理とS202の処理は、どちらが先に行われてもよく、並行して行われてもよい。
図20は、本参考形態の搬送システム1の動作の流れの一例を示すフローチャートである。なお、図20中で、S101からS106、およびS110の処理は、第1の実施形態の対応する処理と同様である。また、図20中で、S201からS204の処理は、第5の実施形態の対応する処理と同様である。図20中では、理解容易のため、S202の処理を、S201の処理の前に記載している。ただし、S201の処理とS202の処理は、どちらが先に行われてもよく、並行して行われてもよい。
図20に示すように、本参考形態では、ロボット装置200は、容器Cから取り出された荷物Pが横長姿勢D1の場合、荷物Pを傾けることなく、荷物受け部710の上に落とす。一方で、ロボット装置200は、容器Cから取り出された荷物Pが縦長姿勢D2の場合、図12を用いて説明したように荷物Pを傾けてから荷物受け部710の上に落とす。
以上のような構成によれば、縦長姿勢D2にある荷物Pを傾斜台700の荷物受け部710の上に落とすことで、荷物Pは、縦長姿勢D2から横長姿勢D1に回転し、横長姿勢D1の状態でメインコンベアMCに供給される。このため、ロボット装置200によって縦長姿勢D2の荷物Pを掴み直して横長姿勢D1に変える動作などを省略することができる。これにより、搬送処理の高速化を図ることができる。
本参考形態において、図15に示すような円弧状の荷物受け部710を有する傾斜台700が用いられると、例えば図19に示すような直線状の荷物受け部710を有する傾斜台700が用いられた場合に比べて、横長姿勢D1の荷物Pと、荷物受け部710との間の距離(前方に回転して接するまでの距離)を小さくすることができる。これにより、荷物Pに大きさ力が作用することを抑制することができる。
以上説明した少なくともひとつの実施形態によれば、ロボット装置に併設され、前記ロボット装置から受け取った荷物を第1コンベアに向けて搬送する第2コンベアを持つことにより、搬送処理の高速化を図ることができる。
実施形態は、以下のように表現することができる。
(1)荷物を保持可能な保持部と、前記保持部を移動させるアームとを有し、第1方向に延びた第1コンベアに対して前記第1方向とは異なる第2方向で併設されるロボット装置と、
前記ロボット装置に対して前記第1方向で併設され、前記第2方向で前記第1コンベアに向けて前記荷物を搬送する第2コンベアと、
情報を記憶する記憶部と、
前記記憶部に記憶されたプログラムを実行するハードウェアプロセッサと、を備え、
前記記憶部には、前記ハードウェアプロセッサに、
前記荷物の第1集積部から前記荷物を取り出し、取り出された前記荷物を前記第2コンベアに載せるように前記ロボット装置を制御する処理、
を実行させる前記プログラムが格納されている、
搬送システム。
(1)荷物を保持可能な保持部と、前記保持部を移動させるアームとを有し、第1方向に延びた第1コンベアに対して前記第1方向とは異なる第2方向で併設されるロボット装置と、
前記ロボット装置に対して前記第1方向で併設され、前記第2方向で前記第1コンベアに向けて前記荷物を搬送する第2コンベアと、
情報を記憶する記憶部と、
前記記憶部に記憶されたプログラムを実行するハードウェアプロセッサと、を備え、
前記記憶部には、前記ハードウェアプロセッサに、
前記荷物の第1集積部から前記荷物を取り出し、取り出された前記荷物を前記第2コンベアに載せるように前記ロボット装置を制御する処理、
を実行させる前記プログラムが格納されている、
搬送システム。
(2)荷物を保持可能な保持部と、前記保持部を移動させるアームとを有し、第1コンベアに対して併設されるロボット装置と、
前記第1コンベアに向けて前記荷物を搬送する第2コンベアと、
情報を記憶する記憶部と、
前記記憶部に記憶されたプログラムを実行するハードウェアプロセッサと、を備え、
前記記憶部には、前記ハードウェアプロセッサに、
前記荷物の集積部から前記荷物を取り出し、取り出された前記荷物を前記第2コンベアに載せるように前記ロボット装置を制御する処理と、
前記荷物が第1条件を満たす場合、前記第2コンベアを正回転させることで前記荷物を前記第1コンベアに搬送し、前記荷物が前記第1条件を満たさない場合、前記第2コンベアを逆回転させることで、前記荷物を荷物回収部または前記荷物回収部に向けて延びた第3コンベアに搬送するように前記第2コンベアを制御する処理と、
を実行させる前記プログラムが格納されている、
搬送システム。
前記第1コンベアに向けて前記荷物を搬送する第2コンベアと、
情報を記憶する記憶部と、
前記記憶部に記憶されたプログラムを実行するハードウェアプロセッサと、を備え、
前記記憶部には、前記ハードウェアプロセッサに、
前記荷物の集積部から前記荷物を取り出し、取り出された前記荷物を前記第2コンベアに載せるように前記ロボット装置を制御する処理と、
前記荷物が第1条件を満たす場合、前記第2コンベアを正回転させることで前記荷物を前記第1コンベアに搬送し、前記荷物が前記第1条件を満たさない場合、前記第2コンベアを逆回転させることで、前記荷物を荷物回収部または前記荷物回収部に向けて延びた第3コンベアに搬送するように前記第2コンベアを制御する処理と、
を実行させる前記プログラムが格納されている、
搬送システム。
(3)荷物を保持可能な保持部と、前記保持部を移動させるアームとを有し、第1方向に延びた第1コンベアに対して前記第1方向とは異なる第2方向で併設されるロボット装置と、
前記ロボット装置に対して前記第1方向で併設され、前記第1コンベアから受け取る前
記荷物を前記第1コンベアから離れる方向に搬送する第2コンベアと、
情報を記憶する記憶部と、
前記記憶部に記憶されたプログラムを実行するハードウェアプロセッサと、を備え、
前記記憶部には、前記ハードウェアプロセッサに、
前記第2コンベアによって搬送された前記荷物を前記荷物の集積部に搬送するように前記ロボット装置を制御する処理、
を実行させる前記プログラムが格納されている、
搬送システム。
前記ロボット装置に対して前記第1方向で併設され、前記第1コンベアから受け取る前
記荷物を前記第1コンベアから離れる方向に搬送する第2コンベアと、
情報を記憶する記憶部と、
前記記憶部に記憶されたプログラムを実行するハードウェアプロセッサと、を備え、
前記記憶部には、前記ハードウェアプロセッサに、
前記第2コンベアによって搬送された前記荷物を前記荷物の集積部に搬送するように前記ロボット装置を制御する処理、
を実行させる前記プログラムが格納されている、
搬送システム。
本発明のいくつかの実施形態を説明したが、これらの実施形態は、例として提示したものであり、発明の範囲を限定することは意図していない。これら実施形態は、その他の様々な形態で実施されることが可能であり、発明の要旨を逸脱しない範囲で、種々の省略、置き換え、変更を行うことができる。これら実施形態やその変形は、発明の範囲や要旨に含まれると同様に、特許請求の範囲に記載された発明とその均等の範囲に含まれるものである。
Claims (16)
- 荷物を保持可能な保持部と、前記保持部を移動させるアームとを有し、第1方向に延びた第1コンベアに対して前記第1方向とは異なる第2方向で併設されるロボット装置と、
前記ロボット装置に対して前記第1方向で併設され、前記第2方向で前記第1コンベアに向けて前記荷物を搬送する第2コンベアと、
前記荷物の第1集積部から前記荷物を取り出し、取り出された前記荷物を前記第2コンベアに載せるように前記ロボット装置を制御する制御部と、
を備えた搬送システム。 - 前記第2コンベアは、前記第1方向において、前記第1集積部と、前記ロボット装置との間に位置する、
請求項1に記載の搬送システム。 - 前記ロボット装置に対して前記第2コンベアとは反対側で前記ロボット装置に対して併設され、前記第2方向で前記第1コンベアに向けて前記荷物を搬送する第3コンベアをさらに備え、
前記制御部は、前記荷物の第2集積部から前記荷物を取り出し、取り出された前記荷物を前記第3コンベアに載せるように前記ロボット装置を制御する、
請求項1または請求項2に記載の搬送システム。 - 前記第3コンベアは、前記第1方向において、前記第2集積部と、前記ロボット装置との間に位置する、
請求項3に記載の搬送システム。 - 前記制御部は、前記荷物が第1条件を満たさない場合、荷物回収部に前記荷物を載せるように前記ロボット装置を制御する、
請求項1から請求項4のいずれか1項に記載の搬送システム。 - 前記制御部は、前記荷物が第1条件を満たさない場合、荷物回収部に向けて延びた第4コンベアに前記荷物を載せるように前記ロボット装置を制御する、
請求項1から請求項4のいずれか1項に記載の搬送システム。 - 前記制御部は、前記荷物が第1条件を満たさない場合、前記第2コンベアを逆回転させることで、前記第2コンベアに載せられた前記荷物を、荷物回収部に搬送するように前記第2コンベアを制御する、
請求項1から請求項4のいずれか1項に記載の搬送システム。 - 前記制御部は、前記荷物が第1条件を満たさない場合、前記第2コンベアを逆回転させることで、前記第2コンベアに載せられた前記荷物を、荷物回収部に向けて延びた第4コンベアに搬送するように前記第2コンベアを制御する、
請求項1から請求項4のいずれか1項に記載の搬送システム。 - 前記第4コンベアは、前記第2コンベアに対して前記第1コンベアとは反対側に位置して前記第2コンベアに対して併設される、
請求項8に記載の搬送システム。 - 前記第1コンベアに対して併設され、前記第1コンベアに近付くに従い高さが低くなるように傾斜して前記第1コンベアに供給される前記荷物が載せられる傾斜台をさらに備えた、
請求項1から請求項9のいずれか1項に記載の搬送システム。 - 前記傾斜台は、第1部分と、前記第1部分よりも前記第1コンベアから離れた第2部分とを有し、水平面に対する前記第2部分の傾斜は、前記水平面に対する前記第1部分の傾斜よりも大きい、
請求項10に記載の搬送システム。 - 前記傾斜台は、斜め下方に向けて凸となる円弧部を含む、
請求項10に記載の搬送システム。 - 前記制御部は、前記荷物が第2条件を満たす場合、前記傾斜台の上方で前記荷物が前記傾斜台に沿う方向に向けて傾けられた状態で前記荷物に対する保持を解除するように前記ロボット装置を制御する、
請求項10から請求項12のいずれか1項に記載の搬送システム。 - 荷物を保持可能な保持部と、前記保持部を移動させるアームとを有し、第1コンベアに対して併設されるロボット装置と、
前記第1コンベアに向けて前記荷物を搬送する第2コンベアと、
前記荷物の集積部から前記荷物を取り出し、取り出された前記荷物を前記第2コンベアに載せるように前記ロボット装置を制御し、且つ、前記荷物が第1条件を満たす場合、前記第2コンベアを正回転させることで前記荷物を前記第1コンベアに搬送し、前記荷物が前記第1条件を満たさない場合、前記第2コンベアを逆回転させることで、前記荷物を荷物回収部に搬送するように前記第2コンベアを制御する制御部と、
を備えた搬送システム。 - 荷物を保持可能な保持部と、前記保持部を移動させるアームとを有し、第1コンベアに対して併設されるロボット装置と、
前記第1コンベアに向けて前記荷物を搬送する第2コンベアと、
前記荷物の集積部から前記荷物を取り出し、取り出された前記荷物を前記第2コンベアに載せるように前記ロボット装置を制御し、且つ、前記荷物が第1条件を満たす場合、前記第2コンベアを正回転させることで前記荷物を前記第1コンベアに搬送し、前記荷物が前記第1条件を満たさない場合、前記第2コンベアを逆回転させることで、前記荷物を荷物回収部に向けて延びた第3コンベアに搬送するように前記第2コンベアを制御する制御部と、
を備えた搬送システム。 - 荷物を保持可能な保持部と、前記保持部を移動させるアームとを有し、第1方向に延びた第1コンベアに対して前記第1方向とは異なる第2方向で併設されるロボット装置と、
前記ロボット装置に対して前記第1方向で併設され、前記第1コンベアから受け取る前記荷物を前記第1コンベアから離れる方向に搬送する第2コンベアと、
前記第2コンベアによって搬送された前記荷物を前記荷物の集積部に搬送するように前記ロボット装置を制御する制御部と、
を備えた搬送システム。
Priority Applications (2)
| Application Number | Priority Date | Filing Date | Title |
|---|---|---|---|
| EP18771713.7A EP3590873A4 (en) | 2017-03-23 | 2018-01-18 | TRANSPORT SYSTEM |
| US16/579,410 US10947061B2 (en) | 2017-03-23 | 2019-09-23 | Conveying system |
Applications Claiming Priority (2)
| Application Number | Priority Date | Filing Date | Title |
|---|---|---|---|
| JP2017-057013 | 2017-03-23 | ||
| JP2017057013A JP6833580B2 (ja) | 2017-03-23 | 2017-03-23 | 搬送システム |
Related Child Applications (1)
| Application Number | Title | Priority Date | Filing Date |
|---|---|---|---|
| US16/579,410 Continuation US10947061B2 (en) | 2017-03-23 | 2019-09-23 | Conveying system |
Publications (1)
| Publication Number | Publication Date |
|---|---|
| WO2018173441A1 true WO2018173441A1 (ja) | 2018-09-27 |
Family
ID=63585382
Family Applications (1)
| Application Number | Title | Priority Date | Filing Date |
|---|---|---|---|
| PCT/JP2018/001455 Ceased WO2018173441A1 (ja) | 2017-03-23 | 2018-01-18 | 搬送システム |
Country Status (4)
| Country | Link |
|---|---|
| US (1) | US10947061B2 (ja) |
| EP (1) | EP3590873A4 (ja) |
| JP (1) | JP6833580B2 (ja) |
| WO (1) | WO2018173441A1 (ja) |
Cited By (2)
| Publication number | Priority date | Publication date | Assignee | Title |
|---|---|---|---|---|
| CN110884906A (zh) * | 2019-12-12 | 2020-03-17 | 中科德冠(福建)科技有限公司 | 一种高位精准码垛机 |
| JP2020147427A (ja) * | 2019-03-15 | 2020-09-17 | 株式会社東芝 | 荷役装置 |
Families Citing this family (7)
| Publication number | Priority date | Publication date | Assignee | Title |
|---|---|---|---|---|
| US10843333B2 (en) | 2018-03-05 | 2020-11-24 | Berkshire Grey, Inc. | Systems and methods for processing objects, including automated re-circulating processing stations |
| WO2020263942A1 (en) | 2019-06-24 | 2020-12-30 | Berkshire Grey, Inc. | Systems and methods for providing shipping of orders in an order fulfillment center |
| JP7409133B2 (ja) * | 2020-02-12 | 2024-01-09 | 株式会社ダイフク | ピッキング設備 |
| US20230158677A1 (en) * | 2020-04-21 | 2023-05-25 | Fanuc Corporation | Position setting device for setting workpiece stacking position and robot apparatus provided with position setting device |
| DE102021129504B4 (de) * | 2021-11-12 | 2024-12-24 | Klatt Fördertechnik GmbH | Sicherheitskontrollsystem und Sicherheitskontrollverfahren |
| EP4444512A1 (en) * | 2021-12-10 | 2024-10-16 | Boston Dynamics, Inc. | Systems and methods for object detection and pick order determination |
| JP2024009701A (ja) * | 2022-07-11 | 2024-01-23 | 中西金属工業株式会社 | 荷役システム |
Citations (6)
| Publication number | Priority date | Publication date | Assignee | Title |
|---|---|---|---|---|
| JPH05278854A (ja) * | 1992-04-06 | 1993-10-26 | Mitsubishi Heavy Ind Ltd | 製品選別移載方法及び装置 |
| JP2001151347A (ja) * | 1999-11-30 | 2001-06-05 | Iseki & Co Ltd | 苗箱段積み装置 |
| JP2007130711A (ja) | 2005-11-09 | 2007-05-31 | Ishikawajima Harima Heavy Ind Co Ltd | ピッキング順序決定方法、装置及びそのプログラム、並びにピッキングシステム |
| US20070272515A1 (en) * | 2006-05-25 | 2007-11-29 | Dyco, Inc. | Robotic head for palletizing full boxes, tray packs and spot packs |
| JP2015040118A (ja) * | 2013-08-23 | 2015-03-02 | 東邦ホールディングス株式会社 | ピッキング設備 |
| JP2016094280A (ja) * | 2014-11-13 | 2016-05-26 | 株式会社東芝 | 移載装置及び荷物取出方法 |
Family Cites Families (12)
| Publication number | Priority date | Publication date | Assignee | Title |
|---|---|---|---|---|
| JPS60161832A (ja) * | 1984-02-01 | 1985-08-23 | Hitachi Ltd | 積載装置 |
| US5299693A (en) * | 1991-04-12 | 1994-04-05 | Ubaldi Richard A | Method and apparatus for extracting selected materials |
| JPH05208731A (ja) * | 1992-01-31 | 1993-08-20 | Mitsubishi Heavy Ind Ltd | コンテナ内の荷役装置 |
| JPH06255772A (ja) * | 1993-03-02 | 1994-09-13 | Toshiba Corp | ガラス基板移送用ハンド及びガラス基板移送装置 |
| JP2000128357A (ja) * | 1998-10-21 | 2000-05-09 | Fuji Yusoki Kogyo Co Ltd | 列単位荷積装置 |
| US20090312865A1 (en) * | 2006-03-31 | 2009-12-17 | Jean-Christophe Bonnain | Article metering system |
| JP5316580B2 (ja) * | 2011-05-17 | 2013-10-16 | 株式会社安川電機 | ロボットシステム |
| US9333649B1 (en) * | 2013-03-15 | 2016-05-10 | Industrial Perception, Inc. | Object pickup strategies for a robotic device |
| JP6325398B2 (ja) * | 2014-09-10 | 2018-05-16 | 株式会社東芝 | 荷役装置及び把持装置 |
| CA2938850C (en) * | 2015-08-12 | 2022-02-22 | Axium Robotic and Automation ULC | System and method for palletizing |
| EP3187440B1 (en) * | 2015-12-29 | 2020-05-27 | CSi Industries B.V. | Palletiser station |
| JP6496285B2 (ja) * | 2016-08-30 | 2019-04-03 | 川崎重工業株式会社 | 食品の保持装置 |
-
2017
- 2017-03-23 JP JP2017057013A patent/JP6833580B2/ja active Active
-
2018
- 2018-01-18 EP EP18771713.7A patent/EP3590873A4/en not_active Withdrawn
- 2018-01-18 WO PCT/JP2018/001455 patent/WO2018173441A1/ja not_active Ceased
-
2019
- 2019-09-23 US US16/579,410 patent/US10947061B2/en active Active
Patent Citations (6)
| Publication number | Priority date | Publication date | Assignee | Title |
|---|---|---|---|---|
| JPH05278854A (ja) * | 1992-04-06 | 1993-10-26 | Mitsubishi Heavy Ind Ltd | 製品選別移載方法及び装置 |
| JP2001151347A (ja) * | 1999-11-30 | 2001-06-05 | Iseki & Co Ltd | 苗箱段積み装置 |
| JP2007130711A (ja) | 2005-11-09 | 2007-05-31 | Ishikawajima Harima Heavy Ind Co Ltd | ピッキング順序決定方法、装置及びそのプログラム、並びにピッキングシステム |
| US20070272515A1 (en) * | 2006-05-25 | 2007-11-29 | Dyco, Inc. | Robotic head for palletizing full boxes, tray packs and spot packs |
| JP2015040118A (ja) * | 2013-08-23 | 2015-03-02 | 東邦ホールディングス株式会社 | ピッキング設備 |
| JP2016094280A (ja) * | 2014-11-13 | 2016-05-26 | 株式会社東芝 | 移載装置及び荷物取出方法 |
Non-Patent Citations (1)
| Title |
|---|
| See also references of EP3590873A4 * |
Cited By (5)
| Publication number | Priority date | Publication date | Assignee | Title |
|---|---|---|---|---|
| JP2020147427A (ja) * | 2019-03-15 | 2020-09-17 | 株式会社東芝 | 荷役装置 |
| WO2020189118A1 (ja) * | 2019-03-15 | 2020-09-24 | 株式会社東芝 | 荷役装置 |
| JP7249826B2 (ja) | 2019-03-15 | 2023-03-31 | 株式会社東芝 | 荷役装置 |
| CN110884906A (zh) * | 2019-12-12 | 2020-03-17 | 中科德冠(福建)科技有限公司 | 一种高位精准码垛机 |
| CN110884906B (zh) * | 2019-12-12 | 2021-06-08 | 中科德冠(福建)科技有限公司 | 一种高位精准码垛机 |
Also Published As
| Publication number | Publication date |
|---|---|
| US20200031593A1 (en) | 2020-01-30 |
| JP2018158801A (ja) | 2018-10-11 |
| JP6833580B2 (ja) | 2021-02-24 |
| EP3590873A4 (en) | 2020-09-02 |
| US10947061B2 (en) | 2021-03-16 |
| EP3590873A1 (en) | 2020-01-08 |
Similar Documents
| Publication | Publication Date | Title |
|---|---|---|
| WO2018173441A1 (ja) | 搬送システム | |
| US10947057B2 (en) | Article loading facility | |
| US11254515B2 (en) | Cargo handling apparatus | |
| JP6655948B2 (ja) | 搬送装置および搬送方法 | |
| TWI803624B (zh) | 揀貨設備 | |
| JP6737087B2 (ja) | 物品積載設備 | |
| JP7675613B2 (ja) | 荷物の搬送装置及び荷物の供給装置 | |
| US10336561B2 (en) | Article loading facility | |
| JP6917789B2 (ja) | 荷役装置、及び、荷役装置の動作方法 | |
| JPWO2017154719A1 (ja) | 物品移送装置 | |
| TW201930034A (zh) | 物品搬送設備 | |
| CN112777194B (zh) | 物品搬运设备 | |
| CN113071840B (zh) | 物料输送方法及设备 | |
| WO2020100908A1 (ja) | 物品積載設備(article loading facility) | |
| EP4001184A1 (en) | Arrangement position determination method of object, control device, program, cargo handling device, and cargo handling system | |
| TWI834117B (zh) | 貨物運輸方法及裝置、中轉裝置、倉儲系統、儲存媒體及計算機程式產品 | |
| JP6207856B2 (ja) | ワーク搬送システム | |
| JP7249826B2 (ja) | 荷役装置 | |
| JP7073955B2 (ja) | 物品搬送設備 | |
| JP7326559B2 (ja) | 物品移動装置および制御装置 | |
| US11802010B2 (en) | Article transport facility | |
| JP7415538B2 (ja) | 移載装置 | |
| JP7413756B2 (ja) | 移載装置 | |
| JP2020075784A (ja) | 仕分け装置 | |
| CN206938804U (zh) | 用于装运托盘箱的推车以及其与托盘箱的组合 |
Legal Events
| Date | Code | Title | Description |
|---|---|---|---|
| 121 | Ep: the epo has been informed by wipo that ep was designated in this application |
Ref document number: 18771713 Country of ref document: EP Kind code of ref document: A1 |
|
| NENP | Non-entry into the national phase |
Ref country code: DE |
|
| ENP | Entry into the national phase |
Ref document number: 2018771713 Country of ref document: EP Effective date: 20190919 |