WO2018074140A1 - ゴンドラ装置を備える作業用車両 - Google Patents

ゴンドラ装置を備える作業用車両 Download PDF

Info

Publication number
WO2018074140A1
WO2018074140A1 PCT/JP2017/034298 JP2017034298W WO2018074140A1 WO 2018074140 A1 WO2018074140 A1 WO 2018074140A1 JP 2017034298 W JP2017034298 W JP 2017034298W WO 2018074140 A1 WO2018074140 A1 WO 2018074140A1
Authority
WO
WIPO (PCT)
Prior art keywords
work
work cage
cage
suspension frame
support post
Prior art date
Legal status (The legal status is an assumption and is not a legal conclusion. Google has not performed a legal analysis and makes no representation as to the accuracy of the status listed.)
Ceased
Application number
PCT/JP2017/034298
Other languages
English (en)
French (fr)
Inventor
荒木 千博
Current Assignee (The listed assignees may be inaccurate. Google has not performed a legal analysis and makes no representation or warranty as to the accuracy of the list.)
Nihon Bisoh Co Ltd
Original Assignee
Nihon Bisoh Co Ltd
Priority date (The priority date is an assumption and is not a legal conclusion. Google has not performed a legal analysis and makes no representation as to the accuracy of the date listed.)
Filing date
Publication date
Application filed by Nihon Bisoh Co Ltd filed Critical Nihon Bisoh Co Ltd
Priority to EP17862772.5A priority Critical patent/EP3527527B1/en
Priority to SG11201903366VA priority patent/SG11201903366VA/en
Priority to AU2017346647A priority patent/AU2017346647B2/en
Priority to CA3041030A priority patent/CA3041030A1/en
Priority to CN201780063717.2A priority patent/CN109843779B/zh
Priority to US16/341,535 priority patent/US10988362B2/en
Publication of WO2018074140A1 publication Critical patent/WO2018074140A1/ja
Anticipated expiration legal-status Critical
Ceased legal-status Critical Current

Links

Images

Classifications

    • BPERFORMING OPERATIONS; TRANSPORTING
    • B66HOISTING; LIFTING; HAULING
    • B66FHOISTING, LIFTING, HAULING OR PUSHING, NOT OTHERWISE PROVIDED FOR, e.g. DEVICES WHICH APPLY A LIFTING OR PUSHING FORCE DIRECTLY TO THE SURFACE OF A LOAD
    • B66F17/00Safety devices, e.g. for limiting or indicating lifting force
    • B66F17/006Safety devices, e.g. for limiting or indicating lifting force for working platforms
    • BPERFORMING OPERATIONS; TRANSPORTING
    • B66HOISTING; LIFTING; HAULING
    • B66FHOISTING, LIFTING, HAULING OR PUSHING, NOT OTHERWISE PROVIDED FOR, e.g. DEVICES WHICH APPLY A LIFTING OR PUSHING FORCE DIRECTLY TO THE SURFACE OF A LOAD
    • B66F11/00Lifting devices specially adapted for particular uses not otherwise provided for
    • B66F11/04Lifting devices specially adapted for particular uses not otherwise provided for for movable platforms or cabins, e.g. on vehicles, permitting workmen to place themselves in any desired position for carrying out required operations
    • B66F11/044Working platforms suspended from booms
    • B66F11/046Working platforms suspended from booms of the telescoping type
    • BPERFORMING OPERATIONS; TRANSPORTING
    • B66HOISTING; LIFTING; HAULING
    • B66FHOISTING, LIFTING, HAULING OR PUSHING, NOT OTHERWISE PROVIDED FOR, e.g. DEVICES WHICH APPLY A LIFTING OR PUSHING FORCE DIRECTLY TO THE SURFACE OF A LOAD
    • B66F13/00Common constructional features or accessories
    • BPERFORMING OPERATIONS; TRANSPORTING
    • B66HOISTING; LIFTING; HAULING
    • B66FHOISTING, LIFTING, HAULING OR PUSHING, NOT OTHERWISE PROVIDED FOR, e.g. DEVICES WHICH APPLY A LIFTING OR PUSHING FORCE DIRECTLY TO THE SURFACE OF A LOAD
    • B66F9/00Devices for lifting or lowering bulky or heavy goods for loading or unloading purposes
    • B66F9/06Devices for lifting or lowering bulky or heavy goods for loading or unloading purposes movable, with their loads, on wheels or the like, e.g. fork-lift trucks
    • EFIXED CONSTRUCTIONS
    • E01CONSTRUCTION OF ROADS, RAILWAYS, OR BRIDGES
    • E01DCONSTRUCTION OF BRIDGES, ELEVATED ROADWAYS OR VIADUCTS; ASSEMBLY OF BRIDGES
    • E01D19/00Structural or constructional details of bridges
    • E01D19/10Railings; Protectors against smoke or gases, e.g. of locomotives; Maintenance travellers; Fastening of pipes or cables to bridges
    • E01D19/106Movable inspection or maintenance platforms, e.g. travelling scaffolding or vehicles specially designed to provide access to the undersides of bridges
    • EFIXED CONSTRUCTIONS
    • E01CONSTRUCTION OF ROADS, RAILWAYS, OR BRIDGES
    • E01DCONSTRUCTION OF BRIDGES, ELEVATED ROADWAYS OR VIADUCTS; ASSEMBLY OF BRIDGES
    • E01D22/00Methods or apparatus for repairing or strengthening existing bridges ; Methods or apparatus for dismantling bridges

Definitions

  • the present invention relates to a working vehicle including a gondola device.
  • a work vehicle equipped with a gondola device travels to an arbitrary structure such as a road bridge, and enables inspection and repair of the entire wall surface of the pier.
  • a gondola device having a work cage that is suspended by a strip and on which an operator gets on is used.
  • an operator works on the wall surface while descending from the rooftop by changing the position of the rope that wraps the work cage around the sheave of the endless winder (Patent Document 1, etc.).
  • an arm mechanism that moves the tip to a desired position by combining a turning mechanism, telescopic mechanism, and undulation mechanism mounted on the vehicle, and a work cage is installed at the tip of the arm mechanism
  • An aerial work vehicle bridge inspection vehicle
  • the worker moves the tip of the arm mechanism from the road to a work position and works with a work cage provided at the tip (Patent Document 2 and the like).
  • the present invention has been made in view of the above-described problems of the prior art, and an object of the present invention is to provide a working vehicle including a gondola apparatus that can move to an arbitrary position and can work in a wide range without any limitation of the working range. .
  • a working vehicle including a gondola device includes: A work cage on which an operator boarded, An arm mechanism for moving a tip portion to a desired position by combining a turning mechanism, a telescopic mechanism, and a hoisting mechanism mounted on a vehicle body, A vertical support post provided at the tip of the arm mechanism; A suspension frame body of the work cage that is provided at an upper end portion of the support post and is located outside the work cage and allows the operator to work above the upper end of the support post; An elevating mechanism that elevates and lowers the work cage suspended from the suspension frame body via a plurality of ropes to a work position; The operation panel of the arm mechanism can be operated from the upper limit stop position of the work cage and is disposed at a position where the operation at the lift position cannot be performed. It is characterized by that.
  • a working vehicle including a gondola device includes: A work cage on which an operator boarded, An arm mechanism for moving a tip portion to a desired position by combining a turning mechanism, a telescopic mechanism, and a hoisting mechanism mounted on a vehicle body, A vertical support post provided at the tip of the arm mechanism; A suspension frame body of the work cage that is provided at an upper end portion of the support post and is located outside the work cage and allows the operator to work above the upper end of the support post; An elevating mechanism that elevates and lowers the work cage suspended from the suspension frame body via a plurality of ropes to a work position; Between the work cage and the suspension frame, a connection holding mechanism for connecting and holding the work cage at the upper limit stop position, The suspension frame includes a load detection unit that detects a connection holding state at the upper limit stop position of the work cage from a load applied to the rope. It is characterized by that.
  • a working vehicle provided with the gondola device according to the third aspect of the present invention,
  • a work cage on which an operator boarded An arm mechanism for moving a tip portion to a desired position by combining a turning mechanism, a telescopic mechanism, and a hoisting mechanism mounted on a vehicle body,
  • a vertical support post provided at the tip of the arm mechanism;
  • a suspension frame body of the work cage that is provided at an upper end portion of the support post and is located outside the work cage and allows the operator to work above the upper end of the support post;
  • An elevating mechanism that elevates and lowers the work cage suspended from the suspension frame body via a plurality of ropes to a work position;
  • the lifting mechanism of the gondola device is driven by a battery mounted on the work cage,
  • the work cage is configured to be rechargeable by external power supply at the upper limit stop position. It is characterized by that.
  • the operation panel of the arm mechanism is disposed at a position that can be operated from the upper limit stop position of the work cage and cannot be operated at the lift position.
  • a connection holding mechanism is provided between the work cage and the suspension frame to connect and hold the work cage at an upper limit stop position, and the suspension frame is configured to remove the work cage from a load applied to the rope. It is preferable to include a load detection unit that detects a connection holding state at the upper limit stop position.
  • the support post is constituted by a turning post that turns around a vertical axis.
  • the user can move to an arbitrary position and can work in a wide range without any limitation of the work range.
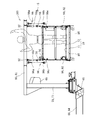
  • FIG. 1 is a schematic plan view of a gondola apparatus according to an embodiment of the present invention. It is a schematic side view of the gondola apparatus concerning one embodiment of the present invention. It is the schematic front view which showed the other hanging frame concerning other one Embodiment of this invention. It is the schematic plan view which showed other hanging frame concerning other one embodiment of this invention. It is a schematic side view concerning one embodiment of the present invention. It is a schematic block diagram in the case of performing the crane operation
  • the working vehicle 1 including the gondola device according to the present invention combines a work cage 10 on which an operator gets on, a turning mechanism 30 mounted on the vehicle body 20, a telescopic mechanism 40, and a hoisting mechanism 50.
  • a working vehicle 1 including an arm mechanism 60 that moves a tip portion to a desired position, a vertical support post 70 provided at a tip portion of the arm mechanism 60, and an upper end portion of the support post 70; A suspension frame 80 of the work cage 10 that enables an operator to work above the upper end of the support post 70, and a work cage 10 that is suspended from the suspension frame 80 via a plurality of ropes 91. And a gondola device 100 having an elevating mechanism 90 that elevates and lowers to a work position.
  • a working vehicle (hereinafter simply referred to as a working vehicle) 1 provided with the gondola device 100 of the present invention has a gondola device 100 via a support post 70 at the tip of an arm mechanism 60 mounted on the vehicle body 20.
  • a suspension frame body 80 is suspended, and the work cage 10 suspended from the suspension frame body 80 via the rope 91 is moved up and down by the lifting mechanism 90.
  • the work vehicle 1 can travel and move freely on the road.
  • the work vehicle 1 can move the tip of the arm mechanism 60 of the vehicle body 20 to a desired position, and in addition, can lift the work cage 10 suspended from the suspension frame 80 at the tip of the arm mechanism 60.
  • the worker can work in a range where the work gauge 10 is raised and lowered at a desired position, and can work from the work cage 10 to above the suspension frame 80, so that the work range is not limited and a wide range of work can be performed. become able to.
  • the working vehicle 1 is used as, for example, a bridge inspection vehicle that is one of the aerial work vehicles.
  • the working vehicle 1 has the arm mechanism 60 mounted on the vehicle body 20, and the arm mechanism 60 can move the tip of the arm to a desired position.
  • the arm mechanism 60 is provided with one or more combinations of the turning mechanism 30, the telescopic mechanism 40, and the hoisting mechanism 50.
  • the arm mechanism 60 includes, for example, four booms.
  • the second boom 62, the third boom 63, and the fourth boom 64 are arranged from the first boom 61 at the proximal end toward the distal end. Is provided.
  • the first boom 61 includes a plurality of telescopic booms and can be expanded and contracted by the telescopic mechanism 40.
  • the first boom 61 is attached to a turntable 31 that is a turning mechanism 30 that turns around a vertical axis provided on the vehicle body 20 via a horizontal raising / lowering shaft 51 on the vehicle body 20 of the raising / lowering mechanism 50. It is possible.
  • the second boom 62 includes a plurality of telescopic booms and can be expanded and contracted by the telescopic mechanism 40.
  • the second boom 62 is attached via a leveling arm 52 constituting the hoisting mechanism 50 provided at the tip of the first boom 61 and a swivel base 32 for turning the third boom 63.
  • the third boom 63 includes a plurality of telescopic booms and can be expanded and contracted by the telescopic mechanism 40.
  • the third boom 63 is attached via a hoisting shaft 53 that constitutes a hoisting mechanism 50 provided at the tip of the second boom 62.
  • the fourth boom 64 is connected to the distal end portion of the third boom 63 via the hoisting shaft 54 of the hoisting mechanism 50 so as to be able to hoist.
  • a work cage mounting base 65 that can maintain a horizontal state is provided at the tip of the fourth boom 64.
  • An arm mechanism 60 that moves the tip of the fourth boom 64 to a desired position is configured by attaching the turning mechanism 30, the telescopic mechanism 40, and the hoisting mechanism 50 to the first boom 61 to the fourth boom 64 in combination.
  • the turning mechanism 30, the telescopic mechanism 40, and the hoisting mechanism 50 of the arm mechanism 60 include a hydraulic drive device and an electric drive device such as a hydraulic cylinder and a hydraulic motor, and an operator will be described later by an arm operation panel 66 of the arm mechanism 60.
  • the work vehicle 1 can be operated from the upper limit stop position S of the work cage 10.
  • a power source of AC 100 to 220V is secured by a generator mounted on the vehicle body 20, and the arm operation panel 66 can be supplied with power.
  • the configuration of the arm mechanism 60 is merely an example applied to a bridge inspection vehicle, and is not limited to such an embodiment.
  • the number of booms and the arrangement of the mechanisms 30, 40, and 50 that connect them are appropriately determined. What is necessary is just what can move the front-end
  • the gondola device 100 is installed via a work cage mounting base 65 at the distal end of the arm mechanism 60, in the present embodiment, the distal end of the fourth boom 64.
  • a support post 70 is installed in the vertical direction.
  • the support post 70 is provided as a turning post 71 that rotates around the vertical axis on the work cage mount 65.
  • the work cage mounting base 65 to which the support post 70 is attached may be swung around the vertical axis on the arm mechanism 60 side. By doing so, even the fixed support post 70 can function in the same manner as the turning post 71.
  • the work cage mount 65 When the work cage mount 65 is swung, the work cage mount 65 can be swung from a work cage operation panel 94 described later even on the arm mechanism 60 side.
  • the swivel mechanism of the swivel post 71 includes, for example, a worm wheel attached to the swivel post 71, a worm that meshes with the swivel post 71, provided on the work gauge mounting base 65, and the worm is swung by a manual handle or driven by a hydraulic motor or an electric motor. Configured as follows.
  • the hanging frame body 80 is provided at the upper end of the turning post 71 and is configured as a horizontally long frame body 81 (see FIG. 4) that is concave on the horizontal plane, or a frame body 82 that is substantially rectangular (see FIG. 6).
  • the central part of one short side of the frame body 81 and the frame body 82 protrudes toward the turning post 71 and is attached to the turning post 71.
  • the hanging frame 80 is not limited to a frame disposed on a horizontal plane, and as shown in FIG. 8, a frame 83 is a combination of a vertical cross-sectional shape disposed in a concave shape opened downward. (See FIGS. 7 and 8).
  • the cross-sectional shape is not limited to a rectangle and may be any other shape as long as the work can be performed from the inside of the work cage 10 to above the suspension frame 80.
  • an elevating mechanism 90 for elevating the work cage 10 is attached to each frame 81, 82, 83 of the suspension frame 80.
  • the elevating mechanism 90 includes a plurality of ropes 91, and the upper end portion of the rope 91 constituted by, for example, two wire ropes is fixed and suspended.
  • a twisting mechanism 91 a for the rope 91 is provided between the suspension frame 80 and the rope 91, and the rope 91 is arranged around the central axis. It is free to turn and not twisted.
  • the two suspended ropes 91 are wound around the sheave of the endless winder 92 installed in the work cage 10.
  • two endless winders 92 which constitute an elevating mechanism 90, are mounted on the left and right sides, and two ropes (wire ropes) 91 that are fixed to and suspended from the suspension frame 80 are endless. It is wound around the sheave of the winder 92 and is moved up and down while moving the winding position by the frictional force between the rope 91 and the sheave of the endless winder 92. Even if a problem occurs in the endless winder 92, the endless winder 92 returns to its original position by manually rotating the sheave.
  • the work cage 10 includes a rectangular work floor 11 on which an operator's feet are placed.
  • the work floor 11 is disposed substantially perpendicular to the wall surface to be worked during work.
  • the work floor 11 is surrounded by a panel 12 so that the worker can work safely.
  • the work cage 10 is attached with a handrail or a sheet or net for curing that prevents fallen objects or scattered objects during work.
  • a take-up reel 95 is provided on the lower side of the work floor 11 of the work cage 10. When the rope 91 is pushed in or pulled out, the cage-shaped take-up reel 95 is rotated and the rope 91 is stored in a coil shape.
  • the endless winder 92 is driven by a battery (not shown) mounted on the work cage 10.
  • the work cage 10 is mounted with a battery panel 93 for storing batteries and a work cage operation panel 94.
  • the battery mounted in the work cage 10 can be charged by power supply from the outside via a charging connector provided on the arm operation panel 66.
  • the driving motor of the endless winder 92 the regenerative current can be collected in the battery, and energy saving can be achieved.
  • the length of the rope 91 suspended from the suspension frame 80 by the endless winder 92 can be set to a length corresponding to the lifting range of the work cage 10. Thereby, the operator can work on the wall surface by raising and lowering the work cage 10 within a desired range without any limitation.
  • the work cage 10 can be adjusted in parallel with the work wall surface by turning the turning post 71 around the vertical axis of the suspension frame 80.
  • the endless winder 92 is not provided in the work cage 10, and the endless winder 92 is fixed as a hoisting machine to the work cage mounting base 65 at the tip of the arm mechanism 60. May be. Then, the rope 91 is routed from the fixed endless winder 92 to the suspension frame 80, and the rope 91 such as a suspended wire rope is connected to the work cage 10 to wind and feed the rope 91. It is also possible to move the working cage 10 up and down. In this case, there is provided a wireless operation panel for operating the winder such as the endless winder 92 from the work cage 10 side, and safety return means for returning by itself to a malfunction of the winder such as the endless winder 92.
  • a suspension beam 98 provided with a hook 98a is attached to the center of the rope 91 suspended from the suspension frame 80, instead of the work cage 10. Crane work can be performed by the wireless operation panel. Further, the endless winder 92 installed in the work cage 10 may be driven not by battery drive but by external power (power supply from a generator or the like) using a power supply cable. In this case, the power supply cable or reel Etc.
  • the work vehicle 1 provided with the gondola device 100 is provided with an interlock mechanism for performing work safely, and operates so as to be mechanically and electrically interlocked.
  • the arm mechanism 60 cannot be operated by the interlock mechanism. That is, the arm operation panel 66 of the arm mechanism 60 is installed on the support post 70 at the distal end of the arm mechanism 60, in the present embodiment, the turning post 71, and the work cage 10 suspended from the suspension frame 80 is provided. Only when it is located at the upper limit stop position S, it is arranged so that the operator's hand can reach. As a result, after the raising / lowering (lowering) of the work cage 10 is started, the physical arrangement is such that the operator's hand does not reach the arm operation panel 66, and the arm mechanism 60 cannot be operated.
  • connection holding mechanism 96 is provided.
  • the upper end portion of the connection holding mechanism 96 is fixed to the suspension frame body 80, and the hook 96b provided at the lower end portion is hooked on the hole of the bracket 96c of the work cage 10, whereby the work gauge 10 is suspended. 80 and held.
  • the connection and holding of the work cage 10 by the connection and holding mechanism 96 is performed, for example, after the hook 96b is hooked on the bracket 96c of the work cage 10 in a state where the work cage 10 is slightly raised from the upper limit stop position S.
  • connection holding state is released by slightly raising the work gauge 10 and removing the connection holding mechanism 96.
  • the work cage 10 is connected and held to the suspension frame body 80 so that it cannot be lifted (lowered), so that no load is applied to the two ropes 91. .
  • a load detection unit 97 is attached to the rope 91 that suspends the work cage 10, and the load detection unit 97 electrically detects that the upper limit stop position S at which no load is applied to the rope 91. That is, in order to detect that the work cage 10 is connected and fixed to the suspension frame 80 by the connection holding mechanism 96, a load cell is provided on the suspension frame 80 as the load detection unit 97, and the rope 91 is suspended. It electrically detects that the load of the load cell is smaller than the set value. Further, the load detector 97 may be a mechanical type in which a striker is attached to the work cage 10 and a limit switch is provided on the hanging frame body 80 side, and the upper limit stop position S of the work cage 10 is obtained as an electric signal by the limit switch.
  • the upper limit stop position S of the work cage 10 may be obtained as an electric signal by detecting the position of the work cage 10 with a proximity sensor.
  • the load detecting unit 97 can electrically detect that the upper limit stop position S at which no load is applied to the rope 91 is provided, and it is an interlock for operations such as raising and lowering the work cage 10. Thereby, if the work cage 10 is not the upper limit stop position S, an interlock state in which the arm mechanism 60 cannot be operated is set.
  • the work is performed as follows using the work vehicle 1 including the gondola device configured as described above.
  • the work vehicle 1 is moved on the road and moved to the work site.
  • the worker prepares to start work on the vehicle body 20 that is a normal bridge inspection vehicle or an aerial work vehicle. That is, the worker performs an inspection before starting the work, confirms that the road surface is a flat road, a parking brake, a stop state, and operates an outrigger.
  • the worker is suspended at the upper limit stop position S at the tip of the arm mechanism 60 and gets into the work cage 10 that is connected and held by the connection holding mechanism 96.
  • the operator operates the arm operation panel 66 attached to the turning post 71 from the inside of the work cage 10, and moves the work cage 10 to a desired position of the work target by each mechanism 30, 40, 50 of the arm mechanism 60. Move to (work start point).
  • the work cage 10 is mechanically coupled and held by the coupling holding mechanism 96 at the upper limit stop position S, and the load applied to the rope 91 by the load detection unit 97 is not applied, or is electrically at the upper limit stop position S.
  • the operation of the arm operation panel 66 is performed to ensure the safety of the work.
  • the turning post 71 is turned to place the work cage 10 in parallel with the wall surface. This completes the preparation.
  • the load detector 97 detects that a load is applied to the rope 91, or the work cage 10 is no longer at the upper limit stop position S (for example, the work cage 10 is slightly lowered). ) Is detected, the operation on the arm operation panel 66 is in an interlock state, and the arm mechanism 60 cannot be operated. This prevents the arm mechanism 60 from operating the suspension frame 80 of the work cage 10 without permission.
  • the upper work can be performed by adjusting the upper limit stop position S of the arm mechanism 60 in advance. .
  • the work below the upper limit stop position S is performed.
  • the work surface is curved or the like, it is operated from the work cage operation panel 94 to turn the turning post 71, thereby changing the direction of the work cage 10 so that the work cage 10 is parallel to the wall surface. Arrange them to work.
  • the work cage 10 is raised to the upper limit stop position S and returned to complete the work in the raising and lowering range at one place. To do. Thereafter, after the work cage 10 is connected and held at the upper limit stop position S, the operator operates the arm operation panel 66 from within the work cage 10 to set the position of the tip of the arm mechanism 60 to the next work position. The movement is repeated and the work cage 10 is lifted and lowered in the same manner. Moreover, in the state returned to the upper limit stop position S, the battery mounted in the work cage 10 is charged as necessary.
  • the operation of returning the arm mechanism 60 to the initial state is performed after the work on all wall surfaces is completed, and the work vehicle 1 travels.
  • the arm mechanism 60 is returned so that it can. By doing so, the work is completed.
  • an endless winder 92 is disposed on the distal end side of the arm mechanism 60 and the suspension beam 98 is suspended from the two ropes 91.
  • the luggage is suspended using the hook 98a of the suspension beam 98. Then, by operating the endless winder 92 from the wireless operation panel, the work vehicle 1 can be easily used as a crane vehicle.
  • the work cage is suspended from the suspension frame and only moved up and down.
  • the work cage may be configured to be laterally movable by providing a traverse mechanism.
  • the work range can be further expanded.
  • this invention is not limited to said embodiment, A change can be added to each component in the range which does not change a summary.
  • the working cage 10 on which the operator gets on the turning mechanism 30 mounted on the vehicle body 20, the telescopic mechanism. 40, a working vehicle 1 comprising an arm mechanism 60 that moves the tip portion to a desired position by combining the hoisting mechanism 50, and a vertical support post 70 provided at the tip portion of the arm mechanism 60;
  • a suspension frame body 80 of the work cage 10 provided on the upper end portion of the support post 70 and positioned outside the work gauge 10 to allow an operator to work above the upper end of the support post 70, and a suspension frame body 80 includes a gondola apparatus 100 having an elevating mechanism 90 for elevating and lowering a work cage 10 suspended through a plurality of ropes 91 to a work position.
  • the work vehicle 1 travels on a general public road and travels on a gondola device.
  • the work cage 10 can be installed at a desired position by the arm mechanism 60 from the road, and a wide range of work can be performed by the work cage 10 that moves up and down.
  • work above the work cage 10 that could not be performed with conventional gondola can be performed like an aerial work vehicle.
  • the work cage 10 of the gondola apparatus 100 is moved to an arbitrary position, the work range is not limited, and a wide range of work is possible.
  • movement to the work site and preparation / removal of work at the work site can be performed quickly, and the work efficiency is greatly improved compared to the case where the work is suspended from the rooftop.
  • the operation panel 66 of the arm mechanism 60 can be operated from the upper limit stop position S of the work cage 10 and is disposed at a position where the operation at the lift position cannot be performed. Cannot be operated, and the work can proceed safely as intended by the worker in the work cage 10.
  • the distal end portion is desired by combining the working cage 10 on which the operator gets on with the turning mechanism 30, the telescopic mechanism 40 and the hoisting mechanism 50 mounted on the vehicle body 20.
  • the working vehicle 1 includes an arm mechanism 60 that is moved to a position, and includes a vertical support post 70 provided at a distal end portion of the arm mechanism 60 and an outer side of the work cage 10 provided at an upper end portion of the support post 70.
  • the suspension frame body 80 of the work cage 10 that allows the operator to work above the upper end of the support post 70 and the suspension frame body 80 is suspended via a plurality of ropes 91.
  • a gondola device 100 having an elevating mechanism 90 for elevating and lowering the work cage 10 to a work position is provided.
  • a connection holding mechanism 96 that connects and holds the work cage 10 to the upper limit stop position S is provided, and the suspension frame body 80 has a load applied to the rope 91 from the load.
  • a load detection unit 97 that detects the connection holding state of the work cage 10 at the upper limit stop position S is provided. Therefore, the gondola apparatus 100 can be moved on a general public road, the work cage 10 can be installed at a desired position by the arm mechanism 60 from the road, and a wide range of work can be performed by the work cage 10 that moves up and down.
  • the work cage 10 of the gondola apparatus 100 can be moved to an arbitrary position and the work range is not limited, and the work can be performed over a wide range.
  • movement to the work site and preparation / removal of work at the work site can be performed quickly, and the work efficiency is greatly improved compared to the case where the work is suspended from the rooftop.
  • connection holding mechanism 96 that connects and holds the work cage 10 to the upper limit stop position S is provided between the work cage 10 and the suspension frame 80, and the suspension frame 80 is added to the rope 91.
  • a load detection unit 97 that detects a connection holding state at the upper limit stop position S of the work cage 10 from the load is provided. Therefore, the work cage 10 can be reliably held and connected to the upper limit stop position S by the connection holding mechanism 96, and an electric signal can be obtained by detection of the load detection unit 97, and the position of the work cage 10 can be grasped. An interlock state can be created and work can be promoted safely.
  • the distal end portion is desired by combining the working cage 10 on which the operator gets on with the turning mechanism 30, the telescopic mechanism 40 and the hoisting mechanism 50 mounted on the vehicle body 20.
  • the working vehicle 1 includes an arm mechanism 60 that is moved to a position, and includes a vertical support post 70 provided at a distal end portion of the arm mechanism 60 and an outer side of the work cage 10 provided at an upper end portion of the support post 70.
  • the suspension frame body 80 of the work cage 10 that allows the operator to work above the upper end of the support post 70 and the suspension frame body 80 is suspended via a plurality of ropes 91.
  • a gondola device 100 having an elevating mechanism 90 for elevating and lowering the work cage 10 to a work position is provided.
  • the elevating mechanism 90 of the gondola apparatus 100 is driven by a battery mounted on the work cage 10, and the work cage 10 is configured to be able to be charged by power supply from the outside at the upper limit stop position S, thereby traveling on a general public road.
  • the gondola apparatus 100 can be moved, the work cage 10 can be installed at a desired position by the arm mechanism 60 from the road, and a wide range of work can be performed by the work cage 10 that moves up and down.
  • by suspending the work cage 10 via the suspension frame 80 work above the work cage 10 that could not be performed with conventional gondola can be performed like an aerial work vehicle.
  • the work cage 10 of the gondola apparatus 100 can be moved to an arbitrary position and the work range is not limited, and the work can be performed over a wide range.
  • movement to the work site and preparation / removal of work at the work site can be performed quickly, and the work efficiency is greatly improved compared to the case where the work is suspended from the rooftop.
  • the elevating mechanism 90 of the gondola apparatus 100 is driven by a battery mounted on the work cage 10, and the work cage 10 is configured to be able to be charged by external power supply at the upper limit stop position S, whereby the arm mechanism 60. And the work cage 10, no power supply cable is required, the work is not obstructed, the work range is not restricted, and the battery can be easily charged at the upper limit stop position S.
  • the support post 70 is constituted by the turning post 71 turning around the vertical axis.
  • the direction of the work cage 10 can be adjusted and the work on the wall surface can be performed.
  • the operation panel 66 of the arm mechanism 60 can be operated at the upper limit stop position S of the work cage 10 and is disposed at a position where the operation at the lift position cannot be performed.
  • the worker cannot operate the arm mechanism 60 and can safely work as intended by the worker in the work cage 10.
  • the connection holding mechanism 96 that connects and holds the work cage 10 to the upper limit stop position S is provided between the work cage 10 and the suspension frame 80, and is suspended.
  • the lower frame body 80 includes a load detection unit 97 that detects a connection holding state at the upper limit stop position S of the work cage 10 from a load applied to the rope 91. Therefore, the connection and holding mechanism 96 can reliably hold and connect the work cage 10 to the upper limit stop position S, and the load detection unit 97 detects the position of the work cage 10 by detecting an electric signal. Since the locked state is created, the worker can safely proceed with the work.
  • the lifting mechanism 90 of the gondola device 100 is driven by the battery panel 93 mounted on the work cage 10, and the work cage 10 is externally received at the upper limit stop position S. Since it is configured to be able to be charged by power feeding, no power feeding cable is required between the arm mechanism 60 and the work cage 10. Therefore, the operator's work is not obstructed, the work range is not restricted, and the battery can be easily charged at the upper limit stop position S.

Landscapes

  • Engineering & Computer Science (AREA)
  • Structural Engineering (AREA)
  • Mechanical Engineering (AREA)
  • Life Sciences & Earth Sciences (AREA)
  • Geology (AREA)
  • Civil Engineering (AREA)
  • Architecture (AREA)
  • Transportation (AREA)
  • Bridges Or Land Bridges (AREA)
  • Forklifts And Lifting Vehicles (AREA)
  • Movable Scaffolding (AREA)
  • Jib Cranes (AREA)
  • Types And Forms Of Lifts (AREA)

Abstract

ゴンドラ装置を備える作業用車両(1)は、作業者が搭乗する作業ケージ(10)と、車体(20)に搭載された旋回機構(30)、伸縮機構(40)、起伏機構(50)を組み合わせて先端部を所望位置に移動させるアーム機構(60)と、を備える。ゴンドラ装置(100)は、アーム機構(60)の先端部に設けられる支持ポスト(70)と、支持ポスト(70)の上端部に設けられ作業者が支持ポスト(70)の上端より上方への作業を可能とする作業ケージ(10)の吊り下げ枠体(80)と、吊り下げ枠体(80)に複数本の索条(91)を介して吊り下げられる作業ケージ(10)を作業位置に昇降する昇降機構(90)と、を備える。

Description

ゴンドラ装置を備える作業用車両
 本発明は、ゴンドラ装置を備える作業用車両に関する。詳しくは、ゴンドラ装置を搭載した作業用車両が、道路橋など任意の構造物まで走行し、橋脚の全壁面の点検・補修などを可能とするものである。
 従来から、ビル、船舶、発電所、タンク、煙突、又は橋梁などの構造物の構築や補修等において、高所における壁面に対する作業を安全かつ能率的に行うため、屋上に設置されワイヤなどの索条で吊り下げられ作業者が搭乗する作業ケージを備えたゴンドラ装置が用いられている。
 ゴンドラ装置において、作業者は、作業ケージをエンドレスワインダのシーブに巻掛けた索条の位置を変えることで、屋上から下降しながら壁面に対する作業を行う(特許文献1など)。
 一方、道路橋などの点検・補修には、車両に搭載された旋回機構、伸縮機構、起伏機構を組み合わせ、先端部を所望位置に移動させるアーム機構を備え、アーム機構の先端に作業ケージを設置した高所作業車(橋梁点検車)が用いられている。
 例えば高所作業車において、作業者は、アーム機構の先端を道路上から作業位置に移動させ、先端部に設けた作業ケージにより作業を行う(特許文献2など)。
特開2009-228358号公報 特開2003-128392号公報
 ところが、橋梁などの構造物の点検・補修を高所作業車で行う場合に、橋脚の高さが数10mと高いものがある。その場合、アーム機構の伸縮させる作業では、道路上からアーム機構の先端部がアクセスできない場所があり、作業範囲に限界がある。一方、ゴンドラ装置では、作業ケージを吊り下げる索条を長くすることで、下降範囲の作業はでき、下降方向の作業範囲の限界はない。しかし、吊り点より上方への作業、又は道路床版の下面や、下面から下方などの作業については、道路上から作業ゲージを吊り下げることができず、これらの位置にアクセスして作業することができないという問題がある。
 本発明は、上記従来技術の課題に鑑みてなされたもので、任意の位置に移動して作業範囲の制限がなく、広範囲に作業できるゴンドラ装置を備える作業用車両を提供することを目的とする。
 上記目的を達成するため、本発明の第1の観点に係るゴンドラ装置を備える作業用車両は、
 作業者が搭乗する作業ケージと、
 車体に搭載された旋回機構、伸縮機構、起伏機構を組み合わせて先端部を所望位置に移動させるアーム機構と、を備える作業用車両であって、
 前記アーム機構の先端部に設けられる鉛直方向の支持ポストと、
 前記支持ポストの上端部に設けられ前記作業ケージの外側に位置して前記作業者が前記支持ポストの上端より上方への作業を可能とする前記作業ケージの吊り下げ枠体と、
 前記吊り下げ枠体に複数本の索条を介して吊り下げられる前記作業ケージを作業位置に昇降する昇降機構と、を有するゴンドラ装置を備え、
 前記アーム機構の操作盤は、前記作業ケージの上限停止位置から操作でき昇降位置での操作を不能とする位置に配置される、
 ことを特徴とする。
 また、本発明の第2の観点に係るゴンドラ装置を備える作業用車両は、
 作業者が搭乗する作業ケージと、
 車体に搭載された旋回機構、伸縮機構、起伏機構を組み合わせて先端部を所望位置に移動させるアーム機構と、を備える作業用車両であって、
 前記アーム機構の先端部に設けられる鉛直方向の支持ポストと、
 前記支持ポストの上端部に設けられ前記作業ケージの外側に位置して前記作業者が前記支持ポストの上端より上方への作業を可能とする前記作業ケージの吊り下げ枠体と、
 前記吊り下げ枠体に複数本の索条を介して吊り下げられる前記作業ケージを作業位置に昇降する昇降機構と、を有するゴンドラ装置を備え、
 前記作業ケージと前記吊り下げ枠体の間には、前記作業ケージを上限停止位置に連結して保持する連結保持機構を備え、
 前記吊り下げ枠体には、前記索条に加わる荷重から前記作業ケージの前記上限停止位置での連結保持状態を検出する荷重検出部を備える、
 ことを特徴とする。
 さらに、本発明の第3の観点に係るゴンドラ装置を備える作業用車両は、
 作業者が搭乗する作業ケージと、
 車体に搭載された旋回機構、伸縮機構、起伏機構を組み合わせて先端部を所望位置に移動させるアーム機構と、を備える作業用車両であって、
 前記アーム機構の先端部に設けられる鉛直方向の支持ポストと、
 前記支持ポストの上端部に設けられ前記作業ケージの外側に位置して前記作業者が前記支持ポストの上端より上方への作業を可能とする前記作業ケージの吊り下げ枠体と、
 前記吊り下げ枠体に複数本の索条を介して吊り下げられる前記作業ケージを作業位置に昇降する昇降機構と、を有するゴンドラ装置を備え、
 前記ゴンドラ装置の前記昇降機構は、前記作業ケージに搭載されたバッテリで駆動され、
 前記作業ケージは、上限停止位置で外部からの給電により充電可能に構成される、
 ことを特徴とする。
 前記アーム機構の操作盤は、前記作業ケージの上限停止位置から操作でき昇降位置での操作を不能とする位置に配置される、ことが好ましい。
 前記作業ケージと前記吊り下げ枠体の間には、前記作業ケージを上限停止位置に連結して保持する連結保持機構を備え、前記吊り下げ枠体は、前記索条に加わる荷重から前記作業ケージの前記上限停止位置での連結保持状態を検出する荷重検出部を備える、ことが好ましい。
 前記支持ポストは、鉛直軸回りに旋回する旋回ポストで構成される、ことが好ましい。
 本発明によれば、任意の位置に移動して作業範囲の制限がなく、広範囲に作業できる。
本発明のゴンドラ装置を備える作業用車両の一実施の形態にかかる概略構成図である。 本発明の一実施の形態にかかる図1中の一部分を拡大した概略構成図である。 本発明の一実施の形態にかかるゴンドラ装置の概略正面図である。 本発明の一実施の形態にかかるゴンドラ装置の概略平面図である。 本発明の一実施の形態にかかるゴンドラ装置の概略側面図である。 本発明の他の一実施の形態にかかり他の吊り下げ枠体を示した概略正面図である。 本発明のさらに他の一実施の形態にかかり他の吊り下げ枠体を示した概略平面図である。 本発明の一実施の形態にかかる概略側面図である。 本発明の一実施の形態にかかるクレーン作業を行う場合の概略構成図である。
 以下、本発明のゴンドラ装置を備える作業用車両の実施の形態について添付図面を参照して詳細に説明する。
 本発明のゴンドラ装置を備える作業用車両1は、図1に示すように、作業者が搭乗する作業ケージ10と、車体20に搭載された旋回機構30、伸縮機構40、起伏機構50を組み合わせて先端部を所望位置に移動させるアーム機構60と、を備える作業用車両1であって、アーム機構60の先端部に設けられる鉛直方向の支持ポスト70と、支持ポスト70の上端部に設けられ、作業者が支持ポスト70の上端より上方への作業を可能とする作業ケージ10の吊り下げ枠体80と、吊り下げ枠体80に複数本の索条91を介して吊り下げられる作業ケージ10を作業位置に昇降する昇降機構90と、を有するゴンドラ装置100を備えて構成される。
 すなわち、本発明のゴンドラ装置100を備える作業用車両(以下、単に作業用車両とする。)1は、車体20に搭載されたアーム機構60の先端部に支持ポスト70を介して、ゴンドラ装置100を吊り下げる吊り下げ枠体80を設置し、吊り下げ枠体80から索条91を介して吊り下げた作業ケージ10を昇降機構90で昇降させる。作業用車両1は、走行して道路上などを自由に移動することができる。作業用車両1は、車体20のアーム機構60の先端を所望位置に移動させ、これに加えてアーム機構60の先端の吊り下げ枠体80から吊り下げた作業ケージ10を昇降させることができる。したがって、作業者は、所望位置で作業ゲージ10が昇降する範囲で作業ができるとともに、作業ケージ10から吊り下げ枠体80より上方への作業もでき、作業範囲の制限がなく、広範囲の作業ができるようになる。
 本実施の形態の作業用車両1は、例えば、高所作業車の1つである橋梁点検車として使用される。作業用車両1は、従来の橋梁点検車と同様に、車体20にアーム機構60が搭載され、アーム機構60によってアームの先端部を所望位置に移動させることができる。アーム機構60には、旋回機構30、伸縮機構40、起伏機構50をそれぞれ1つ乃至複数組み合わせて設けられる。
 アーム機構60は、図1に示すように、例えば、4本のブームで構成され、基端部の第1ブーム61から先端部に向かって第2ブーム62、第3ブーム63、第4ブーム64を備える。
 第1ブーム61は、複数の伸縮ブームを備え、伸縮機構40により伸縮可能とされる。第1ブーム61は、車体20上に設けた鉛直軸回りに旋回する旋回機構30である旋回台31に、起伏機構50の車体20に水平な起伏軸51を介して取り付けられ、旋回および起伏が可能とされる。
 第2ブーム62は、複数の伸縮ブームを備え、伸縮機構40により伸縮可能とされる。第2ブーム62は、第1ブーム61の先端部に設けた起伏機構50を構成するレベリングアーム52と、第3ブーム63を旋回させる旋回台32を介して取り付けられる。
 第3ブーム63は、複数の伸縮ブームを備え、伸縮機構40により伸縮可能とされる。第3ブーム63は、第2ブーム62の先端部に設けた起伏機構50を構成する起伏軸53を介して取り付けられる。
 第4ブーム64は、第3ブーム63の先端部に、起伏機構50の起伏軸54を介して起伏可能に連結されている。第4ブーム64の先端部に水平状態を保持できる作業ケージ取付台65が設けられる。
 第1ブーム61~第4ブーム64に、旋回機構30、伸縮機構40、起伏機構50を組み合わせて取り付けることにより、第4ブーム64の先端部を所望位置に移動させるアーム機構60が構成される。
 アーム機構60の旋回機構30、伸縮機構40、起伏機構50は、油圧シリンダや油圧モータなどの油圧駆動装置や電動駆動装置を備え、作業者は、アーム機構60のアーム操作盤66により、後述する作業ケージ10の上限停止位置Sから、作業用車両1を操作できる。
 作業用車両1では、油圧駆動機構のほか、車体20に搭載した発電機によりAC100~220Vの電源が確保されており、アーム操作盤66を、給電できる。
 なお、アーム機構60の構成は、橋梁点検車に適用した一例に過ぎず、かかる実施の形態に限らず、ブームの本数やこれらを連結する各機構30、40、50の配置は、適宜決定すれば良く、アーム機構60の先端部を所望の位置に移動できるものであれば良い。
 ゴンドラ装置100は、アーム機構60の先端部、本実施の形態では、第4ブーム64の先端部の作業ケージ取付台65を介して設置される。
 作業ケージ取付台65上には、鉛直方向に支持ポスト70が設置される。本実施の形態では、支持ポスト70は、作業ケージ取付台65上に鉛直軸回りに回動する旋回ポスト71として設けられる。
 なお、支持ポスト70が取り付けられる作業ケージ取付台65を、アーム機構60側で鉛直軸回りに旋回させるようにしても良い。こうすることで、固定式の支持ポスト70であっても旋回ポスト71と同様に機能させることができる。
 なお、作業ケージ取付台65を旋回させる場合には、作業ケージ取付台65の旋回は、アーム機構60側であっても、後述する作業ケージ操作盤94から旋回動作できるようにする。
 旋回ポスト71の旋回機構は、例えば旋回ポスト71にウォームホイルを取り付け、これと噛み合うウォームを作業ゲージ取付台65に設け、このウォームを手動ハンドルにより旋回させ、または、油圧モータや電動モータで駆動するように構成される。
 吊り下げ枠体80は、旋回ポスト71の上端に設けられ、水平面上で凹状の横長の枠体81(図4参照)、あるいは略長方形(図6参照)の枠体82として構成される。枠体81及び枠体82の一方の短辺の中央部は、旋回ポスト71に向けて突出し、旋回ポスト71に取り付けられる。吊り下げ枠体80は、水平面上に配置される枠体とする場合に限らず、図8に示すように、鉛直方向の断面形状が下方に開口した凹状に配置することを組み合わせた枠体83であっても良い(図7,8参照)。作業ケージ10内から吊り下げ枠体80の上方への作業ができる形状であれば、断面形状は、矩形に限らず他の形状であっても良い。
 枠状の吊り下げ枠体80とすることで、一本のビームの場合と異なり、枠体81,82,83の内側から上方への作業ができる。
 吊り下げ枠体80の各枠体81,82,83には、図5~8に示すように、作業ケージ10を昇降する昇降機構90が取り付けられる。昇降機構90は、複数本の索条91を備え、例えば2本のワイヤロープで構成された索条91の上端部が固定されて垂下される。
 なお、吊り下げ枠体80と索条91との間には、図2、5、7、8に示すように、索条91の撚りとり機構91aが設けられ、索条91が中心軸回りに回動自在となり撚りが生じないようにする。
 2本の垂下された索条91は、作業ケージ10に設置されたエンドレスワインダ92のシーブに巻掛けられる。作業ケージ10には、昇降機構90を構成する、例えば2台のエンドレスワインダ92が左右に搭載され、吊り下げ枠体80に固定されて吊り下げた2本の索条(ワイヤロープ)91がエンドレスワインダ92のシーブに巻き掛けられ、索条91とエンドレスワインダ92のシーブとの摩擦力で巻き掛け位置を移動しながら昇降される。
 なお、万一、エンドレスワインダ92に不具合が生じることがあっても、手動でシーブを回転させることで、エンドレスワインダ92は元の位置に戻る。
 作業ケージ10は、作業者の足が置かれる矩形状の作業床11を備える。作業床11は、作業時には作業対象の壁面と略垂直に配置される。作業床11の周囲は、パネル12で囲まれ、作業者が安全に作業できるようになっている。なお、作業ケージ10には、必要に応じて手摺、又は作業に伴う落下物や飛散物を防止する養生用のシートやネットが取り付けられる。
 作業ケージ10の作業床11の下側には、図2、5、8に示すように、2本の索条91をそれぞれ巻き取り、自転する巻取リール95が設けられる。索条91が押し込まれたり引き出されることで、かご状の巻取リール95が自転されて索条91がコイル状に収納される。
 エンドレスワインダ92は、作業ケージ10に搭載したバッテリ(図示せず)により駆動される。作業ケージ10には、バッテリが収納されるバッテリ盤93および作業ケージ操作盤94が搭載される。作業ケージ10に搭載されたバッテリは、作業ケージ10を上限停止位置Sに位置させた場合に、アーム操作盤66に設けた充電コネクタを介して外部からの給電による充電が可能である。
 また、エンドレスワインダ92の駆動用モータからは、回生電流をバッテリに回収でき、省エネルギを図ることができる。
 エンドレスワインダ92により吊り下げ枠体80から吊り下がる索条91の長さを、作業ケージ10の昇降範囲に応じた長さにすることができる。それにより、作業者は、何ら制限を受けずに所望の範囲で作業ケージ10を昇降させ壁面への作業を行うことができる。
 また、作業ケージ10からの作業の際には、吊り下げ枠体80の鉛直軸回りの位置を旋回ポスト71が旋回されることにより、作業ケージ10を作業壁面と平行に調整できる。
 なお、ゴンドラ装置100では、例えば図9に示すように、作業ケージ10内にエンドレスワインダ92を設けず、アーム機構60の先端部の作業ケージ取付台65に、巻上機としてエンドレスワインダ92を固定してもよい。
 そして、固定されたエンドレスワインダ92から吊り下げ枠体80に索条91を配索し、吊り下ろしたワイヤロープなどの索条91を、作業ケージ10に接続して索条91の巻き取りと繰り出しによって作業ケージ10を昇降することも可能である。この場合には、エンドレスワインダ92などの巻取機を、作業ケージ10側から操作する無線操作盤を設けるとともに、エンドレスワインダ92などの巻取機の不具合などに対し自力で戻るための安全帰還手段を別に設置することが好ましい。
 作業ケージ取付台65にエンドレスワインダ92を設置した場合には、吊り下げ枠体80から吊り下げた索条91の中央に、作業ケージ10に代えてフック98aを備えた吊り下げビーム98を取り付け、無線操作盤によりクレーン作業を行うことができる。
 また、作業ケージ10内に設置したエンドレスワインダ92を、バッテリ駆動ではなく、給電ケーブルによる外部電力(発電機などからの給電)で駆動させるようにしても良く、この場合には、給電ケーブルやリールなどを設ける。
 ゴンドラ装置100を備える作業用車両1には、安全に作業を行うためインターロック機構が設けられ、機械的および電気的にインターロック状態となるように作動する。
 ゴンドラ装置100での作業中には、インターロック機構により、アーム機構60の操作ができないようにする。すなわち、アーム機構60のアーム操作盤66は、アーム機構60の先端部の支持ポスト70、本実施の形態では、旋回ポスト71に設置され、吊り下げ枠体80に吊り下げられた作業ケージ10が上限停止位置Sに位置した場合にのみ、作業者の手が届くように配置される。これにより、作業ケージ10の昇降(下降)が開始された後は、アーム操作盤66に作業者の手が届かない物理的な配置となり、アーム機構60の操作を不能としている。
 また、機械的なロック機構として、作業ケージ10と吊り下げ枠体80との間に、上限停止位置Sの作業ケージ10を吊り下げ枠体80に固定し、昇降(下降)ができないようにする連結保持機構96が設けられる。連結保持機構96の上端部が吊り下げ枠体80に固定され、下端部に設けられたフック96bが、作業ケージ10のブラケット96cの孔に引掛けられることで、作業ゲージ10が吊り下げ枠体80に連結されて保持される。この連結保持機構96による作業ケージ10の連結保持は、例えば作業ケージ10を上限停止位置Sよりわずかに上昇させた状態で、フック96bを作業ケージ10のブラケット96cに引っ掛けた後、上限停止位置Sに下降することで、簡単に連結保持することができる。連結保持状態は、わずかに作業ゲージ10を上昇させ連結保持機構96を外すことで解除される。
 このような連結保持機構96により、作業ケージ10を吊り下げ枠体80に連結保持し、昇降(下降)が不能の状態にすることで、2本の索条91に荷重が加わらない状態にできる。
 さらに、作業ケージ10を吊り下げる索条91には、荷重検出部97が取り付けられ、荷重検出部97は、索条91に荷重が加わらない上限停止位置Sであることを電気的に検出する。すなわち、連結保持機構96により作業ケージ10が吊り下げ枠体80に連結固定されていることを検知するため、荷重検出部97としてロードセルを吊り下げ枠体80に設けて索条91を吊り下げ、ロードセルの荷重が設定値より小さいことを電気的に検出する。
 また、荷重検出部97として、作業ケージ10にストライカを取り付け、リミットスイッチを吊り下げ枠体80側に設けた機械式とし、リミットスイッチによって作業ケージ10の上限停止位置Sを電気信号として得てもよい。さらに、作業ケージ10の位置を近接センサで検出することで、作業ケージ10の上限停止位置Sを電気信号として得てもよい。
 荷重検出部97により、索条91に荷重が加わらない上限停止位置Sであることを電気的に検出することができ、作業ケージ10の昇降などの操作のインターロックとなる。
 これにより、作業ケージ10が上限停止位置Sでなければ、アーム機構60の操作ができないインターロック状態にする。
 以上のように構成したゴンドラ装置を備える作業用車両1を用いて、次のように作業を行う。
 作業用車両1を、道路上を走行させて作業現場に移動させる。
 作業現場では、作業者は、通常の橋梁点検車や高所作業車である車体20における作業開始の準備を行う。すなわち、作業者は、作業開始前の点検、平坦な路面であることや駐車ブレーキなど停止状態の確認、アウトリガーの操作などを行う。
 次いで、作業者は、アーム機構60の先端部の上限停止位置Sに吊り下げられ、連結保持機構96で連結保持されている作業ケージ10に乗り込む。
 この後、作業者は、旋回ポスト71に取り付けられているアーム操作盤66を作業ケージ10内から操作して、アーム機構60の各機構30、40、50によって作業ケージ10を作業対象の所望位置(作業開始点)まで移動させる。
 作業ケージ10が上限停止位置Sにおいて機械的に連結保持機構96により連結保持され、荷重検出部97が電気的に索条91に加わる荷重が加わっていない、あるいは電気的に上限停止位置Sであることが検出してインターロック状態である場合に、アーム操作盤66の操作を行うことで、作業の安全性が確保される。
 さらに、作業ケージ操作盤94からの操作により、旋回ポスト71を旋回させ壁面と平行に作業ケージ10を配置する。こうして準備が完了する。
 作業ケージ10による作業を開始する場合には、連結保持機構96による機械的な連結保持を解除させる。作業ケージ10をわずかに上昇させて、連結保持機構96のフック96bを作業ケージ10のブラケット96cから外す。
 この連結保持状態を解除されると、荷重検出部97が索条91に荷重が加わることを検知し、あるいは作業ケージ10が上限停止位置Sでなくなること(例えば作業ケージ10がわずかに下降すること)を検知し、アーム操作盤66での操作がインターロック状態となり、アーム機構60の操作が不能となる。これにより、アーム機構60により作業ケージ10の吊り下げ枠体80の位置が勝手に操作されることが防止される。
 作業ケージ10から、作業ケージ10内から吊り下げ枠体80の上方への作業もできるので、アーム機構60の上限停止位置Sを予め調整しておくことで、上方への作業を行うことができる。
 作業ケージ操作盤94から操作して、作業ケージ10を昇降させることにより、上限停止位置Sから下方の作業をする。また、作業面が湾曲しているなどの場合は、作業ケージ操作盤94から操作して旋回ポスト71を旋回させることで、作業ケージ10の向きを変え、壁面に対して平行に作業ケージ10を配置させて作業を行うようにする。
 こうしてアーム機構60の先端部を、所望の位置に配置して昇降させる作業を行った後、作業ケージ10を上限停止位置Sまで上昇させて戻すことにより、1箇所での昇降範囲の作業が完了する。
 この後、作業ケージ10を上限停止位置Sで連結保持状態とした後、作業者は、作業ケージ10内からアーム操作盤66を操作し、アーム機構60の先端部の位置を次の作業位置に移動させることを繰り返し、同様にして作業ケージ10を昇降させて作業を行う。
 また、上限停止位置Sに戻した状態で、必要に応じて作業ケージ10に搭載したバッテリの充電を行う。
 さらに、アーム機構60による作業開始点の移動を繰り返すことと昇降とを組み合わせることにより、全壁面への作業が完了した後、アーム機構60を初期状態に戻す操作を行い、作業用車両1が走行できるように、アーム機構60を復帰させる。
 こうすることで、作業が完了した状態となる。
 また、作業用車両1をクレーン車として使用する場合には、図9に示すように、エンドレスワインダ92をアーム機構60の先端側に配置し、2本の索条91に吊り下げビーム98を吊り下げ、吊り下げビーム98のフック98aを利用して荷物を吊り下げる。そして、エンドレスワインダ92を無線操作盤から操作することで、作業用車両1を簡単にクレーン車として用いることができる。
 なお、上記実施の形態では、作業ケージを吊り下げ枠体に吊り下げて昇降のみを行う場合を説明したが、作業ケージに横行機構を設けて横移動可能に構成するようにしても良く、それにより、一層作業範囲を拡大することができる。
 また、本願発明は、上記の実施の形態に限定するものでなく、要旨を変更しない範囲で、各構成要件に変更を加えることができるものである。
 以上、実施の形態とともに、詳細に説明したように、本発明のゴンドラ装置を備える作業用車両によれば、作業者が搭乗する作業ケージ10と、車体20に搭載された旋回機構30、伸縮機構40、起伏機構50を組み合わせることにより、先端部を所望位置に移動させるアーム機構60と、を備える作業用車両1であって、アーム機構60の先端部に設けられる鉛直方向の支持ポスト70と、支持ポスト70の上端部に設けられ作業ゲージ10の外側に位置して作業者が支持ポスト70の上端より上方への作業を可能とする作業ケージ10の吊り下げ枠体80と、吊り下げ枠体80に複数本の索条91を介して吊り下げられる作業ケージ10を作業位置に昇降する昇降機構90と、を有するゴンドラ装置100を備える。アーム機構60の操作盤66は、作業ゲージ10の上部停止位置Sから操作でき昇降位置での操作を不能とする位置に配置されるので、作業用車両1は、一般公道を走行してゴンドラ装置100を移動でき、道路上からアーム機構60によって作業ケージ10を所望位置に設置し、昇降する作業ケージ10によって広範囲の作業を行うことができる。また、作業ケージ10を吊り下げ枠体80を介して吊り下げることにより、これまでのゴンドラでは作業できなかった作業ケージ10より上方への作業も、高所作業車などのように可能となる。
 これにより、ゴンドラ装置100の作業ケージ10が任意の位置に移動されるので、作業範囲の制限がなく、広範囲な作業が可能となる。
 また、作業現場への移動や作業現場での作業の準備・撤収が迅速にでき、屋上などから吊り下げて作業を行う場合に比べ、作業効率が大幅に向上する。
 また、アーム機構60の操作盤66は、作業ケージ10の上限停止位置Sから操作でき、昇降位置での操作を不能とする位置に配置するので、作業ケージ10が昇降状態になると、アーム機構60を操作することができず、作業ケージ10内の作業者の意図通りに安全に作業を進めることができる。
 また、本発明のゴンドラ装置を備える作業用車両によれば、作業者が搭乗する作業ケージ10と、車体20に搭載された旋回機構30、伸縮機構40、起伏機構50を組み合わせて先端部を所望位置に移動させるアーム機構60と、を備える作業用車両1であって、アーム機構60の先端部に設けられる鉛直方向の支持ポスト70と、支持ポスト70の上端部に設けられ作業ケージ10の外側に位置して作業者が支持ポスト70の上端より上方への作業を可能とする作業ケージ10の吊り下げ枠体80と、吊り下げ枠体80に複数本の索条91を介して吊り下げられる作業ケージ10を作業位置に昇降する昇降機構90と、を有するゴンドラ装置100を備える。作業ケージ10と吊り下げ枠体80の間には、作業ケージ10を上限停止位置Sに連結して保持する連結保持機構96を備え、吊り下げ枠体80には、索条91に加わる荷重から作業ケージ10の上限停止位置Sでの連結保持状態を検出する荷重検出部97を備える。したがって、一般公道を走行してゴンドラ装置100を移動でき、道路上からアーム機構60によって作業ケージ10を所望位置に設置し、昇降する作業ケージ10によって広範囲の作業を行うことができる。また、作業ケージ10を吊り下げ枠体80を介して吊り下げることで、これまでのゴンドラでは、作業できなかった作業ケージ10より上方への作業も高所作業車などのように可能となる。
 これにより、ゴンドラ装置100の作業ケージ10を任意の位置に移動して作業範囲の制限がなく、広範囲に作業することができる。
 また、作業現場への移動や作業現場での作業の準備・撤収が迅速にでき、屋上などから吊り下げて作業を行う場合に比べ、作業効率が大幅に向上する。
 また、作業ケージ10と吊り下げ枠体80の間には、作業ケージ10を上限停止位置Sに連結して保持する連結保持機構96を備え、吊り下げ枠体80には、索条91に加わる荷重から作業ケージ10の上限停止位置Sでの連結保持状態を検出する荷重検出部97を備える。したがって、連結保持機構96により確実に作業ケージ10を上限停止位置Sに保持連結することができるとともに、荷重検出部97の検出によって電気信号を得ることもでき、作業ケージ10の位置を把握してインターロック状態を作り、安全に作業をすすめることができる。
 また、本発明のゴンドラ装置を備える作業用車両によれば、作業者が搭乗する作業ケージ10と、車体20に搭載された旋回機構30、伸縮機構40、起伏機構50を組み合わせて先端部を所望位置に移動させるアーム機構60と、を備える作業用車両1であって、アーム機構60の先端部に設けられる鉛直方向の支持ポスト70と、支持ポスト70の上端部に設けられ作業ケージ10の外側に位置して作業者が支持ポスト70の上端より上方への作業を可能とする作業ケージ10の吊り下げ枠体80と、吊り下げ枠体80に複数本の索条91を介して吊り下げられる作業ケージ10を作業位置に昇降する昇降機構90と、を有するゴンドラ装置100を備える。ゴンドラ装置100の昇降機構90は、作業ケージ10に搭載されたバッテリで駆動され、作業ケージ10は、上限停止位置Sで外部からの給電により充電可能に構成されることで、一般公道を走行してゴンドラ装置100を移動でき、道路上からアーム機構60によって作業ケージ10を所望位置に設置し、昇降する作業ケージ10によって広範囲の作業を行うことができる。また、作業ケージ10を吊り下げ枠体80を介して吊り下げることで、これまでのゴンドラでは、作業できなかった作業ケージ10より上方への作業も高所作業車などのように可能となる。
 これにより、ゴンドラ装置100の作業ケージ10を任意の位置に移動して作業範囲の制限がなく、広範囲に作業することができる。
 また、作業現場への移動や作業現場での作業の準備・撤収が迅速にでき、屋上などから吊り下げて作業を行う場合に比べ、作業効率が大幅に向上する。
 また、ゴンドラ装置100の昇降機構90は、作業ケージ10に搭載されたバッテリで駆動され、作業ケージ10は、上限停止位置Sで外部からの給電により充電可能に構成されることで、アーム機構60と作業ケージ10との間に給電ケーブルが必要なく、作業の邪魔にならず、作業範囲の制約もなくすことができ、上限停止位置Sで簡単に充電することもできる。
 本発明のゴンドラ装置を備える作業用車両1によれば、支持ポスト70は、鉛直軸回りに旋回する旋回ポスト71で構成されるので、旋回ポスト71の旋回により吊り下げ枠体80の鉛直軸回りの方向を変えることができ、作業ケージ10の向きを調整して壁面などへの作業ができる。
 本発明のゴンドラ装置を備える作業用車両1によれば、アーム機構60の操作盤66は、作業ケージ10の上限停止位置Sにおいて操作でき、昇降位置における操作を不能とする位置に配置されるので、作業者は、作業ケージ10が昇降状態になると、アーム機構60を操作できず、作業ケージ10内にいる作業者の意図通りに安全に作業を進めることができる。
 本発明のゴンドラ装置を備える作業用車両1によれば、作業ケージ10と吊り下げ枠体80の間に、作業ケージ10を上限停止位置Sに連結して保持する連結保持機構96を備え、吊り下げ枠体80は、索条91に加わる荷重から作業ケージ10の上限停止位置Sでの連結保持状態を検出する荷重検出部97を備える。したがって、連結保持機構96は、確実に作業ケージ10を上限停止位置Sに保持連結することができるとともに、荷重検出部97は、電気信号を検出して、作業ケージ10の位置を把握し、インターロック状態を作るので、作業者は、安全に作業をすすめることができる。
 本発明のゴンドラ装置を備える作業用車両によれば、ゴンドラ装置100の昇降機構90は、作業ケージ10に搭載されたバッテリ盤93により駆動され、作業ケージ10は、上限停止位置Sで外部からの給電により充電可能に構成されるので、アーム機構60と作業ケージ10との間に給電ケーブルが必要ない。したがって、作業者の作業の邪魔にならず、作業範囲の制約もなくすことができ、上限停止位置Sで簡単に充電することもできる。
 本発明は、本発明の広義の精神と範囲を逸脱することなく、様々な実施の形態及び変形が可能とされるものである。また、上述した実施の形態は、この発明を説明するためのものであり、本発明の範囲を限定するものではない。すなわち、本発明の範囲は、実施の形態ではなく、特許請求の範囲によって示される。そして、特許請求の範囲内及びそれと同等の発明の意義の範囲内で施される様々な変形が、この発明の範囲内とみなされる。
 本出願は、2016年10月17日に出願された、日本国特許出願特願2016-203811号に基づく。本明細書中に日本国特許出願特願2016-203811号の明細書、特許請求の範囲、図面全体を参照として取り込むものとする。
1   作業用車両(ゴンドラ装置を備える作業用車両)
10  作業ケージ
11  作業床
12  パネル
20  車体
30  旋回機構
31  旋回台
32  旋回台
40  伸縮機構
50  起伏機構
51  起伏軸
52  レベリングアーム
53  起伏軸
54  起伏軸
60  アーム機構
61  第1ブーム
62  第2ブーム
63  第3ブーム
64  第4ブーム
65  作業ケージ取付台
66  アーム操作盤
70  支持ポスト
71  旋回ポスト
80  吊り下げ枠体
81  枠体
82  枠体
83  枠体
90  昇降機構
91  索条
91a 撚りとり機構
92  エンドレスワインダ
93  バッテリ盤
94  作業ケージ操作盤
95  巻取リール
96  連結保持機構
96a 連結ロッド
96b フック
96c ブラケット
97  荷重検出部
98  吊り下げビーム
98a フック
100 ゴンドラ装置
S   上限停止位置

Claims (6)

  1.  作業者が搭乗する作業ケージと、
     車体に搭載された旋回機構、伸縮機構、起伏機構を組み合わせて先端部を所望位置に移動させるアーム機構と、を備える作業用車両であって、
     前記アーム機構の先端部に設けられる鉛直方向の支持ポストと、
     前記支持ポストの上端部に設けられ前記作業ケージの外側に位置して前記作業者が前記支持ポストの上端より上方への作業を可能とする前記作業ケージの吊り下げ枠体と、
     前記吊り下げ枠体に複数本の索条を介して吊り下げられる前記作業ケージを作業位置に昇降する昇降機構と、を有するゴンドラ装置を備え、
     前記アーム機構の操作盤は、前記作業ケージの上限停止位置から操作でき昇降位置での操作を不能とする位置に配置される、
     ことを特徴とするゴンドラ装置を備える作業用車両。
  2.  作業者が搭乗する作業ケージと、
     車体に搭載された旋回機構、伸縮機構、起伏機構を組み合わせて先端部を所望位置に移動させるアーム機構と、を備える作業用車両であって、
     前記アーム機構の先端部に設けられる鉛直方向の支持ポストと、
     前記支持ポストの上端部に設けられ前記作業ケージの外側に位置して前記作業者が前記支持ポストの上端より上方への作業を可能とする前記作業ケージの吊り下げ枠体と、
     前記吊り下げ枠体に複数本の索条を介して吊り下げられる前記作業ケージを作業位置に昇降する昇降機構と、を有するゴンドラ装置を備え、
     前記作業ケージと前記吊り下げ枠体の間には、前記作業ケージを上限停止位置に連結して保持する連結保持機構を備え、
     前記吊り下げ枠体には、前記索条に加わる荷重から前記作業ケージの前記上限停止位置での連結保持状態を検出する荷重検出部を備える、
     ことを特徴とするゴンドラ装置を備える作業用車両。
  3.  作業者が搭乗する作業ケージと、
     車体に搭載された旋回機構、伸縮機構、起伏機構を組み合わせて先端部を所望位置に移動させるアーム機構と、を備える作業用車両であって、
     前記アーム機構の先端部に設けられる鉛直方向の支持ポストと、
     前記支持ポストの上端部に設けられ前記作業ケージの外側に位置して前記作業者が前記支持ポストの上端より上方への作業を可能とする前記作業ケージの吊り下げ枠体と、
     前記吊り下げ枠体に複数本の索条を介して吊り下げられる前記作業ケージを作業位置に昇降する昇降機構と、を有するゴンドラ装置を備え、
     前記ゴンドラ装置の前記昇降機構は、前記作業ケージに搭載されたバッテリで駆動され、
     前記作業ケージは、上限停止位置で外部からの給電により充電可能に構成される、
     ことを特徴とするゴンドラ装置を備える作業用車両。
  4.  前記アーム機構の操作盤は、前記作業ケージの上限停止位置から操作でき昇降位置での操作を不能とする位置に配置される、
     ことを特徴とする請求項2または3に記載のゴンドラ装置を備える作業用車両。
  5.  前記作業ケージと前記吊り下げ枠体の間には、前記作業ケージを上限停止位置に連結して保持する連結保持機構を備え、
     前記吊り下げ枠体には、前記索条に加わる荷重から前記作業ケージの前記上限停止位置での連結保持状態を検出する荷重検出部を備える、
     ことを特徴とする請求項3又は4に記載のゴンドラ装置を備える作業用車両。
  6.  前記支持ポストは、鉛直軸回りに旋回する旋回ポストで構成される、
     ことを特徴とする請求項1~5のいずれか1項に記載のゴンドラ装置を備える作業用車両。
PCT/JP2017/034298 2016-10-17 2017-09-22 ゴンドラ装置を備える作業用車両 Ceased WO2018074140A1 (ja)

Priority Applications (6)

Application Number Priority Date Filing Date Title
EP17862772.5A EP3527527B1 (en) 2016-10-17 2017-09-22 Work vehicle provided with gondola device
SG11201903366VA SG11201903366VA (en) 2016-10-17 2017-09-22 Work vehicle provided with gondola device
AU2017346647A AU2017346647B2 (en) 2016-10-17 2017-09-22 Work vehicle including suspended platform
CA3041030A CA3041030A1 (en) 2016-10-17 2017-09-22 Work vehicle including suspended platform
CN201780063717.2A CN109843779B (zh) 2016-10-17 2017-09-22 具备吊篮装置的作业用车辆
US16/341,535 US10988362B2 (en) 2016-10-17 2017-09-22 Work vehicle including suspended platform

Applications Claiming Priority (2)

Application Number Priority Date Filing Date Title
JP2016-203811 2016-10-17
JP2016203811A JP6189512B1 (ja) 2016-10-17 2016-10-17 ゴンドラ装置を備える作業用車両

Publications (1)

Publication Number Publication Date
WO2018074140A1 true WO2018074140A1 (ja) 2018-04-26

Family

ID=59720507

Family Applications (1)

Application Number Title Priority Date Filing Date
PCT/JP2017/034298 Ceased WO2018074140A1 (ja) 2016-10-17 2017-09-22 ゴンドラ装置を備える作業用車両

Country Status (8)

Country Link
US (1) US10988362B2 (ja)
EP (1) EP3527527B1 (ja)
JP (1) JP6189512B1 (ja)
CN (1) CN109843779B (ja)
AU (1) AU2017346647B2 (ja)
CA (1) CA3041030A1 (ja)
SG (1) SG11201903366VA (ja)
WO (1) WO2018074140A1 (ja)

Cited By (2)

* Cited by examiner, † Cited by third party
Publication number Priority date Publication date Assignee Title
WO2020056069A1 (en) * 2018-09-12 2020-03-19 Jlg Industries, Inc. Below grade access platform
EP4367053A4 (en) * 2021-07-07 2025-05-14 Terex South Dakota, Inc. CONNECTING ARRANGEMENT FOR AN AIR LIFTING ARRANGEMENT

Families Citing this family (19)

* Cited by examiner, † Cited by third party
Publication number Priority date Publication date Assignee Title
EP3299922B1 (en) * 2015-05-22 2022-09-07 FUJIFILM Corporation Robot device and movement control method for robot device
JP6189512B1 (ja) * 2016-10-17 2017-08-30 日本ビソー株式会社 ゴンドラ装置を備える作業用車両
JP6261800B1 (ja) * 2017-07-12 2018-01-17 日本ビソー株式会社 作業用ゴンドラ装置およびこれを備えた作業用車両
US12202715B2 (en) * 2020-01-16 2025-01-21 Xtreme Manufacturing, Llc Telehandler boom auxiliary control panel
US11919756B2 (en) 2020-02-04 2024-03-05 Xtreme Manufacturing, Llc Aerial work vehicle boom auxiliary control panel
CN111441243B (zh) * 2020-04-13 2022-03-25 衡橡科技股份有限公司 一种检查车伸缩车体斜拉索加强机构
US11945123B2 (en) 2020-04-28 2024-04-02 Altec Industries, Inc. Head mounted display for remote operation of machinery
CN111827109A (zh) * 2020-05-10 2020-10-27 广西长长路桥建设有限公司 路桥检测作业平台
JP6758699B1 (ja) * 2020-07-07 2020-09-23 株式会社関東技研 橋梁桁点検装置
CN114033151B (zh) * 2021-11-25 2024-12-24 绍兴文理学院 一种适用多种壁面条件的高空作业吊篮系统
US11839962B1 (en) 2022-07-28 2023-12-12 Altec Industries, Inc. Rotary tool for remote power line operations
US11689008B1 (en) 2022-07-28 2023-06-27 Altec Industries, Inc. Wire tensioning system
US11794359B1 (en) 2022-07-28 2023-10-24 Altec Industries, Inc. Manual operation of a remote robot assembly
US11697209B1 (en) * 2022-07-28 2023-07-11 Altec Industries, Inc. Coordinate mapping for motion control
US11660750B1 (en) 2022-07-28 2023-05-30 Altec Industries, Inc. Autonomous and semi-autonomous control of aerial robotic systems
US11749978B1 (en) 2022-07-28 2023-09-05 Altec Industries, Inc. Cross-arm phase-lifter
JP7637184B2 (ja) * 2023-06-12 2025-02-27 東芝エレベータ株式会社 ゴンドラ装置
KR102710064B1 (ko) * 2024-07-23 2024-09-25 주식회사 제다코리아 탑승부가 구비된 작업 차량
KR102756867B1 (ko) * 2024-07-23 2025-01-21 주식회사 제다코리아 교량 및 교각 점검 차량

Citations (8)

* Cited by examiner, † Cited by third party
Publication number Priority date Publication date Assignee Title
JPH11229799A (ja) * 1998-02-16 1999-08-24 Hitachi Constr Mach Co Ltd 移動式ゴンドラ
JP2000302389A (ja) * 1999-04-22 2000-10-31 Mesco Inc 作業用ケージ昇降装置
JP2003128392A (ja) 2001-10-30 2003-05-08 Aichi Corp 高所作業車
GB2384481A (en) * 2002-01-24 2003-07-30 Cradle Access Developments Ltd Mobile aerial work platforms
JP2009228358A (ja) 2008-03-25 2009-10-08 Nihon Bisoh Co Ltd 養生装置付きゴンドラ
JP2016011211A (ja) * 2014-06-03 2016-01-21 株式会社アイチコーポレーション 高所作業車
JP2016203811A (ja) 2015-04-23 2016-12-08 本田技研工業株式会社 サイドカーテンエアバッグの固定構造
JP6189512B1 (ja) * 2016-10-17 2017-08-30 日本ビソー株式会社 ゴンドラ装置を備える作業用車両

Family Cites Families (16)

* Cited by examiner, † Cited by third party
Publication number Priority date Publication date Assignee Title
US4456093A (en) * 1981-06-16 1984-06-26 Interstate Electronics Corp. Control system for aerial work platform machine and method of controlling an aerial work platform machine
DE3206964A1 (de) * 1982-02-26 1983-09-22 Alfred W. Weber Maschinenfabrik GmbH & Co, 2800 Bremen Vorrichtung zum lageausgleich eines arbeitskorbes
CN85103124A (zh) 1985-04-23 1986-10-22 日本轻金属有限公司 高架公路桥梁建筑用的检修车
US5713430A (en) * 1996-02-29 1998-02-03 Cohen; Schachar Device for treating exterior surfaces for structures
JPH09256626A (ja) * 1996-03-25 1997-09-30 Nihon Bisoh Co Ltd 建築物の外壁作業機の吊り下げ支持装置
KR100599080B1 (ko) * 1998-04-23 2006-11-30 가부시키가이샤 아이치 코포레이션 신축성 붐
JP2002053297A (ja) 2000-08-08 2002-02-19 Kyokuto Kaihatsu Kogyo Co Ltd 橋梁点検車
US20040026171A1 (en) * 2002-08-09 2004-02-12 Hsing-San Chang Multifunctional highrise escaping device capable of moving up and down, left and right, forward and reward
US20080283334A1 (en) * 2007-01-09 2008-11-20 Edsel Wakefield Fickey Tree glider
KR100899590B1 (ko) * 2007-06-14 2009-05-26 장경호 밸런스 리프트
FR2950618B1 (fr) * 2009-09-28 2011-10-21 Haulotte Group Nacelle elevatrice et methode de commande d'une telle nacelle
CN101691197A (zh) * 2009-10-22 2010-04-07 三一集团有限公司 一种自行式升降机
CN102166394B (zh) * 2011-04-18 2012-09-26 苏畅 一种高层建筑用高空消防救援装置
CN103243647B (zh) 2013-05-23 2015-08-05 山东大学 一种新型混合式桥梁检测车
US9695024B2 (en) 2015-01-23 2017-07-04 Jeremy Herauf Unique roadworthy sidewalk boom trailer, having on-site interchangeable boom, on-site interchangeable ladder, and on-site interchangeable catwalk sized to access narrow openings and nooks over and under bridges
EP3075419B1 (en) * 2015-04-03 2020-05-06 Iveco Magirus Ag Fall protection device

Patent Citations (8)

* Cited by examiner, † Cited by third party
Publication number Priority date Publication date Assignee Title
JPH11229799A (ja) * 1998-02-16 1999-08-24 Hitachi Constr Mach Co Ltd 移動式ゴンドラ
JP2000302389A (ja) * 1999-04-22 2000-10-31 Mesco Inc 作業用ケージ昇降装置
JP2003128392A (ja) 2001-10-30 2003-05-08 Aichi Corp 高所作業車
GB2384481A (en) * 2002-01-24 2003-07-30 Cradle Access Developments Ltd Mobile aerial work platforms
JP2009228358A (ja) 2008-03-25 2009-10-08 Nihon Bisoh Co Ltd 養生装置付きゴンドラ
JP2016011211A (ja) * 2014-06-03 2016-01-21 株式会社アイチコーポレーション 高所作業車
JP2016203811A (ja) 2015-04-23 2016-12-08 本田技研工業株式会社 サイドカーテンエアバッグの固定構造
JP6189512B1 (ja) * 2016-10-17 2017-08-30 日本ビソー株式会社 ゴンドラ装置を備える作業用車両

Non-Patent Citations (1)

* Cited by examiner, † Cited by third party
Title
See also references of EP3527527A4

Cited By (2)

* Cited by examiner, † Cited by third party
Publication number Priority date Publication date Assignee Title
WO2020056069A1 (en) * 2018-09-12 2020-03-19 Jlg Industries, Inc. Below grade access platform
EP4367053A4 (en) * 2021-07-07 2025-05-14 Terex South Dakota, Inc. CONNECTING ARRANGEMENT FOR AN AIR LIFTING ARRANGEMENT

Also Published As

Publication number Publication date
CN109843779A (zh) 2019-06-04
AU2017346647A1 (en) 2019-06-06
EP3527527B1 (en) 2025-06-18
SG11201903366VA (en) 2019-05-30
EP3527527A1 (en) 2019-08-21
US20190256335A1 (en) 2019-08-22
AU2017346647B2 (en) 2022-08-11
JP6189512B1 (ja) 2017-08-30
CA3041030A1 (en) 2018-04-26
EP3527527A4 (en) 2020-06-17
US10988362B2 (en) 2021-04-27
CN109843779B (zh) 2021-06-04
JP2018065633A (ja) 2018-04-26

Similar Documents

Publication Publication Date Title
WO2018074140A1 (ja) ゴンドラ装置を備える作業用車両
CN110799443B (zh) 施工用吊舱设备及配有施工用吊舱设备的施工车
KR101832516B1 (ko) 지지와이어로부터 매달린 화물의 방위를 지지와이어를 중심으로 제어하는 방법과 윈치구조
CN101186266A (zh) 起重机
CN111819149A (zh) 起重机
JP4138864B1 (ja) クレーン式ゴンドラ構造
KR102680607B1 (ko) 카운터지브 일체형 유압식 러핑 타워크레인
JP2008120525A (ja) 伸縮ブーム付きクレーン装置
CN205045732U (zh) 一种便携式起重装置
JPH04333492A (ja) 高揚程クレーンの揚重部材位置決め取付装置
CN201336516Y (zh) 用于人工安装柱上开关的装置
JP2017193385A (ja) クレーンのフック位置制御装置
KR100881807B1 (ko) 더블 크레인
CN213505587U (zh) 一种t梁吊装用固定机构
CN105271022A (zh) 一种快装塔机
JPH07157287A (ja) クレーン
KR200349056Y1 (ko) 타워 크레인
JP3084127B2 (ja) 低高さ空間用作業機械
KR200379726Y1 (ko) 전기 작동식 지브 크레인
KR20050081002A (ko) 타워 크레인
JPH0614191U (ja) 高所作業車
CN110040645A (zh) 小型物料提升机
JPS5986594A (ja) 建造用クレ−ン
JPS59138593A (ja) シ−ブ装置
JPS5986592A (ja) 建造用クレ−ン

Legal Events

Date Code Title Description
121 Ep: the epo has been informed by wipo that ep was designated in this application

Ref document number: 17862772

Country of ref document: EP

Kind code of ref document: A1

ENP Entry into the national phase

Ref document number: 3041030

Country of ref document: CA

NENP Non-entry into the national phase

Ref country code: DE

WWE Wipo information: entry into national phase

Ref document number: 2017862772

Country of ref document: EP

ENP Entry into the national phase

Ref document number: 2017346647

Country of ref document: AU

Date of ref document: 20170922

Kind code of ref document: A

WWG Wipo information: grant in national office

Ref document number: 2017862772

Country of ref document: EP