WO2016189658A1 - 機電一体型の回転電機装置 - Google Patents

機電一体型の回転電機装置 Download PDF

Info

Publication number
WO2016189658A1
WO2016189658A1 PCT/JP2015/065116 JP2015065116W WO2016189658A1 WO 2016189658 A1 WO2016189658 A1 WO 2016189658A1 JP 2015065116 W JP2015065116 W JP 2015065116W WO 2016189658 A1 WO2016189658 A1 WO 2016189658A1
Authority
WO
WIPO (PCT)
Prior art keywords
rotating electrical
electrical machine
tray
conductive
bus bar
Prior art date
Legal status (The legal status is an assumption and is not a legal conclusion. Google has not performed a legal analysis and makes no representation as to the accuracy of the status listed.)
Ceased
Application number
PCT/JP2015/065116
Other languages
English (en)
French (fr)
Inventor
和裕 長谷川
Current Assignee (The listed assignees may be inaccurate. Google has not performed a legal analysis and makes no representation or warranty as to the accuracy of the list.)
Nissan Motor Co Ltd
Original Assignee
Nissan Motor Co Ltd
Priority date (The priority date is an assumption and is not a legal conclusion. Google has not performed a legal analysis and makes no representation as to the accuracy of the date listed.)
Filing date
Publication date
Application filed by Nissan Motor Co Ltd filed Critical Nissan Motor Co Ltd
Priority to CA2986743A priority Critical patent/CA2986743C/en
Priority to KR1020177034048A priority patent/KR101968852B1/ko
Priority to MX2017014681A priority patent/MX368087B/es
Priority to JP2017520128A priority patent/JP6409968B2/ja
Priority to RU2017145538A priority patent/RU2658635C1/ru
Priority to BR112017025208-2A priority patent/BR112017025208B1/pt
Priority to EP15893293.9A priority patent/EP3306790B1/en
Priority to US15/576,397 priority patent/US10361608B2/en
Priority to PCT/JP2015/065116 priority patent/WO2016189658A1/ja
Priority to CN201580080345.5A priority patent/CN107710563B/zh
Publication of WO2016189658A1 publication Critical patent/WO2016189658A1/ja
Anticipated expiration legal-status Critical
Ceased legal-status Critical Current

Links

Images

Classifications

    • HELECTRICITY
    • H02GENERATION; CONVERSION OR DISTRIBUTION OF ELECTRIC POWER
    • H02KDYNAMO-ELECTRIC MACHINES
    • H02K9/00Arrangements for cooling or ventilating
    • H02K9/19Arrangements for cooling or ventilating for machines with closed casing and closed-circuit cooling using a liquid cooling medium, e.g. oil
    • HELECTRICITY
    • H02GENERATION; CONVERSION OR DISTRIBUTION OF ELECTRIC POWER
    • H02MAPPARATUS FOR CONVERSION BETWEEN AC AND AC, BETWEEN AC AND DC, OR BETWEEN DC AND DC, AND FOR USE WITH MAINS OR SIMILAR POWER SUPPLY SYSTEMS; CONVERSION OF DC OR AC INPUT POWER INTO SURGE OUTPUT POWER; CONTROL OR REGULATION THEREOF
    • H02M7/00Conversion of AC power input into DC power output; Conversion of DC power input into AC power output
    • H02M7/42Conversion of DC power input into AC power output without possibility of reversal
    • H02M7/44Conversion of DC power input into AC power output without possibility of reversal by static converters
    • H02M7/48Conversion of DC power input into AC power output without possibility of reversal by static converters using discharge tubes with control electrode or semiconductor devices with control electrode
    • HELECTRICITY
    • H02GENERATION; CONVERSION OR DISTRIBUTION OF ELECTRIC POWER
    • H02KDYNAMO-ELECTRIC MACHINES
    • H02K11/00Structural association of dynamo-electric machines with electric components or with devices for shielding, monitoring or protection
    • HELECTRICITY
    • H02GENERATION; CONVERSION OR DISTRIBUTION OF ELECTRIC POWER
    • H02KDYNAMO-ELECTRIC MACHINES
    • H02K11/00Structural association of dynamo-electric machines with electric components or with devices for shielding, monitoring or protection
    • H02K11/20Structural association of dynamo-electric machines with electric components or with devices for shielding, monitoring or protection for measuring, monitoring, testing, protecting or switching
    • H02K11/27Devices for sensing current, or actuated thereby
    • HELECTRICITY
    • H02GENERATION; CONVERSION OR DISTRIBUTION OF ELECTRIC POWER
    • H02KDYNAMO-ELECTRIC MACHINES
    • H02K11/00Structural association of dynamo-electric machines with electric components or with devices for shielding, monitoring or protection
    • H02K11/30Structural association with control circuits or drive circuits
    • H02K11/33Drive circuits, e.g. power electronics
    • HELECTRICITY
    • H02GENERATION; CONVERSION OR DISTRIBUTION OF ELECTRIC POWER
    • H02KDYNAMO-ELECTRIC MACHINES
    • H02K5/00Casings; Enclosures; Supports
    • H02K5/04Casings or enclosures characterised by the shape, form or construction thereof
    • H02K5/20Casings or enclosures characterised by the shape, form or construction thereof with channels or ducts for flow of cooling medium
    • HELECTRICITY
    • H02GENERATION; CONVERSION OR DISTRIBUTION OF ELECTRIC POWER
    • H02KDYNAMO-ELECTRIC MACHINES
    • H02K5/00Casings; Enclosures; Supports
    • H02K5/04Casings or enclosures characterised by the shape, form or construction thereof
    • H02K5/20Casings or enclosures characterised by the shape, form or construction thereof with channels or ducts for flow of cooling medium
    • H02K5/203Casings or enclosures characterised by the shape, form or construction thereof with channels or ducts for flow of cooling medium specially adapted for liquids, e.g. cooling jackets
    • HELECTRICITY
    • H02GENERATION; CONVERSION OR DISTRIBUTION OF ELECTRIC POWER
    • H02KDYNAMO-ELECTRIC MACHINES
    • H02K9/00Arrangements for cooling or ventilating
    • H02K9/22Arrangements for cooling or ventilating by solid heat conducting material embedded in, or arranged in contact with, the stator or rotor, e.g. heat bridges
    • HELECTRICITY
    • H05ELECTRIC TECHNIQUES NOT OTHERWISE PROVIDED FOR
    • H05KPRINTED CIRCUITS; CASINGS OR CONSTRUCTIONAL DETAILS OF ELECTRIC APPARATUS; MANUFACTURE OF ASSEMBLAGES OF ELECTRICAL COMPONENTS
    • H05K7/00Constructional details common to different types of electric apparatus
    • H05K7/20Modifications to facilitate cooling, ventilating, or heating
    • H05K7/2029Modifications to facilitate cooling, ventilating, or heating using a liquid coolant with phase change in electronic enclosures
    • H05K7/20336Heat pipes, e.g. wicks or capillary pumps
    • HELECTRICITY
    • H05ELECTRIC TECHNIQUES NOT OTHERWISE PROVIDED FOR
    • H05KPRINTED CIRCUITS; CASINGS OR CONSTRUCTIONAL DETAILS OF ELECTRIC APPARATUS; MANUFACTURE OF ASSEMBLAGES OF ELECTRICAL COMPONENTS
    • H05K7/00Constructional details common to different types of electric apparatus
    • H05K7/20Modifications to facilitate cooling, ventilating, or heating
    • H05K7/2089Modifications to facilitate cooling, ventilating, or heating for power electronics, e.g. for inverters for controlling motor
    • H05K7/20936Liquid coolant with phase change
    • HELECTRICITY
    • H02GENERATION; CONVERSION OR DISTRIBUTION OF ELECTRIC POWER
    • H02KDYNAMO-ELECTRIC MACHINES
    • H02K5/00Casings; Enclosures; Supports
    • H02K5/04Casings or enclosures characterised by the shape, form or construction thereof
    • H02K5/20Casings or enclosures characterised by the shape, form or construction thereof with channels or ducts for flow of cooling medium
    • H02K5/207Casings or enclosures characterised by the shape, form or construction thereof with channels or ducts for flow of cooling medium with openings in the casing specially adapted for ambient air
    • HELECTRICITY
    • H02GENERATION; CONVERSION OR DISTRIBUTION OF ELECTRIC POWER
    • H02KDYNAMO-ELECTRIC MACHINES
    • H02K5/00Casings; Enclosures; Supports
    • H02K5/04Casings or enclosures characterised by the shape, form or construction thereof
    • H02K5/22Auxiliary parts of casings not covered by groups H02K5/06-H02K5/20, e.g. shaped to form connection boxes or terminal boxes
    • H02K5/225Terminal boxes or connection arrangements

Definitions

  • the present invention relates to an electromechanical integrated type rotating electrical machine apparatus in which a rotating electrical machine and a power converter are integrally housed in a housing.
  • Patent Document 1 A structure in which an inverter is mounted on a mounting seat provided in a housing when a motor that is a rotating electrical machine and an inverter that is a power converter are integrally housed in a housing is known (see Patent Document 1).
  • Patent Document 1 In order to suppress the high temperature of the inverter, the technique of Patent Document 1 cools the housing with a low-temperature gas refrigerant when the compressor is operating, and cools the inverter on the mounting seat with this cold heat.
  • an object of the present invention is to suppress the high temperature of the power conversion device due to the heat generated in the rotating electrical machine.
  • the present invention is a mechanical / electrical integrated type rotary electric machine device including a rotary electric machine, a power converter, and a housing that integrally accommodates the rotary electric machine and the power converter, and the power converter is opposite to the rotary electric machine.
  • An attachment member attached to the side is provided.
  • a conductive connection member connected to electronic components constituting the power conversion device is provided on the opposite side of the mounting member from the rotating electrical machine in a state of being electrically insulated from the mounting member.
  • a cooling unit for cooling the electronic component and the conductive member is provided on the rotating electrical machine side of the mounting member.
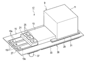
  • FIG. 1 is a perspective view of a rotating electrical machine apparatus according to the first embodiment of the present invention.
  • FIG. 2 is a perspective view of an inverter module used in the rotating electrical machine apparatus of FIG.
  • FIG. 3 is a perspective view in which electronic components are omitted from
  • FIG. 4 is a perspective view seen from the lower side of FIG.
  • FIG. 5 is a schematic cross-sectional view of a portion including the bus bar of FIG.
  • FIG. 6 is a perspective view corresponding to FIG. 2 according to the third embodiment of the present invention.
  • FIG. 7 is a schematic cross-sectional view corresponding to FIG. 5 according to the third embodiment.
  • FIG. 8 is an exploded perspective view of a portion including a bus bar according to the fifth embodiment of the present invention.
  • FIG. 9 is a cross-sectional view including the bus bar of the insulating sheet with partition walls in the fifth embodiment.
  • FIG. 10 is a side view of an inverter module according to the sixth embodiment of the present invention.
  • FIG. 1 is a perspective view of an electromechanically integrated rotating electrical machine apparatus according to the first embodiment of the present invention.
  • a housing 1 of a rotating electrical machine apparatus includes a substantially cylindrical motor portion 3, an inverter portion 5 having a substantially rectangular parallelepiped shape integrally provided on the upper side of the cylindrical portion of the motor portion 3 in FIG. 1, and an inverter portion 5. And a cover 7 for covering the upper part.
  • a three-phase AC motor (hereinafter simply referred to as a motor) 8 as a rotating electric machine is accommodated.
  • An inverter 9 as a power conversion device is accommodated in a portion of the inverter unit 5 covered with the cover 7. That is, the housing 1 integrally accommodates the motor 8 and the inverter 9.
  • the inverter 9 includes a smoothing capacitor 11, a power module 13 having a power semiconductor element, and the like as electronic components.
  • the inverter 9 is attached to the upper surface opposite to the motor 8 of the tray 15 as an attachment member.
  • the inverter portion 5 of the housing 1 is provided with a rectangular bottom wall for mounting and fixing the tray 15.
  • the tray 15 is composed of a rectangular plate member.
  • the material of the tray 15 is a metal made of a conductive member, a resin made of a non-conductive member, ceramic, or the like.
  • An inverter module 17 as shown in FIG. 2 is configured by mounting a plurality of the above-described electronic components, which are inverter components, on the tray 15.
  • Three bus bars 19 as conductive connecting members are attached to the position on the opposite side of the smoothing capacitor 11 on the tray 15.
  • the three bus bars 19 constitute power supply terminals that supply power to the motor 8, and are provided corresponding to the U, V, and W phases of the motor 8.
  • a current sensor 21 is provided at a position near the power module 13 of the bus bar 19. As shown in FIG. 3 in which electronic components are omitted from FIG. 2, a sensor connection terminal 23 is provided at the end of the bus bar 19 on the current sensor 21 side so as to protrude upward. The current sensor 21 is connected to the bus bar 19 via the sensor connection terminal 23.
  • the current sensor 21 is connected to three terminals 25 drawn from the power module 13. Thereby, the current sensor 21 detects a current flowing from the terminal 25 of the power module 13 toward the bus bar 19.
  • the tray 15 here is made of metal made of a conductive member.
  • an insulating sheet 27 as an electrical insulating member such as insulating paper is provided between the metal tray 15 and the bus bar 19 in order to achieve electrical insulation.
  • the insulating sheet 27 is formed in a substantially square shape including the whole of the three bus bars 19 and is fixed to the tray 15 and the bus bar 19 by, for example, adhesion.
  • a terminal hole 19a to which a terminal member (not shown) is connected and fixed is formed at the end of the bus bar 19 opposite to the current sensor 21.
  • a terminal member (not shown) is connected to the motor 8 side.
  • the tray 15 at a position corresponding to the terminal hole 19a has an opening 15a that is sufficiently larger than the terminal hole 19a.
  • the terminal member (not shown) connected to the motor 8 side and the metal tray 15 are separated so as to be in a non-contact state.
  • an opening hole having substantially the same diameter as the opening hole 15a is formed corresponding to the terminal hole 19a.
  • the smoothing capacitor 11 shown in a rectangular parallelepiped shape is mounted on a rectangular conductive plate 29 shown in FIG. 3, and an insulating sheet 31 serving as an electrical insulating member is provided between the conductive plate 29 and the tray 15.
  • the insulating sheet 31 has a rectangular shape that is slightly larger than the conductive plate 29 as a whole so that the outer peripheral edge protrudes outside the outer peripheral edge of the conductive plate 29.
  • the insulating sheet 31 is fixed to the tray 15 and the conductive plate 29 by adhesion, for example.
  • the conductive plate 29 and the insulating sheet 31 are partially protruded from the smoothing capacitor 11 toward the power module 13, and are located below a part of the power module 13. Thereby, the smoothing capacitor 11 and the power module 13 are electrically connected via the conductive plate 29.
  • the power module 13 is fixed on the tray 15 with a fastener or an adhesive in a state where a switching element or the like is molded with a resin.
  • the power module 13 is electrically connected to the smoothing capacitor 11 by a portion where the resin mold portion is not formed in the portion corresponding to the conductive plate 29 and the resin mold portion is not formed.
  • a water channel forming member 33 is joined and fixed to the motor 8 side of the tray 15.
  • the water channel forming member 33 includes an opening that opens on the side facing the tray 15, and the tray cooling water passage 35 is formed between the tray 15 and the tray 15 by bonding and fixing the opening to the front surface (back surface) of the tray 15.
  • a cooler 36 as a cooling unit is configured.
  • the water channel forming member 33 includes a first main passage forming portion 33a, a second main passage forming portion 33b, and a third main passage forming portion 33c that are formed in parallel along the short side portion of the rectangular tray 15.
  • the first main passage forming portion 33a and the second main passage forming portion 33b are connected to each other at one end by a first communication passage forming portion 33d.
  • the second main passage forming portion 33b and the third main passage forming portion 33c are connected to each other at the end opposite to the first communication passage forming portion 33d by the second communication passage forming portion 33e.
  • the water channel forming member 33 is formed in a meandering shape.
  • the tray cooling water passage 35 also has a meandering shape.
  • a flange 33f is formed over the entire circumference. The flange 33f is joined and fixed to the tray 15 in a sealed state by adhesion or the like.
  • a cooling water inlet pipe 37 is connected near the end of the first main passage forming portion 33a opposite to the first communication passage forming portion 33d.
  • a cooling water outlet pipe 39 is connected in the vicinity of the end of the third main passage forming portion 33c opposite to the second communication passage forming portion 33e.
  • the cooling water inlet pipe 37 is supplied with cooling water from the outside by a cooling water pump (not shown) and flows through the tray cooling water passage 35.
  • the cooling water as the cooling medium flows through the tray cooling water passage 35 from the first main passage forming portion 33a toward the third main passage forming portion 33c, and is discharged from the cooling water outlet pipe 39 to the outside of the cooler 36.
  • the cooling water discharged to the outside of the cooler 36 cools the motor 8 through a cooling water passage (not shown) provided in the wall portion of the motor portion 3 of the housing 1.
  • the cooling water that has cooled the motor 8 is discharged to the outside of the housing 1.
  • the entire tray 15 including the water channel forming member 33 in a state before the smoothing capacitor 11, the power module 13, and the current sensor 21 are attached may be covered with a laminate film.
  • the laminate film covers the portion of the bus bar 19 and the conductive plate 29 excluding the electrically conductive portion. Further, the laminated film covers the portion other than the cooling water inlet pipe 37 and the cooling water outlet pipe 39 with respect to the water channel forming member 33.
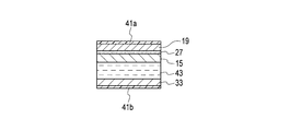
  • FIG. 5 is a schematic cross-sectional view of a portion including the bus bar 19 of FIG. 3 in a configuration including the laminate film.
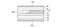
  • the water channel forming member 33, the cooling water 43, the tray 15, the insulating sheet 27, and the bus bar 19 exist between the upper and lower laminate films 41a and 41b in this order from the lower laminate film 41b.
  • the cooling water 43 directly contacts the back surface of the tray 15 opposite to the bus bar 19 to cool the entire tray 15 more efficiently.
  • the bus bar 19 on the tray 15 the inverter 9 including electronic components such as the smoothing capacitor 11 and the power module 13 are also effectively cooled.
  • the heat generated in the coil of the motor 8 may be transmitted to the inverter 9 (power module 13) through the bus bar 19.
  • the bus bar 19 is cooled via the insulating sheet 27 by cooling the tray 15 as described above, the transmission of the heat generated on the motor 8 side to the inverter 9 (power module 13) is suppressed. it can. Thereby, the high temperature of the inverter 9 (power module 13) can be suppressed.
  • the bus bar 19 Since the bus bar 19 is cooled and can suppress the increase in temperature, the current sensor 21 connected to the bus bar 19 can suppress a detection error due to the increase in temperature, and the output is stabilized and the current detection accuracy is increased. Moreover, the bus bar 19 can suppress the electrical resistance at the time of energization low by suppressing high temperature, and reliability improves.
  • the tray 15 is made of a metal that is a conductive member, and an insulating sheet 27 is provided between the tray 15 and the bus bar 19. For this reason, cooling of the bus bar 19 can be ensured while electrically insulating the tray 15 and the bus bar 19 by the insulating sheet 27. Since the tray 15 is made of a metal having a relatively low thermal resistance, the heat of the bus bar 19 can be efficiently radiated to the cooler 36 via the tray 15. Further, by electrically insulating the tray 15 and the bus bar 19 by the insulating sheet 27, the tray 15 and the inverter 9 (power module 13) can be easily electrically insulated.
  • the water channel forming member 33 includes an opening that opens on the side facing the tray 15, and the opening is bonded and fixed to the front surface (back surface) of the tray 15.
  • a refrigerant accommodating space for accommodating a refrigerant is formed inside the opening.
  • the insulating paper is exemplified as the insulating sheets 27 and 31 of the present embodiment.
  • the insulating paper is not necessarily limited thereto, and any sheet that electrically insulates the tray 15 from the bus bar 19 or the conductive plate 29 may be used. .
  • the tray 15 is made of a resin or ceramic made of a non-conductive member.
  • the insulating sheet 27 is unnecessary in FIG.
  • the insulating sheet 31 on the smoothing capacitor 11 side is also unnecessary.
  • the number of parts can be reduced by eliminating the need for the insulating sheets 27 and 31, and the cooling effect on the bus bar 19 and the conductive plate 29 can be increased, further increasing the temperature rise of the bus bar 19 and the inverter 9. Can be suppressed. Since the cooling effect of the bus bar 19 is enhanced, the temperature rise of the bus bar 19 can be further suppressed, and the current detection accuracy of the current sensor 21 is further enhanced.
  • FIG. 6 is a perspective view corresponding to FIG. 2 according to the third embodiment of the present invention.
  • a metal member 45 as a heat radiating member is provided in an electrically insulated state on the upper side of the bus bar 19 opposite to the tray 15.
  • an insulating sheet 47 such as insulating paper that electrically insulates is interposed between the metal member 45 made of a conductive member and the bus bar 19.
  • the insulating sheet 47 is fixed between the metal member 45 and the bus bar 19 with, for example, an adhesive.
  • the metal member 45 includes protrusions 45a extending along the parallel arrangement direction of the three bus bars 19 and protruding downward at both ends. The lower end of the protrusion 45a is brought into contact with the surface of the tray 15 and fixed by, for example, an adhesive.
  • FIG. 7 is a schematic cross-sectional view corresponding to FIG. 5 according to the third embodiment, and is a cross-sectional view when the metal member 45 is viewed from the terminal hole 19 a side of the bus bar 19 of the tray 15.
  • a metal member 45 and an insulating sheet 47 are added between the bus bar 19 and the upper laminate film 41a.
  • the insulating sheet 47 may be integrated with the insulating sheet 27.
  • the metal member 45 is cooled via the tray 15 that is cooled by the cooling water 43.
  • the heat of the bus bar 19 is radiated to the metal member 45 through the insulating sheet 47.
  • the bus bar 19 is cooled from the tray 15 via the insulating sheet 27 and is also cooled by the metal member 45 from the surface opposite to the tray 15. For this reason, the cooling effect of the bus bar 19 is further improved, the temperature rise of the bus bar 19 can be further suppressed, and the current detection accuracy of the current sensor 21 is further increased.
  • the metal member 45 is formed of a conductive member, and an insulating sheet 47 is provided between the metal member 45 and the bus bar 19. For this reason, it is possible to ensure cooling of the bus bar 19 while electrically insulating the metal member 45 and the bus bar 19 by the insulating sheet 47.
  • a resin or ceramic made of a non-conductive member may be used instead of the metal member 45 which is a heat radiating member.
  • the insulating sheet 47 is unnecessary in FIG. Thereby, the reduction of the number of parts and the cooling effect of the bus bar 19 are further improved.
  • the protruding portion 45 a of the metal member 45 may be separated from the tray 15 without being in contact with the tray 15.
  • the metal member 45 may be cooled not by the tray 15 but by another cooling member (not shown). Further, the metal member 45 may extend outside without being in contact with the tray 15, and may be cooled by the atmosphere around the metal member 45, so-called air cooling.
  • heat radiation grease may be applied between the tray 15 and the protruding portion 45a of the metal member 45, between the metal member 45 and the insulating sheet 47, and between the insulating sheet 47 and the bus bar 19, respectively.
  • the heat dissipating grease is a heat conductive grease excellent in heat dissipating property, and by applying to the heat conducting surface, the heat resistance can be lowered and the heat dissipating effect can be further enhanced.
  • FIG. 8 and 9 show a fifth embodiment.
  • an insulating sheet with partition walls 49 is used instead of the insulating sheet 27 in the first embodiment shown in FIG.
  • Other configurations are the same as those of the first embodiment.
  • the insulating sheet 49 with a partition wall is provided with a vertical wall 49b on a flat plate portion 49a.
  • the vertical wall 49 b includes an outer wall 49 a 1 that surrounds the entire periphery of the three bus bars 19, and a partition wall 49 b 2 that is positioned between the adjacent bus bars 19 and partitions the bus bars 19.
  • the height of the outer wall 49 a 1 and the partition wall 49 b 2 from the flat portion 49 a is substantially equal to the plate thickness of the bus bar 19.
  • the three bus bars 19 are respectively accommodated in three regions surrounded by the outer wall 49a1 and the partition wall 49b2. Thereby, the three bus bars 19 can be installed in a state of being positioned with respect to the insulating sheet 49 with partition wall, and those adjacent to each other are electrically insulated by the partition wall 49b2.
  • a plurality of bus bars 19 are provided, and a partition wall 49b2 serving as an electrically insulating member is provided between the plurality of bus bars 19. Thereby, the electrical insulation of several bus-bars 19 is made more reliably.
  • the bus bars 19 adjacent to each other can be electrically insulated by the partition wall 49b2, they can be installed on the tray 15 in a closer state. Thereby, the installation area
  • the contact area between the bus bar 19 and the insulating sheet 49 with a partition wall is increased by bringing the peripheral side surface into contact with the vertical wall 49b, as compared with the case where only the bottom surface is in contact with the insulating sheet 27 as shown in FIG. Thereby, the heat of the bus bar 19 can be radiated to the tray 15 more effectively via the insulating sheet 49 with partition walls. Further, since the bus bar 19 can be accommodated in a state of being positioned in three regions surrounded by the outer wall 49a1 and the partition wall 49b2, the installation work on the tray 15 is facilitated.
  • FIG. 10 shows a sixth embodiment.
  • a heat pipe 51 is attached to the back side of the tray 15 instead of the cooler 36 including the water channel forming member 33 in FIG. 4.
  • the side corresponding to the smoothing capacitor 11 is a condensing unit 51a
  • the side corresponding to the bus bar 19 or the power module 13 that particularly requires cooling is an evaporating unit 51b.
  • the power module 13 and the bus bar 19 are cooled in the same manner as when the cooler 36 is provided by dissipating heat to the evaporation part 51b of the heat pipe 51.
  • the tray 15 is made of a metal made of a conductive member
  • only the portion in contact with the bus bar 19 may be made of an electrically insulating member.
  • the present invention can be applied not only to the inverter 9 as a power converter but also to a DC-DC converter, and the present invention can be applied to a generator as well as the motor 8 as a rotating electric machine.
  • a Peltier element may be used as the cooling unit.
  • the present invention is applied to an electromechanical integrated rotating electrical machine apparatus in which a rotating electrical machine and a power conversion apparatus are integrally housed in a housing.

Landscapes

  • Engineering & Computer Science (AREA)
  • Power Engineering (AREA)
  • Microelectronics & Electronic Packaging (AREA)
  • Physics & Mathematics (AREA)
  • Thermal Sciences (AREA)
  • Inverter Devices (AREA)
  • Motor Or Generator Cooling System (AREA)

Abstract

回転電機(8)と、回転電機(8)に接続される電力変換装置(9)と、回転電機(8)及び電力変換装置(9)を一体的に収容するハウジング(1)と、ハウジング(1)に取り付けられ、電力変換装置(9)が回転電機(8)と反対側に取り付けられる取付部材(15)とを有する。取付部材(15)の回転電機(8)と反対側に、取付部材(15)に対して電気的に絶縁された状態で、電力変換装置(9)を構成する電子部品(13)に接続される導電接続部材(19)が取り付けられる。取付部材(15)の回転電機(8)側に、電子部品(13)及び導電接続部材(19)を冷却する冷却部(33)が設けられる。

Description

機電一体型の回転電機装置
 本発明は、回転電機及び電力変換装置を一体的にハウジングに収容する機電一体型の回転電機装置に関する。
 回転電機であるモータと電力変換装置であるインバータとをハウジングに一体的に収容するにあたり、ハウジングに設けた取付座の上にインバータを取り付ける構成が知られている(特許文献1参照)。インバータの高温化を抑えるために、特許文献1の技術は、コンプレッサ稼働時の低温ガス冷媒によってハウジングを冷却し、この冷熱によって取付座上のインバータを冷却している。
特開2005-36773号公報
 特許文献1の技術は、ハウジングが冷却される際の冷熱によって取付座上のインバータを冷却しているものの、インバータは、モータのコイルで発生する熱が伝達されることによって高温化する恐れがある。
 そこで、本発明は、回転電機で発生する熱による電力変換装置の高温化を抑えることを目的としている。
 本発明は、回転電機と、電力変換装置と、回転電機及び電力変換装置を一体的に収容するハウジングと、を備えた機電一体型の回転電機装置であって、電力変換装置が回転電機と反対側に取り付けられる取付部材を備えている。この電力変換装置は、電力変換装置を構成する電子部品に接続される導電接続部材を、取付部材の回転電機と反対側に、取付部材に対して電気的に絶縁された状態で設け、さらに加えて、電子部品及び導電部材を冷却する冷却部を、取付部材の回転電機側に備えている。
図1は、本発明の第1の実施形態に係わる回転電機装置の斜視図である。 図2は、図1の回転電機装置に使用されるインバータモジュールの斜視図である。 図3は、図2に対し電子部品を省略した斜視図である。 図4は、図3の下部側から見た斜視図である。 図5は、図3のバスバーを備える部分の模式的な断面図である。 図6は、本発明の第3の実施形態に係わる、図2に対応する斜視図である。 図7は、第3の実施形態による図5に対応する模式的な断面図である。 図8は、本発明の第5の実施形態に係わるバスバーを備える部分の分解斜視図である。 図9は、第5の実施形態における仕切壁付絶縁シートのバスバーを含む断面図である。 図10は、本発明の第6の実施形態に係わるインバータモジュールの側面図である。
 以下、本発明を実施するための形態について、図面を参照して詳細に説明する。
 図1は、本発明の第1の実施形態に係わる機電一体型の回転電機装置の斜視図である。回転電機装置のハウジング1は、大略円筒形状のモータ部3と、モータ部3の円筒形状部分の図1中で上部側に一体的に設けられて大略直方体形状のインバータ部5と、インバータ部5の上部を覆うカバー7とを備えている。
 モータ部3内には、回転電機としての三相交流モータ(以下、単にモータという。)8が収容される。インバータ部5上のカバー7に覆われた部分には、電力変換装置としてのインバータ9が収容される。すなわち、ハウジング1は、モータ8及びインバータ9を一体的に収容する。
 インバータ9は、電子部品として、平滑コンデンサ11、パワー半導体素子を有するパワーモジュール13などを備えている。インバータ9は、取付部材としてのトレイ15のモータ8と反対側の上面に取り付けられる。ハウジング1のインバータ部5には、トレイ15を載せて固定するための長方形状の底壁が設けられている。
 トレイ15は、長方形の板状部材で構成されている。トレイ15の材質は、導電性部材で構成される金属や、非導電性部材で構成される樹脂、セラミックなどである。トレイ15に、インバータ部品である上記した電子部品を複数搭載することで、図2に示すようなインバータモジュール17が構成される。
 トレイ15上において平滑コンデンサ11と反対側の位置には、導電接続部材としての三つのバスバー19を取り付けている。三つのバスバー19は、モータ8に電力を供給する電力供給端子を構成しており、モータ8のU,V,Wの各相に対応して設けられている。
 バスバー19のパワーモジュール13に近接する位置には、電流センサ21を設けている。図2に対し電子部品を省略した図3に示すように、バスバー19の電流センサ21側の端部に、上方に向けて突出するようにしてセンサ接続端子23を設けている。電流センサ21は、センサ接続端子23を介してバスバー19に接続される。
 電流センサ21は、パワーモジュール13から引き出された三つの端子25に接続されている。これにより電流センサ21は、パワーモジュール13の端子25からバスバー19に向けて流れる電流を検出する。
 ここでのトレイ15は、導電性部材で構成される金属製としている。このため、金属製のトレイ15とバスバー19との間には、電気的な絶縁を図るために、絶縁紙などの電気的絶縁部材としての絶縁シート27を設けている。絶縁シート27は、三つのバスバー19の全体を包含するほぼ正方形状に形成され、トレイ15及びバスバー19に対し、例えば接着によってそれぞれ固定する。
 バスバー19の電流センサ21と反対側の端部には、図示しない端子部材が接続固定される端子孔19aを形成している。図示しない端子部材はモータ8側と接続する。端子孔19aに対応する位置のトレイ15は、図4に示すように、端子孔19aよりも充分大きい開口孔15aを形成している。これにより、モータ8側に接続する図示しない端子部材と金属製のトレイ15とが、非接触状態となるように離間される。絶縁シート27にも、端子孔19aに対応して開口孔15aとほぼ同径の開口孔を形成している。
 直方体形状で示してある平滑コンデンサ11は、図3に示す長方形状の導電プレート29上に取り付けてあり、導電プレート29とトレイ15との間には、電気的な絶縁部材となる絶縁シート31を設けている。絶縁シート31は、外周縁部が導電プレート29の外周縁部の外側に突出するように、全体として導電プレート29よりもやや大きい長方形状としてある。絶縁シート31は、トレイ15及び導電プレート29に対し、例えば接着によってそれぞれ固定する。
 図2に示すように、導電プレート29及び絶縁シート31は、平滑コンデンサ11からパワーモジュール13側に突出した一部が、パワーモジュール13の一部の下部に位置している。これにより、平滑コンデンサ11とパワーモジュール13とを、導電プレート29を介して電気的に接続している。
 パワーモジュール13は、スイッチング素子などを樹脂モールド成形した状態で、トレイ15上に締結具や接着などによって固定している。パワーモジュール13は、導電プレート29に対応する部分において、樹脂モールド部を形成しておらず、樹脂モールド部を形成していない部分によって平滑コンデンサ11と電気的に接続する。
 図4に示すように、トレイ15のモータ8側には、水路形成部材33を接合固定している。水路形成部材33は、トレイ15に対向する側が開口する開口部を備え、開口部をトレイ15の表面(裏面)に接合固定することで、トレイ15との間にトレイ冷却水通路35が形成される。水路形成部材33とトレイ15との間にトレイ冷却水通路35を形成することで、冷却部としての冷却器36が構成される。
 水路形成部材33は、長方形状のトレイ15における短辺部に沿って平行に形成される第1主通路形成部33a、第2主通路形成部33b、第3主通路形成部33cを備える。第1主通路形成部33aと第2主通路形成部33bとは、それぞれの一方側の端部同士が第1連絡通路形成部33dで接続される。第2主通路形成部33bと第3主通路形成部33cとは、第1連絡通路形成部33dと反対側の端部同士が第2連絡通路形成部33eで接続される。
 したがって、水路形成部材33は蛇行状に形成される。水路形成部材33の形状に対応してトレイ冷却水通路35も蛇行状となる。蛇行状の水路形成部材33の周縁には、フランジ33fが全周にわたり形成されている。フランジ33fをトレイ15に接着などによって密閉状態で接合固定する。
 第1主通路形成部33aの第1連絡通路形成部33dと反対側の端部付近には、冷却水入口配管37を接続している。一方、第3主通路形成部33cの第2連絡通路形成部33eと反対側の端部付近には、冷却水出口配管39を接続している。
 冷却水入口配管37には、外部から図示しない冷却水ポンプによって冷却水が供給されてトレイ冷却水通路35を流れる。冷却媒体である冷却水は、トレイ冷却水通路35を第1主通路形成部33aから第3主通路形成部33cに向けて流れ、冷却水出口配管39から冷却器36の外部に排出される。
 冷却器36の外部に排出された冷却水は、ハウジング1のモータ部3の壁部内に設けてある図示しない冷却水通路を通ってモータ8を冷却する。モータ8を冷却した冷却水は、ハウジング1の外部に排出される。
 平滑コンデンサ11、パワーモジュール13及び電流センサ21を取り付ける前の状態の水路形成部材33を含むトレイ15全体を、ラミネートフィルムで覆ってもよい。その際、ラミネートフィルムは、バスバー19及び導電プレート29に関しては、電気的導通部を除いた部位を覆う。さらにラミネートフィルムは、水路形成部材33に関しては、冷却水入口配管37及び冷却水出口配管39を除いた部位を覆う。
 図5は、上記ラミネートフィルムを含む構成における図3のバスバー19を備える部分の模式的な断面図である。この場合、上下のラミネートフィルム41a,41b相互間に、下部のラミネートフィルム41bから順に、水路形成部材33、冷却水43、トレイ15、絶縁シート27、バスバー19が存在する。
 本実施形態は、図5に示すように、冷却水43が、トレイ15のバスバー19と反対側の裏面に直接接触してトレイ15の全体をより効率よく冷却する。トレイ15が冷却されることで、トレイ15上のバスバー19や、平滑コンデンサ11、パワーモジュール13などの電子部品を備えるインバータ9も効果的に冷却される。
 また、モータ8のコイルで発生した熱が、バスバー19を通してインバータ9(パワーモジュール13)に伝達される場合がある。この場合、上記のようにトレイ15が冷却されることで、絶縁シート27を介してバスバー19が冷却されるので、モータ8側で発生した熱のインバータ9(パワーモジュール13)への伝達を抑制できる。これにより、インバータ9(パワーモジュール13)の高温化を抑えることができる。
 バスバー19は、冷却されて高温化を抑制できるので、バスバー19に接続される電流センサ21は、高温化による検出誤差を抑えることができ、出力が安定して電流検出精度が高まる。また、バスバー19は、高温化を抑制することで、通電時の電気抵抗を低く抑えることができ、信頼性が高まる。
 本実施形態は、トレイ15は導電性部材である金属で構成され、トレイ15とバスバー19との間に絶縁シート27が設けられている。このため、絶縁シート27によりトレイ15とバスバー19との間を電気的に絶縁しつつ、バスバー19の冷却を確保することができる。トレイ15を熱抵抗が比較的小さい金属としていることから、バスバー19の熱を、トレイ15を介して効率よく冷却器36に放熱することができる。また、トレイ15とバスバー19との間を絶縁シート27により電気的に絶縁することで、トレイ15とインバータ9(パワーモジュール13)との間も容易に電気的に絶縁できる。
 また、本実施形態においては、水路形成部材33は、トレイ15に対向する側が開口する開口部を備えており、トレイ15の表面(裏面)に開口部を接合固定している。開口部の内側には、冷媒が収容される冷媒収容空間が形成されている。これにより、水路形成部材33内の冷媒収容空間に流れる冷媒がトレイ15を直接冷却するようになるため、トレイ15を効果的に冷却することができるようになる。
 また、上述では、本実施形態の絶縁シート27、31として絶縁紙を例示したが、必ずしもそれに限らず、トレイ15と、バスバー19もしくは導電プレート29と、を電気的に絶縁するものであればよい。
 本発明の第2の実施形態として、トレイ15が非導電性部材で構成される樹脂やセラミックなどの場合を説明する。この場合、図5において、絶縁シート27が不要となる。平滑コンデンサ11側の絶縁シート31も不要となる。
 したがって、第2の実施形態は、絶縁シート27,31が不要となる分、部品点数を削減できる上、バスバー19や導電プレート29に対する冷却効果も高まり、バスバー19やインバータ9の温度上昇をより一層抑制できる。バスバー19の冷却効果が高まることで、バスバー19の温度上昇をより一層抑制でき、電流センサ21の電流検出精度もより一層高まる。
 図6は、本発明の第3の実施形態に係わる、図2に対応する斜視図である。第3の実施形態は、バスバー19のトレイ15と反対側の上部に、電気的に絶縁された状態で放熱部材としての金属部材45を設けている。具体的には、導電性部材で構成される金属部材45とバスバー19との間に電気的な絶縁を施す絶縁紙などの絶縁シート47を介装する。絶縁シート47と、金属部材45及びバスバー19とのの間は、例えば接着剤によって固定する。
 金属部材45は、三つのバスバー19の並列配置方向に沿って延び、両端部に下方に突出する突出部45aを備える。突出部45aの下端はトレイ15の表面に接触させて、例えば接着剤によって固定する。
 図7は、第3の実施形態による、図5に対応する模式的な断面図であり、トレイ15のバスバー19の端子孔19a側から金属部材45を見た際の断面図である。この場合、図5に対し、バスバー19と上部のラミネートフィルム41aとの間に、金属部材45及び絶縁シート47が追加された構造となる。なお、絶縁シート47は、絶縁シート27と一体的に構成してもよい。
 第3の実施形態は、冷却水43によって冷却されるトレイ15を介して金属部材45が冷却される。このとき、バスバー19の熱は、絶縁シート47を介して金属部材45に放熱される。したがって、バスバー19は、トレイ15から絶縁シート27を介して冷却されるほか、トレイ15と反対側の面からも金属部材45によって冷却される。このため、バスバー19の冷却効果がさらに向上し、バスバー19の温度上昇をさらに抑制でき、電流センサ21の電流検出精度もさらに高まる。
 第3の実施形態は、金属部材45は導電性部材で構成され、金属部材45とバスバー19との間に絶縁シート47が設けられている。このため、絶縁シート47により金属部材45とバスバー19との間を電気的に絶縁しつつ、バスバー19の冷却を確保することができる。
 本発明の第4の実施形態として、放熱部材である金属部材45に代えて、非導電性部材で構成される樹脂やセラミックなども使用してもよい。この場合、図7において、絶縁シート47が不要となる。これにより、部品点数の削減及び、バスバー19の冷却効果がさらに向上する。
 なお、金属部材45の突出部45aは、トレイ15に接触させずに離間させた状態としてもよい。この場合、金属部材45は、トレイ15を介して冷却するのではなく、図示しないその他の冷却部材により、金属部材45を冷却するようにしてもよい。また、金属部材45をトレイ15と接触させずに外側に延在させて、金属部材45の周囲の雰囲気により冷却する、いわゆる空冷させるようにしてもよい。
 また、トレイ15と金属部材45の突出部45aとの間、金属部材45と絶縁シート47との間、絶縁シート47とバスバー19との間、にそれぞれ放熱グリスを塗布してもよい。放熱グリスは、放熱性に優れた熱伝導性グリスであり、熱伝導面に塗布することで、熱抵抗を下げて放熱効果をより高めることができる。
 図8、図9は、第5の実施形態を示す。第5の実施形態は、図3に示した第1の実施形態における絶縁シート27に代えて、仕切壁付絶縁シート49を使用している。その他の構成は、第1の実施形態と同様である。
 仕切壁付絶縁シート49は、平板状の平面部49a上に縦壁49bを備えている。縦壁49bは、三つのバスバー19全体の周囲を囲む外壁49a1と、互いに隣接するバスバー19相互間に位置してバスバー19相互を仕切る仕切壁49b2とを備えている。図9に示すように、外壁49a1及び仕切壁49b2の平面部49aからの高さは、バスバー19の板厚とほぼ同等である。
 三つのバスバー19を、外壁49a1と仕切壁49b2とに囲まれた三つの領域にそれぞれ収容する。これにより、三つのバスバー19は、仕切壁付絶縁シート49に対して位置決めされた状態で設置できるとともに、互いに隣接するもの同士が仕切壁49b2によって電気的に絶縁される。
 第5の実施形態は、バスバー19が複数設けられ、複数のバスバー19相互間には電気的絶縁部材となる仕切壁49b2が設けられている。これにより、複数のバスバー19同士の電気的な絶縁がより確実になされる。
 互いに隣接するバスバー19同士は、仕切壁49b2によって電気的に絶縁できるので、より近付けた状態でトレイ15上に設置することができる。これにより、トレイ15におけるバスバー19の設置領域をより小さくすることができ、インバータモジュール17全体の小型化、ひいては回転電機装置であるモータ装置全体の小型化を達成できる。
 バスバー19は、周囲の側面を縦壁49bに接触させることで、図3のように底面のみ絶縁シート27に接触させる場合に比較して、仕切壁付絶縁シート49との接触面積が増大する。これにより、バスバー19の熱を、仕切壁付絶縁シート49を介してより効果的にトレイ15に放熱できる。また、バスバー19は外壁49a1と仕切壁49b2とに囲まれた三つの領域に位置決めされた状態で収容できるので、トレイ15に対する設置作業が容易となる。
 図10は、第6の実施形態を示す。第6の実施形態は、トレイ15の裏面側に、図4における水路形成部材33を備える冷却器36に代えて、ヒートパイプ51を取り付けている。ヒートパイプ51は、平滑コンデンサ11に対応する側を凝縮部51aとし、冷却が特に必要なバスバー19やパワーモジュール13に対応する側を蒸発部51bとしている。
 パワーモジュール13やバスバー19は、ヒートパイプ51の蒸発部51bに放熱することで、冷却器36を設けた場合と同様にして冷却される。
 以上、本発明の実施形態について説明したが、これらの実施形態は本発明の理解を容易にするために記載された単なる例示に過ぎず、本発明は当該実施形態に限定されるものではない。本発明の技術的範囲は、上記実施形態で開示した具体的な技術事項に限らず、そこから容易に導きうる様々な変形、変更、代替技術なども含む。
 例えば、トレイ15が導電性部材で構成される金属製の場合、バスバー19と接する部位のみを電気的絶縁部材で構成してもよい。
 また、電力変換装置としてインバータ9に限らずDC-DCコンバータにも本発明を適用でき、回転電機としてモータ8に限らず発電機にも本発明を適用できる。また、冷却部として、ペルチェ素子を使用してもよい。
 本発明は、回転電機及び電力変換装置を一体的にハウジングに収容する機電一体型の回転電機装置に適用される。
 1 ハウジング
 8 モータ(回転電機)
 9 インバータ(電力変換装置)
 13 パワーモジュール(電子部品)
 15 トレイ(取付部材)
 19 バスバー(導電接続部材)
 27,47 絶縁シート(電気的絶縁部材)
 36 冷却器(冷却部)
 45 金属部材(放熱部材)
 49b2 仕切壁付絶縁シートの仕切壁(電気的絶縁部材)
 51 ヒートパイプ(冷却部)

Claims (8)

  1.  回転電機と、
     回転電機に接続される電力変換装置と、
     前記回転電機及び前記電力変換装置を一体的に収容するハウジングと、
     前記ハウジングに取り付けられ、前記電力変換装置が前記回転電機と反対側に取り付けられる取付部材と、
     前記取付部材の前記回転電機と反対側に、取付部材に対して電気的に絶縁された状態で取り付けられ、前記電力変換装置を構成する電子部品に接続される導電接続部材と、
     前記取付部材の前記回転電機側に取り付けられ、前記電子部品及び導電接続部材を冷却する冷却部と、を有することを特徴とする機電一体型の回転電機装置。
  2.  前記冷却部は前記取付部材側の少なくとも一部に開口部が設けられ、
     前記取付部材は前記開口部に設けられることを特徴とする請求項1に記載の機電一体型の回転電機装置。
  3.  前記取付部材は導電性部材で構成され、
     前記取付部材と前記導電接続部材との間に電気的絶縁部材が設けられていることを特徴とする請求項1または2に記載の機電一体型の回転電機装置。
  4.  前記取付部材は非導電性部材で構成されていることを特徴とする請求項1または2に記載の機電一体型の回転電機装置。
  5.  前記導電接続部材の前記取付部材と反対側に、電気的に絶縁された状態で放熱部材が設けられていることを特徴とする請求項1ないし4のいずれか1項に記載の機電一体型の回転電機装置。
  6.  放熱部材は導電性部材で構成され、
     前記放熱部材と前記導電接続部材との間に電気的絶縁部材が設けられていることを特徴とする請求項5に記載の機電一体型の回転電機装置。
  7.  前記放熱部材は非導電性部材で構成されていることを特徴とする請求項5に記載の機電一体型の回転電機装置。
     ことを特徴とする。
  8.  前記導電接続部材は複数設けられ、
     前記複数の導電接続部材相互間には電気的絶縁部材が設けられていることを特徴とする請求項1ないし7のいずれか1項に記載の機電一体型の回転電機装置。
PCT/JP2015/065116 2015-05-26 2015-05-26 機電一体型の回転電機装置 Ceased WO2016189658A1 (ja)

Priority Applications (10)

Application Number Priority Date Filing Date Title
CA2986743A CA2986743C (en) 2015-05-26 2015-05-26 Mechanically-electrically integrated electrical rotating apparatus
KR1020177034048A KR101968852B1 (ko) 2015-05-26 2015-05-26 기전 일체형의 회전 전기 기기 장치
MX2017014681A MX368087B (es) 2015-05-26 2015-05-26 Aparato giratorio electrico mecanicamente-electricamente integrado.
JP2017520128A JP6409968B2 (ja) 2015-05-26 2015-05-26 機電一体型の回転電機装置
RU2017145538A RU2658635C1 (ru) 2015-05-26 2015-05-26 Механическим и электрическим образом объединенная электрическая вращающаяся установка
BR112017025208-2A BR112017025208B1 (pt) 2015-05-26 2015-05-26 Aparelho rotativo elétrico integrado mecânica e eletricamente
EP15893293.9A EP3306790B1 (en) 2015-05-26 2015-05-26 Mechatronically integrated rotary electric machine
US15/576,397 US10361608B2 (en) 2015-05-26 2015-05-26 Mechanically-electrically integrated electrical rotating apparatus with high cooling performance
PCT/JP2015/065116 WO2016189658A1 (ja) 2015-05-26 2015-05-26 機電一体型の回転電機装置
CN201580080345.5A CN107710563B (zh) 2015-05-26 2015-05-26 机电一体型的旋转电机装置

Applications Claiming Priority (1)

Application Number Priority Date Filing Date Title
PCT/JP2015/065116 WO2016189658A1 (ja) 2015-05-26 2015-05-26 機電一体型の回転電機装置

Publications (1)

Publication Number Publication Date
WO2016189658A1 true WO2016189658A1 (ja) 2016-12-01

Family

ID=57394066

Family Applications (1)

Application Number Title Priority Date Filing Date
PCT/JP2015/065116 Ceased WO2016189658A1 (ja) 2015-05-26 2015-05-26 機電一体型の回転電機装置

Country Status (10)

Country Link
US (1) US10361608B2 (ja)
EP (1) EP3306790B1 (ja)
JP (1) JP6409968B2 (ja)
KR (1) KR101968852B1 (ja)
CN (1) CN107710563B (ja)
BR (1) BR112017025208B1 (ja)
CA (1) CA2986743C (ja)
MX (1) MX368087B (ja)
RU (1) RU2658635C1 (ja)
WO (1) WO2016189658A1 (ja)

Cited By (5)

* Cited by examiner, † Cited by third party
Publication number Priority date Publication date Assignee Title
CN108233820A (zh) * 2016-12-16 2018-06-29 上海电驱动股份有限公司 一种bsg电机控制器用集成电气模块
WO2019208245A1 (ja) * 2018-04-25 2019-10-31 日本電産株式会社 モータユニット
JP2020099189A (ja) * 2018-12-14 2020-06-25 ヴァレオ シーメンス イーオートモーティブ フランス エスアーエス 自身に折り重なる絶縁フィルムを含む電気機器
JP2021035198A (ja) * 2019-08-27 2021-03-01 株式会社Subaru モータ装置
JP2022162704A (ja) * 2021-04-13 2022-10-25 株式会社デンソー 回転電機、及び回転電機を搭載した車両

Families Citing this family (12)

* Cited by examiner, † Cited by third party
Publication number Priority date Publication date Assignee Title
DE102014019433A1 (de) * 2014-12-22 2016-06-23 Audi Ag Elektronikbaueinheit für einen Elektromotor eines Einzelradantriebs eines Kraftfahrzeugs, Einzelradantrieb sowie Kraftfahrzeug
CN110784068A (zh) * 2018-07-27 2020-02-11 台达电子工业股份有限公司 水冷式马达驱动器一体机
DE102018215889A1 (de) * 2018-09-19 2020-03-19 Robert Bosch Gmbh Isoliervorrichtung mit Kühlmediumleitung
JP7225032B2 (ja) * 2019-06-03 2023-02-20 三菱重工サーマルシステムズ株式会社 スイッチング素子ユニット及び電動圧縮機
JP7208124B2 (ja) * 2019-09-20 2023-01-18 日立Astemo株式会社 電力変換装置およびモータ一体型電力変換装置
US11313359B2 (en) * 2019-10-01 2022-04-26 St9 Gas And Oil, Llc Electric drive pump for well stimulation
US10888036B1 (en) * 2019-12-18 2021-01-05 Toyota Motor Engineering & Manufacturing North America, Inc. Thermal management assemblies for electronic assemblies circumferentially mounted on a motor
DE102020114299B4 (de) 2020-05-28 2022-03-10 Schaeffler Technologies AG & Co. KG Balkonträger zum Verbinden eines Inverters mit einer elektrischen Maschine
MX2023006035A (es) * 2020-11-25 2023-06-02 Nissan Motor Motor con inversor integrado.
JP2023110968A (ja) * 2022-01-31 2023-08-10 三菱電機株式会社 回転電機ユニット
JPWO2025004286A1 (ja) * 2023-06-29 2025-01-02
DE102023207803A1 (de) * 2023-08-14 2025-02-20 Robert Bosch Gesellschaft mit beschränkter Haftung Baueinheit mit Trägerplatte und Verfahren zum Zusammenbau einer Baueinheit mit Trägerplatte

Citations (4)

* Cited by examiner, † Cited by third party
Publication number Priority date Publication date Assignee Title
JP2005237141A (ja) * 2004-02-20 2005-09-02 Toyota Motor Corp インバータおよびインバータの製造方法
JP2011223744A (ja) * 2010-04-09 2011-11-04 Toyota Motor Corp 高電圧機器一体型電動機
JP2013162017A (ja) * 2012-02-07 2013-08-19 Mitsubishi Electric Corp 電気品箱および空気調和機
JP2013233052A (ja) * 2012-05-01 2013-11-14 Hitachi Automotive Systems Ltd インバータ装置

Family Cites Families (18)

* Cited by examiner, † Cited by third party
Publication number Priority date Publication date Assignee Title
DE19817333C5 (de) * 1998-04-18 2007-04-26 Conti Temic Microelectronic Gmbh Elektrische Antriebseinheit aus Elektromotor und Elektronikmodul
US7102260B2 (en) 2002-09-13 2006-09-05 Aisin Aw Co., Ltd. Drive device
JP4096265B2 (ja) * 2002-09-13 2008-06-04 アイシン・エィ・ダブリュ株式会社 駆動装置
JP4144465B2 (ja) 2003-07-18 2008-09-03 株式会社デンソー 車両用インバータ一体型電動コンプレッサ
JP2005168133A (ja) 2003-12-01 2005-06-23 Mitsuba Corp 電動モータ
RU64447U1 (ru) * 2007-02-19 2007-06-27 Общество с ограниченной ответственностью "Центртехкомплект" Автоматический регулятор приводов переменного тока
US8429957B2 (en) * 2008-05-02 2013-04-30 Envirotest Systems Holdings Corp. System and method for quantifying the presence of components in the exhaust of commercial and/or heavy-duty vehicles
JP5169764B2 (ja) 2008-11-19 2013-03-27 トヨタ自動車株式会社 電力変換装置
JP5492599B2 (ja) 2010-02-26 2014-05-14 日立オートモティブシステムズ株式会社 回転電機システム
KR20120006309A (ko) 2010-07-12 2012-01-18 현대모비스 주식회사 차량의 인버터 출력 버스바 모듈
JP5384569B2 (ja) 2011-07-07 2014-01-08 日立オートモティブシステムズ株式会社 電子制御装置
KR20140058677A (ko) 2011-09-29 2014-05-14 가부시키가이샤 야스카와덴키 모터 구동 장치 및 차량
JP5594275B2 (ja) * 2011-11-10 2014-09-24 株式会社安川電機 回転電機
JP5917102B2 (ja) * 2011-11-15 2016-05-11 日立オートモティブシステムズ株式会社 インバータ装置、電気駆動システム
JP2013192367A (ja) * 2012-03-14 2013-09-26 Hitachi Automotive Systems Ltd 電力変換装置
JP5464224B2 (ja) 2012-03-14 2014-04-09 株式会社安川電機 モータ駆動装置および車両
JP5825310B2 (ja) * 2013-09-05 2015-12-02 株式会社安川電機 モータ駆動装置および車両
JP6838853B2 (ja) 2014-11-14 2021-03-03 日産自動車株式会社 回転電機システム

Patent Citations (4)

* Cited by examiner, † Cited by third party
Publication number Priority date Publication date Assignee Title
JP2005237141A (ja) * 2004-02-20 2005-09-02 Toyota Motor Corp インバータおよびインバータの製造方法
JP2011223744A (ja) * 2010-04-09 2011-11-04 Toyota Motor Corp 高電圧機器一体型電動機
JP2013162017A (ja) * 2012-02-07 2013-08-19 Mitsubishi Electric Corp 電気品箱および空気調和機
JP2013233052A (ja) * 2012-05-01 2013-11-14 Hitachi Automotive Systems Ltd インバータ装置

Non-Patent Citations (1)

* Cited by examiner, † Cited by third party
Title
See also references of EP3306790A4 *

Cited By (7)

* Cited by examiner, † Cited by third party
Publication number Priority date Publication date Assignee Title
CN108233820A (zh) * 2016-12-16 2018-06-29 上海电驱动股份有限公司 一种bsg电机控制器用集成电气模块
CN108233820B (zh) * 2016-12-16 2024-06-11 上海电驱动股份有限公司 一种bsg电机控制器用集成电气模块
WO2019208245A1 (ja) * 2018-04-25 2019-10-31 日本電産株式会社 モータユニット
JP2020099189A (ja) * 2018-12-14 2020-06-25 ヴァレオ シーメンス イーオートモーティブ フランス エスアーエス 自身に折り重なる絶縁フィルムを含む電気機器
JP2021035198A (ja) * 2019-08-27 2021-03-01 株式会社Subaru モータ装置
JP7432322B2 (ja) 2019-08-27 2024-02-16 株式会社Subaru モータ装置
JP2022162704A (ja) * 2021-04-13 2022-10-25 株式会社デンソー 回転電機、及び回転電機を搭載した車両

Also Published As

Publication number Publication date
EP3306790B1 (en) 2021-07-28
MX2017014681A (es) 2018-01-24
MX368087B (es) 2019-09-19
CN107710563B (zh) 2020-06-30
EP3306790A1 (en) 2018-04-11
JPWO2016189658A1 (ja) 2018-03-01
EP3306790A4 (en) 2018-08-01
JP6409968B2 (ja) 2018-10-24
KR20170140334A (ko) 2017-12-20
BR112017025208A2 (ja) 2018-08-07
CN107710563A (zh) 2018-02-16
CA2986743A1 (en) 2016-12-01
RU2658635C1 (ru) 2018-06-22
US10361608B2 (en) 2019-07-23
BR112017025208B1 (pt) 2022-06-28
KR101968852B1 (ko) 2019-04-12
CA2986743C (en) 2018-12-11
US20180152079A1 (en) 2018-05-31

Similar Documents

Publication Publication Date Title
JP6409968B2 (ja) 機電一体型の回転電機装置
US8829669B2 (en) Semiconductor device
JP5861614B2 (ja) 高電圧電気装置及び電動圧縮機
JP4144465B2 (ja) 車両用インバータ一体型電動コンプレッサ
US10156239B2 (en) Inverter-integrated electrical compressor
CN113329587B (zh) 电力转换装置
JP6180857B2 (ja) 電力変換装置
JP7366082B2 (ja) 電力変換装置
JP2017103922A (ja) 電力供給ユニット一体型回転電機
JP2017229174A (ja) 回転電機装置
WO2021053975A1 (ja) 電力変換装置およびモータ一体型電力変換装置
JP2012110207A (ja) 電力変換装置
CN116742918A (zh) 功率转换装置
JP6999777B1 (ja) 電力変換装置
WO2019244502A1 (ja) 電力変換装置
JP2017201870A (ja) 制御装置一体型回転電機
JP7524484B2 (ja) 電力変換装置
JP5707910B2 (ja) 積層型冷却器
WO2017002693A1 (ja) 電動コンプレッサ
JP7327211B2 (ja) 電力変換装置
JP2025085151A (ja) 電力変換装置
JP2018207578A (ja) Dcdcコンバータ一体インバータ装置。

Legal Events

Date Code Title Description
121 Ep: the epo has been informed by wipo that ep was designated in this application

Ref document number: 15893293

Country of ref document: EP

Kind code of ref document: A1

ENP Entry into the national phase

Ref document number: 2017520128

Country of ref document: JP

Kind code of ref document: A

WWE Wipo information: entry into national phase

Ref document number: MX/A/2017/014681

Country of ref document: MX

ENP Entry into the national phase

Ref document number: 2986743

Country of ref document: CA

WWE Wipo information: entry into national phase

Ref document number: 15576397

Country of ref document: US

ENP Entry into the national phase

Ref document number: 20177034048

Country of ref document: KR

Kind code of ref document: A

NENP Non-entry into the national phase

Ref country code: DE

WWE Wipo information: entry into national phase

Ref document number: 2017145538

Country of ref document: RU

WWE Wipo information: entry into national phase

Ref document number: 2015893293

Country of ref document: EP

REG Reference to national code

Ref country code: BR

Ref legal event code: B01A

Ref document number: 112017025208

Country of ref document: BR

ENP Entry into the national phase

Ref document number: 112017025208

Country of ref document: BR

Kind code of ref document: A2

Effective date: 20171124