WO2015170375A1 - コード - Google Patents

コード Download PDF

Info

Publication number
WO2015170375A1
WO2015170375A1 PCT/JP2014/062277 JP2014062277W WO2015170375A1 WO 2015170375 A1 WO2015170375 A1 WO 2015170375A1 JP 2014062277 W JP2014062277 W JP 2014062277W WO 2015170375 A1 WO2015170375 A1 WO 2015170375A1
Authority
WO
WIPO (PCT)
Prior art keywords
cord
flat outer
flat
curved outer
branch
Prior art date
Legal status (The legal status is an assumption and is not a legal conclusion. Google has not performed a legal analysis and makes no representation as to the accuracy of the status listed.)
Ceased
Application number
PCT/JP2014/062277
Other languages
English (en)
French (fr)
Inventor
健一 廣田
達史 船山
Current Assignee (The listed assignees may be inaccurate. Google has not performed a legal analysis and makes no representation or warranty as to the accuracy of the list.)
Onkyo Corp
Original Assignee
Onkyo Corp
Priority date (The priority date is an assumption and is not a legal conclusion. Google has not performed a legal analysis and makes no representation as to the accuracy of the date listed.)
Filing date
Publication date
Application filed by Onkyo Corp filed Critical Onkyo Corp
Priority to PCT/JP2014/062277 priority Critical patent/WO2015170375A1/ja
Publication of WO2015170375A1 publication Critical patent/WO2015170375A1/ja
Anticipated expiration legal-status Critical
Ceased legal-status Critical Current

Links

Images

Classifications

    • HELECTRICITY
    • H01ELECTRIC ELEMENTS
    • H01BCABLES; CONDUCTORS; INSULATORS; SELECTION OF MATERIALS FOR THEIR CONDUCTIVE, INSULATING OR DIELECTRIC PROPERTIES
    • H01B7/00Insulated conductors or cables characterised by their form
    • H01B7/04Flexible cables, conductors, or cords, e.g. trailing cables
    • HELECTRICITY
    • H01ELECTRIC ELEMENTS
    • H01BCABLES; CONDUCTORS; INSULATORS; SELECTION OF MATERIALS FOR THEIR CONDUCTIVE, INSULATING OR DIELECTRIC PROPERTIES
    • H01B7/00Insulated conductors or cables characterised by their form
    • H01B7/08Flat or ribbon cables
    • HELECTRICITY
    • H01ELECTRIC ELEMENTS
    • H01BCABLES; CONDUCTORS; INSULATORS; SELECTION OF MATERIALS FOR THEIR CONDUCTIVE, INSULATING OR DIELECTRIC PROPERTIES
    • H01B7/00Insulated conductors or cables characterised by their form
    • H01B7/17Protection against damage caused by external factors, e.g. sheaths or armouring
    • HELECTRICITY
    • H04ELECTRIC COMMUNICATION TECHNIQUE
    • H04RLOUDSPEAKERS, MICROPHONES, GRAMOPHONE PICK-UPS OR LIKE ACOUSTIC ELECTROMECHANICAL TRANSDUCERS; DEAF-AID SETS; PUBLIC ADDRESS SYSTEMS
    • H04R1/00Details of transducers, loudspeakers or microphones
    • H04R1/10Earpieces; Attachments therefor ; Earphones; Monophonic headphones

Definitions

  • the present invention relates to a cord connected to a speaker device such as an earphone or a headphone.
  • Patent Document 1 discloses an earphone measure in which two left and right electric wires are housed in a cylindrical bag made of a flexible fiber in order to prevent the two left and right electric wires having a speaker at the tip from being entangled. Has been.
  • the two wires on the left and right go through a cylindrical bag, followed by a flat wire (an electric wire integrating two wires), and a plug is provided at the tip of the flat wire.
  • a cylindrical bag is fixed to the flat wire, and the other end (speaker side) is slidable.
  • Patent Document 2 discloses a one-piece cord type headphone device (not shown).
  • the input cord (cable) connected to the headphone connection terminal of the audio device is drawn downward from the left headphone main body (sound emitting part), and the input cord is fixed to the lower part of the left headphone main body. ing.
  • the input codes to the electroacoustic conversion unit in the right headphone body are bundled into the input codes to the electroacoustic conversion unit in the left headphone body through the headband. By pulling the input cord drawer into the headphone body on one side, the cord wiring is clean.
  • the two left and right wires (cords) in the earphone device as described above are likely to be kinked or entangled with each other.
  • the input codes (codes) in the headphone device as described above are likely to be kinked or entangled with each other, or entangled with the fingers of a user (for example, a disc mug).
  • the code is likely to be kinked or entangled with a user's finger or the like, which occurs in the above-described conventional technology.
  • Another problem is that the two cords are likely to be kinked or entangled with each other.
  • the cord according to claim 1 includes an electric wire that conducts electricity, and a protective member that is formed around the radial direction of the electric wire, and the protective member has a curved outer surface on one side and a flat shape on the other side. And an outer surface.
  • FIG. 3A is a cross-sectional view taken along line AA in FIG. 3A
  • FIG. 3B is an enlarged view showing an example of an electric wire arrangement in the cord
  • FIG. 3C is a diagram for explaining the outer shape of the cord.
  • FIG. 3A is a cross-sectional view taken along line AA in FIG. 3A
  • FIG. 3B is an enlarged view showing an example of an electric wire arrangement in the cord
  • FIG. 3C is a diagram for explaining the outer shape of the cord.
  • (A) (b) is a figure showing an example of electric wire arrangement of a cord similarly. It is a figure which shows the principal part of the headphone apparatus which connects a cord.
  • a cord according to an embodiment of the present invention includes an electric wire that conducts electricity, and a protective member formed around the radial direction of the electric wire, and the protective member has a curved outer surface on one side and a flat surface on the other side. And an outer surface.
  • This configuration eliminates the problem of the cords being kinked, entangled with each other, and entangled with the user's fingers.
  • the curved outer surface includes an arc in a cross section in the radial direction of the protective member.
  • the curved outer surface preferably includes one first arc having a first curvature and two second arcs having a second curvature larger than the first curvature.
  • the second arc is formed at both ends of the flat outer surface.
  • This configuration prevents a sharp portion from being included in the protective member of the cord, so that the so-called touch noise, which is perceived by the user through the cord when the cord comes into contact with the user or the like, is suppressed.
  • cord three or more wires are arranged in parallel in the width direction of the flat outer surface.
  • Four electric wires may be used.
  • many speaker devices that require four electric wires for the left and right signal sounds and the microphone signal and the base are commercially available. In this case, these four electric wires are arranged in parallel.
  • the shielded wire of the four electric wires is disposed closer to the center in the width direction of the flat outer surface than the non-shielded wire.
  • the ratio (D / T) of the maximum thickness (D) of the protective member in the direction parallel to the flat outer surface to the maximum thickness (T) of the protective member in the direction perpendicular to the flat outer surface It is preferably 8/3 to 4/3.
  • the code may be composed of a single code, or may be provided with two branch codes branched from a single main line code.
  • the trunk cord and the two branch cords have the curved outer surface and the flat outer surface, respectively. With this configuration. Eliminates the problem of two cords being kinked and tangling with each other.
  • the curved outer surfaces of the two branch cords are arranged to face each other.
  • the two cords are easily separated.
  • the area where the curved outer surface of each branch cord comes into contact with the user or the like is smaller than the flat surface (outer surface) in a state where the speaker device is mounted on the user, touch noise is suppressed.
  • the curved outer surface of the main line cord is disposed on the user side in a state where the speaker device is mounted on the user.
  • the switch provided in the middle of the cord has a curved outer surface and a flat outer surface, and the flat outer surface of the cord and the flat outer surface of the switch are formed in parallel.
  • a switch provided in the middle of the branch cord has a curved outer surface and a flat outer surface, and the flat outer surface of the cord and the flat outer surface of the switch are formed in parallel. It is preferable.
  • a connector is provided at the tip of the branch cord.
  • the connector has a curved outer surface and a flat outer surface. With this configuration, the connection operation of the connector is facilitated.
  • a cord is connected to the speaker device of the earphone device.
  • a cord is connected to the speaker device of the headphone device.
  • 1 and 2 show an example of a code unit including a code.
  • the cord unit 1 includes two left and right branch codes (codes) 2, 3, a main line cord (code) 4 that unifies the two branch codes 2, 3, and the tips ( A cover that covers a connection portion between the plug (connector) 5 provided at the upper end), a switch (controller) 6 provided in the middle of one (left side) branch cord 2, and the main cord 4 and the branch cords 2 and 3 7 and a plug 8 provided at the distal end (lower end) of the main line cord 4.
  • a code unit may be simply expressed as a code.
  • Protective members of the branch cords 2 and 3 and the main cord 4 are made of a thermoplastic elastomer and are elastic and flexible. Instead of the thermoplastic elastomer, it is also possible to form a protective member for each cord 2 to 4 or any cord with a synthetic resin material such as polyvinyl chloride.
  • a plurality (four in this example) of electric wires 9 to 11 (FIG. 3) are arranged inside each cord 2 to 4.
  • the plurality of electric wires 9 to 11 are covered with protective members 12 (FIG. 4) of cords 2 to 4.
  • the main line cord 4 is constituted by the four electric wires 9 to 11 and the protective member 12.
  • the cover 7 in the middle part of the cord unit 1 in FIG. 1 is formed in a block shape with an elastomer or a synthetic resin material, and is integrally formed at a connection portion between each branch cord 2, 3 and the main cord 4. A connection portion between each branch cord 2, 3 and the main cord 4 is fixed by the cover 7.
  • a switch 6 in the middle of the branch code 2 is used to increase / decrease the volume.
  • the plug 5 at the tip of each of the branch cords 2 and 3 includes a block-shaped gripping portion 13 made of an elastomer or a synthetic resin, and a hollow connection pin 14 made of a conductive metal protruding upward from the gripping portion 13.
  • the connection pin 14 is hollow, and the plug 5 can also be called a jack 5.
  • the plug 8 at the tip of the main cord 4 includes a block-shaped root portion 15 made of an elastomer or a synthetic resin, a metal cylindrical cover 16, and the wires 9 to 11 ( 3) and a connecting pin 17 made of conductive metal.
  • the plug 8 is inserted and connected to a jack of an audio device (not shown).
  • Each branch cord 2, 3 has a curved outer surface 18 and a flat outer surface 19 opposite to the curved outer surface 18, and is formed in a substantially D-shaped cross section.
  • the curved outer surface 18 is curved so as to protrude outward in the radial direction of the branch cords 2 and 3.
  • the flat outer surface 19 is a flat surface. Instead of a flat surface, a slightly curved outer surface can be used as the flat outer surface 19.
  • the circumferential length of the curved outer surface 18 is longer than the circumferential length (width) of the flat outer surface 19.
  • a jack (not shown) of the earphone body 20 of the earphone device 28 of FIG. 5 is connected to the plug 5 at the tip of the left branch cords 2 and 3 in FIG.
  • the jack is connected to a speaker device (not shown) in the earphone main body 20.
  • the earphone body 20 is generically referred to as a speaker device.
  • the protruding plate 21 at the intermediate portion of the earphone main body 20 faces the rear side of the user.
  • Each earphone main body 20 is arranged and connected in parallel to each plug 5 of the left and right branch cords 2 and 3 in FIG.
  • each branch cord 2, 3 is rotated 90 ° in the circumferential direction as shown by arrow C from the state shown in FIG.
  • the flat outer surface 19 of the cords 2 and 3 and the operation surface 6a of the switch 6 of the left branch cord 2 are located outward with respect to the user, and the curved outer surface 18 of each branch cord 2 and 3 is Located inward on the difference. Since each branch cord 2 and 3 is flexible, it does not become the state shown in FIG. 1 in a free state, and for example, it extends straight or bends freely in a curved shape.
  • the curved outer surface 18 of each branch cord 2 and 3 Since the curved outer surface 18 of each branch cord 2 and 3 is positioned on the user side in use, the curved outer surface 18 smoothly contacts with a small frictional resistance without being caught on the user's face or clothes. The generation of touch noise is prevented. For example, when the flat outer surface 19 is located on the user side, the flat outer surface 19 contacts and rubs the user's face, clothes, etc. in a larger area than the curved outer surface. However, the concern is solved in this embodiment.
  • the switch 6 provided in the middle of the branch cord 2 has a flat outer surface 6 a which is a front side operation surface and a curved outer surface 6 b on the back side, and the flat outer surface 19 of the branch cord 2 and the switch 6.
  • the flat outer surface 6a is formed in parallel.
  • the curved outer surface 6b of the switch 6 is located on the user side, and touch noise is prevented by the curved outer surface 6b.
  • the curved outer surfaces 18 of the respective branch cords 2 and 3 are located facing each other like the branch cord portions 2a and 3a following the upper side of the cover 7 in FIG.
  • the curved outer surfaces 18 of the branch cord portions 2 a and 3 a face each other at the upper end of the cover 7 and are in contact with each other.
  • branch cords 2 and 3 are combined (contacted), and the user pulls off the branch cords 2 and 3 and the earphone body 20 (see FIG. ) Is facilitated and entanglement between the branch codes 2 and 3 is prevented.
  • the branch cords 2 and 3 are kinked by the action of an external force or the like, the branch cords 2 and 3 have a substantially D-shaped cross section, and therefore, for example, a cord having a circular cross section or an existing cord having a rectangular cross section (not shown). ) Is easier to restore and less kinky.
  • the cover 7 has a flat outer surface 7 a on the front side and an inclined outer surface 7 b on the back side, and the flat outer surface 7 a is formed in parallel with the flat outer surface 18 of the trunk cord 4.
  • the grip portion 13 (FIG. 1) of the plug 5 at the tip of each branch cord 2, 3 has a curved outer surface 22 and a flat (flat) outer surface 23, and is formed in a substantially D-shaped cross section. ing.
  • the flat outer surface 23 of each gripping part 13 is formed in parallel with the flat outer surface 19 of each branch cord 2, 3.
  • the flat outer surface 23 of the grip portion 13 is useful for the turning operation of the plug 5 in the circumferential direction.
  • connection pin 14 of the plug 5 has a circumferential groove (not shown) on the root side, and a substantially C-shaped ring 24 is fitted in the circumferential groove. Moreover, it has the collar part 25 in the root side of the connection pin 14, and the collar part 25 is the two-sided width before and behind notched by the flat outer surface 19 side and the curved outer surface 18 side of the branch cords 2 and 3 And left and right circular arc surfaces.
  • the assembler or the user When the plug 5 is inserted and connected to the jack (connector) of the earphone main body 20 of FIG. 5, the assembler or the user holds the flat outer surface 23 of the grip portion 13 and inserts the plug 5 in the circumferential direction 90. By rotating, the two-sided width portion of the flange portion 25 comes into contact with the mating surface on the jack side, and the plug 5 is locked (rotated). The substantially C-shaped ring 24 is fitted into a peripheral groove on the jack side (not shown), and the plug 5 is prevented from coming off.
  • the user can remove the plug 5 from the earphone main body 20 (FIG. 5) and replace the cord unit 1 with a new one.
  • the trunk cord 4 has a curved outer surface 18 and a flat outer surface 19 on the opposite side, like the branch cords 2 and 3, and has a substantially D-shaped cross section. ing. Therefore, it is difficult to kink and has good flexibility.
  • the material of the trunk cord 4 is the same as that in the branch cords 2 and 3.
  • the left and right branch cords 2 and 3 have the curved outer surfaces 18 in contact with each other in the cover 7, but the main cord 4 is arranged 90 ° out of phase with the branch cords 2 and 3.
  • Four curved outer surfaces 18 are positioned toward the user (rearward), and a flat outer surface 19 is positioned in a direction away from the user to the front side.
  • the curved outer surface 18 of the main cord 4 comes into contact with the user's clothes and the like with a small contact surface, so there is little friction with the clothes and the like, and touch noise is prevented.
  • the thickness and width of the main line 4 are approximately the same as the thickness and width of the branch cords 2 and 3.
  • the thickness T of the main cord 4 is smaller than the width D.
  • the thickness T is the distance between the apex of the curved outer surface 18 and the flat outer surface 19 (the height on the curved outer surface side), and the width D is the direction perpendicular to the thickness T (flat The outer thickness of the protective member 12 (FIG. 4) in the direction parallel to the flat outer surface 19.
  • the ratio D / T between the width D and the thickness T is 8/3 to 4/3.
  • the width D is 4 mm and the thickness T is about 1.5 to 3 mm.
  • the above numerical values of the thickness T and the width D are merely examples.
  • FIG. 3 (c) shows an example in which three electric wires 9, 9, 11 are arranged in parallel in the direction parallel to the flat outer surface 19 of the protective member 12 inside the protective member 12 of the cord 4. is there.
  • the cord 4 has a D-shaped cross section.
  • the three electric wires are composed of, for example, two signal wires 9 and 9 and one earth wire 11.
  • Reference symbol T is the maximum thickness of the protective member 12 in a direction perpendicular to the flat outer surface 19 of the protective member 12
  • reference symbol D is the maximum thickness of the protective member 12 in a direction parallel to the flat outer surface 19.
  • the trunk cord 4 there are two signal wires 9, 9, a shield wire 10, and a ground wire 11 in order from the left in FIG. Are arranged in parallel in the width direction.
  • the potentials of the ground wire 11 and the shield portion of the shield wire 10 are the same.
  • the shield wire 10 having a diameter larger than that of the other electric wires 9 and 10 is disposed in a thicker portion of the elastomeric insulating protection member 12. Yes.
  • the shield wire 10 When the signal line 9 has a potential difference with respect to the shield portion of the shield wire 10, a magnetic field is generated between them, and thus the shield wire 10 may have to be disposed away from the signal line 9 in the width direction.
  • the shield wire 10 when the shield wire 10 is arranged outside in the width direction in a cord having a rectangular cross section, there is a concern that the shield wire 10 is easily damaged by repeated bending of the cord.
  • the shield wire 10 By arranging the shield wire 10 closer to the center of the cord 4, the concern is solved, and the thick shield wire 10 is covered with the thick protective member 12 on the curved outer surface 18 side so Protected and insulated. Further, since the diameter (conductor cross-sectional area) of each of the electric wires 9 to 11 can be made larger than that of the cord having a rectangular cross section, the resistance in transmission of the audio signal can be reduced to realize a clear sound quality.
  • the total number of wires 9 to 11 is four. However, as shown in FIG. 3C, the total number of wires is three, for example, two signal wires 9 and one ground wire 11. It is also possible.
  • the total number of wires used is three or more.
  • the shield wire 10 includes a core wire 10a and a shield portion (braided or copper foil or the like) 10b for electromagnetic shielding outside the core wire 10a.
  • the core wire 10a is covered with an insulation protection member 10c, and has a shield portion 10b outside the insulation protection member 10c. .
  • the other signal wires 9 and ground wires 11 are constituted by core wires 9a and 11a and insulation protection members 9b and 11b.
  • small-diameter curved surfaces 26 are formed at both ends in the width direction of the main line cord 4.
  • FIG. Each curved surface 26 smoothly follows the flat outer surface 19 and the curved outer surface 18.
  • Each curved surface 26 is formed at the intersection of the flat outer surface 19 and the curved outer surface 18.
  • FIG. 4C shows a cross section of an example of the curved outer surface 18 of the protection member 12 of the cord 4 and the curved surfaces 26 on both ends in the width direction of the protection member 12.
  • the electric wires 9 to 11 are not shown.
  • the curved outer surface 18 of the protection member 12 includes a first arc E1 having a first curvature with the center point O1 as the center (this is the same in the example of FIG. 3C).
  • the center point O ⁇ b> 1 is located outside the flat outer surface 19.
  • the curved outer surface 18 has one first arc E1 having a first curvature centered on the center point O1 and a second curvature larger than the first curvature centered on the center point O2. And two second arcs E2.
  • the center point O2 is located between the flat outer surface 19 and the curved outer surface 18.
  • Second arcs E2 are formed on both ends of the flat outer surface 19, respectively.
  • the curved surfaces 26 having the second arcs E2 on both ends prevent generation of touch noise when the end of the main line cord 4 comes into contact with the user's clothes or the like. For example, in the case of a cord having a rectangular cross section, there is a concern that the edge of the end may come into contact with a large frictional resistance so as to be caught on the user's clothes, etc. 26, the concern has been resolved.
  • the curved surface 26 is also formed on the branch cords 2 and 3, and the same effect as that of the main line cord 4 can be obtained on the branch cords 2 and 3.
  • the protective member layer 12a formed from the flat outer surface 19 to the curved surface 26 at the end in the width direction is formed of a homogeneous elastomer having a different color from the protective member 12 on the curved outer surface 18 side. Is.
  • the design is enhanced by forming the flat outer surface 19 side (the side away from the user) in black and the curved outer surface 18 side (the side facing the user) in red.
  • the color to be used is not limited to this.
  • the branch codes 2 and 3 (FIG. 1) have the same color scheme.
  • the switch 6 (FIG. 1) is also formed in the same color scheme as the branch code 2.
  • the switch 6 has a front side portion (black) and a back side portion (red) assembled and locked together.
  • the protective members 12 of the respective cords 2 to 4 can be formed in a desired cross-sectional shape, and the protective members 12 are brought into close contact with the respective internal wires 9 to 11 so that 9 to 11 can be reliably insulated and fixed.
  • each of the cords 2 to 3 shown in FIGS. 1 to 4 has a substantially D-shaped cross section, it has good flexibility and excellent bending durability.
  • the conditions of the bending endurance test are determined by, for example, the left / right bending test of JIS MIL-C-13777, and according to this test, each cord 2 to 4 is 1.5 of a cord having an existing circular or rectangular cross section. It is twice or more durable.
  • the plug 5 at the tip of the left and right branch cords 2 and 3 is described as being connected to the jack of the earphone main body 20 (FIG. 5). Can be connected to the jack 30 of the sound emitting unit 29 of the headphone device 44 (see, for example, FIG. 8).
  • FIG. 6 shows an example of a code unit including a code. Components similar to those in the embodiment of FIG. 1 are denoted by the same reference numerals, and detailed description thereof is omitted.
  • the cord unit 31 is used by being connected to the jack 30 of the sound emitting unit (speaker device) 29 of the headphone device 44 (FIG. 8).
  • the difference from the cord unit 1 shown in FIG. 1 is that the cord 32 is not branched in the middle and is extended in a straight line.
  • the flat outer surface 34 is a flat surface.
  • the flat outer surface 34 may be a curved surface having a shorter circumference than the curved outer surface 33.
  • the curved outer surface 33 of the protection member 42 has a small curvature (a large curvature radius) in the radial cross section of the cord 32 in FIG.
  • One first arc (E1) and two second arcs (E2) having a large curvature (small curvature radius) on both sides in the width direction of the flat outer surface 34 are included.
  • the curved surfaces 35 on both sides in the width direction of the protection member 42 have a second arc (E2).
  • plugs (connectors) 36 and 8 are provided at one end (upper end) and the other end (lower end) of the cord 32, and a switch 6 is provided in the middle of the cord 32.
  • the plug 36 at the upper end is inserted and connected to a jack (connector) 30 provided at the lower part of the case of the sound emitting unit 29 on one side (for example, the left side) of the headphone device 44 of FIG.
  • the jack 30 is connected to a speaker device (not shown) in the sound emitting unit 29.
  • the sound emitting unit 29 is collectively referred to as a speaker device.
  • a cord (not shown) is wired along the headband 37 from one sound emitting portion 29 to the other sound emitting portion (not shown).
  • the plug 8 at the lower end of FIG. 6 is inserted and connected to a jack of an acoustic device (not shown).
  • the upper plug 36 is integrally provided on an elastomer gripping portion 38, a conductive metal connection pin 39 projecting upward from the gripping portion 38, and a base (base) side of the connection pin 39, and is locked in a 180 ° direction. And a flange 40 having a piece.
  • the grip portion 38 is formed of a flat (flat) outer surface 42 and a curved outer surface 41 in a substantially D-shaped cross section.
  • the lock piece of the collar portion 40 is connected to the jack 30 (FIG. 8). It is locked inside to prevent it from coming off.
  • the flat outer surface 42 of the grip portion 38 facilitates the rotation operation of the plug 36.
  • the flat outer surface 42 of the grip portion 38 is formed in parallel with the flat outer surface 34 of the cord 32.
  • the switch 6 has a flat outer surface 6a which is a front side operation surface and a curved outer surface 6b on the back side, and the flat outer surface 6a is formed in parallel with the flat outer surface 34 of the cord 32.
  • the curved outer surface 6b of the switch 6 is located on the user side, and touch noise is prevented by the curved outer surface 6b.
  • the grip 15 of the plug 8 on the lower end side of the cord 32 has a flat outer surface 15a and a curved outer surface 15b.
  • the flat outer surface 15a is formed in parallel with the flat outer surface 34 of the cord 32. ing. Touch noise can also be reduced by the inclined outer surface 7 b of the cover 7.
  • the operation surface 6a of the switch 6 and the flat outer surface 34 of the cord 32 are located away from the user, and the curved outer surface 33 of the cord 32 faces the user. To position. As a result, the curved outer surface 33 comes into contact with the user's clothes and the like with a small frictional resistance, thereby preventing the occurrence of touch noise.
  • a small-diameter curved surface 35 (FIG. 7) that smoothly connects the curved outer surface 33 and the flat outer surface 34 (at the intersection of the outer surfaces 33, 34) is formed on both ends of the cord 32 in the width direction. . The curved surface 35 also prevents the generation of touch noise.
  • the cross section of the cord 32 is substantially semicircular (D-shaped).
  • the cord 32 is defined to be thicker than the main cord 4 of FIG.
  • the circumferential length of the curved outer surface 33 of the cord 32 is longer than the circumferential length of the curved outer surface 18 of the course 4 in FIG.
  • the ratio D / T between the width and thickness of the cord 32 is in the range of 8/3 to 4/3.
  • the reliability with respect to repeated bending of the cord 32 is also high as with the cord 4 of FIG.
  • the arrangement of the electric wires 9 to 11 inside the cord 32 is such that the two signal lines 9, 9, the shield wire 10 and the ground wire 11 are flat in the width direction of the cord 32. And parallel to each other.
  • the pitches of the electric wires 9 to 11 are equal or substantially equal.
  • the shield wire 10 is disposed near the center of the cord 32 and is protected and insulated by being covered with a thick protective member 42. Since the diameter of the wires 9 to 11 (conductor cross-sectional area) can be increased as compared with a cord (not shown) having a rectangular cross section, a clear sound quality can be realized by reducing a resistance in transmitting an audio signal. It is also possible to set the number of the electric wires 9 and 11 to three as in the example of FIG.
  • the code of the present invention can be appropriately modified according to conventionally known knowledge. As long as such a modification still includes the configuration of the cord of the present invention, it is included in the scope of the present invention.

Landscapes

  • Physics & Mathematics (AREA)
  • Engineering & Computer Science (AREA)
  • Acoustics & Sound (AREA)
  • Signal Processing (AREA)
  • Headphones And Earphones (AREA)

Abstract

 コードがよじれたり互いに絡んだり使用者の手指等に絡んだりしやすいという問題を解消することが目的の一例として挙げられる。 この目的を達成するために、コード(2,3,4,32)は、電気を通す電線(9~11)と、電線の径方向の周囲に形成された保護部材(12,42)と、を備え、保護部材(12,42)は、一方に湾曲状の外面(18,33)と、他方に扁平状の外面(19,34)と、を備えている。

Description

コード
 本発明は、イヤホンやヘッドホン等のスピーカ装置に接続されるコードに関するものである。
 例えば特許文献1には、先端にスピーカを備える左右二本の電線の絡み付きを防止するために、柔軟な繊維で成る筒状の袋に左右二本の電線を収納するようにしたイヤホン措置が開示されている。
 左右二本の電線は筒状の袋を経て平衝電線(二本の電線を一体化した電線)に続き、平衝電線の先端にプラグが設けられている。筒状の袋の一端は平衝電線に固定され、他端(スピーカ側)はスライド自在になっている。
 また、特許文献2には、片出しコードタイプのヘッドホン装置(図示せず)が開示されている。このヘッドホン装置にあっては、音響機器のヘッドホン接続端子に接続する入力コード(ケーブル)が左側のヘッドホン本体(放音部)から下向きに引き出され、左側のヘッドホン本体の下部に入力コードが固定されている。
 右側のヘッドホン本体内の電気音響変換部への入力コードはヘッドバンド内を通って、左側のヘッドホン本体内の電気音響変換部への入力コードに一括されている。入力コードの引き出しを片側のヘッドホン本体にまとめることで、コード配線がすっきりとしている。
特開平10-308992号公報 特開2005-295461号公報
 例えば上記したようなイヤホン装置における左右二本の電線(コード)は、よじれたり、互いに絡んだりしやすいという懸念があった。また、上記したようなヘッドホン装置における入力コード(コード)はよじれたり互いに絡んだり、あるいは使用者(例えばディスクジョッキ)の手指等に絡んだりしやすいという懸念があった。
 本発明が解決しようとする課題としては、上記した従来技術において生じる、コードがよじれたり使用者の手指等に絡んだりしやすいという問題が一例として挙げられる。また、二本のコードがよじれたり互いに絡んだりしやすいという問題が一例として挙げられる。
 請求項1記載のコードは、電気を通す電線と、前記電線の径方向の周囲に形成された保護部材と、を備え、前記保護部材は、一方に湾曲状の外面と、他方に扁平状の外面と、を備えたことを特徴とする。
本発明のコードの第1実施形態を示す斜視図である。 同じくコードを示す正面図である。 (a)は、コードの幹線部分の一例を示す側面図、(b)は同じく平面図、(c)はコードの幹線部分の他の例を示す図である。 (a)は図3(a)のA-A断面図、(b)はコード内の電線配置の一例を示す拡大図、(c)はコードの外面形状を説明する図である。 イヤホン本体の一例を示す斜視図である。 本発明のコードの第2実施形態を示す斜視図である。 (a)(b)は同じくコードの電線配置の一例を示す図である。 コードを接続するヘッドホン装置の要部を示す図である。
 本発明の実施形態に係るコードは、電気を通す電線と、前記電線の径方向の周囲に形成された保護部材と、を備え、前記保護部材は、一方に湾曲状の外面と、他方に扁平状の外面と、を備えている。
 この構成により、コードがよじれたり互いに絡んだり使用者の手指等に絡んだりしやすいという問題が解消される。
 また、前記湾曲状の外面は、前記保護部材の径方向の断面において円弧を含むことが好ましい。また、前記湾曲状の外面は、第一の曲率を有する一つの第一の円弧と、前記第一の曲率よりも大きい第二の曲率を有する二つの第二の円弧と、を含むことが好ましい。前記扁平状の外面の両端にそれぞれ前記第二の円弧が形成されていることが好ましい。
 この構成により、コードの保護部材に鋭角な部分が含まれなくなるので、このコードが使用者等に接触した際の摩擦音がコードを通して使用者に知覚される、いわゆるタッチノイズが抑止される。
 また、コード内部において、前記扁平状の外面の幅方向に電線が三本以上並列に配置されている。前記電線は四本であってもよい。例えば、左右の信号音用とマイクロフォン信号用と、ベースの四本の電線を必要とするスピーカ装置が多く市販されているが、その場合は、これらの電線四本が並列に配置される。
 また、前記四本の電線のうちのシールド線が、非シールド線よりも前記扁平状の外面の幅方向中央寄りに配置されていることが好ましい。この構成により、他の電線よりも太いシールド線がこのコードの外部から確実に保護・絶縁されると共に、コードの繰り返しの屈曲に対するシールド線の信頼性が高まる。
 また、前記扁平状の外面と垂直な方向における前記保護部材の最大厚み(T)に対する前記扁平状の外面と平行な方向における前記保護部材の最大厚み(D)の比率(D/T)が、8/3~4/3であることが好ましい。
 また、コードは一本で構成されていてもよく、一本の幹線コードから分岐された二本の分岐コードを備えていてもよい。後者の場合、前記幹線コードと前記二本の分岐コードとがそれぞれ前記湾曲状の外面と前記扁平状の外面とを有している。この構成により。二本のコードがよじれたり互いに絡んだりしやすいという問題が解消される。
 また、前記二本の分岐コードの前記湾曲状の外面が対向して配置されていることが好ましい。この構成により、二本の分岐コードが接触する面積が扁平状の表面(外面)に比べれば小さいために違いに分離しやすくなる。また、スピーカ装置を使用者に装着した状態で、各分岐コードの湾曲状の外面が使用者等に接触する面積が扁平状の表面(外面)に比べれば小さいので、タッチノイズが抑止される。
 また、スピーカ装置を使用者に装着した状態で、前記幹線コードの前記湾曲状の外面が前記使用者側に配置されることが好ましい。この構成により、幹線コードの湾曲状の外面が使用者等に接触する面積が扁平状の表面(外面)に比べれば小さいために、コードが受ける摩擦力が小さくなり、タッチノイズが抑止される。
 また、前記コードの途中に設けられたスイッチが湾曲状の外面と扁平状の外面とを有し、前記コードの前記扁平状の外面と前記スイッチの前記扁平状の外面とが平行に形成されていることが好ましい。また、前記分岐コードの途中に設けられたスイッチが湾曲状の外面と扁平状の外面とを有し、前記コードの前記扁平状の外面と前記スイッチの前記扁平状の外面とが平行に形成されていることが好ましい。
 この構成により、スイッチの湾曲状の外面が使用者側に位置し、使用者等に対するタッチノイズが抑止される。
 また、前記分岐コードの先端にコネクタが設けられていることが好ましい。この構成により、コードの断線時等に、例えば使用者がコードを容易に交換することができる。
 また、前記コネクタが湾曲状の外面と扁平状の外面とを備えていることが好ましい。この構成により、コネクタの接続操作が容易化する。
 また、イヤホン装置のスピーカ装置にコードが接続されることが好ましい。また、ヘッドホン装置のスピーカ装置にコードが接続されることが好ましい。
 以下に、図1~図5に基づいて、本発明の第1実施形態の実施例に係るコードについて説明する。
 図1,図2は、コードを備えるコードユニットの一例を示すものである。
 このコードユニット1は、左右二本の分岐コード(コード)2,3と、二本の分岐コード2,3を一本化した幹線コード(コード)4と、各分岐コード2,3の先端(上端)に設けられたプラグ(コネクタ)5と、一方(左側)の分岐コード2の途中に設けられたスイッチ(コントローラ)6と、幹線コード4と分岐コード2,3との接続部分を覆うカバー7と、幹線コード4の先端(下端)に設けられたプラグ8とを備えている。なお、コードユニットを単にコードと表現することもある。
 各分岐コード2,3及び幹線コード4の保護部材は熱可塑性エラストマで弾性を有して且つ柔軟に形成されている。熱可塑性エラストマに代えてポリ塩化ビニル等の合成樹脂材で各コード2~4ないし何れかのコードの保護部材を形成することも可能である。各コード2~4の内部には複数本(本例で四本)の電線9~11(図3)が配置されている。複数本の電線9~11はコード2~4の保護部材12(図4)で覆われている。四本の電線9~11と保護部材12とで幹線コード4が構成されている。
 図1のコードユニット1の中間部のカバー7はエラストマないし合成樹脂材でブロック状に形成され、各分岐コード2,3と幹線コード4との接続部分に一体成形されている。カバー7で各分岐コード2,3と幹線コード4との接続部分が固定されている。分岐コード2の中間部のスイッチ6は、音量の増減等を行わせるものである。
 各分岐コード2,3の先端のプラグ5は、エラストマないし合成樹脂製のブロック状の把持部13と、把持部13から上向きに突出した導電金属製の中空の接続ピン14とを備えている。接続ピン14は中空のものであり、プラグ5をジャック5と称することも可能である。
 幹線コード4の先端のプラグ8は、エラストマないし合成樹脂製のブロック状の付根部15と、金属製の円筒状のカバー16と、カバー16内で絶縁されてコード4内の電線9~11(図3)に接続された導電金属製の接続ピン17とを備えている。プラグ8は不図示の音響機器等のジャックに挿入接続される。
 各分岐コード2,3は、湾曲状の外面18と、湾曲状の外面18とは反対側の扁平状の外面19とを有して、断面略D字状に形成されている。湾曲状の外面18は、分岐コード2,3の径方向外向きに凸となるように湾曲している。扁平状の外面19は平坦面である。平坦面に代えて若干湾曲した外面を扁平状の外面19とすることも可能である。湾曲状の外面18の周長は扁平状の外面19の周長(幅)よりも長い。
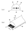
 図1における左側の分岐コード2,3の先端のプラグ5に、図5のイヤホン装置28のイヤホン本体20の不図示のジャックが接続される。ジャックはイヤホン本体20内の不図示のスピーカ装置に接続されている。明細書では便宜上、イヤホン本体20をスピーカ装置と総称する。図5のイヤホン本体20を使用者(図示せず)の左耳に装着した際に、イヤホン本体20の中間部の突板21が使用者の後側を向く。図1の左右の分岐コード2,3の各プラグ5に各イヤホン本体20が平行に配置接続される。
 各イヤホン本体20は使用状態で互いに内向きに位置するので、各分岐コード2,3は図1の状態(説明の便宜上示す状態)から矢印Cの如く周方向に90°回転して、各分岐コード2,3の扁平状の外面19と、左側の分岐コード2のスイッチ6の操作面6aとが使用者に対して外向きに位置し、各分岐コード2,3の湾曲状の外面18が違いに内向きに位置する。なお、各分岐コード2,3は柔軟であるので、自由状態で図1の状態になることはなく、例えば真直に伸びたり湾曲状に自由に屈曲する。
 各分岐コード2,3の湾曲状の外面18が使用状態で使用者側に位置することで、湾曲状の外面18が使用者の顔や衣服等に引っ掛かりなくスムーズに小さな摩擦抵抗で接触して、タッチノイズの発生が防止される。例えば、扁平状の外面19が使用者側に位置する場合には、扁平状の外面19が使用者の顔や衣服等に湾曲状の外面に比べて大きな面積で接触して擦れるので、タッチノイズを生じる懸念があるが、本実施例でその懸念が解消されている。
 分岐コード2の途中に設けられたスイッチ6は、表側の操作面である扁平状の外面6aと裏側の湾曲状の外面6bとを有し、分岐コード2の扁平状の外面19とスイッチ6の扁平状の外面6aとが平行に形成されている。スイッチ6の湾曲状の外面6bは使用者側に位置し、湾曲状の外面6bによってタッチノイズが防止される。
 使用状態において、図1のカバー7の上側に続く分岐コード部分2a,3aのように、各分岐コード2,3の湾曲状の外面18が背中合わせに向かい合って位置する。分岐コード部分2a,3aの湾曲状の外面18はカバー7の上端において向かい合って接触している。
 そのため、例えば二本の分岐コード2,3を合わせた(接触した)状態から外向きに分離させやすく、使用者が各分岐コード2,3を引き離して左右の各耳にイヤホン本体20(図5)を装着する操作が容易化すると共に、分岐コード2,3同士の絡みが防止される。また、分岐コード2,3が外力等の作用でよじれた場合でも、分岐コード2,3は断面略D字状であるので、例えば断面円形のコードや断面矩形状の既存のコード(図示せず)に比べて復元しやすく、よじれにくい。
 カバー7は表側の扁平状の外面7aと裏側の傾斜状の外面7bとを有し、扁平状の外面7aは幹線コード4の扁平状の外面18と平行に形成されている。
 各分岐コード2,3の先端のプラグ5の把持部13(図1)は、湾曲状の外面22と扁平状(平坦な)の外面23とを有して、断面略D字状に形成されている。各把持部13の扁平状の外面23は各分岐コード2,3の扁平状の外面19と平行に形成されている。把持部13の扁平状の外面23はプラグ5の周方向の回動操作に有用である。
 プラグ5の接続ピン14は付根側に周溝(図示せず)を有し、周溝内に略C状のリング24が嵌められている。また、接続ピン14の付根側に鍔部25を有し、鍔部25は、分岐コード2,3の扁平状の外面19側と湾曲状の外面18側とに切欠された前後の二面幅の部分と、左右の円弧面とを有している。
 プラグ5を図5のイヤホン本体20のジャック(コネクタ)に挿入接続する際に、組立者又は使用者が把持部13の扁平状の外面23を把持してプラグ5を挿入しつつ周方向に90°回転させることで、鍔部25の二面幅の部分がジャック側の相手面に接触して、プラグ5がロック(回り止め)される。略C状のリング24は不図示のジャック側の周溝に嵌合して、プラグ5が抜け止めされる。
 例えばコードの断線等でコードユニット1が使用できなくなった場合でも、使用者がイヤホン本体20(図5)からプラグ5を脱抜して、コードユニット1を新品のものと交換することができる。
 図1,図2の如く、幹線コード4も分岐コード2,3と同様に、湾曲状の外面18とその反対側の扁平状の外面19とを有して、断面略D字状に形成されている。そのため、よじれにくく、且つ屈曲性が良好である。幹線コード4の材質は分岐コード2,3におけると同様である。
 左右の分岐コード2,3はカバー7において湾曲状の外面18を互いに接触させているが、幹線コード4は分岐コード2,3とは90°位相ずれして配置され、使用状態において、幹線コード4の湾曲状の外面18が使用者に向けて(後向きに)位置し、扁平状の外面19が使用者から前側に離れる方向に位置する。
 このため、分岐コード2,3におけると同様に、幹線コード4の湾曲状の外面18が小さな接触面で使用者の衣服等に接触するので、衣服等との擦れが少なく、タッチノイズが防止される。本例において、幹線コード4の太さや幅は各分岐コード2,3の太さや幅と同程度である。
 例えば、左側(スイッチ6側)の分岐コード2内には三本の電線(信号用とアース用とスイッチ用の電線)9~11(図3(b)参照)が配置され、右側の分岐コード3内には二本の電線(信号用とアース用の電線)9,11が配置され、幹線コード4内には四本の電線(信号用二本とスイッチ用と共通アース用)9~11(図3(b))が配置されている。
 図3(a)(b)に示す如く、幹線コード4の厚みTは幅Dよりも小さい。厚みTとは、湾曲状の外面18の頂点と扁平状の外面19との間の距離(湾曲状の外面側の高さ)であり、幅Dとは、厚みTとは直交する方向(扁平状の外面側)の距離、すなわち扁平状の外面19と平行な方向における保護部材12(図4)の最大厚みである。
 幅Dと厚みTとの比率D/Tは、8/3~4/3である。その場合、一例として幅Dは4mm、厚みTは1.5~3mm程度である。これは各分岐コード2,3においても同様である。厚みTと幅Dの上記の数値はあくまで一例である。
 図3(c)は、コード4の保護部材12の内部に三本の電線9,9,11を、保護部材12の扁平状の外面19と平行な方向に並列に配置した例を示すものである。このコード4は断面D型に形成されている。三本の電線は例えば二本の信号線9,9と一本のアース線11とで構成されている。符号Tは、保護部材12の扁平状の外面19と垂直な方向における保護部材12の最大厚みであり、符号Dは、扁平状の外面19と平行な方向における保護部材12の最大厚みである。
 図4(a)(b)に示す如く、幹線コード4の内部には、図4の左から順に二本の信号用の電線9,9、シールド線10、アース用の電線11が幹線コード4の幅方向に並列に配置されている。アース線11とシールド線10のシールド部との電位は同一である。幹線コード4の湾曲状の外面18と扁平状の外面19との間でエラストマの絶縁保護部材12がより厚い部分に、他の電線9,10に比べて径の大きいシールド線10が配置されている。
 シールド線10のシールド部に対して信号線9が電位差を有するとその間に磁界が発生するので、シールド線10を信号線9から離して幅方向外側に配置しなければならないという場合がある。しかし例えば、断面矩形状のコード内で幅方向外側にシールド線10を配置した場合は、コードの繰り返しの屈曲によってシールド線10が傷みやすいという懸念がある。
 シールド線10をコード4の中央寄りに配置したことで、その懸念が解消され、太いシールド線10が湾曲状の外面18側の肉厚の保護部材12で覆われてこのコード4の外部から確実に保護・絶縁されている。また、断面矩形状のコードに比べて各電線9~11の径(導体断面積)を大きくすることができるので、音声信号の伝達における抵抗を小さくしてクリアな音質を実現することができる。
 本例で電線9~11の総数は四本であるが、図3(c)に示した如く、例えば二本の信号線9と一本のアース線11というように、電線の総数を三本とすることも可能である。使用される電線の総数は三本以上である。シールド線10は芯線10aとその外側の電磁遮蔽用のシールド部(編組又は銅箔等)10bを備え、芯線10aは絶縁保護部材10cで覆われ、絶縁保護部材10cの外側にシールド部10bを有する。他の信号線9やアース線11は芯線9a,11aと絶縁保護部材9b,11bとで構成されている。
 図4(a)(b)に示す如く、幹線コード4の幅方向の両端部には小径な湾曲面26が形成されている。各湾曲面26は扁平状の外面19と湾曲状の外面18とに滑らかに続いている。各湾曲面26は扁平状の外面19と湾曲状の外面18との交差部に形成されている。
 図4(c)は、コード4の保護部材12の湾曲状の外面18と、保護部材12の幅方向の両端側の湾曲面26の一例の断面を示すものである。電線9~11は図示を省略している。保護部材12の湾曲状の外面18は、中心点O1を中心とした第一の曲率を有する第一の円弧E1を含んでいる(これは図3(c)の例においても同様である)。中心点O1は、扁平状の外面19よりも外側に位置する。
 また、湾曲状の外面18は、中心点O1を中心とした第一の曲率を有する一つの第一の円弧E1と、中心点O2を中心とした、第一の曲率よりも大きい第二の曲率を有する二つの第二の円弧E2とを含んでいる。中心点O2は、扁平状の外面19と湾曲状の外面18との間に位置する。扁平状の外面19の両端側にそれぞれ第二の円弧E2が形成されている。
 この両端側の第二の円弧E2を有する湾曲面26によって、幹線コード4の端部が使用者の衣服等に接触した際におけるタッチノイズの発生が防止される。例えば断面矩形状のコードの場合は、端部のエッジが使用者の衣服等に引っ掛かるように大きな摩擦抵抗で接触して、タッチノイズを生じる懸念があるが、本実施例の端部の湾曲面26でその懸念が解消されている。この湾曲面26は分岐コード2,3にも形成されており、分岐コード2,3においても幹線コード4と同様の効果を奏する。
 図4において扁平状の外面19から幅方向の端部の湾曲面26にかけて形成された保護部材層12aは、湾曲状の外面18側の保護部材12とは異なる色の同質のエラストマで形成されたものである。
 例えば扁平状の外面19側(使用者から離れる側)を黒色、湾曲状の外面18側(使用者を向く側)を赤色で形成することで、意匠性が高まる。使用する色はこれに限られるものではない。各分岐コード2,3(図1)も同様の配色である。スイッチ6(図1)も分岐コード2と同様の配色に形成される。スイッチ6は表側の部分(黒色)と裏側の部分(赤色)を相互に組み付けて係止させている。
 例えば熱可塑性エラストマを材料とすることで、各コード2~4の保護部材12を所望の断面形状に形成することができると共に、内部の各電線9~11に保護部材12を密着させて各電線9~11を確実に絶縁・固定することができる。
 図1~図4に示す各コード2~3は、断面略D字状であるので、屈曲性が良好であると共に、屈曲耐久性に優れている。屈曲耐久試験の条件は、例えばJIS MIL-C-13777の左右屈曲試験等で定められており、この試験によれば、各コード2~4は既存の断面円形ないし矩形状のコードの1.5倍ないしそれ以上の耐久性を有している。
 図1の幹線コード4の先端のプラグ8の把持部15は、表側の扁平状の外面15aと裏側(接続ピン17の突出側)の湾曲状の外面15bとを有し、扁平状の外面15aは幹線コード4の扁平状の外面19と平行に形成されている。
 なお、上記実施例においては、左右の分岐コード2,3の先端のプラグ5をイヤホン本体20(図5)のジャックに接続する例で説明したが、各分岐コード2,3の先端のプラグ5をヘッドホン装置44(例えば図8参照)の放音部29のジャック30に接続するようにすることも可能である。
 以下に図6~図8を用いて、本発明の第2実施形態の実施例に係るコードについて説明する。
 図6は、コードを備えるコードユニットの一例を示すものである。図1の実施形態と同様の構成部分には同じ符号を付して詳細な説明を省略する。
 このコードユニット31は、ヘッドホン装置44(図8)の放音部(スピーカ装置)29のジャック30に接続して使用されるものである。上記図1のコードユニット1との相違は、コード32が途中で分岐されておらず、一直線に伸長される点である。
 図7(a)(b)の如く、コード32の外面形状(一方の湾曲状の外面33と他方の扁平状の外面34と幅方向両端側の小径の湾曲面35とを有する形状)や材質や配色や内部の電線9~11の配置等は図1の幹線コード4と略同様である。扁平状の外面34は平坦面である。扁平状の外面34を湾曲状の外面33よりも周長の短い湾曲面とすることも可能である。
 上記図4(c)の例で説明したのと同様に、図7(a)のコード32の径方向の断面において、保護部材42の湾曲状の外面33は、小さな曲率(大きな曲率半径)の一つの第一の円弧(E1)と、扁平状の外面34の幅方向両側における大きな曲率(小さな曲率半径)の二つの第二の円弧(E2)とを含んでいる。保護部材42の幅方向両側の湾曲面35は第二の円弧(E2)を有している。
 図6の如く、コード32の一端(上端)と他端(下端)に各プラグ(コネクタ)36,8が設けられ、コード32の途中にスイッチ6が設けられている。上端のプラグ36は、図8のヘッドホン装置44の一方(例えば左側)の放音部29のケースの下部に設けられたジャック(コネクタ)30に挿入接続される。ジャック30は放音部29内のスピーカ装置(図示せず)に接続されている。明細書では便宜上、放音部29をスピーカ装置と総称する。
 他方の放音部(図示せず)には一方の放音部29からヘッドバンド37に沿ってコード(図示せず)が配線される。図6の下端のプラグ8は不図示の音響機器等のジャックに挿入接続される。
 上側のプラグ36は、エラストマの把持部38と、把持部38から上向きに突出した導電金属製の接続ピン39と、接続ピン39の付根(基部)側に一体に設けられ、180°方向にロック片を有する鍔部40とを備えている。
 把持部38は扁平状(平坦な)の外面42と湾曲状の外面41とで断面略D字状に形成されている。把持部38を把持して接続ピン39を放音部29(図8)のジャック30に挿入しつつプラグ36を周方向に回転させることで、鍔部40のロック片がジャック30(図8)内にロックされて抜け止めされる。把持部38の扁平状の外面42はプラグ36の回転操作を行いやすくする。把持部38の扁平状の外面42はコード32の扁平状の外面34と平行に形成されている。
 スイッチ6は、表側の操作面である扁平状の外面6aと裏側の湾曲状の外面6bとを有し、扁平状の外面6aはコード32の扁平状の外面34と平行に形成されている。スイッチ6の湾曲状の外面6bは使用者側に位置し、湾曲状の外面6bによってタッチノイズが防止される。
 また、コード32の下端側のプラグ8の把持部15は扁平状の外面15aと湾曲状の外面15bとを有し、扁平状の外面15aはコード32の扁平状の外面34と平行に形成されている。カバー7の傾斜状の外面7bによってもタッチノイズを軽減できる。
 コードユニット31の使用状態で、スイッチ6の操作面6aとコード32の扁平状の外面34とが使用者から外側に離れる方向に位置し、コード32の湾曲状の外面33が使用者に向けて位置する。これにより、湾曲状の外面33が使用者の衣服等に小さな摩擦抵抗で接触して、タッチノイズの発生が防止される。コード32の幅方向両端側に、湾曲状の外面33と扁平状の外面34とをスムーズに繋げる(両外面33,34の交差部における)小径の湾曲面35(図7)が形成されている。この湾曲面35によってもタッチノイズの発生が防止される。
 図7(a)(b)の如く、コード32の断面は略半円状(D字状)である。コード32は図4の幹線コード4に比べて厚みが厚く規定されている。コード32の湾曲状の外面33の周長は図4のコース4の湾曲状の外面18の周長よりも長くなっている。コード32の厚みを厚くすることで、コード32の接続されたヘッドホン装置44(図)を使用者(例えばディスクジョッキ)が手荒く扱ってもコード32の断線等を生じないように、イヤホン用のコード4に比べて引張強さが高められている。
 コード32の断面が略半円状であっても、屈曲性やよじれ時の復元性は良好であり、コード32のよじれや使用者の手指等への絡みが防止される。コード32の幅と厚みとの比率D/Tは、前述の8/3~4/3の範囲内である。コード32の繰り返し屈曲に対する信頼性も図4のコード4と同様に高い。
 コード32の内部の電線9~11の配置は図4のコード4と同様に、コード32の幅方向に二本の信号線9,9とシールド線10とアース線11とが扁平状の外面34と平行に並列に配置されている。各電線9~11のピッチは等しいないし略等しい。シールド線10はコード32の中央寄りに配置され、厚い保護部材42で覆われて保護・絶縁されている。断面矩形状の不図示のコードに比べて電線9~11の径(導体断面積)を大きくすることができるので、音声信号の伝達における抵抗を小さくしてクリアな音質を実現することができる。図3(c)の例のように電線9,11の本数を三本とすることも可能である。
 図1~図8に関するその他の実施例として、従来公知の知見に従い、本発明のコードを適宜改変することができる。かかる改変によってもなお本発明のコードの構成を具備する限り、本発明の範疇に含まれるものである。
 2,3   分岐コード(コード)
 4     幹線コード(コード)
 5     プラグ(コネクタ)
 6     スイッチ
 6a    扁平状の外面
 6b    湾曲状の外面
 9~11  電線
 10    シールド線
 18,33 湾曲状の外面
 19,34 扁平状の外面
 20    イヤホン本体(スピーカ装置)
 22    湾曲状の外面
 23    扁平状の外面
 28    イヤホン装置
 29    放音部(スピーカ装置)
 32    コード
 44    ヘッドホン装置
 T     最大厚み
 D     最大厚み(幅)
 E1    第一の円弧
 E2    第二の円弧

Claims (19)

  1.  電気を通す電線と、
     前記電線の径方向の周囲に形成された保護部材と、
     を備え、
     前記保護部材は、
     一方に湾曲状の外面と、
     他方に扁平状の外面と、
     を備えたことを特徴とするコード。
  2.  前記湾曲状の外面は、前記保護部材の径方向の断面において円弧を含むことを特徴とする請求項1記載のコード。
  3.  前記湾曲状の外面は、
     第一の曲率を有する一つの第一の円弧と、
     前記第一の曲率よりも大きい第二の曲率を有する二つの第二の円弧と、
     を含むことを特徴とする請求項2記載のコード。
  4.  前記扁平状の外面の両端にそれぞれ前記第二の円弧が形成されていることを特徴とする請求項3記載のコード。
  5.  前記扁平状の外面の幅方向に前記電線が三本以上並列に配置されたことを特徴とする請求項1記載のコード。
  6.  前記電線が四本であることを特徴とする請求項5記載のコード。
  7.  前記電線は少なくとも一本のシールド線と少なくとも一本の非シールド線とを含み、
     前記シールド線は前記非シールド線よりも前記扁平状の外面の幅方向中央寄りに配置されたことを特徴とする請求項6記載のコード。
  8.  前記扁平状の外面と垂直な方向における前記保護部材の最大厚み(T)に対する前記扁平状の外面と平行な方向における前記保護部材の最大厚み(D)の比率(D/T)が、8/3~4/3であることを特徴とする請求項1記載のコード。
  9.  一本で構成されたことを特徴とする請求項1記載のコード。
  10.  一本の幹線コードから分岐された二本の分岐コードを備え、前記幹線コードと前記二本の分岐コードとがそれぞれ前記湾曲状の外面と前記扁平状の外面とを有することを特徴とする請求項1記載のコード。
  11.  前記二本の分岐コードの前記湾曲状の外面が対向して配置されたことを特徴とする請求項10記載のコード。
  12.  スピーカ装置を使用者に装着した状態で、前記コードの前記湾曲状の外面が前記使用者側に配置されることを特徴とする請求項9記載のコード。
  13.  スピーカ装置を使用者に装着した状態で、前記幹線コードの前記湾曲状の外面が前記使用者側に配置されることを特徴とする請求項10記載のコード。
  14.  前記コードの途中に設けられたスイッチが湾曲状の外面と扁平状の外面とを有し、前記コードの前記扁平状の外面と前記スイッチの前記扁平状の外面とが平行に形成されていることを特徴とする請求項9記載のコード。
  15.  前記分岐コードの途中に設けられたスイッチが湾曲状の外面と扁平状の外面とを有し、前記コードの前記扁平状の外面と前記スイッチの前記扁平状の外面とが平行に形成されていることを特徴とする請求項10記載のコード。
  16.  前記分岐コードの先端にコネクタが設けられたことを特徴とする請求項10記載のコード。
  17.  前記コネクタが湾曲状の外面と扁平状の外面とを備えたことを特徴とする請求項16記載のコード。
  18.  イヤホン装置のスピーカ装置に接続されることを特徴とする請求項1記載のコード。
  19.  ヘッドホン装置のスピーカ装置に接続されることを特徴とする請求項1記載のコード。
PCT/JP2014/062277 2014-05-07 2014-05-07 コード Ceased WO2015170375A1 (ja)

Priority Applications (1)

Application Number Priority Date Filing Date Title
PCT/JP2014/062277 WO2015170375A1 (ja) 2014-05-07 2014-05-07 コード

Applications Claiming Priority (1)

Application Number Priority Date Filing Date Title
PCT/JP2014/062277 WO2015170375A1 (ja) 2014-05-07 2014-05-07 コード

Publications (1)

Publication Number Publication Date
WO2015170375A1 true WO2015170375A1 (ja) 2015-11-12

Family

ID=54392245

Family Applications (1)

Application Number Title Priority Date Filing Date
PCT/JP2014/062277 Ceased WO2015170375A1 (ja) 2014-05-07 2014-05-07 コード

Country Status (1)

Country Link
WO (1) WO2015170375A1 (ja)

Citations (3)

* Cited by examiner, † Cited by third party
Publication number Priority date Publication date Assignee Title
JPS6347696U (ja) * 1986-09-13 1988-03-31
US20100104126A1 (en) * 2008-10-24 2010-04-29 Andrea Martina Greene Tangle resistant audio cord and earphones
JP2012054068A (ja) * 2010-08-31 2012-03-15 Fujikura Ltd スイッチモジュール

Patent Citations (3)

* Cited by examiner, † Cited by third party
Publication number Priority date Publication date Assignee Title
JPS6347696U (ja) * 1986-09-13 1988-03-31
US20100104126A1 (en) * 2008-10-24 2010-04-29 Andrea Martina Greene Tangle resistant audio cord and earphones
JP2012054068A (ja) * 2010-08-31 2012-03-15 Fujikura Ltd スイッチモジュール

Non-Patent Citations (1)

* Cited by examiner, † Cited by third party
Title
"Pioneer introduces Superior Club Sound Headphones", PIONEER EUROPE NV, 27 March 2014 (2014-03-27), Retrieved from the Internet <URL:http://www.pioneer.eu/eur/newsroom/news/superior-club-sound-headphones/page.html> [retrieved on 20140715] *

Similar Documents

Publication Publication Date Title
CN114072972B (zh) 连接器
JP2012033491A (ja) ケーブルコネクタ
JP2011258330A (ja) ツイストペアケーブル
JP2018026350A (ja) ケーブルコネクタ
US9537268B2 (en) Integrated cord tie and signal conducting device
US7432446B2 (en) Coiled electronic article surveillance (EAS) cable
KR20130092772A (ko) 꼬임 방지 기능을 갖는 이어폰
TWM498949U (zh) 多芯纜線
JP5787706B2 (ja) オーディオケーブル
WO2011068175A1 (ja) ステレオヘッドホン
JP6365309B2 (ja) 高速伝送用ケーブルモジュール
WO2015170375A1 (ja) コード
JP2019036538A (ja) コネクタ装置
JP2019515479A (ja) 金属シールドケースを有するモジュラープラグ及び通信ケーブル
JP5801623B2 (ja) シース電線
CN210112230U (zh) 一种耳机线
WO2013094627A1 (ja) 信号ケーブル及び電子機器並びに信号ケーブルの製造方法
WO2015145775A1 (ja) ヘッドホン装置
JP2009176615A (ja) コード用ブッシング、コード用コネクタ、ブッシング付コード、およびコード付装置
CN209015735U (zh) 一种耳机线及耳机
CN205282126U (zh) 一种耳机线和耳机
TWM518840U (zh) 線纜
JP3202269U (ja) イヤホンケーブルおよびイヤホン
CN210110395U (zh) 一种磁铁吸附式耳机
KR102634803B1 (ko) 이어폰 코드의 꼬임 방지구

Legal Events

Date Code Title Description
121 Ep: the epo has been informed by wipo that ep was designated in this application

Ref document number: 14891588

Country of ref document: EP

Kind code of ref document: A1

NENP Non-entry into the national phase

Ref country code: DE

122 Ep: pct application non-entry in european phase

Ref document number: 14891588

Country of ref document: EP

Kind code of ref document: A1

NENP Non-entry into the national phase

Ref country code: JP