WO2015147069A1 - Green sand for casting of steel castings, method for producing same, and method for producing metal castings using said green sand - Google Patents
Green sand for casting of steel castings, method for producing same, and method for producing metal castings using said green sand Download PDFInfo
- Publication number
- WO2015147069A1 WO2015147069A1 PCT/JP2015/059156 JP2015059156W WO2015147069A1 WO 2015147069 A1 WO2015147069 A1 WO 2015147069A1 JP 2015059156 W JP2015059156 W JP 2015059156W WO 2015147069 A1 WO2015147069 A1 WO 2015147069A1
- Authority
- WO
- WIPO (PCT)
- Prior art keywords
- sand
- coating layer
- mold
- hardness
- casting
- Prior art date
- Legal status (The legal status is an assumption and is not a legal conclusion. Google has not performed a legal analysis and makes no representation as to the accuracy of the status listed.)
- Ceased
Links
Images
Classifications
-
- B—PERFORMING OPERATIONS; TRANSPORTING
- B22—CASTING; POWDER METALLURGY
- B22C—FOUNDRY MOULDING
- B22C9/00—Moulds or cores; Moulding processes
- B22C9/02—Sand moulds or like moulds for shaped castings
-
- B—PERFORMING OPERATIONS; TRANSPORTING
- B22—CASTING; POWDER METALLURGY
- B22C—FOUNDRY MOULDING
- B22C1/00—Compositions of refractory mould or core materials; Grain structures thereof; Chemical or physical features in the formation or manufacture of moulds
- B22C1/16—Compositions of refractory mould or core materials; Grain structures thereof; Chemical or physical features in the formation or manufacture of moulds characterised by the use of binding agents; Mixtures of binding agents
- B22C1/18—Compositions of refractory mould or core materials; Grain structures thereof; Chemical or physical features in the formation or manufacture of moulds characterised by the use of binding agents; Mixtures of binding agents of inorganic agents
- B22C1/181—Cements, oxides or clays
-
- B—PERFORMING OPERATIONS; TRANSPORTING
- B22—CASTING; POWDER METALLURGY
- B22C—FOUNDRY MOULDING
- B22C1/00—Compositions of refractory mould or core materials; Grain structures thereof; Chemical or physical features in the formation or manufacture of moulds
- B22C1/16—Compositions of refractory mould or core materials; Grain structures thereof; Chemical or physical features in the formation or manufacture of moulds characterised by the use of binding agents; Mixtures of binding agents
- B22C1/20—Compositions of refractory mould or core materials; Grain structures thereof; Chemical or physical features in the formation or manufacture of moulds characterised by the use of binding agents; Mixtures of binding agents of organic agents
-
- B—PERFORMING OPERATIONS; TRANSPORTING
- B22—CASTING; POWDER METALLURGY
- B22C—FOUNDRY MOULDING
- B22C3/00—Selection of compositions for coating the surfaces of moulds, cores, or patterns
-
- B—PERFORMING OPERATIONS; TRANSPORTING
- B22—CASTING; POWDER METALLURGY
- B22C—FOUNDRY MOULDING
- B22C9/00—Moulds or cores; Moulding processes
- B22C9/12—Treating moulds or cores, e.g. drying, hardening
-
- B—PERFORMING OPERATIONS; TRANSPORTING
- B22—CASTING; POWDER METALLURGY
- B22D—CASTING OF METALS; CASTING OF OTHER SUBSTANCES BY THE SAME PROCESSES OR DEVICES
- B22D23/00—Casting processes not provided for in groups B22D1/00 - B22D21/00
Definitions
- the present invention particularly relates to a green mold suitable for casting a stainless steel casting known as a difficult-to-cut material, a manufacturing method thereof, and a manufacturing method of a cast steel product using the green mold.
- Foundry sand forming a casting mold for cast steel generally contains aggregate (sand), caking additive such as bentonite, carbon components (coal, starch, etc.) as secondary additives, and water. .
- Proportion of aggregate, caking additive, etc. in foundry sand is set appropriately so that the molded green mold has the desired physical properties such as air permeability, strength, cavity surface stability and compactability (CB value). Is done.
- Carbon components such as coal powder, coke powder, graphite powder, and pitch powder added to the foundry sand suppress the adhesion (sand baking) of aggregate (sand) to the casting, and cast the cast steel product in the as-cast state. Stabilize skin quality. Techniques relating to coal materials are disclosed in JP-A-63-177939 and JP-A-2009-291801.
- JP-A 63-177939 discloses a molding sand mold additive 1 to 2 parts containing 10 to 90% by weight of mineral oil and 90 to 10% by weight of a carbonaceous raw material, 100 parts of aggregate, bentonite (caking binder) ) Disclose a method for producing a casting mold by kneading 10 parts, 1 part starch and 3 parts water and molding the resulting foundry sand.
- JP-A-2009-291801 discloses a carbonaceous additive mainly composed of edible vegetable oil containing glycerin, bentonite (binding agent), an additive such as starch as necessary, and a certain amount of water. A green foundry sand containing is disclosed.
- the additives disclosed in JP-A-63-177939 and JP-A-2009-291801 all contain mineral oil, carbonaceous raw material, or vegetable oil, and a green mold formed of foundry sand to which these are added.
- a cast steel product having a hypoeutectoid composition containing about 0.05 to 0.60% by mass of carbon there is a risk that carburization may occur on the surface of the casting due to the carbon contained in the green mold. If there is carburization on the surface of the casting surface, the cast steel product becomes difficult to cut. This problem is particularly serious in the case of stainless steel cast products that require heat resistance and corrosion resistance, for example, used as exhaust members for internal combustion engines.
- an object of the present invention is to provide a casting mold for casting a cast steel product that suppresses carburization of the surface of the casting surface while suppressing the occurrence of sand baking and maintaining the same casting surface quality as before, and a method for manufacturing the same, and such a casting mold. It is providing the manufacturing method of the cast steel goods using this.
- the green mold of the present invention for casting a cast steel product is It consists of sand, caking material, and foundry sand containing 3 parts by mass or less of carbon with respect to 100 parts by mass of sand.
- a coating layer of a thermosetting resin is formed in a recess including at least a cavity for casting a cast steel product, The coating layer has an average hardness of 50 to 95 (measured with a self-hardening hardness meter) and a thickness of 0.5 to 2.5 mm.
- the coating amount of the thermosetting resin constituting the coating layer is preferably 100 to 500 g / m 2 on a solid basis.
- the amount of carbon remaining per unit volume of the coating layer after heating to 800 ° C. at a rate of 10 ° C./min in the air is preferably 20 to 200 mg / cm 3 .
- the method of the present invention for producing the green mold is as follows. At least a pair of raw materials having a concave portion including a cavity for casting a cast steel product by molding sand, caking material, and molding sand containing 3 mass parts or less of carbon with respect to 100 mass parts of sand. Create mold parts (for example, upper mold and lower mold), Applying a coating solution containing a thermosetting resin and an organic solvent to at least the recesses, The thermosetting resin applied to the recesses is cured by heating to form a coating layer having an average hardness of 50 to 95 (measured with a self-hardening hardness meter).
- thermosetting of the thermosetting resin can be performed before and / or after mold matching.
- at least a pair of green mold part is united.
- the first curing step of heating the coating layer formed by drying the applied coating solution until the average hardness (measured with a self-hardness hardness meter) of 30 to 45 is reached, and the primary curing.
- the coated layer is further heated in a second curing step in which the average hardness (measured with a self-hardness hardness meter) is 50 to 95.
- the viscosity of the coating solution is preferably 15 to 100 ⁇ mPa ⁇ s.
- the method for producing a cast steel product according to the present invention is characterized by using the green mold.
- thermosetting resin coating layer is formed in a green mold recess made of foundry sand containing 3 parts by mass or less of carbon with respect to 100 parts by mass of sand. Because it has an average hardness of 50 to 95 (measured with a self-hardening hardness meter) and a thickness of 0.5 to 2.5 mm, it should produce cast steel products that maintain the same casting surface quality while suppressing carburization of the surface of the casting surface. Can do.
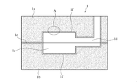
- FIG. 2 is an enlarged partial cross-sectional view showing part A of FIG.
- FIG. 2 is a cross-sectional view showing a molding process in the first example of the green mold manufacturing process of FIG.
- FIG. 2 is a cross-sectional view showing a coating liquid coating process in a first example of the green mold manufacturing process of FIG.
- FIG. 2 is a cross-sectional view showing a thermosetting resin curing process in the first example of the green mold manufacturing process of FIG.
- FIG. 2 is a cross-sectional view showing a mold matching process in the first example of the green mold manufacturing process of FIG.
- FIG. 5 is a cross-sectional view showing a molding process in a second example of the green mold manufacturing process of FIG.
- FIG. 1 is an enlarged partial cross-sectional view showing part A of FIG.
- FIG. 2 is a cross-sectional view showing a molding process in the first example of the green mold manufacturing process of FIG.
- FIG. 2 is a cross-sectional view showing a coating liquid coating
- FIG. 4 is a cross-sectional view showing a coating liquid coating process in a second example of the green mold manufacturing process of FIG.
- FIG. 3 is a cross-sectional view showing a first curing step of a thermosetting resin in a second example of the production process of the green mold of FIG.
- FIG. 8 is a cross-sectional view showing a mold matching process in the second example of the green mold manufacturing process of FIG.
- FIG. 5 is a cross-sectional view showing a second curing step of the thermosetting resin in the second example of the green mold manufacturing process of FIG. It is an enlarged schematic diagram which shows the foundry sand (before coat
- FIG. 2 is a cross-sectional view showing a method for producing a cast steel product using the green mold of FIG.
- FIG. 7 is an enlarged partial sectional view showing part B of FIG. 2 is a SEM photograph (100 times) showing casting sand constituting the green mold of Example 1.
- FIG. 2 is an SEM photograph (100 times) showing a state in which a molding resin constituting the green mold of Example 1 is covered with a phenol resin.
- FIG. 1 shows the configuration of the green mold of the present invention
- FIG. 2 shows an enlarged view of part A of FIG. 1
- FIGS. 3 and 4 show the manufacturing process of the green mold of FIG. 1,
- FIG. The manufacturing process of the cast steel product using a green mold is shown.
- “cast steel product” means a sub-eutectoid composition containing 0.05 to 0.6% by mass of C and other elements (Ni, Cr, Si, W, Mo, Nb, etc.), the balance being Fe and inevitable impurities. Of course, it is not limited.
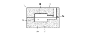
- the green mold 1 made of foundry sand that does not substantially contain carbon is composed of an upper mold 1a and a lower mold that are mold-matched by a parting surface (mold matching surface) 1e. Consists of 1b.
- the upper mold 1a and the lower mold 1b are combined, and the green mold 1 has a cavity (product cavity) 1c for forming a product therein and a runner 1d.
- the product cavity 1c and the runner 1d are formed by recesses in each of the upper mold 1a and the lower mold 1b.
- a mold may be arranged around the mold 1.
- the green mold 1 may be provided with a hot water, a weir, a gate, and the like.
- (A) Foundry sand Foundry sand contains sand, caking additive, and carbon.
- Sand The sand itself as an aggregate constituting the foundry sand may be a commonly used one.
- mountain sand, semi-synthetic sand or synthetic sand can be used.
- Mountain sand should only have a naturally occurring viscosity of at least 2%, such as Noma sand from Aichi prefecture, Kawachi sand from Osaka prefecture, Shima sand from Mie prefecture, Matsue sand from Shimane prefecture, Fukushima
- Enshu sand and Genkai sand are listed.
- Examples of the semi-synthetic sand include those obtained by appropriately blending silt sand, caking agent and additives with mountain sand.
- Examples of synthetic sand include those obtained by blending a binder and an additive with raw sand such as silica sand without using mountain sand at all.
- Examples of the raw material sand used for the synthetic sand include natural silica sand such as gyrome sand, beach sand and river sand, artificial silica sand, zircon silicic acid, oripin sand, chromite sand and the like.
- Binder examples include bentonite, clay, montmorillonite, and kaolin.
- the amount of the binder is appropriately adjusted in consideration of green characteristics, but is generally 5 to 12 parts by mass with respect to 100 parts by mass of sand.
- Carbon content examples include carbonaceous raw materials such as coal, graphite, coke, pitch coke, and asphalt, starch additives such as dextrin and starch, and liquid oils such as mineral oil and vegetable oil.
- the carbon content does not include carbon compounds contained in sand or binder. Carbon components may be used alone or in combination of two or more.
- the carbon content in the present invention is 3 parts by mass or less with respect to 100 parts by mass of sand.
- the amount of carbon content is more preferably 1 part by mass, and most preferably 0.7 parts by mass or less.
- (B) Coating layer As shown in FIGS. 1 and 2, at least the surface layer of the product cavity 1c is formed with a coating layer 1f made of a thermosetting resin and having an average hardness of 50 to 95 (measured with a self-hardening hardness meter). Has been.
- a coating layer 1f made of a thermosetting resin and having an average hardness of 50 to 95 (measured with a self-hardening hardness meter).
- the coating layer 1f is formed on the product cavity 1c, but the runway 1d through which the molten metal passes is also covered.
- Forming the layer 1f is effective in suppressing carburization. Therefore, in the present invention, the coating layer 1f is formed in the recess including at least the cavity 1c and the runner 1d. Furthermore, if the coating layer 1f is also formed on the parting surface 1e, the strength of those surfaces can be increased, and mold breakage and the like during supply of the molten metal can be suppressed.
- the thermosetting resin is not particularly limited as long as it can be easily decomposed and gasified when it comes into contact with the molten steel of cast steel, and has high strength and high hardness so as not to be damaged during mold matching.
- examples thereof include resins, epoxy resins, melamine resins, urea resins (urea resins), unsaturated polyester resins, alkyd resins, polyurethanes, thermosetting polyimides, and the like.
- the average hardness of the coating layer 1f made of the thermosetting resin is in the range of 50 to 95.
- the hardness of the covering layer 1f is determined using a self-hardness hardness meter (manufactured by Nakayama Co., Ltd., model: NK-009). If the average hardness of the coating layer 1f is too low, sand baking cannot be suppressed, and if it is too high, the air permeability cannot be secured and gas defects may occur.
- thermosetting resin constituting the coating layer 1f decomposes and disappears as a gas when it comes into contact with a high-temperature molten metal, but part of it is carbonized, and there is a possibility that the carbon content remains on the surface layer of the product cavity 1c.
- the residual amount of carbon per unit volume of the coating layer 1f when the temperature is raised from room temperature to 800 ° C at a rate of 10 ° C / min in the atmosphere is 200 mg /
- the residual amount of carbon is preferably 20 mg / cm 3 or more.
- the upper limit of the residual amount of carbon is preferably 200 mg / cm 3 .
- the residual amount of carbon is more preferably 20 to 100 mg / cm 3 .
- the carbon residual amount can be measured by thermogravimetric analysis (TGA) of a thermosetting resin.
- the green mold 1 composed of sand 1j and a binder (not shown) has many voids (pores) 1i between the sand 1j to ensure air permeability. Since the coating solution in which the thermosetting resin is dissolved in the organic solvent penetrates into the pores 1i existing in the surface layer of the product cavity 1c, the thermosetting resin remains on the surface of the sand 1j existing in the surface layer after the coating solution is dried. . As a result, a region where the surface of the sand 1j is covered with the thermosetting resin is formed on the surface layer of the product cavity 1c. This region is referred to as a coating layer 1f.
- the thickness T of the coating layer 1f is represented by an average value.
- the average value of the thickness T of the covering layer 1f can be obtained by measuring a plurality of (for example, three) cross-sections of the product cavity 1c on which the covering layer 1f is formed and averaging them.
- the thickness T of the coating layer 1f is preferably 2.5 mm or less, more preferably 2.0 mm or less, and most preferably 1.5 mm or less. Further, if the thickness T of the coating layer 1f is too small, the coating layer 1f is easily peeled off during the casting operation. When the coating layer 1f is peeled off, the molten metal enters the peeled portion and directly contacts the green sand, so that sand baking occurs. Accordingly, the thickness T of the coating layer 1f is preferably 0.5 mm or more.
- the coating amount of the thermosetting resin is represented by the dry weight (g / m 2 ) of the thermosetting resin per unit area.
- the coating amount of the thermosetting resin is preferably 100 to 500 g / m 2 . If the application amount of the thermosetting resin is less than 100 g / m 2 , sand baking cannot be suppressed. In addition, if the coating amount of the thermosetting resin is more than 500 g / m 2 , not only the air permeability of the green mold becomes too small and gas defects may occur, but also the thermosetting resin that has not been decomposed. May carbonize, and the cast skin surface may be carburized by the remaining carbon.
- the coating amount of the curable resin in the coating layer 1f is more preferably 220 to 380 g / m 2 .
- the coating amount of the thermosetting resin can be determined by dividing the green weight increment ⁇ D (g) after drying the coating solution by the coating area (m 2 ) of the thermosetting resin.
- the air permeability of the coating layer 1f is preferably 70 to 150. If the air permeability of the coating layer 1f is too small, the generated gas is trapped in the molten metal, and defects such as pinholes are likely to occur in the resulting cast steel product. On the other hand, if the air permeability of the coating layer 1f is too high, the appearance and sand drop of the cast steel product deteriorate due to the peeling of the coating layer 1f.
- the air permeability can be measured by the rapid method described in Appendix 3 of JIS Z 2601.
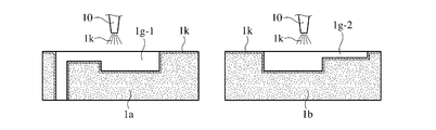
- Raw mold manufacturing method First example (1) Molding process Recesses that form product cavities 1c and runners 1d as shown in Fig. 3 (a) from casting sand prepared by kneading a predetermined amount of sand, caking additive, carbon and water An upper mold 1a and a lower mold 1b having 1g-1 and 1g-2 are formed. In order to facilitate molding and to ensure the strength of the green mold, the amount of caking additive and water added to the foundry sand is adjusted as appropriate in consideration of the characteristics of the green mold. 5 to 12 parts by mass of caking additive and 1 to 5 parts by mass of water.
- the upper die 1a and the lower die 1b are, for example, cast sand into a casting frame containing a model in which a product cavity, a runner, etc. are stored, and then compressed by the squeeze squeeze method or the like, and finally the model is removed. Can be formed.
- a coating layer is formed on the surfaces of the recesses 1g-1 and 1g-2 including the cavity 1c and the runner 1d of the upper mold 1a and the lower mold 1b and the mold mating surface 1e.
- a coating solution 1k containing a thermosetting resin for forming 1f and an organic solvent is applied.
- the coating liquid 1k is applied not only to the recesses 1g-1 and 1g-2 but also to the die-matching surface 1e, but it may be applied to at least the recesses 1g-1 and 1g-2.
- the coating solution 1k has a viscosity of 15 to 100 mPa ⁇ s (measured with a Brookfield viscometer of JIS K6910) so that an appropriate amount of water penetrates into the voids 1i of the sand particles 1j from the surfaces of the recesses 1g-1 and 1g-2. Is preferred. As a result, a coating layer 1f having a thickness T of 0.5 to 2.5 mm is formed on the surface layer of the recesses 1g-1 and 1g-2.
- the coating liquid 1k When the viscosity of the coating liquid 1k is too large, the coating liquid 1k hardly penetrates into the surface layers of the recesses 1g-1 and 1g-2, and the coating layer 1f is easily formed only in the vicinity of the surfaces of the recesses 1g-1 and 1g-2. For this reason, the coating layer 1f is easily peeled off, and the appearance and sand removal of the resulting cast steel product are deteriorated. On the other hand, if the viscosity of the coating solution 1k is too small, the coating solution 1k penetrates excessively and the coating layer 1f becomes too thick.
- the coating amount of the coating liquid 1k varies depending on the concentration of the thermosetting resin, but as described above, the amount of the thermosetting resin applied to the recesses 1g-1 and 1g-2 is 100 to 500 g / m 2 on a solid basis. It is preferable to set so that.
- Coating layer forming step As shown in FIG. 3 (c), the coating solution applied to the recesses 1g-1 and 1g-2 of the upper mold 1a and the lower mold 1b is heated to cure the thermosetting resin. Heating may be performed while the organic solvent is evaporated or after the organic solvent is evaporated. Thereby, the coating layer 1f having an average hardness measured with a self-hardness hardness meter in the range of 50 to 95 is formed.
- the method for heating the coating liquid 1k is not particularly limited, and for example, as shown in FIG. 3 (c), hot air can be blown from a horizontally moving blower 11 or heated by a heater arranged on a horizontal plane.
- (B) Second Example A second example of the manufacturing method of the mold 1 will be described with reference to FIG. 4, the same parts as those in FIG. 3 are denoted by the same reference numerals, and detailed description thereof is omitted.
- the second example of the manufacturing method of the mold 1 is the same as the first example except that the first and second curing steps shown in FIGS. 4 (c) and 4 (e) are included.
- the coating liquid 1k is applied to the recesses 1g-1 and 1g-2 of the upper mold 1a and the lower mold 1b formed in the molding process shown in FIG. 4 (a) by the coating process shown in FIG. 4 (b).
- warm air is blown from the blower 11 to heat the coating liquid 1k, thereby forming the semi-cured layer 1L.
- mold matching the upper mold 1a and the lower mold 1b in which the semi-cured layer 1L is formed in the mold matching process shown in FIG. 4 (d) from the runner 1d in the second curing process shown in FIG. Hot air blown from the blower 12 is blown into the cavity 1c, and the semi-cured layer 1L is heated and cured to form the coating layer 1f.
- the average hardness measured with a self-hardening hardness meter of the semi-cured layer 1L is preferably 30 to 45.
- the average hardness (measured with a self-hardness hardness meter) of the covering layer 1f is preferably in the range of 50 to 95.
- thermosetting resin layer is formed on the surface [FIG. 5 (a)] of the sand 1j bonded with the binder.
- a coating layer 1f [FIG. 5 (b)] in which the gap 1i remains in at least the recesses 1g-1 and 1g-2 of the green mold 1 is formed.
- the carbon content of the steel is as small as 3 parts by mass or less
- the time during which the molten metal M during solidification contacts the carbon is short, and carburization of the surface of the casting surface is suppressed.
- the cast steel product in which the formation of the carburized layer is suppressed has excellent machinability.
- the thermosetting resin in the deep region of the coating layer 1f gasifies slightly later than the thermosetting resin in the shallow region, so it directly contacts the foundry sand of the product cavity 1c until the molten metal M solidifies. Contributes to preventing
- Example 1 Sand preparation step For 100 parts by mass of silica sand, 8.1 parts by mass of bentonite, 3.0 parts by mass of water, and 3 parts by mass of carbon powder were mixed to prepare foundry sand.
- Fig. 8 (a) shows an SEM photograph (100x) of the surface of the molded concave part. As is clear from FIG. 8 (a), there were many voids between the sand covered with the binder.
- FIG. 8 (b) shows a SEM photograph (100 times) of the concave surface of the green mold on which the coating layer was formed. As is apparent from FIG. 8 (b), it can be seen that sufficient voids remain between the sand covered with the coating layer, which is sufficient to exhaust the decomposition gas of the thermosetting resin.
- the tool life was judged to be reached when the wear amount on the flank surface of the carbide insert reached 0.2 mm or more, and the cutting time until the tool life was reached was used as a machinability parameter.
- the tool life (machinability) of Comparative Example 1 was 100, the machinability of Example 1 was 126.
- Example 2 (a) The proportion of phenol in the coating solution was 30% by mass, (b) the viscosity and coating amount of the coating solution were 17 mPa ⁇ s and 100 g / m 2 respectively, and (c) the coating layer formation process conditions were changed Thus, 100 cast steel articles were produced in the same manner as in Example 1 except that a coating layer having a hardness of 50, a thickness T of 2.3 mm, and a carbon residual amount of 22 mg / cm 3 was formed in the recess. The machinability, sand baking rate, and surface defect rate were measured in the same manner as in Example 1. As a result, the machinability was 133, the sand baking rate was 3%, and the surface defect rate was 3%.
- Example 3 (a) The proportion of phenol in the coating solution is 20% by mass, (b) the viscosity of the coating solution is 13 mPa ⁇ s, and (c) the coating layer is cured in two stages, the hardness is 50, the thickness T 100 cast steel articles were produced in the same manner as in Example 1 except that a coating layer having a thickness of 1.7 mm and a carbon residual amount of 50 mg / cm 3 was formed in the recesses. In the two-stage curing, a semi-cured layer having a hardness of 36 was formed in the first curing process, and after mold matching, the semi-cured layer was further heated and completely cured in the second curing process. The machinability, sand baking rate, and surface defect rate were measured in the same manner as in Example 1. As a result, the machinability was 130, the sand baking rate was 2%, and the surface defect rate was 4%.
- Examples 4-6 100 cast steel products were manufactured in the same manner as in Example 1 except that the ratio of phenol in the coating solution and the coating amount of the coating solution were changed as shown in Table 2.
- the machinability, sand baking rate, and surface defect rate of each cast steel product were measured.
- the machinability was 113, the sand baking rate was 1%, and the surface defect rate was 4%.
- the machinability was 109, the sand baking rate was 1%, and the surface defect rate was 3%.
- the machinability was 118, the sand baking rate was 2%, and the surface defect rate was 2%.
- Comparative Example 1 100 cast steel articles were produced in the same manner as in Example 1 except that the proportion of carbon powder in the foundry sand was 4.0 parts by mass.
- the machinability, sand baking rate and surface defect rate were measured in the same manner as in Example 1. As a result, the machinability was 100, the sand baking rate was 3%, and the surface defect rate was 11%.
- Comparative Example 2 100 cast steel products were produced in the same manner as in Comparative Example 1 except that the ratio of phenol in the coating solution and the coating amount of the coating solution were changed as shown in Table 2.
- the machinability, sand baking rate, and surface defect rate were measured in the same manner as in Example 1. As a result, the machinability was 92, the sand baking rate was 1%, and the surface defect rate was 35%.
- Comparative Example 3 100 cast steel products were manufactured in the same manner as in Example 1 except that the ratio of phenol in the coating solution and the coating amount of the coating solution were changed as shown in Table 2.
- the machinability, sand baking rate and surface defect rate were measured in the same manner as in Example 1. As a result, the machinability was 72, the sand baking rate was 23%, and the surface defect rate was 10%. The deterioration of machinability is thought to be due to sand baking of the casting surface.
- the production conditions of the green molds of Examples 1 to 6 and Comparative Examples 1 to 3 are shown in Table 1, and the composition, viscosity and coating amount of the coating solution applied to the green mold, and the hardness, thickness and carbon residual amount of the coating layer are shown.
- Table 2 shows.
- Table 3 shows the machinability, sand baking rate, surface defect rate, and comprehensive judgment of the cast steel products of Examples 1 to 6 and Comparative Examples 1 to 3 in a three-step evaluation as follows.
- Machinability (expressed as a relative value with Comparative Example 1 as 100) A: 120 or more. ⁇ : More than 100 and less than 120. X: 100 or less.
- Sand baking rate ⁇ 2% or less. ⁇ : More than 2% and less than 10%. X: 10% or more.
- thermosetting resin was performed by the first and second curing steps, and the concave surface hardness after the first curing step was 36.
Landscapes
- Engineering & Computer Science (AREA)
- Mechanical Engineering (AREA)
- Chemical & Material Sciences (AREA)
- Materials Engineering (AREA)
- Mold Materials And Core Materials (AREA)
Abstract
Description
本発明は、特に難削材として知られるステンレス系鋳鋼品を鋳造するのに好適な生型及びその製造方法、並びにかかる生型を用いた鋳鋼品の製造方法に関する。 The present invention particularly relates to a green mold suitable for casting a stainless steel casting known as a difficult-to-cut material, a manufacturing method thereof, and a manufacturing method of a cast steel product using the green mold.
鋳鋼品の鋳造用生型を形成する鋳物砂は、一般に骨材(砂)、ベントナイト等の粘結材、二次添加物である炭素成分(石炭材、澱粉等)、及び水を含んでいる。鋳物砂中の骨材、粘結材等の割合は、成型された生型が所望の物性[通気度、強度、キャビティ表面の安定性及びコンパクタビリティ(CB値)等]を有するように適宜設定される。鋳物砂に添加される石炭粉、コークス粉、黒鉛粉、ピッチ粉等の炭素成分は、鋳物への骨材(砂)の付着(砂焼付)を抑制し、鋳放し状態での鋳鋼品の鋳肌品質を安定させる。石炭材に関する技術は、特開昭63-177939号及び特開2009-291801号に開示されている。 Foundry sand forming a casting mold for cast steel generally contains aggregate (sand), caking additive such as bentonite, carbon components (coal, starch, etc.) as secondary additives, and water. . Proportion of aggregate, caking additive, etc. in foundry sand is set appropriately so that the molded green mold has the desired physical properties such as air permeability, strength, cavity surface stability and compactability (CB value). Is done. Carbon components such as coal powder, coke powder, graphite powder, and pitch powder added to the foundry sand suppress the adhesion (sand baking) of aggregate (sand) to the casting, and cast the cast steel product in the as-cast state. Stabilize skin quality. Techniques relating to coal materials are disclosed in JP-A-63-177939 and JP-A-2009-291801.
特開昭63-177939号は、鉱油10~90重量%と炭素質原料90~10重量%とを含有する鋳物砂型用添加剤1~2部と、骨材100部と、ベントナイト(粘結材)10部と、澱粉1部と、水3部とを混錬し、得られた鋳物砂を成型することにより鋳造用生型を製造する方法を開示している。また、特開2009-291801号は、グリセリンを含有する食用植物油を主成分とする炭素質添加剤と、ベントナイト(粘結材)と、必要に応じて澱粉等の添加剤と、一定量の水とを含有する生型用鋳物砂を開示している。
JP-A 63-177939 discloses a molding
しかし、特開昭63-177939号及び特開2009-291801号に開示された添加剤はいずれも鉱油、炭素質原料又は植物油を含んでおり、これらが添加された鋳物砂で形成された生型を用いて0.05~0.60質量%程度の炭素を含む亜共析組成である鋳鋼品を鋳造すると、生型に含まれる炭素分により鋳肌表面に浸炭が生じるおそれがある。鋳肌表層に浸炭があると、鋳鋼品が難削化する。この問題は、例えば内燃機関用排気部材として用いる耐熱特性及び耐食特性が求められるステンレス系鋳鋼品の場合、特に深刻である。 However, the additives disclosed in JP-A-63-177939 and JP-A-2009-291801 all contain mineral oil, carbonaceous raw material, or vegetable oil, and a green mold formed of foundry sand to which these are added. When casting a cast steel product having a hypoeutectoid composition containing about 0.05 to 0.60% by mass of carbon, there is a risk that carburization may occur on the surface of the casting due to the carbon contained in the green mold. If there is carburization on the surface of the casting surface, the cast steel product becomes difficult to cut. This problem is particularly serious in the case of stainless steel cast products that require heat resistance and corrosion resistance, for example, used as exhaust members for internal combustion engines.
従って本発明の目的は、砂焼付の発生を抑制して従来並の鋳肌品質を維持しつつ、鋳肌表層の浸炭を抑制する鋳鋼品の鋳造用生型及びその製造方法、並びにかかる生型を用いた鋳鋼品の製造方法を提供することである。 Accordingly, an object of the present invention is to provide a casting mold for casting a cast steel product that suppresses carburization of the surface of the casting surface while suppressing the occurrence of sand baking and maintaining the same casting surface quality as before, and a method for manufacturing the same, and such a casting mold. It is providing the manufacturing method of the cast steel goods using this.
従来並の鋳肌品質(砂焼付)を維持しつつ鋳肌表層の浸炭を抑制するという相矛盾する二つの目的を両立させるために鋭意研究した結果、(1) 生型を構成する鋳物砂中の炭素分の割合を浸炭が生じない程度にまで低減し、かつ(2) 生型の凹部に形成する熱硬化性樹脂の被覆層の厚さを、キャビティに入った溶湯の凝固が開始するまでキャビティ表面を熱硬化性樹脂の分解ガスで覆って砂焼付を防止するとともに、溶湯が凝固すると直ちに分解ガスが消失するような厚さに設定すると、鋳肌品質の維持と鋳肌表層の浸炭の抑制を同時に達成できることを発見し、本発明に想到した。 As a result of earnest research to achieve the two contradictory purposes of suppressing carburization of the surface of the casting surface while maintaining the same casting surface quality (sand baking), (1) (2) until the solidification of the molten metal that has entered the cavity starts. Covering the cavity surface with a thermosetting resin decomposition gas to prevent sand baking, and setting the thickness so that the decomposition gas disappears as soon as the molten metal solidifies, maintains the casting surface quality and carburizes the surface of the casting surface. It was discovered that suppression can be achieved at the same time, and the present invention has been conceived.
すなわち、鋳鋼品を鋳造するための本発明の生型は、
砂と、粘結材と、砂100質量部に対して3質量部以下の炭素分とを含む鋳物砂からなり、
少なくとも鋳鋼品を鋳造するキャビティを含む凹部に熱硬化性樹脂の被覆層が形成されており、
前記被覆層が50~95の平均硬度(自硬性硬度計で測定)及び0.5~2.5 mmの厚みを有することを特徴とする。
That is, the green mold of the present invention for casting a cast steel product is
It consists of sand, caking material, and foundry sand containing 3 parts by mass or less of carbon with respect to 100 parts by mass of sand.
A coating layer of a thermosetting resin is formed in a recess including at least a cavity for casting a cast steel product,
The coating layer has an average hardness of 50 to 95 (measured with a self-hardening hardness meter) and a thickness of 0.5 to 2.5 mm.
前記被覆層を構成する熱硬化性樹脂の塗布量は固形分基準で100~500 g/m2であるのが好ましい。 The coating amount of the thermosetting resin constituting the coating layer is preferably 100 to 500 g / m 2 on a solid basis.
大気中で800℃まで10℃/分の速度で昇温した後の前記被覆層の単位体積当たりの炭素残存量は20~200 mg/cm3であるのが好ましい。 The amount of carbon remaining per unit volume of the coating layer after heating to 800 ° C. at a rate of 10 ° C./min in the air is preferably 20 to 200 mg / cm 3 .
上記生型を製造する本発明の方法は、
砂と、粘結材と、砂100質量部に対して3質量部以下の炭素分とを含む鋳物砂を造型することにより、鋳鋼品を鋳造するためのキャビティを含む凹部を有する少なくとも一対の生型部(例えば、上型及び下型)を作製し、
熱硬化性樹脂と有機溶媒とを含む塗布液を少なくとも前記凹部に塗布し、
前記凹部に塗布された熱硬化性樹脂を加熱硬化させて、50~95の平均硬度(自硬性硬度計で測定)を有する被覆層を形成することを特徴とする。
The method of the present invention for producing the green mold is as follows.
At least a pair of raw materials having a concave portion including a cavity for casting a cast steel product by molding sand, caking material, and molding sand containing 3 mass parts or less of carbon with respect to 100 mass parts of sand. Create mold parts (for example, upper mold and lower mold),
Applying a coating solution containing a thermosetting resin and an organic solvent to at least the recesses,
The thermosetting resin applied to the recesses is cured by heating to form a coating layer having an average hardness of 50 to 95 (measured with a self-hardening hardness meter).
前記熱硬化性樹脂の加熱硬化は、型合わせの前及び/又は後に行うことができる。第一の実施形態では、前記熱硬化性樹脂を加熱硬化した後に少なくとも一対の生型部を型合わせする。第二の実施形態では、塗布した塗布液を乾燥してなる被覆層の硬化を、30~45の平均硬度(自硬性硬度計で測定)となるまで加熱する第一の硬化工程と、一次硬化した被覆層をさらに加熱して平均硬度(自硬性硬度計で測定)を50~95とする第二の硬化工程とにより行う。 The thermosetting of the thermosetting resin can be performed before and / or after mold matching. In 1st embodiment, after thermosetting the said thermosetting resin, at least a pair of green mold part is united. In the second embodiment, the first curing step of heating the coating layer formed by drying the applied coating solution until the average hardness (measured with a self-hardness hardness meter) of 30 to 45 is reached, and the primary curing. The coated layer is further heated in a second curing step in which the average hardness (measured with a self-hardness hardness meter) is 50 to 95.
前記塗布液の粘度は15~100 mPa・sであるのが好ましい。 The viscosity of the coating solution is preferably 15 to 100 μmPa · s.
本発明の鋳鋼品の製造方法は上記生型を使用することを特徴とする。 The method for producing a cast steel product according to the present invention is characterized by using the green mold.
本発明の生型は、砂100質量部に対して3質量部以下の炭素分とを含む鋳物砂からなる生型の凹部に熱硬化性樹脂の被覆層が形成されており、前記被覆層が50~95の平均硬度(自硬性硬度計で測定)及び0.5~2.5 mmの厚みを有するので、従来並の鋳肌品質を維持しつつ鋳肌表層の浸炭が抑制された鋳鋼品を製造することができる。 In the green mold of the present invention, a thermosetting resin coating layer is formed in a green mold recess made of foundry sand containing 3 parts by mass or less of carbon with respect to 100 parts by mass of sand. Because it has an average hardness of 50 to 95 (measured with a self-hardening hardness meter) and a thickness of 0.5 to 2.5 mm, it should produce cast steel products that maintain the same casting surface quality while suppressing carburization of the surface of the casting surface. Can do.
本発明の実施形態を添付図面を参照して以下詳細に説明するが、本発明はそれらに限定されるものではない。一つの実施形態に関する説明は、特に断りがなければ他の実施形態にも適用される。 Embodiments of the present invention will be described in detail below with reference to the accompanying drawings, but the present invention is not limited thereto. The description relating to one embodiment also applies to other embodiments unless otherwise specified.
図1は本発明の生型の構成を示し、図2は図1のA部を拡大して示し、図3及び図4は図1の生型の製造工程を示し、図6は図1の生型を用いた鋳鋼品の製造工程を示す。ここで「鋳鋼品」とは、0.05~0.6質量%のC及びその他の元素(Ni、Cr、Si、W、Mo、Nb等)を含有し、残部がFe及び不可避不純物からなる亜共析組成の鋳物を意味するが、勿論限定的ではない。 1 shows the configuration of the green mold of the present invention, FIG. 2 shows an enlarged view of part A of FIG. 1, FIGS. 3 and 4 show the manufacturing process of the green mold of FIG. 1, and FIG. The manufacturing process of the cast steel product using a green mold is shown. Here, “cast steel product” means a sub-eutectoid composition containing 0.05 to 0.6% by mass of C and other elements (Ni, Cr, Si, W, Mo, Nb, etc.), the balance being Fe and inevitable impurities. Of course, it is not limited.
[1] 生型の構成
図1に示すように、実質的に炭素分を含まない鋳物砂からなる生型1は、見切り面(型合わせ面)1eで型合わせされた上型1a及び下型1bからなる。上型1aと下型1bとが型合わせされ生型1は、内部に製品を形成するためのキャビティ(製品キャビティ)1cと、湯道1dとを有する。製品キャビティ1c及び湯道1dは、上型1a及び下型1bの各々において凹部により形成されている。勿論、生型1の周囲に型枠を配置しても良い。また製品キャビティ1c及び湯道1d以外に、生型1に押湯、堰、湯口等を設けても良い。
[1] Composition of green mold As shown in Fig. 1, the
(A) 鋳物砂
鋳物砂は、砂と、粘結材と、炭素分とを含む。
(A) Foundry sand Foundry sand contains sand, caking additive, and carbon.
(1) 砂
鋳物砂を構成する骨材としての砂自体は通常使用されているもので良く、例えば山砂、半合成砂又は合成砂を使用することができる。山砂は天然に産出する粘度分が少なくとも2%のものであれば良く、例えば愛知県産の野間砂、大阪府産の河内砂、三重県産の志摩砂、島根県産の松江砂、福島県産の大田砂等の他、遠州砂、玄海砂等が挙げられる。半合成砂としては、山砂にケイ砂、粘結剤及び添加剤を適当に配合したものが挙げられる。合成砂としては、山砂を全く使用せずにケイ砂等の原料砂に粘結剤及び添加剤とを配合してなるものが挙げられる。合成砂に使用する原料砂としては、ガイロメケイ砂、浜砂及び川砂等の天然ケイ砂、人造ケイ砂、ジルコンケイ酸、オリピン砂、クロマイト砂等が挙げられる。
(1) Sand The sand itself as an aggregate constituting the foundry sand may be a commonly used one. For example, mountain sand, semi-synthetic sand or synthetic sand can be used. Mountain sand should only have a naturally occurring viscosity of at least 2%, such as Noma sand from Aichi prefecture, Kawachi sand from Osaka prefecture, Shima sand from Mie prefecture, Matsue sand from Shimane prefecture, Fukushima In addition to Ota sand produced in the prefecture, Enshu sand and Genkai sand are listed. Examples of the semi-synthetic sand include those obtained by appropriately blending silt sand, caking agent and additives with mountain sand. Examples of synthetic sand include those obtained by blending a binder and an additive with raw sand such as silica sand without using mountain sand at all. Examples of the raw material sand used for the synthetic sand include natural silica sand such as gyrome sand, beach sand and river sand, artificial silica sand, zircon silicic acid, oripin sand, chromite sand and the like.
(2) 粘結材
粘結材としては、ベントナイト、粘土、モンモリロナイト、カオリン等が挙げられる。粘結材の量は生型の特性を考慮して適宜調整するが、一般に砂100質量部に対して5~12質量部である。
(2) Binder The examples of the binder include bentonite, clay, montmorillonite, and kaolin. The amount of the binder is appropriately adjusted in consideration of green characteristics, but is generally 5 to 12 parts by mass with respect to 100 parts by mass of sand.
(3) 炭素分
炭素分としては、石炭、黒鉛、コークス、ピッチコークス、アスファルト等の炭素質原料、デキストリン、澱粉等の澱粉質添加剤、鉱油、植物油等の液体状油等が挙げられる。炭素分は砂又は粘結材に含有されている炭素化合物を含まない。炭素分は単独で用いても2種以上を組合せて用いても良い。
(3) Carbon content Examples of the carbon content include carbonaceous raw materials such as coal, graphite, coke, pitch coke, and asphalt, starch additives such as dextrin and starch, and liquid oils such as mineral oil and vegetable oil. The carbon content does not include carbon compounds contained in sand or binder. Carbon components may be used alone or in combination of two or more.
鋳鋼品の浸炭を防止するために、本発明では炭素分は砂100質量部に対して3質量部以下とする。炭素分が3質量部超の鋳物砂からなる生型を用いて鋳造すると、鋳肌表層の浸炭が進む。炭素分の配合量は1質量部がより好ましく、0.7質量部以下が最も好ましい。 In order to prevent carburization of cast steel products, the carbon content in the present invention is 3 parts by mass or less with respect to 100 parts by mass of sand. When casting is performed using a green mold made of foundry sand having a carbon content of more than 3 parts by mass, carburization of the casting surface layer proceeds. The amount of carbon content is more preferably 1 part by mass, and most preferably 0.7 parts by mass or less.
(B) 被覆層
図1及び図2に示すように、少なくとも製品キャビティ1cの表層に、熱硬化性樹脂からなる50~95の平均硬度(自硬性硬度計で測定)を有する被覆層1fが形成されている。従来並の鋳肌品質を維持しつつ鋳肌表層の浸炭を抑制するという本発明の目的から、製品キャビティ1cに被覆層1fが形成されていれば良いが、溶湯が通る湯道1dにも被覆層1fを形成すれば、浸炭の抑制に効果的である。従って、本発明では少なくともキャビティ1c及び湯道1dを含む凹部に被覆層1fを形成する。さらに、見切り面1eにも被覆層1fを形成しておけば、それらの表面の強度を高めることができ、溶湯の供給時における型壊れ等を抑制できる。
(B) Coating layer As shown in FIGS. 1 and 2, at least the surface layer of the
熱硬化性樹脂は、鋳鋼の溶湯に接触すると容易に分解してガス化し得るとともに、型合わせ時に破損しないように高強度及び高硬度を有する熱硬化性樹脂であれば特に限定されず、例えばフェノール樹脂、エポキシ樹脂、メラミン樹脂、尿素樹脂(ユリア樹脂)、不飽和ポリエステル樹脂、アルキド樹脂、ポリウレタン、熱硬化性ポリイミド等が挙げられる。熱硬化性樹脂からなる被覆層1fの平均硬度は50~95の範囲内である。被覆層1fの硬度は自硬性硬度計(株式会社ナカヤマ製、型式:NK-009)を使用して求める。被覆層1fの平均硬度が低すぎると砂焼付を抑制できず、また高すぎると通気度が確保できずガス欠陥が発生するおそれがある。
The thermosetting resin is not particularly limited as long as it can be easily decomposed and gasified when it comes into contact with the molten steel of cast steel, and has high strength and high hardness so as not to be damaged during mold matching. Examples thereof include resins, epoxy resins, melamine resins, urea resins (urea resins), unsaturated polyester resins, alkyd resins, polyurethanes, thermosetting polyimides, and the like. The average hardness of the
被覆層1fを構成する熱硬化性樹脂は高温の溶湯に触れると分解し、ガスとなって消失するが、一部が炭化して炭素分が製品キャビティ1cの表層に残存するおそれがある。鋳肌表層の浸炭を効果的に抑制するために、大気中で室温から800℃まで10℃/分の速度で昇温したときの被覆層1fの単位体積当たりの炭素の残存量は200 mg/cm3以下であるのが好ましい。炭素の残存量が少なすぎると、ガスの発生が少ないために砂焼付が発生しやすくなる。従って、炭素の残存量は20 mg/cm3以上であるのが好ましい。また、炭素の残存量が多すぎると鋳肌表層の浸炭を十分に防止できないので、炭素の残存量の上限を200 mg/cm3とするのが好ましい。炭素の残存量は20~100 mg/cm3であるのがより好ましい。なお、炭素残存量は熱硬化性樹脂の熱重量分析(Thermogravimetric Analysis:TGA)により測定できる。
The thermosetting resin constituting the
図2に示すように、砂1j及び粘結材(図示せず)等で構成された生型1は、通気性を確保するため砂1jの間に多くの空隙(気孔)1iを有する。有機溶媒に熱硬化性樹脂を溶解した塗布液は製品キャビティ1cの表層に存在する気孔1iに浸透するので、塗布液の乾燥後に、表層に存在する砂1jの表面に熱硬化性樹脂が残留する。その結果、製品キャビティ1cの表層に砂1jの表面が熱硬化性樹脂で覆われた領域が形成される。この領域を被覆層1fと呼ぶ。被覆層1fでは、砂1jの表面が熱硬化性樹脂で覆われているだけで、空隙(気孔)1iは残存している。図2に示すように熱硬化性樹脂の深さは一定ではないので、被覆層1fの厚みTは平均値により表す。被覆層1fの厚みTの平均値は、被覆層1fを形成した製品キャビティ1cの断面を複数箇所(例えば3箇所)測定し、平均すれば求めることができる。
As shown in FIG. 2, the
被覆層1fの厚みTが大きすぎると、分解されなかった熱硬化性樹脂が炭化し、残存する炭素分により鋳肌表層が浸炭させるおそれがある。鋳肌表層の浸炭を効果的に抑制するために、被覆層1fの厚みTは2.5 mm以下が好ましく、2.0 mm以下がより好ましく、1.5 mm以下が最も好ましい。また、被覆層1fの厚みTが小さすぎると、鋳造作業中に被覆層1fが剥離しやすい。被覆層1fが剥離すると、剥離部に溶湯が侵入して生型の砂と直接接触するため、砂焼付が生じる。従って、被覆層1fの厚みTは0.5 mm以上が好ましい。
If the thickness T of the
被覆層1fは、厚みTだけでなく熱硬化性樹脂の塗布量も重要である。熱硬化性樹脂の塗布量は単位面積当たりの熱硬化性樹脂の乾燥重量(g/m2)により表される。熱硬化性樹脂の塗布量は100~500 g/m2が好ましい。熱硬化性樹脂の塗布量が100 g/m2未満であると、砂焼付を抑制できない。また、熱硬化性樹脂の塗布量が500 g/m2超であると、生型の通気度が小さくなりすぎてガス欠陥が発生するおそれがあるだけでなく、分解されなかった熱硬化性樹脂が炭化し、残存する炭素分により鋳肌表層が浸炭させるおそれがある。良好な鋳肌品質を維持しつつ鋳肌表層の浸炭を効果的に抑制するために、被覆層1fにおける硬化性樹脂の塗布量は220~380 g/m2がより好ましい。熱硬化性樹脂の塗布量は、塗布液乾燥後の生型の重量増分ΔD(g)を熱硬化性樹脂の塗布面積(m2)で割ることにより求めることができる。
In the
被覆層1fの通気度は70~150であるのが好ましい。被覆層1fの通気度が小さすぎると、発生したガスが溶湯にトラップされ、得られる鋳鋼品にピンホール等の欠陥が生じやすい。また被覆層1fの通気度が大きすぎると、被覆層1fの剥離により鋳鋼品の外観や砂落ちが悪化する。通気度はJIS Z 2601の付属書3に記載された迅速法により測定することができる。
The air permeability of the
[2] 生型の製造方法
(A) 第一の例
(1) 造型工程
所定量の砂、粘結材、炭素分及び水を混錬することにより調製した鋳物砂から、図3(a) に示すように製品キャビティ1c及び湯道1dを形成する凹部1g-1,1g-2を有する上型1a及び下型1bを造型する。造型を容易にするとともに、生型の強度を確保するために、鋳物砂に添加する粘結材及び水の量は生型の特性を考慮して適宜調整するが、一般に砂100質量部に対し、粘結材5~12質量部及び水1~5質量部である。
[2] Raw mold manufacturing method
(A) First example
(1) Molding process Recesses that form
上型1a及び下型1bは、例えば製品キャビティ、湯道等が形成された模型が収められた鋳枠内に鋳物砂を投入した後、ジョルトスクイーズ法等で圧縮し、最後に模型を抜くことにより形成できる。
The upper die 1a and the
(2) 塗布工程
図3(b) に示すように、上型1a及び下型1bのキャビティ1c及び湯道1dを含む凹部1g-1,1g-2の表面及び型合わせ面1eに、被覆層1fを形成するための熱硬化性樹脂と有機溶媒とを含む塗布液1kを塗布する。図示の例では凹部1g-1,1g-2だけでなく型合わせ面1eにも塗布液1kを塗布しているが、少なくとも凹部1g-1,1g-2に塗布すれば良い。塗布量の安定化及び被覆層1fの膜厚均一化のために、図3(b) に示すように水平に移動する噴霧ノズル10により塗布液1kをスプレー塗布するのが好ましい。
(2) Coating process As shown in FIG. 3 (b), a coating layer is formed on the surfaces of the
凹部1g-1,1g-2の表面から砂粒子1jの空隙1i内に適量浸透するように、塗布液1kは15~100 mPa・sの粘度(JIS K6910のブルックフィールド粘度計で測定)を有するのが好ましい。その結果、凹部1g-1,1g-2の表層に0.5~2.5 mmの厚みTの被覆層1fが形成される。塗布液1kの粘度が大きすぎると、塗布液1kが凹部1g-1,1g-2の表層に浸透し難く、凹部1g-1,1g-2の表面近傍にのみ被覆層1fが形成されやすい。このため、被覆層1fは剥離しやすくなり、得られる鋳鋼品の外観や砂落ちが悪化する。一方、塗布液1kの粘度が小さすぎると、塗布液1kは過剰に浸透し、被覆層1fが厚くなりすぎる。塗布液1kの塗布量は熱硬化性樹脂の濃度により異なるが、上記の通り凹部1g-1,1g-2に塗布された熱硬化性樹脂の量が固形分基準で100~500 g/m2となるように設定するのが好ましい。
The
(3) 被覆層形成工程
図3(c) に示すように、上型1a及び下型1bの凹部1g-1,1g-2に塗布した塗布液を加熱し、熱硬化性樹脂を硬化させる。加熱は、有機溶媒を蒸発させつつ行っても、有機溶媒の蒸発後に行っても良い。これにより、自硬性硬度計で測定した平均硬度が50~95の範囲内の被覆層1fが形成される。塗布液1kの加熱方法は特に限定されず、例えば図3(c) に示すように水平移動するブロワー11から温風を吹き付けたり、水平面に配列したヒータにより加熱したりすることができる。
(3) Coating layer forming step As shown in FIG. 3 (c), the coating solution applied to the
(4) 型合わせ工程
図3(d) に示すように、凹部1g-1,1g-2に被覆層1fを形成した上型1aと下型1bとを型合わせし、図1に示す一体的な生型1を形成する。
(4) Mold matching process As shown in FIG. 3 (d), the upper mold 1a and the
(B) 第二の例
生型1の製造方法の第二の例を図4を参照して説明する。なお、図4において図3と同じ部位には同じ符号を付与し、詳細な説明を省略する。生型1の製造方法の第二の例は、図4(c) 及び図4(e) に示す第一及び第二の硬化工程を有する以外、第一の例と同じである。
(B) Second Example A second example of the manufacturing method of the
第二の例では、図4(a) に示す造型工程で形成された上型1a及び下型1bの凹部1g-1,1g-2に図4(b) に示す塗布工程で塗布液1kを塗布した後、図4(c) に示す第一の硬化工程でブロワー11から温風を吹き付け、塗布液1kを加熱することにより半硬化層1Lを形成する。図4(d) に示す型合わせ工程で半硬化層1Lが形成された上型1a及び下型1bを型合わせした後、図4(e) に示す第二の硬化工程で、湯道1dよりブロワー12から噴出させた温風をキャビティ1cに吹込み、半硬化層1Lを加熱硬化させて被覆層1fを形成する。
In the second example, the
このように被覆層1fを形成する第二の硬化工程の前に、第一の硬化工程で予備硬化させて半硬化層1Lを形成することにより、急激な硬化による被覆層1fの割れ等を防止し、もって鋳鋼品の外観不良を抑制できる。この観点から、半硬化層1Lの自硬性硬度計で測定された平均硬度は30~45であるのが好ましい。第二の例でも、被覆層1fの平均硬度(自硬性硬度計で測定)は50~95の範囲内であるのが好ましい。
In this way, before the second curing step for forming the
本発明の方法により、粘結材で結合された砂1jの表面[図5(a)]に薄い熱硬化性樹脂層が形成される。その結果、少なくとも生型1の凹部1g-1,1g-2に空隙1iが残存した被覆層1f[図5(b)]が形成される。
By the method of the present invention, a thin thermosetting resin layer is formed on the surface [FIG. 5 (a)] of the
[3] 鋳鋼品の製造方法
図6に示すように、被覆層1fを形成した上型1a及び下型1bからなる生型1の製品キャビティ1cに湯道1dを通じて溶湯を鋳込むことにより、砂焼付の面で従来なみの鋳肌品質を維持しつつ鋳肌表層の浸炭が抑制された鋳鋼品が製造される。その理由は明らかではないが、以下のように推定される。すなわち、(a) 図7に示すように製品キャビティ1cの被覆層1fが高温の溶湯Mに触れると、被覆層1fの熱硬化性樹脂がほぼ完全にガス化するので、熱硬化性樹脂の分解ガス(矢印で示す)により砂焼付が抑制されるとともに、(b) 0.5~2.5 mmと比較的薄い被覆層1fが溶湯Mに触れた後すぐに消失し、かつ生型1を構成する鋳物砂の炭素分も3質量部以下と少ないので、凝固中の溶湯Mが炭素に接触する時間が短く、鋳肌表層の浸炭が抑制される。浸炭層の形成が抑制された鋳鋼品は優れた被削性を有する。なお、被覆層1fの深い領域にある熱硬化性樹脂は、浅い領域にある熱硬化性樹脂より僅かに遅れてガス化するので、溶湯Mが凝固するまで製品キャビティ1cの鋳物砂と直接接触するのを阻止することに寄与する。
[3] Manufacturing method of cast steel product As shown in FIG. 6, sand is formed by casting molten metal through a
本発明を以下実験例によりさらに詳細に説明するが、本発明はそれらに限定されない。 The present invention will be described in more detail with reference to experimental examples below, but the present invention is not limited thereto.
実施例1
(1) 調砂工程
ケイ砂100質量部に対して、ベントナイト8.1質量部、水3.0質量部、及び炭素粉3質量部を混合し、鋳物砂を調製した。
Example 1
(1) Sand preparation step For 100 parts by mass of silica sand, 8.1 parts by mass of bentonite, 3.0 parts by mass of water, and 3 parts by mass of carbon powder were mixed to prepare foundry sand.
(2) 造型工程
鋳造方案模型をセットした鋳枠に鋳物砂を投入後、ジョルトスキーズ法で圧縮し、上型及び下型を形成した。自硬性硬度計(株式会社ナカヤマ製のNK-009)で5ヶ所測定した上型及び下型の凹部の平均硬度は20であった。造型した生型の凹部表面のSEM写真(100倍)を図8(a) に示す。図8(a) から明らかなように、粘結材で覆われた砂の間に多くの空隙があった。
(2) Molding process Cast sand was put into a casting frame on which a casting model model was set and then compressed by the Jolt skies method to form an upper mold and a lower mold. The average hardness of the concave portions of the upper mold and the lower mold was 20 measured with a self-hardness hardness meter (NK-009 manufactured by Nakayama Co., Ltd.). Fig. 8 (a) shows an SEM photograph (100x) of the surface of the molded concave part. As is clear from FIG. 8 (a), there were many voids between the sand covered with the binder.
(3) 塗布工程
表2に示すように、フェノール樹脂40質量%及びエタノール60質量%からなる塗布液(粘度:20 mPa・s)を、上型及び下型の凹部及び型合わせ面に塗布した。塗布液の塗布量は固形分基準で300 g/m2であった。
(3) Application process As shown in Table 2, an application liquid (viscosity: 20 mPa · s) consisting of 40% by mass of phenol resin and 60% by mass of ethanol was applied to the recesses and mold-matching surfaces of the upper and lower molds. . The coating amount of the coating solution was 300 g / m 2 based on the solid content.
(4) 被覆層形成工程
上型及び下型の凹部及び型合わせ面に塗布した塗布液を白熱灯により加熱硬化させ、被覆層を形成した。被覆層を形成した生型の凹部表面のSEM写真(100倍)を図8(b) に示す。図8(b) から明らかなように、被覆層で覆われた砂の間にも十分な空隙が残存しており、熱硬化性樹脂の分解ガスを排気するのに十分であることが分かる。
(4) Coating layer forming step The coating solution applied to the concave portions of the upper mold and the lower mold and the mold mating surface was heated and cured with an incandescent lamp to form a coating layer. FIG. 8 (b) shows a SEM photograph (100 times) of the concave surface of the green mold on which the coating layer was formed. As is apparent from FIG. 8 (b), it can be seen that sufficient voids remain between the sand covered with the coating layer, which is sufficient to exhaust the decomposition gas of the thermosetting resin.
(a) 厚みTの測定
被覆層が形成された上型及び下型の凹部の表面からスプーンで縦×横×深さが3 cm×3 cm×3 cmのブロックを5個切り出し、被覆層を壊さないようにしてブロックから鋳物砂を刷毛で除去し、硬化被覆層のみからなる試料の厚さをノギスで測定した。この測定を全てのブロックに対して行い、得られた測定値を平均し、被覆層の厚みTとした。その結果、硬化した被覆層の厚みTは1.1 mmであった。
(a) Measurement of thickness T Cut out 5 blocks of length x width x depth 3 cm x 3 cm x 3 cm with a spoon from the surface of the recesses of the upper and lower molds on which the coating layer was formed, and remove the coating layer The foundry sand was removed from the block with a brush without breaking, and the thickness of the sample consisting only of the cured coating layer was measured with calipers. This measurement was performed on all the blocks, and the obtained measurement values were averaged to obtain the thickness T of the coating layer. As a result, the thickness T of the cured coating layer was 1.1 mm.
(b) 炭素残存量の測定
前記被覆層の厚みを測定した1個の試料[被覆層の表面積:3×3 cm2、被覆層の厚み:T、試料の体積:3×3×T cm3]に対して、大気中で室温から800℃まで10℃/分の速度で昇温する熱重量分析(TGA)を行い、単位体積当たりの炭素残存量を測定した。その結果、被覆層の炭素残存量は100 mg/cm3であった。
(b) Measurement of carbon remaining amount One sample in which the thickness of the coating layer was measured [the surface area of the coating layer: 3 × 3 cm 2 , the thickness of the coating layer: T, the volume of the sample: 3 × 3 × T cm 3 ] Was subjected to thermogravimetric analysis (TGA) in which the temperature was increased from room temperature to 800 ° C. at a rate of 10 ° C./min in the air, and the carbon residue per unit volume was measured. As a result, the carbon residue in the coating layer was 100 mg / cm 3 .
(c) 硬度の測定
被覆層の硬度は、自硬性硬度計(株式会社ナカヤマ製のNK-009)で5ヶ所測定し、平均することにより求めた。その結果、凹部における被覆層の硬度は67であった。
(c) Measurement of hardness The hardness of the coating layer was determined by measuring five points with a self-hardness hardness meter (NK-009 manufactured by Nakayama Corporation) and averaging. As a result, the hardness of the coating layer in the concave portion was 67.
(5) 型合わせ工程
凹部及び型合わせ面に被覆層を形成した上型と下型とを通常の方法で型合わせし、生型とした。
(5) Mold Matching Process The upper mold and the lower mold with the coating layer formed on the recesses and the mold mating surface were mold-matched by a normal method to obtain a green mold.
上記生型のキャビティに、0.45質量%のC、1.30質量%のSi、1.02質量%のMn、10.1質量%のNi、19.9質量%のCr、10.0質量%のNb、0.15質量%のS、及び0.18質量%のNを含有し、残部がFe及び不可避不純物からなる組成の溶湯を1620~1630℃で注湯した。溶湯が凝固した後、型バラシを行って鋳鋼品を取り出し、平均径が2.4 mmの鋼球を用いたショットブラストを15分間行って鋳肌表面に付着した鋳物砂を除去した。同様にして全部で100個の鋳鋼品を製造した。 0.45 wt% C, 1.30 wt% Si, 1.02 wt% Mn, 10.1 wt% Ni, 19.9 wt% Cr, 10.0 wt% Nb, 0.15 wt% S, and A molten metal containing 0.18% by mass of N and having the balance of Fe and inevitable impurities was poured at 1620 to 1630 ° C. After the molten metal solidified, the cast steel product was taken out by mold breaking and shot blasting using a steel ball having an average diameter of 2.4 mm was performed for 15 minutes to remove foundry sand adhering to the casting surface. Similarly, a total of 100 cast steel products were produced.
(a) 砂焼付発生率の測定
ショットブラスト後の鋳肌表面における砂焼付を目視で観察し、砂焼付が発生した鋳鋼品の個数を鋳鋼品の全数(100個)で割り、砂焼付発生率(%)を求めた。その結果、砂焼付発生率は1%であった。
(a) Measurement of the rate of sand baking After visually observing the sand baking on the casting surface after shot blasting, divide the number of cast steel products where sand baking occurred by the total number of cast steel products (100), and the rate of sand baking (%) Was calculated. As a result, the sand baking rate was 1%.
(b) 表面欠陥発生率の測定
ガス抜け不良にともない発生するピンホールや、凹部被覆層の割れや破損にともない発生するバリ等の鋳鋼品の表面欠陥を目視で観察し、表面欠陥が発生した鋳鋼品の個数を鋳鋼品の全数(100個)で割り、表面欠陥発生率(%)を求めた。その結果、表面欠陥発生率は2%であった。
(b) Measurement of surface defect occurrence rate Surface defects of cast steel products such as pinholes generated due to defective gas escape and burrs generated due to cracks and breakage of the concave coating layer were visually observed, and surface defects occurred. The number of cast steel products was divided by the total number of cast steel products (100) to determine the surface defect occurrence rate (%). As a result, the surface defect occurrence rate was 2%.
(c) 被削性の評価
鋳鋼品の鋳肌の被削性を評価するために、TiAlNをPVDコーティングした超硬インサートを使用し、下記の条件で鋳鋼品の表層(鋳肌を含む深さ1.0 mmの範囲)フライス切削した。
切削速度:150m/分
切込み量:1.0 mm
刃当り送り:0.2 mm/刃
送り速度:381 mm/分
回転速度:76 rpm
切削液:なし(乾式)
(c) Machinability evaluation In order to evaluate the machinability of the cast steel product's casting surface, a carbide insert coated with TiAlN and PVD was used, and the surface layer of the cast steel product (depth including the casting surface) 1.0 mm range) Milled.
Cutting speed: 150 m / min Cutting depth: 1.0 mm
Feed per tooth: 0.2 mm / tooth Feed speed: 381 mm / min Rotation speed: 76 rpm
Cutting fluid: None (dry type)
超硬インサートの逃げ面の摩耗量が0.2 mm以上になったときに工具寿命に到達したと判定し、工具寿命に至るまでの切削時間を被削性のパラメータとした。比較例1の工具寿命(被削性)を100としたとき、実施例1の被削性は126であった。 The tool life was judged to be reached when the wear amount on the flank surface of the carbide insert reached 0.2 mm or more, and the cutting time until the tool life was reached was used as a machinability parameter. When the tool life (machinability) of Comparative Example 1 was 100, the machinability of Example 1 was 126.
実施例2
(a) 塗布液におけるフェノールの割合を30質量%とし、(b) 塗布液の粘度及び塗布量をそれぞれ17 mPa・s及び100 g/m2とし、(c) 被覆層形成工程の条件を変更することにより、硬度が50、厚みTが2.3 mm、及び炭素残存量が22 mg/cm3の被覆層を凹部に形成した以外、実施例1と同様にして100個の鋳鋼品を製造した。実施例1と同様に被削性、砂焼付発生率及び表面欠陥発生率を測定した結果、被削性は133、砂焼付発生率は3%、及び表面欠陥発生率は3%であった。
Example 2
(a) The proportion of phenol in the coating solution was 30% by mass, (b) the viscosity and coating amount of the coating solution were 17 mPa · s and 100 g / m 2 respectively, and (c) the coating layer formation process conditions were changed Thus, 100 cast steel articles were produced in the same manner as in Example 1 except that a coating layer having a hardness of 50, a thickness T of 2.3 mm, and a carbon residual amount of 22 mg / cm 3 was formed in the recess. The machinability, sand baking rate, and surface defect rate were measured in the same manner as in Example 1. As a result, the machinability was 133, the sand baking rate was 3%, and the surface defect rate was 3%.
実施例3
(a) 塗布液におけるフェノールの割合を20質量%とし、(b) 塗布液の粘度をそれぞれ13 mPa・sとし、(c) 被覆層の硬化を二段階で行って、硬度が50、厚みTが1.7 mm、及び炭素残存量が50 mg/cm3の被覆層を凹部に形成した以外、実施例1と同様にして100個の鋳鋼品を製造した。二段階の硬化では、第一の硬化工程で硬度が36の半硬化層を形成し、型合わせした後、第二の硬化工程で半硬化層をさらに加熱して完全に硬化させた。実施例1と同様に被削性、砂焼付発生率及び表面欠陥発生率を測定した結果、被削性は130、砂焼付発生率は2%、及び表面欠陥発生率は4%であった。
Example 3
(a) The proportion of phenol in the coating solution is 20% by mass, (b) the viscosity of the coating solution is 13 mPa · s, and (c) the coating layer is cured in two stages, the hardness is 50, the thickness T 100 cast steel articles were produced in the same manner as in Example 1 except that a coating layer having a thickness of 1.7 mm and a carbon residual amount of 50 mg / cm 3 was formed in the recesses. In the two-stage curing, a semi-cured layer having a hardness of 36 was formed in the first curing process, and after mold matching, the semi-cured layer was further heated and completely cured in the second curing process. The machinability, sand baking rate, and surface defect rate were measured in the same manner as in Example 1. As a result, the machinability was 130, the sand baking rate was 2%, and the surface defect rate was 4%.
実施例4~6
塗布液におけるフェノールの割合、及び塗布液の塗布量を表2に示すように変更した以外実施例1と同様にして、100個の鋳鋼品を製造した。実施例1と同様に各実施例の鋳鋼品の被削性、砂焼付発生率及び表面欠陥発生率を測定した。実施例4では、被削性は113、砂焼付発生率は1%、及び表面欠陥発生率は4%であった。実施例5では、被削性は109、砂焼付発生率は1%、及び表面欠陥発生率は3%であった。実施例6では、被削性は118、砂焼付発生率は2%、及び表面欠陥発生率は2%であった。
Examples 4-6
100 cast steel products were manufactured in the same manner as in Example 1 except that the ratio of phenol in the coating solution and the coating amount of the coating solution were changed as shown in Table 2. In the same manner as in Example 1, the machinability, sand baking rate, and surface defect rate of each cast steel product were measured. In Example 4, the machinability was 113, the sand baking rate was 1%, and the surface defect rate was 4%. In Example 5, the machinability was 109, the sand baking rate was 1%, and the surface defect rate was 3%. In Example 6, the machinability was 118, the sand baking rate was 2%, and the surface defect rate was 2%.
比較例1
鋳物砂における炭素粉の割合を4.0質量部とした以外実施例1と同様にして、100個の鋳鋼品を製造した。実施例1と同様に被削性、砂焼付発生率及び表面欠陥発生率を測定した結果、被削性は100、砂焼付発生率は3%、及び表面欠陥発生率は11%であった。
Comparative Example 1
100 cast steel articles were produced in the same manner as in Example 1 except that the proportion of carbon powder in the foundry sand was 4.0 parts by mass. The machinability, sand baking rate and surface defect rate were measured in the same manner as in Example 1. As a result, the machinability was 100, the sand baking rate was 3%, and the surface defect rate was 11%.
比較例2
塗布液におけるフェノールの割合、及び塗布液の塗布量を表2に示すように変更した以外比較例1と同様にして、100個の鋳鋼品を製造した。実施例1と同様に被削性、砂焼付発生率及び表面欠陥発生率を測定した結果、被削性は92、砂焼付発生率は1%、及び表面欠陥発生率は35%であった。
Comparative Example 2
100 cast steel products were produced in the same manner as in Comparative Example 1 except that the ratio of phenol in the coating solution and the coating amount of the coating solution were changed as shown in Table 2. The machinability, sand baking rate, and surface defect rate were measured in the same manner as in Example 1. As a result, the machinability was 92, the sand baking rate was 1%, and the surface defect rate was 35%.
比較例3
塗布液におけるフェノールの割合、及び塗布液の塗布量を表2に示すように変更した以外実施例1と同様にして、100個の鋳鋼品を製造した。実施例1と同様に被削性、砂焼付発生率及び表面欠陥発生率を測定した結果、被削性は72、砂焼付発生率は23%、及び表面欠陥発生率は10%であった。被削性の悪化は、鋳肌表面の砂焼付によると考えられる。
Comparative Example 3
100 cast steel products were manufactured in the same manner as in Example 1 except that the ratio of phenol in the coating solution and the coating amount of the coating solution were changed as shown in Table 2. The machinability, sand baking rate and surface defect rate were measured in the same manner as in Example 1. As a result, the machinability was 72, the sand baking rate was 23%, and the surface defect rate was 10%. The deterioration of machinability is thought to be due to sand baking of the casting surface.
実施例1~6及び比較例1~3の生型の製造条件を表1に示し、生型に塗布した塗布液の組成、粘度及び塗布量、及び被覆層の硬度、厚み及び炭素残存量を表2に示す。また、実施例1~6及び比較例1~3の鋳鋼品の被削性、砂焼付発生率及び表面欠陥発生率、並びに総合判定を下記の通り三段階評価で表3に示す。 The production conditions of the green molds of Examples 1 to 6 and Comparative Examples 1 to 3 are shown in Table 1, and the composition, viscosity and coating amount of the coating solution applied to the green mold, and the hardness, thickness and carbon residual amount of the coating layer are shown. Table 2 shows. Table 3 shows the machinability, sand baking rate, surface defect rate, and comprehensive judgment of the cast steel products of Examples 1 to 6 and Comparative Examples 1 to 3 in a three-step evaluation as follows.
被削性(比較例1を100として相対値で表す。)
◎:120以上。
○:100超120未満。
×:100以下。
Machinability (expressed as a relative value with Comparative Example 1 as 100)
A: 120 or more.
○: More than 100 and less than 120.
X: 100 or less.
砂焼付発生率
◎:2%以下。
○:2%超10%未満。
×:10%以上。
Sand baking rate ◎: 2% or less.
○: More than 2% and less than 10%.
X: 10% or more.
表面欠陥発生率
◎:2%以下。
○:2%超10%未満。
×:10%以上。
Surface defect occurrence rate A: 2% or less.
○: More than 2% and less than 10%.
X: 10% or more.
総合判定
◎:被削性、砂焼付発生率及び表面欠陥発生率の評価が全て◎のとき。
○:被削性、砂焼付発生率及び表面欠陥発生率のいずれかの評価が○のとき。
×:被削性、砂焼付発生率及び表面欠陥発生率のいずれかの評価が×のとき。
Comprehensive judgment ◎: When the evaluation of machinability, sand baking rate and surface defect rate is all ◎.
○: When any one of machinability, sand baking rate, and surface defect rate is evaluated.
X: When evaluation of any of machinability, sand baking rate, and surface defect rate is x.
(2) フェノール。
(3) 熱硬化性樹脂の加熱硬化を第一及び第二の硬化工程により行い、第一の硬化工程後の凹部表面硬度は36であった。
(2) Phenol.
(3) Heat curing of the thermosetting resin was performed by the first and second curing steps, and the concave surface hardness after the first curing step was 36.
実施例1~6では、生型において含まれる炭素分の割合、被覆層の表面硬度を上記のように調整することにより、表3に示すように被削性が○又は◎判定と優れ、砂焼付及び表面欠陥の発生が○又は◎判定と抑制された鋳鋼品を得ることができた。これに対して、生型において含まれる炭素分の割合、被覆層の表面硬度が本発明が規定する範囲を外れた比較例1~3では、被削性、砂焼付及び表面欠陥のいずれか、又はすべてが×判定となった。 In Examples 1 to 6, by adjusting the proportion of carbon contained in the green mold and the surface hardness of the coating layer as described above, the machinability was excellent as judged by ○ or ◎ as shown in Table 3, sand. It was possible to obtain a cast steel product in which the occurrence of seizure and surface defects was suppressed as ◯ or ◎. On the other hand, in Comparative Examples 1 to 3 in which the proportion of carbon contained in the green mold and the surface hardness of the coating layer are outside the range defined by the present invention, any one of machinability, sand baking and surface defects, Or all became X judgment.
1:生型
1a:上型
1b:下型
1c:製品キャビティ
1d:湯道
1e:見切り面
1f:被覆層
1g-1,1g-2:凹部
1i:空隙
1j:砂
1k:塗布液
1L:半硬化層
M:溶湯
1: Raw mold 1a:
Claims (9)
砂と、粘結材と、砂100質量部に対して3質量部以下の炭素分とを含む鋳物砂からなり、
少なくとも鋳鋼品を鋳造するキャビティを含む凹部に熱硬化性樹脂の被覆層が形成されており、
前記被覆層が50~95の平均硬度(自硬性硬度計で測定)及び0.5~2.5 mmの厚みを有することを特徴とする生型。 A mold for casting cast steel products,
It consists of sand, caking material, and foundry sand containing 3 parts by mass or less of carbon with respect to 100 parts by mass of sand.
A coating layer of a thermosetting resin is formed in a recess including at least a cavity for casting a cast steel product,
A green mold characterized in that the coating layer has an average hardness of 50 to 95 (measured with a self-hardness hardness meter) and a thickness of 0.5 to 2.5 mm.
砂と、粘結材と、砂100質量部に対して3質量部以下の炭素分とを含む鋳物砂を造型することにより、鋳鋼品を鋳造するためのキャビティを含む凹部を有する少なくとも一対の生型部を作製し、
熱硬化性樹脂と有機溶媒とを含む塗布液を少なくとも前記凹部に塗布し、
前記凹部に塗布された熱硬化性樹脂を加熱硬化させて、50~95の平均硬度(自硬性硬度計で測定)を有する被覆層を形成することを特徴とする方法。 A method for producing a green mold according to any one of claims 1 to 3,
At least a pair of raw materials having a concave portion including a cavity for casting a cast steel product by molding sand, caking material, and molding sand containing 3 mass parts or less of carbon with respect to 100 mass parts of sand. Make the mold part,
Applying a coating solution containing a thermosetting resin and an organic solvent to at least the recesses,
A method of forming a coating layer having an average hardness of 50 to 95 (measured with a self-hardening hardness meter) by heat-curing the thermosetting resin applied to the recess.
Priority Applications (5)
| Application Number | Priority Date | Filing Date | Title |
|---|---|---|---|
| KR1020167027474A KR102228467B1 (en) | 2014-03-26 | 2015-03-25 | Green sand for casting of steel castings, method for producing same, and method for producing metal castings using said green sand |
| JP2016510433A JP6536568B2 (en) | 2014-03-26 | 2015-03-25 | Green die for casting cast steel article and method for producing the same, and method for producing cast steel article using the green die |
| US15/126,086 US20170080481A1 (en) | 2014-03-26 | 2015-03-25 | Casting green sand mold for forming cast steel article and its production method, and method for producing cast steel article using such green sand mold |
| CN201580015648.9A CN106132587B (en) | 2014-03-26 | 2015-03-25 | The casting greensand mold and its manufacturing method of steel-casting, and used the manufacturing method of the steel-casting of the greensand mold |
| EP15769938.0A EP3124134A4 (en) | 2014-03-26 | 2015-03-25 | Green sand for casting of steel castings, method for producing same, and method for producing metal castings using said green sand |
Applications Claiming Priority (2)
| Application Number | Priority Date | Filing Date | Title |
|---|---|---|---|
| JP2014063452 | 2014-03-26 | ||
| JP2014-063452 | 2014-03-26 |
Publications (1)
| Publication Number | Publication Date |
|---|---|
| WO2015147069A1 true WO2015147069A1 (en) | 2015-10-01 |
Family
ID=54195580
Family Applications (1)
| Application Number | Title | Priority Date | Filing Date |
|---|---|---|---|
| PCT/JP2015/059156 Ceased WO2015147069A1 (en) | 2014-03-26 | 2015-03-25 | Green sand for casting of steel castings, method for producing same, and method for producing metal castings using said green sand |
Country Status (6)
| Country | Link |
|---|---|
| US (1) | US20170080481A1 (en) |
| EP (1) | EP3124134A4 (en) |
| JP (1) | JP6536568B2 (en) |
| KR (1) | KR102228467B1 (en) |
| CN (1) | CN106132587B (en) |
| WO (1) | WO2015147069A1 (en) |
Families Citing this family (3)
| Publication number | Priority date | Publication date | Assignee | Title |
|---|---|---|---|---|
| CA2958811A1 (en) * | 2014-08-29 | 2016-03-03 | Hitachi Metals, Ltd. | Casting green sand mold, and method for producing cast article using it |
| US11021187B2 (en) | 2017-12-08 | 2021-06-01 | ILJIN USA Corporation | Steering knuckle and method of making the same |
| CN112008041A (en) * | 2019-05-31 | 2020-12-01 | 共享智能铸造产业创新中心有限公司 | Model and method for improving surface hardness of model |
Citations (4)
| Publication number | Priority date | Publication date | Assignee | Title |
|---|---|---|---|---|
| JPS5332827A (en) * | 1976-09-09 | 1978-03-28 | Nakata Giken Kk | Moulding method by using waterrsoluble paste as binder |
| JPH0452048A (en) * | 1990-06-18 | 1992-02-20 | Kurodaito Kogyo Kk | Mold and molding method thereof |
| JPH08257678A (en) * | 1995-03-23 | 1996-10-08 | Mitsubishi Heavy Ind Ltd | Manufacture of die |
| JP2013103268A (en) * | 2011-11-16 | 2013-05-30 | Daido Castings:Kk | Chromite coating material |
Family Cites Families (19)
| Publication number | Priority date | Publication date | Assignee | Title |
|---|---|---|---|---|
| US2273326A (en) * | 1940-07-08 | 1942-02-17 | Cortner M Hardy | Sand mold |
| US2313674A (en) * | 1942-09-11 | 1943-03-09 | Borden Co | Coating foundry mold surfaces |
| US2425978A (en) * | 1943-11-13 | 1947-08-19 | Hercules Powder Co Ltd | Foundry mold coating |
| US2988525A (en) * | 1957-07-09 | 1961-06-13 | American Colloid Co | Foundry mold composition |
| US3086874A (en) * | 1961-03-21 | 1963-04-23 | Whitehead Bros Co | Green molding sand additive |
| GB1127030A (en) * | 1965-12-30 | 1968-09-11 | Foseco Int | Treatment of ingot moulds |
| JPS4724852Y1 (en) * | 1968-12-06 | 1972-08-04 | ||
| JPS5110815B2 (en) * | 1972-05-22 | 1976-04-07 | ||
| CA1144338A (en) * | 1978-05-25 | 1983-04-12 | Enno H. Page | Expendable cores for die casting |
| JPS6156752A (en) * | 1984-08-24 | 1986-03-22 | Sintokogio Ltd | Casting mold and molding method thereof |
| US4636262A (en) * | 1986-03-11 | 1987-01-13 | Reed Edgar H | Additive for green molding sand |
| JPS63177939A (en) * | 1987-01-17 | 1988-07-22 | Idemitsu Kosan Co Ltd | Additives for foundry sand molds |
| IT1207835B (en) * | 1987-03-04 | 1989-06-01 | Mi Chi Sa Mineraria Chimica Sa | GREEN FORMING LAND ADDITIVE. |
| CN1351910A (en) * | 2000-11-09 | 2002-06-05 | 毛立仁 | Composite alloy material guide and guard board and its producing method |
| JP4205940B2 (en) * | 2002-12-19 | 2009-01-07 | アイシン高丘株式会社 | Method for producing gray cast iron with excellent vibration damping capacity and strength |
| CN100436001C (en) * | 2006-04-26 | 2008-11-26 | 孙荣玖 | Process for manufacturing rare earth high-carbon low-alloy steel liner |
| US8137607B2 (en) * | 2006-11-07 | 2012-03-20 | Ford Motor Company | Process for making reusable tooling |
| JP2009125799A (en) * | 2007-11-28 | 2009-06-11 | Aisin Takaoka Ltd | Method for producing green sand mold |
| US10946435B2 (en) * | 2013-09-30 | 2021-03-16 | Hitachi Metals, Ltd. | Green sand mold and its production method, and production method of iron-based casting |
-
2015
- 2015-03-25 CN CN201580015648.9A patent/CN106132587B/en not_active Expired - Fee Related
- 2015-03-25 WO PCT/JP2015/059156 patent/WO2015147069A1/en not_active Ceased
- 2015-03-25 EP EP15769938.0A patent/EP3124134A4/en not_active Withdrawn
- 2015-03-25 US US15/126,086 patent/US20170080481A1/en not_active Abandoned
- 2015-03-25 JP JP2016510433A patent/JP6536568B2/en not_active Expired - Fee Related
- 2015-03-25 KR KR1020167027474A patent/KR102228467B1/en not_active Expired - Fee Related
Patent Citations (4)
| Publication number | Priority date | Publication date | Assignee | Title |
|---|---|---|---|---|
| JPS5332827A (en) * | 1976-09-09 | 1978-03-28 | Nakata Giken Kk | Moulding method by using waterrsoluble paste as binder |
| JPH0452048A (en) * | 1990-06-18 | 1992-02-20 | Kurodaito Kogyo Kk | Mold and molding method thereof |
| JPH08257678A (en) * | 1995-03-23 | 1996-10-08 | Mitsubishi Heavy Ind Ltd | Manufacture of die |
| JP2013103268A (en) * | 2011-11-16 | 2013-05-30 | Daido Castings:Kk | Chromite coating material |
Non-Patent Citations (1)
| Title |
|---|
| See also references of EP3124134A4 * |
Also Published As
| Publication number | Publication date |
|---|---|
| KR20160138089A (en) | 2016-12-02 |
| EP3124134A4 (en) | 2017-11-22 |
| JP6536568B2 (en) | 2019-07-03 |
| CN106132587A (en) | 2016-11-16 |
| CN106132587B (en) | 2018-11-06 |
| EP3124134A1 (en) | 2017-02-01 |
| JPWO2015147069A1 (en) | 2017-04-13 |
| US20170080481A1 (en) | 2017-03-23 |
| KR102228467B1 (en) | 2021-03-15 |
Similar Documents
| Publication | Publication Date | Title |
|---|---|---|
| CN102861873B (en) | Casting method of gear | |
| CN104148583A (en) | Investment casting method | |
| JP6662293B2 (en) | Casting green mold and method of manufacturing cast article using the same | |
| EP2939759B1 (en) | Method for producing structure for casting and structure such as mold | |
| JP6536568B2 (en) | Green die for casting cast steel article and method for producing the same, and method for producing cast steel article using the green die | |
| CN101554644A (en) | Lost foam casting process suitable for aluminum alloy materials | |
| CN105592955B (en) | The manufacture method of wet type casting mold and its manufacture method and iron system casting | |
| CN104690213A (en) | Coated sand with cracking resistance, smell removal and less adhesion to sand and preparation method thereof | |
| KR102314875B1 (en) | Refractory coating compositions for forming surfaces on temporary molds or on cores for iron and steel foundry operations | |
| RU2427444C1 (en) | Method of producing piston rings and cylinder sleeve billets | |
| CN103357819A (en) | Bucket tooth investment casting method | |
| RU2753188C2 (en) | Method for manufacturing shell mold | |
| CN110548834B (en) | Preparation method of bronze statue | |
| CN120001935A (en) | A process for resin sand casting metal castings | |
| SU1740094A1 (en) | Heat-insulating coat for casting moulds | |
| CN110434279A (en) | Sand sticking prevention additive for steel casting and preparation method thereof | |
| RU2465093C1 (en) | Method of producing multilayer investment shell casting moulds | |
| CN103394643A (en) | Casting method of automobile engine hood | |
| EP3256274A1 (en) | Process for the production of cores of silica for components of aeronautical and industrial turbines | |
| CN103394641A (en) | Yoke casting method | |
| CN104325077A (en) | Casting method of vehicle engine piston | |
| CN107511450A (en) | The coating agent of top layer casting abrasion resistant particles layer during evaporative pattern cast casting | |
| CN103386464A (en) | Casting method for circular fitting of automobile spare-tyre lifter | |
| CN103394642A (en) | Casting method of automobile engine piston | |
| BE535260A (en) |
Legal Events
| Date | Code | Title | Description |
|---|---|---|---|
| 121 | Ep: the epo has been informed by wipo that ep was designated in this application |
Ref document number: 15769938 Country of ref document: EP Kind code of ref document: A1 |
|
| ENP | Entry into the national phase |
Ref document number: 2016510433 Country of ref document: JP Kind code of ref document: A |
|
| WWE | Wipo information: entry into national phase |
Ref document number: 15126086 Country of ref document: US |
|
| NENP | Non-entry into the national phase |
Ref country code: DE |
|
| ENP | Entry into the national phase |
Ref document number: 20167027474 Country of ref document: KR Kind code of ref document: A |
|
| REEP | Request for entry into the european phase |
Ref document number: 2015769938 Country of ref document: EP |
|
| WWE | Wipo information: entry into national phase |
Ref document number: 2015769938 Country of ref document: EP |


