WO2013008436A1 - 洗濯機又は洗面台の排水管に設けるヌメリ取り用アダプター - Google Patents
洗濯機又は洗面台の排水管に設けるヌメリ取り用アダプター Download PDFInfo
- Publication number
- WO2013008436A1 WO2013008436A1 PCT/JP2012/004405 JP2012004405W WO2013008436A1 WO 2013008436 A1 WO2013008436 A1 WO 2013008436A1 JP 2012004405 W JP2012004405 W JP 2012004405W WO 2013008436 A1 WO2013008436 A1 WO 2013008436A1
- Authority
- WO
- WIPO (PCT)
- Prior art keywords
- adapter
- slime
- drainage
- drug
- container
- Prior art date
- Legal status (The legal status is an assumption and is not a legal conclusion. Google has not performed a legal analysis and makes no representation as to the accuracy of the status listed.)
- Ceased
Links
Images
Classifications
-
- E—FIXED CONSTRUCTIONS
- E03—WATER SUPPLY; SEWERAGE
- E03C—DOMESTIC PLUMBING INSTALLATIONS FOR FRESH WATER OR WASTE WATER; SINKS
- E03C1/00—Domestic plumbing installations for fresh water or waste water; Sinks
- E03C1/12—Plumbing installations for waste water; Basins or fountains connected thereto; Sinks
- E03C1/126—Installations for disinfecting or deodorising waste-water plumbing installations
-
- D—TEXTILES; PAPER
- D06—TREATMENT OF TEXTILES OR THE LIKE; LAUNDERING; FLEXIBLE MATERIALS NOT OTHERWISE PROVIDED FOR
- D06F—LAUNDERING, DRYING, IRONING, PRESSING OR FOLDING TEXTILE ARTICLES
- D06F39/00—Details of washing machines not specific to a single type of machines covered by groups D06F9/00 - D06F27/00
- D06F39/08—Liquid supply or discharge arrangements
- D06F39/083—Liquid discharge or recirculation arrangements
- D06F39/086—Arrangements for avoiding detergent wastage in the discharge conduit
Definitions
- the present invention relates to a slime removing adapter provided in a drain pipe of a washing machine or a wash basin, and more particularly relates to a slime removing adapter connected so that a part of drainage flows around the drain pipe.
- wastewater (sewage) flowing out from a drainage hose is guided to a drainage pipe placed under the floor in a place that handles sewage or other water such as a sink, and a drainage trap under the floor to prevent odors.
- a hose joint for connecting a drain hose is attached to the drain trap in a state of extending on the floor surface.
- the drainage hose is connected to the drainage hose joint, and drainage flowing out from the drainage hose flows into the drainage trap from the hose joint and is sent to the drainage pipe side.
- the drainage trap will become very slimy due to water, dust, bacterial clumps, etc., and the drainage flow will deteriorate, and odor will be generated from the drainage trap itself. Sometimes. For this reason, it is desired to periodically clean the inside of the drain trap, but there is a problem that the disassembly and cleaning work is complicated.
- Patent Document 1 discloses an adapter that is interposed between a hose joint of a drain trap and a drain hose of a washing machine, and is a small cylindrical portion made of a plastic material fitted into the hose joint, and a cylindrical shape.
- a plastic material in which one end is opened and the other end has an opening connected to the small cylindrical portion at a position eccentric from the center thereof, the other portion is sealed, and a helical thread is formed on the cylindrical surface.
- Adapter part A provided with a large cylindrical part, a small cylindrical part made of a plastic material fitted to the drainage hose of the washing machine, a cylindrical shape having one end opened and the other end eccentric from the center.
- An adapter characterized by comprising a donut-shaped packing disposed inside the large cylindrical portion is described.
- the adapter described in Patent Document 1 describes that a bag containing a medicine is accommodated therein, and has a certain effect on slime removal.
- drainage in which a large amount of drainage flows like a washing machine.
- the drug installed in the adapter dissolves quickly, the drug solution is diluted by a large amount of drainage, and the drug in the adapter inhibits the flow of drainage. there were.
- the present invention has been made in view of such circumstances, and is a means for removing or preventing slime generated in a drain trap of a washing machine or a wash basin, and has a low frequency of drug replacement and does not hinder the flow of drainage. It is an object to provide a slime removal adapter.
- the present inventors connected an adapter in which a medicine storage container containing medicine is installed so that a part of the drainage flows around the drain pipe, And it discovered that the said subject could be solved by making the outflow of the chemical
- the present invention (1) The following (A), (B) and (C) (A) Adapter body (B) Drug storage container (C) Adapter for slime removal having a connection part,
- the slime removal adapter is installed in the middle of the drain pipe connected to the washing machine or the washstand so that a part of the drainage flows detoured,
- the adapter main body and the drain pipe are connected at the connection part,
- the adapter body has the drug storage container detachably installed inside,
- the drug container is provided with a drainage inlet and a drug solution outlet.
- the adapter for removing slime wherein the drug solution outlet is provided with means for eluting the drug solution
- the connecting portion includes the following (D) and (E) (D) Connection pipe
- the adapter body includes the following (F) and (G) (F) Lid (G) It has a medicine container holding part, and the lid or the medicine container holding part is connected to the connection part, The slime removal according to the above (1) Adapter, (5) Between the connection part and the medicine container holding part and / or between the connection part and the lid part, the following (H) or (I) (H) A partition wall having a small hole (I) An adapter for slime removal according to (4) above, which has a filter, and (6) The means for eluting the drug solution provided at the drug solution outlet of the drug container is to use a resin porous body, as described in (1) above It relates to adapter for slime removal.
- the slime removing adapter of the present invention not only the removal or prevention of slime generated in the drain trap can be prevented, but also the drug replacement frequency can be reduced even in a drain pipe through which a large amount of drainage flows like the drainage of a washing machine.
- the drug solution with a higher drug concentration can be diffused into the drain trap.
- FIG. 1 It is a conceptual diagram which shows that the adapter for slime removal of this invention was attached to the drain pipe of the washing machine. It is the elements on larger scale of FIG.
- FIG. 1 is a perspective view of the adapter for slime removal of 1 aspect of this invention. It is a top view of the adapter for slime removal of 1 aspect of this invention. It is an exploded view of the adapter for slime removal of 1 aspect of this invention. It is sectional drawing seen from the dashed-dotted line direction of FIG. It is a top view of the medicine storage container of one mode of the present invention. It is a bottom view of the medicine storage container of one mode of the present invention. It is a perspective view of the adapter for slime removal of another aspect of this invention.
- FIG. 1 It is a top view of the adapter for slime removal of another aspect of the present invention. It is an exploded view of the adapter for slime removal of another aspect of this invention. It is sectional drawing seen from the dashed-dotted line direction of FIG. It is a perspective view of the chemical
- the slime removing adapter of the present invention is installed in connection with a drain pipe (1 ') connected to a washing machine or a washstand, and is detachably installed in the adapter body (5) and the adapter body (5).
- the medicine storage container (8) has a mechanism in which the drained wastewater does not immediately come out and remains in the container. Therefore, the chemical
- the adapter main body (5) of the present invention is fixedly or detachably connected to the drain pipe through the connecting portion (5 '), and the adapter main body (5) has a medicine container ( 8).
- the connection part (5 ′) has a drain pipe attachment part (2) and one or more connection pipes (4, 4a, 4b) fixedly or detachably connected thereto.
- the number of connecting pipes is one (4), both the inflow of waste water and the outflow of drug solution are performed through one connecting pipe.
- connection pipes (4a and 4b) the inflow of the waste water and the outflow of the drug solution are mainly performed through separate connection pipes (inflow connection pipe and discharge connection pipe).
- the size of the adapter is not particularly limited as long as it has a size that can accommodate the medicine container (8) containing the slime removing agent (9), but is preferably as compact as possible.
- the shape of the adapter is not particularly limited as long as it has a shape that can accommodate the medicine container (8) containing the slime removing agent (9), and examples thereof include a rectangular parallelepiped shape and a cylindrical shape.
- the drain pipe attachment part (2) of the connection part (5 ′) is not particularly limited as long as the connection pipe can be attached to the drain pipe.
- the drain pipe attachment part (2 ′) has a length of several centimeters to several tens of centimeters.
- a fixing device such as a hook is attached to the drainage pipe attachment part (2) so that it can be easily connected to the drainage pipe (1 ') connected to the washing machine or the sink and the drainage drain part with a fixing device such as a band.
- You may have an attachment part (19).
- the drain pipe attachment part (2) can be inserted into or screwed into the drain pipe (1 ') connected to the washing machine or the washstand. Further, the drain pipe attachment part (2) of the connection part (5 ') may have a structure different from that shown in the drawings, or a drain pipe (1') connected to a washing machine or a wash basin. It may be integrated. Furthermore, what is necessary is just to connect the said connection part (5 ') there, when the attachment part is provided in the drain pipe (1') side connected to the washing machine or the washstand.
- the connection position of the connecting pipe (4, 4a, 4b) on the adapter body is not particularly limited as long as drainage or chemical solution can flow out. Or it is preferable to provide in a bottom part.
- the adapter body (5) of the present invention can have one or more air holes (12, 13) to assist in the flow of waste water.
- the position and shape of the air holes (12, 13) are not particularly limited. However, it is preferable that the air holes (12, 13) are provided so that the drainage does not flow out therethrough, and the adapter body (5) may be simply provided with a hole. (4, 4b) can also serve as an air hole.
- the air holes (12, 13) are not provided, even if a jammer plate is installed on the downstream side of the inlet of the connection pipe (4, 4a) in the drain pipe attachment part (2). Good. Thereby, the flow of drainage can be disturbed temporarily and drainage can be made to flow smoothly into a connecting pipe (4, 4a).
- the jammer plate is located on the opposite wall surface where the inlet of the connecting pipe (4, 4a) in the drain pipe attachment part (2) is installed, and the shape is such that fibers such as waste fibers and hair are not caught.
- a streamline type is preferable.
- the connecting pipe (4b) may be a drainage outlet after the chemical solution is dissolved. In this case, it is desirable that the connection position of the adapter main body (5) of the discharge connection pipe (4b) is lower than the connection position of the inflow connection pipe (4a).
- the lower part of the discharge connection pipe (4b) is positioned lower than the lower part of the inflow connection pipe (4a), and the upper part of the discharge connection pipe (4b) is the upper part of the inflow connection pipe (4a). It should be positioned below.
- the adapter body (5) of the present invention has a lid part (7) and a medicine container holding part (6), and the connecting pipes (4, 4a, 4b) contain the lid part (7) and / or medicines.
- the container holding portion (6) is fixedly or detachably provided.
- the lid (7) and the medicine container holding part (6) or at least one of them (6, 7) and the connecting pipe (4, 4a, 4b) may be integrated. Although it is good, it is preferable that both are detachable. Since these locations are detachable, the adapter body (5) and / or the medicine container (8) installed in the adapter can be replaced more easily, and the adapter body (5) and connection can be made. The vicinity of the pipes (4, 4a, 4b) can be easily cleaned.
- a screw type may be used as a means for detachably providing the lid (7), the medicine container holding part (6) and / or the (6, 7) and the connecting pipe (4, 4a, 4b). It may be good, may be inserted into each other, or may be fixed with bolts or the like.
- the screw-type method includes a method in which both the lid portion (7) and the medicine storage container holding portion (6) have threads, and the whole container is rotated and connected, and the lid portion (7) or the medicine One of the storage container holders (6) has a thread, and the non-threaded side has a rotatable nut-like part, and shows how to rotate and connect the nut-like part. ing.
- a packing can be sandwiched between the lid (7) and the medicine container holding part (6).
- the material of the packing is not particularly limited, but a material such as Teflon (registered trademark), rubber, or plastic can be used, and a plastic packing is preferably used.
- the insertion method can be such that a packing can be sandwiched between the contacting portions and a hook or the like is provided so as not to come off. May be.
- the material of the packing is not particularly limited, but materials such as Teflon (registered trademark), rubber, and plastic can be used, and rubber packing is preferably used.
- the method of fixing with a bolt or the like is easy to fix with a bolt if the connecting portion has a flange structure. Moreover, in order to make attachment or detachment easy, you may have a hook etc. Furthermore, it may be fixed by tying it with a string-like object without fixing with bolts or the like. Packing may be sandwiched between the mating surfaces, and the material of the packing is not particularly limited, but materials such as Teflon (registered trademark), rubber, and plastic can be used, and preferably rubber packing is used. .
- the mating surface is preferably flat, but a convex part is provided on either the lid (7) or the medicine container holding part (6) to prevent the joining position from shifting, and corresponds to the opposite side. A concave portion may be provided.
- a partition wall or a filter (11) having a small hole (10) is provided on the inner surface of the adapter body (5) of the present invention in order to remove fiber waste and hair contained in the drainage and weaken the momentum of the inflowing drainage. be able to.
- the installation location of the partition wall or the filter (11) is not particularly limited, but the lid (7) and the medicine container holding part (6) and / or the lid (7) and the connection pipe (4, 4a, 4b) can be installed in these detachable parts. By being installed in the detachable portion, the partition wall or the filter (11) can be easily replaced or cleaned.
- the connecting pipe (4a, 4b) is provided only in the medicine container holding part (6), the lid (7) does not include the connecting pipe.
- the material of the lid (7) is preferably a rubber material such as silicon rubber.
- a stand, a frame, a shelf and the like for detachably attaching the medicine container (8) can be provided.
- Examples of the material of the adapter main body (5) include stainless steel (SUS), aluminum, and other metals, rubber, plastic, and the like.
- the medicine storage container (8) of the present invention is a container for storing the slime removing agent (9), and the medicine storage container (8) has a drainage inlet (15) and a drug solution outlet (16). And has a mechanism that allows the drained water to flow into the container without being immediately drained and to gradually flow out.
- the size of the medicine container (8) of the present invention is not particularly limited as long as it can store the slime remover (9) and can be detachably stored in the adapter.
- the shape of the medicine container (8) is not particularly limited as long as it can store the slime remover (9) and can be detachably stored in the adapter. Shape, cylindrical shape and the like.
- the medicine container (8) of the present invention has a volume of preferably 10 ml to 50 ml when the mass of the slime remover (9) is 10 g, and in this amount, the slime remover (9) is dissolved. Sufficient chemical concentration.
- the position of the drainage inlet (15) is not particularly limited as long as it is a position where drainage can flow in, but can be provided on the upper surface and upper side of the medicine container (8).
- the drainage inlet (15) may be in the lower part or the bottom of the drug storage container (8). In that case, the drainage that has flowed in does not immediately come out of the drug solution outlet (16). It suffices if the container has a structure that stays inside and can gradually flow out.
- the size of the drainage inlet (15) is not particularly limited, but is preferably about 2 mm to 45 mm in diameter and 5 mm to 25 mm in diameter in order to prevent inflow of fiber waste or the like contained in the drainage into the medicine storage container (8). The degree is more preferable.
- the drug solution outlet (16) is not particularly limited as long as it is a position where drainage can flow out, but can be provided on the bottom surface, the lower side of the side of the drug container (8), and the like.
- the drug solution outlet (16) is provided with means for gradually discharging the drug solution.
- the means for example, the size of the drug solution outlet (16) is controlled, or a porous body such as various sponges or a filter is installed in front of the drug solution outlet (16). Can be mentioned.
- the size of the drug solution outlet (16) is preferably about 2 mm to 45 mm and more preferably about 5 mm to 25 mm in order to effectively control the outflow of the drug solution.
- the porous body (14) is provided at a position that closes the drug solution outlet (16) in the drug container (8).
- the porous body (14) is not particularly limited as long as it is a substance having a large number of pores.
- the porous body (14) is made of a resin porous body such as polyethylene, polypropylene, polystyrene, polymethyl methacrylate, urethane sponge, natural Examples thereof include resin sponges such as sponges and rubber sponges, activated carbon, zeolite, ceramics, and the like.
- the filter for controlling the flow rate of the drug solution examples include filter cloth and filter paper. Preferably, it is a resin-made porous body and urethane sponge.
- the porous body (14) is not particularly limited, but preferably has a density of 5 to 200 kg / m 3 , more preferably 10 to 150 kg / m 3 . If the material is the same, the higher the density, the slower the outflow speed.
- the hardness is not particularly limited, and there are various measuring methods, and measuring methods such as durometer hardness, international rubber hardness (IRHD), and ASKER-C are known. The hardness is 10 to 200 N, more preferably 90 to 180 N.
- the hardness is 1 to 100, preferably 3 to 30. If it is the same material, the one where hardness is hard can slow down an outflow rate.
- the porous body (14) should have functions such as light resistance, stretchability, high resilience, high elasticity, antistatic, high strength, antibacterial properties, and solvent resistance, preferably It has solvent resistance that does not harden due to the influence of detergent or the like.
- the outflow rate of the drug solution from the drug container (8) is preferably 0.1 to 10 ml / min, more preferably 0.5 to 2.0 ml / min.
- the drainage inlet (15) and the drug solution outlet (16) may be the same.
- means for gradually discharging the drug solution is provided at the drainage inlet / drug solution outlet.
- the drug solution is allowed to flow out for 1 to 500 minutes, more preferably 5 to 100 minutes.
- the drug storage container (8) of the present invention can be provided with one or more air holes for inflow of waste water and outflow of drug solution, but the inflow port and / or the outflow port serve as air holes. It can also fulfill the functions.
- the medicine container (8) of the present invention contains a solid or powder medicine.
- a solution in which the drug is dissolved in waste water or the like is referred to as a “drug solution”.
- the drug used is not particularly limited as long as it can control slime.
- Known slime removal agents (9) include chlorinated oxidant bleaching powder, non-chlorine oxidant sodium percarbonate, etc., but solid agents having safety, handleability, and moderate solubility are preferred. .
- solid drugs examples include solid drugs described in JP-A No. 2000-327509.
- a non-bleaching powder antibacterial agent such as an inclusion compound composed of an antibacterial agent such as 5-chloro-2-methyl-4-isothiazolin-3-one and a multimolecular host compound such as tetrakisphenol Lactose, granulated lactose (eg, lactose granulated, manufactured by Freund Sangyo Co., Ltd.), calcium sulfate dihydrate, calcium sulfate hemihydrate, acetoacetate anilide, acetoacetate-o-toluidide, acetoacetate A slime control agent obtained by pressure-molding one or more base materials selected from -p-toluidide, acetoacetic acid-o-anisidide and the like.
- any antibacterial agent or antibacterial can be used as long as it does not generate chlorine gas by reacting with an acidic substance during use.
- examples thereof include compounds known as agents and natural essential oils known to have antibacterial action.
- antifungal agents or antibacterial agents include 5-chloro-2-methyl-4-isothiazolin-3-one, 2-methyl-4-isothiazolin-3-one, 4,5-dichloro-3-n- Octyl-isothiazolin-3-one, 1,2-benzisothiazolin-3-one, 2-methoxycarbonylbenzimidazole, 2,3,5,6-tetrachloro-4-methanesulfonylpyridine, 2-thiocyanomethylthiobenzothiazole 2,2-dithio-bis- (pyridine-1-oxide), 3,3,4,4-tetrahydrothiophene-1,1-dioxide, 4,5-dichloro-1,2-dithiolane-3- ON, 5-chloro
- natural essential oils include cineol, hinokitiol, menthol, terpineol, borneol, nopol, citral, citronellal, citronellol, geraniol, linalool, dimethyloctanol, thymol and the like.
- iodine-based antibacterial agents can also be exemplified as non-bleaching powder-based antibacterial agents, among which solid ones are particularly desirable.
- the iodo-based antibacterial agent include 2,3,3-triiodoallyl alcohols, 2,3,3-triiodoallyl ethers, 2,3,3-triiodoallylazoles, 3-iodo-2 Mention may be made of propargylbutylcarbamic acid, 4-chlorophenyl (3-iodopropargyl) formal, iodopropargylazoles, diiodomethylparatolylsulfone, povidone iodine, benzyliodoacetate and paranitrobenzyliodoacetate.
- non-bleaching powder antibacterial agents can be used alone or in combination of two or more. Further, these non-bleaching powder antibacterial agents can be guest compounds of multimolecular host compounds, for example, 2-bromo-2-nitropropane-1,3-diol, 5-chloro-2-methyl-4 -Inclusion compounds can be formed using isothiazolin-3-one or the like as a guest compound, and these can be used as non-bleaching powder antibacterial agents.
- guest compounds of multimolecular host compounds for example, 2-bromo-2-nitropropane-1,3-diol, 5-chloro-2-methyl-4 -Inclusion compounds can be formed using isothiazolin-3-one or the like as a guest compound, and these can be used as non-bleaching powder antibacterial agents.
- the base materials used together with the non-bleaching powder antibacterial agent are calcium hydrogen phosphate dihydrate, tricalcium phosphate anhydrous, magnesium hydrogen phosphate trihydrate, magnesium hydrogen phosphate octahydrate, lactose, vanillin, calcium citrate Tetrahydrate, calcium sulfate dihydrate, calcium sulfate hemihydrate, acetoacetate anilide, acetoacetate-o-toluidide, acetoacetate-p-toluidide, acetoacetate-o-anisidide, sorbitol, alkyl sorbitan It is selected from nonionic surfactants such as esters (HLB14 or less) and glycerin monofatty acid esters, and sucrose fatty acid esters (HLB14 or less), and these may be used alone or in combination of two or more. Yes, but compressibility when formed under pressure, solubility in water, disintegration, stability of antibacterial agents It is desirable to be determined in consideration of the impact on.
- the base material is preferably a neutral substance that does not increase generation of chlorine gas by mixing with a commercially available cleaning agent containing hypochlorous acid.
- sorbitol, lactose, acetoacetic acid-o-toluidide, and calcium sulfate hydrate are particularly preferred when an inclusion compound is used as the non-bleaching powder antibacterial agent.
- calcium sulfate is used as the base material, calcium sulfate hemihydrate is preferable from the viewpoint that the moldability and solubility can be easily controlled.
- the ⁇ -type produced by atmospheric firing is preferable to the ⁇ -type produced by pressure firing in that the molded body is less likely to lose its shape due to water absorption.
- .5 hydrate it is more preferable to use it together with lactose in terms of control of the moldability and solubility.
- a polymolecular host compound refers to a compound that forms a crystalline complex (inclusion compound) having an interaction with an antibacterial agent that serves as a guest by intermolecular forces such as hydrogen bonding, and having a regular arrangement.
- inclusion compound an antibacterial agent that serves as a guest by intermolecular forces such as hydrogen bonding, and having a regular arrangement.
- Examples of the tetrakisphenols in the multimolecular host compound include 1,1,2,2-tetrakis (4-hydroxyphenyl) ethane, 1,1,2,2-tetrakis (3-fluoro-4-). Hydroxyphenyl) ethane, 1,1,2,2-tetrakis (3-chloro-4-hydroxyphenyl) ethane, 1,1,2,2-tetrakis (3-methyl-4-hydroxyphenyl) ethane, 1,1 , 2,2-Tetrakis (3-methoxy-4-hydroxyphenyl) ethane, 1,1,2,2-tetrakis (3,5-dimethyl-4-hydroxyphenyl) ethane, 1,1,3,3-tetrakis (4-hydroxyphenyl) propane, 1,1,3,3-tetrakis (3-fluoro-4-hydroxyphenyl) propane, 1,1,3,3-tetrakis (3-chloro-4-hydroxyphenyl) propane, 1,1,3,3-tetrakis (3-
- the clathrate compound used in the present invention is usually prepared by stirring a non-bleaching powder antibacterial agent serving as a guest and a host compound in the presence of water or an organic solvent at room temperature to 100 ° C. for several minutes to several hours. It can be easily obtained by reacting.
- the tablet of the present invention is used alone if it can be formulated with a drug used for slime removal, but it is preferably formulated using a base material.
- a base material When a base material is used, the mixing ratio of the non-bleaching powder antibacterial agent and the base material can be arbitrarily changed between 1 to 99 parts by weight of the non-bleaching powder antibacterial agent and 99 to 1 part by weight of the base material.
- the non-bleaching powder antibacterial agent is preferably 5 to 50 parts by weight and the base material is 95 to 50 parts by weight.
- an inclusion compound is used as the non-bleaching powder antibacterial agent, a mixing ratio of 2 to 20 parts by weight of the inclusion compound and 98 to 80 parts by weight of the base material is preferable.
- Base materials include excipients, binders, dissolution regulators, lubricants, surfactants, corrosion inhibitors, gelled products, antistatic agents, other functional components, etc., and use known materials. Can do.
- Examples of the material of the medicine container (8) include rubber and plastic, and plastic is preferable because it has good water repellency and hardly generates slime. Moreover, it is preferable that all or a part is transparent or translucent so that the consumption of the medicine accommodated in the inside can be confirmed.
- the outflow of the drug solution from the drug container (8) is controlled, for example, a drain pipe in which a large amount of drainage flows intermittently, such as drainage of a washing machine. (1 ') and drainage trap (18) effective for slime control.
- the adapter for removing slime according to the present invention allows the drug solution to flow out for 5 minutes to 180 minutes, preferably 10 minutes to 60 minutes, so that the drug solution is effectively drained without being washed away by a large amount of waste water. It diffuses into the pipe (1 ') and the drain trap (18).
- FIG. 1 is a conceptual diagram in which a slime removing adapter (3) of the present invention is attached to a drain pipe (1 ′) of a washing machine (1).
- FIG. 2 is an enlarged view of the mounting portion.
- the slime removing adapter (3) is attached to the drain pipe (1 ') in front of the drain trap (18) through a connection part (5') having a drain pipe attachment part (2) and a connection pipe (4). ing.
- the connecting pipe (4) of the connecting part (5 ′) is connected to the lid part (7) (FIGS. 3 and 4).
- the slime removing adapter (3) has an adapter main body (5) and a medicine container (8) installed therein (FIG. 6).
- FIG. 5 shows a case where the lid (7) and the medicine container holding part (6), and the connecting part (5 ′) and the lid (7) are detachable and disassembled.
- a partition wall (11) having a small hole (10) is provided between the lid (7) and the medicine storage container holding part (6), and fiber scraps and the like to the medicine storage container holding part (6) are provided. Can be prevented (FIG. 5).
- the adapter body (5) is provided with air holes (12, 13) for facilitating the inflow and outflow of drainage.
- the air hole (13) is connected to the drain pipe so that air can escape into the drain pipe.
- FIG. 5 shows a case where the lid (7) and the medicine container holding part (6), and the connecting part (5 ′) and the lid (7) are detachable and disassembled.
- a partition wall (11) having a small hole (10) is provided between the lid
- the medicine storage container holding portion (6) is provided with a medicine storage container holding frame (not shown), and the medicine storage container (8) is fitted and fixed thereto.
- the drug container (8) is provided with a drainage inlet (15) and a drug solution outlet (16), and the drug solution outlet (16) is blocked on the drug container outlet (16).
- the medicine container (8) is also provided with an air hole (17).
- a solid slime remover (9) is accommodated inside.
- the slime removing adapter (3) is attached to the drain pipe (1 ') in front of the drain trap (18) through a connection part (5') having a drain pipe attachment part (2) and a connection pipe (4). 3 and 4 is the same as in FIGS. 3 and 4, but the connection pipe (5 ′) has an inflow connection pipe (4a) and a discharge connection pipe (4b). The tube is connected to the medicine container holding part (6) (FIGS. 9 and 10).
- the slime removing adapter (3) has an adapter main body (5) and a medicine container (8) installed therein (FIG. 12).
- FIG. 12 FIG.
- the medicine storage container holder (6) is provided with a medicine storage container holding frame, and the medicine storage container (8) is fitted and fixed thereto.
- the drug container (8) is provided with a drainage inlet (15) and a drug solution outlet (16), and the drug solution outlet (16) is blocked on the drug container outlet (16).
- the inflow connection pipe (4a) is provided at a position substantially corresponding to the drainage inflow port (15) provided in the side surface of the medicine storage container (8), and the discharge connection pipe (4b) is connected to the medicine storage container ( It is provided at a position substantially corresponding to the drainage inlet (15) provided in 8).
- the medicine container (8) is also provided with an air hole (17).
- a solid slime remover (9) is accommodated inside.
- the method for using the slime removing adapter of the present invention will be described below.
- the adapter body of the present invention will be described below as being interposed between the drainage hose of the washing machine and the hose joint of the drainage trap.
- the slime removal adapter of the present invention is, for example, a household washbasin, dishwasher, sink It can be used by interposing between a drain hose and a drain trap.
- Waste water that flows out of the washing machine is discharged through a drain pipe.
- a part of the drainage flows into the slime removing adapter through a connecting portion connected to the slime removing adapter attached in the middle of the drain pipe before the drain trap.
- the drained wastewater fills the inside of the adapter and eventually flows from the drainage inlet in the medicine storage container installed inside to fill the container.
- the drainage in the adapter flows out from the adapter through the connection pipe to the drainage pipe, but the drainage in the drug container is drained by a rectangular parallelepiped sponge provided on the drug solution outlet. Since the outflow is controlled, it will not be released immediately. While the wastewater remains in the medicine container, the solid or powdery slime remover dissolves.
- the slime remover can be used repeatedly because it is molded so that not all of the drug is dissolved at one time or the solubility is adjusted.
- the drug solution in which the slime removing agent is dissolved gradually flows out through a sponge or the like with the passage of time, and then flows out to the drain pipe through the connecting pipe.
- the spilled drug solution gradually flows down the wall surface of the drain pipe and wets the wall surface of the drain pipe, hose joint, drain trap, etc., so that the occurrence of slime on the wall surface can be prevented. You can take slime.
- Each sample consisting of a cylindrical shaped product having a diameter of 30 mm was prepared from each mixture shown in Table 1 by pressure molding.
- “Top Bit” is 2 mol of 5-chloro-2-methyl-4-isothiazolin-3-one (CMI) as an antibacterial agent to be a guest compound and 1 mol of a multimolecular host compound. Represents an inclusion compound obtained by the reaction of 1,1,2,2-tetrakis (4-hydroxyphenyl) ethane.
- Examples 1 to 3 A model washing machine drain pipe connected between the washing machine and the drain trap was prepared.
- the medicine of the above-mentioned medicine preparation example 1 was stored in a medicine storage container shown in FIG. 7 provided with three types of urethane sponges (manufactured by Toyohashi Urethane Co., Ltd.) at a medicine solution outlet and stored in an adapter body shown in FIG. Thereafter, the adapter body was connected to the simulated washing machine drain pipe. Thereafter, 8 kg of cloth sheets were put into the washing machine, and the laundry was set to use 72 L of water without using detergent. This test was continued 18 times a day for 10 days (a total of 180 times), and the CMI concentration in the drainage trap and the state of slime 1 hour after the end of the 180th wash were summarized in Table 2.
- Example 4 The three types of urethane sponges of Example 1 are replaced with MAPS ST-15-200AQL (manufactured by Inoac Corporation), the adapter body shown in FIG. 3 is replaced with the adapter body shown in FIG. 9, and the medicine container shown in FIG. The same operation as in Example 1 was performed except that the medicine container shown in FIG.
- Example 2 The same operation as in Example 1 was performed except that the container in which the urethane sponge installed in the drug container of Example 1 was removed was used.
- Chemical solution elution time The time required to discharge 26 ml of water in the medicine container was measured. Note that 26 ml is a volume obtained by dividing the volume of the medicine container used in the examples and comparative examples by the volume of tablets and urethane sponge.
- CMI concentration After flowing the simulated water, the water collected in the drain trap after 1 hour was filtered through a 0.45 ⁇ m filter, and the CMI concentration was quantitatively analyzed by high performance liquid chromatography. (Smooth situation) The condition of slime when the drain trap was touched with a finger was confirmed. A: There was no slime at all. ⁇ : Almost no slime was confirmed. (Triangle
- the conventional waste container for washing machines has a medicine container in the drain pipe, so it was difficult to replace the medicine.
- the medicine container is stored in the adapter body connected in parallel with the drain pipe. Because it is easy to replace. Moreover, since the whole medicine container can be exchanged, it is not necessary to touch the medicine directly, so that it is safe.
- a conventional kitchen slime removing container there is no slow elution of the chemical solution, so when a large amount of water flows like a washing machine, the drug dissolves immediately and is uneconomical. Therefore, even if the kitchen slime removing container can be installed in the drain pipe of the washing machine, the same effect as the present invention cannot be obtained.
- the consumption of chemicals can be minimized by simply taking a part of a large amount of water into the adapter body, it can be diluted with a large amount of water in the drain trap, and the slime removal effect can be fully exerted. Can not.
- the chemicals can be dissolved slowly electronically or mechanically, if there is waste such as fiber waste or hair, such as wastewater from a washing machine, the operation becomes unstable due to the waste. The possibility is high, and reliability cannot be obtained over a long period of time. From the above, the present invention is particularly excellent in that the slow dissolution of the chemical solution can be achieved with a very simple structure.
- the type, composition, and shape of the drug need not be particularly limited, and the replacement time can be freely adjusted by adjusting the size of the drug. Furthermore, by removing the waste of the drain trap, it is possible to reduce the burden of regular cleaning of drain pipes performed in apartment houses such as apartments.
Landscapes
- Engineering & Computer Science (AREA)
- Textile Engineering (AREA)
- Environmental & Geological Engineering (AREA)
- Health & Medical Sciences (AREA)
- Life Sciences & Earth Sciences (AREA)
- Hydrology & Water Resources (AREA)
- Public Health (AREA)
- Water Supply & Treatment (AREA)
- Sink And Installation For Waste Water (AREA)
- Apparatus For Disinfection Or Sterilisation (AREA)
- Detergent Compositions (AREA)
Abstract
本発明の課題は、洗濯機または洗面台の排水トラップに生じるヌメリを除去または予防する手段であって、薬剤の交換頻度が少なく、且つ排水の流れを阻害しないヌメリ取りアダプターを提供することである。本発明のヌメリ取り用アダプターは以下のとおりである。下記(A)、(B)及び(C) (A)アダプター本体 (B)薬剤収納容器 (C)接続部 を有するヌメリ取り用アダプターであって、前記ヌメリ取り用アダプターは、洗濯機又は洗面台に接続された排水管の途中に、排水の一部が迂回して流れるように接続して設置され、前記アダプター本体と前記排水管は前記接続部で接続されていて、前記アダプター本体は、内部に着脱自在に設置された前記薬剤収納容器を有し、前記薬剤収納容器は、排水流入口及び薬剤溶解液流出口が設けられ、前記薬剤溶解液流出口には薬剤溶解液を徐々に溶出させるための手段が設けられている。
Description
本発明は、洗濯機又は洗面台の排水管に設けるヌメリ取り用アダプターに関し、詳しくは、排水管の途中に排水の一部が迂回して流れるようにして接続された、ヌメリ取り用アダプターに関する。
本願は、2011年7月8日に出願された日本国特許出願第2011-151608号に対し優先権を主張し、その内容をここに援用する。
本願は、2011年7月8日に出願された日本国特許出願第2011-151608号に対し優先権を主張し、その内容をここに援用する。
一般に、流し場などの汚水その他の水を扱う場所には、排水ホースから流出する廃水(汚水)を床下に配設した排水管に案内し、かつ臭気を防止するために床面下に排水トラップが設けられ、この排水トラップには排水ホースを接続するためのホースジョイントが床面上に延出した状態で取り付けられている。
例えば、洗濯機の排水の場合、排水ホースを排水トラップのホースジョイントに接続し、排水ホースから流出する排水はホースジョイントから排水トラップ内に流れ込んで、排水管側へ送られる構造となっている。
例えば、洗濯機の排水の場合、排水ホースを排水トラップのホースジョイントに接続し、排水ホースから流出する排水はホースジョイントから排水トラップ内に流れ込んで、排水管側へ送られる構造となっている。
このような排水トラップ部が設けられている場合において、洗濯機の使用頻度が高い場合は、排水トラップ部の水は排水によって交換されるため腐敗することは少ないが、使用頻度が少ない場合や周囲温度が高い状況下では、この排水トラップ部の水が汚染、腐敗して悪臭を発する場合がある。この悪臭が発生した場合、この悪臭が洗濯水槽内へ逆流し、次回に洗濯・乾燥を行う際に、この悪臭が衣類に付着したり、あるいは洗濯機のドアや蓋を開けたとき、その悪臭が周囲へ流出して、不快感を味わうこととなる。
また、洗濯機を長期間に渡って使用していると、排水トラップ内は水あか、塵、細菌の塊等によってぬめりがひどくなり、排水の流れが悪くなるとともに、排水トラップそのもの自体から臭気が発生することもある。このため、定期的に排水トラップの内部を清掃することが望まれるが、分解清掃作業が煩雑であるという問題がある。
例えば特許文献1には、排水トラップのホースジョイントと洗濯機の排水ホースとの間に介在させるアダプターであって、前記ホースジョイントに嵌合するプラスチック材からなる小円筒部と、円筒状であって一端が開放され他端はその中心から偏心した位置に前記小円筒部が接続する開口部を有し他の部分は封止され、かつ円筒状表面に螺旋状のネジ山が形成されたプラスチック材からなる大円筒部とを備えたアダプター部Aと、前記洗濯機の排水ホースと嵌合するプラスチック材からなる小円筒部と、円筒状であって一端が開放され他端はその中心から偏心した位置に前記小円筒部が接続する開口部を有し他の部分は封止され、かつ円筒状内面には前記アダプター部Aの円筒状表面に形成された螺旋状のネジ山と螺合する螺旋状のネジ溝が形成されたプラスチック材からなる大円筒部とを備えたアダプター部Bと、前記アダプター部Aの大円筒部の前記開口部に嵌合する網かご状の金属製ネットと、前記アダプター部Bの大円筒部の内部奥に配置されるドーナツ状のパッキンと、を備えたことを特徴としているアダプターが記載されている。
特許文献1に記載のアダプターは、その内部に薬剤の入った袋を収納することが記載され、ヌメリ除去に関して一定の効果を奏するものであるが、特に洗濯機のように大量の排水が流れる排水管においては、当該アダプター内に設置された薬剤の溶出が速く、また、大量の排水によって薬剤の溶解液が希釈されてしまい、さらにアダプター内の薬剤が排水の流れを阻害するという種々の問題があった。
本発明は、かかる事情に鑑みてなされたものであり、洗濯機または洗面台の排水トラップに生じるヌメリを除去または予防する手段であって、薬剤の交換頻度が少なく、且つ排水の流れを阻害しないヌメリ取りアダプターを提供することを課題とする。
本発明者らは、上記課題を解決すべく鋭意検討した結果、薬剤を収納した薬剤収納容器を設置したアダプターを、排水管の途中に、排水の一部が迂回して流れるように接続し、かつ、アダプターからの薬剤溶解液の流出を、徐々に流出させるようにすることにより、上記課題を解決できることを見出し、本発明を完成するに至った。
すなわち、本発明は、
(1)下記(A)、(B)及び(C)
(A)アダプター本体
(B)薬剤収納容器
(C)接続部
を有するヌメリ取り用アダプターであって、
前記ヌメリ取り用アダプターは、洗濯機又は洗面台に接続された排水管の途中に、排水の一部が迂回して流れるように接続して設置され、
前記アダプター本体と前記排水管は前記接続部で接続されていて、
前記アダプター本体は、内部に着脱自在に設置された前記薬剤収納容器を有し、
前記薬剤収納容器は、排水流入口及び薬剤溶解液流出口が設けられ、
前記薬剤溶解液流出口は薬剤溶解液を溶出させるための手段が設けられていることを特徴とするヌメリ取り用アダプター、
(2)前記接続部は、下記の(D)及び(E)
(D)接続管
(E)排水管取り付け部
を有することを特徴とする上記(1)に記載のヌメリ取り用アダプター、
(3)前記アダプター本体及び前記薬剤収納容器に1個以上の空気穴が設けられていることを特徴とする上記(1)に記載のヌメリ取り用アダプター、
(4)前記アダプター本体は、下記(F)及び(G)
(F)蓋部
(G)薬剤収納容器保持部
を有し、前記蓋部又は前記薬剤収納容器保持部が前記接続部と接続されていることを特徴とする上記(1)に記載のヌメリ取り用アダプター、
(5)前記接続部と前記薬剤収納容器保持部との間及び/又は前記接続部と前記蓋部との間に、下記の(H)又は(I)
(H)小孔を有する隔壁
(I)フィルター
を有することを特徴とする上記(4)に記載のヌメリ取り用アダプター、及び、
(6)前記薬剤収納容器の薬剤溶解液流出口に設けられた薬剤溶解液を溶出させるための手段が、樹脂製多孔質体を用いることであることを特徴とする上記(1)に記載のヌメリ取り用アダプターに関する。
(1)下記(A)、(B)及び(C)
(A)アダプター本体
(B)薬剤収納容器
(C)接続部
を有するヌメリ取り用アダプターであって、
前記ヌメリ取り用アダプターは、洗濯機又は洗面台に接続された排水管の途中に、排水の一部が迂回して流れるように接続して設置され、
前記アダプター本体と前記排水管は前記接続部で接続されていて、
前記アダプター本体は、内部に着脱自在に設置された前記薬剤収納容器を有し、
前記薬剤収納容器は、排水流入口及び薬剤溶解液流出口が設けられ、
前記薬剤溶解液流出口は薬剤溶解液を溶出させるための手段が設けられていることを特徴とするヌメリ取り用アダプター、
(2)前記接続部は、下記の(D)及び(E)
(D)接続管
(E)排水管取り付け部
を有することを特徴とする上記(1)に記載のヌメリ取り用アダプター、
(3)前記アダプター本体及び前記薬剤収納容器に1個以上の空気穴が設けられていることを特徴とする上記(1)に記載のヌメリ取り用アダプター、
(4)前記アダプター本体は、下記(F)及び(G)
(F)蓋部
(G)薬剤収納容器保持部
を有し、前記蓋部又は前記薬剤収納容器保持部が前記接続部と接続されていることを特徴とする上記(1)に記載のヌメリ取り用アダプター、
(5)前記接続部と前記薬剤収納容器保持部との間及び/又は前記接続部と前記蓋部との間に、下記の(H)又は(I)
(H)小孔を有する隔壁
(I)フィルター
を有することを特徴とする上記(4)に記載のヌメリ取り用アダプター、及び、
(6)前記薬剤収納容器の薬剤溶解液流出口に設けられた薬剤溶解液を溶出させるための手段が、樹脂製多孔質体を用いることであることを特徴とする上記(1)に記載のヌメリ取り用アダプターに関する。
本発明のヌメリ取り用アダプターによれば、排水トラップ内に生じるヌメリの除去、又は予防できるだけでなく、洗濯機の排水のように大量の排水が流れる排水管であっても、薬剤の交換頻度を少なくし、さらに薬剤濃度の高い薬剤溶解液を排水トラップへ拡散させることができる。
以下の説明において、参考までに図面の符号を付するが、本発明の技術的範囲は図面の形態に限られない。
本発明のヌメリ取り用アダプターは、洗濯機又は洗面台に接続された排水管(1’)に接続して設置され、アダプター本体(5)、該アダプター本体(5)内に着脱自在に設置された薬剤収納容器(8)、及び接続部(5’)を有する。
薬剤収納容器(8)は、流入した排水がすぐに抜けないで容器内に留まれるような機構を有している。そのため、薬剤は容器内に留まっている排水に溶解されて、容器内の溶解した薬剤の濃度は高くなる。そして、薬剤濃度の高い溶解液が徐々に前記薬剤収納容器から流出して、アダプターに設けられた接続部(5’)を通して排水管に流出し、排水管及び排水トラップに付着したヌメリの防除を行う。
薬剤収納容器(8)は、流入した排水がすぐに抜けないで容器内に留まれるような機構を有している。そのため、薬剤は容器内に留まっている排水に溶解されて、容器内の溶解した薬剤の濃度は高くなる。そして、薬剤濃度の高い溶解液が徐々に前記薬剤収納容器から流出して、アダプターに設けられた接続部(5’)を通して排水管に流出し、排水管及び排水トラップに付着したヌメリの防除を行う。
(アダプター本体)
本発明のアダプター本体(5)は、接続部(5’)を介して排水管と固定的又は着脱自在に接続し、アダプター本体(5)内には、着脱自在に設置された薬剤収納容器(8)を有する。接続部(5’)は、排水管取り付け部(2)と、それに固定的又は着脱自在に接続した、1箇所以上の接続管(4、4a、4b)とを有する。
接続管が1個の場合(4)は、排水の流入と薬剤溶解液の流出の両方が1個の接続管を通して行われる。接続管が2個以上の場合(4aと4b)は、排水の流入と薬剤溶解液の流出が、主として別々の接続管(流入用接続管及び排出用接続管)を通して行われる。
アダプターの大きさは、ヌメリ取り剤(9)を収納した薬剤収納容器(8)を収納できる大きさを有している限り特に制限はないが、できうる限りコンパクトなサイズが好ましい。また、アダプターの形状は、ヌメリ取り剤(9)を収納した薬剤収納容器(8)を収納できる形状を有している限り特に制限はないが、例えば、直方体状、円筒状等が挙げられる。
本発明のアダプター本体(5)は、接続部(5’)を介して排水管と固定的又は着脱自在に接続し、アダプター本体(5)内には、着脱自在に設置された薬剤収納容器(8)を有する。接続部(5’)は、排水管取り付け部(2)と、それに固定的又は着脱自在に接続した、1箇所以上の接続管(4、4a、4b)とを有する。
接続管が1個の場合(4)は、排水の流入と薬剤溶解液の流出の両方が1個の接続管を通して行われる。接続管が2個以上の場合(4aと4b)は、排水の流入と薬剤溶解液の流出が、主として別々の接続管(流入用接続管及び排出用接続管)を通して行われる。
アダプターの大きさは、ヌメリ取り剤(9)を収納した薬剤収納容器(8)を収納できる大きさを有している限り特に制限はないが、できうる限りコンパクトなサイズが好ましい。また、アダプターの形状は、ヌメリ取り剤(9)を収納した薬剤収納容器(8)を収納できる形状を有している限り特に制限はないが、例えば、直方体状、円筒状等が挙げられる。
前記接続部(5’)の排水管取り付け部(2)は、接続管を排水管に取り付けることができる構造であれば特に限定されないが、たとえば、数cm~数十cm程度の長さで、排水管と同程度の口径を有する管部材であり、これに接続管(4、4a、4b)を固定的あるいは着脱自在に設けたものが挙げられる。この場合、排水管取り付け部(2)には洗濯機又は洗面台に接続された排水管(1’)及び排水ドレイン部と容易にバンド等の固定器具で接続できるように、フック等の固定器具取り付け部(19)を有していてもよい。前記排水管取り付け部(2)は、洗濯機又は洗面台に接続された排水管(1’)に差し込むか、あるいはねじ込むことができるようにする。
また、前記接続部(5’)の排水管取り付け部(2)は、図面に記載するような構造とは異なる構造でもよいし、洗濯機又は洗面台に接続された排水管(1’)と一体になったものでもよい。さらに、洗濯機又は洗面台に接続された排水管(1’)側に取り付け部が設けられている場合は、そこに前記接続部(5’)を接続すればよい。
前記接続管(4、4a、4b)のアダプター本体への設置位置は、排水や薬剤溶解液が流出することができる限り特に制限はないが、流出が円滑になされるために、アダプターの側面下部又は底部に設けることが好ましい。
また、前記接続部(5’)の排水管取り付け部(2)は、図面に記載するような構造とは異なる構造でもよいし、洗濯機又は洗面台に接続された排水管(1’)と一体になったものでもよい。さらに、洗濯機又は洗面台に接続された排水管(1’)側に取り付け部が設けられている場合は、そこに前記接続部(5’)を接続すればよい。
前記接続管(4、4a、4b)のアダプター本体への設置位置は、排水や薬剤溶解液が流出することができる限り特に制限はないが、流出が円滑になされるために、アダプターの側面下部又は底部に設けることが好ましい。
本発明のアダプター本体(5)には、排水の流入を助けるために、1個以上の空気孔(12、13)を有することできる。前記空気孔(12、13)の位置や形状は特に制限されないが、それを通して排水が流出しないように設けることが好ましく、単にアダプター本体(5)に孔を設けても良く、また、前記接続管(4、4b)が空気孔としての機能を果たすこともできる。
前記空気孔(12、13)を設けない場合の一例としては、前記排水管取り付け部(2)中であり、前記接続管(4、4a)の入口の下流側にジャマ板を設置してもよい。これにより、排水の流れを一時的に乱すことができ、排水を接続管(4、4a)へと円滑に流入させることができる。前記ジャマ板は排水管取り付け部(2)中の接続管(4、4a)の入口が設置された反対側の壁面に位置する方が好ましく、形状は繊維くずや髪の毛等のゴミが引っ掛からなければ特に限定されるものではないが、流線型が好ましい。
また、空気孔(12、13)を全く設けない場合の他例としては、接続管を2以上有し、その内の1以上を排水の流入口(4a)に、それ以外の接続管は排出用接続管(4b)として薬液が溶解した後の排水の流出口にしても良い。この場合は、排出用接続管(4b)のアダプター本体(5)の接続位置は流入用接続管(4a)の接続位置よりも下部にあることが望ましい。好ましくは、排出用接続管(4b)の下部が、流入用接続管(4a)の下部よりも下位に位置し、排出用接続管(4b)の上部が、流入用接続管(4a)の上部よりも下位に位置するようにする。
前記空気孔(12、13)を設けない場合の一例としては、前記排水管取り付け部(2)中であり、前記接続管(4、4a)の入口の下流側にジャマ板を設置してもよい。これにより、排水の流れを一時的に乱すことができ、排水を接続管(4、4a)へと円滑に流入させることができる。前記ジャマ板は排水管取り付け部(2)中の接続管(4、4a)の入口が設置された反対側の壁面に位置する方が好ましく、形状は繊維くずや髪の毛等のゴミが引っ掛からなければ特に限定されるものではないが、流線型が好ましい。
また、空気孔(12、13)を全く設けない場合の他例としては、接続管を2以上有し、その内の1以上を排水の流入口(4a)に、それ以外の接続管は排出用接続管(4b)として薬液が溶解した後の排水の流出口にしても良い。この場合は、排出用接続管(4b)のアダプター本体(5)の接続位置は流入用接続管(4a)の接続位置よりも下部にあることが望ましい。好ましくは、排出用接続管(4b)の下部が、流入用接続管(4a)の下部よりも下位に位置し、排出用接続管(4b)の上部が、流入用接続管(4a)の上部よりも下位に位置するようにする。
本発明のアダプター本体(5)は、蓋部(7)と薬剤収納容器保持部(6)とを有し、接続管(4、4a、4b)は、蓋部(7)及び/又は薬剤収納容器保持部(6)に固定的又は着脱自在に設けられている。
前記蓋部(7)と薬剤収納容器保持部(6)との間、あるいは、それら(6、7)と接続管(4、4a、4b)の間の少なくともいずれかは一体となっていてもよいが、両方が着脱自在になっていることが好ましい。これらの箇所が着脱自在であることによって、アダプター本体(5)及び/又はアダプター内に設置された薬剤収納容器(8)の交換をより容易に行うことができるほか、アダプター本体(5)及び接続管(4、4a、4b)付近の清掃を容易に行うことができる。
前記蓋部(7)と薬剤収納容器保持部(6)との間、あるいは、それら(6、7)と接続管(4、4a、4b)の間の少なくともいずれかは一体となっていてもよいが、両方が着脱自在になっていることが好ましい。これらの箇所が着脱自在であることによって、アダプター本体(5)及び/又はアダプター内に設置された薬剤収納容器(8)の交換をより容易に行うことができるほか、アダプター本体(5)及び接続管(4、4a、4b)付近の清掃を容易に行うことができる。
前記蓋部(7)と薬剤収納容器保持部(6)及び/又は それら(6、7)と接続管(4、4a、4b)とを着脱自在に設ける手段としては、ねじ式であっても良いし、互いに挿嵌するものでもよく、ボルト等で固定してもよい。
ねじ式による方法は、前記蓋部(7)及び前記薬剤収納容器保持部(6)の両方にねじ山を有し、容器全体を回して接続する方法と、前記蓋部(7)又は前記薬剤収納容器保持部(6)のどちらかにねじ山を有し、ねじ山を有しない方には回転自由なナット状の部品を有して、ナット状の部品を回転させて接続する方法を示している。さらに前記蓋部(7)と前記薬剤収納容器保持部(6)の間にはパッキンを挟むことができる。このパッキンの材質は特に限定されるものではないが、テフロン(登録商標)、ゴム、プラスチック等の材質を使用することができ、好ましくはプラスチック材質のパッキンを用いる。
挿嵌する方法は、単に前記蓋部(7)と前記薬剤収納容器保持部(6)を接続するものの他、接する部分にパッキンを挟むことができ、また、外れないようにフック等を有しても良い。パッキンの材質は特に限定されるものではないが、テフロン(登録商標)、ゴム、プラスチック等の材質を使用することができ、好ましくはゴム材質のパッキンを用いる。
ボルト等で固定する方法は、接続部分がフランジ構造であればボルトで固定しやすくなる。また着脱を容易にするためにフック等を有していても良い。さらにボルト等で固定せず、紐状のもので縛ることで固定しても良い。合わせ面にパッキンを挟んでもよく、そのパッキンの材質は特に限定されるものではないが、テフロン(登録商標)、ゴム、プラスチック等の材質を使用することができ、好ましくはゴム材質のパッキンを用いる。合わせ面は平らな方が好ましいが、接合位置がずれないようにするために前記蓋部(7)又は前記薬剤収納容器保持部(6)のどちらかに凸状部位を設け、反対側に対応する凹状部位を設けても良い。
ねじ式による方法は、前記蓋部(7)及び前記薬剤収納容器保持部(6)の両方にねじ山を有し、容器全体を回して接続する方法と、前記蓋部(7)又は前記薬剤収納容器保持部(6)のどちらかにねじ山を有し、ねじ山を有しない方には回転自由なナット状の部品を有して、ナット状の部品を回転させて接続する方法を示している。さらに前記蓋部(7)と前記薬剤収納容器保持部(6)の間にはパッキンを挟むことができる。このパッキンの材質は特に限定されるものではないが、テフロン(登録商標)、ゴム、プラスチック等の材質を使用することができ、好ましくはプラスチック材質のパッキンを用いる。
挿嵌する方法は、単に前記蓋部(7)と前記薬剤収納容器保持部(6)を接続するものの他、接する部分にパッキンを挟むことができ、また、外れないようにフック等を有しても良い。パッキンの材質は特に限定されるものではないが、テフロン(登録商標)、ゴム、プラスチック等の材質を使用することができ、好ましくはゴム材質のパッキンを用いる。
ボルト等で固定する方法は、接続部分がフランジ構造であればボルトで固定しやすくなる。また着脱を容易にするためにフック等を有していても良い。さらにボルト等で固定せず、紐状のもので縛ることで固定しても良い。合わせ面にパッキンを挟んでもよく、そのパッキンの材質は特に限定されるものではないが、テフロン(登録商標)、ゴム、プラスチック等の材質を使用することができ、好ましくはゴム材質のパッキンを用いる。合わせ面は平らな方が好ましいが、接合位置がずれないようにするために前記蓋部(7)又は前記薬剤収納容器保持部(6)のどちらかに凸状部位を設け、反対側に対応する凹状部位を設けても良い。
本発明のアダプター本体(5)の内面には、排水に含まれる繊維くずや髪の毛などを取り除き、且つ流入する排水の勢いを弱めるため、小孔(10)を有する隔壁又はフィルター(11)を設けることができる。
前記隔壁又はフィルター(11)の設置個所は特に制限されないが、前記蓋部(7)と前記薬剤収納容器保持部(6)及び/又は前記蓋部(7)と前記接続管(4、4a、4b)とが着脱自在に設けられている場合、これら着脱部に設置することができる。着脱部に設置されていることにより、前記隔壁又はフィルター(11)の交換や清掃を容易に行うことができる。
なお、薬剤収納容器保持部(6)のみに前記接続管(4a、4b)を有している場合は、前記蓋部(7)には前記接続管はないため、前記蓋部(7)は柔らかな素材を用いた方が蓋部(7)の着脱が容易になるので、前記蓋部(7)の素材は、好ましくは、シリコンゴム等のゴム製の材料である。
また、アダプター本体(5)内には、薬剤収納容器(8)を着脱自在に取り付けるための台、枠、棚などを設けることができる。
前記隔壁又はフィルター(11)の設置個所は特に制限されないが、前記蓋部(7)と前記薬剤収納容器保持部(6)及び/又は前記蓋部(7)と前記接続管(4、4a、4b)とが着脱自在に設けられている場合、これら着脱部に設置することができる。着脱部に設置されていることにより、前記隔壁又はフィルター(11)の交換や清掃を容易に行うことができる。
なお、薬剤収納容器保持部(6)のみに前記接続管(4a、4b)を有している場合は、前記蓋部(7)には前記接続管はないため、前記蓋部(7)は柔らかな素材を用いた方が蓋部(7)の着脱が容易になるので、前記蓋部(7)の素材は、好ましくは、シリコンゴム等のゴム製の材料である。
また、アダプター本体(5)内には、薬剤収納容器(8)を着脱自在に取り付けるための台、枠、棚などを設けることができる。
アダプター本体(5)の素材としては、例えば、ステンレス(SUS)、アルミ等の金属製、ゴム製、プラスチック製等が挙げられ、撥水性がよくヌメリが発生しにくいことから、プラスチック製が好ましい。
(薬剤収納容器)
本発明の薬剤収納容器(8)は、ヌメリ取り剤(9)を収納するための容器であり、前記薬剤収納容器(8)には排水流入口(15)及び薬剤溶解液流出口(16)が設けられており、そして、流入した排水がすぐに抜けないで容器内に留まり徐々に流出できる機構を有している。
本発明の薬剤収納容器(8)の大きさは、ヌメリ取り剤(9)を収納でき、かつアダプター内に着脱自在に収納できる大きさであれば特に制限はない。また、前記薬剤収納容器(8)の形状は、前記ヌメリ取り剤(9)を収納でき、かつアダプター内に着脱自在に収納できる形状であれば特に制限はないが、たとえば、上面長方形の薄箱状、円筒状などが挙げられる。
本発明の薬剤収納容器(8)は、ヌメリ取り剤(9)の質量が10gの場合、その容量は好ましくは10ml~50mlであり、この量であればヌメリ取り剤(9)が溶解して十分な薬液濃度になる。
前記排水流入口(15)の位置は、排水を流入させることができる位置である限り特に制限されないが、前記薬剤収納容器(8)の上面部、側面上部に設けることができる。また、前記排水流入口(15)は前記薬剤収納容器(8)の下部又は底面にあってもよく、その場合は流入した排水が前記薬剤溶解液流出口(16)からすぐに抜けないで容器内に留まり徐々に流出できる構造を容器内に有していればよい。たとえば、前記薬剤収納容器(8)内に、前記排水流入口(15)と前記薬剤溶解液流出口(16)の位置の間に上面に隙間のある隔壁(11)を設けることにより可能である。
前記排水流入口(15)の大きさは特に制限されないが、排水に含まれる繊維くず等の前記薬剤収納容器(8)への流入を防ぐために、直径2mm~45mm程度が好ましく、直径5mm~25mm程度がより好ましい。
本発明の薬剤収納容器(8)は、ヌメリ取り剤(9)を収納するための容器であり、前記薬剤収納容器(8)には排水流入口(15)及び薬剤溶解液流出口(16)が設けられており、そして、流入した排水がすぐに抜けないで容器内に留まり徐々に流出できる機構を有している。
本発明の薬剤収納容器(8)の大きさは、ヌメリ取り剤(9)を収納でき、かつアダプター内に着脱自在に収納できる大きさであれば特に制限はない。また、前記薬剤収納容器(8)の形状は、前記ヌメリ取り剤(9)を収納でき、かつアダプター内に着脱自在に収納できる形状であれば特に制限はないが、たとえば、上面長方形の薄箱状、円筒状などが挙げられる。
本発明の薬剤収納容器(8)は、ヌメリ取り剤(9)の質量が10gの場合、その容量は好ましくは10ml~50mlであり、この量であればヌメリ取り剤(9)が溶解して十分な薬液濃度になる。
前記排水流入口(15)の位置は、排水を流入させることができる位置である限り特に制限されないが、前記薬剤収納容器(8)の上面部、側面上部に設けることができる。また、前記排水流入口(15)は前記薬剤収納容器(8)の下部又は底面にあってもよく、その場合は流入した排水が前記薬剤溶解液流出口(16)からすぐに抜けないで容器内に留まり徐々に流出できる構造を容器内に有していればよい。たとえば、前記薬剤収納容器(8)内に、前記排水流入口(15)と前記薬剤溶解液流出口(16)の位置の間に上面に隙間のある隔壁(11)を設けることにより可能である。
前記排水流入口(15)の大きさは特に制限されないが、排水に含まれる繊維くず等の前記薬剤収納容器(8)への流入を防ぐために、直径2mm~45mm程度が好ましく、直径5mm~25mm程度がより好ましい。
前記薬剤溶解液流出口(16)は排水を流出させることができる位置である限り特に制限されないが、前記薬剤収納容器(8)の底面、側面下部等に設けることができる。
前記薬剤溶解液流出口(16)には、薬剤溶解液を徐々に流出させるための手段が設けられている。前記手段としては、例えば、前記薬剤溶解液流出口(16)の大きさを制御することや、前記薬剤溶解液流出口(16)の前に各種スポンジ等の多孔質体やフィルター等を設置することが挙げられる。
前記薬剤溶解液流出口(16)には、薬剤溶解液を徐々に流出させるための手段が設けられている。前記手段としては、例えば、前記薬剤溶解液流出口(16)の大きさを制御することや、前記薬剤溶解液流出口(16)の前に各種スポンジ等の多孔質体やフィルター等を設置することが挙げられる。
前記薬剤溶解液流出口(16)の大きさとしては、薬剤溶解液の流出を効果的に制御するため、直径2mm~45mm程度が好ましく、直径5mm~25mm程度がより好ましい。
薬剤溶解液の流量を制御するために前記薬剤収納容器(8)内の薬剤溶解液流出口(16)を塞ぐような位置に多孔質体(14)を有する。前記多孔質体(14)は、細孔が多数有する物質であれば特に素材を限定する必要はないが、ポリエチレン、ポリプロピレン、ポリスチレン、ポリメタクリル酸メチル等の樹脂製多孔質体、ウレタンスポンジ、天然スポンジ、ゴムスポンジ等の樹脂製スポンジ、活性炭、ゼオライト、セラミックス等を例示することができ、薬剤溶解液の流量を制御するためのフィルターとしては、濾布、濾紙等を例示することができる。好ましくは、樹脂製多孔質体、ウレタンスポンジである。
前記多孔質体(14)としては、特に限定されるものではないが、好ましくは、密度が5~200kg/m3であり、さらに好ましくは10~150kg/m3である。同じ材質であれば、密度が高い方が流出速度を遅くすることができる。または硬さは特に限定されるものではなく、様々な測定方法が存在し、デュロメーター硬さ、国際ゴム硬さ(IRHD)、ASKER-C等の測定方法が知られている。硬さは10~200Nであり、さらに好ましくは90~180Nであり、ASKER-Cの測定方法では硬度(ASKER-C)は1~100であり、好ましくは3~30である。同じ材質であれば、硬さが硬い方が流出速度を遅くすることができる。
さらに前記多孔質体(14)は、耐光性、伸縮性、高反発性、高弾性、静電防止、高強度、抗菌性、耐溶剤性等の機能を有していた方がよく、好ましくは洗剤等の影響により硬化しない耐溶剤性を有しているものである。
薬剤収納容器(8)からの薬剤溶解液の流出速度としては、0.1~10ml/分が好ましく、0.5~2.0ml/分がより好ましい。
薬剤溶解液の流量を制御するために前記薬剤収納容器(8)内の薬剤溶解液流出口(16)を塞ぐような位置に多孔質体(14)を有する。前記多孔質体(14)は、細孔が多数有する物質であれば特に素材を限定する必要はないが、ポリエチレン、ポリプロピレン、ポリスチレン、ポリメタクリル酸メチル等の樹脂製多孔質体、ウレタンスポンジ、天然スポンジ、ゴムスポンジ等の樹脂製スポンジ、活性炭、ゼオライト、セラミックス等を例示することができ、薬剤溶解液の流量を制御するためのフィルターとしては、濾布、濾紙等を例示することができる。好ましくは、樹脂製多孔質体、ウレタンスポンジである。
前記多孔質体(14)としては、特に限定されるものではないが、好ましくは、密度が5~200kg/m3であり、さらに好ましくは10~150kg/m3である。同じ材質であれば、密度が高い方が流出速度を遅くすることができる。または硬さは特に限定されるものではなく、様々な測定方法が存在し、デュロメーター硬さ、国際ゴム硬さ(IRHD)、ASKER-C等の測定方法が知られている。硬さは10~200Nであり、さらに好ましくは90~180Nであり、ASKER-Cの測定方法では硬度(ASKER-C)は1~100であり、好ましくは3~30である。同じ材質であれば、硬さが硬い方が流出速度を遅くすることができる。
さらに前記多孔質体(14)は、耐光性、伸縮性、高反発性、高弾性、静電防止、高強度、抗菌性、耐溶剤性等の機能を有していた方がよく、好ましくは洗剤等の影響により硬化しない耐溶剤性を有しているものである。
薬剤収納容器(8)からの薬剤溶解液の流出速度としては、0.1~10ml/分が好ましく、0.5~2.0ml/分がより好ましい。
また、前記排水流入口(15)と前記薬剤溶解液流出口(16)は、同じであってもよい。その場合、排水流入口兼薬剤溶解液流出口には、薬剤溶解液を徐々に流出させるための手段が設けられている。具体的には、1~500分間で薬剤溶解液を流出させ、さらに好ましくは、5~100分間で流出させる。
本発明の薬剤収納容器(8)には、排水の流入、及び薬剤溶解液の流出のために、1個以上の空気穴を設けることができるが、流入口及び/又は流出口が空気穴としての機能を果たすこともできる。
本発明の薬剤収納容器(8)には、固形又は粉体の薬剤が収納されている。
また、前記薬剤が排水等に溶解した液を「薬剤溶解液」と呼ぶ。
用いられる薬剤としては、ヌメリを防除できる薬剤であれば特に制限されない。公知のヌメリ取り剤(9)としては、塩素系酸化剤のさらし粉や、非塩素系酸化剤の過炭酸ナトリウム等が挙げられるが、安全性や取扱い性、適度な溶解性を有する固形薬剤が好ましい。
また、前記薬剤が排水等に溶解した液を「薬剤溶解液」と呼ぶ。
用いられる薬剤としては、ヌメリを防除できる薬剤であれば特に制限されない。公知のヌメリ取り剤(9)としては、塩素系酸化剤のさらし粉や、非塩素系酸化剤の過炭酸ナトリウム等が挙げられるが、安全性や取扱い性、適度な溶解性を有する固形薬剤が好ましい。
前記固形薬剤として、例えば、特開2000-327509号公報に記載の固形薬剤を挙げることができる。具体的には、5-クロロ-2-メチル-4-イソチアゾリン-3-オン等の抗菌剤とテトラキスフェノ-ル類等の多分子系ホスト化合物とからなる包接化合物等の非さらし粉系抗菌剤と、乳糖、造粒した乳糖(例えば、乳糖グラニュー、フロイント産業株式会社製)、硫酸カルシウム2水和物、硫酸カルシウム0.5水和物、アセト酢酸アニリド、アセト酢酸-o-トルイダイド、アセト酢酸-p-トルイダイド、アセト酢酸-o-アニシダイド等から選ばれた1種又は2種以上の基材とを加圧成形してなることを特徴とするヌメリ防除剤である。
前記非さらし粉系抗菌剤としては、その使用時に酸性物質等と反応して塩素ガスを発生しないものであればどのようなものでも使用することができ、例えば、一般的な防黴剤又は抗細菌剤として知られている化合物及び抗菌作用を有するとして知られている天然精油類等を例示することができる。防黴剤又は抗細菌剤としては、例えば、5-クロロ-2-メチル-4-イソチアゾリン-3-オン、2-メチル-4-イソチアゾリン-3-オン、4,5-ジクロロ-3-n-オクチル-イソチアゾリン-3-オン、1,2-ベンズイソチアゾリン-3-オン、2-メトキシカルボニルベンズイミダゾール、2,3,5,6-テトラクロロ-4-メタンスルホニルピリジン、2-チオシアノメチルチオベンゾチアゾール、2,2-ジチオ-ビス-(ピリジン-1-オキサイド)、3,3,4,4-テトラハイドロチオフェン-1,1-ジオキサイド、4,5-ジクロロ-1,2-ジチオラン-3-オン、5-クロロ-4-フェニル-1,2-ジチオラン-3-オン、N-メチルピロリドン、フェニル-(2-シアノ-2-クロロビニル)スルホン、メチレンビスチオシアネート、2-ブロモ-2-ニトロプロパン-1,3-ジオール、2,2-ジブロモ-2-エタノール、2-ブロモ-4′-ヒドロキシアセトフェノン、ジブロモニトリルプロピオンアミド、2-ブロモ-2-ブロモメチルグルタルニトリル、過炭酸ナトリウム、過硫酸カリウム、過ほう酸ナトリウム、オルトフェニルフェノール、ジフェニル、2-イソプロピル-5-メチルフェノール、パラクロロメタキシレノール、パラヒドロキシ安息香酸n-ブチル、パラヒドロキシ安息香酸エチル、パラヒドロキシ安息香酸メチル、塩化ベンザルコニウム、塩化ベンゼトニウム、塩酸クロロへキシジン、グルコン酸クロロヘキシジン、2-ピリジンチオール-1-オキサイド、2-ピリジンチオール-1-オキシド亜鉛塩、2-ピリジンチオール-1-オキシドナトリウム、N,N′-ヘキサメチレンビス(4-カルバモイル-1-デシルピリジニウムブロマイド)、4,4′-(テトラメチレンジアミノ)ビス(1-デシルピリジニウムブロマイド)等を具体的に挙げることができる。
また、天然精油類としては、例えば、シネオール、ヒノキチオール、メントール、テルピネオール、ボルネオール、ノポール、シトラール、シトロネラール、シトロネロール、ゲラニオール、リナロール、ジメチルオクタノール、チモール等を例示することができる。
さらに、非さらし粉系抗菌剤として、ヨード系抗菌剤も例示することができ、その中でも特に固体のものが望ましい。ヨード系抗菌剤としては、例えば、2,3,3-トリヨードアリルアルコール類、2,3,3-トリヨードアリルエーテル類、2,3,3-トリヨードアリルアゾール類、3-ヨード-2-プロパルギルブチルカルバミン酸、4-クロロフェニル(3-ヨードプロパルギル)ホルマール、ヨードプロパルギルアゾール類、ジヨードメチルパラトリルスルホン、ポビドンヨード、ベンジルヨード酢酸エステル及びパラニトロベンジルヨード酢酸エステルを挙げることができる。
これら非さらし粉系抗菌剤は、単独又は2種以上混合して使用することができる。また、これら非さらし粉系抗菌剤は、多分子系ホスト化合物のゲスト化合物とすることができ、例えば、2-ブロモ-2-ニトロプロパン-1,3-ジオール、5-クロロ-2-メチル-4-イソチアゾリン-3-オン等をゲスト化合物として包接化合物を形成させ、これらを非さらし粉系抗菌剤として使用することができる。
非さらし粉系抗菌剤とともに使用される基材は、燐酸水素カルシウム2水和物、燐酸3カルシウム無水物、燐酸水素マグネシウム3水和物、燐酸水素マグネシウム8水和物、乳糖、バニリン、クエン酸カルシウム4水和物、硫酸カルシウム2水和物、硫酸カルシウム0.5水和物、アセト酢酸アニリド、アセト酢酸-o-トルイダイド、アセト酢酸-p-トルイダイド、アセト酢酸-o-アニシダイド、ソルビトール、アルキルソルビタンエステル(HLB14以下)、グリセリンモノ脂肪酸エステル等の非イオン界面活性剤、蔗糖脂肪酸エステル(HLB14以下)から選ばれ、これらは、単独で使用することも、あるいは2種以上混合して使用することもできるが、加圧形成した時の打錠性、水に対する溶解性、崩壊性、抗菌剤の安定性への影響を考慮して決定することが望ましい。
また、基材としては、中性の物質であり、次亜塩素酸を含む市販の洗浄剤との混合により塩素ガスの発生を増加させることがないものが好ましい。そしてまた、特に非さらし粉系抗菌剤として、包接化合物を用いる場合は、ソルビトール、乳糖、アセト酢酸-o-トルイダイド、硫酸カルシウム水和物が好ましい。さらに、基材として硫酸カルシウムを用いる場合、成形性や溶解性を容易にコントロールすることができる点からして硫酸カルシウム0.5水和物が好ましく、硫酸カルシウム0.5水和物の中でも、常圧焼成により製造されるβ型のものが、加圧焼成することにより製造されるα型のものよりも、吸水による成形体の型崩れを起こしにくい点で好ましく、このβ型の硫酸カルシウム0.5水和物を用いる場合は、乳糖と併用することが前記成形性や溶解性のコントロールの点でより好ましい。
多分子系ホスト化合物とは、ゲストとなる抗菌剤と水素結合等の分子間力により相互作用を持ち、規則的配列を有する、結晶性錯体(包接化合物)を形成する化合物をいい、前記の性質を有する化合物であれば特に制限されないが、例えば以下の化合物を例示することができる。
(1)テトラキスフェノ-ル類
(2)1,1,6,6-テトラフェニル-2,4-ヘキサジイン-1,6-ジオール
(3)1,6-ビス(2-クロロフェニル)-1,6-ジフェニルヘキサン-2,4-ジイン-1,6-ジオール
(4)1,1,4,4-テトラフェニル-2-ブチン-1,4-ジオール
(5)2,5-ビス(2,4-ジメチルフェニル)ハイドロキノン
(6)1,1-ビス(2,4-ジメチルフェニル)-2-プロピン-1-オール
(7)1,1,2,2-テトラフェニルエタン-1,2-ジオール
(8)1,1′-ビ-2-ナフトール
(9)9,10-ジフェニル-9,10-ジヒドロキシアントラセン
(10)1,1,6,6-テトラ(2,4-ジメチルフェニル)-2,4-ヘキサジイン-1,6-ジオール
(11)9,10-ビス(4-メチルフェニル)-9,10-ジヒドロキシアントラセン
(12)1,1-ビス(4-ヒドロキシフェニル)シクロヘキサン
(13)N,N,N′,N′-テトラキス(シクロヘキシル)-(1,1′-ビフェニル)-2,2′-ジカルボキシアミド
(14)4,4′-スルホニルビスフェノール
(15)4,4′-ブチリデンビス(3-メチル-6-tert-ブチルフェノール)
(16)2,2′-メチレンビス(4-メチル-6-tert-ブチルフェノール)
(17)4,4′-チオビス(4-クロロフェノール)
(18)2,2′-メチレンビス(4-クロロフェノール)
(19)デオキシコール酸
(20)コール酸
(21)α,α,α′,α′-テトラフェニル-1,1′-ビフェニル-2,2′-ジメタノール
(22)t-ブチルヒドロキノン
(23)2,5-ジ-tert-ブチルヒドロキノン
(24)顆粒状コーンスターチ
(25)1,4-ジアザビシクロ-(2,2,2)-オクタン
(1)テトラキスフェノ-ル類
(2)1,1,6,6-テトラフェニル-2,4-ヘキサジイン-1,6-ジオール
(3)1,6-ビス(2-クロロフェニル)-1,6-ジフェニルヘキサン-2,4-ジイン-1,6-ジオール
(4)1,1,4,4-テトラフェニル-2-ブチン-1,4-ジオール
(5)2,5-ビス(2,4-ジメチルフェニル)ハイドロキノン
(6)1,1-ビス(2,4-ジメチルフェニル)-2-プロピン-1-オール
(7)1,1,2,2-テトラフェニルエタン-1,2-ジオール
(8)1,1′-ビ-2-ナフトール
(9)9,10-ジフェニル-9,10-ジヒドロキシアントラセン
(10)1,1,6,6-テトラ(2,4-ジメチルフェニル)-2,4-ヘキサジイン-1,6-ジオール
(11)9,10-ビス(4-メチルフェニル)-9,10-ジヒドロキシアントラセン
(12)1,1-ビス(4-ヒドロキシフェニル)シクロヘキサン
(13)N,N,N′,N′-テトラキス(シクロヘキシル)-(1,1′-ビフェニル)-2,2′-ジカルボキシアミド
(14)4,4′-スルホニルビスフェノール
(15)4,4′-ブチリデンビス(3-メチル-6-tert-ブチルフェノール)
(16)2,2′-メチレンビス(4-メチル-6-tert-ブチルフェノール)
(17)4,4′-チオビス(4-クロロフェノール)
(18)2,2′-メチレンビス(4-クロロフェノール)
(19)デオキシコール酸
(20)コール酸
(21)α,α,α′,α′-テトラフェニル-1,1′-ビフェニル-2,2′-ジメタノール
(22)t-ブチルヒドロキノン
(23)2,5-ジ-tert-ブチルヒドロキノン
(24)顆粒状コーンスターチ
(25)1,4-ジアザビシクロ-(2,2,2)-オクタン
前記多分子系ホスト化合物におけるテトラキスフェノ-ル類としては、例えば、1,1,2,2-テトラキス(4-ヒドロキシフェニル)エタン、1,1,2,2-テトラキス(3-フルオロ-4-ヒドロキシフェニル)エタン、1,1,2,2-テトラキス(3-クロロ-4-ヒドロキシフェニル)エタン、1,1,2,2-テトラキス(3-メチル-4-ヒドロキシフェニル)エタン、1,1,2,2-テトラキス(3-メトキシ-4-ヒドロキシフェニル)エタン、1,1,2,2-テトラキス(3,5-ジメチル-4-ヒドロキシフェニル)エタン、1,1,3,3-テトラキス(4-ヒドロキシフェニル)プロパン、1,1,3,3-テトラキス(3-フルオロ-4-ヒドロキシフェニル)プロパン、1,1,3,3-テトラキス(3-クロロ-4-ヒドロキシフェニル)プロパン、1,1,3,3-テトラキス(3-メチル-4-ヒドロキシフェニル)プロパン、1,1,3,3-テトラキス(3-メトキシ-4-ヒドロキシフェニル)プロパン、1,1,3,3-テトラキス(3,5-ジメチル-4-ヒドロキシフェニル)プロパン、1,1,4,4-テトラキス(4-ヒドロキシフェニル)ブタン、1,1,4,4-テトラキス(3-フルオロ-4-ヒドロキシフェニル)ブタン、1,1,4,4-テトラキス(3-クロロ-4-ヒドロキシフェニル)ブタン、1,1,4,4-テトラキス(3-メチル-4-ヒドロキシフェニル)ブタン、1,1,4,4-テトラキス(3-メトキシ-4-ヒドロキシフェニル)ブタン、1,1,4,4-テトラキス(3,5-ジメチル-4-ヒドロキシフェニル)ブタン、1,1,5,5-テトラキス(4-ヒドロキシフェニル)ペンタン、1,1,5,5-テトラキス(3-フルオロ-4-ヒドロキシフェニル)ペンタン、1,1,5,5-テトラキス(3-クロロ-4-ヒドロキシフェニル)ペンタン、1,1,5,5-テトラキス(3-メチル-4-ヒドロキシフェニル)ペンタン、1,1,5,5-テトラキス(3-メトキシ-4-ヒドロキシフェニル)ペンタン、1,1,5,5-テトラキス(3,5-ジメチル-4-ヒドロキシフェニル)ペンタン等テトラキス(ヒドロキシフェニル)アルカン類を具体的に例示することができる。
本発明に使用される包接化合物は、通常、ゲストとなる非さらし粉系抗菌剤とホスト化合物とを、場合によっては水あるいは有機溶媒存在下に、常温~100℃で数分間~数時間攪拌して反応させることにより容易に得られる。
本発明の錠剤は、ヌメリ取りに用いられる薬剤で製剤化できる場合は薬剤単独で用いられるが、基材を用いて製剤化した方が好ましい。基材を使用した場合、非さらし粉系抗菌剤と基材との混合割合は、非さらし粉系抗菌剤1~99重量部、基材99~1重量部の間で任意に混合比率を変化させることができるが、好ましくは非さらし粉系抗菌剤5~50重量部、基材95~50重量部である。また、非さらし粉系抗菌剤として包接化合物を用いる場合、該包接化合物2~20重量部、基材98~80重量部の混合割合が好ましい。
基材としては、賦形剤、結合剤、溶解調整剤、滑沢剤、界面活性剤、腐食防止剤、ゲル化物、帯電防止剤、その他の機能成分等であり、公知の物を使用することができる。
前記薬剤収納容器(8)の素材としては、例えば、ゴム製、プラスチック製等が挙げられ、撥水性がよくヌメリが発生しにくいことから、プラスチック製が好ましい。また、内部に収容された薬剤の消費量を確認できるように、全部又は一部が透明又は半透明であることが好ましい。
本発明のヌメリ取り用アダプターは、前記薬剤収納容器(8)からの薬剤溶解液の流出が制御されるため、例えば洗濯機の排水のように、大量の排水が間欠的に流れるような排水管(1’)及び排水トラップ(18)のヌメリ防除に効果的である。
洗濯機では一般に、数十リットルの排水が一度に流れた後、流れが徐々に弱くなり、2~5分程度で排水が終了する。本発明のヌメリ取り用アダプターは、薬剤溶解液の流出が5分~180分、好ましくは10分~60分にわたって行われるため、薬剤溶解液が大量の排水によって洗い流されることなく、効果的に排水管(1’)及び排水トラップ(18)に拡散する。
以下、図面を参照しつつ、本発明のヌメリ取り用アダプターの実施形態について具体的に説明する。
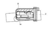
図1は、洗濯機(1)の排水管(1’)に本発明のヌメリ取り用アダプター(3)が取り付けられた概念図である。図2はその取り付け部を拡大した図面である。ヌメリ取り用アダプター(3)は、排水管取り付け部(2)と接続管(4)とを有する接続部(5’)を介して排水トラップ(18)前の排水管(1’)に取り付けられている。接続部(5’)の接続管(4)は蓋部(7)に接続している(図3及び4)。
ヌメリ取り用アダプター(3)は、アダプター本体(5)とその内部に設置された薬剤収納容器(8)を有している(図6)。図5は、蓋部(7)と薬剤収納容器保持部(6)、及び、接続部(5’)と蓋部(7)が着脱自在になっていて、分解した場合を示す。
蓋部(7)と薬剤収納容器保持部(6)との間には、小孔(10)を有する隔壁(11)が設けられており、薬剤収納容器保持部(6)への繊維くず等の流入を防ぐことができる(図5)。
図3に示される様に、アダプター本体(5)には、排水を流出入しやすくするため空気孔(12、13)が設けられている。空気孔(13)は排水管に繋がり、空気は排水管の中に抜けるようになっている。
図6に示される様に、薬剤収納容器保持部(6)には、薬剤収納容器保持枠(図示されていない)が設けられ、ここに薬剤収納容器(8)を嵌め込んで固定する。
また、薬剤収納容器(8)には、排水流入口(15)と薬剤溶解液流出口(16)が設けられ、薬剤溶解液流出口(16)の上には薬剤溶解液流出口を塞ぐように直方体形状のスポンジ(14)が設けられている(図7及び8)。
また、薬剤収納容器(8)には空気孔(17)も設けられている。内部には、固形のヌメリ取り剤(9)が収納されている。
図1は、洗濯機(1)の排水管(1’)に本発明のヌメリ取り用アダプター(3)が取り付けられた概念図である。図2はその取り付け部を拡大した図面である。ヌメリ取り用アダプター(3)は、排水管取り付け部(2)と接続管(4)とを有する接続部(5’)を介して排水トラップ(18)前の排水管(1’)に取り付けられている。接続部(5’)の接続管(4)は蓋部(7)に接続している(図3及び4)。
ヌメリ取り用アダプター(3)は、アダプター本体(5)とその内部に設置された薬剤収納容器(8)を有している(図6)。図5は、蓋部(7)と薬剤収納容器保持部(6)、及び、接続部(5’)と蓋部(7)が着脱自在になっていて、分解した場合を示す。
蓋部(7)と薬剤収納容器保持部(6)との間には、小孔(10)を有する隔壁(11)が設けられており、薬剤収納容器保持部(6)への繊維くず等の流入を防ぐことができる(図5)。
図3に示される様に、アダプター本体(5)には、排水を流出入しやすくするため空気孔(12、13)が設けられている。空気孔(13)は排水管に繋がり、空気は排水管の中に抜けるようになっている。
図6に示される様に、薬剤収納容器保持部(6)には、薬剤収納容器保持枠(図示されていない)が設けられ、ここに薬剤収納容器(8)を嵌め込んで固定する。
また、薬剤収納容器(8)には、排水流入口(15)と薬剤溶解液流出口(16)が設けられ、薬剤溶解液流出口(16)の上には薬剤溶解液流出口を塞ぐように直方体形状のスポンジ(14)が設けられている(図7及び8)。
また、薬剤収納容器(8)には空気孔(17)も設けられている。内部には、固形のヌメリ取り剤(9)が収納されている。
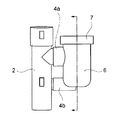
また本発明の他の実施態様について説明する(図9~15)。
ヌメリ取り用アダプター(3)は、排水管取り付け部(2)と接続管(4)とを有する接続部(5’)を介して排水トラップ(18)前の排水管(1’)に取り付けられている点は、図3及び4の場合と同じであるが、接続部(5’)の接続管は流入用接続管(4a)と排出用接続管(4b)を有して、これらの接続管は薬剤収納容器保持部(6)に接続している(図9及び10)。
ヌメリ取り用アダプター(3)は、アダプター本体(5)とその内部に設置された薬剤収納容器(8)を有している(図12)。図11は、蓋部(7)と薬剤収納容器保持部(6)、及び、接続部(5’)と薬剤収納容器保持部(6)が着脱自在になっていて、分解した場合を示す。
図12に示される様に、薬剤収納容器保持部(6)には、薬剤収納容器保持枠が設けられ、ここに薬剤収納容器(8)を嵌め込んで固定する。
また、薬剤収納容器(8)には、排水流入口(15)と薬剤溶解液流出口(16)が設けられ、薬剤溶解液流出口(16)の上には薬剤溶解液流出口を塞ぐように直方体形状の多孔質体(14)が設けられている(図13~15)。
流入用接続管(4a)は、薬剤収納容器(8)の側面部に設けられた排水流入口(15)とほぼ対応する位置に設けられ、排出用接続管(4b)は、薬剤収納容器(8)に設けられた排水流入口(15)とほぼ対応する位置に設けられている。
また、薬剤収納容器(8)には空気孔(17)も設けられている。内部には、固形のヌメリ取り剤(9)が収納されている。
ヌメリ取り用アダプター(3)は、排水管取り付け部(2)と接続管(4)とを有する接続部(5’)を介して排水トラップ(18)前の排水管(1’)に取り付けられている点は、図3及び4の場合と同じであるが、接続部(5’)の接続管は流入用接続管(4a)と排出用接続管(4b)を有して、これらの接続管は薬剤収納容器保持部(6)に接続している(図9及び10)。
ヌメリ取り用アダプター(3)は、アダプター本体(5)とその内部に設置された薬剤収納容器(8)を有している(図12)。図11は、蓋部(7)と薬剤収納容器保持部(6)、及び、接続部(5’)と薬剤収納容器保持部(6)が着脱自在になっていて、分解した場合を示す。
図12に示される様に、薬剤収納容器保持部(6)には、薬剤収納容器保持枠が設けられ、ここに薬剤収納容器(8)を嵌め込んで固定する。
また、薬剤収納容器(8)には、排水流入口(15)と薬剤溶解液流出口(16)が設けられ、薬剤溶解液流出口(16)の上には薬剤溶解液流出口を塞ぐように直方体形状の多孔質体(14)が設けられている(図13~15)。
流入用接続管(4a)は、薬剤収納容器(8)の側面部に設けられた排水流入口(15)とほぼ対応する位置に設けられ、排出用接続管(4b)は、薬剤収納容器(8)に設けられた排水流入口(15)とほぼ対応する位置に設けられている。
また、薬剤収納容器(8)には空気孔(17)も設けられている。内部には、固形のヌメリ取り剤(9)が収納されている。
(使用方法)
本発明のヌメリ取り用アダプターの使用方法について以下に説明する。
以下に本発明のアダプター本体を洗濯機の排水ホースと排水トラップのホースジョイント間に介在させるものとして説明するが、本発明のヌメリ取り用アダプターは、例えば家庭用の洗面台や、皿洗い機、シンクの排水ホースと排水トラップの間に介在して利用することができる。
本発明のヌメリ取り用アダプターの使用方法について以下に説明する。
以下に本発明のアダプター本体を洗濯機の排水ホースと排水トラップのホースジョイント間に介在させるものとして説明するが、本発明のヌメリ取り用アダプターは、例えば家庭用の洗面台や、皿洗い機、シンクの排水ホースと排水トラップの間に介在して利用することができる。
洗濯機から流れ出た排水は、排水管を通って排出される。排水の一部は、排水トラップ前の排水管の途中に取り付けられたヌメリ取り用アダプターにつながる接続部を通ってヌメリ取り用アダプター内に流入する。流入した排水は、アダプター内を満たし、やがて、内部に設置された薬剤収納容器内の排水流入口から流れ込み、容器内を満たす。
排水が終わった後、アダプター内の排水はアダプターから接続管を通って排水管に流出するが、薬剤収納容器内の排水は、薬剤溶解液流出口の上に設けられた直方体形状のスポンジなどにより流出が抑制されているため、すぐには流出されない。薬剤収納容器内に排水が留まっている間に、固形又は粉状のヌメリ取り剤は溶解する。ヌメリ取り剤は一度にすべての薬剤が溶けないように成型されているか、溶解度が調整されているため、繰り返し使用することができる。
ヌメリ取り剤の溶けた薬剤溶解液は、時間の経過と共に、スポンジ等を通って徐々に流出し、接続管を通して排水管に流出する。流出した薬剤溶解液は徐々に排水管の壁面を流れ落ちて、排水管、ホースジョイント、排水トラップなどの壁面等を濡らすため、壁面などにおけるヌメリの発生を防止することができ、又、既に発生したヌメリを取ることができる。
排水が終わった後、アダプター内の排水はアダプターから接続管を通って排水管に流出するが、薬剤収納容器内の排水は、薬剤溶解液流出口の上に設けられた直方体形状のスポンジなどにより流出が抑制されているため、すぐには流出されない。薬剤収納容器内に排水が留まっている間に、固形又は粉状のヌメリ取り剤は溶解する。ヌメリ取り剤は一度にすべての薬剤が溶けないように成型されているか、溶解度が調整されているため、繰り返し使用することができる。
ヌメリ取り剤の溶けた薬剤溶解液は、時間の経過と共に、スポンジ等を通って徐々に流出し、接続管を通して排水管に流出する。流出した薬剤溶解液は徐々に排水管の壁面を流れ落ちて、排水管、ホースジョイント、排水トラップなどの壁面等を濡らすため、壁面などにおけるヌメリの発生を防止することができ、又、既に発生したヌメリを取ることができる。
[試験]
以下に本発明のヌメリ取り用アダプターを洗濯機の排水管に取り付けて使用した試験例を記載する。
以下に本発明のヌメリ取り用アダプターを洗濯機の排水管に取り付けて使用した試験例を記載する。
(薬剤の調製)
第1表に示される配合割合の各混合物から加圧成形により、直径30mmの円柱状の成形物からなる各試料を調製した。第1表中、「トップビット」はゲスト化合物となる抗菌剤として、2モルの5-クロロ-2-メチル-4-イソチアゾリン-3-オン(CMI)と、多分子系ホスト化合物として、1モルの1,1,2,2-テトラキス(4-ヒドロキシフェニル)エタンとの反応により得られた包接化合物を表す。
第1表に示される配合割合の各混合物から加圧成形により、直径30mmの円柱状の成形物からなる各試料を調製した。第1表中、「トップビット」はゲスト化合物となる抗菌剤として、2モルの5-クロロ-2-メチル-4-イソチアゾリン-3-オン(CMI)と、多分子系ホスト化合物として、1モルの1,1,2,2-テトラキス(4-ヒドロキシフェニル)エタンとの反応により得られた包接化合物を表す。
(実施例1~3)
洗濯機と排水トラップ間に模擬洗濯機排水管を接続したものを用意した。前記薬剤調製例1の薬剤を3種のウレタンスポンジ(有限会社豊橋ウレタン社製)を薬剤溶解液流出口に設けた図7に示す薬剤収納容器に収納し、図3に示すアダプター本体に収納した後、該アダプター本体を該模擬洗濯機排水管に接続した。その後、洗濯機に布シーツ8kgを入れ、洗剤を使用せず、水72Lを使用するようにセットし洗濯を行なった。この試験を1日18回、10日間(計180回)続け、180回目の洗濯終了1時間後の排水トラップに溜まった水中のCMI濃度とヌメリの状況を第2表にまとめた。
洗濯機と排水トラップ間に模擬洗濯機排水管を接続したものを用意した。前記薬剤調製例1の薬剤を3種のウレタンスポンジ(有限会社豊橋ウレタン社製)を薬剤溶解液流出口に設けた図7に示す薬剤収納容器に収納し、図3に示すアダプター本体に収納した後、該アダプター本体を該模擬洗濯機排水管に接続した。その後、洗濯機に布シーツ8kgを入れ、洗剤を使用せず、水72Lを使用するようにセットし洗濯を行なった。この試験を1日18回、10日間(計180回)続け、180回目の洗濯終了1時間後の排水トラップに溜まった水中のCMI濃度とヌメリの状況を第2表にまとめた。
(実施例4)
実施例1の3種のウレタンスポンジをMAPS ST-15-200AQL(株式会社イノアックコーポレーション社製)に代え、図3に示すアダプター本体を図9に示すアダプター本体に代え、図7に示す薬剤収納容器を図13に示す薬剤収納容器に代えた以外は、実施例1と同様の操作を行なった。
実施例1の3種のウレタンスポンジをMAPS ST-15-200AQL(株式会社イノアックコーポレーション社製)に代え、図3に示すアダプター本体を図9に示すアダプター本体に代え、図7に示す薬剤収納容器を図13に示す薬剤収納容器に代えた以外は、実施例1と同様の操作を行なった。
(比較例)
実施例1の薬剤収納容器に設置されたウレタンスポンジを外した容器を用いた以外は、実施例1と同様の操作を行った。
(薬液溶出時間)
薬剤収納容器において26mlの水を排出するのに要する時間を測定した。なお、26mlとは前記実施例および比較例において使用された薬剤収納容器の容量から、錠剤およびウレタンスポンジ分の容量を除した容量である。
(CMI濃度)
模擬水を流した後、1時間後の排水トラップに溜まった水を0.45μmのフィルターで濾過し、CMI濃度を高速液体クロマトグラフィーにて定量分析を行った。
(ヌメリ状況)
排水トラップを指で触ったときのヌメリの状況を確認した。◎:全くヌメリはなかった。○:ほとんどヌメリは確認できなかった。△:特に気にするほどのヌメリは確認できなかった。×:ヌメリが確認できた。
実施例1の薬剤収納容器に設置されたウレタンスポンジを外した容器を用いた以外は、実施例1と同様の操作を行った。
(薬液溶出時間)
薬剤収納容器において26mlの水を排出するのに要する時間を測定した。なお、26mlとは前記実施例および比較例において使用された薬剤収納容器の容量から、錠剤およびウレタンスポンジ分の容量を除した容量である。
(CMI濃度)
模擬水を流した後、1時間後の排水トラップに溜まった水を0.45μmのフィルターで濾過し、CMI濃度を高速液体クロマトグラフィーにて定量分析を行った。
(ヌメリ状況)
排水トラップを指で触ったときのヌメリの状況を確認した。◎:全くヌメリはなかった。○:ほとんどヌメリは確認できなかった。△:特に気にするほどのヌメリは確認できなかった。×:ヌメリが確認できた。
(まとめ)
実施例1~4と比較例を比較すると、実施例は薬液の溶出時間が十分に長いため、排水トラップ中のヌメリを除去する薬剤濃度が十分に高かった。そのため、ヌメリは確認できなかった。
実施例1~4と比較例を比較すると、実施例は薬液の溶出時間が十分に長いため、排水トラップ中のヌメリを除去する薬剤濃度が十分に高かった。そのため、ヌメリは確認できなかった。
従来の洗濯機用ヌメリ取り容器では排水管の中に薬剤収納容器を有していたため、薬剤の交換を行いにくかったが、本発明は排水管と平行に接続したアダプター本体に薬剤収納容器が収納されているため、交換しやすい。また、薬剤収納容器ごと交換できるので直接薬剤に触る必要がないため、安全である。
従来の台所用ヌメリ取り容器では、薬液の遅溶出性がないため、洗濯機のような大量の水が流れる場合にはすぐに薬剤が溶解し不経済である。そのため、台所用ヌメリ取り容器を洗濯機の排水管に設置できたとしても本発明と同じ効果が得られない。
また、単に大量の水の一部をアダプター本体に取り入れることで、薬剤の消費を必要最小限にできたとしても、排水トラップにおいて大量の水によって希釈され、ヌメリ取り効果が十分に発揮することができない。
さらに電子式または機械的に薬液の遅溶出性を行うことができたとしても、洗濯機の排水のように繊維くずや髪の毛のようなゴミがある場合は、その動作がゴミによって不安定になる可能性が高く、長期にわたって信頼性が得られない。
以上のことにより、本発明が特に優れているのは、薬液の遅溶出性を非常に簡単な構造で成しえたことである。そのため、薬剤の種類、組成、形状は特に限定する必要がなく、また、薬剤の大きさ等を調整することで自由に交換時期を調整することができる。さらに排水トラップのヌメリを除去することでマンション等の集合住宅で行っている排水管の定期的な清掃の負担を軽減することができる。
従来の台所用ヌメリ取り容器では、薬液の遅溶出性がないため、洗濯機のような大量の水が流れる場合にはすぐに薬剤が溶解し不経済である。そのため、台所用ヌメリ取り容器を洗濯機の排水管に設置できたとしても本発明と同じ効果が得られない。
また、単に大量の水の一部をアダプター本体に取り入れることで、薬剤の消費を必要最小限にできたとしても、排水トラップにおいて大量の水によって希釈され、ヌメリ取り効果が十分に発揮することができない。
さらに電子式または機械的に薬液の遅溶出性を行うことができたとしても、洗濯機の排水のように繊維くずや髪の毛のようなゴミがある場合は、その動作がゴミによって不安定になる可能性が高く、長期にわたって信頼性が得られない。
以上のことにより、本発明が特に優れているのは、薬液の遅溶出性を非常に簡単な構造で成しえたことである。そのため、薬剤の種類、組成、形状は特に限定する必要がなく、また、薬剤の大きさ等を調整することで自由に交換時期を調整することができる。さらに排水トラップのヌメリを除去することでマンション等の集合住宅で行っている排水管の定期的な清掃の負担を軽減することができる。
1 洗濯機
1’ 排水管
2 排水管取り付け部
3 本発明のヌメリ取り用アダプター
4 接続管
4a 流入用接続管
4b 排出用接続管
5 アダプター本体
5’ 接続部
6 薬剤収納容器保持部
7 蓋部
8 薬剤収納容器
9 ヌメリ取り剤
10 小孔
11 隔壁
12、13 空気孔
14 多孔質体
15 排水流入口
16 薬剤溶解液流出口
17 空気孔
18 排水トラップ
19 固定具取り付け部
1’ 排水管
2 排水管取り付け部
3 本発明のヌメリ取り用アダプター
4 接続管
4a 流入用接続管
4b 排出用接続管
5 アダプター本体
5’ 接続部
6 薬剤収納容器保持部
7 蓋部
8 薬剤収納容器
9 ヌメリ取り剤
10 小孔
11 隔壁
12、13 空気孔
14 多孔質体
15 排水流入口
16 薬剤溶解液流出口
17 空気孔
18 排水トラップ
19 固定具取り付け部
Claims (6)
- 下記(A)、(B)及び(C)
(A)アダプター本体
(B)薬剤収納容器
(C)接続部
を有するヌメリ取り用アダプターであって、
前記ヌメリ取り用アダプターは、洗濯機又は洗面台に接続された排水管の途中に、排水の一部が迂回して流れるように接続して設置され、
前記アダプター本体と前記排水管は前記接続部で接続されていて、
前記アダプター本体は、内部に着脱自在に設置された前記薬剤収納容器を有し、
前記薬剤収納容器は、排水流入口及び薬剤溶解液流出口が設けられ、
前記薬剤溶解液流出口は薬剤溶解液を溶出させるための手段が設けられていることを特徴とするヌメリ取り用アダプター。 - 前記接続部は、下記の(D)及び(E)
(D)接続管
(E)排水管取り付け部
を有することを特徴とする請求項1に記載のヌメリ取り用アダプター。 - 前記アダプター本体及び前記薬剤収納容器に1個以上の空気穴が設けられていることを特徴とする請求項1に記載のヌメリ取り用アダプター。
- 前記アダプター本体は、下記(F)及び(G)
(F)蓋部
(G)薬剤収納容器保持部
を有し、
前記蓋部又は前記薬剤収納容器保持部が前記接続部と接続されていることを特徴とする請求項1に記載のヌメリ取り用アダプター。 - 前記接続部と前記薬剤収納容器保持部との間及び/又は前記接続部と前記蓋部との間に、下記の(H)又は(I)
(H)小孔を有する隔壁
(I)フィルター
を有することを特徴とする請求項4に記載のヌメリ取り用アダプター。 - 前記薬剤収納容器の薬剤溶解液流出口に設けられた薬剤溶解液を溶出させるための手段が、樹脂製多孔質体を用いることであることを特徴とする請求項1に記載のヌメリ取り用アダプター。
Priority Applications (2)
| Application Number | Priority Date | Filing Date | Title |
|---|---|---|---|
| CN201280031452.5A CN103781976B (zh) | 2011-07-08 | 2012-07-06 | 设于洗衣机或盥洗盆的排水管的粘液去除用转接器 |
| JP2013523818A JP5646753B2 (ja) | 2011-07-08 | 2012-07-06 | 洗濯機又は洗面台の排水管に設けるヌメリ取り用アダプター |
Applications Claiming Priority (2)
| Application Number | Priority Date | Filing Date | Title |
|---|---|---|---|
| JP2011151608 | 2011-07-08 | ||
| JP2011-151608 | 2011-07-08 |
Publications (1)
| Publication Number | Publication Date |
|---|---|
| WO2013008436A1 true WO2013008436A1 (ja) | 2013-01-17 |
Family
ID=47505740
Family Applications (1)
| Application Number | Title | Priority Date | Filing Date |
|---|---|---|---|
| PCT/JP2012/004405 Ceased WO2013008436A1 (ja) | 2011-07-08 | 2012-07-06 | 洗濯機又は洗面台の排水管に設けるヌメリ取り用アダプター |
Country Status (3)
| Country | Link |
|---|---|
| JP (1) | JP5646753B2 (ja) |
| CN (1) | CN103781976B (ja) |
| WO (1) | WO2013008436A1 (ja) |
Cited By (3)
| Publication number | Priority date | Publication date | Assignee | Title |
|---|---|---|---|---|
| JP2015134728A (ja) * | 2014-01-17 | 2015-07-27 | 日本曹達株式会社 | トラップを有する配管のヌメリ防除剤及びそれを用いた防除方法 |
| JP2018000784A (ja) * | 2016-07-07 | 2018-01-11 | 株式会社テクノテック | リント捕集器 |
| WO2024034795A1 (ko) * | 2022-08-09 | 2024-02-15 | 삼성전자주식회사 | 필터장치 및 필터장치를 갖는 의류 처리 장치 |
Citations (2)
| Publication number | Priority date | Publication date | Assignee | Title |
|---|---|---|---|---|
| JPH0328235U (ja) * | 1989-07-25 | 1991-03-20 | ||
| JP2009068192A (ja) * | 2007-09-11 | 2009-04-02 | Techno Tec:Kk | アダプター |
Family Cites Families (4)
| Publication number | Priority date | Publication date | Assignee | Title |
|---|---|---|---|---|
| JP3350752B2 (ja) * | 1996-11-22 | 2002-11-25 | キング化学株式会社 | 台所用ヌメリ取り |
| JP3421282B2 (ja) * | 1999-08-31 | 2003-06-30 | 日本曹達株式会社 | 排水口用ヌメリ取り器 |
| JP5330682B2 (ja) * | 2007-12-18 | 2013-10-30 | 宇部マテリアルズ株式会社 | ぬめりの剥離除去剤及びぬめりの剥離除去方法 |
| CN102083953B (zh) * | 2008-05-01 | 2013-03-06 | 宇部材料工业株式会社 | 粘液去除剂、粘液去除方法、以及水性粘液去除剂制备试剂盒 |
-
2012
- 2012-07-06 JP JP2013523818A patent/JP5646753B2/ja active Active
- 2012-07-06 WO PCT/JP2012/004405 patent/WO2013008436A1/ja not_active Ceased
- 2012-07-06 CN CN201280031452.5A patent/CN103781976B/zh active Active
Patent Citations (2)
| Publication number | Priority date | Publication date | Assignee | Title |
|---|---|---|---|---|
| JPH0328235U (ja) * | 1989-07-25 | 1991-03-20 | ||
| JP2009068192A (ja) * | 2007-09-11 | 2009-04-02 | Techno Tec:Kk | アダプター |
Cited By (3)
| Publication number | Priority date | Publication date | Assignee | Title |
|---|---|---|---|---|
| JP2015134728A (ja) * | 2014-01-17 | 2015-07-27 | 日本曹達株式会社 | トラップを有する配管のヌメリ防除剤及びそれを用いた防除方法 |
| JP2018000784A (ja) * | 2016-07-07 | 2018-01-11 | 株式会社テクノテック | リント捕集器 |
| WO2024034795A1 (ko) * | 2022-08-09 | 2024-02-15 | 삼성전자주식회사 | 필터장치 및 필터장치를 갖는 의류 처리 장치 |
Also Published As
| Publication number | Publication date |
|---|---|
| JPWO2013008436A1 (ja) | 2015-02-23 |
| CN103781976B (zh) | 2015-08-12 |
| JP5646753B2 (ja) | 2014-12-24 |
| CN103781976A (zh) | 2014-05-07 |
Similar Documents
| Publication | Publication Date | Title |
|---|---|---|
| EP1676478B1 (en) | Slime remover and slime preventing/removing agent | |
| JP4612297B2 (ja) | 排水口用ヌメリ取り器 | |
| JP5646753B2 (ja) | 洗濯機又は洗面台の排水管に設けるヌメリ取り用アダプター | |
| JP3578695B2 (ja) | 排水口用ヌメリ取り器 | |
| JP4647741B2 (ja) | 排水口用ヌメリ取り具 | |
| JP3958632B2 (ja) | 拡散型浴室排水口用ヌメリ取り器 | |
| JP3421282B2 (ja) | 排水口用ヌメリ取り器 | |
| JP4404601B2 (ja) | ヌメリ防除機能付流し台用排水口蓋 | |
| JP6467200B2 (ja) | 浴室排水口用ゴミ取り具 | |
| JP3862542B2 (ja) | 台所流し台の排水口用蓋 | |
| JP4104404B2 (ja) | 目皿一体固定型浴室排水口用ヌメリ取り器。 | |
| JP2005048355A (ja) | ヌメリ防除機能付き洗面台用排水栓 | |
| JP4183479B2 (ja) | 詰替え型浴室排水口用ヌメリ取り器 | |
| JP5384561B2 (ja) | ヌメリ防除剤 | |
| JP3802792B2 (ja) | 台所流し台の排水口用蓋 | |
| JP7139516B2 (ja) | ヌメリ取り具 | |
| JP4363836B2 (ja) | 装着型浴室排水口用ヌメリ取り器 | |
| JP2002266401A (ja) | 排水口用ゴミ取り具 | |
| JP2003226402A (ja) | ヌメリ防除ゴミ受け器 | |
| JP2004324314A (ja) | 洗面台用ヌメリ取り器 | |
| JP2003213755A (ja) | 目皿一体型浴室排水口用ヌメリ取り器 | |
| JP3958637B2 (ja) | 浴室排水口用ヌメリ取り器 | |
| JP2005061098A (ja) | 洗面台用ヌメリ取り具 | |
| WO2019155993A1 (ja) | ヌメリ取り具 | |
| JP2008007494A (ja) | ヌメリ防除剤 |
Legal Events
| Date | Code | Title | Description |
|---|---|---|---|
| 121 | Ep: the epo has been informed by wipo that ep was designated in this application |
Ref document number: 12811955 Country of ref document: EP Kind code of ref document: A1 |
|
| ENP | Entry into the national phase |
Ref document number: 2013523818 Country of ref document: JP Kind code of ref document: A |
|
| NENP | Non-entry into the national phase |
Ref country code: DE |
|
| 122 | Ep: pct application non-entry in european phase |
Ref document number: 12811955 Country of ref document: EP Kind code of ref document: A1 |

