USRE43856E1 - Hybrid public/private wireless network with seamless roaming - Google Patents

Hybrid public/private wireless network with seamless roaming Download PDF

Info

Publication number
USRE43856E1
USRE43856E1 US12/291,334 US29133408A USRE43856E US RE43856 E1 USRE43856 E1 US RE43856E1 US 29133408 A US29133408 A US 29133408A US RE43856 E USRE43856 E US RE43856E
Authority
US
United States
Prior art keywords
niu
mobile subscriber
home
atc
network
Prior art date
Legal status (The legal status is an assumption and is not a legal conclusion. Google has not performed a legal analysis and makes no representation as to the accuracy of the status listed.)
Expired - Fee Related, expires
Application number
US12/291,334
Inventor
Paul Berkowitz
Chauncey Shey
Jan Vancraeynest
Jose Vasconcellos
Current Assignee (The listed assignees may be inaccurate. Google has not performed a legal analysis and makes no representation or warranty as to the accuracy of the list.)
F Poszat HU LLC
Original Assignee
Tasom Mobile Transfer Co LLC
Priority date (The priority date is an assumption and is not a legal conclusion. Google has not performed a legal analysis and makes no representation as to the accuracy of the date listed.)
Filing date
Publication date
Priority claimed from US09/328,306 external-priority patent/US6868272B1/en
Application filed by Tasom Mobile Transfer Co LLC filed Critical Tasom Mobile Transfer Co LLC
Priority to US12/291,334 priority Critical patent/USRE43856E1/en
Assigned to TASOM MOBILE TRANSFER CO. LLC reassignment TASOM MOBILE TRANSFER CO. LLC ASSIGNMENT OF ASSIGNORS INTEREST (SEE DOCUMENT FOR DETAILS). Assignors: UTSTARCOM, INC.
Application granted granted Critical
Publication of USRE43856E1 publication Critical patent/USRE43856E1/en
Assigned to F. POSZAT HU, L.L.C. reassignment F. POSZAT HU, L.L.C. MERGER (SEE DOCUMENT FOR DETAILS). Assignors: TASOM MOBILE TRANSFER CO. LLC
Adjusted expiration legal-status Critical
Expired - Fee Related legal-status Critical Current

Links

Images

Classifications

    • HELECTRICITY
    • H04ELECTRIC COMMUNICATION TECHNIQUE
    • H04WWIRELESS COMMUNICATION NETWORKS
    • H04W8/00Network data management
    • H04W8/02Processing of mobility data, e.g. registration information at HLR [Home Location Register] or VLR [Visitor Location Register]; Transfer of mobility data, e.g. between HLR, VLR or external networks
    • H04W8/08Mobility data transfer
    • H04W8/12Mobility data transfer between location registers or mobility servers
    • HELECTRICITY
    • H04ELECTRIC COMMUNICATION TECHNIQUE
    • H04WWIRELESS COMMUNICATION NETWORKS
    • H04W84/00Network topologies
    • H04W84/02Hierarchically pre-organised networks, e.g. paging networks, cellular networks, WLAN [Wireless Local Area Network] or WLL [Wireless Local Loop]
    • H04W84/04Large scale networks; Deep hierarchical networks

Definitions

  • This invention relates generally to communications systems having mobile subscribers and, more particularly to wireless private branch exchange systems used together with public mobile communication systems.
  • indoor cellular systems in the prior art can either be part of private system, such as a wireless Private Branch Exchange (PBX) or they can be extensions of the public network (PSTN) to an indoor space.
  • PBX wireless Private Branch Exchange
  • PSTN public network
  • the alternate approach in the prior art for seamless in and out of building mobility involves extending the public cellular network indoors.
  • the user continues to be treated as if in the public space but the call uses private infrastructure when indoors.
  • the users' phone number and switch features and extension dialing are determined by the public cellular system and the carrier's switch, not the user's PBX (which may indeed be purely virtual). This requires the user to adopt different dialing procedures for his wireless phone than he would use for his PBX.
  • any wired phone connected to a user's PBX would not be linked to the user's wireless phone.
  • Each network interface unit in the partition consists of a plurality of Network Interface Units (NIU) connected between a wireless access subsystem (WAS) and the network's air Traffic Controller (ATC).
  • NIU may also be connected to a local exchange switch or to a PBX.
  • Each subscriber of the local exchange (LE) or any PBX is assigned a single home NIU connected to the subscriber's assigned port on the local exchange or the PBX, respectively.
  • the ATC registers when subscribers move outside the coverage area of their Home NIU. When a subscriber wants to make a call from the coverage area of a NIU different from his or her Home NIU, the A TC routes the call to the Home NIU which sets up the call to the subscriber's assigned port on the PBX or LE.
  • the ATC routes the incoming calls arriving at the Home NIU from the subscriber's assigned port on the PBX or LE to the Visited NIU where the subscriber can be reached.
  • the connection is always through the switch port assigned to the subscriber A making roaming entirely transparent to the switch (local exchange or PBX) and switch billing systems.
  • the ATC acts as a combination visited location register/home location register (VLR/HLR) and crossconnect switch between Visited NIU and Home NIU.
  • one aspect of the present invention is embodied in a communications system connecting mobile subscriber devices to at least one of a PSTN and a plurality of PBX networks comprising a plurality of network interface units coupled to one of a PSTN and a PBX network.
  • Each of the plurality of network interface units have a predetermined coverage area in which a plurality of mobile subscriber devices roam.
  • Each mobile subscriber device is assigned to one network interface unit designated a home network interface unit, and the mobile subscriber device receives a port assignment through the home network interface unit from one of the PSTN and the PBX coupled to the home network interface unit.
  • the PSTN port assignment determines the mobile subscriber device directory number
  • the PBX network port assignment determines the mobile subscriber device extension number.
  • a wireless access unit is coupled to each of the plurality of network interface units and provides wireless connection between the network interface unit and a mobile subscriber device within the coverage area of the network interface unit.
  • a programmable cross-connect device connects the plurality of network interface units and dynamically cross-connects calls between the home network interface unit of the mobile subscriber device and a visited network interface unit as part of call origination and termination process.
  • the visited network interface unit covers a geographic region within which the mobile subscriber device is roaming.
  • Another embodiment of the present invention teaches a method of providing communication services for a plurality of mobile subscriber devices and at least one of a PSTN and one of a plurality of PBX networks comprising, coupling a plurality of network interface units to one of a PSTN and a PBX network, wherein each of the plurality of network interface units have a predetermined coverage area.
  • Each of the mobile subscriber devices are assigned to only one of the plurality of network interface units considered a home network interface unit, and each of the mobile subscriber devices receive a port assignment through the home network interface unit from one of the PSTN and the PBX network coupled to the home network interface unit, wherein a wireless access unit coupled to each of the plurality of network interface units and providing wireless connection between the network interface unit and a mobile subscriber device within the coverage area of the network interface unit; and connecting a programmable cross-connect device to the plurality of network interface units and dynamically cross connecting calls between the home network interface unit of the mobile subscriber device and a visited network interface unit as part of call origination and termination process, the visited network interface unit covering a geographic region within which the mobile subscriber device is roaming.
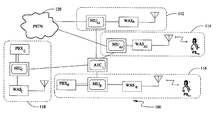
  • FIG. 1 is a block diagram showing a hybrid public/private wireless network according to the teachings of the present invention
  • FIG. 2 illustrates how the ATC of FIG. 1 routes incoming and outgoing calls for subscribers roaming outside their home network where their home NIU acts as the interface for a PSTN;
  • FIG. 3 illustrates how the ATC of FIG. 1 routes incoming and outgoing calls for subscribers roaming outside their home network where their home NIU acts as the interface for a PBX;
  • FIG. 4 is a connection diagram illustrating the mobile subscriber location registration process for a roaming subscriber, according to the present invention
  • FIG. 5 is a connection diagram illustrating the a mobile subscriber call origination process according to the present invention.
  • FIG. 6 is a connection diagram illustrating a mobile subscriber call termination process according to the present invention.
  • FIG. 7 is a block diagram illustrating an inter-NIU handover process according to the present invention.
  • FIG. 8 is a block diagram of the hybrid public/private wireless network according to a second embodiment of the present invention illustrating how inter-network capacity can be almost independent from intra-network capacity.
  • the present invention is directed to a communication system comprising a partition of multiple sub-networks (each under the coverage of a network interface unit) providing mobility to subscriber devices roaming within and across these sub-networks.
  • Each sub-network may be connected to a Private Branch Exchange or the Public Switched Telephone Network without requiring any changes to either the PBX or PSTN, and with the PBX or PSTN port assigned to a subscriber device determining the subscriber directory number and/or extension number as well as other subscriber specific features available only through the subscribers home PSTN or PBX system.
  • the sub-network connected to the PBX or PSTN port corresponding to the subscriber's directory number is the subscriber's home sub-network.
  • a programmable cross connect device provides full connectivity between all constituent sub-networks and dynamically cross connects calls between Home sub-network and Visited sub-network as part of the call origination and termination process, hence preserving all features available to a subscriber device within its home sub-network while the subscriber is roaming into another sub-network.
  • FIG. 1 is a block diagram showing a hybrid public/private wireless network 100 according to one embodiment of the present invention.
  • the hybrid public/private wireless network 100 consists of a plurality of network interface units (NIU) (also referred to as sub-networks) such as NIU A1 , NIU A2 , NIU B and NIU C .
  • NIU network interface units
  • Each NIU is coupled to either a PSTN network or a private branch exchange network (PBX).
  • PBX private branch exchange network
  • the NIU A1 and NIU A2 are coupled to the public switching network, PSTN 120 .
  • Other NIU devices, such as NIU B and NIU C are coupled to the two private branch exchange networks PBX B and PBX C respectively.
  • PBX B and PBX C are coupled to the two private branch exchange networks PBX B and PBX C respectively.
  • sub-networks interface and sub-network interface units will be used interchangeably.
  • Each NIU device is also coupled to a Wireless Access sub-system (WAS), also referred to as wireless access unit, allowing the NIU to communicate with a plurality of visiting or resident subscribers within its coverage region.
  • a programmable cross connect device referred to as an Air Traffic Controller (ATC 1 ) couples the plurality of NIU devices within a given region to each other.
  • ATC 1 Air Traffic Controller
  • ATC 1 Air Traffic Controller
  • Each network interface unit serves a different geographic region limited by the range of transmission and reception of its corresponding wireless access subsystem (WAS) to which that NIU is coupled.
  • the coverage area corresponding to each NIU is shown in FIG. 1 .
  • the shaded area 112 represents the coverage area of NIU A1 .
  • area 114 represents to the coverage area under NIU A2
  • 116 represents to the coverage area of NIU B
  • area 118 represents the coverage area under NIU C .
  • an interface device may be implemented as a computer with controllers.
  • Each NIU may include an interface board for interfacing with the WAS. In this embodiment, the interfacing may take place over an E1 link.
  • E1 is a European digital transmission format and is well known to those skilled in the art.
  • the interface between the NIU and a PSTN or PBX network may take place over an analog interface, a T1 interface or other such interfaces.
  • the interface devices are typically coupled to a class 5 switch in the PSTN.
  • each interface is located in the respective region that it serves.
  • the interfaces may be located in regions other than in the respective regions they serve. For example, the interfaces may be co-located.
  • each NIU is also coupled to a WAS.
  • NIU A1 is coupled to WAS A1 , NIU A2 to WAS A2 , NIU B to WAS B , and NIU C to WAS C .
  • a WAS may include radio port controllers coupled to radio transceivers. Radio transceivers are used to communicate with mobile subscribers. Each radio transceiver may include radio ports and appropriate transceiver circuitry.
  • Air traffic controllers couple the plurality of NIUs to each other.
  • the ATC 1 couples NIU A1 , NIU A2 , NIU B , and NIU C .
  • An ATC such as ATC 1 shown in FIG. 1 , may be implemented by dedicated circuits. In another embodiment, the ATC may be implemented by a computerized system and virtual circuits.
  • the ATC circuitry may include bearer channels and control channels.
  • the bearer circuitry provides a path for transmission of information, such as voice from a subscriber, to the correct NIU.
  • the circuitry that routes between the interfaces (e.g., ATC) includes a cross connect, which is a switch that maps various incoming and outgoing lines. In one example, an ATC may have 30 multiplexed lines.
  • the ATC circuitry may act as a controller and include an E1 interface. Typical bearer path for transmission of information may also occur over an E1 line.
  • An NIU may be capable of handling a large number of subscribers assigned to it. In one embodiment, up to 10,000 subscribers and a large number of roaming subscribers may be serviced by a single device. It would be apparent to one skilled in the art that the size and capacity of the NIUs, the ATC and sizing of the connection between the NIU devices and the ATC circuitry are dependent on the amount of roaming traffic over that particular NIU and the ATC, and the desired grade of service for such roaming traffic.
  • the mobile subscriber PS A2 is moving within the coverage area of the NIU A2 which is its home interface.
  • the mobile subscriber PS A1 is shown outside of the coverage area of its home interface, NIU A1 , and is roaming within the coverage area of a new interface device, NIU B .
  • Calls for and from PS A1 would still be routed through its home network interface unit NIU A1 coupled to its particular PSTN port within the public network PSTN 120 .
  • the routing of calls for PS A1 would be further described in FIG. 2 , and compared to the routing of non-roaming mobile subscriber NIU A2 .
  • FIG. 2 illustrates how the ATC routes incoming and outgoing calls for subscribers roaming outside their home network, where their home NIU acts as the interface for a Public-switched telephone network (PSTN).
  • PSTN Public-switched telephone network
  • the mobile subscriber PS A1 is shown to be roaming outside the coverage of its home NIU, NIU A1 .
  • Each network interface unit NIU emits a unique paging identifier through its corresponding wireless access sub-system.
  • the mobile subscriber PS A1 transmits its unique identification along with a registration request to the new NIU, NIU B in this example. Since PS A1 is not assigned to NIU B , the NIU B forwards the registration request to the ATC 1 .
  • ATC 1 If ATC 1 is aware of the mobile subscriber PS A1 , it updates its location register and forwards the registration request to NIU A1 the mobile subscriber, PS A1 's home NIU. If the ATC 1 does not recognize PS A1 , it sends the registration requests to all NIUs under its coverage such as NIU A1 , NIU A2 and NIU C as shown here but not to NIU B , the NIU originating the forwarded registration request. NIU A1 as the home NIU to which PS A1 is assigned would recognize the registration request and respond to it by sending an authentication request to the ATC who in turn forwards the response to NIU B .
  • the home NIU, NIU A1 in this example, will update its database to reflect the current location of PS A1 , and may attempt to forward incoming calls for PS A1 directly to NIU B , routed through ATC 1 .
  • each mobile subscriber may be programmed with the identity of its home NIU.
  • the current NIU may be able to direct registration requests directly to the subscribers home NIU without the need to query the ATC 1 .
  • the identity of the home NIU to which the mobile subscriber is assigned may be deduced from the mobile subscriber's unique identification number.
  • the mobile subscriber identification number may be coded so as to have a unique prefix corresponding to its home network.
  • NIU A1 When receiving an incoming call for PS A1 , its home NIU, NIU A1 in this example, will send out a page corresponding to the mobile subscriber, PS A1 in this example, via WAS A1 . NIU A1 will also send the page to the ATC 1 . Since the mobile subscriber PS A1 is roaming outside the coverage area of NIU A1 , the wireless access sub-system WAS A1 will not report a positive page acknowledgment. If ATC 1 knows about PS A1 , it will forward the page to the appropriate NIU under whose coverage PS A1 is currently located, or was most recently known to be. Otherwise, ATC 1 will forward the page to all NIUs under its coverage except the NIU originating the page, NIU A1 in this case.
  • NIU B The NIU that currently has the PS A1 under its coverage, NIU B in this example, will respond to the page.
  • ATC 1 will forward the page response to PS A1 's home NIU, NIU A1 , and establish a call path between the home NIU, NIU A1 and the visiting NIU, NIU A2 , through ATC 1 to the roaming subscriber PS A1 . Authentication and alerting will take place and the connection is established.
  • the home NIU may keep track of the location of the mobile subscriber, and thus may be able to forward the incoming call through the ATC 1 , to the appropriate NIU (NIU B in this example), under whose coverage the mobile subscriber PS A1 is located.
  • the home NIU may be able to establish a connection with its roaming mobile subscriber without querying the ATC 1 .
  • NIU B When originating a call from PS A1 while under the coverage of an NIU other than its home NIU, NIU B in this example, the mobile subscriber PS A1 will send a set-up message to NIU B . Call handling will follow the same procedure as in the registration process and the mobile subscriber's telephone call will be established through the ATC 1 and the home NIU, NIU A1 to the PSTN port.
  • the visited NIU, NIU B may be able to direct registration requests directly to the subscriber's home NIU without the need to query the ATC 1 .
  • the home NIU identification may be accomplished by deconstructing the unique mobile subscriber identification number and obtaining the part that will identify the home network.
  • the mobile subscriber identification number may have a unique prefix corresponding to the home NIU that particular device is assigned to.
  • the identity of the home NIU may be programmed into the mobile subscriber device at the time of activation.
  • the mobile subscriber PS A2 is located within the coverage area of its home NIU, NIU A2 in this example.
  • NIU A2 transmits a page through its corresponding WAS A2 .
  • the page is received by PS A2 because it is within the coverage area of WAS A2 and PS A2 responds to the page with an acknowledgment.
  • PS A2 receives the response from PS A2 , it establishes connection from the land line to the mobile wireless subscriber.
  • PS A2 When PS A2 originates a can, its home NIU, the call is still directed through NIU A2 to the appropriate receiver, the PSTN in this example.
  • FIG. 3 illustrates the roaming and non-roaming originating and receiving a call for a subscriber whose home network is a PBX system.
  • FIG. 3 illustrates how the ATC routes incoming and outgoing calls for subscribers roaming outside their home network where their home NIU acts as the interface for a Private Branch Exchange network (PBX).
  • PBX Private Branch Exchange network
  • Network Interface units usually connect to a PBX over a 2-wire analog voice frequency interface that doesn't carry any clock information.
  • the NIUs obtain the network clock from their digital connection to the ATC.
  • the ATC(s) derive their clock from the one or more NIUs connected to the PSTN over a digital signaling interface. Because all WASs are connected to the NIUs which are in turn connected to a PBX, the WASs can therefore through the ATC derive their clocks to be synchronous with the clock used by the PBX. The same applies to all WAS connected to NIU directly connected to the PSTN. Such synchronous operation of all WAS over the air interface is a necessary condition for permitting seamless handover in most digital wireless technologies.
  • the PBX can connect each subscriber port to one or more wired telephones in addition to the NIU through one or more simple 2-wire bridge taps, well known to those skilled in the art.
  • wired telephones will ring for incoming calls together with the subscriber's PS, wherever in the network the PS is roaming.
  • the subscriber may answer such wired telephone(s) if he/she is at his/her desk and chooses to use the higher-quality wired connection over the wireless connection, or the traveling subscriber may instruct the subscriber's personal assistant to answer the wired telephone after a pre-agreed upon number of rings.
  • PBX private branch exchange network
  • the mobile subscriber PS C is within the coverage area of the WAS C coupled to its home NIU, NIU C which is coupled to the PBX C . Both originating calls from PS C and incoming calls for PS C are routed through its home NIU, NIU C .
  • the mobile subscriber may choose which sub-network to preferentially access based on the mobile subscriber's mode of operation and a unique identification code (ID) periodically emitted by the WAS of each sub-network.
  • ID unique identification code
  • public mobile subscribers are preprogrammed to preferentially access WAS that emit a predefined “public” code
  • private mobile subscribers are preprogrammed to preferentially access WAS that emit a predefined “private” code as long as the signal quality from the preferentially selected WAS meets or exceeds certain minimum standards, even though the signal quality from the preferentially selected WAS may be inferior to the signal quality received from the other overlapping WAS which are not preferentially selected.
  • each subscriber can also retain the dialing plan and switch/PBX-based features of his home network, while roaming throughout the coverage area of the whole network.
  • the mobile subscriber PS B is roaming outside the coverage area of its home network NIU B .
  • NIU B When receiving an incoming call for PS B , NIU B will page the mobile subscriber, PS B through its WAS B as well as sending the page to the ATC 1 . NIU B will also send the page to the ATC 1 . Since the mobile subscriber PS B is roaming outside the coverage area of NIU B , the wireless access sub-system WAS B will not report a positive page acknowledgment. If ATC 1 knows about PS B , it will forward the page to the appropriate NIU under whose coverage PS B is currently located or was most recently known to be. Otherwise, ATC 1 will forward the page to all NIUs under its coverage except the NIU originating the page, NIU B in this case.
  • NIU A1 The NIU that currently has the PS B under its coverage, NIU A1 in this example, will respond to the page.
  • ATC 1 will forward the page response to PS B 's home NIU, NIU B , and establish a call path between the home NIU, NIU B and the visiting NIU, NIU A1 , through ATC 1 to the roaming subscriber PS B . Authentication and alerting will take place and the connection is established.
  • the mobile subscriber PS B When originating a call from PS B while under the coverage of an NIU other than its home NIU, NIU A1 in this example, the mobile subscriber PS B will send a set-up message to NIU A1 . NIU A1 will forward the set-up call through the ATC 1 to the appropriate home NIU, NIU B in this case. Call handling will follow the same procedure as in the registration process and the mobile subscriber's telephone call will be established through the ATC 1 and the home NIU, NIU A1 to the PBX port.
  • the home NIU identification may be accomplished by deconstructing the unique mobile subscriber identification number and obtaining the part that would identify the home network. For example, the mobile subscriber identification number may have a unique prefix corresponding to the home NIU that particular device is assigned to. Alternatively, the identity of the home NIU may be programmed into the mobile subscriber device at the time of activation.
  • FIG. 4 is a connection diagram illustrating the mobile subscriber location registration process for a roaming mobile subscriber, according to one embodiment of the present invention.
  • FIG. 4 has various lines representing communication with the following devices: PSTN 120 , NIU A1 , NIU B , NIU C , WAS B , ATC 1 , and PS A1 .
  • a registration message is received by the WAS B .
  • location registration is sent from subscriber PS A1 to WAS B coupled to the NIU B interface.
  • subscriber PS A1 is located in the coverage area of the WAS B , which is not the home location of subscriber PS A1 .
  • WAS B sends a message 142 to its respective interface device NIU B .
  • the location registration message 140 is the first communication the mobile subscriber PS A1 has had with the NIU B .
  • the network interface device NIU B does not recognize subscriber PS A1 and thus it sends a message 144 to the ATC 1 .
  • ATC 1 queries other interface devices including NIU A1 (line 146 ) to determine the home location for subscriber PS A1 . No inquiry is sent to NIU B since the location registration request was forwarded by NIU B .
  • subscriber PS A1 belongs to interface device NIU A1 .
  • NIU A1 responds (authorization request 148 ).
  • ATC 1 forwards this response to the NIU B (line 150 ).
  • NIU B forwards this authentication request to its corresponding WAS B (line 152 ), which in turn transmits the authentication request 154 to the roaming mobile subscriber PS A1 .
  • An authentication response 156 is sent back from the mobile subscriber PS A1 to the WAS B who in turns forwards the authentication response to the NIU B (line 160 ).
  • NIU B communicates this authentication response to the circuitry ATC 1 (line 162 ).
  • the authorization response is then sent from circuitry ATC 1 back to interface device NIU A1 .
  • NIU A1 determines whether the subscriber PS A1 should be authenticated, and can then make future determinations based on this authentication.
  • FIG. 5 is a connection diagram illustrating the roaming mobile subscriber originating call process according to the teachings of the present invention.
  • the mobile subscriber PS A1 is already registered at the particular location and that the circuitry ATC 1 knows that subscriber PS A1 belongs to interface device NIU A1 .
  • the roaming mobile subscriber PS A1 is located in the coverage area of interface device NIU B .
  • the subscriber PS A1 sends a set-up request 166 to the WAS B , under whose area of coverage it is currently located. This request is forwarded to interface device NIU B (line 168 ).
  • NIU C signals circuitry ATC 1 (line 170 ).
  • circuitry ATC 1 Since ATC 1 knows that subscriber PS A1 is assigned to interface device NIU A1 , circuitry ATC 1 signals NIU A1 (line 172 ). NIU A1 in turn makes an authorization request (line 174 ) to circuitry ATC 1 . In response, circuitry ATC 1 forwards the request to interface device NIU B (line 176 ). In turn, NIU B forwards the request (line 178 ) to its corresponding WAS B for transmission (line 180 ) to the roaming mobile subscriber PS A1 . The roaming subscriber PS A1 responds to the authentication request by transmitting an authentication response 182 . WAS B forwards this response to its corresponding network interface unit NIU B (line 184 ).
  • NIU B in turn forwards this response to circuitry ATC 1 (line 186 ) which forwards it to NIU A1 , PS A1 's home network interface unit (line 188 ). If the authentication result is good, then NIU A1 makes a set-up request to the PSTN 120 (line 190 ).
  • a connect response 192 is received from PSTN 120 by the network interface device NIU A1 .
  • the PSTN 120 makes necessary set-up in order to connect the message back.
  • the connect message is then forwarded to circuitry ATC 1 (line 194 ) from NIU A1 .
  • This response is forwarded from circuitry ATC 1 to interface device NIU B (line 196 ) and subsequently to WAS B (line 198 ) and on to subscriber PS A1 (line 200 ).
  • a communications connection 202 is then set up between subscriber PS A1 and PSTN 120 .
  • the communications path includes subscriber PSA, WAS B , NIU B , circuitry ATC 1 , NIU A1 , and PSTN 120 .
  • a call path is established between a subscriber (PS A1 ) and the public-switched telephone network (PSTN 120 ) by way of the subscriber's home interface device (NIU A1 ).
  • the same process may apply to call originating from a mobile subscriber through a private branch exchange switch.
  • FIG. 6 is a connection diagram illustrating the mobile subscriber terminating call process according to the teachings of the present invention. Shown here is communication between entities: public switched to telephone network PSTN 120 , interface device NIU A1 , network interface device NIU B , network interface device NIU C , wireless access sub-system, circuitry ATC 1 , and subscriber PS A1 Alternatively, the same process may apply if a PBX is an element of the communication loop rather than the PSTN.
  • PSTN 120 line 204
  • This set-up request is made to the network interface device NIU A1 because that network interface device is the home interface device for subscriber PS A1 .
  • Interface device NIU A1 sends a set-up request 206 to the ATC, via the WAS A1 coupled to NIU A1 (not shown here).
  • This setup 206 is sent to ATC, because ATC 1 looks to NIU A1 like another network interface controller comprising the WAS A1 sub-system.
  • Circuitry ATC 1 sends a set-up request 208 to interface device NIU B which forwards it to its corresponding wireless access subsystem WAS B (line 210 ).
  • a page 212 is then made by WAS B to subscriber PS A1 .
  • Subscriber PS A1 responds to WAS B by a page response 214 . The response is forwarded to the NIU B (line 216 and on to the circuitry ATC 1 (Line 218 ).
  • NIU A1 responds with an authorization authentication request 222 to circuitry ATC 1 .
  • Circuitry ATC 1 forwards the authentication request to interface device NIU B (Line 224 ), which forwards the request (Line 226 ) to WAS B .
  • WAS B forwards the request to subscriber PS A1 (authentication request 226 ).
  • Subscriber PS A1 provides an authentication response 228 to WAS B , which forwards the result 230 to NIU B .
  • the result is additionally forwarded to circuitry ATC 1 (Line 232 ), and along to interface device NIU A1 (Line 234 ).
  • the interface device NIU A1 responds with an alert 236 to circuitry ATC 1 .
  • the alert is forwarded to the network interface unit located near the subscriber, interface NIU B (Line 238 ) and is additionally forwarded to WAS B (Line 240 ), and further to subscriber PS A1 (alert 242 ).
  • the alert causes the subscriber's device to ring, for example.
  • the subscriber answers (Line 244 ). This answer is forwarded from WAS B on to NIU B (Line 246 ), then on to circuitry ATC 1 (Line 248 ), and further on to the NIU A1 (Line 250 ).
  • a connect message 252 is returned to the public switched network PSTN 120 (or alternatively a PBX A1 not shown).
  • the call 254 is then established between the PSTN 12 b and subscriber PS A1 via the subscriber's home network interface unit NIU A1 .
  • the path includes PSTN 120 , interface device NIU A1 , circuitry ATC 1 , NIU B , WAS B and subscriber PS A1 .
  • FIG. 7 is a block diagram illustrating an inter-NIU handover process according to the teachings of the present invention.
  • a connection is established between subscriber PS A1 and PSTN 120 via subscriber's home network interface unit NIU A1 and the network interface unit that serves the region in which the subscriber is currently located, NIU B .
  • the subscriber PS A1 moves from the coverage area of interface device NIU B and into the coverage area of interface device NIU C .
  • a disconnect signal 256 is sent from subscriber PS A1 to WAS B , which is coupled to NIU B .
  • a set-up signal is also sent from subscriber PSA) to WAS C , which serves the region in which the roaming subscriber is now located (set-up line (hand-over) 258 ).
  • WAS C forwards this setup request to the local network interface unit NIU C (line 260 ). This request is then forwarded to circuitry ATC 1 (Line 262 ). A setup (handover) request is sent to the now local interface device NIU C (Line 264 ) from circuitry ATC). Now a release 266 can be sent from circuitry ATC) to the old local interface device NIU B . A connect request 268 is then sent from the new network interface device NIU C to the WAS C . The WAS C sends a link assignment signal 270 to the PS A1 . According to one embodiment, authentication is not performed at this point.
  • FIG. 8 is a block diagram depicting a hybrid public/private wireless network according to another embodiment of the present invention. This illustrative example is used to demonstrate how inter-network capacity can be almost independent from intra-network capacity.
  • the ATC function can be advantageously implemented in different ways depending on advance knowledge of such roaming traffic statistics.
  • the sizing of the connectivity bandwidth between NIUs and ATCs is determined by the amount of roaming traffic between respective NIUs and the desired grade of service for such roaming traffic.
  • each the sub-network of NIUs can be connected with a Regional ATC (R-ATC) and the regional ATCs can be connected with a Central ATC (C-ATC).
  • R-ATC Regional ATC
  • C-ATC Central ATC
  • the bulk of roaming calls will be efficiently handled by the smaller R-ATC at the expense of an additional hop through the C-ATC for the fewer roaming calls that go across R-ATCs.
  • the alternative non-hierarchical approach will require a larger capacity ATC for the whole network.
  • each R-ATC is associated with a range of subscriber identifications (PSIDs) and all mobile subscribers for each sub-network are assigned a PSID exclusively from the range assigned to the R-ATC serving the sub-network.
  • PSIDs subscriber identifications
  • Each sub-network having its own R-ATC therefore also permits easier capacity expansion of said sub-network without impacting the other sub-networks, contrary to what would be the case if all sub-networks were to share the same ATC and compete for the limited number of connections.
  • the mobile subscriber chooses which sub-network to preferentially access, based on the PS's mode of operation and a code periodically emitted by the WAS of each sub-network.
  • public subscribers are preprogrammed to preferentially access WAS that emit a predefined “public” code and private subscribers are preprogrammed to preferentially access WAS that emit a predefined “private” code as long as the signal quality from the preferentially selected WAS meets/exceeds certain minimum standards, even though the signal quality from the preferentially selected WAS may be inferior to the signal quality received from the other overlapping WAS which are not preferentially selected.
  • a plurality of network interface units may be coupled together by a regional air traffic controller (R-ATC).
  • R-ATC regional air traffic controller
  • NIU C1 272 and NIU C2 274 are coupled to PBX C 276 and coupled through the R-ATC C 278 to each other and to a central ATC, C-ATC 280 .
  • NIU B1 282 , NIU B2 284 and NIU B3 286 are coupled to the PBX B 288 as well as being coupled through R-ATC B 290 to C-ATC 280 .
  • the network interface units NIU A1 292 , NIU A2 294 and NIU A3 296 are coupled to a public-switched telephone network (PSTN) 298 and coupled to each other by R-ATC A 300 , which in turn is coupled to C-ATC 280 .
  • PSTN public-switched telephone network
  • R-ATC A 300 which in turn is coupled to C-ATC 280 .
  • the various regional circuits 302 , 304 and 306 may be located geographically close to each other. In another embodiment, the circuits may be coupled to interface devices that are likely to have traffic between them.

Landscapes

  • Engineering & Computer Science (AREA)
  • Databases & Information Systems (AREA)
  • Computer Networks & Wireless Communication (AREA)
  • Signal Processing (AREA)
  • Mobile Radio Communication Systems (AREA)

Abstract

A communications system connecting mobile subscriber devices to at least one of a PSTN and a plurality of PBX networks comprising a plurality of network interface units coupled to one of a PSTN and a PBX network, each of the plurality of network interface units having a predetermined coverage area; at least one mobile subscriber device, the mobile subscriber device assigned to one network interface unit considered a home network interface unit, and the mobile subscriber device receives a port assignment through the home network interface unit from one of the PSTN and the PBX network coupled to the home network interface unit, the PSTN port assignment determining the mobile subscriber device directory number, and the PBX network port assignment determining the mobile subscriber device extension number; a wireless access unit coupled to each of the plurality of network interface units and providing wireless connection between the network interface unit and a mobile subscriber device within the coverage area of the network interface unit; and a programmable cross-connect device connecting the plurality of network interface units and dynamically cross connecting calls between the home network interface unit of the mobile subscriber device and a visited network interface unit as part of call origination and termination process, the visited network interface unit covering a geographic region within which the mobile subscriber device is roaming.

Description

RELATED APPLICATIONS
The present application is a reissue of U.S. patent application Ser. No. 10/095,209 (now U.S. Pat. No. 7,133,678), filed Mar. 8, 2002, which is a continuation in part of the patent application entitled “METHOD AND APPARATUS FOR ROAMING IN HIERARCHICAL MOBILE COMMUNICATION NETWORK” Ser. No. 09/328,306 U.S. patent application Ser. No. 09/328,306 (now U.S. Pat. No. 6,868,272, filed on Jun. 8, 1999 now U.S. Pat. No. 6,868,272 B1, having a common inventor, Mr. Jan Vancraeynest, and herein incorporated by reference.
BRIEF DESCRIPTION OF THE INVENTION
1. Field of the Invention
This invention relates generally to communications systems having mobile subscribers and, more particularly to wireless private branch exchange systems used together with public mobile communication systems.
2. Background of the Invention
Business customers of wireless networks have often expressed a desire for a single phone number to reach them in their office as well as in public. Some prior art systems have been able to provide limited indoor/outdoor mobility for wireless users, but they are for the most part unable to provide seamless roaming between public and private telecommunication networks. In particular, indoor cellular systems in the prior art can either be part of private system, such as a wireless Private Branch Exchange (PBX) or they can be extensions of the public network (PSTN) to an indoor space. The former case is exemplified by U.S. Pat. No. 4,879,740 (Nagashima et al.) and U.S. Pat. No. 5,127,042 (Gillig et al.); the latter approach is described in U.S. Pat. No. 5,594,740 (Makkonen et al.). In the case of the PBX approach, a wireless phone is treated as a PBX extension while in a building but is not able to “hand over” seamlessly to the public cellular network if the user leaves the coverage domain of the private system. Additionally, the mobile phone has two different phone numbers, one for internal use and a different number for outside use. When making or receiving calls, the phone operates based on the switch to which it is connected at the moment (PBX or Public) and does not route calls back to its “home” switch, possibly necessitating different dialing procedures for accessing the same service from indoor venues or outdoor venues. Different radio technologies used in the private and public wireless network make such a dual-use phone more expensive and more battery power-hungry than either a private or public cellular phone considered separately.
The alternate approach in the prior art for seamless in and out of building mobility involves extending the public cellular network indoors. In this case, the user continues to be treated as if in the public space but the call uses private infrastructure when indoors. In this case, the users' phone number and switch features and extension dialing are determined by the public cellular system and the carrier's switch, not the user's PBX (which may indeed be purely virtual). This requires the user to adopt different dialing procedures for his wireless phone than he would use for his PBX. Moreover, any wired phone connected to a user's PBX would not be linked to the user's wireless phone.
It is therefore desirable to provide a solution that without changes to PBX or public network and using a single handset permits:
1. Private wireless subscribers to access the public wireless network when outside the coverage of their private system, including when inside the coverage of another private system, while maintaining dialing procedures and numbering plans (such as extension dialing) from their own private wireless system;
2. Public wireless subscribers to access the public wireless network through the locally installed private wireless infrastructure which usually provides better indoor coverage than the public wireless network;
3. Private network operators/owners to be compensated by public network operators or other private network operators for the use of their private infrastructure by subscribers belonging to other networks;
4. Subscribers of a private system to simultaneously have their wired phone, connected to their PBX, as well as their wireless phone, anywhere on the public wireless network, ring simultaneously and provide identical features as if in the office;
5. Seamless handover for all users between indoor and outdoor, otherwise independent systems;
6. Guaranteeing a minimum capacity for users registered on a private PBX, while providing the benefits of] and 2 to users registered on the public system or on other private PBXs.
7. Tying together physically disjoint PBX into one large logical virtual PBX without the need for physical connections between the elemental PBXs;
8. Maximum isolation and independence of traffic and capacity changes within each network from traffic and capacity changes between networks.
SUMMARY OF THE INVENTION
Each network interface unit in the partition consists of a plurality of Network Interface Units (NIU) connected between a wireless access subsystem (WAS) and the network's air Traffic Controller (ATC). Each NIU may also be connected to a local exchange switch or to a PBX. Each subscriber of the local exchange (LE) or any PBX is assigned a single home NIU connected to the subscriber's assigned port on the local exchange or the PBX, respectively. The ATC registers when subscribers move outside the coverage area of their Home NIU. When a subscriber wants to make a call from the coverage area of a NIU different from his or her Home NIU, the A TC routes the call to the Home NIU which sets up the call to the subscriber's assigned port on the PBX or LE. Similarly, the ATC routes the incoming calls arriving at the Home NIU from the subscriber's assigned port on the PBX or LE to the Visited NIU where the subscriber can be reached. The connection is always through the switch port assigned to the subscriber A making roaming entirely transparent to the switch (local exchange or PBX) and switch billing systems. The ATC acts as a combination visited location register/home location register (VLR/HLR) and crossconnect switch between Visited NIU and Home NIU.
Briefly, one aspect of the present invention is embodied in a communications system connecting mobile subscriber devices to at least one of a PSTN and a plurality of PBX networks comprising a plurality of network interface units coupled to one of a PSTN and a PBX network. Each of the plurality of network interface units have a predetermined coverage area in which a plurality of mobile subscriber devices roam. Each mobile subscriber device is assigned to one network interface unit designated a home network interface unit, and the mobile subscriber device receives a port assignment through the home network interface unit from one of the PSTN and the PBX coupled to the home network interface unit. The PSTN port assignment determines the mobile subscriber device directory number, and the PBX network port assignment determines the mobile subscriber device extension number. A wireless access unit is coupled to each of the plurality of network interface units and provides wireless connection between the network interface unit and a mobile subscriber device within the coverage area of the network interface unit. A programmable cross-connect device connects the plurality of network interface units and dynamically cross-connects calls between the home network interface unit of the mobile subscriber device and a visited network interface unit as part of call origination and termination process. The visited network interface unit covers a geographic region within which the mobile subscriber device is roaming.
Another embodiment of the present invention teaches a method of providing communication services for a plurality of mobile subscriber devices and at least one of a PSTN and one of a plurality of PBX networks comprising, coupling a plurality of network interface units to one of a PSTN and a PBX network, wherein each of the plurality of network interface units have a predetermined coverage area. Each of the mobile subscriber devices are assigned to only one of the plurality of network interface units considered a home network interface unit, and each of the mobile subscriber devices receive a port assignment through the home network interface unit from one of the PSTN and the PBX network coupled to the home network interface unit, wherein a wireless access unit coupled to each of the plurality of network interface units and providing wireless connection between the network interface unit and a mobile subscriber device within the coverage area of the network interface unit; and connecting a programmable cross-connect device to the plurality of network interface units and dynamically cross connecting calls between the home network interface unit of the mobile subscriber device and a visited network interface unit as part of call origination and termination process, the visited network interface unit covering a geographic region within which the mobile subscriber device is roaming.
BRIEF DESCRIPTION OF THE DRAWINGS
FIG. 1 is a block diagram showing a hybrid public/private wireless network according to the teachings of the present invention;
FIG. 2 illustrates how the ATC of FIG. 1 routes incoming and outgoing calls for subscribers roaming outside their home network where their home NIU acts as the interface for a PSTN;
FIG. 3 illustrates how the ATC of FIG. 1 routes incoming and outgoing calls for subscribers roaming outside their home network where their home NIU acts as the interface for a PBX;
FIG. 4 is a connection diagram illustrating the mobile subscriber location registration process for a roaming subscriber, according to the present invention;
FIG. 5 is a connection diagram illustrating the a mobile subscriber call origination process according to the present invention;
FIG. 6 is a connection diagram illustrating a mobile subscriber call termination process according to the present invention;
FIG. 7 is a block diagram illustrating an inter-NIU handover process according to the present invention; and
FIG. 8 is a block diagram of the hybrid public/private wireless network according to a second embodiment of the present invention illustrating how inter-network capacity can be almost independent from intra-network capacity.
DETAILED DESCRIPTION OF THE INVENTION
The present invention is directed to a communication system comprising a partition of multiple sub-networks (each under the coverage of a network interface unit) providing mobility to subscriber devices roaming within and across these sub-networks. Each sub-network may be connected to a Private Branch Exchange or the Public Switched Telephone Network without requiring any changes to either the PBX or PSTN, and with the PBX or PSTN port assigned to a subscriber device determining the subscriber directory number and/or extension number as well as other subscriber specific features available only through the subscribers home PSTN or PBX system. The sub-network connected to the PBX or PSTN port corresponding to the subscriber's directory number is the subscriber's home sub-network. A programmable cross connect device provides full connectivity between all constituent sub-networks and dynamically cross connects calls between Home sub-network and Visited sub-network as part of the call origination and termination process, hence preserving all features available to a subscriber device within its home sub-network while the subscriber is roaming into another sub-network.
FIG. 1 is a block diagram showing a hybrid public/private wireless network 100 according to one embodiment of the present invention. The hybrid public/private wireless network 100 consists of a plurality of network interface units (NIU) (also referred to as sub-networks) such as NIUA1, NIUA2, NIUB and NIUC. Each NIU is coupled to either a PSTN network or a private branch exchange network (PBX). For example, as shown in FIG. 1, the NIUA1 and NIUA2 are coupled to the public switching network, PSTN 120. Other NIU devices, such as NIUB and NIUC are coupled to the two private branch exchange networks PBXB and PBXC respectively. Throughout this document, the terms sub-networks interface and sub-network interface units will be used interchangeably.
Each NIU device is also coupled to a Wireless Access sub-system (WAS), also referred to as wireless access unit, allowing the NIU to communicate with a plurality of visiting or resident subscribers within its coverage region. A programmable cross connect device, referred to as an Air Traffic Controller (ATC1), couples the plurality of NIU devices within a given region to each other. Within a plurality of regions, a multitude of mobile device subscribers may are moving within and in between the various regions each under the coverage of a particular NIU. However, each mobile subscriber is assigned to and registered with one and only one NIU, which would be coupled to the mobile subscriber's home PBX or PSTN. The NIU to which a particular mobile subscriber is assigned to is that subscriber's home NIU.
Each network interface unit (NIU) serves a different geographic region limited by the range of transmission and reception of its corresponding wireless access subsystem (WAS) to which that NIU is coupled. The coverage area corresponding to each NIU is shown in FIG. 1. The shaded area 112 represents the coverage area of NIUA1. Similarly, area 114 represents to the coverage area under NIUA2, 116 represents to the coverage area of NIUB, and area 118 represents the coverage area under NIUC. In one embodiment, an interface device may be implemented as a computer with controllers. Each NIU may include an interface board for interfacing with the WAS. In this embodiment, the interfacing may take place over an E1 link. E1 is a European digital transmission format and is well known to those skilled in the art.
The interface between the NIU and a PSTN or PBX network may take place over an analog interface, a T1 interface or other such interfaces. The interface devices are typically coupled to a class 5 switch in the PSTN. According to one embodiment of the invention, each interface is located in the respective region that it serves. According to another embodiment of the invention, the interfaces may be located in regions other than in the respective regions they serve. For example, the interfaces may be co-located.
As shown in FIG. 1, each NIU is also coupled to a WAS. For example, NIUA1 is coupled to WASA1, NIUA2 to WASA2, NIUB to WASB, and NIUC to WASC. A WAS may include radio port controllers coupled to radio transceivers. Radio transceivers are used to communicate with mobile subscribers. Each radio transceiver may include radio ports and appropriate transceiver circuitry.
Air traffic controllers couple the plurality of NIUs to each other. As shown in FIG. 1, the ATC1 couples NIUA1, NIUA2, NIUB, and NIUC. An ATC such as ATC1 shown in FIG. 1, may be implemented by dedicated circuits. In another embodiment, the ATC may be implemented by a computerized system and virtual circuits. The ATC circuitry may include bearer channels and control channels. The bearer circuitry provides a path for transmission of information, such as voice from a subscriber, to the correct NIU. The circuitry that routes between the interfaces (e.g., ATC) includes a cross connect, which is a switch that maps various incoming and outgoing lines. In one example, an ATC may have 30 multiplexed lines. The ATC circuitry may act as a controller and include an E1 interface. Typical bearer path for transmission of information may also occur over an E1 line.
An NIU may be capable of handling a large number of subscribers assigned to it. In one embodiment, up to 10,000 subscribers and a large number of roaming subscribers may be serviced by a single device. It would be apparent to one skilled in the art that the size and capacity of the NIUs, the ATC and sizing of the connection between the NIU devices and the ATC circuitry are dependent on the amount of roaming traffic over that particular NIU and the ATC, and the desired grade of service for such roaming traffic.
As shown in FIG. 1, the mobile subscriber PSA2 is moving within the coverage area of the NIUA2 which is its home interface. In contrast, the mobile subscriber PSA1 is shown outside of the coverage area of its home interface, NIUA1, and is roaming within the coverage area of a new interface device, NIUB. Calls for and from PSA1 would still be routed through its home network interface unit NIUA1 coupled to its particular PSTN port within the public network PSTN 120. The routing of calls for PSA1 would be further described in FIG. 2, and compared to the routing of non-roaming mobile subscriber NIUA2.
FIG. 2 illustrates how the ATC routes incoming and outgoing calls for subscribers roaming outside their home network, where their home NIU acts as the interface for a Public-switched telephone network (PSTN).
In the example of FIG. 2, the mobile subscriber PSA1 is shown to be roaming outside the coverage of its home NIU, NIUA1. Each network interface unit NIU emits a unique paging identifier through its corresponding wireless access sub-system. As the mobile subscriber PSA1 moves between the coverage area of various NIUs, it will notice the change in the paging identifier. The mobile subscriber PSA1 in turn transmits its unique identification along with a registration request to the new NIU, NIUB in this example. Since PSA1 is not assigned to NIUB, the NIUB forwards the registration request to the ATC1. If ATC1 is aware of the mobile subscriber PSA1, it updates its location register and forwards the registration request to NIUA1 the mobile subscriber, PSA1's home NIU. If the ATC1 does not recognize PSA1, it sends the registration requests to all NIUs under its coverage such as NIUA1, NIUA2 and NIUC as shown here but not to NIUB, the NIU originating the forwarded registration request. NIUA1 as the home NIU to which PSA1 is assigned would recognize the registration request and respond to it by sending an authentication request to the ATC who in turn forwards the response to NIUB.
The home NIU, NIUA1 in this example, will update its database to reflect the current location of PSA1, and may attempt to forward incoming calls for PSA1 directly to NIUB, routed through ATC1.
In an alternative embodiment, each mobile subscriber may be programmed with the identity of its home NIU. Thus, the current NIU may be able to direct registration requests directly to the subscribers home NIU without the need to query the ATC1.
In another embodiment, the identity of the home NIU to which the mobile subscriber is assigned may be deduced from the mobile subscriber's unique identification number. For example, the mobile subscriber identification number may be coded so as to have a unique prefix corresponding to its home network.
When receiving an incoming call for PSA1, its home NIU, NIUA1 in this example, will send out a page corresponding to the mobile subscriber, PSA1 in this example, via WASA1. NIUA1 will also send the page to the ATC1. Since the mobile subscriber PSA1 is roaming outside the coverage area of NIUA1, the wireless access sub-system WASA1 will not report a positive page acknowledgment. If ATC1 knows about PSA1, it will forward the page to the appropriate NIU under whose coverage PSA1 is currently located, or was most recently known to be. Otherwise, ATC1 will forward the page to all NIUs under its coverage except the NIU originating the page, NIUA1 in this case. The NIU that currently has the PSA1 under its coverage, NIUB in this example, will respond to the page. In response, ATC1 will forward the page response to PSA1's home NIU, NIUA1, and establish a call path between the home NIU, NIUA1 and the visiting NIU, NIUA2, through ATC1 to the roaming subscriber PSA1. Authentication and alerting will take place and the connection is established.
In an alternative embodiment, the home NIU may keep track of the location of the mobile subscriber, and thus may be able to forward the incoming call through the ATC1, to the appropriate NIU (NIUB in this example), under whose coverage the mobile subscriber PSA1 is located. Thus, the home NIU may be able to establish a connection with its roaming mobile subscriber without querying the ATC1.
When originating a call from PSA1 while under the coverage of an NIU other than its home NIU, NIUB in this example, the mobile subscriber PSA1 will send a set-up message to NIUB. Call handling will follow the same procedure as in the registration process and the mobile subscriber's telephone call will be established through the ATC1 and the home NIU, NIUA1 to the PSTN port.
In an alternative embodiment, the visited NIU, NIUB may be able to direct registration requests directly to the subscriber's home NIU without the need to query the ATC1. The home NIU identification may be accomplished by deconstructing the unique mobile subscriber identification number and obtaining the part that will identify the home network. For example, the mobile subscriber identification number may have a unique prefix corresponding to the home NIU that particular device is assigned to. Alternatively, the identity of the home NIU may be programmed into the mobile subscriber device at the time of activation.
The mobile subscriber PSA2 is located within the coverage area of its home NIU, NIUA2 in this example. When a call comes in for the subscriber PSA2 from a public network, NIUA2 transmits a page through its corresponding WASA2. The page is received by PSA2 because it is within the coverage area of WASA2 and PSA2 responds to the page with an acknowledgment. Once the NIUA2 receives the response from PSA2, it establishes connection from the land line to the mobile wireless subscriber.
When PSA2 originates a can, its home NIU, the call is still directed through NIUA2 to the appropriate receiver, the PSTN in this example.
FIG. 3 illustrates the roaming and non-roaming originating and receiving a call for a subscriber whose home network is a PBX system.
FIG. 3 illustrates how the ATC routes incoming and outgoing calls for subscribers roaming outside their home network where their home NIU acts as the interface for a Private Branch Exchange network (PBX).
Network Interface units usually connect to a PBX over a 2-wire analog voice frequency interface that doesn't carry any clock information. In one embodiment, the NIUs obtain the network clock from their digital connection to the ATC. The ATC(s) derive their clock from the one or more NIUs connected to the PSTN over a digital signaling interface. Because all WASs are connected to the NIUs which are in turn connected to a PBX, the WASs can therefore through the ATC derive their clocks to be synchronous with the clock used by the PBX. The same applies to all WAS connected to NIU directly connected to the PSTN. Such synchronous operation of all WAS over the air interface is a necessary condition for permitting seamless handover in most digital wireless technologies.
Since the present invention realizes the aforementioned benefits while allowing the NIUs connected to a PBX to maintain their 2-wire analog voice frequency interface to the PBX, the PBX can connect each subscriber port to one or more wired telephones in addition to the NIU through one or more simple 2-wire bridge taps, well known to those skilled in the art. Such wired telephones will ring for incoming calls together with the subscriber's PS, wherever in the network the PS is roaming. The subscriber may answer such wired telephone(s) if he/she is at his/her desk and chooses to use the higher-quality wired connection over the wireless connection, or the traveling subscriber may instruct the subscriber's personal assistant to answer the wired telephone after a pre-agreed upon number of rings.
The process of registration, originating a call and terminating a call for a mobile subscriber roaming within and outside its home network, and connecting to a private branch exchange network (PBX), is similar to that described in FIG. 2, wherein the mobile subscriber is connected to a public switched telephone network (PSTN).
In the first example, the mobile subscriber PSC is within the coverage area of the WASC coupled to its home NIU, NIUC which is coupled to the PBXC. Both originating calls from PSC and incoming calls for PSC are routed through its home NIU, NIUC.
In areas where the coverage areas of different sub-networks overlap (as may commonly be expected between a public outdoor wireless sub-network and a private indoor wireless sub-network), the mobile subscriber may choose which sub-network to preferentially access based on the mobile subscriber's mode of operation and a unique identification code (ID) periodically emitted by the WAS of each sub-network. In one embodiment of the present invention, public mobile subscribers are preprogrammed to preferentially access WAS that emit a predefined “public” code, and private mobile subscribers are preprogrammed to preferentially access WAS that emit a predefined “private” code as long as the signal quality from the preferentially selected WAS meets or exceeds certain minimum standards, even though the signal quality from the preferentially selected WAS may be inferior to the signal quality received from the other overlapping WAS which are not preferentially selected.
Since all calls enter or leave the mobile communications network through the Home NIU of a subscriber regardless of the location of the subscriber, each subscriber can also retain the dialing plan and switch/PBX-based features of his home network, while roaming throughout the coverage area of the whole network.
In another example, the mobile subscriber PSB is roaming outside the coverage area of its home network NIUB. When receiving an incoming call for PSB, NIUB will page the mobile subscriber, PSB through its WASB as well as sending the page to the ATC1. NIUB will also send the page to the ATC1. Since the mobile subscriber PSB is roaming outside the coverage area of NIUB, the wireless access sub-system WASB will not report a positive page acknowledgment. If ATC1 knows about PSB, it will forward the page to the appropriate NIU under whose coverage PSB is currently located or was most recently known to be. Otherwise, ATC1 will forward the page to all NIUs under its coverage except the NIU originating the page, NIUB in this case. The NIU that currently has the PSB under its coverage, NIUA1 in this example, will respond to the page. In response, ATC1 will forward the page response to PSB's home NIU, NIUB, and establish a call path between the home NIU, NIUB and the visiting NIU, NIUA1, through ATC1 to the roaming subscriber PSB. Authentication and alerting will take place and the connection is established.
When originating a call from PSB while under the coverage of an NIU other than its home NIU, NIUA1 in this example, the mobile subscriber PSB will send a set-up message to NIUA1. NIUA1 will forward the set-up call through the ATC1 to the appropriate home NIU, NIUB in this case. Call handling will follow the same procedure as in the registration process and the mobile subscriber's telephone call will be established through the ATC1 and the home NIU, NIUA1 to the PBX port. In one embodiment, the home NIU identification may be accomplished by deconstructing the unique mobile subscriber identification number and obtaining the part that would identify the home network. For example, the mobile subscriber identification number may have a unique prefix corresponding to the home NIU that particular device is assigned to. Alternatively, the identity of the home NIU may be programmed into the mobile subscriber device at the time of activation.
FIG. 4 is a connection diagram illustrating the mobile subscriber location registration process for a roaming mobile subscriber, according to one embodiment of the present invention. FIG. 4 has various lines representing communication with the following devices: PSTN 120, NIUA1, NIUB, NIUC, WASB, ATC1, and PSA1. First, a registration message is received by the WASB. As shown here, location registration is sent from subscriber PSA1 to WASB coupled to the NIUB interface. In this case, subscriber PSA1 is located in the coverage area of the WASB, which is not the home location of subscriber PSA1. WASB sends a message 142 to its respective interface device NIUB. In this example, the location registration message 140 is the first communication the mobile subscriber PSA1 has had with the NIUB. The network interface device NIUB does not recognize subscriber PSA1 and thus it sends a message 144 to the ATC1. Assuming that ATC1 has not yet stored PSA1 in its database, then ATC1 queries other interface devices including NIUA1 (line 146) to determine the home location for subscriber PSA1. No inquiry is sent to NIUB since the location registration request was forwarded by NIUB. In this example, subscriber PSA1 belongs to interface device NIUA1. Thus, NIUA1 responds (authorization request 148). ATC1 forwards this response to the NIUB (line 150). NIUB forwards this authentication request to its corresponding WASB(line 152), which in turn transmits the authentication request 154 to the roaming mobile subscriber PSA1. An authentication response 156 is sent back from the mobile subscriber PSA1 to the WASB who in turns forwards the authentication response to the NIUB (line 160). NIUB communicates this authentication response to the circuitry ATC1 (line 162). The authorization response is then sent from circuitry ATC1 back to interface device NIUA1. NIUA1 determines whether the subscriber PSA1 should be authenticated, and can then make future determinations based on this authentication.
FIG. 5 is a connection diagram illustrating the roaming mobile subscriber originating call process according to the teachings of the present invention. Here it is assumed that the mobile subscriber PSA1 is already registered at the particular location and that the circuitry ATC1 knows that subscriber PSA1 belongs to interface device NIUA1. The roaming mobile subscriber PSA1 is located in the coverage area of interface device NIUB. Thus, the subscriber PSA1 sends a set-up request 166 to the WASB, under whose area of coverage it is currently located. This request is forwarded to interface device NIUB (line 168). NIUC signals circuitry ATC1 (line 170). Since ATC1 knows that subscriber PSA1 is assigned to interface device NIUA1, circuitry ATC1 signals NIUA1(line 172). NIUA1 in turn makes an authorization request (line 174) to circuitry ATC1. In response, circuitry ATC1 forwards the request to interface device NIUB (line 176). In turn, NIUB forwards the request (line 178) to its corresponding WASB for transmission (line 180) to the roaming mobile subscriber PSA1. The roaming subscriber PSA1 responds to the authentication request by transmitting an authentication response 182. WASB forwards this response to its corresponding network interface unit NIUB (line 184). NIUB in turn forwards this response to circuitry ATC1 (line 186) which forwards it to NIUA1, PSA1's home network interface unit (line 188). If the authentication result is good, then NIUA1 makes a set-up request to the PSTN 120 (line 190). A connect response 192 is received from PSTN 120 by the network interface device NIUA1. The PSTN 120 makes necessary set-up in order to connect the message back. The connect message is then forwarded to circuitry ATC1 (line 194) from NIUA1. This response is forwarded from circuitry ATC1 to interface device NIUB (line 196) and subsequently to WASB (line 198) and on to subscriber PSA1 (line 200). A communications connection 202 is then set up between subscriber PSA1 and PSTN 120. The communications path includes subscriber PSA, WASB, NIUB, circuitry ATC1, NIUA1, and PSTN 120. In tills way, a call path is established between a subscriber (PSA1) and the public-switched telephone network (PSTN 120) by way of the subscriber's home interface device (NIUA1). Alternatively, the same process may apply to call originating from a mobile subscriber through a private branch exchange switch.
FIG. 6 is a connection diagram illustrating the mobile subscriber terminating call process according to the teachings of the present invention. Shown here is communication between entities: public switched to telephone network PSTN 120, interface device NIUA1, network interface device NIUB, network interface device NIUC, wireless access sub-system, circuitry ATC1, and subscriber PSA1 Alternatively, the same process may apply if a PBX is an element of the communication loop rather than the PSTN. When a call originates from PSTN 120 (line 204), its set-up request is sent from PSTN 120 to interface device NIUA1. This set-up request is made to the network interface device NIUA1 because that network interface device is the home interface device for subscriber PSA1. Interface device NIUA1 sends a set-up request 206 to the ATC, via the WASA1 coupled to NIUA1 (not shown here). This setup 206 is sent to ATC, because ATC1 looks to NIUA1 like another network interface controller comprising the WASA1 sub-system. Circuitry ATC1 sends a set-up request 208 to interface device NIUB which forwards it to its corresponding wireless access subsystem WASB (line 210). A page 212 is then made by WASB to subscriber PSA1. Subscriber PSA1 responds to WASB by a page response 214. The response is forwarded to the NIUB (line 216 and on to the circuitry ATC1 (Line 218). Response is forwarded to the home network interface device NIUA1 (Line 220) from ATC1. NIUA1 responds with an authorization authentication request 222 to circuitry ATC1. Circuitry ATC1 forwards the authentication request to interface device NIUB (Line 224), which forwards the request (Line 226) to WASB. WASB forwards the request to subscriber PSA1 (authentication request 226). Subscriber PSA1 provides an authentication response 228 to WASB, which forwards the result 230 to NIUB. The result is additionally forwarded to circuitry ATC1 (Line 232), and along to interface device NIUA1 (Line 234). The interface device NIUA1 responds with an alert 236 to circuitry ATC1. The alert is forwarded to the network interface unit located near the subscriber, interface NIUB (Line 238) and is additionally forwarded to WASB (Line 240), and further to subscriber PSA1 (alert 242). The alert causes the subscriber's device to ring, for example. The subscriber answers (Line 244). This answer is forwarded from WASB on to NIUB (Line 246), then on to circuitry ATC1 (Line 248), and further on to the NIUA1 (Line 250). A connect message 252 is returned to the public switched network PSTN 120 (or alternatively a PBXA1 not shown). The call 254 is then established between the PSTN 12b and subscriber PSA1 via the subscriber's home network interface unit NIUA1. The path includes PSTN 120, interface device NIUA1, circuitry ATC1, NIUB, WASB and subscriber PSA1.
FIG. 7 is a block diagram illustrating an inter-NIU handover process according to the teachings of the present invention. First, a connection is established between subscriber PSA1 and PSTN 120 via subscriber's home network interface unit NIUA1 and the network interface unit that serves the region in which the subscriber is currently located, NIUB. Later the subscriber PSA1 moves from the coverage area of interface device NIUB and into the coverage area of interface device NIUC. A disconnect signal 256 is sent from subscriber PSA1 to WASB, which is coupled to NIUB. A set-up signal is also sent from subscriber PSA) to WASC, which serves the region in which the roaming subscriber is now located (set-up line (hand-over) 258). WASC forwards this setup request to the local network interface unit NIUC (line 260). This request is then forwarded to circuitry ATC1 (Line 262). A setup (handover) request is sent to the now local interface device NIUC (Line 264) from circuitry ATC). Now a release 266 can be sent from circuitry ATC) to the old local interface device NIUB. A connect request 268 is then sent from the new network interface device NIUC to the WASC. The WASC sends a link assignment signal 270 to the PSA1. According to one embodiment, authentication is not performed at this point.
FIG. 8 is a block diagram depicting a hybrid public/private wireless network according to another embodiment of the present invention. This illustrative example is used to demonstrate how inter-network capacity can be almost independent from intra-network capacity.
The ATC) function can be advantageously implemented in different ways depending on advance knowledge of such roaming traffic statistics. The sizing of the connectivity bandwidth between NIUs and ATCs is determined by the amount of roaming traffic between respective NIUs and the desired grade of service for such roaming traffic.
One particular example is the case where most roaming traffic occurs within distinct sub-networks of NIUs, with little roaming between such sub-networks and is illustrated in FIG. 8. In such a case, each the sub-network of NIUs can be connected with a Regional ATC (R-ATC) and the regional ATCs can be connected with a Central ATC (C-ATC). The bulk of roaming calls will be efficiently handled by the smaller R-ATC at the expense of an additional hop through the C-ATC for the fewer roaming calls that go across R-ATCs. The alternative non-hierarchical approach will require a larger capacity ATC for the whole network.
One specific example of this scenario is the case of a wireless network partitioned into a public wireless sub-network and a plurality of private wireless sub-networks, where each sub-network has its own dedicated or shared R-ATC. To simplify provisioning, rather than provision the C-ATC with the home R-ATC of each subscriber, each R-ATC is associated with a range of subscriber identifications (PSIDs) and all mobile subscribers for each sub-network are assigned a PSID exclusively from the range assigned to the R-ATC serving the sub-network. The physical realization of the ATC as a programmable digital cross-connect system puts an upper limit on the number of ATC connections available. Each sub-network having its own R-ATC therefore also permits easier capacity expansion of said sub-network without impacting the other sub-networks, contrary to what would be the case if all sub-networks were to share the same ATC and compete for the limited number of connections.
Where the coverage areas of different sub-networks overlap (as may commonly be expected between a public outdoor wireless sub-network and a private indoor wireless sub-network), the mobile subscriber chooses which sub-network to preferentially access, based on the PS's mode of operation and a code periodically emitted by the WAS of each sub-network. In one embodiment of the present invention, public subscribers are preprogrammed to preferentially access WAS that emit a predefined “public” code and private subscribers are preprogrammed to preferentially access WAS that emit a predefined “private” code as long as the signal quality from the preferentially selected WAS meets/exceeds certain minimum standards, even though the signal quality from the preferentially selected WAS may be inferior to the signal quality received from the other overlapping WAS which are not preferentially selected.
As shown in FIG. 8, a plurality of network interface units may be coupled together by a regional air traffic controller (R-ATC). For example, NIU C1 272 and NIU C2 274 are coupled to PBX C 276 and coupled through the R-ATC C 278 to each other and to a central ATC, C-ATC 280. Similarly, NIU B1 282, NIU B2 284 and NIU B3 286 are coupled to the PBX B 288 as well as being coupled through R-ATC B 290 to C-ATC 280. The network interface units NIU A1 292, NIU A2 294 and NIU A3 296 are coupled to a public-switched telephone network (PSTN) 298 and coupled to each other by R-ATC A 300, which in turn is coupled to C-ATC 280. In one embodiment, the various regional circuits 302, 304 and 306 may be located geographically close to each other. In another embodiment, the circuits may be coupled to interface devices that are likely to have traffic between them.
The foregoing examples illustrate certain exemplary embodiments of the invention from which other embodiments, variations, and modifications will be apparent to those skilled in the art. The invention should therefore not be limited to the particular embodiments discussed above.

Claims (108)

1. A communications system connecting mobile subscriber devices to at least one of a PSTN and PBX network comprising:
a plurality of network interface units (NIU) respectively communicatively coupled to one of a PSTN and a PBX having a predetermined coverage area;
at least one mobile subscriber device assigned to one of said network interface units designated a home network interface unit, said one mobile subscriber device receiving a port assignment through the home NIU from the PSTN or the PBX coupled thereto;
a plurality of wireless access subsystems (WAS) coupled respectively to the corresponding NIU and providing wireless connection between the corresponding NIU and a mobile subscriber device operating within the coverage area of the corresponding NIU; and
a programmable cross-connect device (ATC) connecting the plurality of network interface units and dynamically cross connecting calls between the home network interface unit of a mobile subscriber device and another network interface unit the coverage area of which is visited by said mobile subscriber device, said dynamic cross-connection being accomplished as part of a call origination and termination process.
2. The system of claim 1 wherein said PSTN port assignment determines a directory number of the mobile subscriber device.
3. The system of claim 1 wherein said PBX network port assignment determines an extension number the mobile subscriber device.
4. The system of claim 1 wherein each NIU coupled to a PSTN is designated as a public NIU.
5. The system of claim 1 wherein each NIU coupled to one of the PBX networks is designated as a private NIU.
6. The system of claim 1 wherein each mobile subscriber may roam outside the coverage area of its home NIU and into the coverage area of a visited NIU.
7. The system of claim 6 wherein said ATC includes a visited location table entry and a home location table entry for said mobile subscriber.
8. The system of claim 7 wherein said ATC updates the visited location table entry in response to a registration message from said mobile subscriber device.
9. The system of claim 8 wherein said ATC connects a call path between the home NIU and the visited NIU, when said mobile subscriber device is roaming outside the coverage area of the home NIU and in the coverage area of the visited NIU.
10. The system of claim 9 wherein the call path includes incoming calls to said mobile subscriber device.
11. The system of claim 9 wherein the call path includes outgoing calls to said mobile subscriber device.
12. The system of claim 6 wherein the visited NIU directly connects an outgoing call from said mobile subscriber by dialing any of a predetermined set of dialed numbers to a corresponding substituted physical directory number without the call path going through said ATC.
13. The system of claim 12 wherein the home NIU is a private NIU.
14. The system of claim 13 wherein said mobile subscriber device dialing plan corresponding to a private home NIU determines a substituted physical device extension number for said mobile subscriber device, wherein said dialing plan is communicated to the visited network interface unit from the private home network interface unit.
15. The system of claim 12 wherein the home NIU is a public NIU.
16. The system of claim 15 wherein said mobile subscriber device dialing plan corresponding to a public home NIU determines the substituted physical directory number for said mobile subscriber device, wherein said dialing plan is communicated to the visited NIU from the public home NIU.
17. The system of claim 1 further comprising a plurality of ATCs.
18. The system of claim 17 further comprising at least one central programmable cross-connect device (C-ATC) connecting the plurality of ATCs.
19. The system of claim 18 wherein the C-ATC updates a corresponding visited location table entry in response to a registration message from said mobile subscriber device.
20. The system of claim 19 wherein each of the plurality of ATCs is the home ATC device for a predetermined range of mobile subscriber device identifications (PSID) corresponding to a plurality of mobile subscriber devices.
21. The system of claim 19 wherein all of the plurality of mobile subscribers assigned to a first home NIU under the coverage of a first home ATC have PSID assigned from a predetermined range.
22. The system of claim 18 wherein the C-ATC connects the call path between the visited ATC of said mobile subscriber device and the home ATC of said mobile subscriber device.
23. The system of claim 1 wherein each of the plurality of WASs emits a unique identification code (ID), said ID including certain coded attributes of the corresponding NIU.
24. The system of claim 23 wherein said ID identifies each WAS as one of a public WAS or a private WAS.
25. The system of claim 23 wherein said mobile subscribers determines preferential access to one of said plurality of NIUs based on the coded attributes of the ID.
26. The system of claim 25 wherein said public WAS is providing connection to the corresponding NIU coupled to the PSTN.
27. The system of claim 26 wherein said private WAS is providing connection to its corresponding NIU coupled to a PBX network.
28. The system of claim 1 wherein each NIU generates a call detail record recording call path information.
29. The system of claim 28 wherein a preferential billing rate is computed based on mobile subscriber identification number (PSID).
30. The system of claim 29 wherein the call detail record is searched for roaming PSIDs and a network usage bill may be presented to a public operator based on the call detail record.
31. A method of providing communication services for a plurality of mobile subscriber devices communicating via at least one of a PSTN and one of a plurality of PBX networks, comprising:
coupling a plurality of network interface units (NIU) to one of a PSTN and a PBX network, each of the plurality of network interface units having a corresponding predetermined coverage area;
assigning each of a plurality of mobile subscriber devices to only one of the plurality of network interface units designated as its home network interface unit, each of said mobile subscriber devices receiving a port assignment through its home NIU from the PSTN or the PBX coupled thereto;
coupling a wireless access unit (WAS) to each of the plurality of NIUs to provide wireless connection between each of said NIUs and a mobile subscriber device operating within the coverage area of said NIU; and
using a programmable cross-connect device (ATC) to connect the plurality of NIUs and dynamically cross connecting calls between the home NIU of the mobile subscriber device and another NIU the coverage area of which is visited by said mobile subscriber device, said dynamic cross-connection being accomplished as part of a call origination and termination process.
32. The method of claim 31 wherein said PSTN port assignment determines a directory number for the mobile subscriber device.
33. The method of claim 31 wherein said PBX network port assignment determines an extension number for the mobile subscriber device.
34. The method of claim 31 wherein each NIU coupled to a PSTN is designated as a public NIU.
35. The method of claim 31 wherein each NIU coupled to one of the PBX networks is designated as a private NIU.
36. The method of claim 31 wherein each mobile subscriber may roam outside the coverage area of its home NIU and into the coverage area of a visited NIU.
37. The method of claim 36 wherein said ATC includes a visited location table entry and a home location table entry for said mobile subscriber.
38. The method of claim 37 wherein said ATC updates the visited location table entry in response to a registration message from said mobile subscriber device.
39. The method of claim 38 wherein said ATC connects a call path between the home NIU and the visited NIU, when said mobile subscriber device is roaming outside the coverage area of the home NIU and in the coverage area of the visited NIU.
40. The method of claim 39 wherein the call path includes incoming calls to said mobile subscriber device.
41. The method of claim 39 wherein the call path includes outgoing calls to said mobile subscriber device.
42. The method of claim 36 wherein the visited NIU directly connects an outgoing call from said mobile subscriber by dialing any of a predetermined set of dialed numbers to a corresponding substituted physical directory number without the call path going through said ATC.
43. The method of claim 42 wherein the home NIU is designated as a private NIU.
44. The method of claim 43 wherein said mobile subscriber device dialing plan corresponding to a private home NIU determines the substituted physical device extension number for said mobile subscriber device, wherein said dialing plan is communicated to the visited NIU from the private home NIU.
45. The method of claim 42 wherein the home NIU is designated as a public NIU.
46. The method of claim 45 wherein said mobile subscriber device dialing plan corresponding to a public home NIU determines the substituted physical directory number for said mobile subscriber device, wherein said dialing plan is communicated to the visited NIU from the public home NIU.
47. The method of claim 31 further comprising a plurality of ATCs.
48. The method of claim 47 further comprising at least one central programmable cross-connect device (C-ATC) connecting the plurality of ATCs.
49. The method of claim 48 wherein the C-ATC updates a corresponding visited location table entry in response to a registration message from said mobile subscriber device.
50. The method of claim 49 wherein each of the plurality of ATCs is the home ATC for a predetermined range of mobile subscriber devices identifications (PSID) corresponding to a plurality of mobile subscriber devices.
51. The method of claim 49 wherein all of the plurality of mobile subscribers assigned to a first home NIU under the coverage of a first home ATC have PSIDs assigned from a predetermined range.
52. The method of claim 48 wherein the C-ATC connects the call path between the visited ATC of said mobile subscriber device and the home ATC of said mobile subscriber device.
53. The method of claim 31 further comprising a plurality of WASs wherein each WAS emits a unique identification code (ID), said ID including certain coded attributes of a corresponding NIU.
54. The method of claim 53 wherein said mobile subscribers determines preferential access to one of said plurality of NIUs based on coded attributes of the ID.
55. The method of claim 53 wherein said ID identifies each WAS as one of a public WAS and a private WAS.
56. The method of claim 54 wherein said public WAS is providing connection to its corresponding NIU coupled to a PSTN.
57. The method of claim 54 wherein said private WAS is providing connection to its corresponding NIU coupled to a PBX network.
58. The method of claim 31 wherein each NIU generates a call detail record recording call path information.
59. The method of claim 58 wherein a preferential billing rate is computed based on PSIDs.
60. The method of claim 59 wherein the call detail record is searched for roaming PSIDs and a network usage bill may be presented to a public operator based on the call detail record.
61. A computer program embodied in a tangible, non-transitory computer readable medium for providing communication services for a plurality of mobile subscriber devices communicating via at least one of a PSTN and one of a plurality of PBX networks, having instructions stored thereon, the instructions comprising:
code segmentinstructions for coupling a plurality of network interface units (NIU) to one of a PSTN and a PBX network, each of the plurality of network interface units having a corresponding predetermined coverage area;
code segmentinstructions for assigning each of a plurality of mobile subscriber devices to only one of the plurality of network interface units designated as its home network interface unit, each of said mobile subscriber devices receiving a port assignment through its home NIU from the PSTN or the PBX coupled thereto;
instructions for coupling a wireless access unit (WAS) to each of the plurality of NIUs to provide wireless connection between each of said NIUs and a mobile subscriber device operating within the coverage area of said NIU; and
code segmentinstructions for using a programmable cross-connect device (ATC) to connect the plurality of NIUs and dynamically cross connecting calls between the home NIU of the mobile subscriber device and another NIU the coverage area of which is visited by said mobile subscriber device, said dynamic cross-connection being accomplished as part of a call origination and termination process.
62. The computer program product tangible, non-transitory computer readable medium of claim 61 wherein said PSTN port assignment determines a directory number for the mobile subscriber device.
63. The computer program product tangible, non-transitory computer readable medium of claim 61 wherein said PBX network port assignment determines an extension number for the mobile subscriber device.
64. The computer program product tangible, non-transitory computer readable medium of claim 61 wherein each NIU coupled to a PSTN is designated as a public NIU.
65. The computer program product tangible, non-transitory computer readable medium of claim 61 wherein each NIU coupled to one of the PBX networks is designated as a private NIU.
66. The computer program product tangible, non-transitory computer readable medium of claim 61 wherein each mobile subscriber may roam outside the coverage area of its home NIU and into the coverage area of a visited NIU.
67. The computer program product tangible, non-transitory computer readable medium of claim 66 wherein said ATC includes a visited location table entry and a home location table entry for said mobile subscriber.
68. The computer program product tangible, non-transitory computer readable medium of claim 67 wherein said ATC updates the visited location table entry in response to a registration message from said mobile subscriber device.
69. The computer program product tangible, non-transitory computer readable medium of claim 68 wherein said ATC connects a call path between the home NIU and the visited NIU, when said mobile subscriber device is roaming outside the coverage area of the home NIU and in the coverage area of the visited NIU.
70. The computer program product tangible, non-transitory computer readable medium of claim 69 wherein the call path includes incoming calls to said mobile subscriber device.
71. The computer program product tangible, non-transitory computer readable medium of claim 69 wherein the call path includes outgoing calls to said mobile subscriber device.
72. The computer program product tangible, non-transitory computer readable medium of claim 66 wherein the visited NIU directly connects an outgoing call from said mobile subscriber by dialing any of a predetermined set of dialed numbers to a corresponding substituted physical directory number without the call path going through said ATC.
73. The computer program product tangible, non-transitory computer readable medium of claim 72 wherein the home NIU is designated as a private NIU.
74. The computer program product tangible, non-transitory computer readable medium of claim 73 wherein said mobile subscriber device dialing plan corresponding to a private home NIU determines the substituted physical device extension number for said mobile subscriber device, wherein said dialing plan is communicated to the visited NIU from the private home NIU.
75. The computer program product tangible, non-transitory computer readable medium of claim 72 wherein the home NIU is designated as a public NIU.
76. The computer program product tangible, non-transitory computer readable medium of claim 75 wherein said mobile subscriber device dialing plan corresponding to a public home NIU determines the substituted physical directory number for said mobile subscriber device, wherein said dialing plan is communicated to the visited NIU from the public home NIU.
77. The computer program product tangible, non-transitory computer readable medium of claim 61 further comprising a plurality of ATCs.
78. The computer program product tangible, non-transitory computer readable medium of claim 77 further comprising at least one central programmable cross-connect device (C-ATC) connecting the plurality of ATCs.
79. The computer program product tangible, non-transitory computer readable medium of claim 78 wherein the C-ATC updates a corresponding visited location table entry in response to a registration message from said mobile subscriber device.
80. The computer program product tangible, non-transitory computer readable medium of claim 79 wherein each of the plurality of ATCs is the home ATC for a predetermined range of mobile subscriber devices identifications (PSID) corresponding to a plurality of mobile subscriber devices.
81. The computer program product tangible, non-transitory computer readable medium of claim 79 wherein all of the plurality of mobile subscribers assigned to a first home NIU under the coverage of a first home ATC have PSIDs assigned from a predetermined range.
82. The computer program product tangible, non-transitory computer readable medium of claim 78 wherein the C-ATC connects the call path between the visited ATC of said mobile subscriber device and the home ATC of said mobile subscriber device.
83. The computer program product tangible, non-transitory computer readable medium of claim 61 further comprising a plurality of WASs wherein each WAS emits a unique identification code (ID), said ID including certain coded attributes of a corresponding NIU.
84. The computer program product tangible, non-transitory computer readable medium of claim 83 wherein said mobile subscribers determines preferential access to one of said plurality of NIUs based on coded attributes of the ID.
85. The computer program product tangible, non-transitory computer readable medium of claim 83 wherein said ID identifies each WAS as one of a public WAS and a private WAS.
86. The computer program product tangible, non-transitory computer readable medium of claim 84 wherein said public WAS is providing connection to its corresponding NIU coupled to a PSTN.
87. The computer program product tangible, non-transitory computer readable medium of claim 84 wherein said private WAS is providing connection to its corresponding NIU coupled to a PBX network.
88. The computer program product tangible, non-transitory computer readable medium of claim 61 wherein each NIU generates a call detail record recording call path information.
89. The computer program product tangible, non-transitory computer readable medium of claim 88 wherein a preferential billing rate is computed based on PSIDs.
90. The computer program product tangible, non-transitory computer readable medium of claim 89 wherein the call detail record is searched for roaming PSIDs and a network usage bill may be presented to a public operator based on the call detail record.
91. A communications system connecting wireless subscriber devices to at least one of a PSTN network and a plurality of PBX networks comprising:
a plurality of network interface units coupled to one of a PSTN network and a PBX network, each of a plurality of network interface units having a predetermined coverage area;
a plurality of mobile subscriber devices, each of said mobile subscriber devices assigned to one of the plurality of network interface units corresponding to a home network interface unit of said mobile subscriber device;
a plurality of wireless access units, each of said plurality of wireless access units providing wireless connection between one of said plurality of network interface units and a plurality of subscriber devices within the coverage area of said one of said plurality network interface units; and
a programmable cross connect device providing full connectivity between all constituent network interface units and dynamically cross connecting calls between the home network interface unit and the visited network interface unit as part of call origination and termination process.
92. The system of claim 91 wherein said mobile subscriber device receiving a port assignment from the corresponding PSTN network or PBX network coupled to said home network interface unit.
93. The system of claim 92 wherein said PSTN port assignment determining the mobile subscriber device directory number, and said PBX port assignment determining the mobile subscriber device extension number.
94. A method comprising:
assigning one of a plurality of network interface units (NIUs) to a wireless subscriber as a home NIU of the wireless subscriber, wherein the plurality of NIUs are interconnected through an air traffic controller (ATC) circuit;
registering at the ATC a current location of the wireless subscriber in response to the wireless subscriber communicating with a visiting NIU different the home NIU; and
dynamically cross connecting calls to and from the roaming wireless subscriber, wherein the calls are established and conducted through the assigned home NIU of the roaming wireless subscriber, the ATC, and the visiting NIU of the roaming wireless subscriber;
wherein the home NIU is coupled to one of a Public Switched Telephone Network (PSTN) and a Private Branch Exchange (PBX) network,
wherein, if the home NIU is coupled to a PSTN, a PSTN port assignment determines a directory number of the wireless subscriber, and
wherein, if the home NIU is coupled to a PBX, a PBX port assignment determines an extension number of the wireless subscriber.
95. The method of claim 94, wherein each of the home NIU and visiting NIU is coupled to one of a Public Switched Telephone Network (PSTN) and a Private Branch Exchange (PBX) network.
96. The method of claim 94, wherein dynamically cross connecting calls comprises coupling the ATC with a second ATC.
97. The method of claim 94, further comprising the ATC updating the visited location table entry in response to a registration message from the wireless subscriber.
98. The method of claim 94, further comprising a plurality of wireless access subsystems (WASs) coupled to respective corresponding NIUs, at least one of the WASs providing wireless connectivity between the corresponding NIU and the wireless subscriber within the coverage area of the corresponding NIU.
99. The method of claim 94, wherein the ATC is configured to operate as a cross-connect switch between the plurality of NIUs and to store locations and details of the plurality of NIUs.
100. The method of claim 94, further comprising the ATC querying one or more NIUs other than the visiting NIU to determine the assigned home NIU.
101. A communication system comprising:
a plurality of network interface units (NIUs), wherein one of the plurality of NIUs is assigned to a wireless subscriber as a home NIU of the wireless subscriber; and
an air traffic controller (ATC) configured to register a current location of the wireless subscriber in response to the wireless subscriber communicating with a visiting NIU different from the home NIU, and dynamically cross connect calls to and from the roaming wireless subscriber, wherein the calls are established and conducted through the assigned home NIU of the roaming wireless subscriber, the ATC, and the visiting NIU of the roaming wireless subscriber;
wherein the home NIU is coupled to one of a Public Switched Telephone Network (PSTN) and a Private Branch Exchange (PBX) network,
wherein, if the home NIU is coupled to a PSTN, a PSTN port assignment determines a directory number of the wireless subscriber, and
wherein, if the home NIU is coupled to a PBX, a PBX port assignment determines an extension number of the wireless subscriber.
102. The communication system of claim 101, wherein each of the home NIU and visiting NIU is coupled to one of a Public Switched Telephone Network (PSTN) and a Private Branch Exchange (PBX) network.
103. The communication system of claim 101, wherein the ATC is further configured to communicate with a second ATC.
104. The communication system of claim 101, wherein the ATC is further configured to update a visited location table entry in response to a registration message from the wireless subscriber.
105. The communication system of claim 101, further comprising a plurality of wireless access subsystems (WASs) coupled to respective corresponding NIUs, wherein each WAS is configured to provide wireless connectivity between the corresponding NIU and the wireless subscriber when the wireless subscriber is within the coverage area of the corresponding NIU.
106. The communication system of claim 101, wherein the ATC is further configured to query one or more NIUs other than the visiting NIU to determine the assigned home NIU.
107. A communication system comprising:
a set of network interfaces providing communications services to respective geographic regions and each coupled to one of a Public Switched Telephone Network (PSTN) and a Private Branch Exchange (PBX) network; and
an air traffic controller (ATC) coupled to each of the network interfaces and configured to provide a communications link between the network interfaces and establish and conduct communication with a roaming mobile subscriber through a home network interface (NIU) to which the roaming mobile subscriber is assigned and a visiting network interface within whose respective geographic region the roaming mobile subscriber resides, to store locations and details of the plurality of NIUs;
wherein the home NIU is coupled to one of a Public Switched Telephone Network (PSTN) and a Private Branch Exchange (PBX) network,
wherein, if the home NIU is coupled to a PSTN, a PSTN port assignment determines a directory number of the wireless subscriber, and
wherein, if the home NIU is coupled to a PBX, a PBX port assignment determines an extension number of the wireless subscriber.
108. The communication system of claim 107, wherein the ATC is further configured to query one or more network interfaces other than the visiting network interface to determine the assigned home NIU.
US12/291,334 1999-06-08 2008-11-07 Hybrid public/private wireless network with seamless roaming Expired - Fee Related USRE43856E1 (en)

Priority Applications (1)

Application Number Priority Date Filing Date Title
US12/291,334 USRE43856E1 (en) 1999-06-08 2008-11-07 Hybrid public/private wireless network with seamless roaming

Applications Claiming Priority (3)

Application Number Priority Date Filing Date Title
US09/328,306 US6868272B1 (en) 1999-06-08 1999-06-08 Method and apparatus for roaming in hierarchical mobile communications network
US10/095,209 US7133678B1 (en) 1999-06-08 2002-03-08 Hybrid public/private wireless network with seamless roaming
US12/291,334 USRE43856E1 (en) 1999-06-08 2008-11-07 Hybrid public/private wireless network with seamless roaming

Related Parent Applications (1)

Application Number Title Priority Date Filing Date
US10/095,209 Reissue US7133678B1 (en) 1999-06-08 2002-03-08 Hybrid public/private wireless network with seamless roaming

Publications (1)

Publication Number Publication Date
USRE43856E1 true USRE43856E1 (en) 2012-12-11

Family

ID=47289279

Family Applications (1)

Application Number Title Priority Date Filing Date
US12/291,334 Expired - Fee Related USRE43856E1 (en) 1999-06-08 2008-11-07 Hybrid public/private wireless network with seamless roaming

Country Status (1)

Country Link
US (1) USRE43856E1 (en)

Cited By (2)

* Cited by examiner, † Cited by third party
Publication number Priority date Publication date Assignee Title
US12408017B2 (en) 2022-12-01 2025-09-02 T-Mobile Usa, Inc. Automated network changes relating to network configuration updates in response to roaming partner updates
US12418850B2 (en) 2022-08-26 2025-09-16 T-Mobile Usa. Inc. Disabling roaming in overlapping coverage areas of wireless telecommunications networks

Citations (33)

* Cited by examiner, † Cited by third party
Publication number Priority date Publication date Assignee Title
US4670905A (en) 1985-11-29 1987-06-02 Motorola, Inc. Method and apparatus for coordinating independent communications systems
US4833701A (en) 1988-01-27 1989-05-23 Motorola, Inc. Trunked communication system with nationwide roaming capability
US4879740A (en) 1987-04-03 1989-11-07 Nec Corporation Wide area cordless telephone system having means for avoiding double registrations
US5127042A (en) 1988-09-23 1992-06-30 Motorola, Inc. Cellular cordless telephone
US5210787A (en) * 1991-02-05 1993-05-11 Telefonaktiebolaget L M Ericsson Subscriber interrogation point
US5345498A (en) 1990-06-18 1994-09-06 Northern Telecom Limited Mobile communications systems and interconnections strategies for use between different networks and different tariffs of such systems
US5353340A (en) 1990-03-08 1994-10-04 Telefonaktiebolaget L M Ericsson Dynamic allocation of roamer routing numbers system and method
US5434854A (en) 1993-12-27 1995-07-18 At&T Corp. System for communicating digital cellular data between a cell site and a switching system or another cell site
US5497412A (en) 1994-04-07 1996-03-05 Gte Telecommunication Services Incorporated Enhanced call delivery system for roaming cellular subscribers
US5526400A (en) 1994-04-01 1996-06-11 Telefonaktiebolaget Lm Ericsson System for routing calls to mobile subscribers
US5530693A (en) * 1995-06-06 1996-06-25 Averbuch; Rod Method and apparatus for performing handoff in a packet data communication system
WO1996035309A1 (en) 1995-05-04 1996-11-07 Interwave Communications International, Ltd. Hybrid cellular communication apparatus and method
US5594777A (en) 1992-08-26 1997-01-14 Telecom Finland Oy Wireless private branch exchange system for use with mobile communication devices
US5594740A (en) 1993-08-27 1997-01-14 Axion Logistics Corporation Wireless communications application specific enabling method and apparatus
WO1997004611A1 (en) 1995-07-24 1997-02-06 Telefonaktiebolaget Lm Ericsson (Publ) Distributing network services and resources in a mobile communications network
US5629974A (en) 1995-11-16 1997-05-13 Nokia Telecommunications Oy Communication system providing mobility management internetworking between a C-interface radio system and an overlay mobile radio network
US5659544A (en) 1994-10-17 1997-08-19 Lucent Technologies Inc. Method and system for distributed control in wireless cellular and personal communication systems
US5666107A (en) 1995-09-20 1997-09-09 Motorola, Inc. Method and apparatus for efficient roaming among communication system
US5724658A (en) 1995-08-21 1998-03-03 Mci Communications Corporation Call routing to wireless roamers in mobile telecommunication systems
US5734979A (en) * 1995-05-04 1998-03-31 Interwave Communications International, Ltd. Cellular base station with intelligent call routing
WO1998023123A2 (en) 1996-11-18 1998-05-28 Ericsson Inc. Dynamically created a-interface within a mobile network
US5832382A (en) 1996-09-16 1998-11-03 Ericsson Inc. Optimized routing of mobile calls within a telecommunications network
WO1998056198A1 (en) 1997-06-06 1998-12-10 Northern Telecom Limited Wireless access for local exchange carriers
US5862481A (en) 1996-04-08 1999-01-19 Northern Telecom Limited Inter-technology roaming proxy
US5873042A (en) * 1996-06-20 1999-02-16 Telefonaktiebolaget Lm Ericsson System and method of multi-exchange parallel paging in a radio telecommunications network
US5907808A (en) * 1994-04-15 1999-05-25 Nokia Telecommunications Oy Handover with fast moving mobile station detection between a microcell and a macrocell
US5978678A (en) 1996-06-07 1999-11-02 Telefonaktiebolaget L M Ericsson (Publ) Cellular telephone network routing method and apparatus for internationally roaming mobile stations
US6064885A (en) * 1997-10-06 2000-05-16 Ericsson, Inc. Treatment of positioning data during a positioning handover
WO2000028772A1 (en) 1998-11-05 2000-05-18 Bellsouth Intellectual Property Corporation Method and systems for providing information to a home system regarding a wireless unit roaming in a visited system
US6104915A (en) 1997-10-09 2000-08-15 Nortel Networks Corporation Synchronization system using aging prediction
WO2000076250A1 (en) 1999-06-08 2000-12-14 Utstarcom, Inc. Method and apparatus for roaming in hierarchical mobile communications network
US6229792B1 (en) * 1993-11-01 2001-05-08 Xircom, Inc. Spread spectrum communication system
US6385454B1 (en) 1998-10-09 2002-05-07 Microsoft Corporation Apparatus and method for management of resources in cellular networks

Patent Citations (37)

* Cited by examiner, † Cited by third party
Publication number Priority date Publication date Assignee Title
US4670905A (en) 1985-11-29 1987-06-02 Motorola, Inc. Method and apparatus for coordinating independent communications systems
US4879740A (en) 1987-04-03 1989-11-07 Nec Corporation Wide area cordless telephone system having means for avoiding double registrations
US4833701A (en) 1988-01-27 1989-05-23 Motorola, Inc. Trunked communication system with nationwide roaming capability
US5127042A (en) 1988-09-23 1992-06-30 Motorola, Inc. Cellular cordless telephone
US5353340A (en) 1990-03-08 1994-10-04 Telefonaktiebolaget L M Ericsson Dynamic allocation of roamer routing numbers system and method
US5345498A (en) 1990-06-18 1994-09-06 Northern Telecom Limited Mobile communications systems and interconnections strategies for use between different networks and different tariffs of such systems
US5210787A (en) * 1991-02-05 1993-05-11 Telefonaktiebolaget L M Ericsson Subscriber interrogation point
US5594777A (en) 1992-08-26 1997-01-14 Telecom Finland Oy Wireless private branch exchange system for use with mobile communication devices
US5594740A (en) 1993-08-27 1997-01-14 Axion Logistics Corporation Wireless communications application specific enabling method and apparatus
US6229792B1 (en) * 1993-11-01 2001-05-08 Xircom, Inc. Spread spectrum communication system
US5434854A (en) 1993-12-27 1995-07-18 At&T Corp. System for communicating digital cellular data between a cell site and a switching system or another cell site
US5526400A (en) 1994-04-01 1996-06-11 Telefonaktiebolaget Lm Ericsson System for routing calls to mobile subscribers
US5497412A (en) 1994-04-07 1996-03-05 Gte Telecommunication Services Incorporated Enhanced call delivery system for roaming cellular subscribers
US5907808A (en) * 1994-04-15 1999-05-25 Nokia Telecommunications Oy Handover with fast moving mobile station detection between a microcell and a macrocell
US5659544A (en) 1994-10-17 1997-08-19 Lucent Technologies Inc. Method and system for distributed control in wireless cellular and personal communication systems
US5825759A (en) * 1994-10-26 1998-10-20 Telefonaktiebolaget Lm Ericsson Distributing network services and resources in a mobile communications network
US5734979A (en) * 1995-05-04 1998-03-31 Interwave Communications International, Ltd. Cellular base station with intelligent call routing
WO1996035309A1 (en) 1995-05-04 1996-11-07 Interwave Communications International, Ltd. Hybrid cellular communication apparatus and method
US5530693A (en) * 1995-06-06 1996-06-25 Averbuch; Rod Method and apparatus for performing handoff in a packet data communication system
WO1997004611A1 (en) 1995-07-24 1997-02-06 Telefonaktiebolaget Lm Ericsson (Publ) Distributing network services and resources in a mobile communications network
US5724658A (en) 1995-08-21 1998-03-03 Mci Communications Corporation Call routing to wireless roamers in mobile telecommunication systems
US5666107A (en) 1995-09-20 1997-09-09 Motorola, Inc. Method and apparatus for efficient roaming among communication system
US5629974A (en) 1995-11-16 1997-05-13 Nokia Telecommunications Oy Communication system providing mobility management internetworking between a C-interface radio system and an overlay mobile radio network
US5862481A (en) 1996-04-08 1999-01-19 Northern Telecom Limited Inter-technology roaming proxy
US5978678A (en) 1996-06-07 1999-11-02 Telefonaktiebolaget L M Ericsson (Publ) Cellular telephone network routing method and apparatus for internationally roaming mobile stations
US5873042A (en) * 1996-06-20 1999-02-16 Telefonaktiebolaget Lm Ericsson System and method of multi-exchange parallel paging in a radio telecommunications network
US5832382A (en) 1996-09-16 1998-11-03 Ericsson Inc. Optimized routing of mobile calls within a telecommunications network
WO1998023123A2 (en) 1996-11-18 1998-05-28 Ericsson Inc. Dynamically created a-interface within a mobile network
US5905952A (en) * 1996-11-18 1999-05-18 Ericsson Inc. Dynamically created A-interface within a mobile network
WO1998056198A1 (en) 1997-06-06 1998-12-10 Northern Telecom Limited Wireless access for local exchange carriers
US6064885A (en) * 1997-10-06 2000-05-16 Ericsson, Inc. Treatment of positioning data during a positioning handover
US6104915A (en) 1997-10-09 2000-08-15 Nortel Networks Corporation Synchronization system using aging prediction
US6385454B1 (en) 1998-10-09 2002-05-07 Microsoft Corporation Apparatus and method for management of resources in cellular networks
WO2000028772A1 (en) 1998-11-05 2000-05-18 Bellsouth Intellectual Property Corporation Method and systems for providing information to a home system regarding a wireless unit roaming in a visited system
WO2000076250A1 (en) 1999-06-08 2000-12-14 Utstarcom, Inc. Method and apparatus for roaming in hierarchical mobile communications network
US6868272B1 (en) 1999-06-08 2005-03-15 Utstarcom, Inc. Method and apparatus for roaming in hierarchical mobile communications network
US7133678B1 (en) 1999-06-08 2006-11-07 Utstarcom, Inc. Hybrid public/private wireless network with seamless roaming

Non-Patent Citations (4)

* Cited by examiner, † Cited by third party
Title
International Preliminary Examination Report, PCT International Application No. PCT/US00/15593, dated Oct. 8, 2001.
International Search Report, PCT International Application No. PCT/US00/15593, dated Oct. 2, 2000.
Newton's Telecom Dictionary, 15th Edition, Feb. 1999, pp. 272, 762, 763.
US 5,282,240, 01/1994, Buhl et al. (withdrawn)

Cited By (4)

* Cited by examiner, † Cited by third party
Publication number Priority date Publication date Assignee Title
US12418850B2 (en) 2022-08-26 2025-09-16 T-Mobile Usa. Inc. Disabling roaming in overlapping coverage areas of wireless telecommunications networks
US12408017B2 (en) 2022-12-01 2025-09-02 T-Mobile Usa, Inc. Automated network changes relating to network configuration updates in response to roaming partner updates
US12452640B2 (en) 2022-12-01 2025-10-21 T-Mobile Usa, Inc. Automated audits relating to network configuration updates in response to roaming partner updates
US12501251B2 (en) 2022-12-01 2025-12-16 T-Mobile Usa, Inc. Smart suggestions relating to network configuration updates in response to roaming partner updates

Similar Documents

Publication Publication Date Title
US5475735A (en) Method of providing wireless local loop operation with local mobility for a subscribed unit
KR100277754B1 (en) How to set up a connection in a network and the device and registration procedure
EP0993742B1 (en) Providing wireless communications to a subscriber of a private wireline network
US5890064A (en) Mobile telecommunications network having integrated wireless office system
AU724375B2 (en) Use of ISDN to provide wireless office environment connection to the public land mobile network
US6640108B2 (en) Cellular communication system
US7058415B2 (en) System for providing unified cellular and wire-line service to a dual mode handset
US6212395B1 (en) Cellular communication system
JP2971948B2 (en) Mobile radio systems
US5771465A (en) Apparatus for providing a mobility adjunct for the public switched telephone network
US6600925B1 (en) Process for integrating cordless telephone networks into cellular mobile telephone networks
US7133678B1 (en) Hybrid public/private wireless network with seamless roaming
RU94020726A (en) COMMUNICATION NETWORK, METHOD FOR ESTABLISHING TELEPHONE COMMUNICATIONS, TELEPHONE APPLIANCE OF THE SUBSCRIBER AND METHOD OF REGISTRATION OF MOBILE RADIO PHONE
US7043248B2 (en) System and method for providing telecommunication services
JP3256414B2 (en) Temporary storage of authentication information in personal communication systems
USRE43856E1 (en) Hybrid public/private wireless network with seamless roaming
EP0820682B1 (en) Narrow band integrated application network with multifunctionality
EP1496718B1 (en) Method and system for virtual roaming and communication in cellular system
JPH11205842A (en) Handover method between different mobile communication carrier networks, and gateway exchange
NZ280767A (en) Mobile phone interconnections: one subscriber outside home base
MXPA99005576A (en) Use of isdn to provide wireless office environment connection to the public land mobile network

Legal Events

Date Code Title Description
AS Assignment

Owner name: TASOM MOBILE TRANSFER CO. LLC, DELAWARE

Free format text: ASSIGNMENT OF ASSIGNORS INTEREST;ASSIGNOR:UTSTARCOM, INC.;REEL/FRAME:023124/0197

Effective date: 20080613

FPAY Fee payment

Year of fee payment: 8

AS Assignment

Owner name: F. POSZAT HU, L.L.C., DELAWARE

Free format text: MERGER;ASSIGNOR:TASOM MOBILE TRANSFER CO. LLC;REEL/FRAME:037547/0133

Effective date: 20150812

FEPP Fee payment procedure

Free format text: MAINTENANCE FEE REMINDER MAILED (ORIGINAL EVENT CODE: REM.)

LAPS Lapse for failure to pay maintenance fees

Free format text: PATENT EXPIRED FOR FAILURE TO PAY MAINTENANCE FEES (ORIGINAL EVENT CODE: EXP.); ENTITY STATUS OF PATENT OWNER: LARGE ENTITY