USRE40875E1 - Controllable load apparatus - Google Patents

Controllable load apparatus Download PDF

Info

Publication number
USRE40875E1
USRE40875E1 US11/292,384 US29238405A USRE40875E US RE40875 E1 USRE40875 E1 US RE40875E1 US 29238405 A US29238405 A US 29238405A US RE40875 E USRE40875 E US RE40875E
Authority
US
United States
Prior art keywords
piston
accumulator
pressure
cylinder unit
cylinder
Prior art date
Legal status (The legal status is an assumption and is not a legal conclusion. Google has not performed a legal analysis and makes no representation as to the accuracy of the status listed.)
Expired - Fee Related, expires
Application number
US11/292,384
Inventor
Conor Minogue
Brian Walsh
Seamus Moneley
Current Assignee (The listed assignees may be inaccurate. Google has not performed a legal analysis and makes no representation or warranty as to the accuracy of the list.)
Bio Medical Research Ltd
Original Assignee
BMR Research and Development Ltd
Priority date (The priority date is an assumption and is not a legal conclusion. Google has not performed a legal analysis and makes no representation as to the accuracy of the date listed.)
Filing date
Publication date
Application filed by BMR Research and Development Ltd filed Critical BMR Research and Development Ltd
Priority to US11/292,384 priority Critical patent/USRE40875E1/en
Assigned to FESTO LIMITED reassignment FESTO LIMITED EXCLUSIVE LICENSE AGREEMENT Assignors: BMR RESEARCH & DEVELOPMENT LIMITED
Application granted granted Critical
Publication of USRE40875E1 publication Critical patent/USRE40875E1/en
Assigned to BIO-MEDICAL RESEARCH LIMITED reassignment BIO-MEDICAL RESEARCH LIMITED ASSIGNMENT OF ASSIGNORS INTEREST (SEE DOCUMENT FOR DETAILS). Assignors: BMR RESEARCH AND DEVELOPMENT LIMITED
Adjusted expiration legal-status Critical
Expired - Fee Related legal-status Critical Current

Links

Images

Classifications

    • AHUMAN NECESSITIES
    • A63SPORTS; GAMES; AMUSEMENTS
    • A63BAPPARATUS FOR PHYSICAL TRAINING, GYMNASTICS, SWIMMING, CLIMBING, OR FENCING; BALL GAMES; TRAINING EQUIPMENT
    • A63B21/00Exercising apparatus for developing or strengthening the muscles or joints of the body by working against a counterforce, with or without measuring devices
    • A63B21/008Exercising apparatus for developing or strengthening the muscles or joints of the body by working against a counterforce, with or without measuring devices using hydraulic or pneumatic force-resisters
    • A63B21/0085Exercising apparatus for developing or strengthening the muscles or joints of the body by working against a counterforce, with or without measuring devices using hydraulic or pneumatic force-resisters using pneumatic force-resisters
    • A63B21/0087Exercising apparatus for developing or strengthening the muscles or joints of the body by working against a counterforce, with or without measuring devices using hydraulic or pneumatic force-resisters using pneumatic force-resisters of the piston-cylinder type
    • AHUMAN NECESSITIES
    • A63SPORTS; GAMES; AMUSEMENTS
    • A63BAPPARATUS FOR PHYSICAL TRAINING, GYMNASTICS, SWIMMING, CLIMBING, OR FENCING; BALL GAMES; TRAINING EQUIPMENT
    • A63B21/00Exercising apparatus for developing or strengthening the muscles or joints of the body by working against a counterforce, with or without measuring devices
    • A63B21/00058Mechanical means for varying the resistance
    • A63B21/00069Setting or adjusting the resistance level; Compensating for a preload prior to use, e.g. changing length of resistance or adjusting a valve
    • AHUMAN NECESSITIES
    • A63SPORTS; GAMES; AMUSEMENTS
    • A63BAPPARATUS FOR PHYSICAL TRAINING, GYMNASTICS, SWIMMING, CLIMBING, OR FENCING; BALL GAMES; TRAINING EQUIPMENT
    • A63B21/00Exercising apparatus for developing or strengthening the muscles or joints of the body by working against a counterforce, with or without measuring devices
    • A63B21/008Exercising apparatus for developing or strengthening the muscles or joints of the body by working against a counterforce, with or without measuring devices using hydraulic or pneumatic force-resisters
    • A63B21/0083Exercising apparatus for developing or strengthening the muscles or joints of the body by working against a counterforce, with or without measuring devices using hydraulic or pneumatic force-resisters of the piston-cylinder type
    • AHUMAN NECESSITIES
    • A63SPORTS; GAMES; AMUSEMENTS
    • A63BAPPARATUS FOR PHYSICAL TRAINING, GYMNASTICS, SWIMMING, CLIMBING, OR FENCING; BALL GAMES; TRAINING EQUIPMENT
    • A63B24/00Electric or electronic controls for exercising apparatus of preceding groups; Controlling or monitoring of exercises, sportive games, training or athletic performances

Definitions

  • This invention relates to a controllable load apparatus for use in machines for resistive exercise training of the human body.
  • the training may be (a) isometric, in which the muscle length remains constant and the associated joint angle remains constant, (b) isotonic, in which the muscle shortens or lengthens at a constant force throughout the range of movement: the external force may change such that the muscle force remains constant as the mechanical advantage varies with joint angle, (c) DCER (Dynamic Constant External Resistance), in which the external force is constant and the muscle force may change with different joint angles, and (d) isokinetic, in which the joint angular velocity is constant and the muscle force varies with varying joint angle. It is therefore apparent that it is desirable to be able to change the force-displacement characteristics of a resistance training device.
  • An object of the present invention is to provide a controllable load apparatus which would be useful in such an application.
  • Resistance training devices are known in the art which operate on the principle of compressing a gas, usually air. These devices require the provision of a compressed air supply which is used to precharge a cylinder to a starting pressure, and corresponding starting resistance, using a pressure regulator. Such a source of compressed air is not practical in a portable exerciser.
  • U.S. Pat. No. 4,880,230 describes a pneumatic exerciser comprising a double acting cylinder where the resistance is controlled by restricting the air flow between the chambers on either side of the piston.
  • the resistive force of such a system is highly dependent on the velocity of activation, since it is based on flow restriction.
  • U.S. Pat. No. 4,257,583 describes a pneumatic exercise device which uses an air compressor to charge pressure reservoirs.
  • the invention provides a controllable load apparatus for use in resistive exercise training, the apparatus comprising a fluid piston/cylinder unit which, in use, is operated on by a person undergoing training, a pressure accumulator connected to pressurise the piston/cylinder unit at a predetermined pressure during exercise, and pressure setting means for setting said predetermined pressure in the pressure accumulator.
  • the accumulator is pressurised by the user operating the piston/cylinder unit and the pressure setting means comprises a changeover valve which operates at a predetermined pressure to prevent further fluid being available for charging the accumulator.
  • Said valve is preferably an electrically operated valve which may be controlled by an electronic circuit or program device.
  • the working fluid will typically be air. However, other gases may be used, as may liquids.
  • the cylinder will be fixed and the piston moved by the user, but the inverse is also possible.
  • the piston may be a plain piston, or may be provided with a valve or restrictor such that the piston/cylinder unit acts in the manner of a gas strut to provide a substantially constant force throughout the stroke.
  • the apparatus may include piston/cylinder means of reduced area for use in initially pressurising the accumulator.
  • FIG. 1 is a general schematic of one form of the invention
  • FIG. 2 is a schematic diagram of the pneumatic circuit of an apparatus forming a first embodiment of the invention
  • FIG. 3 is a similar diagram of a second embodiment
  • FIG. 4 illustrates a modification of the embodiment of FIG. 1 ;
  • FIG. 5 shows an alternative modification
  • FIG. 6 shows, in simplified form, a further embodiment.
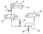
  • the apparatus in general terms comprises a pneumatic cylinder 10 having a piston 12 and piston rod 14 , the cylinder 10 being connected through a pneumatic control circuit 42 to a pressure accumulator 20 .
  • the piston rod 14 forms a movable load-resisting member to which a user applies forces via a linkage (not shown).
  • the cylinder 10 is connected through a changeover valve 16 and a one-way valve 18 to the pressure accumulator 20 .
  • the valve 16 is preferably actuated electrically, which permits an electronic control circuit to set a desired force level or program of force levels.
  • the valve 16 could be operated by a mechanical force setting system.
  • the system When exercise is completed, the system can be discharged by operating exhaust valve 24 .
  • a pressure relief valve 26 protects the system against over-pressure.
  • the foregoing embodiment can readily be extended to more than one cylinder operating in series or parallel. Moreover, it can easily be arranged to offer resistance in extension or compression or both by suitable porting of the cylinders.
  • FIG. 3 illustrates an exercise apparatus which can offer resistance in extension or compression.
  • parts which are similar to those of FIG. 2 bear like reference numerals and will not be further described.
  • valve 16 is replaced by a changeover valve 28 and an on-off valve 30 .
  • the charging of the pressure accumulator 20 can be achieved with the valves 28 , 30 in the position shown. Resistance to compression is achieved with both valves 28 and 30 activated, and resistance to extension with valve 30 activated and valve 28 as shown.
  • FIG. 4 shows one way of overcoming this problem.
  • the cylinder 10 is provided with a modified piston 12 a which comprises an outer piston 32 with an inner piston 34 nested telescopically therein.
  • the pistons 32 , 34 are latched together and operate as a normal piston.
  • the outer piston 32 is placed in the closed position, the inner piston 34 is unlatched from the outer piston 32 , and the inner piston is operated by the user to charge the accumulator. Because of the smaller area of the inner piston 34 , the force required to achieve the desired pressure is reduced. Equally, the area of the outer piston 32 could be smaller and a similar principle employed.
  • the inner and outer pistons may be latched together by a user operable hand control, or alternatively under electrical control using a solenoid operated pin, a clutch or a rotating actuator.
  • FIG. 5 shows another way of achieving the same effect.
  • the cylinder 10 is replaced by a relatively large diameter cylinder 36 and a relatively small cylinder 38 .
  • the piston rods of these two cylinders are mechanically coupled at 40 , but can be decoupled to allow the smaller cylinder to operate alone.
  • An accumulator with a volume of 0.5 litre will be charged to 5.2 bar in approximately 14 strokes.
  • the accumulator is connected to the cylinder and the piston rod extends (or retracts, depending on the required exercise).
  • the pressure now reduces to 3.8 bar, assuming the changeover occurred at the end of a compressive stroke.
  • Each subsequent exercise stroke therefore starts at 3.8 bar corresponding to 36 kgf and rises to 5.2 bar corresponding to 50 kgf at the end of the stroke.
  • a constant resistive force can be provided by replacing the piston and cylinder with a gas strut type of device, as illustrated in principle in FIG. 6 .
  • the piston and cylinder 10 , 12 is replaced by a gas strut device 40 , which is connected to the accumulator 20 via charge and control circuitry indicated generally at 42 .
  • the gas strut device 40 comprises a cylinder 42 , piston 44 and piston rod 46 , the piston having a restricted aperture 48 therethrough.
  • a gas strut device provides a resistive force based on gas pressure. It is a closed system whereby the gas on the compression side of the piston leaks to the lower pressure side as the load is applied through valves or restrictions in the piston. In effect the pressure equalises either side of the piston and the residual force is derived from the unequal areas on either side of the piston; the piston rod reduces the effective area of the piston on its side.
  • a gas strut therefore approximates to a constant force device, and the force level is determined by the gas pressure.
  • the initial pressurisation is produced by the user charging the accumulator 20 as described above, and in the exercise mode the user experiences a substantially constant force the amplitude of which is set by the level of the initial pressurisation.
  • an electric pump may be provided for effecting the initial charging of the pressure accumulator.

Landscapes

  • Health & Medical Sciences (AREA)
  • Life Sciences & Earth Sciences (AREA)
  • Biophysics (AREA)
  • Orthopedic Medicine & Surgery (AREA)
  • General Health & Medical Sciences (AREA)
  • Physical Education & Sports Medicine (AREA)
  • Rehabilitation Tools (AREA)

Abstract

The invention relates to a controllable load apparatus for use in machines for resistive exercise training of the human body. The apparatus comprises a pneumatic cylinder (10) having a piston (12) acting on a fluid and a piston rod (14), the piston/cylinder unit (10, 12) being operated on by a person undergoing training. A pressure accumulator (20) is connected to, and pressurizes the piston/cylinder unit (10, 12) at a predetermined pressure during exercise via a pneumatic control circuit (42). Once a predetermined pressure threshold is reached, a valve means operates to prevent further fluid being available for charging the accumulator (20).

Description

FIELD OF THE INVENTION
This invention relates to a controllable load apparatus for use in machines for resistive exercise training of the human body.
BACKGROUND OF THE INVENTION
It is well known to exercise the body for purposes of muscle strength training by way of resistive training, that is where a selected muscle or group of muscles is exercised against a mechanical resistance. The training may be (a) isometric, in which the muscle length remains constant and the associated joint angle remains constant, (b) isotonic, in which the muscle shortens or lengthens at a constant force throughout the range of movement: the external force may change such that the muscle force remains constant as the mechanical advantage varies with joint angle, (c) DCER (Dynamic Constant External Resistance), in which the external force is constant and the muscle force may change with different joint angles, and (d) isokinetic, in which the joint angular velocity is constant and the muscle force varies with varying joint angle. It is therefore apparent that it is desirable to be able to change the force-displacement characteristics of a resistance training device.
It is also known to prescribe an exercise regime in terms of a number of repetitions of a force equal to a stated percentage of the maximum force which that subject can exert, which will obviously vary between subjects and over time.
There is therefore a need to provide exercise apparatus in which a resistive force can readily be varied for different subjects, different muscles within a given subject, or during the carrying out of a particular type of exercise. An object of the present invention is to provide a controllable load apparatus which would be useful in such an application.
Resistance training devices are known in the art which operate on the principle of compressing a gas, usually air. These devices require the provision of a compressed air supply which is used to precharge a cylinder to a starting pressure, and corresponding starting resistance, using a pressure regulator. Such a source of compressed air is not practical in a portable exerciser.
U.S. Pat. No. 4,880,230 describes a pneumatic exerciser comprising a double acting cylinder where the resistance is controlled by restricting the air flow between the chambers on either side of the piston. The resistive force of such a system is highly dependent on the velocity of activation, since it is based on flow restriction.
U.S. Pat. No. 4,257,583 describes a pneumatic exercise device which uses an air compressor to charge pressure reservoirs.
SUMMARY OF THE INVENTION
Accordingly, the invention provides a controllable load apparatus for use in resistive exercise training, the apparatus comprising a fluid piston/cylinder unit which, in use, is operated on by a person undergoing training, a pressure accumulator connected to pressurise the piston/cylinder unit at a predetermined pressure during exercise, and pressure setting means for setting said predetermined pressure in the pressure accumulator.
In a preferred form of the invention the accumulator is pressurised by the user operating the piston/cylinder unit and the pressure setting means comprises a changeover valve which operates at a predetermined pressure to prevent further fluid being available for charging the accumulator. Said valve is preferably an electrically operated valve which may be controlled by an electronic circuit or program device.
The working fluid will typically be air. However, other gases may be used, as may liquids.
Typically, the cylinder will be fixed and the piston moved by the user, but the inverse is also possible.
The piston may be a plain piston, or may be provided with a valve or restrictor such that the piston/cylinder unit acts in the manner of a gas strut to provide a substantially constant force throughout the stroke.
The apparatus may include piston/cylinder means of reduced area for use in initially pressurising the accumulator.
BRIEF DESCRIPTION OF THE DRAWINGS
Embodiments of the invention will now be described, by way of example only, with reference to the drawings, in which:
FIG. 1 is a general schematic of one form of the invention;
FIG. 2 is a schematic diagram of the pneumatic circuit of an apparatus forming a first embodiment of the invention;
FIG. 3 is a similar diagram of a second embodiment;
FIG. 4 illustrates a modification of the embodiment of FIG. 1;
FIG. 5 shows an alternative modification; and
FIG. 6 shows, in simplified form, a further embodiment.
DETAILED DESCRIPTION OF THE DRAWINGS
Referring to FIG. 1, the apparatus in general terms comprises a pneumatic cylinder 10 having a piston 12 and piston rod 14, the cylinder 10 being connected through a pneumatic control circuit 42 to a pressure accumulator 20.
In a simple form of the invention as shown in FIG. 2, the piston rod 14 forms a movable load-resisting member to which a user applies forces via a linkage (not shown). The cylinder 10 is connected through a changeover valve 16 and a one-way valve 18 to the pressure accumulator 20.
Starting from a discharged state, repeated strokes of the piston 12 compress air drawn in through intake valve 22 and the pressure builds in the accumulator 20. When a given target pressure has been reached, the valve 16 switches, thus connecting the cylinder 10 directly to the accumulator 20. In this condition, the force required to move the piston rod 14 depends on the elevated pressure in the system, and repeated exercises at this elevated resistance level can be carried out.
The valve 16 is preferably actuated electrically, which permits an electronic control circuit to set a desired force level or program of force levels. Alternatively, the valve 16 could be operated by a mechanical force setting system.
When exercise is completed, the system can be discharged by operating exhaust valve 24. A pressure relief valve 26 protects the system against over-pressure.
The foregoing embodiment can readily be extended to more than one cylinder operating in series or parallel. Moreover, it can easily be arranged to offer resistance in extension or compression or both by suitable porting of the cylinders.
FIG. 3 illustrates an exercise apparatus which can offer resistance in extension or compression. In FIG. 3 parts which are similar to those of FIG. 2 bear like reference numerals and will not be further described.
In this embodiment there are two cylinders 10a, 10b and corresponding pistons 12a, 12b and piston rods 14a, 14b. Valve 16 is replaced by a changeover valve 28 and an on-off valve 30. The charging of the pressure accumulator 20 can be achieved with the valves 28, 30 in the position shown. Resistance to compression is achieved with both valves 28 and 30 activated, and resistance to extension with valve 30 activated and valve 28 as shown.
Charging the accumulator to a high pressure required for operation can create a problem in that the subject may not be able to generate enough force on the piston rod to produce the required pressure. FIG. 4 shows one way of overcoming this problem. The cylinder 10 is provided with a modified piston 12a which comprises an outer piston 32 with an inner piston 34 nested telescopically therein. In normal use, the pistons 32, 34 are latched together and operate as a normal piston. For ease in generating the required high pressure, the outer piston 32 is placed in the closed position, the inner piston 34 is unlatched from the outer piston 32, and the inner piston is operated by the user to charge the accumulator. Because of the smaller area of the inner piston 34, the force required to achieve the desired pressure is reduced. Equally, the area of the outer piston 32 could be smaller and a similar principle employed.
The inner and outer pistons may be latched together by a user operable hand control, or alternatively under electrical control using a solenoid operated pin, a clutch or a rotating actuator.
FIG. 5 shows another way of achieving the same effect. Here, the cylinder 10 is replaced by a relatively large diameter cylinder 36 and a relatively small cylinder 38. The piston rods of these two cylinders are mechanically coupled at 40, but can be decoupled to allow the smaller cylinder to operate alone.
The relationship of force to displacement is determined by the volume of the cylinder, the volume of the accumulator, and the initial pressure of the cylinder and accumulator. It follows the gas equation P1V1=P2V2, where P1 is the starting pressure, P2 is the end pressure, V1 is the starting volume (in this case the combined volume of the cylinder and accumulator), and V2 is the end volume (in this case the volume of the accumulator alone).
The force-displacement characteristic follows the pressure-displacement characteristic since Force=Pressure×Area of Piston. This assumes that a conventional piston is used, and not a gas strut piston incorporating a pressure equalising valve.
Consider now in detail the sequence of actions required to exercise to a force of say 50 kgf. If the diameter of the piston is 3.5 cm then the area of the piston is 9.6 cm2. The pressure at 50 kgf is therefore 50/9.6=5.2 bar. Assume the stroke length of the piston is 20 cm, and consequently the volume of air displaced is 192 cm3, or say 0.19 litres.
An accumulator with a volume of 0.5 litre will be charged to 5.2 bar in approximately 14 strokes. When the apparatus is switched from the charge mode to the exercise mode the accumulator is connected to the cylinder and the piston rod extends (or retracts, depending on the required exercise). The pressure now reduces to 3.8 bar, assuming the changeover occurred at the end of a compressive stroke. Each subsequent exercise stroke therefore starts at 3.8 bar corresponding to 36 kgf and rises to 5.2 bar corresponding to 50 kgf at the end of the stroke.
It is apparent that, if a plain piston and cylinder is used in the apparatus of the present invention, a constant resistive force will not be achieved.
A constant resistive force can be provided by replacing the piston and cylinder with a gas strut type of device, as illustrated in principle in FIG. 6. In FIG. 6, the piston and cylinder 10, 12 is replaced by a gas strut device 40, which is connected to the accumulator 20 via charge and control circuitry indicated generally at 42. The gas strut device 40 comprises a cylinder 42, piston 44 and piston rod 46, the piston having a restricted aperture 48 therethrough.
A gas strut device provides a resistive force based on gas pressure. It is a closed system whereby the gas on the compression side of the piston leaks to the lower pressure side as the load is applied through valves or restrictions in the piston. In effect the pressure equalises either side of the piston and the residual force is derived from the unequal areas on either side of the piston; the piston rod reduces the effective area of the piston on its side. A gas strut therefore approximates to a constant force device, and the force level is determined by the gas pressure.
In the embodiment of FIG. 6, the initial pressurisation is produced by the user charging the accumulator 20 as described above, and in the exercise mode the user experiences a substantially constant force the amplitude of which is set by the level of the initial pressurisation.
The invention thus provides an exercise apparatus in which resistance ben set and controlled in a simple and convenient manner. In particular forms of the invention there can be achieved (a) a variety of force-displacement characteristics, parameterised by the starting force at the beginning of the stroke, the end force at the end of the stroke, and a number of points in between, (b) a range of force-displacement characteristics, and (c) no requirement for a separate compressed air supply.
Modifications may be made to the foregoing embodiments within the scope of the invention. For example an electric pump may be provided for effecting the initial charging of the pressure accumulator.

Claims (8)

1. A controllable load apparatus for use in resistive exercise training the apparatus comprising a fluid piston/cylinder unit which, in use, is operated on by a person undergoing training, a pressure accumulator connected to pressurise the piston/cylinder unit at a predetermined pressure during exercise, and pressure setting means for setting said predetermined pressure in the pressure accumulator; and in which the piston/cylinder unit is in communication with the accumulator through a pneumatic control circuit which in an initial mode permits operation of the piston/cylinder unit by a user to initially pressurise the accumulator with ambient air to said predetermined pressure, and in a working mode connects the same piston/cylinder unit directly to the accumulator for training.
2. Apparatus according to claim 1, wherein the pressure setting means comprises a changeover valve within the pneumatic control circuit which operates at a predetermined pressure to prevent further fluid being available for charging the accumulator.
3. Apparatus according to claim 2, in which the changeover valve is an electrically operated valve which may be controlled by an electronic circuit or program device.
4. Apparatus according to claim 1, in which the working fluid is air.
5. Apparatus according to claim 1, in which the cylinder is fixed and the piston is moved by the user.
6. Apparatus according to claim 1, in which the piston is a plain piston.
7. Apparatus according to claim 1, in which the piston is provided with a valve or restrictor such that the piston/cylinder unit acts in the manner of a gas strut to provide a substantially constant force throughout the stroke.
8. Apparatus according to claim 1, in which said piston/cylinder unit comprises twin pistons which are coupled together for normal use and which are decoupled to provide a reduced area for initially pressurising the accumulator.
US11/292,384 2002-11-12 2005-12-01 Controllable load apparatus Expired - Fee Related USRE40875E1 (en)

Priority Applications (1)

Application Number Priority Date Filing Date Title
US11/292,384 USRE40875E1 (en) 2002-11-12 2005-12-01 Controllable load apparatus

Applications Claiming Priority (3)

Application Number Priority Date Filing Date Title
GB0226325A GB2395142B (en) 2002-11-12 2002-11-12 Controllable load apparatus
US10/316,410 US6939275B2 (en) 2002-11-12 2002-12-09 Controllable load apparatus
US11/292,384 USRE40875E1 (en) 2002-11-12 2005-12-01 Controllable load apparatus

Related Parent Applications (1)

Application Number Title Priority Date Filing Date
US10/316,410 Reissue US6939275B2 (en) 2002-11-12 2002-12-09 Controllable load apparatus

Publications (1)

Publication Number Publication Date
USRE40875E1 true USRE40875E1 (en) 2009-08-18

Family

ID=9947643

Family Applications (2)

Application Number Title Priority Date Filing Date
US10/316,410 Ceased US6939275B2 (en) 2002-11-12 2002-12-09 Controllable load apparatus
US11/292,384 Expired - Fee Related USRE40875E1 (en) 2002-11-12 2005-12-01 Controllable load apparatus

Family Applications Before (1)

Application Number Title Priority Date Filing Date
US10/316,410 Ceased US6939275B2 (en) 2002-11-12 2002-12-09 Controllable load apparatus

Country Status (2)

Country Link
US (2) US6939275B2 (en)
GB (1) GB2395142B (en)

Cited By (3)

* Cited by examiner, † Cited by third party
Publication number Priority date Publication date Assignee Title
US8968155B2 (en) 2012-07-31 2015-03-03 John M. Bird Resistance apparatus, system, and method
US9145324B2 (en) 2012-12-20 2015-09-29 Corning Incorporated Roller pairs for processing glass ribbons and draw apparatuses incorporating the same
US9775662B2 (en) 2012-12-06 2017-10-03 Ossur Hf Electrical stimulation for orthopedic devices

Families Citing this family (13)

* Cited by examiner, † Cited by third party
Publication number Priority date Publication date Assignee Title
GB0326527D0 (en) * 2003-11-13 2003-12-17 Trainor Patrick J Exercise devices
WO2006051247A1 (en) * 2004-11-12 2006-05-18 Patrick John Trainor Exercise devices
US8262548B1 (en) 2005-11-25 2012-09-11 Plyo Systems, Llc Air management for enhancing pneumatic rebound training
US20070232467A1 (en) * 2006-03-31 2007-10-04 Michael Roydon Puzey Reciprocable load resisting device
FR2906728B1 (en) * 2006-10-05 2009-01-09 Deseo Diffusion Sarl Sarl DEVICE FOR BODILY MOBILIZATION OF A HUMAN SUBJECT, AND USE THEREOF
US7867151B2 (en) * 2008-03-19 2011-01-11 Hayes James R Dual variable resistance control apparatus and system for exercise equipment
US7942793B2 (en) * 2009-02-12 2011-05-17 Brookstone Purchasing, Inc. Adjustable resistance exercise device
US7909745B2 (en) * 2009-02-12 2011-03-22 Brookstone Purchasing, Inc. Adjustable resistance exercise device
US8602943B2 (en) * 2009-12-29 2013-12-10 Atlin Aps Exercise apparatus and a brake mechanism
CN106014955B (en) * 2016-06-13 2018-03-13 新兴重工湖北三六一一机械有限公司 A kind of stable-pressure device
CN108031073B (en) * 2017-12-07 2023-02-28 同济大学浙江学院 Control system and training method of upper limb coordination rehabilitation training device
CN109011348A (en) * 2018-08-31 2018-12-18 嘉兴路德汽车零部件有限公司 For substituting the automatic force regulating device of weight of body building appts
CN110131346A (en) * 2019-04-11 2019-08-16 宁波一力减震器有限公司 A kind of twin-tub pressure regulation reset spring

Citations (7)

* Cited by examiner, † Cited by third party
Publication number Priority date Publication date Assignee Title
US4063726A (en) * 1976-04-26 1977-12-20 Wilson Robert J Electronically controlled hydraulic exercising system
US4799676A (en) * 1985-08-29 1989-01-24 Sheppard John H Hydraulic exercising machines
US5011142A (en) * 1989-11-20 1991-04-30 Christopher Eckler Exercise control system
US5312315A (en) * 1990-12-21 1994-05-17 Core Outpatient Services Pneumatic variable resistance rehabilitation/therapy apparatus
US5346452A (en) * 1993-04-01 1994-09-13 Ku Tse Fen Adjustable air resistance system for fitness equipment
US5890996A (en) * 1996-05-30 1999-04-06 Interactive Performance Monitoring, Inc. Exerciser and physical performance monitoring system
US6413195B1 (en) * 2000-04-13 2002-07-02 Abraham Barzelay Passive/active fluid exercise device

Patent Citations (7)

* Cited by examiner, † Cited by third party
Publication number Priority date Publication date Assignee Title
US4063726A (en) * 1976-04-26 1977-12-20 Wilson Robert J Electronically controlled hydraulic exercising system
US4799676A (en) * 1985-08-29 1989-01-24 Sheppard John H Hydraulic exercising machines
US5011142A (en) * 1989-11-20 1991-04-30 Christopher Eckler Exercise control system
US5312315A (en) * 1990-12-21 1994-05-17 Core Outpatient Services Pneumatic variable resistance rehabilitation/therapy apparatus
US5346452A (en) * 1993-04-01 1994-09-13 Ku Tse Fen Adjustable air resistance system for fitness equipment
US5890996A (en) * 1996-05-30 1999-04-06 Interactive Performance Monitoring, Inc. Exerciser and physical performance monitoring system
US6413195B1 (en) * 2000-04-13 2002-07-02 Abraham Barzelay Passive/active fluid exercise device

Cited By (8)

* Cited by examiner, † Cited by third party
Publication number Priority date Publication date Assignee Title
US8968155B2 (en) 2012-07-31 2015-03-03 John M. Bird Resistance apparatus, system, and method
US9717952B2 (en) 2012-07-31 2017-08-01 John M. Bird Resistance apparatus, system, and method
US10159869B2 (en) 2012-07-31 2018-12-25 John M. Bird Resistance apparatus, system and method
US10159870B2 (en) 2012-07-31 2018-12-25 John M. Bird Resistance apparatus, system, and method
US11071890B2 (en) 2012-07-31 2021-07-27 John M. Bird Resistance apparatus, system, and method
US11833394B2 (en) 2012-07-31 2023-12-05 John M. Bird Exercise apparatus with motor induced resistance
US9775662B2 (en) 2012-12-06 2017-10-03 Ossur Hf Electrical stimulation for orthopedic devices
US9145324B2 (en) 2012-12-20 2015-09-29 Corning Incorporated Roller pairs for processing glass ribbons and draw apparatuses incorporating the same

Also Published As

Publication number Publication date
GB0226325D0 (en) 2002-12-18
US20040092371A1 (en) 2004-05-13
GB2395142A (en) 2004-05-19
GB2395142B (en) 2005-04-13
US6939275B2 (en) 2005-09-06

Similar Documents

Publication Publication Date Title
USRE40875E1 (en) Controllable load apparatus
US10952888B2 (en) Variable stiffness devices and methods of use
US7462141B1 (en) Advanced resistive exercise device
US4257593A (en) Pneumatic exercising device
US7226401B2 (en) Exercise machine
US5011142A (en) Exercise control system
US8425385B2 (en) Resistance therapy
US5312315A (en) Pneumatic variable resistance rehabilitation/therapy apparatus
US3944221A (en) Resistance device for a gymnastics apparatus
US6402667B1 (en) Isokinetic exercise apparatus for the lower body
US7867151B2 (en) Dual variable resistance control apparatus and system for exercise equipment
US4867445A (en) Resistance-type exercise apparatus
US6581483B1 (en) Air buffer type apparatus for key durability testing
US4799676A (en) Hydraulic exercising machines
US8007418B2 (en) Portable resistance training device
US4601467A (en) Valve module and apparatus therefor
US12552016B2 (en) System and method for piston recoil pressure adjustment
US20250153350A1 (en) System and method for piston recoil pressure adjustment
TWI253947B (en) Resistance assebly
CN207687104U (en) A kind of double-piston cushion cylinder
GB2429412A (en) Gas strut with adjustable resistance
WO2004062743A1 (en) Exercise machine
Raboin et al. Advanced resistive exercise device
WO2006130480A2 (en) Pneumatic exercise machine
CN208626513U (en) Multi-position motion adjustment device

Legal Events

Date Code Title Description
AS Assignment

Owner name: FESTO LIMITED, IRELAND

Free format text: EXCLUSIVE LICENSE AGREEMENT;ASSIGNOR:BMR RESEARCH & DEVELOPMENT LIMITED;REEL/FRAME:020134/0206

Effective date: 20071016

AS Assignment

Owner name: BIO-MEDICAL RESEARCH LIMITED, IRELAND

Free format text: ASSIGNMENT OF ASSIGNORS INTEREST;ASSIGNOR:BMR RESEARCH AND DEVELOPMENT LIMITED;REEL/FRAME:026648/0101

Effective date: 20101201

FPAY Fee payment

Year of fee payment: 8

REMI Maintenance fee reminder mailed
LAPS Lapse for failure to pay maintenance fees

Free format text: PATENT EXPIRED FOR FAILURE TO PAY MAINTENANCE FEES (ORIGINAL EVENT CODE: EXP.)