USRE36511E - Ejector for a tray device - Google Patents
Ejector for a tray device Download PDFInfo
- Publication number
- USRE36511E USRE36511E US09/164,834 US16483498A USRE36511E US RE36511 E USRE36511 E US RE36511E US 16483498 A US16483498 A US 16483498A US RE36511 E USRE36511 E US RE36511E
- Authority
- US
- United States
- Prior art keywords
- tray device
- electronic equipment
- front panel
- ejector
- support
- Prior art date
- Legal status (The legal status is an assumption and is not a legal conclusion. Google has not performed a legal analysis and makes no representation as to the accuracy of the status listed.)
- Expired - Fee Related
Links
- 238000013500 data storage Methods 0.000 claims 2
- 238000009825 accumulation Methods 0.000 description 1
- 230000004075 alteration Effects 0.000 description 1
- 239000000428 dust Substances 0.000 description 1
- 239000002360 explosive Substances 0.000 description 1
- 230000007257 malfunction Effects 0.000 description 1
- 239000002184 metal Substances 0.000 description 1
- 238000012986 modification Methods 0.000 description 1
- 230000004048 modification Effects 0.000 description 1
Images
Classifications
-
- G—PHYSICS
- G11—INFORMATION STORAGE
- G11B—INFORMATION STORAGE BASED ON RELATIVE MOVEMENT BETWEEN RECORD CARRIER AND TRANSDUCER
- G11B17/00—Guiding record carriers not specifically of filamentary or web form, or of supports therefor
- G11B17/02—Details
- G11B17/04—Feeding or guiding single record carrier to or from transducer unit
- G11B17/05—Feeding or guiding single record carrier to or from transducer unit specially adapted for discs not contained within cartridges
- G11B17/053—Indirect insertion, i.e. with external loading means
- G11B17/056—Indirect insertion, i.e. with external loading means with sliding loading means
-
- G—PHYSICS
- G11—INFORMATION STORAGE
- G11B—INFORMATION STORAGE BASED ON RELATIVE MOVEMENT BETWEEN RECORD CARRIER AND TRANSDUCER
- G11B33/00—Constructional parts, details or accessories not provided for in the other groups of this subclass
Definitions
- This invention relates to the ejection mechanism for the tray device of an electronic equipment, e.g. laser disk, compact disk or CD ROM player.
- the electronic equipment such as laser disk, compact disk or CD ROM, in general, has an input device of a tray form for accommodating the disk in which a huge amount of information is stored.
- the tray device movably seats within the space of an electronic equipment.
- an electrically driven step motor is usually employed to operate the close/open mechanism of the disk tray device.
- the user accordingly may not operate the equipment in order to retrieve the disk within the disk tray inside the equipment.
- the invention provides an ejector apparatus within the electronic equipment which allows the user to retrieve the disk by easily ejecting the disk tray out of the inner space of the electronic equipment.
- the ejector apparatus includes a support and an ejector.
- the support has a connector apparatus adapted to connect with a chassis of the electronic equipment.
- the ejector pushes the tray device out of the electronic equipment in response to a force applied from the outside of the electronic equipment.
- the ejector is pivotally connected to the support.
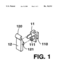
- FIG. 1 discloses an explosive view of the components of the ejector apparatus in accordance with the one preferred embodiment of the invention.
- FIG. 2 is a sectional view showing how the invention cooperating with other components of the electronic equipment.
- the invention includes a support 11 and an ejector 12.
- the support 11 has a attachment apparatus 110 adapted to mount on a chassis 21 of the electronic equipment 2.
- the attachment apparatus 110 is form of a slot with which the edge of the chassis 21 engages.
- the ejector 12 is a generally plate-like arm element and is pivotally connected to the support at the hinge pin 111 through the hole 121.
- the upper end of the ejector 12 is provided with a curve-shape pusher 120 to have a better contact relationship with the inner vertical surface of the disk tray 22 in accordance with one preferred embodiment of the ejector 12.
- the electronic equipment 2 has a front panel 23 which has a hole 231 for the passage of a thin pin 3.
- the user may reshape a metal paperclip to form a thin pin 3.
- the pusher 120 of the ejector 12 accordingly pushes the tray device 22 out of the electronic equipment 2 in response to the force applied from the outside as a result of the leverage effect created at the hinge pin 111.
- the disk 24 is also shown in the FIG. 2.
Landscapes
- Feeding And Guiding Record Carriers (AREA)
Abstract
An ejector apparatus of a tray device is provided. The tray device movably seats within the space of an electronic equipment. The ejector apparatus includes a support and an ejector. The support has a attachment apparatus adapted to mount on a chassis of the electronic equipment. The ejector pushes the tray device out of the electronic equipment in response to a force applied from the outside of the electronic equipment. The ejector is pivotally connected to the support.
Description
This invention relates to the ejection mechanism for the tray device of an electronic equipment, e.g. laser disk, compact disk or CD ROM player.
The electronic equipment, such as laser disk, compact disk or CD ROM, in general, has an input device of a tray form for accommodating the disk in which a huge amount of information is stored. The tray device movably seats within the space of an electronic equipment. Typically, an electrically driven step motor is usually employed to operate the close/open mechanism of the disk tray device.
However, when the electronic equipment is in state of malfunction or being incapable of receiving the operation power, the user accordingly may not operate the equipment in order to retrieve the disk within the disk tray inside the equipment.
To solve the problems mentioned in aforesaid situation, one conventional approach in the art has been known to design a cavity on front panel of the disk tray device which is accessible by the finger of the user or a tool. The user then may use his finger or the tool to apply the force required to pull the disk tray out of the electronic equipment. However, this approach would definitely affect the exterior appearance of the equipment substantially not to mention other drawbacks, e.g. the possibility of accumulation of the dust onto the cavity.
To the shortcomings of aforesaid conventional art, the invention provides an ejector apparatus within the electronic equipment which allows the user to retrieve the disk by easily ejecting the disk tray out of the inner space of the electronic equipment.
The ejector apparatus includes a support and an ejector. The support has a connector apparatus adapted to connect with a chassis of the electronic equipment. The ejector pushes the tray device out of the electronic equipment in response to a force applied from the outside of the electronic equipment. The ejector is pivotally connected to the support.
FIG. 1 discloses an explosive view of the components of the ejector apparatus in accordance with the one preferred embodiment of the invention.
FIG. 2 is a sectional view showing how the invention cooperating with other components of the electronic equipment.
With reference to the FIG. 1 and FIG. 2, the invention includes a support 11 and an ejector 12. The support 11 has a attachment apparatus 110 adapted to mount on a chassis 21 of the electronic equipment 2. With the shown embodiment, the attachment apparatus 110 is form of a slot with which the edge of the chassis 21 engages. The ejector 12 is a generally plate-like arm element and is pivotally connected to the support at the hinge pin 111 through the hole 121. The upper end of the ejector 12 is provided with a curve-shape pusher 120 to have a better contact relationship with the inner vertical surface of the disk tray 22 in accordance with one preferred embodiment of the ejector 12.
The electronic equipment 2 has a front panel 23 which has a hole 231 for the passage of a thin pin 3. Before operating the invention, the user may reshape a metal paperclip to form a thin pin 3. When the thin pin 3 is forced into the hole 231 and applies a force on the lower surface of the ejector 12, the pusher 120 of the ejector 12 accordingly pushes the tray device 22 out of the electronic equipment 2 in response to the force applied from the outside as a result of the leverage effect created at the hinge pin 111. Also shown in the FIG. 2 is the disk 24 within the disk tray 22.
The above details of the preferred embodiment of the invention aforesaid is illustrative rather than limiting. For instance, the preferred embodiment of the curve-shape pusher 120 may be replaced equivalently by other forms which are obvious to persons skillful in the arts. Accordingly, any equivalent modifications, substitutes, alterations or changes to the preferred embodiment without departing from the spirit of the invention are likely to the persons ordinary skill in the art, and are still within the intended scope of the protection of the invention which is defined by the following claims and their equivalences.
Claims (9)
1. An ejector apparatus for a tray device movably seated within an electronic equipment, the electronic equipment having a chassis and a front panel .Iadd.with a hole.Iaddend., the tray device having a front panel door .[.with a hole.]., the ejector apparatus comprising:
a support having a hinge pin and a slot fixedly engaged to an edge of the chassis;
a generally plate-like arm element pivotally connected to the hinge pin of the support, the arm element having a first end and a second end, the first end acting as a pusher wherein in response to a force applied in a first direction on the second end of the plate-like arm element, the pusher of the plate-like arm element contacts the front panel door of the tray device to push, in a second direction, opposite to the first direction, the tray device out of the electronic equipment, the force applied to the second end of the arm element being applied by a user via a pin which passes through the hole.
2. The ejector apparatus as in claim 1, wherein the pin is formed from a paperclip.
3. The ejector apparatus as in claim 1, wherein the electronic equipment is a compact disk player.
4. The ejector apparatus as in claim 1, wherein the electronic equipment is a CD ROM player.
5. The ejector apparatus as in claim 1, wherein the electronic equipment is a laser disk player. .[.
6. The ejector apparatus as in claim 1, wherein the front panel has a hole for the passage of the pin..].
7. The ejector apparatus of claim 1 wherein the upper end of the plate-like arm element is curve-shaped.
8. An .[.eject.]. .Iadd.ejector .Iaddend.apparatus for use within electronic equipment including.[.,.]. a chassis.Iadd., a front panel with a hole, .Iaddend.and a cabinet enclosure with an opening, the ejector apparatus comprising:
a tray device adapted to support a removable data storage element and having a first position extending out of the opening to receive the removable data storage element and a second position disposed within the enclosure, the tray device having a front panel door .[.with a hole.]., said front panel door substantially flush with the opening of the cabinet enclosure when the tray device is in the second position;
a support having a hinge pin, the support disposed within the cabinet, positioned proximally to the tray device and fixedly engaged to the edge of the chassis; and
an arm member, pivotally connected to the hinge pin of the support and having a second end which in response to a force applied in a first direction thereto causes a first end of the arm member to move in a second direction, opposite to said first direction, to contact an inner surface of the front panel door of the tray device and move the tray device from the second position to the first position, the force applied to the second end of the arm member being applied by a user via a pin which passes through the hole of the front panel .[.door.]..
9. The apparatus of claim 8 wherein the first end of the arm are member is curve-shaped.
Priority Applications (1)
| Application Number | Priority Date | Filing Date | Title |
|---|---|---|---|
| US09/164,834 USRE36511E (en) | 1994-11-10 | 1998-10-01 | Ejector for a tray device |
Applications Claiming Priority (2)
| Application Number | Priority Date | Filing Date | Title |
|---|---|---|---|
| US08/337,941 US5561653A (en) | 1994-11-10 | 1994-11-10 | Ejector for a tray device |
| US09/164,834 USRE36511E (en) | 1994-11-10 | 1998-10-01 | Ejector for a tray device |
Related Parent Applications (1)
| Application Number | Title | Priority Date | Filing Date |
|---|---|---|---|
| US08/337,941 Reissue US5561653A (en) | 1994-11-10 | 1994-11-10 | Ejector for a tray device |
Publications (1)
| Publication Number | Publication Date |
|---|---|
| USRE36511E true USRE36511E (en) | 2000-01-18 |
Family
ID=23322693
Family Applications (2)
| Application Number | Title | Priority Date | Filing Date |
|---|---|---|---|
| US08/337,941 Ceased US5561653A (en) | 1994-11-10 | 1994-11-10 | Ejector for a tray device |
| US09/164,834 Expired - Fee Related USRE36511E (en) | 1994-11-10 | 1998-10-01 | Ejector for a tray device |
Family Applications Before (1)
| Application Number | Title | Priority Date | Filing Date |
|---|---|---|---|
| US08/337,941 Ceased US5561653A (en) | 1994-11-10 | 1994-11-10 | Ejector for a tray device |
Country Status (1)
| Country | Link |
|---|---|
| US (2) | US5561653A (en) |
Cited By (6)
| Publication number | Priority date | Publication date | Assignee | Title |
|---|---|---|---|---|
| US6583951B1 (en) * | 1999-11-12 | 2003-06-24 | Terastor Corporation | Shuttle motion mechanism |
| US20040148614A1 (en) * | 2003-01-27 | 2004-07-29 | Samsung Electronics Co., Ltd | Slim optical disc drive |
| US20040223420A1 (en) * | 2003-04-02 | 2004-11-11 | Kazuo Yokota | Disk apparatus |
| US20070235538A1 (en) * | 2006-04-06 | 2007-10-11 | Benq Corporation | Electronic device and an ejection device for ejecting a separable device from the electronic device |
| US20130300272A1 (en) * | 2008-04-25 | 2013-11-14 | Apple Inc. | Compact ejectable component assemblies in electronic devices |
| US20140307372A1 (en) * | 2011-05-31 | 2014-10-16 | Apple Inc. | Systems and methods for ejecting removable modules from electronic devices |
Families Citing this family (6)
| Publication number | Priority date | Publication date | Assignee | Title |
|---|---|---|---|---|
| JP3692674B2 (en) * | 1996-12-27 | 2005-09-07 | ソニー株式会社 | Disk drive device |
| US6204992B1 (en) | 1998-06-11 | 2001-03-20 | Advanced Digital Information Corporation | Data cartridge loading and unloading apparatus and method of use |
| DE10240907A1 (en) * | 2002-09-04 | 2004-03-18 | Fujitsu Siemens Computers Gmbh | Computer CD-drive has a mechanical eject button with which a CD can be ejected without the computer having to be switched on |
| TWI224307B (en) * | 2003-07-30 | 2004-11-21 | Benq Corp | Tray braking apparatus |
| TWM255985U (en) * | 2004-02-24 | 2005-01-21 | Lite On It Corp | Emergency disc ejecting device |
| JP2012242949A (en) * | 2011-05-17 | 2012-12-10 | Sony Corp | Information processing device and method, recording medium, and program |
Citations (7)
| Publication number | Priority date | Publication date | Assignee | Title |
|---|---|---|---|---|
| US3660637A (en) * | 1971-03-10 | 1972-05-02 | Gen Electric | Electric oven toaster door operating mechanism |
| US4419703A (en) * | 1981-11-16 | 1983-12-06 | Dma Systems Corporation | Disc cartridge loading mechanism |
| US5310086A (en) * | 1993-05-27 | 1994-05-10 | Helmut Julinot | Method and apparatus for automatically disarming self defense spray device |
| US5329516A (en) * | 1991-11-08 | 1994-07-12 | Pioneer Electronic Corporation | Disk player with internal conveyor for exchanging stored disks |
| US5386403A (en) * | 1992-04-22 | 1995-01-31 | Matsushita Electric Industrial Co., Ltd. | Single motor disk loading device with lock gear |
| US5386407A (en) * | 1991-05-14 | 1995-01-31 | Samsung Electronics Co., Ltd. | Apparatus for ejecting a caddy from a disk player |
| US5391082A (en) * | 1993-10-26 | 1995-02-21 | Airhart; Durwood | Conductive wedges for interdigitating with adjacent legs of an IC or the like |
-
1994
- 1994-11-10 US US08/337,941 patent/US5561653A/en not_active Ceased
-
1998
- 1998-10-01 US US09/164,834 patent/USRE36511E/en not_active Expired - Fee Related
Patent Citations (7)
| Publication number | Priority date | Publication date | Assignee | Title |
|---|---|---|---|---|
| US3660637A (en) * | 1971-03-10 | 1972-05-02 | Gen Electric | Electric oven toaster door operating mechanism |
| US4419703A (en) * | 1981-11-16 | 1983-12-06 | Dma Systems Corporation | Disc cartridge loading mechanism |
| US5386407A (en) * | 1991-05-14 | 1995-01-31 | Samsung Electronics Co., Ltd. | Apparatus for ejecting a caddy from a disk player |
| US5329516A (en) * | 1991-11-08 | 1994-07-12 | Pioneer Electronic Corporation | Disk player with internal conveyor for exchanging stored disks |
| US5386403A (en) * | 1992-04-22 | 1995-01-31 | Matsushita Electric Industrial Co., Ltd. | Single motor disk loading device with lock gear |
| US5310086A (en) * | 1993-05-27 | 1994-05-10 | Helmut Julinot | Method and apparatus for automatically disarming self defense spray device |
| US5391082A (en) * | 1993-10-26 | 1995-02-21 | Airhart; Durwood | Conductive wedges for interdigitating with adjacent legs of an IC or the like |
Cited By (14)
| Publication number | Priority date | Publication date | Assignee | Title |
|---|---|---|---|---|
| US6583951B1 (en) * | 1999-11-12 | 2003-06-24 | Terastor Corporation | Shuttle motion mechanism |
| CN100409322C (en) * | 2003-01-27 | 2008-08-06 | 三星电子株式会社 | Slim optical drive and portable computer with the drive |
| US7143422B2 (en) * | 2003-01-27 | 2006-11-28 | Samsung Electronics Co., Ltd. | Slim optical disc drive |
| US20040148614A1 (en) * | 2003-01-27 | 2004-07-29 | Samsung Electronics Co., Ltd | Slim optical disc drive |
| US20040223420A1 (en) * | 2003-04-02 | 2004-11-11 | Kazuo Yokota | Disk apparatus |
| US7325242B2 (en) * | 2003-04-02 | 2008-01-29 | Teac Corporation | Disk apparatus |
| US20070235538A1 (en) * | 2006-04-06 | 2007-10-11 | Benq Corporation | Electronic device and an ejection device for ejecting a separable device from the electronic device |
| US7837092B2 (en) * | 2006-04-06 | 2010-11-23 | Qisda Corporation | Electronic device and an ejection device for ejecting a separable device from the electronic device |
| US20130300272A1 (en) * | 2008-04-25 | 2013-11-14 | Apple Inc. | Compact ejectable component assemblies in electronic devices |
| US8960818B2 (en) * | 2008-04-25 | 2015-02-24 | Apple Inc. | Compact ejectable component assemblies in electronic devices |
| US9853671B2 (en) | 2008-04-25 | 2017-12-26 | Apple Inc. | Compact ejectable component assemblies in electronic devices |
| US10447324B2 (en) | 2008-04-25 | 2019-10-15 | Apple Inc. | Compact ejectable component assemblies in electronic devices |
| US20140307372A1 (en) * | 2011-05-31 | 2014-10-16 | Apple Inc. | Systems and methods for ejecting removable modules from electronic devices |
| US9445520B2 (en) * | 2011-05-31 | 2016-09-13 | Apple Inc. | Systems for ejecting removable modules from electronic devices |
Also Published As
| Publication number | Publication date |
|---|---|
| US5561653A (en) | 1996-10-01 |
Similar Documents
| Publication | Publication Date | Title |
|---|---|---|
| USRE36511E (en) | Ejector for a tray device | |
| US6721177B1 (en) | Mounting apparatus for data storage device | |
| US7254821B2 (en) | Dustcover device for data storage devices | |
| US5517478A (en) | Disc player for performing disc loading and ejecting in response to opening and closing of lid | |
| US6826764B2 (en) | Disc device with self-hold solenoid in eject/lock mechanism | |
| JP2004327002A (en) | Push key mechanism assembly for optical disk drive | |
| US6785896B2 (en) | Locking mechanism of external optical disk drive | |
| US6545966B1 (en) | Mechanism for triggering an eject device of a disk player | |
| KR100526726B1 (en) | Recording device of disk received in cartridge | |
| US6996834B2 (en) | Disk drive with ejection apparatus | |
| EP1243476B1 (en) | Electronic equipment with card reader | |
| JP2688474B2 (en) | Ejection device for tray device | |
| JPH0145148B2 (en) | ||
| KR200197846Y1 (en) | Cd-rom drive cover for computers | |
| CN1877726B (en) | Information recording and reproducing device | |
| US7120919B2 (en) | Disk holding device for optical disk reading device | |
| KR100402403B1 (en) | Recording/reproducing device | |
| JP3729223B2 (en) | Recording disk loading device | |
| CN1052553C (en) | Disc part ejector | |
| JP3012519B2 (en) | Recording and / or reproducing apparatus for cassette type recording medium | |
| JP3383443B2 (en) | Disc reproducing apparatus and control method thereof | |
| US6185066B1 (en) | Magnetic disk drive | |
| JP3496236B2 (en) | Disc loading device | |
| JPS6123599B2 (en) | ||
| JP3551501B2 (en) | Disk unit |
Legal Events
| Date | Code | Title | Description |
|---|---|---|---|
| FPAY | Fee payment |
Year of fee payment: 4 |
|
| AS | Assignment |
Owner name: BENQ CORPORATION, TAIWAN Free format text: CHANGE OF NAME;ASSIGNORS:ACER PERIPHERALS, INC.;ACER COMMUNICATIONS & MULTIMEDIA INC.;REEL/FRAME:014567/0715 Effective date: 20011231 |
|
| FPAY | Fee payment |
Year of fee payment: 8 |
|
| REMI | Maintenance fee reminder mailed | ||
| LAPS | Lapse for failure to pay maintenance fees |