US9787756B2 - Proximity-enabled remote control - Google Patents

Proximity-enabled remote control Download PDF

Info

Publication number
US9787756B2
US9787756B2 US14/738,233 US201514738233A US9787756B2 US 9787756 B2 US9787756 B2 US 9787756B2 US 201514738233 A US201514738233 A US 201514738233A US 9787756 B2 US9787756 B2 US 9787756B2
Authority
US
United States
Prior art keywords
mobile device
remote control
user interface
action
control user
Prior art date
Legal status (The legal status is an assumption and is not a legal conclusion. Google has not performed a legal analysis and makes no representation as to the accuracy of the status listed.)
Expired - Fee Related, expires
Application number
US14/738,233
Other versions
US20150281323A1 (en
Inventor
Steven K. Gold
Current Assignee (The listed assignees may be inaccurate. Google has not performed a legal analysis and makes no representation or warranty as to the accuracy of the list.)
N99 LLC
Original Assignee
Individual
Priority date (The priority date is an assumption and is not a legal conclusion. Google has not performed a legal analysis and makes no representation as to the accuracy of the date listed.)
Filing date
Publication date
Priority to US14/738,233 priority Critical patent/US9787756B2/en
Application filed by Individual filed Critical Individual
Publication of US20150281323A1 publication Critical patent/US20150281323A1/en
Assigned to N99 LLC reassignment N99 LLC ASSIGNMENT OF ASSIGNORS INTEREST (SEE DOCUMENT FOR DETAILS). Assignors: GOLD, STEVEN K.
Priority to US15/710,366 priority patent/US9942304B2/en
Application granted granted Critical
Publication of US9787756B2 publication Critical patent/US9787756B2/en
Priority to US15/948,529 priority patent/US10326823B2/en
Priority to US16/436,713 priority patent/US10778747B2/en
Priority to US17/007,107 priority patent/US11265364B2/en
Priority to US17/569,401 priority patent/US11665224B2/en
Priority to US18/137,034 priority patent/US11895179B2/en
Priority to US18/513,701 priority patent/US12381935B2/en
Expired - Fee Related legal-status Critical Current
Adjusted expiration legal-status Critical

Links

Images

Classifications

    • HELECTRICITY
    • H04ELECTRIC COMMUNICATION TECHNIQUE
    • H04MTELEPHONIC COMMUNICATION
    • H04M1/00Substation equipment, e.g. for use by subscribers
    • H04M1/72Mobile telephones; Cordless telephones, i.e. devices for establishing wireless links to base stations without route selection
    • H04M1/724User interfaces specially adapted for cordless or mobile telephones
    • H04M1/72403User interfaces specially adapted for cordless or mobile telephones with means for local support of applications that increase the functionality
    • H04M1/72409User interfaces specially adapted for cordless or mobile telephones with means for local support of applications that increase the functionality by interfacing with external accessories
    • H04M1/72412User interfaces specially adapted for cordless or mobile telephones with means for local support of applications that increase the functionality by interfacing with external accessories using two-way short-range wireless interfaces
    • HELECTRICITY
    • H04ELECTRIC COMMUNICATION TECHNIQUE
    • H04LTRANSMISSION OF DIGITAL INFORMATION, e.g. TELEGRAPHIC COMMUNICATION
    • H04L67/00Network arrangements or protocols for supporting network services or applications
    • H04L67/01Protocols
    • H04L67/02Protocols based on web technology, e.g. hypertext transfer protocol [HTTP]
    • H04L67/025Protocols based on web technology, e.g. hypertext transfer protocol [HTTP] for remote control or remote monitoring of applications
    • GPHYSICS
    • G06COMPUTING OR CALCULATING; COUNTING
    • G06FELECTRIC DIGITAL DATA PROCESSING
    • G06F3/00Input arrangements for transferring data to be processed into a form capable of being handled by the computer; Output arrangements for transferring data from processing unit to output unit, e.g. interface arrangements
    • G06F3/01Input arrangements or combined input and output arrangements for interaction between user and computer
    • G06F3/048Interaction techniques based on graphical user interfaces [GUI]
    • G06F3/0481Interaction techniques based on graphical user interfaces [GUI] based on specific properties of the displayed interaction object or a metaphor-based environment, e.g. interaction with desktop elements like windows or icons, or assisted by a cursor's changing behaviour or appearance
    • HELECTRICITY
    • H04ELECTRIC COMMUNICATION TECHNIQUE
    • H04LTRANSMISSION OF DIGITAL INFORMATION, e.g. TELEGRAPHIC COMMUNICATION
    • H04L67/00Network arrangements or protocols for supporting network services or applications
    • H04L67/01Protocols
    • H04L67/12Protocols specially adapted for proprietary or special-purpose networking environments, e.g. medical networks, sensor networks, networks in vehicles or remote metering networks
    • H04L67/125Protocols specially adapted for proprietary or special-purpose networking environments, e.g. medical networks, sensor networks, networks in vehicles or remote metering networks involving control of end-device applications over a network
    • HELECTRICITY
    • H04ELECTRIC COMMUNICATION TECHNIQUE
    • H04MTELEPHONIC COMMUNICATION
    • H04M1/00Substation equipment, e.g. for use by subscribers
    • H04M1/72Mobile telephones; Cordless telephones, i.e. devices for establishing wireless links to base stations without route selection
    • H04M1/724User interfaces specially adapted for cordless or mobile telephones
    • H04M1/72403User interfaces specially adapted for cordless or mobile telephones with means for local support of applications that increase the functionality
    • H04M1/72409User interfaces specially adapted for cordless or mobile telephones with means for local support of applications that increase the functionality by interfacing with external accessories
    • H04M1/72415User interfaces specially adapted for cordless or mobile telephones with means for local support of applications that increase the functionality by interfacing with external accessories for remote control of appliances
    • H04M1/7253
    • H04M1/72533
    • H04W4/008
    • HELECTRICITY
    • H04ELECTRIC COMMUNICATION TECHNIQUE
    • H04WWIRELESS COMMUNICATION NETWORKS
    • H04W4/00Services specially adapted for wireless communication networks; Facilities therefor
    • H04W4/80Services using short range communication, e.g. near-field communication [NFC], radio-frequency identification [RFID] or low energy communication
    • HELECTRICITY
    • H04ELECTRIC COMMUNICATION TECHNIQUE
    • H04MTELEPHONIC COMMUNICATION
    • H04M2250/00Details of telephonic subscriber devices
    • H04M2250/04Details of telephonic subscriber devices including near field communication means, e.g. RFID

Definitions

  • Mobile devices meaning portable electronic devices that are capable of wireless communication (e.g., cell phones, smart phones)—are widely used for a variety of digital and voice communication, and other purposes.
  • Today's mobile devices enable, among other things, email, text messaging, instant messaging, Internet browsing and (still) phone conversation.
  • mobile devices may be used to remotely control objects.
  • mobile devices may run applications that allow these devices to wirelessly control a home entertainment or lighting system.
  • Such remote control may, for example, be by means of direct wireless control of an object (e.g., Bluetooth), meaning direct electromagnetic communication between the mobile device and the controlled object (such as is the case with today's television remote controls). This may occur by means of any of a variety of wireless protocols.
  • the present invention in one embodiment, relates to a near-field communication (NFC) enabled mobile device that is able to communicate with one or more NFC element-associated remotely controllable objects, to cause the presentation of one or more object-relevant remote control user interfaces on a mobile device, the object-relevant remote control user interface which is then capable of receiving inputs from a user of the mobile device (the inputs relating to the user's desire to cause some action at the remotely controllable object, such as a remotely controllable television, for example), and to then wirelessly communicate information by means of a remote computer that electronically facilitates the desired action at the target remotely controllable object.
  • NFC near-field communication
  • a “NFC enabled mobile device” is a mobile device (e.g., smart phone) equipped with a NFC reader (e.g., RFID tag reader) capable of wirelessly receiving a transmitted signal from a tag; this tag (or similar structure or object) is a “NEC element” which may be a passive or active transmitter that is associated (e.g., combined) with a remotely controllable object to provide a “NEC element-associated remotely controllable object”;
  • a “user interface” is a presentation on a mobile device that invites and accepts user input; such a user interface is an “object-relevant remote control user interface” when it is directed to the remote control of a specific object or type of objects; and a “remote computer” is any electronic processing device physically separate from the mobile device.
  • the present invention includes many embodiments, such as variations in the ways that a remotely controllable object may be detected or identified, variations in possible remote control user interfaces and how they are communicated to a device and presented to a user of the device, variations in the protocols used by elements of the invention to communication with one another, and more.
  • embodiments of the present invention may enable feedback from the remotely controllable object to the mobile device, either by means of a remote control user interface, or otherwise, such as tactile feedback or audio signals.
  • Many other variations of the invention are possible.
  • a mobile device such as a smart phone (e.g., an Apple iPhone), having a mobile device-associated NFC element, the smart phone (when brought into physical proximity with an object-associated NFC element, e.g., within five centimeters, such that the mobile device-associated NFC element is capable of reading/receiving a signal from the object-associated NFC element) that identifies a remotely controllable object and then enables a specific remote control user interface for the remotely controllable object, the remote control user interface then being able to receive input from a user of the mobile device (e.g., an indication of a desired action at the remotely controllable object) using the remote control user interface presented on the smart phone, and the smart phone which then communicates (e.g., over the Internet or other network) information relating to the desired action to a remote computer (such as one that is in the “cloud” and remotely located from the object) to ultimately cause the desired action at the object.
  • a remote computer such as one that is in the “cloud” and
  • subsequent inputs may be input to the smart phone by the user to cause further responses at the remotely controllable object;
  • the remote control user interface may be updated periodically, based on either user actions or sensed inputs at the remotely controllable object, the user may receive information by means of the smart phone relating to the status of the remotely controllable object, and more.
  • Another example representative of a method of the present invention includes the steps of: 1) a mobile device (being NFC equipped) being brought into physical proximity (e.g., within ten centimeters) with a NFC element that is associated with a remotely controllable object, 2) based on and in response to such approximation of the mobile device and the remotely controllable object, the mobile device then presenting a relevant remote control user interface that is capable of receiving input from a user relating to a desired action (by the user) at the object, 3) the mobile device remote control user interface receiving input from the user relating to a desired action, 4) the mobile device wirelessly communicating information relating to the desired action with a remote computer, 5) the remote computer communicating information relating to the desired action to an object controller associated with the object, and 6) the object controller facilitating the desired action at the object.
  • Subsequent steps may relate to feedback of information sensed at the remotely controllable object, updates to the remote control user interface, and more. Additional steps, and variations on these steps, are also possible.
  • an authentication step (or multiple authentication steps) may occur at points in the process, such as only presenting a remote control user interface to certain users, or to certain (or all) users positioned within a defined geographic area (or space), or performing certain tasks (or exhibiting certain behaviors, such as may be sensed my sensors associated with a mobile device); or limiting inputs at the mobile device, or actions at the remotely controllable object, to certain users (or user groups) based on user identification, user authentication (by means such as a password, identity, behavior, or biometric scan), user behavior, or any of a variety of other information, inputs or metrics.
  • NFC near-field communication
  • RFID RFID
  • bar code QR code
  • object identification technologies are evolving rapidly along with how we refer to them, and each of these enables the passive non-contact identification of an object in a manner that is consistent with the present invention.
  • FIG. 1A shows a representation of an embodiment of a first system of the present invention.
  • FIG. 1B shows a representation of a second embodiment of a system of the present invention.
  • FIG. 1C shows a representation of a third embodiment of a system of the present invention.
  • FIG. 1D shows a representation of a fourth embodiment of a system of the present invention.
  • FIG. 2A shows a representation of a first embodiment of a remote control user interface.
  • FIG. 2B shows a representation of a second embodiment of a remote control user interface.
  • FIG. 2C shows a representation of a third embodiment of a remote control user interface.
  • FIG. 3A shows a representation of a first embodiment of a method of the present invention.
  • FIG. 3B shows a representation of a second embodiment of a method of the present invention.
  • FIG. 3C shows a representation of a third embodiment of a method of the present invention.
  • the present invention relates to systems and methods for proximity-based remote controls (also, without limitation, referred to as proximity-based identification communication) that may be used, for example, to facilitate the identification of a remotely controllable object and enable a remote control user interface (RCUI) to be presented by a mobile device that then allows a user of the mobile device to remotely control the identified object by means of the remote control user interface.
  • a RCUI may be presented by a mobile device on an electronic display as soft keys, for example, and such soft keys may be arranged or otherwise presented in a way that is relevant to (or even reconfigurable by) the system or a user, possibly based on user identification, authentication, preferences, user location, past behavior, or other information.
  • a user may tag (e.g., approximate a mobile device to) an object to thereby remotely control the object
  • embodiments of the present invention may enable upload of a RCUI (or the information needed to create a RCUI on a mobile device) to a mobile device, based on identification of an object desired to be controlled, from any of a variety of sources (e.g., a source associated with the object, a server that is in communication with the mobile device using a network such as the Internet).
  • sources e.g., a source associated with the object, a server that is in communication with the mobile device using a network such as the Internet.
  • a RCUI may take any of a variety of forms, including but not limited to soft keys that are presented by an electronic display of a mobile device.
  • embodiments of the present invention may use any of a variety of means to communicate remote control user interface inputs to an object controller.
  • such communication may take place wirelessly over a network, such as the Internet, and may include communication between a mobile device and a remote computer, and a remote computer and an object controller (that controls a controllable feature of the object), for example.
  • a proximity-based communication technology is near-field communication (NFC) technology, whereby a NFC reader-equipped mobile device communicates with a NFC element that is associated with a remotely controllable object.
  • NFC near-field communication
  • a NFC element is either attached to, or located physically near, an object.
  • a NFC element may be built into the structure of a remotely controllable object, such as a toy.
  • a NFC element may be located near a remotely controllable object, such as being placed on a wall of a room for which the lighting system is capable of being remotely controlled (in this example, it would be impractical to attach or access a NFC element onto a lighting element located in the ceiling).
  • this enables an object-relevant remote control user interface to be presented by the mobile device, in order to allow a user to control the remotely controllable object by means of the relevant remote control user interface enabled at the mobile device.
  • an object relevant remote control user interface is also referred to herein as a “remote control user interface,” “user interface,” or “RCUI.”
  • An example of such a remote control user interface may be a presentation of soft keys (e.g., virtual buttons or other controls) on an electronic display on a mobile device.
  • Such soft keys may be as simple as “on” and “off” buttons, or they may be much more complex control elements, such as visual representations of sliders, knobs switches and more.
  • proximity-based identification technology that is an optical image reader (e.g., mobile device camera, bar code reader) that is capable of reading a bar code or other visual identification marking printed onto, or otherwise associated with, an object, to thereby enable a relevant remote control user interface in accordance with the invention.
  • optical image reader e.g., mobile device camera, bar code reader
  • Other embodiments involving radio, visual, sound, movement and location e.g., the enablement of remote control user interface based on a location of a mobile device) proximity-based communication means are also possible.
  • a mobile device enables control of an object by means of wirelessly communicating information (e.g., over the Internet or other network) to a remote computer (e.g., a server or other computer located in the “cloud” and physically separate from an object), to cause the remote computer to further communicate information to an object controller that is capable of performing an action at or by the object.
  • a remote computer e.g., a server or other computer located in the “cloud” and physically separate from an object
  • proximity means physically close, and more specifically that two structures (such as a mobile device and a NFC element) are either within a meter of each other, within ten centimeters of each other, within five centimeters of each other, within three centimeters of each other, within two centimeters of each other, within one centimeter of each other, or within any similar distance that enables accurate reading of a NFC or radio frequency identification (RFID) signal.
  • RFID radio frequency identification
  • identification means such as the reading of a bar code or QR code
  • distances may be lesser or greater, such as within tens of meters, within one meter, within 10 centimeters, or possibly within much greater distances.
  • proximity will be “in the line of sight” or a distance at which a user may readily access a particular remotely controllable object.
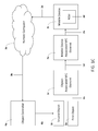
  • FIG. 1A shows a representation of a first embodiment of a system of the present invention.
  • an object 1 a is associated with an object-associated NFC element 1 c (the association represented as 1 b )
  • communication occurs between object-associated NFC element 1 c and mobile device-associated NFC element 2 a (the communication represented as 1 d )
  • mobile device-associated NFC element 2 a communicates with mobile device 2 c (the connection represented as 2 b ) in order to enable a remote control user interface (“RCUI”) 2 d
  • RCUI remote control user interface
  • wireless communication occurs between mobile device 2 c and a remote computer 3 a (such wireless communication represented by 2 e )
  • the remote computer 3 a then communicates with an object controller 4 a (the communication represented as 3 b ) to ultimately control object 1 a (such interaction represented as 4 b ).
  • object-associated NFC element could instead be a bar code or other identifying mark or characteristic at or near the object
  • mobile device-associated NFC element could instead be an optical reader (such as a mobile device camera that serves as a bar code reader or scanner), and the communication between them could instead be a reading by the mobile device of the optical bar code or visual identifier.
  • an optical implementation versus the use of NFC
  • the use of a printed bar code or other optically-readable identifier or characteristic at an object is less expensive to implement in many cases.
  • bar codes may be practical on printed documents, books, envelopes, packaging, garments, signs, etc.
  • Other embodiments of systems of the present invention including but not limited to object identification processes and means, are within the scope of the present invention.
  • FIG. 1B shows a second representation of an embodiment of a system of the present invention, having additional elements relative to the embodiment shown in FIG. 1A .
  • additional elements are directed to providing “feedback” in a direction from generally the object to the mobile device (e.g., rather than providing control inputs at a mobile device to facilitate control of an object, these additional elements are, in one embodiment, intended to enable feedback from an object back to a mobile device, in order, for example, to provide a user with feedback and/or to facilitate control of the object).
  • FIG. 1B shows a second representation of an embodiment of a system of the present invention, having additional elements relative to the embodiment shown in FIG. 1A .
  • Such additional elements are directed to providing “feedback” in a direction from generally the object to the mobile device (e.g., rather than providing control inputs at a mobile device to facilitate control of an object, these additional elements are, in one embodiment, intended to enable feedback from an object back to a mobile device, in order, for example, to provide a user with feedback and
  • these additional elements may include: communication between mobile device-associated NFC element 2 a and object-associated NFC element 1 c (such communication represented as additional element 1 d ′), connection between mobile device 2 c and mobile device-associated NFC element 2 a (such connection represented as additional element 2 b ′), wireless communication between remote computer 3 a and mobile device 2 c (such communication represented as additional element 2 e ′), communication between remote computer 3 a and object controller 4 a (such communication represented as additional element 3 b ′), and interaction between object controller 4 a and object 1 a (such interaction represented as additional element 4 b ′).
  • FIG. 1B shows these additional elements (relative to FIG.
  • each of such additional elements which may be used in an embodiment of the present invention, or combined with other such additional elements (shown in FIG. 1A ) to create other embodiments of the present invention.
  • one embodiment includes wireless communication 2 e ′ and communication 3 b ′, and not include communication 1 d ′, connection 2 b ′ and interaction 4 d ′.
  • another embodiment of the present invention includes wireless communication 2 e ′ and not communication 1 d ′, connection 2 b ′ communication 3 b ′ and interaction 4 b ′.
  • connection For purposes of this disclosure, the terms “communication,” “connection,” and “interaction” are used interchangeably and generally to mean a transfer of information between a first element and a second element in accordance with embodiments of the present invention. Other embodiments and variations of these embodiments of systems are within the scope of the present invention.
  • Object 1 a may be any remotely controllable object, meaning that object 1 a may be the subject of an action (or actions). Such action may be a form of control of object 1 a , for example, such as turning it on or off, or altering its direction. Such action may also possibly be electronic in nature (and/or not readily apparent to a user of object 1 a ), such as changing a set-point stored in an object-associated data set, or configuring or reconfiguring software associated with the object.
  • Embodiments of the present invention may include other types of “action.”
  • Representative object 1 a include, but are not limited to: electronic devices, mechanical devices, electromechanical devices, televisions, cable set-top boxes, media players, toys, entertainment systems, vehicles, aircraft, computers, mobile devices, office equipment, lighting, climate control systems, documents, security systems, doors or passages, manufacturing equipment, exercise equipment, medical devices, living organisms (e.g., by means of an electromechanical or medical device interface), and more.
  • Representative actions that one or more objects may be subject to include, but are not limited to: being turned on, being turned off, being opened, being closed, getting directed or redirected (e.g., left, right, up, down), entering settings, changing settings, enabling access, denying access, having data transferred to object electronic memory, having a data element reset in object electronic memory, uploading or downloading software or executable code to the object (e.g., over the Internet or other network using the Internet Protocol (IP)) or other network, such as a Local Area Network (LAN), causing software or executable code to be run by an electronic processor that is associated with the object, changing channels, changing volume, causing an action to return to a default setting or mode, and more.
  • Actions that are performed at an object include, for example, actions that are mechanical, electrical, electromechanical, and/or biological. Other variations in objects and ways to control such objects fall within the scope of the present invention.
  • Object-associated NFC element 1 c is any means that enables “near-field” contactless communication with a mobile device-associated NFC element of the present invention.
  • NFC technology aimed at use with mobile devices may generally perform one or more of the following functions, without limitation: 1) card emulation to cause a NFC element to behave like a contactless card; 2) reader mode wherein a NFC element may receive signals from a RFID tag or other passive or active transmitter; and 3) peer-to-peer (P2P) mode when a first NFC element associated with an object is able to communicate with a second NFC element associated with a mobile device, and more.
  • P2P peer-to-peer
  • a particular NFC technology may transmit information, possibly receive information, or both (e.g., exchange information).
  • Such NFC technology may be currently (and in general) an extension of the ISO/IEC 14443 proximity card (RFID) standard that combines the interface of a smartcard and a reader into a single unit.
  • RFID proximity card
  • a NFC-enabled device may be capable of communicating with existing ISO/IEC 1443 smartcards and readers, and also with other NFC-enabled devices. In general, this makes today's NFC technologies compatible with existing contactless communication infrastructure, such as contactless access and payment systems used in public transportation and retail environments, respectively.
  • “close physical proximity” may, as discussed earlier, mean distances of up to a meter, or up to ten centimeters, or up to five centimeters, or other distances; and possibly distances of more than a meter such as may be enabled by an active transmitter or more sensitive receiver.
  • NFC element operating ranges depend on the type of NFC technology being used, specific models, and the way in which a particular NFC technology is implemented.
  • NFC near-field communication
  • RFID RFID
  • Association 1 b between object 1 a and object-associated NFC element 1 c may take any of a variety of forms.
  • object-associated NFC element 1 c may be incorporated into or onto the physical structure of object 1 a (e.g., embedded in a television, positioned on the surface of a set-top box).
  • object-associated NFC element 1 c may be physically separate from object 1 a .
  • object-associated NFC element 1 c may be located on or in a physical (e.g., paper) user manual relating to object 1 a .
  • object-associated NFC element 1 c may be located on, at, or within a building or other structure, and may enable control of an object associated with the building or other structure, such as a lighting or entertainment system in a room of the building.
  • object-associated NFC element 1 c may be located or positioned at a related object that is physically distant from the object to be controlled, but nevertheless associated with the object to be controlled.
  • one such embodiment involves using a mobile device to tag a first object that is similar to a second object 1 z (e.g., first and second objects are of the same type or category, first and second objects have one or more similar controllable elements), and being able to remotely control the second object 1 z using the mobile device and user interface.
  • FIG. 1C shows a representation of an embodiment relating to the concept of tagging a first object 1 a and then being able to use a relevant RCUI to control a similar second object 1 z .
  • Various other associations 1 b between object 1 a and object-associated NFC element 1 c are within the scope of the present invention.
  • a feature of any such association 1 b is that a user may realize or be informed (e.g., by written notice or an image or logo that represents, for example, a network of objects or elements) that a particular object-associated NFC element 1 c is associated with object 1 a.
  • Mobile device-associated NFC element 2 a may be a NFC element as described previously. Mobile device-associated NFC element 2 a may be the same type as, or different from, object-associated NFC element 1 c . For example, mobile device-associated NFC element 2 a may be a fully-functional means that may serve to both wirelessly transmit and receive information, whereas object-associated NFC element 1 c may simply be capable of transmitting a signal (e.g., a passive RFID tag). Mobile device-associated NFC element may be integrated with a mobile device, or may be connected or otherwise attached to a mobile device of the present invention using any of a variety of means. Mobile device-associated NFC element may be embodied in any of a variety of ways.
  • Mobile device-associated NFC element 2 a and object-associated NFC element 1 c are capable of communicating with one another, such as when they are brought into physical proximity with one another (this process may be referred to as “tagging” an object, and an object may be “tagged” by a NFC-equipped mobile device), either unidirectionally (meaning information is transmitted by an object-associated NFC element and received by a mobile device-associated NFC element) or bidirectionally (meaning both NFC elements have the ability to transmit information to, and receive information from, each other).
  • NFC communication between these elements occurs wirelessly (even when the structures associated with each NFC element touch one another).
  • communication may be one-way transmission of information from object-associated NFC element 1 c to mobile device-associated NFC element 2 a , as represented by 1 d in FIG. 1A (this may occur even when object-associated NFC element 1 c is capable of two-way communication).
  • communication may be two-way, meaning that both of the elements transmit and receive information from one another, as represented by 1 d and 1 d ′ in FIG. 1B .
  • the preference or need for one-way or two-way communication between object-associated NFC element and mobile device-associated NFC element will depend on a variety of factors, including but not limited to the particular application(s) for an embodiment of a system of the present invention.
  • only identification of object 1 a by mobile device 2 c may be desired, in which case one-way flow of information from object-associated NFC element 1 c to mobile device-associated NFC element 2 a is required.
  • References to “physical proximity” in this disclosure are intended to mean that NFC elements of the present invention are positioned close enough together that they are capable of communicating with one another. Variations in the communication between object-associated NFC element 1 c and mobile device-associated NFC element 2 a are within the scope of the present invention.
  • the information communicated between an object-associated NFC element and a mobile device-associated NFC element may include, without limitation, information relating to the identity of the object.
  • Such information may relate to a remote control user interface, such as providing an upload of a particular RCUI to a mobile device (or alternatively providing information needed for the device to create a RCUI, e.g., based on accessing a library of remote control user interface elements that may be stored either by the device or by a remote computer, for example).
  • Other types of information may also be communicated, possibly including information being sent from a mobile device to storage by electronic memory associated with the object-associated NFC element.
  • any of a variety of communication protocols may be used to facilitate such communication between an object-associated NFC element and a mobile device-associated NFC element.
  • Mobile device 2 c may be any of a variety of portable electronic devices (and that are equipped with, enabled, or associated with mobile device-associated NFC element 2 a ).
  • mobile device 2 c is a smart phone (e.g., Apple iPhone, Android phone, Blackberry device).
  • mobile device 2 c may be another device or technology fitting the functional description of a mobile device of the present invention (e.g., capable of presenting information to a user, receiving an input from a user, and being capable of communicating wirelessly with a remote computer).
  • mobile device 2 c includes a display capable of visually presenting information to a user.
  • embodiments may include other means of presentation of information to a user, such as presenting information to the user via audio output (e.g., providing prerecorded and/or synthesized sounds, such as providing prerecorded and/or synthesized speech).
  • Embodiments of mobile device 2 c of the present invention may also provide tactile output, such as having the device vibrate.
  • embodiments of mobile device 2 c of the present invention include means for receiving an input (or multiple inputs, or simultaneous inputs) from a user of the device. Examples of means for receiving an input include, but are not limited to: soft keys, touch screen (e.g., interactive touch display), hard keys, switches, knobs, microphones, and user manipulation (e.g., tilting, turning, shaking) of the device. Variations in mobile devices, display means and input means of the present invention are within the scope of the present invention.
  • Remote control user interface 2 d is, in one embodiment, a presentation at mobile device 2 c that communicates a remote control, such as one or more soft controls that may be interacted with by a user.
  • Remote control user interface 2 d enables interaction by a user to facilitate control of an object 1 a.
  • remote control user interface 2 d may automatically appear on a display of a mobile device, for example, and be readily available for use by a user.
  • remote control user interface 2 d may be uploaded to a mobile device and stored for presentation and use at a future time. Control of an object 1 a may be facilitated by remote control user interface 2 d in any of a variety of ways, and using any of a wide range of embodiments.
  • remote control user interface 2 d may be a visual presentation on an interactive (e.g., touch screen) display, such as the representative embodiments of remote control user interface shown in FIGS. 2A-2C , each of which shows a simplified representation of a mobile device 2 c having a touch screen (e.g., display that can be used to both present information to a user of the device, and receive input from the user of the device, such as by means of touching the display surface with a finger) upon which representations of various embodiments of remote control user interface 2 d are shown.
  • remote control user interface 2 d may present information in other ways, and/or receive input from a user in other ways.
  • remote control user interface 2 d may be presented on another type of visual display, such as a non-interactive (e.g., non-touch screen) display.
  • remote control user interface may be presented as hard keys or controls, possibly involving an indication of which hard keys or controls may be used to control a particular target object.
  • Embodiments may also involve non-visual presentations of a remote control user interface.
  • sounds may be used to represent the possibility for a user to interact with such a remote control user interface to provide input or a command.
  • a synthetic voice may notify a user relating to control of a target object, or even guide a user through the input or selection of permissible commands to control a target object.
  • FIGS. 2A-2C Other means and modes of presenting a remote control user interface to a user are within the scope of the present invention.
  • other means of interaction with a remote control user interface of the present invention may be used by embodiments of the present invention.
  • an interactive touch-screen display is used, such as shown in FIGS. 2A-2C .
  • hard keys located on a mobile device may be used to input information to a remote control user interface of the present invention.
  • sounds and/or voice commands may be used to provide input to a remote control user interface of the present invention.
  • movement of the mobile device upon which the remote control user interface is operating may provide input to facilitate control of a target object (e.g., moving or rotating the mobile device to the left to cause a remotely controlled moving object to turn left; moving or tiling the mobile device to the right to cause the same remotely controlled moving object to turn right).
  • a target object e.g., moving or rotating the mobile device to the left to cause a remotely controlled moving object to turn left; moving or tiling the mobile device to the right to cause the same remotely controlled moving object to turn right.
  • remote control user interface 2 d is determined by virtue of object 1 a identification, and then enabled on mobile device 2 c .
  • Remote control user interface may be selected from a group of predetermined remote control user interfaces, e.g., from a library of RCUIs stored in memory.
  • a library of RCUIs may, for example, be stored in memory associated with mobile device 2 c , or in memory associated with remote computer 3 a (and made accessible to mobile device 2 c , for example).
  • embodiments of the present invention may provide for dynamic creation of a RCUI from a library of pre-defined remote control user interface elements.
  • Such a library of RCUI elements may, for example, exist in memory associated with a mobile device 2 c , remote computer 3 a , or NFC element 1 c .
  • RCUI or RCUI element
  • information or data is stored separately from mobile device 2 c
  • such information or data (as needed to facilitate creation or presentation of a RCUI on mobile device 2 c ) is communicated from where the data is stored to mobile device 2 c , using any of a variety of means, including those described herein.
  • a user may place a mobile device 2 c near an object-associated NFC element 1 c for object 1 a to cause mobile device 2 c (possibly in communication with remote computer 3 a ) to identify a relevant remote control user interface 2 d for the particular object 1 a .
  • the enabled remote control user interface 2 d may resemble the representative remote control user interface 2 d shown in FIG. 2B (including on/off, volume and channel selection controls).
  • remote control user interface 2 d is provided from a set of predesigned remote control user interfaces, subject to identification of an object and determination of which one of the set of predesigned remote control user interface is most relevant to a user relative to the remote control of the particular object.
  • a remote control user interface may be dynamically created based on a set (e.g., a library) of predefined remote control user interface elements (e.g., volume control, channel control, direction control), and provided to a user, possibly based on the known preferences of the particular user (e.g., which remote control user interface elements should be included and/or positioned in a particular way, color scheme), or other information relating to a user, object or circumstances.
  • a remote control user interface may be communicated by means of a transfer of executable code or otherwise (e.g., using identifiers that enable selection and configuration of remote control user interface elements) from an object-associated NFC element to a mobile device so that the particular remote control user interface may be enabled on the mobile device.
  • the object-associated NFC element communicates information that enables a mobile device to further communicate with a remote computer in order to transfer information (possibly including instructions, software or executable code, or a combination of these) from the remote computer to the mobile device.
  • the remote control user interface may be provided to the mobile device, or enabled at the mobile device (e.g., presentation to a user, or access enabled for a user) based on a device location, such as may be determined by a device-associated global positioning system (GPS) or Wifi positioning system (WPS), or other device location determination means.
  • GPS global positioning system
  • WPS Wifi positioning system
  • remote control user interfaces of the present invention may be, in some embodiments of the present invention, reconfigurable—possibly either automatically (e.g., by means of a remote control user interface software update, by means of some development at the object), or manually by a user of a mobile device.
  • Examples of reconfiguration may include addition or deletion of a control element (e.g., a button or slider), rearrangement of control elements, and more. Such reconfigurations may occur during an instance of use, or between instances of use.
  • Variations of remote control user interfaces of the present invention, methods and means of their selection, methods and means of their presentation, methods and means of their use, and methods and means of their enablement on a mobile device of the present invention are within the scope of the present invention.
  • any wireless communication described herein including but not limited to the upload of a RCUI from a source to a mobile devices—may be implemented in any of a variety of ways, including, without limitation, by means of current near-field communications technologies and related standards and protocols (e.g., for near-range wireless communications used by certain embodiments of the present invention), as well as current mobile device (e.g., cell phone) communication technologies and related standards and protocols (e.g., for longer-range wireless communication used by certain other embodiments of the present invention). It is understood that wireless communication technologies, standards and protocols are evolving rapidly, and that systems and methods of the present invention may be implemented using any of a wide range of these technologies, standards and protocols.
  • uploading, transferring, transmitting, or otherwise providing a remote control user interface (or any data or information related to such an user interface) described herein may be implemented, for example, by performing such transmission over any network, such as the Internet (or other network that uses the Internet Protocol (IP)), a Local Area Network (LAN), or other similar network.
  • IP Internet Protocol
  • LAN Local Area Network
  • any reference herein to communication over “the Internet” should be understood to refer more generally to any communications performed using the Internet Protocol (IP) or any similar protocol.
  • the systems of FIGS. 1A-1D may include multiple remote control user interfaces.
  • such multiple remote control user interfaces may be stored at the remote computer 3 a , the object 1 a , the object-associated NFC element 1 c , or elsewhere.
  • At least two of the multiple RCUIs may differ from each other and be associated with different remotely-controllable objects.
  • Within the multiple remote control user interfaces there may, for example, be at least: (1) a first remote control user interface associated with a first remotely-controllable object; and (2) a second remote control user interface associated with a second remotely-controllable object.
  • the first remote control user interface may differ from the second remote control user interface, and the first remotely-controllable object may differ from the second remotely-controllable object.
  • the first remote control user interface may include a user interface element (such as a soft key representing a button) that the second remote control user interface does not include.
  • the first and second remotely-controllable objects may be different instances of the same product (e.g., a first and second television of the same make and model), or instances of different products (e.g., a television and a DVR).
  • the first user interface that is associated with the first object is selected, and presented by the mobile device to the user.
  • the second user interface that is associated with the second object is selected, and presented by the mobile device to the user.
  • a mobile device may store (and make accessible to a user) only the first remote control user interface, only the second remote control user interface, or both of them (e.g., a user may be able to select one of them, or switch between them in order to have ready access to two different RCUIs for control of two different objects).
  • a mobile device or other element of an embodiment of a system of the present invention may store various RCUIs (such as those that have been previously accessed or used by a user on a particular mobile device) so that the user may readily access any of them on the mobile device in the future.
  • RCUIs such as those that have been previously accessed or used by a user on a particular mobile device
  • portions or elements of RCUIs may be stored in electronic memory by the mobile device or elsewhere for future access and use, such as for the creation of a future remote control user interface.
  • mobile device 2 c based on input received by mobile device 2 c remote control user interface 2 d relating to an action that a user desires to be performed at object 1 a , mobile device 2 c communicates information relating to the desired action to remote computer 3 a by wireless communications means.
  • wireless communications means may, in one embodiment, be any communication means typically used by cellular phones that uses radio waves to exchange information with one or more base stations (e.g., cell sites) of a network of base stations, the network which is further connected (e.g., by wires, or wirelessly) to remote computer 3 a .
  • base stations e.g., cell sites
  • remote computer 3 a is remote and physically separate from object 1 a , meaning that remote computer 3 a and object 1 a may be located thousands of miles away from each other, for example. In other embodiments of the present invention, remote computer 3 a and object 1 a may be in close proximity. In general, however, mobile device and remote computer are physically distinct.
  • remote computer 3 a is a computer, server or other electronic information processing technology, possibly including or being associated with a database, that is i) capable of receiving information from mobile device 2 c , ii) possibly manipulating, converting or interpreting the received information, and then iii) further communicating the same or new information to object controller 4 a to ultimately facilitate some action to be performed at object 1 a , for example.
  • remote computer 3 a is “in the cloud,” meaning that remote computer 3 a is an information processing system (e.g., computer) that is physically remote and distinct from object 1 a , and may be distributed in nature. As a result, remote computer 3 a may communicate with object 1 a over the Internet or other network. Other embodiments of remote computer 3 a are within the scope of the present invention.
  • Remote computer 3 a communicates with object controller 4 a using any one or more of a variety of means, including, but not limited to, wires, fiber optic cable, or wirelessly.
  • remote computer 3 a communicates with object controller 4 a (the interaction represented in FIG. 1A as 3 b ) using the Internet (which may include wired and/or wireless modes of information transfer, for example), for example.
  • the Internet which may include wired and/or wireless modes of information transfer, for example
  • any of a variety of communications protocols may be used in such an information transfer or exchange 3 b .
  • remote computer 3 a and object controller 4 a are one-way or two-way, the information being transferred from remote computer 3 a to object controller 4 a is sufficient to enable object controller to facilitate the control of object 1 a in a manner desired by a user, according to the input received at the relevant remote control user interface 2 d .
  • Such communication between remote computer 3 a and object controller 4 a may take place by means of a network, such as the Internet. An embodiment may use multiple such communications means, possibly simultaneously. Variations in communication means between remote computer 3 a and object controller 4 a are within the scope of the present invention.
  • Object controller 4 a receives information from remote computer 3 a , such information relating to the desired action to be performed at or upon object 1 a .
  • Object controller 4 a may, in one embodiment, be any means that translates the information received from remote computer 3 a into the action to be implemented at object 1 a , for example.
  • object controller 4 a may be built into object 1 a and may control some controllable aspect of object 1 a , such as a movement or sound volume, for example.
  • object controller 4 a may be external to object 1 a , such as a robot or piece of manufacturing equipment that performs some action to control object 1 a .
  • object controller 4 a may be attachable or connectable to object 1 a .
  • Object controller 4 a may, in one embodiment, include a combination of electronic means to receive and process information, and electromechanical means to cause the performance of a physical movement or action at object 1 a , e.g., opening a door (the door which would, in this example, be object 1 a ), causing a toy to move forward (the toy which would, in this example, be object 1 a ), resetting a medical device (the medical device which would, in this example, be object 1 a ).
  • object controller 4 a may be an electronic processor capable of controlling electronic signals that may facilitate performance of a desired action, e.g., changing volume of a television (the television which would, in this first example, be object 1 a ), changing a presentation on a display (the display which would, in this example, be object 1 a ).
  • object controller 4 a may be an electronic processor that causes execution of code or software in another electronic processor or device.
  • object controller 4 a may be or include, either alone or in combination, without limitation, any of the following: actuator, servo, motor, computer, signal processor, electronic storage device, responsive material, magnetic device, biomechanical means, light, display, heating element, or speaker.
  • object controller 4 a may be or include means that are adjustable or changeable, and that perform any of a wide range of permissible actions at object 1 a . Variations in the way object controller 4 a controls an object 1 a of the present invention are within the scope of the present invention.
  • FIG. 1B shows examples of other possible interactions between various elements an embodiment of the present invention similar to the embodiment shown in FIG. 1A , including interactions 1 d ′, 2 b ′, 2 e ′, 3 b ′ and 4 b ′.
  • Each of these interactions may, for example, relate to a communication protocol (e.g., a signal to initiate or facilitate a communication, acknowledge receipt of information, increase data integrity), or provision of feedback to the recipient element of the present invention.
  • interaction 4 b ′ may provide information from object 1 a to object controller 4 a indicating that a specific desired action has been performed by object 1 a .
  • interaction 4 b ′ may include the provision of information relating to object 1 a that gets communicated back to remote control user interface 2 d (by means of remote computer 3 a ) to provide information at remote control user interface 2 d that would help a user of the remote control user interface 2 d control object 1 a .
  • an embodiment of an individual interaction 1 d ′, 2 b ′, 2 e ′, 3 b ′, 4 b ′ may be a communication (e.g., exchange of data, bits, information) between relevant elements of the present invention that i) transfers information relating to a desired action to be performed at object 1 a , ii) confirms instructions or actions relative to performance of a desired action at object 1 a (e.g., feedback), or iii) provides information to remote control user interface 2 d that helps a user understand, monitor or control object 1 a .
  • Other interactions and communications between elements of the present invention are within the scope of the present invention.
  • FIG. 1C shows a representation of an embodiment of a system of the present invention that represents tagging of a first object 1 a (that is similar to a second object, of the same type as a second object 1 z , or having one or more similar controllable features as second object 1 z ), which—by means of the systems and methods described herein—enables the remote control of second object 1 z .
  • tagging a first image projector with a NFC-equipped mobile device would allow a user to use the mobile device 2 c and remote control user interface 2 d to communicate with a remote computer 3 a and object controller 4 a that controls a second image projector, in order to control the second image projector.
  • the remote control user interface that is enabled may, for example, offer a user the ability to select which specific object (possibly from a group of objects) the user desires to control. For example, tagging a first object that is a remotely controllable toy may enable a relevant remote control user interface that allows a user to select if the user wants to control the first object, or any one (or more) other similar remotely controllable toys.
  • Such ability to select which object to control, from among multiple similar objects may involve user authentication and/or authorization protocols (as described herein) so that any particular mobile device 2 c or user is provided the ability to control only certain objects.
  • Variations in the methods and means for tagging a first object to then be able to control a second object that is similar (or has similar control elements) to the first object are within the scope of the present invention.
  • FIG. 1D shows yet another embodiment of the present invention.
  • first object 1 a is tagged, leading to enablement of a remote control user interface 2 d that facilitates the control of manufacturing equipment (second object 1 z , which is not similar to object 1 a ), which causes the manufacture of a third object 5 which is similar in at least some ways to object 1 a .
  • An example of this would be a user using a mobile device to tag an item of clothing that the user admires and wishes to order in a different color, size, etc.
  • the user Upon tagging the item of clothing, the user would be presented with a remote control user interface that allows the user to select, for example, a garment size, color, fabrics, and possibly other customizable characteristics of the garment.
  • the remote control user interface would then lead to the control (by providing the user's desired garment characteristics) to machinery capable of creating the garment, for example. Such machinery would then, in whole or in part, manufacture the garment according to the desired characteristics as input to the remote control user interface by the user.
  • the result would be a third object 5 that is similar, in at least some ways, to tagged object 1 a.
  • an object may be considered as part of a set of related objects, such an embodiment may be viewed as tagging one element of the set and then controlling another related element of the set.
  • FIGS. 2A-2C each show a representation of an embodiment of remote control user interfaces of the present invention.
  • FIG. 2A shows an embodiment of a remote control user interface 10 a shown on an interactive (e.g., touch screen) display of a mobile device 2 c that could be used to enable control of a residential lighting system.
  • FIG. 2B shows an embodiment of a remote control user interface 11 a shown on an interactive (e.g., touch screen) display of a mobile device 2 c that could be used to control a television, including turning the television on and off, and also enabling channel and volume selection.
  • FIG. 2A shows an embodiment of a remote control user interface 10 a shown on an interactive (e.g., touch screen) display of a mobile device 2 c that could be used to enable control of a residential lighting system.
  • FIG. 2B shows an embodiment of a remote control user interface 11 a shown on an interactive (e.g., touch screen) display of a mobile device 2 c that could be used to control a television
  • FIG. 2C shows an embodiment of a remote control user interface 12 a shown on an interactive (e.g., touch screen) display of a mobile device 2 c that could be used to remotely control a remote control aircraft, enabling a user to cause the aircraft to go left or right, up or down, faster or slower.
  • remote control user interfaces of the present invention may be presented in other ways (e.g., using sounds or voices), may be interacted with in other ways (e.g., mobile device movement, voice commands), may use any of a wide range of control elements and control element presentations (some of which may possibly be modified by a user), and may provide additional information or feedback to a user.
  • Many variations in the remote control user interface of the present invention are within the scope of the present invention.
  • FIG. 3A shows a representation of an embodiment of a method of the present invention 100 .
  • object-associated NFC element and mobile device-associated NFC element are placed in physical proximity (e.g., a distance of less than twenty centimeters from one another).
  • step 100 b mobile device remote control user interface (RCUI) is enabled, meaning that a user interface is presented to a user.
  • step 100 c the remote control user interface receives an input from a user that relates to a desired action (Action-A).
  • Action-A desired action
  • step 100 d the mobile device communicates information relating to Action-A to a remote computer.
  • step 100 e the remote computer further communicates information to an object controller.
  • step 100 f Action-A is implemented at the object.
  • Variations of the method 100 shown in FIG. 3A are within the scope of the present invention, including the addition or deletion of steps in the process, additional communications between various elements of the present invention, possibly enabling visual or tactile feedback to be provided to the user by means of the remote control user interface or other means; updating of information presented on a remote control user interface, possibly including real-time updates relating to an object; and more.
  • Embodiments of the present invention may also present a remote control user interface to a user prior to the tagging (e.g., identification) of a specific object to be controlled.
  • FIG. 3B shows a representation of such an embodiment of a method of the present invention 200 .
  • Method 200 relates to providing remote control user interface prior to tagging an object that is desired to be remotely controlled, involving the steps of: first enabling remote control user interface at a mobile device 200 a , then having the remote control user interface receive input from a user relating to an Action-B 200 b , next placing mobile device-associated NFC element and object-associated NFC element in physical proximity (e.g., tagging the object with the mobile device) 200 c , next mobile device wirelessly communicates information relating to Action-B to a remote computer 200 d , the remote computer then communicates information relating to Action-B to an object controller 200 e , and in a last step of method 200 the Action-B is implemented at the object 200 f .
  • a first object may be tagged, and then a second object (that is similar to the first object, of the same type as the first object, or having at least one common controllable feature as the first object) may be remotely controlled.
  • embodiments of the present invention may include variations in how they are used, the sequence of steps or events during use, and how this provides for the control of objects.
  • FIG. 3C shows such a method 300 , which may be essentially method 200 with some variation, such that a first object is tagged and a second object is controlled.
  • mobile device could show a RCUI and allow a user to provide one or more inputs using the RCUI, and then the mobile device could be used to tag an object in order to control that object in some way, including for example, providing user-specific settings to the object, by means of communication with a remote computer, as described.
  • a similar (but not the same object that is to be controlled) may have been tagged initially, which may have facilitated the upload, download or other provisioning of a relevant RCUI to the mobile device.
  • a user would use a RCUI that allows the user to enter settings for a piece of exercise equipment, such as a treadmill.
  • Settings could relate to the duration and/or difficulty of an exercise session, for example.
  • a user might be able to simply select from one of a variety of exercise routines.
  • These settings would be stored in memory and upon approximation of the NFC-equipped mobile device and a NFC-equipped object (which may be the same or a similar object to one previously tagged, such as the same treadmill as was initially tagged, or a treadmill right next to it or of a similar type at another location), the object would receive the user's selected settings and implement them.
  • Another example relating to embodiments that may apply a method 300 of the present invention relates to tagging a building or associated structure, such as an first object at a front desk of a hotel, and then being able to control various second objects, possibly depending on the location of the mobile device (e.g., a lighting remote control would enable control of lights only in a guest room in which the mobile device is then located). Variations in methods 200 and 300 are within the scope of the present invention. Control of a second object (based on initially tagging a separate but related object) has many benefits, and may be further modified based on the location of a user, user identification or authentication, and more.
  • An embodiment of a method of the present invention may provide for user or device authentication as part of a process.
  • user or mobile device identity might be verified by any of a variety of means prior to enablement (e.g., presentation) of a remote control user interface, or prior to a user's ability to use a remote control user interface, or prior to the acceptance or carrying out of certain user commands by means of a particular remote control user interface.
  • controlling a piece of dangerous machinery might require authentication of the device user prior to enabling control; placing an order that would charge a credit card might seek authentication of the user (or possibly the device, or both) prior to enabling control of the order process; or control of any personal or privately-owned object might require authentication of a mobile device or user, meaning a device or user that has been predetermined to be allowed to control the object.
  • Such authentication could be accomplished in any of a variety of ways, or combinations of ways, using any of a range of means, including but not limited to: username and/or password input, device identification, device location, time of day, timeframe (e.g., if input is received within a certain amount of time from an initial use or other event), biometric data input to a device, user behavior (e.g., speed, movement, past purchases), user metrics (e.g., sensed inputs, trends), and more.
  • Authentication may be automatic or require a user's cooperation.
  • control authority meaning how one or more of multiple possible controlling mobile devices are authorized to control an object (separate from, but possibly in combination with, whether or not such mobile devices or their users are required to be authenticated by any particular implementation of systems and methods of the present invention as described above).
  • control authority over a particular object is granted only to the most recent mobile device to have tagged the object-associated NFC element.
  • control authority only a mobile device within a certain geographic area or proximity to an object is granted the authority to control the object (and in such an embodiment, the granting of a control privilege might be further limited to when the mobile device remains within the certain geographic area or proximity to the object).
  • control authority might be granted to a device or user only during a particular time range (e.g., work shift), or for a particular duration after first use of a particular RCUI to control a particular object, for example.
  • control authority might only be granted to a device or user to control a given object based on whether a mobile device is the first device to tag an object-associated NFC element or, alternatively, if a mobile device is the last device to tag the object's object-associated NFC element, for example (and in the case where the mobile device is the first device to tag an object in order to be able to control it, control authority might further be limited to a certain amount of time, or maintaining proximity to the object, for example).
  • control authority may be granted to a most senior user, e.g., a user with highest experience, rank, or other tiered rating or credential.
  • control authority might relate to a media or entertainment system, such as one commonly found in a home, or one commonly found in front of a seated passenger on a commercial airplane.
  • a first user could tag an object-associated NFC element with a first device to be able to control the object using the first device.
  • a second user could tag the same object-associated NFC element with a second device to control the same object with the second device, and the first device's control authority would be voided (e.g., the first device would no longer be able to control the object).
  • the first device's control authority lasts for the period of time when the device is in proximity to the object, or for a limited period of time (e.g., an hour, duration of a flight, an amount of time that a user has paid for, such payment mechanism which may be incorporated into a method of the present invention) following initial tagging of the object, for example.
  • a limited period of time e.g., an hour, duration of a flight, an amount of time that a user has paid for, such payment mechanism which may be incorporated into a method of the present invention
  • different mobile devices and their users might simultaneously control (e.g., in cooperation, as a crowd-sourced) an object, or different mobile devices and their users might control different controllable aspects of an object, at the same time (and may also, for example, be able to trade off control).
  • authentication and control authority are within the scope of the present invention.
  • Embodiments of the present invention may be used in any of a variety of ways, and for many different purposes.
  • Sample applications include remote control of (among other things): consumer electronic devices, entertainment systems (both residential and commercial, such as those found on aircraft), commercial electronic devices, office equipment, manufacturing processes, transportation means, wheeled craft, sea craft, aircraft, medical devices, medical instrumentation, explosives or other dangerous materials or processes, doors, access portals, tubes, pipes, materials, living organisms, and more.
  • an object controller can control any aspect of a thing or process, the thing or process may represent an embodiment of an object of the present invention.
  • inventions of the present invention may include, without limitation, the identification of an object (or environment) to be controlled by means of approximating a mobile device with the object or a tag associated with the object; upload to the mobile device of a remote control user interface (or instructions or other information that leads to the creation of such a remote control user interface) that is specific to the object and/or the user (e.g., at least partly based on a user's behaviors or preferences); presentation of a remote control user interface by the mobile device that enables control of an object; and facilitation of control of the object (per the inputs provided by a user at the mobile device) by means of wireless communication between the mobile device and a network such as the Internet or similar network.
  • a network such as the Internet or similar network.
  • embodiments of the present invention may enable the mobile device to provide feedback to a user, such feedback based on sensing at, or information about, the object.
  • the inclusion of authentication by some embodiments of the present invention enable access control and customization, such as by permitting some users (but not others) to be able to have a RCUI uploaded to a mobile device in the first place, to have a RCUI functioning on the mobile device, to have certain RCUI control elements present (or not), or to have certain RCUI elements enabled (or disabled).
  • the present invention may enable one or more remote control user interfaces on a given mobile device, either to be presented and used one at a time, or simultaneously.
  • Embodiments of systems and mobile devices of the present invention may facilitate presentation and use of a RCUI “on the fly” (e.g., single use), or may store a library of user interfaces that are accessible to a particular user or device.
  • a RCUI may, according to embodiments of the present invention, be user manipulated (e.g., a user may be able to reconfigure a presentation of RCUI control elements, including moving them around or deleting any that are unnecessary or not used) or otherwise customized by or for a particular user or device, or even according to circumstances such as the location, behavior or other sensed attributes relating to a user.
  • Many variations to these and other features of the present invention are possible.
  • embodiments of the present invention offer many benefits.
  • embodiments of the present invention enable a user to access relevant remote control user interfaces (meaning, for example, a remote control user interfaces that are specific to control of particular target objects), on a mobile device, for one or more objects that the user desires to control—all by means of a NFC initiated physical approximation of the user's mobile device and an object-associated NFC element (as noted, other types of interactions are also within the scope of the present invention).
  • embodiments of the present invention enable mobile device users to remotely control objects by means of wireless communication with a remote server, rather than directly (meaning direct communication between a device and an object, such as would be the case with a current television remote control).
  • Embodiments of the present invention allow a mobile device user to possess and use different remote control user interfaces for each of many different objects, providing remote control user interfaces that are most relevant to each target object.
  • Embodiments of the present invention also benefit users by enabling revisions and updates to remote control user interfaces for particular objects, possibly either automatically or manually based on a user's behaviors or preferences.
  • Another benefit of the present invention relates to user authentication, which may be provided in any of a variety of ways that are not possible using conventional remote controls.
  • Another benefit of the present invention relates to control authority and the ability to provide various approaches (including combinations of approaches) to enable different users control that same object in any of a variety of ways.
  • embodiments of the present invention benefit users by enabling them to use a personal mobile device (rather than one or more other devices) to control one or more remotely controllable objects using remote control user interfaces that are specific and relevant to each object.
  • features of embodiments of the present invention including but not limited to modification of a remote control user interface according a user's preferences or behaviors, and also the application of any of a variety of authentication and control authority schemes, provide other useful benefits. Many other benefits are attributable to embodiments of the present invention.
  • the techniques described above may be implemented in one or more computer programs executing on a programmable computer including a processor, a storage medium readable by the processor (including, for example, volatile and non-volatile memory and/or storage elements), at least one input device, and at least one output device.
  • Program code may be applied to input entered using the input device to perform the functions described and to generate output.
  • the output may be provided to one or more output devices.
  • Each computer program within the scope of the claims below may be implemented in any programming language, such as assembly language, machine language, a high-level procedural programming language, or an object-oriented programming language.
  • the programming language may, for example, be a compiled or interpreted programming language.
  • Each such computer program may be implemented in a computer program product tangibly embodied in a machine-readable storage device for execution by a computer processor.
  • Method steps of the invention may be performed by a computer processor executing a program tangibly embodied on a computer-readable medium to perform functions of the invention by operating on input and generating output.
  • Suitable processors include, by way of example, both general and special purpose microprocessors.
  • the processor receives instructions and data from a read-only memory and/or a random access memory.
  • Storage devices suitable for tangibly embodying computer program instructions include, for example, all forms of non-volatile memory, such as semiconductor memory devices, including EPROM, EEPROM, and flash memory devices; magnetic disks such as internal hard disks and removable disks; magneto-optical disks; and CD-ROMs. Any of the foregoing may be supplemented by, or incorporated in, specially-designed ASICs (application-specific integrated circuits) or FPGAs (Field-Programmable Gate Arrays).
  • a computer can generally also receive programs and data from a storage medium such as an internal disk (not shown) or a removable disk.

Landscapes

  • Engineering & Computer Science (AREA)
  • Computer Networks & Wireless Communication (AREA)
  • Signal Processing (AREA)
  • Human Computer Interaction (AREA)
  • General Health & Medical Sciences (AREA)
  • Medical Informatics (AREA)
  • Health & Medical Sciences (AREA)
  • Computing Systems (AREA)
  • General Engineering & Computer Science (AREA)
  • Theoretical Computer Science (AREA)
  • Physics & Mathematics (AREA)
  • General Physics & Mathematics (AREA)
  • Telephonic Communication Services (AREA)
  • Telephone Function (AREA)
  • Selective Calling Equipment (AREA)

Abstract

The invention relates to systems and methods that enable a mobile device to be approximated with an object in order to enable control of the object. In one possible embodiment of a method of the invention, a mobile device is brought in physical proximity with an object, the identity of the object is determined wirelessly, based on such determination, a remote control user interface is presented by the mobile device, the mobile device receives input relating to a desired control action for the object, and the mobile device wirelessly communicates with a remote computer to facilitate control of the object. Various embodiments of the invention are possible to address a wide range of practical applications.

Description

BACKGROUND
Mobile devices—meaning portable electronic devices that are capable of wireless communication (e.g., cell phones, smart phones)—are widely used for a variety of digital and voice communication, and other purposes. Today's mobile devices enable, among other things, email, text messaging, instant messaging, Internet browsing and (still) phone conversation. In addition, mobile devices may be used to remotely control objects. For example, mobile devices may run applications that allow these devices to wirelessly control a home entertainment or lighting system. Such remote control may, for example, be by means of direct wireless control of an object (e.g., Bluetooth), meaning direct electromagnetic communication between the mobile device and the controlled object (such as is the case with today's television remote controls). This may occur by means of any of a variety of wireless protocols.
Some of the challenges faced by today's remote controls, including those implemented on mobile devices, relate to 1) the difficulties posed to a user to synchronize or otherwise set up a remote control so that it will communicate with a particular object that the user desires to control, 2) the need for a user to have multiple different remote controls for multiple different objects that a user desires to control, 3) difficulties updating remote control user interfaces, if even possible, and 4) a general lack of real-time feedback to the user relating to the object being remotely controlled.
There exists a need for improved methods, devices and systems that allow a user to use a mobile device, such as a common smart phone or similar electronic communication device, to readily “synchronize” the mobile device with one or more remotely controllable objects, and to enable the presentation and use of one or more relevant remote control user interfaces so that a user can efficiently and effectively remotely control one or more remotely controllable objects, possibly including real-time feedback.
BRIEF SUMMARY OF THE PRESENT INVENTION
The present invention, in one embodiment, relates to a near-field communication (NFC) enabled mobile device that is able to communicate with one or more NFC element-associated remotely controllable objects, to cause the presentation of one or more object-relevant remote control user interfaces on a mobile device, the object-relevant remote control user interface which is then capable of receiving inputs from a user of the mobile device (the inputs relating to the user's desire to cause some action at the remotely controllable object, such as a remotely controllable television, for example), and to then wirelessly communicate information by means of a remote computer that electronically facilitates the desired action at the target remotely controllable object. The following definitions are general, not limiting, and detailed below: a “NFC enabled mobile device” is a mobile device (e.g., smart phone) equipped with a NFC reader (e.g., RFID tag reader) capable of wirelessly receiving a transmitted signal from a tag; this tag (or similar structure or object) is a “NEC element” which may be a passive or active transmitter that is associated (e.g., combined) with a remotely controllable object to provide a “NEC element-associated remotely controllable object”; a “user interface” is a presentation on a mobile device that invites and accepts user input; such a user interface is an “object-relevant remote control user interface” when it is directed to the remote control of a specific object or type of objects; and a “remote computer” is any electronic processing device physically separate from the mobile device.
The present invention includes many embodiments, such as variations in the ways that a remotely controllable object may be detected or identified, variations in possible remote control user interfaces and how they are communicated to a device and presented to a user of the device, variations in the protocols used by elements of the invention to communication with one another, and more. In addition, embodiments of the present invention may enable feedback from the remotely controllable object to the mobile device, either by means of a remote control user interface, or otherwise, such as tactile feedback or audio signals. Many other variations of the invention are possible.
One example of an embodiment of a system of the present invention involves a mobile device, such as a smart phone (e.g., an Apple iPhone), having a mobile device-associated NFC element, the smart phone (when brought into physical proximity with an object-associated NFC element, e.g., within five centimeters, such that the mobile device-associated NFC element is capable of reading/receiving a signal from the object-associated NFC element) that identifies a remotely controllable object and then enables a specific remote control user interface for the remotely controllable object, the remote control user interface then being able to receive input from a user of the mobile device (e.g., an indication of a desired action at the remotely controllable object) using the remote control user interface presented on the smart phone, and the smart phone which then communicates (e.g., over the Internet or other network) information relating to the desired action to a remote computer (such as one that is in the “cloud” and remotely located from the object) to ultimately cause the desired action at the object. In this example, subsequent inputs may be input to the smart phone by the user to cause further responses at the remotely controllable object; the remote control user interface may be updated periodically, based on either user actions or sensed inputs at the remotely controllable object, the user may receive information by means of the smart phone relating to the status of the remotely controllable object, and more.
Another example representative of a method of the present invention includes the steps of: 1) a mobile device (being NFC equipped) being brought into physical proximity (e.g., within ten centimeters) with a NFC element that is associated with a remotely controllable object, 2) based on and in response to such approximation of the mobile device and the remotely controllable object, the mobile device then presenting a relevant remote control user interface that is capable of receiving input from a user relating to a desired action (by the user) at the object, 3) the mobile device remote control user interface receiving input from the user relating to a desired action, 4) the mobile device wirelessly communicating information relating to the desired action with a remote computer, 5) the remote computer communicating information relating to the desired action to an object controller associated with the object, and 6) the object controller facilitating the desired action at the object. Subsequent steps may relate to feedback of information sensed at the remotely controllable object, updates to the remote control user interface, and more. Additional steps, and variations on these steps, are also possible. For example, an authentication step (or multiple authentication steps) may occur at points in the process, such as only presenting a remote control user interface to certain users, or to certain (or all) users positioned within a defined geographic area (or space), or performing certain tasks (or exhibiting certain behaviors, such as may be sensed my sensors associated with a mobile device); or limiting inputs at the mobile device, or actions at the remotely controllable object, to certain users (or user groups) based on user identification, user authentication (by means such as a password, identity, behavior, or biometric scan), user behavior, or any of a variety of other information, inputs or metrics.
The preceding two embodiments are simply examples of embodiments of the present invention, and the invention can be embodied and implemented in any of a variety of ways. Examples of variations include different types of system elements (e.g., smart phone, dedicated remote control, portable control system) and related methods, different presentations of a remote control user interface, different communication means and protocols, different means of facilitating control of an object, and more. Systems and methods of the present invention may be implemented in any of a variety of ways. For example, systems and methods of the present invention may be implemented using a bar code and optical reader interaction, instead of near-field communication transmission and reception, respectively. It should be noted that the term “near-field communication” (also referred to as “NEC”) is simply one possible means of having a mobile device interact with an object to learn the identity of the object and/or which remote control user interface (or other element of the invention) to use. NFC, RFID, bar code, QR code and related “object identification” technologies are evolving rapidly along with how we refer to them, and each of these enables the passive non-contact identification of an object in a manner that is consistent with the present invention.
BRIEF DRAWING DESCRIPTIONS
FIG. 1A shows a representation of an embodiment of a first system of the present invention.
FIG. 1B shows a representation of a second embodiment of a system of the present invention.
FIG. 1C shows a representation of a third embodiment of a system of the present invention.
FIG. 1D shows a representation of a fourth embodiment of a system of the present invention.
FIG. 2A shows a representation of a first embodiment of a remote control user interface.
FIG. 2B shows a representation of a second embodiment of a remote control user interface.
FIG. 2C shows a representation of a third embodiment of a remote control user interface.
FIG. 3A shows a representation of a first embodiment of a method of the present invention.
FIG. 3B shows a representation of a second embodiment of a method of the present invention.
FIG. 3C shows a representation of a third embodiment of a method of the present invention.
DETAILED DESCRIPTION OF THE PRESENT INVENTION
The present invention relates to systems and methods for proximity-based remote controls (also, without limitation, referred to as proximity-based identification communication) that may be used, for example, to facilitate the identification of a remotely controllable object and enable a remote control user interface (RCUI) to be presented by a mobile device that then allows a user of the mobile device to remotely control the identified object by means of the remote control user interface. Such a RCUI may be presented by a mobile device on an electronic display as soft keys, for example, and such soft keys may be arranged or otherwise presented in a way that is relevant to (or even reconfigurable by) the system or a user, possibly based on user identification, authentication, preferences, user location, past behavior, or other information. The ability for a user to tag (e.g., approximate a mobile device to) an object to thereby remotely control the object may be implemented in any of a variety of ways. For example, embodiments of the present invention may enable upload of a RCUI (or the information needed to create a RCUI on a mobile device) to a mobile device, based on identification of an object desired to be controlled, from any of a variety of sources (e.g., a source associated with the object, a server that is in communication with the mobile device using a network such as the Internet). A RCUI may take any of a variety of forms, including but not limited to soft keys that are presented by an electronic display of a mobile device. Furthermore, embodiments of the present invention may use any of a variety of means to communicate remote control user interface inputs to an object controller. In one embodiments, such communication may take place wirelessly over a network, such as the Internet, and may include communication between a mobile device and a remote computer, and a remote computer and an object controller (that controls a controllable feature of the object), for example.
In one embodiment of the present invention, a proximity-based communication technology is near-field communication (NFC) technology, whereby a NFC reader-equipped mobile device communicates with a NFC element that is associated with a remotely controllable object. By “associated with,” it is meant that a NFC element is either attached to, or located physically near, an object. For example, a NFC element may be built into the structure of a remotely controllable object, such as a toy. As another example, a NFC element may be located near a remotely controllable object, such as being placed on a wall of a room for which the lighting system is capable of being remotely controlled (in this example, it would be impractical to attach or access a NFC element onto a lighting element located in the ceiling). In such embodiments, this enables an object-relevant remote control user interface to be presented by the mobile device, in order to allow a user to control the remotely controllable object by means of the relevant remote control user interface enabled at the mobile device. Such an object relevant remote control user interface is also referred to herein as a “remote control user interface,” “user interface,” or “RCUI.” An example of such a remote control user interface may be a presentation of soft keys (e.g., virtual buttons or other controls) on an electronic display on a mobile device. Such soft keys may be as simple as “on” and “off” buttons, or they may be much more complex control elements, such as visual representations of sliders, knobs switches and more. Another embodiment includes proximity-based identification technology that is an optical image reader (e.g., mobile device camera, bar code reader) that is capable of reading a bar code or other visual identification marking printed onto, or otherwise associated with, an object, to thereby enable a relevant remote control user interface in accordance with the invention. Other embodiments involving radio, visual, sound, movement and location (e.g., the enablement of remote control user interface based on a location of a mobile device) proximity-based communication means are also possible. In one embodiment of the present invention, a mobile device enables control of an object by means of wirelessly communicating information (e.g., over the Internet or other network) to a remote computer (e.g., a server or other computer located in the “cloud” and physically separate from an object), to cause the remote computer to further communicate information to an object controller that is capable of performing an action at or by the object.
For clarity, the term “proximity” means physically close, and more specifically that two structures (such as a mobile device and a NFC element) are either within a meter of each other, within ten centimeters of each other, within five centimeters of each other, within three centimeters of each other, within two centimeters of each other, within one centimeter of each other, or within any similar distance that enables accurate reading of a NFC or radio frequency identification (RFID) signal. For other identification means, such as the reading of a bar code or QR code, distances may be lesser or greater, such as within tens of meters, within one meter, within 10 centimeters, or possibly within much greater distances. In general, as NFC, RFID and other technologies evolve, the ability for transmitters to transmit signals over greater distances, and readers to receive signals over greater distances, will occur, and so “proximity” as it relates to the present invention may vary. In certain embodiments, proximity will be “in the line of sight” or a distance at which a user may readily access a particular remotely controllable object.
FIG. 1A shows a representation of a first embodiment of a system of the present invention. In this particular embodiment, an object 1 a is associated with an object-associated NFC element 1 c (the association represented as 1 b), communication occurs between object-associated NFC element 1 c and mobile device-associated NFC element 2 a (the communication represented as 1 d), mobile device-associated NFC element 2 a communicates with mobile device 2 c (the connection represented as 2 b) in order to enable a remote control user interface (“RCUI”) 2 d, wireless communication occurs between mobile device 2 c and a remote computer 3 a (such wireless communication represented by 2 e), the remote computer 3 a then communicates with an object controller 4 a (the communication represented as 3 b) to ultimately control object 1 a (such interaction represented as 4 b). In another embodiment similar to the one represented in FIG. 1A, object-associated NFC element could instead be a bar code or other identifying mark or characteristic at or near the object, mobile device-associated NFC element could instead be an optical reader (such as a mobile device camera that serves as a bar code reader or scanner), and the communication between them could instead be a reading by the mobile device of the optical bar code or visual identifier. While such an optical implementation (versus the use of NFC) may be less convenient to use since a user of a mobile device would need to scan a bar code or other visual identifier, rather than quickly tag an object using NFC technology, the use of a printed bar code or other optically-readable identifier or characteristic at an object is less expensive to implement in many cases. For example, bar codes may be practical on printed documents, books, envelopes, packaging, garments, signs, etc. Other embodiments of systems of the present invention, including but not limited to object identification processes and means, are within the scope of the present invention.
FIG. 1B shows a second representation of an embodiment of a system of the present invention, having additional elements relative to the embodiment shown in FIG. 1A. Such additional elements are directed to providing “feedback” in a direction from generally the object to the mobile device (e.g., rather than providing control inputs at a mobile device to facilitate control of an object, these additional elements are, in one embodiment, intended to enable feedback from an object back to a mobile device, in order, for example, to provide a user with feedback and/or to facilitate control of the object). As shown in FIG. 1B, these additional elements may include: communication between mobile device-associated NFC element 2 a and object-associated NFC element 1 c (such communication represented as additional element 1 d′), connection between mobile device 2 c and mobile device-associated NFC element 2 a (such connection represented as additional element 2 b′), wireless communication between remote computer 3 a and mobile device 2 c (such communication represented as additional element 2 e′), communication between remote computer 3 a and object controller 4 a (such communication represented as additional element 3 b′), and interaction between object controller 4 a and object 1 a (such interaction represented as additional element 4 b′). FIG. 1B shows these additional elements (relative to FIG. 1A), each of such additional elements which may be used in an embodiment of the present invention, or combined with other such additional elements (shown in FIG. 1A) to create other embodiments of the present invention. For example, one embodiment includes wireless communication 2 e′ and communication 3 b′, and not include communication 1 d′, connection 2 b′ and interaction 4 d′. Also, for example, another embodiment of the present invention includes wireless communication 2 e′ and not communication 1 d′, connection 2 bcommunication 3 b′ and interaction 4 b′. For purposes of this disclosure, the terms “communication,” “connection,” and “interaction” are used interchangeably and generally to mean a transfer of information between a first element and a second element in accordance with embodiments of the present invention. Other embodiments and variations of these embodiments of systems are within the scope of the present invention.
Object 1 a may be any remotely controllable object, meaning that object 1 a may be the subject of an action (or actions). Such action may be a form of control of object 1 a, for example, such as turning it on or off, or altering its direction. Such action may also possibly be electronic in nature (and/or not readily apparent to a user of object 1 a), such as changing a set-point stored in an object-associated data set, or configuring or reconfiguring software associated with the object. Embodiments of the present invention may include other types of “action.” Representative object 1 a include, but are not limited to: electronic devices, mechanical devices, electromechanical devices, televisions, cable set-top boxes, media players, toys, entertainment systems, vehicles, aircraft, computers, mobile devices, office equipment, lighting, climate control systems, documents, security systems, doors or passages, manufacturing equipment, exercise equipment, medical devices, living organisms (e.g., by means of an electromechanical or medical device interface), and more. Representative actions that one or more objects may be subject to include, but are not limited to: being turned on, being turned off, being opened, being closed, getting directed or redirected (e.g., left, right, up, down), entering settings, changing settings, enabling access, denying access, having data transferred to object electronic memory, having a data element reset in object electronic memory, uploading or downloading software or executable code to the object (e.g., over the Internet or other network using the Internet Protocol (IP)) or other network, such as a Local Area Network (LAN), causing software or executable code to be run by an electronic processor that is associated with the object, changing channels, changing volume, causing an action to return to a default setting or mode, and more. Actions that are performed at an object include, for example, actions that are mechanical, electrical, electromechanical, and/or biological. Other variations in objects and ways to control such objects fall within the scope of the present invention.
Object-associated NFC element 1 c is any means that enables “near-field” contactless communication with a mobile device-associated NFC element of the present invention. NFC technology aimed at use with mobile devices may generally perform one or more of the following functions, without limitation: 1) card emulation to cause a NFC element to behave like a contactless card; 2) reader mode wherein a NFC element may receive signals from a RFID tag or other passive or active transmitter; and 3) peer-to-peer (P2P) mode when a first NFC element associated with an object is able to communicate with a second NFC element associated with a mobile device, and more. A particular NFC technology (e.g., a NFC “chip” or RFID “tag”) may transmit information, possibly receive information, or both (e.g., exchange information). Today's NFC technologies—meaning NFC technologies typically used at the time of this disclosure—are generally very short-range high-frequency (e.g., 13.56 MHz) wireless communication technologies that enable the communication of information or data between NFC-enabled devices over a distance of typically less than twenty centimeters, often less than ten centimeters, and often less than five centimeters. Such NFC technology may be currently (and in general) an extension of the ISO/IEC 14443 proximity card (RFID) standard that combines the interface of a smartcard and a reader into a single unit. A NFC-enabled device may be capable of communicating with existing ISO/IEC 1443 smartcards and readers, and also with other NFC-enabled devices. In general, this makes today's NFC technologies compatible with existing contactless communication infrastructure, such as contactless access and payment systems used in public transportation and retail environments, respectively. For purposes of this disclosure, “close physical proximity” may, as discussed earlier, mean distances of up to a meter, or up to ten centimeters, or up to five centimeters, or other distances; and possibly distances of more than a meter such as may be enabled by an active transmitter or more sensitive receiver. NFC element operating ranges depend on the type of NFC technology being used, specific models, and the way in which a particular NFC technology is implemented. For example, many passive RFID tags and readers require proximity of less than a few centimeters to operate under most operating conditions, whereas active (or semi-active) RFID tags may have a much greater functional range. Conditions that are external to a specific NFC technology or product may influence operating ranges and other functional characteristics. Antenna type and implementation, as well as the object or device with which a particular NFC technology is associated, may also affect the technology's performance characteristics. Today's NFC technology is being actively incorporated into a variety of mobile devices, such as smart phones, and it is expected that virtually all mobile communication devices will be NFC equipped (at least with readers capable of receiving signals being transmitted from a NFC element or RFID tag) in the future. In addition to NFC technology as it is known and recognized today, the present invention anticipates that NFC technology, along with related standards and communications protocols, will evolve. The use of the terms “near-field communication” and “NEC” (and “RFID”) herein are meant only to represent such technologies in a general way. It is anticipated that future NFC technologies and implementations will enhance the value of embodiments of the present invention, and such future NFC technologies are anticipated in the present references relating to near-field communication, NFC and RFID. Variations in NFC elements and technologies of the present invention fall within the scope of the present invention.
Association 1 b between object 1 a and object-associated NFC element 1 c may take any of a variety of forms. For example, in one embodiment of association 1 b, object-associated NFC element 1 c may be incorporated into or onto the physical structure of object 1 a (e.g., embedded in a television, positioned on the surface of a set-top box). In another embodiment of association 1 b, object-associated NFC element 1 c may be physically separate from object 1 a. In one such example, object-associated NFC element 1 c may be located on or in a physical (e.g., paper) user manual relating to object 1 a. In another example, object-associated NFC element 1 c may be located on, at, or within a building or other structure, and may enable control of an object associated with the building or other structure, such as a lighting or entertainment system in a room of the building. In yet other examples consistent with the present invention, object-associated NFC element 1 c may be located or positioned at a related object that is physically distant from the object to be controlled, but nevertheless associated with the object to be controlled. As an example, one such embodiment involves using a mobile device to tag a first object that is similar to a second object 1 z (e.g., first and second objects are of the same type or category, first and second objects have one or more similar controllable elements), and being able to remotely control the second object 1 z using the mobile device and user interface. FIG. 1C shows a representation of an embodiment relating to the concept of tagging a first object 1 a and then being able to use a relevant RCUI to control a similar second object 1 z. Various other associations 1 b between object 1 a and object-associated NFC element 1 c are within the scope of the present invention. In general, however, a feature of any such association 1 b is that a user may realize or be informed (e.g., by written notice or an image or logo that represents, for example, a network of objects or elements) that a particular object-associated NFC element 1 c is associated with object 1 a.
Mobile device-associated NFC element 2 a may be a NFC element as described previously. Mobile device-associated NFC element 2 a may be the same type as, or different from, object-associated NFC element 1 c. For example, mobile device-associated NFC element 2 a may be a fully-functional means that may serve to both wirelessly transmit and receive information, whereas object-associated NFC element 1 c may simply be capable of transmitting a signal (e.g., a passive RFID tag). Mobile device-associated NFC element may be integrated with a mobile device, or may be connected or otherwise attached to a mobile device of the present invention using any of a variety of means. Mobile device-associated NFC element may be embodied in any of a variety of ways.
Mobile device-associated NFC element 2 a and object-associated NFC element 1 c are capable of communicating with one another, such as when they are brought into physical proximity with one another (this process may be referred to as “tagging” an object, and an object may be “tagged” by a NFC-equipped mobile device), either unidirectionally (meaning information is transmitted by an object-associated NFC element and received by a mobile device-associated NFC element) or bidirectionally (meaning both NFC elements have the ability to transmit information to, and receive information from, each other). In general, NFC communication between these elements occurs wirelessly (even when the structures associated with each NFC element touch one another). In one embodiment of the present invention, communication may be one-way transmission of information from object-associated NFC element 1 c to mobile device-associated NFC element 2 a, as represented by 1 d in FIG. 1A (this may occur even when object-associated NFC element 1 c is capable of two-way communication). In another embodiment of the present invention, communication may be two-way, meaning that both of the elements transmit and receive information from one another, as represented by 1 d and 1 d′ in FIG. 1B. The preference or need for one-way or two-way communication between object-associated NFC element and mobile device-associated NFC element will depend on a variety of factors, including but not limited to the particular application(s) for an embodiment of a system of the present invention. In some embodiments, only identification of object 1 a by mobile device 2 c may be desired, in which case one-way flow of information from object-associated NFC element 1 c to mobile device-associated NFC element 2 a is required. References to “physical proximity” in this disclosure are intended to mean that NFC elements of the present invention are positioned close enough together that they are capable of communicating with one another. Variations in the communication between object-associated NFC element 1 c and mobile device-associated NFC element 2 a are within the scope of the present invention. In addition, the information communicated between an object-associated NFC element and a mobile device-associated NFC element may include, without limitation, information relating to the identity of the object. Furthermore, such information may relate to a remote control user interface, such as providing an upload of a particular RCUI to a mobile device (or alternatively providing information needed for the device to create a RCUI, e.g., based on accessing a library of remote control user interface elements that may be stored either by the device or by a remote computer, for example). Other types of information may also be communicated, possibly including information being sent from a mobile device to storage by electronic memory associated with the object-associated NFC element. In addition, any of a variety of communication protocols may be used to facilitate such communication between an object-associated NFC element and a mobile device-associated NFC element.
Mobile device 2 c may be any of a variety of portable electronic devices (and that are equipped with, enabled, or associated with mobile device-associated NFC element 2 a). In one embodiment, mobile device 2 c is a smart phone (e.g., Apple iPhone, Android phone, Blackberry device). In other possible embodiments, mobile device 2 c may be another device or technology fitting the functional description of a mobile device of the present invention (e.g., capable of presenting information to a user, receiving an input from a user, and being capable of communicating wirelessly with a remote computer). In one embodiment of the present invention, mobile device 2 c includes a display capable of visually presenting information to a user. Other embodiments may include other means of presentation of information to a user, such as presenting information to the user via audio output (e.g., providing prerecorded and/or synthesized sounds, such as providing prerecorded and/or synthesized speech). Embodiments of mobile device 2 c of the present invention may also provide tactile output, such as having the device vibrate. In addition, embodiments of mobile device 2 c of the present invention include means for receiving an input (or multiple inputs, or simultaneous inputs) from a user of the device. Examples of means for receiving an input include, but are not limited to: soft keys, touch screen (e.g., interactive touch display), hard keys, switches, knobs, microphones, and user manipulation (e.g., tilting, turning, shaking) of the device. Variations in mobile devices, display means and input means of the present invention are within the scope of the present invention.
Remote control user interface 2 d is, in one embodiment, a presentation at mobile device 2 c that communicates a remote control, such as one or more soft controls that may be interacted with by a user. Remote control user interface 2 d enables interaction by a user to facilitate control of an object 1 a. In one embodiment, remote control user interface 2 d may automatically appear on a display of a mobile device, for example, and be readily available for use by a user. In another possible embodiment, remote control user interface 2 d may be uploaded to a mobile device and stored for presentation and use at a future time. Control of an object 1 a may be facilitated by remote control user interface 2 d in any of a variety of ways, and using any of a wide range of embodiments. For example, remote control user interface 2 d may be a visual presentation on an interactive (e.g., touch screen) display, such as the representative embodiments of remote control user interface shown in FIGS. 2A-2C, each of which shows a simplified representation of a mobile device 2 c having a touch screen (e.g., display that can be used to both present information to a user of the device, and receive input from the user of the device, such as by means of touching the display surface with a finger) upon which representations of various embodiments of remote control user interface 2 d are shown. In other embodiments, remote control user interface 2 d may present information in other ways, and/or receive input from a user in other ways. For example, in one embodiment, remote control user interface 2 d may be presented on another type of visual display, such as a non-interactive (e.g., non-touch screen) display. In another embodiment, remote control user interface may be presented as hard keys or controls, possibly involving an indication of which hard keys or controls may be used to control a particular target object. Embodiments may also involve non-visual presentations of a remote control user interface. In one such embodiment, sounds may be used to represent the possibility for a user to interact with such a remote control user interface to provide input or a command. In another embodiment, a synthetic voice may notify a user relating to control of a target object, or even guide a user through the input or selection of permissible commands to control a target object. Other means and modes of presenting a remote control user interface to a user are within the scope of the present invention. In addition, other means of interaction with a remote control user interface of the present invention may be used by embodiments of the present invention. In one embodiment, an interactive touch-screen display is used, such as shown in FIGS. 2A-2C. In another embodiment, hard keys located on a mobile device may be used to input information to a remote control user interface of the present invention. In other embodiments, sounds and/or voice commands may be used to provide input to a remote control user interface of the present invention. In yet another embodiment of a remote control user interface of the present invention, movement of the mobile device upon which the remote control user interface is operating may provide input to facilitate control of a target object (e.g., moving or rotating the mobile device to the left to cause a remotely controlled moving object to turn left; moving or tiling the mobile device to the right to cause the same remotely controlled moving object to turn right). Various combinations of one or more remote control user interface presentations and input means are within the scope of the present invention. In addition, embodiments that use other forms of input and output are within the scope of the present invention.
In one embodiment of the present invention, remote control user interface 2 d is determined by virtue of object 1 a identification, and then enabled on mobile device 2 c. Remote control user interface may be selected from a group of predetermined remote control user interfaces, e.g., from a library of RCUIs stored in memory. Such a library of RCUIs may, for example, be stored in memory associated with mobile device 2 c, or in memory associated with remote computer 3 a (and made accessible to mobile device 2 c, for example). Alternatively, embodiments of the present invention may provide for dynamic creation of a RCUI from a library of pre-defined remote control user interface elements. Such a library of RCUI elements may, for example, exist in memory associated with a mobile device 2 c, remote computer 3 a, or NFC element 1 c. In the case when RCUI (or RCUI element) information or data is stored separately from mobile device 2 c, such information or data (as needed to facilitate creation or presentation of a RCUI on mobile device 2 c) is communicated from where the data is stored to mobile device 2 c, using any of a variety of means, including those described herein. For example, a user may place a mobile device 2 c near an object-associated NFC element 1 c for object 1 a to cause mobile device 2 c (possibly in communication with remote computer 3 a) to identify a relevant remote control user interface 2 d for the particular object 1 a. In the case where object 1 a is a television, for example, the enabled remote control user interface 2 d may resemble the representative remote control user interface 2 d shown in FIG. 2B (including on/off, volume and channel selection controls). In one embodiment of the present invention, remote control user interface 2 d is provided from a set of predesigned remote control user interfaces, subject to identification of an object and determination of which one of the set of predesigned remote control user interface is most relevant to a user relative to the remote control of the particular object. In another embodiment of the present invention, a remote control user interface may be dynamically created based on a set (e.g., a library) of predefined remote control user interface elements (e.g., volume control, channel control, direction control), and provided to a user, possibly based on the known preferences of the particular user (e.g., which remote control user interface elements should be included and/or positioned in a particular way, color scheme), or other information relating to a user, object or circumstances. In yet another embodiment of the present invention, a remote control user interface may be communicated by means of a transfer of executable code or otherwise (e.g., using identifiers that enable selection and configuration of remote control user interface elements) from an object-associated NFC element to a mobile device so that the particular remote control user interface may be enabled on the mobile device. In yet another embodiment of the present invention, the object-associated NFC element communicates information that enables a mobile device to further communicate with a remote computer in order to transfer information (possibly including instructions, software or executable code, or a combination of these) from the remote computer to the mobile device. In yet other embodiments of the present invention, the remote control user interface may be provided to the mobile device, or enabled at the mobile device (e.g., presentation to a user, or access enabled for a user) based on a device location, such as may be determined by a device-associated global positioning system (GPS) or Wifi positioning system (WPS), or other device location determination means. These embodiments, and others, enable the provision and/or presentation of a remote control user interface that is most relevant (e.g., most useful, efficient, well-organized, pertinent) for the remote control of a particular object, type of object, or controllable element that may exist in multiple objects or types of objects. Notably, embodiments of the present invention may enable “on the fly” access to a relevant remote control for an object, for immediate or future use. In addition, remote control user interfaces of the present invention may be, in some embodiments of the present invention, reconfigurable—possibly either automatically (e.g., by means of a remote control user interface software update, by means of some development at the object), or manually by a user of a mobile device. Examples of reconfiguration may include addition or deletion of a control element (e.g., a button or slider), rearrangement of control elements, and more. Such reconfigurations may occur during an instance of use, or between instances of use. Variations of remote control user interfaces of the present invention, methods and means of their selection, methods and means of their presentation, methods and means of their use, and methods and means of their enablement on a mobile device of the present invention, are within the scope of the present invention.
In general, any wireless communication described herein—including but not limited to the upload of a RCUI from a source to a mobile devices—may be implemented in any of a variety of ways, including, without limitation, by means of current near-field communications technologies and related standards and protocols (e.g., for near-range wireless communications used by certain embodiments of the present invention), as well as current mobile device (e.g., cell phone) communication technologies and related standards and protocols (e.g., for longer-range wireless communication used by certain other embodiments of the present invention). It is understood that wireless communication technologies, standards and protocols are evolving rapidly, and that systems and methods of the present invention may be implemented using any of a wide range of these technologies, standards and protocols.
Similarly, uploading, transferring, transmitting, or otherwise providing a remote control user interface (or any data or information related to such an user interface) described herein may be implemented, for example, by performing such transmission over any network, such as the Internet (or other network that uses the Internet Protocol (IP)), a Local Area Network (LAN), or other similar network. Furthermore, any reference herein to communication over “the Internet” should be understood to refer more generally to any communications performed using the Internet Protocol (IP) or any similar protocol.
As a specific example, the systems of FIGS. 1A-1D may include multiple remote control user interfaces. For example, such multiple remote control user interfaces may be stored at the remote computer 3 a, the object 1 a, the object-associated NFC element 1 c, or elsewhere. At least two of the multiple RCUIs may differ from each other and be associated with different remotely-controllable objects. Within the multiple remote control user interfaces there may, for example, be at least: (1) a first remote control user interface associated with a first remotely-controllable object; and (2) a second remote control user interface associated with a second remotely-controllable object. The first remote control user interface may differ from the second remote control user interface, and the first remotely-controllable object may differ from the second remotely-controllable object. For example, the first remote control user interface may include a user interface element (such as a soft key representing a button) that the second remote control user interface does not include. As examples of ways in which the first remotely-controllable object may differ from the second remotely-controllable object, the first and second remotely-controllable objects may be different instances of the same product (e.g., a first and second television of the same make and model), or instances of different products (e.g., a television and a DVR). For example, in response to detecting that the mobile device is in physical proximity to the first object, the first user interface that is associated with the first object is selected, and presented by the mobile device to the user. Also, for example, in response to detecting that the mobile device is in physical proximity to the second object, the second user interface that is associated with the second object is selected, and presented by the mobile device to the user. A mobile device may store (and make accessible to a user) only the first remote control user interface, only the second remote control user interface, or both of them (e.g., a user may be able to select one of them, or switch between them in order to have ready access to two different RCUIs for control of two different objects). In addition, a mobile device or other element of an embodiment of a system of the present invention may store various RCUIs (such as those that have been previously accessed or used by a user on a particular mobile device) so that the user may readily access any of them on the mobile device in the future. Similarly, portions or elements of RCUIs may be stored in electronic memory by the mobile device or elsewhere for future access and use, such as for the creation of a future remote control user interface.
In one embodiment, based on input received by mobile device 2 c remote control user interface 2 d relating to an action that a user desires to be performed at object 1 a, mobile device 2 c communicates information relating to the desired action to remote computer 3 a by wireless communications means. Such wireless communications means may, in one embodiment, be any communication means typically used by cellular phones that uses radio waves to exchange information with one or more base stations (e.g., cell sites) of a network of base stations, the network which is further connected (e.g., by wires, or wirelessly) to remote computer 3 a. Variations in communication between mobile device 2 c (or possibly other elements of the present invention having wireless transmission means) and remote computer 3 a of the present invention are within the scope of the present invention. In such an embodiment of the present invention, remote computer 3 a is remote and physically separate from object 1 a, meaning that remote computer 3 a and object 1 a may be located thousands of miles away from each other, for example. In other embodiments of the present invention, remote computer 3 a and object 1 a may be in close proximity. In general, however, mobile device and remote computer are physically distinct.
In one embodiment, remote computer 3 a is a computer, server or other electronic information processing technology, possibly including or being associated with a database, that is i) capable of receiving information from mobile device 2 c, ii) possibly manipulating, converting or interpreting the received information, and then iii) further communicating the same or new information to object controller 4 a to ultimately facilitate some action to be performed at object 1 a, for example. In another embodiment of the present invention, remote computer 3 a is “in the cloud,” meaning that remote computer 3 a is an information processing system (e.g., computer) that is physically remote and distinct from object 1 a, and may be distributed in nature. As a result, remote computer 3 a may communicate with object 1 a over the Internet or other network. Other embodiments of remote computer 3 a are within the scope of the present invention.
Information may be communicated between remote computer 3 a and object controller 4 a using any one or more of a variety of means, including, but not limited to, wires, fiber optic cable, or wirelessly. In one embodiment, for example, remote computer 3 a communicates with object controller 4 a (the interaction represented in FIG. 1A as 3 b) using the Internet (which may include wired and/or wireless modes of information transfer, for example), for example. Also, any of a variety of communications protocols may be used in such an information transfer or exchange 3 b. Whether the communication between remote computer 3 a and object controller 4 a is one-way or two-way, the information being transferred from remote computer 3 a to object controller 4 a is sufficient to enable object controller to facilitate the control of object 1 a in a manner desired by a user, according to the input received at the relevant remote control user interface 2 d. Such communication between remote computer 3 a and object controller 4 a may take place by means of a network, such as the Internet. An embodiment may use multiple such communications means, possibly simultaneously. Variations in communication means between remote computer 3 a and object controller 4 a are within the scope of the present invention.
Object controller 4 a receives information from remote computer 3 a, such information relating to the desired action to be performed at or upon object 1 a. Object controller 4 a may, in one embodiment, be any means that translates the information received from remote computer 3 a into the action to be implemented at object 1 a, for example. In one embodiment, object controller 4 a may be built into object 1 a and may control some controllable aspect of object 1 a, such as a movement or sound volume, for example. In yet another embodiment, object controller 4 a may be external to object 1 a, such as a robot or piece of manufacturing equipment that performs some action to control object 1 a. In yet another embodiment, object controller 4 a may be attachable or connectable to object 1 a. Object controller 4 a may, in one embodiment, include a combination of electronic means to receive and process information, and electromechanical means to cause the performance of a physical movement or action at object 1 a, e.g., opening a door (the door which would, in this example, be object 1 a), causing a toy to move forward (the toy which would, in this example, be object 1 a), resetting a medical device (the medical device which would, in this example, be object 1 a). In another embodiment, object controller 4 a may be an electronic processor capable of controlling electronic signals that may facilitate performance of a desired action, e.g., changing volume of a television (the television which would, in this first example, be object 1 a), changing a presentation on a display (the display which would, in this example, be object 1 a). In yet another embodiment, object controller 4 a may be an electronic processor that causes execution of code or software in another electronic processor or device. In various embodiments, object controller 4 a may be or include, either alone or in combination, without limitation, any of the following: actuator, servo, motor, computer, signal processor, electronic storage device, responsive material, magnetic device, biomechanical means, light, display, heating element, or speaker. In yet other embodiments, object controller 4 a may be or include means that are adjustable or changeable, and that perform any of a wide range of permissible actions at object 1 a. Variations in the way object controller 4 a controls an object 1 a of the present invention are within the scope of the present invention.
FIG. 1B shows examples of other possible interactions between various elements an embodiment of the present invention similar to the embodiment shown in FIG. 1A, including interactions 1 d′, 2 b′, 2 e′, 3 b′ and 4 b′. Each of these interactions may, for example, relate to a communication protocol (e.g., a signal to initiate or facilitate a communication, acknowledge receipt of information, increase data integrity), or provision of feedback to the recipient element of the present invention. For example, interaction 4 b′ may provide information from object 1 a to object controller 4 a indicating that a specific desired action has been performed by object 1 a. Alternatively, interaction 4 b′ may include the provision of information relating to object 1 a that gets communicated back to remote control user interface 2 d (by means of remote computer 3 a) to provide information at remote control user interface 2 d that would help a user of the remote control user interface 2 d control object 1 a. In general, an embodiment of an individual interaction 1 d′, 2 b′, 2 e′, 3 b′, 4 b′ may be a communication (e.g., exchange of data, bits, information) between relevant elements of the present invention that i) transfers information relating to a desired action to be performed at object 1 a, ii) confirms instructions or actions relative to performance of a desired action at object 1 a (e.g., feedback), or iii) provides information to remote control user interface 2 d that helps a user understand, monitor or control object 1 a. Other interactions and communications between elements of the present invention are within the scope of the present invention.
FIG. 1C shows a representation of an embodiment of a system of the present invention that represents tagging of a first object 1 a (that is similar to a second object, of the same type as a second object 1 z, or having one or more similar controllable features as second object 1 z), which—by means of the systems and methods described herein—enables the remote control of second object 1 z. For example, tagging a first image projector with a NFC-equipped mobile device would allow a user to use the mobile device 2 c and remote control user interface 2 d to communicate with a remote computer 3 a and object controller 4 a that controls a second image projector, in order to control the second image projector. In such a use case, where there are two or more similar objects (meaning, for example, objects that have the same controllable features and may be controlled by the same relevant remote control user interface), the remote control user interface that is enabled may, for example, offer a user the ability to select which specific object (possibly from a group of objects) the user desires to control. For example, tagging a first object that is a remotely controllable toy may enable a relevant remote control user interface that allows a user to select if the user wants to control the first object, or any one (or more) other similar remotely controllable toys. Such ability to select which object to control, from among multiple similar objects, may involve user authentication and/or authorization protocols (as described herein) so that any particular mobile device 2 c or user is provided the ability to control only certain objects. Variations in the methods and means for tagging a first object to then be able to control a second object that is similar (or has similar control elements) to the first object, are within the scope of the present invention.
FIG. 1D shows yet another embodiment of the present invention. In this embodiment, first object 1 a is tagged, leading to enablement of a remote control user interface 2 d that facilitates the control of manufacturing equipment (second object 1 z, which is not similar to object 1 a), which causes the manufacture of a third object 5 which is similar in at least some ways to object 1 a. An example of this would be a user using a mobile device to tag an item of clothing that the user admires and wishes to order in a different color, size, etc. Upon tagging the item of clothing, the user would be presented with a remote control user interface that allows the user to select, for example, a garment size, color, fabrics, and possibly other customizable characteristics of the garment. The remote control user interface would then lead to the control (by providing the user's desired garment characteristics) to machinery capable of creating the garment, for example. Such machinery would then, in whole or in part, manufacture the garment according to the desired characteristics as input to the remote control user interface by the user. The result would be a third object 5 that is similar, in at least some ways, to tagged object 1 a. When an object may be considered as part of a set of related objects, such an embodiment may be viewed as tagging one element of the set and then controlling another related element of the set.
FIGS. 2A-2C each show a representation of an embodiment of remote control user interfaces of the present invention. FIG. 2A shows an embodiment of a remote control user interface 10 a shown on an interactive (e.g., touch screen) display of a mobile device 2 c that could be used to enable control of a residential lighting system. As a further example, FIG. 2B shows an embodiment of a remote control user interface 11 a shown on an interactive (e.g., touch screen) display of a mobile device 2 c that could be used to control a television, including turning the television on and off, and also enabling channel and volume selection. As yet another example, FIG. 2C shows an embodiment of a remote control user interface 12 a shown on an interactive (e.g., touch screen) display of a mobile device 2 c that could be used to remotely control a remote control aircraft, enabling a user to cause the aircraft to go left or right, up or down, faster or slower. These representations show only a small range of features and presentations of remote control user interfaces that may be implemented according to the present invention. Notably, remote control user interfaces of the present invention may be presented in other ways (e.g., using sounds or voices), may be interacted with in other ways (e.g., mobile device movement, voice commands), may use any of a wide range of control elements and control element presentations (some of which may possibly be modified by a user), and may provide additional information or feedback to a user. Many variations in the remote control user interface of the present invention are within the scope of the present invention.
FIG. 3A shows a representation of an embodiment of a method of the present invention 100. In a first step 100 a, object-associated NFC element and mobile device-associated NFC element are placed in physical proximity (e.g., a distance of less than twenty centimeters from one another). Next, as shown in step 100 b, mobile device remote control user interface (RCUI) is enabled, meaning that a user interface is presented to a user. In step 100 c, the remote control user interface receives an input from a user that relates to a desired action (Action-A).
Next, in step 100 d, the mobile device communicates information relating to Action-A to a remote computer. In step 100 e, the remote computer further communicates information to an object controller. In step 100 f, Action-A is implemented at the object. Variations of the method 100 shown in FIG. 3A are within the scope of the present invention, including the addition or deletion of steps in the process, additional communications between various elements of the present invention, possibly enabling visual or tactile feedback to be provided to the user by means of the remote control user interface or other means; updating of information presented on a remote control user interface, possibly including real-time updates relating to an object; and more.
Embodiments of the present invention may also present a remote control user interface to a user prior to the tagging (e.g., identification) of a specific object to be controlled. FIG. 3B shows a representation of such an embodiment of a method of the present invention 200. Method 200 relates to providing remote control user interface prior to tagging an object that is desired to be remotely controlled, involving the steps of: first enabling remote control user interface at a mobile device 200 a, then having the remote control user interface receive input from a user relating to an Action-B 200 b, next placing mobile device-associated NFC element and object-associated NFC element in physical proximity (e.g., tagging the object with the mobile device) 200 c, next mobile device wirelessly communicates information relating to Action-B to a remote computer 200 d, the remote computer then communicates information relating to Action-B to an object controller 200 e, and in a last step of method 200 the Action-B is implemented at the object 200 f. Other preceding, intervening or following steps are within the scope of the present invention (e.g., feedback from the object to the RCUI, or other communications between elements of the system of such an embodiment of the present invention). For example, a first object may be tagged, and then a second object (that is similar to the first object, of the same type as the first object, or having at least one common controllable feature as the first object) may be remotely controlled. As may be seen by this example, embodiments of the present invention may include variations in how they are used, the sequence of steps or events during use, and how this provides for the control of objects.
FIG. 3C shows such a method 300, which may be essentially method 200 with some variation, such that a first object is tagged and a second object is controlled. For example, mobile device could show a RCUI and allow a user to provide one or more inputs using the RCUI, and then the mobile device could be used to tag an object in order to control that object in some way, including for example, providing user-specific settings to the object, by means of communication with a remote computer, as described. A similar (but not the same object that is to be controlled) may have been tagged initially, which may have facilitated the upload, download or other provisioning of a relevant RCUI to the mobile device. In one example of a use of such an embodiment of a method and systems of the present invention, a user would use a RCUI that allows the user to enter settings for a piece of exercise equipment, such as a treadmill. Settings could relate to the duration and/or difficulty of an exercise session, for example. Alternatively, a user might be able to simply select from one of a variety of exercise routines. These settings would be stored in memory and upon approximation of the NFC-equipped mobile device and a NFC-equipped object (which may be the same or a similar object to one previously tagged, such as the same treadmill as was initially tagged, or a treadmill right next to it or of a similar type at another location), the object would receive the user's selected settings and implement them. Another example relating to embodiments that may apply a method 300 of the present invention relates to tagging a building or associated structure, such as an first object at a front desk of a hotel, and then being able to control various second objects, possibly depending on the location of the mobile device (e.g., a lighting remote control would enable control of lights only in a guest room in which the mobile device is then located). Variations in methods 200 and 300 are within the scope of the present invention. Control of a second object (based on initially tagging a separate but related object) has many benefits, and may be further modified based on the location of a user, user identification or authentication, and more.
An embodiment of a method of the present invention may provide for user or device authentication as part of a process. For example, user or mobile device identity might be verified by any of a variety of means prior to enablement (e.g., presentation) of a remote control user interface, or prior to a user's ability to use a remote control user interface, or prior to the acceptance or carrying out of certain user commands by means of a particular remote control user interface. For example, controlling a piece of dangerous machinery might require authentication of the device user prior to enabling control; placing an order that would charge a credit card might seek authentication of the user (or possibly the device, or both) prior to enabling control of the order process; or control of any personal or privately-owned object might require authentication of a mobile device or user, meaning a device or user that has been predetermined to be allowed to control the object. Such authentication could be accomplished in any of a variety of ways, or combinations of ways, using any of a range of means, including but not limited to: username and/or password input, device identification, device location, time of day, timeframe (e.g., if input is received within a certain amount of time from an initial use or other event), biometric data input to a device, user behavior (e.g., speed, movement, past purchases), user metrics (e.g., sensed inputs, trends), and more. Authentication may be automatic or require a user's cooperation.
Beyond authentication of a particular user or device to enable control of an object, embodiments of the present invention may also provide for control of authority, meaning how one or more of multiple possible controlling mobile devices are authorized to control an object (separate from, but possibly in combination with, whether or not such mobile devices or their users are required to be authenticated by any particular implementation of systems and methods of the present invention as described above). For example, in one embodiment, control authority over a particular object is granted only to the most recent mobile device to have tagged the object-associated NFC element. In yet another embodiment relating to control authority, only a mobile device within a certain geographic area or proximity to an object is granted the authority to control the object (and in such an embodiment, the granting of a control privilege might be further limited to when the mobile device remains within the certain geographic area or proximity to the object). In yet another embodiment, control authority might be granted to a device or user only during a particular time range (e.g., work shift), or for a particular duration after first use of a particular RCUI to control a particular object, for example. In other embodiments of the present invention, control authority might only be granted to a device or user to control a given object based on whether a mobile device is the first device to tag an object-associated NFC element or, alternatively, if a mobile device is the last device to tag the object's object-associated NFC element, for example (and in the case where the mobile device is the first device to tag an object in order to be able to control it, control authority might further be limited to a certain amount of time, or maintaining proximity to the object, for example). In yet another embodiment, control authority may be granted to a most senior user, e.g., a user with highest experience, rank, or other tiered rating or credential. A practical example of control authority might relate to a media or entertainment system, such as one commonly found in a home, or one commonly found in front of a seated passenger on a commercial airplane. In such an example, a first user could tag an object-associated NFC element with a first device to be able to control the object using the first device. Later, a second user could tag the same object-associated NFC element with a second device to control the same object with the second device, and the first device's control authority would be voided (e.g., the first device would no longer be able to control the object). In another scenario, the first device's control authority lasts for the period of time when the device is in proximity to the object, or for a limited period of time (e.g., an hour, duration of a flight, an amount of time that a user has paid for, such payment mechanism which may be incorporated into a method of the present invention) following initial tagging of the object, for example. It should also be noted, relating to authentication and control authorization, that there may be instances where more than one mobile device could be controlling an object, or aspects of an object, at the same time. This could happen relating to control any of a variety of objects, including but not limited to machinery, manufacturing equipment, computers, transportation means, entertainment and gaming systems, etc. For example, different mobile devices and their users might simultaneously control (e.g., in cooperation, as a crowd-sourced) an object, or different mobile devices and their users might control different controllable aspects of an object, at the same time (and may also, for example, be able to trade off control). Many variations of embodiments of authentication and control authority are within the scope of the present invention.
Embodiments of the present invention may be used in any of a variety of ways, and for many different purposes. Sample applications include remote control of (among other things): consumer electronic devices, entertainment systems (both residential and commercial, such as those found on aircraft), commercial electronic devices, office equipment, manufacturing processes, transportation means, wheeled craft, sea craft, aircraft, medical devices, medical instrumentation, explosives or other dangerous materials or processes, doors, access portals, tubes, pipes, materials, living organisms, and more. To the extent that an object controller can control any aspect of a thing or process, the thing or process may represent an embodiment of an object of the present invention.
Features of embodiments of the present invention may include, without limitation, the identification of an object (or environment) to be controlled by means of approximating a mobile device with the object or a tag associated with the object; upload to the mobile device of a remote control user interface (or instructions or other information that leads to the creation of such a remote control user interface) that is specific to the object and/or the user (e.g., at least partly based on a user's behaviors or preferences); presentation of a remote control user interface by the mobile device that enables control of an object; and facilitation of control of the object (per the inputs provided by a user at the mobile device) by means of wireless communication between the mobile device and a network such as the Internet or similar network. In addition, embodiments of the present invention may enable the mobile device to provide feedback to a user, such feedback based on sensing at, or information about, the object. The inclusion of authentication by some embodiments of the present invention enable access control and customization, such as by permitting some users (but not others) to be able to have a RCUI uploaded to a mobile device in the first place, to have a RCUI functioning on the mobile device, to have certain RCUI control elements present (or not), or to have certain RCUI elements enabled (or disabled). In addition, the present invention may enable one or more remote control user interfaces on a given mobile device, either to be presented and used one at a time, or simultaneously. Embodiments of systems and mobile devices of the present invention may facilitate presentation and use of a RCUI “on the fly” (e.g., single use), or may store a library of user interfaces that are accessible to a particular user or device. A RCUI may, according to embodiments of the present invention, be user manipulated (e.g., a user may be able to reconfigure a presentation of RCUI control elements, including moving them around or deleting any that are unnecessary or not used) or otherwise customized by or for a particular user or device, or even according to circumstances such as the location, behavior or other sensed attributes relating to a user. Many variations to these and other features of the present invention are possible.
In general, embodiments of the present invention offer many benefits. As one example, embodiments of the present invention enable a user to access relevant remote control user interfaces (meaning, for example, a remote control user interfaces that are specific to control of particular target objects), on a mobile device, for one or more objects that the user desires to control—all by means of a NFC initiated physical approximation of the user's mobile device and an object-associated NFC element (as noted, other types of interactions are also within the scope of the present invention). As another example of benefits of the present invention, embodiments of the present invention enable mobile device users to remotely control objects by means of wireless communication with a remote server, rather than directly (meaning direct communication between a device and an object, such as would be the case with a current television remote control). This has many benefits, including the ability to use information other than that which would be available in a direct interaction between a mobile device and an object. Embodiments of the present invention allow a mobile device user to possess and use different remote control user interfaces for each of many different objects, providing remote control user interfaces that are most relevant to each target object. Embodiments of the present invention also benefit users by enabling revisions and updates to remote control user interfaces for particular objects, possibly either automatically or manually based on a user's behaviors or preferences. Another benefit of the present invention relates to user authentication, which may be provided in any of a variety of ways that are not possible using conventional remote controls. Another benefit of the present invention relates to control authority and the ability to provide various approaches (including combinations of approaches) to enable different users control that same object in any of a variety of ways. Ultimately, embodiments of the present invention benefit users by enabling them to use a personal mobile device (rather than one or more other devices) to control one or more remotely controllable objects using remote control user interfaces that are specific and relevant to each object. In addition, features of embodiments of the present invention including but not limited to modification of a remote control user interface according a user's preferences or behaviors, and also the application of any of a variety of authentication and control authority schemes, provide other useful benefits. Many other benefits are attributable to embodiments of the present invention.
It is to be understood that although the invention has been described above in terms of particular embodiments, the foregoing embodiments are provided as illustrative only, and do not limit or define the scope of the invention. For example, while NFC is used to describe embodiments throughout this disclosure, other types and forms of proximity-based identification means are within the scope of the present invention, such as those involving the presentation and reading of bar codes. Various other embodiments, including but not limited to the following, are also within the scope of the claims. For example, elements and components described herein may be further divided into additional components or joined together to form fewer components for performing the same functions. The techniques described above may be implemented, for example, in hardware, software, firmware, or any combination thereof. The techniques described above may be implemented in one or more computer programs executing on a programmable computer including a processor, a storage medium readable by the processor (including, for example, volatile and non-volatile memory and/or storage elements), at least one input device, and at least one output device. Program code may be applied to input entered using the input device to perform the functions described and to generate output. The output may be provided to one or more output devices. Each computer program within the scope of the claims below may be implemented in any programming language, such as assembly language, machine language, a high-level procedural programming language, or an object-oriented programming language. The programming language may, for example, be a compiled or interpreted programming language. Each such computer program may be implemented in a computer program product tangibly embodied in a machine-readable storage device for execution by a computer processor. Method steps of the invention may be performed by a computer processor executing a program tangibly embodied on a computer-readable medium to perform functions of the invention by operating on input and generating output. Suitable processors include, by way of example, both general and special purpose microprocessors. Generally, the processor receives instructions and data from a read-only memory and/or a random access memory. Storage devices suitable for tangibly embodying computer program instructions include, for example, all forms of non-volatile memory, such as semiconductor memory devices, including EPROM, EEPROM, and flash memory devices; magnetic disks such as internal hard disks and removable disks; magneto-optical disks; and CD-ROMs. Any of the foregoing may be supplemented by, or incorporated in, specially-designed ASICs (application-specific integrated circuits) or FPGAs (Field-Programmable Gate Arrays). A computer can generally also receive programs and data from a storage medium such as an internal disk (not shown) or a removable disk. These elements will also be found in a conventional desktop or workstation computer as well as other computers suitable for executing computer programs implementing the methods described herein, which may be used in conjunction with any digital print engine or marking engine, display monitor, or other raster output device capable of producing color or gray scale pixels on paper, film, display screen, interactive display, or other output medium.

Claims (36)

What is claimed is:
1. A computer-implemented method comprising:
(A) determining a first location of a mobile device;
(B) in response to the determination of the first location of the mobile device, providing a first remote control user interface at the mobile device based on the first location of the mobile device;
(C) receiving first input from a user via the first remote control user interface, the first input relating to a first action to be performed at a first object located in proximity to the first location while the mobile device is in proximity to the first location;
(D) wirelessly transmitting, from the mobile device to a remote server, a first communication relating to the first action; and
(E) wirelessly receiving, at the mobile device from the remote server, first feedback relating to the first action.
2. The method of claim 1, further comprising:
(F) transmitting, from the remote server to a first controller associated with the first object, a third communication based on the first communication relating to the first action.
3. The method of claim 2, wherein (E) further comprises, before wirelessly receiving the first feedback relating to the first action, receiving, at the remote server, second feedback from the first controller, wherein the first feedback is derived from the second feedback.
4. The method of claim 3, further comprising:
(F) before (E), at the remote server, transmitting information relating to the first feedback to the mobile device.
5. The method of claim 1, further comprising:
(F) transmitting the first remote control user interface to the mobile device.
6. The method of claim 1, wherein (B) comprises displaying elements of the first remote control user interface on a display of the mobile device.
7. The method of claim 5, further comprising:
(G) storing the first remote control user interface on the mobile device.
8. The method of claim 1, wherein (B) comprises:
(B)(1) determining that the user is authorized to use the first remote control user interface; and
(B)(2) providing access to the first remote control user interface to the user in response to the determination that the user is authorized to use the first remote control user interface.
9. The method of claim 1, wherein (B) comprises:
(B)(1) determining that the mobile device is authorized to facilitate control of the first object; and
wherein providing the first remote control user interface at the mobile device comprises providing the first remote control user interface to the mobile device in response to determining that the mobile device is authorized to facilitate control of the first object.
10. The method of claim 1, further comprising:
(F) receiving second input from the user, the second input relating to a second action to be performed by the object while the mobile device is in proximity to the first location;
(G) wirelessly transmitting a second communication relating to the second action; and
(H) receiving second feedback.
11. The method of claim 10, further comprising:
(I) generating a second communication relating to the second action based on the second user input; and
(J) transmitting the second communication to the remote computer.
12. The method of claim 1, further comprising:
(F) revising a presentation of the first remote control user interface on the mobile device based on the first feedback.
13. The method of claim 1, wherein (B) comprises selecting the first remote control user interface from among a plurality of remote control user interfaces.
14. The method of claim 1, wherein determining the first location of the mobile device comprises determining the first location of the mobile device using a global positioning system (GPS).
15. The method of claim 1, wherein determining the first location of the mobile device comprises determining the first location of the mobile device using a Wifi positioning system (WPS).
16. The method of claim 1, wherein (E) comprises receiving first feedback indicating that the first action has been performed.
17. A non-transitory computer-readable medium comprising computer program instructions executable by at least one computer processor to cause a first mobile device to perform a method, the method comprising:
(A) determining a first location of a mobile device;
(B) in response to the determination of the first location of the mobile device, providing a first remote control user interface at the mobile device based on the first location of the mobile device;
(C) receiving first input from a user via the first remote control user interface, the first input relating to a first action to be performed at a first object located in proximity to the first location while the mobile device is in proximity to the first location;
(D) wirelessly transmitting, from the mobile device to a remote server, a first communication relating to the first action; and
(E) wirelessly receiving, at the mobile device from the remote server, first feedback relating to the first action.
18. The non-transitory computer-readable medium of claim 17, wherein the method further comprises:
(F) transmitting, from the remote server to a first controller associated with the first object, a third communication based on the first communication relating to the first action.
19. The non-transitory computer-readable medium of claim 18, wherein (E) further comprises, before wirelessly receiving the first feedback relating to the first action, receiving, at the remote server, second feedback from the first controller, wherein the first feedback is derived from the second feedback.
20. The non-transitory computer-readable medium of claim 19, wherein the method further comprises:
(F) before (E), at the remote server, transmitting information relating to the first feedback to the mobile device.
21. The non-transitory computer-readable medium of claim 17, wherein the method further comprises:
(F) transmitting the first remote control user interface to the mobile device.
22. The non-transitory computer-readable medium of claim 21, wherein (B) comprises displaying elements of the first remote control user interface on a display of the mobile device.
23. The non-transitory computer-readable medium of claim 21, wherein the method further comprises:
(G) storing the first remote control user interface on the mobile device.
24. The non-transitory computer-readable medium of claim 21, wherein (B) comprises:
(B)(1) determining that the user is authorized to use the first remote control user interface; and
(B)(2) providing access to the first remote control user interface to the user in response to the determination that the user is authorized to use the first remote control user interface.
25. The non-transitory computer-readable medium of claim 21, wherein (B) comprises:
(B)(1) determining that the mobile device is authorized to facilitate control of the first object; and
wherein providing the first remote control user interface at the mobile device comprises providing the first remote control user interface to the mobile device in response to determining that the mobile device is authorized to facilitate control of the first object.
26. The non-transitory computer-readable medium of claim 17, wherein the method further comprises:
(F) receiving second input from the user, the second input relating to a second action to be performed by the object while the mobile device is in proximity to the first location;
(G) wirelessly transmitting a second communication relating to the second action; and
(H) receiving second feedback.
27. The non-transitory computer-readable medium of claim 26, wherein the method further comprises:
(I) generating a second communication relating to the second action based on the second user input; and
(J) transmitting the second communication to the remote computer.
28. The non-transitory computer-readable medium of claim 17, wherein the method further comprises:
(F) revising a presentation of the first remote control user interface on the mobile device based on the first feedback.
29. The non-transitory computer-readable medium of claim 17, wherein (B) comprises selecting the first remote control user interface from among a plurality of remote control user interfaces.
30. The non-transitory computer-readable medium of claim 17, wherein determining the first location of the mobile device comprises determining the first location of the mobile device using a global positioning system (GPS).
31. The non-transitory computer-readable medium of claim 17, wherein determining the first location of the mobile device comprises determining the first location of the mobile device using a Wifi positioning system (WPS).
32. The non-transitory computer-readable medium of claim 17, wherein (E) comprises receiving first feedback indicating that the first action has been performed.
33. The method of claim 1, further comprising:
(F) receiving second input from the user via the first remote control user interface, the second input relating to a second action to be performed at the first object location in proximity to a second location while the mobile device is in proximity to the second location;
(G) wirelessly transmitting, from the mobile device to the remote server, a second communication relating to the second action; and
(H) wirelessly receiving, at the mobile device from the remote server, second feedback relating to the second action.
34. The method of claim 1, further comprising:
(F) at the mobile device, displaying information based on the first feedback to the user.
35. The non-transitory computer-readable medium of claim 17, wherein the method further comprises:
(F) receiving second input from the user via the first remote control user interface, the second input relating to a second action to be performed at the first object location in proximity to a second location while the mobile device is in proximity to the second location;
(G) wirelessly transmitting, from the mobile device to the remote server, a second communication relating to the second action; and
(H) wirelessly receiving, at the mobile device from the remote server, second feedback relating to the second action.
36. The non-transitory computer-readable medium of claim 17, wherein the method further comprises:
(F) at the mobile device, displaying information based on the first feedback to the user.
US14/738,233 2011-01-08 2015-06-12 Proximity-enabled remote control Expired - Fee Related US9787756B2 (en)

Priority Applications (8)

Application Number Priority Date Filing Date Title
US14/738,233 US9787756B2 (en) 2011-01-08 2015-06-12 Proximity-enabled remote control
US15/710,366 US9942304B2 (en) 2011-01-08 2017-09-20 Remote control authority and authentication
US15/948,529 US10326823B2 (en) 2011-01-08 2018-04-09 Remote control authority and authentication
US16/436,713 US10778747B2 (en) 2011-01-08 2019-06-10 Remote control authority and authentication
US17/007,107 US11265364B2 (en) 2011-01-08 2020-08-31 Remote control authority and authentication
US17/569,401 US11665224B2 (en) 2011-01-08 2022-01-05 Remote control authority and authentication
US18/137,034 US11895179B2 (en) 2011-01-08 2023-04-20 Remote control authority and authentication
US18/513,701 US12381935B2 (en) 2011-01-08 2023-11-20 Remote control authority and authentication

Applications Claiming Priority (5)

Application Number Priority Date Filing Date Title
US201161430971P 2011-01-08 2011-01-08
US13/346,601 US8655345B2 (en) 2011-01-08 2012-01-09 Proximity-enabled remote control
US14/180,732 US8855622B2 (en) 2011-01-08 2014-02-14 Proximity-enabled remote control
US14/504,852 US9060011B2 (en) 2011-01-08 2014-10-02 Proximity-enabled remote control
US14/738,233 US9787756B2 (en) 2011-01-08 2015-06-12 Proximity-enabled remote control

Related Parent Applications (1)

Application Number Title Priority Date Filing Date
US14/504,852 Continuation US9060011B2 (en) 2011-01-08 2014-10-02 Proximity-enabled remote control

Related Child Applications (2)

Application Number Title Priority Date Filing Date
US15/710,366 Continuation-In-Part US9942304B2 (en) 2011-01-08 2017-09-20 Remote control authority and authentication
US15/710,366 Continuation US9942304B2 (en) 2011-01-08 2017-09-20 Remote control authority and authentication

Publications (2)

Publication Number Publication Date
US20150281323A1 US20150281323A1 (en) 2015-10-01
US9787756B2 true US9787756B2 (en) 2017-10-10

Family

ID=46455651

Family Applications (4)

Application Number Title Priority Date Filing Date
US13/346,601 Active US8655345B2 (en) 2011-01-08 2012-01-09 Proximity-enabled remote control
US14/180,732 Expired - Fee Related US8855622B2 (en) 2011-01-08 2014-02-14 Proximity-enabled remote control
US14/504,852 Expired - Fee Related US9060011B2 (en) 2011-01-08 2014-10-02 Proximity-enabled remote control
US14/738,233 Expired - Fee Related US9787756B2 (en) 2011-01-08 2015-06-12 Proximity-enabled remote control

Family Applications Before (3)

Application Number Title Priority Date Filing Date
US13/346,601 Active US8655345B2 (en) 2011-01-08 2012-01-09 Proximity-enabled remote control
US14/180,732 Expired - Fee Related US8855622B2 (en) 2011-01-08 2014-02-14 Proximity-enabled remote control
US14/504,852 Expired - Fee Related US9060011B2 (en) 2011-01-08 2014-10-02 Proximity-enabled remote control

Country Status (1)

Country Link
US (4) US8655345B2 (en)

Cited By (8)

* Cited by examiner, † Cited by third party
Publication number Priority date Publication date Assignee Title
US9942304B2 (en) 2011-01-08 2018-04-10 N99 Llc Remote control authority and authentication
US20180104412A1 (en) * 2015-06-19 2018-04-19 Roche Diabetes Care, Inc. Control apparatus and method for controlling a medical system, a portable device, an arrangement, and a computer program product
US10560844B2 (en) * 2017-03-15 2020-02-11 International Business Machines Corporation Authentication of users for securing remote controlled devices
US10602212B2 (en) 2016-12-22 2020-03-24 Sonifi Solutions, Inc. Methods and systems for implementing legacy remote and keystroke redirection
US10743075B2 (en) 2016-03-15 2020-08-11 Sonifi Solutions, Inc. Systems and methods for associating communication devices with output devices
US20220131929A1 (en) * 2011-01-08 2022-04-28 N99 Llc Remote control authority and authentication
US11330326B2 (en) 2015-09-30 2022-05-10 Sonifi Solutions, Inc. Methods and systems for enabling communications between devices
US20230284001A1 (en) * 2014-08-25 2023-09-07 Phyzio, Inc. Physiologic Sensors for Sensing, Measuring, Transmitting, and Processing Signals

Families Citing this family (109)

* Cited by examiner, † Cited by third party
Publication number Priority date Publication date Assignee Title
WO2004084464A2 (en) * 2003-03-14 2004-09-30 Thomson Licensing A flexible wlan access point architecture capable of accommodating different user devices
US10705701B2 (en) 2009-03-16 2020-07-07 Apple Inc. Device, method, and graphical user interface for moving a current position in content at a variable scrubbing rate
US8544033B1 (en) 2009-12-19 2013-09-24 Cisco Technology, Inc. System and method for evaluating content in a digital signage environment
US9135352B2 (en) 2010-06-03 2015-09-15 Cisco Technology, Inc. System and method for providing targeted advertising through traffic analysis in a network environment
US8732697B2 (en) 2010-08-04 2014-05-20 Premkumar Jonnala System, method and apparatus for managing applications on a device
US8655345B2 (en) * 2011-01-08 2014-02-18 Steven K. Gold Proximity-enabled remote control
US9774668B2 (en) * 2011-11-10 2017-09-26 Throughtek Co., Ltd. Communication system for establishing P2P connections and the corresponding devices using the same
US9767195B2 (en) 2011-04-21 2017-09-19 Touchstream Technologies, Inc. Virtualized hosting and displaying of content using a swappable media player
KR20120122671A (en) * 2011-04-29 2012-11-07 삼성전자주식회사 The method of controlling light based on network and the system using the same
US9226020B2 (en) * 2011-05-03 2015-12-29 Lg Electronics Inc. Electronic device and method for operating the same
US8386078B1 (en) * 2011-05-06 2013-02-26 Google Inc. Methods and systems for providing a data library for robotic devices
US8588809B2 (en) * 2011-06-21 2013-11-19 Cisco Technology, Inc. Managing public resources
WO2013003813A1 (en) 2011-06-30 2013-01-03 Lutron Electronics Co., Inc. Device and method of optically transmitting digital information from a smart phone to a load control device
US9544977B2 (en) 2011-06-30 2017-01-10 Lutron Electronics Co., Inc. Method of programming a load control device using a smart phone
US10271407B2 (en) 2011-06-30 2019-04-23 Lutron Electronics Co., Inc. Load control device having Internet connectivity
US10706096B2 (en) 2011-08-18 2020-07-07 Apple Inc. Management of local and remote media items
US9368025B2 (en) 2011-08-29 2016-06-14 Lutron Electronics Co., Inc. Two-part load control system mountable to a single electrical wallbox
US8982076B2 (en) * 2011-09-10 2015-03-17 Rsupport Co., Ltd. Method of blocking transmission of screen information of mobile communication terminal while performing remote control using icon
US9002322B2 (en) 2011-09-29 2015-04-07 Apple Inc. Authentication with secondary approver
US10013857B2 (en) * 2011-12-21 2018-07-03 Qualcomm Incorporated Using haptic technologies to provide enhanced media experiences
US8792912B2 (en) 2011-12-22 2014-07-29 Cisco Technology, Inc. System and method for providing proximity-based dynamic content in a network environment
WO2013133764A1 (en) * 2012-03-09 2013-09-12 Mediatek Singapore Pte. Ltd. Mobile device and remote control connection for electronic device via near field communication
US20130254668A1 (en) * 2012-03-23 2013-09-26 Rockwell Automation Technologies, Inc. Intelligent device-configurable icons
US10673691B2 (en) * 2012-03-24 2020-06-02 Fred Khosropour User interaction platform
US20130281015A1 (en) * 2012-04-23 2013-10-24 Nokia Corporation Method and apparatus for facilitating interaction between a radio frequency identification communications circuit in a mobile terminal
US20130306614A1 (en) * 2012-05-04 2013-11-21 Jeffrey Thomas Fey, JR. Heat activated thermal garment
KR101917696B1 (en) * 2012-09-04 2018-11-13 엘지전자 주식회사 Mobile terminal and control method thereof
US9413171B2 (en) 2012-12-21 2016-08-09 Lutron Electronics Co., Inc. Network access coordination of load control devices
US10019047B2 (en) 2012-12-21 2018-07-10 Lutron Electronics Co., Inc. Operational coordination of load control devices for control of electrical loads
US10244086B2 (en) 2012-12-21 2019-03-26 Lutron Electronics Co., Inc. Multiple network access load control devices
US20140250397A1 (en) * 2013-03-04 2014-09-04 Honeywell International Inc. User interface and method
US10135629B2 (en) * 2013-03-15 2018-11-20 Lutron Electronics Co., Inc. Load control device user interface and database management using near field communication (NFC)
WO2014143776A2 (en) 2013-03-15 2014-09-18 Bodhi Technology Ventures Llc Providing remote interactions with host device using a wireless device
KR20140122109A (en) * 2013-04-09 2014-10-17 엘지전자 주식회사 A laundry and a controlling method of a laundry
JP6144338B2 (en) * 2013-04-26 2017-06-07 日立マクセル株式会社 Projection display device
GB2516686B (en) * 2013-07-30 2018-02-07 Paxton Access Ltd Communication method and system
GB2533675B (en) * 2013-07-30 2018-02-07 Paxton Access Ltd Communication method and system
WO2015025264A1 (en) 2013-08-19 2015-02-26 Fisher & Paykel Healthcare Limited A user interface and method of operating same
US9142141B2 (en) * 2013-09-17 2015-09-22 Sony Corporation Determining exercise routes based on device determined information
RU2672576C2 (en) * 2013-10-28 2018-11-16 Филипс Лайтинг Холдинг Б.В. Dc track lighting systems control
JP6678375B2 (en) * 2013-11-18 2020-04-08 東京エレクトロン株式会社 Information processing apparatus, information processing method, and information processing system
US10419911B2 (en) * 2013-12-17 2019-09-17 Belimo Holding Ag Mobile communication device and method for managing operation of a plurality of actuators
US9621627B2 (en) * 2013-12-31 2017-04-11 Interneer, Inc. Dynamically launching a server-based application on a mobile device
US9269119B2 (en) 2014-01-22 2016-02-23 Sony Corporation Devices and methods for health tracking and providing information for improving health
KR102238775B1 (en) 2014-02-10 2021-04-09 삼성전자주식회사 Apparatus and method for devices administration using augmented reality in electronics device
WO2015169351A1 (en) * 2014-05-07 2015-11-12 Kone Corporation Haptic feedback system and respective method for elevators
WO2015183366A1 (en) 2014-05-30 2015-12-03 Apple, Inc. Continuity
US9173066B1 (en) * 2014-06-13 2015-10-27 Xerox Corporation Methods and systems for controlling an electronic device
US10339293B2 (en) 2014-08-15 2019-07-02 Apple Inc. Authenticated device used to unlock another device
US9386401B2 (en) * 2014-08-25 2016-07-05 Steven K. Gold Proximity-based sensing, communicating, and processing of user physiologic information
CN106797493A (en) 2014-09-02 2017-05-31 苹果公司 Music user interface
US9928623B2 (en) * 2014-09-12 2018-03-27 International Business Machines Corporation Socially generated and shared graphical representations
KR20160063126A (en) * 2014-11-26 2016-06-03 삼성전자주식회사 Exercise information providing method and electronic device supporting the same
US9473892B2 (en) * 2014-12-11 2016-10-18 Whirlpool Corporation Appliances that trigger applications on consumer devices based on user proximity to appliance
WO2016145100A1 (en) * 2015-03-09 2016-09-15 Autoconnect Holdings Llc Vehicle supervising of occupant applications
EP3276497B1 (en) * 2015-03-25 2023-07-26 Hyway Technology (Japan) Corp. Method for device control by thin client system
US12261990B2 (en) 2015-07-15 2025-03-25 Fyusion, Inc. System and method for generating combined embedded multi-view interactive digital media representations
US10147211B2 (en) 2015-07-15 2018-12-04 Fyusion, Inc. Artificially rendering images using viewpoint interpolation and extrapolation
US10242474B2 (en) 2015-07-15 2019-03-26 Fyusion, Inc. Artificially rendering images using viewpoint interpolation and extrapolation
US11006095B2 (en) 2015-07-15 2021-05-11 Fyusion, Inc. Drone based capture of a multi-view interactive digital media
US11095869B2 (en) * 2015-09-22 2021-08-17 Fyusion, Inc. System and method for generating combined embedded multi-view interactive digital media representations
US10222932B2 (en) 2015-07-15 2019-03-05 Fyusion, Inc. Virtual reality environment based manipulation of multilayered multi-view interactive digital media representations
US12495134B2 (en) 2015-07-15 2025-12-09 Fyusion, Inc. Drone based capture of multi-view interactive digital media
EP3128382B1 (en) * 2015-08-05 2018-11-07 ABB Schweiz AG Secure mobile access for automation systems
US9729708B2 (en) * 2015-08-17 2017-08-08 Disney Enterprises, Inc. Methods and systems for altering features of mobile devices
CA2938546A1 (en) * 2015-08-21 2017-02-21 Wal-Mart Stores, Inc. Nfc to customer profile systems and methods
US11783864B2 (en) 2015-09-22 2023-10-10 Fyusion, Inc. Integration of audio into a multi-view interactive digital media representation
WO2017049610A1 (en) * 2015-09-25 2017-03-30 Intel Corporation Telerobotic controller
DE102015224308A1 (en) * 2015-12-04 2017-06-08 Kuka Roboter Gmbh Manipulator system and method for identifying operating devices
US9503560B1 (en) * 2015-12-15 2016-11-22 Michael Frakes Remote control for mobile applications
DK179186B1 (en) 2016-05-19 2018-01-15 Apple Inc REMOTE AUTHORIZATION TO CONTINUE WITH AN ACTION
DK201670622A1 (en) 2016-06-12 2018-02-12 Apple Inc User interfaces for transactions
US11202017B2 (en) 2016-10-06 2021-12-14 Fyusion, Inc. Live style transfer on a mobile device
US10269272B1 (en) 2016-12-12 2019-04-23 Harry Lee Wainwright Remote controlled optical coupler with charger, GPS, and audio I/O
US10437879B2 (en) 2017-01-18 2019-10-08 Fyusion, Inc. Visual search using multi-view interactive digital media representations
US20180227482A1 (en) 2017-02-07 2018-08-09 Fyusion, Inc. Scene-aware selection of filters and effects for visual digital media content
US10462830B2 (en) * 2017-04-24 2019-10-29 Robert G Flores Proximity enabled communication network system for peripheral device
US10992795B2 (en) 2017-05-16 2021-04-27 Apple Inc. Methods and interfaces for home media control
US11431836B2 (en) 2017-05-02 2022-08-30 Apple Inc. Methods and interfaces for initiating media playback
US10928980B2 (en) 2017-05-12 2021-02-23 Apple Inc. User interfaces for playing and managing audio items
CN111343060B (en) 2017-05-16 2022-02-11 苹果公司 Method and interface for home media control
US12526361B2 (en) 2017-05-16 2026-01-13 Apple Inc. Methods for outputting an audio output in accordance with a user being within a range of a device
US10313651B2 (en) 2017-05-22 2019-06-04 Fyusion, Inc. Snapshots at predefined intervals or angles
US10674209B2 (en) 2017-05-31 2020-06-02 Charter Communications Operating, Llc Enhanced control of a device based on detected user presence
US11069147B2 (en) 2017-06-26 2021-07-20 Fyusion, Inc. Modification of multi-view interactive digital media representation
CN107395894A (en) * 2017-08-14 2017-11-24 昆山伊斯科特电子科技有限公司 The control method and its system of Intelligent fixed time socket
CN107690759B (en) * 2017-08-25 2020-05-12 索尔思光电(成都)有限公司 Optical module, optical module system and monitoring method of optical module
CN109510853A (en) * 2017-09-15 2019-03-22 安杰科技股份有限公司 Remote identification control device
US10592747B2 (en) 2018-04-26 2020-03-17 Fyusion, Inc. Method and apparatus for 3-D auto tagging
CN108769158A (en) * 2018-05-16 2018-11-06 四川斐讯信息技术有限公司 A kind of method and system changing intelligent sound box appearance
US10869616B2 (en) 2018-06-01 2020-12-22 DePuy Synthes Products, Inc. Neural event detection
IL261471A (en) * 2018-08-29 2018-11-04 A A S Advanced Accessibility Solution Device and method for monitoring usage of privileges associated with vehicles
US10870002B2 (en) 2018-10-12 2020-12-22 DePuy Synthes Products, Inc. Neuromuscular sensing device with multi-sensor array
CA3131489A1 (en) * 2019-02-27 2020-09-03 Louisiana-Pacific Corporation Fire-resistant manufactured-wood based siding
KR102436985B1 (en) 2019-05-31 2022-08-29 애플 인크. User interface for controlling audio media
DK201970533A1 (en) 2019-05-31 2021-02-15 Apple Inc Methods and user interfaces for sharing audio
US10904029B2 (en) 2019-05-31 2021-01-26 Apple Inc. User interfaces for managing controllable external devices
US11010121B2 (en) 2019-05-31 2021-05-18 Apple Inc. User interfaces for audio media control
US11513667B2 (en) 2020-05-11 2022-11-29 Apple Inc. User interface for audio message
US11816194B2 (en) 2020-06-21 2023-11-14 Apple Inc. User interfaces for managing secure operations
WO2022040212A1 (en) * 2020-08-18 2022-02-24 Thinh Tran Orthogonal fabric user interface
US11392291B2 (en) 2020-09-25 2022-07-19 Apple Inc. Methods and interfaces for media control with dynamic feedback
US12069198B2 (en) * 2021-03-29 2024-08-20 Enseo, Llc Remote control feature and system and method for use of same
CN113347618B (en) * 2021-06-01 2022-10-18 宁波奥克斯电气股份有限公司 Bluetooth pairing method, device and system, bluetooth intelligent terminal and storage medium
US11847378B2 (en) 2021-06-06 2023-12-19 Apple Inc. User interfaces for audio routing
CN119376677A (en) 2021-06-06 2025-01-28 苹果公司 User interface for audio routing
US12032872B2 (en) * 2021-09-30 2024-07-09 Sonos, Inc. Intelligent user interfaces for playback devices
US12379827B2 (en) 2022-06-03 2025-08-05 Apple Inc. User interfaces for managing accessories
US12321574B2 (en) 2022-09-02 2025-06-03 Apple Inc. Content output devices and user interfaces

Citations (8)

* Cited by examiner, † Cited by third party
Publication number Priority date Publication date Assignee Title
US20020077114A1 (en) * 2000-12-18 2002-06-20 Philips Electronics North America Corp. Ergonomic system for control of devices through portable wireless terminals
US20030141987A1 (en) * 1999-06-16 2003-07-31 Hayes Patrick H. System and method for automatically setting up a universal remote control
US20080318564A1 (en) * 2007-06-19 2008-12-25 At&T Intellectual Property, Inc. Methods, apparatuses, and computer program products for implementing remote control processes
US7564369B1 (en) * 2004-08-16 2009-07-21 Microsoft Corporation Methods and interactions for changing a remote control mode
US20110105097A1 (en) * 2009-10-31 2011-05-05 Saied Tadayon Controlling Mobile Device Functions
US20120146918A1 (en) * 2010-12-08 2012-06-14 At&T Intellectual Property I, L.P. Remote Control of Electronic Devices Via Mobile Device
US20120246717A1 (en) * 2011-03-22 2012-09-27 Eldon Technology Limited Apparatus, systems and methods for securely storing media content events on a flash memory device
US8655345B2 (en) * 2011-01-08 2014-02-18 Steven K. Gold Proximity-enabled remote control

Patent Citations (10)

* Cited by examiner, † Cited by third party
Publication number Priority date Publication date Assignee Title
US20030141987A1 (en) * 1999-06-16 2003-07-31 Hayes Patrick H. System and method for automatically setting up a universal remote control
US20020077114A1 (en) * 2000-12-18 2002-06-20 Philips Electronics North America Corp. Ergonomic system for control of devices through portable wireless terminals
US7564369B1 (en) * 2004-08-16 2009-07-21 Microsoft Corporation Methods and interactions for changing a remote control mode
US20080318564A1 (en) * 2007-06-19 2008-12-25 At&T Intellectual Property, Inc. Methods, apparatuses, and computer program products for implementing remote control processes
US20110105097A1 (en) * 2009-10-31 2011-05-05 Saied Tadayon Controlling Mobile Device Functions
US20120146918A1 (en) * 2010-12-08 2012-06-14 At&T Intellectual Property I, L.P. Remote Control of Electronic Devices Via Mobile Device
US8655345B2 (en) * 2011-01-08 2014-02-18 Steven K. Gold Proximity-enabled remote control
US8855622B2 (en) * 2011-01-08 2014-10-07 Steven K. Gold Proximity-enabled remote control
US9060011B2 (en) * 2011-01-08 2015-06-16 Steven K. Gold Proximity-enabled remote control
US20120246717A1 (en) * 2011-03-22 2012-09-27 Eldon Technology Limited Apparatus, systems and methods for securely storing media content events on a flash memory device

Cited By (19)

* Cited by examiner, † Cited by third party
Publication number Priority date Publication date Assignee Title
US11665224B2 (en) * 2011-01-08 2023-05-30 N99 Llc Remote control authority and authentication
US12381935B2 (en) 2011-01-08 2025-08-05 N99 Llc Remote control authority and authentication
US11895179B2 (en) 2011-01-08 2024-02-06 N99 Llc Remote control authority and authentication
US9942304B2 (en) 2011-01-08 2018-04-10 N99 Llc Remote control authority and authentication
US20220131929A1 (en) * 2011-01-08 2022-04-28 N99 Llc Remote control authority and authentication
US12035217B2 (en) * 2014-08-25 2024-07-09 Phyzio, Inc. Physiologic sensors for sensing, measuring, transmitting, and processing signals
US20230284001A1 (en) * 2014-08-25 2023-09-07 Phyzio, Inc. Physiologic Sensors for Sensing, Measuring, Transmitting, and Processing Signals
US20180104412A1 (en) * 2015-06-19 2018-04-19 Roche Diabetes Care, Inc. Control apparatus and method for controlling a medical system, a portable device, an arrangement, and a computer program product
US10342923B2 (en) * 2015-06-19 2019-07-09 Roche Diabetes Care, Inc. Control apparatus and method for controlling a medical system, a portable device, an arrangement, and a computer program product
US11671651B2 (en) 2015-09-30 2023-06-06 Sonifi Solutions, Inc. Methods and systems for enabling communications between devices
US11330326B2 (en) 2015-09-30 2022-05-10 Sonifi Solutions, Inc. Methods and systems for enabling communications between devices
US12101527B2 (en) 2015-09-30 2024-09-24 Sonifi Solutions, Inc. Methods and systems for enabling communications between devices
US10743075B2 (en) 2016-03-15 2020-08-11 Sonifi Solutions, Inc. Systems and methods for associating communication devices with output devices
US11641502B2 (en) 2016-12-22 2023-05-02 Sonifi Solutions, Inc. Methods and systems for implementing legacy remote and keystroke redirection
US11122318B2 (en) 2016-12-22 2021-09-14 Sonifi Solutions, Inc. Methods and systems for implementing legacy remote and keystroke redirection
US10602212B2 (en) 2016-12-22 2020-03-24 Sonifi Solutions, Inc. Methods and systems for implementing legacy remote and keystroke redirection
US12063406B2 (en) 2016-12-22 2024-08-13 Sonifi Solutions, Inc. Methods and systems for implementing legacy remote and keystroke redirection
US11117664B2 (en) 2017-03-15 2021-09-14 International Business Machines Corporation Authentication of users for securing remote controlled devices
US10560844B2 (en) * 2017-03-15 2020-02-11 International Business Machines Corporation Authentication of users for securing remote controlled devices

Also Published As

Publication number Publication date
US9060011B2 (en) 2015-06-16
US20150281323A1 (en) 2015-10-01
US20150017973A1 (en) 2015-01-15
US20120178431A1 (en) 2012-07-12
US8655345B2 (en) 2014-02-18
US20140162624A1 (en) 2014-06-12
US8855622B2 (en) 2014-10-07

Similar Documents

Publication Publication Date Title
US9787756B2 (en) Proximity-enabled remote control
US12381935B2 (en) Remote control authority and authentication
US9942304B2 (en) Remote control authority and authentication
CN110770678B (en) Object Holographic Enhancement
US20180322872A1 (en) Method and system for processing user command to provide and adjust operation of electronic device by analyzing presentation of user speech
KR102916049B1 (en) Conversational control system and method for registering external apparatus
US11950168B1 (en) Method and system for enhancing a traveler's/consumer experience using customized content for smart devices/internet of things devices based on data mining information
US10133903B2 (en) Remote control device and operating method thereof
KR102269473B1 (en) Control device, controlling method thereof, and integrated control system
JP2017535001A (en) Push user interface
KR20150017691A (en) An electronic-mat and of the operating method, for supplying stories to children using toy figures within an electronic balance and short-range wireless communication, NFC / RFID Tag reader.
US10254744B2 (en) Telerobotic controller
KR20250021577A (en) AR system for providing interactive experiences in smart spaces
KR102658092B1 (en) A display device for sharing content with an external display device and a content sharing method
US20250023753A1 (en) Thermostat configuration and control
Daniels et al. Projection Device for Generating Augmented Reality User Interfaces
EP4540685A1 (en) Standardized ar interfaces for iot devices
Dhillon et al. Enhancing Privacy of Smart Speakers Using Image Recognition and Motion Sensors
KR20220129986A (en) Audio signal-based device and method for controlling the same
Ross Augmented Reality Interface for Visualizing and Interacting with IoT Devices
Tait Internet of Things Cross Device Theming
Rodriguez Location Finding of Wireless Beacons
Von Dehsen Providing a Camera Stream on an Ancillary Display
KR20160050645A (en) The method for controlling device by character and aplication

Legal Events

Date Code Title Description
AS Assignment

Owner name: N99 LLC, MASSACHUSETTS

Free format text: ASSIGNMENT OF ASSIGNORS INTEREST;ASSIGNOR:GOLD, STEVEN K.;REEL/FRAME:041683/0215

Effective date: 20170207

STCF Information on status: patent grant

Free format text: PATENTED CASE

MAFP Maintenance fee payment

Free format text: PAYMENT OF MAINTENANCE FEE, 4TH YR, SMALL ENTITY (ORIGINAL EVENT CODE: M2551); ENTITY STATUS OF PATENT OWNER: SMALL ENTITY

Year of fee payment: 4

FEPP Fee payment procedure

Free format text: MAINTENANCE FEE REMINDER MAILED (ORIGINAL EVENT CODE: REM.); ENTITY STATUS OF PATENT OWNER: SMALL ENTITY

LAPS Lapse for failure to pay maintenance fees

Free format text: PATENT EXPIRED FOR FAILURE TO PAY MAINTENANCE FEES (ORIGINAL EVENT CODE: EXP.); ENTITY STATUS OF PATENT OWNER: SMALL ENTITY

STCH Information on status: patent discontinuation

Free format text: PATENT EXPIRED DUE TO NONPAYMENT OF MAINTENANCE FEES UNDER 37 CFR 1.362

FP Lapsed due to failure to pay maintenance fee

Effective date: 20251010