US9482744B1 - Staggered pulse repetition frequency doppler processing - Google Patents

Staggered pulse repetition frequency doppler processing Download PDF

Info

Publication number
US9482744B1
US9482744B1 US14/161,878 US201414161878A US9482744B1 US 9482744 B1 US9482744 B1 US 9482744B1 US 201414161878 A US201414161878 A US 201414161878A US 9482744 B1 US9482744 B1 US 9482744B1
Authority
US
United States
Prior art keywords
doppler
range
pulse
complex digital
output data
Prior art date
Legal status (The legal status is an assumption and is not a legal conclusion. Google has not performed a legal analysis and makes no representation as to the accuracy of the status listed.)
Active, expires
Application number
US14/161,878
Inventor
Brian P. Neary
Peter H. Stockmann
Current Assignee (The listed assignees may be inaccurate. Google has not performed a legal analysis and makes no representation or warranty as to the accuracy of the list.)
Lockheed Martin Corp
Original Assignee
Lockheed Martin Corp
Priority date (The priority date is an assumption and is not a legal conclusion. Google has not performed a legal analysis and makes no representation as to the accuracy of the date listed.)
Filing date
Publication date
Application filed by Lockheed Martin Corp filed Critical Lockheed Martin Corp
Priority to US14/161,878 priority Critical patent/US9482744B1/en
Assigned to LOCKHEED MARTIN CORPORATION reassignment LOCKHEED MARTIN CORPORATION ASSIGNMENT OF ASSIGNORS INTEREST (SEE DOCUMENT FOR DETAILS). Assignors: NEARY, BRIAN P., STOCKMANN, PETER H.
Application granted granted Critical
Publication of US9482744B1 publication Critical patent/US9482744B1/en
Active legal-status Critical Current
Adjusted expiration legal-status Critical

Links

Images

Classifications

    • GPHYSICS
    • G01MEASURING; TESTING
    • G01SRADIO DIRECTION-FINDING; RADIO NAVIGATION; DETERMINING DISTANCE OR VELOCITY BY USE OF RADIO WAVES; LOCATING OR PRESENCE-DETECTING BY USE OF THE REFLECTION OR RERADIATION OF RADIO WAVES; ANALOGOUS ARRANGEMENTS USING OTHER WAVES
    • G01S7/00Details of systems according to groups G01S13/00, G01S15/00, G01S17/00
    • G01S7/02Details of systems according to groups G01S13/00, G01S15/00, G01S17/00 of systems according to group G01S13/00
    • G01S7/28Details of pulse systems
    • GPHYSICS
    • G01MEASURING; TESTING
    • G01SRADIO DIRECTION-FINDING; RADIO NAVIGATION; DETERMINING DISTANCE OR VELOCITY BY USE OF RADIO WAVES; LOCATING OR PRESENCE-DETECTING BY USE OF THE REFLECTION OR RERADIATION OF RADIO WAVES; ANALOGOUS ARRANGEMENTS USING OTHER WAVES
    • G01S13/00Systems using the reflection or reradiation of radio waves, e.g. radar systems; Analogous systems using reflection or reradiation of waves whose nature or wavelength is irrelevant or unspecified
    • G01S13/02Systems using reflection of radio waves, e.g. primary radar systems; Analogous systems
    • G01S13/04Systems determining presence of a target
    • GPHYSICS
    • G01MEASURING; TESTING
    • G01SRADIO DIRECTION-FINDING; RADIO NAVIGATION; DETERMINING DISTANCE OR VELOCITY BY USE OF RADIO WAVES; LOCATING OR PRESENCE-DETECTING BY USE OF THE REFLECTION OR RERADIATION OF RADIO WAVES; ANALOGOUS ARRANGEMENTS USING OTHER WAVES
    • G01S13/00Systems using the reflection or reradiation of radio waves, e.g. radar systems; Analogous systems using reflection or reradiation of waves whose nature or wavelength is irrelevant or unspecified
    • G01S13/02Systems using reflection of radio waves, e.g. primary radar systems; Analogous systems
    • G01S13/06Systems determining position data of a target
    • G01S13/08Systems for measuring distance only
    • G01S13/10Systems for measuring distance only using transmission of interrupted, pulse modulated waves
    • G01S13/18Systems for measuring distance only using transmission of interrupted, pulse modulated waves wherein range gates are used
    • GPHYSICS
    • G01MEASURING; TESTING
    • G01SRADIO DIRECTION-FINDING; RADIO NAVIGATION; DETERMINING DISTANCE OR VELOCITY BY USE OF RADIO WAVES; LOCATING OR PRESENCE-DETECTING BY USE OF THE REFLECTION OR RERADIATION OF RADIO WAVES; ANALOGOUS ARRANGEMENTS USING OTHER WAVES
    • G01S13/00Systems using the reflection or reradiation of radio waves, e.g. radar systems; Analogous systems using reflection or reradiation of waves whose nature or wavelength is irrelevant or unspecified
    • G01S13/02Systems using reflection of radio waves, e.g. primary radar systems; Analogous systems
    • G01S13/06Systems determining position data of a target
    • G01S13/08Systems for measuring distance only
    • G01S13/10Systems for measuring distance only using transmission of interrupted, pulse modulated waves
    • G01S13/22Systems for measuring distance only using transmission of interrupted, pulse modulated waves using irregular pulse repetition frequency
    • G01S13/225Systems for measuring distance only using transmission of interrupted, pulse modulated waves using irregular pulse repetition frequency with cyclic repetition of a non-uniform pulse sequence, e.g. staggered PRF
    • GPHYSICS
    • G01MEASURING; TESTING
    • G01SRADIO DIRECTION-FINDING; RADIO NAVIGATION; DETERMINING DISTANCE OR VELOCITY BY USE OF RADIO WAVES; LOCATING OR PRESENCE-DETECTING BY USE OF THE REFLECTION OR RERADIATION OF RADIO WAVES; ANALOGOUS ARRANGEMENTS USING OTHER WAVES
    • G01S13/00Systems using the reflection or reradiation of radio waves, e.g. radar systems; Analogous systems using reflection or reradiation of waves whose nature or wavelength is irrelevant or unspecified
    • G01S13/02Systems using reflection of radio waves, e.g. primary radar systems; Analogous systems
    • G01S13/06Systems determining position data of a target
    • G01S13/08Systems for measuring distance only
    • G01S13/10Systems for measuring distance only using transmission of interrupted, pulse modulated waves
    • G01S13/26Systems for measuring distance only using transmission of interrupted, pulse modulated waves wherein the transmitted pulses use a frequency- or phase-modulated carrier wave
    • G01S13/28Systems for measuring distance only using transmission of interrupted, pulse modulated waves wherein the transmitted pulses use a frequency- or phase-modulated carrier wave with time compression of received pulses
    • GPHYSICS
    • G01MEASURING; TESTING
    • G01SRADIO DIRECTION-FINDING; RADIO NAVIGATION; DETERMINING DISTANCE OR VELOCITY BY USE OF RADIO WAVES; LOCATING OR PRESENCE-DETECTING BY USE OF THE REFLECTION OR RERADIATION OF RADIO WAVES; ANALOGOUS ARRANGEMENTS USING OTHER WAVES
    • G01S13/00Systems using the reflection or reradiation of radio waves, e.g. radar systems; Analogous systems using reflection or reradiation of waves whose nature or wavelength is irrelevant or unspecified
    • G01S13/02Systems using reflection of radio waves, e.g. primary radar systems; Analogous systems
    • G01S13/50Systems of measurement based on relative movement of target
    • G01S13/52Discriminating between fixed and moving objects or between objects moving at different speeds
    • G01S13/522Discriminating between fixed and moving objects or between objects moving at different speeds using transmissions of interrupted pulse modulated waves
    • G01S13/524Discriminating between fixed and moving objects or between objects moving at different speeds using transmissions of interrupted pulse modulated waves based upon the phase or frequency shift resulting from movement of objects, with reference to the transmitted signals, e.g. coherent MTi
    • G01S13/5244Adaptive clutter cancellation
    • GPHYSICS
    • G01MEASURING; TESTING
    • G01SRADIO DIRECTION-FINDING; RADIO NAVIGATION; DETERMINING DISTANCE OR VELOCITY BY USE OF RADIO WAVES; LOCATING OR PRESENCE-DETECTING BY USE OF THE REFLECTION OR RERADIATION OF RADIO WAVES; ANALOGOUS ARRANGEMENTS USING OTHER WAVES
    • G01S13/00Systems using the reflection or reradiation of radio waves, e.g. radar systems; Analogous systems using reflection or reradiation of waves whose nature or wavelength is irrelevant or unspecified
    • G01S13/02Systems using reflection of radio waves, e.g. primary radar systems; Analogous systems
    • G01S13/50Systems of measurement based on relative movement of target
    • G01S13/52Discriminating between fixed and moving objects or between objects moving at different speeds
    • G01S13/522Discriminating between fixed and moving objects or between objects moving at different speeds using transmissions of interrupted pulse modulated waves
    • G01S13/524Discriminating between fixed and moving objects or between objects moving at different speeds using transmissions of interrupted pulse modulated waves based upon the phase or frequency shift resulting from movement of objects, with reference to the transmitted signals, e.g. coherent MTi
    • G01S13/526Discriminating between fixed and moving objects or between objects moving at different speeds using transmissions of interrupted pulse modulated waves based upon the phase or frequency shift resulting from movement of objects, with reference to the transmitted signals, e.g. coherent MTi performing filtering on the whole spectrum without loss of range information, e.g. using delay line cancellers or comb filters
    • GPHYSICS
    • G01MEASURING; TESTING
    • G01SRADIO DIRECTION-FINDING; RADIO NAVIGATION; DETERMINING DISTANCE OR VELOCITY BY USE OF RADIO WAVES; LOCATING OR PRESENCE-DETECTING BY USE OF THE REFLECTION OR RERADIATION OF RADIO WAVES; ANALOGOUS ARRANGEMENTS USING OTHER WAVES
    • G01S13/00Systems using the reflection or reradiation of radio waves, e.g. radar systems; Analogous systems using reflection or reradiation of waves whose nature or wavelength is irrelevant or unspecified
    • G01S13/02Systems using reflection of radio waves, e.g. primary radar systems; Analogous systems
    • G01S13/50Systems of measurement based on relative movement of target
    • G01S13/52Discriminating between fixed and moving objects or between objects moving at different speeds
    • G01S13/522Discriminating between fixed and moving objects or between objects moving at different speeds using transmissions of interrupted pulse modulated waves
    • G01S13/524Discriminating between fixed and moving objects or between objects moving at different speeds using transmissions of interrupted pulse modulated waves based upon the phase or frequency shift resulting from movement of objects, with reference to the transmitted signals, e.g. coherent MTi
    • G01S13/526Discriminating between fixed and moving objects or between objects moving at different speeds using transmissions of interrupted pulse modulated waves based upon the phase or frequency shift resulting from movement of objects, with reference to the transmitted signals, e.g. coherent MTi performing filtering on the whole spectrum without loss of range information, e.g. using delay line cancellers or comb filters
    • G01S13/528Discriminating between fixed and moving objects or between objects moving at different speeds using transmissions of interrupted pulse modulated waves based upon the phase or frequency shift resulting from movement of objects, with reference to the transmitted signals, e.g. coherent MTi performing filtering on the whole spectrum without loss of range information, e.g. using delay line cancellers or comb filters with elimination of blind speeds
    • GPHYSICS
    • G01MEASURING; TESTING
    • G01SRADIO DIRECTION-FINDING; RADIO NAVIGATION; DETERMINING DISTANCE OR VELOCITY BY USE OF RADIO WAVES; LOCATING OR PRESENCE-DETECTING BY USE OF THE REFLECTION OR RERADIATION OF RADIO WAVES; ANALOGOUS ARRANGEMENTS USING OTHER WAVES
    • G01S7/00Details of systems according to groups G01S13/00, G01S15/00, G01S17/00
    • G01S7/02Details of systems according to groups G01S13/00, G01S15/00, G01S17/00 of systems according to group G01S13/00
    • G01S7/28Details of pulse systems
    • G01S7/285Receivers
    • G01S7/292Extracting wanted echo-signals
    • G01S7/2921Extracting wanted echo-signals based on data belonging to one radar period
    • G01S7/2922Extracting wanted echo-signals based on data belonging to one radar period by using a controlled threshold

Definitions

  • the present invention relates to signal processing systems and methods for use in radar applications, and more particularly, to signal processing systems and methods utilizing staggered pulse repetition frequency (PRF) waveforms in a pulse-Doppler radar system.
  • PRF staggered pulse repetition frequency
  • Radar systems are useful for detecting, characterizing and monitoring various kinematic parameters associated with natural and/or man-made objects and are critical to both civilian and military operations. These systems typically transmit “beams” or electromagnetic (EM) signals intended to engage one or more objects or targets, and process reflected return signals (or echoes) for object identification and characterization.
  • EM electromagnetic
  • a radar echo return usually contains both signals generated from a target, as well as background clutter.
  • the clutter signal arises from reflections from stationary and slow-moving background objects (e.g. precipitation, terrain, etc.), and is usually stronger than the target signal. This clutter decreases radar performance by hindering the system's ability to detect targets and/or increases the probability of a false target detection.
  • pulse-Doppler radar systems may implement a plurality of Doppler frequency filters (e.g. FFT networks) used to divide the Doppler frequency space into many narrow regions, with each filter corresponding to one of these frequency bands. Knowing the frequency space normally associated with specific clutter types, these Doppler filters can be used to discriminate against clutter, as well as identify target Doppler frequency.
  • Doppler frequency filters e.g. FFT networks
  • the sensitivity of the system is impacted due to the coherent processing interval (CPI) being shortened to provide for multiple PRFs.
  • the sensitivity is also impacted due to multiple hits being required to provide accurate range in the range ambiguous CPIs resulting from the high PRF.
  • CPI coherent processing interval
  • processing ambiguous targets precludes the use of more sensitive Swerling (e.g. SW2/SW4) detection processing techniques.
  • a pulse-Doppler radar system includes a transmitter configured to generate and transmit a waveform comprising a plurality of pulses generated with a staggered pulse repetition frequency from pulse to pulse.
  • a receiver is configured to receive reflected radar return signals and convert the received signals into complex digital data.
  • a plurality of Doppler filters spanning an entire desired (target) Doppler visibility range are provided for filtering the received digital data into complex digital output data.
  • the system further includes at least one processor configured to perform target detection on objects of interest based on the outputs of the Doppler filters. This target detection may be based on the power of the complex digital output by summing the squares of the real and imaginary components of the complex digital output data at each range/Doppler call.
  • a method of operating a pulse-Doppler radar system includes the steps of generating a waveform comprising a plurality of pulses generated with a staggered pulse repetition frequency from pulse to pulse, and receiving reflected return signals from the generated waveform.
  • the received return signals are Doppler filtered via a plurality of Doppler filters spanning an entire required Doppler visibility range to generate complex digital output data.
  • Target detection may be performed based on the power of the complex digital output data by summing the squares of the real and imaginary components of the complex digital output data at each range/Doppler cell.
  • FIG. 1 is a simplified process diagram illustrating the operation of a radar system according to the prior art.
  • FIG. 2 is a simplified process diagram illustrating the operation of a radar system according to an embodiment of the present disclosure.
  • FIG. 3 is a simplified schematic diagram of a radar system useful for describing embodiments of the present disclosure.
  • FIG. 4 is a graph illustrating the benefits of embodiments of the present disclosure.
  • FIG. 5 is a process flow diagram illustrating an exemplary radar processing method according to an embodiment of the present disclosure.
  • Embodiments of the present disclosure include waveform design and processing approaches for avoiding the above-described drawbacks of the prior art.
  • embodiments include pulse-Doppler radar systems that utilize waveforms with a pulse-to-pulse, intra-CPI, PRF stagger for minimizing Doppler blinds.
  • the waveforms are low PRF (LPRF), yielding unambiguous range data with only a single target hit.
  • LPRF waveforms cover the entire instrumented range of the radar. For example, for a 200 kilometer (Km) instrumented range, a typical LPRF waveform may be 220 Km.
  • a high PRF (HPRF) waveform covers the entire required Doppler of the target.
  • the maximum PRI for a high PRF waveform may be approximately 18.5 Km. Higher RF frequencies and larger Doppler visibility requirements would shorten this PRI.
  • Doppler filters are designed to cover the entire required Doppler visibility range for the application.
  • the Doppler filters may be designed at specific Rdots (object-to-target range rate, meters/second), allowing for true non-coherent Swerling integration across CPIs. More specifically, each of these multiple (e.g. one thousand) filters are designed to reject stationary and wideband clutter while passing a specific Rdot.
  • Unique filters are designed at each Rdot for each unique set of staggers and each transmitter RF frequency. Applying these filters to a series of time domain radar return signals results in a Range/Rdot matrix of powers that can be summed element by element to yield true SW2 detection probabilities.
  • staggered PRF waveforms utilized moving target indication (MTI) processing.
  • MTI moving target indication
  • This staggered PRF, MTI filtering covers the entire Doppler visibility requirement, but uses only a single Doppler filter in conjunction with three to five pulses per waveform.
  • the shortcoming of staggered PRF, MTI processing with respect to embodiments of the present disclosure is that these processes do not maximize coherent gain across the band, and thus do not maximize detectability.
  • the proposed approach has two advantages relative to the above-described fixed PRF waveforms with inter-CPI stagger methods.
  • Doppler filters can only be implemented between zero and the PRF.
  • the PRF is typically a fraction of the required Doppler visibility of the system for a LPRF waveform.
  • the inter-CPI stagger causes targets to fold into the ambiguous range/Doppler space of each CPI in an unpredictable way.
  • Advantageous SW2 processing requires the non-coherent addition of range/Doppler cell for CPIs with different RF frequencies. The unpredictable manner that targets fold in the fixed PRF approach precludes taking advantage of the SW2 detection probabilities.
  • the system and method of the present disclosure allows filters to be designed at specific Rdots across the entire Doppler uncertainty region. Even for different RF frequencies, the output of the proposed approach yields two range/Doppler matrices where each element of one matrix has a matching range/Doppler point in the other matrix. Taking the magnitude squared of each of these matrices and performing an element by element addition provides SW2 detection capability with its commensurate increase in sensitivity.
  • Clutter stability is a quantitative indication of the ability of a system to reject clutter. If a given range bin has a clutter to noise ratio (CNR) of 80 dB and a clutter stability of 50 dB, there will be a noise floor due to clutter that is 30 dB above the thermal noise floor in Doppler bins that are separated from clutter.
  • CNR clutter to noise ratio
  • the proposed approach utilizes staggered LPRF waveforms, wherein a target only competes against clutter from its own range. For LPRF waveforms, the ranges where the CNR is high correspond to ranges where the signal to noise ratio (SNR) is also likely to be high.
  • the target can often be detected even with an elevated noise floor due to a lowered clutter stability requirement.
  • HPRF and MPRF waveforms have very high clutter stability requirements. This is because targets from long ranges fold into shorter ranges where they must be detected in range cells with high clutter.
  • the range loss on the target for these PRFs is often orders of magnitude larger than the range loss on the clutter.
  • FIG. 1 is a high-level illustration of a coherent radar return signal processing method according to the prior art.
  • a radar system is configured to output two signal bursts, each burst comprising a waveform including a plurality of signal pulses transmitted at a fixed PRF.
  • Reflected return signals 2 , 4 from each transmitted signal burst are received by the radar system, filtered by a Doppler filter bank comprising Doppler filters which span from zero to the PRF, and are otherwise processed for clutter reduction according to known techniques in blocks 5 , 5 ′.
  • a “greatest of” operation may be performed across each of the filters of the Doppler filter bank in order to identify which particular Doppler filter comprises the greatest return above its respective clutter map (i.e. identify the filter comprising the greatest signal/clutter map ratio).
  • a one-of-two process which includes declaring a detection if a range/Doppler cell exceeds a detection threshold in either PRF, is performed in block 7 .
  • FIG. 2 is a high-level illustration of a coherent radar return signal processing method according to an embodiment of the present disclosure.
  • a radar system is configured to output two signal bursts, with each burst comprising a waveform including a plurality of signal pulses transmitted at a staggered PRF. Reflected return signals 1 , 3 from each transmitted signal burst are received by the radar system.
  • received return signals 1 , 3 from each burst are Doppler filtered using a bank comprising filters which span an entire desired Doppler visibility range or predetermined target Rdot window (e.g. from +/ ⁇ the speed of sound, or +/ ⁇ Mach 1).
  • Doppler filter outputs from return signals 1 , 3 are provided to processing blocks 13 , 13 ′, wherein the sum of the squares of the real and imaginary components of the signal at each range/Doppler cell are calculated.
  • the resulting outputs of blocks 13 , 13 ′ are combined or summed in processing block 16 prior to a threshold detection operation in block 17 .
  • Detection processing may include, for example, a constant false alarm rate (CFAR) target detection process.
  • CFAR processing attempts to determine a threshold power above which any return can be considered to originate from a target. This threshold is set typically to achieve a desired probability of a false alarm, or false alarm rate.
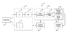
  • a pulse-Doppler system 10 may comprise a front-end module 14 , including a transmitter 11 responsive to a control processor 29 for generating and transmitting a series of defined waveforms from an antenna 12 .
  • these waveforms may take the form of EM signal bursts comprising a plurality of staggered low PRF pulses. Reflected return signals from each burst are subsequently captured by antenna 12 and provided to at least one receiver 15 for signal modulation.
  • Receiver 15 may include various processing components, such as one or more filters, a low-noise amplifier and a down converter, as will be understood by one of ordinary skill in the art.
  • At least one analog to digital converter (ADC) 18 is provided for converting received analog return signals to digital form.
  • ADC analog to digital converter
  • System 10 may also include, by way of non-limiting example, a digital processing system 20 , including a pulse compression module 22 operative to receive post-A/D digitized in-phase and quadrature-phase (I/Q) signal data from front end module 14 .
  • pulse compression techniques may be implemented to achieve high range resolution without the need for high-powered antennas.
  • Pulse compression may be accomplished by various filtering and/or line delay arrangements. For example, pulse compression may be achieved by applying a Fast Fourier Transform (FFT) to a received time-domain signal, thereby converting the data to the frequency domain.
  • a weighting factor, or pulse compression weight (e.g. in the form of a vector-matrix) is applied in the frequency domain.
  • An inverse FFT (IFFT) is applied to return the data streams to the time-domain.
  • FFT Fast Fourier Transform
  • IFFT inverse FFT
  • the output of pulse compression module 22 comprises modulated data which may be subject to further processing, such as sampling the incoming data into range cells or bins, and generating one sample in each range bin for each pulse.
  • Range bin data is provided to Doppler filters 24 which generate a series of Doppler bins for each range cell.
  • Doppler filters 24 comprises a plurality of Doppler filters spanning the entire desired visible range, for example, from +/ ⁇ the speed of sound, and may also be designed to target specific Rdots to enable the use of SW2 detection probabilities.
  • Data from a particular Doppler bin corresponds to a signal from a target or background, at a given range, moving at a particular speed.
  • Doppler-filtered return data is provided to a detection processor 26 operative to, for example, perform a target detection process against a time-averaged background map 35 .
  • detection processes may include one of more of “greatest of” operations, as well as CFAR detection techniques.
  • the results of this detection processing may be provided to a display device 28 for end-user interfacing.
  • the powers of the complex digital output data at each range/Doppler cell from two or more bursts are summed by detection processor 26 prior to target detection, wherein each burst is at a different transmitter frequency to enhance Swerling II detection performance.
  • Detection processor 26 may be further configured to perform constant false alarm rate processing by comparing the combined powers of each range/Doppler cell to a background clutter map (e.g. clutter maps 35 ), yielding Swerling II detection statistics.
  • detection processor 26 may be configured to perform constant false alarm rate processing by comparing the powers of each range/Doppler cell to a background clutter map (e.g. clutter maps 35 ), yielding Swerling I detection statistics.
  • FIG. 4 a performance comparison of the systems of FIGS. 1 and 2 is shown.
  • the baseline approach of FIG. 1 includes the use of two fixed PRF waveforms (e.g. 1175 Hz and 1058 Hz, respectively), with ten (10) pulses in each burst. Using “one-of-two” processing, with twenty Doppler bins spanning the PRFs. The resulting probability of detection (Pd) vs. range is shown as trace 41 .
  • Pd probability of detection
  • FIG. 5 is a process flow diagram illustrating an exemplary signal processing method 50 according to the present disclosure.
  • embodiments of the present disclosure include generating and transmitting staggered low PRF waveforms in step 52 .
  • received reflected return signals are filtered through a Doppler filter bank comprising filters spanning an entire desired Doppler visibility range.
  • the outputs of each range/Doppler cell are summed across the CPIs in step 56 , and target detection processing is performed on the resulting combined outputs (step 58 ).
  • Detection processing may include a combination of “greatest of” and CFAR techniques.
  • the staggered PRF Doppler processing described herein supports improved Doppler filter visibility with wide clutter notches in LPRF waveforms and low false alarm rates due to low radar cross-section (RCS) wideband clutter.
  • the proposed processing eliminates detection on wideband clutter by filtering the clutter with a notch. Given the staggered PRFs, these notches do not repeat at PRF lines like they would for fixed PRF waveforms, yielding improved Doppler visibility.
  • Embodiments greatly reduce clutter stability requirements relative to medium PRF waveform approaches with HPRF and MPRF waveforms, wherein low RCS targets from long range can fold into shorter ranges where they must compete with high RCS short range clutter. Under these circumstances the clutter stability of the system must be high enough to offset both the RCS and range differences between the target and clutter.
  • each burst would have 6 pulses with 6 different CPI staggers across the burst.
  • Each individual Doppler filter in this case would have a resolution bandwidth of about 13 m/sec. There are 9 velocity blinds that need to be eliminated using the CPI to CPI stagger of the invention.
  • the Doppler filters for the invention would be positioned at specific Rdots, with the coefficients tuned to the RF frequencies, so that the Doppler bins can be summed from the two bursts.
  • the specific Rdots must be chosen to meet the required Doppler scalloping loss for the shortest duration CPI that is going to be included in the non-coherent integration.
  • the spacing would be one-half of the 13 m/sec resolution bandwidth, or 6.5 m/sec.
  • the Doppler filters are unique in the sense that they are designed to pass a given frequency while rejecting narrowband and wideband clutter.
  • the 103 Doppler filters per burst for the invention is to be compared with 12 Doppler filters per burst for the prior art approach.
  • processing systems described herein may include memory containing data, which may include instructions, the instructions when executed by a processor or multiple processors, cause the steps of a method for performing the operations set forth herein.
  • Software may be embodied in a non-transitory machine readable medium upon which software instructions may be stored, the stored instructions when executed by a processor cause the processor to perform the steps of the methods described herein.
  • Any suitable machine readable medium may be used, including but not limited to, magnetic or optical disks, for example CD-ROM, DVD-ROM, floppy disks and the like. Other media also fall within the intended scope of this disclosure, for example, dynamic random access memory (DRAM), random access memory (RAM), read-only memory (ROM) or flash memory may also be used.
  • DRAM dynamic random access memory
  • RAM random access memory
  • ROM read-only memory
  • flash memory may also be used.
  • inventive subject matter may be referred to herein, individually and/or collectively, by the term “invention” merely for convenience and without intending to voluntarily limit the scope of this application to any single invention or inventive concept if more than one is in fact disclosed.
  • inventive concept merely for convenience and without intending to voluntarily limit the scope of this application to any single invention or inventive concept if more than one is in fact disclosed.

Landscapes

  • Engineering & Computer Science (AREA)
  • Radar, Positioning & Navigation (AREA)
  • Remote Sensing (AREA)
  • Computer Networks & Wireless Communication (AREA)
  • Physics & Mathematics (AREA)
  • General Physics & Mathematics (AREA)
  • Radar Systems Or Details Thereof (AREA)

Abstract

A method of operating a pulse-Doppler radar system includes the steps of generating a plurality waveforms, with each waveform comprising a plurality of pulses generated with a staggered pulse repetition frequency (PRF) from pulse to pulse. Received reflected return signals from the generated plurality of waveforms are filtered by a plurality of Doppler filters that span an entire required Doppler visibility range.

Description

FIELD OF THE INVENTION
The present invention relates to signal processing systems and methods for use in radar applications, and more particularly, to signal processing systems and methods utilizing staggered pulse repetition frequency (PRF) waveforms in a pulse-Doppler radar system.
BACKGROUND
Radar systems are useful for detecting, characterizing and monitoring various kinematic parameters associated with natural and/or man-made objects and are critical to both civilian and military operations. These systems typically transmit “beams” or electromagnetic (EM) signals intended to engage one or more objects or targets, and process reflected return signals (or echoes) for object identification and characterization. A radar echo return usually contains both signals generated from a target, as well as background clutter. The clutter signal arises from reflections from stationary and slow-moving background objects (e.g. precipitation, terrain, etc.), and is usually stronger than the target signal. This clutter decreases radar performance by hindering the system's ability to detect targets and/or increases the probability of a false target detection.
Numerous methods exist which attempt to discriminate between unwanted clutter and target return signals. Many of these clutter cancellation methods rely on the principle that moving targets have a Doppler frequency shift, while stationary targets do not. Thus, pulse-Doppler radar systems may implement a plurality of Doppler frequency filters (e.g. FFT networks) used to divide the Doppler frequency space into many narrow regions, with each filter corresponding to one of these frequency bands. Knowing the frequency space normally associated with specific clutter types, these Doppler filters can be used to discriminate against clutter, as well as identify target Doppler frequency.
As radar sensitivity increases, previously undetectable wideband discrete clutter returns can cause high false alarm rates. In order to improve detectability, as well as improve the rejection of this clutter, fixed PRF, multi-pulse Doppler waveforms are typically used. As will be understood by one of ordinary skill in the art, due to the bandwidth of the clutter, fixed PRF Doppler waveforms with adequate Doppler visibility are often range ambiguous. Thus, in order to cover range and Doppler blinds inherent in this type of fixed PRF processing, as well as obtain detection that provides accurate range and angle information, transmitted beams must consist of multiple, unique high fixed PRF waveforms. Moreover, target hits must occur on more than one of these pulses in order to obtain accurate range data.
There are several additional problems with this waveform approach. First, the sensitivity of the system is impacted due to the coherent processing interval (CPI) being shortened to provide for multiple PRFs. The sensitivity is also impacted due to multiple hits being required to provide accurate range in the range ambiguous CPIs resulting from the high PRF. Further, due to small targets folding into short ranges and competing with large clutter, predetermined system clutter stability requirements are often difficult to achieve. Finally, processing ambiguous targets precludes the use of more sensitive Swerling (e.g. SW2/SW4) detection processing techniques.
Accordingly, improved methods of processing return signals in a pulse-Doppler radar system are desired.
SUMMARY
In one embodiment of the present disclosure, a pulse-Doppler radar system is provided. The system includes a transmitter configured to generate and transmit a waveform comprising a plurality of pulses generated with a staggered pulse repetition frequency from pulse to pulse. A receiver is configured to receive reflected radar return signals and convert the received signals into complex digital data. A plurality of Doppler filters spanning an entire desired (target) Doppler visibility range are provided for filtering the received digital data into complex digital output data. The system further includes at least one processor configured to perform target detection on objects of interest based on the outputs of the Doppler filters. This target detection may be based on the power of the complex digital output by summing the squares of the real and imaginary components of the complex digital output data at each range/Doppler call.
In another embodiment of the present disclosure, a method of operating a pulse-Doppler radar system is provided. The method includes the steps of generating a waveform comprising a plurality of pulses generated with a staggered pulse repetition frequency from pulse to pulse, and receiving reflected return signals from the generated waveform. The received return signals are Doppler filtered via a plurality of Doppler filters spanning an entire required Doppler visibility range to generate complex digital output data. Target detection may be performed based on the power of the complex digital output data by summing the squares of the real and imaginary components of the complex digital output data at each range/Doppler cell.
BRIEF DESCRIPTION OF THE DRAWINGS
FIG. 1 is a simplified process diagram illustrating the operation of a radar system according to the prior art.
FIG. 2 is a simplified process diagram illustrating the operation of a radar system according to an embodiment of the present disclosure.
FIG. 3 is a simplified schematic diagram of a radar system useful for describing embodiments of the present disclosure.
FIG. 4 is a graph illustrating the benefits of embodiments of the present disclosure.
FIG. 5 is a process flow diagram illustrating an exemplary radar processing method according to an embodiment of the present disclosure.
DETAILED DESCRIPTION
It is to be understood that the figures and descriptions of the present invention have been simplified to illustrate elements that are relevant for a clear understanding of the present invention, while eliminating, for purposes of clarity, many other elements found in radar systems, including pulse-Doppler radar systems. However, because such elements are well known in the art, and because they do not facilitate a better understanding of the present invention, a discussion of such elements is not provided herein. The disclosure herein is directed to all such variations and modifications known to those skilled in the art.
In the following detailed description, reference is made to the accompanying drawings that show, by way of illustration, specific embodiments in which the invention may be practiced. It is to be understood that the various embodiments of the invention, although different, are not necessarily mutually exclusive. Furthermore, a particular feature, structure, or characteristic described herein in connection with one embodiment may be implemented within other embodiments without departing from the scope of the invention. In addition, it is to be understood that the location or arrangement of individual elements within each disclosed embodiment may be modified without departing from the scope of the invention. The following detailed description is, therefore, not to be taken in a limiting sense, and the scope of the present invention is defined only by the appended claims, appropriately interpreted, along with the full range of equivalents to which the claims are entitled. In the drawings, like numerals refer to the same or similar functionality throughout several views.
Embodiments of the present disclosure include waveform design and processing approaches for avoiding the above-described drawbacks of the prior art. Specifically, embodiments include pulse-Doppler radar systems that utilize waveforms with a pulse-to-pulse, intra-CPI, PRF stagger for minimizing Doppler blinds. The waveforms are low PRF (LPRF), yielding unambiguous range data with only a single target hit. As will be understood by one of ordinary skill in the art, LPRF waveforms cover the entire instrumented range of the radar. For example, for a 200 kilometer (Km) instrumented range, a typical LPRF waveform may be 220 Km. The additional 20 Km in the pulse repetition interval (PRI) is used to minimize pulse eclipsing at the far end of the PRI. In distinction, a high PRF (HPRF) waveform covers the entire required Doppler of the target. For example, for an L-Band radar with a required Doppler visibility of +/−1000 meters/sec, the maximum PRI for a high PRF waveform may be approximately 18.5 Km. Higher RF frequencies and larger Doppler visibility requirements would shorten this PRI.
Doppler filters according to embodiments of the present disclosure are designed to cover the entire required Doppler visibility range for the application. Moreover, the Doppler filters may be designed at specific Rdots (object-to-target range rate, meters/second), allowing for true non-coherent Swerling integration across CPIs. More specifically, each of these multiple (e.g. one thousand) filters are designed to reject stationary and wideband clutter while passing a specific Rdot. Unique filters are designed at each Rdot for each unique set of staggers and each transmitter RF frequency. Applying these filters to a series of time domain radar return signals results in a Range/Rdot matrix of powers that can be summed element by element to yield true SW2 detection probabilities.
Prior implementations of staggered PRF waveforms utilized moving target indication (MTI) processing. This staggered PRF, MTI filtering covers the entire Doppler visibility requirement, but uses only a single Doppler filter in conjunction with three to five pulses per waveform. The shortcoming of staggered PRF, MTI processing with respect to embodiments of the present disclosure is that these processes do not maximize coherent gain across the band, and thus do not maximize detectability.
Moreover, the proposed approach has two advantages relative to the above-described fixed PRF waveforms with inter-CPI stagger methods. First, in the fixed PRF approach, Doppler filters can only be implemented between zero and the PRF. The PRF is typically a fraction of the required Doppler visibility of the system for a LPRF waveform. Also, the inter-CPI stagger causes targets to fold into the ambiguous range/Doppler space of each CPI in an unpredictable way. Advantageous SW2 processing requires the non-coherent addition of range/Doppler cell for CPIs with different RF frequencies. The unpredictable manner that targets fold in the fixed PRF approach precludes taking advantage of the SW2 detection probabilities.
The system and method of the present disclosure allows filters to be designed at specific Rdots across the entire Doppler uncertainty region. Even for different RF frequencies, the output of the proposed approach yields two range/Doppler matrices where each element of one matrix has a matching range/Doppler point in the other matrix. Taking the magnitude squared of each of these matrices and performing an element by element addition provides SW2 detection capability with its commensurate increase in sensitivity.
This arrangement also lowers the clutter stability requirement by orders of magnitude and simplifies the detection processing software. Clutter stability is a quantitative indication of the ability of a system to reject clutter. If a given range bin has a clutter to noise ratio (CNR) of 80 dB and a clutter stability of 50 dB, there will be a noise floor due to clutter that is 30 dB above the thermal noise floor in Doppler bins that are separated from clutter. The proposed approach utilizes staggered LPRF waveforms, wherein a target only competes against clutter from its own range. For LPRF waveforms, the ranges where the CNR is high correspond to ranges where the signal to noise ratio (SNR) is also likely to be high. The target can often be detected even with an elevated noise floor due to a lowered clutter stability requirement. In contrast, HPRF and MPRF waveforms have very high clutter stability requirements. This is because targets from long ranges fold into shorter ranges where they must be detected in range cells with high clutter. The range loss on the target for these PRFs is often orders of magnitude larger than the range loss on the clutter.
FIG. 1 is a high-level illustration of a coherent radar return signal processing method according to the prior art. A radar system is configured to output two signal bursts, each burst comprising a waveform including a plurality of signal pulses transmitted at a fixed PRF. Reflected return signals 2,4 from each transmitted signal burst are received by the radar system, filtered by a Doppler filter bank comprising Doppler filters which span from zero to the PRF, and are otherwise processed for clutter reduction according to known techniques in blocks 5,5′. In blocks 6,6′, for each received return signal, a “greatest of” operation may be performed across each of the filters of the Doppler filter bank in order to identify which particular Doppler filter comprises the greatest return above its respective clutter map (i.e. identify the filter comprising the greatest signal/clutter map ratio). Finally, a one-of-two process, which includes declaring a detection if a range/Doppler cell exceeds a detection threshold in either PRF, is performed in block 7.
FIG. 2 is a high-level illustration of a coherent radar return signal processing method according to an embodiment of the present disclosure. A radar system is configured to output two signal bursts, with each burst comprising a waveform including a plurality of signal pulses transmitted at a staggered PRF. Reflected return signals 1,3 from each transmitted signal burst are received by the radar system. In blocks 8,8′, received return signals 1,3 from each burst are Doppler filtered using a bank comprising filters which span an entire desired Doppler visibility range or predetermined target Rdot window (e.g. from +/− the speed of sound, or +/−Mach 1). When Doppler filters span the entire visibility using staggered LPRF waveforms, the result is a range/Doppler matrix of magnitudes that have no range or Doppler blinds (i.e. regions where a target cannot be detected). Moreover, this technique allows a Doppler notch to be designed at frequencies where wideband clutter exists without causing a significant adverse impact on Doppler visibility.
Doppler filter outputs from return signals 1,3 are provided to processing blocks 13,13′, wherein the sum of the squares of the real and imaginary components of the signal at each range/Doppler cell are calculated. The resulting outputs of blocks 13,13′ are combined or summed in processing block 16 prior to a threshold detection operation in block 17. Detection processing may include, for example, a constant false alarm rate (CFAR) target detection process. As will be understood by one of ordinary skill in the art, CFAR processing attempts to determine a threshold power above which any return can be considered to originate from a target. This threshold is set typically to achieve a desired probability of a false alarm, or false alarm rate.
Referring generally to FIG. 3, embodiments of the present disclosure will be further described herein as implemented into an exemplary pulse-Doppler radar system. As will be understood by one of ordinary skill in the art, a pulse-Doppler system 10 may comprise a front-end module 14, including a transmitter 11 responsive to a control processor 29 for generating and transmitting a series of defined waveforms from an antenna 12. As set forth above, these waveforms may take the form of EM signal bursts comprising a plurality of staggered low PRF pulses. Reflected return signals from each burst are subsequently captured by antenna 12 and provided to at least one receiver 15 for signal modulation. Receiver 15 may include various processing components, such as one or more filters, a low-noise amplifier and a down converter, as will be understood by one of ordinary skill in the art. At least one analog to digital converter (ADC) 18 is provided for converting received analog return signals to digital form.
System 10 may also include, by way of non-limiting example, a digital processing system 20, including a pulse compression module 22 operative to receive post-A/D digitized in-phase and quadrature-phase (I/Q) signal data from front end module 14. As will be understood by one of ordinary skill in the art, pulse compression techniques may be implemented to achieve high range resolution without the need for high-powered antennas. Pulse compression may be accomplished by various filtering and/or line delay arrangements. For example, pulse compression may be achieved by applying a Fast Fourier Transform (FFT) to a received time-domain signal, thereby converting the data to the frequency domain. A weighting factor, or pulse compression weight (e.g. in the form of a vector-matrix) is applied in the frequency domain. An inverse FFT (IFFT) is applied to return the data streams to the time-domain.
The output of pulse compression module 22 comprises modulated data which may be subject to further processing, such as sampling the incoming data into range cells or bins, and generating one sample in each range bin for each pulse. Range bin data is provided to Doppler filters 24 which generate a series of Doppler bins for each range cell. As described above, Doppler filters 24 comprises a plurality of Doppler filters spanning the entire desired visible range, for example, from +/− the speed of sound, and may also be designed to target specific Rdots to enable the use of SW2 detection probabilities. Data from a particular Doppler bin corresponds to a signal from a target or background, at a given range, moving at a particular speed. Once Doppler-filtered, return data is provided to a detection processor 26 operative to, for example, perform a target detection process against a time-averaged background map 35. These detection processes may include one of more of “greatest of” operations, as well as CFAR detection techniques. The results of this detection processing may be provided to a display device 28 for end-user interfacing.
In one embodiment, the powers of the complex digital output data at each range/Doppler cell from two or more bursts are summed by detection processor 26 prior to target detection, wherein each burst is at a different transmitter frequency to enhance Swerling II detection performance. Detection processor 26 may be further configured to perform constant false alarm rate processing by comparing the combined powers of each range/Doppler cell to a background clutter map (e.g. clutter maps 35), yielding Swerling II detection statistics. In another embodiment, detection processor 26 may be configured to perform constant false alarm rate processing by comparing the powers of each range/Doppler cell to a background clutter map (e.g. clutter maps 35), yielding Swerling I detection statistics.
Referring generally to FIG. 4, a performance comparison of the systems of FIGS. 1 and 2 is shown. The baseline approach of FIG. 1 includes the use of two fixed PRF waveforms (e.g. 1175 Hz and 1058 Hz, respectively), with ten (10) pulses in each burst. Using “one-of-two” processing, with twenty Doppler bins spanning the PRFs. The resulting probability of detection (Pd) vs. range is shown as trace 41.
Still referring to FIG. 4, trace 42 represents the performance of an embodiment of the present disclosure, as described above with respect to FIGS. 2 and 3. More specifically, using two staggered PRF waveforms, each range/Doppler bin is summed across the coherent pulse intervals. Using SW2, N=2 detection processing, at a Pd equal to 0.8, the staggered PRF waveform approach according to embodiments of the present disclosure yields a 7.1 dB improvement (i.e. 37.53 Km vs. 56.36 Km).
FIG. 5 is a process flow diagram illustrating an exemplary signal processing method 50 according to the present disclosure. As set forth above, embodiments of the present disclosure include generating and transmitting staggered low PRF waveforms in step 52. In step 54, received reflected return signals are filtered through a Doppler filter bank comprising filters spanning an entire desired Doppler visibility range. The outputs of each range/Doppler cell are summed across the CPIs in step 56, and target detection processing is performed on the resulting combined outputs (step 58). Detection processing may include a combination of “greatest of” and CFAR techniques.
The staggered PRF Doppler processing described herein supports improved Doppler filter visibility with wide clutter notches in LPRF waveforms and low false alarm rates due to low radar cross-section (RCS) wideband clutter. The proposed processing eliminates detection on wideband clutter by filtering the clutter with a notch. Given the staggered PRFs, these notches do not repeat at PRF lines like they would for fixed PRF waveforms, yielding improved Doppler visibility. Embodiments greatly reduce clutter stability requirements relative to medium PRF waveform approaches with HPRF and MPRF waveforms, wherein low RCS targets from long range can fold into shorter ranges where they must compete with high RCS short range clutter. Under these circumstances the clutter stability of the system must be high enough to offset both the RCS and range differences between the target and clutter.
As an example of the implementation of the invention, consider a two burst beam with a total beam time of 17.6 msec, covering a Doppler span of +/−Mach 1 (+/−333 m/sec). Each of the two bursts would be 8.8 msec in duration, and be at a different carrier frequency for Swerling RCS diversity. Each burst would have 6 pulses with 6 different CPI staggers across the burst. For the customary, prior art approach, each burst would have 6*2=12 Doppler filters covering the ambiguous space between 0 and 78.68 m/sec (the Doppler window) assuming a 2:1 oversampling of the Doppler space and an RF frequency of 1300 MHz. Each individual Doppler filter in this case would have a resolution bandwidth of about 13 m/sec. There are 9 velocity blinds that need to be eliminated using the CPI to CPI stagger of the invention. The Doppler filters for the invention would be positioned at specific Rdots, with the coefficients tuned to the RF frequencies, so that the Doppler bins can be summed from the two bursts. The specific Rdots must be chosen to meet the required Doppler scalloping loss for the shortest duration CPI that is going to be included in the non-coherent integration. If the minimum CPI were as specified above, and the Doppler scalloping loss required the filters to be over-packed by 2:1, the spacing would be one-half of the 13 m/sec resolution bandwidth, or 6.5 m/sec. The +/−Doppler spacing would result in 2*333/6.5=103 uniquely designed Doppler filters for the invention. The Doppler filters are unique in the sense that they are designed to pass a given frequency while rejecting narrowband and wideband clutter. The 103 Doppler filters per burst for the invention is to be compared with 12 Doppler filters per burst for the prior art approach.
The embodiments are provided by way of example only, and other embodiments for implementing the methods described herein may be contemplated by one of skill in the pertinent art without departing from the intended scope of this disclosure. For example, processing systems described herein may include memory containing data, which may include instructions, the instructions when executed by a processor or multiple processors, cause the steps of a method for performing the operations set forth herein. Software may be embodied in a non-transitory machine readable medium upon which software instructions may be stored, the stored instructions when executed by a processor cause the processor to perform the steps of the methods described herein. Any suitable machine readable medium may be used, including but not limited to, magnetic or optical disks, for example CD-ROM, DVD-ROM, floppy disks and the like. Other media also fall within the intended scope of this disclosure, for example, dynamic random access memory (DRAM), random access memory (RAM), read-only memory (ROM) or flash memory may also be used.
While the foregoing invention has been described with reference to the above-described embodiment, various additional modifications and changes can be made without departing from the spirit of the invention. Accordingly, all such modifications and changes are considered to be within the scope of the appended claims. Accordingly, the specification and the drawings are to be regarded in an illustrative rather than a restrictive sense. The accompanying drawings that form a part hereof, show by way of illustration, and not of limitation, specific embodiments in which the subject matter may be practiced. The embodiments illustrated are described in sufficient detail to enable those skilled in the art to practice the teachings disclosed herein. Other embodiments may be utilized and derived therefrom, such that structural and logical substitutions and changes may be made without departing from the scope of this disclosure. This Detailed Description, therefore, is not to be taken in a limiting sense, and the scope of various embodiments is defined only by the appended claims, along with the full range of equivalents to which such claims are entitled.
Such embodiments of the inventive subject matter may be referred to herein, individually and/or collectively, by the term “invention” merely for convenience and without intending to voluntarily limit the scope of this application to any single invention or inventive concept if more than one is in fact disclosed. Thus, although specific embodiments have been illustrated and described herein, it should be appreciated that any arrangement calculated to achieve the same purpose may be substituted for the specific embodiments shown. This disclosure is intended to cover any and all adaptations of variations of various embodiments. Combinations of the above embodiments, and other embodiments not specifically described herein, will be apparent to those of skill in the art upon reviewing the above description.

Claims (20)

What is claimed is:
1. A pulse-Doppler radar system, comprising:
a transmitter configured to generate and transmit a waveform comprising a plurality of pulses generated with a staggered pulse repetition frequency from pulse to pulse;
a receiver configured to receive reflected radar signals and convert the received radar signals to complex digital received data;
a plurality of Doppler filters spanning an entire required Doppler visibility range and configured to filter the complex digital received data into complex digital output data; and
a processor configured to perform target detection of objects of interest based on the power of the complex digital output data by summing the squares of the real and imaginary components of the complex digital output data at each range/Doppler cell,
wherein the plurality of Doppler filters span at least a range defined between:
a predetermined object to range rate (Rdot) of the system, and
(−1)×(the predetermined Rdot).
2. The system of claim 1, wherein the powers of the complex digital output data at each range/Doppler cell from two or more bursts are summed prior to target detection, wherein each burst is at a different transmitter frequency to enhance Swerling II detection performance.
3. The system of claim 2, wherein the processor is further configured to perform constant false alarm rate processing by comparing the combined powers of each range/Doppler cell to a background clutter map, yielding Swerling II detection statistics.
4. The system of claim 1, wherein the processor is further configured to perform constant false alarm rate processing by comparing the powers of each range/Doppler cell to a background clutter map, yielding Swerling I detection statistics.
5. A pulse-Doppler radar system, comprising:
a transmitter configured to generate and transmit a waveform comprising a plurality of pulses generated with a staggered pulse repetition frequency from pulse to pulse;
a receiver configured to receive reflected radar signals and convert the received radar signals to complex digital received data;
a plurality of Doppler filters spanning an entire required Doppler visibility range and configured to filter the complex digital received data into complex digital output data; and
a processor configured to perform target detection of objects of interest based on the power of the complex digital output data by summing the squares of the real and imaginary components of the complex digital output data at each range/Doppler cell,
wherein the plurality of Doppler filters are each configured at a specific object to range rate (Rdot) across the entire required Doppler range to reject stationary and wideband clutter while passing the specific Rdot.
6. The system of claim 5, wherein the plurality of Doppler filter are further configured to reject stationary and wideband clutter while passing the specific Rdot for each unique set of pulse repetition frequency staggers and each transmitter frequency.
7. The system of claim 5, wherein the plurality of Doppler filters span at least a range defined between:
a predetermined Rdot of the system, and
(−1)×(the predetermined Rdot).
8. The system of claim 5, wherein the powers of the complex digital output data at each range/Doppler cell from two or more bursts are summed prior to target detection, wherein each burst is at a different transmitter frequency to enhance Swerling II detection performance.
9. The system of claim 8, wherein the processor is further configured to perform constant false alarm rate processing by comparing the combined powers of each range/Doppler cell to a background clutter map, yielding Swerling II detection statistics.
10. The system of claim 5, wherein the processor is further configured to perform constant false alarm rate processing by comparing the powers of each range/Doppler cell to a background clutter map, yielding Swerling I detection statistics.
11. A method of operating a pulse-Doppler radar system, the method comprising the steps of:
generating a waveform comprising a plurality of pulses generated with a staggered pulse repetition frequency (PRF) from pulse to pulse;
receiving reflected return signals from the generated waveform;
Doppler filtering the received return signals by a plurality of Doppler filters spanning an entire required Doppler visibility range to generate complex digital output data; and
performing target detection of objects of interest based on the power of the complex digital output data by summing the squares of the real and imaginary components of the complex digital output data at each range/Doppler cell,
wherein the plurality of Doppler filters span at least a range defined between:
a predetermined object to range rate (Rdot) of the system, and
(−1)×(the predetermined Rdot).
12. The method of claim 11, further comprising the step of summing the powers of the complex digital output data at each range/Doppler cell from two or more bursts prior to target detection, wherein each burst is at a different transmitter frequency to enhance Swerling II detection performance.
13. The method of claim 12, wherein the step of performing target detection of objects of interest comprises performing constant false alarm rate processing by comparing the combined powers of each range/Doppler cell to a background clutter map, yielding Swerling II detection statistics.
14. The method of claim 11, wherein the step of performing target detection of objects of interest comprises performing constant false alarm rate processing by comparing the powers of each range/Doppler cell to a background clutter map, yielding Swerling I detection statistics.
15. A method of operating a pulse-Doppler radar system, the method comprising the steps of:
generating a waveform comprising a plurality of pulses generated with a staggered pulse repetition frequency (PRF) from pulse to pulse;
receiving reflected return signals from the generated waveform;
Doppler filtering the received return signals by a plurality of Doppler filters spanning an entire required Doppler visibility range to generate complex digital output data; and
performing target detection of objects of interest based on the power of the complex digital output data by summing the squares of the real and imaginary components of the complex digital output data at each range/Doppler cell,
wherein the step of Doppler filtering the received return signals comprises filtering using Doppler filters each configured at specific object to range rates (Rdots) across the entire required Doppler range.
16. The method of claim 15, wherein the plurality of Doppler filter are further configured to reject stationary and wideband clutter while passing the specific Rdot for each unique set of pulse repetition frequency staggers and each transmitter frequency.
17. The method of claim 15, wherein the plurality of Doppler filters span at least a range defined between:
a predetermined Rdot of the system, and
(−1)×(the predetermined Rdot).
18. The method of claim 15, further comprising the step of summing the powers of the complex digital output data at each range/Doppler cell from two or more bursts prior to target detection, wherein each burst is at a different transmitter frequency to enhance Swerling II detection performance.
19. The method of claim 18, wherein the step of performing target detection of objects of interest comprises performing constant false alarm rate processing by comparing the combined powers of each range/Doppler cell to a background clutter map, yielding Swerling II detection statistics.
20. The method of claim 15, wherein the step of performing target detection of objects of interest comprises performing constant false alarm rate processing by comparing the powers of each range/Doppler cell to a background clutter map, yielding Swerling I detection statistics.
US14/161,878 2014-01-23 2014-01-23 Staggered pulse repetition frequency doppler processing Active 2034-08-12 US9482744B1 (en)

Priority Applications (1)

Application Number Priority Date Filing Date Title
US14/161,878 US9482744B1 (en) 2014-01-23 2014-01-23 Staggered pulse repetition frequency doppler processing

Applications Claiming Priority (1)

Application Number Priority Date Filing Date Title
US14/161,878 US9482744B1 (en) 2014-01-23 2014-01-23 Staggered pulse repetition frequency doppler processing

Publications (1)

Publication Number Publication Date
US9482744B1 true US9482744B1 (en) 2016-11-01

Family

ID=57189370

Family Applications (1)

Application Number Title Priority Date Filing Date
US14/161,878 Active 2034-08-12 US9482744B1 (en) 2014-01-23 2014-01-23 Staggered pulse repetition frequency doppler processing

Country Status (1)

Country Link
US (1) US9482744B1 (en)

Cited By (8)

* Cited by examiner, † Cited by third party
Publication number Priority date Publication date Assignee Title
CN106772295A (en) * 2017-01-04 2017-05-31 电子科技大学 A kind of distance and Doppler's matching process for the measurement of moving-target radar cross section
US9971027B1 (en) * 2017-11-10 2018-05-15 Helios Remote Sensing Systems, Inc. Methods and systems for suppressing clutter in radar systems
CN108919195A (en) * 2018-07-12 2018-11-30 中国船舶重工集团公司第七二四研究所 A kind of alternative optimization search irregular middle repetition PD design method of arteries and veins group
WO2019101466A1 (en) * 2017-11-27 2019-05-31 Zf Friedrichshafen Ag Evaluation method for radar measurement data of a mobile radar measurement system
US10365359B2 (en) * 2016-05-06 2019-07-30 Raytheon Company Ambiguous radar range resolution using range lookup table
CN111630404A (en) * 2017-11-29 2020-09-04 阿尔贝机器人有限公司 Detection, Mitigation and Avoidance of Mutual Interference Between Automotive Radars
CN113030871A (en) * 2021-03-18 2021-06-25 中国电子科技集团公司第三十八研究所 High-low frequency echo alternate processing method suitable for Mars subsurface detection radar
CN118914981A (en) * 2024-10-10 2024-11-08 江南机电设计研究所 Distributed multi-node combined range Doppler shielding resistant waveform design method

Citations (24)

* Cited by examiner, † Cited by third party
Publication number Priority date Publication date Assignee Title
US3631490A (en) * 1969-03-17 1971-12-28 Sperry Rand Corp Signal processor for reducing clutter and eliminating range ambiguities in target detection systems
US3721978A (en) * 1968-11-19 1973-03-20 Motorola Inc Adaptive radar clutter rejection
US3745571A (en) * 1972-02-18 1973-07-10 Us Navy Coherent digital multifunction processor
US3789396A (en) * 1972-03-06 1974-01-29 Westinghouse Electric Corp Radar apparatus
US3934253A (en) * 1960-02-11 1976-01-20 Siemens & Halske Aktiengesellschaft Doppler frequency radar system with very short pulse modulated high frequency carrier waves
US4035799A (en) * 1975-11-04 1977-07-12 The United States Of America As Represented By The Secretary Of The Navy Digital mean clutter doppler compensation system
US4042925A (en) * 1975-11-24 1977-08-16 International Telephone And Telegraph Corporation Pseudo-random code (PRC) surveilance radar
US4219812A (en) * 1978-12-26 1980-08-26 The United States Of America As Represented By The Secretary Of The Army Range-gated pulse doppler radar system
US4463356A (en) * 1981-08-17 1984-07-31 Sperry Corporation Apparatus for control of clutter breakthrough in MTI radar
US4499467A (en) * 1982-04-14 1985-02-12 The United States Of America As Represented By The Secretary Of The Army Doppler radar sets with target direction sensing capability
US4626855A (en) 1980-09-27 1986-12-02 The Marconi Company Limited Radar, sonar and similar systems
US4809002A (en) 1984-02-14 1989-02-28 Nec Corporation Moving target indicator
US4931800A (en) 1989-05-12 1990-06-05 Raytheon Company Stagger compensated moving target detector
US4975706A (en) 1989-11-06 1990-12-04 Raytheon Company Radar system
US5247303A (en) 1992-07-20 1993-09-21 University Corporation For Atmospheric Research Data quality and ambiguity resolution in a doppler radar system
US5539412A (en) * 1994-04-29 1996-07-23 Litton Systems, Inc. Radar system with adaptive clutter suppression
WO1997042520A1 (en) 1996-05-08 1997-11-13 Andrews Grealie A Jr Radar/sonar system concept for extended range-doppler coverage
EP0851238A2 (en) 1996-12-10 1998-07-01 Gec-Marconi Limited Doppler radar
US6229475B1 (en) * 1987-04-27 2001-05-08 Raytheon Company Pulse doppler radar system with improved cluster target resolution capability
US20030117314A1 (en) 2001-08-16 2003-06-26 Lockheed Martin Corporation Pri-staggered post-doppler adaptive monopulse processing for detection and location of a moving target in ground clutter
US6819285B1 (en) * 2004-02-03 2004-11-16 Lockheed Martin Corporation Monopulse radar system for determining the height of a target
US7741992B2 (en) 2006-11-02 2010-06-22 Raytheon Canada Limited Moving target detector for radar systems
US7952515B2 (en) 2009-02-26 2011-05-31 Mcewan Technologies, Llc Range gated holographic radar
US8305256B1 (en) 2010-02-09 2012-11-06 Lockheed Martin Corporation Radar with PRF alteration on receive

Patent Citations (25)

* Cited by examiner, † Cited by third party
Publication number Priority date Publication date Assignee Title
US3934253A (en) * 1960-02-11 1976-01-20 Siemens & Halske Aktiengesellschaft Doppler frequency radar system with very short pulse modulated high frequency carrier waves
US3721978A (en) * 1968-11-19 1973-03-20 Motorola Inc Adaptive radar clutter rejection
US3631490A (en) * 1969-03-17 1971-12-28 Sperry Rand Corp Signal processor for reducing clutter and eliminating range ambiguities in target detection systems
US3745571A (en) * 1972-02-18 1973-07-10 Us Navy Coherent digital multifunction processor
US3789396A (en) * 1972-03-06 1974-01-29 Westinghouse Electric Corp Radar apparatus
US4035799A (en) * 1975-11-04 1977-07-12 The United States Of America As Represented By The Secretary Of The Navy Digital mean clutter doppler compensation system
US4042925A (en) * 1975-11-24 1977-08-16 International Telephone And Telegraph Corporation Pseudo-random code (PRC) surveilance radar
US4219812A (en) * 1978-12-26 1980-08-26 The United States Of America As Represented By The Secretary Of The Army Range-gated pulse doppler radar system
US4626855A (en) 1980-09-27 1986-12-02 The Marconi Company Limited Radar, sonar and similar systems
US4463356A (en) * 1981-08-17 1984-07-31 Sperry Corporation Apparatus for control of clutter breakthrough in MTI radar
US4499467A (en) * 1982-04-14 1985-02-12 The United States Of America As Represented By The Secretary Of The Army Doppler radar sets with target direction sensing capability
US4809002A (en) 1984-02-14 1989-02-28 Nec Corporation Moving target indicator
US6229475B1 (en) * 1987-04-27 2001-05-08 Raytheon Company Pulse doppler radar system with improved cluster target resolution capability
US4931800A (en) 1989-05-12 1990-06-05 Raytheon Company Stagger compensated moving target detector
EP0397527B1 (en) 1989-05-12 1997-11-26 Raytheon Company Stagger compensated moving target detector
US4975706A (en) 1989-11-06 1990-12-04 Raytheon Company Radar system
US5247303A (en) 1992-07-20 1993-09-21 University Corporation For Atmospheric Research Data quality and ambiguity resolution in a doppler radar system
US5539412A (en) * 1994-04-29 1996-07-23 Litton Systems, Inc. Radar system with adaptive clutter suppression
WO1997042520A1 (en) 1996-05-08 1997-11-13 Andrews Grealie A Jr Radar/sonar system concept for extended range-doppler coverage
EP0851238A2 (en) 1996-12-10 1998-07-01 Gec-Marconi Limited Doppler radar
US20030117314A1 (en) 2001-08-16 2003-06-26 Lockheed Martin Corporation Pri-staggered post-doppler adaptive monopulse processing for detection and location of a moving target in ground clutter
US6819285B1 (en) * 2004-02-03 2004-11-16 Lockheed Martin Corporation Monopulse radar system for determining the height of a target
US7741992B2 (en) 2006-11-02 2010-06-22 Raytheon Canada Limited Moving target detector for radar systems
US7952515B2 (en) 2009-02-26 2011-05-31 Mcewan Technologies, Llc Range gated holographic radar
US8305256B1 (en) 2010-02-09 2012-11-06 Lockheed Martin Corporation Radar with PRF alteration on receive

Non-Patent Citations (1)

* Cited by examiner, † Cited by third party
Title
Merrill I. Skolnik, "Introduction to Radar Systems," second edition; McGraw-Hill Book Company; New York, New York, USA; 1980; pp. 114-120. *

Cited By (12)

* Cited by examiner, † Cited by third party
Publication number Priority date Publication date Assignee Title
US10365359B2 (en) * 2016-05-06 2019-07-30 Raytheon Company Ambiguous radar range resolution using range lookup table
CN106772295A (en) * 2017-01-04 2017-05-31 电子科技大学 A kind of distance and Doppler's matching process for the measurement of moving-target radar cross section
CN106772295B (en) * 2017-01-04 2019-07-12 电子科技大学 A kind of distance and Doppler's matching process for the measurement of moving-target radar cross section
US9971027B1 (en) * 2017-11-10 2018-05-15 Helios Remote Sensing Systems, Inc. Methods and systems for suppressing clutter in radar systems
WO2019101466A1 (en) * 2017-11-27 2019-05-31 Zf Friedrichshafen Ag Evaluation method for radar measurement data of a mobile radar measurement system
CN111630404A (en) * 2017-11-29 2020-09-04 阿尔贝机器人有限公司 Detection, Mitigation and Avoidance of Mutual Interference Between Automotive Radars
CN111630404B (en) * 2017-11-29 2023-10-20 阿尔贝机器人有限公司 Detection, mitigation and avoidance of mutual interference between automotive radars
CN108919195A (en) * 2018-07-12 2018-11-30 中国船舶重工集团公司第七二四研究所 A kind of alternative optimization search irregular middle repetition PD design method of arteries and veins group
CN108919195B (en) * 2018-07-12 2021-03-09 中国船舶重工集团公司第七二四研究所 Design method for alternately and optimally searching for repetition frequency PD system in pulse group spread
CN113030871A (en) * 2021-03-18 2021-06-25 中国电子科技集团公司第三十八研究所 High-low frequency echo alternate processing method suitable for Mars subsurface detection radar
CN113030871B (en) * 2021-03-18 2023-05-16 中国电子科技集团公司第三十八研究所 High-low frequency echo alternating processing method suitable for Mars subsurface detection radar
CN118914981A (en) * 2024-10-10 2024-11-08 江南机电设计研究所 Distributed multi-node combined range Doppler shielding resistant waveform design method

Similar Documents

Publication Publication Date Title
US9482744B1 (en) Staggered pulse repetition frequency doppler processing
US8970426B1 (en) Automatic matched Doppler filter selection
US11592520B2 (en) FMCW radar with interfering signal suppression in the time domain
US6809682B1 (en) Method and device for the detection and track of targets in high clutter
US7403153B2 (en) System and method for reducing a radar interference signal
US7683827B2 (en) System and method for reducing the effect of a radar interference signal
CN101470202B (en) Pulse Doppler radar system and its signal processing method
CN103210319B (en) Radar system
CN105044712B (en) A kind of microwave Fence radar device and object detection method
US9140783B2 (en) Radar device
US10054668B2 (en) Probabilistic signal, detection, and track processing architecture and system
Fischer et al. Robust detection and mitigation of mutual interference in automotive radar
CA2921184A1 (en) Using orthogonal space projections to generate a constant false alarm rate control parameter
NO342921B1 (en) radar device
WO2014094106A1 (en) Methods and apparatus for a radar having windfarm mitigation
US9903944B2 (en) Target detection system and method
RU2704789C1 (en) Method for adaptive signal processing in survey coherent-pulse radar stations
JP2019105601A (en) Rader system and radar signal processing method for the same
Ilioudis et al. GNSS based passive radar for UAV monitoring
US9857453B1 (en) High-frequency indicator phase system and method
Liu et al. A novel range-spread target detection approach for frequency stepped chirp radar
Ahmed Tangential targets detection in LFMCW radars
Wang et al. Modernization of en route air surveillance radar
CN112986920A (en) Multi-broadband radar system capable of rapidly distinguishing target number
RU2834733C1 (en) Method of forming fixed spectral zone free from interference from underlying surface in on-board pulse doppler radars

Legal Events

Date Code Title Description
AS Assignment

Owner name: LOCKHEED MARTIN CORPORATION, MARYLAND

Free format text: ASSIGNMENT OF ASSIGNORS INTEREST;ASSIGNORS:NEARY, BRIAN P.;STOCKMANN, PETER H.;SIGNING DATES FROM 20140116 TO 20140120;REEL/FRAME:032026/0668

STCF Information on status: patent grant

Free format text: PATENTED CASE

MAFP Maintenance fee payment

Free format text: PAYMENT OF MAINTENANCE FEE, 4TH YEAR, LARGE ENTITY (ORIGINAL EVENT CODE: M1551); ENTITY STATUS OF PATENT OWNER: LARGE ENTITY

Year of fee payment: 4

MAFP Maintenance fee payment

Free format text: PAYMENT OF MAINTENANCE FEE, 8TH YEAR, LARGE ENTITY (ORIGINAL EVENT CODE: M1552); ENTITY STATUS OF PATENT OWNER: LARGE ENTITY

Year of fee payment: 8