US9270325B2 - Iterative interference suppression using mixed feedback weights and stabilizing step sizes - Google Patents

Iterative interference suppression using mixed feedback weights and stabilizing step sizes Download PDF

Info

Publication number
US9270325B2
US9270325B2 US13/913,225 US201313913225A US9270325B2 US 9270325 B2 US9270325 B2 US 9270325B2 US 201313913225 A US201313913225 A US 201313913225A US 9270325 B2 US9270325 B2 US 9270325B2
Authority
US
United States
Prior art keywords
signal
signals
produce
receiver
interference
Prior art date
Legal status (The legal status is an assumption and is not a legal conclusion. Google has not performed a legal analysis and makes no representation as to the accuracy of the status listed.)
Active
Application number
US13/913,225
Other versions
US20130343498A1 (en
Inventor
Tommy Guess
Michael L McCloud
Vijay Nagarajan
Gagandeep Singh Lamba
Current Assignee (The listed assignees may be inaccurate. Google has not performed a legal analysis and makes no representation or warranty as to the accuracy of the list.)
III Holdings 1 LLC
Original Assignee
III Holdings 1 LLC
Priority date (The priority date is an assumption and is not a legal conclusion. Google has not performed a legal analysis and makes no representation as to the accuracy of the date listed.)
Filing date
Publication date
Priority claimed from US11/100,935 external-priority patent/US20050180364A1/en
Priority claimed from US11/233,636 external-priority patent/US8761321B2/en
Priority claimed from US11/266,928 external-priority patent/US7876810B2/en
Application filed by III Holdings 1 LLC filed Critical III Holdings 1 LLC
Priority to US13/913,225 priority Critical patent/US9270325B2/en
Publication of US20130343498A1 publication Critical patent/US20130343498A1/en
Assigned to III HOLDINGS 1, LLC reassignment III HOLDINGS 1, LLC ASSIGNMENT OF ASSIGNORS INTEREST (SEE DOCUMENT FOR DETAILS). Assignors: RAMBUS INC.
Application granted granted Critical
Publication of US9270325B2 publication Critical patent/US9270325B2/en
Active legal-status Critical Current
Anticipated expiration legal-status Critical

Links

Images

Classifications

    • HELECTRICITY
    • H04ELECTRIC COMMUNICATION TECHNIQUE
    • H04BTRANSMISSION
    • H04B1/00Details of transmission systems, not covered by a single one of groups H04B3/00 - H04B13/00; Details of transmission systems not characterised by the medium used for transmission
    • H04B1/69Spread spectrum techniques
    • H04B1/707Spread spectrum techniques using direct sequence modulation
    • H04B1/7097Interference-related aspects
    • HELECTRICITY
    • H04ELECTRIC COMMUNICATION TECHNIQUE
    • H04BTRANSMISSION
    • H04B1/00Details of transmission systems, not covered by a single one of groups H04B3/00 - H04B13/00; Details of transmission systems not characterised by the medium used for transmission
    • H04B1/69Spread spectrum techniques
    • H04B1/707Spread spectrum techniques using direct sequence modulation
    • H04B1/7097Interference-related aspects
    • H04B1/7103Interference-related aspects the interference being multiple access interference
    • H04B1/7107Subtractive interference cancellation
    • H04B1/71075Parallel interference cancellation
    • HELECTRICITY
    • H04ELECTRIC COMMUNICATION TECHNIQUE
    • H04BTRANSMISSION
    • H04B1/00Details of transmission systems, not covered by a single one of groups H04B3/00 - H04B13/00; Details of transmission systems not characterised by the medium used for transmission
    • H04B1/69Spread spectrum techniques
    • H04B1/707Spread spectrum techniques using direct sequence modulation
    • H04B1/7097Interference-related aspects
    • H04B1/711Interference-related aspects the interference being multi-path interference
    • H04B1/7115Constructive combining of multi-path signals, i.e. RAKE receivers
    • H04B1/712Weighting of fingers for combining, e.g. amplitude control or phase rotation using an inner loop
    • HELECTRICITY
    • H04ELECTRIC COMMUNICATION TECHNIQUE
    • H04BTRANSMISSION
    • H04B2201/00Indexing scheme relating to details of transmission systems not covered by a single group of H04B3/00 - H04B13/00
    • H04B2201/69Orthogonal indexing scheme relating to spread spectrum techniques in general
    • H04B2201/707Orthogonal indexing scheme relating to spread spectrum techniques in general relating to direct sequence modulation
    • H04B2201/70702Intercell-related aspects

Definitions

  • Patent Application Publication Number 2005-0180364 A1 which incorporates by reference and is a Continuation-in-Part of (a) U.S. patent application Ser. No. 11/773,777, entitled “Systems and Methods for Parallel Signal Cancellation,” and filed on Feb. 6, 2004, now U.S. Pat. No. 7,394,879; (b) U.S. patent application Ser. No. 10/686,359, entitled “Systems and Methods for Adjusting Phase,” and filed Oct. 15, 2003, now U.S. Pat. No. 7,068,706; (c) U.S. patent application Ser. No. 10/686,829, entitled “Method and Apparatus for Channel Amplitude Estimation and Interference Vector Construction,” and filed on Oct.
  • a communication resource is divided into code-space subchannels that are allocated to different users.
  • a plurality of sub channel signals received by a wireless terminal may correspond to different users and/or different sub channels allocated to a particular user.
  • a single transmitter broadcasts different messages to different receivers, such as a base station in a wireless communication system broadcasting to a plurality of mobile terminals
  • the channel resource is subdivided in order to distinguish between messages intended for each mobile.
  • each mobile terminal by knowing its allocated subchannel(s), may decode messages intended for it from the superposition of received signals.
  • a base station typically separates received signals into subchannels in order to differentiate between users.
  • received signals are superpositions of time-delayed and complex-scaled versions of the transmitted signals. Multipath can cause several types of interference. Intra-channel interference occurs when the multipath time-delays cause subchannels to leak into other subchannels.
  • subchannels that are orthogonal at the transmitter may not be orthogonal at the receiver.
  • inter-channel interference caused by unwanted signals received from other base stations.
  • Each of these types of interference can degrade communications by causing a receiver to incorrectly decode received transmissions, thus increasing a receiver's error floor.
  • Interference may also have other deleterious effects on communications. For example, interference may lower capacity in a communication system, decrease the region of coverage, and/or decrease maximum data rates. For these reasons, a reduction in interference can improve reception of selected signals while addressing the aforementioned limitations due to interference.
  • the wireless transmission medium is characterized by a time-varying multipath profile that causes multiple time-delayed replicas of the transmitted waveform to be received, each replica having a distinct amplitude and phase due to path loss, absorption, and other propagation effects.
  • the received code set is no longer orthogonal.
  • the code space suffers from intra-channel interference within a base station as well as inter-channel interference arising from transmissions in adjacent cells.
  • the Rake receiver uses a channel-tracking algorithm to resolve the received signal energy onto various multipath delays. These delayed signals are then weighted by the associated complex channel gains (which may be normalized by path noise powers) and summed to form a single resolved signal, which exploits some of the path diversity available from the multipath channel. It is well known that the Rake receiver suffers from a significant interference floor, which is due to both self-interference from the base station of interest (or base stations, when the mobile is in a soft-handoff base station diversity mode) and multiple-access interference from all base stations in the coverage area. This interference limits the maximum data rates achievable by the mobiles within a cell and the number of mobiles that can be supported in the cell.
  • the optimal multi-user detector has the best performance, but is generally too computationally complex to implement. MUD complexity increases exponentially with respect to the total number of active sub channels across the cell of interest and the interfering cells as well as the constellation size(s) of the subchannels. This complexity is so prohibitive that even efficient implementations based on the Viterbi algorithm cannot make it manageable in current hardware structures.
  • Another approach is a properly designed linear receiver, which in many channel scenarios, is able to retain much of the optimal MUD performance, but with a complexity that is polynomial in the number of subchannels.
  • LMMSE linear minimum mean squared error
  • decorrelating or zero-forcing
  • PNA-LMMSE PN-averaged LMMSE
  • This receiver is generally inferior to the LMMSE approach, it has the advantage of not having to be implemented directly, because it is amenable to adaptive (or partially adaptive) implementations.
  • the advantages of an adaptive implementation over a direct implementation include reduced complexity and the fact that the additive noise power (i.e., background RF radiation specific to the link environment, noise in the receiver's RF front end, and any processing noise such as noise due to quantization and imperfect filtering) does not have to be estimated.
  • PIC parallel interference cancellation
  • the interference-cancelled subchannels are then fed to a subsequent PIC stage. Ideally, within just a few stages (i.e., before the complexity grows too large), the performance rivals that of the full linear receiver using a matrix inverse.
  • PIC can be implemented in various modes depending on what types of symbol estimates are used for interference cancellation.
  • a soft-cancellation mode PIC does not exploit additional information inherent in the finite size of user constellations. That is, estimates of data symbols are not quantized to a constellation point when constructing interference signals.
  • the user constellations maybe known (e.g., in an EV-DO link or in a WCDMA link without HSDPA users) or determined through a modulation classifier. In such cases, it is possible for PIC to be implemented in a hard-cancellation mode. That is, estimates of data symbols are quantized to constellation points (i.e., hard decisions) when constructing the interference signal.
  • PIC In a mixed-cancellation mode, PIC employs a soft decision on each symbol whose constellation is unknown, and either a soft or hard decision on each symbol whose constellation is known, depending on how close the soft estimate is to the hard decision.
  • Such a mixed-decision PIC typically outperforms both the soft-decision PIC and the hard-decision PIC. Moreover, it can also substantially outperform the optimal LMMSE receiver and promises even greater performance gains over PNA-LMMSE approaches currently under development for advanced receivers. The performance of soft-decision PIC is bounded by the optimal LMMSE.
  • embodiments of the present invention may provide a generalized interference-canceling receiver for canceling intra-channel and inter-channel interference in coded, multiple-access, spread-spectrum transmissions that propagate through frequency-selective communication channels.
  • Receiver embodiments may employ a designed and/or adapted soft-weighting subtractive cancellation with a stabilizing step-size and a mixed-decision symbol estimator.
  • Receiver embodiments may be designed, adapted, and implemented explicitly in software or programmed hardware, or implicitly in standard Rake-based hardware, either within the Rake (i.e., at the finger level) or outside the Rake (i.e., at the sub channel symbol level).
  • Embodiments of the invention may be employed in user equipment on the forward link and/or in a base station on the reverse link.
  • Some embodiments of the invention address the complexity of the LMMSE approach by using a low-complexity iterative algorithm. Some embodiments of the invention in soft-mode may be configured to achieve LMMSE performance (as contrasted to the lesser-performing PNA-LMMSE) using only quantities that are easily measured at the receiver. Some embodiments address the sub-optimality of the LMMSE and PNA-LMMSE approaches by using an appropriately designed mixed-decision mode and may even approach the performance of an optimal multi-user detector. In some embodiments, stabilizing step sizes may be used to enhance stability of various PIC approaches. Some embodiments may employ symbol-estimate weighting to control convergence of various PIC approaches.
  • Some embodiments of the invention address the limitation of various PIC approaches to binary and quaternary phase shift keying in mixed-decision mode by being configurable to any sub channel constellation. Some embodiments of the invention address the difficulty of efficiently implementing various PIC approaches in hardware by using a modified Rake architecture. Some embodiments of the invention address the so-called “ping-pong effect” (i.e., when the symbol error rate oscillates with iteration) in various PIC approaches by pre-processing with a de-biasing operation when making symbol estimates.
  • the weight-calculation means may include, by way of example, but without limitation, any combination of hardware and software configured to calculate symbol weights from a function employing a merit of at least one input symbol decision.
  • the merit may comprise an average ratio of signal power to interference-plus-noise power (or a function thereof).
  • the merit may be a function of input symbol decisions and proximity of those input symbol decisions to a nearby constellation point.
  • the weight-calculation means may employ time-series averaging for calculating the proximity as a statistical average.
  • the weight-calculation means may include a signal processing means configured to perform statistical signal processing for estimating the average ratio of signal power to interference-plus-noise power. Such statistical signal processing may employ error-vector magnitude calculations.
  • the synthesizing means is configured for employing a signal basis for all symbol sources in the channel to synthesize constituent signals from the plurality of weighted symbol estimates.
  • the synthesizing means may combine the constituent signals for producing a combined signal.
  • the combined signal may be considered as approximating a received signal that would result from signals transmitted by at least one hypothetical transmitter configured to transmit signals synthesized from the plurality of weighted symbol estimates.
  • the synthesizing means may include, by way of example, but without limitation, a signal processor or a set of elements of a transmitter configured to process symbol estimates for producing at least one modulated digital baseband signal, such as a signal that may be produced by a transmitter prior to up-conversion, amplification, and coupling into a communication channel.
  • the synthesizing means comprises a Walsh coder (such as a fast Walsh transform) and a pseudo-noise (PN) coder.
  • the subtraction means is configured to subtract the combined signal from the received signal to produce an error signal.
  • the subtraction means may include, by way of example, but without limitation, an adder, a combiner, or any other device or method configured for subtracting a first set of signals from a second set of signals.
  • the stabilizing step size means is configured for scaling the error signal by a stabilizing step size to produce a scaled error signal.
  • the stabilizing step size means may include, by way of example, but without limitation, any combination of hardware and software configured to scale an error signal with a scaling factor that may be used for controlling convergence in an iterative canceller.
  • the stabilizing step-size means may comprise a step size calculation means and a multiplier means for scaling an error signal with the step size.
  • the step size calculation means is configured for calculating a stabilizing step size having a magnitude that is a function of proximity of the input symbol decisions to a desired interference-cancelled symbol decision.
  • the multiplier means is configured for scaling (e.g., multiplying) an error signal with the stabilizing step size.
  • the step size calculation means may include, by way of example, but without limitation, software or programmable hardware configured for calculating a stabilizing step size.
  • the resolving means is configured for resolving a scaled error signal or each of a plurality of interference-cancelled constituent signals onto a signal basis for all of symbol sources in a channel.
  • the resolving means may include, by way of example, but without limitation, a channel estimator, a PN decoder, and a Walsh decoder.
  • 3G TS 25.211, 3G TS 25.212, 3G TS 25.213, and 3G TS 25.214 (the WCDMA standard), (4) the standard offered by a consortium named “3rd Generation Partnership Project 2” (3GPP2) and embodied in a set of documents including “TR-45.5 Physical Layer Standard for cdma2000 Spread Spectrum Systems,” the “C.S0005-A Upper Layer (Layer 3) Signaling Standard for cdma2000 Spread Spectrum Systems,” and the “C.S0024 CDMA2000 High Rate Packet Data Air Interface Specification” (the CDMA2000 standard), (5) Multi-Code CDMA systems, such as High-Speed-Downlink-Packet-Access (HSDPA), and (6) other CDMA standards.
  • 3GPP2 3rd Generation Partnership Project 2
  • FIG. 2 is a block diagram illustrating a front-end processor for an iterative interference canceller.
  • FIG. 8A is a block diagram illustrating post interference-cancellation signal despreading on constituent finger signals.
  • FIG. 1 Various functional elements or steps, separately or in combination, depicted in the figures may take the form of a microprocessor, digital signal processor, application specific integrated circuit, field programmable gate array, or other logic circuitry programmed or otherwise configured to operate as described herein. Accordingly, embodiments may take the form of programmable features executed by a common processor or discrete hardware unit.
  • the following formula represents an analog baseband signal received at a mobile from multiple base stations, each with its own multipath channel,
  • FIG. 1 is a block diagram of an iterative interference canceller (IIC), which is a low-complexity receiver configured to mitigate intra-channel and inter-channel interference.
  • the received baseband signal y(t) is input to a front-end processor 101 , which produces initial symbol estimates for all symbols of the active users served by at least one base station.
  • the initial symbol estimates are coupled to a first interference cancellation unit (ICU) 102 configured to cancel a portion of the intra-channel and inter-channel interference that corrupts the symbol estimates.
  • the ICU 102 outputs a first set of updated symbol estimates, which are interference-cancelled symbol estimates.
  • the updated symbol estimates are coupled to a second ICU 103 .
  • a plurality M of ICUs 102 - 104 illustrate an iterative process for performing interference cancellation in which the initial symbol estimates are updated M times.
  • slice ( ⁇ circumflex over (b) ⁇ (s), k [i] ) represents the symbol estimate ⁇ circumflex over (b) ⁇ (s), k [i] sliced (i.e., quantized) to the nearest constellation point from which the symbol b (s), k was drawn.
  • This approach is applicable for symbols with known constellations. For example, it is typical for a receiver to know the symbol constellation for a user of interest, but it may not know which constellations are assigned to other users.
  • Equation ⁇ ⁇ 8 The subscript k on the left-hand side denotes that the constituent signal is for a user k, whereas the subscript l on the left-hand side of Equation 6 represents that the constituent signal is for a finger l.
  • the sum of the user constituent signals produces a synthesized received signal
  • Equation ⁇ ⁇ 9 The left-hand sides of Equation 7 and Equation 9 are the same signal, whereas the right-hand sides are simply two different decompositions.
  • FIG. 6A shows a cancellation module 601 (such as the canceller 303 in FIG. 3 ) configured to perform interference cancellation 610 on constituent signals, followed by Rake processing and despreading 611 in a Rake-based receiver.
  • FIG. 6B shows a cancellation module 602 configured to synthesize 621 a received signal from constituent components, followed by Rake processing and despreading 622 , and interference cancellation 623 .
  • FIG. 7 is a block diagram of an interference canceller comprising a plurality B of cancellers 701 - 703 configured to perform interference cancellation on a plurality J of constituent signals for each of a plurality B of base stations. Since the constituents signals may be either fingers or users, index j ⁇ 0, 1, . . . , J (s) ⁇ 1 ⁇ is expressed by
  • the scaled residual signal is combined with the constituent signals ⁇ tilde over (y) ⁇ (s), j [i] in combining modules 712 - 714 to produce a set of interference-cancelled constituents represented by z (s),j [i] ( t ) ⁇ ⁇ tilde over (y) ⁇ (s),j [i] ( t )+ ⁇ [i] ( y ( t ) ⁇ ⁇ tilde over (y) ⁇ [i] ( t )), Equation 10 where z (s), j [i] (t) is an interference-cancelled j th constituent signal for base stations (s).
  • J (s) ⁇ ⁇ 0, 1, . . . , J (s) ⁇ 1 ⁇ are indices of the subset of constituent signals to be employed in cancellation.
  • Embodiments of the invention may be configured for applications in which hardware limitations restrict the number of finger signals or user signals that can be used for interference cancellation (e.g., only the strongest constituents are used).
  • Interference cancelled signals z (s), l [i] (t) are time-advanced 810 - 811 by an amount ⁇ (s), l .
  • a maximal ratio combining module scales 812 - 813 each time-advanced a signal z (s), l [i] (t+ ⁇ (s), l ) by ⁇ (s), l */ ⁇ ⁇ (s) ⁇ and combines 814 the time-advanced signals for each base station.
  • a resolving module comprising multipliers 815 - 816 and integrators 817 - 818 resolves each combined signal
  • Interference cancelled signals z (s), k [i] (t) corresponding to a k th user and s th base station are processed by a plurality L (s) of time-advance modules 831 - 832 corresponding to the multipath channel for the s th base station.
  • a resolving module comprising multiplier 836 and integrator 837 resolves the combined signal onto the k th user's code waveform to give
  • Equation ⁇ ⁇ 12 The values ⁇ tilde over (b) ⁇ (s), k [i] shown in Equation 11 and Equation 12 are generally not the same value, since the value of ⁇ tilde over (b) ⁇ (s), k [i] in Equation 11 is produced by cancellation employing finger constituents, whereas ⁇ tilde over (b) ⁇ (s), k [i] expressed by Equation 12 is produced by cancellation employing user constituents.
  • FIG. 9A is a block diagram of a Rake despreader, such as Rake despreaders 611 and 622 shown in FIGS. 6A and 6B , respectively.
  • the Rake despreader comprises a plurality B of Rake despreading modules 901 - 903 , each configured to process constituent signals from one of a plurality B of base stations.
  • An exemplary Rake despreader module 902 is a block diagram illustrating functionality of each of the Rake despreader modules 901 - 903 .
  • Input constituent signals ⁇ tilde over (y) ⁇ (s), j [i] (t) for all values of j are subtracted 911 from the received signal y(t) to produce a difference signal, or error signal, representing the difference between the received signal and the synthesized estimates of signals received by the base stations.
  • the difference signal is y(t) ⁇ tilde over (y) ⁇ (s) [i] (t), where
  • the difference signal for base station (s) is processed by a parallel bank of time advance modules 912 - 913 associated with the multipath channel for that base station, followed by maximal-ratio combining.
  • a maximal-ratio combining module is configured to perform weighting 914 - 915 and combining 916 .
  • a resolving module comprising multipliers 917 - 918 and integrators 919 - 920 resolves the resulting combined signals onto code waveforms of the base station's users to give the difference signal vector, or error signal vector, q (s), k ⁇ tilde over (q) ⁇ (s), k [i] , where
  • Rake despreading such as described with respect to the exemplary Rake despreading module 902 , may also be accomplished explicitly by employing matrix multiplication to synthesize constituent signals of the received signal, such as represented by block 931 shown in FIG. 9B .
  • a diagonal soft-weighting matrix may be defined as
  • ⁇ [ i ] diag ( ⁇ ( 0 ) , 0 [ i ] , ... ⁇ , ⁇ ( 0 ) , K ( 0 ) - 1 [ i ] ⁇ ⁇ ⁇ ... ⁇ ⁇ ⁇ ⁇ ( B - 1 ) , 0 [ i ] , ... ⁇ , ⁇ ( B - 1 ) , K ( B - 1 ) - 1 [ i ] ) Equation ⁇ ⁇ 14 in which all of the users' soft weights are ordered first by base station and then by users within a base station. The same indexing may also be used to express the column vector of symbol estimates input to an i th ICU as
  • Equation ⁇ ⁇ 15 The weighted symbol estimates are expressed as ⁇ [i] b [i] , and the outputs of the Rake despreading modules 901 - 903 are expressed by the difference equation,
  • Equation ⁇ ⁇ 18 The values of q [i] represent the despread signals, such as described with respect to FIG. 2 .
  • the values of ⁇ tilde over (q) ⁇ [i] are represented by Equation 13, and R is a square matrix whose elements are correlations between the users' received code waveforms.
  • Equation 16 the functionality expressed by Equation 16 is implemented via the matrix-multiplication block 931 and a subtraction module 932 .
  • Equation 14 B - 1 ⁇ ⁇ K ( s ) is employed for ordering users (first by base station, and then by users within a base station) described with respect to Equation 14.
  • a user ⁇ is a member of base station (s) and a user ⁇ ′ is a member of base station (s′)
  • the ( ⁇ , ⁇ ′) element of matrix R may be expressed by
  • the elements of R can be built at the receiver with estimates of the path gains, path delays, and knowledge of the users' code waveforms.
  • FIG. 10 is a block diagram of an interference canceller, such as the interference-cancellation block 623 shown in FIG. 6 .
  • the difference signal q (s), k ⁇ tilde over (q) ⁇ (s), k [i] is scaled with a stabilizing step size ⁇ (i) by a stabilizing step size module 1001 , which may include a calculation module (not shown) configured to calculate a stabilizing step size having a magnitude that is a function of proximity of input symbol decisions to a desired interference-cancelled symbol decision.
  • F is a block-diagonal matrix with a plurality B of diagonal blocks, wherein an s th diagonal block is a K (s) ⁇ K (s) block representing the users' transmit correlation matrix for base station (s).
  • the stabilizing step size ⁇ [i] may be used to enhance interference cancellation in each ICU and/or stabilize iterative interference cancellation.
  • a quality metric of a canceller's output ⁇ tilde over (b) ⁇ [i+1] may be derived as follows. If it is known (or approximated) that the additive noise w(t) in Equation 1 is Gaussian, then the despread outputs q , conditional on the transmitted symbols
  • FIG. 11 A illustrates a method and apparatus for calculating a stabilizing step size.
  • a Rake receiver 1100 comprises a first Rake, maximal ratio combining, and despreading unit 1101 to process a received signal y(t) for producing an output despread signal vector q .
  • a second Rake, maximal ratio combiner, and despreader unit 1102 processes a synthesized receive signal with weighted symbol estimates corresponding to an i th iteration, and represented by
  • a combiner 1103 calculates the difference between the outputs of 1101 and 1102 to produce a difference signal, or error signal, ⁇ [i] ⁇ q ⁇ R ⁇ [i] ⁇ circumflex over (b) ⁇ [i] , whose elements are indexed first by base station, and then by users within a base station,
  • ⁇ _ [ i ] [ ⁇ ( 0 ) , 0 [ i ] , ... ⁇ , ⁇ ( 0 ) , K ( 0 ) - 1 [ i ] ⁇ ⁇ ⁇ ... ⁇ ⁇ ⁇ ⁇ ( B - 1 ) , 0 [ i ] , ... ⁇ , ⁇ ( B - 1 ) , K ( B - 1 ) - 1 [ i ] ] T .
  • a difference signal y(t) ⁇ tilde over (y) ⁇ (s) [i] (t) may be produced prior to despreading, such as shown by block 1110 in FIG. 11B .
  • Equation 24 becomes
  • ⁇ [ i ] ( q _ - R ⁇ ⁇ ( ⁇ [ i ] ) 2 ⁇ b ⁇ _ [ i ] ) H ⁇ ⁇ [ i ] ⁇ ( q _ - R ⁇ ⁇ ⁇ [ i ] ⁇ b ⁇ _ [ i ] ) ( q _ - R ⁇ ⁇ ⁇ [ i ] ⁇ b ⁇ _ [ i ] ) H ⁇ ( ⁇ [ i ] ) H ⁇ R ⁇ ⁇ ⁇ [ i ] ⁇ ( q _ - R ⁇ ⁇ ⁇ [ i ] ⁇ b ⁇ _ [ i ] ) , Equation ⁇ ⁇ 26
  • the signal ⁇ [i] is generated by a Rake, maximal ratio combining, and despreading unit 1120 and multiplied 1121 by ⁇ [i] to produce vector ⁇ [i] ⁇ [i]
  • a synthesized received signal is generated 1124 from the vector ( ⁇ [i] ) 2 ⁇ [i] and processed with received signal y(t) by an adder 1125 to produce a difference signal.
  • a Rake/combiner/despreader 1126 processes the difference signal to generate the vector q ⁇ R( ⁇ [i] ) 2 ⁇ circumflex over (b) ⁇ [i] .
  • the inner product 1127 between this vector and the vector ⁇ [i] ⁇ [i] gives the numerator of Equation 26.
  • the stabilizing step size may be derived from the multi path channel gains
  • FIG. 12 is a block diagram of a symbol-estimation block comprising a plurality B of mixed-decision modules 1201 - 1203 configured to process signals received from B base stations.
  • Mixed-decision module 1202 shows functionality that is common to all of the mixed-decision modules 1201 - 1203 .
  • De-biasing modules 1210 - 1211 scale each of a plurality K (s) of input symbol estimates ⁇ tilde over (b) ⁇ (s), k [i+1] with non-negative de-biasing comtant d (s), k [i] for producing de-biased input symbol estimates.
  • the mixed-decision module 1202 includes symbol-estimation modules 1212 - 1213 configured to perform symbol estimation on de-biased input symbol estimates whose constellations are known at the receiver.
  • the de-biasing constant may be expressed by
  • each value s (s), k [i] ⁇ tilde over (b) ⁇ (s), k [i+1] is operated on by a map ⁇ (s), k that takes the input into the complex plane to yield the updated symbol estimate
  • the map ⁇ (s), k may be a mixed-decision map, which is a combination of soft and hard decisions.
  • a soft-decision map is provided by a function ⁇ (s), k (x) that is a continuous function whose output ranges over the complex plane. Common examples, include, but are not limited to,
  • some metric e.g., Euclidean distance
  • a mixed-decision map ⁇ (s), k mixed (x) produces an output that is a soft decision or a hard decision, such as
  • ⁇ ( s ) , k mixed ⁇ ( x ) ⁇ ⁇ ( s ) , k hard ⁇ ( x ) if ⁇ ⁇ SIN ⁇ R ( s ) , k > c ( s ) , k ⁇ ( s ) , k soft ⁇ ( x ) otherwise Equation ⁇ ⁇ 34
  • the mixed-decision map ⁇ (s), k mixed (x) produces a hard decision if the SINR of a k th user of base station (s) exceeds a threshold c (s), k . Otherwise, a soft decision is performed.
  • the SINR may be estimated with a time-averaged error-vector measurement (EVM). Time averaging may cause a block of symbols to share the same SINR estimate.
  • EVM time-averaged error-vector measurement
  • An alternative mixed-decision map ⁇ (s), k mixed (x) may act on individual symbols
  • Equation ⁇ ⁇ 35 Equation ⁇ ⁇ 35 where the constellation space for the symbol of a k th user of base station (s) is partitioned into hard- and soft-decision regions with C (s), k (b) denoting the hard-decision region for a symbol b from that user's constellation.
  • C (s), k (b) a hard decision for x is made.
  • Alternative embodiments of the invention may employ different partitions of the constellation space. For example, edge constellation points may be given unbounded hard-decision regions.
  • Both the average SINR and instantaneous approaches are applicable to any known constellation; they need not be restricted to BPSK, QPSK, or even QAM. Either of these mixed-decision approaches may be performed with the additional constraint that the receiver knows only the constellation employed for a subset of the active codes. Such situations may arise in EV-DO and HSDPA networks. In such cases, the receiver may use soft decisions for codes employing an unknown modulation. Those skilled in the art will understand that a modulation classification of these codes may be performed, which may be particularly useful in systems wherein all interfering codes share the same unknown constellation.
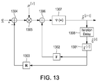
  • the following algorithm which is illustrated in FIG. 13 , demonstrates one embodiment for performing IIC.
  • FIG. 13 shows an internal feedback loop comprising operations 1308 , 1301 , 1302 , 1306 , and an external feedback loop comprising operations 1308 , 1301 , 1303 , and 1304 .
  • the output of the external feedback loop ⁇ acute over (q) ⁇ R ⁇ [i] ⁇ circumflex over (b) ⁇ [i] , which is multiplicatively scaled 1305 by ⁇ [i] .
  • the scaled output is combined 1306 with the internal feedback loop to yield ( q ⁇ R ⁇ [i] ⁇ circumflex over (b) ⁇ [i] )+F ⁇ [i] ⁇ circumflex over (b) ⁇ [i] , which is processed by a symbol estimator 1307 and fed to the iteration delay 1308 that begins the internal and external loops.
  • embodiments of the invention are described with respect to forward-link channels, embodiments may be configured to operate in reverse-link channels.
  • reverse link different users' transmissions experience different multipath channels, which requires appropriate modifications to Rake processing and signal synthesis.
  • a front-end processor may incorporate one Rake for every user in every base station rather than a single Rake per base station.
  • a separate multipath channel emulator may be employed for imparting multipath delays and gains to each user's signal. Accordingly, the number of constituent finger signals will equal the sum over the number of multipath fingers per user per base station, rather than the sum over the number of multipath fingers per base station.
  • ASICs Application Specific Integrated Circuits
  • FPGAs Field Programmable Gate Arrays
  • DSPs Digital Signal Processors
  • Software and/or firmware implementations of the invention may be implemented via any combination of programming languages, including Java, C, C++, MatlabTM, Verilog, VHDL, and/or processor specific machine and assembly languages.
  • Computer programs i.e., software and/or firmware implementing the method of this invention may be distributed to users on a distribution medium such as a SIM card, a USB memory interface, or other computer-readable memory adapted for interfacing with a consumer wireless terminal.
  • a distribution medium such as a SIM card, a USB memory interface, or other computer-readable memory adapted for interfacing with a consumer wireless terminal.
  • computer programs may be distributed to users via wired or wireless network interfaces. From there, they will often be copied to a hard disk or a similar intermediate storage medium.
  • the programs When the programs are to be run, they may be loaded either from their distribution medium or their intermediate storage medium into the execution memory of a wireless terminal, configuring an onboard digital computer system (e.g., a microprocessor) to act in accordance with the method of this invention. All these operations are well known to those skilled in the art of computer systems.

Landscapes

  • Engineering & Computer Science (AREA)
  • Computer Networks & Wireless Communication (AREA)
  • Signal Processing (AREA)
  • Noise Elimination (AREA)
  • Cable Transmission Systems, Equalization Of Radio And Reduction Of Echo (AREA)

Abstract

A receiver is configured for canceling intra-cell and inter-cell interference in coded, multiple-access, spread-spectrum transmissions that propagate through frequency-selective communication channels. The receiver employs iterative symbol-estimate weighting, subtractive cancellation with a stabilizing step-size, and mixed-decision symbol estimate. Receiver embodiments may be implemented explicitly in software of programmed hardware, or implicitly in standard Rake-based hardware either within the Rake (i.e., at the finger level) or outside the Rake (i.e., at the user of subchannel symbol level).

Description

CROSS-REFERENCE TO RELATED APPLICATIONS
This application is a continuation of U.S. patent application Ser. No. 13/095,828, filed Apr. 27, 2011, and entitled “Iterative Interference Suppression Using Mixed Feedback Weights and Stabilizing Step Sizes”; which is a continuation of U.S. patent application Ser. No. 12/731,915, filed Mar. 25, 2010, and entitled “Iterative Interference Cancellation Using Mixed Feedback Weights and Stabilizing Step Sizes”, now U.S. Pat. No. 8,300,745; which is a continuation of U.S. patent application Ser. No. 11/452,027, filed Jun. 13, 2006, and entitled “Iterative Interference Cancellation Using Mixed Feedback Weights and Stabilizing Step Sizes”, now U.S. Pat. No. 7,715,508; which claims priority to Provisional U.S. Pat. Appl. Ser. No. 60/736,204, filed Nov. 15, 2005, and entitled “Iterative Interference Cancellation Using Mixed Feedback Weights and Stabilizing Step Sizes,” all of which are incorporated by reference herein in their entirety. The following are related applications, which were incorporated by reference in Provisional U.S. Pat. Appl. Ser. No. 60/736,204: (1) U.S. patent application Ser. No. 11/100,935, filed Apr. 7, 2005, entitled “Construction of Projection Operators for Interference Cancellation,” and published as U.S. Patent Application Publication Number 2005-0180364 A1, which incorporates by reference and is a Continuation-in-Part of (a) U.S. patent application Ser. No. 11/773,777, entitled “Systems and Methods for Parallel Signal Cancellation,” and filed on Feb. 6, 2004, now U.S. Pat. No. 7,394,879; (b) U.S. patent application Ser. No. 10/686,359, entitled “Systems and Methods for Adjusting Phase,” and filed Oct. 15, 2003, now U.S. Pat. No. 7,068,706; (c) U.S. patent application Ser. No. 10/686,829, entitled “Method and Apparatus for Channel Amplitude Estimation and Interference Vector Construction,” and filed on Oct. 15, 2003, now U.S. Pat. No. 7,580,448; (d) U.S. patent application Ser. No. 10/294,834, entitled “Construction of an Interference Matrix for a Coded Signal Processing Engine,” and filed on Nov. 15, 2002, now U.S. Pat. No. 7,200,183; and (e) U.S. patent application Ser. No. 10/247,836, entitled “Serial Cancellation Receiver Design for a Coded Signal Processing Engine,” and filed on Sep. 20, 2002, now U.S. Pat. No. 7,158,559; (2) U.S. patent application Ser. No. 11/233,636, filed Sep. 23, 2005, entitled “Optimal Feedback Weighting for Soft-Decision Cancellers,” and published as U.S. Patent Application Publication Number 2006-0227909 A1; and (3) U.S. patent application Ser. No. 11/266,928, filed Nov. 4, 2005, entitled “Soft Weighted Subtractive Cancellation for CDMA Systems,” now U.S. Pat. No. 7,876,810; the entirety of each of the foregoing patents, patent applications, and patent application publications is incorporated by reference herein.
BACKGROUND
1. Field of the Invention
The present invention relates generally to iterative interference cancellation in received wireless communication signals and, more particularly, to cancellation of intra-cell interference and/or inter-cell interference in coded spread spectrum communication systems.
2. Discussion of the Related Art
In an exemplary wireless multiple-access system, a communication resource is divided into code-space subchannels that are allocated to different users. A plurality of sub channel signals received by a wireless terminal (e.g., a subscriber unit or a base station) may correspond to different users and/or different sub channels allocated to a particular user.
If a single transmitter broadcasts different messages to different receivers, such as a base station in a wireless communication system broadcasting to a plurality of mobile terminals, the channel resource is subdivided in order to distinguish between messages intended for each mobile. Thus, each mobile terminal, by knowing its allocated subchannel(s), may decode messages intended for it from the superposition of received signals. Similarly, a base station typically separates received signals into subchannels in order to differentiate between users. In a multipath environment, received signals are superpositions of time-delayed and complex-scaled versions of the transmitted signals. Multipath can cause several types of interference. Intra-channel interference occurs when the multipath time-delays cause subchannels to leak into other subchannels. For example, in a forward link, subchannels that are orthogonal at the transmitter may not be orthogonal at the receiver. When multiple base stations (or sectors or cells) are active, there may also be inter-channel interference caused by unwanted signals received from other base stations. Each of these types of interference can degrade communications by causing a receiver to incorrectly decode received transmissions, thus increasing a receiver's error floor. Interference may also have other deleterious effects on communications. For example, interference may lower capacity in a communication system, decrease the region of coverage, and/or decrease maximum data rates. For these reasons, a reduction in interference can improve reception of selected signals while addressing the aforementioned limitations due to interference.
These interferences take the following form when code division multiplexing is employed for a communication link, either with code division multiple access (as used in CDMA 2000, WCDMA, and related standards) or with time division multiple access (as used in EV-DO and related standards). A set of symbols is sent across a common time-frequency slot of the physical channel and separated using a set of distinct code waveforms, which are usually chosen to be orthogonal (or pseudo-orthogonal for reverse-link transmissions). The code waveforms typically vary in time, and these variations are introduced by a pseudo-random spreading code (PN sequence). The wireless transmission medium is characterized by a time-varying multipath profile that causes multiple time-delayed replicas of the transmitted waveform to be received, each replica having a distinct amplitude and phase due to path loss, absorption, and other propagation effects. As a result, the received code set is no longer orthogonal. The code space suffers from intra-channel interference within a base station as well as inter-channel interference arising from transmissions in adjacent cells.
The most basic receiver architecture employed to combat these various effects is the well-known Rake receiver. The Rake receiver uses a channel-tracking algorithm to resolve the received signal energy onto various multipath delays. These delayed signals are then weighted by the associated complex channel gains (which may be normalized by path noise powers) and summed to form a single resolved signal, which exploits some of the path diversity available from the multipath channel. It is well known that the Rake receiver suffers from a significant interference floor, which is due to both self-interference from the base station of interest (or base stations, when the mobile is in a soft-handoff base station diversity mode) and multiple-access interference from all base stations in the coverage area. This interference limits the maximum data rates achievable by the mobiles within a cell and the number of mobiles that can be supported in the cell.
Advanced receivers have been proposed to overcome the limitations of the Rake receiver. The optimal multi-user detector (MUD) has the best performance, but is generally too computationally complex to implement. MUD complexity increases exponentially with respect to the total number of active sub channels across the cell of interest and the interfering cells as well as the constellation size(s) of the subchannels. This complexity is so prohibitive that even efficient implementations based on the Viterbi algorithm cannot make it manageable in current hardware structures. Another approach is a properly designed linear receiver, which in many channel scenarios, is able to retain much of the optimal MUD performance, but with a complexity that is polynomial in the number of subchannels. The most common examples are the linear minimum mean squared error (LMMSE) receiver and the related decorrelating (or zero-forcing) receiver, which both require finding, or approximating, the inverse of a square matrix whose dimension is equal to the lesser between the number of active sub channels and the length (in samples) of the longest spreading code.
Complexity can still be prohibitive with these receivers, because such a matrix inverse needs to be calculated (or approximated) for each symbol. These receivers depend not only on the spectral characteristics of the multipath fading channel (which could be slowly time varying), but also on the time-varying spreading codes employed on the subchannels over each symbol. Thus, these receivers vary at the symbol rate even if the channel varies much more slowly.
An alternative approach currently under development for advance receivers sidesteps the need to invert a matrix for each symbol. It accomplishes this by employing a PN-averaged LMMSE (PNA-LMMSE) receiver that assumes the PN code is random and unknown at the receiver (at least for determining the correlation matrix). While this receiver is generally inferior to the LMMSE approach, it has the advantage of not having to be implemented directly, because it is amenable to adaptive (or partially adaptive) implementations. The advantages of an adaptive implementation over a direct implementation include reduced complexity and the fact that the additive noise power (i.e., background RF radiation specific to the link environment, noise in the receiver's RF front end, and any processing noise such as noise due to quantization and imperfect filtering) does not have to be estimated. However, these advantages incur the costs associated with adaptive filters (e.g., performance and adaptation rate). Note that a direct implementation without knowledge of the noise power modifies the LMMSE and PNALMMSE receivers into the corresponding decorrelating (or zero-forcing) receivers that arise from taking the background noise power to be zero when deriving the LMMSE and PNA-MMSE receivers.
Another method for further reducing complexity is to iteratively approximate the matrix-inverse functionality of the LMMSE receiver without explicitly calculating the inverse. Receivers of this type employ multistage interference cancellation. One particular type is known as parallel interference cancellation (PIC), and is motivated by well-known iterative techniques of quadratic minimization. In each stage of PIC, the data symbols of the sub channels are estimated. For each sub channel, an interference signal from the other subchannels is synthesized, followed by interference cancellation that subtracts the synthesized interference from each sub channel. The interference-cancelled subchannels are then fed to a subsequent PIC stage. Ideally, within just a few stages (i.e., before the complexity grows too large), the performance rivals that of the full linear receiver using a matrix inverse.
PIC can be implemented in various modes depending on what types of symbol estimates are used for interference cancellation. In a soft-cancellation mode, PIC does not exploit additional information inherent in the finite size of user constellations. That is, estimates of data symbols are not quantized to a constellation point when constructing interference signals. However, in some multiple-access schemes, the user constellations maybe known (e.g., in an EV-DO link or in a WCDMA link without HSDPA users) or determined through a modulation classifier. In such cases, it is possible for PIC to be implemented in a hard-cancellation mode. That is, estimates of data symbols are quantized to constellation points (i.e., hard decisions) when constructing the interference signal.
In a mixed-cancellation mode, PIC employs a soft decision on each symbol whose constellation is unknown, and either a soft or hard decision on each symbol whose constellation is known, depending on how close the soft estimate is to the hard decision. Such a mixed-decision PIC typically outperforms both the soft-decision PIC and the hard-decision PIC. Moreover, it can also substantially outperform the optimal LMMSE receiver and promises even greater performance gains over PNA-LMMSE approaches currently under development for advanced receivers. The performance of soft-decision PIC is bounded by the optimal LMMSE.
SUMMARY OF THE INVENTION
In view of the foregoing background, embodiments of the present invention may provide a generalized interference-canceling receiver for canceling intra-channel and inter-channel interference in coded, multiple-access, spread-spectrum transmissions that propagate through frequency-selective communication channels. Receiver embodiments may employ a designed and/or adapted soft-weighting subtractive cancellation with a stabilizing step-size and a mixed-decision symbol estimator. Receiver embodiments may be designed, adapted, and implemented explicitly in software or programmed hardware, or implicitly in standard Rake-based hardware, either within the Rake (i.e., at the finger level) or outside the Rake (i.e., at the sub channel symbol level). Embodiments of the invention may be employed in user equipment on the forward link and/or in a base station on the reverse link.
Some embodiments of the invention address the complexity of the LMMSE approach by using a low-complexity iterative algorithm. Some embodiments of the invention in soft-mode may be configured to achieve LMMSE performance (as contrasted to the lesser-performing PNA-LMMSE) using only quantities that are easily measured at the receiver. Some embodiments address the sub-optimality of the LMMSE and PNA-LMMSE approaches by using an appropriately designed mixed-decision mode and may even approach the performance of an optimal multi-user detector. In some embodiments, stabilizing step sizes may be used to enhance stability of various PIC approaches. Some embodiments may employ symbol-estimate weighting to control convergence of various PIC approaches. Some embodiments of the invention address the limitation of various PIC approaches to binary and quaternary phase shift keying in mixed-decision mode by being configurable to any sub channel constellation. Some embodiments of the invention address the difficulty of efficiently implementing various PIC approaches in hardware by using a modified Rake architecture. Some embodiments of the invention address the so-called “ping-pong effect” (i.e., when the symbol error rate oscillates with iteration) in various PIC approaches by pre-processing with a de-biasing operation when making symbol estimates.
In one embodiment of the invention, an iterative interference cancellation system is configured for performing a plurality of iterations for each input symbol estimate of a received signal to produce an interference-cancelled symbol estimate. The system comprises a weighting means, a synthesizing means, a subtraction means, a stabilizing step size means, a combining and resolving means, and a mixed-decision means.
The weighting means applies symbol weights to each of a plurality of input symbol estimates for an initial iteration, and to each of a plurality of updated symbol estimates for at least one subsequent iteration for producing a plurality of weighted symbol estimates.
The weighting means may include, by way of example, but without limitation, a weight-calculation means configured for producing symbol weights, and a multiplier configured for multiplying symbol estimates by the weights.
The weight-calculation means may include, by way of example, but without limitation, any combination of hardware and software configured to calculate symbol weights from a function employing a merit of at least one input symbol decision. In one embodiment, the merit may comprise an average ratio of signal power to interference-plus-noise power (or a function thereof). In another embodiment, the merit may be a function of input symbol decisions and proximity of those input symbol decisions to a nearby constellation point. In this case, the weight-calculation means may employ time-series averaging for calculating the proximity as a statistical average. In yet another embodiment, the weight-calculation means may include a signal processing means configured to perform statistical signal processing for estimating the average ratio of signal power to interference-plus-noise power. Such statistical signal processing may employ error-vector magnitude calculations.
The synthesizing means is configured for employing a signal basis for all symbol sources in the channel to synthesize constituent signals from the plurality of weighted symbol estimates. The synthesizing means may combine the constituent signals for producing a combined signal. The combined signal may be considered as approximating a received signal that would result from signals transmitted by at least one hypothetical transmitter configured to transmit signals synthesized from the plurality of weighted symbol estimates.
The synthesizing means may include, by way of example, but without limitation, a signal processor or a set of elements of a transmitter configured to process symbol estimates for producing at least one modulated digital baseband signal, such as a signal that may be produced by a transmitter prior to up-conversion, amplification, and coupling into a communication channel. In one embodiment, the synthesizing means comprises a Walsh coder (such as a fast Walsh transform) and a pseudo-noise (PN) coder.
The subtraction means is configured to subtract the combined signal from the received signal to produce an error signal. The subtraction means may include, by way of example, but without limitation, an adder, a combiner, or any other device or method configured for subtracting a first set of signals from a second set of signals.
The stabilizing step size means is configured for scaling the error signal by a stabilizing step size to produce a scaled error signal. The stabilizing step size means may include, by way of example, but without limitation, any combination of hardware and software configured to scale an error signal with a scaling factor that may be used for controlling convergence in an iterative canceller. For example, the stabilizing step-size means may comprise a step size calculation means and a multiplier means for scaling an error signal with the step size.
The step size calculation means is configured for calculating a stabilizing step size having a magnitude that is a function of proximity of the input symbol decisions to a desired interference-cancelled symbol decision. The multiplier means is configured for scaling (e.g., multiplying) an error signal with the stabilizing step size. The step size calculation means may include, by way of example, but without limitation, software or programmable hardware configured for calculating a stabilizing step size.
The combining and resolving means is configured for processing the scaled error signal with the constituent signals and/or the plurality of weighted symbol estimates to produce interference-cancelled symbol estimates. The combining and resolving means may comprise a combining means separate from a resolving means. The resolving means may precede or follow the combining means.
The resolving means is configured for resolving a scaled error signal or each of a plurality of interference-cancelled constituent signals onto a signal basis for all of symbol sources in a channel. The resolving means may include, by way of example, but without limitation, a channel estimator, a PN decoder, and a Walsh decoder.
The combining means may be configured for combining the resolved error signal with the weighted input symbol estimates, or it may be configured for adding the constituent signals to the scaled error signal. The combining means may include, by way of example, but without limitation, an adder or combiner configured to sum a plurality of input signals.
The mixed-decision means is configured to perform a mixed decision comprising a hard decision or a soft decision on each of the interference-cancelled symbol estimates to produce the plurality of updated symbol estimates. The mixed-decision processing means may include, by way of example, but without limitation, a combination of hardware and software configured to produce soft and/or hard symbol estimates. The mixed-decision means comprises a de-biasing means configured for scaling the input symbol estimates with a scale factor to remove bias computed on the input symbol estimates, and a processing means configured for processing each de-biased input symbol estimate, irrespective of other symbol estimates. The processing means produces a hard decision that quantizes the de-biased input symbol estimate onto a nearby constellation point, or a soft decision that scales the de-biased input symbol estimate.
Embodiments of the invention may be employed in any receiver configured to support one or more CDMA standards, such as (1) the “TIA/EIA-95-B Mobile Station-Base Station Compatibility Standard for Dual-Mode Wideband and Spread Spectrum Cellular System” (the IS-95 standard), (2) the “TIA-98-C Recommended Minimum Standard for Dual-Mode Wideband Spread Spectrum Cellular Mobile Station” (the IS-98 standard), (3) the standard offered by a consortium named “3rd Generation Partnership Project” (3GPP) and embodied in a set of documents including Document Nos. 3G TS 25.211, 3G TS 25.212, 3G TS 25.213, and 3G TS 25.214 (the WCDMA standard), (4) the standard offered by a consortium named “3rd Generation Partnership Project 2” (3GPP2) and embodied in a set of documents including “TR-45.5 Physical Layer Standard for cdma2000 Spread Spectrum Systems,” the “C.S0005-A Upper Layer (Layer 3) Signaling Standard for cdma2000 Spread Spectrum Systems,” and the “C.S0024 CDMA2000 High Rate Packet Data Air Interface Specification” (the CDMA2000 standard), (5) Multi-Code CDMA systems, such as High-Speed-Downlink-Packet-Access (HSDPA), and (6) other CDMA standards.
Receivers and cancellation systems described herein may be employed in subscriber-side devices (e.g., cellular handsets, wireless modems, and consumer premises equipment) and/or server-side devices (e.g., cellular base stations, wireless access points, wireless routers, wireless relays, and repeaters). Chipsets for subscriber-side and/or server-side devices may be configured to perform at least some of the receiver and/or cancellation functionality of the embodiments described herein.
These and other embodiments of the invention are described with respect to the figures and the following description of the preferred embodiments.
BRIEF DESCRIPTION OF THE DRAWINGS
Embodiments according to the present invention are understood with reference to the schematic block diagrams of FIGS. 1 through 12.
FIG. 1 is a general schematic illustrating an iterative interference canceller.
FIG. 2 is a block diagram illustrating a front-end processor for an iterative interference canceller.
FIG. 3 is a general schematic illustrating an interference cancellation unit (ICU).
FIG. 4 shows a weighting block in an ICU configured to separately process input symbol estimates corresponding to a plurality of base stations.
FIG. 5A is a block diagram illustrating part of an interference cancellation unit configured to synthesize constituent finger signals.
FIG. 5B is a block diagram illustrating part of an interference cancellation unit configured to synthesize constituent user signals.
FIG. 6A shows a cancellation block configured to perform interference cancellation on constituent signals, followed by Rake processing and despreading.
FIG. 6B shows a cancellation block configured to cancel interference in constituent signals, preceded by Rake processing and despreading.
FIG. 7 is a block diagram of the interference cancellation part of a subtractive canceller in which cancellation occurs prior to signal despreading.
FIG. 8A is a block diagram illustrating post interference-cancellation signal despreading on constituent finger signals.
FIG. 8B is a block diagram illustrating post interference-cancellation signal de spreading on constituent user signals.
FIG. 9A is a block diagram showing a method for implicitly despreading a signal in a subtractive canceller that performs interference-cancellation prior to signal despreading.
FIG. 9B is a block diagram showing a method for explicitly despreading a signal in a subtractive canceller that performs interference-cancellation prior to signal despreading.
FIG. 10 is a block diagram of a subtractive canceller configured to perform interference cancellation prior to signal despreading.
FIG. 11A is a block diagram illustrating an embodiment for implicitly calculating a stabilizing step size.
FIG. 11B is a block diagram illustrating how linear functions, such as despreading and generating a difference signal, can be swapped in an alternative embodiment for calculating a stabilizing step size.
FIG. 11C is a block diagram illustrating another embodiment for implicitly calculating a stabilizing step size.
FIG. 12 is a block diagram of a symbol-estimation block in an interference cancellation unit.
FIG. 13 is a block diagram of a dual feedback algorithm configured for implementing an iterative interference canceller.
Various functional elements or steps, separately or in combination, depicted in the figures may take the form of a microprocessor, digital signal processor, application specific integrated circuit, field programmable gate array, or other logic circuitry programmed or otherwise configured to operate as described herein. Accordingly, embodiments may take the form of programmable features executed by a common processor or discrete hardware unit.
DESCRIPTION OF THE PREFERRED EMBODIMENTS
The present invention will now be described more fully hereinafter with reference to the accompanying drawings, in which preferred embodiments of the invention are shown. This invention may, however, be embodied in many different forms and should not be construed as limited to the embodiments set forth herein. Rather, these embodiments are provided so that this disclosure will be thorough and complete, and will fully convey the scope of the invention to those skilled in the art.
First the invention will be described as it applies to a forward-link channel, and then extended to include reverse-link channels. The following formula represents an analog baseband signal received at a mobile from multiple base stations, each with its own multipath channel,
y ( t ) = s = 0 B - 1 l = 0 L ( s ) α ( s ) , l k = 0 K ( s ) - 1 b ( s ) , k u ( s ) , k ( t - τ ( s ) , l ) + w ( t ) , t ( 0 , T ) , Equation 1
with the following definition
    • (0, T) is the symbol internal;
    • B is the number of modeled base stations and is indexed by the subscript (s) which ranges from (0) to (B−1); here, and in the sequel, the term “base stations” will be employed loosely to include cells or sectors;
    • L(s) is the number of resolvable (or modeled) paths from base station (s) to the mobile;
    • α(s), l and τ(s), l are the complex gain and delay, respectively, associated with the l-th path of base station (s);
    • K(s) is the number of active users or subchannels in base station (s) that share a channel via code-division multiplexing; these users or subchannels are indexed from 0 to K(s)−1;
    • u(s), k(t) is a code waveform (e.g., spreading waveform) of base station (s) used to carry the kth user's symbol for the base station (e.g., a chip waveform modulated by a user-specific Walsh code and covered with a base-station specific PN cover);
    • b(s), k is a complex symbol transmitted for the kth user or subchannel of base station (s);
    • and w(t) is zero-mean complex additive noise that contains both thermal noise and any interference whose structure is not explicitly modeled (e.g., inter-channel interference from unmodeled base stations and/or intra-channel interference from unmodeled paths).
Typically a user terminal (e.g., a handset) is configured to detect only symbols transmitted from its serving base station (e.g., the symbols from base station (0)) or a subset thereof (e.g., symbols for the kth user of base station (0)). Interference can impede the determination of b(s), k from y(t). Not only is additive noise w(t) present, but there may be intra-channel and inter-channel interference.
Intra-channel interference typically occurs when multiple users are served by a given base station (i.e., a serving base station). Even if the user's transmitted code waveforms are orthogonal, multipath in the transmission channel causes the codes to lose their orthogonality. Inter-channel interference is caused by transmissions from non-serving base stations whose signals contribute to the received baseband signal y(t).
FIG. 1 is a block diagram of an iterative interference canceller (IIC), which is a low-complexity receiver configured to mitigate intra-channel and inter-channel interference. The received baseband signal y(t) is input to a front-end processor 101, which produces initial symbol estimates for all symbols of the active users served by at least one base station. The initial symbol estimates are coupled to a first interference cancellation unit (ICU) 102 configured to cancel a portion of the intra-channel and inter-channel interference that corrupts the symbol estimates. The ICU 102 outputs a first set of updated symbol estimates, which are interference-cancelled symbol estimates. The updated symbol estimates are coupled to a second ICU 103. A plurality M of ICUs 102-104 illustrate an iterative process for performing interference cancellation in which the initial symbol estimates are updated M times.
FIG. 2 is a block diagram of the front-end processor 101 shown in FIG. 1. Each of a plurality B of Rake-based receiver components 201-203 provides estimates of symbols transmitted from a corresponding base station. The detailed block diagram depicted in Rake receiver 202 represents the functionality of each of the components 201-203. Rake receiver 202, corresponding to an sth base station 202, includes a plurality L(s) of delay elements 210-211 configured to advance the received baseband signal y(t) in accordance with multipath-delay quantities
{ τ ( s ) , l } l = 0 L ( s ) - 1 .
The advanced signals are scaled 212-213 by corresponding path gains
{ α ( s ) , l } l = 1 L ( s ) - 1
prior to combining 214 to produce a combined signal of the form
l = 1 L ( s ) - 1 α ( s ) , l * α _ ( s ) y ( t + τ ( s ) , l ) ,
where
α _ ( s ) = ( l = 0 L ( s ) - 1 α ( s ) , l 2 ) 1 / 2
is the Euclidean norm of the path-gain vector,
α _ ( s ) = α ( s ) , 0 α ( s ) , l α ( s ) , L ( s ) - 1 T ,
and the superscript T denotes the matrix transpose operator.
The combined signal is resolved onto the users' code waveforms by correlative despreading, which comprises multiplying 215-216 the combined signals by complex conjugates of each code waveform, followed by integrating 217-218 the resultant products. A despread signal corresponding to a kth code waveform is
q ( s ) , k 1 α _ ( s ) 2 0 T u ( s ) , k * ( t ) l = 0 L ( s ) - 1 α ( s ) , l * y ( t + τ ( s ) , l ) t . Equation 2
This value is also referred to as a Rake front-end soft estimate of the symbol b(s), k. Since Rake processing, combining, and despreading are linear operations, their order may be interchanged. Thus, alternative embodiments may be provided in which the order of the linear operations is changed to produce q(s), k.
A symbol estimator comprises scaling blocks 219-220 and function blocks 221-222, which are configured to refine the estimates q(s), k into front-end symbol estimates {circumflex over (b)}(s), k [0] of the transmitted data symbols b(s), k. Each of the functions depicted in FIG. 2 may be configured to process discrete-time sequences. For example, time advances 210-211 (or delays) may be implemented as shifts by an integer number of samples in discrete-time sequences, and integration 217-218 may employ summation.
FIG. 3 is a block diagram of an ith ICU comprising four functional blocks. A weighting module 301 calculates and applies soft weights to input symbol estimates. A synthesizing module 302 processes weighted symbol estimates to synthesize constituent signals of an estimated received signal. For example, the estimated received signal y(t) is a sum of the constituent signals, each of which is synthesized from the weighted symbol estimates. The synthesized constituents are processed in a canceller 303 (such as a subtraction module) configured to produce interference-cancelled signals having reduced intra-channel and inter-channel interferences. The canceller 303 also includes a resolving module (not shown) configured to resolve the interference-cancelled signals onto user code waveforms to produce resolved signals. A mixed-decision module 304 processes the resolved signals to produce updated symbol estimates.
FIG. 4 shows a weighting module (such as weighting nodule 301) configured to separately process input symbol estimates corresponding to a plurality B of base stations. A plurality of scaling modules 401-403 scale the input symbol estimates. Scaling module 402 depicts detailed functionality for processing signals from an exemplary sth base station. Similar details are typically present in each of the scaling modules 401-403.
A plurality K(s) of symbol estimates
{ b ^ ( s ) , k [ i ] } k = 0 K ( s ) - 1
1 of transmitted symbols
{ b ( s ) , k } k = 0 K ( s ) - 1
produced by an ith ICU is input to scaling module 402. The symbol estimates are multiplied 410-411 by corresponding complex weights
{ γ ( s ) , k [ i ] } k = 0 K ( s ) - 1
to produce weighted symbol estimates
{ γ ( s ) , k [ i ] b ^ ( s ) , k [ i ] } k = 0 K ( s ) - 1 .
The magnitude of weight γ(s), k [i] may be calculated with respect to a merit of the corresponding symbol estimate {circumflex over (b)}(s), k [i].
The soft weights can be regarded as a confidence measure related to the accuracy of a decision, or symbol estimate. For example, a high confidence weight relates to a high certainty that a corresponding decision is accurate. A low confidence weight relates to a low certainty. Since the soft weights are used to scale decisions, low-valued weights reduce possible errors that may be introduced into a calculation that relies on symbol estimates.
In one embodiment of the invention, the weights γ(s), k [i] may be derived from at least one signal measurement, such as SINR. Clearly, the larger the SINR, the greater the reliability of the corresponding symbol estimate. For example, the weights γ(s), k [i] may be expressed by
γ ( s ) , k [ i ] = max { C ( s ) , k , 1 1 + 1 / SIN R ( s ) , k [ i ] } , Equation 3
where SINR(s), k [i] is s a ratio of average signal power to interference-plus-noise power of a kth user in base station (s) after the ith ICU, and Ck is a non-negative real constant that can be used to ensure some feedback of a symbol estimate, even if its SINR is small. Note that, as the SINR grows large, the weight tends toward unity, meaning that the estimate is very reliable.
The SINR (and thus, the soft weights) may be evaluated using techniques of statistical signal processing, including techniques based on an error-vector magnitude (EVM). Alternatively, a pilot-assisted estimate of the broadband interference-plus-noise floor, together with a user specific estimate of the signal-plus-interference-plus-noise floor, may be used to estimate the SINR values. In another embodiment of the invention, the weights γ(s), k [i] may be expressed as a function of symbol estimates {circumflex over (b)}(s), k [i] such as shown in the following equation
γ ( s ) , k [ i ] = Re { E [ slice ( b ^ ( s ) , k [ i ] ) * b ^ ( s ) , k [ i ] ] } E [ b ^ ( s ) , k [ i ] 2 ] , Equation 4
where Re{ } returns the real part of the argument. The statistical expectations E[ ] in the numerator and denominator can be estimated, for example, via time-series averaging. The term slice ({circumflex over (b)}(s), k [i]) represents the symbol estimate {circumflex over (b)}(s), k [i] sliced (i.e., quantized) to the nearest constellation point from which the symbol b(s), k was drawn. This approach is applicable for symbols with known constellations. For example, it is typical for a receiver to know the symbol constellation for a user of interest, but it may not know which constellations are assigned to other users.
In this embodiment, the weights γ(s), k [i] are a function of a symbol estimate's {circumflex over (b)}(s), k [i] proximity to a given constellation point. Thus, a symbol estimate {circumflex over (b)}(s), k [i] that is close to a constellation point is provided with a large weight indicative of a high confidence measure in the symbol estimate's accuracy. For example, if the value {circumflex over (b)}(s), k [i] is a hard-decision estimate of b(s), k (i.e., it is quantized to the nearest constellation point), then its associated weight is γ(s), k [i]=1 which indicates a high degree of confidence in the symbol estimate.
In some embodiments, both Equation 3 and Equation 4 may be used in a receiver to calculate soft weights. Some embodiments of the invention may provide for subset selection to force one or more of the weights to zero. Such embodiments may be expressed as adaptations to Equation 3 and/or Equation 4 expressed by
γ(s),k [i]=0 for some subset of the users.  Equation 5
Forcing the weights of some users to zero effectively restricts which user signals are employed for interference cancellation. Some embodiments may provide for canceling only a predetermined number P of strongest users (e.g., users having the largest weight values). The number P may be fixed for all iterations, or it may vary with respect to iteration. In some embodiments, the number P may range from zero (i.e., no interference cancellation) to
K s = 0 B - 1 K ( s )
(i.e., interference of all users cancelled). In some embodiments, the weights of user signals transmitted from at least one weakest base station are set to zero.
FIG. 5A is a block diagram of a synthesizing module (such as the synthesizing module 302) in which the constituent signals are associated with each Rake finger. Each of a plurality B of synthesizing modules 501-503 is assigned to one of a plurality B of base stations. A block diagram for an exemplary synthesizing module 502 corresponding to a base station (s) depicts details that are common to all of the synthesizing modules 501-503.
Weighted symbol estimates γ(s), k [i]{circumflex over (b)}(s), k are modulated 510-511 onto corresponding code waveforms u(s), k (t) to produce a plurality K(s) of coded waveforms, which are combined in combining module 512 to produce a synthesized transmission signal
k = 0 K ( s ) - 1 γ ( s ) , k [ i ] b ^ ( s ) , k [ i ] u ( s ) , k ( t )
. Channel emulation (including delaying the synthesized transmission 515-516 with channel gains α(s), l) is performed to produce constituent signals corresponding to each finger. A synthesized constituent signal for an lth finger of base station (s) is
y ~ ( s ) , l [ i ] α ( s ) , l k = 0 K ( s ) - 1 γ ( s ) , k [ i ] b ^ ( s ) , k [ i ] u ( s ) , k ( t - τ ( s ) , l ) Equation 6
When all of the finger constituents are summed, the result is
y ~ [ i ] ( t ) s = 0 B - 1 l = 0 L ( s ) - 1 y ~ ( s ) , l [ i ] ( t ) , Equation 7
which is an estimate of the signal that would be received at the mobile if the base stations were to transmit the weighted symbols.
FIG. 5B is a block diagram of a synthesizing module (such as the synthesizing module 302) in which the constituent signals are associated with each user in the system. Each synthesizing module 521-523 is configured to emulate multipath channels for all base stations. Synthesizing module 522 includes a block diagram that is indicative of the functionality of each of the synthesizing module 521-523
In synthesizing module 522, a plurality K(s) of modulators (such as modulator 531) modulates each weighted symbol γ(s), k [i]{circumflex over (b)}(s), k onto a corresponding code waveform u(s), k (t). Each modulated code waveform is processed by a bank of finger delay elements 532-533 and channel gain scaling elements 534-535 corresponding to the multipath channel of base station (s). The resulting emulated multipath components are combined in combining module 536 to produce an estimated received signal for a kth user of base station (s),
y ~ ( s ) , k [ i ] l = 0 L ( s ) - 1 α ( s ) , l γ ( s ) , k [ i ] b ^ ( s ) , k [ i ] u ( s ) , k ( t - τ ( s ) , l ) . Equation 8
The subscript k on the left-hand side denotes that the constituent signal is for a user k, whereas the subscript l on the left-hand side of Equation 6 represents that the constituent signal is for a finger l. The sum of the user constituent signals produces a synthesized received signal
y ~ [ i ] ( t ) s = 0 B - 1 k = 0 K ( s ) - 1 y ~ ( s ) , k [ i ] ( t ) . Equation 9
The left-hand sides of Equation 7 and Equation 9 are the same signal, whereas the right-hand sides are simply two different decompositions.
FIG. 6A shows a cancellation module 601 (such as the canceller 303 in FIG. 3) configured to perform interference cancellation 610 on constituent signals, followed by Rake processing and despreading 611 in a Rake-based receiver. FIG. 6B shows a cancellation module 602 configured to synthesize 621 a received signal from constituent components, followed by Rake processing and despreading 622, and interference cancellation 623.
FIG. 7 is a block diagram of an interference canceller comprising a plurality B of cancellers 701-703 configured to perform interference cancellation on a plurality J of constituent signals for each of a plurality B of base stations. Since the constituents signals may be either fingers or users, index jε{0, 1, . . . , J(s)−1} is expressed by
J ( s ) = { L ( s ) for finger constituents K ( s ) for user condtituents .
Canceller 702 includes a block diagram that represents the functionality of each of the cancellers 701-703. The constituent signals corresponding to each base station are summed in a combining module 711 to produce a synthesized received signal,
y ~ ( s ) [ i ] j = 0 J ( s ) - 1 y ~ ( s ) , j [ i ] ,
where {tilde over (γ)}(s), j [i] is a jth constituent signal (either finger or user) for base station (s) A plurality of B of these sums corresponding to different base stations are combined in combining module 721 to produce a synthesized receive signal
y ~ [ i ] ( t ) = s = 0 B - 1 y ~ ( s ) [ i ] ( t ) .
The synthesized receive signal is subtracted from the actual received signal in a subtraction module 722 to produce a residual signal y(t)−{tilde over (γ)}[i](t). A stabilizing step size module 723 scales the residual signal by a complex stabilizing step size μ[i] to produce a scaled residual signal μ[i](y(t)−{tilde over (y)}[i](t)). The scaled residual signal is combined with the constituent signals {tilde over (y)}(s), j [i] in combining modules 712-714 to produce a set of interference-cancelled constituents represented by
z (s),j [i](t)≡{tilde over (y)} (s),j [i](t)+μ[i](y(t)−{tilde over (y)} [i](t)),  Equation 10
where z(s), j [i](t) is an interference-cancelled jth constituent signal for base stations (s).
In an alternative embodiment, cancellation may be performed with only a subset of the constituent channels. In each base station, only those constituent signals being used for cancellation may be used to synthesize the estimated receive signal for base station (s). Thus, {tilde over (y)}(s) [i] becomes
y ~ ( s ) [ i ] j J ( s ) y ~ ( s ) , j [ i ]
where J(s) {0, 1, . . . , J(s)−1} are indices of the subset of constituent signals to be employed in cancellation. Embodiments of the invention may be configured for applications in which hardware limitations restrict the number of finger signals or user signals that can be used for interference cancellation (e.g., only the strongest constituents are used).
The interference-cancelled signals produced by the canceller shown in FIG. 7 may be processed by a Rake despreader shown in FIG. 8A, which is configured for processing finger inputs. Specifically, finger signals associated with each base station are input to corresponding fingers of a Rake despreading module tuned to that base station. A Rake despreading module 802 tuned to an Sth base station comprises a block diagram indicating the functionality of a plurality B of Rake despreading modules 801-803.
Interference cancelled signals z(s), l [i](t) are time-advanced 810-811 by an amount τ(s), l. A maximal ratio combining module scales 812-813 each time-advanced a signal z(s), l [i](t+τ(s), l) by α(s), l*/∥α (s)∥ and combines 814 the time-advanced signals for each base station. A resolving module comprising multipliers 815-816 and integrators 817-818 resolves each combined signal
1 α _ ( s ) l = 0 L ( s ) - 1 α ( s ) , l * z ( s ) , l [ i ] ( t + τ ( s ) , l )
onto code waveforms associated with base station (s) via correlative despreading. The resulting quantity for a kth user of base station (s) is denoted by
b ~ ( s ) , k [ i ] = 1 α _ ( s ) 2 0 T u ( s ) , k * ( t ) l = 0 L ( s ) - 1 α ( s ) , l * z ( s ) , l [ i ] ( t + τ ( s ) , l ) . Equation 11
FIG. 8B is a block diagram of a Rake despreader configured for processing interference-cancelled signals relating to user inputs. In this case, the input constituent signals are user signals. A Rake despreading module 822 tuned to an Sth base station comprises a block diagram indicating functional details that are common to a plurality B of Rake despreading modules 821-823.
Interference cancelled signals z(s), k [i](t) corresponding to a kth user and sth base station are processed by a plurality L(s) of time-advance modules 831-832 corresponding to the multipath channel for the sth base station. The resulting time-advanced signals
{ z ( s ) , k [ i ] ( t + τ ( s ) , l ) } l = 0 L ( s ) - 1
are weighted by a plurality of weighting modules 833-834, and the weighted signals are combined in combiner 835. A resolving module comprising multiplier 836 and integrator 837 resolves the combined signal onto the kth user's code waveform to give
b ~ ( s ) , k [ i ] = 1 α _ ( s ) 2 0 T u ( s ) , k * ( t ) l = 0 L ( s ) - 1 α ( s ) , l * z ( s ) , l [ i ] ( t + τ ( s ) , l ) . Equation 12
The values {tilde over (b)}(s), k [i] shown in Equation 11 and Equation 12 are generally not the same value, since the value of {tilde over (b)}(s), k [i] in Equation 11 is produced by cancellation employing finger constituents, whereas {tilde over (b)}(s), k [i] expressed by Equation 12 is produced by cancellation employing user constituents.
FIG. 9A is a block diagram of a Rake despreader, such as Rake despreaders 611 and 622 shown in FIGS. 6A and 6B, respectively. The Rake despreader comprises a plurality B of Rake despreading modules 901-903, each configured to process constituent signals from one of a plurality B of base stations. An exemplary Rake despreader module 902 is a block diagram illustrating functionality of each of the Rake despreader modules 901-903.
Input constituent signals {tilde over (y)}(s), j [i](t) for all values of j are subtracted 911 from the received signal y(t) to produce a difference signal, or error signal, representing the difference between the received signal and the synthesized estimates of signals received by the base stations. For base station (s), the difference signal is y(t)−{tilde over (y)}(s) [i](t), where
y ~ ( s ) [ i ] ( t ) j = 0 J ( s ) - 1 y ~ ( s ) , j [ i ] ( t ) .
The difference signal for base station (s) is processed by a parallel bank of time advance modules 912-913 associated with the multipath channel for that base station, followed by maximal-ratio combining. In this embodiment, a maximal-ratio combining module is configured to perform weighting 914-915 and combining 916. A resolving module comprising multipliers 917-918 and integrators 919-920 resolves the resulting combined signals onto code waveforms of the base station's users to give the difference signal vector, or error signal vector, q(s), k−{tilde over (q)}(s), k [i], where
q ~ ( s ) , k [ i ] = 1 a _ ( s ) 2 0 T u ( s ) , k ( t ) l = 0 L ( s ) - 1 α ( s ) , l * z ( s ) , l [ i ] ( t + τ ( s ) , l ) Equation 13
and z(s) [i](t) was defined in Equation 10.
Rake despreading, such as described with respect to the exemplary Rake despreading module 902, may also be accomplished explicitly by employing matrix multiplication to synthesize constituent signals of the received signal, such as represented by block 931 shown in FIG. 9B.
A diagonal soft-weighting matrix may be defined as
Γ [ i ] = diag ( γ ( 0 ) , 0 [ i ] , , γ ( 0 ) , K ( 0 ) - 1 [ i ] γ ( B - 1 ) , 0 [ i ] , , γ ( B - 1 ) , K ( B - 1 ) - 1 [ i ] ) Equation 14
in which all of the users' soft weights are ordered first by base station and then by users within a base station. The same indexing may also be used to express the column vector of symbol estimates input to an ith ICU as
b _ ^ [ i ] = [ b ^ ( 0 ) , 0 [ i ] , , b ^ ( 0 ) , K ( 0 ) - 1 [ i ] b ^ ( B - 1 ) , 0 [ i ] , , b ^ ( B - 1 ) , K ( B - 1 ) - 1 [ i ] ] T . Equation 15
The weighted symbol estimates are expressed as Γ[i] b [i], and the outputs of the Rake despreading modules 901-903 are expressed by the difference equation,
q _ - q ~ _ [ i ] = q _ - R Γ [ i ] b _ [ i ] , Equation 16 where , q _ = [ q ( 0 ) , 0 , , q ( 0 ) , K ( 0 ) - 1 q ( B - 1 ) , 0 , , q ( B - 1 ) , K ( B - 1 ) - 1 ] T Equation 17 q ~ _ [ i ] = [ q ~ ( 0 ) , 0 [ i ] , , q ~ ( 0 ) , K ( 0 ) - 1 [ i ] q ~ ( B - 1 ) , 0 [ i ] , , q ~ ( B - 1 ) , K ( B - 1 ) - 1 [ i ] ] T . Equation 18
The values of q [i] represent the despread signals, such as described with respect to FIG. 2. The values of {tilde over (q)} [i] are represented by Equation 13, and R is a square matrix whose elements are correlations between the users' received code waveforms. In FIG. 9B, the functionality expressed by Equation 16 is implemented via the matrix-multiplication block 931 and a subtraction module 932. A global index
κ { 0 , 1 , , K - 1 } with K s = 0 B - 1 K ( s )
is employed for ordering users (first by base station, and then by users within a base station) described with respect to Equation 14. Thus, κ=0 corresponds to a first user (denoted by index zero) of a first base station (denoted by an index zero), and κ=K corresponds to a last user (denoted by index K(B-1)−1) of a last base station (denoted by index (B−1)). If a user κ is a member of base station (s) and a user κ′ is a member of base station (s′), then the (κ, κ′) element of matrix R may be expressed by
R κκ = 1 α _ ( s ) α _ ( s ) l = 0 L ( s ) - 1 α ( s ) , l u κ ( t - τ ( s ) , l ) l = 0 L ( s ) - 1 α ( s ) l * u κ * ( t - τ ( s ) l ) t . Equation 19
Thus, the elements of R can be built at the receiver with estimates of the path gains, path delays, and knowledge of the users' code waveforms.
FIG. 10 is a block diagram of an interference canceller, such as the interference-cancellation block 623 shown in FIG. 6. The difference signal q(s), k−{tilde over (q)}(s), k [i] is scaled with a stabilizing step size μ(i) by a stabilizing step size module 1001, which may include a calculation module (not shown) configured to calculate a stabilizing step size having a magnitude that is a function of proximity of input symbol decisions to a desired interference-cancelled symbol decision. The resulting scaled difference signal is summed 1003 with a product 1002 of the weighted symbol estimates Γ[i] {circumflex over (b)} [i] and a K×K implementation matrix F to yield Equation 20
{tilde over (b)} [i+1] =FΓ [i] {circumflex over (b)} [i][i]( q{tilde over (q)} [i]).  Equation 20
The choice of F allows interference cancellation after despreading to mimic interference cancellation prior to despreading for either user constituents or finger constituents. For user constituents, F=I. For finger constituents, F is a block-diagonal matrix with a plurality B of diagonal blocks, wherein an sth diagonal block is a K(s)×K(s) block representing the users' transmit correlation matrix for base station (s). The (k, k′) element of the sth diagonal block (denoted by F(s)(s)) is equal to Equation 21
(F (s)(s))kk′ =∫u (s),k(t)u (s),k′*(t)dt.  Equation 21
The stabilizing step size μ[i] may be used to enhance interference cancellation in each ICU and/or stabilize iterative interference cancellation. A quality metric of a canceller's output {tilde over (b)} [i+1] may be derived as follows. If it is known (or approximated) that the additive noise w(t) in Equation 1 is Gaussian, then the despread outputs q, conditional on the transmitted symbols
b _ = [ b ( 0 ) , 0 , , b ( 0 ) , K ( 0 ) - 1 b ( B - 1 ) , 0 , , b ( B - 1 ) , K ( B - 1 ) - 1 ] T , Equation 22
are jointly complex normal random variables with mean Rb and covariance Γ[i]R (i.e., q|b is distributed as CN(Rb; R)). If it is approximated that q|{tilde over (b)} [i+1] is distributed as CN(R{tilde over (b)} [i+1]; R), where {tilde over (b)} [i+1] and its dependence on μ[i] are given by Equation 20, then the value of μ[i] that fives the maximum-likelihood soft estimate for {tilde over (b)} [i+1] is
μ [ i ] = ( q _ - RF Γ [ i ] b ^ _ [ i ] ) H ( q _ - R Γ [ i ] b ^ _ [ i ] ) ( q _ - R Γ [ i ] b ^ _ [ i ] ) H R ( q _ - R Γ [ i ] b ^ _ [ i ] ) . Equation 23
Alternatively, the value of μ[i] that gives the maximum-likelihood soft estimate for Γ[i] {tilde over (b)} [i+1] is
μ [ i ] = ( q _ - R Γ [ i ] F Γ [ i ] b ^ _ [ i ] ) H Γ [ i ] ( q _ - R Γ [ i ] b ^ _ [ i ] ) ( q _ - R Γ [ i ] b ^ _ [ i ] ) H ( Γ [ i ] ) H R Γ [ i ] ( q _ - R Γ [ i ] b ^ _ [ i ] ) . Equation 24
Different formulations of the step-size may be used within the same IIC. For example, a step size based on Equation 23 may be used in a sequence of ICUs and Equation 24 may be used in the last ICU of the sequence. The Equations 23 and 24 may be adapted for cases in which there is no soft weighting (i.e., when Γ[i]=I). Similarly step-size equations may be adapted when constituent user signals are employed (i.e., F=I). Furthermore, Equation 23 and Equation 24 may be determined implicitly whenever F=I, or when F is approximated as I. Since F contains the users' correlation matrices at the transmitter for each base station as its block diagonal, it will approximately equal identity, as the users' code waveforms are typically designed to be mutually orthogonal (or quasi-orthogonal for the reverse link). Any non-orthogonality is due to the finite duration of the pulse-shaping filters that approximate their infinite duration theoretical counterparts. In this case, Equation 23 becomes
μ [ i ] = ( q _ - R Γ [ i ] b ^ _ [ i ] ) H ( q _ - R Γ [ i ] b ^ _ [ i ] ) ( q _ - R Γ [ i ] b ^ _ [ i ] ) H R ( q _ - R Γ [ i ] b ^ _ [ i ] ) . Equation 25
FIG. 11 A illustrates a method and apparatus for calculating a stabilizing step size. A Rake receiver 1100 comprises a first Rake, maximal ratio combining, and despreading unit 1101 to process a received signal y(t) for producing an output despread signal vector q. A second Rake, maximal ratio combiner, and despreader unit 1102 processes a synthesized receive signal with weighted symbol estimates corresponding to an ith iteration, and represented by
y ~ [ i ] ( t ) = s = 0 B - 1 l = 0 L ( s ) - 1 α ( s ) , l k = 0 K ( s ) - 1 γ ( s ) , k [ i ] b ^ ( s ) , k [ i ] u ( s ) , k ( t - τ ( s ) , l ) ,
to produce an estimated received signal RΓ[i] {circumflex over (b)} [i]. A combiner 1103 calculates the difference between the outputs of 1101 and 1102 to produce a difference signal, or error signal, β [i]q−RΓ[i] {circumflex over (b)} [i], whose elements are indexed first by base station, and then by users within a base station,
β _ [ i ] = [ β ( 0 ) , 0 [ i ] , , β ( 0 ) , K ( 0 ) - 1 [ i ] β ( B - 1 ) , 0 [ i ] , , β ( B - 1 ) , K ( B - 1 ) - 1 [ i ] ] T .
Alternatively, since the operations used to produce β [i] are linear, a difference signal y(t)−{tilde over (y)}(s) [i](t) may be produced prior to despreading, such as shown by block 1110 in FIG. 11B.
The norm-square of β [i] i.e., ∥β [i]2) is evaluated 1104 to generate the numerator in Equation 25. The elements of β [i] are processed 1105 to produce a synthesized received signal
s = 0 B - 1 l = 0 L - 1 α ( s ) , l k = 0 K - 1 β ( s ) , k [ i ] u ( s ) , k ( t - τ ( s ) , l ) ,
and the norm square of this signal is calculated 1106 to produce the denominator of Equation 25.
FIG. 11 C is a block diagram of a method and apparatus for implicitly calculating a stabilizing step size for the special case of F=I. In this case, Equation 24 becomes
μ [ i ] = ( q _ - R ( Γ [ i ] ) 2 b ^ _ [ i ] ) H Γ [ i ] ( q _ - R Γ [ i ] b ^ _ [ i ] ) ( q _ - R Γ [ i ] b ^ _ [ i ] ) H ( Γ [ i ] ) H R Γ [ i ] ( q _ - R Γ [ i ] b ^ _ [ i ] ) , Equation 26
The signal β [i] is generated by a Rake, maximal ratio combining, and despreading unit 1120 and multiplied 1121 by Γ[i] to produce vector Γ[i] β [i]. A synthesis module 1122 processes the vector Γ[i] β [i] to produce a synthesized receive vector, which is norm-squared 1123 to produce the denominator of Equation 26.
A synthesized received signal is generated 1124 from the vector (Γ[i])2 β [i] and processed with received signal y(t) by an adder 1125 to produce a difference signal. A Rake/combiner/despreader 1126 processes the difference signal to generate the vector q−R(Γ[i])2 {circumflex over (b)} [i]. The inner product 1127 between this vector and the vector Γ[i] β [i] gives the numerator of Equation 26.
In an alternative embodiment, the stabilizing step size may be derived from the multi path channel gains,
μ [ i ] = μ = max { C , ( α ( s ) , l p ( s ) , l max s = 0 B - 1 l = 0 L ( s ) , - 1 α ( s ) , l p ) r } , Equation 27
where μ[i] is fixed for every ICU and C, p and r are non-negative constants. FIG. 12 is a block diagram of a symbol-estimation block comprising a plurality B of mixed-decision modules 1201-1203 configured to process signals received from B base stations. Mixed-decision module 1202 shows functionality that is common to all of the mixed-decision modules 1201-1203. De-biasing modules 1210-1211 scale each of a plurality K(s) of input symbol estimates {tilde over (b)}(s), k [i+1] with non-negative de-biasing comtant d(s), k [i] for producing de-biased input symbol estimates. The mixed-decision module 1202 includes symbol-estimation modules 1212-1213 configured to perform symbol estimation on de-biased input symbol estimates whose constellations are known at the receiver.
The de-biasing constant may be expressed by
d ( s ) , k [ i ] = E [ b ( s ) , k ] / E b ~ ( s ) , k [ i + 1 ] Equation 28 d ( s ) , k [ i ] = E [ b ( s ) , k 2 ] / E b ~ ( s ) , k [ i + 1 ] 2 Equation 29
d (s),k [i]=1 if the symbol constellation is unknown  Equation 30
where the statistical expectations may be approximated by time-averaging. De-biasing helps mitigate the “ping-pong” phenomenon often associated with iterative interference cancellation in which the symbol error rate oscillates with respect to iterations. After de-biasing, each value s(s), k [i]{tilde over (b)}(s), k [i+1] is operated on by a map Ψ(s), k that takes the input into the complex plane to yield the updated symbol estimate
b ~ ( s ) , k [ i + 1 ] = Ψ ( s ) , k ( d ( s ) , k [ i ] b ~ ( s ) , k [ i + 1 ] ) . Equation 31
The map Ψ(s), k may be a mixed-decision map, which is a combination of soft and hard decisions. A soft-decision map is provided by a function Ψ(s), k(x) that is a continuous function whose output ranges over the complex plane. Common examples, include, but are not limited to,
Ψ ( s ) , k soft ( x ) = { c ( s ) , k x or c ( s ) , k ( tanh ( a ( s ) , k Re { x } + - 1 tanh ( a ( s ) , k Im { x } ) ) Equation 32
for positive real-valued constants a(s), k and c(s), k. The expression Re{●} returns the real part of its argument, and Im{●} returns the imaginary part of its argument. A hard decision map is provided when Ψ(s), k(x) slices the input so that the output is an element from the complex symbol constellation employed by the kth user of base station (s),
Ψ(s),k hard(x)=slice(x).  Equation 33
The slicer quantizes its argument x to the nearest constellation symbol according to some metric (e.g., Euclidean distance), A hard decision is applicable only to those symbols whose constellations are known to the receiver.
A mixed-decision map Ψ(s), k mixed(x) produces an output that is a soft decision or a hard decision, such as
Ψ ( s ) , k mixed ( x ) = { Ψ ( s ) , k hard ( x ) if SIN R ( s ) , k > c ( s ) , k Ψ ( s ) , k soft ( x ) otherwise Equation 34
The mixed-decision map Ψ(s), k mixed(x) produces a hard decision if the SINR of a kth user of base station (s) exceeds a threshold c(s), k. Otherwise, a soft decision is performed. The SINR may be estimated with a time-averaged error-vector measurement (EVM). Time averaging may cause a block of symbols to share the same SINR estimate.
An alternative mixed-decision map Ψ(s), k mixed(x) may act on individual symbols,
Ψ ( s ) , k mixed ( x ) = { Ψ ( s ) , k hard ( x ) if x C ( s ) , k ( slice ( x ) ) Ψ ( s ) , k soft ( x ) otherwise , Equation 35
where the constellation space for the symbol of a kth user of base station (s) is partitioned into hard- and soft-decision regions with C(s), k(b) denoting the hard-decision region for a symbol b from that user's constellation. If xεC(s), k(b), then a hard decision for x is made. One embodiment for defining C(s), k(b) is to include all points within a predetermined distance of b in the constellation space,
C (s),k(b)={x:distance(x,b)<c (s),k(b)},  Equation 36
where any distance metric may be used (e.g., |x−b|p for some p>0) and the radii c(s), k(b) over the set of constellation points b are chosen such that the hard-decision regions are non-overlapping. Alternative embodiments of the invention may employ different partitions of the constellation space. For example, edge constellation points may be given unbounded hard-decision regions.
Both the average SINR and instantaneous approaches are applicable to any known constellation; they need not be restricted to BPSK, QPSK, or even QAM. Either of these mixed-decision approaches may be performed with the additional constraint that the receiver knows only the constellation employed for a subset of the active codes. Such situations may arise in EV-DO and HSDPA networks. In such cases, the receiver may use soft decisions for codes employing an unknown modulation. Those skilled in the art will understand that a modulation classification of these codes may be performed, which may be particularly useful in systems wherein all interfering codes share the same unknown constellation.
The following algorithm, which is illustrated in FIG. 13, demonstrates one embodiment for performing IIC.
Purpose : Estimate the K = s = 0 B - 1 K ( s ) symbols in b ^ _ . Algorithm 1
Notation:
The iteration index is represented by a superscript [i]; i=1 is the initialization; i=0 corresponds to the output of the front-end processor; and i>0 corresponds to the i-th ICU.
DEFINITIONS
    • b in Equation 22
    • {circumflex over (b)} [i] is in Equation 31
    • q is in Equation 17
    • R is in Equation 19
    • F is I or as in Equation 21
    • Γ[i] is in Equation 14 with elements defined in Equation 3-Equation 5
    • μ[i] is defined in Equation 23-Equation 27
    • Ψ maps each argument to a complex number to implement de-biasing as in Equation 28-Equation 30 and then symbol estimation as in Equation 32-Equation 36
      Initializations:
{circumflex over (b)} [−1]=0, a K×1 zero vector
Iterations:
Index i=1, 0, 1, . . . , M−1, where M is the number of times to iterate the succeeding update equation
Update Equation: {circumflex over (b)} [i−1]=Ψ{μ[i]( q−RΓ [i]{circumflex over (b)} [i])+ [i] {circumflex over (b)} [i]}
Output:
{circumflex over (b)}={circumflex over (b)} [M], the symbol estimates after M iterations of the update equation.
FIG. 13 shows an internal feedback loop comprising operations 1308, 1301, 1302, 1306, and an external feedback loop comprising operations 1308, 1301, 1303, and 1304. The output of the external feedback loop {acute over (q)}−RΓ[i] {circumflex over (b)} [i], which is multiplicatively scaled 1305 by μ[i]. The scaled output is combined 1306 with the internal feedback loop to yield (q−RΓ[i] {circumflex over (b)} [i])+FΓ[i] {circumflex over (b)} [i], which is processed by a symbol estimator 1307 and fed to the iteration delay 1308 that begins the internal and external loops.
Although embodiments of the invention are described with respect to forward-link channels, embodiments may be configured to operate in reverse-link channels. In the reverse link, different users' transmissions experience different multipath channels, which requires appropriate modifications to Rake processing and signal synthesis. For example, a front-end processor may incorporate one Rake for every user in every base station rather than a single Rake per base station. Similarly, a separate multipath channel emulator may be employed for imparting multipath delays and gains to each user's signal. Accordingly, the number of constituent finger signals will equal the sum over the number of multipath fingers per user per base station, rather than the sum over the number of multipath fingers per base station.
It is clear that this algorithm may be realized in hardware or software and there are several modifications that can be made to the order of operations and structural flow of the processing.
Those skilled in the art should recognize that method and apparatus embodiments described herein may be implemented in a variety of ways, including implementations in hardware, software, firmware, or various combinations thereof. Examples of such hardware may include Application Specific Integrated Circuits (ASICs), Field Programmable Gate Arrays (FPGAs), general-purpose processors, Digital Signal Processors (DSPs), and/or other circuitry. Software and/or firmware implementations of the invention may be implemented via any combination of programming languages, including Java, C, C++, Matlab™, Verilog, VHDL, and/or processor specific machine and assembly languages.
Computer programs (i.e., software and/or firmware) implementing the method of this invention may be distributed to users on a distribution medium such as a SIM card, a USB memory interface, or other computer-readable memory adapted for interfacing with a consumer wireless terminal. Similarly, computer programs may be distributed to users via wired or wireless network interfaces. From there, they will often be copied to a hard disk or a similar intermediate storage medium. When the programs are to be run, they may be loaded either from their distribution medium or their intermediate storage medium into the execution memory of a wireless terminal, configuring an onboard digital computer system (e.g., a microprocessor) to act in accordance with the method of this invention. All these operations are well known to those skilled in the art of computer systems.
The functions of the various elements shown in the drawings, including functional blocks labeled as “modules” may be provided through the use of dedicated hardware, as well as hardware capable of executing software in association with appropriate software. When provided by a processor, the functions may be performed by a single dedicated processor, by a shared processor, or by a plurality of individual processors, some of which may be shared. Moreover, explicit use of the term “processor” or “module” should not be construed to refer exclusively to hardware capable of executing software, and may implicitly include, without limitation, digital signal processor DSP hardware, read-only memory (ROM) for storing software, random access memory (RAM), and non-volatile storage. Other hardware, conventional and/or custom, may also be included. Similarly, the function of any component or device described herein may be carried out through the operation of program logic, through dedicated logic, through the interaction of program control and dedicated logic, or even manually, the particular technique being selectable by the implementer as more specifically understood from the context.
The method and system embodiments described herein merely illustrate particular embodiments of the invention. It should be appreciated that those skilled in the art will be able to devise various arrangements, which, although not explicitly described or shown herein, embody the principles of the invention and are included within its spirit and scope. Furthermore, all examples and conditional language recited herein are intended to be only for pedagogical purposes to aid the reader in understanding the principles of the invention. This disclosure and its associated references are to be construed as applying without limitation to such specifically recited examples and conditions. Moreover, all statements herein reciting principles, aspects, and embodiments of the invention, as well as specific examples thereof, are intended to encompass both structural and functional equivalents thereof. Additionally, it is intended that such equivalents include both currently known equivalents as well as equivalents developed in the future, i.e., any elements developed that perform the same function, regardless of structure.

Claims (20)

We claim:
1. An interference suppression method, comprising:
receiving a plurality of constituent signals;
combining the plurality of constituent signals to produce a synthesized received signal;
subtracting the synthesized received signal from a received signal to produce a residual signal; and
scaling the residual signal by a stabilizing step size to produce a scaled residual signal.
2. The method of claim 1, further comprising combining the scaled residual signal with the plurality of constituent signals to form a plurality of interference-suppressed constituent signals.
3. The method of claim 1, further comprising combining the scaled residual signal with a subset of the plurality of constituent signals to form at least one interference-suppressed constituent signal.
4. The method of claim 2, further comprising:
time-advancing at least one of the plurality of interference-suppressed constituent signals to produce at least one time-advanced signal;
weighting the at least one time-advanced signal; and
combining the time-advanced signals corresponding to a first user to produce a first combined user signal.
5. The method of claim 1, further comprising generating, by a Rake receiver, the plurality of constituent signals from the received signal.
6. The method of claim 1, further comprising advancing the received signal by a plurality of multipath-delay quantities to produce the plurality of constituent signals.
7. The method of claim 6, further comprising scaling the plurality of advanced signals by corresponding path gains prior to said combining.
8. The method of claim 1, further comprising multiplying the synthesized received signal by complex conjugates of a plurality of users' coded waveforms and integrating the resultant products to despread the synthesized received signal.
9. A non-transitory computer-readable storage medium, comprising a plurality of instructions, that in response to being executed, cause a receiver to:
combine a plurality of constituent signals for a received multiple-access communications signal to produce a synthesized received signal;
subtract the synthesized received signal from the received multiple-access communications signal to produce a residual signal; and
scale the residual signal by a stabilizing step size to produce a scaled residual signal.
10. The non-transitory computer-readable storage medium of claim 9, wherein the plurality of instructions in response to being executed, further cause the receiver to combine the scaled residual signal with the plurality of constituent signals to form a plurality of interference-suppressed constituent signals.
11. The non-transitory computer-readable storage medium of claim 9, wherein the plurality of instructions in response to being executed, further cause the receiver to combine the scaled residual signal with a subset of the plurality of constituent signals to form at least one interference-suppressed constituent signal.
12. The non-transitory computer-readable storage medium of claim 9, wherein the plurality of instructions in response to being executed, further cause the receiver to:
time-advance at least one of the plurality of interference-suppressed constituent signals to produce at least one time-advanced signal;
weight the at least one time-advanced signal; and
combine the time-advanced signals corresponding to a first user to produce a first combined user signal.
13. The non-transitory computer-readable storage medium of claim 9, wherein the plurality of instructions in response to being executed, further cause the receiver to advance the received multiple-access communications signal by a plurality of multipath-delay quantities to produce the plurality of constituent signals.
14. The non-transitory computer-readable storage medium of claim 13, wherein the plurality of instructions in response to being executed, further cause the receiver to scale the plurality of advanced signals by corresponding path gains prior to combining the plurality of constituent signals.
15. The non-transitory computer-readable storage medium of claim 9, wherein the plurality of instructions in response to being executed, further cause the receiver to multiply the synthesized received signal by complex conjugates of a plurality of users' coded waveforms and integrating the resultant products to despread the synthesized received signal.
16. A receiver, comprising:
a front-end configured to receive a signal and generate a plurality of constituent signals for the received signal; and
an interference suppressor configured to:
receive the plurality of constituent signals;
combine the plurality of constituent signals to produce a synthesized received signal;
subtract the synthesized received signal from the received signal to produce a residual signal; and
scale the residual signal by a stabilizing step size to produce a scaled residual signal.
17. The receiver of claim 16, wherein the interface suppressor is further configured to combine the scaled residual signal with the plurality of constituent signals to form a plurality of interference-suppressed constituent signals.
18. The receiver of claim 17, wherein the interface suppressor is further configured to:
time-advance at least one of the plurality of interference-suppressed constituent signals to produce at least one time-advanced signal;
weight the at least one time-advanced signal; and
combine the time-advanced signals corresponding to a first user to produce a first combined user signal.
19. The receiver of claim 16, wherein the front end comprises a Rake receiver configured to generate the plurality of constituent signals.
20. The receiver of claim 19, wherein the Rake receiver is further configured to produce the plurality of constituent signals by:
advancing the received signal by a plurality of multipath-delay quantities to obtain a plurality of advance signals; and
scaling the plurality of advanced signals by corresponding path gains to obtain the plurality of constituent signals.
US13/913,225 2005-04-07 2013-06-07 Iterative interference suppression using mixed feedback weights and stabilizing step sizes Active US9270325B2 (en)

Priority Applications (1)

Application Number Priority Date Filing Date Title
US13/913,225 US9270325B2 (en) 2005-04-07 2013-06-07 Iterative interference suppression using mixed feedback weights and stabilizing step sizes

Applications Claiming Priority (8)

Application Number Priority Date Filing Date Title
US11/100,935 US20050180364A1 (en) 2002-09-20 2005-04-07 Construction of projection operators for interference cancellation
US11/233,636 US8761321B2 (en) 2005-04-07 2005-09-23 Optimal feedback weighting for soft-decision cancellers
US11/266,928 US7876810B2 (en) 2005-04-07 2005-11-04 Soft weighted interference cancellation for CDMA systems
US73620405P 2005-11-15 2005-11-15
US11/452,027 US7715508B2 (en) 2005-11-15 2006-06-13 Iterative interference cancellation using mixed feedback weights and stabilizing step sizes
US12/731,915 US8300745B2 (en) 2005-11-15 2010-03-25 Iterative interference cancellation using mixed feedback weights and stabilizing step sizes
US13/095,828 US8462901B2 (en) 2005-11-15 2011-04-27 Iterative interference suppression using mixed feedback weights and stabilizing step sizes
US13/913,225 US9270325B2 (en) 2005-04-07 2013-06-07 Iterative interference suppression using mixed feedback weights and stabilizing step sizes

Related Parent Applications (1)

Application Number Title Priority Date Filing Date
US13/095,828 Continuation US8462901B2 (en) 2005-04-07 2011-04-27 Iterative interference suppression using mixed feedback weights and stabilizing step sizes

Publications (2)

Publication Number Publication Date
US20130343498A1 US20130343498A1 (en) 2013-12-26
US9270325B2 true US9270325B2 (en) 2016-02-23

Family

ID=42667076

Family Applications (4)

Application Number Title Priority Date Filing Date
US11/452,027 Active 2028-11-27 US7715508B2 (en) 2002-09-23 2006-06-13 Iterative interference cancellation using mixed feedback weights and stabilizing step sizes
US12/731,915 Active 2027-02-14 US8300745B2 (en) 2005-04-07 2010-03-25 Iterative interference cancellation using mixed feedback weights and stabilizing step sizes
US13/095,828 Expired - Fee Related US8462901B2 (en) 2005-04-07 2011-04-27 Iterative interference suppression using mixed feedback weights and stabilizing step sizes
US13/913,225 Active US9270325B2 (en) 2005-04-07 2013-06-07 Iterative interference suppression using mixed feedback weights and stabilizing step sizes

Family Applications Before (3)

Application Number Title Priority Date Filing Date
US11/452,027 Active 2028-11-27 US7715508B2 (en) 2002-09-23 2006-06-13 Iterative interference cancellation using mixed feedback weights and stabilizing step sizes
US12/731,915 Active 2027-02-14 US8300745B2 (en) 2005-04-07 2010-03-25 Iterative interference cancellation using mixed feedback weights and stabilizing step sizes
US13/095,828 Expired - Fee Related US8462901B2 (en) 2005-04-07 2011-04-27 Iterative interference suppression using mixed feedback weights and stabilizing step sizes

Country Status (2)

Country Link
US (4) US7715508B2 (en)
WO (1) WO2007058752A1 (en)

Cited By (1)

* Cited by examiner, † Cited by third party
Publication number Priority date Publication date Assignee Title
US20160359522A1 (en) * 2005-04-07 2016-12-08 Iii Holdings 1, Llc Iterative interference suppressor for wireless multiple-access systems with multiple receive antennas

Families Citing this family (9)

* Cited by examiner, † Cited by third party
Publication number Priority date Publication date Assignee Title
US7808937B2 (en) * 2005-04-07 2010-10-05 Rambus, Inc. Variable interference cancellation technology for CDMA systems
US8155595B2 (en) * 2009-03-06 2012-04-10 Ntt Docomo, Inc. Method for iterative interference cancellation for co-channel multi-carrier and narrowband systems
DE102009017552B3 (en) * 2009-04-17 2010-09-30 Sew-Eurodrive Gmbh & Co. Kg Apparatus and method for contactless transmission of electrical power and information
US8428542B2 (en) * 2010-06-28 2013-04-23 Exelis, Inc. Adaptive cancellation of multi-path interferences
US8995498B2 (en) * 2010-10-18 2015-03-31 Qualcomm Incorporated Apparatus and method for two-stage linear/nonlinear interference cancellation
US9100231B2 (en) * 2011-11-04 2015-08-04 Qualcomm Incorporated Hybrid approach for physical downlink shared channel (PDSCH) interference cancellation
US9264316B2 (en) * 2011-11-28 2016-02-16 Telefonaktiebolaget L M Ericsson (Publ) Method and network node
US9042495B2 (en) * 2012-03-30 2015-05-26 Broadcom Corporation Convergence during interference suppression
JP6313730B2 (en) * 2015-04-10 2018-04-18 タタ コンサルタンシー サービシズ リミテッドTATA Consultancy Services Limited Anomaly detection system and method

Citations (137)

* Cited by examiner, † Cited by third party
Publication number Priority date Publication date Assignee Title
US5271042A (en) 1989-10-13 1993-12-14 Motorola, Inc. Soft decision decoding with channel equalization
US5349609A (en) * 1992-08-05 1994-09-20 Nec Corporation Adaptive interference cancellation and equalization using equalizer decision error as a common corrective factor
US5423045A (en) 1992-04-15 1995-06-06 International Business Machines Corporation System for distributed power management in portable computers
US5467368A (en) 1993-11-05 1995-11-14 Kokusai Denshin Denwa Kabushiki Kaisha Spread spectrum signal demodulator
US5553062A (en) 1993-04-22 1996-09-03 Interdigital Communication Corporation Spread spectrum CDMA interference canceler system and method
US5568411A (en) 1994-07-25 1996-10-22 National Semiconductor Corporation Method and apparatus for using polarity-coincidence correlators in LMS adaptive filters
US5606560A (en) 1994-09-23 1997-02-25 Motorola, Inc. Between a base station and a portable device
US5644592A (en) 1995-04-24 1997-07-01 California Institute Of Technology Parallel interference cancellation for CDMA applications
US5761237A (en) 1994-02-10 1998-06-02 International Business Machines Corporation Method and apparatus for multiuser-interference reduction
US6157685A (en) 1996-12-20 2000-12-05 Fujitsu Limited Interference canceller equipment and interference cancelling method for use in a multibeam-antenna communication system
US6161209A (en) 1997-03-28 2000-12-12 Her Majesty The Queen In Right Of Canada, As Represented By The Minister Of Industry Through The Communications Research Centre Joint detector for multiple coded digital signals
US6175588B1 (en) 1997-12-30 2001-01-16 Motorola, Inc. Communication device and method for interference suppression using adaptive equalization in a spread spectrum communication system
US6192067B1 (en) 1996-12-20 2001-02-20 Fujitsu Limited Multistage interference canceller
US6208683B1 (en) 1997-06-10 2001-03-27 Nec Corporation Receiving apparatus for use in CDMA type mobile radio communication system comprising a plurality of path receivers each including a follow-up path detection unit
US20010017883A1 (en) 1999-11-26 2001-08-30 Nokia Networks Oy Rake receiver
US6307901B1 (en) 2000-04-24 2001-10-23 Motorola, Inc. Turbo decoder with decision feedback equalization
US6320919B1 (en) 1998-11-30 2001-11-20 Ericsson Inc. Adaptive channel characterization using decoded symbols
WO2001089107A1 (en) 2000-05-19 2001-11-22 Systemonic Ag Method and assembly for the multi-stage parallel cancellation of interference in a cdma system
US20010053143A1 (en) 2000-05-22 2001-12-20 Ye Li MIMO OFDM system
US20020009156A1 (en) 1999-05-19 2002-01-24 Ari Hottinen Transmit diversity method and system
US6377611B1 (en) 1999-02-01 2002-04-23 Industrial Technology Research Institute Apparatus and method for a DSSS/CDMA receiver
US20020060999A1 (en) 2000-10-10 2002-05-23 Yugang Ma Multiple-user CDMA wireless communication system
US6404760B1 (en) 1999-07-19 2002-06-11 Qualcomm Incorporated CDMA multiple access interference cancellation using signal estimation
US6414949B1 (en) 1998-03-24 2002-07-02 Commissariat A L'energie Atomique CDMA receiver with parallel interference suppression and with weighting
US6426973B1 (en) 1999-04-29 2002-07-30 The Board Of Trustees Of The University Of Illinois Differential minimum mean squared error communication signal compensation method
US20020118781A1 (en) 2000-12-29 2002-08-29 Thomas Timothy A. Method and device for multiple input/multiple output transmit and receive weights for equal-rate data streams
US20020131534A1 (en) 2001-02-07 2002-09-19 Masayuki Ariyoshi System and method for multistage interference cancellation
US6466611B1 (en) 2001-02-07 2002-10-15 Motorola, Inc. Multi-user detection using a finite-impulse-response matrix filter
US20020154717A1 (en) 2000-12-19 2002-10-24 Telefonaktiebolaget Lm Ericsson (Publ) Weighting factor setting method for subtractive interference canceller, interference canceller unit using said weighting factor and interference canceller
US20020159507A1 (en) 2001-03-30 2002-10-31 Alexander Flaig Method and apparatus for regenerative based interference cancellation within a communication system
US6496534B1 (en) 1996-07-12 2002-12-17 Oki Electronic Industry Co., Ltd. CDMA receiver with weighted interference cancellation
US20030005009A1 (en) 2001-04-17 2003-01-02 Mohammad Usman Least-mean square system with adaptive step size
WO2002080432A3 (en) 2001-03-30 2003-01-03 Nokia Corp Successive user data multipath interference cancellation
US20030012264A1 (en) 2001-06-20 2003-01-16 Aris Papasakellariou Interference cancellation system and method
US6522683B1 (en) 2000-08-10 2003-02-18 Qualcomm, Incorporated Method and apparatus for adaptive linear equalization for walsh covered modulation
US20030035469A1 (en) 2001-08-20 2003-02-20 Frank Colin D. Linear minimun mean square error equalization with interference cancellation for mobile communication forward links utilizing orthogonal codes covered by long pseudorandom spreading codes
US6529495B1 (en) 1999-05-24 2003-03-04 Nokia Telecommunications, Oy Method and apparatus for providing differencing multistage detection in the reverse link of a code division multiple access communication system
US6535554B1 (en) 1998-11-17 2003-03-18 Harris Corporation PCS signal separation in a one dimensional channel
US6546043B1 (en) 2000-06-29 2003-04-08 Trw Inc. Method and apparatus for cancellation of multiple access interference in a code division multiple access (CDMA) communication system
US20030086479A1 (en) 2001-09-12 2003-05-08 Naguib Ayman F CDMA wireless systems
US20030095590A1 (en) 2001-11-16 2003-05-22 Fuller Arthur T. G. Symbol-directed weighting in parallel interference cancellation
US6570919B1 (en) 1999-07-30 2003-05-27 Agere Systems Inc. Iterative decoding of data packets employing decision feedback equalization
US6594618B1 (en) 2000-07-05 2003-07-15 Miriad Technologies System monitoring method
US6594318B1 (en) 1999-12-02 2003-07-15 Qualcomm Incorporated Method and apparatus for computing soft decision input metrics to a turbo decoder
US20030156630A1 (en) 2002-02-11 2003-08-21 Sundararajan Sriram Parallel interference cancellation device for multi-user CDMA systems
US6647078B1 (en) 2000-06-30 2003-11-11 Motorola, Inc. Method and device for multi-user frequency-domain channel estimation based on gradient optimization techniques
US20030210667A1 (en) 1998-10-26 2003-11-13 Qin Zhengdi Channel estimation in a cellular communication system
US6654618B2 (en) 1999-10-28 2003-11-25 Fujitsu Limited Variation compensating unit
US20030219085A1 (en) 2001-12-18 2003-11-27 Endres Thomas J. Self-initializing decision feedback equalizer with automatic gain control
US20040001537A1 (en) 2002-06-26 2004-01-01 Jianzhong Zhang Apparatus, and associated method, for performing joint equalization in a multiple-input, multiple-output communication system
US6678508B1 (en) 2000-02-07 2004-01-13 Ericsson Inc. Power conservation method for mobile communications device with two receivers
US20040008765A1 (en) 2001-12-18 2004-01-15 Wonzoo Chung Joint adaptive optimization of soft decision device and feedback equalizer
US20040013190A1 (en) 2002-07-18 2004-01-22 Srikant Jayaraman Method and apparatus for hybrid decision feedback equalization
US6687723B1 (en) 2000-11-24 2004-02-03 Nortel Networks Limited Tri-mode adaptive filter and method
US6690723B1 (en) 1999-07-02 2004-02-10 Motorola, Inc. Decision-aided equalizer
US6711219B2 (en) 2000-12-04 2004-03-23 Tensorcomm, Incorporated Interference cancellation in a signal
US6714585B1 (en) 1999-06-25 2004-03-30 Ericsson Inc. Rake combining methods and apparatus using weighting factors derived from knowledge of spreading spectrum signal characteristics
US6724809B2 (en) 1999-10-19 2004-04-20 Interdigital Technology Corporation Parallel interference cancellation receiver for multiuser detection of CDMA signals
US20040076224A1 (en) 2002-10-15 2004-04-22 Onggosanusi Eko N. Multipath interference-resistant receivers for closed-loop transmit diversity (CLTD) in code-division multiple access (CDMA) systems
US20040095907A1 (en) 2000-06-13 2004-05-20 Agee Brian G. Method and apparatus for optimization of wireless multipoint electromagnetic communication networks
US6741634B1 (en) 1999-06-28 2004-05-25 Electronics And Telecommunications Research Institute Apparatus and method of adaptive weighted parallel interference cancellation system for CDMA
US20040116078A1 (en) 2002-08-28 2004-06-17 Rooyen Pieter Van Iterative multi-stage detection technique for a diversity receiver having multiple antenna elements
US6754340B1 (en) 1998-12-22 2004-06-22 Nortel Networks Limited Stable adaptive filter and method
US20040146024A1 (en) 2003-01-28 2004-07-29 Navini Networks, Inc. Method and system for interference reduction in a wireless communication network using a joint detector
US20040161065A1 (en) 2003-02-13 2004-08-19 Buckley Michael Eoin Reducing interference in a GSM communication system
US20040165675A1 (en) 2003-02-20 2004-08-26 Nec Corporation Iterative soft interference cancellation and filtering for spectrally efficient high-speed transmission in MIMO systems
US20040190601A1 (en) 2003-03-06 2004-09-30 Papadimitriou Panayiotis D. Method and apparatus for receiving a CDMA signal
US6816541B1 (en) 1999-05-24 2004-11-09 Texas Instruments Incorporated Spread spectrum interference cancellation
US20040234006A1 (en) 2002-03-01 2004-11-25 Leung Stephen Y Reducing peak-to-average signal power ratio
US20040248515A1 (en) 2001-09-03 2004-12-09 Arkady Molev Shteiman Multi-user detection
US20040264552A1 (en) 2003-06-24 2004-12-30 Smee John E. Slicer input and feedback filter contents for block coded digital communications
US6839390B2 (en) 2002-01-23 2005-01-04 Bae Systems Information And Electronic Systems Integration Inc. Voting system for improving the performance of single-user decoders within an iterative multi-user detection system
US20050002445A1 (en) 2003-01-30 2005-01-06 Dunyak James P. Sub-symbol parallel interference cancellation
US20050013349A1 (en) 2003-07-16 2005-01-20 Samsung Electronics Co., Ltd. Apparatus and method for receiving data in a mobile communication system using an adaptive antenna array scheme
US6850772B2 (en) 2000-09-07 2005-02-01 Mitsubishi Denki Kabushiki Kaisha Uni-modular adaptive CDMA receiver
US20050084045A1 (en) 2003-10-17 2005-04-21 Stewart Kenneth A. Multi-pass interference reduction in a GSM communication system
US20050101259A1 (en) 2003-11-06 2005-05-12 Wen Tong Communication channel optimization systems and methods in multi-user communication systems
US20050111408A1 (en) 2003-11-25 2005-05-26 Telefonaktiebolaget Lm Ericsson (Publ) Selective interference cancellation
US20050129107A1 (en) 2002-04-17 2005-06-16 Jeongsoon Park Equalizer/foward error correction automatic mode selector
US6909742B1 (en) 2003-04-17 2005-06-21 Finisar Corporation Method and apparatus for reducing interference in a data stream using autocorrelation derived equalization
US6912250B1 (en) 1999-11-12 2005-06-28 Cornell Research Foundation Inc. System and methods for precursor cancellation of intersymbol interference in a receiver
US20050152267A1 (en) 2003-11-05 2005-07-14 Samsung Electronics Co., Ltd. Apparatus and method for canceling interference signal in an orthogonal frequency division multiplexing system using multiple antennas
US20050157811A1 (en) 2001-12-03 2005-07-21 Bjerke Bjorn A. Iterative detection and decoding for a MIMO-OFDM system
US20050163196A1 (en) 1999-08-31 2005-07-28 Currivan Bruce J. Cancellation of burst noise in a communication system with application to S-CDMA
US20050180364A1 (en) 2002-09-20 2005-08-18 Vijay Nagarajan Construction of projection operators for interference cancellation
US20050185729A1 (en) 2004-02-20 2005-08-25 Mills Diane G. Reduced complexity multi-turbo multi-user detector
US20050190868A1 (en) 2004-03-01 2005-09-01 Aamod Khandekar Iterative channel and interference estimation and decoding
US20050195889A1 (en) 2004-03-05 2005-09-08 Grant Stephen J. Successive interference cancellation in a generalized RAKE receiver architecture
US6947481B1 (en) 2000-05-17 2005-09-20 Zenith Electronics Corporation Code enhanced equalization based upon a reliability factor
US6947506B2 (en) 2002-04-11 2005-09-20 Bae Systems Information And Electronic Systems Integration Inc. Method and apparatus for improved turbo multiuser detector
US20050213529A1 (en) 2004-02-27 2005-09-29 Kabushiki Kaisha Toshiba Channel estimation in a CDMA receiver
US20050223049A1 (en) 1996-06-27 2005-10-06 Interdigital Technology Corporation Efficient multichannel filtering for CDMA modems
US6959065B2 (en) 2001-04-20 2005-10-25 Telefonaktiebolaget Lm Ericsson (Publ) Reduction of linear interference canceling scheme
US20050243908A1 (en) 2002-04-16 2005-11-03 Thomson Licensing S.A. Decision feedback equalizer
US6963546B2 (en) 2000-03-15 2005-11-08 Interdigital Technology Corp. Multi-user detection using an adaptive combination of joint detection and successive interface cancellation
US20050259770A1 (en) 2004-05-20 2005-11-24 Sheng-Jie Chen Adaptive channel estimation using decision feedback
US20050265465A1 (en) 2004-05-27 2005-12-01 Srinath Hosur MIMO decoding
US6975671B2 (en) 1999-05-11 2005-12-13 Qualcomm Incorporated System and method for providing an accurate estimation of received signal interference for use in wireless communications systems
US6975669B2 (en) 1999-05-13 2005-12-13 Qualcomm, Incorporated System and method for performing accurate demodulation of turbo-encoded signals via pilot assisted coherent demodulation
US6986096B2 (en) 2003-07-29 2006-01-10 Qualcomm, Incorporated Scaling and quantizing soft-decision metrics for decoding
US20060007895A1 (en) 2001-06-06 2006-01-12 Coralli Alessandro V Method and apparatus for canceling pilot interference in a wireless communication system
US20060013289A1 (en) 2002-07-16 2006-01-19 In Kwan Hwang Multistage adaptive parallel interference canceller
US6993070B1 (en) 2000-05-16 2006-01-31 France Telecom Method and system of iteratively detecting and decoding received symbols coupled with re-estimation of the coefficients of the transmission channel
US6996385B2 (en) 2001-09-28 2006-02-07 Telecommunications Research Laboratories Channel code decoding for the CDMA forward link
US20060047842A1 (en) 2003-04-14 2006-03-02 Bae Systems Information And Electronic Systems Integration Inc. Joint symbol, amplitude, and rate estimator
US7020175B2 (en) 2000-09-21 2006-03-28 Motorola, Inc. MMSE reception of DS-CDMA with transmit diversity
US20060078042A1 (en) 2004-10-09 2006-04-13 Seoul National University Industry Foundation Decoding method using adaptive step-size algorithm for a space-time coded DS-CDMA system
US20060083202A1 (en) 2003-07-09 2006-04-20 Mark Kent Method and system for implementing a single weight spatial multiplexing (SM) MIMO system without insertion loss
US7035354B2 (en) 2000-12-08 2006-04-25 International Business Machine Corporation CDMA multi-user detection with a real symbol constellation
US7039095B2 (en) 2000-03-24 2006-05-02 Matsushita Electric Industrial Co., Ltd. Receiving apparatus and gain control method
US7042929B2 (en) 2002-07-18 2006-05-09 Interdigital Technology Corporation Scaling using gain factors for use in data detection for wireless code division multiple access communication systems
US7051268B1 (en) 2000-09-29 2006-05-23 Qualcomm Incorporated Method and apparatus for reducing power consumption of a decoder in a communication system
US7054354B2 (en) 2001-02-22 2006-05-30 Koninklijke Philips Electronics N.V. Multicarrier transmission system with reduced complexity leakage matrix multiplication
US20060125689A1 (en) 2004-12-10 2006-06-15 Narayan Anand P Interference cancellation in a receive diversity system
US20060126703A1 (en) 1999-12-15 2006-06-15 Nokia Corporation Method of receiving spread spectrum signal, and receiver
US7069050B2 (en) 2002-05-21 2006-06-27 Nec Corporation Antenna transmission and reception system
US20060141933A1 (en) 2004-12-23 2006-06-29 Smee John E Channel estimation for interference cancellation
US20060141935A1 (en) 2004-12-23 2006-06-29 Jilei Hou Joint interference cancellation of pilot, overhead and traffic channels
US20060141934A1 (en) 2004-12-23 2006-06-29 Pfister Henry D Traffic interference cancellation
US20060142041A1 (en) 2004-12-23 2006-06-29 Stefano Tomasin Adaptation of transmit subchannel gains in a system with interference cancellation
US7072628B2 (en) 2002-04-05 2006-07-04 Qualcomm, Incorporated Method and apparatus for determining receive diversity in mobile station
US20060153283A1 (en) 2005-01-13 2006-07-13 Scharf Louis L Interference cancellation in adjoint operators for communication receivers
US7092464B2 (en) 2002-01-23 2006-08-15 Bae Systems Information And Electronic Systems Integration Inc. Multiuser detection with targeted error correction coding
US20060215781A1 (en) 2005-03-22 2006-09-28 Samsung Electronics Co., Ltd. Method for detecting and decoding a signal in a MIMO communication system
US20060229051A1 (en) 2005-04-07 2006-10-12 Narayan Anand P Interference selection and cancellation for CDMA communications
US20060227909A1 (en) 2005-04-07 2006-10-12 Thomas John K Optimal feedback weighting for soft-decision cancellers
US20060245509A1 (en) 2005-04-27 2006-11-02 Samsung Electronics Co., Ltd Method and system for processing MIMO pilot signals in an orthogonal frequency division multiplexing network
US7209511B2 (en) 2001-08-31 2007-04-24 Ericsson Inc. Interference cancellation in a CDMA receiving system
US20070153935A1 (en) 2005-12-29 2007-07-05 Alcatel Lucent Method and device for cancelling interference in wireless communication system
US7298805B2 (en) 2003-11-21 2007-11-20 Qualcomm Incorporated Multi-antenna transmission for spatial division multiple access
US7397843B2 (en) 2004-08-04 2008-07-08 Telefonaktiebolaget L L M Ericsson (Publ) Reduced complexity soft value generation for multiple-input multiple-output (MIMO) joint detection generalized RAKE (JD-GRAKE) receivers
US7535969B2 (en) 2003-07-09 2009-05-19 Broadcom Corporation Frequency selective transmit signal weighting for multiple antenna communication systems
US7623602B2 (en) 2005-11-15 2009-11-24 Tensorcomm, Inc. Iterative interference canceller for wireless multiple-access systems employing closed loop transmit diversity
US7668125B2 (en) 2003-09-09 2010-02-23 Qualcomm Incorporated Incremental redundancy transmission for multiple parallel channels in a MIMO communication system
US7711075B2 (en) 2005-11-15 2010-05-04 Tensorcomm Incorporated Iterative interference cancellation using mixed feedback weights and stabilizing step sizes
US7733941B2 (en) 2005-11-15 2010-06-08 Rambus, Inc. Inter-symbol interference cancellation for wireless multiple access
US7826516B2 (en) 2005-11-15 2010-11-02 Rambus Inc. Iterative interference canceller for wireless multiple-access systems with multiple receive antennas

Family Cites Families (5)

* Cited by examiner, † Cited by third party
Publication number Priority date Publication date Assignee Title
SG77607A1 (en) * 1997-08-26 2001-01-16 Univ Singapore A multi-user code division multiple access receiver
US6192967B1 (en) * 1998-10-19 2001-02-27 Sunny En Liung Huang Collapsible auto shade
KR100283379B1 (en) * 1998-11-16 2001-03-02 정선종 Parallel Multistage Interference Cancellation
US6457685B1 (en) * 2000-08-23 2002-10-01 John F. Taylor Portable bow and long gun holder
US6870919B2 (en) * 2002-03-29 2005-03-22 Intel Corporation Mute status reminder for a communication device

Patent Citations (143)

* Cited by examiner, † Cited by third party
Publication number Priority date Publication date Assignee Title
US5271042A (en) 1989-10-13 1993-12-14 Motorola, Inc. Soft decision decoding with channel equalization
US5423045A (en) 1992-04-15 1995-06-06 International Business Machines Corporation System for distributed power management in portable computers
US5349609A (en) * 1992-08-05 1994-09-20 Nec Corporation Adaptive interference cancellation and equalization using equalizer decision error as a common corrective factor
US5553062A (en) 1993-04-22 1996-09-03 Interdigital Communication Corporation Spread spectrum CDMA interference canceler system and method
US5467368A (en) 1993-11-05 1995-11-14 Kokusai Denshin Denwa Kabushiki Kaisha Spread spectrum signal demodulator
US5761237A (en) 1994-02-10 1998-06-02 International Business Machines Corporation Method and apparatus for multiuser-interference reduction
US5568411A (en) 1994-07-25 1996-10-22 National Semiconductor Corporation Method and apparatus for using polarity-coincidence correlators in LMS adaptive filters
US5606560A (en) 1994-09-23 1997-02-25 Motorola, Inc. Between a base station and a portable device
US5644592A (en) 1995-04-24 1997-07-01 California Institute Of Technology Parallel interference cancellation for CDMA applications
US20050223049A1 (en) 1996-06-27 2005-10-06 Interdigital Technology Corporation Efficient multichannel filtering for CDMA modems
US6496534B1 (en) 1996-07-12 2002-12-17 Oki Electronic Industry Co., Ltd. CDMA receiver with weighted interference cancellation
US6157685A (en) 1996-12-20 2000-12-05 Fujitsu Limited Interference canceller equipment and interference cancelling method for use in a multibeam-antenna communication system
US6192067B1 (en) 1996-12-20 2001-02-20 Fujitsu Limited Multistage interference canceller
US6161209A (en) 1997-03-28 2000-12-12 Her Majesty The Queen In Right Of Canada, As Represented By The Minister Of Industry Through The Communications Research Centre Joint detector for multiple coded digital signals
US6208683B1 (en) 1997-06-10 2001-03-27 Nec Corporation Receiving apparatus for use in CDMA type mobile radio communication system comprising a plurality of path receivers each including a follow-up path detection unit
US6175588B1 (en) 1997-12-30 2001-01-16 Motorola, Inc. Communication device and method for interference suppression using adaptive equalization in a spread spectrum communication system
US6414949B1 (en) 1998-03-24 2002-07-02 Commissariat A L'energie Atomique CDMA receiver with parallel interference suppression and with weighting
US20030210667A1 (en) 1998-10-26 2003-11-13 Qin Zhengdi Channel estimation in a cellular communication system
US6535554B1 (en) 1998-11-17 2003-03-18 Harris Corporation PCS signal separation in a one dimensional channel
US6320919B1 (en) 1998-11-30 2001-11-20 Ericsson Inc. Adaptive channel characterization using decoded symbols
US6754340B1 (en) 1998-12-22 2004-06-22 Nortel Networks Limited Stable adaptive filter and method
US6377611B1 (en) 1999-02-01 2002-04-23 Industrial Technology Research Institute Apparatus and method for a DSSS/CDMA receiver
US6426973B1 (en) 1999-04-29 2002-07-30 The Board Of Trustees Of The University Of Illinois Differential minimum mean squared error communication signal compensation method
US6975671B2 (en) 1999-05-11 2005-12-13 Qualcomm Incorporated System and method for providing an accurate estimation of received signal interference for use in wireless communications systems
US6975669B2 (en) 1999-05-13 2005-12-13 Qualcomm, Incorporated System and method for performing accurate demodulation of turbo-encoded signals via pilot assisted coherent demodulation
US20020009156A1 (en) 1999-05-19 2002-01-24 Ari Hottinen Transmit diversity method and system
US6529495B1 (en) 1999-05-24 2003-03-04 Nokia Telecommunications, Oy Method and apparatus for providing differencing multistage detection in the reverse link of a code division multiple access communication system
US6816541B1 (en) 1999-05-24 2004-11-09 Texas Instruments Incorporated Spread spectrum interference cancellation
US6714585B1 (en) 1999-06-25 2004-03-30 Ericsson Inc. Rake combining methods and apparatus using weighting factors derived from knowledge of spreading spectrum signal characteristics
US6741634B1 (en) 1999-06-28 2004-05-25 Electronics And Telecommunications Research Institute Apparatus and method of adaptive weighted parallel interference cancellation system for CDMA
US6690723B1 (en) 1999-07-02 2004-02-10 Motorola, Inc. Decision-aided equalizer
US6404760B1 (en) 1999-07-19 2002-06-11 Qualcomm Incorporated CDMA multiple access interference cancellation using signal estimation
US6570919B1 (en) 1999-07-30 2003-05-27 Agere Systems Inc. Iterative decoding of data packets employing decision feedback equalization
US20050163196A1 (en) 1999-08-31 2005-07-28 Currivan Bruce J. Cancellation of burst noise in a communication system with application to S-CDMA
US20040196892A1 (en) 1999-10-19 2004-10-07 Interdigital Technology Corporation Parallel interference cancellation receiver for multiuser detection CDMA signals
US6724809B2 (en) 1999-10-19 2004-04-20 Interdigital Technology Corporation Parallel interference cancellation receiver for multiuser detection of CDMA signals
US6654618B2 (en) 1999-10-28 2003-11-25 Fujitsu Limited Variation compensating unit
US6912250B1 (en) 1999-11-12 2005-06-28 Cornell Research Foundation Inc. System and methods for precursor cancellation of intersymbol interference in a receiver
US20010017883A1 (en) 1999-11-26 2001-08-30 Nokia Networks Oy Rake receiver
US6594318B1 (en) 1999-12-02 2003-07-15 Qualcomm Incorporated Method and apparatus for computing soft decision input metrics to a turbo decoder
US20060126703A1 (en) 1999-12-15 2006-06-15 Nokia Corporation Method of receiving spread spectrum signal, and receiver
US6678508B1 (en) 2000-02-07 2004-01-13 Ericsson Inc. Power conservation method for mobile communications device with two receivers
US6963546B2 (en) 2000-03-15 2005-11-08 Interdigital Technology Corp. Multi-user detection using an adaptive combination of joint detection and successive interface cancellation
US7039095B2 (en) 2000-03-24 2006-05-02 Matsushita Electric Industrial Co., Ltd. Receiving apparatus and gain control method
US6307901B1 (en) 2000-04-24 2001-10-23 Motorola, Inc. Turbo decoder with decision feedback equalization
US6993070B1 (en) 2000-05-16 2006-01-31 France Telecom Method and system of iteratively detecting and decoding received symbols coupled with re-estimation of the coefficients of the transmission channel
US6947481B1 (en) 2000-05-17 2005-09-20 Zenith Electronics Corporation Code enhanced equalization based upon a reliability factor
WO2001089107A1 (en) 2000-05-19 2001-11-22 Systemonic Ag Method and assembly for the multi-stage parallel cancellation of interference in a cdma system
US20010053143A1 (en) 2000-05-22 2001-12-20 Ye Li MIMO OFDM system
US20040095907A1 (en) 2000-06-13 2004-05-20 Agee Brian G. Method and apparatus for optimization of wireless multipoint electromagnetic communication networks
US6546043B1 (en) 2000-06-29 2003-04-08 Trw Inc. Method and apparatus for cancellation of multiple access interference in a code division multiple access (CDMA) communication system
EP1179891B1 (en) 2000-06-29 2011-11-09 Northrop Grumman Systems Corporation Method and apparatus for cancellation of multiple access interference in a code division multiple access (CDMA) communication system
US6647078B1 (en) 2000-06-30 2003-11-11 Motorola, Inc. Method and device for multi-user frequency-domain channel estimation based on gradient optimization techniques
US6594618B1 (en) 2000-07-05 2003-07-15 Miriad Technologies System monitoring method
US6522683B1 (en) 2000-08-10 2003-02-18 Qualcomm, Incorporated Method and apparatus for adaptive linear equalization for walsh covered modulation
US7035316B2 (en) 2000-08-10 2006-04-25 Qualcomm Incorporated Method and apparatus for adaptive linear equalization for Walsh covered modulation
US6850772B2 (en) 2000-09-07 2005-02-01 Mitsubishi Denki Kabushiki Kaisha Uni-modular adaptive CDMA receiver
US7020175B2 (en) 2000-09-21 2006-03-28 Motorola, Inc. MMSE reception of DS-CDMA with transmit diversity
US7051268B1 (en) 2000-09-29 2006-05-23 Qualcomm Incorporated Method and apparatus for reducing power consumption of a decoder in a communication system
US20020060999A1 (en) 2000-10-10 2002-05-23 Yugang Ma Multiple-user CDMA wireless communication system
US6687723B1 (en) 2000-11-24 2004-02-03 Nortel Networks Limited Tri-mode adaptive filter and method
US6711219B2 (en) 2000-12-04 2004-03-23 Tensorcomm, Incorporated Interference cancellation in a signal
US7035354B2 (en) 2000-12-08 2006-04-25 International Business Machine Corporation CDMA multi-user detection with a real symbol constellation
US20020154717A1 (en) 2000-12-19 2002-10-24 Telefonaktiebolaget Lm Ericsson (Publ) Weighting factor setting method for subtractive interference canceller, interference canceller unit using said weighting factor and interference canceller
US20020118781A1 (en) 2000-12-29 2002-08-29 Thomas Timothy A. Method and device for multiple input/multiple output transmit and receive weights for equal-rate data streams
US6466611B1 (en) 2001-02-07 2002-10-15 Motorola, Inc. Multi-user detection using a finite-impulse-response matrix filter
US20020131534A1 (en) 2001-02-07 2002-09-19 Masayuki Ariyoshi System and method for multistage interference cancellation
US7054354B2 (en) 2001-02-22 2006-05-30 Koninklijke Philips Electronics N.V. Multicarrier transmission system with reduced complexity leakage matrix multiplication
WO2002080432A3 (en) 2001-03-30 2003-01-03 Nokia Corp Successive user data multipath interference cancellation
US20020159507A1 (en) 2001-03-30 2002-10-31 Alexander Flaig Method and apparatus for regenerative based interference cancellation within a communication system
US20030005009A1 (en) 2001-04-17 2003-01-02 Mohammad Usman Least-mean square system with adaptive step size
US6959065B2 (en) 2001-04-20 2005-10-25 Telefonaktiebolaget Lm Ericsson (Publ) Reduction of linear interference canceling scheme
US20060007895A1 (en) 2001-06-06 2006-01-12 Coralli Alessandro V Method and apparatus for canceling pilot interference in a wireless communication system
US7133435B2 (en) 2001-06-20 2006-11-07 Texas Instruments Incorporated Interference cancellation system and method
US20030012264A1 (en) 2001-06-20 2003-01-16 Aris Papasakellariou Interference cancellation system and method
US6956893B2 (en) 2001-08-20 2005-10-18 Motorola, Inc. Linear minimum mean square error equalization with interference cancellation for mobile communication forward links utilizing orthogonal codes covered by long pseudorandom spreading codes
US20030035469A1 (en) 2001-08-20 2003-02-20 Frank Colin D. Linear minimun mean square error equalization with interference cancellation for mobile communication forward links utilizing orthogonal codes covered by long pseudorandom spreading codes
US7209511B2 (en) 2001-08-31 2007-04-24 Ericsson Inc. Interference cancellation in a CDMA receiving system
US20040248515A1 (en) 2001-09-03 2004-12-09 Arkady Molev Shteiman Multi-user detection
US20030086479A1 (en) 2001-09-12 2003-05-08 Naguib Ayman F CDMA wireless systems
US6996385B2 (en) 2001-09-28 2006-02-07 Telecommunications Research Laboratories Channel code decoding for the CDMA forward link
US20030095590A1 (en) 2001-11-16 2003-05-22 Fuller Arthur T. G. Symbol-directed weighting in parallel interference cancellation
US6931052B2 (en) 2001-11-16 2005-08-16 Nortel Networks Limited Symbol-directed weighting in parallel interference cancellation
US20050157811A1 (en) 2001-12-03 2005-07-21 Bjerke Bjorn A. Iterative detection and decoding for a MIMO-OFDM system
US20040008765A1 (en) 2001-12-18 2004-01-15 Wonzoo Chung Joint adaptive optimization of soft decision device and feedback equalizer
US20030219085A1 (en) 2001-12-18 2003-11-27 Endres Thomas J. Self-initializing decision feedback equalizer with automatic gain control
US6839390B2 (en) 2002-01-23 2005-01-04 Bae Systems Information And Electronic Systems Integration Inc. Voting system for improving the performance of single-user decoders within an iterative multi-user detection system
US7092464B2 (en) 2002-01-23 2006-08-15 Bae Systems Information And Electronic Systems Integration Inc. Multiuser detection with targeted error correction coding
US20030156630A1 (en) 2002-02-11 2003-08-21 Sundararajan Sriram Parallel interference cancellation device for multi-user CDMA systems
US20040234006A1 (en) 2002-03-01 2004-11-25 Leung Stephen Y Reducing peak-to-average signal power ratio
US7072628B2 (en) 2002-04-05 2006-07-04 Qualcomm, Incorporated Method and apparatus for determining receive diversity in mobile station
US6947506B2 (en) 2002-04-11 2005-09-20 Bae Systems Information And Electronic Systems Integration Inc. Method and apparatus for improved turbo multiuser detector
US20050243908A1 (en) 2002-04-16 2005-11-03 Thomson Licensing S.A. Decision feedback equalizer
US20050129107A1 (en) 2002-04-17 2005-06-16 Jeongsoon Park Equalizer/foward error correction automatic mode selector
US7069050B2 (en) 2002-05-21 2006-06-27 Nec Corporation Antenna transmission and reception system
US20040001537A1 (en) 2002-06-26 2004-01-01 Jianzhong Zhang Apparatus, and associated method, for performing joint equalization in a multiple-input, multiple-output communication system
US20060013289A1 (en) 2002-07-16 2006-01-19 In Kwan Hwang Multistage adaptive parallel interference canceller
US20040013190A1 (en) 2002-07-18 2004-01-22 Srikant Jayaraman Method and apparatus for hybrid decision feedback equalization
US7042929B2 (en) 2002-07-18 2006-05-09 Interdigital Technology Corporation Scaling using gain factors for use in data detection for wireless code division multiple access communication systems
US20040116078A1 (en) 2002-08-28 2004-06-17 Rooyen Pieter Van Iterative multi-stage detection technique for a diversity receiver having multiple antenna elements
US20050180364A1 (en) 2002-09-20 2005-08-18 Vijay Nagarajan Construction of projection operators for interference cancellation
US20040076224A1 (en) 2002-10-15 2004-04-22 Onggosanusi Eko N. Multipath interference-resistant receivers for closed-loop transmit diversity (CLTD) in code-division multiple access (CDMA) systems
US20040146024A1 (en) 2003-01-28 2004-07-29 Navini Networks, Inc. Method and system for interference reduction in a wireless communication network using a joint detector
US20050002445A1 (en) 2003-01-30 2005-01-06 Dunyak James P. Sub-symbol parallel interference cancellation
US20040161065A1 (en) 2003-02-13 2004-08-19 Buckley Michael Eoin Reducing interference in a GSM communication system
US20040165675A1 (en) 2003-02-20 2004-08-26 Nec Corporation Iterative soft interference cancellation and filtering for spectrally efficient high-speed transmission in MIMO systems
US20040190601A1 (en) 2003-03-06 2004-09-30 Papadimitriou Panayiotis D. Method and apparatus for receiving a CDMA signal
US20060047842A1 (en) 2003-04-14 2006-03-02 Bae Systems Information And Electronic Systems Integration Inc. Joint symbol, amplitude, and rate estimator
US6909742B1 (en) 2003-04-17 2005-06-21 Finisar Corporation Method and apparatus for reducing interference in a data stream using autocorrelation derived equalization
US20040264552A1 (en) 2003-06-24 2004-12-30 Smee John E. Slicer input and feedback filter contents for block coded digital communications
US7535969B2 (en) 2003-07-09 2009-05-19 Broadcom Corporation Frequency selective transmit signal weighting for multiple antenna communication systems
US20060083202A1 (en) 2003-07-09 2006-04-20 Mark Kent Method and system for implementing a single weight spatial multiplexing (SM) MIMO system without insertion loss
US20050013349A1 (en) 2003-07-16 2005-01-20 Samsung Electronics Co., Ltd. Apparatus and method for receiving data in a mobile communication system using an adaptive antenna array scheme
US6986096B2 (en) 2003-07-29 2006-01-10 Qualcomm, Incorporated Scaling and quantizing soft-decision metrics for decoding
US7668125B2 (en) 2003-09-09 2010-02-23 Qualcomm Incorporated Incremental redundancy transmission for multiple parallel channels in a MIMO communication system
US20050084045A1 (en) 2003-10-17 2005-04-21 Stewart Kenneth A. Multi-pass interference reduction in a GSM communication system
US20050152267A1 (en) 2003-11-05 2005-07-14 Samsung Electronics Co., Ltd. Apparatus and method for canceling interference signal in an orthogonal frequency division multiplexing system using multiple antennas
US20050101259A1 (en) 2003-11-06 2005-05-12 Wen Tong Communication channel optimization systems and methods in multi-user communication systems
US7298805B2 (en) 2003-11-21 2007-11-20 Qualcomm Incorporated Multi-antenna transmission for spatial division multiple access
US20050111408A1 (en) 2003-11-25 2005-05-26 Telefonaktiebolaget Lm Ericsson (Publ) Selective interference cancellation
US20050185729A1 (en) 2004-02-20 2005-08-25 Mills Diane G. Reduced complexity multi-turbo multi-user detector
US20050213529A1 (en) 2004-02-27 2005-09-29 Kabushiki Kaisha Toshiba Channel estimation in a CDMA receiver
US20050190868A1 (en) 2004-03-01 2005-09-01 Aamod Khandekar Iterative channel and interference estimation and decoding
US20050195889A1 (en) 2004-03-05 2005-09-08 Grant Stephen J. Successive interference cancellation in a generalized RAKE receiver architecture
US20050259770A1 (en) 2004-05-20 2005-11-24 Sheng-Jie Chen Adaptive channel estimation using decision feedback
US20050265465A1 (en) 2004-05-27 2005-12-01 Srinath Hosur MIMO decoding
US7397843B2 (en) 2004-08-04 2008-07-08 Telefonaktiebolaget L L M Ericsson (Publ) Reduced complexity soft value generation for multiple-input multiple-output (MIMO) joint detection generalized RAKE (JD-GRAKE) receivers
US20060078042A1 (en) 2004-10-09 2006-04-13 Seoul National University Industry Foundation Decoding method using adaptive step-size algorithm for a space-time coded DS-CDMA system
US20060125689A1 (en) 2004-12-10 2006-06-15 Narayan Anand P Interference cancellation in a receive diversity system
US20060141933A1 (en) 2004-12-23 2006-06-29 Smee John E Channel estimation for interference cancellation
US20060141934A1 (en) 2004-12-23 2006-06-29 Pfister Henry D Traffic interference cancellation
US20060141935A1 (en) 2004-12-23 2006-06-29 Jilei Hou Joint interference cancellation of pilot, overhead and traffic channels
US20060142041A1 (en) 2004-12-23 2006-06-29 Stefano Tomasin Adaptation of transmit subchannel gains in a system with interference cancellation
US20060153283A1 (en) 2005-01-13 2006-07-13 Scharf Louis L Interference cancellation in adjoint operators for communication receivers
US20060215781A1 (en) 2005-03-22 2006-09-28 Samsung Electronics Co., Ltd. Method for detecting and decoding a signal in a MIMO communication system
US20060227909A1 (en) 2005-04-07 2006-10-12 Thomas John K Optimal feedback weighting for soft-decision cancellers
US20060229051A1 (en) 2005-04-07 2006-10-12 Narayan Anand P Interference selection and cancellation for CDMA communications
US20060245509A1 (en) 2005-04-27 2006-11-02 Samsung Electronics Co., Ltd Method and system for processing MIMO pilot signals in an orthogonal frequency division multiplexing network
US7623602B2 (en) 2005-11-15 2009-11-24 Tensorcomm, Inc. Iterative interference canceller for wireless multiple-access systems employing closed loop transmit diversity
US7711075B2 (en) 2005-11-15 2010-05-04 Tensorcomm Incorporated Iterative interference cancellation using mixed feedback weights and stabilizing step sizes
US7733941B2 (en) 2005-11-15 2010-06-08 Rambus, Inc. Inter-symbol interference cancellation for wireless multiple access
US7826516B2 (en) 2005-11-15 2010-11-02 Rambus Inc. Iterative interference canceller for wireless multiple-access systems with multiple receive antennas
US20070153935A1 (en) 2005-12-29 2007-07-05 Alcatel Lucent Method and device for cancelling interference in wireless communication system

Non-Patent Citations (49)

* Cited by examiner, † Cited by third party
Title
Ali-Hackl, et al., "Error Vector Magnitude as a Figure of Merit for CDMA Receiver Design," The 5th European Wireless Conference, Feb. 2004. 7 pages.
Bejide, et al., "An Iterative Multiuser Detector for DS-CDMA Systems in Multipath Fading Channels," IEEE Communications Society, Mar. 2004, pp. 54-59. 6 pages.
Dai, et al., "Iterative Space-Time Processing for Multiuser Detection in Multipath CDMA Channels," IEEE Transactions on Signal Processing, Sep. 2002, vol. 50, No. 6, pp. 2116-2127. 12 pages.
Divsalar, et al., "Improved Parallel Interference Cancellation for CDMA," IEEE Transactions on Communications, Feb. 1998, pp. 258-268, vol. 46., No. 2. 11 pages.
Guess, Tommy, U.S. Appl. No. 11/451,685, filed Jun. 13, 2006, Non-Final Office Action dated Jun. 4, 2009. 14 pages.
Guess, Tommy, U.S. Appl. No. 11/451,685, filed Nov. 29, 2009 re Amendment and Response to Office Action with mail date of Jun. 4, 2009. 17 pages.
Guess, Tommy, U.S. Appl. No. 11/451,688, filed Jun. 13, 2006, Non-Final Office Action with mail date of Mar. 23, 2009. 15 pages.
Guess, Tommy, U.S. Appl. No. 11/451,932, filed Jun. 13, 2006, Non-Final Office Action with mail date of Apr. 3, 2009, 15 pages.
Guess, Tommy, U.S. Appl. No. 11/475,458, filed Aug. 28, 2006, Non-Final Office Action with mail date of Aug. 17, 2009, 14 pages.
Guess, Tommy, U.S. Appl. No. 11/491,674, filed Jul. 24, 2006 re Non Final Office Action dated Dec. 15, 2009. 14 pages.
Guess, Tommy, U.S. Appl. No. 11/491,674, filed Jul. 24, 2006, Response to Non-Final Office Action dated May 13, 2010 Includes Terminal Disclaimer. 17 pages.
Guess, Tommy, U.S. Appl. No. 12/731,779, filed Mar. 25, 2010, re Office Action dated Mar. 25, 2010. 5 pages.
Guess, Tommy, U.S. Appl. No. 12/769,510, filed Apr. 28, 2010, Office Action dated Aug. 30, 2010. 4 pages.
Guess, Tommy, U.S. Appl. No. 12/916,389, filed Oct. 29, 2010, Office Action dated Jun. 23, 2011, 34 Pages.
Guo et al., "Linear Parallel Interference Cancellation in Long-Code CDMA," IEEE Journal on Selected Areas in Communications, Dec. 1999, pp. 2074-2081, vol. 17, No. 12. 8 pages.
Guo, et al., "A Matrix-Algebraic Approach to Linear Parallel Interference Cancellation in CDMA," IEEE Transactions on Communications, Jan. 2000, pp. 152-161, vol. 48, No. 1. 10 pages.
Guo, et al., "MMSE-Based Linear Parallel Interference Cancellation in CDMA," IEEE Proceedings, 0-7803-4281-X/97, Sep. 1998, pp. 917-921. 5 pages.
Guo, Yuanbin, "Advanced MIMO-CDMA Receiver for Interference Suppression: Algorithms, System-on-Chip Architectures and Design Methodology," PhD Thesis, Rice University, May 2005, pp. 165-186. 27 pages.
Hooli et al., "Chip-Level Channel Equalization in WCDMA Downlink," EURASIP Journal on Applied Signal Processing 2002:8, pp. 757-770, Mar. 7, 2002. 14 pages.
International Search Report, dated Apr. 26, 2007, in PCT Application No. US06/42036. 2 pages.
Jayaweera, Sudharman K. et al., "A RAKE-Based Iterative Receiver for Space-Time Block-Coded Multipath CDMA", IEEE Transactions on Signal Processing, vol. 52, No. 3, Mar. 2004, pp. 796-806. 11 Pages.
Kim, et al., "Adaptive Weighted Parallel Interference Cancellation for CDMA Systems," Electronic Letters, Oct. 29, 1998, V34, No. 22. 2 pages.
Lin, et al., "Iterative Multiuser Decoding with Maximal Ratio Combining," Australian Workshop on Communication Theory, (Newcastle, Australia), Feb. 2004, pp. 42-46. 6 pages.
Lin, et al., "Truncated Maximal Ratio Combining for Iterative Multiuser Decoding," Australian Workshop on Communication Theory, (Brisbane, Australia), Feb. 2005. 6 pages.
Marinkovic, Slavica et al., "Space-Time Iterative and Multistage Receiver Structures for CDMA Mobile Communications Systems", IEEE Journal on Selected Areas in Communications, vol. 19, No. 8, Aug. 2001, pp. 1594-1604. 11 Pages.
McCloud, Michael, U.S. Appl. No. 11/479,401, filed Jun. 29, 2006, Non-Final Office Action with mail date of Jun. 11, 2009. 9 pages.
McCloud, Michael, U.S. Appl. No. 12/731,960, filed Mar. 25, 2010, re Office Action dated Mar. 25, 2010. 7 pages.
McCloud, Michael, U.S. Appl. No. 12/731,960, filed Mar. 25, 2010, Response to Notice to File Corrected Application Papers dated May 19, 2010. 63 Pages.
Mohamed, Nermin A. et al., "A Low-Complexity Combined Antenna Array and Interference Cancellation DS-CDMA Receiver in Multipath Fading Channels", IEEE Journal on Selected Areas in Communications, vol. 20, No. 2, Feb. 2002, pp. 248-256. 9 Pages.
Nagasawa, A. et al., "A Novel Backlight System With the Unified Component", IDW/AD 2005, vol. 12th, No. vol. 2, pp. 1285-1288. 4 pages.
Naidu, Prabhakar S., "Modern Digital Signal Processing: An Introduction," Alpha Science International Ltd., UK, Copyright 2003, pp. 124-126. 6 pages.
Nambiar, et al., "Iterative Weighted Interference Cancellation for CDMA Systems with RAKE Reception," Feb. 1999 IEEE 49th, vol. 2, pp. 1232-1236. 5 pages.
Notification of Transmittal of International Search Report and Written Opinion of the International Searching Authority with mail date of Apr. 26, 2007 re PCT/US2006/042036 filed on Oct. 30, 2006, 3 pages.
PCT Notification of Transmittal of International Search Report and Written Opinion of International Searching Authority date of mailing Sep. 21, 2007, re Int'l Application No. PCT/US 06/36018. 10 pages.
PCT Preliminary Report on Patentability dated Mar. 26, 2008 for Int'l. Application No. PCT/US2006/36018 filed on Sep. 15, 2006. 5 Pages.
PCT Preliminary Report on Patentability dated May 20, 2008 for PCT/US2006/42036 filed on Oct. 30, 2006. 2 pages.
Persson, et al., "Time-Frequency Localized CDMA for Downlink Multi-Carrier Systems," IEEE 7th Int. Symp. on Spread-Spectrum Tech. & Appl., Sep. 2-5, 2002, vol. 1, pp. 115-122. 5 pages.
Ping, et al., "Decision-Feedback Blind Adaptive Multiuser Detector for Synchronous CDMA System," IEEE Transactions on Vehicular Technology, Jan. 2000, vol. 49, No. 1, pp. 159-166. 8 pages.
Proakis, John G., "Digital Communications," McGraw-Hill, 4th edition, 2000, pp. 622-626, 956-959. 10 pages.
Rasmussen, et al., "A Matrix-Algebraic Approach to Successive Interference Cancellation in CDMA," IEEE Transactions on Communications, Jan. 2000, vol. 48, No. 1, pp. 145-151. 7 pages.
Rasmussen, et al., "Convergence Behaviour of Linear Parallel Cancellation in CDMA," IEEE Global Telecom. Conf. (San Antonio, Texas), Dec. 2001, pp. 3148-3152. 5 pages.
Rasmussen, et al., "Ping-Pong Effects in Linear Parallel Interference Cancellation for CDMA," IEEE Transactions on Wireless Communications, Mar. 2003, pp. 357-363, vol. 2, No. 2. 7 pages.
Sayed, Ali H., "Fundamentals of Adaptive Filtering," John Wiley & Sons, Inc. Hoboken, NJ, Jun. 2003, pp. 170-171, 174, 187. 7 pages.
Tan, et al., "Linear Interference Cancellation in CDMA Based on Iterative Techniques for Linear Equation Systems," IEEE Transactions on Communications, Dec. 2000, vol. 48, No. 12, pp. 2099-2108. 10 pages.
Verdu, Sergio, "Multiuser Detection," Cambridge University Press, New York, NY, 1998, pp. 291-306. 18 pages.
Wang, et al., "Iterative (Turbo) Soft Interference Cancellation and Decoding for Coded CDMA," IEEE Transactions on Communications, Jul. 1999, pp. 1046-1061, vol. 47, No. 7. 16 pages.
Wang, Xiaodong et al., "Space-Time Multiuser Detection in Multipath CDMA Channels", IEEE Transactions on Signal Processing, vol. 47, No. 9, Sep. 1999, pp. 2356-2374. 19 Pages.
Xue, et al., "Adaptive Multistage Parallel Interference Cancellation for CDMA," IEEE Journal on Selected Areas in Communications, Oct. 1999, vol. 17, No. 10. 13 pages.
Yener, et al., "CDMA Multiuser Detection: A Nonlinear Programming Approach," IEEE Transactions on Communications, Jun. 2002, vol. 50, No. 6, pp. 1016-1024. 9 pages.

Cited By (2)

* Cited by examiner, † Cited by third party
Publication number Priority date Publication date Assignee Title
US20160359522A1 (en) * 2005-04-07 2016-12-08 Iii Holdings 1, Llc Iterative interference suppressor for wireless multiple-access systems with multiple receive antennas
US10153805B2 (en) * 2005-04-07 2018-12-11 Iii Holdings 1, Llc Iterative interference suppressor for wireless multiple-access systems with multiple receive antennas

Also Published As

Publication number Publication date
US20100220824A1 (en) 2010-09-02
US8300745B2 (en) 2012-10-30
US8462901B2 (en) 2013-06-11
US20110200151A1 (en) 2011-08-18
US7715508B2 (en) 2010-05-11
WO2007058752A1 (en) 2007-05-24
US20130343498A1 (en) 2013-12-26
US20070110134A1 (en) 2007-05-17

Similar Documents

Publication Publication Date Title
US8953723B2 (en) Iterative interference suppression using mixed feedback weights and stabilizing step sizes
US7711075B2 (en) Iterative interference cancellation using mixed feedback weights and stabilizing step sizes
US20100177856A1 (en) Iterative interference cancellation using mixed feedback weights and stabilizing step sizes
US9270325B2 (en) Iterative interference suppression using mixed feedback weights and stabilizing step sizes
US9735816B2 (en) Interference suppression for CDMA systems
US9425855B2 (en) Iterative interference suppressor for wireless multiple-access systems with multiple receive antennas
US9036748B2 (en) Interference cancellation in variable codelength systems for multi-access communication
US20100215082A1 (en) Iterative interference canceller for wireless multiple-access systems employing closed loop transmit diversity
US20100220826A1 (en) Inter-symbol interference cancellation for wireless multiple access
WO2007038018A2 (en) Iterative interference cancellation using mixed feedback weights and stabilizing step sizes

Legal Events

Date Code Title Description
AS Assignment

Owner name: III HOLDINGS 1, LLC, DELAWARE

Free format text: ASSIGNMENT OF ASSIGNORS INTEREST;ASSIGNOR:RAMBUS INC.;REEL/FRAME:032642/0115

Effective date: 20140317

STCF Information on status: patent grant

Free format text: PATENTED CASE

MAFP Maintenance fee payment

Free format text: PAYMENT OF MAINTENANCE FEE, 4TH YEAR, LARGE ENTITY (ORIGINAL EVENT CODE: M1551); ENTITY STATUS OF PATENT OWNER: LARGE ENTITY

Year of fee payment: 4

MAFP Maintenance fee payment

Free format text: PAYMENT OF MAINTENANCE FEE, 8TH YEAR, LARGE ENTITY (ORIGINAL EVENT CODE: M1552); ENTITY STATUS OF PATENT OWNER: LARGE ENTITY

Year of fee payment: 8