US9094884B2 - Method and apparatus for video communication - Google Patents

Method and apparatus for video communication Download PDF

Info

Publication number
US9094884B2
US9094884B2 US12/915,881 US91588110A US9094884B2 US 9094884 B2 US9094884 B2 US 9094884B2 US 91588110 A US91588110 A US 91588110A US 9094884 B2 US9094884 B2 US 9094884B2
Authority
US
United States
Prior art keywords
communication
network
mobile
wireless network
mobile device
Prior art date
Legal status (The legal status is an assumption and is not a legal conclusion. Google has not performed a legal analysis and makes no representation as to the accuracy of the status listed.)
Active, expires
Application number
US12/915,881
Other versions
US20110103359A1 (en
Inventor
Hyung-rae Cho
Sun-ae KIM
Ji-young Kwahk
Hyun-joo Oh
Current Assignee (The listed assignees may be inaccurate. Google has not performed a legal analysis and makes no representation or warranty as to the accuracy of the list.)
Samsung Electronics Co Ltd
Original Assignee
Samsung Electronics Co Ltd
Priority date (The priority date is an assumption and is not a legal conclusion. Google has not performed a legal analysis and makes no representation as to the accuracy of the date listed.)
Filing date
Publication date
Application filed by Samsung Electronics Co Ltd filed Critical Samsung Electronics Co Ltd
Assigned to SAMSUNG ELECTRONICS CO., LTD. reassignment SAMSUNG ELECTRONICS CO., LTD. ASSIGNMENT OF ASSIGNORS INTEREST (SEE DOCUMENT FOR DETAILS). Assignors: CHO, HYUNG-RAE, Kim, Sun-ae, KWAHK, JI-YOUNG, OH, HYUN-JOO
Publication of US20110103359A1 publication Critical patent/US20110103359A1/en
Priority to US14/808,371 priority Critical patent/US9413800B2/en
Application granted granted Critical
Publication of US9094884B2 publication Critical patent/US9094884B2/en
Priority to US15/225,444 priority patent/US9609562B2/en
Priority to US15/331,244 priority patent/US9769724B2/en
Priority to US15/466,450 priority patent/US9781667B2/en
Priority to US15/493,974 priority patent/US9820202B2/en
Priority to US15/683,333 priority patent/US9961602B2/en
Priority to US15/917,129 priority patent/US10200926B2/en
Priority to US16/232,668 priority patent/US10772019B2/en
Priority to US16/985,671 priority patent/US11503524B2/en
Active legal-status Critical Current
Adjusted expiration legal-status Critical

Links

Images

Classifications

    • HELECTRICITY
    • H04ELECTRIC COMMUNICATION TECHNIQUE
    • H04LTRANSMISSION OF DIGITAL INFORMATION, e.g. TELEGRAPHIC COMMUNICATION
    • H04L65/00Network arrangements, protocols or services for supporting real-time applications in data packet communication
    • H04L65/1066Session management
    • H04L65/1083In-session procedures
    • HELECTRICITY
    • H04ELECTRIC COMMUNICATION TECHNIQUE
    • H04WWIRELESS COMMUNICATION NETWORKS
    • H04W36/00Hand-off or reselection arrangements
    • H04W36/14Reselecting a network or an air interface
    • HELECTRICITY
    • H04ELECTRIC COMMUNICATION TECHNIQUE
    • H04BTRANSMISSION
    • H04B17/00Monitoring; Testing
    • H04B17/30Monitoring; Testing of propagation channels
    • H04B17/309Measuring or estimating channel quality parameters
    • H04B17/318Received signal strength
    • HELECTRICITY
    • H04ELECTRIC COMMUNICATION TECHNIQUE
    • H04LTRANSMISSION OF DIGITAL INFORMATION, e.g. TELEGRAPHIC COMMUNICATION
    • H04L43/00Arrangements for monitoring or testing data switching networks
    • H04L43/16Threshold monitoring
    • HELECTRICITY
    • H04ELECTRIC COMMUNICATION TECHNIQUE
    • H04LTRANSMISSION OF DIGITAL INFORMATION, e.g. TELEGRAPHIC COMMUNICATION
    • H04L61/00Network arrangements, protocols or services for addressing or naming
    • H04L61/50Address allocation
    • H04L61/5007Internet protocol [IP] addresses
    • HELECTRICITY
    • H04ELECTRIC COMMUNICATION TECHNIQUE
    • H04LTRANSMISSION OF DIGITAL INFORMATION, e.g. TELEGRAPHIC COMMUNICATION
    • H04L65/00Network arrangements, protocols or services for supporting real-time applications in data packet communication
    • H04L65/10Architectures or entities
    • H04L65/1059End-user terminal functionalities specially adapted for real-time communication
    • HELECTRICITY
    • H04ELECTRIC COMMUNICATION TECHNIQUE
    • H04LTRANSMISSION OF DIGITAL INFORMATION, e.g. TELEGRAPHIC COMMUNICATION
    • H04L65/00Network arrangements, protocols or services for supporting real-time applications in data packet communication
    • H04L65/1066Session management
    • H04L65/1083In-session procedures
    • H04L65/1094Inter-user-equipment sessions transfer or sharing
    • HELECTRICITY
    • H04ELECTRIC COMMUNICATION TECHNIQUE
    • H04LTRANSMISSION OF DIGITAL INFORMATION, e.g. TELEGRAPHIC COMMUNICATION
    • H04L65/00Network arrangements, protocols or services for supporting real-time applications in data packet communication
    • H04L65/1066Session management
    • H04L65/1083In-session procedures
    • H04L65/1095Inter-network session transfer or sharing
    • HELECTRICITY
    • H04ELECTRIC COMMUNICATION TECHNIQUE
    • H04LTRANSMISSION OF DIGITAL INFORMATION, e.g. TELEGRAPHIC COMMUNICATION
    • H04L65/00Network arrangements, protocols or services for supporting real-time applications in data packet communication
    • H04L65/60Network streaming of media packets
    • HELECTRICITY
    • H04ELECTRIC COMMUNICATION TECHNIQUE
    • H04MTELEPHONIC COMMUNICATION
    • H04M1/00Substation equipment, e.g. for use by subscribers
    • H04M1/72Mobile telephones; Cordless telephones, i.e. devices for establishing wireless links to base stations without route selection
    • H04M1/724User interfaces specially adapted for cordless or mobile telephones
    • H04M1/72448User interfaces specially adapted for cordless or mobile telephones with means for adapting the functionality of the device according to specific conditions
    • HELECTRICITY
    • H04ELECTRIC COMMUNICATION TECHNIQUE
    • H04NPICTORIAL COMMUNICATION, e.g. TELEVISION
    • H04N7/00Television systems
    • H04N7/14Systems for two-way working
    • H04N7/141Systems for two-way working between two video terminals, e.g. videophone
    • H04N7/147Communication arrangements, e.g. identifying the communication as a video-communication, intermediate storage of the signals
    • HELECTRICITY
    • H04ELECTRIC COMMUNICATION TECHNIQUE
    • H04NPICTORIAL COMMUNICATION, e.g. TELEVISION
    • H04N7/00Television systems
    • H04N7/14Systems for two-way working
    • H04N7/141Systems for two-way working between two video terminals, e.g. videophone
    • H04N7/148Interfacing a video terminal to a particular transmission medium, e.g. ISDN
    • HELECTRICITY
    • H04ELECTRIC COMMUNICATION TECHNIQUE
    • H04WWIRELESS COMMUNICATION NETWORKS
    • H04W48/00Access restriction; Network selection; Access point selection
    • H04W48/18Selecting a network or a communication service
    • HELECTRICITY
    • H04ELECTRIC COMMUNICATION TECHNIQUE
    • H04WWIRELESS COMMUNICATION NETWORKS
    • H04W72/00Local resource management
    • H04W72/50Allocation or scheduling criteria for wireless resources
    • H04W72/51Allocation or scheduling criteria for wireless resources based on terminal or device properties
    • HELECTRICITY
    • H04ELECTRIC COMMUNICATION TECHNIQUE
    • H04WWIRELESS COMMUNICATION NETWORKS
    • H04W72/00Local resource management
    • H04W72/50Allocation or scheduling criteria for wireless resources
    • H04W72/54Allocation or scheduling criteria for wireless resources based on quality criteria
    • H04W72/542Allocation or scheduling criteria for wireless resources based on quality criteria using measured or perceived quality
    • HELECTRICITY
    • H04ELECTRIC COMMUNICATION TECHNIQUE
    • H04WWIRELESS COMMUNICATION NETWORKS
    • H04W76/00Connection management
    • H04W76/10Connection setup
    • HELECTRICITY
    • H04ELECTRIC COMMUNICATION TECHNIQUE
    • H04WWIRELESS COMMUNICATION NETWORKS
    • H04W76/00Connection management
    • H04W76/20Manipulation of established connections
    • H04W76/25Maintenance of established connections
    • HELECTRICITY
    • H04ELECTRIC COMMUNICATION TECHNIQUE
    • H04MTELEPHONIC COMMUNICATION
    • H04M1/00Substation equipment, e.g. for use by subscribers
    • H04M1/72Mobile telephones; Cordless telephones, i.e. devices for establishing wireless links to base stations without route selection
    • H04M1/724User interfaces specially adapted for cordless or mobile telephones
    • H04M1/72469User interfaces specially adapted for cordless or mobile telephones for operating the device by selecting functions from two or more displayed items, e.g. menus or icons
    • HELECTRICITY
    • H04ELECTRIC COMMUNICATION TECHNIQUE
    • H04NPICTORIAL COMMUNICATION, e.g. TELEVISION
    • H04N7/00Television systems
    • H04N7/14Systems for two-way working
    • H04N7/141Systems for two-way working between two video terminals, e.g. videophone
    • H04N7/142Constructional details of the terminal equipment, e.g. arrangements of the camera and the display
    • H04N2007/145Handheld terminals
    • HELECTRICITY
    • H04ELECTRIC COMMUNICATION TECHNIQUE
    • H04WWIRELESS COMMUNICATION NETWORKS
    • H04W36/00Hand-off or reselection arrangements
    • H04W36/14Reselecting a network or an air interface
    • H04W36/144Reselecting a network or an air interface over a different radio air interface technology
    • H04W36/1446Reselecting a network or an air interface over a different radio air interface technology wherein at least one of the networks is unlicensed
    • HELECTRICITY
    • H04ELECTRIC COMMUNICATION TECHNIQUE
    • H04WWIRELESS COMMUNICATION NETWORKS
    • H04W4/00Services specially adapted for wireless communication networks; Facilities therefor
    • H04W4/02Services making use of location information
    • HELECTRICITY
    • H04ELECTRIC COMMUNICATION TECHNIQUE
    • H04WWIRELESS COMMUNICATION NETWORKS
    • H04W48/00Access restriction; Network selection; Access point selection
    • H04W48/16Discovering, processing access restriction or access information
    • HELECTRICITY
    • H04ELECTRIC COMMUNICATION TECHNIQUE
    • H04WWIRELESS COMMUNICATION NETWORKS
    • H04W84/00Network topologies
    • H04W84/02Hierarchically pre-organised networks, e.g. paging networks, cellular networks, WLAN [Wireless Local Area Network] or WLL [Wireless Local Loop]
    • H04W84/10Small scale networks; Flat hierarchical networks
    • H04W84/12WLAN [Wireless Local Area Networks]
    • HELECTRICITY
    • H04ELECTRIC COMMUNICATION TECHNIQUE
    • H04WWIRELESS COMMUNICATION NETWORKS
    • H04W88/00Devices specially adapted for wireless communication networks, e.g. terminals, base stations or access point devices
    • H04W88/02Terminal devices
    • H04W88/06Terminal devices adapted for operation in multiple networks or having at least two operational modes, e.g. multi-mode terminals
    • HELECTRICITY
    • H04ELECTRIC COMMUNICATION TECHNIQUE
    • H04WWIRELESS COMMUNICATION NETWORKS
    • H04W88/00Devices specially adapted for wireless communication networks, e.g. terminals, base stations or access point devices
    • H04W88/08Access point devices
    • YGENERAL TAGGING OF NEW TECHNOLOGICAL DEVELOPMENTS; GENERAL TAGGING OF CROSS-SECTIONAL TECHNOLOGIES SPANNING OVER SEVERAL SECTIONS OF THE IPC; TECHNICAL SUBJECTS COVERED BY FORMER USPC CROSS-REFERENCE ART COLLECTIONS [XRACs] AND DIGESTS
    • Y02TECHNOLOGIES OR APPLICATIONS FOR MITIGATION OR ADAPTATION AGAINST CLIMATE CHANGE
    • Y02DCLIMATE CHANGE MITIGATION TECHNOLOGIES IN INFORMATION AND COMMUNICATION TECHNOLOGIES [ICT], I.E. INFORMATION AND COMMUNICATION TECHNOLOGIES AIMING AT THE REDUCTION OF THEIR OWN ENERGY USE
    • Y02D30/00Reducing energy consumption in communication networks
    • Y02D30/70Reducing energy consumption in communication networks in wireless communication networks

Definitions

  • the present invention generally relates to video communications, and, more particularly, to a method and apparatus of changing a communication network or a communication device for video communication during video communications in a User Equipment (UE).
  • UE User Equipment
  • a representative multi-purpose UE is a camera phone.
  • the camera phone When a user desires to take and keep a photograph of a certain scene or a subject required for business use, the camera phone allows the user to photograph and store a desired scene or subject in its internal memory. Additionally, the camera phone allows the photographed image to be wirelessly transmitted to another UE, and to be output onto the screen of a Personal Computer (PC) when the camera phone is connected to the PC.
  • PC Personal Computer
  • a Base Station (BS) in a wide-area mobile communication network has an advantage in that it has a wide service coverage from several kilometers to several tens of kilometers, and has a disadvantage in that the service fee is high.
  • an Access Point (AP) of a WLAN as described in the IEEE 802.11 protocol has advantages in that it provides a data rate higher than that of the wide-area mobile communication network, and low service fees.
  • the WLAN has a disadvantage in that the service coverage of an AP is limited to several tens of meters.
  • the present invention provides a video communication method and apparatus for enabling a UE to perform video communication through a WLAN when the UE moves into an area in which the UE can access the WLAN during the video communication using the UE, and enabling the UE to perform video communication through a mobile communication network when the UE leaves the area of the WLAN during the video communication through the WLAN. Further, the present invention provides a video communication method and apparatus for enabling a communication device to be changed to another video-communication-capable device or enabling video communication to be performed through a device connected to a home network, during the video communication.
  • a method for changing a communication network for video communication including performing, by a User Equipment (UE), video communication through a mobile communication network; searching for whether there is a WLAN currently accessible by the UE at every predetermined interval; displaying the accessible WLAN if one is found; and when the displayed WLAN is selected by a user, changing a communication network for the video communication to perform the video communication through the selected WLAN.
  • UE User Equipment
  • searching for whether there is a WLAN currently accessible by the UE at every predetermined interval includes the steps of: receiving information, which represents whether a usable WLAN exists in a service coverage of a base station of the mobile communication network, from the base station; and searching for whether there is a WLAN currently accessible by the UE at said every predetermined interval when a usable WLAN exists in the service coverage of the base station.
  • displaying the accessible WLAN when there is the accessible WLAN includes a step of displaying a user interface for enabling the user to select a desired WLAN or AP among a plurality of accessible WLANs when there is a plurality of accessible WLANs.
  • changing a communication network for the video communication to perform the video communication through the selected WLAN includes the steps of: receiving, by the UE, an Internet Protocol (IP) for performing communication through the WLAN, the IP being allocated from an AP; performing a change operation to transmit/receive video communication data, which the UE has transmitted/received through the mobile communication network, through the selected WLAN; performing a setup operation to transfer data for the video communication from the WLAN to the mobile communication network via the Internet, and, thus, to transfer the data for the video communication to a counterpart UE performing the video communication; and performing a setup operation to receive data for the video communication of the counterpart UE, which performs the video communication, through the selected WLAN via the Internet from the mobile communication network.
  • IP Internet Protocol
  • the method further includes determining, by the UE, whether the UE receives an input for a video communication device change; searching for a video-communication-capable device when receiving the input for the video communication device change; displaying the video-communication-capable device when the video-communication-capable device exists; and when the displayed video-communication-capable device is selected, changing a video communication device to perform the video communication through the selected device.
  • searching for a video-communication-capable device is performed in such a manner that the UE controls a separate server or controller connected to the WLAN.
  • a User Equipment for changing a communication network for video communication
  • the UE including a mobile communication unit for performing wireless communication through a mobile communication network; a display unit for outputting various display data generated in the UE; an input unit for receiving an input from a user; a camera unit for photographing an image in real-time during the video communication, the camera unit including a camera; a storage unit for storing various information required for controlling an operation of the UE; and a control unit for controlling a general operation of the UE, searching for whether there is a WLAN currently accessible by the UE at every predetermined interval during communication through the mobile communication network, displaying the accessible WLAN if an accessible WLAN is found, and changing a communication network for the video communication, when the displayed WLAN is selected by the user, to perform the video communication through the selected WLAN.
  • searching, by the control unit, for whether there is a WLAN currently accessible by the UE at every predetermined interval includes receiving information, which represents whether a usable WLAN exists in a service coverage of a base station of the mobile communication network, from the base station; and searching for whether there is a WLAN currently accessible by the UE at said every predetermined interval when a usable WLAN exists in the service coverage of the base station.
  • displaying, by the control unit, the accessible WLAN includes displaying a user interface for enabling the user to select a desired WLAN or AP among a plurality of accessible WLANs through the display unit when there is a plurality of accessible WLANs.
  • changing, by the control unit, a communication network for the video communication to perform the video communication through the selected WLAN includes receiving an IP allocated from an AP for performing communication through the WLAN; performing a change operation to transmit/receive video communication data, which has been transmitted/received through the mobile communication network, through the selected WLAN; performing a setup operation so as transfer data for the video communication from the WLAN to the mobile communication network via the Internet, and thus to transfer the data for the video communication to a counterpart UE performing the video communication; and performing a setup operation to receive data for the video communication of the counterpart UE, which performs the video communication, through the selected WLAN via the Internet from the mobile communication network.
  • the control unit determines whether the UE receives an input for a video communication device change; searches for a video-communication-capable device when receiving the input for the video communication device change; displays the video-communication-capable device when the video-communication-capable device exists; and, when the displayed video-communication-capable device is selected, changes a video communication device to perform the video communication through the selected device.
  • searching for a video-communication-capable device is performed in such a manner that the control unit controls a separate server or controller connected to the WLAN.
  • FIG. 1 is a view schematically illustrating a situation where a UE moves from a 3G mobile communication network to a WLAN according to an embodiment of the present invention
  • FIG. 2 is a block diagram illustrating the configuration of a UE, according to an embodiment of the present invention
  • FIG. 3 is a flowchart illustrating the steps of a communication network change operation from a 3G mobile communication network to a WLAN during video communication of a UE according to an embodiment of the present invention
  • FIG. 4 is a view showing an example in which a UE displays WLANs on its screen when detecting the WLANs during video communication according to an embodiment of the present invention
  • FIG. 5 is a flowchart illustrating the steps of a communication device change operation during video communication of a UE, according to an embodiment of the present invention
  • FIG. 6 is a view showing an example in which a UE displays a video-communication-capable device on the screen thereof when detecting the video-communication-capable device during video communication according to an embodiment of the present invention
  • FIG. 7 is a flowchart illustrating the steps of a communication network change operation of a UE from a WLAN to a mobile communication network during video communication according to an embodiment of the present invention.
  • the present invention provides a method for enabling a User Equipment (UE) to use both a wide-area 3G mobile communication network and a Wireless Local Area Network (WLAN) during video communication to compensate for the disadvantages of the wide-area communication network and WLAN and to provide advantages thereof.
  • a UE in video communication moves to a WLAN service area (a “hotspot”)
  • a vertical handover is performed from a Base Station (BS) of a wide-area mobile communication network to an Access Point (AP) of the hotspot, so that the UE can continuously perform the video communication in the hotspot.
  • BS Base Station
  • AP Access Point
  • the UE performs a handover to the mobile communication network to perform the video communication through the mobile communication network again.
  • the present invention provides a method for changing a video communication device with another video communication device during video communication.
  • FIG. 1 is a view schematically illustrating a situation where a UE moves between a 3G mobile communication network and a WLAN, according to an embodiment of the present invention.
  • the UE 105 when a UE 105 is located outside a hotspot coverage area, the UE 105 performs video communication with another UE through a BS 101 of a wide-area 3G mobile communication network (i.e., core network) 104 , a Radio Network Controller (RNC) (not shown), and a Mobile Switching Center (MSC) (not shown).
  • RNC Radio Network Controller
  • MSC Mobile Switching Center
  • the UE 105 moves and is located within the hotspot coverage area, the UE 105 can perform video communication using a WLAN through an Access Point (AP).
  • AP Access Point
  • the UE 105 can perform video communication with another UE, which has been connected to the 3G mobile communication network, through paths PATH1, MSC, RNC, and BS of the 3G mobile communication network connected with the Internet 103 via a WLAN. Also, the UE 105 can transmit video communication data to an electronic device connected through a home network, which is based on the Digital Living Network Alliance (DLNA) standard, and perform video communication through the electronic device. That is, the user can perform video communication through an indoor electronic device which is connected with the UE 150 through a home network.
  • DLNA Digital Living Network Alliance
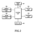
  • FIG. 2 is a block diagram illustrating the configuration of a UE according to an embodiment of the present invention.
  • the UE 105 includes a mobile communication unit 205 , an input unit 202 , a storage unit 204 , a camera unit 207 , a display unit 203 , a WLAN communication unit 206 , and a control unit 201 .
  • the mobile communication unit 205 enables the UE 105 to perform wireless communication through a mobile communication network.
  • the mobile communication unit 205 includes an RF transmitter (not shown) for up-converting a frequency of a signal to be transmitted and amplifying the up-converted signal, and an RF receiver (not shown) for low-noise amplifying a received signal and down-converting a frequency of the low-noise amplified signal.
  • the display unit 203 may be constructed with a Liquid Crystal Display (LCD), and displays various display data generated in the UE 105 .
  • the display unit 230 may operate as an input means.
  • the display unit 203 may display information for notifying the user of the found WLAN.
  • the display unit 203 may display a mobile communication network accessible by the UE 105 when the signal strength of a WLAN becomes weak during video communication through the WLAN, or may display information for notifying the user of a device capable of performing video communication in response to the request of the user when there is a device capable of performing video communication.
  • the input unit 202 includes keys for inputting numeric and text information, and function keys for setting various functions, and senses an input by the user.
  • the camera unit 207 includes at least one camera, and photographs an image. According to an embodiment of the present invention, the camera unit 207 controls the camera and photographs an image in real-time when the UE enters a video communication mode under the control of the control unit 201 to be described later.
  • the storage unit 204 may be configured by a program memory and a data memory, and stores various information required for controlling the operation of the UE 105 . According to an embodiment of the present invention, the storage unit 204 may store information, such as a time interval for searching for a WLAN during video communication through the 3G mobile communication network, and may store information on predetermined video-communication-capable devices.
  • the WLAN communication unit 206 performs WLAN communication through an AP by means of a WLAN.
  • the control unit 201 controls the general operation of the UE 105 .
  • the control unit 201 allows the UE to perform video communication through a mobile communication network, searches for whether or not there is a WLAN currently accessible by the UE at every predetermined interval, displays the accessible WLAN through the display unit 203 when one is found, and controls video communication to be performed through the displayed WLAN using the WLAN communication unit 206 when the displayed WLAN is selected by the user through the input unit 202 .
  • control unit 201 performs a control operation to perform video communication through a WLAN, to measure the Received Signal Strength Indication (RSSI) of a signal transmitted/received through the WLAN at every predetermined interval, to display one or more mobile communication networks accessible by the UE 105 through the display unit 203 when the RSSI becomes lower than a preset threshold value, and to perform the video communication through a selected mobile communication network using the mobile communication unit 205 when one of the displayed mobile communication networks is selected by the user.
  • RSSI Received Signal Strength Indication
  • FIG. 3 is a flowchart illustrating the steps of a communication network change operation from a 3G mobile communication network to a WLAN during video communication of a UE, according to an embodiment of the present invention.
  • the UE 105 when the UE 105 performs video communication though a mobile communication network in step 301 , the UE 105 searches for a WLAN, which the UE 105 can access, at every predetermined interval in step 302 .
  • the UE 105 periodically performs a search for a WLAN.
  • the UE 105 may be set to perform the WLAN search operation, regardless of the location of the UE 105 .
  • the UE 105 continuously searches for a WLAN signal at preset periods to perform a search for an accessible WLAN AP.
  • the UE 105 may be set to perform a search for a WLAN AP only in a case in which the UE 105 is located in a preset position.
  • the location information of the UE 105 is to be continuously or periodically identified through either a GPS module installed in the UE 105 or through a base station which performs communication with the UE 105 , and to perform a WLAN search when the UE 105 enters a preset area.
  • the UE 105 may be set to perform a WLAN search at preset periods when the UE 105 continuously stays in the preset area.
  • the UE 105 may store access information when the UE 105 accesses a WLAN, and may be set to perform an access to an AP included in previous access history of the UE 105 when a WLAN is searched and the AP included in the previous access history exists. Also, the UE 105 may be set to search for only an AP included in previous access history of the UE 105 when a WLAN is searched.
  • the WLAN hotspot area is smaller than the service coverage of the entire wide-area mobile communication network, which may vary depending on area characteristics. Accordingly, the WLAN search interval of the UE 105 may be set appropriately according to the circumstances and location of the UE 105 .
  • a BS 101 in a wide-area mobile communication network which includes a hotspot, may notify the UE 105 that a hotspot area usable by the UE 105 exists in the service coverage of the BS 101 .
  • the UE 105 may be set to periodically perform a search for finding a hotspot only when the UE 105 has received information that a hotspot area usable by the UE 105 exists in the service coverage of the BS 101 from the BS 101 .
  • step 303 the UE 105 determines if there is a WLAN accessible by the UE 105 as a result of the search. When it is determined that there is no WLAN accessible by the UE 105 in step 303 , the UE 105 proceeds to step 307 . When the video communication is not terminated in step 307 , the UE 105 proceeds to step 301 , in which the UE 105 continues to perform the video communication through the 3G mobile communication network.
  • step 304 in which the UE 105 displays the WLAN accessible by the UE 105 .
  • a user interface for enabling the user to select a desired WLAN (i.e., an AP) among the plurality of WLANs is displayed.
  • FIG. 4 is a view showing an example in which a UE displays WLANs on the screen thereof when detecting the WLANs during video communication according to an embodiment of the present invention. As shown in FIG. 4 , when finding WLANs accessible by the UE 105 during video communication, the UE 105 may provide the types and signal intensities of the found WLANs through the screen thereof.
  • step 305 the UE 105 determines if an accessible WLAN is selected by the user.
  • the UE 105 proceeds to step 307 .
  • the UE 105 proceeds to step 301 , in which the UE 105 continues to perform the video communication.
  • step 305 the UE 105 proceeds to step 306 , in which the UE 105 activates the selected WLAN and connects the video communication to the selected WLAN.
  • the personal information may be input in the form of a popup window on the video communication screen so that the UE 105 can access the WLAN.
  • a network change is generated such that the video communication data of a counterpart UE is transferred to the Internet from the mobile communication network including the RNC and MSC and is then transferred to the corresponding WLAN through the Internet.
  • the UE 105 is allocated an IP for performing communication through the WLAN, and performs a change operation such that the UE 105 can transmit/receive video communication data, which has been transmitted/received through the mobile communication network, through the WLAN.
  • step 308 the UE 105 performs video communication through the selected WLAN. If the video communication is terminated in step 309 , the operation ends, and, if not, the UE 105 continues to perform steps 308 and 309 of performing the video communication.
  • FIG. 5 is a flowchart illustrating the steps of a communication device change operation during video communication of a UE, according to an embodiment of the present invention. Specifically, FIG. 5 illustrates the steps of a communication device change operation to another device capable of performing video communication while video communication is being performed through either a WLAN or through a mobile communication network in an area, such as a home or office, where the WLAN is accessible. According to the present invention, while performing video communication, the UE can transmit video communication data to an electronic device connected through a home network, which is based on the DLNA standard so that the user can perform the video communication through the electronic device.
  • the UE may perform operations, such as searching for information on devices capable of performing video communication through a server of the home network, storing the information, changing an IP, and the like.
  • the video communication device when a video communication device is changed to an another device connected to a mobile communication network, the video communication device may be changed to a preset other video-communication-capable device which has been set by the user in advance.
  • the UE 105 determines if the UE 105 receives an input for a video communication device change from the user in step 502 .
  • the UE 105 proceeds to step 507 .
  • the UE 105 proceeds to step 501 , in which the UE 105 continues to perform the video communication.
  • the UE 105 determines if there is a device capable of video communication through a mobile communication network which is established by the user in advance.
  • step 504 the UE 105 determines if there is a video-communication-capable device as a result of the search. When it is determined that there is no video-communication-capable device in step 504 , the UE 105 proceeds to step 507 . When the video communication is not terminated in step 507 , the UE 105 proceeds to step 501 , in which the UE 105 continues to perform the video communication.
  • FIG. 6 is a view showing an example in which a UE displays a video-communication-capable device on its screen when detecting the video-communication-capable device during video communication.
  • the UE 105 may provide basic information, such as the type and name of the found device, through the screen of the UE 105 .
  • step 506 the UE 105 determines if the video-communication-capable device is selected by the user for switching of the video communication. When it is determined that the video-communication-capable device is not selected (e.g., when the user cancels the selection), the UE 105 proceeds to step 507 . When the UE 105 continues to be in communication in step 507 , the UE 105 proceeds to step 501 , in which the UE 105 continues to perform the video communication.
  • the UE 105 proceeds to step 508 , in which the UE 105 performs a video communication device change operation so that the video communication can be performed through the selected device.
  • the original UE having performed video communication may transmit video communication data to another electronic device connected with the home network to perform the video communication using the other electronic device.
  • the UE functions as a gateway for video communication.
  • step 509 If the video communication is terminated in step 509 , the operation ends, and if not, the UE 105 continues to perform steps 508 of performing the video communication.
  • the operation of changing video communication devices as described above may be performed simultaneously with a change of communication network for video communication.
  • the user when the user enters a home while performing video communication through a mobile communication network using his/her own UE outside the house, the user can change the communication network for video communication to an indoor WLAN, and change the video communication device to another device, such as a TV, connected to the WLAN or home network, thereby continuously performing the video communication.
  • FIG. 7 is a flowchart illustrating the steps of a communication network change operation from a WLAN to a mobile communication network during video communication of a UE according to an embodiment of the present invention.
  • the UE measures a signal strength of the WLAN at every predetermined interval in step 702 .
  • step 703 the UE determines if the signal strength measured in step 702 is less than a preset threshold value.
  • a signal strength may be measured through the use of a Signal-to-Noise Ratio (SNR) or a Receiver Signal Strength Indicator (RSSI).
  • SNR Signal-to-Noise Ratio
  • RSSI Receiver Signal Strength Indicator
  • step 707 the UE determines if the video communication is terminated.
  • the UE performs step 701 , in which the UE continuously performs the video communication through the 3G mobile communication network.
  • step 704 when it is determined in step 703 that the measured signal strength is less than a preset threshold value, the UE performs step 704 , in which the UE displays a mobile communication network which is currently accessible by the UE performing the video communication. In this case, a user interface for checking an access to the accessible mobile communication network is displayed.
  • step 705 the UE determines if an accessible mobile communication network is selected by the user. When it is determined that the mobile communication network is not selected by the user (e.g., when the user cancels the selection) in step 705 , the UE performs step 707 . When it is determined in step 707 that the UE continues to be in communication, the UE performs step 701 , in which the UE continues to perform the video communication.
  • step 706 the UE changes the communication network for the video communication to the selected mobile communication network.
  • the change to perform video communication through a mobile communication network as described above, is made, the route of video communication data transmitted/received through the WLAN is changed to be transmitted/received through an MSC and RNC of the mobile communication network.
  • step 708 the UE performs video communication through the selected mobile communication network. If the video communication is terminated in step 709 , the operation ends, and, if not, the UE continues to perform steps 708 of performing the video communication.
  • the UE when a UE moves into a WLAN-accessible area during video communication using the UE, the UE can perform the video communication through the WLAN, so that the user can perform video communication using the most appropriate communication network according to the location of the moving UE during the video communication.
  • the user in the course of performing video communication using a UE in the outside, when the user moves into a hotspot, such as a home or office, where a WLAN AP exists, the user can perform the video communication through a WLAN, which is lower-priced. Also, since the video communication can be switched to another video-communication-capable device (e.g., an IP TV, a home telephone, etc.), it is possible to implement video communication regardless of place and device. In addition, conversely, even if the user moves to the outside in the course of performing video communication through a WLAN in the house, a communication network for the video communication is changed to the mobile communication network, and a communication device is changed to the UE, so that it is possible to continuously perform the video communication.
  • a hotspot such as a home or office, where a WLAN AP exists
  • the video communication can be switched to another video-communication-capable device (e.g., an IP TV, a home telephone, etc.), it is possible to implement video communication regardless of place and device

Landscapes

  • Engineering & Computer Science (AREA)
  • Signal Processing (AREA)
  • Computer Networks & Wireless Communication (AREA)
  • Multimedia (AREA)
  • Quality & Reliability (AREA)
  • General Business, Economics & Management (AREA)
  • Business, Economics & Management (AREA)
  • Physics & Mathematics (AREA)
  • Electromagnetism (AREA)
  • Human Computer Interaction (AREA)
  • Computer Security & Cryptography (AREA)
  • Mobile Radio Communication Systems (AREA)
  • Telephone Function (AREA)

Abstract

Disclosed is a method for changing a communication network for video communication, the method including performing, by a User Equipment (UE), video communication through a mobile communication network; searching for whether there is a WLAN currently accessible by the UE at every predetermined interval; displaying the accessible WLAN if one is found; and when the displayed WLAN is selected by a user, changing a communication network for the video communication to perform the video communication through the selected WLAN.

Description

PRIORITY
This application claims priority under 35 U.S.C. §119(a) to an application entitled “Method and Apparatus for Video Communication” filed in the Korean Industrial Property Office on Oct. 30, 2009 and assigned Ser. No. 10-2009-0104523, the contents of which are incorporated herein by reference.
BACKGROUND OF THE INVENTION
1. Field of the Invention
The present invention generally relates to video communications, and, more particularly, to a method and apparatus of changing a communication network or a communication device for video communication during video communications in a User Equipment (UE).
2. Description of the Related Art
Recently, with the rapid development of the information society, multi-purpose terminals including various functions in addition to merely transmitting voice, have been developed. Accordingly, a User Equipment (UE) having both a function of transmitting/receiving image data and a function of transmitting/receiving voice has been developed. A representative multi-purpose UE is a camera phone.
When a user desires to take and keep a photograph of a certain scene or a subject required for business use, the camera phone allows the user to photograph and store a desired scene or subject in its internal memory. Additionally, the camera phone allows the photographed image to be wirelessly transmitted to another UE, and to be output onto the screen of a Personal Computer (PC) when the camera phone is connected to the PC. Recently, a technology that enables the user to photograph and transmit his/her own image in real-time to a counterpart through a wireless network to perform video communication has been developed and commercialized.
Generally, a Base Station (BS) in a wide-area mobile communication network has an advantage in that it has a wide service coverage from several kilometers to several tens of kilometers, and has a disadvantage in that the service fee is high. In contrast, an Access Point (AP) of a WLAN as described in the IEEE 802.11 protocol has advantages in that it provides a data rate higher than that of the wide-area mobile communication network, and low service fees. However, the WLAN has a disadvantage in that the service coverage of an AP is limited to several tens of meters.
Therefore, it is necessary to develop a method for performing video communication through the most appropriate communication network depending on the location of a UE when video communication is performed using the UE.
SUMMARY OF THE INVENTION
Accordingly, the present invention has been made to solve the above-mentioned problems occurring in the prior art. The present invention provides a video communication method and apparatus for enabling a UE to perform video communication through a WLAN when the UE moves into an area in which the UE can access the WLAN during the video communication using the UE, and enabling the UE to perform video communication through a mobile communication network when the UE leaves the area of the WLAN during the video communication through the WLAN. Further, the present invention provides a video communication method and apparatus for enabling a communication device to be changed to another video-communication-capable device or enabling video communication to be performed through a device connected to a home network, during the video communication.
In accordance with an aspect of the present invention, there is provided a method for changing a communication network for video communication, the method including performing, by a User Equipment (UE), video communication through a mobile communication network; searching for whether there is a WLAN currently accessible by the UE at every predetermined interval; displaying the accessible WLAN if one is found; and when the displayed WLAN is selected by a user, changing a communication network for the video communication to perform the video communication through the selected WLAN.
Preferably, searching for whether there is a WLAN currently accessible by the UE at every predetermined interval includes the steps of: receiving information, which represents whether a usable WLAN exists in a service coverage of a base station of the mobile communication network, from the base station; and searching for whether there is a WLAN currently accessible by the UE at said every predetermined interval when a usable WLAN exists in the service coverage of the base station.
Preferably, displaying the accessible WLAN when there is the accessible WLAN includes a step of displaying a user interface for enabling the user to select a desired WLAN or AP among a plurality of accessible WLANs when there is a plurality of accessible WLANs.
Preferably, changing a communication network for the video communication to perform the video communication through the selected WLAN includes the steps of: receiving, by the UE, an Internet Protocol (IP) for performing communication through the WLAN, the IP being allocated from an AP; performing a change operation to transmit/receive video communication data, which the UE has transmitted/received through the mobile communication network, through the selected WLAN; performing a setup operation to transfer data for the video communication from the WLAN to the mobile communication network via the Internet, and, thus, to transfer the data for the video communication to a counterpart UE performing the video communication; and performing a setup operation to receive data for the video communication of the counterpart UE, which performs the video communication, through the selected WLAN via the Internet from the mobile communication network.
Preferably, the method further includes determining, by the UE, whether the UE receives an input for a video communication device change; searching for a video-communication-capable device when receiving the input for the video communication device change; displaying the video-communication-capable device when the video-communication-capable device exists; and when the displayed video-communication-capable device is selected, changing a video communication device to perform the video communication through the selected device.
Preferably, searching for a video-communication-capable device is performed in such a manner that the UE controls a separate server or controller connected to the WLAN.
In accordance with another aspect of the present invention, there is provided a User Equipment (UE) for changing a communication network for video communication, the UE including a mobile communication unit for performing wireless communication through a mobile communication network; a display unit for outputting various display data generated in the UE; an input unit for receiving an input from a user; a camera unit for photographing an image in real-time during the video communication, the camera unit including a camera; a storage unit for storing various information required for controlling an operation of the UE; and a control unit for controlling a general operation of the UE, searching for whether there is a WLAN currently accessible by the UE at every predetermined interval during communication through the mobile communication network, displaying the accessible WLAN if an accessible WLAN is found, and changing a communication network for the video communication, when the displayed WLAN is selected by the user, to perform the video communication through the selected WLAN.
Preferably, searching, by the control unit, for whether there is a WLAN currently accessible by the UE at every predetermined interval includes receiving information, which represents whether a usable WLAN exists in a service coverage of a base station of the mobile communication network, from the base station; and searching for whether there is a WLAN currently accessible by the UE at said every predetermined interval when a usable WLAN exists in the service coverage of the base station.
Preferably, displaying, by the control unit, the accessible WLAN includes displaying a user interface for enabling the user to select a desired WLAN or AP among a plurality of accessible WLANs through the display unit when there is a plurality of accessible WLANs.
Preferably, changing, by the control unit, a communication network for the video communication to perform the video communication through the selected WLAN includes receiving an IP allocated from an AP for performing communication through the WLAN; performing a change operation to transmit/receive video communication data, which has been transmitted/received through the mobile communication network, through the selected WLAN; performing a setup operation so as transfer data for the video communication from the WLAN to the mobile communication network via the Internet, and thus to transfer the data for the video communication to a counterpart UE performing the video communication; and performing a setup operation to receive data for the video communication of the counterpart UE, which performs the video communication, through the selected WLAN via the Internet from the mobile communication network.
Preferably, the control unit determines whether the UE receives an input for a video communication device change; searches for a video-communication-capable device when receiving the input for the video communication device change; displays the video-communication-capable device when the video-communication-capable device exists; and, when the displayed video-communication-capable device is selected, changes a video communication device to perform the video communication through the selected device.
Preferably, searching for a video-communication-capable device is performed in such a manner that the control unit controls a separate server or controller connected to the WLAN.
BRIEF DESCRIPTION OF THE DRAWINGS
The above and other aspects, features and advantages of the present invention will be more apparent from the following detailed description taken in conjunction with the accompanying drawings, in which:
FIG. 1 is a view schematically illustrating a situation where a UE moves from a 3G mobile communication network to a WLAN according to an embodiment of the present invention;
FIG. 2 is a block diagram illustrating the configuration of a UE, according to an embodiment of the present invention;
FIG. 3 is a flowchart illustrating the steps of a communication network change operation from a 3G mobile communication network to a WLAN during video communication of a UE according to an embodiment of the present invention;
FIG. 4 is a view showing an example in which a UE displays WLANs on its screen when detecting the WLANs during video communication according to an embodiment of the present invention;
FIG. 5 is a flowchart illustrating the steps of a communication device change operation during video communication of a UE, according to an embodiment of the present invention;
FIG. 6 is a view showing an example in which a UE displays a video-communication-capable device on the screen thereof when detecting the video-communication-capable device during video communication according to an embodiment of the present invention, and
FIG. 7 is a flowchart illustrating the steps of a communication network change operation of a UE from a WLAN to a mobile communication network during video communication according to an embodiment of the present invention.
DETAILED DESCRIPTION OF THE EMBODIMENTS OF THE PRESENT INVENTION
An apparatus and method according to an embodiment of the present invention will be described with reference to the accompanying drawings. Additionally, various specific definitions found in the following description, such as specific components and so on, are provided only to help with the general understanding of the present invention, and it is apparent to those skilled in the art that the present invention can be implemented without such definitions. Further, in the following description of the present invention, a detailed description of known functions and configurations incorporated herein will be omitted when it may make the subject matter of the present invention unclear.
The present invention provides a method for enabling a User Equipment (UE) to use both a wide-area 3G mobile communication network and a Wireless Local Area Network (WLAN) during video communication to compensate for the disadvantages of the wide-area communication network and WLAN and to provide advantages thereof. According to an embodiment of the present invention, when a UE in video communication moves to a WLAN service area (a “hotspot”), a vertical handover is performed from a Base Station (BS) of a wide-area mobile communication network to an Access Point (AP) of the hotspot, so that the UE can continuously perform the video communication in the hotspot. Also, when a UE is no longer within an area of a WLAN during video communication using the WLAN, the UE performs a handover to the mobile communication network to perform the video communication through the mobile communication network again.
Also, the present invention provides a method for changing a video communication device with another video communication device during video communication.
FIG. 1 is a view schematically illustrating a situation where a UE moves between a 3G mobile communication network and a WLAN, according to an embodiment of the present invention.
Referring to FIG. 1, when a UE 105 is located outside a hotspot coverage area, the UE 105 performs video communication with another UE through a BS 101 of a wide-area 3G mobile communication network (i.e., core network) 104, a Radio Network Controller (RNC) (not shown), and a Mobile Switching Center (MSC) (not shown). In contrast, when the UE 105 moves and is located within the hotspot coverage area, the UE 105 can perform video communication using a WLAN through an Access Point (AP). That is, the UE 105 can perform video communication with another UE, which has been connected to the 3G mobile communication network, through paths PATH1, MSC, RNC, and BS of the 3G mobile communication network connected with the Internet 103 via a WLAN. Also, the UE 105 can transmit video communication data to an electronic device connected through a home network, which is based on the Digital Living Network Alliance (DLNA) standard, and perform video communication through the electronic device. That is, the user can perform video communication through an indoor electronic device which is connected with the UE 150 through a home network.
FIG. 2 is a block diagram illustrating the configuration of a UE according to an embodiment of the present invention.
Referring to FIG. 2, the UE 105 includes a mobile communication unit 205, an input unit 202, a storage unit 204, a camera unit 207, a display unit 203, a WLAN communication unit 206, and a control unit 201.
The mobile communication unit 205 enables the UE 105 to perform wireless communication through a mobile communication network. The mobile communication unit 205 includes an RF transmitter (not shown) for up-converting a frequency of a signal to be transmitted and amplifying the up-converted signal, and an RF receiver (not shown) for low-noise amplifying a received signal and down-converting a frequency of the low-noise amplified signal.
The display unit 203 may be constructed with a Liquid Crystal Display (LCD), and displays various display data generated in the UE 105. When the LCD is implemented in a touch screen type, the display unit 230 may operate as an input means. According to an embodiment of the present invention, when a WLAN, which the UE 105 can access, is found during video communication through a mobile communication network, the display unit 203 may display information for notifying the user of the found WLAN. Additionally, the display unit 203 may display a mobile communication network accessible by the UE 105 when the signal strength of a WLAN becomes weak during video communication through the WLAN, or may display information for notifying the user of a device capable of performing video communication in response to the request of the user when there is a device capable of performing video communication.
The input unit 202 includes keys for inputting numeric and text information, and function keys for setting various functions, and senses an input by the user.
The camera unit 207 includes at least one camera, and photographs an image. According to an embodiment of the present invention, the camera unit 207 controls the camera and photographs an image in real-time when the UE enters a video communication mode under the control of the control unit 201 to be described later.
The storage unit 204 may be configured by a program memory and a data memory, and stores various information required for controlling the operation of the UE 105. According to an embodiment of the present invention, the storage unit 204 may store information, such as a time interval for searching for a WLAN during video communication through the 3G mobile communication network, and may store information on predetermined video-communication-capable devices.
The WLAN communication unit 206 performs WLAN communication through an AP by means of a WLAN.
The control unit 201 controls the general operation of the UE 105. According to an embodiment of the present invention, the control unit 201 allows the UE to perform video communication through a mobile communication network, searches for whether or not there is a WLAN currently accessible by the UE at every predetermined interval, displays the accessible WLAN through the display unit 203 when one is found, and controls video communication to be performed through the displayed WLAN using the WLAN communication unit 206 when the displayed WLAN is selected by the user through the input unit 202.
Also, the control unit 201 performs a control operation to perform video communication through a WLAN, to measure the Received Signal Strength Indication (RSSI) of a signal transmitted/received through the WLAN at every predetermined interval, to display one or more mobile communication networks accessible by the UE 105 through the display unit 203 when the RSSI becomes lower than a preset threshold value, and to perform the video communication through a selected mobile communication network using the mobile communication unit 205 when one of the displayed mobile communication networks is selected by the user.
FIG. 3 is a flowchart illustrating the steps of a communication network change operation from a 3G mobile communication network to a WLAN during video communication of a UE, according to an embodiment of the present invention. Referring to FIG. 3, when the UE 105 performs video communication though a mobile communication network in step 301, the UE 105 searches for a WLAN, which the UE 105 can access, at every predetermined interval in step 302.
In step 302, the UE 105 periodically performs a search for a WLAN. Explaining the WLAN search operation in more detail, the UE 105 may be set to perform the WLAN search operation, regardless of the location of the UE 105. In this case, the UE 105 continuously searches for a WLAN signal at preset periods to perform a search for an accessible WLAN AP.
Also, the UE 105 may be set to perform a search for a WLAN AP only in a case in which the UE 105 is located in a preset position. In such a scheme, the location information of the UE 105 is to be continuously or periodically identified through either a GPS module installed in the UE 105 or through a base station which performs communication with the UE 105, and to perform a WLAN search when the UE 105 enters a preset area. Meanwhile, the UE 105 may be set to perform a WLAN search at preset periods when the UE 105 continuously stays in the preset area.
Additionally, the UE 105 may store access information when the UE 105 accesses a WLAN, and may be set to perform an access to an AP included in previous access history of the UE 105 when a WLAN is searched and the AP included in the previous access history exists. Also, the UE 105 may be set to search for only an AP included in previous access history of the UE 105 when a WLAN is searched.
Generally, the WLAN hotspot area is smaller than the service coverage of the entire wide-area mobile communication network, which may vary depending on area characteristics. Accordingly, the WLAN search interval of the UE 105 may be set appropriately according to the circumstances and location of the UE 105. Meanwhile, a BS 101 in a wide-area mobile communication network, which includes a hotspot, may notify the UE 105 that a hotspot area usable by the UE 105 exists in the service coverage of the BS 101. In this case, the UE 105 may be set to periodically perform a search for finding a hotspot only when the UE 105 has received information that a hotspot area usable by the UE 105 exists in the service coverage of the BS 101 from the BS 101.
In step 303, the UE 105 determines if there is a WLAN accessible by the UE 105 as a result of the search. When it is determined that there is no WLAN accessible by the UE 105 in step 303, the UE 105 proceeds to step 307. When the video communication is not terminated in step 307, the UE 105 proceeds to step 301, in which the UE 105 continues to perform the video communication through the 3G mobile communication network.
In contrast, when it is determined that there is a WLAN accessible by the UE 105 in step 303, the UE 105 proceeds to step 304, in which the UE 105 displays the WLAN accessible by the UE 105. In this case, when a plurality of WLANs are detected, a user interface for enabling the user to select a desired WLAN (i.e., an AP) among the plurality of WLANs is displayed. FIG. 4 is a view showing an example in which a UE displays WLANs on the screen thereof when detecting the WLANs during video communication according to an embodiment of the present invention. As shown in FIG. 4, when finding WLANs accessible by the UE 105 during video communication, the UE 105 may provide the types and signal intensities of the found WLANs through the screen thereof.
Next, in step 305, the UE 105 determines if an accessible WLAN is selected by the user. When it is determined that no WLAN is selected by the user (e.g., when the user cancels the selection) in step 305, the UE 105 proceeds to step 307. When the UE 105 continues to be in communication in step 307, the UE 105 proceeds to step 301, in which the UE 105 continues to perform the video communication.
When the user selects a WLAN to access through a displayed screen, as shown in FIG. 4, in step 305, the UE 105 proceeds to step 306, in which the UE 105 activates the selected WLAN and connects the video communication to the selected WLAN. In this case, when access to the WLAN requires an input of personal information, the personal information may be input in the form of a popup window on the video communication screen so that the UE 105 can access the WLAN. When a network change is generated to perform the video communication through the WLAN, as described above, the transmission path of video communication data of the user is changed such that the video communication data is transferred to the Internet through the WLAN and is transferred to an MSC and RNC of the mobile communication network through the Internet. In contrast, a network change is generated such that the video communication data of a counterpart UE is transferred to the Internet from the mobile communication network including the RNC and MSC and is then transferred to the corresponding WLAN through the Internet. In addition, the UE 105 is allocated an IP for performing communication through the WLAN, and performs a change operation such that the UE 105 can transmit/receive video communication data, which has been transmitted/received through the mobile communication network, through the WLAN.
In step 308, the UE 105 performs video communication through the selected WLAN. If the video communication is terminated in step 309, the operation ends, and, if not, the UE 105 continues to perform steps 308 and 309 of performing the video communication.
FIG. 5 is a flowchart illustrating the steps of a communication device change operation during video communication of a UE, according to an embodiment of the present invention. Specifically, FIG. 5 illustrates the steps of a communication device change operation to another device capable of performing video communication while video communication is being performed through either a WLAN or through a mobile communication network in an area, such as a home or office, where the WLAN is accessible. According to the present invention, while performing video communication, the UE can transmit video communication data to an electronic device connected through a home network, which is based on the DLNA standard so that the user can perform the video communication through the electronic device.
Additionally, there may be a separate server or controller connected to the WLAN for control operations, such as searching for information on video-communication-capable devices, changing an IP, etc. Additionally, when a home network is configured, the UE may perform operations, such as searching for information on devices capable of performing video communication through a server of the home network, storing the information, changing an IP, and the like.
Moreover, when a video communication device is changed to an another device connected to a mobile communication network, the video communication device may be changed to a preset other video-communication-capable device which has been set by the user in advance.
Referring to FIG. 5, first, when the UE 105 performs video communication in step 501, the UE 105 determines if the UE 105 receives an input for a video communication device change from the user in step 502. When it is determined that the UE 105 did not receive an input for a video communication device change in step 502, the UE 105 proceeds to step 507. When the video communication is not terminated in step 507, the UE 105 proceeds to step 501, in which the UE 105 continues to perform the video communication.
In contrast, when it is determined that the UE 105 receives an input for a video communication device change in step 502, the UE 105 proceeds to step 503, in which the UE 105 searches for a video-communication-capable device. In this case, the UE 105 may perform the search for a video-communication-capable device through the use of a separate server or controller in order to search for a device to perform video communication through a WLAN, as described above. Also, the server or the UE 105 may store information on video-communication-capable devices in advance, and search the stored devices for a connectable device currently connected to a WLAN AP. Also, in order to search for a device to perform video communication through a mobile communication network, the UE 105 determines if there is a device capable of video communication through a mobile communication network which is established by the user in advance.
In step 504, the UE 105 determines if there is a video-communication-capable device as a result of the search. When it is determined that there is no video-communication-capable device in step 504, the UE 105 proceeds to step 507. When the video communication is not terminated in step 507, the UE 105 proceeds to step 501, in which the UE 105 continues to perform the video communication.
In contrast, when it is determined that there is a video-communication-capable device in step 504, the UE 105 proceeds to step 505, in which the UE 105 displays the video-communication-capable device. FIG. 6 is a view showing an example in which a UE displays a video-communication-capable device on its screen when detecting the video-communication-capable device during video communication. As shown in FIG. 6, when finding a video-communication-capable device, the UE 105 may provide basic information, such as the type and name of the found device, through the screen of the UE 105.
Next, in step 506, the UE 105 determines if the video-communication-capable device is selected by the user for switching of the video communication. When it is determined that the video-communication-capable device is not selected (e.g., when the user cancels the selection), the UE 105 proceeds to step 507. When the UE 105 continues to be in communication in step 507, the UE 105 proceeds to step 501, in which the UE 105 continues to perform the video communication.
In contrast, when it is determined that the user selects the video-communication-capable device through the screen shown in FIG. 6 in step 506, the UE 105 proceeds to step 508, in which the UE 105 performs a video communication device change operation so that the video communication can be performed through the selected device. Also, in the case of a UE connected with a home network, the original UE having performed video communication may transmit video communication data to another electronic device connected with the home network to perform the video communication using the other electronic device. In this case, the UE functions as a gateway for video communication.
If the video communication is terminated in step 509, the operation ends, and if not, the UE 105 continues to perform steps 508 of performing the video communication.
The operation of changing video communication devices as described above may be performed simultaneously with a change of communication network for video communication. For example, when the user enters a home while performing video communication through a mobile communication network using his/her own UE outside the house, the user can change the communication network for video communication to an indoor WLAN, and change the video communication device to another device, such as a TV, connected to the WLAN or home network, thereby continuously performing the video communication.
FIG. 7 is a flowchart illustrating the steps of a communication network change operation from a WLAN to a mobile communication network during video communication of a UE according to an embodiment of the present invention. Referring to FIG. 7, first, when the UE performs video communication though a WLAN in step 701, the UE measures a signal strength of the WLAN at every predetermined interval in step 702.
Next, in step 703, the UE determines if the signal strength measured in step 702 is less than a preset threshold value. Such a signal strength may be measured through the use of a Signal-to-Noise Ratio (SNR) or a Receiver Signal Strength Indicator (RSSI). When the measured signal strength is not less than the preset threshold value as a result of the determination, the UE performs step 707, in which the UE determines if the video communication is terminated. When the video communication is not terminated, the UE performs step 701, in which the UE continuously performs the video communication through the 3G mobile communication network.
In contrast, when it is determined in step 703 that the measured signal strength is less than a preset threshold value, the UE performs step 704, in which the UE displays a mobile communication network which is currently accessible by the UE performing the video communication. In this case, a user interface for checking an access to the accessible mobile communication network is displayed.
In step 705, the UE determines if an accessible mobile communication network is selected by the user. When it is determined that the mobile communication network is not selected by the user (e.g., when the user cancels the selection) in step 705, the UE performs step 707. When it is determined in step 707 that the UE continues to be in communication, the UE performs step 701, in which the UE continues to perform the video communication.
When the user selects a mobile communication network to be accessed by the UE in step 705, the UE performs step 706, in which the UE changes the communication network for the video communication to the selected mobile communication network. When the change to perform video communication through a mobile communication network, as described above, is made, the route of video communication data transmitted/received through the WLAN is changed to be transmitted/received through an MSC and RNC of the mobile communication network.
Next, in step 708, the UE performs video communication through the selected mobile communication network. If the video communication is terminated in step 709, the operation ends, and, if not, the UE continues to perform steps 708 of performing the video communication.
According to an embodiment of the present invention, when a UE moves into a WLAN-accessible area during video communication using the UE, the UE can perform the video communication through the WLAN, so that the user can perform video communication using the most appropriate communication network according to the location of the moving UE during the video communication.
Accordingly, in the course of performing video communication using a UE in the outside, when the user moves into a hotspot, such as a home or office, where a WLAN AP exists, the user can perform the video communication through a WLAN, which is lower-priced. Also, since the video communication can be switched to another video-communication-capable device (e.g., an IP TV, a home telephone, etc.), it is possible to implement video communication regardless of place and device. In addition, conversely, even if the user moves to the outside in the course of performing video communication through a WLAN in the house, a communication network for the video communication is changed to the mobile communication network, and a communication device is changed to the UE, so that it is possible to continuously perform the video communication.
The operation and construction of the video communication method and apparatus according to an embodiment of the present invention, can be implemented as described above. While the invention has been shown and described with reference to certain embodiments thereof, it will be understood by those skilled in the art that various changes in form and details may be made therein without departing from the spirit and scope of the invention as defined by the appended claims.

Claims (22)

What is claimed is:
1. A method for changing a communication network for communication in a mobile device, the method comprising the steps of:
performing, by a mobile communication unit, communication through a mobile communication network;
searching, by a control unit, for whether there is at least one wireless network accessible by the mobile device, while performing the communication through the mobile communication network;
displaying, by a display unit, the at least one accessible wireless network if the at least one accessible wireless network is found as a result of the search while simultaneously displaying video from the communication being performed through the mobile communication network; and
changing, by the control unit, if the displayed wireless network is selected by a user, a communication network for the communication to perform the communication through the selected wireless network.
2. The method as claimed in claim 1, wherein searching for whether there is at least one wireless network accessible by the mobile device comprises searching, by the control unit, for whether there is at least one wireless network currently accessible by the mobile device at every predetermined interval.
3. The method as claimed in claim 1, wherein searching for whether there is at least one wireless network accessible by the mobile device comprises identifying, by the control unit location information of the mobile device, and searching, by the control unit for whether there is at least one accessible wireless network if the mobile device is located in a preset area.
4. The method as claimed in claim 1, wherein searching for whether there is at least one wireless network accessible by the mobile device comprises searching, by the control unit, for whether there is an AP which the mobile device as accessed before.
5. The method as claimed in claim 1, wherein displaying the at least one accessible wireless network if one is found comprises displaying, by the display unit, a user interface for enabling the user to select a desired wireless network or Access Point (AP) among a plurality of accessible wireless networks if there is a plurality of accessible wireless networks.
6. The method as claimed in claim 1, wherein changing a communication network for the communication to perform the communication through the selected wireless network comprises:
receiving, by the control unit, an Internet Protocol (IP) for performing communication through the wireless network, the IP being allocated from an AP;
performing, by the control unit, a change operation to transmit/receive communication data, which the mobile device has transmitted/received through the mobile communication network, through the selected wireless network;
performing, by the control unit, a setup operation to transfer data for the communication from the wireless network to the mobile communication network via the Internet, and transfer the data for the communication to a counterpart mobile device performing the communication; and
performing, by the control unit, a setup operation to receive data for the communication of the counterpart mobile device, which performs the communication, through the selected wireless network via the Internet from the mobile communication network.
7. The method as claimed in claim 1, further comprising:
performing, by the mobile communication unit, communication through the wireless network;
measuring, by the control unit, a Received Signal Strength Indication (RSSI) of a signal through the wireless network, which the mobile device has accessed, at every predetermined interval;
displaying, by the display unit, a mobile communication network accessible by the mobile device if the measured RSSI is less than a preset value; and
changing, by the control unit, if the displayed mobile communication network is selected by a user, a communication network for communication to perform the communication through the selected mobile communication network.
8. The method as claimed in claim 1, further comprising:
determining, by the control unit, whether the mobile device receives an input for a communication device change;
searching, by the control unit, for a communication-capable device upon receipt of the input for the communication device change;
displaying, by the display unit, the communication-capable device when the communication-capable device exists; and
changing, by the control unit, if the displayed communication-capable device is selected, changing a communication device to perform the communication through the selected device.
9. The method as claimed in claim 8, wherein searching for a communication-capable device comprises determining, by the control unit, whether there is a preset device which enables communication through the mobile communication network.
10. The method as claimed in claim 8, wherein changing a communication device comprises:
allocating, by the control unit, an Internet Protocol (IP) to the selected device to perform communication and transmitting, by the control unit, data for performing current communication through an Access Point (API) to the selected device to perform communication, wherein the selected device is communicating through a wireless network.
11. The method as claimed in claim 8, wherein, changing a communication device comprises:
transmitting, by the control unit, communication data through the home network to the selected device to perform communication, wherein the selected device is connected with the mobile device through a home network.
12. A mobile device for changing a communication network for communication, the mobile device comprising:
a mobile communication unit configured to perform wireless communication through a mobile communication network;
a display unit configured to output various display data generated in the mobile device;
an input unit configured to receive an input from a user;
a camera unit configured to photograph an image in real-time during the communication, the camera unit including a camera;
a storage unit configured to store various information required for controlling an operation of the mobile device; and
a control unit configured to control a general operation of the mobile device, searching for whether there is at least one accessible wireless network during communication through the mobile communication network, displaying, on the display unit, the at least one accessible wireless network, if the at least one accessible wireless network is found as a result of the search while simultaneously displaying video from the communication being performed through the mobile communication network to change a communication network for the communication, if the displayed wireless network is selected by the user, to perform the communication through the selected wireless network.
13. The mobile device as claimed in claim 12, wherein
the control unit is further configured to search for whether there is at least one accessible wireless network currently at said every predetermined interval.
14. The mobile device as claimed in claim 12, wherein
the control unit is further configured to search for whether there is at least one accessible wireless network when the mobile device is located in a preset area.
15. The mobile device as claimed in claim 12, wherein
the control unit is further configured to search for whether there is an AP which the mobile device has accessed before.
16. The mobile device as claimed in claim 12, wherein
the control unit is further configured to display a user interface for enabling the user to select a desired wireless network or Access Point (AP) among a plurality of accessible wireless networks through the display unit if there is a plurality of accessible wireless networks.
17. The mobile device as claimed in claim 12, wherein the control unit is further configured to:
receive an Internet Protocol (IP) allocated from an AP for performing communication through the wireless network;
perform a change operation to transmit/receive communication data, which has been transmitted/received through the mobile communication network, through the selected wireless network;
perform a setup operation to transfer data for the communication from the wireless network to the mobile communication network via the Internet, and thus to transfer the data for the communication to a counterpart mobile device performing the communication; and
perform a setup operation to receive data for the communication of the counterpart mobile device, which performs the communication, through the selected wireless network via the Internet from the mobile communication network.
18. The mobile device as claimed in claim 12, wherein the control unit controls the mobile device to perform communication through the wireless network, measures a Received Signal Strength Indication (RSSI) of a signal through the wireless network, which the mobile device has accessed, at every predetermined interval, displays a mobile communication network accessible by the mobile device if the measured RSSI is less than a preset value, and if the displayed mobile communication network is selected by a user, changes a communication network for communication to perform the communication through the selected mobile communication network.
19. The mobile device as claimed in claim 12, wherein the control unit is configured to determine whether the mobile device receives an input for a communication device change, to search for a communication-capable device when receiving the input for the communication device change, to display the communication-capable device if the communication-capable device exists; and, if the displayed communication-capable device is selected, to change a communication device to perform the communication through the selected device.
20. The mobile device as claimed in claim 19, wherein
the control unit is further configured to determine whether there is a preset device which enables communication through a mobile communication network.
21. The mobile device as claimed in claim 19, wherein
the control unit is further configured to allocate an Internet Protocol (IP) to the device to perform communication and transmit data for performing current communication through an Access Point (AP) to the device to perform communication, and change, if the device to perform communication performs communication through a wireless network, a communication device.
22. The mobile device as claimed in claim 19, wherein
the control unit is further configured to transmit communication data through the home network to a device to perform communication, and change, if the device to perform communication performs communication through a wireless network, a communication device.
US12/915,881 2009-10-30 2010-10-29 Method and apparatus for video communication Active 2032-12-07 US9094884B2 (en)

Priority Applications (9)

Application Number Priority Date Filing Date Title
US14/808,371 US9413800B2 (en) 2009-10-30 2015-07-24 Method and apparatus for video communication
US15/225,444 US9609562B2 (en) 2009-10-30 2016-08-01 Method and apparatus for video communication
US15/331,244 US9769724B2 (en) 2009-10-30 2016-10-21 Method and apparatus for video communication
US15/466,450 US9781667B2 (en) 2009-10-30 2017-03-22 Method and apparatus for video communication
US15/493,974 US9820202B2 (en) 2009-10-30 2017-04-21 Method and apparatus for video communication
US15/683,333 US9961602B2 (en) 2009-10-30 2017-08-22 Method and apparatus for video communication
US15/917,129 US10200926B2 (en) 2009-10-30 2018-03-09 Method and apparatus for video communication
US16/232,668 US10772019B2 (en) 2009-10-30 2018-12-26 Method and apparatus for video communication
US16/985,671 US11503524B2 (en) 2009-10-30 2020-08-05 Method and apparatus for video communication

Applications Claiming Priority (2)

Application Number Priority Date Filing Date Title
KR10-2009-0104523 2009-10-30
KR1020090104523A KR101719365B1 (en) 2009-10-30 2009-10-30 Video call method and apparatus

Related Child Applications (2)

Application Number Title Priority Date Filing Date
US14/808,371 Continuation US9413800B2 (en) 2009-10-30 2015-07-24 Method and apparatus for video communication
US14808371 Continuation 2016-07-24

Publications (2)

Publication Number Publication Date
US20110103359A1 US20110103359A1 (en) 2011-05-05
US9094884B2 true US9094884B2 (en) 2015-07-28

Family

ID=43922884

Family Applications (10)

Application Number Title Priority Date Filing Date
US12/915,881 Active 2032-12-07 US9094884B2 (en) 2009-10-30 2010-10-29 Method and apparatus for video communication
US14/808,371 Active US9413800B2 (en) 2009-10-30 2015-07-24 Method and apparatus for video communication
US15/225,444 Active US9609562B2 (en) 2009-10-30 2016-08-01 Method and apparatus for video communication
US15/331,244 Active US9769724B2 (en) 2009-10-30 2016-10-21 Method and apparatus for video communication
US15/466,450 Active US9781667B2 (en) 2009-10-30 2017-03-22 Method and apparatus for video communication
US15/493,974 Active US9820202B2 (en) 2009-10-30 2017-04-21 Method and apparatus for video communication
US15/683,333 Active US9961602B2 (en) 2009-10-30 2017-08-22 Method and apparatus for video communication
US15/917,129 Active US10200926B2 (en) 2009-10-30 2018-03-09 Method and apparatus for video communication
US16/232,668 Active US10772019B2 (en) 2009-10-30 2018-12-26 Method and apparatus for video communication
US16/985,671 Active 2031-01-08 US11503524B2 (en) 2009-10-30 2020-08-05 Method and apparatus for video communication

Family Applications After (9)

Application Number Title Priority Date Filing Date
US14/808,371 Active US9413800B2 (en) 2009-10-30 2015-07-24 Method and apparatus for video communication
US15/225,444 Active US9609562B2 (en) 2009-10-30 2016-08-01 Method and apparatus for video communication
US15/331,244 Active US9769724B2 (en) 2009-10-30 2016-10-21 Method and apparatus for video communication
US15/466,450 Active US9781667B2 (en) 2009-10-30 2017-03-22 Method and apparatus for video communication
US15/493,974 Active US9820202B2 (en) 2009-10-30 2017-04-21 Method and apparatus for video communication
US15/683,333 Active US9961602B2 (en) 2009-10-30 2017-08-22 Method and apparatus for video communication
US15/917,129 Active US10200926B2 (en) 2009-10-30 2018-03-09 Method and apparatus for video communication
US16/232,668 Active US10772019B2 (en) 2009-10-30 2018-12-26 Method and apparatus for video communication
US16/985,671 Active 2031-01-08 US11503524B2 (en) 2009-10-30 2020-08-05 Method and apparatus for video communication

Country Status (6)

Country Link
US (10) US9094884B2 (en)
EP (3) EP2494817B1 (en)
KR (1) KR101719365B1 (en)
CN (2) CN105163360B (en)
ES (1) ES2753499T3 (en)
WO (1) WO2011053061A2 (en)

Families Citing this family (20)

* Cited by examiner, † Cited by third party
Publication number Priority date Publication date Assignee Title
US9065569B2 (en) * 2011-10-26 2015-06-23 Mastercard International Incorporated Mobile device output test setting
WO2013100629A1 (en) * 2011-12-27 2013-07-04 엘지전자 주식회사 Method for offloading data in wireless communication system and apparatus for same
US9173111B2 (en) * 2011-12-28 2015-10-27 Silver Spring Networks, Inc. System and method for convergence and automatic disabling of access points in a wireless mesh network
US8897782B2 (en) * 2012-01-16 2014-11-25 Microsoft Corporation System and method for offloading traffic from cellular networks using plugins
WO2014047890A1 (en) 2012-09-28 2014-04-03 华为技术有限公司 Wireless local area network access method, base station controller and user equipment
CN103945476A (en) * 2014-04-24 2014-07-23 小米科技有限责任公司 Network switching method and device
JP2016005088A (en) * 2014-06-16 2016-01-12 キヤノン株式会社 Radio terminal device and radio terminal device control method
JP6477158B2 (en) * 2015-03-31 2019-03-06 ブラザー工業株式会社 Display control apparatus, display control method, and storage medium
US10536886B2 (en) 2015-12-18 2020-01-14 Lenovo (Beijing) Limited Network sharing method, electronic device and system
CN105554846B (en) * 2015-12-18 2019-03-29 联想(北京)有限公司 Method, electronic equipment and the system of shared network
US9775022B1 (en) * 2016-03-10 2017-09-26 Qualcomm Incorporated Managing multi-active communication on a multi-subscription multi-standby communication device
US9749583B1 (en) * 2016-03-31 2017-08-29 Amazon Technologies, Inc. Location based device grouping with voice control
AU2017100667A4 (en) 2016-06-11 2017-07-06 Apple Inc. Activity and workout updates
US9826380B1 (en) * 2016-06-29 2017-11-21 T-Mobile Usa, Inc. Video over LTE data usage metering
US10222480B2 (en) * 2016-09-30 2019-03-05 Intel Corporation Methods and devices for compensating misadjustment of a GNSS device
AU2018411295A1 (en) * 2018-02-28 2020-09-10 Bae Systems Information And Electronic Systems Integration Inc. Power efficient radio mixers
US11863700B2 (en) * 2019-05-06 2024-01-02 Apple Inc. Providing user interfaces based on use contexts and managing playback of media
US12461638B2 (en) 2022-06-04 2025-11-04 Apple Inc. Customized user interfaces
US12257900B2 (en) 2022-08-14 2025-03-25 Apple Inc. Cruise control user interfaces
KR20240028868A (en) 2022-08-25 2024-03-05 삼성전자주식회사 Display apparatus and operating method thereof

Citations (33)

* Cited by examiner, † Cited by third party
Publication number Priority date Publication date Assignee Title
US20040044887A1 (en) 2002-08-29 2004-03-04 Sk Telecom Co., Ltd. Apparatus and method for deciding access system based on WLAN signal strength in WLAN/mobile network interworking system, and mobile terminal therefor
US20040048612A1 (en) * 2002-09-09 2004-03-11 Kejio Virtanen Unbroken primary connection switching between communications services
US6751204B1 (en) 2000-07-05 2004-06-15 Telefonaktiebolaget Lm Ericsson (Publ) Call routing method for 3G.IP networks
US20040137902A1 (en) * 2002-11-15 2004-07-15 Chaskar Hemant M. Smart inter-technology handover control
US20050059400A1 (en) * 2003-09-12 2005-03-17 Cisco Technology, Inc. Method and system for triggering handoff of a call between networks
US20050153736A1 (en) * 2004-01-05 2005-07-14 Ganton Robert B. Method and apparatus for associating with a communication system
GB2410868A (en) * 2004-02-07 2005-08-10 Boris Tsukerman Integration of 3G telephone with television set for making video calls
US20050176420A1 (en) * 2004-02-05 2005-08-11 James Graves Wireless network detector
US20060135150A1 (en) * 2002-12-25 2006-06-22 Waho Oh Wireless communications ystem, wireless communications method, wireless communications program and program recording medium
KR20060093216A (en) 2005-02-21 2006-08-24 삼성전자주식회사 Method and device for handoff between mobile communication network and wireless LAN
JP2006229831A (en) 2005-02-21 2006-08-31 Matsushita Electric Ind Co Ltd Heterogeneous network connection switching method and heterogeneous network connection system
US20060245408A1 (en) 2005-04-29 2006-11-02 Samsung Electronics Co., Ltd. System and method for interworking between cellular network and wireless LAN
US20070026866A1 (en) 2005-05-27 2007-02-01 Govindarajan Krishnamurthi Mobile node, method and computer program product for handing off from one type of network to another type of network
US20070049276A1 (en) 2005-09-01 2007-03-01 Yoram Rimoni User terminal-initiated hard handoff from a wireless local area network to a cellular network
KR20070024251A (en) 2005-08-26 2007-03-02 에스케이 텔레콤주식회사 System and method for interworking mobile communication network and portable internet network
US20070165583A1 (en) * 2006-01-18 2007-07-19 Research In Motion Limited Methods and apparatus for use in switching communication operations between a wireless wide area network and a wireless local area network
CN101039236A (en) 2006-03-17 2007-09-19 日本电气株式会社 Method for controlling a mobile node
CN101142565A (en) 2005-03-14 2008-03-12 松下电器产业株式会社 Handover source device, handover destination device, high-speed device handover system, and signaling method
JP2008206077A (en) 2007-02-22 2008-09-04 Sharp Corp Content viewing device
CN101282264A (en) 2003-02-24 2008-10-08 高通股份有限公司 Wireless local access network system detection and selection
US20080307487A1 (en) * 2007-06-07 2008-12-11 Alcatel Lucent System and method of network access security policy management for multimodal device
US20080310612A1 (en) * 2007-06-15 2008-12-18 Sony Ericsson Mobile Communications Ab System, method and device supporting delivery of device-specific data objects
US7496360B2 (en) * 2004-02-27 2009-02-24 Texas Instruments Incorporated Multi-function telephone
US20090137247A1 (en) * 2007-11-28 2009-05-28 Samsung Electronics Co., Ltd. Channel scanning method and apparatus for use in dual-mode mobile station
KR20090058777A (en) 2007-12-05 2009-06-10 주식회사 케이티 Determination Method of Handover between Heterogeneous Networks in a Specific Zone
US20100113020A1 (en) * 2008-11-03 2010-05-06 Qualcomm Incorporated Switching wireless network selection modes in conjunction with selection of a wireless cell set
US7761119B2 (en) * 2006-07-05 2010-07-20 Kyocera Corporation Signal strength annunciators for multi-mode wireless communication devices
US20100304738A1 (en) * 2009-05-29 2010-12-02 Research In Motion Limited Signal Quality Determination Methods And Apparatus Suitable For Use In WLAN-To-WWAN Transitioning
US20110078627A1 (en) * 2004-11-12 2011-03-31 Jianyu Roy Zheng System and method for managing wireless connections in computer
US7920531B2 (en) * 2005-10-11 2011-04-05 Hewlett-Packard Development Company, L.P. Technique for managing wireless networks
US8064911B2 (en) * 2005-12-10 2011-11-22 Electronics And Telecommunications Research Institute Method of vertical handoff
US20110302019A1 (en) * 2008-09-08 2011-12-08 Proctor Jr James A Exchanging identifiers between wireless communication to determine further information to be exchanged or further services to be provided
US20120224507A1 (en) * 2007-01-08 2012-09-06 Varia Holdings Llc Controlling of wireless connection of a portable device including an illumination component or switch

Family Cites Families (38)

* Cited by examiner, † Cited by third party
Publication number Priority date Publication date Assignee Title
US3005058A (en) 1955-11-23 1961-10-17 Fine Sound Inc Apparatus for use in producing sound motion picture films
US3064911A (en) 1960-09-09 1962-11-20 American Viscose Corp Method for making a yarn package
US7116970B2 (en) * 2002-05-31 2006-10-03 Lucent Technologies Inc. Selection of networks between WLAN and 2G/3G networks based on user and provider preferences
AU2003256549A1 (en) 2002-07-31 2004-02-16 Interdigital Technology Corporation Handover between a cellular system and a wireless local area network
US6950655B2 (en) * 2002-10-01 2005-09-27 Interdigital Technology Corporation Method and system wherein handover information is broadcast in wireless local area networks
US6980810B1 (en) * 2003-05-12 2005-12-27 At&T Corp. Point coordinated spread-spectrum wireless local area network
US7447740B2 (en) * 2003-12-19 2008-11-04 Microsoft Corporation Internet video conferencing on a home television
FR2866184B1 (en) * 2004-02-10 2006-06-09 Cit Alcatel METHOD FOR SELECTING A COMMUNICATIONS NETWORK FOR A MOBILE COMMUNICATION TERMINAL FROM INFORMATION ON ACCESS POINTS OF WIRELESS NETWORKS
US20050239445A1 (en) * 2004-04-16 2005-10-27 Jeyhan Karaoguz Method and system for providing registration, authentication and access via broadband access gateway
US7606570B2 (en) * 2004-04-16 2009-10-20 Broadcom Corporation Method and system for extended network access notification via a broadband access gateway
TWI276244B (en) * 2004-06-04 2007-03-11 Wistron Neweb Corp Wireless communication device capable of switching antennas according to data transmission information on network
US7840681B2 (en) * 2004-07-30 2010-11-23 International Business Machines Corporation Method and apparatus for integrating wearable devices within a SIP infrastructure
CN1989746B (en) * 2004-07-30 2011-05-04 夏普株式会社 Control system of communication network
US20130326356A9 (en) * 2004-11-12 2013-12-05 Jianyu Roy Zheng System and method for managing wireless connections in computer
WO2007004151A2 (en) 2005-06-30 2007-01-11 Koninklijke Philips Electronics N.V. Method and apparatus for multi-mode conversations in wireless networks
KR20070013444A (en) 2005-07-26 2007-01-31 삼성전자주식회사 Apparatus and method for processing handoff between heterogeneous networks in wireless communication system
US20070058637A1 (en) * 2005-09-14 2007-03-15 Tun Han Felix Lo Method for multi-channel multi-device call transfer
JP2007104432A (en) * 2005-10-05 2007-04-19 Matsushita Electric Ind Co Ltd Mobile communication apparatus
US8880126B2 (en) * 2005-12-21 2014-11-04 Ntt Docomo, Inc. Method and system for wireless LAN network detection
JP4633654B2 (en) * 2006-03-07 2011-02-16 Kddi株式会社 Relay server
EP1871069A1 (en) * 2006-05-25 2007-12-26 Samsung Electronics Co., Ltd. Apparatus and method for controlling layer 3 handover of mobile node
WO2008061349A1 (en) * 2006-11-21 2008-05-29 Research In Motion Limited Handling virtual private network connections over a wireless local area network
KR101184610B1 (en) 2006-11-30 2012-09-21 삼성전자주식회사 Apparatus for saving power by using location information and method thereof
KR101271513B1 (en) * 2006-12-19 2013-06-05 재단법인서울대학교산학협력재단 Method for Vertical Handoff between Hetro Systems, and Method for transmitting/receiving data file using it
KR101329144B1 (en) * 2007-01-02 2013-11-14 삼성전자주식회사 Channel search method and system for vertical handoff in wireless network
KR100930518B1 (en) * 2007-03-21 2009-12-09 삼성전자주식회사 Apparatus and method for obtaining IP address of a terminal using multiple FM in broadband wireless communication system
KR20080095972A (en) * 2007-04-26 2008-10-30 주식회사 케이티프리텔 Display device capable of providing mobile communication video call and method of providing video call in the device
US8780857B2 (en) 2007-10-09 2014-07-15 Qualcomm Incorporated Methods and apparatus for mobility support between network domains
US20090161579A1 (en) * 2007-12-20 2009-06-25 Mika Saaranen Method, system, and apparatus for implementing network capable input devices
US20110002294A1 (en) * 2008-03-24 2011-01-06 Panasonic Corporation Communication system, communication channel efficiency improving device, and radio communication terminal
US8248983B2 (en) * 2008-04-25 2012-08-21 Clearwire Ip Holdings Llc Method and system for controlling the provision of media content to mobile stations
US8763032B2 (en) * 2008-07-25 2014-06-24 Telefonaktiebolaget Lm Ericsson (Publ) Method and system for personalizing and redirecting content object
US8116679B2 (en) 2008-09-15 2012-02-14 Sony Ericsson Mobile Communications Ab WLAN connection facilitated via near field communication
US8572493B2 (en) * 2009-01-29 2013-10-29 Rick Qureshi Mobile device messaging application
US20110156879A1 (en) * 2009-06-26 2011-06-30 Yosuke Matsushita Communication device
US8693569B2 (en) * 2009-10-19 2014-04-08 Apple Inc. Methods and apparatus for dynamic wireless device coexistence
US9131356B2 (en) * 2010-04-22 2015-09-08 Zipit Wireless, Inc. System and method for administration and operation of one or more mobile electronic communications devices
US9173139B2 (en) * 2010-10-07 2015-10-27 Lg Electronics Inc. Method and Terminal for Quickly Searching for an Access Point

Patent Citations (51)

* Cited by examiner, † Cited by third party
Publication number Priority date Publication date Assignee Title
US6751204B1 (en) 2000-07-05 2004-06-15 Telefonaktiebolaget Lm Ericsson (Publ) Call routing method for 3G.IP networks
US20040044887A1 (en) 2002-08-29 2004-03-04 Sk Telecom Co., Ltd. Apparatus and method for deciding access system based on WLAN signal strength in WLAN/mobile network interworking system, and mobile terminal therefor
US20040048612A1 (en) * 2002-09-09 2004-03-11 Kejio Virtanen Unbroken primary connection switching between communications services
US20040137902A1 (en) * 2002-11-15 2004-07-15 Chaskar Hemant M. Smart inter-technology handover control
US7751818B2 (en) * 2002-11-15 2010-07-06 Nokia Corporation Smart inter-technology handover control
US20060135150A1 (en) * 2002-12-25 2006-06-22 Waho Oh Wireless communications ystem, wireless communications method, wireless communications program and program recording medium
US20100291863A1 (en) 2003-02-24 2010-11-18 Qualcomm Incorporated Wireless Local Access Network System Detection and Selection
CN101282264A (en) 2003-02-24 2008-10-08 高通股份有限公司 Wireless local access network system detection and selection
US7082301B2 (en) * 2003-09-12 2006-07-25 Cisco Technology, Inc. Method and system for triggering handoff of a call between networks
US7310527B2 (en) * 2003-09-12 2007-12-18 Cisco Technology, Inc. Method and system for triggering handoff of a call between networks
US20050059400A1 (en) * 2003-09-12 2005-03-17 Cisco Technology, Inc. Method and system for triggering handoff of a call between networks
US20060205407A1 (en) * 2003-09-12 2006-09-14 Cisco Technology, Inc. Method and System for Triggering Handoff of a Call Between Networks
US7738873B2 (en) * 2003-09-12 2010-06-15 Cisco Technology, Inc. Method and system for triggering handoff of a call between networks
US20080076428A1 (en) * 2003-09-12 2008-03-27 Cisco Technology, Inc. Method and System for Triggering Handoff of a Call Between Networks
US20050153736A1 (en) * 2004-01-05 2005-07-14 Ganton Robert B. Method and apparatus for associating with a communication system
US20050176420A1 (en) * 2004-02-05 2005-08-11 James Graves Wireless network detector
US20070253395A1 (en) * 2004-02-05 2007-11-01 James Graves Wireless network detector
GB2410868A (en) * 2004-02-07 2005-08-10 Boris Tsukerman Integration of 3G telephone with television set for making video calls
US7496360B2 (en) * 2004-02-27 2009-02-24 Texas Instruments Incorporated Multi-function telephone
US20110078627A1 (en) * 2004-11-12 2011-03-31 Jianyu Roy Zheng System and method for managing wireless connections in computer
CN101124788A (en) 2005-02-21 2008-02-13 三星电子株式会社 Method and device for switching between mobile communication network and wireless local area network
US20060187880A1 (en) 2005-02-21 2006-08-24 Samsung Electronics Co., Ltd Method and apparatus for handoff between mobile communication network and wireless local area network
JP2006229831A (en) 2005-02-21 2006-08-31 Matsushita Electric Ind Co Ltd Heterogeneous network connection switching method and heterogeneous network connection system
KR20060093216A (en) 2005-02-21 2006-08-24 삼성전자주식회사 Method and device for handoff between mobile communication network and wireless LAN
CN101142565A (en) 2005-03-14 2008-03-12 松下电器产业株式会社 Handover source device, handover destination device, high-speed device handover system, and signaling method
KR20060114482A (en) 2005-04-29 2006-11-07 삼성전자주식회사 System and method for interworking between cellular network and wireless LAN
US20060245408A1 (en) 2005-04-29 2006-11-02 Samsung Electronics Co., Ltd. System and method for interworking between cellular network and wireless LAN
CN101223811A (en) 2005-05-27 2008-07-16 诺基亚公司 Mobile node, method and computer program product for handover from one type of network to another
US20070026866A1 (en) 2005-05-27 2007-02-01 Govindarajan Krishnamurthi Mobile node, method and computer program product for handing off from one type of network to another type of network
KR20070024251A (en) 2005-08-26 2007-03-02 에스케이 텔레콤주식회사 System and method for interworking mobile communication network and portable internet network
US20070049276A1 (en) 2005-09-01 2007-03-01 Yoram Rimoni User terminal-initiated hard handoff from a wireless local area network to a cellular network
US20110149937A1 (en) * 2005-10-11 2011-06-23 Parag Gupta Technique for managing wireless networks
US8340065B2 (en) * 2005-10-11 2012-12-25 Hewlett-Packard Development Company, L.P. Technique for managing wireless networks
US7920531B2 (en) * 2005-10-11 2011-04-05 Hewlett-Packard Development Company, L.P. Technique for managing wireless networks
US8064911B2 (en) * 2005-12-10 2011-11-22 Electronics And Telecommunications Research Institute Method of vertical handoff
US20090135798A1 (en) * 2006-01-18 2009-05-28 Research In Motion Limited Methods And Apparatus For Use In Switching Communication Operations Between A Wireless Wide Area Network And A Wireless Local Area Network
US8005058B2 (en) * 2006-01-18 2011-08-23 Research In Motion Limited Methods and apparatus for use in switching communication operations between a wireless wide area network and a wireless local area network
US20070165583A1 (en) * 2006-01-18 2007-07-19 Research In Motion Limited Methods and apparatus for use in switching communication operations between a wireless wide area network and a wireless local area network
US20070218906A1 (en) 2006-03-17 2007-09-20 Nec Corporation Method for controlling a mobile node
CN101039236A (en) 2006-03-17 2007-09-19 日本电气株式会社 Method for controlling a mobile node
US7761119B2 (en) * 2006-07-05 2010-07-20 Kyocera Corporation Signal strength annunciators for multi-mode wireless communication devices
US20120224507A1 (en) * 2007-01-08 2012-09-06 Varia Holdings Llc Controlling of wireless connection of a portable device including an illumination component or switch
JP2008206077A (en) 2007-02-22 2008-09-04 Sharp Corp Content viewing device
US20080307487A1 (en) * 2007-06-07 2008-12-11 Alcatel Lucent System and method of network access security policy management for multimodal device
US20080310612A1 (en) * 2007-06-15 2008-12-18 Sony Ericsson Mobile Communications Ab System, method and device supporting delivery of device-specific data objects
US20090137247A1 (en) * 2007-11-28 2009-05-28 Samsung Electronics Co., Ltd. Channel scanning method and apparatus for use in dual-mode mobile station
KR20090058777A (en) 2007-12-05 2009-06-10 주식회사 케이티 Determination Method of Handover between Heterogeneous Networks in a Specific Zone
US20110302019A1 (en) * 2008-09-08 2011-12-08 Proctor Jr James A Exchanging identifiers between wireless communication to determine further information to be exchanged or further services to be provided
US20100113020A1 (en) * 2008-11-03 2010-05-06 Qualcomm Incorporated Switching wireless network selection modes in conjunction with selection of a wireless cell set
US20100304738A1 (en) * 2009-05-29 2010-12-02 Research In Motion Limited Signal Quality Determination Methods And Apparatus Suitable For Use In WLAN-To-WWAN Transitioning
US8228876B2 (en) * 2009-05-29 2012-07-24 Research In Motion Limited Signal quality determination methods and apparatus suitable for use in WLAN-to-WWAN transitioning

Also Published As

Publication number Publication date
CN105163360A (en) 2015-12-16
EP3570594A1 (en) 2019-11-20
US20170041847A1 (en) 2017-02-09
EP2494817A4 (en) 2016-09-28
CN102771156A (en) 2012-11-07
CN105163360B (en) 2018-12-07
KR101719365B1 (en) 2017-03-23
EP3829137A1 (en) 2021-06-02
US9609562B2 (en) 2017-03-28
US20160345227A1 (en) 2016-11-24
ES2753499T3 (en) 2020-04-08
US11503524B2 (en) 2022-11-15
CN102771156B (en) 2016-01-06
EP3570594B1 (en) 2021-03-31
US9961602B2 (en) 2018-05-01
US9769724B2 (en) 2017-09-19
US20180199253A1 (en) 2018-07-12
US20150334146A1 (en) 2015-11-19
US20170195950A1 (en) 2017-07-06
KR20110047765A (en) 2011-05-09
US10772019B2 (en) 2020-09-08
US9820202B2 (en) 2017-11-14
US20170353900A1 (en) 2017-12-07
EP2494817A2 (en) 2012-09-05
EP2494817B1 (en) 2019-09-04
WO2011053061A3 (en) 2011-11-03
US9413800B2 (en) 2016-08-09
US20110103359A1 (en) 2011-05-05
EP3829137B1 (en) 2022-11-30
US20170230879A1 (en) 2017-08-10
US20200367128A1 (en) 2020-11-19
US10200926B2 (en) 2019-02-05
US9781667B2 (en) 2017-10-03
US20190132779A1 (en) 2019-05-02
WO2011053061A2 (en) 2011-05-05

Similar Documents

Publication Publication Date Title
US11503524B2 (en) Method and apparatus for video communication
US20090270090A1 (en) Mobile communication device
KR20140104858A (en) Method and apparatus for connecting short-distance wireless communication in terminal
CN112821970B (en) Electronic price tag channel selection method, electronic price tag channel selection equipment and computer storage medium
CN113316173A (en) Networking equipment determination method, device, equipment and storage medium
KR101888492B1 (en) Video call method and apparatus
KR101834091B1 (en) Video call method and apparatus
JP6093183B2 (en) Wireless terminal, program and method capable of setting use frequency band in consideration of received signal strength
KR101943414B1 (en) Video call method and apparatus
KR20190077269A (en) Apparatus and Method for Displaying Indicator According to Interwork Network
EP4645910A1 (en) Information transmission method and apparatus, and storage medium
KR101162843B1 (en) Active Type Monitoring System, A Active Type Monitoring Method And A Computer Readable Medium Recorded Active Type Monitoring Program

Legal Events

Date Code Title Description
AS Assignment

Owner name: SAMSUNG ELECTRONICS CO., LTD., KOREA, REPUBLIC OF

Free format text: ASSIGNMENT OF ASSIGNORS INTEREST;ASSIGNORS:CHO, HYUNG-RAE;KIM, SUN-AE;KWAHK, JI-YOUNG;AND OTHERS;REEL/FRAME:025343/0243

Effective date: 20101029

FEPP Fee payment procedure

Free format text: PAYOR NUMBER ASSIGNED (ORIGINAL EVENT CODE: ASPN); ENTITY STATUS OF PATENT OWNER: LARGE ENTITY

STCF Information on status: patent grant

Free format text: PATENTED CASE

MAFP Maintenance fee payment

Free format text: PAYMENT OF MAINTENANCE FEE, 4TH YEAR, LARGE ENTITY (ORIGINAL EVENT CODE: M1551); ENTITY STATUS OF PATENT OWNER: LARGE ENTITY

Year of fee payment: 4

MAFP Maintenance fee payment

Free format text: PAYMENT OF MAINTENANCE FEE, 8TH YEAR, LARGE ENTITY (ORIGINAL EVENT CODE: M1552); ENTITY STATUS OF PATENT OWNER: LARGE ENTITY

Year of fee payment: 8