US8835018B2 - Organic compound, anthracene derivative, and light-emitting element, light-emitting device, and electronic device in which the anthracene derivative is used - Google Patents

Organic compound, anthracene derivative, and light-emitting element, light-emitting device, and electronic device in which the anthracene derivative is used Download PDF

Info

Publication number
US8835018B2
US8835018B2 US12/055,000 US5500008A US8835018B2 US 8835018 B2 US8835018 B2 US 8835018B2 US 5500008 A US5500008 A US 5500008A US 8835018 B2 US8835018 B2 US 8835018B2
Authority
US
United States
Prior art keywords
light
carbon atoms
emitting element
layer
emitting
Prior art date
Legal status (The legal status is an assumption and is not a legal conclusion. Google has not performed a legal analysis and makes no representation as to the accuracy of the status listed.)
Expired - Fee Related, expires
Application number
US12/055,000
Other versions
US20080268284A1 (en
Inventor
Sachiko Kawakami
Nobuharu Ohsawa
Current Assignee (The listed assignees may be inaccurate. Google has not performed a legal analysis and makes no representation or warranty as to the accuracy of the list.)
Semiconductor Energy Laboratory Co Ltd
Original Assignee
Semiconductor Energy Laboratory Co Ltd
Priority date (The priority date is an assumption and is not a legal conclusion. Google has not performed a legal analysis and makes no representation as to the accuracy of the date listed.)
Filing date
Publication date
Application filed by Semiconductor Energy Laboratory Co Ltd filed Critical Semiconductor Energy Laboratory Co Ltd
Assigned to SEMICONDUCTOR ENERGY LABORATORY CO., LTD. reassignment SEMICONDUCTOR ENERGY LABORATORY CO., LTD. ASSIGNMENT OF ASSIGNORS INTEREST (SEE DOCUMENT FOR DETAILS). Assignors: KAWAKAMI, SACHIKO, OHSAWA, NOBUHARU
Publication of US20080268284A1 publication Critical patent/US20080268284A1/en
Priority to US14/482,226 priority Critical patent/US9461248B2/en
Application granted granted Critical
Publication of US8835018B2 publication Critical patent/US8835018B2/en
Priority to US15/280,394 priority patent/US9831440B2/en
Priority to US15/822,900 priority patent/US11171292B2/en
Priority to US16/993,319 priority patent/US20200373488A1/en
Expired - Fee Related legal-status Critical Current
Adjusted expiration legal-status Critical

Links

Images

Classifications

    • CCHEMISTRY; METALLURGY
    • C09DYES; PAINTS; POLISHES; NATURAL RESINS; ADHESIVES; COMPOSITIONS NOT OTHERWISE PROVIDED FOR; APPLICATIONS OF MATERIALS NOT OTHERWISE PROVIDED FOR
    • C09KMATERIALS FOR MISCELLANEOUS APPLICATIONS, NOT PROVIDED FOR ELSEWHERE
    • C09K11/00Luminescent materials, e.g. electroluminescent or chemiluminescent
    • C09K11/06Luminescent materials, e.g. electroluminescent or chemiluminescent containing organic luminescent materials
    • C09K11/07Luminescent materials, e.g. electroluminescent or chemiluminescent containing organic luminescent materials having chemically-interreactive components, e.g. reactive chemiluminescent compositions
    • CCHEMISTRY; METALLURGY
    • C07ORGANIC CHEMISTRY
    • C07DHETEROCYCLIC COMPOUNDS
    • C07D209/00Heterocyclic compounds containing five-membered rings, condensed with other rings, with one nitrogen atom as the only ring hetero atom
    • C07D209/56Ring systems containing three or more rings
    • C07D209/80[b, c]- or [b, d]-condensed
    • C07D209/82Carbazoles; Hydrogenated carbazoles
    • CCHEMISTRY; METALLURGY
    • C07ORGANIC CHEMISTRY
    • C07CACYCLIC OR CARBOCYCLIC COMPOUNDS
    • C07C15/00Cyclic hydrocarbons containing only six-membered aromatic rings as cyclic parts
    • C07C15/20Polycyclic condensed hydrocarbons
    • C07C15/27Polycyclic condensed hydrocarbons containing three rings
    • C07C15/28Anthracenes
    • CCHEMISTRY; METALLURGY
    • C07ORGANIC CHEMISTRY
    • C07DHETEROCYCLIC COMPOUNDS
    • C07D209/00Heterocyclic compounds containing five-membered rings, condensed with other rings, with one nitrogen atom as the only ring hetero atom
    • C07D209/56Ring systems containing three or more rings
    • C07D209/80[b, c]- or [b, d]-condensed
    • C07D209/82Carbazoles; Hydrogenated carbazoles
    • C07D209/86Carbazoles; Hydrogenated carbazoles with only hydrogen atoms, hydrocarbon or substituted hydrocarbon radicals, directly attached to carbon atoms of the ring system
    • CCHEMISTRY; METALLURGY
    • C09DYES; PAINTS; POLISHES; NATURAL RESINS; ADHESIVES; COMPOSITIONS NOT OTHERWISE PROVIDED FOR; APPLICATIONS OF MATERIALS NOT OTHERWISE PROVIDED FOR
    • C09KMATERIALS FOR MISCELLANEOUS APPLICATIONS, NOT PROVIDED FOR ELSEWHERE
    • C09K11/00Luminescent materials, e.g. electroluminescent or chemiluminescent
    • C09K11/06Luminescent materials, e.g. electroluminescent or chemiluminescent containing organic luminescent materials
    • H01L51/006
    • H01L51/0061
    • HELECTRICITY
    • H05ELECTRIC TECHNIQUES NOT OTHERWISE PROVIDED FOR
    • H05BELECTRIC HEATING; ELECTRIC LIGHT SOURCES NOT OTHERWISE PROVIDED FOR; CIRCUIT ARRANGEMENTS FOR ELECTRIC LIGHT SOURCES, IN GENERAL
    • H05B33/00Electroluminescent light sources
    • H05B33/12Light sources with substantially two-dimensional [2D] radiating surfaces
    • H05B33/14Light sources with substantially two-dimensional [2D] radiating surfaces characterised by the chemical or physical composition or the arrangement of the electroluminescent material, or by the simultaneous addition of the electroluminescent material in or onto the light source
    • HELECTRICITY
    • H10SEMICONDUCTOR DEVICES; ELECTRIC SOLID-STATE DEVICES NOT OTHERWISE PROVIDED FOR
    • H10KORGANIC ELECTRIC SOLID-STATE DEVICES
    • H10K50/00Organic light-emitting devices
    • HELECTRICITY
    • H10SEMICONDUCTOR DEVICES; ELECTRIC SOLID-STATE DEVICES NOT OTHERWISE PROVIDED FOR
    • H10KORGANIC ELECTRIC SOLID-STATE DEVICES
    • H10K85/00Organic materials used in the body or electrodes of devices covered by this subclass
    • H10K85/60Organic compounds having low molecular weight
    • H10K85/615Polycyclic condensed aromatic hydrocarbons, e.g. anthracene
    • HELECTRICITY
    • H10SEMICONDUCTOR DEVICES; ELECTRIC SOLID-STATE DEVICES NOT OTHERWISE PROVIDED FOR
    • H10KORGANIC ELECTRIC SOLID-STATE DEVICES
    • H10K85/00Organic materials used in the body or electrodes of devices covered by this subclass
    • H10K85/60Organic compounds having low molecular weight
    • H10K85/631Amine compounds having at least two aryl rest on at least one amine-nitrogen atom, e.g. triphenylamine
    • H10K85/633Amine compounds having at least two aryl rest on at least one amine-nitrogen atom, e.g. triphenylamine comprising polycyclic condensed aromatic hydrocarbons as substituents on the nitrogen atom
    • HELECTRICITY
    • H10SEMICONDUCTOR DEVICES; ELECTRIC SOLID-STATE DEVICES NOT OTHERWISE PROVIDED FOR
    • H10KORGANIC ELECTRIC SOLID-STATE DEVICES
    • H10K85/00Organic materials used in the body or electrodes of devices covered by this subclass
    • H10K85/60Organic compounds having low molecular weight
    • H10K85/631Amine compounds having at least two aryl rest on at least one amine-nitrogen atom, e.g. triphenylamine
    • H10K85/636Amine compounds having at least two aryl rest on at least one amine-nitrogen atom, e.g. triphenylamine comprising heteroaromatic hydrocarbons as substituents on the nitrogen atom
    • HELECTRICITY
    • H10SEMICONDUCTOR DEVICES; ELECTRIC SOLID-STATE DEVICES NOT OTHERWISE PROVIDED FOR
    • H10KORGANIC ELECTRIC SOLID-STATE DEVICES
    • H10K85/00Organic materials used in the body or electrodes of devices covered by this subclass
    • H10K85/60Organic compounds having low molecular weight
    • H10K85/649Aromatic compounds comprising a hetero atom
    • H10K85/657Polycyclic condensed heteroaromatic hydrocarbons
    • H10K85/6572Polycyclic condensed heteroaromatic hydrocarbons comprising only nitrogen in the heteroaromatic polycondensed ring system, e.g. phenanthroline or carbazole
    • CCHEMISTRY; METALLURGY
    • C09DYES; PAINTS; POLISHES; NATURAL RESINS; ADHESIVES; COMPOSITIONS NOT OTHERWISE PROVIDED FOR; APPLICATIONS OF MATERIALS NOT OTHERWISE PROVIDED FOR
    • C09KMATERIALS FOR MISCELLANEOUS APPLICATIONS, NOT PROVIDED FOR ELSEWHERE
    • C09K2211/00Chemical nature of organic luminescent or tenebrescent compounds
    • C09K2211/10Non-macromolecular compounds
    • C09K2211/1003Carbocyclic compounds
    • C09K2211/1007Non-condensed systems
    • CCHEMISTRY; METALLURGY
    • C09DYES; PAINTS; POLISHES; NATURAL RESINS; ADHESIVES; COMPOSITIONS NOT OTHERWISE PROVIDED FOR; APPLICATIONS OF MATERIALS NOT OTHERWISE PROVIDED FOR
    • C09KMATERIALS FOR MISCELLANEOUS APPLICATIONS, NOT PROVIDED FOR ELSEWHERE
    • C09K2211/00Chemical nature of organic luminescent or tenebrescent compounds
    • C09K2211/10Non-macromolecular compounds
    • C09K2211/1003Carbocyclic compounds
    • C09K2211/1011Condensed systems
    • CCHEMISTRY; METALLURGY
    • C09DYES; PAINTS; POLISHES; NATURAL RESINS; ADHESIVES; COMPOSITIONS NOT OTHERWISE PROVIDED FOR; APPLICATIONS OF MATERIALS NOT OTHERWISE PROVIDED FOR
    • C09KMATERIALS FOR MISCELLANEOUS APPLICATIONS, NOT PROVIDED FOR ELSEWHERE
    • C09K2211/00Chemical nature of organic luminescent or tenebrescent compounds
    • C09K2211/10Non-macromolecular compounds
    • C09K2211/1003Carbocyclic compounds
    • C09K2211/1014Carbocyclic compounds bridged by heteroatoms, e.g. N, P, Si or B
    • CCHEMISTRY; METALLURGY
    • C09DYES; PAINTS; POLISHES; NATURAL RESINS; ADHESIVES; COMPOSITIONS NOT OTHERWISE PROVIDED FOR; APPLICATIONS OF MATERIALS NOT OTHERWISE PROVIDED FOR
    • C09KMATERIALS FOR MISCELLANEOUS APPLICATIONS, NOT PROVIDED FOR ELSEWHERE
    • C09K2211/00Chemical nature of organic luminescent or tenebrescent compounds
    • C09K2211/10Non-macromolecular compounds
    • C09K2211/1018Heterocyclic compounds
    • C09K2211/1025Heterocyclic compounds characterised by ligands
    • C09K2211/1029Heterocyclic compounds characterised by ligands containing one nitrogen atom as the heteroatom
    • H01L51/0072
    • H01L51/5012
    • HELECTRICITY
    • H10SEMICONDUCTOR DEVICES; ELECTRIC SOLID-STATE DEVICES NOT OTHERWISE PROVIDED FOR
    • H10KORGANIC ELECTRIC SOLID-STATE DEVICES
    • H10K50/00Organic light-emitting devices
    • H10K50/10OLEDs or polymer light-emitting diodes [PLED]
    • H10K50/11OLEDs or polymer light-emitting diodes [PLED] characterised by the electroluminescent [EL] layers
    • HELECTRICITY
    • H10SEMICONDUCTOR DEVICES; ELECTRIC SOLID-STATE DEVICES NOT OTHERWISE PROVIDED FOR
    • H10KORGANIC ELECTRIC SOLID-STATE DEVICES
    • H10K59/00Integrated devices, or assemblies of multiple devices, comprising at least one organic light-emitting element covered by group H10K50/00
    • H10K59/10OLED displays
    • H10K59/12Active-matrix OLED [AMOLED] displays
    • HELECTRICITY
    • H10SEMICONDUCTOR DEVICES; ELECTRIC SOLID-STATE DEVICES NOT OTHERWISE PROVIDED FOR
    • H10KORGANIC ELECTRIC SOLID-STATE DEVICES
    • H10K71/00Manufacture or treatment specially adapted for the organic devices covered by this subclass
    • H10K71/10Deposition of organic active material
    • H10K71/16Deposition of organic active material using physical vapour deposition [PVD], e.g. vacuum deposition or sputtering
    • H10K71/164Deposition of organic active material using physical vapour deposition [PVD], e.g. vacuum deposition or sputtering using vacuum deposition
    • YGENERAL TAGGING OF NEW TECHNOLOGICAL DEVELOPMENTS; GENERAL TAGGING OF CROSS-SECTIONAL TECHNOLOGIES SPANNING OVER SEVERAL SECTIONS OF THE IPC; TECHNICAL SUBJECTS COVERED BY FORMER USPC CROSS-REFERENCE ART COLLECTIONS [XRACs] AND DIGESTS
    • Y02TECHNOLOGIES OR APPLICATIONS FOR MITIGATION OR ADAPTATION AGAINST CLIMATE CHANGE
    • Y02BCLIMATE CHANGE MITIGATION TECHNOLOGIES RELATED TO BUILDINGS, e.g. HOUSING, HOUSE APPLIANCES OR RELATED END-USER APPLICATIONS
    • Y02B20/00Energy efficient lighting technologies, e.g. halogen lamps or gas discharge lamps
    • YGENERAL TAGGING OF NEW TECHNOLOGICAL DEVELOPMENTS; GENERAL TAGGING OF CROSS-SECTIONAL TECHNOLOGIES SPANNING OVER SEVERAL SECTIONS OF THE IPC; TECHNICAL SUBJECTS COVERED BY FORMER USPC CROSS-REFERENCE ART COLLECTIONS [XRACs] AND DIGESTS
    • Y10TECHNICAL SUBJECTS COVERED BY FORMER USPC
    • Y10STECHNICAL SUBJECTS COVERED BY FORMER USPC CROSS-REFERENCE ART COLLECTIONS [XRACs] AND DIGESTS
    • Y10S428/00Stock material or miscellaneous articles
    • Y10S428/917Electroluminescent

Definitions

  • the present invention relates to organic compounds, anthracene derivatives, and light-emitting elements, light-emitting devices, and electronic devices in which the anthracene derivatives are used.
  • a layer containing an organic compound is interposed between a pair of electrodes.
  • a light-emitting element is characterized in that a thin and lightweight element can be fabricated, light is emitted by supply of direct current, response is faster compared to liquid crystals, and the like.
  • light-emitting devices in which such light-emitting elements are arranged in matrix form that is, passive matrix light-emitting devices and active matrix light-emitting devices are superior to conventional liquid crystal displays in terms of wide viewing angle and high visibility. From such reasons, light-emitting elements are desired to be applied to next-generation flat panel displays. In some cases, light-emitting elements are referred to as electroluninescent elements or EL elements.
  • Electrons are injected from a cathode into a layer containing an organic compound interposed between a pair of electrodes, and at the same time, holes are injected from an anode into the layer containing an organic compound, whereby a light-emitting element is driven.
  • the electrons injected from the cathode and the holes injected from the anode are recombined with each other in the layer containing an organic compound to form molecular excitons.
  • the molecular excitons release energy in returning to a ground state. When the energy is released as light having a wavelength corresponding to that of visible light, light emission can be seen.
  • Excited states of organic compounds include a singlet state and a triplet state, and when either state is the excited state, light can be emitted.
  • An emission wavelength of a light-emitting element is determined by the energy gap between a ground state and an excited state formed by the recombination that is, a band gap. Therefore, a structure of a molecule that serves for emitting light is selected or modified as appropriate, whereby any emission color of light can be obtained. Further, full color light-emitting device can be manufactured when light-emitting elements that are capable of emitting light of red, blue, and green that are three primary colors of light are used for the manufacture of the light-emitting device.
  • objects of the present invention are to provide novel anthracene derivatives and organic compounds.
  • Another object of the present invention is to provide a light-emitting element with high emission efficiency. Further, another object of the present invention is to provide a light-emitting element that emits blue light with high color purity.
  • Another objects of the present invention are to provide a light-emitting device and an electronic device in which power consumption is reduced.
  • anthracene derivative represented by a general formula (1) given below is an anthracene derivative represented by a general formula (1) given below.
  • Ar 1 and Ar 2 may be the same or different from each other and each represent a substituted or unsubstituted aryl group having 6 to 25 carbon atoms; ⁇ and ⁇ may be the same or different from each other and each represent a substituted or unsubstituted arylene group having 6 to 25 carbon atoms; R 1 represents an alkyl group having 1 to 4 carbon atoms or a substituted or unsubstituted aryl group having 6 to 25 carbon atoms; R 2 represents one of hydrogen, an alkyl group having 1 to 4 carbon atoms, a substituted or unsubstituted aryl group having 6 to 25 carbon atoms, a halogen group, and a haloalkyl group; and R 11 to R 18 may be the same or different from each other and each represent hydrogen or an alkyl group having 1 to 4 carbon atoms.
  • One aspect of the present invention is an anthracene derivative represented by a general formula (2) given below.
  • Ar 1 represents a substituted or unsubstituted aryl group having 6 to 25 carbon atoms; ⁇ and ⁇ may be the same or different from each other and each represent a substituted or unsubstituted arylene group having 6 to 25 carbon atoms; R 1 represents an alkyl group having 1 to 4 carbon atoms or a substituted or unsubstituted aryl group having 6 to 25 carbon atoms; R 2 represents one of hydrogen, an alkyl group having 1 to 4 carbon atoms, a substituted or unsubstituted aryl group having 6 to 25 carbon atoms, a halogen group, and a haloalkyl group; R 3 to R 7 may be the same or different from each other and each represent one of hydrogen, an alkyl group having 1 to 4 carbon atoms, a halogen group, and a haloalkyl group; and R 11 to R 18 may be the same or different from each other and each represent hydrogen or an alkyl group
  • One aspect of the present invention is an anthracene derivative represented by a general formula (3) given below.
  • Ar 1 and Ar 2 may be the same or different from each other and each represent a substituted or unsubstituted aryl group having 6 to 25 carbon atoms; ⁇ represents a substituted or unsubstituted arylene group having 6 to 25 carbon atoms; R 1 represents an alkyl group having 1 to 4 carbon atoms or a substituted or unsubstituted aryl group having 6 to 25 carbon atoms; R 2 represents one of hydrogen, an alkyl group having 1 to 4 carbon atoms, a substituted or unsubstituted aryl group having 6 to 25 carbon atoms, a halogen group, and a haloalkyl group; and R 11 to R 18 may be the same or different from each other and each represent hydrogen or an alkyl group having 1 to 4 carbon atoms.
  • One aspect of the present invention is an anthracene derivative represented by a general formula (4) given below.
  • Ar 1 each represents a substituted or unsubstituted aryl group having 6 to 25 carbon atoms
  • represents a substituted or unsubstituted arylene group having 6 to 25 carbon atoms
  • R 1 represents an alkyl group having 1 to 4 carbon atoms or a substituted or unsubstituted aryl group having 6 to 25 carbon atoms
  • R 2 represents one of hydrogen, an alkyl group having 1 to 4 carbon atoms, a substituted or unsubstituted aryl group having 6 to 25 carbon atoms, a halogen group, and a haloalkyl group
  • R 3 to R 7 may be the same or different from each other and each represent one of hydrogen, an alkyl group having 1 to 4 carbon atoms, a halogen group, and a haloalkyl group
  • R 11 to R 18 may be the same or different from each other and each represent hydrogen or an alkyl group having 1 to 4 carbon atoms.
  • One aspect of the present invention is an anthracene derivative represented by a general formula (5) given below.
  • Ar 1 represents a substituted or unsubstituted aryl group having 6 to 25 carbon atoms
  • R 1 represents an alkyl group having 1 to 4 carbon atoms or a substituted or unsubstituted aryl group having 6 to 25 carbon atoms
  • R 2 represents one of hydrogen, an alkyl group having 1 to 4 carbon atoms, a substituted or unsubstituted aryl group having 6 to 25 carbon atoms, a halogen group, and a haloalkyl group
  • R 3 to R 7 may be the same or different from each other and each represent one of hydrogen, an alkyl group having 1 to 4 carbon atoms, a halogen group, and a haloalkyl group
  • R 11 to R 18 may be the same or different from each other and each represent hydrogen or an alkyl group having 1 to 4 carbon atoms
  • R 19 to R 22 may be the same or different from each other and each represent one of hydrogen, an alkyl group having 1 to
  • One aspect of the present invention is an anthracene derivative represented by a general formula (6) given below.
  • R 1 represents an alkyl group having 1 to 4 carbon atoms or a substituted or unsubstituted aryl group having 6 to 25 carbon atoms
  • R 2 represents one of hydrogen, an alkyl group having 1 to 4 carbon atoms, a substituted or unsubstituted aryl group having 6 to 25 carbon atoms, a halogen group, and a haloalkyl group
  • R 3 to R 7 may be the same or different from each other and each represent one of hydrogen, an alkyl group having 1 to 4 carbon atoms, a halogen group, and a haloalkyl group
  • R 11 to R 18 may be the same or different from each other and each represent hydrogen or an alkyl group having 1 to 4 carbon atoms
  • R 19 to R 27 may be the same or different from each other and each represent one of hydrogen, an alkyl group having 1 to 4 carbon atoms, and an alkoxy group having 1 to 4 carbon atoms.
  • One aspect of the present invention is an anthracene derivative represented by a general formula (7) given below.
  • One aspect of the present invention is a light-emitting element that contains any of the above anthracene derivatives, that is, a light-emitting element that contains any of the above anthracene derivatives between a pair of electrodes.
  • one aspect of the present invention is a light-emitting element that includes a light-emitting layer between a pair of electrodes, where the light-emitting layer contains any of the above anthracene derivatives.
  • the light-emitting element of the present invention thus obtained can be made to have a long life, and thus, a light-emitting device (e.g., an image display device) in which such a light-emitting element is used can be made to have a long life.
  • a light-emitting device e.g., an image display device
  • the present invention also covers the light-emitting device and an electronic device in which the light-emitting element of the present invention is used.
  • the light-emitting device of the present invention is characterized in that it includes a light-emitting element that contains any of the above-described anthracene derivatives and a control circuit configured to control light emission from the light-emitting element.
  • the category of the light-emitting device in this specification includes an image display device in which a light-emitting element is used.
  • the category of the light-emitting device also includes a module in which a connecter such as an anisotropic film, a tape automated bonding (TAB) tape, or a tape carrier package (TCP) is attached to a light-emitting element; a module in which a printed wiring board is provided at an end of a TAB tape or a TCP; and a module in which an integrated circuit (IC) is directly mounted on a light-emitting element by a chip on glass (COG) method.
  • the category includes a light-emitting device used for a lighting device or the like.
  • an electronic device in which the light-emitting element of the present invention is used for its display portion is also included in the category of the present invention. Accordingly, one aspect of the present invention is an electronic device having a display portion, where the display portion includes the above-described light-emitting element and a control circuit configured to control light emission from the light-emitting element.
  • the present invention also covers organic compounds used for the synthesis of the anthracene derivatives of the present invention because the organic compounds used for the synthesis of the anthracene derivatives of the present invention are novel materials. Accordingly, one aspect of the present invention is an organic compound represented by a general formula (8) given below.
  • Ar 2 represents a substituted or unsubstituted aryl group having 6 to 25 carbon atoms
  • represents a substituted or unsubstituted arylene group having 6 to 25 carbon atoms
  • R 1 represents an alkyl group having 1 to 4 carbon atoms or a substituted or unsubstituted aryl group having 6 to 25 carbon atoms
  • R 2 represents one of hydrogen, an alkyl group having 1 to 4 carbon atoms, a substituted or unsubstituted aryl group having 6 to 25 carbon atoms, a halogen group, and a haloalkyl group.
  • One aspect of the present invention is an organic compound represented by a general formula (9) given below.
  • represents a substituted or unsubstituted arylene group having 6 to 25 carbon atoms
  • R 1 represents an alkyl group having 1 to 4 carbon atoms or a substituted or unsubstituted aryl group having 6 to 25 carbon atoms
  • R 2 represents one of hydrogen, an alkyl group having 1 to 4 carbon atoms, a substituted or unsubstituted aryl group having 6 to 25 carbon atoms, a halogen group, and a haloalkyl group
  • R 3 to R 7 may be the same or different from each other and each represent one of hydrogen, an alkyl group having 1 to 4 carbon atoms, a halogen group, and a haloalkyl group.
  • One aspect of the present invention is an organic compound represented by a general formula (10) given below.
  • Ar 2 represents a substituted or unsubstituted aryl group having 6 to 25 carbon atoms
  • R 1 represents an alkyl group having 1 to 4 carbon atoms or a substituted or unsubstituted aryl group having 6 to 25 carbon atoms
  • R 2 represents one of hydrogen, an alkyl group having 1 to 4 carbon atoms, a substituted or unsubstituted aryl group having 6 to 25 carbon atoms, a halogen group, and a haloalkyl group.
  • One aspect of the present invention is an organic compound represented by a general formula (11) given below.
  • R 1 represents an alkyl group having 1 to 4 carbon atoms or a substituted or unsubstituted aryl group having 6 to 25 carbon atoms
  • R 2 represents one of hydrogen, an alkyl group having 1 to 4 carbon atoms, a substituted or unsubstituted aryl group having 6 to 25 carbon atoms, a halogen group, and a haloalkyl group
  • R 3 to R 7 may be the same or different from each other and each represent one of hydrogen, an alkyl group having 1 to 4 carbon atoms, a halogen group, and a haloalkyl group
  • One aspect of the present invention is an organic compound represented by a general formula (12) given below.
  • R 1 represents an alkyl group having 1 to 4 carbon atoms or a substituted or unsubstituted aryl group having 6 to 25 carbon atoms
  • R 2 represents one of hydrogen, an alkyl group having 1 to 4 carbon atoms, a substituted or unsubstituted aryl group having 6 to 25 carbon atoms, a halogen group, and a haloalkyl group
  • R 3 to R 7 may be the same or different from each other and each represent one of hydrogen, an alkyl group having 1 to 4 carbon atoms, a halogen group, and a haloalkyl group.
  • One aspect of the present invention is an organic compound represented by a general formula (13) given below.
  • the anthracene derivatives of the present invention have high emission efficiency. Furthermore, the anthracene derivatives of the present invention can emit blue light with high color purity.
  • a light-emitting element with high emission efficiency can be obtained. Further, a light-emitting element that emits blue light with high color purity can also be obtained.
  • FIG. 1 illustrates a light-emitting element of the present invention.
  • FIG. 2 illustrates a light-emitting element of the present invention.
  • FIG. 3 illustrates a light-emitting element of the present invention.
  • FIGS. 4A and 4B illustrate a light-emitting device of the present invention.
  • FIGS. 5A and 5B illustrate a light-emitting device of the present invention.
  • FIGS. 6A to 6D illustrate electronic devices of the present invention.
  • FIG. 7 illustrates a lighting device of the present invention.
  • FIG. 8 illustrates a lighting device of the present invention.
  • FIG. 9 illustrates a lighting device of the present invention.
  • FIGS. 10A and 10B are 1 H-NMR charts of 4-(9-phenyl-9H-carbazol-3-yl)diphenylamine (abbreviated to PCBA).
  • FIGS. 11A and 11B are 1 H-NMR charts of 4-(10-phenyl-9-anthryl)-4′-(9-phenyl-9H-carbazol-3-yl)triphenylamine (abbreviated to PCBAPA).
  • FIG. 12 illustrates an absorption spectrum and an emission spectrum of a toluene solution of 4-(10-phenyl-9-anthryl)-4′-(9-phenyl-9H-carbazol-3-yl)triphenylamine (PCBAPA).
  • FIG. 13 illustrates an absorption spectrum and an emission spectrum of a thin film of 4-(10-phenyl-9-anthryl)-4′-(9-phenyl-9H-carbazol-3-yl)triphenylamine (PCBAPA).
  • FIG. 14 illustrates a light-emitting element of Example 2.
  • FIG. 15 illustrates current density-luminance characteristics of a light-emitting element fabricated in Example 2.
  • FIG. 16 illustrates voltage-luminance characteristics of a light-emitting element fabricated in Example 2.
  • FIG. 17 illustrates luminance-current efficiency characteristics of a light-emitting element fabricated in Example 2.
  • FIG. 18 illustrates luminance-external quantum efficiency characteristics of a light-emitting element fabricated in Example 2.
  • FIG. 19 illustrates an emission spectrum of a light-emitting element fabricated in Example 2.
  • FIG. 20 illustrates a light-emitting element of Example 3.
  • FIG. 21 illustrates current density-luminance characteristics of a light-emitting element fabricated in Example 3.
  • FIG. 22 illustrates voltage-luminance characteristics of a light-emitting element fabricated in Example 3.
  • FIG. 23 illustrates luminance-current efficiency characteristics of a light-emitting element fabricated in Example 3.
  • FIG. 24 illustrates luminance-external quantum efficiency characteristics of a light-emitting element fabricated in Example 3.
  • FIG. 25 illustrates an emission spectrum of a light-emitting element fabricated in Example 3.
  • FIG. 26 illustrates a result of a continuous lighting test of a light-emitting element fabricated in Example 2.
  • FIG. 27 illustrates a result of a continuous lighting test of a light-emitting element fabricated in Example 3.
  • FIGS. 28A and 28B are 1 H-NMR charts of 4-[4-(10-phenyl-9-anthryl)phenyl]-4′-(9-phenyl-9H-carbazol-3-yl)triphenylamine (abbreviated to PCBAPBA).
  • FIG. 29 illustrates an absorption spectrum of a toluene solution of 4-[4-(10-phenyl-9-anthryl)phenyl]-4′-(9-phenyl-9H-carbazol-3-yl)triphenylamine (PCBAPBA).
  • FIG. 30 illustrates an emission spectrum of a toluene solution of 4-[4-(10-phenyl-9-anthryl)phenyl]-4′-(9-phenyl-9H-carbazol-3-yl)triphenylamine (PCBAPBA).
  • FIG. 31 illustrates an absorption spectrum of a thin film of 4-[4-(10-phenyl-9-anthryl)phenyl]-4′-(9-phenyl-9H-carbazol-3-yl)triphenylamine (PCBAPBA).
  • FIG. 32 illustrates an emission spectrum of a thin film of 4-[4-(10-phenyl-9-anthryl)phenyl]-4′-(9-phenyl-9H-carbazol-3-yl)triphenylamine (PCBAPBA).
  • FIG. 33 illustrates current density-luminance characteristics of a light-emitting element fabricated in Example 5.
  • FIG. 34 illustrates voltage-luminance characteristics of a light-emitting element fabricated in Example 5.
  • FIG. 35 illustrates luminance-current efficiency characteristics of a light-emitting element fabricated in Example 5.
  • FIG. 36 illustrates an emission spectrum of a light-emitting element fabricated in Example 5.
  • An anthracene derivative of the present invention is represented by the general formula (1).
  • Ar 1 and Ar 2 may be the same or different from each other and each represent a substituted or unsubstituted aryl group having 6 to 25 carbon atoms; ⁇ and ⁇ may be the same or different from each other and each represent a substituted or unsubstituted arylene group having 6 to 25 carbon atoms; R 1 represents an alkyl group having 1 to 4 carbon atoms or a substituted or unsubstituted aryl group having 6 to 25 carbon atoms; R 2 represents one of hydrogen, an alkyl group having 1 to 4 carbon atoms, a substituted or unsubstituted aryl group having 6 to 25 carbon atoms, a halogen group, and a haloalkyl group; and R 11 to R 18 may be the same or different from each other and each represent hydrogen or an alkyl group having 1 to 4 carbon atoms.
  • Ar 1 may have an alkyl group having 1 to 4 carbon atoms or an alkoxy group having 1 to 4 carbon atoms.
  • Ar 1 In fabrication of a light-emitting element by a wet process, using any of the anthracene derivatives of the present invention, it is preferred that Ar 1 have an alkyl group having 1 to 4 carbon atoms or an alkoxy group having 1 to 4 carbon atoms because such a structure increases the solubility of the anthracene derivative of the present invention.
  • Structures shown in ( ⁇ -1) to ( ⁇ -12) are given as examples of a structure represented by ⁇ in the above general formula (1).
  • a may have an alkyl group having 1 to 4 carbon atoms or an alkoxy group having 1 to 4 carbon atoms.
  • has an alkyl group having 1 to 4 carbon atoms or an alkoxy group having 1 to 4 carbon atoms, the solubility of the anthracene derivative of the present invention is increased; therefore, a light-emitting element can be fabricated using any of the anthracene derivatives of the present invention by a wet process.
  • anthracene derivative of the present invention include, but are not limited to, anthracene derivatives represented by structural formulae (100) to (164) given below.
  • any of a variety of reactions can be employed for a synthesis method of the anthracene derivatives of the present invention.
  • the synthesis can be performed by use of any of the synthesis methods shown in synthesis schemes (a-1) to (a-3) given below.
  • 9-halid-10-arylanthracene (Compound 1) and halogenated aryl boronic acid or halogenated aryl organic boron compound (Compound 7) are coupled by Suzuki-Miyaura Coupling using a palladium catalyst, whereby 9-(halogenated aryl)-10-arylanthracene (Compound 2) can be obtained.
  • X 1 represents a halogen or a triflate group
  • X 2 represents a halogen.
  • X 1 and X 2 may be the same or different from each other.
  • Use of iodine and bromine are preferable for the halogen.
  • X 1 be iodine and that X 2 be bromine.
  • R 100 and R 101 each represent hydrogen or an alkyl group having 1 to 6 carbon atoms, may be the same or different from each other, and may be combined with each other to form a ring.
  • Ar 1 represents a substituted or unsubstituted aryl group having 6 to 25 carbon atoms.
  • represents a substituted or unsubstituted arylene group having 6 to 25 carbon atoms.
  • the palladium catalyst that can be used in the synthesis scheme (a-1) include, but are not limited to, palladium(II) acetate, tetrakis(triphenylphosphine)palladium(0), and the like.
  • Examples of the ligand in the palladium catalyst, which can be used in the synthesis scheme (a-1), include, but are not limited to, tri(ortho-tolyl)phosphine, triphenylphosphine, tricyclohexylphosphine, and the like.
  • Examples of the base that can be used in the synthesis scheme (a-1) include, but are not limited to, organic bases such as sodium tert-butoxide, inorganic bases such as potassium carbonate, and the like.
  • Examples of the solvent that can be used in the synthesis scheme (a-1) include, but are not limited to, a mixed solvent of toluene and water; a mixed solvent of toluene, an alcohol such as ethanol, and water; a mixed solvent of xylene and water; a mixed solvent of xylene, an alcohol such as ethanol, and water; a mixed solvent of benzene and water; a mixed solvent of benzene, an alcohol such as ethanol, and water; a mixed solvent of an ether such as ethyleneglycoldinethylether and water; and the like.
  • Use of the mixed solvent of toluene and water or the mixed solvent of toluene, ethanol, and water is more preferable.
  • Diarylamine halide (Compound 3) and 9H-carbazole-3-boronic acid or a compound obtained by 9H-carbazole in which the 3-position is substituted with organoboron (Compound 4) are coupled by Suzuki-Miyaura Coupling using a palladium catalyst, whereby a carbazole compound in which the 3-position is substituted with diarylamine (Compound 5) can be obtained.
  • Ar 2 represents a substituted or unsubstituted aryl group having 6 to 25 carbon atoms
  • X 4 represents a halogen or a triflate group, and iodine or bromine can be used as the halogen.
  • represents a substituted or unsubstituted arylene group having 6 to 25 carbon atoms.
  • R 1 represents an alkyl group having 1 to 4 carbon atoms or a substituted or unsubstituted aryl group having 6 to 25 carbon atoms.
  • R 2 represents one of hydrogen, an alkyl group having 1 to 4 carbon atoms, a substituted or unsubstituted aryl group having 6 to 25 carbon atoms, a halogen group, and a haloalkyl group.
  • R 102 and R 103 each represent hydrogen or an alkyl group having 1 to 6 carbon atoms, may be the same or different from each other, and combined with each other to form a ring.
  • Examples of the palladium catalyst that can be used in the synthesis scheme (a-2) include, but are not limited to, palladium(II) acetate, tetrakis(triphenylphosphine)palladium(0), and the like.
  • Examples of the ligand that can be used in the synthesis scheme (a-2) include, but are not limited to, tri(ortho-tolyl)phosphine, triphenylphosphine, tricyclohexylphosphine, and the like.
  • Examples of the base that can be used in the synthesis scheme (a-2) include, but are not limited to, organic bases such as sodium tert-butoxide, inorganic bases such as potassium carbonate, and the like.
  • Examples of the solvent that can be used in the synthesis scheme (a-2) include, but are not limited to, a mixed solvent of toluene and water; a mixed solvent of toluene, an alcohol such as ethanol, and water; a mixed solvent of xylene and water; a mixed solvent of xylene, an alcohol such as ethanol, and water; a mixed solvent of benzene and water; a mixed solvent of benzene, an alcohol such as ethanol, and water; a mixed solvent of an ether such as ethyleneglycoldimethylether and water; and the like.
  • Use of the mixed solvent of toluene and water or the mixed solvent of toluene, ethanol, and water is more preferable.
  • examples of the palladium catalyst that can be used in the synthesis scheme (a-3) include, but are not limited to, bis(dibenzylideneacetone)palladium(0), palladium(II) acetate, and the like.
  • examples of the ligand in the palladium catalyst, which can be used in the synthesis scheme (a-3) include, but are not limited to, tri(tert-butyl)phosphine, tri(n-hexyl)phosphine, tricyclohexylphosphine, and the like.
  • Examples of the base that can be used in the synthesis scheme (a-3) include, but are not limited to, organic bases such as sodium tert-butoxide, inorganic bases such as potassium carbonate, and the like.
  • Examples of the solvent that can be used in the synthesis scheme (a-3) include, but are not limited to, toluene, xylene, benzene, tetrahydrofuran, and the like. The case in which an Ullmann reaction is performed in the synthesis scheme (a-3) is described.
  • R 104 and R 105 each represent a halogen, an acetyl group, or the like, and chlorine, bromine, or iodine can be used as the halogen.
  • R 104 be iodine to form copper(I) iodide or that R 105 be an acetyl group to form a copper(II) acetate.
  • the copper compound used in the reaction is not limited to these, and copper can be used instead of the copper compound.
  • Examples of the base that can be used in the synthesis scheme (a-3) include, but are not limited to, an inorganic base such as potassium carbonate.
  • Examples of the solvent that can be used in the synthesis scheme (a-3) include, but are not limited to, 1,3-dimethyl-3,4,5,6-tetrahydro-2(1H)pyrimidinone (abbreviated to DMPU), toluene, xylene, benzene, and the like.
  • DMPU or xylene that has a high boiling point is preferable because, by an Ullmann reaction, an object can be obtained in a shorter time and at a higher yield when the reaction temperature is greater than or equal to 100° C.
  • Use of DMPU is more preferable because it is further preferable that the reaction temperature be a temperature greater than or equal to 150° C.
  • Ar 1 and Ar 2 may be the same or different from each other and each represent a substituted or unsubstituted aryl group having 6 to 25 carbon atoms.
  • ⁇ and ⁇ may be the same or different from each other and each represent a substituted or unsubstituted arylene group having 6 to 25 carbon atoms.
  • X 2 represents a halogen.
  • R 1 represents an alkyl group having 1 to 4 carbon atoms or a substituted or unsubstituted aryl group having 6 to 25 carbon atoms.
  • R 2 represents one of hydrogen, an alkyl group having 1 to 4 carbon atoms, a substituted or unsubstituted aryl group having 6 to 25 carbon atoms, a halogen group, and a haloalkyl group.
  • the anthracene derivatives of the present invention have high emission efficiency. Therefore, it is preferred that any of the anthracene derivatives of the present invention be used for a light-emitting element. Furthermore, the anthracene derivatives of the present invention emit blue light with high color purity. Thus, it is preferred that any of the anthracene derivatives of the present invention be used for a light-emitting device such as a full-color display that displays images. Further, the anthracene derivatives of the present invention can be used as a hole-transporting layer of a light-emitting element since the anthracene derivatives of the present invention have a hole-transporting property.
  • organic compounds that are materials used for the synthesis of the anthracene derivatives of the present invention are described. These organic compounds are novel materials and thus included in the present invention.
  • One of the organic compounds is the organic compound represented by the general formula (8).
  • Ar 2 represents a substituted or unsubstituted aryl group having 6 to 25 carbon atoms
  • represents a substituted or unsubstituted arylene group having 6 to 25 carbon atoms
  • R 1 represents an alkyl group having 1 to 4 carbon atoms or a substituted or unsubstituted aryl group having 6 to 25 carbon atoms
  • R 2 represents one of hydrogen, an alkyl group having 1 to 4 carbon atoms, a substituted or unsubstituted aryl group having 6 to 25 carbon atoms, a halogen group, and a haloalkyl group.
  • organic compounds of the present invention include, but are not limited to, organic compounds represented by structural formulae (200) to (264) given below.
  • any of a variety of reactions can be employed for a synthesis method of the above organic compounds of the present invention.
  • the synthesis can be performed by a synthesis method that is similar to that of the compound 5 described in Embodiment Mode 1 (the synthesis scheme (a-2)).
  • the light-emitting element of the present invention includes a plurality of layers between a pair of electrodes.
  • layers that each contain a substance having a high carrier-injecting property or a substance having a high carrier-transporting property are combined and stacked so that a light-emitting region is formed apart from the electrodes, in other words, carriers are recombined in a portion apart from the electrodes.
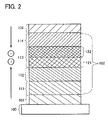
  • the light-emitting element includes a first electrode 101 , a second electrode 103 , and a layer 102 that contains an organic compound formed between the first electrode 101 and the second electrode 103 .
  • the first electrode 101 serves as an anode
  • the second electrode 103 serves as a cathode.
  • light emission can be obtained when a voltage is applied to the first electrode 101 and the second electrode 103 so that the potential of the first electrode 101 is higher than that of the second electrode 103 .
  • a substrate 100 is used as a support of the light-emitting element.
  • glass, plastic, or the like can be used. It is to be noted that any material other than these can be used as long as it can function as a support in a fabrication process of a light-emitting element.
  • the first electrode 101 be formed using any of metals, alloys, and conductive compounds with a high work function (specifically, 4.0 eV or higher), a mixture thereof, or the like.
  • a high work function specifically, 4.0 eV or higher
  • ITO indium tin oxide
  • IZO indium zinc oxide
  • IWZO indium oxide containing tungsten oxide and zinc oxide
  • Such conductive metal oxide films are typically formed by sputtering, but may also be formed by application of a sol-gel method or the like.
  • a film of indium zinc oxide can be formed using a target in which 1 wt % to 20 wt % of zinc oxide is added to indium oxide by a sputtering method.
  • a film of indium oxide containing tungsten oxide and zinc oxide can be formed using a target in which 0.5 wt % to 5 wt % of tungsten oxide and 0.1 wt % to 1 wt % of zinc oxide are added to indium oxide by a sputtering method.
  • gold Au
  • platinum Pt
  • nickel Ni
  • tungsten W
  • Cr chromium
  • Mo molybdenum
  • iron Fe
  • Co cobalt
  • Cu copper
  • palladium Pd
  • nitride of a metal material e.g., titanium nitride
  • the first electrode 101 can be formed using any of a variety of metals, alloys, electrically conductive compounds, a mixture thereof or the like regardless of their work functions.
  • metals aluminum (Al), silver (Ag), an alloy containing aluminum (AlSi), or the like can be used.
  • AlSi aluminum
  • any of the following materials with a low work function can be used.
  • alkali metals such as lithium (Li) and cesium (Cs) and alkaline-earth metals such as magnesium (Mg), calcium (Ca), or strontium (Sr), or alloys thereof (e.g., MgAg and AlLi); rare earth metals such as europium (Eu) or ytterbium (Yb), and alloys thereof; or the like.
  • a film containing an alkali metal, an alkaline earth metal, or an alloy thereof can be formed by a vacuum evaporation method.
  • a film containing an alloy of an alkali metal or an alkaline earth metal can be formed by a sputtering method.
  • such a film can be formed using a silver paste or the like by an inkjet method or the like.
  • a stacked structure of a layer 102 containing an organic compound there is no particular limitation on a stacked structure of a layer 102 containing an organic compound. It is acceptable as long as the layer 102 containing an organic compound is formed by any appropriate combination of a light-emitting layer described in this embodiment mode and layers that each contain a substance having a high electron-transporting property, a substance having a high hole-transporting property, a substance having a high electron-injecting property, a substance having a high hole-injecting property, a bipolar substance (a substance having a high electron-transporting property and a high hole-transporting property), or the like.
  • a hole-injecting layer, a hole-transporting layer, a light-emitting layer, an electron-transporting layer, an electron-injecting layer, and the like can be combined.
  • the layer 102 containing an organic compound has a structure in which a hole-injecting layer 111 , a hole-transporting layer 112 , a light-emitting layer 113 , and an electron-transporting layer 114 are sequentially stacked over the first electrode 101 .
  • a material of each layer is described in specific terms below.
  • the hole-injecting layer 111 is a layer that contains a substance having a high hole-injecting property. Molybdenum oxide, vanadium oxide, ruthenium oxide, tungsten oxide, manganese oxide, or the like can be used.
  • the hole-injecting layer 111 can also be formed using any of phthalocyanine based compounds such as phthalocyanine (abbreviated to H 2 PC) or copper phthalocyanine (abbreviated to CuPc), aromatic amine compounds such as 4,4′-bis[N-(4-diphenylaminophenyl)-N-phenylamino]biphenyl (abbreviated to DPAB) or 4,4′-bis(N- ⁇ 4-[N-(3-methylphenyl)-N-phenylamino]phenyl ⁇ -N-phenylamino)biphenyl (abbreviated to DNTPD), compounds with a high molecular weight such as poly(3,4-ethylenedioxythiophene)/poly(styrenesulfonic acid) (abbreviated to PEDOT/PSS), or the like.
  • phthalocyanine based compounds such as phthalocyanine (abbreviated to H 2 PC) or copper
  • a composite material in which an acceptor substance is mixed into a substance having a high hole-transporting property can be used. It is to be noted that a material of the electrode can be selected regardless of its work function by use of the composite material in which an acceptor substance is mixed into a substance having a high hole-transporting property. That is, not only a material with a high work function, but also a material with a low work function can be used for the first electrode 101 .
  • acceptor substance examples include 7,7,8,8-tetracyano-2,3,5,6-tetrafluoroquinodimethane (abbreviated to F 4 -TCNQ), chloranil, transition metal oxide, oxide of metals that belong to Group 4 to Group 8 of the periodic table, and the like.
  • vanadium oxide, niobium oxide, tantalum oxide, chromium oxide, molybdenum oxide, tungsten oxide, manganese oxide, or rhenium oxide is preferably used because of their high electron accepting properties.
  • use of molybdenum oxide is more preferable because of its stability in the atmosphere, a low hygroscopic property, and easily handling.
  • any of a variety of compounds such as aromatic amine compounds, carbazole derivatives, aromatic hydrocarbons, compounds with a high molecular weight (such as oligomers, dendrimers, or polymers), or the like can be used. It is to be noted that a substance having a hole mobility of greater than or equal to 10 ⁇ 6 cm 2 /(V ⁇ s) is preferably used as the substance having a high hole-transporting property. However, any substance other than the above substances may also be used as long as it is a substance in which the hole-transporting property is higher than the electron-transporting property.
  • the organic compounds each of which can be used for the composite material are described in specific terms below.
  • aromatic amine compounds each of which can be used for the composite material include N,N′-bis(4-methylphenyl)(p-tolyl)-N,N′-diphenyl-p-phenylenediamine (abbreviated to DTDPPA), 4,4′-bis[N-(4-diphenylaminophenyl)-N-phenylamino]biphenyl (DPAB), 4,4′-bis(N- ⁇ 4-[N′-(3-methylphenyl)-N′-phenylamino]phenyl ⁇ -N-phenylamino)biphenyl (DNTPD), 1,3,5-tris[N-(4-diphenylaminophenyl)-N-phenylamino]benzene (abbreviated to DPA3B), and the like
  • carbazole derivatives each of which can be used for the composite material include 3-[N-(9-phenylcarbazol-3-yl)-N-phenylamino]-9-phenylcarbazole (abbreviated to PCzPCA1); 3,6-bis[N-(9-phenylcarbazol-3-yl)-N-phenylamino]-9-phenylcarbazole (abbreviated to PCzPCA2), 3-[N-(1-naphtyl)-N-(9-phenylcarbazol-3-yl)amino]-9-phenylcarbazole (abbreviated to PCzPCN1), and the like.
  • examples of the carbazole derivatives that can be used for the composite material also include 4,4′-di(N-carbazolyl)biphenyl (abbreviated to CBP), 1,3,5-tris[4-(N-carbazolyl)phenyl]benzene (abbreviated to TCPB), 9-[4-(10-phenyl-9-anthryl)phenyl]-9H-carbazole (abbreviated to CzPA), 1,4-bis[4-(N-carbazolyl)phenyl]-2,3,5,6-tetraphenylbenzene, and the like.
  • CBP 4,4′-di(N-carbazolyl)biphenyl
  • TCPB 1,3,5-tris[4-(N-carbazolyl)phenyl]benzene
  • CzPA 9-[4-(10-phenyl-9-anthryl)phenyl]-9H-carbazole
  • aromatic hydrocarbons each of which can be used for the composite material examples include 2-tert-butyl-9,10-di(2-naphthyl)anthracene (abbreviated to t-BuDNA), 2-tert-butyl-9,10-di(1-naphthyl)anthracene, 9,10-bis(3,5-diphenylphenyl)anthracene (abbreviated to DPPA), 2-tert-butyl-9,10-bis(4-phenylphenyl)anthracene (abbreviated to t-BuAnth), 9,10-di(2-naphthyl)anthracene (abbreviated to DNA), 9,10-diphenylanthracene (abbreviated to DPAnth), 2-tert-butylanthracene (abbreviated to t-BuAnth), 9,10-bis(4-methyl-1-naphthyl)anth
  • pentacene coronene, or the like can also be used.
  • an aromatic hydrocarbon that has a hole mobility of greater than or equal to 1 ⁇ 10 ⁇ 6 cm 2 /(V ⁇ s) and has 14 to 42 carbon atoms is more preferable.
  • the aromatic hydrocarbons each of which can be used for the composite material may have a vinyl skeleton.
  • the aromatic hydrocarbons having a vinyl skeleton include 4,4′-bis(2,2-diphenylvinyl)biphenyl (abbreviated to DPVBi), 9,10-bis[4-(2,2-diphenylvinyl)phenyl]anthracene (abbreviated to DPVPA), and the like.
  • any of compounds with a high molecular weight can be used.
  • any of compounds with a high molecular weight such as poly(N-vinylcarbazole) (abbreviated to PVK), poly(4-vinyltriphenylamine) (abbreviated to PVTPA), poly[A-(4- ⁇ N′-[4-(4-diphenylamino)phenyl]phenyl-N′-phenylamino ⁇ phenyl)methacryla mide] (abbreviated to PTPDMA), and poly[N,N′-bis(4-butylphenyl)-N,N′-bis(phenyl)benzidine] (abbreviated to Poly-TPD) can be given.
  • PVK poly(N-vinylcarbazole)
  • PVTPA poly(4-vinyltriphenylamine)
  • PVTPA poly[A-(4- ⁇ N′-[4-(4-diphenylamino)phenyl]phen
  • PAni/PSS poly(3,4-ethylenedioxythiophene)/poly(styrenesulfonic acid)
  • PDOT/PSS poly(styrenesulfonic acid)
  • PAni/PSS polyaniline/poly(styrenesulfonic acid)
  • the above-described compounds with a high molecular weight such as PVK, PVTPA, PTPDMA, or Poly-TPD, may be combined with the above-described acceptor substance to form a composite material.
  • the hole-transporting layer 112 is a layer that contains a substance having a high hole-transporting property.
  • the substance having a high hole-transporting property include aromatic amine compounds such as 4,4′-bis[N-(1-naphthyl)-N-phenylamino]biphenyl (abbreviated to NPB), N,N′-bis(3-methylphenyl)-N,N′-diphenyl-[1,1′-biphenyl]-4,4′-diamine (abbreviated to TPD), 4,4′,4′′-tis(N,N-diphenylamino)triphenylamine (abbreviated to TDATA), 4,4′,4′′-tris[N-(3-methylphenyl)-N-phenylamino]triphenylamine (abbreviated to m-MTDATA), and 4,4′-bis[N-(spiro-9,9′-bifluoren-2-yl)-N-
  • these substances described here mainly are substances each having a hole mobility of greater than or equal to 10 ⁇ 6 cm 2 /(V ⁇ s).
  • any substance other than the above substances may also be used as long as it is a substance in which the hole-transporting property is higher than the electron-transporting property.
  • the layer that contains a substance having a high hole-transporting property is not limited to a single layer and may be a stack of two or more layers each containing the aforementioned substance.
  • compounds with a high molecular weight such as PVK, PVTPA, PTPDMA, or Poly-TPD can also be used.
  • the light-emitting layer 113 is a layer that contains a substance having a high light-emitting property.
  • the light-emitting layer 113 contains any of the anthracene derivatives of the present invention that are described in Embodiment Mode 1.
  • the anthracene derivatives of the present invention are suitable for use in a light-emitting element as a substance having a high light-emitting property because the anthracene derivatives of the present invention exhibit high emission efficiency.
  • the electron-transporting layer 114 is a layer that contains a substance having a high electron-transporting property.
  • metal complexes having a quinoline or benzoquinoline skeleton such as tris(8-quinolinolato)aluminum (abbreviated to Alq), tris(4-methyl-8-quinolinolato)aluminum (abbreviated to Almq 3 ), bis(10-hydroxybenzo[h]quinolinato)beryllium (abbreviated to BeBq 2 ), or bis(2-methyl-8-quinolinolato)(4-phenylphenolato)aluminum (abbreviated to BAlq) or the like can be used.
  • metal complexes having an oxazole-based or thiazole-based ligand such as bis[2-(2-hydroxyphenyl)benzoxazolato]zinc (abbreviated to Zn(BOX) 2 ) or bis[2-(2-hydroxyphenyl)-benzothiazolato]zinc (abbreviated to Zn(BTZ) 2 ) or the like can be used.
  • 2-(4-biphenylyl)-5-(4-tert-butylphenyl)-1,3,4-oxadiazole (abbreviated to PBD), 1,3-bis[5-(p-tert-butylphenyl)-1,3,4-oxadiazol-2-yl]benzene (abbreviated to OXD-7), 3-(4-biphenylyl)-4-phenyl-5-(4-tert-butylphenyl)-1,2,4-triazole (abbreviated to TAZ), bathophenanthroline (abbreviated to BPhen), bathocuproine (abbreviated to BCP), or the like can also be used.
  • PBD 2-(4-biphenylyl)-5-(4-tert-butylphenyl)-1,3,4-oxadiazole
  • OXD-7 1,3-bis[5-(p-tert-butylphenyl)-1,3,4-oxadiazol
  • the substances described here mainly are substances each having an electron mobility of greater than or equal to 10 ⁇ 6 cm 2 /(V ⁇ s). It is to be noted that any substance other than the above substances may also be used as long it is a substance in which the electron-transporting property is higher than the hole-transporting property.
  • the electron-transporting layer is not limited to a single layer and may be a stack of two or more layers each containing the aforementioned substance.
  • any of compounds with a high molecular weight can be used.
  • poly[(9,9-dioctylfluorene-2,7-diyl)-co-(2,2′-bipyridin-6,6′-diyl)] (abbreviated to PF-BPy), or the like can be used.
  • An electron-injecting layer may be provided between the electron-transporting layer 114 and the second electrode 103 .
  • the electron-injecting layer can be formed using an alkali metal compound or an alkaline earth metal compound such as lithium fluoride (LiF), cesium fluoride (CsF), or calcium fluoride (CaF 2 ).
  • a layer in which a substance having an electron-transporting property is combined with an alkali metal or an alkaline earth metal can be employed.
  • the second electrode 103 can be formed using a metal, an alloy, or a conductive compound with a low work function (specifically, 3.8 eV or lower), a mixture of them, or the like.
  • cathode materials include elements belonging to Group 1 and Group 2 of the periodic table, that is, alkali metals such as lithium (Li) and cesium (Cs) and alkaline earth metals such as magnesium (Mg), calcium (Ca), and strontium (Sr); alloys of them (e.g., MgAg and AlLi); rare earth metals such as europium (Eu) and ytterbium (Yb), alloys of them; and the like.
  • alkali metals such as lithium (Li) and cesium (Cs)
  • alkaline earth metals such as magnesium (Mg), calcium (Ca), and strontium (Sr)
  • alloys of them e.g., MgAg and AlLi
  • rare earth metals such as europium (E
  • a film containing an alkali metal, an alkaline earth metal, or an alloy thereof can be formed by a vacuum evaporation method.
  • a film containing an alkali metal, an alkaline earth metal, or an alloy thereof can be formed by a sputtering method.
  • such a film can be formed using a silver paste or the like by an inkjet method or the like.
  • any of a variety of conductive materials such as Al, Ag, ITO, and ITO containing silicon or silicon oxide can be used for the second electrode 103 regardless of its work function. Films of these conductive materials can be formed by a sputtering method, an inkjet method, a spin coating method, or the like.
  • the light-emitting element having the above structure which is described in this embodiment mode
  • application of a voltage between the first electrode 101 and the second electrode 103 makes current flow, whereby holes and electrons are recombined in the light-emitting layer 113 which is a layer that contains a substance having a high light-emitting property, and light is emitted. That is, a light-emitting region is formed in the light-emitting layer 113 .
  • first electrode 101 and the second electrode 103 Light is extracted outside through one or both of the first electrode 101 and the second electrode 103 .
  • one or both of the first electrode 101 and the second electrode 103 are light-transmissive electrodes.
  • first electrode 101 is a light-transmissive electrode
  • second electrode 103 is a light-transmissive electrode
  • both the first electrode 101 and the second electrode 103 are light-transmissive electrodes
  • light is extracted from both the substrate side and the side opposite to the substrate side through the first electrode 101 and the second electrode 103 .
  • FIG. 1 shows a structure in which the first electrode 101 that functions as an anode is provided on the substrate 100 side
  • the second electrode 103 that functions as a cathode may be provided on the substrate 100 side.
  • any of a variety of methods can be employed for forming the layer 102 that contains an organic compound regardless of whether the method is a dry process or a wet process. Further, different deposition methods may be employed for each electrode or layer. A vacuum evaporation method, a sputtering method, or the like can be employed as a dry process. An inkjet method, a spin-coating method, or the like can be employed as a wet process.
  • the electrodes may be formed by a wet process such as a sol-gel process or formed using a metal paste by a wet process.
  • the electrodes may be formed by a dry process such as a sputtering method or a vacuum evaporation method.
  • a specific fabrication method of a light-emitting element is described.
  • a light-emitting element of the present invention is applied to a display device and light-emitting layers are formed separately for each color, it is preferable to form the light-emitting layer by a wet process.
  • a wet process such as an inkjet method makes it easier to form light-emitting layers separately for each color even if a large substrate is employed, whereby productivity is improved.
  • the first electrode may be formed by a sputtering method which is a dry process; the hole-injecting layer may be formed by an inkjet method or a spin coating method which is a wet process; the hole-transporting layer may be formed by a vacuum evaporation method which is a dry process; the light-emitting layer may be formed by an inkjet method which is a wet process; the electron-injecting layer may be formed by a co-deposition method which is a dry process; and the second electrode may be formed by an inkjet method or a spin coating method which is a wet process.
  • the first electrode may be formed by an inkjet method which is a wet process; the hole-injecting layer may be formed by a vacuum evaporation method which is a dry process; the hole-transporting layer may be formed by an inkjet method or a spin coating method which is a wet process; the light-emitting layer may be formed by an inkjet method which is a wet process; the electron-injecting layer may be formed by an inkjet method or a spin coating method which is a wet process; and the second electrode may be formed by an inkjet method or a spin coating method which is a wet process. It is to be noted that there is no limitation on the above methods and a wet process and that a dry process can be combined as appropriate.
  • the first electrode can be formed by a sputtering method which is a dry process
  • the hole-injecting layer and the hole-transporting layer can be formed by an inkjet method or a spin coating method which is a wet process
  • the light-emitting layer can be formed by an inkjet method which is a wet process
  • the electron-injecting layer can be formed by a vacuum evaporation method which is a dry process
  • the second electrode can be formed by a vacuum evaporation method which is a dry process.
  • a wet process can be employed in the formation of the hole-injecting layer to the light-emitting layer, and a dry process can be employed in the formation of the electron-injecting layer to the second electrode.
  • the formation of the hole-injecting layer to the light-emitting layer can be performed at atmospheric pressure, and the light-emitting layers can be easily formed separately for each color.
  • the formation of the electron-injecting layer to the second electrode can be performed in vacuum consistently. Thus, the process can be simplified, and productivity can be improved.
  • the potential difference generated between the first electrode 101 and the second electrode 103 makes current flow, whereby holes and electrons are recombined in the light-emitting layer 113 that is a layer containing a high light-emitting property, and thus light is emitted. That is, a light-emitting region is formed in the light-emitting layer 113 .
  • the structure of the layers provided between the first electrode 101 and the second electrode 103 is not limited to the above one and may employ any structure as long as the light-emitting region for the recombination of holes and electrons is positioned away from the first electrode 101 and the second electrode 103 so as to prevent quenching caused by the light-emitting region being close to a metal.
  • the anthracene derivatives have high emission efficiency; therefore, as described in this embodiment mode, any of the anthracene derivatives of the present invention can be used for a light-emitting layer without any need for any other light-emitting substance. Furthermore, since the anthracene derivatives of the present invention have high emission efficiency, a light-emitting element with high emission efficiency can be obtained.
  • the anthracene derivatives of the present invention emit blue light with high color purity, and thus a light-emitting element that emits blue light with high color purity can be obtained.
  • the anthracene derivatives of the present invention emit blue light with high color purity at high efficiency, and thus a light-emitting element that can emit blue light with high luminous efficiency can be obtained.
  • the light-emitting element in which any of the anthracene derivatives of the present invention is used can emit blue light at high efficiency the light-emitting element is suitable for use in a full-color display. Furthermore, the light-emitting element can emit blue light for a long period of time; therefore, the light-emitting element is suitable for use in a full-color display.
  • the development of blue light-emitting elements lags behind that of red or green light-emitting elements in terms of life and efficiency, and blue light-emitting elements having good characteristics are desired. Since the light-emitting element in which any of the anthracene derivatives of the present invention is used can emit blue light at high efficiency for a long period of time, the light-emitting element is suitable for use in a full-color display.
  • any of the anthracene derivatives of the present invention is dispersed into another substance, whereby light emission from the anthracene derivative of the present invention can be obtained. Since the anthracene derivatives of the present invention emit blue light, a light-emitting element that emits blue light can be obtained.
  • any of a variety of materials can be used as the substance in which one of the anthracene derivatives of the present invention is dispersed.
  • CBP 4,4′-di(N-carbazolyl)-biphenyl
  • TPBI 2,2′,2′′-(1,3,5-benzenetriyl)-tris[1-phenyl-1H-benzimidazole]
  • TPBI 9,10-di(2-naphthyl)anthracene
  • t-BuDNA 9,10-di(2-naphthyl)anthracene
  • t-BuDNA 9,10-di(2-naphthyl)anthracene
  • t-BuDNA 9,10-di(2-naphthyl)anthracene
  • t-BuDNA 9,10-di(2-naphthyl)anthracene
  • t-BuDNA 9,10-di(2-naphthy
  • any of compounds with a high molecular weight can be used.
  • PVK poly(N-vinylcarbazole)
  • PVTPA poly(4-vinyltriphenylamine)
  • PTPDMA poly[N-(4- ⁇ N′-[4-(4-diphenylamino)phenyl]phenyl-N′-phenylamino ⁇ phenyl)methacryla mide]
  • PTPDMA poly[N,N′-bis(4-butylphenyl)-N,N′-bis(phenyl)benzidine]
  • Poly-TPD poly[(9,9-dihexylfluorene-2,7-diyl)-co-(pyridine-3,5-diyl)]
  • PF-Py poly[(9,9-dioctylfluorene-2,7-diyl)-co-(
  • the anthracene derivatives of the present invention have high emission efficiency, by use of any of the anthracene derivatives of the present invention in a light-emitting element, a light-emitting element with high emission efficiency can be obtained.
  • anthracene derivatives of the present invention emit blue light with high color purity
  • a light-emitting element that emits blue light with high color purity can be obtained.
  • the anthracene derivatives of the present invention emit light at high efficiency, a light-emitting element that can emit blue light with high luminous efficiency can be obtained.
  • the light-emitting element in which any of the anthracene derivatives of the present invention is used can emit blue light with high color purity at high efficiency, the light-emitting element is suitable for use in a full-color display. Further, since the light-emitting element can emit blue light for a long period of time, the light-emitting element is suitable for use in a full-color display.
  • Embodiment Mode 3 the structure described in Embodiment Mode 3 can be used as appropriate.
  • a light-emitting substance is dispersed into any of the anthracene derivatives of the present invention, whereby light emission from the light-emitting substance can be obtained.
  • any of the anthracene derivatives of the present invention is used as a material in which another light-emitting substance is dispersed, a color generated by the light-emitting substance can be obtained. Further, a mixture of colors generated by the anthracene derivative of the present invention and the light-emitting substance dispersed in the anthracene derivative can also be obtained.
  • any of a variety of materials can be used as the light-emitting substance dispersed in the anthracene derivative of the present invention.
  • fluorescent substances that emit fluorescence such as N,N′-diphenylquinacridon (abbreviated to DPQd), coumarin 6, coumarin 545T, 4-(dicyanomethylene)-2-methyl-6-(p-dimethylaminostyryl)-4H-pyran (abbreviated to DCM1), 4-(dicyanomethylene)-2-methyl-6-(julolidin-4-yl-vinyl)-4H-pyran (abbreviated to DCM2), N,N-dimethylquinacridone (abbreviated to DMQd), ⁇ 2-(1,1-dimethylethyl)-6-[2-(2,3,6,7-tetrahydro-1,1,7,7-tetramethyl-1H,5H-benzo[ij]qui nolizin-9
  • any of phosphorescent substances that emit phosphorescence such as (acetylacetonato)bis[2,3-bis(4-fluorophenyl)quinoxalinato]iridium(III) (abbreviated to Ir(Fdpq)2(acac)), and (2,3,7,8,12,13,17,18-octaethyl-21H,23H-porphyrinato)platinum(II) (abbreviated to PtOEP) can be used.
  • Embodiment Mode 3 the structure described in Embodiment Mode 3 can be employed as appropriate.
  • a first layer 121 and a second layer 122 are provided in the light-emitting layer 113 of the light-emitting element described in Embodiment Mode 3.
  • the light-emitting layer 113 is a layer that contains a substance having a high light-emitting property.
  • the light-emitting layer 113 has the first layer 121 and the second layer 122 .
  • the first layer 121 contains a first organic compound and an organic compound having a hole-transporting property
  • the second layer 122 contains a second organic compound and an electron-transporting organic compound.
  • the first layer 121 is provided on the first electrode side of the second layer 122 , in other words, in contact with an anode side of the second layer 122 .
  • each of the first organic compound and the second organic compound is a substance having a high light-emitting property.
  • the first organic compound or the second organic compound contains any of the anthracene derivatives of the present invention which are described in Embodiment Mode 1. Since the anthracene derivatives of the present invention emit blue light with high color purity, the anthracene derivatives are each suitable for use as a substance having a high light-emitting property in the light-emitting element described in this embodiment mode.
  • the first organic compound and the second organic compound may be the same or different from each other.
  • any of the anthracene derivatives of the present invention is used as one of the first organic compound and the second organic compound, as the other one thereof, it is possible to use substances that emit bluish light, such as 4-(9H-carbazol-9-yl)-4′-(10-phenyl-9-anthryl)triphenylamine (YGAPA), 4,4′-(2-tert-butylanthracen-9,10-diyl)bis ⁇ N-[4-(9H-carbazol-9-yl)phenyl]-N-phenylanili ne ⁇ (YGABPA), N,9-diphenyl-N-[4-(10-phenyl-9-anthryl)phenyl]-9H-carbazol-3-amine (PCAPA), N,N′′-(2-tert-butylanthracene-9,10-diyldi-4,1-phenylene)bis[N,N′,N′-triphenyl-1,4-phen ylened
  • the organic compound having a hole-transporting property, which is contained in the first layer 121 is a substance in which the hole-transporting property is higher than the electron-transporting property.
  • the organic compound having an electron-transporting property, which is contained in the second layer 122 is a substance in which the electron-transporting property is higher than the hole-transporting property.
  • holes injected from the first electrode 101 are injected into the first layer 121 .
  • the holes injected into the first layer 121 are transported through the first layer 121 and further injected into the second layer 122 .
  • the organic compound having an electron-transporting property which is contained in the second layer 122
  • the holes injected into the second layer 122 have difficulty moving. Consequently, a large number of holes come to be present near the interface between the first layer 121 and the second layer 122 .
  • occurrence of a phenomenon in which holes reach the electron-transporting layer 114 without recombining with electrons can be suppressed.
  • electrons injected from the second electrode 103 are injected into the second layer 122 .
  • the electrons injected into the second layer 122 are transported through the second layer 122 and further injected into the first layer 121 .
  • the organic compound having a hole-transporting property which is contained in the first layer 121
  • the electrons injected into the first layer 121 have difficulty moving. Consequently, a large number of electrons come to be present near the interface between the first layer 121 and the second layer 122 .
  • occurrence of a phenomenon in which electrons reach the hole-transporting layer 112 without recombining with holes can be suppressed.
  • the probability of recombination in the region in the vicinity of the interface can be increased. That is, the light-emitting region is formed in the vicinity of the center of the light-emitting layer 113 .
  • occurrence of a phenomenon in which holes reach the electron-transporting layer 114 without recombining with electrons or electrons reach the hole-transporting layer 112 without recombining with holes can be suppressed, whereby a reduction in the probability of recombination can be prevented. Since a reduction of carrier balance over time can thus be prevented, an improvement in reliability is promoted.
  • the organic compound having a hole-transporting property be an organic compound which can be oxidized and reduced and has a highest occupied molecular orbital level (HOMO level) of greater than or equal to ⁇ 6.0 eV and less than or equal to ⁇ 5.0 eV as well as a lowest unoccupied molecular orbital level (LUMO level) of greater than or equal to ⁇ 3.0 eV and less than or equal to ⁇ 2.0 eV.
  • HOMO level highest occupied molecular orbital level
  • LUMO level lowest unoccupied molecular orbital level
  • anthracene derivatives is particularly preferable among tricyclic polyacene derivatives, tetracyclic polyacene derivatives, pentacyclic polyacene derivatives, and hexacyclic polyacene derivatives.
  • organic compound having an hole-transporting property which is contained in the first layer 121 , include 9,10-diphenylanthracene (DPAnth), N,N-diphenyl-9-[4-(10-phenyl-9-anthryl)phenyl]-9H-carbazol-3-amine (abbreviated to CzAlPA), 4-(10-phenyl-9-anthryl)triphenylamine (abbreviated to DPhPA), N,9-diphenyl-N-[4-(10-phenyl-9-anthryl)phenyl]-9H-carbazol-3-amine (PCAPA), N,9-diphenyl-N- ⁇ 4-[4-(10-phenyl-9-anthryl)phenyl]phenyl ⁇ -9H-carbazol-3-amine (abbreviated to PCAPBA), and the like.
  • DPAnth 9,10-diphenylanthracene
  • CzAlPA N,N-diphenyl-9-
  • the organic compound having an electron-transporting property be an organic compound which can be oxidized and reduced and has a HOMO level of greater than or equal to ⁇ 6.0 eV and less than or equal to ⁇ 5.0 eV.
  • any of tricyclic polyacene derivatives, tetracyclic polyacene derivatives, pentacyclic polyacene derivatives, or hexacyclic polyacene derivatives can be given.
  • any of anthracene derivatives, phenanthrene derivatives, pyrene derivatives, chrysene derivatives, dibenzo[g,p]chrysene derivatives, or the like can be given.
  • the light-emitting element of the present invention has a structure in which holes are injected into the second layer 122 from the first layer 121 . Therefore, it is preferable that the difference in HOMO level between that of the organic compound having a hole-transporting property and that of the organic compound having an electron-transporting property be small. Further, since the light-emitting element of the present invention has a structure in which electrons are injected into the first layer 121 from the second layer 122 , it is preferable that the difference in LUMO level between that of the organic compound having a hole-transporting property and that of the organic compound having an electron-transporting property be small.
  • the difference between the HOMO level of the organic compound having a hole-transporting property and that of the organic compound having an electron-transporting property is preferably 0.3 eV or less, and more preferably, 0.1 eV or less.
  • the difference between the LUMO level of the organic compound having a hole-transporting property and that of the organic compound having an electron-transporting property is preferably 0.3 eV or less, and more preferably, 0.1 eV or less.
  • the organic compound used for the light-emitting layer 113 be stable with respect to repetitive redox reactions.
  • the organic compound be able to be reversibly oxidized and reduced.
  • the organic compound having a hole-transporting property and the organic compound having an electron-transporting property be stable with respect to repetitive redox reactions. Whether the organic compounds are stable with respect to repetitive redox reactions or not can be confirmed by cyclic voltammetry (CV) measurements.
  • the organic compounds are stable with respect to repetitive redox reactions or not can be confirmed by measurement of changes in the value of an oxidation peak potential (E pa ) of an oxidation reaction of the organic compound and the value of a reduction peak potential (E pc ) of a reduction reaction, changes in the shape of the peaks, and the like.
  • E pa an oxidation peak potential
  • E pc a reduction peak potential
  • the amount of change in the intensity of the oxidation peak potential or the intensity of the reduction peak potential is preferably less than 50%, and more preferably, less than 30%.
  • the intensity of the peak is preferably kept at 50% or more, more preferably, 70%.
  • the amount of change in the values of the oxidation peak potential and the reduction peak potential is preferably 0.05 V or lower, more preferably, 0.02 V or lower.
  • the substance having a high light-emitting property contained in the first layer and the substance having a high light-emitting property contained in the second layer are different, there is a possibility that light is emitted from only one of the first layer and the second layer.
  • the substance having a high light-emitting property contained in the first layer and the substance having a high light-emitting property contained in the second layer are the same, light can be made to be emitted in the vicinity of the center of the light-emitting layer. Accordingly, it is preferred that the substance having a light-emitting property contained in the first layer and the substance having a light-emitting property contained in the second layer be the anthracene derivatives of the present invention. Since the anthracene derivatives of the present invention have high emission efficiency, by application thereof to the structure described in this embodiment mode, a light-emitting element with high emission efficiency and a long life can be obtained.
  • a light-emitting region is formed in the vicinity of the center of the light-emitting layer, not at the interface between the light-emitting layer and the hole-transporting layer or at the interface between the light-emitting layer and the electron-transporting layer. Accordingly, the light-emitting element is not affected by deterioration caused by the light-emitting region being close to the hole-transporting layer or the electron-transporting layer. Therefore, the light-emitting element with little deterioration and a long life can be obtained.
  • the light-emitting layer in the light-emitting element of the present invention contains the compound that is stable with respect to repetitive redox reactions, there is little deterioration in the light-emitting layer even if light emission by recombination of holes and electrons are repeated. Therefore, a light-emitting element with a longer life can be obtained.
  • each of the anthracene derivatives of the present invention is a substance having a high light-emitting element property which emits blue light the element structure described in this embodiment mode is particularly effective for use in a light-emitting element of bluish color and a light-emitting element of blue-greenish color. Blue color is needed for the fabrication of a full-color display, and the amount of deterioration can be reduced by application of the present invention. It is natural that the anthracene derivatives of the present invention may be used for a light-emitting element of green or red color, as well. This embodiment mode can be combined with any other embodiment mode as appropriate.
  • a light-emitting element in which a plurality of light-emitting units according to the present invention is stacked (hereinafter, referred to as a stacked type element) is described using FIG. 3 .
  • This light-emitting element is a stacked type light-emitting element that has a plurality of light-emitting units between a first electrode and a second electrode.
  • Each light-emitting unit can have a structure similar to that of the layer 102 that contains an organic compound described in Embodiment Mode 2.
  • the light-emitting element described in Embodiment Mode 2 is a light-emitting element that has one light-emitting unit.
  • a light-emitting element that has a plurality of light-emitting units is described.
  • a first light-emitting unit 511 and a second light-emitting unit 512 are stacked between a first electrode 501 and a second electrode 502 , and a charge generation layer 513 is provided between the first light-emitting unit 511 and the second light-emitting unit 512 . Electrodes similar to those described in Embodiment Mode 2 can be applied for the first electrode 501 and the second electrode 502 .
  • the first light-emitting unit 511 and the second light-emitting unit 512 may have structures that are the same or different from each other, and a structure similar to those described in any of Embodiment Modes 2 to 6 can be employed.
  • the charge generation layer 513 contains a composite material of an organic compound and a metal oxide.
  • the composite material of an organic compound and a metal oxide is described in Embodiment Modes 2 or 5 and contains an organic compound and a metal oxide such as vanadium oxide, molybdenum oxide, or tungsten oxide.
  • the organic compound a variety of compounds such as aromatic amine compounds, carbazole derivatives, aromatic hydrocarbons, or compounds with a high molecular weight (such as oligomers, dendrimers, or polymers) can be used. It is to be noted that an organic compound having a hole mobility of greater than or equal to 10 ⁇ 6 cm 2 /(V ⁇ s) is preferably applied as the organic compound.
  • a substance other than these compounds may also be used as long as it is a substance in which the hole-transporting property is higher than the electron-transporting property. Since the composite material of an organic compound and a metal oxide is superior in carrier-injecting property and carrier-transporting property, low-voltage driving and low-current driving can be realized.
  • the charge generation layer 513 may be formed by a combination of a composite material of an organic compound and a metal oxide with another material.
  • the charge generation layer 513 may be formed by a combination of a layer containing the composite material of an organic compound and a metal oxide with a layer containing one compound selected from among electron-donating substances and a compound having a high electron-transporting property.
  • the charge generation layer 513 may be formed by a combination of a layer containing the composite material of an organic compound and a metal oxide with a transparent conductive film.
  • any structure for the charge generation layer 513 interposed between the first light-emitting unit 511 and the second light-emitting unit 512 is acceptable as long as it is one by which electrons are injected into one light-emitting unit and holes are injected into the other light-emitting unit when a voltage is applied between the first electrode 501 and the second electrode 502 .
  • an acceptable structure is one in which, in FIG. 3 , the charge generation layer 513 injects electrons into the first light-emitting unit 511 and injects holes into the second light-emitting unit 512 when a voltage is applied so that the potential of the first electrode is higher than that of the second electrode.
  • the light-emitting element having two light-emitting units is described; however, the present invention can be applied in a similar manner to a light-emitting element in which three or more light-emitting units are stacked.
  • a plurality of light-emitting units are arranged to be partitioned from each other with a charge generation layer between a pair of electrodes, like the light-emitting element according to this embodiment mode, emission from a region of high luminance can be realized at a low current density, and thus, an element with a long life can be achieved.
  • the light-emitting element when applied to a lighting device, a drop in voltage due to the resistance of an electrode material can be suppressed, and thus, uniform emission in a large area can be achieved. In other words, a light-emitting device that can be driven at low voltage and has low power consumption can be realized.
  • a desired emission color can be obtained from the whole light-emitting element.
  • an emission color of the first light-emitting unit and an emission color of the second light-emitting unit are complementary colors
  • the complementary colors refer to colors that can produce an achromatic color when they are mixed. That is, white light emission can be obtained by mixture of light from substances whose emission colors are complementary colors.
  • white light can be obtained from the whole light-emitting element when emission colors of the first, second, and third light-emitting units are red, green, and blue, respectively.
  • This embodiment mode can be combined with any other embodiment mode as appropriate.
  • FIG. 4A is a top view of a light-emitting device
  • FIG. 4B is a cross-sectional view taken along lines A-A′ and B-B′ of FIG. 4A
  • the light-emitting device has a driver circuit portion (a source side driver circuit) 401 , a pixel portion 402 , and a driver circuit portion (a gate side driver circuit) 403 which are indicated by dotted lines to control the light-emitting device.
  • Reference numerals 404 and 405 denote a sealing substrate and a sealing material, respectively. A portion enclosed by the sealing material 405 corresponds to a space 407 .
  • a lead wiring 408 is a wiring used to transmit signals to be inputted to the source side driver circuit 401 and the gate side driver circuit 403 and receives a video signal, a clock signal, a start signal, a reset signal, and the like from a flexible printed circuit (FPC) 409 which is an external input terminal.
  • FPC flexible printed circuit
  • FPC flexible printed circuit
  • PWB printed wiring board
  • FIG. 4B a cross-sectional structure is described using FIG. 4B .
  • the driver circuit portion and the pixel portion are formed over an element substrate 410 .
  • one pixel in the pixel portion 402 and the source side driver circuit 401 which is the driver circuit portion are illustrated.
  • a CMOS circuit which is a combination of an n-channel TFT 423 and a p-channel TFT 424 , is formed as the source side driver circuit 401 .
  • Each driver circuit portion may be any of a variety of circuits such as a CMOS circuit, a PMOS circuit, or an NMOS circuit.
  • a driver-integration type device in which a driver circuit is formed over the substrate over which the pixel portion is provided, is described in this embodiment mode, a driver circuit needed not necessarily be formed over the substrate over which the pixel portion is provided but can be formed externally from a substrate.
  • the pixel portion 402 is formed of a plurality of pixels each of which includes a switching TFT 411 , a current control TFT 412 , and a first electrode 413 which is electrically connected to a drain of the current control TFT 412 . It is to be noted that an insulator 414 is formed to cover end portions of the first electrode 413 . In this case, the insulator 414 is formed using a positive photosensitive acrylic resin film.
  • the insulator 414 is formed so as to have a curved surface having curvature at an upper end portion or a lower end portion thereof in order to make the coverage favorable.
  • the insulator 414 be formed so as to have a curved surface with radius of curvature (0.2 ⁇ m to 3 ⁇ m) only at the upper end portion thereof.
  • the insulator 414 can be formed using either a negative type which becomes insoluble in an etchant by light irradiation or a positive type which becomes soluble in an etchant by light irradiation.
  • a layer 416 , which contains an organic compound, and a second electrode 417 are formed over the first electrode 413 .
  • the first electrode 413 serving as an anode be formed using a material with a high work function.
  • the first electrode 413 can be formed using a single-layer film of an ITO film, an indium tin oxide film containing silicon, an indium oxide film containing 2 wt % to 20 wt % of zinc oxide, a titanium nitride film, a chromium film, a tungsten film, a Zn film, a Pt film, or the like; a stack of a titanium nitride film and a film containing aluminum as its main component; or a stacked film such as a film having a three-layer structure of a titanium nitride film, a film containing aluminum as its main component, and another titanium nitride film.
  • the layer 416 containing an organic compound is formed by any of a variety of methods such as a deposition method using a deposition mask, an inkjet method, and a spin coating method.
  • the layer 416 containing an organic compound contains any of the anthracene derivatives of the present invention which are described in Embodiment Mode 1.Further, another material of the layer 416 containing an organic compound be any of compounds with a low molecular weight or compounds with a high molecular weight (the category of the compounds with a high molecular weight includes oligomers and dendrimers). Further, the material of the layer containing an organic compound may be not only an organic compound but also an inorganic compound.
  • a material used for the second electrode 417 which is formed over the layer 416 containing an organic compound and serves as a cathode it is preferable to use a material with a low work function (e.g., Al, Mg, Li, Ca, or an alloy or compound thereof such as MgAg, Mg—In, Al—Li, LiF, or CaF 2 ).
  • a material with a low work function e.g., Al, Mg, Li, Ca, or an alloy or compound thereof such as MgAg, Mg—In, Al—Li, LiF, or CaF 2 ).
  • the second electrode 417 may be formed of a stack of a metal thin film and a transparent conductive film (e.g., a film of ITO, indium oxide containing 2 wt% to 20 wt % of zinc oxide, indium tin oxide containing silicon or silicon oxide, or zinc oxide (ZnO)).
  • a transparent conductive film e.g., a film of ITO, indium oxide containing 2 wt% to 20 wt % of zinc oxide, indium tin oxide containing silicon or silicon oxide, or zinc oxide (ZnO)
  • the sealing substrate 404 is attached using the sealing material 405 to the element substrate 410 ; thus, a light-emitting element 418 is provided in the space 407 enclosed by the element substrate 410 , the sealing substrate 404 , and the sealing material 405 .
  • the space 407 is filled with a filler
  • the space 407 is filled with an inert gas (e.g., nitrogen or argon) or the sealing material 405 in some cases.
  • the sealing substrate 404 can be formed of a plastic substrate made of fiberglass-reinforced plastic (FRP), polyvinyl fluoride (PVF), polyester, acrylic, or the like.
  • FRP fiberglass-reinforced plastic
  • PVF polyvinyl fluoride
  • any of the anthracene derivatives described in Embodiment Mode 1 is used in the light-emitting device of the present invention, a light-emitting device having favorable characteristics can be obtained. Specifically, a light-emitting device that has a long life can be obtained.
  • anthracene derivatives of the present invention have high emission efficiency, a light-emitting device having low power consumption can be provided.
  • the light-emitting element in which any of the anthracene derivatives of the present invention is used can emit blue light with high color purity at high efficiency, the anthracene derivatives are suitable for use in full-color displays. Further, since the light-emitting element in which any of the anthracene derivatives of the present invention is used can emit blue light for a long period of time and has low power consumption, the anthracene derivatives are suitable for use in full-color displays.
  • FIGS. 5A and 5B show a passive matrix light-emitting device to which the present invention is applied.
  • FIG. 5A is a perspective view of the light-emitting device
  • FIG. 5B is a cross-sectional view taken along a line X-Y of FIG. 5A .
  • a layer 955 containing an organic compound is provided between an electrode 952 and an electrode 956 over a substrate 951 . End portions of the electrode 952 are covered by an insulating layer 953 .
  • a partition layer 954 is provided over the insulating layer 953 .
  • a sidewall of the partition layer 954 slopes so that the distance between one sidewall and another sidewall becomes narrower toward the substrate surface.
  • a cross section taken in the direction of the short side of the partition layer 954 is trapezoidal and the base of the cross-section (a side facing in the same direction as a plane direction of the insulating layer 953 and in contact with the insulating layer 953 ) is shorter than the upper side thereof (a side facing in the same direction as the plane direction of the insulating layer 953 and not in contact with the insulating layer 953 ).
  • the partition layer 954 provided in this manner can be used to prevent the light-emitting element from being defective due to static electricity or the like. Even in the case of a passive matrix light-emitting device, when the light-emitting device includes the light-emitting element of the present invention, a light-emitting device with a long life can be obtained, and a light-emitting device having low power consumption can also be obtained.
  • electronic devices of the present invention that include the light-emitting device described in Embodiment Mode 8 are described.
  • the electronic devices of the present invention each contain any of the anthracene derivatives described in Embodiment Mode 1 and have a display portion that has a long life. Further, the electronic devices of the present invention each have a display portion in which power consumption is reduced.
  • Examples of electronic devices that include light-emitting elements fabricated using any of the anthracene derivatives of the present invention include cameras such as video cameras or digital cameras, goggle type displays, navigation systems, audio playback devices (e.g., car audio systems and audio systems), computers, game machines, portable information terminals (e.g., mobile computers, cellular phones, portable game machines, and electronic books), image playback devices in which a recording medium is provided (devices that are capable of playing back recording media such as digital versatile discs (DVDs) and equipped with a display device that can display the image), and the like. Specific examples of these electronic devices are shown in FIGS. 6A to 6D .
  • FIG. 6A shows a television device according to the present invention which includes a housing 9101 , a support stand 9102 , a display portion 9103 , a speaker portion 9104 , a video input terminal 9105 , and the like.
  • the display portion 9103 has light-emitting elements similar to those described in Embodiment Modes 2 to 7 arranged in matrix form.
  • the light-emitting element is characterized by having high emission efficiency and a long life. Since the display portion 9103 formed of the light-emitting elements has similar characteristics, image quality does not deteriorate much and lower power consumption is achieved in the television device.
  • Such characteristics contribute to a significant reduction in size and number of the deterioration compensation function circuits and power supply circuits in the television device, whereby the size and weight of the housing 9101 and support stand 9102 can be reduced.
  • the television device according to the present invention lower power consumption, a higher image quality, a smaller size, and a lighter weight are achieved; therefore, products suitable for a residence can be provided.
  • the anthracene derivatives described in Embodiment Mode 1 can emit blue light with high color purity, full-color display is possible, and a television device having a display portion with a long life can be obtained.
  • FIG. 6B shows a computer according to the present invention which includes a main body 9201 , a housing 9202 , a display portion 9203 , a keyboard 9204 , an external connection port 9205 , a pointing device 9206 , and the like.
  • the display portion 9203 has light-emitting elements similar to those described in Embodiment Modes 2 to 7 arranged in matrix form.
  • the light-emitting element is characterized by having high emission efficiency and a long life. Since the display portion 9203 formed of the light-emitting elements has similar characteristics, image quality does not deteriorate much and lower power consumption is achieved in the computer.
  • Such characteristics contribute to a significant reduction in size and number of the deterioration compensation function circuits and power supply circuits in the computer, whereby the size and weight of the main body 9201 and the housing 9202 can be reduced.
  • the computer according to the present invention lower power consumption, a higher image quality, a smaller size, and a lighter weight are achieved; therefore, products suitable for the environment can be supplied.
  • the anthracene derivatives described in Embodiment Mode 1 can emit blue light with high color purity, full-color display is possible, and a computer having a display portion with a long life can be obtained.
  • FIG. 6C shows a cellular phone according to the present invention which includes a main body 9401 , a housing 9402 , a display portion 9403 , an audio input portion 9404 , an audio output portion 9405 , operation keys 9406 , an external connection port 9407 , an antenna 9408 , and the like.
  • the display portion 9403 has light-emitting elements similar to those described in Embodiment Modes 2 to 7 arranged in matrix form.
  • the light-emitting element is characterized by high emission efficiency and a long life. Since the display portion 9403 formed of the light-emitting elements has similar characteristics, image quality does not deteriorate much and lower power consumption is achieved in the cellular phone.
  • Such characteristics contribute to a significant reduction in size and number of the deterioration compensation function circuits and power supply circuits in the cellular phone, whereby the size and weight of the main body 9401 and the housing 9402 can be reduced.
  • the cellular phone according to the present invention lower power consumption, a higher image quality, a smaller size, and a lighter weight are achieved; therefore, products suitable for portability can be provided. Since the anthracene derivatives described in Embodiment Mode 1 can emit blue light with high color purity, full-color display is possible, and a cellular phone having a display portion with a long life can be obtained.
  • FIG. 6D shows a camera according to the present invention which includes a main body 9501 , a display portion 9502 , a housing 9503 , an external connection port 9504 , a remote control receiver 9505 , an image receiver 9506 , a battery 9507 , an audio input portion 9508 , operation keys 9509 , an eye piece portion 9510 , and the like.
  • the display portion 9502 has light-emitting elements similar to those described in Embodiment Modes 2 to 7 arranged in matrix form. Some features of the light-emitting element are its high emission efficiency and a long life. Since the display portion 9502 formed of the light-emitting elements has similar characteristics, image quality does not deteriorate much and lower power consumption can be achieved in the camera.
  • Such characteristics contribute to a significant reduction in size and number of the deterioration compensation function circuits and power supply circuits in the camera, whereby the size and weight of the main body 9501 can be reduced.
  • the camera according to the present invention lower power consumption, a higher image quality, a smaller size, and a lighter weight are achieved; therefore, products suitable for being carried can be provided. Since the anthracene derivatives described in Embodiment Mode 1 can emit blue light with high color purity, full-color display is possible, and a camera having a display portion with a long life can be obtained.
  • the applicable range of the light-emitting device of the present invention is extremely wide so that this light-emitting device can be applied to electronic devices of a variety of fields.
  • an electronic device that has a display portion with a long life can be obtained.
  • an electronic device that has a display portion in which power consumption is reduced can be obtained.
  • Such a light-emitting device of the present invention can also be used as a lighting device.
  • One mode in which the light-emitting device of the present invention is used as a lighting device is described using FIG. 7 .
  • FIG. 7 shows an example of a liquid crystal display in which the light-emitting device of the present invention is used as a backlight.
  • the liquid crystal display device shown in FIG. 7 includes a housing 901 , a liquid crystal layer 902 , a backlight 903 , and a housing 904 .
  • the liquid crystal layer 902 is connected to a driver IC 905 .
  • the light-emitting device of the present invention is used as the backlight 903 , and current is supplied through a terminal 906 .
  • the light-emitting device of the present invention By use of the light-emitting device of the present invention as the backlight of the liquid crystal display device, a backlight with high emission efficiency and lower power consumption and can be obtained. Since the light-emitting device of the present invention is a lighting device with plane light emission and can have a larger area, the backlight can have a larger area, and a liquid crystal display device can also have a larger area. Furthermore, since the light-emitting device of the present invention is thin and has low power consumption, a thinner shape and lower power consumption can also be achieved in a display device. Since the light-emitting device of the present invention has a long life, a liquid crystal display device in which the light-emitting device of the present invention is used can also have a long life.
  • FIG. 8 shows an example in which the light-emitting device to which the present invention is applied is used as a table lamp that is a lighting device.
  • the table lamp shown in FIG. 8 has a housing 2001 and a light source 2002 .
  • the light-emitting device of the present invention is used as the light source 2002 . Since the light-emitting device of the present invention has high emission efficiency and a long life, the table lamp also has high emission efficiency and a long life.
  • FIG. 9 shows an example in which a light-emitting device to which the present invention is applied is used as an indoor lighting device 3001 . Since the light-emitting device of the present invention can also have a larger area, the light-emitting device of the present invention can be used as a lighting device having a large emission area. Further, since the light-emitting device of the present invention is thin and has low power consumption, the light-emitting device of the present invention can be used as a lighting device with a thinner shape and lower power consumption.
  • a television device 3002 according to the present invention as described in FIG. 6A is placed in a room in which a light-emitting device to which the present invention is applied is used as the indoor lighting device 3001 , and public broadcasting and movies can be enjoyed. In such a case, since power consumption is low in both devices, a powerful image can be watched in a bright room without any concern about charges for electricity.
  • FIGS. 10A and 10B The solid obtained in the above Step 2 was analyzed by nuclear magnetic resonance measurements ( 1 H NMR). The measurement results are described below, and the 1 H NMR chart is shown in FIGS. 10A and 10B . It is to be noted that FIG. 10B is a chart showing an enlarged view of the range of 6.0 ppm to 9.0 ppm in FIG. 10A . From the measurement results, it can be seen that the organic compound PCBA of the present invention which is a source material used for the synthesis of the anthracene derivative of the present invention represented by the above structural formula (100) was obtained.
  • PCBA of the present invention which is a source material used for the synthesis of the anthracene derivative of the present invention represented by the above structural formula (100) was obtained.
  • FIGS. 11A and 11B The solid obtained in the above Step 3 was analyzed by 1 H NMR. The measurement results are described below, and the 1 H NMR chart is shown in FIGS. 11A and 11B . It is to be noted that FIG. 11B is a chart showing an enlarged view of the range of 7.0 to 8.5 ppm in FIG. 11A . From the measurement results, it can be seen that the anthracene derivative PCBAPA of the present invention represented by the above structural formula (100) was obtained.
  • an absorption spectrum of PCBAPA was measured using an ultraviolet-visible spectrophotometer (V-550,manufactured by JASCO Corporation) at room temperature with the use of a toluene solution.
  • an emission spectrum of PCBAPA was measured using a fluorescence spectrophotometer (FS920,manufactured by Hamamatsu Photonics Corporation) at room temperature with the use of a toluene solution.
  • the measurement results are shown in FIG. 12 .
  • PCBAPA was deposited by a deposition method, and a thin film of PCBAPA was measured in a similar manner.
  • the measurement results are shown in FIG. 13 .
  • the horizontal axis indicates the wavelength (nm)
  • the vertical axis indicates the absorption intensity (arbitrary unit) and the emission intensity (arbitrary unit).
  • FIG. 14 a light-emitting element of the present invention is described using FIG. 14 .
  • Chemical formulae of materials used in this example are shown below.
  • indium tin oxide containing silicon oxide was deposited over a glass substrate 1100 by a sputtering method, whereby a first electrode 1101 was formed. It is to be noted that the film thickness of the first electrode was set to be 110 nm and that the area of the electrode was set to be 2 mm ⁇ 2 mm.
  • the substrate over which the first electrode was formed was fixed to a substrate holder provided in a vacuum deposition apparatus so that a surface on which the first electrode was formed faced downward.
  • a layer 1102 containing a composite material of an organic compound and an inorganic compound was formed over the first electrode 1101 by co-deposition of NPB and molybdenum(VI) oxide.
  • the co-deposition method is a deposition method in which deposition is performed from a plurality of evaporation sources at the same time in one treatment chamber.
  • NPB was deposited to a thickness of 10 nm over the layer 1102 containing a composite material by a deposition method using resistive heating, whereby a hole-transporting layer 1103 was formed.
  • a light-emitting layer 1104 was formed over the hole-transporting layer 1103 to a thickness of 30 nm.
  • tris(8-quinolinolato)aluminum (Alq) was deposited to a thickness of 10 nm over the light-emitting layer 1104 by a deposition method using resistive heating, whereby an electron-transporting layer 1105 was formed.
  • an electron-injecting layer 1106 was formed to a thickness of 20 nm over the electron-transporting layer 1105 .
  • FIG. 15 Current density-luminance characteristics, voltage-luminance characteristics, luminance-current efficiency characteristics, and luminance-external quantum efficiency of the light-emitting element 1 are shown in FIG. 15 , FIG. 16 , FIG. 17 , and FIG. 18 , respectively.
  • the emission spectrum measured at a current of 1 mA is shown in FIG. 19 . From FIG. 19 , it can be seen that light emitted from the light-emitting element was from PCBAPA.
  • the external quantum efficiency of the light-emitting element 1 measured at luminance of 820 cd/m 2 was 2.9%, which is indicative of high external quantum efficiency.
  • the light-emitting element 1 has high emission efficiency.
  • the current efficiency of the light-emitting element 1 measured at luminance of 820 cd/m 2 was 4.2 cd/A, which is indicative of high luminous efficiency.
  • the driving voltage of the light-emitting element 1 measured at luminance of 820 cd/m 2 was 5.2 V, and a voltage needed to obtain a given luminance is low. Thus, it is found that power consumption for the light-emitting element 1 is low.
  • FIG. 20 a light-emitting element of the present invention is described using FIG. 20 .
  • Chemical formulae of materials used in this example are shown below.
  • indium tin oxide containing silicon oxide was deposited over a glass substrate 2100 by a sputtering method, whereby a first electrode 2101 was formed. It is to be noted that the film thickness of the first electrode was set to be 110 nm and that the area of the electrode was set to be 2 mm ⁇ 2 mm.
  • the substrate over which the first electrode was formed was fixed to a substrate holder provided in a vacuum deposition apparatus so that a surface on which the first electrode was formed faced downward.
  • a layer 2102 containing a composite material of an organic compound and an inorganic compound was formed over the first electrode 2101 by co-deposition of NPB and molybdenum(VI) oxide.
  • the co-deposition method is a deposition method in which deposition is performed from a plurality of evaporation sources at the same time in one treatment chamber.
  • NPB was deposited over the layer 2102 containing a composite material to a thickness of 10 nm by a deposition method using resistive heating, whereby a hole-transporting layer 2103 was formed.
  • a first layer 2121 was formed over the hole-transporting layer 2103 to a thickness of 30 nm.
  • a second layer 2122 was formed over the first layer 2121 to a thickness of 30 nm.
  • tris(8-quinolinolato)aluminum (Alq) was deposited over the second layer 2122 to a thickness of 10 nm by a deposition method using resistive heating, whereby an electron-transporting layer 2104 was formed.
  • an electron-injecting layer 2105 was formed over the electron-transporting layer 2104 to a thickness of 20 nm.
  • FIG. 21 Current density-luminance characteristics, voltage-luminance characteristics, luminance-current efficiency characteristics, and luminance-external quantum efficiency of the light-emitting element 2 are shown in FIG. 21 , FIG. 22 , FIG. 23 , and FIG. 24 , respectively.
  • the emission spectrum measured at a current of 1 mA is shown in FIG. 25 . From FIG. 25 , it can be seen that light emitted from the light-emitting element was from PCBAPA.
  • the external quantum efficiency of the light-emitting element 2 measured at luminance of 990 cd/m 2 was 3.3%, which is indicative of high external quantum efficiency.
  • the light-emitting element 2 has high emission efficiency.
  • the current efficiency of the light-emitting element 2 measured at luminance of 990 cd/m 2 was 4.1 cd/A, which is indicative of high luminous efficiency.
  • the driving voltage of the light-emitting element 2 measured at luminance of 990 cd/m 2 was 6.4 V, and a voltage needed to obtain a given luminance is low. Thus, it is found that power consumption for the light-emitting element 2 is low.
  • Step 2 Synthesis of 4-[4-(10-phenyl-9-anthryl)phenyl]-4′-(9-phenyl-9H-carbazol-3-yl)triphenylamine (PCBAPBA)
  • FIGS. 28A and 28B The obtained solid was analyzed by 1 H NMR. The measurement results are described below, and the 1 H NMR chart is shown in FIGS. 28A and 28B . It is to be noted that FIG. 28B is a chart showing an enlarged view of the range of 7.0 to 8.5 ppm in FIG. 28A . From the measurement results, it can be seen that the anthracene derivative PCBAPBA of the present invention represented by the above structural formula (300) was obtained.
  • thermogravimetry-differential thermal analysis of PCBAPBA was carried out using a high vacuum differential type differential thermal balance (TG-DTA2410SA, manufactured by Bruker AXS K.K.). The measurement was performed under normal pressure in a stream of nitrogen (at a flow rate of 200 mL/min) at a rate of temperature increase of 10° C./min. From the relationship between the weight and the temperature (thermogravimetry), it was understood that a 5% weight reduction was seen at temperatures of more than 500° C., which is indicative of high thermal stability.
  • an absorption spectrum of PCBAPBA was measured using an ultraviolet-visible spectrophotometer (V-550,manufactured by JASCO Corporation) at room temperature with the use of a toluene solution.
  • the measurement results are shown in FIG. 29 .
  • the horizontal axis indicates the wavelength (nm) and the vertical axis indicates the absorption intensity (arbitrary unit).
  • an emission spectrum of PCBAPBA was measured using a fluorescence spectrophotometer (FS920, manufactured by Hamamatsu Photonics Corporation) at room temperature with the use of a toluene solution.
  • the measurement results are shown in FIG. 30 .
  • FIG. 30 In FIG.
  • the horizontal axis indicates the wavelength (nm) and the vertical axis indicates the emission intensity (arbitrary unit).
  • Absorption of the toluene solution of PCBAPBA was seen at around 373 nm and around 395 nm.
  • the maximum emission wavelength of the toluene solution was 440 nm (an excitation wavelength of 370 nm).
  • PCBAPBA was deposited by a deposition method, and a thin film of PCBAPA was measured in a similar manner.
  • An absorption spectrum of the thin film of PCBAPA is shown in FIG. 31
  • an emission spectrum thereof is shown in FIG. 32 .
  • the horizontal axis indicates the wavelength (nm) and the vertical axis indicates the absorption intensity (arbitrary unit).
  • the horizontal axis indicates the wavelength (nm) and the vertical axis indicates the emission intensity (arbitrary unit).
  • Absorption of the thin film of PCBAPBA was seen at around 267 nm, around 343 nm, around 379 nm, and around 402 nm.
  • the maximum emission wavelength of the toluene solution was 458 nm (an excitation wavelength of 400 nm).
  • PCBAPBA emits blue light with high color purity.
  • FIG. 14 a light-emitting element of the present invention is described using FIG. 14 .
  • Chemical formulae of materials used in this example are shown below.
  • indium tin oxide containing silicon oxide was deposited over a glass substrate 1100 by a sputtering method, whereby a first electrode 1101 was formed. It is to be noted that the film thickness of the first electrode was set to be 110 nm and that the area of the electrode was set to be 2 mm ⁇ 2 mm.
  • the substrate over which the first electrode was formed was fixed to a substrate holder provided in a vacuum deposition apparatus so that a surface on which the first electrode was formed faced downward.
  • a layer 1102 containing a composite material of an organic compound and an inorganic compound was formed over the first electrode 1101 by co-deposition of NPB and molybdenum(VI) oxide.
  • the co-deposition method is a deposition method in which deposition is carried out from a plurality of evaporation sources at the same time in one treatment chamber.
  • NPB was deposited over the layer 1102 containing a composite material to a thickness of 10 nm by a deposition method using resistive heating, whereby a hole-transporting layer 1103 was formed.
  • a light-emitting layer 1104 was formed over the hole-transporting layer 1103 to a thickness of 30 nm.
  • bathophenanthroline BPhen
  • BPhen bathophenanthroline
  • lithium fluoride (LiF) was deposited over the electron-transporting layer 1105 to a thickness of 1 nm, whereby an electron-injecting layer 1106 is formed.
  • FIG. 33 Current density-luminance characteristics, voltage-luminance characteristics, and luminance-current efficiency characteristics of the light-emitting element 3 are shown in FIG. 33 , FIG. 34 , and FIG. 35 , respectively.
  • the emission spectrum measured at a current of 1 mA is shown in FIG. 36 . From FIG. 36 , it can be seen that light emitted from the light-emitting element was from PCBA BA.
  • the external quantum efficiency of the light-emitting element 3 measured at luminance of 950 cd/m 2 was 3.7%, which is indicative of high external quantum efficiency. From FIG. 35 , it can be seen that the current efficiency of the light-emitting element 3 measured at luminance of 950 cd/m 2 was 3.9 cd/A, which is indicative of high luminous efficiency. From FIG. 34 , the driving voltage of the light-emitting element 3 measured at luminance of 950 cd/m 2 was 3.2 V, and a voltage needed to obtain a given luminance is low. Furthermore, the power efficiency of the light-emitting element 3 was 3.9 lm/W, and thus, it is found that power consumption for the light-emitting element 3 is low.

Landscapes

  • Chemical & Material Sciences (AREA)
  • Organic Chemistry (AREA)
  • Engineering & Computer Science (AREA)
  • Materials Engineering (AREA)
  • Physics & Mathematics (AREA)
  • Spectroscopy & Molecular Physics (AREA)
  • Chemical Kinetics & Catalysis (AREA)
  • General Chemical & Material Sciences (AREA)
  • Optics & Photonics (AREA)
  • Electroluminescent Light Sources (AREA)
  • Indole Compounds (AREA)
  • Low-Molecular Organic Synthesis Reactions Using Catalysts (AREA)
  • Organic Low-Molecular-Weight Compounds And Preparation Thereof (AREA)

Abstract

An anthracene derivative represented by a general formula (1) and an organic compound represented by a general formula (8) are provided. Further, by use of the anthracene derivative represented by the general formula (1), a light-emitting element with high emission efficiency can be obtained. Furthermore, by use of the anthracene derivative represented by the general formula (1), a light-emitting element that emits blue light with high color purity can be obtained.
Figure US08835018-20140916-C00001

Description

BACKGROUND OF THE INVENTION
1. Field of the Invention
The present invention relates to organic compounds, anthracene derivatives, and light-emitting elements, light-emitting devices, and electronic devices in which the anthracene derivatives are used.
2. Description of the Related Art
In a light-emitting element, a layer containing an organic compound is interposed between a pair of electrodes. Such a light-emitting element is characterized in that a thin and lightweight element can be fabricated, light is emitted by supply of direct current, response is faster compared to liquid crystals, and the like. Moreover, light-emitting devices in which such light-emitting elements are arranged in matrix form, that is, passive matrix light-emitting devices and active matrix light-emitting devices are superior to conventional liquid crystal displays in terms of wide viewing angle and high visibility. From such reasons, light-emitting elements are desired to be applied to next-generation flat panel displays. In some cases, light-emitting elements are referred to as electroluninescent elements or EL elements.
Electrons are injected from a cathode into a layer containing an organic compound interposed between a pair of electrodes, and at the same time, holes are injected from an anode into the layer containing an organic compound, whereby a light-emitting element is driven. The electrons injected from the cathode and the holes injected from the anode are recombined with each other in the layer containing an organic compound to form molecular excitons. The molecular excitons release energy in returning to a ground state. When the energy is released as light having a wavelength corresponding to that of visible light, light emission can be seen. Excited states of organic compounds include a singlet state and a triplet state, and when either state is the excited state, light can be emitted.
An emission wavelength of a light-emitting element is determined by the energy gap between a ground state and an excited state formed by the recombination that is, a band gap. Therefore, a structure of a molecule that serves for emitting light is selected or modified as appropriate, whereby any emission color of light can be obtained. Further, full color light-emitting device can be manufactured when light-emitting elements that are capable of emitting light of red, blue, and green that are three primary colors of light are used for the manufacture of the light-emitting device.
In order to manufacture a full color light-emitting device with excellent color reproducibility, red, blue, and green light-emitting elements that are highly reliable and excellent in color purity are needed. As a result of recent developments of materials, high reliability and excellent color purity for red and green light-emitting elements have been achieved. However, enough efficiency and color purity for a blue light-emitting element have not been achieved. For example, in Nonpatent Document 1 (J. Shi et al., Applied Physics Letters, Vol. 80, No. 17, pp. 3201-3203, 2002), a blue light-emitting element with relatively high reliability is reported. For the light-emitting element, however, enough emission efficiency and color is not achieved.
SUMMARY OF THE INVENTION
In view of the foregoing problems, objects of the present invention are to provide novel anthracene derivatives and organic compounds.
Another object of the present invention is to provide a light-emitting element with high emission efficiency. Further, another object of the present invention is to provide a light-emitting element that emits blue light with high color purity.
Other objects of the present invention are to provide a light-emitting device and an electronic device in which power consumption is reduced.
As a result of diligent study, the present inventors have found that the problems can be solved with an anthracene derivative represented by a general formula (1) given below. Thus, one aspect of the present invention is an anthracene derivative represented by a general formula (1) given below.
Figure US08835018-20140916-C00002
In the above general formula (1), Ar1 and Ar2 may be the same or different from each other and each represent a substituted or unsubstituted aryl group having 6 to 25 carbon atoms; α and β may be the same or different from each other and each represent a substituted or unsubstituted arylene group having 6 to 25 carbon atoms; R1 represents an alkyl group having 1 to 4 carbon atoms or a substituted or unsubstituted aryl group having 6 to 25 carbon atoms; R2 represents one of hydrogen, an alkyl group having 1 to 4 carbon atoms, a substituted or unsubstituted aryl group having 6 to 25 carbon atoms, a halogen group, and a haloalkyl group; and R11 to R18 may be the same or different from each other and each represent hydrogen or an alkyl group having 1 to 4 carbon atoms.
One aspect of the present invention is an anthracene derivative represented by a general formula (2) given below.
Figure US08835018-20140916-C00003
In the above general formula (2), Ar1 represents a substituted or unsubstituted aryl group having 6 to 25 carbon atoms; α and β may be the same or different from each other and each represent a substituted or unsubstituted arylene group having 6 to 25 carbon atoms; R1 represents an alkyl group having 1 to 4 carbon atoms or a substituted or unsubstituted aryl group having 6 to 25 carbon atoms; R2 represents one of hydrogen, an alkyl group having 1 to 4 carbon atoms, a substituted or unsubstituted aryl group having 6 to 25 carbon atoms, a halogen group, and a haloalkyl group; R3 to R7 may be the same or different from each other and each represent one of hydrogen, an alkyl group having 1 to 4 carbon atoms, a halogen group, and a haloalkyl group; and R11 to R18 may be the same or different from each other and each represent hydrogen or an alkyl group having 1 to 4 carbon atoms.
One aspect of the present invention is an anthracene derivative represented by a general formula (3) given below.
Figure US08835018-20140916-C00004
In the above general formula (3), Ar1 and Ar2 may be the same or different from each other and each represent a substituted or unsubstituted aryl group having 6 to 25 carbon atoms; α represents a substituted or unsubstituted arylene group having 6 to 25 carbon atoms; R1 represents an alkyl group having 1 to 4 carbon atoms or a substituted or unsubstituted aryl group having 6 to 25 carbon atoms; R2 represents one of hydrogen, an alkyl group having 1 to 4 carbon atoms, a substituted or unsubstituted aryl group having 6 to 25 carbon atoms, a halogen group, and a haloalkyl group; and R11 to R18 may be the same or different from each other and each represent hydrogen or an alkyl group having 1 to 4 carbon atoms.
One aspect of the present invention is an anthracene derivative represented by a general formula (4) given below.
Figure US08835018-20140916-C00005
In the above general formula (4), Ar1 each represents a substituted or unsubstituted aryl group having 6 to 25 carbon atoms; α represents a substituted or unsubstituted arylene group having 6 to 25 carbon atoms; R1 represents an alkyl group having 1 to 4 carbon atoms or a substituted or unsubstituted aryl group having 6 to 25 carbon atoms; R2 represents one of hydrogen, an alkyl group having 1 to 4 carbon atoms, a substituted or unsubstituted aryl group having 6 to 25 carbon atoms, a halogen group, and a haloalkyl group; R3 to R7 may be the same or different from each other and each represent one of hydrogen, an alkyl group having 1 to 4 carbon atoms, a halogen group, and a haloalkyl group; and R11 to R18 may be the same or different from each other and each represent hydrogen or an alkyl group having 1 to 4 carbon atoms.
One aspect of the present invention is an anthracene derivative represented by a general formula (5) given below.
Figure US08835018-20140916-C00006
In the above general formula (5), Ar1 represents a substituted or unsubstituted aryl group having 6 to 25 carbon atoms; R1 represents an alkyl group having 1 to 4 carbon atoms or a substituted or unsubstituted aryl group having 6 to 25 carbon atoms; R2 represents one of hydrogen, an alkyl group having 1 to 4 carbon atoms, a substituted or unsubstituted aryl group having 6 to 25 carbon atoms, a halogen group, and a haloalkyl group; R3 to R7 may be the same or different from each other and each represent one of hydrogen, an alkyl group having 1 to 4 carbon atoms, a halogen group, and a haloalkyl group; R11 to R18 may be the same or different from each other and each represent hydrogen or an alkyl group having 1 to 4 carbon atoms; and R19 to R22 may be the same or different from each other and each represent one of hydrogen, an alkyl group having 1 to 4 carbon atoms, and an alkoxy group having 1 to 4 carbon atoms.
One aspect of the present invention is an anthracene derivative represented by a general formula (6) given below.
Figure US08835018-20140916-C00007
In the above general formula (6), R1 represents an alkyl group having 1 to 4 carbon atoms or a substituted or unsubstituted aryl group having 6 to 25 carbon atoms; R2 represents one of hydrogen, an alkyl group having 1 to 4 carbon atoms, a substituted or unsubstituted aryl group having 6 to 25 carbon atoms, a halogen group, and a haloalkyl group; R3 to R7 may be the same or different from each other and each represent one of hydrogen, an alkyl group having 1 to 4 carbon atoms, a halogen group, and a haloalkyl group; R11 to R18 may be the same or different from each other and each represent hydrogen or an alkyl group having 1 to 4 carbon atoms; and R19 to R27 may be the same or different from each other and each represent one of hydrogen, an alkyl group having 1 to 4 carbon atoms, and an alkoxy group having 1 to 4 carbon atoms.
One aspect of the present invention is an anthracene derivative represented by a general formula (7) given below.
Figure US08835018-20140916-C00008
One aspect of the present invention is a light-emitting element that contains any of the above anthracene derivatives, that is, a light-emitting element that contains any of the above anthracene derivatives between a pair of electrodes.
Further, since the above anthracene derivatives have high emission efficiency, it is preferred that each of them be used for a light-emitting layer. Thus, one aspect of the present invention is a light-emitting element that includes a light-emitting layer between a pair of electrodes, where the light-emitting layer contains any of the above anthracene derivatives.
The light-emitting element of the present invention thus obtained can be made to have a long life, and thus, a light-emitting device (e.g., an image display device) in which such a light-emitting element is used can be made to have a long life. Thus, the present invention also covers the light-emitting device and an electronic device in which the light-emitting element of the present invention is used.
The light-emitting device of the present invention is characterized in that it includes a light-emitting element that contains any of the above-described anthracene derivatives and a control circuit configured to control light emission from the light-emitting element. The category of the light-emitting device in this specification includes an image display device in which a light-emitting element is used. Further, the category of the light-emitting device also includes a module in which a connecter such as an anisotropic film, a tape automated bonding (TAB) tape, or a tape carrier package (TCP) is attached to a light-emitting element; a module in which a printed wiring board is provided at an end of a TAB tape or a TCP; and a module in which an integrated circuit (IC) is directly mounted on a light-emitting element by a chip on glass (COG) method. In addition, the category includes a light-emitting device used for a lighting device or the like.
Further, an electronic device in which the light-emitting element of the present invention is used for its display portion is also included in the category of the present invention. Accordingly, one aspect of the present invention is an electronic device having a display portion, where the display portion includes the above-described light-emitting element and a control circuit configured to control light emission from the light-emitting element.
Furthermore, the present invention also covers organic compounds used for the synthesis of the anthracene derivatives of the present invention because the organic compounds used for the synthesis of the anthracene derivatives of the present invention are novel materials. Accordingly, one aspect of the present invention is an organic compound represented by a general formula (8) given below.
Figure US08835018-20140916-C00009
In the above general formula (8), Ar2 represents a substituted or unsubstituted aryl group having 6 to 25 carbon atoms; β represents a substituted or unsubstituted arylene group having 6 to 25 carbon atoms; R1 represents an alkyl group having 1 to 4 carbon atoms or a substituted or unsubstituted aryl group having 6 to 25 carbon atoms; and R2 represents one of hydrogen, an alkyl group having 1 to 4 carbon atoms, a substituted or unsubstituted aryl group having 6 to 25 carbon atoms, a halogen group, and a haloalkyl group.
One aspect of the present invention is an organic compound represented by a general formula (9) given below.
Figure US08835018-20140916-C00010
In the above general formula (9), β represents a substituted or unsubstituted arylene group having 6 to 25 carbon atoms; R1 represents an alkyl group having 1 to 4 carbon atoms or a substituted or unsubstituted aryl group having 6 to 25 carbon atoms; R2 represents one of hydrogen, an alkyl group having 1 to 4 carbon atoms, a substituted or unsubstituted aryl group having 6 to 25 carbon atoms, a halogen group, and a haloalkyl group; and R3 to R7 may be the same or different from each other and each represent one of hydrogen, an alkyl group having 1 to 4 carbon atoms, a halogen group, and a haloalkyl group.
One aspect of the present invention is an organic compound represented by a general formula (10) given below.
Figure US08835018-20140916-C00011
In the above general formula (10), Ar2 represents a substituted or unsubstituted aryl group having 6 to 25 carbon atoms; R1 represents an alkyl group having 1 to 4 carbon atoms or a substituted or unsubstituted aryl group having 6 to 25 carbon atoms; and R2 represents one of hydrogen, an alkyl group having 1 to 4 carbon atoms, a substituted or unsubstituted aryl group having 6 to 25 carbon atoms, a halogen group, and a haloalkyl group.
One aspect of the present invention is an organic compound represented by a general formula (11) given below.
Figure US08835018-20140916-C00012
In the above general formula (11), R1 represents an alkyl group having 1 to 4 carbon atoms or a substituted or unsubstituted aryl group having 6 to 25 carbon atoms; R2 represents one of hydrogen, an alkyl group having 1 to 4 carbon atoms, a substituted or unsubstituted aryl group having 6 to 25 carbon atoms, a halogen group, and a haloalkyl group; and R3 to R7 may be the same or different from each other and each represent one of hydrogen, an alkyl group having 1 to 4 carbon atoms, a halogen group, and a haloalkyl group
One aspect of the present invention is an organic compound represented by a general formula (12) given below.
Figure US08835018-20140916-C00013
In the above general formula (12), R1 represents an alkyl group having 1 to 4 carbon atoms or a substituted or unsubstituted aryl group having 6 to 25 carbon atoms; R2 represents one of hydrogen, an alkyl group having 1 to 4 carbon atoms, a substituted or unsubstituted aryl group having 6 to 25 carbon atoms, a halogen group, and a haloalkyl group; and R3 to R7 may be the same or different from each other and each represent one of hydrogen, an alkyl group having 1 to 4 carbon atoms, a halogen group, and a haloalkyl group.
One aspect of the present invention is an organic compound represented by a general formula (13) given below.
Figure US08835018-20140916-C00014
The anthracene derivatives of the present invention have high emission efficiency. Furthermore, the anthracene derivatives of the present invention can emit blue light with high color purity.
Furthermore, by use of any of the anthracene derivatives of the present invention, a light-emitting element with high emission efficiency can be obtained. Further, a light-emitting element that emits blue light with high color purity can also be obtained.
Furthermore, by use of any of the anthracene derivatives of the present invention, a light-emitting device and an electronic device in which power consumption is reduced can be obtained.
BRIEF DESCRIPTION OF THE DRAWINGS
FIG. 1 illustrates a light-emitting element of the present invention.
FIG. 2 illustrates a light-emitting element of the present invention.
FIG. 3 illustrates a light-emitting element of the present invention.
FIGS. 4A and 4B illustrate a light-emitting device of the present invention.
FIGS. 5A and 5B illustrate a light-emitting device of the present invention.
FIGS. 6A to 6D illustrate electronic devices of the present invention.
FIG. 7 illustrates a lighting device of the present invention.
FIG. 8 illustrates a lighting device of the present invention.
FIG. 9 illustrates a lighting device of the present invention.
FIGS. 10A and 10B are 1H-NMR charts of 4-(9-phenyl-9H-carbazol-3-yl)diphenylamine (abbreviated to PCBA).
FIGS. 11A and 11B are 1H-NMR charts of 4-(10-phenyl-9-anthryl)-4′-(9-phenyl-9H-carbazol-3-yl)triphenylamine (abbreviated to PCBAPA).
FIG. 12 illustrates an absorption spectrum and an emission spectrum of a toluene solution of 4-(10-phenyl-9-anthryl)-4′-(9-phenyl-9H-carbazol-3-yl)triphenylamine (PCBAPA).
FIG. 13 illustrates an absorption spectrum and an emission spectrum of a thin film of 4-(10-phenyl-9-anthryl)-4′-(9-phenyl-9H-carbazol-3-yl)triphenylamine (PCBAPA).
FIG. 14 illustrates a light-emitting element of Example 2.
FIG. 15 illustrates current density-luminance characteristics of a light-emitting element fabricated in Example 2.
FIG. 16 illustrates voltage-luminance characteristics of a light-emitting element fabricated in Example 2.
FIG. 17 illustrates luminance-current efficiency characteristics of a light-emitting element fabricated in Example 2.
FIG. 18 illustrates luminance-external quantum efficiency characteristics of a light-emitting element fabricated in Example 2.
FIG. 19 illustrates an emission spectrum of a light-emitting element fabricated in Example 2.
FIG. 20 illustrates a light-emitting element of Example 3.
FIG. 21 illustrates current density-luminance characteristics of a light-emitting element fabricated in Example 3.
FIG. 22 illustrates voltage-luminance characteristics of a light-emitting element fabricated in Example 3.
FIG. 23 illustrates luminance-current efficiency characteristics of a light-emitting element fabricated in Example 3.
FIG. 24 illustrates luminance-external quantum efficiency characteristics of a light-emitting element fabricated in Example 3.
FIG. 25 illustrates an emission spectrum of a light-emitting element fabricated in Example 3.
FIG. 26 illustrates a result of a continuous lighting test of a light-emitting element fabricated in Example 2.
FIG. 27 illustrates a result of a continuous lighting test of a light-emitting element fabricated in Example 3.
FIGS. 28A and 28B are 1H-NMR charts of 4-[4-(10-phenyl-9-anthryl)phenyl]-4′-(9-phenyl-9H-carbazol-3-yl)triphenylamine (abbreviated to PCBAPBA).
FIG. 29 illustrates an absorption spectrum of a toluene solution of 4-[4-(10-phenyl-9-anthryl)phenyl]-4′-(9-phenyl-9H-carbazol-3-yl)triphenylamine (PCBAPBA).
FIG. 30 illustrates an emission spectrum of a toluene solution of 4-[4-(10-phenyl-9-anthryl)phenyl]-4′-(9-phenyl-9H-carbazol-3-yl)triphenylamine (PCBAPBA).
FIG. 31 illustrates an absorption spectrum of a thin film of 4-[4-(10-phenyl-9-anthryl)phenyl]-4′-(9-phenyl-9H-carbazol-3-yl)triphenylamine (PCBAPBA).
FIG. 32 illustrates an emission spectrum of a thin film of 4-[4-(10-phenyl-9-anthryl)phenyl]-4′-(9-phenyl-9H-carbazol-3-yl)triphenylamine (PCBAPBA).
FIG. 33 illustrates current density-luminance characteristics of a light-emitting element fabricated in Example 5.
FIG. 34 illustrates voltage-luminance characteristics of a light-emitting element fabricated in Example 5.
FIG. 35 illustrates luminance-current efficiency characteristics of a light-emitting element fabricated in Example 5.
FIG. 36 illustrates an emission spectrum of a light-emitting element fabricated in Example 5.
DETAILED DESCRIPTION OF THE INVENTION
Hereinafter, embodiment modes and examples of the present invention are described using the accompanying drawings. It is easily understood by those skilled in the art that a variety of changes may be made in forms and details without departing from the spirit and the scope of the present invention. Therefore, the present invention should not be limited to the description of the embodiment modes and examples below.
[Embodiment Mode 1]
In this embodiment mode, anthracene derivatives of the present invention are described.
An anthracene derivative of the present invention is represented by the general formula (1).
Figure US08835018-20140916-C00015
In the above general formula (1), Ar1 and Ar2 may be the same or different from each other and each represent a substituted or unsubstituted aryl group having 6 to 25 carbon atoms; α and β may be the same or different from each other and each represent a substituted or unsubstituted arylene group having 6 to 25 carbon atoms; R1 represents an alkyl group having 1 to 4 carbon atoms or a substituted or unsubstituted aryl group having 6 to 25 carbon atoms; R2 represents one of hydrogen, an alkyl group having 1 to 4 carbon atoms, a substituted or unsubstituted aryl group having 6 to 25 carbon atoms, a halogen group, and a haloalkyl group; and R11 to R18 may be the same or different from each other and each represent hydrogen or an alkyl group having 1 to 4 carbon atoms.
Structures shown in (Ar-1) to (Ar-19) are given as examples of substituents represented by Ar1 and Ar2 in the above general formula (1). Further, Ar1 may have an alkyl group having 1 to 4 carbon atoms or an alkoxy group having 1 to 4 carbon atoms. In fabrication of a light-emitting element by a wet process, using any of the anthracene derivatives of the present invention, it is preferred that Ar1 have an alkyl group having 1 to 4 carbon atoms or an alkoxy group having 1 to 4 carbon atoms because such a structure increases the solubility of the anthracene derivative of the present invention.
Figure US08835018-20140916-C00016
Figure US08835018-20140916-C00017
Figure US08835018-20140916-C00018
Figure US08835018-20140916-C00019
Structures shown in (α-1) to (α-12) are given as examples of a structure represented by α in the above general formula (1). Further, a may have an alkyl group having 1 to 4 carbon atoms or an alkoxy group having 1 to 4 carbon atoms. When α has an alkyl group having 1 to 4 carbon atoms or an alkoxy group having 1 to 4 carbon atoms, the solubility of the anthracene derivative of the present invention is increased; therefore, a light-emitting element can be fabricated using any of the anthracene derivatives of the present invention by a wet process.
Figure US08835018-20140916-C00020
Figure US08835018-20140916-C00021
Structures shown in (β-1) to (β-10) are given as examples of a structure represented by β in the above general formula (1).
Figure US08835018-20140916-C00022
Figure US08835018-20140916-C00023
Structures shown in (R1-1) to (R1-21) are given as examples of a substituent represented by R1 in the above general formula (1).
Figure US08835018-20140916-C00024
Figure US08835018-20140916-C00025
Figure US08835018-20140916-C00026
Structures shown in (R2-1) to (R2-24) are given as examples of a substituent represented by R2 in the above general formula (1).
Figure US08835018-20140916-C00027
Figure US08835018-20140916-C00028
Figure US08835018-20140916-C00029
Specific examples of such an anthracene derivative of the present invention include, but are not limited to, anthracene derivatives represented by structural formulae (100) to (164) given below.
Figure US08835018-20140916-C00030
Figure US08835018-20140916-C00031
Figure US08835018-20140916-C00032
Figure US08835018-20140916-C00033
Figure US08835018-20140916-C00034
Figure US08835018-20140916-C00035
Figure US08835018-20140916-C00036
Figure US08835018-20140916-C00037
Figure US08835018-20140916-C00038
Figure US08835018-20140916-C00039
Figure US08835018-20140916-C00040
Figure US08835018-20140916-C00041
Figure US08835018-20140916-C00042
Figure US08835018-20140916-C00043
Figure US08835018-20140916-C00044
Figure US08835018-20140916-C00045
Figure US08835018-20140916-C00046
Figure US08835018-20140916-C00047
Figure US08835018-20140916-C00048
Figure US08835018-20140916-C00049
Figure US08835018-20140916-C00050
Figure US08835018-20140916-C00051
Figure US08835018-20140916-C00052
Figure US08835018-20140916-C00053
Figure US08835018-20140916-C00054
Figure US08835018-20140916-C00055
Figure US08835018-20140916-C00056
Figure US08835018-20140916-C00057
Figure US08835018-20140916-C00058
Figure US08835018-20140916-C00059
Figure US08835018-20140916-C00060
Figure US08835018-20140916-C00061
Any of a variety of reactions can be employed for a synthesis method of the anthracene derivatives of the present invention. For example, the synthesis can be performed by use of any of the synthesis methods shown in synthesis schemes (a-1) to (a-3) given below.
Figure US08835018-20140916-C00062
First, 9-halid-10-arylanthracene (Compound 1) and halogenated aryl boronic acid or halogenated aryl organic boron compound (Compound 7) are coupled by Suzuki-Miyaura Coupling using a palladium catalyst, whereby 9-(halogenated aryl)-10-arylanthracene (Compound 2) can be obtained. In the synthesis scheme, X1 represents a halogen or a triflate group, and X2 represents a halogen. When X1 is a halogen, X1 and X2 may be the same or different from each other. Use of iodine and bromine are preferable for the halogen. It is more preferable that X1 be iodine and that X2 be bromine. Further, R100 and R101 each represent hydrogen or an alkyl group having 1 to 6 carbon atoms, may be the same or different from each other, and may be combined with each other to form a ring. Ar1 represents a substituted or unsubstituted aryl group having 6 to 25 carbon atoms. α represents a substituted or unsubstituted arylene group having 6 to 25 carbon atoms. Examples of the palladium catalyst that can be used in the synthesis scheme (a-1) include, but are not limited to, palladium(II) acetate, tetrakis(triphenylphosphine)palladium(0), and the like. Examples of the ligand in the palladium catalyst, which can be used in the synthesis scheme (a-1), include, but are not limited to, tri(ortho-tolyl)phosphine, triphenylphosphine, tricyclohexylphosphine, and the like. Examples of the base that can be used in the synthesis scheme (a-1) include, but are not limited to, organic bases such as sodium tert-butoxide, inorganic bases such as potassium carbonate, and the like. Examples of the solvent that can be used in the synthesis scheme (a-1) include, but are not limited to, a mixed solvent of toluene and water; a mixed solvent of toluene, an alcohol such as ethanol, and water; a mixed solvent of xylene and water; a mixed solvent of xylene, an alcohol such as ethanol, and water; a mixed solvent of benzene and water; a mixed solvent of benzene, an alcohol such as ethanol, and water; a mixed solvent of an ether such as ethyleneglycoldinethylether and water; and the like. Use of the mixed solvent of toluene and water or the mixed solvent of toluene, ethanol, and water is more preferable.
Figure US08835018-20140916-C00063
Diarylamine halide (Compound 3) and 9H-carbazole-3-boronic acid or a compound obtained by 9H-carbazole in which the 3-position is substituted with organoboron (Compound 4) are coupled by Suzuki-Miyaura Coupling using a palladium catalyst, whereby a carbazole compound in which the 3-position is substituted with diarylamine (Compound 5) can be obtained. In the synthesis scheme, Ar2 represents a substituted or unsubstituted aryl group having 6 to 25 carbon atoms X4 represents a halogen or a triflate group, and iodine or bromine can be used as the halogen. β represents a substituted or unsubstituted arylene group having 6 to 25 carbon atoms. R1 represents an alkyl group having 1 to 4 carbon atoms or a substituted or unsubstituted aryl group having 6 to 25 carbon atoms. R2 represents one of hydrogen, an alkyl group having 1 to 4 carbon atoms, a substituted or unsubstituted aryl group having 6 to 25 carbon atoms, a halogen group, and a haloalkyl group. R102 and R103 each represent hydrogen or an alkyl group having 1 to 6 carbon atoms, may be the same or different from each other, and combined with each other to form a ring. Examples of the palladium catalyst that can be used in the synthesis scheme (a-2) include, but are not limited to, palladium(II) acetate, tetrakis(triphenylphosphine)palladium(0), and the like. Examples of the ligand that can be used in the synthesis scheme (a-2) include, but are not limited to, tri(ortho-tolyl)phosphine, triphenylphosphine, tricyclohexylphosphine, and the like. Examples of the base that can be used in the synthesis scheme (a-2) include, but are not limited to, organic bases such as sodium tert-butoxide, inorganic bases such as potassium carbonate, and the like. Examples of the solvent that can be used in the synthesis scheme (a-2) include, but are not limited to, a mixed solvent of toluene and water; a mixed solvent of toluene, an alcohol such as ethanol, and water; a mixed solvent of xylene and water; a mixed solvent of xylene, an alcohol such as ethanol, and water; a mixed solvent of benzene and water; a mixed solvent of benzene, an alcohol such as ethanol, and water; a mixed solvent of an ether such as ethyleneglycoldimethylether and water; and the like. Use of the mixed solvent of toluene and water or the mixed solvent of toluene, ethanol, and water is more preferable.
Figure US08835018-20140916-C00064
Then, the 9-(halogenated aryl)-10-arylanthracene (Compound 2) obtained by the synthesis scheme (a-1) and the carbazole compound in which the 3-position is substituted with diarylamine (Compound 5) obtained by the synthesis scheme (a-2) are coupled by a Buchwald-Hartwig reaction using a palladium catalyst or an Ullmann reaction using copper or a copper compound, whereby Compound 6 which is one of the anthracene derivatives of the present invention can be obtained. When a Buchwald-Hartwig reaction is performed in the synthesis scheme (a-3), examples of the palladium catalyst that can be used in the synthesis scheme (a-3) include, but are not limited to, bis(dibenzylideneacetone)palladium(0), palladium(II) acetate, and the like. Examples of the ligand in the palladium catalyst, which can be used in the synthesis scheme (a-3), include, but are not limited to, tri(tert-butyl)phosphine, tri(n-hexyl)phosphine, tricyclohexylphosphine, and the like. Examples of the base that can be used in the synthesis scheme (a-3) include, but are not limited to, organic bases such as sodium tert-butoxide, inorganic bases such as potassium carbonate, and the like. Examples of the solvent that can be used in the synthesis scheme (a-3) include, but are not limited to, toluene, xylene, benzene, tetrahydrofuran, and the like. The case in which an Ullmann reaction is performed in the synthesis scheme (a-3) is described. In the synthesis scheme (a-3), R104 and R105 each represent a halogen, an acetyl group, or the like, and chlorine, bromine, or iodine can be used as the halogen. It is preferred that R104 be iodine to form copper(I) iodide or that R105 be an acetyl group to form a copper(II) acetate. The copper compound used in the reaction is not limited to these, and copper can be used instead of the copper compound. Examples of the base that can be used in the synthesis scheme (a-3) include, but are not limited to, an inorganic base such as potassium carbonate. Examples of the solvent that can be used in the synthesis scheme (a-3) include, but are not limited to, 1,3-dimethyl-3,4,5,6-tetrahydro-2(1H)pyrimidinone (abbreviated to DMPU), toluene, xylene, benzene, and the like. Use of DMPU or xylene that has a high boiling point is preferable because, by an Ullmann reaction, an object can be obtained in a shorter time and at a higher yield when the reaction temperature is greater than or equal to 100° C. Use of DMPU is more preferable because it is further preferable that the reaction temperature be a temperature greater than or equal to 150° C. In the synthesis scheme, Ar1 and Ar2 may be the same or different from each other and each represent a substituted or unsubstituted aryl group having 6 to 25 carbon atoms. α and β may be the same or different from each other and each represent a substituted or unsubstituted arylene group having 6 to 25 carbon atoms. X2 represents a halogen. R1 represents an alkyl group having 1 to 4 carbon atoms or a substituted or unsubstituted aryl group having 6 to 25 carbon atoms. R2 represents one of hydrogen, an alkyl group having 1 to 4 carbon atoms, a substituted or unsubstituted aryl group having 6 to 25 carbon atoms, a halogen group, and a haloalkyl group.
The anthracene derivatives of the present invention have high emission efficiency. Therefore, it is preferred that any of the anthracene derivatives of the present invention be used for a light-emitting element. Furthermore, the anthracene derivatives of the present invention emit blue light with high color purity. Thus, it is preferred that any of the anthracene derivatives of the present invention be used for a light-emitting device such as a full-color display that displays images. Further, the anthracene derivatives of the present invention can be used as a hole-transporting layer of a light-emitting element since the anthracene derivatives of the present invention have a hole-transporting property.
[Embodiment Mode 2]
In this embodiment mode, organic compounds that are materials used for the synthesis of the anthracene derivatives of the present invention are described. These organic compounds are novel materials and thus included in the present invention.
One of the organic compounds is the organic compound represented by the general formula (8).
Figure US08835018-20140916-C00065
In the above general formula (8), Ar2 represents a substituted or unsubstituted aryl group having 6 to 25 carbon atoms; β represents a substituted or unsubstituted arylene group having 6 to 25 carbon atoms; R1 represents an alkyl group having 1 to 4 carbon atoms or a substituted or unsubstituted aryl group having 6 to 25 carbon atoms; and R2 represents one of hydrogen, an alkyl group having 1 to 4 carbon atoms, a substituted or unsubstituted aryl group having 6 to 25 carbon atoms, a halogen group, and a haloalkyl group.
Structures shown in (Ar2-1) to (Ar2-19) are given as examples of a substituent represented by Ar2 in the above general formula (8).
Figure US08835018-20140916-C00066
Figure US08835018-20140916-C00067
Figure US08835018-20140916-C00068
Figure US08835018-20140916-C00069
Structures shown in (β-1) to (β-10) are given as examples of a structure represented by β in the above general formula (8).
Figure US08835018-20140916-C00070
Figure US08835018-20140916-C00071
Structures shown in (R1-1) to (R1-21) are given as examples of a substituent represented by R1 in the above general formula (8).
Figure US08835018-20140916-C00072
Figure US08835018-20140916-C00073
Figure US08835018-20140916-C00074
Structures shown in (R2-1) to (R2-24) are given as examples of a substituent represented by R2 in the above general formula (8).
Figure US08835018-20140916-C00075
Figure US08835018-20140916-C00076
Figure US08835018-20140916-C00077
Specific examples of the organic compounds of the present invention include, but are not limited to, organic compounds represented by structural formulae (200) to (264) given below.
Figure US08835018-20140916-C00078
Figure US08835018-20140916-C00079
Figure US08835018-20140916-C00080
Figure US08835018-20140916-C00081
Figure US08835018-20140916-C00082
Figure US08835018-20140916-C00083
Figure US08835018-20140916-C00084
Figure US08835018-20140916-C00085
Figure US08835018-20140916-C00086
Figure US08835018-20140916-C00087
Figure US08835018-20140916-C00088
Figure US08835018-20140916-C00089
Figure US08835018-20140916-C00090
Figure US08835018-20140916-C00091
Figure US08835018-20140916-C00092
Figure US08835018-20140916-C00093
Any of a variety of reactions can be employed for a synthesis method of the above organic compounds of the present invention. For example, the synthesis can be performed by a synthesis method that is similar to that of the compound 5 described in Embodiment Mode 1 (the synthesis scheme (a-2)).
[Embodiment Mode 3]
In this embodiment mode, one mode of a light-emitting element in which any of the anthracene derivatives of the present invention is used is described below using FIG. 1.
The light-emitting element of the present invention includes a plurality of layers between a pair of electrodes. For the plurality of layers, layers that each contain a substance having a high carrier-injecting property or a substance having a high carrier-transporting property are combined and stacked so that a light-emitting region is formed apart from the electrodes, in other words, carriers are recombined in a portion apart from the electrodes.
In this embodiment mode, the light-emitting element includes a first electrode 101, a second electrode 103, and a layer 102 that contains an organic compound formed between the first electrode 101 and the second electrode 103. It is to be noted that, in this embodiment mode, it is assumed that the first electrode 101 serves as an anode and the second electrode 103 serves as a cathode. In other words, in the description below, it is assumed that light emission can be obtained when a voltage is applied to the first electrode 101 and the second electrode 103 so that the potential of the first electrode 101 is higher than that of the second electrode 103.
A substrate 100 is used as a support of the light-emitting element. For the substrate 100, glass, plastic, or the like can be used. It is to be noted that any material other than these can be used as long as it can function as a support in a fabrication process of a light-emitting element.
It is preferred that the first electrode 101 be formed using any of metals, alloys, and conductive compounds with a high work function (specifically, 4.0 eV or higher), a mixture thereof, or the like. Specifically, indium tin oxide (ITO), indium tin oxide containing silicon or silicon oxide, indium zinc oxide (IZO), indium oxide containing tungsten oxide and zinc oxide (IWZO), or the like can be used. Such conductive metal oxide films are typically formed by sputtering, but may also be formed by application of a sol-gel method or the like. For example, a film of indium zinc oxide (IZO) can be formed using a target in which 1 wt % to 20 wt % of zinc oxide is added to indium oxide by a sputtering method. A film of indium oxide containing tungsten oxide and zinc oxide (IWZO) can be formed using a target in which 0.5 wt % to 5 wt % of tungsten oxide and 0.1 wt % to 1 wt % of zinc oxide are added to indium oxide by a sputtering method. Furthermore, gold (Au), platinum (Pt), nickel (Ni), tungsten (W), chromium (Cr), molybdenum (Mo), iron (Fe), cobalt (Co), copper (Cu), palladium (Pd), nitride of a metal material (e.g., titanium nitride), or the like can be used.
When a layer containing a composite material that is described later is used as a layer in contact with the first electrode 101, the first electrode 101 can be formed using any of a variety of metals, alloys, electrically conductive compounds, a mixture thereof or the like regardless of their work functions. For example, aluminum (Al), silver (Ag), an alloy containing aluminum (AlSi), or the like can be used. Alternatively, any of the following materials with a low work function can be used. Group 1 and Group 2 elements of the periodic table, that is, alkali metals such as lithium (Li) and cesium (Cs) and alkaline-earth metals such as magnesium (Mg), calcium (Ca), or strontium (Sr), or alloys thereof (e.g., MgAg and AlLi); rare earth metals such as europium (Eu) or ytterbium (Yb), and alloys thereof; or the like. A film containing an alkali metal, an alkaline earth metal, or an alloy thereof can be formed by a vacuum evaporation method. Alternatively, a film containing an alloy of an alkali metal or an alkaline earth metal can be formed by a sputtering method. Further alternatively, such a film can be formed using a silver paste or the like by an inkjet method or the like.
There is no particular limitation on a stacked structure of a layer 102 containing an organic compound. It is acceptable as long as the layer 102 containing an organic compound is formed by any appropriate combination of a light-emitting layer described in this embodiment mode and layers that each contain a substance having a high electron-transporting property, a substance having a high hole-transporting property, a substance having a high electron-injecting property, a substance having a high hole-injecting property, a bipolar substance (a substance having a high electron-transporting property and a high hole-transporting property), or the like. For example, a hole-injecting layer, a hole-transporting layer, a light-emitting layer, an electron-transporting layer, an electron-injecting layer, and the like can be combined. In this embodiment mode, the layer 102 containing an organic compound has a structure in which a hole-injecting layer 111, a hole-transporting layer 112, a light-emitting layer 113, and an electron-transporting layer 114 are sequentially stacked over the first electrode 101. A material of each layer is described in specific terms below.
The hole-injecting layer 111 is a layer that contains a substance having a high hole-injecting property. Molybdenum oxide, vanadium oxide, ruthenium oxide, tungsten oxide, manganese oxide, or the like can be used. Alternatively, the hole-injecting layer 111 can also be formed using any of phthalocyanine based compounds such as phthalocyanine (abbreviated to H2PC) or copper phthalocyanine (abbreviated to CuPc), aromatic amine compounds such as 4,4′-bis[N-(4-diphenylaminophenyl)-N-phenylamino]biphenyl (abbreviated to DPAB) or 4,4′-bis(N-{4-[N-(3-methylphenyl)-N-phenylamino]phenyl}-N-phenylamino)biphenyl (abbreviated to DNTPD), compounds with a high molecular weight such as poly(3,4-ethylenedioxythiophene)/poly(styrenesulfonic acid) (abbreviated to PEDOT/PSS), or the like.
Alternatively, for the hole-injecting layer 111, a composite material in which an acceptor substance is mixed into a substance having a high hole-transporting property can be used. It is to be noted that a material of the electrode can be selected regardless of its work function by use of the composite material in which an acceptor substance is mixed into a substance having a high hole-transporting property. That is, not only a material with a high work function, but also a material with a low work function can be used for the first electrode 101. Examples of the acceptor substance include 7,7,8,8-tetracyano-2,3,5,6-tetrafluoroquinodimethane (abbreviated to F4-TCNQ), chloranil, transition metal oxide, oxide of metals that belong to Group 4 to Group 8 of the periodic table, and the like. Specifically, vanadium oxide, niobium oxide, tantalum oxide, chromium oxide, molybdenum oxide, tungsten oxide, manganese oxide, or rhenium oxide is preferably used because of their high electron accepting properties. In particular, use of molybdenum oxide is more preferable because of its stability in the atmosphere, a low hygroscopic property, and easily handling.
As the substance having a high hole-transporting property used for the composite material, any of a variety of compounds such as aromatic amine compounds, carbazole derivatives, aromatic hydrocarbons, compounds with a high molecular weight (such as oligomers, dendrimers, or polymers), or the like can be used. It is to be noted that a substance having a hole mobility of greater than or equal to 10−6 cm2/(V·s) is preferably used as the substance having a high hole-transporting property. However, any substance other than the above substances may also be used as long as it is a substance in which the hole-transporting property is higher than the electron-transporting property. The organic compounds each of which can be used for the composite material are described in specific terms below.
Examples of the aromatic amine compounds each of which can be used for the composite material include N,N′-bis(4-methylphenyl)(p-tolyl)-N,N′-diphenyl-p-phenylenediamine (abbreviated to DTDPPA), 4,4′-bis[N-(4-diphenylaminophenyl)-N-phenylamino]biphenyl (DPAB), 4,4′-bis(N-{4-[N′-(3-methylphenyl)-N′-phenylamino]phenyl}-N-phenylamino)biphenyl (DNTPD), 1,3,5-tris[N-(4-diphenylaminophenyl)-N-phenylamino]benzene (abbreviated to DPA3B), and the like
Specific examples of the carbazole derivatives each of which can be used for the composite material include 3-[N-(9-phenylcarbazol-3-yl)-N-phenylamino]-9-phenylcarbazole (abbreviated to PCzPCA1); 3,6-bis[N-(9-phenylcarbazol-3-yl)-N-phenylamino]-9-phenylcarbazole (abbreviated to PCzPCA2), 3-[N-(1-naphtyl)-N-(9-phenylcarbazol-3-yl)amino]-9-phenylcarbazole (abbreviated to PCzPCN1), and the like.
Moreover, examples of the carbazole derivatives that can be used for the composite material also include 4,4′-di(N-carbazolyl)biphenyl (abbreviated to CBP), 1,3,5-tris[4-(N-carbazolyl)phenyl]benzene (abbreviated to TCPB), 9-[4-(10-phenyl-9-anthryl)phenyl]-9H-carbazole (abbreviated to CzPA), 1,4-bis[4-(N-carbazolyl)phenyl]-2,3,5,6-tetraphenylbenzene, and the like.
Examples of the aromatic hydrocarbons each of which can be used for the composite material include 2-tert-butyl-9,10-di(2-naphthyl)anthracene (abbreviated to t-BuDNA), 2-tert-butyl-9,10-di(1-naphthyl)anthracene, 9,10-bis(3,5-diphenylphenyl)anthracene (abbreviated to DPPA), 2-tert-butyl-9,10-bis(4-phenylphenyl)anthracene (abbreviated to t-BuAnth), 9,10-di(2-naphthyl)anthracene (abbreviated to DNA), 9,10-diphenylanthracene (abbreviated to DPAnth), 2-tert-butylanthracene (abbreviated to t-BuAnth), 9,10-bis(4-methyl-1-naphthyl)anthracene (abbreviated to DMNA), 9,10-bis[2-(1-naphthyl)phenyl]-2-tert-butylanthracene, 9,10-bis[2-(1-naphthyl)phenyl]anthracene, 2,3,6,7-tetramethyl-9,10-di(1-naphthyl)anthracene, 2,3,6,7-tetramethyl-9,10-di(2-naphthyl)anthracene, 9,9′-bianthryl, 10,10′-diphenyl-9,9′-bianthryl, 10,10′-bis(2-phenylphenyl)-9,9′-bianthryl, 10,10′-bis[(2,3,4,5,6-pentaphenyl)phenyl]-9,9′-bianthryl, anthracene, tetracene, rubrene, perylene, 2,5,8,11-tetra(tert-butyl)perylene, and the like. Besides these compounds, pentacene, coronene, or the like can also be used. In particular, use of an aromatic hydrocarbon that has a hole mobility of greater than or equal to 1×10−6 cm2/(V·s) and has 14 to 42 carbon atoms is more preferable.
It is to be noted that the aromatic hydrocarbons each of which can be used for the composite material may have a vinyl skeleton. Examples of the aromatic hydrocarbons having a vinyl skeleton include 4,4′-bis(2,2-diphenylvinyl)biphenyl (abbreviated to DPVBi), 9,10-bis[4-(2,2-diphenylvinyl)phenyl]anthracene (abbreviated to DPVPA), and the like.
For the hole-injecting layer 111, any of compounds with a high molecular weight (such as oligomers, dendrimers, or polymers) can be used. For example, any of compounds with a high molecular weight such as poly(N-vinylcarbazole) (abbreviated to PVK), poly(4-vinyltriphenylamine) (abbreviated to PVTPA), poly[A-(4-{N′-[4-(4-diphenylamino)phenyl]phenyl-N′-phenylamino}phenyl)methacryla mide] (abbreviated to PTPDMA), and poly[N,N′-bis(4-butylphenyl)-N,N′-bis(phenyl)benzidine] (abbreviated to Poly-TPD) can be given. Further, compounds with a high molecular weight, which is mixed with acid, such as poly(3,4-ethylenedioxythiophene)/poly(styrenesulfonic acid) (PEDOT/PSS) or polyaniline/poly(styrenesulfonic acid) (abbreviated to PAni/PSS) can be used.
Alternatively, for forming the hole-injecting layer 111, the above-described compounds with a high molecular weight, such as PVK, PVTPA, PTPDMA, or Poly-TPD, may be combined with the above-described acceptor substance to form a composite material.
The hole-transporting layer 112 is a layer that contains a substance having a high hole-transporting property. Examples of the substance having a high hole-transporting property include aromatic amine compounds such as 4,4′-bis[N-(1-naphthyl)-N-phenylamino]biphenyl (abbreviated to NPB), N,N′-bis(3-methylphenyl)-N,N′-diphenyl-[1,1′-biphenyl]-4,4′-diamine (abbreviated to TPD), 4,4′,4″-tis(N,N-diphenylamino)triphenylamine (abbreviated to TDATA), 4,4′,4″-tris[N-(3-methylphenyl)-N-phenylamino]triphenylamine (abbreviated to m-MTDATA), and 4,4′-bis[N-(spiro-9,9′-bifluoren-2-yl)-N-phenylamino]-1,1′-biphenyl (abbreviated to BSPB), and the like. These substances described here mainly are substances each having a hole mobility of greater than or equal to 10−6 cm2/(V·s). However, any substance other than the above substances may also be used as long as it is a substance in which the hole-transporting property is higher than the electron-transporting property. It is to be noted that the layer that contains a substance having a high hole-transporting property is not limited to a single layer and may be a stack of two or more layers each containing the aforementioned substance.
For the hole-transporting layer 112, compounds with a high molecular weight such as PVK, PVTPA, PTPDMA, or Poly-TPD can also be used.
The light-emitting layer 113 is a layer that contains a substance having a high light-emitting property. In the light-emitting element of this embodiment mode, the light-emitting layer 113 contains any of the anthracene derivatives of the present invention that are described in Embodiment Mode 1. The anthracene derivatives of the present invention are suitable for use in a light-emitting element as a substance having a high light-emitting property because the anthracene derivatives of the present invention exhibit high emission efficiency.
The electron-transporting layer 114 is a layer that contains a substance having a high electron-transporting property. For example, metal complexes having a quinoline or benzoquinoline skeleton, such as tris(8-quinolinolato)aluminum (abbreviated to Alq), tris(4-methyl-8-quinolinolato)aluminum (abbreviated to Almq3), bis(10-hydroxybenzo[h]quinolinato)beryllium (abbreviated to BeBq2), or bis(2-methyl-8-quinolinolato)(4-phenylphenolato)aluminum (abbreviated to BAlq) or the like can be used. Alternatively, metal complexes having an oxazole-based or thiazole-based ligand, such as bis[2-(2-hydroxyphenyl)benzoxazolato]zinc (abbreviated to Zn(BOX)2) or bis[2-(2-hydroxyphenyl)-benzothiazolato]zinc (abbreviated to Zn(BTZ)2) or the like can be used. In stead of the metal complexes, 2-(4-biphenylyl)-5-(4-tert-butylphenyl)-1,3,4-oxadiazole (abbreviated to PBD), 1,3-bis[5-(p-tert-butylphenyl)-1,3,4-oxadiazol-2-yl]benzene (abbreviated to OXD-7), 3-(4-biphenylyl)-4-phenyl-5-(4-tert-butylphenyl)-1,2,4-triazole (abbreviated to TAZ), bathophenanthroline (abbreviated to BPhen), bathocuproine (abbreviated to BCP), or the like can also be used. The substances described here mainly are substances each having an electron mobility of greater than or equal to 10−6 cm2/(V·s). It is to be noted that any substance other than the above substances may also be used as long it is a substance in which the electron-transporting property is higher than the hole-transporting property. Furthermore, the electron-transporting layer is not limited to a single layer and may be a stack of two or more layers each containing the aforementioned substance.
For the electron-transporting layer 114, any of compounds with a high molecular weight can be used. For example, poly[(9,9-dihexylfluorene-2,7-diyl)-co-(pyridin-3,5-diyl)](abbreviated to PF-Py), poly[(9,9-dioctylfluorene-2,7-diyl)-co-(2,2′-bipyridin-6,6′-diyl)] (abbreviated to PF-BPy), or the like can be used.
An electron-injecting layer may be provided between the electron-transporting layer 114 and the second electrode 103. The electron-injecting layer can be formed using an alkali metal compound or an alkaline earth metal compound such as lithium fluoride (LiF), cesium fluoride (CsF), or calcium fluoride (CaF2). Furthermore, a layer in which a substance having an electron-transporting property is combined with an alkali metal or an alkaline earth metal can be employed. For example, it is possible to use a layer made of Alq containing magnesium (Mg). It is more preferable to use the layer in which a substance having an electron-transporting property is combined with an alkali metal or an alkaline earth metal as the electron-injecting layer because electron injection from the second electrode 103 efficiently proceeds by the use of such a layer
The second electrode 103 can be formed using a metal, an alloy, or a conductive compound with a low work function (specifically, 3.8 eV or lower), a mixture of them, or the like. Specific examples of such cathode materials include elements belonging to Group 1 and Group 2 of the periodic table, that is, alkali metals such as lithium (Li) and cesium (Cs) and alkaline earth metals such as magnesium (Mg), calcium (Ca), and strontium (Sr); alloys of them (e.g., MgAg and AlLi); rare earth metals such as europium (Eu) and ytterbium (Yb), alloys of them; and the like. A film containing an alkali metal, an alkaline earth metal, or an alloy thereof can be formed by a vacuum evaporation method. Alternatively, a film containing an alkali metal, an alkaline earth metal, or an alloy thereof can be formed by a sputtering method. Further alternatively, such a film can be formed using a silver paste or the like by an inkjet method or the like.
Further, when the electron-injecting layer is provided between the second electrode 103 and the electron-transporting layer 114, any of a variety of conductive materials such as Al, Ag, ITO, and ITO containing silicon or silicon oxide can be used for the second electrode 103 regardless of its work function. Films of these conductive materials can be formed by a sputtering method, an inkjet method, a spin coating method, or the like.
In the light-emitting element having the above structure which is described in this embodiment mode, application of a voltage between the first electrode 101 and the second electrode 103 makes current flow, whereby holes and electrons are recombined in the light-emitting layer 113 which is a layer that contains a substance having a high light-emitting property, and light is emitted. That is, a light-emitting region is formed in the light-emitting layer 113.
Light is extracted outside through one or both of the first electrode 101 and the second electrode 103. Thus, one or both of the first electrode 101 and the second electrode 103 are light-transmissive electrodes. When only the first electrode 101 is a light-transmissive electrode, light is extracted from the substrate side through the first electrode 101. In contrast, when only the second electrode 103 is a light-transmissive electrode, light is extracted from a side opposite to the substrate side through the second electrode 103. When both the first electrode 101 and the second electrode 103 are light-transmissive electrodes, light is extracted from both the substrate side and the side opposite to the substrate side through the first electrode 101 and the second electrode 103.
Although FIG. 1 shows a structure in which the first electrode 101 that functions as an anode is provided on the substrate 100 side, the second electrode 103 that functions as a cathode may be provided on the substrate 100 side.
Any of a variety of methods can be employed for forming the layer 102 that contains an organic compound regardless of whether the method is a dry process or a wet process. Further, different deposition methods may be employed for each electrode or layer. A vacuum evaporation method, a sputtering method, or the like can be employed as a dry process. An inkjet method, a spin-coating method, or the like can be employed as a wet process.
Similarly, the electrodes may be formed by a wet process such as a sol-gel process or formed using a metal paste by a wet process. Alternatively, the electrodes may be formed by a dry process such as a sputtering method or a vacuum evaporation method.
Hereinafter, a specific fabrication method of a light-emitting element is described. When a light-emitting element of the present invention is applied to a display device and light-emitting layers are formed separately for each color, it is preferable to form the light-emitting layer by a wet process. The use of a wet process such as an inkjet method makes it easier to form light-emitting layers separately for each color even if a large substrate is employed, whereby productivity is improved.
For example, in the structure described in this embodiment mode, the first electrode may be formed by a sputtering method which is a dry process; the hole-injecting layer may be formed by an inkjet method or a spin coating method which is a wet process; the hole-transporting layer may be formed by a vacuum evaporation method which is a dry process; the light-emitting layer may be formed by an inkjet method which is a wet process; the electron-injecting layer may be formed by a co-deposition method which is a dry process; and the second electrode may be formed by an inkjet method or a spin coating method which is a wet process. Alternatively, the first electrode may be formed by an inkjet method which is a wet process; the hole-injecting layer may be formed by a vacuum evaporation method which is a dry process; the hole-transporting layer may be formed by an inkjet method or a spin coating method which is a wet process; the light-emitting layer may be formed by an inkjet method which is a wet process; the electron-injecting layer may be formed by an inkjet method or a spin coating method which is a wet process; and the second electrode may be formed by an inkjet method or a spin coating method which is a wet process. It is to be noted that there is no limitation on the above methods and a wet process and that a dry process can be combined as appropriate.
Further alternatively, for example, the first electrode can be formed by a sputtering method which is a dry process; the hole-injecting layer and the hole-transporting layer can be formed by an inkjet method or a spin coating method which is a wet process; the light-emitting layer can be formed by an inkjet method which is a wet process; the electron-injecting layer can be formed by a vacuum evaporation method which is a dry process; and the second electrode can be formed by a vacuum evaporation method which is a dry process. In other words, on a substrate on which the first electrode having a desired shape is formed, a wet process can be employed in the formation of the hole-injecting layer to the light-emitting layer, and a dry process can be employed in the formation of the electron-injecting layer to the second electrode. In this method, the formation of the hole-injecting layer to the light-emitting layer can be performed at atmospheric pressure, and the light-emitting layers can be easily formed separately for each color. In addition, the formation of the electron-injecting layer to the second electrode can be performed in vacuum consistently. Thus, the process can be simplified, and productivity can be improved.
In the light-emitting element of the present invention having the structure as described above, the potential difference generated between the first electrode 101 and the second electrode 103 makes current flow, whereby holes and electrons are recombined in the light-emitting layer 113 that is a layer containing a high light-emitting property, and thus light is emitted. That is, a light-emitting region is formed in the light-emitting layer 113.
It is to be noted that the structure of the layers provided between the first electrode 101 and the second electrode 103 is not limited to the above one and may employ any structure as long as the light-emitting region for the recombination of holes and electrons is positioned away from the first electrode 101 and the second electrode 103 so as to prevent quenching caused by the light-emitting region being close to a metal.
The anthracene derivatives have high emission efficiency; therefore, as described in this embodiment mode, any of the anthracene derivatives of the present invention can be used for a light-emitting layer without any need for any other light-emitting substance. Furthermore, since the anthracene derivatives of the present invention have high emission efficiency, a light-emitting element with high emission efficiency can be obtained.
The anthracene derivatives of the present invention emit blue light with high color purity, and thus a light-emitting element that emits blue light with high color purity can be obtained.
Furthermore, the anthracene derivatives of the present invention emit blue light with high color purity at high efficiency, and thus a light-emitting element that can emit blue light with high luminous efficiency can be obtained.
Furthermore, by use of any of the anthracene derivatives of the present invention, a light-emitting element with a long life can be obtained.
Further, since the light-emitting element in which any of the anthracene derivatives of the present invention is used can emit blue light at high efficiency the light-emitting element is suitable for use in a full-color display. Furthermore, the light-emitting element can emit blue light for a long period of time; therefore, the light-emitting element is suitable for use in a full-color display. In particular, the development of blue light-emitting elements lags behind that of red or green light-emitting elements in terms of life and efficiency, and blue light-emitting elements having good characteristics are desired. Since the light-emitting element in which any of the anthracene derivatives of the present invention is used can emit blue light at high efficiency for a long period of time, the light-emitting element is suitable for use in a full-color display.
[Embodiment Mode 4]
In this embodiment mode, a light-emitting element having a structure that is different from that described in Embodiment Mode 3 is described.
In the light-emitting layer 113 described in Embodiment Mode 3, any of the anthracene derivatives of the present invention is dispersed into another substance, whereby light emission from the anthracene derivative of the present invention can be obtained. Since the anthracene derivatives of the present invention emit blue light, a light-emitting element that emits blue light can be obtained.
In this embodiment mode, any of a variety of materials can be used as the substance in which one of the anthracene derivatives of the present invention is dispersed. In addition to the substance having a high hole-transporting property and the substance having a high electron-transporting property, which are described in Embodiment Mode 2, 4,4′-di(N-carbazolyl)-biphenyl (CBP), 2,2′,2″-(1,3,5-benzenetriyl)-tris[1-phenyl-1H-benzimidazole] (abbreviated to TPBI), 9,10-di(2-naphthyl)anthracene (DNA), 2-tert-butyl-9,10-di(2-naphthyl)anthracene (t-BuDNA), 9-[4-(10-phenyl-9-anthryl)phenyl]-9H-carbazole (CzPA), or the like can be used. Further, as the substance in which one of the anthracene derivatives of the present invention is dispersed, any of compounds with a high molecular weight can be used. For example, poly(N-vinylcarbazole) (PVK), poly(4-vinyltriphenylamine) (PVTPA), poly[N-(4-{N′-[4-(4-diphenylamino)phenyl]phenyl-N′-phenylamino}phenyl)methacryla mide] (PTPDMA), poly[N,N′-bis(4-butylphenyl)-N,N′-bis(phenyl)benzidine] (Poly-TPD), poly[(9,9-dihexylfluorene-2,7-diyl)-co-(pyridine-3,5-diyl)] (PF-Py), poly[(9,9-dioctylfluorene-2,7-diyl)-co-(2,2′-bipyridin-6,6′-diyl)] (PF-BPy), or the like can be used.
Since the anthracene derivatives of the present invention have high emission efficiency, by use of any of the anthracene derivatives of the present invention in a light-emitting element, a light-emitting element with high emission efficiency can be obtained.
Since the anthracene derivatives of the present invention emit blue light with high color purity, a light-emitting element that emits blue light with high color purity can be obtained.
Furthermore, since the anthracene derivatives of the present invention emit light at high efficiency, a light-emitting element that can emit blue light with high luminous efficiency can be obtained.
Furthermore, by use of any of the anthracene derivatives of the present invention, a light-emitting element with a long life can be obtained.
Since the light-emitting element in which any of the anthracene derivatives of the present invention is used can emit blue light with high color purity at high efficiency, the light-emitting element is suitable for use in a full-color display. Further, since the light-emitting element can emit blue light for a long period of time, the light-emitting element is suitable for use in a full-color display.
It is to be noted that, except for the light-emitting layer 113, the structure described in Embodiment Mode 3 can be used as appropriate.
[Embodiment Mode 5]
In this embodiment mode, a light-emitting element having a structure that is different from the structures described in Embodiment Modes 3 and 4 is described.
In the light-emitting layer 113 described in Embodiment Mode 3, a light-emitting substance is dispersed into any of the anthracene derivatives of the present invention, whereby light emission from the light-emitting substance can be obtained.
When any of the anthracene derivatives of the present invention is used as a material in which another light-emitting substance is dispersed, a color generated by the light-emitting substance can be obtained. Further, a mixture of colors generated by the anthracene derivative of the present invention and the light-emitting substance dispersed in the anthracene derivative can also be obtained.
In this case, any of a variety of materials can be used as the light-emitting substance dispersed in the anthracene derivative of the present invention. Specifically, it is possible to use any of fluorescent substances that emit fluorescence, such as N,N′-diphenylquinacridon (abbreviated to DPQd), coumarin 6, coumarin 545T, 4-(dicyanomethylene)-2-methyl-6-(p-dimethylaminostyryl)-4H-pyran (abbreviated to DCM1), 4-(dicyanomethylene)-2-methyl-6-(julolidin-4-yl-vinyl)-4H-pyran (abbreviated to DCM2), N,N-dimethylquinacridone (abbreviated to DMQd), {2-(1,1-dimethylethyl)-6-[2-(2,3,6,7-tetrahydro-1,1,7,7-tetramethyl-1H,5H-benzo[ij]qui nolizin-9-yl)ethenyl]-4H-pyran-4-ylidene}propanedinitrile (abbreviated to DCJTB), 5,12-diphenyltetracene (abbreviated to DPT), 4-(9H-carbazol-9-yl)-4′-(10-phenyl-9-anthryl)triphenylamine (abbreviated to YGAPA), 4,4′-(2-tert-butylanthracen-9,10-diyl)bis{N-[4-(9H-carbazol-9-yl)phenyl]-N-phenylanili ne} (abbreviated to YGABPA), N,9-diphenyl-N-[4-(10-phenyl-9-anthryl)phenyl]-9H-carbazol-3-amine (abbreviated to PCAPA), N,N″-(2-tert-butylanthracene-9,10-diyldi-4,1-phenylene)bis[N,N′,N′-triphenyl-1,4-pheny lenediamine] (abbreviated to DPABPA), N,N′-bis[4-(9H-carbazol-9-yl)phenyl]-N,N′-diphenylstilbene-4,4′-diamine (abbreviated to YGA2S), N-[4-(9H-carbazol-9-yl)phenyl]-N-phenylstilben-4-amine (abbreviated to YGAS), N,N′-diphenyl-N,N′-bis(9-phenylcarbazol-3-yl)stilbene-4,4′-diamine (abbreviated to PCA2S), 4,4′-bis(2,2-diphenylvinyl)biphenyl (DPVBi), 2,5,8,11-tetra(tert-butyl)perylene (abbreviated to TBP), perylene, rubrene, and 1,3,6,8-tetraphenylpyrene. Moreover, any of phosphorescent substances that emit phosphorescence such as (acetylacetonato)bis[2,3-bis(4-fluorophenyl)quinoxalinato]iridium(III) (abbreviated to Ir(Fdpq)2(acac)), and (2,3,7,8,12,13,17,18-octaethyl-21H,23H-porphyrinato)platinum(II) (abbreviated to PtOEP) can be used.
It is to be noted that, except for the light-emitting layer 113, the structure described in Embodiment Mode 3 can be employed as appropriate.
[Embodiment Mode 6]
In this embodiment mode, a light-emitting element having a structure that is different from the structures described in Embodiment Modes 3 to 5 is described using FIG. 2.
In the light-emitting element described in this embodiment mode, a first layer 121 and a second layer 122 are provided in the light-emitting layer 113 of the light-emitting element described in Embodiment Mode 3.
The light-emitting layer 113 is a layer that contains a substance having a high light-emitting property. In the light-emitting element of the present invention, the light-emitting layer 113 has the first layer 121 and the second layer 122. The first layer 121 contains a first organic compound and an organic compound having a hole-transporting property, and the second layer 122 contains a second organic compound and an electron-transporting organic compound. The first layer 121 is provided on the first electrode side of the second layer 122, in other words, in contact with an anode side of the second layer 122.
Each of the first organic compound and the second organic compound is a substance having a high light-emitting property. In the light-emitting element described in this embodiment mode, the first organic compound or the second organic compound contains any of the anthracene derivatives of the present invention which are described in Embodiment Mode 1. Since the anthracene derivatives of the present invention emit blue light with high color purity, the anthracene derivatives are each suitable for use as a substance having a high light-emitting property in the light-emitting element described in this embodiment mode. The first organic compound and the second organic compound may be the same or different from each other.
When any of the anthracene derivatives of the present invention is used as one of the first organic compound and the second organic compound, as the other one thereof, it is possible to use substances that emit bluish light, such as 4-(9H-carbazol-9-yl)-4′-(10-phenyl-9-anthryl)triphenylamine (YGAPA), 4,4′-(2-tert-butylanthracen-9,10-diyl)bis{N-[4-(9H-carbazol-9-yl)phenyl]-N-phenylanili ne} (YGABPA), N,9-diphenyl-N-[4-(10-phenyl-9-anthryl)phenyl]-9H-carbazol-3-amine (PCAPA), N,N″-(2-tert-butylanthracene-9,10-diyldi-4,1-phenylene)bis[N,N′,N′-triphenyl-1,4-phen ylenediamine] (DPABPA), N,N′-bis[4-(9H-carbazol-9-yl)phenyl]-N,N′-diphenylstilbene-4,4′-diamine (YCA2S), N-[4-(9H-carbazol-9-yl)phenyl]-N-phenylstilbene-4-amine (YGAS), N,N′-diphenyl-N,N′-bis(9-phenylcarbazol-3-yl)stilbene-4,4′-diamine (PCA2S), 4,4′-bis(2,2-diphenylvinyl)biphenyl (DPVBi), 2,5,8,11-tetra(tert-butyl)perylene (TBP), perylene, rubrene, and 1,3,6,8-tetraphenylpyrene. Since each of these substances exhibits light of a color that is similar to that of each anthracene derivatives of the present invention, they are suitable for use in the light-emitting element of this embodiment mode.
The organic compound having a hole-transporting property, which is contained in the first layer 121, is a substance in which the hole-transporting property is higher than the electron-transporting property. The organic compound having an electron-transporting property, which is contained in the second layer 122, is a substance in which the electron-transporting property is higher than the hole-transporting property.
The light-emitting element of the present invention having the above-described structure is described using FIG. 2 in accordance with the principle below.
In FIG. 2, holes injected from the first electrode 101 are injected into the first layer 121. The holes injected into the first layer 121 are transported through the first layer 121 and further injected into the second layer 122. At this time, since the organic compound having an electron-transporting property, which is contained in the second layer 122, is a substance in which the electron-transporting property is higher than the hole-transporting property, the holes injected into the second layer 122 have difficulty moving. Consequently, a large number of holes come to be present near the interface between the first layer 121 and the second layer 122. In addition, occurrence of a phenomenon in which holes reach the electron-transporting layer 114 without recombining with electrons can be suppressed.
On the other hand, electrons injected from the second electrode 103 are injected into the second layer 122. The electrons injected into the second layer 122 are transported through the second layer 122 and further injected into the first layer 121. At this time, since the organic compound having a hole-transporting property, which is contained in the first layer 121, is a substance in which the hole-transporting property is higher than the electron-transporting property, the electrons injected into the first layer 121 have difficulty moving. Consequently, a large number of electrons come to be present near the interface between the first layer 121 and the second layer 122. In addition, occurrence of a phenomenon in which electrons reach the hole-transporting layer 112 without recombining with holes can be suppressed.
As described above, a large number of holes and electrons come to be present in a region in the vicinity of the interface between the first layer 121 and the second layer 122, and thus, the probability of recombination in the region in the vicinity of the interface can be increased. That is, the light-emitting region is formed in the vicinity of the center of the light-emitting layer 113. As a result, occurrence of a phenomenon in which holes reach the electron-transporting layer 114 without recombining with electrons or electrons reach the hole-transporting layer 112 without recombining with holes can be suppressed, whereby a reduction in the probability of recombination can be prevented. Since a reduction of carrier balance over time can thus be prevented, an improvement in reliability is promoted.
In order that holes and electrons be injected into the first layer 121, it is preferred that the organic compound having a hole-transporting property be an organic compound which can be oxidized and reduced and has a highest occupied molecular orbital level (HOMO level) of greater than or equal to −6.0 eV and less than or equal to −5.0 eV as well as a lowest unoccupied molecular orbital level (LUMO level) of greater than or equal to −3.0 eV and less than or equal to −2.0 eV.
As such an organic compound that can be oxidized and reduced, use of anthracene derivatives is particularly preferable among tricyclic polyacene derivatives, tetracyclic polyacene derivatives, pentacyclic polyacene derivatives, and hexacyclic polyacene derivatives. Specific examples of the organic compound having an hole-transporting property, which is contained in the first layer 121, include 9,10-diphenylanthracene (DPAnth), N,N-diphenyl-9-[4-(10-phenyl-9-anthryl)phenyl]-9H-carbazol-3-amine (abbreviated to CzAlPA), 4-(10-phenyl-9-anthryl)triphenylamine (abbreviated to DPhPA), N,9-diphenyl-N-[4-(10-phenyl-9-anthryl)phenyl]-9H-carbazol-3-amine (PCAPA), N,9-diphenyl-N-{4-[4-(10-phenyl-9-anthryl)phenyl]phenyl}-9H-carbazol-3-amine (abbreviated to PCAPBA), and the like.
Similarly, in order that holes and electrons be injected into the second layer 122, it is preferred that the organic compound having an electron-transporting property be an organic compound which can be oxidized and reduced and has a HOMO level of greater than or equal to −6.0 eV and less than or equal to −5.0 eV.
As such an organic compound which can be oxidized and reduced, any of tricyclic polyacene derivatives, tetracyclic polyacene derivatives, pentacyclic polyacene derivatives, or hexacyclic polyacene derivatives can be given. Specifically, any of anthracene derivatives, phenanthrene derivatives, pyrene derivatives, chrysene derivatives, dibenzo[g,p]chrysene derivatives, or the like can be given. For example, as a compound having an electron-transporting property, which can be used for the second layer, 9-[4-(10-phenyl-9-anthryl)phenyl]-9H-carbazole (CzPA), 3,6-diphenyl-9-[4-(10-phenyl-9-anthryl)phenyl]-9H-carbazole (abbreviated to DPCzPA), 9,10-bis(3,5-diphenylphenyl)anthracene (DPPA), 9,10-di(2-naphthyl)anthracene (DNA), 2-tert-butyl-9,10-di(2-naphthyl)anthracene (abbreviated to t-BuDNA), 9,9′-bianthryl (abbreviated to BANT), 9,9′-(stilbene-3,3′-diyl)diphenanthrene (abbreviated to DPNS), 9,9′-(stilbene-4,4′-diyl)diphenanthrene (abbreviated to DPNS2), 3,3′,3″-(benzene-1,3,5-triyl)tripyrene (abbreviated to TPB3), and the like can be given.
As described above using FIG. 2, the light-emitting element of the present invention has a structure in which holes are injected into the second layer 122 from the first layer 121. Therefore, it is preferable that the difference in HOMO level between that of the organic compound having a hole-transporting property and that of the organic compound having an electron-transporting property be small. Further, since the light-emitting element of the present invention has a structure in which electrons are injected into the first layer 121 from the second layer 122, it is preferable that the difference in LUMO level between that of the organic compound having a hole-transporting property and that of the organic compound having an electron-transporting property be small. If the difference in HOMO level between that of organic compound having a hole-transporting property and that of the organic compound having an electron-transporting property is large, the light-emitting region is formed more on the first layer side or on the second layer side. Similarly, if the difference in LUMO level between that of the organic compound having a hole-transporting property and that of the organic compound having an electron-transporting property is large, the light-emitting region is formed more on the first layer side or on the second layer side. Accordingly, the difference between the HOMO level of the organic compound having a hole-transporting property and that of the organic compound having an electron-transporting property is preferably 0.3 eV or less, and more preferably, 0.1 eV or less. The difference between the LUMO level of the organic compound having a hole-transporting property and that of the organic compound having an electron-transporting property is preferably 0.3 eV or less, and more preferably, 0.1 eV or less.
Since light can be emitted from the light-emitting element by recombination of electrons and holes, it is preferable that the organic compound used for the light-emitting layer 113 be stable with respect to repetitive redox reactions. In other words, it is preferable that the organic compound be able to be reversibly oxidized and reduced. In particular, it is preferable that the organic compound having a hole-transporting property and the organic compound having an electron-transporting property be stable with respect to repetitive redox reactions. Whether the organic compounds are stable with respect to repetitive redox reactions or not can be confirmed by cyclic voltammetry (CV) measurements.
Specifically, whether the organic compounds are stable with respect to repetitive redox reactions or not can be confirmed by measurement of changes in the value of an oxidation peak potential (Epa) of an oxidation reaction of the organic compound and the value of a reduction peak potential (Epc) of a reduction reaction, changes in the shape of the peaks, and the like. In the organic compound having a hole-transporting property and the organic compound having an electron-transporting property which are used for the light-emitting layer 113, the amount of change in the intensity of the oxidation peak potential or the intensity of the reduction peak potential is preferably less than 50%, and more preferably, less than 30%. In other words, for example, where the oxidation peak decreases, the intensity of the peak is preferably kept at 50% or more, more preferably, 70%. In addition, the amount of change in the values of the oxidation peak potential and the reduction peak potential is preferably 0.05 V or lower, more preferably, 0.02 V or lower.
Furthermore, when the substance having a high light-emitting property contained in the first layer and the substance having a high light-emitting property contained in the second layer are different, there is a possibility that light is emitted from only one of the first layer and the second layer. When the substance having a high light-emitting property contained in the first layer and the substance having a high light-emitting property contained in the second layer are the same, light can be made to be emitted in the vicinity of the center of the light-emitting layer. Accordingly, it is preferred that the substance having a light-emitting property contained in the first layer and the substance having a light-emitting property contained in the second layer be the anthracene derivatives of the present invention. Since the anthracene derivatives of the present invention have high emission efficiency, by application thereof to the structure described in this embodiment mode, a light-emitting element with high emission efficiency and a long life can be obtained.
In the light-emitting element described in this embodiment mode, a light-emitting region is formed in the vicinity of the center of the light-emitting layer, not at the interface between the light-emitting layer and the hole-transporting layer or at the interface between the light-emitting layer and the electron-transporting layer. Accordingly, the light-emitting element is not affected by deterioration caused by the light-emitting region being close to the hole-transporting layer or the electron-transporting layer. Therefore, the light-emitting element with little deterioration and a long life can be obtained. Furthermore, since the light-emitting layer in the light-emitting element of the present invention contains the compound that is stable with respect to repetitive redox reactions, there is little deterioration in the light-emitting layer even if light emission by recombination of holes and electrons are repeated. Therefore, a light-emitting element with a longer life can be obtained.
Since the first organic compound and the second organic compound emit light of similar colors, light with high color purity can be obtained with the light-emitting element described in this embodiment mode even if not only the first organic compound but also the second organic compound emits light. Further, since each of the anthracene derivatives of the present invention is a substance having a high light-emitting element property which emits blue light the element structure described in this embodiment mode is particularly effective for use in a light-emitting element of bluish color and a light-emitting element of blue-greenish color. Blue color is needed for the fabrication of a full-color display, and the amount of deterioration can be reduced by application of the present invention. It is natural that the anthracene derivatives of the present invention may be used for a light-emitting element of green or red color, as well. This embodiment mode can be combined with any other embodiment mode as appropriate.
[Embodiment Mode 7]
In this embodiment mode, a light-emitting element in which a plurality of light-emitting units according to the present invention is stacked (hereinafter, referred to as a stacked type element) is described using FIG. 3. This light-emitting element is a stacked type light-emitting element that has a plurality of light-emitting units between a first electrode and a second electrode. Each light-emitting unit can have a structure similar to that of the layer 102 that contains an organic compound described in Embodiment Mode 2. In other words, the light-emitting element described in Embodiment Mode 2 is a light-emitting element that has one light-emitting unit. In this embodiment mode, a light-emitting element that has a plurality of light-emitting units is described.
In FIG. 3, a first light-emitting unit 511 and a second light-emitting unit 512 are stacked between a first electrode 501 and a second electrode 502, and a charge generation layer 513 is provided between the first light-emitting unit 511 and the second light-emitting unit 512. Electrodes similar to those described in Embodiment Mode 2 can be applied for the first electrode 501 and the second electrode 502. The first light-emitting unit 511 and the second light-emitting unit 512 may have structures that are the same or different from each other, and a structure similar to those described in any of Embodiment Modes 2 to 6 can be employed.
The charge generation layer 513 contains a composite material of an organic compound and a metal oxide. The composite material of an organic compound and a metal oxide is described in Embodiment Modes 2 or 5 and contains an organic compound and a metal oxide such as vanadium oxide, molybdenum oxide, or tungsten oxide. As the organic compound, a variety of compounds such as aromatic amine compounds, carbazole derivatives, aromatic hydrocarbons, or compounds with a high molecular weight (such as oligomers, dendrimers, or polymers) can be used. It is to be noted that an organic compound having a hole mobility of greater than or equal to 10−6 cm2/(V·s) is preferably applied as the organic compound. However, a substance other than these compounds may also be used as long as it is a substance in which the hole-transporting property is higher than the electron-transporting property. Since the composite material of an organic compound and a metal oxide is superior in carrier-injecting property and carrier-transporting property, low-voltage driving and low-current driving can be realized.
It is to be noted that the charge generation layer 513 may be formed by a combination of a composite material of an organic compound and a metal oxide with another material. For example, the charge generation layer 513 may be formed by a combination of a layer containing the composite material of an organic compound and a metal oxide with a layer containing one compound selected from among electron-donating substances and a compound having a high electron-transporting property. Further, the charge generation layer 513 may be formed by a combination of a layer containing the composite material of an organic compound and a metal oxide with a transparent conductive film.
In any case, any structure for the charge generation layer 513 interposed between the first light-emitting unit 511 and the second light-emitting unit 512 is acceptable as long as it is one by which electrons are injected into one light-emitting unit and holes are injected into the other light-emitting unit when a voltage is applied between the first electrode 501 and the second electrode 502. For example, an acceptable structure is one in which, in FIG. 3, the charge generation layer 513 injects electrons into the first light-emitting unit 511 and injects holes into the second light-emitting unit 512 when a voltage is applied so that the potential of the first electrode is higher than that of the second electrode.
In this embodiment mode, the light-emitting element having two light-emitting units is described; however, the present invention can be applied in a similar manner to a light-emitting element in which three or more light-emitting units are stacked. When a plurality of light-emitting units are arranged to be partitioned from each other with a charge generation layer between a pair of electrodes, like the light-emitting element according to this embodiment mode, emission from a region of high luminance can be realized at a low current density, and thus, an element with a long life can be achieved. For example, when the light-emitting element is applied to a lighting device, a drop in voltage due to the resistance of an electrode material can be suppressed, and thus, uniform emission in a large area can be achieved. In other words, a light-emitting device that can be driven at low voltage and has low power consumption can be realized.
When the emission color is different for each light-emitting unit, a desired emission color can be obtained from the whole light-emitting element. For example, when an emission color of the first light-emitting unit and an emission color of the second light-emitting unit are complementary colors, it is possible to obtain a light-emitting element having two light-emitting units, from which white light is emitted from the whole element. It is to be noted that the complementary colors refer to colors that can produce an achromatic color when they are mixed. That is, white light emission can be obtained by mixture of light from substances whose emission colors are complementary colors. Similarly in a light-emitting element having three light-emitting units, for example, white light can be obtained from the whole light-emitting element when emission colors of the first, second, and third light-emitting units are red, green, and blue, respectively.
This embodiment mode can be combined with any other embodiment mode as appropriate.
[Embodiment Mode 8]
In this embodiment mode, a light-emitting device manufactured using any of the anthracene derivatives of the present invention is described.
In this embodiment mode, a light-emitting device manufactured using any of the anthracene derivatives of the present invention is described using FIGS. 4A and 4B. FIG. 4A is a top view of a light-emitting device, and FIG. 4B is a cross-sectional view taken along lines A-A′ and B-B′ of FIG. 4A. The light-emitting device has a driver circuit portion (a source side driver circuit) 401, a pixel portion 402, and a driver circuit portion (a gate side driver circuit) 403 which are indicated by dotted lines to control the light-emitting device. Reference numerals 404 and 405 denote a sealing substrate and a sealing material, respectively. A portion enclosed by the sealing material 405 corresponds to a space 407.
A lead wiring 408 is a wiring used to transmit signals to be inputted to the source side driver circuit 401 and the gate side driver circuit 403 and receives a video signal, a clock signal, a start signal, a reset signal, and the like from a flexible printed circuit (FPC) 409 which is an external input terminal. It is to be noted that only the FPC is illustrated in this case; however the FPC may be provided with a printed wiring board (PWB). The category of the light-emitting device in this specification includes not only a light-emitting device itself but also a light-emitting device to which an FPC or a PWB is attached with.
Next, a cross-sectional structure is described using FIG. 4B. The driver circuit portion and the pixel portion are formed over an element substrate 410. In this case, one pixel in the pixel portion 402 and the source side driver circuit 401 which is the driver circuit portion are illustrated.
A CMOS circuit, which is a combination of an n-channel TFT 423 and a p-channel TFT 424, is formed as the source side driver circuit 401. Each driver circuit portion may be any of a variety of circuits such as a CMOS circuit, a PMOS circuit, or an NMOS circuit. Although a driver-integration type device, in which a driver circuit is formed over the substrate over which the pixel portion is provided, is described in this embodiment mode, a driver circuit needed not necessarily be formed over the substrate over which the pixel portion is provided but can be formed externally from a substrate.
The pixel portion 402 is formed of a plurality of pixels each of which includes a switching TFT 411, a current control TFT 412, and a first electrode 413 which is electrically connected to a drain of the current control TFT 412. It is to be noted that an insulator 414 is formed to cover end portions of the first electrode 413. In this case, the insulator 414 is formed using a positive photosensitive acrylic resin film.
The insulator 414 is formed so as to have a curved surface having curvature at an upper end portion or a lower end portion thereof in order to make the coverage favorable. For example, in the case of using positive photosensitive acrylic as a material for the insulator 414, it is preferable that the insulator 414 be formed so as to have a curved surface with radius of curvature (0.2 μm to 3 μm) only at the upper end portion thereof. The insulator 414 can be formed using either a negative type which becomes insoluble in an etchant by light irradiation or a positive type which becomes soluble in an etchant by light irradiation.
A layer 416, which contains an organic compound, and a second electrode 417 are formed over the first electrode 413. In this case, it is preferred that the first electrode 413 serving as an anode be formed using a material with a high work function. For example, the first electrode 413 can be formed using a single-layer film of an ITO film, an indium tin oxide film containing silicon, an indium oxide film containing 2 wt % to 20 wt % of zinc oxide, a titanium nitride film, a chromium film, a tungsten film, a Zn film, a Pt film, or the like; a stack of a titanium nitride film and a film containing aluminum as its main component; or a stacked film such as a film having a three-layer structure of a titanium nitride film, a film containing aluminum as its main component, and another titanium nitride film. When the first electrode 413 has a stacked structure, resistance as a wiring is low, a good ohmic contact is formed, and further, the first electrode 413 can be made to function as an anode.
The layer 416 containing an organic compound is formed by any of a variety of methods such as a deposition method using a deposition mask, an inkjet method, and a spin coating method. The layer 416 containing an organic compound contains any of the anthracene derivatives of the present invention which are described in Embodiment Mode 1.Further, another material of the layer 416 containing an organic compound be any of compounds with a low molecular weight or compounds with a high molecular weight (the category of the compounds with a high molecular weight includes oligomers and dendrimers). Further, the material of the layer containing an organic compound may be not only an organic compound but also an inorganic compound.
As a material used for the second electrode 417 which is formed over the layer 416 containing an organic compound and serves as a cathode, it is preferable to use a material with a low work function (e.g., Al, Mg, Li, Ca, or an alloy or compound thereof such as MgAg, Mg—In, Al—Li, LiF, or CaF2). When light generated in the layer 416 containing an organic compound is transmitted through the second electrode 417, the second electrode 417 may be formed of a stack of a metal thin film and a transparent conductive film (e.g., a film of ITO, indium oxide containing 2 wt% to 20 wt % of zinc oxide, indium tin oxide containing silicon or silicon oxide, or zinc oxide (ZnO)).
The sealing substrate 404 is attached using the sealing material 405 to the element substrate 410; thus, a light-emitting element 418 is provided in the space 407 enclosed by the element substrate 410, the sealing substrate 404, and the sealing material 405. It is to be noted that the space 407 is filled with a filler The space 407 is filled with an inert gas (e.g., nitrogen or argon) or the sealing material 405 in some cases.
It is preferable that an epoxy-based resin be used to form the sealing material 405 and that such a material permeate little moisture and oxygen as much as possible. In addition to a glass substrate or a quartz substrate, the sealing substrate 404 can be formed of a plastic substrate made of fiberglass-reinforced plastic (FRP), polyvinyl fluoride (PVF), polyester, acrylic, or the like.
Accordingly, a light-emitting device manufactured using any of the anthracene derivatives of the present invention can be obtained.
Since any of the anthracene derivatives described in Embodiment Mode 1 is used in the light-emitting device of the present invention, a light-emitting device having favorable characteristics can be obtained. Specifically, a light-emitting device that has a long life can be obtained.
Further, since the anthracene derivatives of the present invention have high emission efficiency, a light-emitting device having low power consumption can be provided.
Further, since the light-emitting element in which any of the anthracene derivatives of the present invention is used can emit blue light with high color purity at high efficiency, the anthracene derivatives are suitable for use in full-color displays. Further, since the light-emitting element in which any of the anthracene derivatives of the present invention is used can emit blue light for a long period of time and has low power consumption, the anthracene derivatives are suitable for use in full-color displays.
Although as described above, an active matrix light-emitting device in which driving of a light-emitting element is controlled by transistors is described in this embodiment, the light-emitting device may also be a passive matrix light-emitting device. FIGS. 5A and 5B show a passive matrix light-emitting device to which the present invention is applied. FIG. 5A is a perspective view of the light-emitting device, and FIG. 5B is a cross-sectional view taken along a line X-Y of FIG. 5A. In FIGS. 5A and 5B, a layer 955 containing an organic compound is provided between an electrode 952 and an electrode 956 over a substrate 951. End portions of the electrode 952 are covered by an insulating layer 953. Then, a partition layer 954 is provided over the insulating layer 953. A sidewall of the partition layer 954 slopes so that the distance between one sidewall and another sidewall becomes narrower toward the substrate surface. In other words, a cross section taken in the direction of the short side of the partition layer 954 is trapezoidal and the base of the cross-section (a side facing in the same direction as a plane direction of the insulating layer 953 and in contact with the insulating layer 953) is shorter than the upper side thereof (a side facing in the same direction as the plane direction of the insulating layer 953 and not in contact with the insulating layer 953). The partition layer 954 provided in this manner can be used to prevent the light-emitting element from being defective due to static electricity or the like. Even in the case of a passive matrix light-emitting device, when the light-emitting device includes the light-emitting element of the present invention, a light-emitting device with a long life can be obtained, and a light-emitting device having low power consumption can also be obtained.
[Embodiment Mode 9]
In this embodiment mode, electronic devices of the present invention that include the light-emitting device described in Embodiment Mode 8 are described. The electronic devices of the present invention each contain any of the anthracene derivatives described in Embodiment Mode 1 and have a display portion that has a long life. Further, the electronic devices of the present invention each have a display portion in which power consumption is reduced.
Examples of electronic devices that include light-emitting elements fabricated using any of the anthracene derivatives of the present invention include cameras such as video cameras or digital cameras, goggle type displays, navigation systems, audio playback devices (e.g., car audio systems and audio systems), computers, game machines, portable information terminals (e.g., mobile computers, cellular phones, portable game machines, and electronic books), image playback devices in which a recording medium is provided (devices that are capable of playing back recording media such as digital versatile discs (DVDs) and equipped with a display device that can display the image), and the like. Specific examples of these electronic devices are shown in FIGS. 6A to 6D.
FIG. 6A shows a television device according to the present invention which includes a housing 9101, a support stand 9102, a display portion 9103, a speaker portion 9104, a video input terminal 9105, and the like. In the television device, the display portion 9103 has light-emitting elements similar to those described in Embodiment Modes 2 to 7 arranged in matrix form. The light-emitting element is characterized by having high emission efficiency and a long life. Since the display portion 9103 formed of the light-emitting elements has similar characteristics, image quality does not deteriorate much and lower power consumption is achieved in the television device. Such characteristics contribute to a significant reduction in size and number of the deterioration compensation function circuits and power supply circuits in the television device, whereby the size and weight of the housing 9101 and support stand 9102 can be reduced. In the television device according to the present invention, lower power consumption, a higher image quality, a smaller size, and a lighter weight are achieved; therefore, products suitable for a residence can be provided. Also, since the anthracene derivatives described in Embodiment Mode 1 can emit blue light with high color purity, full-color display is possible, and a television device having a display portion with a long life can be obtained.
FIG. 6B shows a computer according to the present invention which includes a main body 9201, a housing 9202, a display portion 9203, a keyboard 9204, an external connection port 9205, a pointing device 9206, and the like. In the computer, the display portion 9203 has light-emitting elements similar to those described in Embodiment Modes 2 to 7 arranged in matrix form. The light-emitting element is characterized by having high emission efficiency and a long life. Since the display portion 9203 formed of the light-emitting elements has similar characteristics, image quality does not deteriorate much and lower power consumption is achieved in the computer. Such characteristics contribute to a significant reduction in size and number of the deterioration compensation function circuits and power supply circuits in the computer, whereby the size and weight of the main body 9201 and the housing 9202 can be reduced. In the computer according to the present invention, lower power consumption, a higher image quality, a smaller size, and a lighter weight are achieved; therefore, products suitable for the environment can be supplied. Further, since the anthracene derivatives described in Embodiment Mode 1 can emit blue light with high color purity, full-color display is possible, and a computer having a display portion with a long life can be obtained.
FIG. 6C shows a cellular phone according to the present invention which includes a main body 9401, a housing 9402, a display portion 9403, an audio input portion 9404, an audio output portion 9405, operation keys 9406, an external connection port 9407, an antenna 9408, and the like. In the cellular phone, the display portion 9403 has light-emitting elements similar to those described in Embodiment Modes 2 to 7 arranged in matrix form. The light-emitting element is characterized by high emission efficiency and a long life. Since the display portion 9403 formed of the light-emitting elements has similar characteristics, image quality does not deteriorate much and lower power consumption is achieved in the cellular phone. Such characteristics contribute to a significant reduction in size and number of the deterioration compensation function circuits and power supply circuits in the cellular phone, whereby the size and weight of the main body 9401 and the housing 9402 can be reduced. In the cellular phone according to the present invention, lower power consumption, a higher image quality, a smaller size, and a lighter weight are achieved; therefore, products suitable for portability can be provided. Since the anthracene derivatives described in Embodiment Mode 1 can emit blue light with high color purity, full-color display is possible, and a cellular phone having a display portion with a long life can be obtained.
FIG. 6D shows a camera according to the present invention which includes a main body 9501, a display portion 9502, a housing 9503, an external connection port 9504, a remote control receiver 9505, an image receiver 9506, a battery 9507, an audio input portion 9508, operation keys 9509, an eye piece portion 9510, and the like. In the camera, the display portion 9502 has light-emitting elements similar to those described in Embodiment Modes 2 to 7 arranged in matrix form. Some features of the light-emitting element are its high emission efficiency and a long life. Since the display portion 9502 formed of the light-emitting elements has similar characteristics, image quality does not deteriorate much and lower power consumption can be achieved in the camera. Such characteristics contribute to a significant reduction in size and number of the deterioration compensation function circuits and power supply circuits in the camera, whereby the size and weight of the main body 9501 can be reduced. In the camera according to the present invention, lower power consumption, a higher image quality, a smaller size, and a lighter weight are achieved; therefore, products suitable for being carried can be provided. Since the anthracene derivatives described in Embodiment Mode 1 can emit blue light with high color purity, full-color display is possible, and a camera having a display portion with a long life can be obtained.
As described above, the applicable range of the light-emitting device of the present invention is extremely wide so that this light-emitting device can be applied to electronic devices of a variety of fields. By use of the anthracene derivatives of the present invention, an electronic device that has a display portion with a long life can be obtained. Furthermore, by use of the anthracene derivatives of the present invention, an electronic device that has a display portion in which power consumption is reduced can be obtained.
Such a light-emitting device of the present invention can also be used as a lighting device. One mode in which the light-emitting device of the present invention is used as a lighting device is described using FIG. 7.
FIG. 7 shows an example of a liquid crystal display in which the light-emitting device of the present invention is used as a backlight. The liquid crystal display device shown in FIG. 7 includes a housing 901, a liquid crystal layer 902, a backlight 903, and a housing 904. The liquid crystal layer 902 is connected to a driver IC 905. The light-emitting device of the present invention is used as the backlight 903, and current is supplied through a terminal 906.
By use of the light-emitting device of the present invention as the backlight of the liquid crystal display device, a backlight with high emission efficiency and lower power consumption and can be obtained. Since the light-emitting device of the present invention is a lighting device with plane light emission and can have a larger area, the backlight can have a larger area, and a liquid crystal display device can also have a larger area. Furthermore, since the light-emitting device of the present invention is thin and has low power consumption, a thinner shape and lower power consumption can also be achieved in a display device. Since the light-emitting device of the present invention has a long life, a liquid crystal display device in which the light-emitting device of the present invention is used can also have a long life.
FIG. 8 shows an example in which the light-emitting device to which the present invention is applied is used as a table lamp that is a lighting device. The table lamp shown in FIG. 8 has a housing 2001 and a light source 2002. The light-emitting device of the present invention is used as the light source 2002. Since the light-emitting device of the present invention has high emission efficiency and a long life, the table lamp also has high emission efficiency and a long life.
FIG. 9 shows an example in which a light-emitting device to which the present invention is applied is used as an indoor lighting device 3001. Since the light-emitting device of the present invention can also have a larger area, the light-emitting device of the present invention can be used as a lighting device having a large emission area. Further, since the light-emitting device of the present invention is thin and has low power consumption, the light-emitting device of the present invention can be used as a lighting device with a thinner shape and lower power consumption. A television device 3002 according to the present invention as described in FIG. 6A is placed in a room in which a light-emitting device to which the present invention is applied is used as the indoor lighting device 3001, and public broadcasting and movies can be enjoyed. In such a case, since power consumption is low in both devices, a powerful image can be watched in a bright room without any concern about charges for electricity.
[Example 1]
In this synthesis example, a synthesis method of an anthracene derivative 4-(10-phenyl-9-anthryl)-4′-(9-phenyl-9H-carbazol-3-yl)triphenylamine (PCBAPA) of the present invention represented by a structural formula (100) is described in specific terms.
Figure US08835018-20140916-C00094
Step 1: Synthesis of 9-phenyl-9H-carbazole-3-boronic acid
Into a 500 mL three-neck flask were put 10 g (31 mmol) of 3-bromo-9-phenyl-9H-carbazole. The air in the flask was replaced with nitrogen. 150 mL of tetrahydrofuran (THF) were put into the flask, and 3-bromo-9-phenyl-9H-carbazole was dissolved therein. This solution was cooled to −80° C. Into this solution were dripped 20 mL (32 mmol) of n-butyllithium (a 1.58 mol/L hexane solution) with the use of a syringe. After the dripping was completed, this solution was stirred at the same temperature for 1 hour. After the stirring, 3.8 mL (34 mmol) of trimethyl borate were added to the solution, and the solution was stirred for about 15 hours while the temperature of the solution was being brought back to room temperature. Thereafter, about 150 mL (1.0 mol/L) of dilute hydrochloric acid were added to the solution, and then the solution was stirred for 1 hour. After the stirring, an aqueous layer of the mixture was extracted with ethyl acetate. The extract was combined with an organic layer and then washed with a saturated sodium hydrogen carbonate solution. The organic layer was dried with magnesium sulfate. After the drying, the mixture was subjected to gravity filtration. The obtained filtrate was condensed to give an oily light brown substance. The obtained oily substance was dried under reduced pressure to give 7.5 g of a light brown solid, which was the object of the synthesis, at a yield of 86%. A synthesis scheme of Step 1 is shown in (b-1) given below.
Figure US08835018-20140916-C00095
Step 2: Synthesis of 4-(9-phenyl-9H-carbazol-3-yl)diphenylamine (PCBA)
Into a 500 mL three-neck flask were put 6.5 g (26 mmol) of 4-bromo-diphenylamine, 7.5 g (26 mmol) of 9-phenyl-9H-carbazole-3-boronic acid, and 400 mg (1.3 mmol) of tri(o-tolyl)phosphine. The air in the flask was replaced with nitrogen. To the mixture were added 100 mL of toluene, 50 mL of ethanol, and 14 mL (0.2 mol/L) of an aqueous solution of potassium carbonate. Under reduced pressure, this mixture was degassed while being stirred. After the degassing, 67 mg (30 mmol) of palladium(II) acetate were added to the mixture. This mixture was refluxed at 100° C. for 10 hours. After the reflux, an aqueous layer of the mixture was extracted with toluene, and the extract was combined with an organic layer and then washed with a saturated saline solution. The organic layer was dried with magnesium sulfate. After the drying, this mixture was subjected to gravity filtration. The obtained filtrate was condensed to give an oily light brown substance. This oily substance was purified by silica gel column chromatography (a developing solvent was a mixed solvent of hexane:toluene=4:6). A white solid obtained after the purification was recrystallized with dichloromethane/hexane to give 4.9 g of a white solid, which was the object of the synthesis, at a yield of 45%. A synthesis scheme of Step 2 is shown in (b-2) given below.
Figure US08835018-20140916-C00096
The solid obtained in the above Step 2 was analyzed by nuclear magnetic resonance measurements (1H NMR). The measurement results are described below, and the 1H NMR chart is shown in FIGS. 10A and 10B. It is to be noted that FIG. 10B is a chart showing an enlarged view of the range of 6.0 ppm to 9.0 ppm in FIG. 10A. From the measurement results, it can be seen that the organic compound PCBA of the present invention which is a source material used for the synthesis of the anthracene derivative of the present invention represented by the above structural formula (100) was obtained.
1H NMR (DMSO-d6, 300 MHz): δ=6.81-6.86 (m, 1H), 7.12 (dd, J1=0.9 Hz, J2=8.7 Hz, 2H), 7.19 (d, J=8.7 Hz, 2H), 7.23-7.32 (m, 3H), 7.37-7.47 (m, 3H), 7.51-7.57 (m, 1H), 7.61-7.73 (m, 7H) 8.28 (s, 1H), 8.33 (d, J=7.2 Hz, 1H), 8.50 (d, J=1.5 Hz, 1H)
Step 3: Synthesis of PCBAPA
Into a 300 mL three-neck flask were put 7.8 g (12 mmol) of 9-(4-bromophenyl)-10-phenylanthracene, 4.8 g (12 mmol) of PCBA, and 5.2 g (52 mmol) of sodium tert-butoxide. The air in the flask was replaced with nitrogen. To the mixture were added 60 mL of toluene and 0.30 mL of tri(tert-butyl)phosphine (a 10 wt % hexane solution). Under reduced pressure, this mixture was degassed while being stirred. After the degassing, 136 mg (0.24 mmol) of bis(dibenzylideneacetone)palladium(0) were added to the mixture. This mixture was stirred at 100° C. for 3 hours. After the stirring, about 50 mL of toluene were added to this mixture. The mixture was subjected to suction filtration through celite (produced by Wako Pure Chemical Industries, Ltd., Catalog No. 531-16855), alumina, and Florisil (produced by Wako Pure Chemical Industries, Ltd., Catalog No. 540-00135). The obtained filtrate was condensed to give a yellow solid. This solid was recrystallized with toluene/hexane to give 6.6 g of a light yellow powdered solid PCBAPA, which was the object of the synthesis, at a yield of 75%. Then, 3.0 g of the obtained light yellow powdered solid were purified by train sublimation. For sublimation purification conditions, PCBAPA was heated at 350° C. under a pressure of 8.7 Pa with a flow rate of argon gas of 3.0 mL/min. After the sublimation purification, 2.7 g of a light yellow solid PCBAPA was obtained at a yield of 90%. A synthesis scheme of Step 3 is shown in (b-3) given below.
Figure US08835018-20140916-C00097
The solid obtained in the above Step 3 was analyzed by 1H NMR. The measurement results are described below, and the 1H NMR chart is shown in FIGS. 11A and 11B. It is to be noted that FIG. 11B is a chart showing an enlarged view of the range of 7.0 to 8.5 ppm in FIG. 11A. From the measurement results, it can be seen that the anthracene derivative PCBAPA of the present invention represented by the above structural formula (100) was obtained.
1H NMR (CDCl3, 300 MHz): δ=7.09-7.14 (m, 1H), 7.28-7.72 (m, 33H), 7.88 (d, J=8.4 Hz, 2H), 8.19 (d, J=7.2 Hz, 1H), 8.37 (d, J=1.5 Hz, 1H)
Next, an absorption spectrum of PCBAPA was measured using an ultraviolet-visible spectrophotometer (V-550,manufactured by JASCO Corporation) at room temperature with the use of a toluene solution. Further, an emission spectrum of PCBAPA was measured using a fluorescence spectrophotometer (FS920,manufactured by Hamamatsu Photonics Corporation) at room temperature with the use of a toluene solution. The measurement results are shown in FIG. 12. Further, PCBAPA was deposited by a deposition method, and a thin film of PCBAPA was measured in a similar manner. The measurement results are shown in FIG. 13. In each of FIG. 12 and FIG. 13, the horizontal axis indicates the wavelength (nm), and the vertical axis indicates the absorption intensity (arbitrary unit) and the emission intensity (arbitrary unit).
From FIG. 12 and FIG. 13, it can be seen that the toluene solution of PCBAPA has an emission peak at 459 nm, and the thin film thereof has an emission peak at 473 nm. Thus, it is found that PCBAPA emits blue light with high color purity.
[Example 2]
In this example, a light-emitting element of the present invention is described using FIG. 14. Chemical formulae of materials used in this example are shown below.
Figure US08835018-20140916-C00098

(Light-Emitting Element 1)
First, indium tin oxide containing silicon oxide was deposited over a glass substrate 1100 by a sputtering method, whereby a first electrode 1101 was formed. It is to be noted that the film thickness of the first electrode was set to be 110 nm and that the area of the electrode was set to be 2 mm×2 mm.
Next, the substrate over which the first electrode was formed was fixed to a substrate holder provided in a vacuum deposition apparatus so that a surface on which the first electrode was formed faced downward. After the pressure of the vacuum deposition apparatus was reduced to about 10−4 Pa, a layer 1102 containing a composite material of an organic compound and an inorganic compound was formed over the first electrode 1101 by co-deposition of NPB and molybdenum(VI) oxide. The film thickness of the layer 1102 was set to be 50 nm, and the weight ratio of NPB and molybdenum(VI) oxide was adjusted so as to be 4:1(=NPB:molybdenum oxide). It is to be noted that the co-deposition method is a deposition method in which deposition is performed from a plurality of evaporation sources at the same time in one treatment chamber.
Next, NPB was deposited to a thickness of 10 nm over the layer 1102 containing a composite material by a deposition method using resistive heating, whereby a hole-transporting layer 1103 was formed.
Further, by co-deposition of 9-[4-(10-phenyl-9-anthryl)phenyl]-9H-carbazole (CzPA) and PCBAPA, a light-emitting layer 1104 was formed over the hole-transporting layer 1103 to a thickness of 30 nm. The weight ratio of CzPA and PCBAPA was adjusted so as to be 1:0.10(=CzPA:PCBAPA).
Thereafter, tris(8-quinolinolato)aluminum (Alq) was deposited to a thickness of 10 nm over the light-emitting layer 1104 by a deposition method using resistive heating, whereby an electron-transporting layer 1105 was formed.
Further, by co-deposition of tris(8-quinolinolato)aluminum (Alq) and lithium, an electron-injecting layer 1106 was formed to a thickness of 20 nm over the electron-transporting layer 1105. The weight ratio of Alq and lithium was adjusted so as to be 1:0.01(=Alq:lithium).
Lastly, aluminum was deposited to a thickness of 200 nm over the electron-injecting layer 1106 by a deposition method using resistive heating, whereby a second electrode 1107 was formed. Accordingly, a light-emitting element 1 was fabricated.
Current density-luminance characteristics, voltage-luminance characteristics, luminance-current efficiency characteristics, and luminance-external quantum efficiency of the light-emitting element 1 are shown in FIG. 15, FIG. 16, FIG. 17, and FIG. 18, respectively. Also, the emission spectrum measured at a current of 1 mA is shown in FIG. 19. From FIG. 19, it can be seen that light emitted from the light-emitting element was from PCBAPA. A CIE chromaticity coordinates of the light-emitting element 1 at luminance of 820 cd/n2 were (x, y)=(0.16, 0.19), which are indicative of blue light with high color purity. As can be seen from FIG. 18, the external quantum efficiency of the light-emitting element 1 measured at luminance of 820 cd/m2 was 2.9%, which is indicative of high external quantum efficiency. Thus, the light-emitting element 1 has high emission efficiency. From FIG. 17, it can be seen that the current efficiency of the light-emitting element 1 measured at luminance of 820 cd/m2 was 4.2 cd/A, which is indicative of high luminous efficiency. From FIG. 16, the driving voltage of the light-emitting element 1 measured at luminance of 820 cd/m2 was 5.2 V, and a voltage needed to obtain a given luminance is low. Thus, it is found that power consumption for the light-emitting element 1 is low.
In addition, when the light-emitting element 1 of this example was driven under conditions of an initial luminance set to 1000 cd/m2 and a constant instant current density, luminance after 380 hours was retained at 81% of the initial luminance. The results are shown in FIG. 26. In FIG. 26, the horizontal axis indicates time (h), and the vertical axis indicates normalized luminance where the initial luminance was 100%. Consequently, it is found that a light-emitting element with little deterioration and a long life can be obtained by application of the present invention.
[Example 3]
In this example, a light-emitting element of the present invention is described using FIG. 20. Chemical formulae of materials used in this example are shown below.
Figure US08835018-20140916-C00099
Figure US08835018-20140916-C00100

(Light-Emitting Element 2)
First, indium tin oxide containing silicon oxide was deposited over a glass substrate 2100 by a sputtering method, whereby a first electrode 2101 was formed. It is to be noted that the film thickness of the first electrode was set to be 110 nm and that the area of the electrode was set to be 2 mm×2 mm.
Next, the substrate over which the first electrode was formed was fixed to a substrate holder provided in a vacuum deposition apparatus so that a surface on which the first electrode was formed faced downward. After the pressure of the vacuum deposition apparatus was reduced to about 10−4 Pa, a layer 2102 containing a composite material of an organic compound and an inorganic compound was formed over the first electrode 2101 by co-deposition of NPB and molybdenum(VI) oxide. The film thickness of the layer 2102 was set to be 50 nm, and the weight ratio of NPB and molybdenum(VI) oxide was adjusted so as to be 4:1(=NPB:molybdenum oxide). It is to be noted that the co-deposition method is a deposition method in which deposition is performed from a plurality of evaporation sources at the same time in one treatment chamber.
Next, NPB was deposited over the layer 2102 containing a composite material to a thickness of 10 nm by a deposition method using resistive heating, whereby a hole-transporting layer 2103 was formed.
Further, by co-deposition of 9,10-diphenylanthracene (DPAnth) and the anthracene derivative PCBAPA of the present invention, a first layer 2121 was formed over the hole-transporting layer 2103 to a thickness of 30 nm. The weight ratio of DPAnth and PCBAPA was adjusted so as to be 1:0.05(=DPAnth:PCBAPA).
Further, by co-deposition of 9-[4-(10-phenyl-9-anthryl)phenyl]-9H-carbazole (CzPA) and the anthracene derivative PCBAPA of the present invention, a second layer 2122 was formed over the first layer 2121 to a thickness of 30 nm. The weight ratio of CzPA and PCBAPA was adjusted so as to be 1:0.10(=CzPA:PCBAPA).
Thereafter, tris(8-quinolinolato)aluminum (Alq) was deposited over the second layer 2122 to a thickness of 10 nm by a deposition method using resistive heating, whereby an electron-transporting layer 2104 was formed.
Further, by co-deposition of tris(8-quinolinolato)aluminum (Alq) and lithium, an electron-injecting layer 2105 was formed over the electron-transporting layer 2104 to a thickness of 20 nm. The weight ratio of Alq and lithium was adjusted so as to be 1:0.01(=Alq:lithium).
Lastly, aluminum was deposited over the electron-injecting layer 2105 to a thickness of 200 nm by a deposition method using resistive heating, whereby a second electrode 2106 was formed. Accordingly, a light-emitting element 2 was fabricated.
Current density-luminance characteristics, voltage-luminance characteristics, luminance-current efficiency characteristics, and luminance-external quantum efficiency of the light-emitting element 2 are shown in FIG. 21, FIG. 22, FIG. 23, and FIG. 24, respectively. Also, the emission spectrum measured at a current of 1 mA is shown in FIG. 25. From FIG. 25, it can be seen that light emitted from the light-emitting element was from PCBAPA. A CIE chromaticity coordinates of the light-emitting element 2 at luminance of 990 cd/m2 were (x, y)=(0.15, 0.17), which are indicative of blue light with high color purity. As can be seen from FIG. 24, the external quantum efficiency of the light-emitting element 2 measured at luminance of 990 cd/m2 was 3.3%, which is indicative of high external quantum efficiency. Thus, the light-emitting element 2 has high emission efficiency. From FIG. 23, it can be seen that the current efficiency of the light-emitting element 2 measured at luminance of 990 cd/m2 was 4.1 cd/A, which is indicative of high luminous efficiency. From FIG. 22, the driving voltage of the light-emitting element 2 measured at luminance of 990 cd/m2 was 6.4 V, and a voltage needed to obtain a given luminance is low. Thus, it is found that power consumption for the light-emitting element 2 is low.
In addition, when the light-emitting element 1 of this example was driven under conditions of an initial luminance set to 1000 cd/m2 and a constant instant current density, luminance after 380 hours was retained at 81% of the initial luminance. The results are shown in FIG. 27. In FIG. 27, the horizontal axis indicates time (h) and the vertical axis indicates normalized luminance where the initial luminance was 100%. Consequently, it is found that a light-emitting element with little deterioration and a long life can be obtained by application of the present invention.
[Example 4]
In this example, a synthesis method of an anthracene derivative 4-[4-(10-phenyl-9-anthryl)phenyl]-4′-(9-phenyl-9H-carbazol-3-yl)triphenylamine (PCBAPBA) of the present invention represented by a structural formula (300) is described in specific terms.
Figure US08835018-20140916-C00101
Step 1: Synthesis of 9-(4′-bromobiphenyl-4-yl)-10-phenylanthracene
Into a 100 mL three-neck flask were put 2.8 g (7.2 mmol) of 9-iodine-10-phenylanthracene and 1.5 g (7.2 mmol) of 4′-bromobiphenyl-4-boronic acid. The air in the flask was replaced with nitrogen. To the mixture were added 40 mL of toluene and 10 mL (2.0 mol/L) of an aqueous solution of sodium carbonate. This mixture was stirred to be degassed while the pressure was being reduced. After the degassing, 120 mg (0.10 mmol) of tetrakis(triphenylphosphine)palladium(0) were added to the mixture. This mixture was stirred at 90° C. for 4 hours. After the stirring, about 50 mL of toluene were added to this mixture. The mixture was subjected to suction filtration through alumina, celite (produced by Wako Pure Chemical Industries, Ltd., Catalog No. 531-16855), and Florisil (produced by Wako Pure Chemical Industries, Ltd., Catalog No. 540-00135). The solid obtained by condensation of the obtained filtrate was purified by high-performance liquid chromatography (a mobile phase: chloroform) to give a light yellow solid. The obtained solid was recrystallized with chloroform/hexane to give 1.4 g of a light yellow powdered solid, which was the object of the synthesis, at a yield of 40%. A synthesis scheme of Step 1 is shown in (c-1) given below.
Figure US08835018-20140916-C00102
Step 2: Synthesis of 4-[4-(10-phenyl-9-anthryl)phenyl]-4′-(9-phenyl-9H-carbazol-3-yl)triphenylamine (PCBAPBA)
Into a 50 mL three-neck flask were put 1.0 g (2.1 mmol) of 9-(4′-bromobiphenyl-4-yl)-10-phenylanthracene, 845 mg (2.1 mmol) of 4-(9-phenyl-9H-carbazol-3-yl)diphenylamine (PCBA), and 1.0 g (10 mmol) sodium tert-butoxide. The air in the flask was replaced with nitrogen. To the mixture were added 15 mL of toluene and 0.10 mL of tri(tert-butyl)phosphine (a 10 wt % hexane solution). Under reduced pressure, this mixture was degassed while being stirred. After the degassing, 58 mg (0.10 mmol) of bis(dibenzylideneacetone)palladium(0) were added to the mixture. This mixture was stirred at 100° C. for 5 hours. After the stirring, the temperature of the mixture was cooled to room temperature, and then about 20 mL of toluene were added to the mixture. The mixture was subjected to filtration through Florisil (produced by Wako Pure Chemical Industries, Ltd., Catalog No. 540-00135), celite (produced by Wako Pure Chemical Industries, Ltd., Catalog No. 531-16855), and alumina. The obtained filtrate was condensed to give a light yellow solid. This obtained solid was recrystallized with toluene/hexane to give 1.5 g of a light yellow powdered solid, which was the object of the synthesis, at a yield of 90%. A synthesis scheme of Step 2 is shown in (c-2) given below.
Figure US08835018-20140916-C00103
Then, 1.1 g of the obtained light yellow powdered solid was purified by train sublimation. For sublimation purification conditions, PCBAPBA was heated at 380° C. under a pressure of 6.0 Pa with a flow rate of argon gas of 3.0 mL/min. After the sublimation purification, 1.0 g of a light yellow solid was obtained at a yield of 93%.
The obtained solid was analyzed by 1H NMR. The measurement results are described below, and the 1H NMR chart is shown in FIGS. 28A and 28B. It is to be noted that FIG. 28B is a chart showing an enlarged view of the range of 7.0 to 8.5 ppm in FIG. 28A. From the measurement results, it can be seen that the anthracene derivative PCBAPBA of the present invention represented by the above structural formula (300) was obtained.
1H NMR (DMSO-d6, 300 MHz): δ=7.09-7.12 (m, 1H), 7.25-7.31 (m, 12H), 7.34-7.79 (m, 23H), 7.80-7.85 (m, 4H), 8.20 (d, J=7.8 Hz, 1H), 8.36 (d, J=1.5 Hz, 1H)
Further, thermogravimetry-differential thermal analysis (TG-DTA) of PCBAPBA was carried out using a high vacuum differential type differential thermal balance (TG-DTA2410SA, manufactured by Bruker AXS K.K.). The measurement was performed under normal pressure in a stream of nitrogen (at a flow rate of 200 mL/min) at a rate of temperature increase of 10° C./min. From the relationship between the weight and the temperature (thermogravimetry), it was understood that a 5% weight reduction was seen at temperatures of more than 500° C., which is indicative of high thermal stability.
Next, an absorption spectrum of PCBAPBA was measured using an ultraviolet-visible spectrophotometer (V-550,manufactured by JASCO Corporation) at room temperature with the use of a toluene solution. The measurement results are shown in FIG. 29. In FIG. 29, the horizontal axis indicates the wavelength (nm) and the vertical axis indicates the absorption intensity (arbitrary unit). Further, an emission spectrum of PCBAPBA was measured using a fluorescence spectrophotometer (FS920, manufactured by Hamamatsu Photonics Corporation) at room temperature with the use of a toluene solution. The measurement results are shown in FIG. 30. In FIG. 30, the horizontal axis indicates the wavelength (nm) and the vertical axis indicates the emission intensity (arbitrary unit). Absorption of the toluene solution of PCBAPBA was seen at around 373 nm and around 395 nm. The maximum emission wavelength of the toluene solution was 440 nm (an excitation wavelength of 370 nm).
Further, PCBAPBA was deposited by a deposition method, and a thin film of PCBAPA was measured in a similar manner. An absorption spectrum of the thin film of PCBAPA is shown in FIG. 31, and an emission spectrum thereof is shown in FIG. 32. In FIG. 31, the horizontal axis indicates the wavelength (nm) and the vertical axis indicates the absorption intensity (arbitrary unit). In FIG. 32, the horizontal axis indicates the wavelength (nm) and the vertical axis indicates the emission intensity (arbitrary unit). Absorption of the thin film of PCBAPBA was seen at around 267 nm, around 343 nm, around 379 nm, and around 402 nm. The maximum emission wavelength of the toluene solution was 458 nm (an excitation wavelength of 400 nm).
From FIG. 30 and FIG. 32, it can be seen that PCBAPBA emits blue light with high color purity.
[Example 5]
In this example, a light-emitting element of the present invention is described using FIG. 14. Chemical formulae of materials used in this example are shown below.
Figure US08835018-20140916-C00104

(Light-Emitting Element 3)
First, indium tin oxide containing silicon oxide was deposited over a glass substrate 1100 by a sputtering method, whereby a first electrode 1101 was formed. It is to be noted that the film thickness of the first electrode was set to be 110 nm and that the area of the electrode was set to be 2 mm×2 mm.
Next, the substrate over which the first electrode was formed was fixed to a substrate holder provided in a vacuum deposition apparatus so that a surface on which the first electrode was formed faced downward. After the pressure of the vacuum deposition apparatus was reduced to about 10−4 Pa, a layer 1102 containing a composite material of an organic compound and an inorganic compound was formed over the first electrode 1101 by co-deposition of NPB and molybdenum(VI) oxide. The film thickness of the layer 1102 was set to be 50 nm, and the weight ratio of NPB and molybdenum(VI) oxide was adjusted so as to be 4:1(=NPB:molybdenum oxide). It is to be noted that the co-deposition method is a deposition method in which deposition is carried out from a plurality of evaporation sources at the same time in one treatment chamber.
Next, NPB was deposited over the layer 1102 containing a composite material to a thickness of 10 nm by a deposition method using resistive heating, whereby a hole-transporting layer 1103 was formed.
Further, by co-deposition of 9-[4-(10-phenyl-9-anthryl)phenyl]-9H-carbazole (CzPA) and PCBAPBA, a light-emitting layer 1104 was formed over the hole-transporting layer 1103 to a thickness of 30 nm. The weight ratio of CzPA and PCBAPBA was adjusted so as to be 1:0.10(=CzPA:PCBAPBA).
Thereafter, bathophenanthroline (BPhen) was deposited over the light-emitting layer 1104 to a thickness of 30 nm by a deposition method using resistive heating, whereby an electron-transporting layer 1105 was formed.
Furthermore, lithium fluoride (LiF) was deposited over the electron-transporting layer 1105 to a thickness of 1 nm, whereby an electron-injecting layer 1106 is formed.
Lastly, aluminum was deposited over the electron-injecting layer 1106 to a thickness of 200 nm by a deposition method using resistive heating, whereby a second electrode 1107 was formed. Accordingly, a light-emitting element 3 was fabricated.
Current density-luminance characteristics, voltage-luminance characteristics, and luminance-current efficiency characteristics of the light-emitting element 3 are shown in FIG. 33, FIG. 34, and FIG. 35, respectively. Also, the emission spectrum measured at a current of 1 mA is shown in FIG. 36. From FIG. 36, it can be seen that light emitted from the light-emitting element was from PCBA BA. A CIE chromaticity coordinates of the light-emitting element 3 at luminance of 950 cd/2 were (x, y)=(0.15, 0.12), which are indicative of blue light with high color purity. The external quantum efficiency of the light-emitting element 3 measured at luminance of 950 cd/m2 was 3.7%, which is indicative of high external quantum efficiency. From FIG. 35, it can be seen that the current efficiency of the light-emitting element 3 measured at luminance of 950 cd/m2 was 3.9 cd/A, which is indicative of high luminous efficiency. From FIG. 34, the driving voltage of the light-emitting element 3 measured at luminance of 950 cd/m2 was 3.2 V, and a voltage needed to obtain a given luminance is low. Furthermore, the power efficiency of the light-emitting element 3 was 3.9 lm/W, and thus, it is found that power consumption for the light-emitting element 3 is low.
This application is based on Japanese Patent Application serial no. 2007-115079 filed with Japan Patent Office on Apr. 25, 2007,and Japanese Patent Application serial no. 2008-011127 filed with Japan Patent Office on Jan. 22, 2008, the entire contents of which are hereby incorporated by reference.

Claims (15)

What is claimed is:
1. An anthracene derivative represented by a general formula (1),
Figure US08835018-20140916-C00105
wherein Ar1 is a phenyl group,
wherein Ar2 is represented by a structure (Ar-18) or (Ar-19),
Figure US08835018-20140916-C00106
wherein α and β each represent a phenylene group,
wherein R1 represents an alkyl group having 1 to 4 carbon atoms or a substituted or unsubstituted aryl group having 6 to 25 carbon atoms,
wherein R2 represents one of hydrogen, an alkyl group having 1 to 4 carbon atoms, a substituted or unsubstituted aryl group having 6 to 25 carbon atoms, a halogen group, and a haloalkyl group, and
wherein R11 to R18 each represent hydrogen or an alkyl group having 1 to 4 carbon atoms.
2. A light-emitting element comprising a light-emitting layer between a pair of electrodes,
wherein the light-emitting layer includes the anthracene derivative according to claim 1.
3. A light-emitting device comprising the light-emitting element according to claim 2 and a control circuit configured to control light emission from the light-emitting element.
4. The anthracene derivative according to claim 1, wherein the anthracene derivative is represented by a structural formula (108),
Figure US08835018-20140916-C00107
5. The anthracene derivative according to claim 1, wherein the anthracene derivative is represented by a structural formula (109),
Figure US08835018-20140916-C00108
6. An anthracene derivative represented by a general formula (6),
Figure US08835018-20140916-C00109
wherein R1 represents an alkyl group having 1 to 4 carbon atoms or a substituted or unsubstituted aryl group having 6 to 25 carbon atoms,
wherein R2 represents one of hydrogen, an alkyl group having 1 to 4 carbon atoms, a substituted or unsubstituted aryl group having 6 to 25 carbon atoms, a halogen group, and a haloalkyl group,
wherein R3 to R7 each represent one of hydrogen, an alkyl group having 1 to 4 carbon atoms, a halogen group, and a haloalkyl group,
wherein R11 to R18 each represent hydrogen or an alkyl group having 1 to 4 carbon atoms, and
wherein R19 to R27 each represent one of hydrogen, an alkyl group having 1 to 4carbon atoms, and an alkoxy group having 1 to 4 carbon atoms.
7. The anthracene derivative according to claim 6, wherein the anthracene derivative is represented by a structural formula (100),
Figure US08835018-20140916-C00110
8. A light-emitting element comprising a light-emitting layer between a pair of electrodes,
wherein the light-emitting layer includes the organic compound represented by a general formula (8),
Figure US08835018-20140916-C00111
wherein Ar2 represents a substituted or unsubstituted aryl group having 6 to 25 carbon atoms,
wherein β represents a substituted or unsubstituted arylene group having 6 to 25carbon atoms,
wherein R1 represents an alkyl group having 1 to 4 carbon atoms or a substituted or unsubstituted aryl group having 6 to 25 carbon atoms, and
wherein R2 represents one of hydrogen, an alkyl group having 1 to 4 carbon atoms, an unsubstituted aryl group having 6 to 25 carbon atoms, a halogen group, and a haloalkyl group.
9. A light-emitting device comprising the light-emitting element according to claim 8 and a control circuit configured to control light emission from the light-emitting element.
10. An anthracene derivative represented by a general formula (1),
Figure US08835018-20140916-C00112
wherein Ar1 and Ar2 each represent a phenyl group,
wherein α represents a phenylene group,
wherein β is represented by one of the structures (β-1), (β-2), or (β-10),
Figure US08835018-20140916-C00113
wherein R1 is represented by one of the structures (R1-9), (R1-15), (R1-16), or (R1-17),
Figure US08835018-20140916-C00114
wherein R2 represents one of hydrogen, an alkyl group having 1 to 4 carbon atoms, a substituted or unsubstituted aryl group having 6 to 25 carbon atoms, a halogen group, and a haloalkyl group, and
wherein R11 to R18 each represent hydrogen or an alkyl group having 1 to 4 carbon atoms.
11. The anthracene derivative according to claim 10, wherein the anthracene derivative is represented by a structural formula (140),
Figure US08835018-20140916-C00115
12. The anthracene derivative according to claim 10, wherein the anthracene derivative is represented by a structural formula (141),
Figure US08835018-20140916-C00116
13. The anthracene derivative according to claim 10, wherein the anthracene derivative is represented by a structural formula (142),
Figure US08835018-20140916-C00117
14. The anthracene derivative according to claim 10, wherein the anthracene derivative is represented by a structural formula (154),
Figure US08835018-20140916-C00118
15. The anthracene derivative according to claim 10, wherein the anthracene derivative is represented by a structural formula (156),
Figure US08835018-20140916-C00119
US12/055,000 2007-04-25 2008-03-25 Organic compound, anthracene derivative, and light-emitting element, light-emitting device, and electronic device in which the anthracene derivative is used Expired - Fee Related US8835018B2 (en)

Priority Applications (4)

Application Number Priority Date Filing Date Title
US14/482,226 US9461248B2 (en) 2007-04-25 2014-09-10 Organic compound, anthracene derivative, and light-emitting element, light-emitting device, and electronic device in which the anthracene derivative is used
US15/280,394 US9831440B2 (en) 2007-04-25 2016-09-29 Organic compound, anthracene derivative, and light-emitting element, light-emitting device, and electronic device in which the anthracene derivative is used
US15/822,900 US11171292B2 (en) 2007-04-25 2017-11-27 Organic compound, anthracene derivative, and light-emitting element, light-emitting device, and electronic device in which the anthracene derivative is used
US16/993,319 US20200373488A1 (en) 2007-04-25 2020-08-14 Organic compound, anthracene derivative, and light-emitting element, light-emitting device, and electronic device in which the anthracene derivative is used

Applications Claiming Priority (4)

Application Number Priority Date Filing Date Title
JP2007115079 2007-04-25
JP2007-115079 2007-04-25
JP2008011127 2008-01-22
JP2008-011127 2008-01-22

Related Child Applications (1)

Application Number Title Priority Date Filing Date
US14/482,226 Continuation US9461248B2 (en) 2007-04-25 2014-09-10 Organic compound, anthracene derivative, and light-emitting element, light-emitting device, and electronic device in which the anthracene derivative is used

Publications (2)

Publication Number Publication Date
US20080268284A1 US20080268284A1 (en) 2008-10-30
US8835018B2 true US8835018B2 (en) 2014-09-16

Family

ID=39673389

Family Applications (5)

Application Number Title Priority Date Filing Date
US12/055,000 Expired - Fee Related US8835018B2 (en) 2007-04-25 2008-03-25 Organic compound, anthracene derivative, and light-emitting element, light-emitting device, and electronic device in which the anthracene derivative is used
US14/482,226 Active 2028-04-12 US9461248B2 (en) 2007-04-25 2014-09-10 Organic compound, anthracene derivative, and light-emitting element, light-emitting device, and electronic device in which the anthracene derivative is used
US15/280,394 Active US9831440B2 (en) 2007-04-25 2016-09-29 Organic compound, anthracene derivative, and light-emitting element, light-emitting device, and electronic device in which the anthracene derivative is used
US15/822,900 Active 2030-09-11 US11171292B2 (en) 2007-04-25 2017-11-27 Organic compound, anthracene derivative, and light-emitting element, light-emitting device, and electronic device in which the anthracene derivative is used
US16/993,319 Pending US20200373488A1 (en) 2007-04-25 2020-08-14 Organic compound, anthracene derivative, and light-emitting element, light-emitting device, and electronic device in which the anthracene derivative is used

Family Applications After (4)

Application Number Title Priority Date Filing Date
US14/482,226 Active 2028-04-12 US9461248B2 (en) 2007-04-25 2014-09-10 Organic compound, anthracene derivative, and light-emitting element, light-emitting device, and electronic device in which the anthracene derivative is used
US15/280,394 Active US9831440B2 (en) 2007-04-25 2016-09-29 Organic compound, anthracene derivative, and light-emitting element, light-emitting device, and electronic device in which the anthracene derivative is used
US15/822,900 Active 2030-09-11 US11171292B2 (en) 2007-04-25 2017-11-27 Organic compound, anthracene derivative, and light-emitting element, light-emitting device, and electronic device in which the anthracene derivative is used
US16/993,319 Pending US20200373488A1 (en) 2007-04-25 2020-08-14 Organic compound, anthracene derivative, and light-emitting element, light-emitting device, and electronic device in which the anthracene derivative is used

Country Status (6)

Country Link
US (5) US8835018B2 (en)
EP (1) EP1985613B1 (en)
JP (10) JP5553968B2 (en)
KR (3) KR101579918B1 (en)
CN (2) CN103145606B (en)
TW (3) TWI593675B (en)

Cited By (2)

* Cited by examiner, † Cited by third party
Publication number Priority date Publication date Assignee Title
US20150255728A1 (en) * 2009-03-31 2015-09-10 Semiconductor Energy Laboratory Co., Ltd. Carbazole derivative, light-emitting element material, light-emitting element, light-emitting device, electronic device, and lighting device
US9461248B2 (en) 2007-04-25 2016-10-04 Semiconductor Energy Laboratory Co., Ltd. Organic compound, anthracene derivative, and light-emitting element, light-emitting device, and electronic device in which the anthracene derivative is used

Families Citing this family (30)

* Cited by examiner, † Cited by third party
Publication number Priority date Publication date Assignee Title
EP2085382B1 (en) * 2006-11-24 2016-04-20 Idemitsu Kosan Co., Ltd. Aromatic amine derivative and organic electroluminescent element using the same
TWI524567B (en) 2007-09-27 2016-03-01 半導體能源研究所股份有限公司 Light-emitting element, illumination device, illumination device, and electronic device
CN101903346B (en) * 2007-12-21 2013-06-12 株式会社半导体能源研究所 Anthracene derivative and light-emitting material, light-emitting element, light-emitting device, and electronic device using light-emitting device
WO2009116547A1 (en) 2008-03-18 2009-09-24 Semiconductor Energy Laboratory Co., Ltd. Light-emitting element, light-emitting device and electronic device
KR101587867B1 (en) * 2008-03-18 2016-01-22 가부시키가이샤 한도오따이 에네루기 켄큐쇼 Light-emitting element, light-emitting device and electronic device
JP5352304B2 (en) * 2008-04-02 2013-11-27 株式会社半導体エネルギー研究所 Anthracene derivative, light emitting material, light emitting element material, coating composition, light emitting element, and light emitting device
EP2112212B1 (en) * 2008-04-24 2013-05-29 Semiconductor Energy Laboratory Co., Ltd. Anthracene derivative, light-emitting material, material for light-emitting element, composition for coating light-emitting element, light-emitting device, and electronic device
JP5501656B2 (en) 2008-05-16 2014-05-28 株式会社半導体エネルギー研究所 Composition, thin film manufacturing method, and light emitting element manufacturing method
JP5443501B2 (en) * 2008-10-08 2014-03-19 エルジー・ケム・リミテッド Novel compound and organic electronic device using the same
US7960566B2 (en) * 2008-10-17 2011-06-14 Semiconductor Energy Laboratory Co., Ltd. Anthracene derivative and light-emitting devices, electronic devices, and lighting device using the anthracene derivative
US8283055B2 (en) * 2008-10-17 2012-10-09 Semiconductor Energy Laboratory Co., Ltd. Material for light-emitting element, light-emitting element, light-emitting device, electronic device, and lighting device
CN101752514B (en) 2008-12-17 2015-11-25 株式会社半导体能源研究所 Light-emitting component, lighting device, light-emitting device and electronic equipment
US20100156957A1 (en) * 2008-12-19 2010-06-24 Semiconductor Energy Laboratory Co., Ltd. Organic compound, anthracene derivative, and light-emitting elements, light-emitting devices, electronic devices, and lighting devices using the anthracene derivative
TWI583253B (en) * 2009-01-21 2017-05-11 半導體能源研究所股份有限公司 Light-emitting element, light-emitting device and electronic device
TWI525089B (en) * 2009-03-20 2016-03-11 半導體能源研究所股份有限公司 Carbazole derivative with heteroaromatic ring, and light-emitting element, light-emitting device, and electronic device using carbazole derivative with heteroaromatic ring
KR101097313B1 (en) * 2009-08-10 2011-12-23 삼성모바일디스플레이주식회사 Organic light emitting device
JP2011088887A (en) * 2009-09-22 2011-05-06 Semiconductor Energy Lab Co Ltd Halogenated diarylamine compound and method for synthesizing the same
US8283855B2 (en) * 2010-01-11 2012-10-09 Semiconductor Energy Laboratory Co., Ltd. Method for synthesis of anthracene derivative
KR101191644B1 (en) 2010-05-18 2012-10-17 삼성디스플레이 주식회사 Organic Materials and Organic Light Emitting Devices Using the Same
EP2433929B1 (en) 2010-09-27 2013-10-23 Semiconductor Energy Laboratory Co, Ltd. Organic Compound, Light-Emitting Element, Light-Emitting Device, Electronic Device, and Lighting Device
CN102299262A (en) * 2011-07-29 2011-12-28 华北电力大学 Polymer solar cell and preparation method thereof
TWI515936B (en) * 2011-12-15 2016-01-01 友達光電股份有限公司 Light emitting device and manufacturing method thereof
DE102015122845A1 (en) 2015-12-27 2017-06-29 Faro Technologies, Inc. Method for optically scanning and measuring an environment by means of a 3D measuring device and evaluation in the network
US11035980B2 (en) 2018-07-24 2021-06-15 Faro Technologies, Inc. Laser scanner with projector
JP7325731B2 (en) 2018-08-23 2023-08-15 国立大学法人九州大学 organic electroluminescence element
KR102346545B1 (en) 2021-06-28 2021-12-31 김주한 A show concept display device
KR200495938Y1 (en) 2022-03-18 2022-09-23 정은주 Showcase device that opens and closes the front
KR102447454B1 (en) 2022-03-28 2022-09-23 정은주 showcase device
KR102447455B1 (en) 2022-03-28 2022-09-23 정은주 show concept display
KR102447453B1 (en) 2022-03-28 2022-09-23 정은주 showcase device

Citations (17)

* Cited by examiner, † Cited by third party
Publication number Priority date Publication date Assignee Title
JPH09310066A (en) 1996-05-23 1997-12-02 Idemitsu Kosan Co Ltd Organic electroluminescent device
WO2005090512A1 (en) 2004-03-19 2005-09-29 Lg Chem, Ltd. New materials for injecting or transporting holes and organic electroluminescence devices using the same
US20050260442A1 (en) 2004-05-24 2005-11-24 Chen-Ping Yu Anthracene compound for organic electroluminescent device
TW200600565A (en) 2004-03-19 2006-01-01 Lg Chemical Ltd New material for injecting or transporting holes and organic electroluminescence devices using the same
EP1696708A1 (en) * 2003-12-15 2006-08-30 Idemitsu Kosan Co., Ltd. Material for organic electroluminescent device and organic electroluminescent device using same
WO2006104221A1 (en) 2005-03-28 2006-10-05 Semiconductor Energy Laboratory Co., Ltd. Anthracene derivative, material for light emitting element, light emitting element, light emitting device, and electronic device
KR20060134849A (en) 2005-06-22 2006-12-28 가부시키가이샤 한도오따이 에네루기 켄큐쇼 Light emitting devices and electronic devices using light emitting devices
WO2007013537A1 (en) 2005-07-27 2007-02-01 Semiconductor Energy Laboratory Co., Ltd. Anthracene derivative, material for light emitting element, light emitting element, light emitting device, and electronic appliance
JP2007056006A (en) 2005-07-27 2007-03-08 Semiconductor Energy Lab Co Ltd Anthracene derivatives, materials for light emitting elements, light emitting elements, light emitting devices, and electronic devices
JP2007063501A (en) 2005-09-02 2007-03-15 Toray Ind Inc Light emitting device material and light emitting device
WO2007029530A1 (en) 2005-09-02 2007-03-15 Semiconductor Energy Laboratory Co., Ltd. Anthracene derivative
JP2007091721A (en) 2005-09-02 2007-04-12 Semiconductor Energy Lab Co Ltd Anthracene derivative, light-emitting element using the anthracene derivative, light-emitting device, and electronic device
US20070152572A1 (en) 2004-11-26 2007-07-05 Semiconductor Energy Laboratory Co., Ltd. Light-emitting element, light-emitting device, and electronic device
US20070267969A1 (en) 2004-12-28 2007-11-22 Harue Nakashima Anthracene Derivative, Light Emitting Element Using the Same, and Light Emitting Device Using the Same
US7960566B2 (en) * 2008-10-17 2011-06-14 Semiconductor Energy Laboratory Co., Ltd. Anthracene derivative and light-emitting devices, electronic devices, and lighting device using the anthracene derivative
US8278649B2 (en) * 2008-03-18 2012-10-02 Semiconductor Energy Laboratory Co., Ltd. Light-emitting element, light-emitting device and electronic device
US8283055B2 (en) * 2008-10-17 2012-10-09 Semiconductor Energy Laboratory Co., Ltd. Material for light-emitting element, light-emitting element, light-emitting device, electronic device, and lighting device

Family Cites Families (17)

* Cited by examiner, † Cited by third party
Publication number Priority date Publication date Assignee Title
JP3548839B2 (en) * 1998-10-23 2004-07-28 三星エスディアイ株式会社 Organic electroluminescent device using hole transporting luminescent material
US6384529B2 (en) * 1998-11-18 2002-05-07 Eastman Kodak Company Full color active matrix organic electroluminescent display panel having an integrated shadow mask
WO2002011968A2 (en) * 2000-08-04 2002-02-14 Woodbridge Foam Corporation Foam element having molded gas passageways and process for production thereof
TWI373506B (en) 2004-05-21 2012-10-01 Toray Industries Light-emitting element material and light-emitting material
JP5311712B2 (en) 2004-12-28 2013-10-09 株式会社半導体エネルギー研究所 Anthracene derivative and light emitting element and light emitting device using the same
JP2007039431A (en) 2005-03-28 2007-02-15 Semiconductor Energy Lab Co Ltd Anthracene derivatives, materials for light emitting elements, light emitting elements, light emitting devices, and electronic devices
JP2007045816A (en) 2005-07-14 2007-02-22 Semiconductor Energy Lab Co Ltd Carbazole derivative, and material for light-emitting element, light-emitting element, and electronic device obtained using the same
KR101324758B1 (en) 2005-07-14 2013-11-06 가부시키가이샤 한도오따이 에네루기 켄큐쇼 Carbazole derivative and light emitting element material, light emitting element, and electronic appliance obtained using the same
WO2007015407A1 (en) 2005-08-04 2007-02-08 Semiconductor Energy Laboratory Co., Ltd. Carbazole derivative, light-emitting element material obtained by using carbazole derivative, light-emitting element, and electronic device
JP2007063258A (en) 2005-08-04 2007-03-15 Semiconductor Energy Lab Co Ltd Carbazole derivative, and material for light-emitting element, light-emitting element, and electronic device obtained using the same
JP2007091715A (en) * 2005-08-29 2007-04-12 Semiconductor Energy Lab Co Ltd Anthracene derivative, positive hole-transporting material by using the same, light-emitting element, light-emitting device and electronic device
WO2007026587A1 (en) 2005-08-29 2007-03-08 Semiconductor Energy Laboratory Co., Ltd. Anthracene derivative and hole transporting material, light emitting element, and electronic appliance using the same
JP2007115079A (en) 2005-10-21 2007-05-10 Nippon Seiki Co Ltd Driving support apparatus
JP2008011127A (en) 2006-06-28 2008-01-17 Casio Hitachi Mobile Communications Co Ltd Antenna and portable radio
JP2008127290A (en) 2006-11-16 2008-06-05 Bando Chem Ind Ltd Novel carbazole derivatives and their use
JP2008195841A (en) 2007-02-14 2008-08-28 Toray Ind Inc Material for light-emitting element and the resulting light-emitting element
KR101579918B1 (en) 2007-04-25 2015-12-24 가부시키가이샤 한도오따이 에네루기 켄큐쇼 Organic compound anthracene derivative and light emitting element light emitting device and electronic appliance using anthracene derivative

Patent Citations (27)

* Cited by examiner, † Cited by third party
Publication number Priority date Publication date Assignee Title
JPH09310066A (en) 1996-05-23 1997-12-02 Idemitsu Kosan Co Ltd Organic electroluminescent device
EP1696708A1 (en) * 2003-12-15 2006-08-30 Idemitsu Kosan Co., Ltd. Material for organic electroluminescent device and organic electroluminescent device using same
TW200600565A (en) 2004-03-19 2006-01-01 Lg Chemical Ltd New material for injecting or transporting holes and organic electroluminescence devices using the same
WO2005090512A1 (en) 2004-03-19 2005-09-29 Lg Chem, Ltd. New materials for injecting or transporting holes and organic electroluminescence devices using the same
US8198801B2 (en) 2004-03-19 2012-06-12 Lg Chem, Ltd. Materials for injecting or transporting holes and organic electroluminescence devices using the same
US20050225235A1 (en) * 2004-03-19 2005-10-13 Kim Ji E Materials for injecting or transporting holes and organic electroluminescence devices using the same
US20050260442A1 (en) 2004-05-24 2005-11-24 Chen-Ping Yu Anthracene compound for organic electroluminescent device
US20070152572A1 (en) 2004-11-26 2007-07-05 Semiconductor Energy Laboratory Co., Ltd. Light-emitting element, light-emitting device, and electronic device
US20070267969A1 (en) 2004-12-28 2007-11-22 Harue Nakashima Anthracene Derivative, Light Emitting Element Using the Same, and Light Emitting Device Using the Same
WO2006104221A1 (en) 2005-03-28 2006-10-05 Semiconductor Energy Laboratory Co., Ltd. Anthracene derivative, material for light emitting element, light emitting element, light emitting device, and electronic device
US20130320321A1 (en) 2005-06-22 2013-12-05 Semiconductor Energy Laboratory Co., Ltd. Light emitting device and electronic appliance using the same
US8541114B2 (en) 2005-06-22 2013-09-24 Semiconductor Energy Laboratory Co., Ltd. Light emitting device and electronic appliance using the same
US8252434B2 (en) 2005-06-22 2012-08-28 Semiconductor Energy Laboratory Co., Ltd. Light emitting device and electronic appliance using the same
KR20060134849A (en) 2005-06-22 2006-12-28 가부시키가이샤 한도오따이 에네루기 켄큐쇼 Light emitting devices and electronic devices using light emitting devices
US8017252B2 (en) 2005-06-22 2011-09-13 Semiconductor Energy Laboratory Co., Ltd. Light emitting device and electronic appliance using the same
JP2007056006A (en) 2005-07-27 2007-03-08 Semiconductor Energy Lab Co Ltd Anthracene derivatives, materials for light emitting elements, light emitting elements, light emitting devices, and electronic devices
WO2007013537A1 (en) 2005-07-27 2007-02-01 Semiconductor Energy Laboratory Co., Ltd. Anthracene derivative, material for light emitting element, light emitting element, light emitting device, and electronic appliance
US7879464B2 (en) 2005-07-27 2011-02-01 Semiconductor Energy Laboratory Co., Ltd. Anthracene derivative, material for light emitting element, light emitting element, light emitting device, and electronic appliance
US20070075632A1 (en) 2005-09-02 2007-04-05 Semiconductor Energy Laboratory Co., Ltd. Anthracene derivative
EP1928828A1 (en) 2005-09-02 2008-06-11 Semiconductor Energy Laboratory Co., Ltd. Anthracene derivative
JP2007091721A (en) 2005-09-02 2007-04-12 Semiconductor Energy Lab Co Ltd Anthracene derivative, light-emitting element using the anthracene derivative, light-emitting device, and electronic device
WO2007029530A1 (en) 2005-09-02 2007-03-15 Semiconductor Energy Laboratory Co., Ltd. Anthracene derivative
JP2007063501A (en) 2005-09-02 2007-03-15 Toray Ind Inc Light emitting device material and light emitting device
US8686628B2 (en) 2005-09-02 2014-04-01 Semiconductor Energy Laboratory Co., Ltd. Anthracene derivative
US8278649B2 (en) * 2008-03-18 2012-10-02 Semiconductor Energy Laboratory Co., Ltd. Light-emitting element, light-emitting device and electronic device
US7960566B2 (en) * 2008-10-17 2011-06-14 Semiconductor Energy Laboratory Co., Ltd. Anthracene derivative and light-emitting devices, electronic devices, and lighting device using the anthracene derivative
US8283055B2 (en) * 2008-10-17 2012-10-09 Semiconductor Energy Laboratory Co., Ltd. Material for light-emitting element, light-emitting element, light-emitting device, electronic device, and lighting device

Non-Patent Citations (4)

* Cited by examiner, † Cited by third party
Title
Chinese Office Action (Application No. 201210576949.7) Dated Mar. 25, 2014.
European Search Report; Application No. 08005880.3 (EP10548/11210) Dated Aug. 27, 2008-Full English translation.
Jianmin Shi et al., "Anthracene Derivatives for Stable Blue-Emitting Organic Electroluminescence Devices," Applied Physics Letters, vol. 80, No. 17, Apr. 29, 2002, pp. 3201-3203.
Taiwanese Office Action (Application No. 97111177; TW10548/11210) Dated May 17, 2013.

Cited By (5)

* Cited by examiner, † Cited by third party
Publication number Priority date Publication date Assignee Title
US9461248B2 (en) 2007-04-25 2016-10-04 Semiconductor Energy Laboratory Co., Ltd. Organic compound, anthracene derivative, and light-emitting element, light-emitting device, and electronic device in which the anthracene derivative is used
US9831440B2 (en) * 2007-04-25 2017-11-28 Semiconductor Energy Laboratory Co., Ltd. Organic compound, anthracene derivative, and light-emitting element, light-emitting device, and electronic device in which the anthracene derivative is used
US11171292B2 (en) 2007-04-25 2021-11-09 Semiconductor Energy Laboratory Co., Ltd. Organic compound, anthracene derivative, and light-emitting element, light-emitting device, and electronic device in which the anthracene derivative is used
US20150255728A1 (en) * 2009-03-31 2015-09-10 Semiconductor Energy Laboratory Co., Ltd. Carbazole derivative, light-emitting element material, light-emitting element, light-emitting device, electronic device, and lighting device
US9748495B2 (en) 2009-03-31 2017-08-29 Semiconductor Energy Laboratory Co., Ltd. Carbazole derivative, light-emitting element material, light-emitting element, light-emitting device, electronic device, and lighting device

Also Published As

Publication number Publication date
EP1985613A2 (en) 2008-10-29
JP2021046401A (en) 2021-03-25
JP6333334B2 (en) 2018-05-30
JP2026021403A (en) 2026-02-10
JP5785303B2 (en) 2015-09-30
JP2023002539A (en) 2023-01-10
JP2016006883A (en) 2016-01-14
US11171292B2 (en) 2021-11-09
EP1985613A3 (en) 2008-12-17
JP6790167B2 (en) 2020-11-25
CN101293865A (en) 2008-10-29
KR20140071982A (en) 2014-06-12
US20170018711A1 (en) 2017-01-19
US20080268284A1 (en) 2008-10-30
US20150005509A1 (en) 2015-01-01
TWI431095B (en) 2014-03-21
KR101562655B1 (en) 2015-10-22
CN103145606B (en) 2016-08-03
US20200373488A1 (en) 2020-11-26
US20180083191A1 (en) 2018-03-22
KR20140138570A (en) 2014-12-04
JP5553968B2 (en) 2014-07-23
JP2024119914A (en) 2024-09-03
US9831440B2 (en) 2017-11-28
JP2018158920A (en) 2018-10-11
TW200902679A (en) 2009-01-16
JP2019163272A (en) 2019-09-26
EP1985613B1 (en) 2013-05-15
TW201418413A (en) 2014-05-16
TWI499654B (en) 2015-09-11
TW201604184A (en) 2016-02-01
JP6522829B2 (en) 2019-05-29
JP2014205685A (en) 2014-10-30
KR101446254B1 (en) 2014-10-01
CN103145606A (en) 2013-06-12
US9461248B2 (en) 2016-10-04
JP2017038068A (en) 2017-02-16
KR20080095749A (en) 2008-10-29
CN101293865B (en) 2013-03-06
JP2009196970A (en) 2009-09-03
KR101579918B1 (en) 2015-12-24
TWI593675B (en) 2017-08-01

Similar Documents

Publication Publication Date Title
US11171292B2 (en) Organic compound, anthracene derivative, and light-emitting element, light-emitting device, and electronic device in which the anthracene derivative is used
US9136479B2 (en) Organic compound, anthracene derivative, and light-emitting element, light-emitting device, and electronic device using the anthracene derivative
US8603644B2 (en) Anthracene derivative, and light-emitting material, light-emitting element, light-emitting device, and electronic device using the same
US8283055B2 (en) Material for light-emitting element, light-emitting element, light-emitting device, electronic device, and lighting device
US7960566B2 (en) Anthracene derivative and light-emitting devices, electronic devices, and lighting device using the anthracene derivative
US20100156957A1 (en) Organic compound, anthracene derivative, and light-emitting elements, light-emitting devices, electronic devices, and lighting devices using the anthracene derivative

Legal Events

Date Code Title Description
AS Assignment

Owner name: SEMICONDUCTOR ENERGY LABORATORY CO., LTD., JAPAN

Free format text: ASSIGNMENT OF ASSIGNORS INTEREST;ASSIGNORS:KAWAKAMI, SACHIKO;OHSAWA, NOBUHARU;REEL/FRAME:020699/0090

Effective date: 20080321

STCF Information on status: patent grant

Free format text: PATENTED CASE

FEPP Fee payment procedure

Free format text: PAYOR NUMBER ASSIGNED (ORIGINAL EVENT CODE: ASPN); ENTITY STATUS OF PATENT OWNER: LARGE ENTITY

CC Certificate of correction
MAFP Maintenance fee payment

Free format text: PAYMENT OF MAINTENANCE FEE, 4TH YEAR, LARGE ENTITY (ORIGINAL EVENT CODE: M1551)

Year of fee payment: 4

FEPP Fee payment procedure

Free format text: MAINTENANCE FEE REMINDER MAILED (ORIGINAL EVENT CODE: REM.); ENTITY STATUS OF PATENT OWNER: LARGE ENTITY

LAPS Lapse for failure to pay maintenance fees

Free format text: PATENT EXPIRED FOR FAILURE TO PAY MAINTENANCE FEES (ORIGINAL EVENT CODE: EXP.); ENTITY STATUS OF PATENT OWNER: LARGE ENTITY

STCH Information on status: patent discontinuation

Free format text: PATENT EXPIRED DUE TO NONPAYMENT OF MAINTENANCE FEES UNDER 37 CFR 1.362

FP Lapsed due to failure to pay maintenance fee

Effective date: 20220916