US8714816B2 - Temperature sensor with calibrated analog resistive output - Google Patents

Temperature sensor with calibrated analog resistive output Download PDF

Info

Publication number
US8714816B2
US8714816B2 US12/880,102 US88010210A US8714816B2 US 8714816 B2 US8714816 B2 US 8714816B2 US 88010210 A US88010210 A US 88010210A US 8714816 B2 US8714816 B2 US 8714816B2
Authority
US
United States
Prior art keywords
resistance
sensor
thermistor
temperature
patient
Prior art date
Legal status (The legal status is an assumption and is not a legal conclusion. Google has not performed a legal analysis and makes no representation as to the accuracy of the status listed.)
Active, expires
Application number
US12/880,102
Other versions
US20120065540A1 (en
Inventor
Moshe Yarden
David Sergio Matusevich
Current Assignee (The listed assignees may be inaccurate. Google has not performed a legal analysis and makes no representation or warranty as to the accuracy of the list.)
Medisim Ltd
Original Assignee
Medisim Ltd
Priority date (The priority date is an assumption and is not a legal conclusion. Google has not performed a legal analysis and makes no representation as to the accuracy of the date listed.)
Filing date
Publication date
Application filed by Medisim Ltd filed Critical Medisim Ltd
Priority to US12/880,102 priority Critical patent/US8714816B2/en
Assigned to MEDISIM LTD reassignment MEDISIM LTD ASSIGNMENT OF ASSIGNORS INTEREST (SEE DOCUMENT FOR DETAILS). Assignors: Matusevich, David Sergio, YARDEN, MOSHE
Priority to EP11177833A priority patent/EP2428782A2/en
Publication of US20120065540A1 publication Critical patent/US20120065540A1/en
Application granted granted Critical
Publication of US8714816B2 publication Critical patent/US8714816B2/en
Active legal-status Critical Current
Adjusted expiration legal-status Critical

Links

Images

Classifications

    • AHUMAN NECESSITIES
    • A61MEDICAL OR VETERINARY SCIENCE; HYGIENE
    • A61BDIAGNOSIS; SURGERY; IDENTIFICATION
    • A61B5/00Measuring for diagnostic purposes; Identification of persons
    • A61B5/01Measuring temperature of body parts ; Diagnostic temperature sensing, e.g. for malignant or inflamed tissue
    • GPHYSICS
    • G01MEASURING; TESTING
    • G01KMEASURING TEMPERATURE; MEASURING QUANTITY OF HEAT; THERMALLY-SENSITIVE ELEMENTS NOT OTHERWISE PROVIDED FOR
    • G01K13/00Thermometers specially adapted for specific purposes
    • G01K13/20Clinical contact thermometers for use with humans or animals
    • GPHYSICS
    • G01MEASURING; TESTING
    • G01KMEASURING TEMPERATURE; MEASURING QUANTITY OF HEAT; THERMALLY-SENSITIVE ELEMENTS NOT OTHERWISE PROVIDED FOR
    • G01K7/00Measuring temperature based on the use of electric or magnetic elements directly sensitive to heat ; Power supply therefor, e.g. using thermoelectric elements
    • G01K7/16Measuring temperature based on the use of electric or magnetic elements directly sensitive to heat ; Power supply therefor, e.g. using thermoelectric elements using resistive elements
    • G01K7/22Measuring temperature based on the use of electric or magnetic elements directly sensitive to heat ; Power supply therefor, e.g. using thermoelectric elements using resistive elements the element being a non-linear resistance, e.g. thermistor
    • G01K7/24Measuring temperature based on the use of electric or magnetic elements directly sensitive to heat ; Power supply therefor, e.g. using thermoelectric elements using resistive elements the element being a non-linear resistance, e.g. thermistor in a specially-adapted circuit, e.g. bridge circuit
    • G01K7/25Measuring temperature based on the use of electric or magnetic elements directly sensitive to heat ; Power supply therefor, e.g. using thermoelectric elements using resistive elements the element being a non-linear resistance, e.g. thermistor in a specially-adapted circuit, e.g. bridge circuit for modifying the output characteristic, e.g. linearising
    • AHUMAN NECESSITIES
    • A61MEDICAL OR VETERINARY SCIENCE; HYGIENE
    • A61BDIAGNOSIS; SURGERY; IDENTIFICATION
    • A61B2562/00Details of sensors; Constructional details of sensor housings or probes; Accessories for sensors
    • A61B2562/02Details of sensors specially adapted for in-vivo measurements
    • A61B2562/0271Thermal or temperature sensors

Definitions

  • the present invention relates generally to temperature measurement and monitoring, and specifically to methods and systems for non-invasive body temperature measurement.
  • core-body temperature has been measured using invasive devices, such as probes in the esophagus placed close to the heart or probes in the bladder inserted via the urinary tract. Such probes are generally unsuitable for monitoring patients not under anesthesia. Therefore, various non-invasive sensing devices have been developed, which estimate and output the core-body temperature based on body-surface measurements. Devices of this sort are described, for example, in U.S. Pat. No. 7,625,117 and in U.S. Patent Application Publication 2009/0299682, whose disclosures are incorporated herein by reference.
  • Probes of this type were originally developed and standardized by YSI Inc. and include the YSI 400 and YSI 700 types. Such probes include a thermistor sensor, with a calibrated temperature response, and a cable with a standard connector for plugging into the monitor.
  • the vital signs monitor simply measures the resistance value across the output connector of the cable. The monitor calculates and displays the temperature according to the measured resistance and the known calibration curve.
  • U.S. Pat. No. 7,641,390 whose disclosure is incorporated herein by reference, describes a method for digitally controlling the resistive output of a temperature probe.
  • the method uses a temperature sensor, a processor and a means under the control of the processor for modifying the resistive output, such as a digital potentiometer.
  • the processor reads the temperature sensor and adjusts the potentiometer based on a correlative or predictive technique so as to provide a modified output that matches that of a standard resistive temperature probe and is compatible for display on a multi-parameter monitor.
  • Embodiments of the present invention that are described hereinbelow provide temperature sensing devices and methods capable of providing a resistive output that is indicative of a corrected temperature, such as a core-body temperature, using a body-surface temperature sensor and analog resistance conversion circuits.
  • thermometric apparatus including at least one body-surface sensor, which is configured to be placed at a location on a body surface of a patient and generates a sensor output that varies according to a body-surface temperature at the location.
  • a connector is coupled to a patient monitor.
  • Analog conversion circuitry is coupled between the at least one body-surface sensor and the connector and is configured to convert the sensor output into an output resistance across the connector that is indicative of a corrected temperature of the patient.
  • the output resistance is proportional to a core-body temperature of the patient in accordance with a calibration function of a standard invasive temperature probe.
  • the at least one body-surface sensor includes at least one thermistor.
  • the at least one thermistor includes a plurality of thermistors, which are connected to the analog resistance-conversion circuitry in a circuit topology selected so as to implement a conversion function between the thermistor resistance value of the body-surface thermistors and the output resistance.
  • the at least one body-surface sensor includes a substrate on which the thermistors are arranged in a physical interleaving such that the thermistors from different parts of the circuit topology are physically mutually adjacent.
  • the apparatus includes at least one ambient-measurement sensor, which is configured to sense an ambient temperature in a vicinity of the patient and is coupled to the analog resistance-conversion circuitry along with the at least one body-surface sensor in a circuit topology selected so as to implement a conversion function that generates the output resistance.
  • the at least one body-surface sensor and the at least one ambient-measurement sensor together include at least one negative temperature coefficient (NTC) thermistor and at least one positive temperature coefficient (PTC) thermistor.
  • NTC negative temperature coefficient
  • PTC positive temperature coefficient
  • the apparatus includes a cable coupled between the at least one body-surface sensor and the connector, wherein the at least one ambient-measurement sensor is mounted on the cable.
  • the at least one ambient-measurement sensor includes an active circuit for generating a specified functional dependence of the output resistance on the ambient temperature.
  • the active circuit may be a digital circuit.
  • the apparatus includes only passive circuit components.
  • the analog resistance-conversion circuitry includes a network of resistors coupled to the at least one sensor.
  • the analog resistance-conversion circuitry includes a photoresistor and an optoemitter, which is coupled to drive the photoresistor in response to a thermistor resistance value.
  • the apparatus includes a skin patch, which contains the at least one sensor and at least a part of the analog resistance-conversion circuitry and is configured to be affixed to the body surface of the patient.
  • the apparatus includes a wireless transmitter, which is coupled to the body-surface sensor so as to generate and transmit over the air a signal indicative of the sensor output, and a wireless receiver, which is coupled to the connector so as to receive the signal and to cause the output resistance to be generated across the connector responsively to the signal.
  • thermometry including placing at a location on a body surface of a patient at least one body-surface sensor, which generates a sensor output that varies according to a body-surface temperature at the location.
  • Analog resistance-conversion circuitry is coupled to the at least one body-surface thermistor so as to convert the thermistor resistance value into an output resistance that is indicative of a corrected temperature of the patient.
  • the output resistance is coupled to an input of a patient monitor.
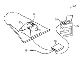
  • FIG. 1 is a schematic, pictorial illustration of a system for patient monitoring, in accordance with an embodiment of the present invention
  • FIGS. 2A and 2B are schematic, pictorial illustrations of systems for patient monitoring, in accordance with other embodiments of the present invention.
  • FIGS. 3-6 are schematic circuit diagrams of temperature measurement devices, in accordance with embodiments of the present invention.
  • FIG. 7 is a schematic circuit diagram of an ambient sensing probe, in accordance with an embodiment of the present invention.
  • FIG. 8A is a schematic frontal view of a temperature sensing patch, in accordance with an embodiment of the present invention.
  • FIG. 8B is a schematic circuit diagram of the patch of FIG. 8A ;
  • FIG. 9 is a schematic circuit diagram of a temperature sensing patch, in accordance with another embodiment of the present invention.
  • Embodiments of the present invention that are described hereinbelow apply this sort of conversion function using analog resistance-conversion circuitry.
  • This circuitry is coupled to at least one body-surface sensor, such as a thermistor, and possibly to an ambient-measurement sensor, as well, in a certain circuit topology together with other analog components.
  • the topology and components are chosen so that the output resistance of the circuitry is indicative of a corrected temperature, typically the core-body temperature of the patient.
  • the circuitry is arranged to give, on the basis of a body-surface thermistor, approximately the same output resistance as would an invasive thermistor probe in the patient's body.
  • the resistance conversion is performed directly, without any need to convert the measured resistance values into digital form and then re-convert the digital values back to resistance.
  • the analog resistance-conversion circuitry is coupled to a cable with a standard connector for plugging into a patient monitor.
  • the patient monitoring system will then properly display the core body temperature, based on the output resistance across the connector, without requiring any additional calibration or modification to the system, despite the resistance reading having been provided by a body-surface thermistor.
  • the disclosed embodiments thus provide simple, inexpensive means for deriving core-body temperature readings from body-surface sensors, which are fully backward-compatible with existing monitoring systems.
  • FIG. 1 is a schematic, pictorial illustration of a patient monitoring system 20 , in accordance with an embodiment of the present invention.
  • the system typically monitors multiple physiological parameters of a patient 22 in an operating room or hospital ward, but only the parts of the system that are involved in temperature measurement are shown here.
  • a temperature-sensing patch 24 is affixed to the patient's body surface, such as to the skin of the patient's forehead or elsewhere on the body.
  • Patch 24 comprises one or more thermistors, which measure the body-surface temperature, along with analog resistance-conversion circuitry and possibly one or more ambient-measurement thermistors. (These elements are not shown in FIG. 1 but are described in detail below.)
  • an ambient sensing probe 31 may optionally be mounted on a cable 26 connected to patch 24 .
  • Patch 24 is connected via cable 26 to a connector 28 , which terminates the cable and plugs into a patient monitor 30 .
  • the patient monitor typically comprises a computer processor, with suitable input circuits for receiving signals from various physiological sensors.
  • the input circuits include a standard receptacle for receiving plug 28 .
  • Monitor 30 measures the resistance across plug 28 and converts the resistance to a core temperature value according to a pre-programmed calibration function.
  • the monitor typically displays the resulting temperature measurement and may also track the value over time and issue alarms when the temperature moves outside a preset safety range.
  • FIG. 2A is a schematic, pictorial illustration of a patient monitoring system 32 , in accordance with an embodiment of the present invention.
  • the principles of operation of system 32 are similar to those of system 20 , as described above, but in system 32 a temperature-sensing patch 34 on the patient's body measures only the body-surface temperature (or temperatures) and possible other vital signs.
  • Analog resistance-conversion circuitry 36 is contained in a separate enclosure and is connected by a cable to patch 34 .
  • An ambient sensing probe 38 contains one or more ambient-measurement thermistors. Patch 34 and probe 38 are connected via cables to circuitry 36 . Alternatively, ambient sensing probe 38 may be mounted on the enclosure of circuitry 36 .
  • FIG. 2B is a schematic, pictorial illustration of system 32 in an alternative configuration, in accordance with another embodiment of the present invention.
  • a bedside unit 33 receives signals from patch 34 and from an ambient sensing probe 39 .
  • a radio frequency (RF) transmitter 35 in or connected to unit 33 generates a wireless signal to a receiver 37 .
  • bedside unit 33 may transmit other sorts of wireless signals, such as an infrared signal.
  • some or all of the elements of unit 33 may be integrated in patch 34 .
  • Transmitter 35 modulates the signal to indicate the resistance values output by patch 34 and probe 39 .
  • Receiver 37 demodulates the signal and generates the appropriate analog output resistance across connector 28 .
  • analog resistance-conversion circuitry 36 may be integrated with patch 34 .
  • one or more ambient-measurement thermistors may be integrated with patch 34 , thus obviating probe 38 , while circuitry 36 is housed in a separate unit.
  • ambient probe 38 or 39 may comprise digital processing circuitry (while patch 34 remains fully analog). This configuration provides added flexibility in generating the ambient correction component in the appropriate proportion and polarity relative to the body-surface measurement, while maintaining the simplicity and reliability of the all-analog body-surface patch.
  • FIG. 3 is a schematic circuit diagram of a temperature monitoring device 40 , in accordance with an embodiment of the present invention.
  • Device 40 comprises a body-surface probe 42 (such as a skin patch) and an ambient sensing probe 46 , which may be integrated with the body surface probe or the cable or contained in a separate unit, as illustrated in FIGS. 1 , 2 A and 2 B.
  • Probe 42 contains at least one body-surface thermistor 44 , which has a variable resistance value R skin that is indicative of the body-surface temperature.
  • Probe 46 similarly contains at least one ambient-measurement thermistor 48 , which has a variable resistance value R amb , which is indicative of the ambient temperature.
  • thermistor 48 may, in some embodiments, be replaced by a fixed resistor of appropriate value. Alternatively, thermistor 48 may be replaced by a set of two or more selectable resistors with a switch, which a user of the device can set depending on the ambient temperature range. Further alternatively, the switch may be set automatically, using a thermostat, for example.
  • Thermistors 44 and 48 are connected to analog resistance-conversion circuitry 50 , which has a circuit topology and components that are arranged to generate an output resistance R out across terminals 52 , which connect to plug 28 .
  • the values of A, B and R c are typically chosen based on the correspondence between the core-body temperature and the skin and ambient temperatures, so that R out is approximately equal to the output resistance that would be generated by a standard invasive thermistor probe (such as a YSI 400 or YSI 700-type probe) under these conditions.
  • body-surface thermistor 44 is a negative temperature coefficient (NTC) thermistor
  • ambient-measurement thermistor 48 may be a positive temperature coefficient (PTC) thermistor if the coefficient B in the above equation is negative.
  • PTC positive temperature coefficient
  • a NTC thermistor may be used with a digital circuit to generate an ambient temperature correction of the desired sign.
  • device 40 may alternatively comprise multiple body-surface and/or ambient-measurement thermistors, in series or in parallel, in order to implement multiplication by A and B.
  • the use of an array of thermistors is also helpful in averaging out local temperature variations over the skin surface. ( FIGS. 8A and 8B show an embodiment that takes advantage of this feature.)
  • Temperature sensing devices in accordance with the principles outlined above may comprise only analog passive circuit components (including the thermistors), such as a network of resistors.
  • active analog components may also be used.
  • the temperature sensing device may comprise a digitally-controlled circuit, which converts an analog sensor value (such as a resistance or voltage) into a digital value, which is then processed and converted to a resistance value to be combined with the analog resistance output of the body-surface temperature sensor.
  • an analog sensor value such as a resistance or voltage
  • Other characteristics of the human body can similarly be measured and converted to resistance values, which can be incorporated into the core body temperature output. These characteristics may include blood perfusion, pulse, and/or blood pressure, for example, can be processed in a similar manner to the ambient temperature values.
  • the following procedure may be used to calculate the resistive values used in a temperature monitoring device such as device 40 :
  • circuit described by the previous equations should desirably represent the best possible approximation of the function produced in the previous step. More complicated functions, such as higher-order polynomials, can be represented using active analog circuits, if the function that relates the core temperature to the measured parameters is more complex than a linear function.
  • the particular values of the components may be adjusted to satisfy the requirements of the output, such as compliance with the YSI 400 standard core-body temperature/resistance relations.
  • R ⁇ T 3 + ⁇ T 2 + ⁇ T+ ⁇
  • the component values may be optimized by fitting the output resistance to the standard core-body temperature/resistance relations using the least-squares method or variational techniques.
  • Parameters other than temperatures, such as the local blood flow and the fat content of the patient are also known to have a role in the relation between body-surface and core-body temperatures. These parameters can also be represented using selectable resistive values in analog resistance-conversion circuitry 50 , and can thus be taken into consideration in generating R out to represent the core-body temperature with greater accuracy.
  • device 40 may be adjustable to simulate different types of outputs, such as emulating the response of an esophageal temperature probe or a urinary temperature probe.
  • the adjustment may be made, for example, by flipping a hardware switch between resistor configurations corresponding to different emulation models.
  • FIGS. 4 and 5 are schematic circuit diagrams of temperature measurement devices 54 and 62 , respectively, in accordance with embodiments of the present invention.
  • Device 54 illustrates a series circuit configuration, in which the resistance values of body-surface probe 42 and ambient sensing probe 46 are added together along with a constant series resistance 60 , R bias .
  • parallel resistances 56 and 58 with values R 1 and R 2 , moderate the resistance values of body-surface and ambient-measurement thermistors 44 and 48 .
  • body-surface probe 42 and ambient sensing probe 46 are arranged in parallel, while respective resistances 56 and 58 are in series with thermistors 44 and 48 .
  • FIGS. 4 and 5 are shown solely by way of example, and other, more complex topologies, which may combine parallel and serial features, may also be used. Furthermore, as shown in the examples that follow, it may be advantageous to use multiple thermistors in a parallel and/or serial network, instead of or in addition to resistors 56 and 58 .
  • FIG. 6 is a schematic circuit diagram of a temperature measurement device 70 , in accordance with another embodiment of the present invention.
  • body-surface probe 42 comprises multiple, identical thermistors 72 , 74 and 76 in a series/parallel network.
  • Ambient sensing probe 46 in this embodiment (and, typically, in the preceding embodiments, as well) comprises a single PTC thermistor 78 , but in alternative embodiments, the ambient sensing probe may likewise comprises multiple thermistors.
  • the thermistors in both of probes 42 and 46 may be arranged in parallel, in series, or in a combined series/parallel topology, such as that shown in FIG. 6 .
  • the resistance of the parallel/serial network of thermistors 72 , 74 , 76 is 0.66 times the resistance of a single one of the thermistors.
  • Other topologies can be used to realize other coefficient values for both R skin and R ambient .
  • R bias is provided by the value of resistor 60 .
  • the temperature of the skin is 33° C.
  • the resistance of standard NTC thermistors 72 , 74 and 76 is 1600 ⁇ , so that the resistance of probe 42 is 1067 ⁇ .
  • the value of resistance equivalent to 37° C. is 1357 ⁇ . Therefore, the combination of R ambient at 25° C. with R bias should be about 300 ⁇ .
  • the bias resistance is chosen to give the desired sum.
  • FIG. 7 is a schematic circuit diagram of an ambient temperature sensing probe 80 , in accordance with an embodiment of the present invention. This circuit may be used in place of probe 46 in device 70 ( FIG. 6 ), for example, in order to give more precise control over the R ambient term in the total output resistance of the device.
  • a voltage regulator 84 provides a Vcc voltage level, such as 3.3 volts, to a pair of resistive voltage dividers, one of which is controlled by a NTC thermistor 82 .
  • the voltage difference between the central nodes of the two voltage dividers is amplified by a differential amplifier 86 and drives an optocoupler 90 through a current buffer 88 .
  • the optocoupler comprises an optoemitter 92 , such as a light-emitting diode (LED), which irradiates a photoresistor 94 with a flux level dictated by the driving current.
  • the photoresistor is coupled in series between body-surface probe 42 and connector 28 to monitor 30 ( FIGS. 1 and 2 ).
  • a parallel resistor 95 may be added for adjustment.
  • probe 80 provides a resistance on photoresistor 94 that varies with the ambient temperature, with a slope that can be adjusted by appropriate choice of resistors and amplifier gain.
  • This probe circuit can be arranged to emulate either a positive or a negative temperature coefficient.
  • FIGS. 8A and 8B schematically illustrate a temperature sensing patch 98 , in accordance with another embodiment of the present invention.
  • FIG. 8A is a frontal view of the patch, while FIG. 8B shows the electrical circuit embodied in the patch.
  • Patch 98 comprises six thermistors 102 (labeled R 1 , . . . , R 6 ), which are mounted on a flexible printed circuit substrate 100 .
  • the thermistors are interconnected by conductors 104 on the substrate, defining the circuit shown in FIG. 8B . Assuming the thermistors all to have equal resistance R, an output resistance equal to 2 ⁇ 3 R will be measured at terminals 106 of the patch.
  • Patch 98 is typically used in conjunction with a suitable ambient sensing probe, as described above; but in an alternative embodiment, without ambient corrections, terminals 106 may be connected directly to plug 28 .
  • thermistors 102 on substrate 100 do not directly reflect their topological locations in the circuit. Rather, thermistors from different parts of the circuit are interleaved, so that thermistors from different parts of the circuit topology are physically mutually adjacent. This interleaving is useful in providing accurate body-surface temperature measurements, notwithstanding local variations in the skin temperature, which commonly occur. Thus, if the patient's skin under the left side of patch 98 in FIG. 8A is warmer than the right side, for example, the higher temperature will be felt mainly in thermistors R 1 and R 2 , and the effect will be spread roughly equally over the upper and lower sub-networks in FIG. 8B .
  • FIG. 9 is a schematic circuit diagram of a temperature sensing patch 110 , in accordance with another embodiment of the present invention.
  • the output resistance across terminals 106 will be 3 ⁇ 4 R.
  • the physical locations of the thermistors in the patch may be as shown in FIG. 8A (with a different layout of conductors 104 ), or may use another interleaving.

Landscapes

  • Physics & Mathematics (AREA)
  • Life Sciences & Earth Sciences (AREA)
  • Health & Medical Sciences (AREA)
  • General Physics & Mathematics (AREA)
  • Biomedical Technology (AREA)
  • Molecular Biology (AREA)
  • Pathology (AREA)
  • Engineering & Computer Science (AREA)
  • Nonlinear Science (AREA)
  • Heart & Thoracic Surgery (AREA)
  • Medical Informatics (AREA)
  • Biophysics (AREA)
  • Surgery (AREA)
  • Animal Behavior & Ethology (AREA)
  • General Health & Medical Sciences (AREA)
  • Public Health (AREA)
  • Veterinary Medicine (AREA)
  • Measuring And Recording Apparatus For Diagnosis (AREA)

Abstract

Thermometric apparatus includes at least one body-surface sensor, which is configured to be placed at a location on a body surface of a patient and generates a sensor output that varies according to a body-surface temperature at the location. Analog conversion circuitry is coupled between the at least one body-surface sensor and a connector for coupling to a patient monitor. The circuitry is configured to convert the sensor output into an output resistance across the connector that is indicative of a corrected temperature of the patient.

Description

FIELD OF THE INVENTION
The present invention relates generally to temperature measurement and monitoring, and specifically to methods and systems for non-invasive body temperature measurement.
BACKGROUND OF THE INVENTION
Continuous, accurate measurement of core-body temperature is an important tool in monitoring the well-being of a patient. Traditionally, core-body temperature has been measured using invasive devices, such as probes in the esophagus placed close to the heart or probes in the bladder inserted via the urinary tract. Such probes are generally unsuitable for monitoring patients not under anesthesia. Therefore, various non-invasive sensing devices have been developed, which estimate and output the core-body temperature based on body-surface measurements. Devices of this sort are described, for example, in U.S. Pat. No. 7,625,117 and in U.S. Patent Application Publication 2009/0299682, whose disclosures are incorporated herein by reference.
Many vital signs monitors include a standard plug for connecting to a thermistor-based temperature probe. Probes of this type were originally developed and standardized by YSI Inc. and include the YSI 400 and YSI 700 types. Such probes include a thermistor sensor, with a calibrated temperature response, and a cable with a standard connector for plugging into the monitor. The vital signs monitor simply measures the resistance value across the output connector of the cable. The monitor calculates and displays the temperature according to the measured resistance and the known calibration curve.
U.S. Pat. No. 7,641,390, whose disclosure is incorporated herein by reference, describes a method for digitally controlling the resistive output of a temperature probe. The method uses a temperature sensor, a processor and a means under the control of the processor for modifying the resistive output, such as a digital potentiometer. In one embodiment, the processor reads the temperature sensor and adjusts the potentiometer based on a correlative or predictive technique so as to provide a modified output that matches that of a standard resistive temperature probe and is compatible for display on a multi-parameter monitor.
SUMMARY OF THE INVENTION
Embodiments of the present invention that are described hereinbelow provide temperature sensing devices and methods capable of providing a resistive output that is indicative of a corrected temperature, such as a core-body temperature, using a body-surface temperature sensor and analog resistance conversion circuits.
There is therefore provided, in accordance with an embodiment of the present invention, thermometric apparatus, including at least one body-surface sensor, which is configured to be placed at a location on a body surface of a patient and generates a sensor output that varies according to a body-surface temperature at the location. A connector is coupled to a patient monitor. Analog conversion circuitry is coupled between the at least one body-surface sensor and the connector and is configured to convert the sensor output into an output resistance across the connector that is indicative of a corrected temperature of the patient.
Typically, the output resistance is proportional to a core-body temperature of the patient in accordance with a calibration function of a standard invasive temperature probe.
In disclosed embodiments, the at least one body-surface sensor includes at least one thermistor. In some embodiments, the at least one thermistor includes a plurality of thermistors, which are connected to the analog resistance-conversion circuitry in a circuit topology selected so as to implement a conversion function between the thermistor resistance value of the body-surface thermistors and the output resistance. In one embodiment, the at least one body-surface sensor includes a substrate on which the thermistors are arranged in a physical interleaving such that the thermistors from different parts of the circuit topology are physically mutually adjacent.
In some embodiments, the apparatus includes at least one ambient-measurement sensor, which is configured to sense an ambient temperature in a vicinity of the patient and is coupled to the analog resistance-conversion circuitry along with the at least one body-surface sensor in a circuit topology selected so as to implement a conversion function that generates the output resistance. In one embodiment, the at least one body-surface sensor and the at least one ambient-measurement sensor together include at least one negative temperature coefficient (NTC) thermistor and at least one positive temperature coefficient (PTC) thermistor. Additionally or alternatively, the apparatus includes a cable coupled between the at least one body-surface sensor and the connector, wherein the at least one ambient-measurement sensor is mounted on the cable.
In some embodiments, the at least one ambient-measurement sensor includes an active circuit for generating a specified functional dependence of the output resistance on the ambient temperature. The active circuit may be a digital circuit.
Alternatively, the apparatus includes only passive circuit components. In one embodiment, the analog resistance-conversion circuitry includes a network of resistors coupled to the at least one sensor.
In another embodiment, the analog resistance-conversion circuitry includes a photoresistor and an optoemitter, which is coupled to drive the photoresistor in response to a thermistor resistance value.
In a disclosed embodiment, the apparatus includes a skin patch, which contains the at least one sensor and at least a part of the analog resistance-conversion circuitry and is configured to be affixed to the body surface of the patient.
In another embodiment, the apparatus includes a wireless transmitter, which is coupled to the body-surface sensor so as to generate and transmit over the air a signal indicative of the sensor output, and a wireless receiver, which is coupled to the connector so as to receive the signal and to cause the output resistance to be generated across the connector responsively to the signal.
There is also provided, in accordance with an embodiment of the present invention, a method for thermometry, including placing at a location on a body surface of a patient at least one body-surface sensor, which generates a sensor output that varies according to a body-surface temperature at the location. Analog resistance-conversion circuitry is coupled to the at least one body-surface thermistor so as to convert the thermistor resistance value into an output resistance that is indicative of a corrected temperature of the patient. The output resistance is coupled to an input of a patient monitor.
The present invention will be more fully understood from the following detailed description of the embodiments thereof, taken together with the drawings in which:
BRIEF DESCRIPTION OF THE DRAWINGS
FIG. 1 is a schematic, pictorial illustration of a system for patient monitoring, in accordance with an embodiment of the present invention;
FIGS. 2A and 2B are schematic, pictorial illustrations of systems for patient monitoring, in accordance with other embodiments of the present invention;
FIGS. 3-6 are schematic circuit diagrams of temperature measurement devices, in accordance with embodiments of the present invention;
FIG. 7 is a schematic circuit diagram of an ambient sensing probe, in accordance with an embodiment of the present invention;
FIG. 8A is a schematic frontal view of a temperature sensing patch, in accordance with an embodiment of the present invention;
FIG. 8B is a schematic circuit diagram of the patch of FIG. 8A; and
FIG. 9 is a schematic circuit diagram of a temperature sensing patch, in accordance with another embodiment of the present invention.
DETAILED DESCRIPTION OF EMBODIMENTS
As noted in the Background, many existing patient monitoring systems are factory-configured to receive a resistive temperature reading. These systems were designed and calibrated to operate with standard invasive thermistor probes, such as a YSI 400 or YSI 700-type probe, and to convert the output resistance of the probe directly into a core temperature reading. A body-surface thermistor probe could also be plugged into the monitoring system, but the temperature reading that it gives will not accurately reflect the core body temperature. Deriving the core-body temperature from the measured body-surface temperature typically requires application of a conversion function, which may include the ambient temperature, as well as multiplicative and/or additive factors.
Embodiments of the present invention that are described hereinbelow apply this sort of conversion function using analog resistance-conversion circuitry. This circuitry is coupled to at least one body-surface sensor, such as a thermistor, and possibly to an ambient-measurement sensor, as well, in a certain circuit topology together with other analog components. The topology and components are chosen so that the output resistance of the circuitry is indicative of a corrected temperature, typically the core-body temperature of the patient. In other words, the circuitry is arranged to give, on the basis of a body-surface thermistor, approximately the same output resistance as would an invasive thermistor probe in the patient's body. The resistance conversion is performed directly, without any need to convert the measured resistance values into digital form and then re-convert the digital values back to resistance.
The analog resistance-conversion circuitry is coupled to a cable with a standard connector for plugging into a patient monitor. The patient monitoring system will then properly display the core body temperature, based on the output resistance across the connector, without requiring any additional calibration or modification to the system, despite the resistance reading having been provided by a body-surface thermistor. The disclosed embodiments thus provide simple, inexpensive means for deriving core-body temperature readings from body-surface sensors, which are fully backward-compatible with existing monitoring systems.
FIG. 1 is a schematic, pictorial illustration of a patient monitoring system 20, in accordance with an embodiment of the present invention. The system typically monitors multiple physiological parameters of a patient 22 in an operating room or hospital ward, but only the parts of the system that are involved in temperature measurement are shown here. A temperature-sensing patch 24 is affixed to the patient's body surface, such as to the skin of the patient's forehead or elsewhere on the body. Patch 24 comprises one or more thermistors, which measure the body-surface temperature, along with analog resistance-conversion circuitry and possibly one or more ambient-measurement thermistors. (These elements are not shown in FIG. 1 but are described in detail below.) Alternatively, an ambient sensing probe 31 may optionally be mounted on a cable 26 connected to patch 24.
Patch 24 is connected via cable 26 to a connector 28, which terminates the cable and plugs into a patient monitor 30. The patient monitor typically comprises a computer processor, with suitable input circuits for receiving signals from various physiological sensors. The input circuits include a standard receptacle for receiving plug 28. Monitor 30 measures the resistance across plug 28 and converts the resistance to a core temperature value according to a pre-programmed calibration function. The monitor typically displays the resulting temperature measurement and may also track the value over time and issue alarms when the temperature moves outside a preset safety range.
FIG. 2A is a schematic, pictorial illustration of a patient monitoring system 32, in accordance with an embodiment of the present invention. The principles of operation of system 32 are similar to those of system 20, as described above, but in system 32 a temperature-sensing patch 34 on the patient's body measures only the body-surface temperature (or temperatures) and possible other vital signs. Analog resistance-conversion circuitry 36 is contained in a separate enclosure and is connected by a cable to patch 34. An ambient sensing probe 38 contains one or more ambient-measurement thermistors. Patch 34 and probe 38 are connected via cables to circuitry 36. Alternatively, ambient sensing probe 38 may be mounted on the enclosure of circuitry 36.
FIG. 2B is a schematic, pictorial illustration of system 32 in an alternative configuration, in accordance with another embodiment of the present invention. In this embodiment, a bedside unit 33 receives signals from patch 34 and from an ambient sensing probe 39. A radio frequency (RF) transmitter 35 in or connected to unit 33 generates a wireless signal to a receiver 37. (Alternatively, bedside unit 33 may transmit other sorts of wireless signals, such as an infrared signal. Further alternatively or additionally, some or all of the elements of unit 33 may be integrated in patch 34.) Transmitter 35 modulates the signal to indicate the resistance values output by patch 34 and probe 39. Receiver 37 demodulates the signal and generates the appropriate analog output resistance across connector 28.
In other embodiments, not shown in the figures, alternative system configurations may be used. For example, analog resistance-conversion circuitry 36 may be integrated with patch 34. Alternatively, one or more ambient-measurement thermistors may be integrated with patch 34, thus obviating probe 38, while circuitry 36 is housed in a separate unit.
As another alternative, ambient probe 38 or 39 may comprise digital processing circuitry (while patch 34 remains fully analog). This configuration provides added flexibility in generating the ambient correction component in the appropriate proportion and polarity relative to the body-surface measurement, while maintaining the simplicity and reliability of the all-analog body-surface patch.
FIG. 3 is a schematic circuit diagram of a temperature monitoring device 40, in accordance with an embodiment of the present invention. FIG. 3 presents a conceptual picture of the elements of such a device, while the figures that follow show more specific designs. Device 40 comprises a body-surface probe 42 (such as a skin patch) and an ambient sensing probe 46, which may be integrated with the body surface probe or the cable or contained in a separate unit, as illustrated in FIGS. 1, 2A and 2B. Probe 42 contains at least one body-surface thermistor 44, which has a variable resistance value Rskin that is indicative of the body-surface temperature. Probe 46 similarly contains at least one ambient-measurement thermistor 48, which has a variable resistance value Ramb, which is indicative of the ambient temperature.
Alternatively, because the ambient resistance value Ramb typically makes only a small contribution (relative to Rskin) to the core-body temperature output of device 40, thermistor 48 may, in some embodiments, be replaced by a fixed resistor of appropriate value. Alternatively, thermistor 48 may be replaced by a set of two or more selectable resistors with a switch, which a user of the device can set depending on the ambient temperature range. Further alternatively, the switch may be set automatically, using a thermostat, for example.
Thermistors 44 and 48 are connected to analog resistance-conversion circuitry 50, which has a circuit topology and components that are arranged to generate an output resistance Rout across terminals 52, which connect to plug 28. The output resistance is typically a linear combination of the form Rout=A*Rskin+B*Ramb+Rc, wherein A and B are multiplicative coefficients and Rc is an additive constant bias resistance. The values of A, B and Rc are typically chosen based on the correspondence between the core-body temperature and the skin and ambient temperatures, so that Rout is approximately equal to the output resistance that would be generated by a standard invasive thermistor probe (such as a YSI 400 or YSI 700-type probe) under these conditions. Typically, body-surface thermistor 44 is a negative temperature coefficient (NTC) thermistor, but ambient-measurement thermistor 48 may be a positive temperature coefficient (PTC) thermistor if the coefficient B in the above equation is negative. (Alternatively, a NTC thermistor may be used with a digital circuit to generate an ambient temperature correction of the desired sign.)
Although only a single body-surface thermistor and a single ambient-measurement thermistor are shown in FIG. 3, device 40 may alternatively comprise multiple body-surface and/or ambient-measurement thermistors, in series or in parallel, in order to implement multiplication by A and B. The use of an array of thermistors is also helpful in averaging out local temperature variations over the skin surface. (FIGS. 8A and 8B show an embodiment that takes advantage of this feature.)
Temperature sensing devices in accordance with the principles outlined above may comprise only analog passive circuit components (including the thermistors), such as a network of resistors. Optionally, active analog components may also be used. As another option, the temperature sensing device may comprise a digitally-controlled circuit, which converts an analog sensor value (such as a resistance or voltage) into a digital value, which is then processed and converted to a resistance value to be combined with the analog resistance output of the body-surface temperature sensor. Other characteristics of the human body can similarly be measured and converted to resistance values, which can be incorporated into the core body temperature output. These characteristics may include blood perfusion, pulse, and/or blood pressure, for example, can be processed in a similar manner to the ambient temperature values.
The following procedure may be used to calculate the resistive values used in a temperature monitoring device such as device 40:
    • First the appropriate functional relationship is found between the skin temperature and the core temperature T, taking into account other factors influencing this relationship, such as ambient temperature, humidity and/or physical characteristics of the patient: T=α×Tskin+β×Tambient+γ×S+Bias, wherein S may be any physical characteristic of the human body.
    • Then this functional relationship is translated into a resistive circuit as illustrated by the following examples:
    • Say, for instance, that we can represent the core temperature using the formula:
      T CORE =α×T S +β×T AMB
    • wherein TS is the skin temperature, TAMB is the ambient temperature and α,β,γ are constants.
    • Using standard YSI calibration functions, temperatures can be written in terms of thermistor resistances. Over a certain limited range of temperatures, these functions can be written as linear functions of the form:
      p 1(R CORE)=α×q 1(R S)+β×r 1(R AMB)+γ
    • Therefore we can write that:
      R CORE =A×R S +B×R AMB +C
    • for a limited range of temperatures and for some constants A,B,C. These constants can be determined from experimental data by minimizing the functional:
      ε=Σ(R CORE −A×R S +B×R AMB +C)2
    • The minimization is accomplished when
ε A = ε B = ε C = 0.
The circuit described by the previous equations should desirably represent the best possible approximation of the function produced in the previous step. More complicated functions, such as higher-order polynomials, can be represented using active analog circuits, if the function that relates the core temperature to the measured parameters is more complex than a linear function.
After the design of the circuit is finalized, the particular values of the components may be adjusted to satisfy the requirements of the output, such as compliance with the YSI 400 standard core-body temperature/resistance relations. R=α×T3+β×T2+γ×T+δ For example, the component values may be optimized by fitting the output resistance to the standard core-body temperature/resistance relations using the least-squares method or variational techniques. Parameters other than temperatures, such as the local blood flow and the fat content of the patient, are also known to have a role in the relation between body-surface and core-body temperatures. These parameters can also be represented using selectable resistive values in analog resistance-conversion circuitry 50, and can thus be taken into consideration in generating Rout to represent the core-body temperature with greater accuracy.
Additionally or alternatively, device 40 may be adjustable to simulate different types of outputs, such as emulating the response of an esophageal temperature probe or a urinary temperature probe. The adjustment may be made, for example, by flipping a hardware switch between resistor configurations corresponding to different emulation models.
FIGS. 4 and 5 are schematic circuit diagrams of temperature measurement devices 54 and 62, respectively, in accordance with embodiments of the present invention. Device 54 illustrates a series circuit configuration, in which the resistance values of body-surface probe 42 and ambient sensing probe 46 are added together along with a constant series resistance 60, Rbias. In this particular configuration, parallel resistances 56 and 58, with values R1 and R2, moderate the resistance values of body-surface and ambient- measurement thermistors 44 and 48. By contrast, in device 62, body-surface probe 42 and ambient sensing probe 46 are arranged in parallel, while respective resistances 56 and 58 are in series with thermistors 44 and 48.
The particular topologies of FIGS. 4 and 5 are shown solely by way of example, and other, more complex topologies, which may combine parallel and serial features, may also be used. Furthermore, as shown in the examples that follow, it may be advantageous to use multiple thermistors in a parallel and/or serial network, instead of or in addition to resistors 56 and 58.
FIG. 6 is a schematic circuit diagram of a temperature measurement device 70, in accordance with another embodiment of the present invention. In this embodiment, body-surface probe 42 comprises multiple, identical thermistors 72, 74 and 76 in a series/parallel network. Ambient sensing probe 46 in this embodiment (and, typically, in the preceding embodiments, as well) comprises a single PTC thermistor 78, but in alternative embodiments, the ambient sensing probe may likewise comprises multiple thermistors. The thermistors in both of probes 42 and 46 may be arranged in parallel, in series, or in a combined series/parallel topology, such as that shown in FIG. 6.
Device 70 implements the typical conversion formula:
T=0.66×T skin−0.17×T ambient+Bias
Assuming thermistors 72, 74 and 76 to be of the same standard NTC type as is used for core body measurement, each with temperature-dependent resistance Rskin, the above equation can be restated in terms of the resistances:
R out=0.66×R skin −R ambient +R bias
This formula assumes that PTC thermistor 78 conveniently has a temperature-dependent resistance Rambient with a positive slope that is 0.17 times the negative slope of the NTC thermistors. Alternatively, multiple thermistors and/or resistors may be arranged in series and/or parallel in place of the single thermistor 78 in order to achieve the desired proportionality. The resistance of the parallel/serial network of thermistors 72, 74, 76 is 0.66 times the resistance of a single one of the thermistors. Other topologies can be used to realize other coefficient values for both Rskin and Rambient. Rbias is provided by the value of resistor 60.
For example, assume that at an ambient temperature of 25° C. and a core-body temperature of 37° C., the temperature of the skin is 33° C. At 33° C. the resistance of standard NTC thermistors 72, 74 and 76 is 1600Ω, so that the resistance of probe 42 is 1067Ω. According to the YSI 400 standard, the value of resistance equivalent to 37° C. is 1357Ω. Therefore, the combination of Rambient at 25° C. with Rbias should be about 300Ω. After choosing PTC thermistor 78, the bias resistance is chosen to give the desired sum.
FIG. 7 is a schematic circuit diagram of an ambient temperature sensing probe 80, in accordance with an embodiment of the present invention. This circuit may be used in place of probe 46 in device 70 (FIG. 6), for example, in order to give more precise control over the Rambient term in the total output resistance of the device. In probe 80, a voltage regulator 84 provides a Vcc voltage level, such as 3.3 volts, to a pair of resistive voltage dividers, one of which is controlled by a NTC thermistor 82. The voltage difference between the central nodes of the two voltage dividers is amplified by a differential amplifier 86 and drives an optocoupler 90 through a current buffer 88. The optocoupler comprises an optoemitter 92, such as a light-emitting diode (LED), which irradiates a photoresistor 94 with a flux level dictated by the driving current. The photoresistor is coupled in series between body-surface probe 42 and connector 28 to monitor 30 (FIGS. 1 and 2). A parallel resistor 95 may be added for adjustment.
Thus, probe 80 provides a resistance on photoresistor 94 that varies with the ambient temperature, with a slope that can be adjusted by appropriate choice of resistors and amplifier gain. This probe circuit can be arranged to emulate either a positive or a negative temperature coefficient. Although this probe is more complex that the all-passive circuit designs described above, it still uses only inexpensive analog components.
FIGS. 8A and 8B schematically illustrate a temperature sensing patch 98, in accordance with another embodiment of the present invention. FIG. 8A is a frontal view of the patch, while FIG. 8B shows the electrical circuit embodied in the patch. Patch 98 comprises six thermistors 102 (labeled R1, . . . , R6), which are mounted on a flexible printed circuit substrate 100. The thermistors are interconnected by conductors 104 on the substrate, defining the circuit shown in FIG. 8B. Assuming the thermistors all to have equal resistance R, an output resistance equal to ⅔ R will be measured at terminals 106 of the patch. (If the resistances are not exactly equal, the deviation in the output resistance will still be only second-order in the error. The thermistors may be sorted and selected during production to minimize the differences between them.) Patch 98 is typically used in conjunction with a suitable ambient sensing probe, as described above; but in an alternative embodiment, without ambient corrections, terminals 106 may be connected directly to plug 28.
The physical locations of thermistors 102 on substrate 100 do not directly reflect their topological locations in the circuit. Rather, thermistors from different parts of the circuit are interleaved, so that thermistors from different parts of the circuit topology are physically mutually adjacent. This interleaving is useful in providing accurate body-surface temperature measurements, notwithstanding local variations in the skin temperature, which commonly occur. Thus, if the patient's skin under the left side of patch 98 in FIG. 8A is warmer than the right side, for example, the higher temperature will be felt mainly in thermistors R1 and R2, and the effect will be spread roughly equally over the upper and lower sub-networks in FIG. 8B.
FIG. 9 is a schematic circuit diagram of a temperature sensing patch 110, in accordance with another embodiment of the present invention. In this case, the output resistance across terminals 106 will be ¾ R. The physical locations of the thermistors in the patch may be as shown in FIG. 8A (with a different layout of conductors 104), or may use another interleaving.
Although the embodiments described above relate specifically to conversion of skin temperature measurements into core-body temperature values, the principles of the present invention may similarly be used in other applications of on-line temperature measurement, as well as for measurement and monitoring of other physical characteristics of the human body. It will thus be appreciated that the embodiments described above are cited by way of example, and that the present invention is not limited to what has been particularly shown and described hereinabove. Rather, the scope of the present invention includes both combinations and subcombinations of the various features described hereinabove, as well as variations and modifications thereof which would occur to persons skilled in the art upon reading the foregoing description and which are not disclosed in the prior art.

Claims (20)

The invention claimed is:
1. Thermometric apparatus, comprising:
at least one body-surface sensor, which is configured to be placed at a location on a body surface of a patient and generates a sensor output that varies according to a body-surface temperature at the location;
a connector for coupling to a patient monitor; and
analog conversion circuitry, which is coupled between the at least one body-surface sensor and the connector and consists only passive components, which are configured to convert the sensor output by means of an analog operation into an output resistance across the connector that is indicative of a corrected temperature of the patient, without conversion of the sensor output into digital form and re-conversion of digital values back to resistance.
2. The apparatus according to claim 1, wherein the output resistance is proportional to a core-body temperature of the patient in accordance with a calibration function of a standard invasive temperature probe.
3. The apparatus according to claim 1, wherein the at least one body-surface sensor comprises at least one thermistor.
4. The apparatus according to claim 3, wherein the at least one thermistor comprises a plurality of thermistors, which are connected to the analog resistance-conversion circuitry in a circuit topology selected so as to implement a conversion function between the thermistor resistance value of the body-surface thermistors and the output resistance.
5. The apparatus according to claim 4, wherein the at least one body-surface sensor comprises a substrate on which the thermistors are arranged in a physical interleaving such that the thermistors from different parts of the circuit topology are physically mutually adjacent.
6. The apparatus according to claim 1, and comprising at least one ambient-measurement sensor, which is configured to sense an ambient temperature in a vicinity of the patient and is coupled to the analog resistance-conversion circuitry along with the at least one body-surface sensor in a circuit topology implementing a conversion function that generates the output resistance.
7. The apparatus according to claim 6, wherein the at least one body-surface sensor and the at least one ambient-measurement sensor together comprise at least one negative temperature coefficient (NTC) thermistor and at least one positive temperature coefficient (PTC) thermistor.
8. The apparatus according to claim 6, and comprising a cable coupled between the at least one body-surface sensor and the connector, wherein the at least one ambient-measurement sensor is mounted on the cable.
9. The apparatus according to claim 1, wherein the analog resistance-conversion circuitry comprises a network of resistors coupled to the at least one sensor.
10. The apparatus according to claim 1, and comprising a skin patch, which contains the at least one sensor and at least a part of the analog resistance-conversion circuitry and is configured to be affixed to the body surface of the patient.
11. A method for thermometry, comprising:
placing at a location on a body surface of a patient at least one body-surface sensor, thermistor, which generates a sensor output that varies according to a body-surface temperature at the location;
coupling analog resistance-conversion circuitry consisting only of analog passive components to the at least one body-surface thermistor so as to convert the thermistor resistance value, using said only passive components, by means of an analog operation into an output resistance that is indicative of a corrected temperature of the patient, without conversion of the sensor output into digital form and re-conversion of digital values back to resistance; and
coupling the output resistance to an input of a patient monitor, wherein said analog conversion circuit is coupled between the at least one body-surface thermistor and a connector coupling to the patient monitor.
12. The method according to claim 11, wherein the output resistance is proportional to a core-body temperature of the patient in accordance with a calibration function of a standard invasive temperature probe.
13. The method according to claim 11, wherein the at least one body-surface sensor comprises at least one thermistor.
14. The method according to claim 13, wherein the at least one thermistor comprises a plurality of thermistors, which are connected to the analog resistance-conversion circuitry in a circuit topology selected so as to implement a conversion function between the thermistor resistance value of the body-surface thermistors and the output resistance.
15. The method according to claim 14, wherein the at least one body-surface sensor comprises a substrate on which the thermistors are arranged in a physical interleaving such that the thermistors from different parts of the circuit topology are physically mutually adjacent.
16. The method according to claim 11, and comprising deploying at least one ambient-measurement sensor to sense an ambient temperature in a vicinity of the patient, and coupling the at least one ambient-measurement thermistor to the analog resistance-conversion circuitry along with the at least one body-surface sensor in a circuit topology selected so as to implement a conversion function that generates the output resistance.
17. The method according to claim 16, wherein the at least one body-surface sensor and the at least one ambient-measurement sensor together comprise at least one negative temperature coefficient (NTC) thermistor and at least one positive temperature coefficient (PTC) thermistor.
18. The method according to claim 16, wherein the at least one ambient-measurement sensor is mounted on the cable coupled between the at least one body-surface sensor and the input of the patient monitor.
19. The method according to claim 11, wherein the analog resistance-conversion circuitry comprises a network of resistors coupled to the at least one sensor.
20. The method according to claim 11, wherein placing the at least one body-surface sensor comprises affixing a skin patch, which contains the at least one body-surface sensor and at least a part of the analog resistance-conversion circuitry, to the body surface of the patient.
US12/880,102 2010-09-12 2010-09-12 Temperature sensor with calibrated analog resistive output Active 2032-10-21 US8714816B2 (en)

Priority Applications (2)

Application Number Priority Date Filing Date Title
US12/880,102 US8714816B2 (en) 2010-09-12 2010-09-12 Temperature sensor with calibrated analog resistive output
EP11177833A EP2428782A2 (en) 2010-09-12 2011-08-17 Temperature Sensor With Calibrated Analog Resistive Output

Applications Claiming Priority (1)

Application Number Priority Date Filing Date Title
US12/880,102 US8714816B2 (en) 2010-09-12 2010-09-12 Temperature sensor with calibrated analog resistive output

Publications (2)

Publication Number Publication Date
US20120065540A1 US20120065540A1 (en) 2012-03-15
US8714816B2 true US8714816B2 (en) 2014-05-06

Family

ID=44510807

Family Applications (1)

Application Number Title Priority Date Filing Date
US12/880,102 Active 2032-10-21 US8714816B2 (en) 2010-09-12 2010-09-12 Temperature sensor with calibrated analog resistive output

Country Status (2)

Country Link
US (1) US8714816B2 (en)
EP (1) EP2428782A2 (en)

Cited By (3)

* Cited by examiner, † Cited by third party
Publication number Priority date Publication date Assignee Title
US20220381628A1 (en) * 2019-10-31 2022-12-01 Try and E Co., Ltd. Method of Calibrating Temperature Sensor
US11874173B1 (en) * 2015-11-24 2024-01-16 Exergen Corporation Devices and methods for detecting inflammation
US12465220B2 (en) 2018-05-02 2025-11-11 Solventum Intellectual Properties Company Core body temperature device and system

Families Citing this family (21)

* Cited by examiner, † Cited by third party
Publication number Priority date Publication date Assignee Title
US8773451B2 (en) * 2011-05-03 2014-07-08 Apple Inc. Color correction method and apparatus for displays
US9354122B2 (en) 2011-05-10 2016-05-31 3M Innovative Properties Company Zero-heat-flux, deep tissue temperature measurement system
US8905635B2 (en) * 2011-09-30 2014-12-09 Honeywell International Inc. Temperature sensor attachment facilitating thermal conductivity to a measurement point and insulation from a surrounding environment
US10054491B2 (en) * 2013-09-27 2018-08-21 Brain Temp Inc. Apparatuses for non-invasively sensing internal temperature
JP2016539752A (en) * 2013-09-27 2016-12-22 ブレイン・テンプ,インコーポレーテッド Device for non-invasive detection of internal temperature
WO2015048357A2 (en) * 2013-09-28 2015-04-02 Brain Temp, Inc. Systems and methods of non-invasively determining internal temperature
JP6166186B2 (en) * 2014-01-10 2017-07-19 太陽誘電株式会社 Temperature detection device
US9599521B2 (en) 2014-01-27 2017-03-21 Medisim, Ltd. Interface between vital-signs sensors and patient monitor
ES2549394A1 (en) * 2014-03-26 2015-10-27 Juan José FLORES CANALES Body temperature meter and method for such meter (Machine-translation by Google Translate, not legally binding)
CN107320078A (en) * 2017-03-07 2017-11-07 铂元智能科技(北京)有限公司 Wireless body temperature measurement apparatus
US9941894B1 (en) 2017-05-04 2018-04-10 Analog Devices Global Multiple string, multiple output digital to analog converter
US10429483B2 (en) 2017-05-04 2019-10-01 Analog Devices Global Internal integrated circuit resistance calibration
US10288674B2 (en) 2017-05-04 2019-05-14 Analog Devices Global Impedance characteristic circuit for electrochemical sensor
US10782263B2 (en) 2017-05-04 2020-09-22 Analog Devices Global Systems and methods for determining the condition of a gas sensor
CN107255534B (en) * 2017-07-12 2019-04-19 天津津航技术物理研究所 A kind of error measurement method of Thermistor Temperature Measurement instrument
US10075179B1 (en) 2017-08-03 2018-09-11 Analog Devices Global Multiple string, multiple output digital to analog converter
US11701005B2 (en) * 2017-12-21 2023-07-18 Nokia Technologies Oy Temperature measurement
JP2022503677A (en) * 2018-09-05 2022-01-12 メディシム・ユーエスエイ Temperature sensor calibration
JP2022506028A (en) * 2018-11-12 2022-01-17 コーニンクレッカ フィリップス エヌ ヴェ Switched capacitor resistance emulation
US12220207B2 (en) 2019-02-26 2025-02-11 Masimo Corporation Non-contact core body temperature measurement systems and methods
CN114894334B (en) * 2022-05-12 2024-12-27 广东健奥科技有限公司 Device for accurately predicting body surface temperature using dual sensors

Citations (29)

* Cited by examiner, † Cited by third party
Publication number Priority date Publication date Assignee Title
US3776040A (en) * 1971-09-30 1973-12-04 Gibson R Electrical thermometer system and sensor therefor
US3921621A (en) * 1973-08-23 1975-11-25 Lee R Baessler Method and system utilizing a disposable transmitter for monitoring a patient{3 s condition
US4407292A (en) * 1978-08-14 1983-10-04 Jochen Edrich Procedure and apparatus for noncontacting measurement of subcutaneous temperature distributions
US4467633A (en) * 1981-06-22 1984-08-28 Henry Filters, Inc. Trough, manufacturing process, and apparatus
US5073034A (en) 1990-06-12 1991-12-17 Beran Anthony V Single thermistor/analog converter substitute for a dual thermistor network
US5313185A (en) * 1991-05-20 1994-05-17 Furon Company Temperature sensing cable device and method of making same
US5655305A (en) * 1995-04-03 1997-08-12 Fletcher; Taylor C. High precision electronic digital thermometer
US5857777A (en) * 1996-09-25 1999-01-12 Claud S. Gordon Company Smart temperature sensing device
US6030342A (en) 1996-06-12 2000-02-29 Seiko Epson Corporation Device for measuring calorie expenditure and device for measuring body temperature
US6086247A (en) * 1998-02-05 2000-07-11 Von Hollen; Dirk Differential temperature sensor device for use in the detection of breast cancer and breast disease
US6179786B1 (en) * 1998-10-02 2001-01-30 Profemme Ltd. System for thermometry-based breast cancer risk-assessment
US6238354B1 (en) * 1999-07-23 2001-05-29 Martin A. Alvarez Temperature monitoring assembly
US6248083B1 (en) * 1997-03-25 2001-06-19 Radi Medical Systems Ab Device for pressure measurements
US6270463B1 (en) * 1999-11-23 2001-08-07 Medrad, Inc. System and method for measuring temperature in a strong electromagnetic field
US6292685B1 (en) 1998-09-11 2001-09-18 Exergen Corporation Temporal artery temperature detector
US6735379B2 (en) * 2000-06-28 2004-05-11 Fisher & Paykel Healthcare Limited Energy sensor
US20040252750A1 (en) * 2003-06-12 2004-12-16 Gruszecki Gary A. Patient temperature repeating system and method
US6929611B2 (en) 2001-08-11 2005-08-16 Dräger Medical AG & Co. KGaA Device for measuring the body temperature
US20050245839A1 (en) 2002-08-22 2005-11-03 John Stivoric Non-invasive temperature monitoring device
US20050276309A1 (en) 2004-06-11 2005-12-15 Jochim Koch Device for measuring the body core temperature
US20060122473A1 (en) * 2004-10-13 2006-06-08 Kill Robert A Wireless patch temperature sensor system
US7059769B1 (en) * 1997-06-27 2006-06-13 Patrick Henry Potega Apparatus for enabling multiple modes of operation among a plurality of devices
US20070038141A1 (en) 2005-08-11 2007-02-15 Drager Medical Ag & Co. Kg Temperature-measuring device with function indicator
US20070038048A1 (en) 2005-08-12 2007-02-15 Drager Medical Ag & Co. Kg Combination sensor for determining physiological parameters on the skin of a patient
US20080195348A1 (en) 2003-02-20 2008-08-14 Ysi Incorporated Digitally modified resistive output for a temperature sensor
US20080300819A1 (en) 2007-06-02 2008-12-04 Drager Safety Ag & Co. Kgaa Device and method for measuring the body temperature of a living being
US7625117B2 (en) 2006-03-03 2009-12-01 Haslett James W Bandage with sensors
US20090299682A1 (en) 2008-05-30 2009-12-03 Medisim Ltd. Surface temperature profile
US8328420B2 (en) * 2003-04-22 2012-12-11 Marcio Marc Abreu Apparatus and method for measuring biologic parameters

Patent Citations (30)

* Cited by examiner, † Cited by third party
Publication number Priority date Publication date Assignee Title
US3776040A (en) * 1971-09-30 1973-12-04 Gibson R Electrical thermometer system and sensor therefor
US3921621A (en) * 1973-08-23 1975-11-25 Lee R Baessler Method and system utilizing a disposable transmitter for monitoring a patient{3 s condition
US4407292A (en) * 1978-08-14 1983-10-04 Jochen Edrich Procedure and apparatus for noncontacting measurement of subcutaneous temperature distributions
US4467633A (en) * 1981-06-22 1984-08-28 Henry Filters, Inc. Trough, manufacturing process, and apparatus
US5073034A (en) 1990-06-12 1991-12-17 Beran Anthony V Single thermistor/analog converter substitute for a dual thermistor network
US5313185A (en) * 1991-05-20 1994-05-17 Furon Company Temperature sensing cable device and method of making same
US5655305A (en) * 1995-04-03 1997-08-12 Fletcher; Taylor C. High precision electronic digital thermometer
US6030342A (en) 1996-06-12 2000-02-29 Seiko Epson Corporation Device for measuring calorie expenditure and device for measuring body temperature
US5857777A (en) * 1996-09-25 1999-01-12 Claud S. Gordon Company Smart temperature sensing device
US6248083B1 (en) * 1997-03-25 2001-06-19 Radi Medical Systems Ab Device for pressure measurements
US7059769B1 (en) * 1997-06-27 2006-06-13 Patrick Henry Potega Apparatus for enabling multiple modes of operation among a plurality of devices
US6086247A (en) * 1998-02-05 2000-07-11 Von Hollen; Dirk Differential temperature sensor device for use in the detection of breast cancer and breast disease
US6292685B1 (en) 1998-09-11 2001-09-18 Exergen Corporation Temporal artery temperature detector
US6179786B1 (en) * 1998-10-02 2001-01-30 Profemme Ltd. System for thermometry-based breast cancer risk-assessment
US6238354B1 (en) * 1999-07-23 2001-05-29 Martin A. Alvarez Temperature monitoring assembly
US6270463B1 (en) * 1999-11-23 2001-08-07 Medrad, Inc. System and method for measuring temperature in a strong electromagnetic field
US6735379B2 (en) * 2000-06-28 2004-05-11 Fisher & Paykel Healthcare Limited Energy sensor
US6929611B2 (en) 2001-08-11 2005-08-16 Dräger Medical AG & Co. KGaA Device for measuring the body temperature
US20050245839A1 (en) 2002-08-22 2005-11-03 John Stivoric Non-invasive temperature monitoring device
US20080195348A1 (en) 2003-02-20 2008-08-14 Ysi Incorporated Digitally modified resistive output for a temperature sensor
US7641390B2 (en) 2003-02-20 2010-01-05 Ysis Incorporated Digitally modified resistive output for a temperature sensor
US8328420B2 (en) * 2003-04-22 2012-12-11 Marcio Marc Abreu Apparatus and method for measuring biologic parameters
US20040252750A1 (en) * 2003-06-12 2004-12-16 Gruszecki Gary A. Patient temperature repeating system and method
US20050276309A1 (en) 2004-06-11 2005-12-15 Jochim Koch Device for measuring the body core temperature
US20060122473A1 (en) * 2004-10-13 2006-06-08 Kill Robert A Wireless patch temperature sensor system
US20070038141A1 (en) 2005-08-11 2007-02-15 Drager Medical Ag & Co. Kg Temperature-measuring device with function indicator
US20070038048A1 (en) 2005-08-12 2007-02-15 Drager Medical Ag & Co. Kg Combination sensor for determining physiological parameters on the skin of a patient
US7625117B2 (en) 2006-03-03 2009-12-01 Haslett James W Bandage with sensors
US20080300819A1 (en) 2007-06-02 2008-12-04 Drager Safety Ag & Co. Kgaa Device and method for measuring the body temperature of a living being
US20090299682A1 (en) 2008-05-30 2009-12-03 Medisim Ltd. Surface temperature profile

Non-Patent Citations (1)

* Cited by examiner, † Cited by third party
Title
U.S Appl. No. 12/130,238 Official Action dated Dec. 27, 2010.

Cited By (4)

* Cited by examiner, † Cited by third party
Publication number Priority date Publication date Assignee Title
US11874173B1 (en) * 2015-11-24 2024-01-16 Exergen Corporation Devices and methods for detecting inflammation
US12264969B1 (en) 2015-11-24 2025-04-01 Exergen Corporation Devices and methods for detecting inflammation
US12465220B2 (en) 2018-05-02 2025-11-11 Solventum Intellectual Properties Company Core body temperature device and system
US20220381628A1 (en) * 2019-10-31 2022-12-01 Try and E Co., Ltd. Method of Calibrating Temperature Sensor

Also Published As

Publication number Publication date
US20120065540A1 (en) 2012-03-15
EP2428782A2 (en) 2012-03-14

Similar Documents

Publication Publication Date Title
US8714816B2 (en) Temperature sensor with calibrated analog resistive output
US10736573B2 (en) Measurement system
US7641390B2 (en) Digitally modified resistive output for a temperature sensor
CN102326060B (en) Zero heat flux sensor and method of use
US5183039A (en) Temperature control device for fluid filled pad
US20060122473A1 (en) Wireless patch temperature sensor system
US6577139B2 (en) Impedance converter circuit
US9599521B2 (en) Interface between vital-signs sensors and patient monitor
CN102576034A (en) Constant temperature hot-conductor anemometer
US11813086B2 (en) Measurement system
CN104523243A (en) Body temperature acquisition device
US12329490B2 (en) Conversion adapter
Matsunaga et al. Optimization of a Stacked-design Core-body-temperature Sensor for Long-period Human Trials
CN104545827A (en) Body temperature detection circuit and thermometer comprising body temperature detection circuit
CN111166334A (en) Respiration measuring method and device
Stoll Thermistor system for measuring thermal gradients
Jang et al. Development of Hardware for the Architecture of A Remote Vital Sign Monitor

Legal Events

Date Code Title Description
AS Assignment

Owner name: MEDISIM LTD, ISRAEL

Free format text: ASSIGNMENT OF ASSIGNORS INTEREST;ASSIGNORS:YARDEN, MOSHE;MATUSEVICH, DAVID SERGIO;REEL/FRAME:024972/0015

Effective date: 20100912

STCF Information on status: patent grant

Free format text: PATENTED CASE

MAFP Maintenance fee payment

Free format text: PAYMENT OF MAINTENANCE FEE, 4TH YR, SMALL ENTITY (ORIGINAL EVENT CODE: M2551)

Year of fee payment: 4

MAFP Maintenance fee payment

Free format text: PAYMENT OF MAINTENANCE FEE, 8TH YR, SMALL ENTITY (ORIGINAL EVENT CODE: M2552); ENTITY STATUS OF PATENT OWNER: SMALL ENTITY

Year of fee payment: 8

MAFP Maintenance fee payment

Free format text: PAYMENT OF MAINTENANCE FEE, 12TH YR, SMALL ENTITY (ORIGINAL EVENT CODE: M2553); ENTITY STATUS OF PATENT OWNER: SMALL ENTITY

Year of fee payment: 12