US11553084B2 - Delayed interactive auto attendant - Google Patents

Delayed interactive auto attendant Download PDF

Info

Publication number
US11553084B2
US11553084B2 US17/195,871 US202117195871A US11553084B2 US 11553084 B2 US11553084 B2 US 11553084B2 US 202117195871 A US202117195871 A US 202117195871A US 11553084 B2 US11553084 B2 US 11553084B2
Authority
US
United States
Prior art keywords
call
response
ivr
subscriber
determination
Prior art date
Legal status (The legal status is an assumption and is not a legal conclusion. Google has not performed a legal analysis and makes no representation as to the accuracy of the status listed.)
Active, expires
Application number
US17/195,871
Other versions
US20220294902A1 (en
Inventor
Joseph Soryal
Howard Lang
Current Assignee (The listed assignees may be inaccurate. Google has not performed a legal analysis and makes no representation or warranty as to the accuracy of the list.)
AT&T Intellectual Property I LP
Original Assignee
AT&T Intellectual Property I LP
Priority date (The priority date is an assumption and is not a legal conclusion. Google has not performed a legal analysis and makes no representation as to the accuracy of the date listed.)
Filing date
Publication date
Application filed by AT&T Intellectual Property I LP filed Critical AT&T Intellectual Property I LP
Priority to US17/195,871 priority Critical patent/US11553084B2/en
Assigned to AT&T INTELLECTUAL PROPERTY I, L.P. reassignment AT&T INTELLECTUAL PROPERTY I, L.P. ASSIGNMENT OF ASSIGNORS INTEREST (SEE DOCUMENT FOR DETAILS). Assignors: LANG, HOWARD, SORYAL, JOSEPH
Publication of US20220294902A1 publication Critical patent/US20220294902A1/en
Priority to US18/064,675 priority patent/US20230107054A1/en
Application granted granted Critical
Publication of US11553084B2 publication Critical patent/US11553084B2/en
Active legal-status Critical Current
Adjusted expiration legal-status Critical

Links

Images

Classifications

    • HELECTRICITY
    • H04ELECTRIC COMMUNICATION TECHNIQUE
    • H04MTELEPHONIC COMMUNICATION
    • H04M3/00Automatic or semi-automatic exchanges
    • H04M3/42Systems providing special services or facilities to subscribers
    • H04M3/487Arrangements for providing information services, e.g. recorded voice services or time announcements
    • H04M3/493Interactive information services, e.g. directory enquiries ; Arrangements therefor, e.g. interactive voice response [IVR] systems or voice portals
    • HELECTRICITY
    • H04ELECTRIC COMMUNICATION TECHNIQUE
    • H04MTELEPHONIC COMMUNICATION
    • H04M3/00Automatic or semi-automatic exchanges
    • H04M3/42Systems providing special services or facilities to subscribers
    • H04M3/50Centralised arrangements for answering calls; Centralised arrangements for recording messages for absent or busy subscribers ; Centralised arrangements for recording messages
    • H04M3/51Centralised call answering arrangements requiring operator intervention, e.g. call or contact centers for telemarketing
    • H04M3/5158Centralised call answering arrangements requiring operator intervention, e.g. call or contact centers for telemarketing in combination with automated outdialling systems
    • GPHYSICS
    • G06COMPUTING OR CALCULATING; COUNTING
    • G06NCOMPUTING ARRANGEMENTS BASED ON SPECIFIC COMPUTATIONAL MODELS
    • G06N20/00Machine learning
    • GPHYSICS
    • G10MUSICAL INSTRUMENTS; ACOUSTICS
    • G10LSPEECH ANALYSIS TECHNIQUES OR SPEECH SYNTHESIS; SPEECH RECOGNITION; SPEECH OR VOICE PROCESSING TECHNIQUES; SPEECH OR AUDIO CODING OR DECODING
    • G10L15/00Speech recognition
    • G10L15/26Speech to text systems
    • HELECTRICITY
    • H04ELECTRIC COMMUNICATION TECHNIQUE
    • H04MTELEPHONIC COMMUNICATION
    • H04M3/00Automatic or semi-automatic exchanges
    • H04M3/22Arrangements for supervision, monitoring or testing
    • H04M3/2281Call monitoring, e.g. for law enforcement purposes; Call tracing; Detection or prevention of malicious calls
    • HELECTRICITY
    • H04ELECTRIC COMMUNICATION TECHNIQUE
    • H04MTELEPHONIC COMMUNICATION
    • H04M3/00Automatic or semi-automatic exchanges
    • H04M3/42Systems providing special services or facilities to subscribers
    • H04M3/42025Calling or Called party identification service
    • H04M3/42034Calling party identification service
    • H04M3/42059Making use of the calling party identifier
    • HELECTRICITY
    • H04ELECTRIC COMMUNICATION TECHNIQUE
    • H04MTELEPHONIC COMMUNICATION
    • H04M3/00Automatic or semi-automatic exchanges
    • H04M3/42Systems providing special services or facilities to subscribers
    • H04M3/436Arrangements for screening incoming calls, i.e. evaluating the characteristics of a call before deciding whether to answer it
    • HELECTRICITY
    • H04ELECTRIC COMMUNICATION TECHNIQUE
    • H04MTELEPHONIC COMMUNICATION
    • H04M3/00Automatic or semi-automatic exchanges
    • H04M3/42Systems providing special services or facilities to subscribers
    • H04M3/50Centralised arrangements for answering calls; Centralised arrangements for recording messages for absent or busy subscribers ; Centralised arrangements for recording messages
    • H04M3/51Centralised call answering arrangements requiring operator intervention, e.g. call or contact centers for telemarketing
    • H04M3/5166Centralised call answering arrangements requiring operator intervention, e.g. call or contact centers for telemarketing in combination with interactive voice response systems or voice portals, e.g. as front-ends
    • HELECTRICITY
    • H04ELECTRIC COMMUNICATION TECHNIQUE
    • H04MTELEPHONIC COMMUNICATION
    • H04M3/00Automatic or semi-automatic exchanges
    • H04M3/42Systems providing special services or facilities to subscribers
    • H04M3/54Arrangements for diverting calls for one subscriber to another predetermined subscriber
    • HELECTRICITY
    • H04ELECTRIC COMMUNICATION TECHNIQUE
    • H04MTELEPHONIC COMMUNICATION
    • H04M2203/00Aspects of automatic or semi-automatic exchanges
    • H04M2203/20Aspects of automatic or semi-automatic exchanges related to features of supplementary services
    • H04M2203/2027Live party detection
    • HELECTRICITY
    • H04ELECTRIC COMMUNICATION TECHNIQUE
    • H04MTELEPHONIC COMMUNICATION
    • H04M2203/00Aspects of automatic or semi-automatic exchanges
    • H04M2203/60Aspects of automatic or semi-automatic exchanges related to security aspects in telephonic communication systems
    • H04M2203/6027Fraud preventions
    • HELECTRICITY
    • H04ELECTRIC COMMUNICATION TECHNIQUE
    • H04MTELEPHONIC COMMUNICATION
    • H04M2203/00Aspects of automatic or semi-automatic exchanges
    • H04M2203/60Aspects of automatic or semi-automatic exchanges related to security aspects in telephonic communication systems
    • H04M2203/6072Authentication using challenger response

Definitions

  • the subject disclosure relates to a Delayed Interactive Auto Attendant.
  • SMS short message service
  • FIG. 1 is a block diagram illustrating an exemplary, non-limiting embodiment of a communications network in accordance with various aspects described herein.
  • FIG. 2 A is a block diagram illustrating an example, non-limiting embodiment of a system functioning within the communication network of FIG. 1 in accordance with various aspects described herein.
  • FIG. 2 B depicts an illustrative embodiment of a method in accordance with various aspects described herein.
  • FIG. 3 is a block diagram illustrating an example, non-limiting embodiment of a virtualized communication network in accordance with various aspects described herein.
  • FIG. 4 is a block diagram of an example, non-limiting embodiment of a computing environment in accordance with various aspects described herein.
  • FIG. 5 is a block diagram of an example, non-limiting embodiment of a mobile network platform in accordance with various aspects described herein.
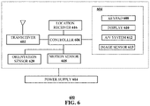
  • FIG. 6 is a block diagram of an example, non-limiting embodiment of a communication device in accordance with various aspects described herein.
  • the subject disclosure describes, among other things, illustrative embodiments for an interactive auto attendant that can provide delayed responses to interactive voice response (IVR) systems. Other embodiments are described in the subject disclosure.
  • IVR interactive voice response
  • One or more aspects of the subject disclosure include a device that has a processing system including a processor; and a memory that stores executable instructions that, when executed by the processing system, facilitate performance of operations including: receiving a call for a subscriber; determining whether the call is fraudulent; responsive to a first determination that the call is fraudulent, dropping the call; responsive to a second determination that the call is not fraudulent, determining whether call is from an interactive voice response (IVR) system; responsive to a third determination that the call is from an IVR system, determining whether the IVR system is providing a query that requires a response; and responsive to a fourth determination that the IVR system requires the response, providing the response.
  • IVR interactive voice response
  • One or more aspects of the subject disclosure include a non-transitory, machine-readable medium, comprising executable instructions that, when executed by a processing system including a processor, facilitate performance of operations including: receiving a call for a subscriber; determining whether call is from an interactive voice response (IVR) system; responsive to a first determination that the call is from an IVR system, determining whether the IVR system is providing a query that requires a response; and responsive to a second determination that the IVR system requires the response, providing the response.
  • IVR interactive voice response
  • One or more aspects of the subject disclosure include a method of receiving, by a processing system including a processor, a call for a subscriber; determining, by the processing system, that the call is from an interactive voice response (IVR) system; determining whether the IVR system is providing a query that requires a response; and responsive to a first determination that the IVR system requires the response, providing the response.
  • IVR interactive voice response
  • system 100 can facilitate in whole or in part routing calls through communications network 125 , receiving calls for a subscriber, determining whether calls are from an interactive voice response (IVR) system, and determining whether the IVR system is providing a query that requires a response.
  • IVR interactive voice response
  • a communications network 125 is presented for providing broadband access 110 to a plurality of data terminals 114 via access terminal 112 , wireless access 120 to a plurality of mobile devices 124 and vehicle 126 via base station or access point 122 , voice access 130 to a plurality of telephony devices 134 , via switching device 132 and/or media access 140 to a plurality of audio/video display devices 144 via media terminal 142 .
  • communication network 125 is coupled to one or more content sources 175 of audio, video, graphics, text and/or other media.
  • broadband access 110 wireless access 120
  • voice access 130 and media access 140 are shown separately, one or more of these forms of access can be combined to provide multiple access services to a single client device (e.g., mobile devices 124 can receive media content via media terminal 142 , data terminal 114 can be provided voice access via switching device 132 , and so on).
  • client device e.g., mobile devices 124 can receive media content via media terminal 142
  • data terminal 114 can be provided voice access via switching device 132 , and so on.
  • the communications network 125 includes a plurality of network elements (NE) 150 , 152 , 154 , 156 , etc. for facilitating the broadband access 110 , wireless access 120 , voice access 130 , media access 140 and/or the distribution of content from content sources 175 .
  • the communications network 125 can include a circuit switched or packet switched network, a voice over Internet protocol (VoIP) network, Internet protocol (IP) network, a cable network, a passive or active optical network, a 4G, 5G, or higher generation wireless access network, WIMAX network, UltraWideband network, personal area network or other wireless access network, a broadcast satellite network and/or other communications network.
  • the access terminal 112 can include a digital subscriber line access multiplexer (DSLAM), cable modem termination system (CMTS), optical line terminal (OLT) and/or other access terminal.
  • DSL digital subscriber line
  • CMTS cable modem termination system
  • OLT optical line terminal
  • the data terminals 114 can include personal computers, laptop computers, netbook computers, tablets or other computing devices along with digital subscriber line (DSL) modems, data over coax service interface specification (DOCSIS) modems or other cable modems, a wireless modem such as a 4G, 5G, or higher generation modem, an optical modem and/or other access devices.
  • DSL digital subscriber line
  • DOCSIS data over coax service interface specification
  • the base station or access point 122 can include a 4G, 5G, or higher generation base station, an access point that operates via an 802.11 standard such as 802.11n, 802.11ac or other wireless access terminal.
  • the mobile devices 124 can include mobile phones, e-readers, tablets, phablets, wireless modems, and/or other mobile computing devices.
  • the switching device 132 can include a private branch exchange or central office switch, a media services gateway, VoIP gateway or other gateway device and/or other switching device.
  • the telephony devices 134 can include traditional telephones (with or without a terminal adapter), VoIP telephones and/or other telephony devices.
  • the media terminal 142 can include a cable head-end or other TV head-end, a satellite receiver, gateway or other media terminal 142 .
  • the display devices 144 can include televisions with or without a set top box, personal computers and/or other display devices.
  • the content sources 175 include broadcast television and radio sources, video on demand platforms and streaming video and audio services platforms, one or more content data networks, data servers, web servers and other content servers, and/or other sources of media.
  • the communications network 125 can include wired, optical and/or wireless links and the network elements 150 , 152 , 154 , 156 , etc. can include service switching points, signal transfer points, service control points, network gateways, media distribution hubs, servers, firewalls, routers, edge devices, switches and other network nodes for routing and controlling communications traffic over wired, optical and wireless links as part of the Internet and other public networks as well as one or more private networks, for managing subscriber access, for billing and network management and for supporting other network functions.
  • the network elements 150 , 152 , 154 , 156 , etc. can include service switching points, signal transfer points, service control points, network gateways, media distribution hubs, servers, firewalls, routers, edge devices, switches and other network nodes for routing and controlling communications traffic over wired, optical and wireless links as part of the Internet and other public networks as well as one or more private networks, for managing subscriber access, for billing and network management and for supporting other network functions.
  • FIG. 2 A is a block diagram illustrating an example, non-limiting embodiment of a system 200 functioning within the communication network of FIG. 1 in accordance with various aspects described herein.
  • System 200 comprises a delayed interactive auto attendant (DIAA) 201 within the communications network 125 of a subscriber. As shown in FIG. 2 A , calls are routed through the communications network 125 to a subscriber's telephone 202 . While a calling party is often a human user of a telephone 203 , sometimes calls are originated by an interactive voice response (IVR) system 210 .
  • IVR interactive voice response
  • DIAA 201 can be enabled to intercept incoming calls 211 , 212 and analyze such calls for the called party (also referred to herein as the “subscriber”).
  • the called party also referred to herein as the “subscriber”.
  • a recent caller identification technology known as Secure Telephone Identity Revisited (STIR) and Signature-based Handling of Asserted Information Using toKENs (SHAKEN), i.e., “STIR/SHAKEN.”
  • STIR/SHAKEN identifies whether the originating caller is authorized to use the calling number that is transmitted as the caller identification (ID).
  • STIR/SHAKEN provides that the originating carriers for calling parties must digitally sign the calling parties' calls to cryptographically identify the caller, and that calls 211 , 212 traveling through interconnected phone networks would have their caller ID “signed” as authentic by the originating carrier and validated by other carriers before reaching the subscriber's telephone 202 .
  • the STIR/SHAKEN protocol digitally validates the handoff of phone calls 211 , 212 passing through the complex web of networks, allowing the communications network 125 of the subscriber receiving the call to verify that a call 211 , 212 is in fact from the number displayed on caller ID.
  • DIAA 201 can analyze the caller ID to filter out unwanted automated calls, such as dropping a call from a misused IVR.
  • the DIAA 201 can use current suspected criteria, such as crowdsourced reported calls, i.e., a large volume calls having the same origination number, or the like, to filter out unwanted automated calls.
  • DIAA 201 can provide a notification to the subscriber that a particular call was dropped or filtered. But the DIAA 201 can pass through calls from private parties, such as call 211 from calling party 203 , to the subscriber's telephone 202 (i.e., the completion of such calls illustrated as 213 , 214 ).
  • DIAA 201 can permit wanted automated calls 212 from an IVR 210 being used for authentic, non-fraudulent purposes, as described in more detail below.
  • DIAA 201 picks up the call 212 suspected to be from IVR 210 and analyzes the audio to determine if a response is needed.
  • Speech-to-text, Machine Learning (ML), and artificial intelligence (AI) technologies built into DIAA 201 assess the context of the message. For example, DIAA 201 checks the caller ID to see whether the caller ID provides a known company name, or whether the company name is missing or not known to the subscriber.
  • DIAA 201 analyzes a portion of the conversation for truthfulness. DIAA 201 will examine the incoming IVR audio using machine learning technologies and audio analysis to see if the incoming call is a live human, and also whether the content is consistent with known spam/fraud attacks.
  • DIAA 201 will also evaluate the contents in the context of the called party's potential relationship with the caller (e.g., if the caller is a doctor's office, DIAA 201 will determine whether there a prior relationship with that physician's office). If DIAA 201 determines that the call may be untruthful, DIAA 201 may direct the call to Voicemail or to be transcribed by text and alert the subscriber to a potential scam call and give the option either to read or discard. Additionally, DIAA 201 determines whether the IVR 210 is providing a query requiring a response. For example, IVR 210 may request that the called party “press 1 to confirm” a scheduled appointment. If IVR 210 requires no interaction, DIAA 201 can route the call 212 to the called party 202 with the message provided by IVR 210 to the called party 202 as a delayed message.
  • DIAA 201 will determine some manner to keep call 212 active. For example, DIAA 201 may analyze the message for an option to repeat the message and will keep repeating as needed until a delayed recipient response is received from the called party 202 . In another embodiment, DIAA 201 may query IVR 210 to obtain the make/model and allowable application program interfaces (APIs) provided by IVR 210 . DIAA 201 may send a synchronous API command 216 to IVR 210 to have IVR 210 “wait” until the message can be provided to the called party 202 , so that the subscriber can provide a response. DIAA 201 will then provide the subscriber's response to IVR 210 .
  • APIs application program interfaces
  • IVR 210 may wish to confirm an appointment.
  • DIAA 201 will then contact the called party 202 to obtain the subscriber's response, and then provide the response to IVR 210 (i.e., appointment confirmed/denied). If the called party 202 is not available, DIAA 201 can try to contact the called party 202 again later, provide the message to the subscriber, and forward the automated response 216 to the IVR 210 .
  • DIAA 201 can be configured to whitelist specific callers and provided access to a subscriber's calendar, texts, emails, contact list, etc. and if DIAA 201 finds sufficient information, DIAA 201 can take interactive actions such as confirming appointments and notify the subscriber later on.
  • DIAA 201 can call the IVR 210 back to retract the action (e.g., cancel the appointment, reschedule the appointment, etc.) Such actions may take place through an API command 216 to IVR 210 .
  • DIAA 201 may be implemented as an application executed by a processing system located in the subscriber's telephone 202 , illustrated in FIG. 2 A as RPA 217 , where the subscriber's telephone 202 may be implemented without limitation as a data terminal 114 , mobile device 124 , vehicle 126 , display device 144 or other client device for communication via communications network 125 .
  • system 200 additionally includes RPA 217 , which could be part of a larger, multifunction security application downloaded onto subscribers' mobile device.
  • RPA 217 will be in continuous communication with a component of system 200 known as a Robocall Protection Server (RPS, not illustrated), which will use data from RPA 217 to determine the caller's intent, as indicated above.
  • RPS Robocall Protection Server
  • functionality of RPS may be included in DIAA 201 .
  • System 200 could be used in conjunction with a databased system that holds flagged records or can be a standalone system.
  • RPS can not only monitor audio calls but can also filter text and video metadata (sender info and any unencrypted information (e.g., title, etc.) to filter out suspicious communications of any media type.
  • RPA 217 on subscriber's telephone 202 has the ability to check the SMS and the video clip very quickly (i.e., within a few hundredths of a millisecond) to scan the media file for abnormalities (e.g., advertising video).
  • RPA 217 can provide an alert to the subscriber (e.g., are you sure you want to open the file?).
  • RPS checks metadata of the media file (SMS & video) and content, if available. System 200 will analyze the media file for unwanted material.
  • ML aspects of system 200 learn from previous reported incidents. For example, some businesses send a text, video or other media while waiting for an order (e.g., restaurants, theaters, etc.).
  • System 200 checks the location of the subscriber and correlates subscriber behavior with the premises of the business (sending media) to whitelist the media file. The premises location is identified based on the recurrence with this subscriber or other subscribers. Geographically co-located subscribers might generally share group interests or be attending a scheduled event. In such circumstances, calls originating from a business related to such event may be less suspicious. For example, subscribers in certain areas may mostly be fans of a certain sports team, so a call originated from a sports shop before the team's game would be less suspicious.
  • a subscriber shall have the ability to “opt out” or adjust settings to specify which information may be shared with DIAA 201 and RPA 217 (e.g., calendar data shall not be shared).
  • FIG. 2 B depicts an illustrative embodiment of a method in accordance with various aspects described herein.
  • method 220 begins in step 221 where a converged telephony server (CTS), SMS controller, or video controller routes a call or media message to the subscriber through the DIAA 201 .
  • DIAA 201 will filter the call/message to remove spam or fraudulent activity, using one or more of the techniques described above in connection with FIG. 2 A .
  • DIAA 201 determines the calling party's intent. If the call is from a person, DIAA 201 will route the call through to the subscriber. DIAA 201 determines whether the call is from an IVR through caller ID or through an API of the IVR, in which case DIAA 201 will handle the call. Additionally, DIAA 201 will pick up the call and analyze the audio using speech-to-text, ML and AI technologies to assess the “context” of the audio.
  • DIAA 201 determines if the IVR requires a response or is merely providing information. If no response is required, the process continues to step 224 , where the DIAA 201 routes the call to the subscriber. In the event that the subscriber is unavailable, the call is handled in the normal manner, for example by recording via voicemail.
  • DIAA 201 determines an IVR delay method while attempting to obtain a response from the subscriber. In this fashion, DIAA 201 acts as a buffer between the IVR and the subscriber, thereby mitigating the intrusiveness of the IVR. In some cases, as described above in connection with FIG. 2 A , DIAA 201 may provide a response to the IVR on behalf of the subscriber based on information made available to DIAA 201 by the subscriber, thereby acting as an agent for the subscriber.
  • FIG. 3 a block diagram 300 is shown illustrating an example, non-limiting embodiment of a virtualized communication network in accordance with various aspects described herein.
  • a virtualized communication network is presented that can be used to implement some or all of the subsystems and functions of system 100 , the subsystems and functions of system 200 , and method 230 presented in FIGS. 1 , 2 A, 2 B and 3 .
  • virtualized communication network 300 can facilitate in whole or in part routing calls through communications network 125 , receiving calls for a subscriber, determining whether calls are from an interactive voice response (IVR) system, and determining whether the IVR system is providing a query that requires a response.
  • IVR interactive voice response
  • a cloud networking architecture leverages cloud technologies and supports rapid innovation and scalability via a transport layer 350 , a virtualized network function cloud 325 and/or one or more cloud computing environments 375 .
  • this cloud networking architecture is an open architecture that leverages application programming interfaces (APIs); reduces complexity from services and operations; supports more nimble business models; and rapidly and seamlessly scales to meet evolving customer requirements including traffic growth, diversity of traffic types, and diversity of performance and reliability expectations.
  • APIs application programming interfaces
  • the virtualized communication network employs virtual network elements (VNEs) 330 , 332 , 334 , etc. that perform some or all of the functions of network elements 150 , 152 , 154 , 156 , etc.
  • VNEs virtual network elements
  • the network architecture can provide a substrate of networking capability, often called Network Function Virtualization Infrastructure (NFVI) or simply infrastructure that is capable of being directed with software and Software Defined Networking (SDN) protocols to perform a broad variety of network functions and services.
  • NFVI Network Function Virtualization Infrastructure
  • SDN Software Defined Networking
  • NFV Network Function Virtualization
  • merchant silicon general-purpose integrated circuit devices offered by merchants
  • a traditional network element 150 such as an edge router can be implemented via a VNE 330 composed of NFV software modules, merchant silicon, and associated controllers.
  • the software can be written so that increasing workload consumes incremental resources from a common resource pool, and moreover so that it is elastic: so, the resources are only consumed when needed.
  • other network elements such as other routers, switches, edge caches, and middle boxes are instantiated from the common resource pool.
  • the transport layer 350 includes fiber, cable, wired and/or wireless transport elements, network elements and interfaces to provide broadband access 110 , wireless access 120 , voice access 130 , media access 140 and/or access to content sources 175 for distribution of content to any or all of the access technologies.
  • a network element needs to be positioned at a specific place, and this allows for less sharing of common infrastructure.
  • the network elements have specific physical layer adapters that cannot be abstracted or virtualized and might require special DSP code and analog front ends (AFEs) that do not lend themselves to implementation as VNEs 330 , 332 or 334 .
  • AFEs analog front ends
  • the virtualized network function cloud 325 interfaces with the transport layer 350 to provide the VNEs 330 , 332 , 334 , etc. to provide specific NFVs.
  • the virtualized network function cloud 325 leverages cloud operations, applications, and architectures to support networking workloads.
  • the virtualized network elements 330 , 332 and 334 can employ network function software that provides either a one-for-one mapping of traditional network element function or alternately some combination of network functions designed for cloud computing.
  • VNEs 330 , 332 and 334 can include route reflectors, domain name system (DNS) servers, and dynamic host configuration protocol (DHCP) servers, system architecture evolution (SAE) and/or mobility management entity (MME) gateways, broadband network gateways, IP edge routers for IP-VPN, Ethernet and other services, load balancers, distributers and other network elements. Because these elements do not typically need to forward large amounts of traffic, their workload can be distributed across a number of servers—each of which adds a portion of the capability, and overall, which creates an elastic function with higher availability than its former monolithic version. These virtual network elements 330 , 332 , 334 , etc. can be instantiated and managed using an orchestration approach similar to those used in cloud compute services.
  • orchestration approach similar to those used in cloud compute services.
  • the cloud computing environments 375 can interface with the virtualized network function cloud 325 via APIs that expose functional capabilities of the VNEs 330 , 332 , 334 , etc. to provide the flexible and expanded capabilities to the virtualized network function cloud 325 .
  • network workloads may have applications distributed across the virtualized network function cloud 325 and cloud computing environment 375 and in the commercial cloud or might simply orchestrate workloads supported entirely in NFV infrastructure from these third-party locations.
  • FIG. 4 there is illustrated a block diagram of a computing environment in accordance with various aspects described herein.
  • FIG. 4 and the following discussion are intended to provide a brief, general description of a suitable computing environment 400 in which the various embodiments of the subject disclosure can be implemented.
  • computing environment 400 can be used in the implementation of network elements 150 , 152 , 154 , 156 , access terminal 112 , base station or access point 122 , switching device 132 , media terminal 142 , and/or VNEs 330 , 332 , 334 , etc.
  • computing environment 400 can facilitate in whole or in part routing calls through communications network 125 , receiving calls for a subscriber, determining whether calls are from an interactive voice response (IVR) system, and determining whether the IVR system is providing a query that requires a response.
  • IVR interactive voice response
  • program modules comprise routines, programs, components, data structures, etc., that perform particular tasks or implement particular abstract data types.
  • program modules comprise routines, programs, components, data structures, etc., that perform particular tasks or implement particular abstract data types.
  • program modules comprise routines, programs, components, data structures, etc., that perform particular tasks or implement particular abstract data types.
  • a processing circuit includes one or more processors as well as other application specific circuits such as an application specific integrated circuit, digital logic circuit, state machine, programmable gate array or other circuit that processes input signals or data and that produces output signals or data in response thereto. It should be noted that while any functions and features described herein in association with the operation of a processor could likewise be performed by a processing circuit.
  • the illustrated embodiments of the embodiments herein can be also practiced in distributed computing environments where certain tasks are performed by remote processing devices that are linked through a communications network.
  • program modules can be located in both local and remote memory storage devices.
  • Computer-readable storage media can be any available storage media that can be accessed by the computer and comprises both volatile and nonvolatile media, removable and non-removable media.
  • Computer-readable storage media can be implemented in connection with any method or technology for storage of information such as computer-readable instructions, program modules, structured data or unstructured data.
  • Computer-readable storage media can comprise, but are not limited to, random access memory (RAM), read only memory (ROM), electrically erasable programmable read only memory (EEPROM), flash memory or other memory technology, compact disk read only memory (CD-ROM), digital versatile disk (DVD) or other optical disk storage, magnetic cassettes, magnetic tape, magnetic disk storage or other magnetic storage devices or other tangible and/or non-transitory media which can be used to store desired information.
  • RAM random access memory
  • ROM read only memory
  • EEPROM electrically erasable programmable read only memory
  • CD-ROM compact disk read only memory
  • DVD digital versatile disk
  • magnetic cassettes magnetic tape
  • magnetic disk storage or other magnetic storage devices or other tangible and/or non-transitory media which can be used to store desired information.
  • tangible and/or non-transitory herein as applied to storage, memory or computer-readable media, are to be understood to exclude only propagating transitory signals per se as modifiers and do not relinquish rights to all standard storage, memory or computer-readable media
  • Computer-readable storage media can be accessed by one or more local or remote computing devices, e.g., via access requests, queries or other data retrieval protocols, for a variety of operations with respect to the information stored by the medium.
  • Communications media typically embody computer-readable instructions, data structures, program modules or other structured or unstructured data in a data signal such as a modulated data signal, e.g., a carrier wave or other transport mechanism, and comprises any information delivery or transport media.
  • modulated data signal or signals refers to a signal that has one or more of its characteristics set or changed in such a manner as to encode information in one or more signals.
  • communication media comprise wired media, such as a wired network or direct-wired connection, and wireless media such as acoustic, RF, infrared and other wireless media.
  • the example environment can comprise a computer 402 , the computer 402 comprising a processing unit 404 , a system memory 406 and a system bus 408 .
  • the system bus 408 couples system components including, but not limited to, the system memory 406 to the processing unit 404 .
  • the processing unit 404 can be any of various commercially available processors. Dual microprocessors and other multiprocessor architectures can also be employed as the processing unit 404 .
  • the system bus 408 can be any of several types of bus structure that can further interconnect to a memory bus (with or without a memory controller), a peripheral bus, and a local bus using any of a variety of commercially available bus architectures.
  • the system memory 406 comprises ROM 410 and RAM 412 .
  • a basic input/output system (BIOS) can be stored in a non-volatile memory such as ROM, erasable programmable read only memory (EPROM), EEPROM, which BIOS contains the basic routines that help to transfer information between elements within the computer 402 , such as during startup.
  • the RAM 412 can also comprise a high-speed RAM such as static RAM for caching data.
  • the computer 402 further comprises an internal hard disk drive (HDD) 414 (e.g., EIDE, SATA), which internal HDD 414 can also be configured for external use in a suitable chassis (not shown), a magnetic floppy disk drive (FDD) 416 , (e.g., to read from or write to a removable diskette 418 ) and an optical disk drive 420 , (e.g., reading a CD-ROM disk 422 or, to read from or write to other high-capacity optical media such as the DVD).
  • the HDD 414 , magnetic FDD 416 and optical disk drive 420 can be connected to the system bus 408 by a hard disk drive interface 424 , a magnetic disk drive interface 426 and an optical drive interface 428 , respectively.
  • the hard disk drive interface 424 for external drive implementations comprises at least one or both of Universal Serial Bus (USB) and Institute of Electrical and Electronics Engineers (IEEE) 1394 interface technologies. Other external drive connection technologies are within contemplation of the embodiments described here
  • the drives and their associated computer-readable storage media provide nonvolatile storage of data, data structures, computer-executable instructions, and so forth.
  • the drives and storage media accommodate the storage of any data in a suitable digital format.
  • computer-readable storage media refers to a hard disk drive (HDD), a removable magnetic diskette, and a removable optical media such as a CD or DVD, it should be appreciated by those skilled in the art that other types of storage media which are readable by a computer, such as zip drives, magnetic cassettes, flash memory cards, cartridges, and the like, can also be used in the example operating environment, and further, that any such storage media can contain computer-executable instructions for performing the methods described herein.
  • a number of program modules can be stored in the drives and RAM 412 , comprising an operating system 430 , one or more application programs 432 , other program modules 434 and program data 436 . All or portions of the operating system, applications, modules, and/or data can also be cached in the RAM 412 .
  • the systems and methods described herein can be implemented utilizing various commercially available operating systems or combinations of operating systems.
  • a user can enter commands and information into the computer 402 through one or more wired/wireless input devices, e.g., a keyboard 438 and a pointing device, such as a mouse 440 .
  • Other input devices can comprise a microphone, an infrared (IR) remote control, a joystick, a game pad, a stylus pen, touch screen or the like.
  • IR infrared
  • These and other input devices are often connected to the processing unit 404 through an input device interface 442 that can be coupled to the system bus 408 , but can be connected by other interfaces, such as a parallel port, an IEEE 1394 serial port, a game port, a universal serial bus (USB) port, an IR interface, etc.
  • a monitor 444 or other type of display device can be also connected to the system bus 408 via an interface, such as a video adapter 446 .
  • a monitor 444 can also be any display device (e.g., another computer having a display, a smart phone, a tablet computer, etc.) for receiving display information associated with computer 402 via any communication means, including via the Internet and cloud-based networks.
  • a computer typically comprises other peripheral output devices (not shown), such as speakers, printers, etc.
  • the computer 402 can operate in a networked environment using logical connections via wired and/or wireless communications to one or more remote computers, such as a remote computer(s) 448 .
  • the remote computer(s) 448 can be a workstation, a server computer, a router, a personal computer, portable computer, microprocessor-based entertainment appliance, a peer device or other common network node, and typically comprises many or all of the elements described relative to the computer 402 , although, for purposes of brevity, only a remote memory/storage device 450 is illustrated.
  • the logical connections depicted comprise wired/wireless connectivity to a local area network (LAN) 452 and/or larger networks, e.g., a wide area network (WAN) 454 .
  • LAN and WAN networking environments are commonplace in offices and companies, and facilitate enterprise-wide computer networks, such as intranets, all of which can connect to a global communications network, e.g., the Internet.
  • the computer 402 can be connected to the LAN 452 through a wired and/or wireless communication network interface or adapter 456 .
  • the adapter 456 can facilitate wired or wireless communication to the LAN 452 , which can also comprise a wireless AP disposed thereon for communicating with the adapter 456 .
  • the computer 402 can comprise a modem 458 or can be connected to a communications server on the WAN 454 or has other means for establishing communications over the WAN 454 , such as by way of the Internet.
  • the modem 458 which can be internal or external and a wired or wireless device, can be connected to the system bus 408 via the input device interface 442 .
  • program modules depicted relative to the computer 402 or portions thereof can be stored in the remote memory/storage device 450 . It will be appreciated that the network connections shown are example and other means of establishing a communications link between the computers can be used.
  • the computer 402 can be operable to communicate with any wireless devices or entities operatively disposed in wireless communication, e.g., a printer, scanner, desktop and/or portable computer, portable data assistant, communications satellite, any piece of equipment or location associated with a wirelessly detectable tag (e.g., a kiosk, news stand, restroom), and telephone.
  • This can comprise Wireless Fidelity (Wi-Fi) and BLUETOOTH® wireless technologies.
  • Wi-Fi Wireless Fidelity
  • BLUETOOTH® wireless technologies can be a predefined structure as with a conventional network or simply an ad hoc communication between at least two devices.
  • Wi-Fi can allow connection to the Internet from a couch at home, a bed in a hotel room or a conference room at work, without wires.
  • Wi-Fi is a wireless technology similar to that used in a cell phone that enables such devices, e.g., computers, to send and receive data indoors and out; anywhere within the range of a base station.
  • Wi-Fi networks use radio technologies called IEEE 802.11 (a, b, g, n, ac, ag, etc.) to provide secure, reliable, fast wireless connectivity.
  • a Wi-Fi network can be used to connect computers to each other, to the Internet, and to wired networks (which can use IEEE 802.3 or Ethernet).
  • Wi-Fi networks operate in the unlicensed 2.4 and 5 GHz radio bands for example or with products that contain both bands (dual band), so the networks can provide real-world performance similar to the basic 10BaseT wired Ethernet networks used in many offices.
  • platform 510 can facilitate in whole or in part routing calls through communications network 125 , receiving calls for a subscriber, determining whether calls are from an interactive voice response (IVR) system, and determining whether the IVR system is providing a query that requires a response.
  • IVR interactive voice response
  • the mobile network platform 510 can generate and receive signals transmitted and received by base stations or access points such as base station or access point 122 .
  • mobile network platform 510 can comprise components, e.g., nodes, gateways, interfaces, servers, or disparate platforms, that facilitate both packet-switched (PS) (e.g., internet protocol (IP), frame relay, asynchronous transfer mode (ATM)) and circuit-switched (CS) traffic (e.g., voice and data), as well as control generation for networked wireless telecommunication.
  • PS packet-switched
  • IP internet protocol
  • ATM asynchronous transfer mode
  • CS circuit-switched
  • mobile network platform 510 can be included in telecommunications carrier networks and can be considered carrier-side components as discussed elsewhere herein.
  • Mobile network platform 510 comprises CS gateway node(s) 512 which can interface CS traffic received from legacy networks like telephony network(s) 540 (e.g., public switched telephone network (PSTN), or public land mobile network (PLMN)) or a signaling system #7 (SS7) network 560 .
  • CS gateway node(s) 512 can authorize and authenticate traffic (e.g., voice) arising from such networks.
  • CS gateway node(s) 512 can access mobility, or roaming, data generated through SS7 network 560 ; for instance, mobility data stored in a visited location register (VLR), which can reside in memory 530 .
  • VLR visited location register
  • CS gateway node(s) 512 interfaces CS-based traffic and signaling and PS gateway node(s) 518 .
  • CS gateway node(s) 512 can be realized at least in part in gateway GPRS support node(s) (GGSN). It should be appreciated that functionality and specific operation of CS gateway node(s) 512 , PS gateway node(s) 518 , and serving node(s) 516 , is provided and dictated by radio technology(ies) utilized by mobile network platform 510 for telecommunication over a radio access network 520 with other devices, such as a radiotelephone 575 .
  • PS gateway node(s) 518 can authorize and authenticate PS-based data sessions with served mobile devices.
  • Data sessions can comprise traffic, or content(s), exchanged with networks external to the mobile network platform 510 , like wide area network(s) (WANs) 550 , enterprise network(s) 570 , and service network(s) 580 , which can be embodied in local area network(s) (LANs), can also be interfaced with mobile network platform 510 through PS gateway node(s) 518 .
  • WANs 550 and enterprise network(s) 570 can embody, at least in part, a service network(s) like IP multimedia subsystem (IMS).
  • IMS IP multimedia subsystem
  • PS gateway node(s) 518 can generate packet data protocol contexts when a data session is established; other data structures that facilitate routing of packetized data also can be generated.
  • PS gateway node(s) 518 can comprise a tunnel interface (e.g., tunnel termination gateway (TTG) in 3GPP UMTS network(s) (not shown)) which can facilitate packetized communication with disparate wireless network(s), such as Wi-Fi networks.
  • TSG tunnel termination gateway
  • mobile network platform 510 also comprises serving node(s) 516 that, based upon available radio technology layer(s) within technology resource(s) in the radio access network 520 , convey the various packetized flows of data streams received through PS gateway node(s) 518 .
  • server node(s) can deliver traffic without reliance on PS gateway node(s) 518 ; for example, server node(s) can embody at least in part a mobile switching center.
  • serving node(s) 516 can be embodied in serving GPRS support node(s) (SGSN).
  • server(s) 514 in mobile network platform 510 can execute numerous applications that can generate multiple disparate packetized data streams or flows, and manage (e.g., schedule, queue, format . . . ) such flows.
  • Such application(s) can comprise add-on features to standard services (for example, provisioning, billing, customer support . . . ) provided by mobile network platform 510 .
  • Data streams e.g., content(s) that are part of a voice call or data session
  • PS gateway node(s) 518 for authorization/authentication and initiation of a data session
  • serving node(s) 516 for communication thereafter.
  • server(s) 514 can comprise utility server(s), a utility server can comprise a provisioning server, an operations and maintenance server, a security server that can implement at least in part a certificate authority and firewalls as well as other security mechanisms, and the like.
  • security server(s) secure communication served through mobile network platform 510 to ensure network's operation and data integrity in addition to authorization and authentication procedures that CS gateway node(s) 512 and PS gateway node(s) 518 can enact.
  • provisioning server(s) can provision services from external network(s) like networks operated by a disparate service provider; for instance, WAN 550 or Global Positioning System (GPS) network(s) (not shown).
  • Provisioning server(s) can also provision coverage through networks associated to mobile network platform 510 (e.g., deployed and operated by the same service provider), such as the distributed antennas networks shown in FIG. 1 ( s ) that enhance wireless service coverage by providing more network coverage.
  • server(s) 514 can comprise one or more processors configured to confer at least in part the functionality of mobile network platform 510 . To that end, the one or more processor can execute code instructions stored in memory 530 , for example. It should be appreciated that server(s) 514 can comprise a content manager, which operates in substantially the same manner as described hereinbefore.
  • memory 530 can store information related to operation of mobile network platform 510 .
  • Other operational information can comprise provisioning information of mobile devices served through mobile network platform 510 , subscriber databases; application intelligence, pricing schemes, e.g., promotional rates, flat-rate programs, couponing campaigns; technical specification(s) consistent with telecommunication protocols for operation of disparate radio, or wireless, technology layers; and so forth.
  • Memory 530 can also store information from at least one of telephony network(s) 540 , WAN 550 , SS7 network 560 , or enterprise network(s) 570 .
  • memory 530 can be, for example, accessed as part of a data store component or as a remotely connected memory store.
  • FIG. 5 and the following discussion, are intended to provide a brief, general description of a suitable environment in which the various aspects of the disclosed subject matter can be implemented. While the subject matter has been described above in the general context of computer-executable instructions of a computer program that runs on a computer and/or computers, those skilled in the art will recognize that the disclosed subject matter also can be implemented in combination with other program modules. Generally, program modules comprise routines, programs, components, data structures, etc. that perform particular tasks and/or implement particular abstract data types.
  • the communication device 600 can serve as an illustrative embodiment of devices such as data terminals 114 , mobile devices 124 , vehicle 126 , display devices 144 or other client devices for communication via either communications network 125 .
  • computing device 600 can facilitate in whole or in part routing calls through communications network 125 , receiving calls for a subscriber, determining whether calls are from an interactive voice response (IVR) system, and determining whether the IVR system is providing a query that requires a response.
  • IVR interactive voice response
  • the communication device 600 can comprise a wireline and/or wireless transceiver 602 (herein transceiver 602 ), a user interface (UI) 604 , a power supply 614 , a location receiver 616 , a motion sensor 618 , an orientation sensor 620 , and a controller 606 for managing operations thereof.
  • the transceiver 602 can support short-range or long-range wireless access technologies such as Bluetooth®, ZigBee®, Wi-Fi, DECT, or cellular communication technologies, just to mention a few (Bluetooth® and ZigBee® are trademarks registered by the Bluetooth® Special Interest Group and the ZigBee® Alliance, respectively).
  • Cellular technologies can include, for example, CDMA-1 ⁇ , UMTS/HSDPA, GSM/GPRS, TDMA/EDGE, EV/DO, WiMAX, SDR, LTE, as well as other next generation wireless communication technologies as they arise.
  • the transceiver 602 can also be adapted to support circuit-switched wireline access technologies (such as PSTN), packet-switched wireline access technologies (such as TCP/IP, VoIP, etc.), and combinations thereof.
  • the UI 604 can include a depressible or touch-sensitive keypad 608 with a navigation mechanism such as a roller ball, a joystick, a mouse, or a navigation disk for manipulating operations of the communication device 600 .
  • the keypad 608 can be an integral part of a housing assembly of the communication device 600 or an independent device operably coupled thereto by a tethered wireline interface (such as a USB cable) or a wireless interface supporting for example Bluetooth®.
  • the keypad 608 can represent a numeric keypad commonly used by phones, and/or a QWERTY keypad with alphanumeric keys.
  • the UI 604 can further include a display 610 such as monochrome or color LCD (Liquid Crystal Display), OLED (Organic Light Emitting Diode) or other suitable display technology for conveying images to an end user of the communication device 600 .
  • a display 610 such as monochrome or color LCD (Liquid Crystal Display), OLED (Organic Light Emitting Diode) or other suitable display technology for conveying images to an end user of the communication device 600 .
  • a display 610 is touch-sensitive, a portion or all of the keypad 608 can be presented by way of the display 610 with navigation features.
  • the display 610 can use touch screen technology to also serve as a user interface for detecting user input.
  • the communication device 600 can be adapted to present a user interface having graphical user interface (GUI) elements that can be selected by a user with a touch of a finger.
  • GUI graphical user interface
  • the display 610 can be equipped with capacitive, resistive or other forms of sensing technology to detect how much surface area of a user's finger has been placed on a portion of the touch screen display. This sensing information can be used to control the manipulation of the GUI elements or other functions of the user interface.
  • the display 610 can be an integral part of the housing assembly of the communication device 600 or an independent device communicatively coupled thereto by a tethered wireline interface (such as a cable) or a wireless interface.
  • the UI 604 can also include an audio system 612 that utilizes audio technology for conveying low volume audio (such as audio heard in proximity of a human ear) and high-volume audio (such as speakerphone for hands free operation).
  • the audio system 612 can further include a microphone for receiving audible signals of an end user.
  • the audio system 612 can also be used for voice recognition applications.
  • the UI 604 can further include an image sensor 613 such as a charged coupled device (CCD) camera for capturing still or moving images.
  • CCD charged coupled device
  • the power supply 614 can utilize common power management technologies such as replaceable and rechargeable batteries, supply regulation technologies, and/or charging system technologies for supplying energy to the components of the communication device 600 to facilitate long-range or short-range portable communications.
  • the charging system can utilize external power sources such as DC power supplied over a physical interface such as a USB port or other suitable tethering technologies.
  • the location receiver 616 can utilize location technology such as a global positioning system (GPS) receiver capable of assisted GPS for identifying a location of the communication device 600 based on signals generated by a constellation of GPS satellites, which can be used for facilitating location services such as navigation.
  • GPS global positioning system
  • the motion sensor 618 can utilize motion sensing technology such as an accelerometer, a gyroscope, or other suitable motion sensing technology to detect motion of the communication device 600 in three-dimensional space.
  • the orientation sensor 620 can utilize orientation sensing technology such as a magnetometer to detect the orientation of the communication device 600 (north, south, west, and east, as well as combined orientations in degrees, minutes, or other suitable orientation metrics).
  • the communication device 600 can use the transceiver 602 to also determine a proximity to a cellular, Wi-Fi, Bluetooth®, or other wireless access points by sensing techniques such as utilizing a received signal strength indicator (RSSI) and/or signal time of arrival (TOA) or time of flight (TOF) measurements.
  • the controller 606 can utilize computing technologies such as a microprocessor, a digital signal processor (DSP), programmable gate arrays, application specific integrated circuits, and/or a video processor with associated storage memory such as Flash, ROM, RAM, SRAM, DRAM or other storage technologies for executing computer instructions, controlling, and processing data supplied by the aforementioned components of the communication device 600 .
  • computing technologies such as a microprocessor, a digital signal processor (DSP), programmable gate arrays, application specific integrated circuits, and/or a video processor with associated storage memory such as Flash, ROM, RAM, SRAM, DRAM or other storage technologies for executing computer instructions, controlling, and processing data supplied by the aforementioned components of the
  • the communication device 600 can include a slot for adding or removing an identity module such as a Subscriber Identity Module (SIM) card or Universal Integrated Circuit Card (UICC). SIM or UICC cards can be used for identifying subscriber services, executing programs, storing subscriber data, and so on.
  • SIM Subscriber Identity Module
  • UICC Universal Integrated Circuit Card
  • first is for clarity only and does not otherwise indicate or imply any order in time. For instance, “a first determination,” “a second determination,” and “a third determination,” does not indicate or imply that the first determination is to be made before the second determination, or vice versa, etc.
  • the memory components described herein can be either volatile memory or nonvolatile memory, or can comprise both volatile and nonvolatile memory, by way of illustration, and not limitation, volatile memory, non-volatile memory, disk storage, and memory storage.
  • nonvolatile memory can be included in read only memory (ROM), programmable ROM (PROM), electrically programmable ROM (EPROM), electrically erasable ROM (EEPROM), or flash memory.
  • Volatile memory can comprise random access memory (RAM), which acts as external cache memory.
  • RAM is available in many forms such as synchronous RAM (SRAM), dynamic RAM (DRAM), synchronous DRAM (SDRAM), double data rate SDRAM (DDR SDRAM), enhanced SDRAM (ESDRAM), Synchlink DRAM (SLDRAM), and direct Rambus RAM (DRRAM).
  • SRAM synchronous RAM
  • DRAM dynamic RAM
  • SDRAM synchronous DRAM
  • DDR SDRAM double data rate SDRAM
  • ESDRAM enhanced SDRAM
  • SLDRAM Synchlink DRAM
  • DRRAM direct Rambus RAM
  • the disclosed memory components of systems or methods herein are intended to comprise, without being limited to comprising, these and any other suitable types of memory.
  • the disclosed subject matter can be practiced with other computer system configurations, comprising single-processor or multiprocessor computer systems, mini-computing devices, mainframe computers, as well as personal computers, hand-held computing devices (e.g., PDA, phone, smartphone, watch, tablet computers, netbook computers, etc.), microprocessor-based or programmable consumer or industrial electronics, and the like.
  • the illustrated aspects can also be practiced in distributed computing environments where tasks are performed by remote processing devices that are linked through a communications network; however, some if not all aspects of the subject disclosure can be practiced on stand-alone computers.
  • program modules can be located in both local and remote memory storage devices.
  • information regarding use of services can be generated including services being accessed, media consumption history, user preferences, and so forth.
  • This information can be obtained by various methods including user input, detecting types of communications (e.g., video content vs. audio content), analysis of content streams, sampling, and so forth.
  • the generating, obtaining and/or monitoring of this information can be responsive to an authorization provided by the user.
  • an analysis of data can be subject to authorization from user(s) associated with the data, such as an opt-in, an opt-out, acknowledgement requirements, notifications, selective authorization based on types of data, and so forth.
  • Some of the embodiments described herein can also employ artificial intelligence (AI) to facilitate automating one or more features described herein.
  • AI artificial intelligence
  • the embodiments e.g., in connection with automatically identifying acquired cell sites that provide a maximum value/benefit after addition to an existing communication network
  • the classifier can employ various AI-based schemes for carrying out various embodiments thereof.
  • the classifier can be employed to determine a ranking or priority of each cell site of the acquired network.
  • Such classification can employ a probabilistic and/or statistical-based analysis (e.g., factoring into the analysis utilities and costs) to determine or infer an action that a user desires to be automatically performed.
  • a support vector machine (SVM) is an example of a classifier that can be employed. The SVM operates by finding a hypersurface in the space of possible inputs, which the hypersurface attempts to split the triggering criteria from the non-triggering events. Intuitively, this makes the classification correct for testing data that is near, but not identical to training data.
  • Other directed and undirected model classification approaches comprise, e.g., na ⁇ ve Bayes, Bayesian networks, decision trees, neural networks, fuzzy logic models, and probabilistic classification models providing different patterns of independence can be employed. Classification as used herein also is inclusive of statistical regression that is utilized to develop models of priority.
  • one or more of the embodiments can employ classifiers that are explicitly trained (e.g., via a generic training data) as well as implicitly trained (e.g., via observing UE behavior, operator preferences, historical information, receiving extrinsic information).
  • SVMs can be configured via a learning or training phase within a classifier constructor and feature selection module.
  • the classifier(s) can be used to automatically learn and perform a number of functions, including but not limited to determining according to predetermined criteria which of the acquired cell sites will benefit a maximum number of subscribers and/or which of the acquired cell sites will add minimum value to the existing communication network coverage, etc.
  • the terms “component,” “system” and the like are intended to refer to, or comprise, a computer-related entity or an entity related to an operational apparatus with one or more specific functionalities, wherein the entity can be either hardware, a combination of hardware and software, software, or software in execution.
  • a component may be, but is not limited to being, a process running on a processor, a processor, an object, an executable, a thread of execution, computer-executable instructions, a program, and/or a computer.
  • an application running on a server and the server can be a component.
  • One or more components may reside within a process and/or thread of execution and a component may be localized on one computer and/or distributed between two or more computers. In addition, these components can execute from various computer readable media having various data structures stored thereon. The components may communicate via local and/or remote processes such as in accordance with a signal having one or more data packets (e.g., data from one component interacting with another component in a local system, distributed system, and/or across a network such as the Internet with other systems via the signal).
  • a signal having one or more data packets (e.g., data from one component interacting with another component in a local system, distributed system, and/or across a network such as the Internet with other systems via the signal).
  • a component can be an apparatus with specific functionality provided by mechanical parts operated by electric or electronic circuitry, which is operated by a software or firmware application executed by a processor, wherein the processor can be internal or external to the apparatus and executes at least a part of the software or firmware application.
  • a component can be an apparatus that provides specific functionality through electronic components without mechanical parts, the electronic components can comprise a processor therein to execute software or firmware that confers at least in part the functionality of the electronic components. While various components have been illustrated as separate components, it will be appreciated that multiple components can be implemented as a single component, or a single component can be implemented as multiple components, without departing from example embodiments.
  • the various embodiments can be implemented as a method, apparatus or article of manufacture using standard programming and/or engineering techniques to produce software, firmware, hardware or any combination thereof to control a computer to implement the disclosed subject matter.
  • article of manufacture as used herein is intended to encompass a computer program accessible from any computer-readable device or computer-readable storage/communications media.
  • computer readable storage media can include, but are not limited to, magnetic storage devices (e.g., hard disk, floppy disk, magnetic strips), optical disks (e.g., compact disk (CD), digital versatile disk (DVD)), smart cards, and flash memory devices (e.g., card, stick, key drive).
  • magnetic storage devices e.g., hard disk, floppy disk, magnetic strips
  • optical disks e.g., compact disk (CD), digital versatile disk (DVD)
  • smart cards e.g., card, stick, key drive
  • example and exemplary are used herein to mean serving as an instance or illustration. Any embodiment or design described herein as “example” or “exemplary” is not necessarily to be construed as preferred or advantageous over other embodiments or designs. Rather, use of the word example or exemplary is intended to present concepts in a concrete fashion.
  • the term “or” is intended to mean an inclusive “or” rather than an exclusive “or”. That is, unless specified otherwise or clear from context, “X employs A or B” is intended to mean any of the natural inclusive permutations.
  • terms such as “user equipment,” “mobile station,” “mobile,” subscriber station,” “access terminal,” “terminal,” “handset,” “mobile device” can refer to a wireless device utilized by a subscriber or user of a wireless communication service to receive or convey data, control, voice, video, sound, gaming or substantially any data-stream or signaling-stream.
  • the foregoing terms are utilized interchangeably herein and with reference to the related drawings.
  • the terms “user,” “subscriber,” “customer,” “consumer” and the like are employed interchangeably throughout, unless context warrants particular distinctions among the terms. It should be appreciated that such terms can refer to human entities or automated components supported through artificial intelligence (e.g., a capacity to make inference based, at least, on complex mathematical formalisms), which can provide simulated vision, sound recognition and so forth.
  • artificial intelligence e.g., a capacity to make inference based, at least, on complex mathematical formalisms
  • processor can refer to substantially any computing processing unit or device comprising, but not limited to comprising, single-core processors; single-processors with software multithread execution capability; multi-core processors; multi-core processors with software multithread execution capability; multi-core processors with hardware multithread technology; parallel platforms; and parallel platforms with distributed shared memory.
  • a processor can refer to an integrated circuit, an application specific integrated circuit (ASIC), a digital signal processor (DSP), a field programmable gate array (FPGA), a programmable logic controller (PLC), a complex programmable logic device (CPLD), a discrete gate or transistor logic, discrete hardware components or any combination thereof designed to perform the functions described herein.
  • ASIC application specific integrated circuit
  • DSP digital signal processor
  • FPGA field programmable gate array
  • PLC programmable logic controller
  • CPLD complex programmable logic device
  • processors can exploit nano-scale architectures such as, but not limited to, molecular and quantum-dot based transistors, switches and gates, in order to optimize space usage or enhance performance of user equipment.
  • a processor can also be implemented as a combination of computing processing units.
  • a flow diagram may include a “start” and/or “continue” indication.
  • the “start” and “continue” indications reflect that the steps presented can optionally be incorporated in or otherwise used in conjunction with other routines.
  • start indicates the beginning of the first step presented and may be preceded by other activities not specifically shown.
  • continue indicates that the steps presented may be performed multiple times and/or may be succeeded by other activities not specifically shown.
  • a flow diagram indicates a particular ordering of steps, other orderings are likewise possible provided that the principles of causality are maintained.
  • the term(s) “operably coupled to”, “coupled to”, and/or “coupling” includes direct coupling between items and/or indirect coupling between items via one or more intervening items.
  • Such items and intervening items include, but are not limited to, junctions, communication paths, components, circuit elements, circuits, functional blocks, and/or devices.
  • indirect coupling a signal conveyed from a first item to a second item may be modified by one or more intervening items by modifying the form, nature or format of information in a signal, while one or more elements of the information in the signal are nevertheless conveyed in a manner than can be recognized by the second item.
  • an action in a first item can cause a reaction on the second item, as a result of actions and/or reactions in one or more intervening items.

Landscapes

  • Engineering & Computer Science (AREA)
  • Signal Processing (AREA)
  • Physics & Mathematics (AREA)
  • Theoretical Computer Science (AREA)
  • Software Systems (AREA)
  • Computer Vision & Pattern Recognition (AREA)
  • Evolutionary Computation (AREA)
  • Multimedia (AREA)
  • Human Computer Interaction (AREA)
  • Business, Economics & Management (AREA)
  • Marketing (AREA)
  • Artificial Intelligence (AREA)
  • Audiology, Speech & Language Pathology (AREA)
  • Data Mining & Analysis (AREA)
  • Acoustics & Sound (AREA)
  • Medical Informatics (AREA)
  • Health & Medical Sciences (AREA)
  • Computing Systems (AREA)
  • General Engineering & Computer Science (AREA)
  • General Physics & Mathematics (AREA)
  • Mathematical Physics (AREA)
  • Computational Linguistics (AREA)
  • Computer Security & Cryptography (AREA)
  • Technology Law (AREA)
  • Mobile Radio Communication Systems (AREA)

Abstract

Aspects of the subject disclosure may include, for example, a method of receiving, by a processing system including a processor, a call for a subscriber; determining, by the processing system, that the call is from an interactive voice response (IVR) system; determining whether the IVR system is providing a query that requires a response; and responsive to a first determination that the IVR system requires the response, providing the response. Other embodiments are disclosed.

Description

FIELD OF THE DISCLOSURE
The subject disclosure relates to a Delayed Interactive Auto Attendant.
BACKGROUND
Unwanted calls from automated interactive voice response systems are irksome for called parties. Similarly, unsolicited short message service (SMS) text messages can be wasteful.
BRIEF DESCRIPTION OF THE DRAWINGS
Reference will now be made to the accompanying drawings, which are not necessarily drawn to scale, and wherein:
FIG. 1 is a block diagram illustrating an exemplary, non-limiting embodiment of a communications network in accordance with various aspects described herein.
FIG. 2A is a block diagram illustrating an example, non-limiting embodiment of a system functioning within the communication network of FIG. 1 in accordance with various aspects described herein.
FIG. 2B depicts an illustrative embodiment of a method in accordance with various aspects described herein.
FIG. 3 is a block diagram illustrating an example, non-limiting embodiment of a virtualized communication network in accordance with various aspects described herein.
FIG. 4 is a block diagram of an example, non-limiting embodiment of a computing environment in accordance with various aspects described herein.
FIG. 5 is a block diagram of an example, non-limiting embodiment of a mobile network platform in accordance with various aspects described herein.
FIG. 6 is a block diagram of an example, non-limiting embodiment of a communication device in accordance with various aspects described herein.
DETAILED DESCRIPTION
The subject disclosure describes, among other things, illustrative embodiments for an interactive auto attendant that can provide delayed responses to interactive voice response (IVR) systems. Other embodiments are described in the subject disclosure.
One or more aspects of the subject disclosure include a device that has a processing system including a processor; and a memory that stores executable instructions that, when executed by the processing system, facilitate performance of operations including: receiving a call for a subscriber; determining whether the call is fraudulent; responsive to a first determination that the call is fraudulent, dropping the call; responsive to a second determination that the call is not fraudulent, determining whether call is from an interactive voice response (IVR) system; responsive to a third determination that the call is from an IVR system, determining whether the IVR system is providing a query that requires a response; and responsive to a fourth determination that the IVR system requires the response, providing the response.
One or more aspects of the subject disclosure include a non-transitory, machine-readable medium, comprising executable instructions that, when executed by a processing system including a processor, facilitate performance of operations including: receiving a call for a subscriber; determining whether call is from an interactive voice response (IVR) system; responsive to a first determination that the call is from an IVR system, determining whether the IVR system is providing a query that requires a response; and responsive to a second determination that the IVR system requires the response, providing the response.
One or more aspects of the subject disclosure include a method of receiving, by a processing system including a processor, a call for a subscriber; determining, by the processing system, that the call is from an interactive voice response (IVR) system; determining whether the IVR system is providing a query that requires a response; and responsive to a first determination that the IVR system requires the response, providing the response.
Referring now to FIG. 1 , a block diagram is shown illustrating an example, non-limiting embodiment of a system 100 in accordance with various aspects described herein. For example, system 100 can facilitate in whole or in part routing calls through communications network 125, receiving calls for a subscriber, determining whether calls are from an interactive voice response (IVR) system, and determining whether the IVR system is providing a query that requires a response. In particular, a communications network 125 is presented for providing broadband access 110 to a plurality of data terminals 114 via access terminal 112, wireless access 120 to a plurality of mobile devices 124 and vehicle 126 via base station or access point 122, voice access 130 to a plurality of telephony devices 134, via switching device 132 and/or media access 140 to a plurality of audio/video display devices 144 via media terminal 142. In addition, communication network 125 is coupled to one or more content sources 175 of audio, video, graphics, text and/or other media. While broadband access 110, wireless access 120, voice access 130 and media access 140 are shown separately, one or more of these forms of access can be combined to provide multiple access services to a single client device (e.g., mobile devices 124 can receive media content via media terminal 142, data terminal 114 can be provided voice access via switching device 132, and so on).
The communications network 125 includes a plurality of network elements (NE) 150, 152, 154, 156, etc. for facilitating the broadband access 110, wireless access 120, voice access 130, media access 140 and/or the distribution of content from content sources 175. The communications network 125 can include a circuit switched or packet switched network, a voice over Internet protocol (VoIP) network, Internet protocol (IP) network, a cable network, a passive or active optical network, a 4G, 5G, or higher generation wireless access network, WIMAX network, UltraWideband network, personal area network or other wireless access network, a broadcast satellite network and/or other communications network.
In various embodiments, the access terminal 112 can include a digital subscriber line access multiplexer (DSLAM), cable modem termination system (CMTS), optical line terminal (OLT) and/or other access terminal. The data terminals 114 can include personal computers, laptop computers, netbook computers, tablets or other computing devices along with digital subscriber line (DSL) modems, data over coax service interface specification (DOCSIS) modems or other cable modems, a wireless modem such as a 4G, 5G, or higher generation modem, an optical modem and/or other access devices.
In various embodiments, the base station or access point 122 can include a 4G, 5G, or higher generation base station, an access point that operates via an 802.11 standard such as 802.11n, 802.11ac or other wireless access terminal. The mobile devices 124 can include mobile phones, e-readers, tablets, phablets, wireless modems, and/or other mobile computing devices.
In various embodiments, the switching device 132 can include a private branch exchange or central office switch, a media services gateway, VoIP gateway or other gateway device and/or other switching device. The telephony devices 134 can include traditional telephones (with or without a terminal adapter), VoIP telephones and/or other telephony devices.
In various embodiments, the media terminal 142 can include a cable head-end or other TV head-end, a satellite receiver, gateway or other media terminal 142. The display devices 144 can include televisions with or without a set top box, personal computers and/or other display devices.
In various embodiments, the content sources 175 include broadcast television and radio sources, video on demand platforms and streaming video and audio services platforms, one or more content data networks, data servers, web servers and other content servers, and/or other sources of media.
In various embodiments, the communications network 125 can include wired, optical and/or wireless links and the network elements 150, 152, 154, 156, etc. can include service switching points, signal transfer points, service control points, network gateways, media distribution hubs, servers, firewalls, routers, edge devices, switches and other network nodes for routing and controlling communications traffic over wired, optical and wireless links as part of the Internet and other public networks as well as one or more private networks, for managing subscriber access, for billing and network management and for supporting other network functions.
FIG. 2A is a block diagram illustrating an example, non-limiting embodiment of a system 200 functioning within the communication network of FIG. 1 in accordance with various aspects described herein. System 200 comprises a delayed interactive auto attendant (DIAA) 201 within the communications network 125 of a subscriber. As shown in FIG. 2A, calls are routed through the communications network 125 to a subscriber's telephone 202. While a calling party is often a human user of a telephone 203, sometimes calls are originated by an interactive voice response (IVR) system 210.
In an embodiment illustrated in FIG. 2A, DIAA 201 can be enabled to intercept incoming calls 211, 212 and analyze such calls for the called party (also referred to herein as the “subscriber”). As well-known in the art, a recent caller identification technology known as Secure Telephone Identity Revisited (STIR) and Signature-based Handling of Asserted Information Using toKENs (SHAKEN), i.e., “STIR/SHAKEN.” STIR/SHAKEN identifies whether the originating caller is authorized to use the calling number that is transmitted as the caller identification (ID).
Figure US11553084-20230110-P00001
STIR/SHAKEN provides that the originating carriers for calling parties must digitally sign the calling parties' calls to cryptographically identify the caller, and that calls 211, 212 traveling through interconnected phone networks would have their caller ID “signed” as authentic by the originating carrier and validated by other carriers before reaching the subscriber's telephone 202. The STIR/SHAKEN protocol digitally validates the handoff of phone calls 211, 212 passing through the complex web of networks, allowing the communications network 125 of the subscriber receiving the call to verify that a call 211, 212 is in fact from the number displayed on caller ID. DIAA 201 can analyze the caller ID to filter out unwanted automated calls, such as dropping a call from a misused IVR. In an embodiment, the DIAA 201 can use current suspected criteria, such as crowdsourced reported calls, i.e., a large volume calls having the same origination number, or the like, to filter out unwanted automated calls. In an embodiment, DIAA 201 can provide a notification to the subscriber that a particular call was dropped or filtered. But the DIAA 201 can pass through calls from private parties, such as call 211 from calling party 203, to the subscriber's telephone 202 (i.e., the completion of such calls illustrated as 213, 214). In addition, DIAA 201 can permit wanted automated calls 212 from an IVR 210 being used for authentic, non-fraudulent purposes, as described in more detail below.
In an embodiment, DIAA 201 picks up the call 212 suspected to be from IVR 210 and analyzes the audio to determine if a response is needed. Speech-to-text, Machine Learning (ML), and artificial intelligence (AI) technologies built into DIAA 201 assess the context of the message. For example, DIAA 201 checks the caller ID to see whether the caller ID provides a known company name, or whether the company name is missing or not known to the subscriber. In an embodiment, DIAA 201 analyzes a portion of the conversation for truthfulness. DIAA 201 will examine the incoming IVR audio using machine learning technologies and audio analysis to see if the incoming call is a live human, and also whether the content is consistent with known spam/fraud attacks. DIAA 201 will also evaluate the contents in the context of the called party's potential relationship with the caller (e.g., if the caller is a doctor's office, DIAA 201 will determine whether there a prior relationship with that physician's office). If DIAA 201 determines that the call may be untruthful, DIAA 201 may direct the call to Voicemail or to be transcribed by text and alert the subscriber to a potential scam call and give the option either to read or discard. Additionally, DIAA 201 determines whether the IVR 210 is providing a query requiring a response. For example, IVR 210 may request that the called party “press 1 to confirm” a scheduled appointment. If IVR 210 requires no interaction, DIAA 201 can route the call 212 to the called party 202 with the message provided by IVR 210 to the called party 202 as a delayed message.
However, if IVR 210 requires some form of interaction, DIAA 201 will determine some manner to keep call 212 active. For example, DIAA 201 may analyze the message for an option to repeat the message and will keep repeating as needed until a delayed recipient response is received from the called party 202. In another embodiment, DIAA 201 may query IVR 210 to obtain the make/model and allowable application program interfaces (APIs) provided by IVR 210. DIAA 201 may send a synchronous API command 216 to IVR 210 to have IVR 210 “wait” until the message can be provided to the called party 202, so that the subscriber can provide a response. DIAA 201 will then provide the subscriber's response to IVR 210. For example, IVR 210 may wish to confirm an appointment. DIAA 201 will then contact the called party 202 to obtain the subscriber's response, and then provide the response to IVR 210 (i.e., appointment confirmed/denied). If the called party 202 is not available, DIAA 201 can try to contact the called party 202 again later, provide the message to the subscriber, and forward the automated response 216 to the IVR 210. In an embodiment, DIAA 201 can be configured to whitelist specific callers and provided access to a subscriber's calendar, texts, emails, contact list, etc. and if DIAA 201 finds sufficient information, DIAA 201 can take interactive actions such as confirming appointments and notify the subscriber later on. In an embodiment, if subscriber decides the automated response provided by DIAA 201 is incorrect, DIAA 201 can call the IVR 210 back to retract the action (e.g., cancel the appointment, reschedule the appointment, etc.) Such actions may take place through an API command 216 to IVR 210.
In an embodiment, a portion of the functionality provided by DIAA 201 may be implemented as an application executed by a processing system located in the subscriber's telephone 202, illustrated in FIG. 2A as RPA 217, where the subscriber's telephone 202 may be implemented without limitation as a data terminal 114, mobile device 124, vehicle 126, display device 144 or other client device for communication via communications network 125. In the embodiment, system 200 additionally includes RPA 217, which could be part of a larger, multifunction security application downloaded onto subscribers' mobile device. RPA 217 will be in continuous communication with a component of system 200 known as a Robocall Protection Server (RPS, not illustrated), which will use data from RPA 217 to determine the caller's intent, as indicated above. In an embodiment, functionality of RPS may be included in DIAA 201. System 200 could be used in conjunction with a databased system that holds flagged records or can be a standalone system. RPS can not only monitor audio calls but can also filter text and video metadata (sender info and any unencrypted information (e.g., title, etc.) to filter out suspicious communications of any media type. RPA 217 on subscriber's telephone 202 has the ability to check the SMS and the video clip very quickly (i.e., within a few hundredths of a millisecond) to scan the media file for abnormalities (e.g., advertising video). RPA 217 can provide an alert to the subscriber (e.g., are you sure you want to open the file?). RPS checks metadata of the media file (SMS & video) and content, if available. System 200 will analyze the media file for unwanted material.
In an embodiment, ML aspects of system 200 learn from previous reported incidents. For example, some businesses send a text, video or other media while waiting for an order (e.g., restaurants, theaters, etc.). System 200 checks the location of the subscriber and correlates subscriber behavior with the premises of the business (sending media) to whitelist the media file. The premises location is identified based on the recurrence with this subscriber or other subscribers. Geographically co-located subscribers might generally share group interests or be attending a scheduled event. In such circumstances, calls originating from a business related to such event may be less suspicious. For example, subscribers in certain areas may mostly be fans of a certain sports team, so a call originated from a sports shop before the team's game would be less suspicious. In an embodiment, a subscriber shall have the ability to “opt out” or adjust settings to specify which information may be shared with DIAA 201 and RPA 217 (e.g., calendar data shall not be shared).
FIG. 2B depicts an illustrative embodiment of a method in accordance with various aspects described herein. As shown in FIG. 2B, method 220 begins in step 221 where a converged telephony server (CTS), SMS controller, or video controller routes a call or media message to the subscriber through the DIAA 201. DIAA 201 will filter the call/message to remove spam or fraudulent activity, using one or more of the techniques described above in connection with FIG. 2A.
Next in step 222, DIAA 201 determines the calling party's intent. If the call is from a person, DIAA 201 will route the call through to the subscriber. DIAA 201 determines whether the call is from an IVR through caller ID or through an API of the IVR, in which case DIAA 201 will handle the call. Additionally, DIAA 201 will pick up the call and analyze the audio using speech-to-text, ML and AI technologies to assess the “context” of the audio.
Next in step 223, DIAA 201 determines if the IVR requires a response or is merely providing information. If no response is required, the process continues to step 224, where the DIAA 201 routes the call to the subscriber. In the event that the subscriber is unavailable, the call is handled in the normal manner, for example by recording via voicemail.
If the IVR requires a response, then DIAA 201 determines an IVR delay method while attempting to obtain a response from the subscriber. In this fashion, DIAA 201 acts as a buffer between the IVR and the subscriber, thereby mitigating the intrusiveness of the IVR. In some cases, as described above in connection with FIG. 2A, DIAA 201 may provide a response to the IVR on behalf of the subscriber based on information made available to DIAA 201 by the subscriber, thereby acting as an agent for the subscriber.
While for purposes of simplicity of explanation, the respective processes are shown and described as a series of blocks in FIG. 2B, it is to be understood and appreciated that the claimed subject matter is not limited by the order of the blocks, as some blocks may occur in different orders and/or concurrently with other blocks from what is depicted and described herein. Moreover, not all illustrated blocks may be required to implement the methods described herein.
Referring now to FIG. 3 , a block diagram 300 is shown illustrating an example, non-limiting embodiment of a virtualized communication network in accordance with various aspects described herein. In particular a virtualized communication network is presented that can be used to implement some or all of the subsystems and functions of system 100, the subsystems and functions of system 200, and method 230 presented in FIGS. 1, 2A, 2B and 3 . For example, virtualized communication network 300 can facilitate in whole or in part routing calls through communications network 125, receiving calls for a subscriber, determining whether calls are from an interactive voice response (IVR) system, and determining whether the IVR system is providing a query that requires a response.
In particular, a cloud networking architecture is shown that leverages cloud technologies and supports rapid innovation and scalability via a transport layer 350, a virtualized network function cloud 325 and/or one or more cloud computing environments 375. In various embodiments, this cloud networking architecture is an open architecture that leverages application programming interfaces (APIs); reduces complexity from services and operations; supports more nimble business models; and rapidly and seamlessly scales to meet evolving customer requirements including traffic growth, diversity of traffic types, and diversity of performance and reliability expectations.
In contrast to traditional network elements—which are typically integrated to perform a single function, the virtualized communication network employs virtual network elements (VNEs) 330, 332, 334, etc. that perform some or all of the functions of network elements 150, 152, 154, 156, etc. For example, the network architecture can provide a substrate of networking capability, often called Network Function Virtualization Infrastructure (NFVI) or simply infrastructure that is capable of being directed with software and Software Defined Networking (SDN) protocols to perform a broad variety of network functions and services. This infrastructure can include several types of substrates. The most typical type of substrate being servers that support Network Function Virtualization (NFV), followed by packet forwarding capabilities based on generic computing resources, with specialized network technologies brought to bear when general-purpose processors or general-purpose integrated circuit devices offered by merchants (referred to herein as merchant silicon) are not appropriate. In this case, communication services can be implemented as cloud-centric workloads.
As an example, a traditional network element 150 (shown in FIG. 1 ), such as an edge router can be implemented via a VNE 330 composed of NFV software modules, merchant silicon, and associated controllers. The software can be written so that increasing workload consumes incremental resources from a common resource pool, and moreover so that it is elastic: so, the resources are only consumed when needed. In a similar fashion, other network elements such as other routers, switches, edge caches, and middle boxes are instantiated from the common resource pool. Such sharing of infrastructure across a broad set of uses makes planning and growing infrastructure easier to manage.
In an embodiment, the transport layer 350 includes fiber, cable, wired and/or wireless transport elements, network elements and interfaces to provide broadband access 110, wireless access 120, voice access 130, media access 140 and/or access to content sources 175 for distribution of content to any or all of the access technologies. In particular, in some cases a network element needs to be positioned at a specific place, and this allows for less sharing of common infrastructure. Other times, the network elements have specific physical layer adapters that cannot be abstracted or virtualized and might require special DSP code and analog front ends (AFEs) that do not lend themselves to implementation as VNEs 330, 332 or 334. These network elements can be included in transport layer 350.
The virtualized network function cloud 325 interfaces with the transport layer 350 to provide the VNEs 330, 332, 334, etc. to provide specific NFVs. In particular, the virtualized network function cloud 325 leverages cloud operations, applications, and architectures to support networking workloads. The virtualized network elements 330, 332 and 334 can employ network function software that provides either a one-for-one mapping of traditional network element function or alternately some combination of network functions designed for cloud computing. For example, VNEs 330, 332 and 334 can include route reflectors, domain name system (DNS) servers, and dynamic host configuration protocol (DHCP) servers, system architecture evolution (SAE) and/or mobility management entity (MME) gateways, broadband network gateways, IP edge routers for IP-VPN, Ethernet and other services, load balancers, distributers and other network elements. Because these elements do not typically need to forward large amounts of traffic, their workload can be distributed across a number of servers—each of which adds a portion of the capability, and overall, which creates an elastic function with higher availability than its former monolithic version. These virtual network elements 330, 332, 334, etc. can be instantiated and managed using an orchestration approach similar to those used in cloud compute services.
The cloud computing environments 375 can interface with the virtualized network function cloud 325 via APIs that expose functional capabilities of the VNEs 330, 332, 334, etc. to provide the flexible and expanded capabilities to the virtualized network function cloud 325. In particular, network workloads may have applications distributed across the virtualized network function cloud 325 and cloud computing environment 375 and in the commercial cloud or might simply orchestrate workloads supported entirely in NFV infrastructure from these third-party locations.
Turning now to FIG. 4 , there is illustrated a block diagram of a computing environment in accordance with various aspects described herein. In order to provide additional context for various embodiments of the embodiments described herein, FIG. 4 and the following discussion are intended to provide a brief, general description of a suitable computing environment 400 in which the various embodiments of the subject disclosure can be implemented. In particular, computing environment 400 can be used in the implementation of network elements 150, 152, 154, 156, access terminal 112, base station or access point 122, switching device 132, media terminal 142, and/or VNEs 330, 332, 334, etc. Each of these devices can be implemented via computer-executable instructions that can run on one or more computers, and/or in combination with other program modules and/or as a combination of hardware and software. For example, computing environment 400 can facilitate in whole or in part routing calls through communications network 125, receiving calls for a subscriber, determining whether calls are from an interactive voice response (IVR) system, and determining whether the IVR system is providing a query that requires a response.
Generally, program modules comprise routines, programs, components, data structures, etc., that perform particular tasks or implement particular abstract data types. Moreover, those skilled in the art will appreciate that the methods can be practiced with other computer system configurations, comprising single-processor or multiprocessor computer systems, minicomputers, mainframe computers, as well as personal computers, hand-held computing devices, microprocessor-based or programmable consumer electronics, and the like, each of which can be operatively coupled to one or more associated devices.
As used herein, a processing circuit includes one or more processors as well as other application specific circuits such as an application specific integrated circuit, digital logic circuit, state machine, programmable gate array or other circuit that processes input signals or data and that produces output signals or data in response thereto. It should be noted that while any functions and features described herein in association with the operation of a processor could likewise be performed by a processing circuit.
The illustrated embodiments of the embodiments herein can be also practiced in distributed computing environments where certain tasks are performed by remote processing devices that are linked through a communications network. In a distributed computing environment, program modules can be located in both local and remote memory storage devices.
Computing devices typically comprise a variety of media, which can comprise computer-readable storage media and/or communications media, which two terms are used herein differently from one another as follows. Computer-readable storage media can be any available storage media that can be accessed by the computer and comprises both volatile and nonvolatile media, removable and non-removable media. By way of example, and not limitation, computer-readable storage media can be implemented in connection with any method or technology for storage of information such as computer-readable instructions, program modules, structured data or unstructured data.
Computer-readable storage media can comprise, but are not limited to, random access memory (RAM), read only memory (ROM), electrically erasable programmable read only memory (EEPROM), flash memory or other memory technology, compact disk read only memory (CD-ROM), digital versatile disk (DVD) or other optical disk storage, magnetic cassettes, magnetic tape, magnetic disk storage or other magnetic storage devices or other tangible and/or non-transitory media which can be used to store desired information. In this regard, the terms “tangible” or “non-transitory” herein as applied to storage, memory or computer-readable media, are to be understood to exclude only propagating transitory signals per se as modifiers and do not relinquish rights to all standard storage, memory or computer-readable media that are not only propagating transitory signals per se.
Computer-readable storage media can be accessed by one or more local or remote computing devices, e.g., via access requests, queries or other data retrieval protocols, for a variety of operations with respect to the information stored by the medium.
Communications media typically embody computer-readable instructions, data structures, program modules or other structured or unstructured data in a data signal such as a modulated data signal, e.g., a carrier wave or other transport mechanism, and comprises any information delivery or transport media. The term “modulated data signal” or signals refers to a signal that has one or more of its characteristics set or changed in such a manner as to encode information in one or more signals. By way of example, and not limitation, communication media comprise wired media, such as a wired network or direct-wired connection, and wireless media such as acoustic, RF, infrared and other wireless media.
With reference again to FIG. 4 , the example environment can comprise a computer 402, the computer 402 comprising a processing unit 404, a system memory 406 and a system bus 408. The system bus 408 couples system components including, but not limited to, the system memory 406 to the processing unit 404. The processing unit 404 can be any of various commercially available processors. Dual microprocessors and other multiprocessor architectures can also be employed as the processing unit 404.
The system bus 408 can be any of several types of bus structure that can further interconnect to a memory bus (with or without a memory controller), a peripheral bus, and a local bus using any of a variety of commercially available bus architectures. The system memory 406 comprises ROM 410 and RAM 412. A basic input/output system (BIOS) can be stored in a non-volatile memory such as ROM, erasable programmable read only memory (EPROM), EEPROM, which BIOS contains the basic routines that help to transfer information between elements within the computer 402, such as during startup. The RAM 412 can also comprise a high-speed RAM such as static RAM for caching data.
The computer 402 further comprises an internal hard disk drive (HDD) 414 (e.g., EIDE, SATA), which internal HDD 414 can also be configured for external use in a suitable chassis (not shown), a magnetic floppy disk drive (FDD) 416, (e.g., to read from or write to a removable diskette 418) and an optical disk drive 420, (e.g., reading a CD-ROM disk 422 or, to read from or write to other high-capacity optical media such as the DVD). The HDD 414, magnetic FDD 416 and optical disk drive 420 can be connected to the system bus 408 by a hard disk drive interface 424, a magnetic disk drive interface 426 and an optical drive interface 428, respectively. The hard disk drive interface 424 for external drive implementations comprises at least one or both of Universal Serial Bus (USB) and Institute of Electrical and Electronics Engineers (IEEE) 1394 interface technologies. Other external drive connection technologies are within contemplation of the embodiments described herein.
The drives and their associated computer-readable storage media provide nonvolatile storage of data, data structures, computer-executable instructions, and so forth. For the computer 402, the drives and storage media accommodate the storage of any data in a suitable digital format. Although the description of computer-readable storage media above refers to a hard disk drive (HDD), a removable magnetic diskette, and a removable optical media such as a CD or DVD, it should be appreciated by those skilled in the art that other types of storage media which are readable by a computer, such as zip drives, magnetic cassettes, flash memory cards, cartridges, and the like, can also be used in the example operating environment, and further, that any such storage media can contain computer-executable instructions for performing the methods described herein.
A number of program modules can be stored in the drives and RAM 412, comprising an operating system 430, one or more application programs 432, other program modules 434 and program data 436. All or portions of the operating system, applications, modules, and/or data can also be cached in the RAM 412. The systems and methods described herein can be implemented utilizing various commercially available operating systems or combinations of operating systems.
A user can enter commands and information into the computer 402 through one or more wired/wireless input devices, e.g., a keyboard 438 and a pointing device, such as a mouse 440. Other input devices (not shown) can comprise a microphone, an infrared (IR) remote control, a joystick, a game pad, a stylus pen, touch screen or the like. These and other input devices are often connected to the processing unit 404 through an input device interface 442 that can be coupled to the system bus 408, but can be connected by other interfaces, such as a parallel port, an IEEE 1394 serial port, a game port, a universal serial bus (USB) port, an IR interface, etc.
A monitor 444 or other type of display device can be also connected to the system bus 408 via an interface, such as a video adapter 446. It will also be appreciated that in alternative embodiments, a monitor 444 can also be any display device (e.g., another computer having a display, a smart phone, a tablet computer, etc.) for receiving display information associated with computer 402 via any communication means, including via the Internet and cloud-based networks. In addition to the monitor 444, a computer typically comprises other peripheral output devices (not shown), such as speakers, printers, etc.
The computer 402 can operate in a networked environment using logical connections via wired and/or wireless communications to one or more remote computers, such as a remote computer(s) 448. The remote computer(s) 448 can be a workstation, a server computer, a router, a personal computer, portable computer, microprocessor-based entertainment appliance, a peer device or other common network node, and typically comprises many or all of the elements described relative to the computer 402, although, for purposes of brevity, only a remote memory/storage device 450 is illustrated. The logical connections depicted comprise wired/wireless connectivity to a local area network (LAN) 452 and/or larger networks, e.g., a wide area network (WAN) 454. Such LAN and WAN networking environments are commonplace in offices and companies, and facilitate enterprise-wide computer networks, such as intranets, all of which can connect to a global communications network, e.g., the Internet.
When used in a LAN networking environment, the computer 402 can be connected to the LAN 452 through a wired and/or wireless communication network interface or adapter 456. The adapter 456 can facilitate wired or wireless communication to the LAN 452, which can also comprise a wireless AP disposed thereon for communicating with the adapter 456.
When used in a WAN networking environment, the computer 402 can comprise a modem 458 or can be connected to a communications server on the WAN 454 or has other means for establishing communications over the WAN 454, such as by way of the Internet. The modem 458, which can be internal or external and a wired or wireless device, can be connected to the system bus 408 via the input device interface 442. In a networked environment, program modules depicted relative to the computer 402 or portions thereof, can be stored in the remote memory/storage device 450. It will be appreciated that the network connections shown are example and other means of establishing a communications link between the computers can be used.
The computer 402 can be operable to communicate with any wireless devices or entities operatively disposed in wireless communication, e.g., a printer, scanner, desktop and/or portable computer, portable data assistant, communications satellite, any piece of equipment or location associated with a wirelessly detectable tag (e.g., a kiosk, news stand, restroom), and telephone. This can comprise Wireless Fidelity (Wi-Fi) and BLUETOOTH® wireless technologies. Thus, the communication can be a predefined structure as with a conventional network or simply an ad hoc communication between at least two devices.
Wi-Fi can allow connection to the Internet from a couch at home, a bed in a hotel room or a conference room at work, without wires. Wi-Fi is a wireless technology similar to that used in a cell phone that enables such devices, e.g., computers, to send and receive data indoors and out; anywhere within the range of a base station. Wi-Fi networks use radio technologies called IEEE 802.11 (a, b, g, n, ac, ag, etc.) to provide secure, reliable, fast wireless connectivity. A Wi-Fi network can be used to connect computers to each other, to the Internet, and to wired networks (which can use IEEE 802.3 or Ethernet). Wi-Fi networks operate in the unlicensed 2.4 and 5 GHz radio bands for example or with products that contain both bands (dual band), so the networks can provide real-world performance similar to the basic 10BaseT wired Ethernet networks used in many offices.
Turning now to FIG. 5 , an embodiment 500 of a mobile network platform 510 is shown that is an example of network elements 150, 152, 154, 156, and/or VNEs 330, 332, 334, etc. For example, platform 510 can facilitate in whole or in part routing calls through communications network 125, receiving calls for a subscriber, determining whether calls are from an interactive voice response (IVR) system, and determining whether the IVR system is providing a query that requires a response. In one or more embodiments, the mobile network platform 510 can generate and receive signals transmitted and received by base stations or access points such as base station or access point 122. Generally, mobile network platform 510 can comprise components, e.g., nodes, gateways, interfaces, servers, or disparate platforms, that facilitate both packet-switched (PS) (e.g., internet protocol (IP), frame relay, asynchronous transfer mode (ATM)) and circuit-switched (CS) traffic (e.g., voice and data), as well as control generation for networked wireless telecommunication. As a non-limiting example, mobile network platform 510 can be included in telecommunications carrier networks and can be considered carrier-side components as discussed elsewhere herein. Mobile network platform 510 comprises CS gateway node(s) 512 which can interface CS traffic received from legacy networks like telephony network(s) 540 (e.g., public switched telephone network (PSTN), or public land mobile network (PLMN)) or a signaling system #7 (SS7) network 560. CS gateway node(s) 512 can authorize and authenticate traffic (e.g., voice) arising from such networks. Additionally, CS gateway node(s) 512 can access mobility, or roaming, data generated through SS7 network 560; for instance, mobility data stored in a visited location register (VLR), which can reside in memory 530. Moreover, CS gateway node(s) 512 interfaces CS-based traffic and signaling and PS gateway node(s) 518. As an example, in a 3GPP UMTS network, CS gateway node(s) 512 can be realized at least in part in gateway GPRS support node(s) (GGSN). It should be appreciated that functionality and specific operation of CS gateway node(s) 512, PS gateway node(s) 518, and serving node(s) 516, is provided and dictated by radio technology(ies) utilized by mobile network platform 510 for telecommunication over a radio access network 520 with other devices, such as a radiotelephone 575.
In addition to receiving and processing CS-switched traffic and signaling, PS gateway node(s) 518 can authorize and authenticate PS-based data sessions with served mobile devices. Data sessions can comprise traffic, or content(s), exchanged with networks external to the mobile network platform 510, like wide area network(s) (WANs) 550, enterprise network(s) 570, and service network(s) 580, which can be embodied in local area network(s) (LANs), can also be interfaced with mobile network platform 510 through PS gateway node(s) 518. It is to be noted that WANs 550 and enterprise network(s) 570 can embody, at least in part, a service network(s) like IP multimedia subsystem (IMS). Based on radio technology layer(s) available in technology resource(s) or radio access network 520, PS gateway node(s) 518 can generate packet data protocol contexts when a data session is established; other data structures that facilitate routing of packetized data also can be generated. To that end, in an aspect, PS gateway node(s) 518 can comprise a tunnel interface (e.g., tunnel termination gateway (TTG) in 3GPP UMTS network(s) (not shown)) which can facilitate packetized communication with disparate wireless network(s), such as Wi-Fi networks.
In embodiment 500, mobile network platform 510 also comprises serving node(s) 516 that, based upon available radio technology layer(s) within technology resource(s) in the radio access network 520, convey the various packetized flows of data streams received through PS gateway node(s) 518. It is to be noted that for technology resource(s) that rely primarily on CS communication, server node(s) can deliver traffic without reliance on PS gateway node(s) 518; for example, server node(s) can embody at least in part a mobile switching center. As an example, in a 3GPP UMTS network, serving node(s) 516 can be embodied in serving GPRS support node(s) (SGSN).
For radio technologies that exploit packetized communication, server(s) 514 in mobile network platform 510 can execute numerous applications that can generate multiple disparate packetized data streams or flows, and manage (e.g., schedule, queue, format . . . ) such flows. Such application(s) can comprise add-on features to standard services (for example, provisioning, billing, customer support . . . ) provided by mobile network platform 510. Data streams (e.g., content(s) that are part of a voice call or data session) can be conveyed to PS gateway node(s) 518 for authorization/authentication and initiation of a data session, and to serving node(s) 516 for communication thereafter. In addition to application server, server(s) 514 can comprise utility server(s), a utility server can comprise a provisioning server, an operations and maintenance server, a security server that can implement at least in part a certificate authority and firewalls as well as other security mechanisms, and the like. In an aspect, security server(s) secure communication served through mobile network platform 510 to ensure network's operation and data integrity in addition to authorization and authentication procedures that CS gateway node(s) 512 and PS gateway node(s) 518 can enact. Moreover, provisioning server(s) can provision services from external network(s) like networks operated by a disparate service provider; for instance, WAN 550 or Global Positioning System (GPS) network(s) (not shown). Provisioning server(s) can also provision coverage through networks associated to mobile network platform 510 (e.g., deployed and operated by the same service provider), such as the distributed antennas networks shown in FIG. 1(s) that enhance wireless service coverage by providing more network coverage.
It is to be noted that server(s) 514 can comprise one or more processors configured to confer at least in part the functionality of mobile network platform 510. To that end, the one or more processor can execute code instructions stored in memory 530, for example. It should be appreciated that server(s) 514 can comprise a content manager, which operates in substantially the same manner as described hereinbefore.
In example embodiment 500, memory 530 can store information related to operation of mobile network platform 510. Other operational information can comprise provisioning information of mobile devices served through mobile network platform 510, subscriber databases; application intelligence, pricing schemes, e.g., promotional rates, flat-rate programs, couponing campaigns; technical specification(s) consistent with telecommunication protocols for operation of disparate radio, or wireless, technology layers; and so forth. Memory 530 can also store information from at least one of telephony network(s) 540, WAN 550, SS7 network 560, or enterprise network(s) 570. In an aspect, memory 530 can be, for example, accessed as part of a data store component or as a remotely connected memory store.
In order to provide a context for the various aspects of the disclosed subject matter, FIG. 5 , and the following discussion, are intended to provide a brief, general description of a suitable environment in which the various aspects of the disclosed subject matter can be implemented. While the subject matter has been described above in the general context of computer-executable instructions of a computer program that runs on a computer and/or computers, those skilled in the art will recognize that the disclosed subject matter also can be implemented in combination with other program modules. Generally, program modules comprise routines, programs, components, data structures, etc. that perform particular tasks and/or implement particular abstract data types.
Turning now to FIG. 6 , an illustrative embodiment of a communication device 600 is shown. The communication device 600 can serve as an illustrative embodiment of devices such as data terminals 114, mobile devices 124, vehicle 126, display devices 144 or other client devices for communication via either communications network 125. For example, computing device 600 can facilitate in whole or in part routing calls through communications network 125, receiving calls for a subscriber, determining whether calls are from an interactive voice response (IVR) system, and determining whether the IVR system is providing a query that requires a response.
The communication device 600 can comprise a wireline and/or wireless transceiver 602 (herein transceiver 602), a user interface (UI) 604, a power supply 614, a location receiver 616, a motion sensor 618, an orientation sensor 620, and a controller 606 for managing operations thereof. The transceiver 602 can support short-range or long-range wireless access technologies such as Bluetooth®, ZigBee®, Wi-Fi, DECT, or cellular communication technologies, just to mention a few (Bluetooth® and ZigBee® are trademarks registered by the Bluetooth® Special Interest Group and the ZigBee® Alliance, respectively). Cellular technologies can include, for example, CDMA-1×, UMTS/HSDPA, GSM/GPRS, TDMA/EDGE, EV/DO, WiMAX, SDR, LTE, as well as other next generation wireless communication technologies as they arise. The transceiver 602 can also be adapted to support circuit-switched wireline access technologies (such as PSTN), packet-switched wireline access technologies (such as TCP/IP, VoIP, etc.), and combinations thereof.
The UI 604 can include a depressible or touch-sensitive keypad 608 with a navigation mechanism such as a roller ball, a joystick, a mouse, or a navigation disk for manipulating operations of the communication device 600. The keypad 608 can be an integral part of a housing assembly of the communication device 600 or an independent device operably coupled thereto by a tethered wireline interface (such as a USB cable) or a wireless interface supporting for example Bluetooth®. The keypad 608 can represent a numeric keypad commonly used by phones, and/or a QWERTY keypad with alphanumeric keys. The UI 604 can further include a display 610 such as monochrome or color LCD (Liquid Crystal Display), OLED (Organic Light Emitting Diode) or other suitable display technology for conveying images to an end user of the communication device 600. In an embodiment where the display 610 is touch-sensitive, a portion or all of the keypad 608 can be presented by way of the display 610 with navigation features.
The display 610 can use touch screen technology to also serve as a user interface for detecting user input. As a touch screen display, the communication device 600 can be adapted to present a user interface having graphical user interface (GUI) elements that can be selected by a user with a touch of a finger. The display 610 can be equipped with capacitive, resistive or other forms of sensing technology to detect how much surface area of a user's finger has been placed on a portion of the touch screen display. This sensing information can be used to control the manipulation of the GUI elements or other functions of the user interface. The display 610 can be an integral part of the housing assembly of the communication device 600 or an independent device communicatively coupled thereto by a tethered wireline interface (such as a cable) or a wireless interface.
The UI 604 can also include an audio system 612 that utilizes audio technology for conveying low volume audio (such as audio heard in proximity of a human ear) and high-volume audio (such as speakerphone for hands free operation). The audio system 612 can further include a microphone for receiving audible signals of an end user. The audio system 612 can also be used for voice recognition applications. The UI 604 can further include an image sensor 613 such as a charged coupled device (CCD) camera for capturing still or moving images.
The power supply 614 can utilize common power management technologies such as replaceable and rechargeable batteries, supply regulation technologies, and/or charging system technologies for supplying energy to the components of the communication device 600 to facilitate long-range or short-range portable communications. Alternatively, or in combination, the charging system can utilize external power sources such as DC power supplied over a physical interface such as a USB port or other suitable tethering technologies.
The location receiver 616 can utilize location technology such as a global positioning system (GPS) receiver capable of assisted GPS for identifying a location of the communication device 600 based on signals generated by a constellation of GPS satellites, which can be used for facilitating location services such as navigation. The motion sensor 618 can utilize motion sensing technology such as an accelerometer, a gyroscope, or other suitable motion sensing technology to detect motion of the communication device 600 in three-dimensional space. The orientation sensor 620 can utilize orientation sensing technology such as a magnetometer to detect the orientation of the communication device 600 (north, south, west, and east, as well as combined orientations in degrees, minutes, or other suitable orientation metrics).
The communication device 600 can use the transceiver 602 to also determine a proximity to a cellular, Wi-Fi, Bluetooth®, or other wireless access points by sensing techniques such as utilizing a received signal strength indicator (RSSI) and/or signal time of arrival (TOA) or time of flight (TOF) measurements. The controller 606 can utilize computing technologies such as a microprocessor, a digital signal processor (DSP), programmable gate arrays, application specific integrated circuits, and/or a video processor with associated storage memory such as Flash, ROM, RAM, SRAM, DRAM or other storage technologies for executing computer instructions, controlling, and processing data supplied by the aforementioned components of the communication device 600.
Other components not shown in FIG. 6 can be used in one or more embodiments of the subject disclosure. For instance, the communication device 600 can include a slot for adding or removing an identity module such as a Subscriber Identity Module (SIM) card or Universal Integrated Circuit Card (UICC). SIM or UICC cards can be used for identifying subscriber services, executing programs, storing subscriber data, and so on.
The terms “first,” “second,” “third,” and so forth, as used in the claims, unless otherwise clear by context, is for clarity only and does not otherwise indicate or imply any order in time. For instance, “a first determination,” “a second determination,” and “a third determination,” does not indicate or imply that the first determination is to be made before the second determination, or vice versa, etc.
In the subject specification, terms such as “store,” “storage,” “data store,” data storage,” “database,” and substantially any other information storage component relevant to operation and functionality of a component, refer to “memory components,” or entities embodied in a “memory” or components comprising the memory. It will be appreciated that the memory components described herein can be either volatile memory or nonvolatile memory, or can comprise both volatile and nonvolatile memory, by way of illustration, and not limitation, volatile memory, non-volatile memory, disk storage, and memory storage. Further, nonvolatile memory can be included in read only memory (ROM), programmable ROM (PROM), electrically programmable ROM (EPROM), electrically erasable ROM (EEPROM), or flash memory. Volatile memory can comprise random access memory (RAM), which acts as external cache memory. By way of illustration and not limitation, RAM is available in many forms such as synchronous RAM (SRAM), dynamic RAM (DRAM), synchronous DRAM (SDRAM), double data rate SDRAM (DDR SDRAM), enhanced SDRAM (ESDRAM), Synchlink DRAM (SLDRAM), and direct Rambus RAM (DRRAM). Additionally, the disclosed memory components of systems or methods herein are intended to comprise, without being limited to comprising, these and any other suitable types of memory.
Moreover, it will be noted that the disclosed subject matter can be practiced with other computer system configurations, comprising single-processor or multiprocessor computer systems, mini-computing devices, mainframe computers, as well as personal computers, hand-held computing devices (e.g., PDA, phone, smartphone, watch, tablet computers, netbook computers, etc.), microprocessor-based or programmable consumer or industrial electronics, and the like. The illustrated aspects can also be practiced in distributed computing environments where tasks are performed by remote processing devices that are linked through a communications network; however, some if not all aspects of the subject disclosure can be practiced on stand-alone computers. In a distributed computing environment, program modules can be located in both local and remote memory storage devices.
In one or more embodiments, information regarding use of services can be generated including services being accessed, media consumption history, user preferences, and so forth. This information can be obtained by various methods including user input, detecting types of communications (e.g., video content vs. audio content), analysis of content streams, sampling, and so forth. The generating, obtaining and/or monitoring of this information can be responsive to an authorization provided by the user. In one or more embodiments, an analysis of data can be subject to authorization from user(s) associated with the data, such as an opt-in, an opt-out, acknowledgement requirements, notifications, selective authorization based on types of data, and so forth.
Some of the embodiments described herein can also employ artificial intelligence (AI) to facilitate automating one or more features described herein. The embodiments (e.g., in connection with automatically identifying acquired cell sites that provide a maximum value/benefit after addition to an existing communication network) can employ various AI-based schemes for carrying out various embodiments thereof. Moreover, the classifier can be employed to determine a ranking or priority of each cell site of the acquired network. A classifier is a function that maps an input attribute vector, x=(x1, x2, x3, x4 . . . xn), to a confidence that the input belongs to a class, that is, f(x)=confidence (class). Such classification can employ a probabilistic and/or statistical-based analysis (e.g., factoring into the analysis utilities and costs) to determine or infer an action that a user desires to be automatically performed. A support vector machine (SVM) is an example of a classifier that can be employed. The SVM operates by finding a hypersurface in the space of possible inputs, which the hypersurface attempts to split the triggering criteria from the non-triggering events. Intuitively, this makes the classification correct for testing data that is near, but not identical to training data. Other directed and undirected model classification approaches comprise, e.g., naïve Bayes, Bayesian networks, decision trees, neural networks, fuzzy logic models, and probabilistic classification models providing different patterns of independence can be employed. Classification as used herein also is inclusive of statistical regression that is utilized to develop models of priority.
As will be readily appreciated, one or more of the embodiments can employ classifiers that are explicitly trained (e.g., via a generic training data) as well as implicitly trained (e.g., via observing UE behavior, operator preferences, historical information, receiving extrinsic information). For example, SVMs can be configured via a learning or training phase within a classifier constructor and feature selection module. Thus, the classifier(s) can be used to automatically learn and perform a number of functions, including but not limited to determining according to predetermined criteria which of the acquired cell sites will benefit a maximum number of subscribers and/or which of the acquired cell sites will add minimum value to the existing communication network coverage, etc.
As used in some contexts in this application, in some embodiments, the terms “component,” “system” and the like are intended to refer to, or comprise, a computer-related entity or an entity related to an operational apparatus with one or more specific functionalities, wherein the entity can be either hardware, a combination of hardware and software, software, or software in execution. As an example, a component may be, but is not limited to being, a process running on a processor, a processor, an object, an executable, a thread of execution, computer-executable instructions, a program, and/or a computer. By way of illustration and not limitation, both an application running on a server and the server can be a component. One or more components may reside within a process and/or thread of execution and a component may be localized on one computer and/or distributed between two or more computers. In addition, these components can execute from various computer readable media having various data structures stored thereon. The components may communicate via local and/or remote processes such as in accordance with a signal having one or more data packets (e.g., data from one component interacting with another component in a local system, distributed system, and/or across a network such as the Internet with other systems via the signal). As another example, a component can be an apparatus with specific functionality provided by mechanical parts operated by electric or electronic circuitry, which is operated by a software or firmware application executed by a processor, wherein the processor can be internal or external to the apparatus and executes at least a part of the software or firmware application. As yet another example, a component can be an apparatus that provides specific functionality through electronic components without mechanical parts, the electronic components can comprise a processor therein to execute software or firmware that confers at least in part the functionality of the electronic components. While various components have been illustrated as separate components, it will be appreciated that multiple components can be implemented as a single component, or a single component can be implemented as multiple components, without departing from example embodiments.
Further, the various embodiments can be implemented as a method, apparatus or article of manufacture using standard programming and/or engineering techniques to produce software, firmware, hardware or any combination thereof to control a computer to implement the disclosed subject matter. The term “article of manufacture” as used herein is intended to encompass a computer program accessible from any computer-readable device or computer-readable storage/communications media. For example, computer readable storage media can include, but are not limited to, magnetic storage devices (e.g., hard disk, floppy disk, magnetic strips), optical disks (e.g., compact disk (CD), digital versatile disk (DVD)), smart cards, and flash memory devices (e.g., card, stick, key drive). Of course, those skilled in the art will recognize many modifications can be made to this configuration without departing from the scope or spirit of the various embodiments.
In addition, the words “example” and “exemplary” are used herein to mean serving as an instance or illustration. Any embodiment or design described herein as “example” or “exemplary” is not necessarily to be construed as preferred or advantageous over other embodiments or designs. Rather, use of the word example or exemplary is intended to present concepts in a concrete fashion. As used in this application, the term “or” is intended to mean an inclusive “or” rather than an exclusive “or”. That is, unless specified otherwise or clear from context, “X employs A or B” is intended to mean any of the natural inclusive permutations. That is, if X employs A; X employs B; or X employs both A and B, then “X employs A or B” is satisfied under any of the foregoing instances. In addition, the articles “a” and “an” as used in this application and the appended claims should generally be construed to mean “one or more” unless specified otherwise or clear from context to be directed to a singular form.
Moreover, terms such as “user equipment,” “mobile station,” “mobile,” subscriber station,” “access terminal,” “terminal,” “handset,” “mobile device” (and/or terms representing similar terminology) can refer to a wireless device utilized by a subscriber or user of a wireless communication service to receive or convey data, control, voice, video, sound, gaming or substantially any data-stream or signaling-stream. The foregoing terms are utilized interchangeably herein and with reference to the related drawings.
Furthermore, the terms “user,” “subscriber,” “customer,” “consumer” and the like are employed interchangeably throughout, unless context warrants particular distinctions among the terms. It should be appreciated that such terms can refer to human entities or automated components supported through artificial intelligence (e.g., a capacity to make inference based, at least, on complex mathematical formalisms), which can provide simulated vision, sound recognition and so forth.
As employed herein, the term “processor” can refer to substantially any computing processing unit or device comprising, but not limited to comprising, single-core processors; single-processors with software multithread execution capability; multi-core processors; multi-core processors with software multithread execution capability; multi-core processors with hardware multithread technology; parallel platforms; and parallel platforms with distributed shared memory. Additionally, a processor can refer to an integrated circuit, an application specific integrated circuit (ASIC), a digital signal processor (DSP), a field programmable gate array (FPGA), a programmable logic controller (PLC), a complex programmable logic device (CPLD), a discrete gate or transistor logic, discrete hardware components or any combination thereof designed to perform the functions described herein. Processors can exploit nano-scale architectures such as, but not limited to, molecular and quantum-dot based transistors, switches and gates, in order to optimize space usage or enhance performance of user equipment. A processor can also be implemented as a combination of computing processing units.
As used herein, terms such as “data storage,” data storage,” “database,” and substantially any other information storage component relevant to operation and functionality of a component, refer to “memory components,” or entities embodied in a “memory” or components comprising the memory. It will be appreciated that the memory components or computer-readable storage media, described herein can be either volatile memory or nonvolatile memory or can include both volatile and nonvolatile memory.
What has been described above includes mere examples of various embodiments. It is, of course, not possible to describe every conceivable combination of components or methodologies for purposes of describing these examples, but one of ordinary skill in the art can recognize that many further combinations and permutations of the present embodiments are possible. Accordingly, the embodiments disclosed and/or claimed herein are intended to embrace all such alterations, modifications and variations that fall within the spirit and scope of the appended claims. Furthermore, to the extent that the term “includes” is used in either the detailed description or the claims, such term is intended to be inclusive in a manner similar to the term “comprising” as “comprising” is interpreted when employed as a transitional word in a claim.
In addition, a flow diagram may include a “start” and/or “continue” indication. The “start” and “continue” indications reflect that the steps presented can optionally be incorporated in or otherwise used in conjunction with other routines. In this context, “start” indicates the beginning of the first step presented and may be preceded by other activities not specifically shown. Further, the “continue” indication reflects that the steps presented may be performed multiple times and/or may be succeeded by other activities not specifically shown. Further, while a flow diagram indicates a particular ordering of steps, other orderings are likewise possible provided that the principles of causality are maintained.
As may also be used herein, the term(s) “operably coupled to”, “coupled to”, and/or “coupling” includes direct coupling between items and/or indirect coupling between items via one or more intervening items. Such items and intervening items include, but are not limited to, junctions, communication paths, components, circuit elements, circuits, functional blocks, and/or devices. As an example of indirect coupling, a signal conveyed from a first item to a second item may be modified by one or more intervening items by modifying the form, nature or format of information in a signal, while one or more elements of the information in the signal are nevertheless conveyed in a manner than can be recognized by the second item. In a further example of indirect coupling, an action in a first item can cause a reaction on the second item, as a result of actions and/or reactions in one or more intervening items.
Although specific embodiments have been illustrated and described herein, it should be appreciated that any arrangement which achieves the same or similar purpose may be substituted for the embodiments described or shown by the subject disclosure. The subject disclosure is intended to cover any and all adaptations or variations of various embodiments. Combinations of the above embodiments, and other embodiments not specifically described herein, can be used in the subject disclosure. For instance, one or more features from one or more embodiments can be combined with one or more features of one or more other embodiments. In one or more embodiments, features that are positively recited can also be negatively recited and excluded from the embodiment with or without replacement by another structural and/or functional feature. The steps or functions described with respect to the embodiments of the subject disclosure can be performed in any order. The steps or functions described with respect to the embodiments of the subject disclosure can be performed alone or in combination with other steps or functions of the subject disclosure, as well as from other embodiments or from other steps that have not been described in the subject disclosure. Further, more than or less than all of the features described with respect to an embodiment can also be utilized.

Claims (20)

What is claimed is:
1. A device, comprising:
a processing system including a processor; and
a memory that stores executable instructions that, when executed by the processing system, facilitate performance of operations, the operations comprising:
receiving a call for a subscriber;
digitally validating caller identification information of the call to determine whether the call is fraudulent before answering the call, wherein the device drops the call if the call is fraudulent;
responsive to a first determination that the call is not fraudulent, answering the call and analyzing the caller identification information and audio of the call to determine whether the call is from an interactive voice response (IVR) system;
responsive to a second determination that the call is from an IVR system, determining whether the IVR system is providing a query that requires a response; and
responsive to a third determination that the IVR system requires the response, providing the response.
2. The device of claim 1, wherein the operations further comprises forwarding the call to the subscriber if the call is not from the IVR system.
3. The device of claim 2, wherein the operations further comprise providing a notification to the subscriber if the call was dropped.
4. The device of claim 3, wherein the operations further comprise routing the call to the subscriber if the IVR does not require the response.
5. The device of claim 4, wherein the device makes the first determination based on caller identification (ID).
6. The device of claim 5, wherein the caller ID is authenticated by a carrier forwarding the call.
7. The device of claim 6, wherein the response is a request to the IVR system to repeat the query, thereby delaying the call.
8. The device of claim 6, wherein the response comprises providing a synchronous application program interface command to the IVR system.
9. The device of claim 6, wherein the response is obtained from information made accessible by the subscriber.
10. The device of claim 6, wherein the response is provided to the IVR system after ending the call.
11. The device of claim 10, wherein the response is obtained from the subscriber.
12. The device of claim 1, wherein the processing system comprises a plurality of processors operating in a distributed computing environment.
13. A non-transitory, machine-readable medium, comprising executable instructions that, when executed by a processing system including a processor, facilitate performance of operations, the operations comprising:
receiving a call for a subscriber;
determining whether call is from an interactive voice response (IVR) system;
responsive to a first determination that the call is from an IVR system, determining whether the IVR system is providing a query that requires a response; and
responsive to a second determination that the IVR system requires the response, providing the response to the IVR system after ending the call.
14. The non-transitory, machine-readable medium of claim 13, wherein the operations further comprise:
determining whether the call is fraudulent; and
responsive to a third determination that the call is fraudulent, dropping the call.
15. The non-transitory, machine-readable medium of claim 13, wherein the operations further comprise: responsive to a fourth determination that the IVR does not require the response, routing the call to the subscriber.
16. The non-transitory, machine-readable medium of claim 14, wherein the third determination is performed before answering the call.
17. The non-transitory, machine-readable medium of claim 13, wherein the processing system comprises a plurality of processors operating in a distributed operating environment.
18. A method, comprising:
receiving, by a processing system including a processor, a call for a subscriber;
determining, by the processing system, that the call is from an interactive voice response (IVR) system;
determining whether the IVR system is providing a query that requires a response wherein the response is a request to the IVR system to repeat the query; and
responsive to a first determination that the IVR system requires the response, providing the response, thereby delaying the call.
19. The method of claim 18, wherein the first determination is based on speech-to-text, machine learning, artificial intelligence, or a combination thereof.
20. The method of claim 18, wherein caller identification information is used, at least in part, to determine that the call is from an IVR system.
US17/195,871 2021-03-09 2021-03-09 Delayed interactive auto attendant Active 2041-04-10 US11553084B2 (en)

Priority Applications (2)

Application Number Priority Date Filing Date Title
US17/195,871 US11553084B2 (en) 2021-03-09 2021-03-09 Delayed interactive auto attendant
US18/064,675 US20230107054A1 (en) 2021-03-09 2022-12-12 Delayed interactive auto attendant

Applications Claiming Priority (1)

Application Number Priority Date Filing Date Title
US17/195,871 US11553084B2 (en) 2021-03-09 2021-03-09 Delayed interactive auto attendant

Related Child Applications (1)

Application Number Title Priority Date Filing Date
US18/064,675 Continuation US20230107054A1 (en) 2021-03-09 2022-12-12 Delayed interactive auto attendant

Publications (2)

Publication Number Publication Date
US20220294902A1 US20220294902A1 (en) 2022-09-15
US11553084B2 true US11553084B2 (en) 2023-01-10

Family

ID=83194173

Family Applications (2)

Application Number Title Priority Date Filing Date
US17/195,871 Active 2041-04-10 US11553084B2 (en) 2021-03-09 2021-03-09 Delayed interactive auto attendant
US18/064,675 Abandoned US20230107054A1 (en) 2021-03-09 2022-12-12 Delayed interactive auto attendant

Family Applications After (1)

Application Number Title Priority Date Filing Date
US18/064,675 Abandoned US20230107054A1 (en) 2021-03-09 2022-12-12 Delayed interactive auto attendant

Country Status (1)

Country Link
US (2) US11553084B2 (en)

Cited By (1)

* Cited by examiner, † Cited by third party
Publication number Priority date Publication date Assignee Title
US20230107054A1 (en) * 2021-03-09 2023-04-06 At&T Intellectual Property I, L.P. Delayed interactive auto attendant

Families Citing this family (2)

* Cited by examiner, † Cited by third party
Publication number Priority date Publication date Assignee Title
US11356555B1 (en) * 2021-07-30 2022-06-07 Zoom Video Communications, Inc. Message-based interactive voice response menu reconnection
US20250080646A1 (en) * 2023-08-30 2025-03-06 Kyndryl, Inc. Preventing deep fake voicemail scams

Citations (6)

* Cited by examiner, † Cited by third party
Publication number Priority date Publication date Assignee Title
US8000454B1 (en) * 2010-09-10 2011-08-16 Zvi Or-Bach Systems and methods for visual presentation and selection of IVR menu
US20140185786A1 (en) * 2012-12-31 2014-07-03 Stanley Korn System, method and apparatus for call screening
US20180013881A1 (en) * 2016-07-05 2018-01-11 Dialogtech Inc. System and method for automatically detecting undesired calls
US20190174000A1 (en) * 2017-12-06 2019-06-06 Ribbon Communications Operating Company, Inc. Methods and apparatus for detection and mitigation of robocalls
US10805458B1 (en) * 2019-09-24 2020-10-13 Joseph D. Grabowski Method and system for automatically blocking recorded robocalls
US20210136208A1 (en) * 2019-10-30 2021-05-06 Talkdesk, Inc. Methods and systems for virtual agent to understand and detect spammers, fraud calls, and auto dialers

Family Cites Families (1)

* Cited by examiner, † Cited by third party
Publication number Priority date Publication date Assignee Title
US11553084B2 (en) * 2021-03-09 2023-01-10 At&T Intellectual Property I, L.P. Delayed interactive auto attendant

Patent Citations (6)

* Cited by examiner, † Cited by third party
Publication number Priority date Publication date Assignee Title
US8000454B1 (en) * 2010-09-10 2011-08-16 Zvi Or-Bach Systems and methods for visual presentation and selection of IVR menu
US20140185786A1 (en) * 2012-12-31 2014-07-03 Stanley Korn System, method and apparatus for call screening
US20180013881A1 (en) * 2016-07-05 2018-01-11 Dialogtech Inc. System and method for automatically detecting undesired calls
US20190174000A1 (en) * 2017-12-06 2019-06-06 Ribbon Communications Operating Company, Inc. Methods and apparatus for detection and mitigation of robocalls
US10805458B1 (en) * 2019-09-24 2020-10-13 Joseph D. Grabowski Method and system for automatically blocking recorded robocalls
US20210136208A1 (en) * 2019-10-30 2021-05-06 Talkdesk, Inc. Methods and systems for virtual agent to understand and detect spammers, fraud calls, and auto dialers

Non-Patent Citations (1)

* Cited by examiner, † Cited by third party
Title
Combating Spoofed Robocalls with Caller ID Authentication https://www.fcc.gov/call-authentication; Downloaded 2021; pp. 1-3.

Cited By (1)

* Cited by examiner, † Cited by third party
Publication number Priority date Publication date Assignee Title
US20230107054A1 (en) * 2021-03-09 2023-04-06 At&T Intellectual Property I, L.P. Delayed interactive auto attendant

Also Published As

Publication number Publication date
US20220294902A1 (en) 2022-09-15
US20230107054A1 (en) 2023-04-06

Similar Documents

Publication Publication Date Title
US12219473B2 (en) System and method of securing allocation of network functions for session slices
US20230171674A1 (en) System and method for detecting and acting upon a violation of terms of service
US20230107054A1 (en) Delayed interactive auto attendant
US11882158B2 (en) Methods, systems, and devices to dynamically determine an authentication method for a user device to access services based on security risk
US20250380142A1 (en) Mobile subscriber authentication and risk evaluation system and process
US20260042022A1 (en) Methods, systems, and devices to protect personal identifiable (pi) data when a user utilizes an avatar in a virtual environment
US11889020B2 (en) Method and system for challenging potential unwanted calls
US20250175556A1 (en) Apparatuses and methods for facilitating a federation of identifiers for reducing invalid communications and identifying attempts at spoofing
US11227243B2 (en) Communication system with enterprise analysis and methods for use therewith
US20250294094A1 (en) Voicemail as a message delivered to the device
US20240073653A1 (en) System and method for preserving transparent and private universal numbers
US20240146551A1 (en) Method and apparatus for communicating with a metaverse device
US20250097182A1 (en) Apparatuses and methods for monitoring and managing messages and messaging content
US20240129703A1 (en) Wireless network call blocking control
US20220263722A1 (en) Apparatuses and methods for facilitating automated interdomain communications analytics automation functionality and profiling
US12542853B2 (en) System and method for mitigating robocalls with false positive elimination for valid subscribers
US20260019503A1 (en) System and method to mitigate impersonation spoofing
US12445554B2 (en) Method and device for managing multiple wireless connections sharing a limited trunk group
US12452770B2 (en) Network-based systems and methods to selectively enable and disable citizen band radio spectrum (CBRS) radio for individual users
US12538113B2 (en) Satellite emergency communication abuse detection and prevention
US12035385B2 (en) Split input/output system and method for multimedia communications
US20260032413A1 (en) Apparatuses and methods for facilitating a conveyance of messages, signals, and alerts via cellular, sidelink and satellite communications and operations
US11588862B2 (en) Method for providing voice service to roaming wireless users
US20230413307A1 (en) Dual connection on broadband modem

Legal Events

Date Code Title Description
FEPP Fee payment procedure

Free format text: ENTITY STATUS SET TO UNDISCOUNTED (ORIGINAL EVENT CODE: BIG.); ENTITY STATUS OF PATENT OWNER: LARGE ENTITY

AS Assignment

Owner name: AT&T INTELLECTUAL PROPERTY I, L.P., GEORGIA

Free format text: ASSIGNMENT OF ASSIGNORS INTEREST;ASSIGNORS:SORYAL, JOSEPH;LANG, HOWARD;SIGNING DATES FROM 20210303 TO 20210308;REEL/FRAME:055640/0699

STPP Information on status: patent application and granting procedure in general

Free format text: NOTICE OF ALLOWANCE MAILED -- APPLICATION RECEIVED IN OFFICE OF PUBLICATIONS

STPP Information on status: patent application and granting procedure in general

Free format text: PUBLICATIONS -- ISSUE FEE PAYMENT VERIFIED

STCF Information on status: patent grant

Free format text: PATENTED CASE