US10028042B1 - Speaker and speaker box - Google Patents

Speaker and speaker box Download PDF

Info

Publication number
US10028042B1
US10028042B1 US15/652,617 US201715652617A US10028042B1 US 10028042 B1 US10028042 B1 US 10028042B1 US 201715652617 A US201715652617 A US 201715652617A US 10028042 B1 US10028042 B1 US 10028042B1
Authority
US
United States
Prior art keywords
speaker
dust proof
side wall
leaking holes
side walls
Prior art date
Legal status (The legal status is an assumption and is not a legal conclusion. Google has not performed a legal analysis and makes no representation as to the accuracy of the status listed.)
Expired - Fee Related
Application number
US15/652,617
Inventor
Huanbin Liao
Xin Jin
Current Assignee (The listed assignees may be inaccurate. Google has not performed a legal analysis and makes no representation or warranty as to the accuracy of the list.)
AAC Technologies Pte Ltd
Original Assignee
AAC Technologies Pte Ltd
Priority date (The priority date is an assumption and is not a legal conclusion. Google has not performed a legal analysis and makes no representation as to the accuracy of the date listed.)
Filing date
Publication date
Application filed by AAC Technologies Pte Ltd filed Critical AAC Technologies Pte Ltd
Assigned to AAC Technologies Pte. Ltd. reassignment AAC Technologies Pte. Ltd. ASSIGNMENT OF ASSIGNORS INTEREST (SEE DOCUMENT FOR DETAILS). Assignors: JIN, XIN, LIAO, HUANBIN
Application granted granted Critical
Publication of US10028042B1 publication Critical patent/US10028042B1/en
Expired - Fee Related legal-status Critical Current
Anticipated expiration legal-status Critical

Links

Images

Classifications

    • HELECTRICITY
    • H04ELECTRIC COMMUNICATION TECHNIQUE
    • H04RLOUDSPEAKERS, MICROPHONES, GRAMOPHONE PICK-UPS OR LIKE ACOUSTIC ELECTROMECHANICAL TRANSDUCERS; DEAF-AID SETS; PUBLIC ADDRESS SYSTEMS
    • H04R1/00Details of transducers, loudspeakers or microphones
    • H04R1/02Casings; Cabinets ; Supports therefor; Mountings therein
    • H04R1/023Screens for loudspeakers
    • HELECTRICITY
    • H04ELECTRIC COMMUNICATION TECHNIQUE
    • H04RLOUDSPEAKERS, MICROPHONES, GRAMOPHONE PICK-UPS OR LIKE ACOUSTIC ELECTROMECHANICAL TRANSDUCERS; DEAF-AID SETS; PUBLIC ADDRESS SYSTEMS
    • H04R1/00Details of transducers, loudspeakers or microphones
    • H04R1/02Casings; Cabinets ; Supports therefor; Mountings therein
    • H04R1/025Arrangements for fixing loudspeaker transducers, e.g. in a box, furniture
    • HELECTRICITY
    • H04ELECTRIC COMMUNICATION TECHNIQUE
    • H04RLOUDSPEAKERS, MICROPHONES, GRAMOPHONE PICK-UPS OR LIKE ACOUSTIC ELECTROMECHANICAL TRANSDUCERS; DEAF-AID SETS; PUBLIC ADDRESS SYSTEMS
    • H04R1/00Details of transducers, loudspeakers or microphones
    • H04R1/20Arrangements for obtaining desired frequency or directional characteristics
    • H04R1/22Arrangements for obtaining desired frequency or directional characteristics for obtaining desired frequency characteristic only 
    • H04R1/28Transducer mountings or enclosures modified by provision of mechanical or acoustic impedances, e.g. resonator, damping means
    • H04R1/2807Enclosures comprising vibrating or resonating arrangements
    • H04R1/2811Enclosures comprising vibrating or resonating arrangements for loudspeaker transducers
    • HELECTRICITY
    • H04ELECTRIC COMMUNICATION TECHNIQUE
    • H04RLOUDSPEAKERS, MICROPHONES, GRAMOPHONE PICK-UPS OR LIKE ACOUSTIC ELECTROMECHANICAL TRANSDUCERS; DEAF-AID SETS; PUBLIC ADDRESS SYSTEMS
    • H04R1/00Details of transducers, loudspeakers or microphones
    • H04R1/20Arrangements for obtaining desired frequency or directional characteristics
    • H04R1/22Arrangements for obtaining desired frequency or directional characteristics for obtaining desired frequency characteristic only 
    • H04R1/28Transducer mountings or enclosures modified by provision of mechanical or acoustic impedances, e.g. resonator, damping means
    • H04R1/2869Reduction of undesired resonances, i.e. standing waves within enclosure, or of undesired vibrations, i.e. of the enclosure itself
    • H04R1/2876Reduction of undesired resonances, i.e. standing waves within enclosure, or of undesired vibrations, i.e. of the enclosure itself by means of damping material, e.g. as cladding
    • H04R1/288Reduction of undesired resonances, i.e. standing waves within enclosure, or of undesired vibrations, i.e. of the enclosure itself by means of damping material, e.g. as cladding for loudspeaker transducers
    • HELECTRICITY
    • H04ELECTRIC COMMUNICATION TECHNIQUE
    • H04RLOUDSPEAKERS, MICROPHONES, GRAMOPHONE PICK-UPS OR LIKE ACOUSTIC ELECTROMECHANICAL TRANSDUCERS; DEAF-AID SETS; PUBLIC ADDRESS SYSTEMS
    • H04R7/00Diaphragms for electromechanical transducers; Cones
    • H04R7/02Diaphragms for electromechanical transducers; Cones characterised by the construction
    • H04R7/12Non-planar diaphragms or cones
    • HELECTRICITY
    • H04ELECTRIC COMMUNICATION TECHNIQUE
    • H04RLOUDSPEAKERS, MICROPHONES, GRAMOPHONE PICK-UPS OR LIKE ACOUSTIC ELECTROMECHANICAL TRANSDUCERS; DEAF-AID SETS; PUBLIC ADDRESS SYSTEMS
    • H04R7/00Diaphragms for electromechanical transducers; Cones
    • H04R7/16Mounting or tensioning of diaphragms or cones
    • H04R7/18Mounting or tensioning of diaphragms or cones at the periphery
    • HELECTRICITY
    • H04ELECTRIC COMMUNICATION TECHNIQUE
    • H04RLOUDSPEAKERS, MICROPHONES, GRAMOPHONE PICK-UPS OR LIKE ACOUSTIC ELECTROMECHANICAL TRANSDUCERS; DEAF-AID SETS; PUBLIC ADDRESS SYSTEMS
    • H04R9/00Transducers of moving-coil, moving-strip, or moving-wire type
    • H04R9/02Details
    • H04R9/025Magnetic circuit
    • HELECTRICITY
    • H04ELECTRIC COMMUNICATION TECHNIQUE
    • H04RLOUDSPEAKERS, MICROPHONES, GRAMOPHONE PICK-UPS OR LIKE ACOUSTIC ELECTROMECHANICAL TRANSDUCERS; DEAF-AID SETS; PUBLIC ADDRESS SYSTEMS
    • H04R7/00Diaphragms for electromechanical transducers; Cones
    • H04R7/02Diaphragms for electromechanical transducers; Cones characterised by the construction
    • H04R7/04Plane diaphragms
    • HELECTRICITY
    • H04ELECTRIC COMMUNICATION TECHNIQUE
    • H04RLOUDSPEAKERS, MICROPHONES, GRAMOPHONE PICK-UPS OR LIKE ACOUSTIC ELECTROMECHANICAL TRANSDUCERS; DEAF-AID SETS; PUBLIC ADDRESS SYSTEMS
    • H04R9/00Transducers of moving-coil, moving-strip, or moving-wire type
    • H04R9/06Loudspeakers

Definitions

  • the present disclosure relates to the technical filed of speaker devices and, specifically, relates to a speaker and a speaker box including the speaker.
  • a speaker in the relevant art, includes a frame and a lower clamping plate.
  • the lower clamping plate covers the frame.
  • the lower clamping plate includes four corners and a plurality of leaking holes, and the plurality of leaking holes is distributed at the four corners.
  • the plurality of leaking holes is formed by fitting with the structure of the frame and the lower clamping plate. Articles outside the speaker can enter into the interior of the speaker through the plurality of leaking holes, which may influence normal working of the speaker. Therefore, the speaker cannot directly cooperate with a sound absorbing powder filled in the speaker box to form a virtual acoustic cavity, and the speaker box should be particularly designed to prevent the sound absorbing powder from entering into the speaker.
  • FIG. 1 is an exploded structural diagram of a speaker in accordance with an exemplary embodiment of the present disclosure
  • FIG. 2 is a structural schematic diagram of a frame of a speaker in accordance with an exemplary embodiment of the present disclosure
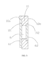
  • FIG. 3 is a structural schematic diagram of a leaking hole of a speaker in accordance with an exemplary embodiment of the present disclosure.
  • FIG. 4 is a structural schematic diagram of a speaker box in accordance with an exemplary embodiment of the present disclosure.
  • a speaker 100 is provided by the present disclosure.
  • the speaker 100 includes a frame 1 , a lower clamping plate 2 , a vibration unit 3 and a magnetic unit 4 .
  • the lower clamping plate 2 covers the frame 1 , and the vibration unit 3 and the magnetic unit 4 are fixed on the frame 1 .
  • the lower clamping plate 2 is sealed and connected with the frame 1 .
  • sealing is formed between the lower clamping plate 2 and the frame 1 by means of a sealant.
  • the vibration unit 3 includes a diaphragm 31 and a voice coil 32 .
  • the diaphragm 31 is fixed at the frame 1
  • the voice coil 32 is configured to drive the diaphragm 31 to vibrate.
  • the magnetic unit 4 drives the vibration unit 3 to vibrate and sound.
  • the magnetic unit 4 includes a bottom plate and a magnet 40 , and the magnet 40 is placed on the bottom plate.
  • the lower clamping plate 2 could be a portion of the magnetic unit 4 , e.g., the lower clamping plate 2 is the bottom plate of the magnetic unit 4 .
  • the lower clamping plate 2 can be a magnetic conducting plate with a flat plate shape or a bottom wall of a yoke with a bowl shape.
  • the frame 1 includes a side wall 10 and a leaking hole 5 penetrating through the side wall 10 .
  • the side wall 10 includes a top end and a bottom end, the lower clamping plate 2 covers the bottom end of the side wall 10 , and the diaphragm 31 is fixed on the top end of the side wall 10 .
  • the frame 1 may include a plurality of leaking holes 5 , and the plurality of leaking holes 5 is symmetrically distributed in the side wall 10 .
  • the speaker 100 further includes a first dust proof mesh 61 and a second dust proof mesh 62 at each leaking hole 5 .
  • the side wall 10 includes an external surface 10 a and an internal surface 10 b .
  • the first dust proof mesh 61 is arranged on the external surface 10 a and completely covers the leaking hole 5
  • the second dust proof mesh 62 is arranged on the internal surface 10 a and completely covers the leaking hole 5
  • the external surface 10 a of the side wall 10 defines a first accommodating slot 101
  • the internal surface 10 b of the side wall 10 defines a second accommodating slot 102
  • the first accommodating slot 101 is configured to accommodate the first dust proof mesh 61
  • the second accommodating slot 102 is configured to accommodate the second dust proof mesh, so as to guarantee flatness of the external surface 10 a and the internal surface 10 b of the side wall 10 .
  • Two layers of dust proof meshes can effectively prevent an external article from entering into the speaker 100 .
  • the first dust proof mesh 61 directly contacts the external article. Accordingly, the first dust proof mesh 61 may have a larger area than the second dust proof mesh 62 , so that the first dust proof mesh 61 and the side wall 10 can have a larger contact area, so as to guarantee that the first dust proof mesh 61 and the side wall 10 can have better bonding strength.
  • the side wall 10 includes two long side walls 11 and two short side walls 12 , the two long side walls 11 face toward each other, and the two short side walls 12 face toward each other.
  • the plurality of leaking holes 5 is defined in the two long side walls 11 , or the plurality of leaking holes 5 is defined in the two short side walls 12 , or the plurality of leaking holes 5 is defined in both the two long side walls 11 and the two short side walls 12 .
  • the frame 1 defines four leaking holes 5 , and the four leaking holes 5 are symmetrically distributed in the two long side walls 11 and the two short side walls 12 .
  • the leaking effect of the speaker 100 can be conveniently adjusted according to a size of an open area of the leaking hole 5 in the side wall 10 .
  • the leaking hole 5 in any of the two long side walls 11 is configured to have a greater open area than the leaking hole 5 in any of the two short side walls 12 .
  • the leaking hole 5 is preferably shaped in a long strip fitting with a shape of the long side wall 11 and a shape of the short side wall 12 .
  • the present disclosure provides a speaker box 200 .
  • the speaker box 200 includes the speaker 100 , a sound absorbing powder 7 and a housing 9 .
  • the sound absorbing powder 7 is filled outside the speaker 100 .
  • the speaker 100 and the sound absorbing powder 7 are packaged in the housing 8 .
  • the speaker 100 and the housing 8 enclose to define an internal cavity 80 , and the sound absorbing powder 7 is filled in the internal cavity 80 .
  • the sound absorbing powder 7 cannot enter into an interior 1001 of the speaker 100 , and it is not necessary to specially design the speaker box 200 to prevent the sound absorbing powder 7 from entering into the interior 1001 of the speaker 100 . Therefore, the speaker 100 can better cooperate with the sound absorbing powder 7 filled in the speaker box 200 to form a virtual acoustic cavity.

Landscapes

  • Engineering & Computer Science (AREA)
  • Physics & Mathematics (AREA)
  • Acoustics & Sound (AREA)
  • Signal Processing (AREA)
  • Health & Medical Sciences (AREA)
  • Otolaryngology (AREA)
  • Multimedia (AREA)
  • Details Of Audible-Bandwidth Transducers (AREA)

Abstract

The present disclosure relates to a speaker and a speaker box including the speaker. The speaker includes a frame including a side wall and defining a plurality of leaking holes through the side wall, a lower clamping plate covering the frame and sealedly connected with the frame, a plurality of first dust proof meshes and a plurality of second dust proof meshes; the first dust proof meshes and the second dust proof meshes correspond to the leaking holes; the side wall includes an external surface and an internal surface, the plurality of first dust proof meshes is on the external surface and completely covers the plurality of leaking holes, and the plurality of second-dust meshes is on the internal surface and completely covers the plurality of leaking holes. Under such structure, the speaker can work well together with the sound absorbing powder to form a virtual acoustic cavity.

Description

TECHNICAL FIELD
The present disclosure relates to the technical filed of speaker devices and, specifically, relates to a speaker and a speaker box including the speaker.
BACKGROUND
In the relevant art, a speaker includes a frame and a lower clamping plate. The lower clamping plate covers the frame. The lower clamping plate includes four corners and a plurality of leaking holes, and the plurality of leaking holes is distributed at the four corners. The plurality of leaking holes is formed by fitting with the structure of the frame and the lower clamping plate. Articles outside the speaker can enter into the interior of the speaker through the plurality of leaking holes, which may influence normal working of the speaker. Therefore, the speaker cannot directly cooperate with a sound absorbing powder filled in the speaker box to form a virtual acoustic cavity, and the speaker box should be particularly designed to prevent the sound absorbing powder from entering into the speaker.
Accordingly, it is necessary to provide a new speaker to solve the above technical problem.
BRIEF DESCRIPTION OF DRAWINGS
Many aspects of the exemplary embodiment can be better understood with reference to the following drawings. The components in the drawings are not necessarily drawn to scale, the emphasis instead being placed upon clearly illustrating the principles of the present disclosure. Moreover, in the drawings, like reference numerals designate corresponding parts throughout the several views.
FIG. 1 is an exploded structural diagram of a speaker in accordance with an exemplary embodiment of the present disclosure;
FIG. 2 is a structural schematic diagram of a frame of a speaker in accordance with an exemplary embodiment of the present disclosure;
FIG. 3 is a structural schematic diagram of a leaking hole of a speaker in accordance with an exemplary embodiment of the present disclosure; and
FIG. 4 is a structural schematic diagram of a speaker box in accordance with an exemplary embodiment of the present disclosure.
DESCRIPTION OF EMBODIMENTS
The present disclosure is further described in detail as follows with reference to the accompanying drawings and exemplary embodiments.
As shown in FIGS. 1-3, a speaker 100 is provided by the present disclosure. The speaker 100 includes a frame 1, a lower clamping plate 2, a vibration unit 3 and a magnetic unit 4. The lower clamping plate 2 covers the frame 1, and the vibration unit 3 and the magnetic unit 4 are fixed on the frame 1. The lower clamping plate 2 is sealed and connected with the frame 1. In an exemplary embodiment, sealing is formed between the lower clamping plate 2 and the frame 1 by means of a sealant.
The vibration unit 3 includes a diaphragm 31 and a voice coil 32. The diaphragm 31 is fixed at the frame 1, and the voice coil 32 is configured to drive the diaphragm 31 to vibrate.
Under the interaction of a magnetic field generated by the magnetic unit 4 and the vibration unit 3, the magnetic unit 4 drives the vibration unit 3 to vibrate and sound.
The magnetic unit 4 includes a bottom plate and a magnet 40, and the magnet 40 is placed on the bottom plate. It should be noted that, the lower clamping plate 2 could be a portion of the magnetic unit 4, e.g., the lower clamping plate 2 is the bottom plate of the magnetic unit 4. The lower clamping plate 2 can be a magnetic conducting plate with a flat plate shape or a bottom wall of a yoke with a bowl shape.
The frame 1 includes a side wall 10 and a leaking hole 5 penetrating through the side wall 10. The side wall 10 includes a top end and a bottom end, the lower clamping plate 2 covers the bottom end of the side wall 10, and the diaphragm 31 is fixed on the top end of the side wall 10. The frame 1 may include a plurality of leaking holes 5, and the plurality of leaking holes 5 is symmetrically distributed in the side wall 10. The speaker 100 further includes a first dust proof mesh 61 and a second dust proof mesh 62 at each leaking hole 5. The side wall 10 includes an external surface 10 a and an internal surface 10 b. The first dust proof mesh 61 is arranged on the external surface 10 a and completely covers the leaking hole 5, and the second dust proof mesh 62 is arranged on the internal surface 10 a and completely covers the leaking hole 5. Preferably, the external surface 10 a of the side wall 10 defines a first accommodating slot 101 and the internal surface 10 b of the side wall 10 defines a second accommodating slot 102. The first accommodating slot 101 is configured to accommodate the first dust proof mesh 61, and the second accommodating slot 102 is configured to accommodate the second dust proof mesh, so as to guarantee flatness of the external surface 10 a and the internal surface 10 b of the side wall 10. Two layers of dust proof meshes can effectively prevent an external article from entering into the speaker 100. The first dust proof mesh 61 directly contacts the external article. Accordingly, the first dust proof mesh 61 may have a larger area than the second dust proof mesh 62, so that the first dust proof mesh 61 and the side wall 10 can have a larger contact area, so as to guarantee that the first dust proof mesh 61 and the side wall 10 can have better bonding strength.
In an exemplary embodiment, the side wall 10 includes two long side walls 11 and two short side walls 12, the two long side walls 11 face toward each other, and the two short side walls 12 face toward each other. Alternatively, the plurality of leaking holes 5 is defined in the two long side walls 11, or the plurality of leaking holes 5 is defined in the two short side walls 12, or the plurality of leaking holes 5 is defined in both the two long side walls 11 and the two short side walls 12. Preferably, the frame 1 defines four leaking holes 5, and the four leaking holes 5 are symmetrically distributed in the two long side walls 11 and the two short side walls 12.
The leaking effect of the speaker 100 can be conveniently adjusted according to a size of an open area of the leaking hole 5 in the side wall 10. In order to maximize the leaking effect, since the two long side walls 11 are larger in size than the two short side walls 12, the leaking hole 5 in any of the two long side walls 11 is configured to have a greater open area than the leaking hole 5 in any of the two short side walls 12. Thus, the speaker 100 can have maximized leaking effect. The leaking hole 5 is preferably shaped in a long strip fitting with a shape of the long side wall 11 and a shape of the short side wall 12.
As shown in FIG. 4, the present disclosure provides a speaker box 200. The speaker box 200 includes the speaker 100, a sound absorbing powder 7 and a housing 9. The sound absorbing powder 7 is filled outside the speaker 100. The speaker 100 and the sound absorbing powder 7 are packaged in the housing 8. In the speaker box 200, the speaker 100 and the housing 8 enclose to define an internal cavity 80, and the sound absorbing powder 7 is filled in the internal cavity 80. The sound absorbing powder 7 cannot enter into an interior 1001 of the speaker 100, and it is not necessary to specially design the speaker box 200 to prevent the sound absorbing powder 7 from entering into the interior 1001 of the speaker 100. Therefore, the speaker 100 can better cooperate with the sound absorbing powder 7 filled in the speaker box 200 to form a virtual acoustic cavity.
The above are merely exemplary embodiments of the present disclosure. It should be noted that, those skilled in the art can make improvements to the present disclosure without departing from the invention concept of the present disclosure, and all these improvements shall fall into the protection scope of the present disclosure.

Claims (9)

What is claimed is:
1. A speaker box, comprising:
a speaker;
a sound absorbing powder filled outside the speaker, and
a housing configured to package the speaker and the sound absorbing powder;
wherein the speaker comprises:
a frame, the frame comprising a side wall;
a lower clamping plate, the lower clamping plate covering the frame and being sealed and connected with the frame;
a plurality of first dust proof meshes; and
a plurality of second dust proof meshes;
the side wall defines a plurality of leaking hole penetrating through the side wall; the plurality of first dust proof meshes and the plurality of second dust proof meshes corresponds to the plurality of leaking holes;
the side wall comprises an external surface and an internal surface, the plurality of first dust proof meshes is arranged on the external surface and completely covers the plurality of leaking holes, and the plurality of second dust proof meshes is arranged on the internal surface and completely covers the plurality of leaking holes.
2. The speaker as described in claim 1, wherein the side wall comprises two long side walls and two short side walls, the two long side walls face toward each other, the two short side walls face toward each other, and the plurality of leaking holes is defined in the two long side walls and/or the two short side walls.
3. The speaker as described in claim 1, wherein the plurality of leaking holes is symmetrically distributed in the side wall.
4. The speaker as described in claim 2, wherein an open area of each of the plurality of leaking holes in each of the two long side walls is greater than an open area of each of the plurality of leaking holes in each of the two short side walls.
5. The speaker as described in claim 1, wherein an area of each of the plurality of first dust proof meshes is greater than an area of each of the plurality of second dust proof meshes.
6. The speaker as described in claim 1, wherein the side wall defines a plurality of first accommodating slots at the external surface, and the plurality of first accommodating slots is configured to accommodate the plurality of first dust proof meshes, respectively.
7. The speaker as described in claim 1, wherein the side wall defines a plurality of second accommodating slots at the internal surface, and the plurality of second accommodating slots is configured to accommodate the plurality of second dust proof meshes, respectively.
8. The speaker as described in claim 1, further comprising a magnetic unit, wherein the lower clamping plate is a bottom plate of the magnetic unit.
9. The speaker as described in claim 1, wherein a sealant is disposed between the lower clamping plate and the frame to achieve sealing.
US15/652,617 2017-03-01 2017-07-18 Speaker and speaker box Expired - Fee Related US10028042B1 (en)

Applications Claiming Priority (2)

Application Number Priority Date Filing Date Title
CN201720194757.8U CN206542565U (en) 2017-03-01 2017-03-01 Loudspeaker and loudspeaker enclosure
CN201720194757 2017-03-01

Publications (1)

Publication Number Publication Date
US10028042B1 true US10028042B1 (en) 2018-07-17

Family

ID=59941548

Family Applications (1)

Application Number Title Priority Date Filing Date
US15/652,617 Expired - Fee Related US10028042B1 (en) 2017-03-01 2017-07-18 Speaker and speaker box

Country Status (2)

Country Link
US (1) US10028042B1 (en)
CN (1) CN206542565U (en)

Cited By (3)

* Cited by examiner, † Cited by third party
Publication number Priority date Publication date Assignee Title
CN109547881A (en) * 2018-12-04 2019-03-29 闻泰通讯股份有限公司 The telephone receiver structure of mobile terminal
US10397675B2 (en) * 2017-09-26 2019-08-27 Harman International Industries, Incorporated Dust protection for externally ported speaker enclosure
CN114979861A (en) * 2022-05-25 2022-08-30 宁波好德美电声有限公司 A new type of anti-gravel ATV audio

Families Citing this family (8)

* Cited by examiner, † Cited by third party
Publication number Priority date Publication date Assignee Title
CN107454525A (en) * 2017-09-08 2017-12-08 广东欧珀移动通信有限公司 Electroacoustic component, electroacoustic device and mobile terminal
CN108566598B (en) * 2018-04-24 2020-09-18 歌尔股份有限公司 Sound production device
CN108566597B (en) * 2018-04-24 2020-05-19 歌尔股份有限公司 Sound production device
CN109218895B (en) * 2018-08-02 2020-06-16 瑞声科技(新加坡)有限公司 Loudspeaker box
WO2021000194A1 (en) * 2019-06-30 2021-01-07 瑞声声学科技(深圳)有限公司 Loudspeaker
CN113132830B (en) * 2019-12-31 2025-06-03 荣耀终端股份有限公司 Speaker and electronic equipment
CN111343544B (en) * 2020-03-05 2021-07-09 瑞声科技(新加坡)有限公司 Sound production device
EP4170437A4 (en) * 2020-06-29 2023-11-29 Guangdong Oppo Mobile Telecommunications Corp., Ltd. DUSTPROOF ARRANGEMENT, ELECTRONIC DEVICE AND SMART CLOCK

Citations (7)

* Cited by examiner, † Cited by third party
Publication number Priority date Publication date Assignee Title
US20130156237A1 (en) * 2011-12-14 2013-06-20 Bujeon Co., Ltd. High power micro-speaker
US20130170109A1 (en) * 2012-01-04 2013-07-04 Sawyer I. Cohen Mesh Structure Providing Enhanced Acoustic Coupling
US8670586B1 (en) * 2012-09-07 2014-03-11 Bose Corporation Combining and waterproofing headphone port exits
US20150194648A1 (en) * 2012-05-25 2015-07-09 Incipio Technologies, Inc. Battery case for mobile device
US20160037243A1 (en) * 2014-07-31 2016-02-04 Apple Inc. Liquid Resistant Acoustic Device
US9674603B1 (en) * 2016-02-24 2017-06-06 PAL Acoustics Technology Ltd. Coaxial speaker
US20170164096A1 (en) * 2015-08-07 2017-06-08 Sound Solutions International Co., Ltd. Loudspeaker Device Having Foam Insert to Improve Gas Distribution in Sound Adsorber Material

Patent Citations (8)

* Cited by examiner, † Cited by third party
Publication number Priority date Publication date Assignee Title
US20130156237A1 (en) * 2011-12-14 2013-06-20 Bujeon Co., Ltd. High power micro-speaker
US20130170109A1 (en) * 2012-01-04 2013-07-04 Sawyer I. Cohen Mesh Structure Providing Enhanced Acoustic Coupling
US20150194648A1 (en) * 2012-05-25 2015-07-09 Incipio Technologies, Inc. Battery case for mobile device
US8670586B1 (en) * 2012-09-07 2014-03-11 Bose Corporation Combining and waterproofing headphone port exits
US20160037243A1 (en) * 2014-07-31 2016-02-04 Apple Inc. Liquid Resistant Acoustic Device
US9363589B2 (en) * 2014-07-31 2016-06-07 Apple Inc. Liquid resistant acoustic device
US20170164096A1 (en) * 2015-08-07 2017-06-08 Sound Solutions International Co., Ltd. Loudspeaker Device Having Foam Insert to Improve Gas Distribution in Sound Adsorber Material
US9674603B1 (en) * 2016-02-24 2017-06-06 PAL Acoustics Technology Ltd. Coaxial speaker

Cited By (4)

* Cited by examiner, † Cited by third party
Publication number Priority date Publication date Assignee Title
US10397675B2 (en) * 2017-09-26 2019-08-27 Harman International Industries, Incorporated Dust protection for externally ported speaker enclosure
CN109547881A (en) * 2018-12-04 2019-03-29 闻泰通讯股份有限公司 The telephone receiver structure of mobile terminal
CN109547881B (en) * 2018-12-04 2022-12-09 闻泰通讯股份有限公司 Receiver structure of mobile terminal
CN114979861A (en) * 2022-05-25 2022-08-30 宁波好德美电声有限公司 A new type of anti-gravel ATV audio

Also Published As

Publication number Publication date
CN206542565U (en) 2017-10-03

Similar Documents

Publication Publication Date Title
US10028042B1 (en) Speaker and speaker box
US9756416B2 (en) Loudspeaker module
CN110149579B (en) Magnetic circuit system and loudspeaker using same
KR101840735B1 (en) Loudspeaker module and electronic device comprising the loudspeaker module
KR102460785B1 (en) Speakers and mobile terminals
JP6276352B2 (en) speaker
WO2021138952A1 (en) Loudspeaker box
CN103108268B (en) Speaker module and use the electronic installation of this speaker module
US20180270555A1 (en) Receiver
US11956614B2 (en) Speaker device
US10869112B2 (en) Speaker and electronic apparatus
KR20170019436A (en) Loudspeaker module
US9820034B1 (en) Sound device
WO2021138950A1 (en) Speaker enclosure
US20250159412A1 (en) Sound generating module and electronic device
WO2021138953A1 (en) Speaker enclosure
WO2019047749A1 (en) Electroacoustic device, manufacturing method therefor, and mobile terminal
US10993021B2 (en) Speaker module
US10129654B2 (en) Miniature loudspeaker
KR101726830B1 (en) Woofer speaker and the rear sound cavity forming method thereof
CN106060753A (en) Mobile terminal equipment
CN108566597A (en) A kind of sound-producing device
US11540044B2 (en) Speaker device
US10182286B2 (en) Sound device
CN203225863U (en) Loudspeaker module and electronic device using same

Legal Events

Date Code Title Description
STCF Information on status: patent grant

Free format text: PATENTED CASE

FEPP Fee payment procedure

Free format text: MAINTENANCE FEE REMINDER MAILED (ORIGINAL EVENT CODE: REM.); ENTITY STATUS OF PATENT OWNER: LARGE ENTITY

LAPS Lapse for failure to pay maintenance fees

Free format text: PATENT EXPIRED FOR FAILURE TO PAY MAINTENANCE FEES (ORIGINAL EVENT CODE: EXP.); ENTITY STATUS OF PATENT OWNER: LARGE ENTITY

STCH Information on status: patent discontinuation

Free format text: PATENT EXPIRED DUE TO NONPAYMENT OF MAINTENANCE FEES UNDER 37 CFR 1.362

FP Lapsed due to failure to pay maintenance fee

Effective date: 20220717