RU98323U1 - Модульная теплица - Google Patents
Модульная теплица Download PDFInfo
- Publication number
- RU98323U1 RU98323U1 RU2010119007/21U RU2010119007U RU98323U1 RU 98323 U1 RU98323 U1 RU 98323U1 RU 2010119007/21 U RU2010119007/21 U RU 2010119007/21U RU 2010119007 U RU2010119007 U RU 2010119007U RU 98323 U1 RU98323 U1 RU 98323U1
- Authority
- RU
- Russia
- Prior art keywords
- roof
- ramp
- module
- beams
- slope
- Prior art date
Links
- 238000000576 coating method Methods 0.000 claims abstract description 15
- 239000011248 coating agent Substances 0.000 claims abstract description 10
- 229920000515 polycarbonate Polymers 0.000 claims abstract description 4
- 239000004417 polycarbonate Substances 0.000 claims abstract description 4
- 241000196324 Embryophyta Species 0.000 description 9
- 238000010276 construction Methods 0.000 description 6
- 238000012423 maintenance Methods 0.000 description 6
- 238000007789 sealing Methods 0.000 description 6
- 238000009423 ventilation Methods 0.000 description 5
- 239000002131 composite material Substances 0.000 description 4
- 238000009434 installation Methods 0.000 description 4
- 230000002262 irrigation Effects 0.000 description 4
- 238000003973 irrigation Methods 0.000 description 4
- 238000003032 molecular docking Methods 0.000 description 4
- 239000002689 soil Substances 0.000 description 4
- 239000007888 film coating Substances 0.000 description 3
- 238000009501 film coating Methods 0.000 description 3
- 239000000463 material Substances 0.000 description 3
- 238000005286 illumination Methods 0.000 description 2
- 239000007787 solid Substances 0.000 description 2
- 235000009849 Cucumis sativus Nutrition 0.000 description 1
- 240000008067 Cucumis sativus Species 0.000 description 1
- 235000007688 Lycopersicon esculentum Nutrition 0.000 description 1
- 240000003768 Solanum lycopersicum Species 0.000 description 1
- 230000001154 acute effect Effects 0.000 description 1
- 230000002411 adverse Effects 0.000 description 1
- 230000000694 effects Effects 0.000 description 1
- 230000004941 influx Effects 0.000 description 1
- 238000004519 manufacturing process Methods 0.000 description 1
- 230000000149 penetrating effect Effects 0.000 description 1
- 230000008092 positive effect Effects 0.000 description 1
- 238000001556 precipitation Methods 0.000 description 1
- 229920006395 saturated elastomer Polymers 0.000 description 1
- 125000006850 spacer group Chemical group 0.000 description 1
- 229920006302 stretch film Polymers 0.000 description 1
Classifications
-
- Y—GENERAL TAGGING OF NEW TECHNOLOGICAL DEVELOPMENTS; GENERAL TAGGING OF CROSS-SECTIONAL TECHNOLOGIES SPANNING OVER SEVERAL SECTIONS OF THE IPC; TECHNICAL SUBJECTS COVERED BY FORMER USPC CROSS-REFERENCE ART COLLECTIONS [XRACs] AND DIGESTS
- Y02—TECHNOLOGIES OR APPLICATIONS FOR MITIGATION OR ADAPTATION AGAINST CLIMATE CHANGE
- Y02A—TECHNOLOGIES FOR ADAPTATION TO CLIMATE CHANGE
- Y02A40/00—Adaptation technologies in agriculture, forestry, livestock or agroalimentary production
- Y02A40/10—Adaptation technologies in agriculture, forestry, livestock or agroalimentary production in agriculture
- Y02A40/25—Greenhouse technology, e.g. cooling systems therefor
Landscapes
- Greenhouses (AREA)
Abstract
1. Модульная теплица, содержащая модули, имеющие несущие вертикальные элементы каркаса, установленные на них жестко закрепленные наклонные стенки и не имеющие жесткого закрепления рамки с прозрачным для света покрытием, также содержит стойки и балки, скрепляющие элементы, щиты и прозрачные покрытия вертикальных стенок, отличающаяся тем, что рамки, выполненные с прозрачным покрытием, являются элементом кровли крыши, а наклонные стенки модуля содержат горизонтальные балки, прямые или в форме полуарок, арок стропила и закрепленное на них прозрачное для света покрытие, являющееся кровлей ската крыши, при этом крайние стропила и стойки модуля устанавливают положение и форму торцовых сторон модуля, а стропила и горизонтальные балки образуют скаты крыши, при этом нижняя часть кровли ската находится внутри модуля, причем нижний край кровли ската заканчивается у проема крыши. ! 2. Модульная теплица по п.1, отличающаяся тем, что кровля ската выполнена полужесткой и соединенной жестко с нижними балками ската, также дополнительно содержащей гибкие шнуры и конек, а между верхней и нижней балками ската установлены гибкие шнуры на расстоянии друг от друга, при этом верхний край кровли ската заведен под конек, а нижний ее край закреплен на нижней балке. ! 3. Модульная теплица по п.2, отличающаяся тем, что кровля ската выполнена из поликарбоната, а сверху прижата прижимной планкой. ! 4. Модульная теплица по п.1, отличающаяся тем, что кровля ската выполнена пленочной и натяжной, также дополнительно содержит гибкие шнуры, планки натягивающую и прижимную, а между верхней и нижней балками ската натянуты гибкие шнуры на расстоянии дру�
Description
Полезная модель относится к сельскому хозяйству, к производству теплиц, а именно, к конструкциям теплиц с прозрачным для света покрытием, и может быть использовано для укрытия выращиваемых растений от неблагоприятных погодных факторов в индивидуальных и фермерских хозяйствах.
Известна «Модульная теплица» (свидетельство на полезную модель №11649, A01G 9/14, приор. 21.05.1999, опубликовано 16.11.1999), состоящая из цельных малых модулей и составного большого модуля, которая с целью удобства сборки и разборки выполнена из отдельных модулей, причем составной большой модуль выполнен из отдельных элементов: крыши, которая опирается на цельные малые модули, и торцевых проставок (передней и задней). Боковыми стенками составного большого модуля являются боковые стенки цельных малых модулей, на которые опирается крыша составного большого модуля.
Однако данная теплица обладает значительными трудозатратами при постройке и недостаточным качеством обслуживания теплицы ввиду необходимости дополнительного устройства водосточных узлов и герметизации соединений кровли при стыковке модулей.
Известна также «Модульная теплица (варианты)» (патент на изобретение РФ №2203531, A01G 9/14, A01G 9/16, A01G 13/04, Е04Н 15/48, приор. 27.06.2001, опубл. 10.05.2003), которая содержит закрепленный на грунте каркас и светопроницаемое пленочное покрытие, прикрепленное к каркасу. Каркас выполнен по меньшей мере из двух идентичных складных модулей. Каждый модуль включает в себя узел крепления, четыре шарнира и четыре несущих стержня, попарно расположенных относительно соответствующих взаимно перпендикулярных плоскостей симметрии, проходящих через вертикальную центральную ось узла крепления. Каждый несущий стержень соединен через шарнир с узлом крепления с возможностью поворота в вертикальной плоскости на 360° относительно оси шарнира, перпендикулярной упомянутой центральной оси узла крепления. Каждый модуль связан со смежным модулем посредством установленного горизонтально несущего стержня, скрепленного через стыковочный узел с соответственно установленным также горизонтально несущим стержнем смежного модуля. Каждый модуль закреплен на грунте с помощью несущих стержней, установленных под острым углом к вертикальной центральной оси узла крепления. Второй вариант модульной теплицы состоит из одного модуля, который используется как автономная теплица. Это обеспечивает улучшение эксплуатационных характеристик.
Однако данная теплица обладает значительными трудозатратами в обслуживании теплицы ввиду низкого показателя полезного использования укрываемой площади в варианте теплицы, состоящей из одного модуля, а также ввиду необходимости устройства дверей, водосточных и проветривающих узлов и герметизации соединений пленочного покрытия при установке значительного числа модулей.
Наиболее близким по технической сущности и достигаемому эффекту к предлагаемому устройству является «Теплица» (свидетельство на полезную модель RU №34611 U1, E06B 3/54, заявка 2003126732/20, 03.09.2003), выбранная за прототип, которая содержит секционные корпуса (модули), имеющие в частности несущие горизонтальные и вертикальные элементы каркаса и установленные на них наклонные стенки с уплотнителями, которые образуют соответственно стороны боковые и торцевые и скаты кровли.
Недостатками данной модели является необходимость в устройстве водосточных узлов и герметизации соединений кровли при стыковке боковых сторон секционных корпусов. При увеличении на боковом стыке количества секционных корпусов проблема удаления дождевой влаги и герметизации стыка существенно усложняется. Недостатком также является необходимость установки сплошного основания перед монтированием секционных корпусов.
Задачей, на решение которой направлена полезная модель, является снижение трудоемкости работ при сооружении и обслуживании теплиц с неограниченными площадями застройки путем осуществления стыковки модулей ко всем сторонам теплицы, в том числе в различных уровнях по высоте.
Технический результат, который может быть получен при использовании данного устройства, заключается в повышении качества и показателя полезного использования укрываемого пространства путем выполнения конструкции крыши модуля влагопроницаемой и проветриваемой. При этом происходит также снижение затрат на строительство и выращивание растений в парнике.
Поставленная задача решается за счет того, что модульная теплица, содержащая модули, имеющие несущие вертикальные элементы каркаса, установленные на них жестко закрепленные наклонные стенки и не имеющие жесткого закрепления рамки с прозрачным для света покрытием, а также содержащая стойки и балки, скрепляющие элементы, щиты и прозрачные покрытия вертикальных стенок. При этом рамки, выполненные с прозрачным покрытием, являются элементом кровли крыши, наклонные стенки модуля содержат горизонтальные балки, прямые или в форме полуарок, арок стропила и закрепленное на них прозрачное для света покрытие кровли ската. Крайние стойки и стропила модуля определяют положение и форму торцовых сторон модуля. Стропила и горизонтальные балки образуют скаты крыши, при этом нижняя часть кровли ската находится внутри модуля и не имеет герметичного соединения с какой-либо стенкой.
Также кровля ската может быть выполнена полужесткой, например, из поликарбоната, и соединенной жестко с нижними балками ската, также дополнительно содержащей гибкие шнуры и конек, причем гибкие шнуры установлены между верхней и нижней балками ската на расстоянии друг от друга, при этом верхний край кровли заведен под конек, а нижний край закреплен на нижней балке. Сверху она может быть прижата прижимной планкой.
Также кровля ската может быть выполнена пленочной и натяжной, и дополнительно содержит гибкие шнуры, планки натягивающую и прижимную, а между верхней и нижней балками ската натянуты гибкие шнуры на расстоянии друг от друга, при этом пленочная кровля закреплена на верхней балке ската, а к нижнему краю кровли прикреплена натягивающая планка. Кроме того сверху пленка закреплена прижимной планкой и рамками. Прижимная планка может быть прикреплена к щитам.
Кроме того кровля может быть снабжена водосточными желобами, которые закреплены к нижней балке ската под краем кровли и установлены на стропила, а в нижней части желоба имеются сливные отверстия с регулируемым просветом, а на конце желоба в плоскости торцовой стенки имеется регулируемая заслонка.
Таким образом, решение поставленной задачи достигается за счет введения новых элементов, деталей конструкции, их взаимного расположения. Благодаря этому достигается возможность выполнить теплицу с дополнительными функциями: с дополнительной возможностью проникновения дождевой воды внутрь модуля и выполнения ее проветриваемой. Конструкция построена таким образом, что работы по ее установке не требуют значительных трудозатрат. Новое построение конструкции позволяет обеспечить высокое качество, простоту обслуживания при выращивании и защите растений.
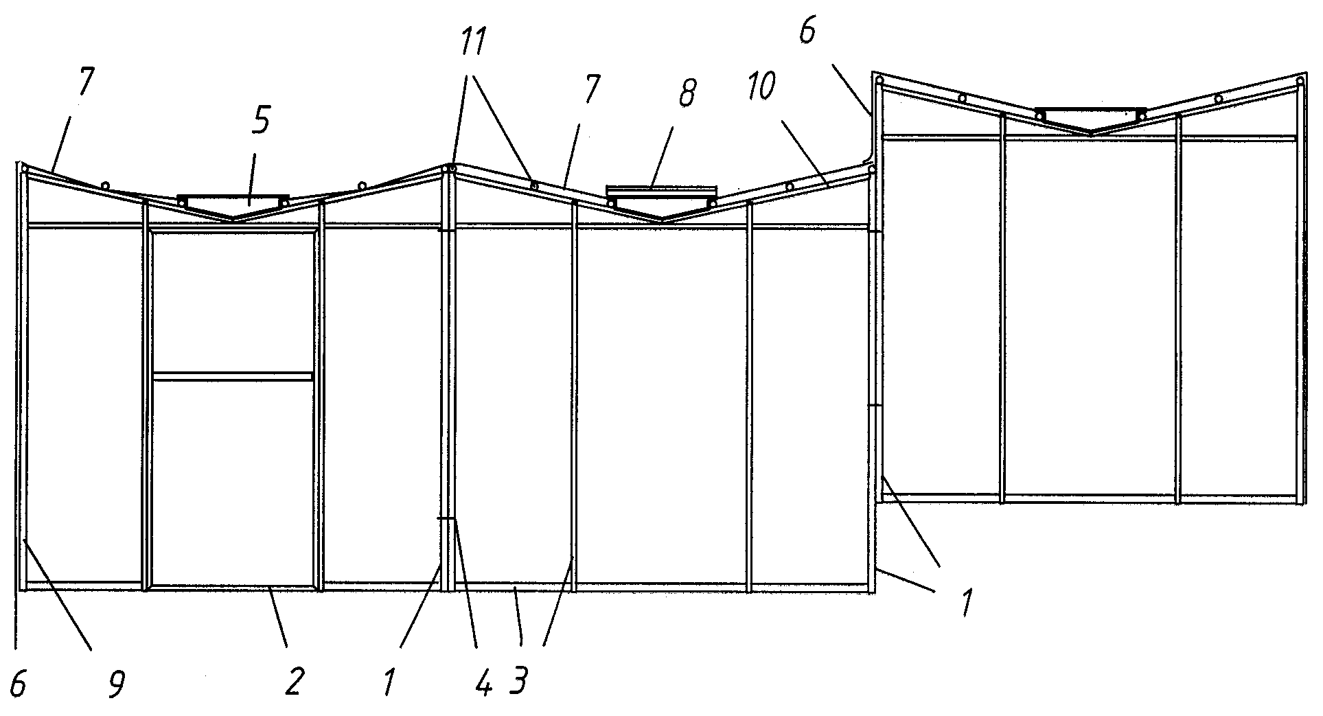
Сущность полезной модели поясняется чертежами, на которых изображена заявляемая модульная теплица. На фиг.1 представлен главный вид теплицы, включающий по меньшей мере три торцовых стороны состыкованных модулей. Фиг.2 иллюстрирует конструкцию ската, выполненного с гибким листовым покрытием, жестко соединенным с нижней балкой ската, и шнурами. Фиг.3 иллюстрирует конструкцию ската, выполненного с натяжным пленочным покрытием, жестко соединенным с верхней балкой ската. Фиг.4 содержит изометрический вид теплицы, составленной из 4 одноразмерных модулей в одной из возможных конфигураций. Фиг.5 иллюстрирует положение и конструкцию водосточного желоба.
Модульная теплица состоит из модулей 1, по меньшей мере одной двери 2, дополнительных стоек и балок 3, скрепляющих элементов 4, щитов 5 и прозрачных покрытий стенок 6.
Модуль 1 теплицы содержит каркасные элементы, определяющие направления вертикальных боковых и торцовых стенок теплицы и наклон ската модуля, а также прозрачную кровлю 7 и рамки с прозрачным покрытием 8. Каркасными элементами модуля 1 являются вертикальные несущие стойки 9, прямые или в форме полуарок, арок стропила 10, балки 11. Крайние стойки 9 и стропила 10 образуют торцовые стороны модуля, а стропила 10 и горизонтальные балки 11 - образуют скаты крыши.
Варианты конкретного выполнения теплицы содержат также:
гибкие шнуры - 12;
конек - 13;
планку прижимную - 14;
планку натягивающую - 15;
крепление - 16 прижимной планки 14 к щитам 5;
водосточные желоба - 17 для оросительно-сточной системы модуля;
сливные отверстия - 18.
Теплица отличается от других теплиц влагопроницаемой конструкцией крыши модуля, в которой нижний край кровли ската заканчивается у проема крыши и находится вместе с проемом внутри периметра теплицы, вследствие чего образуется углубление, убирающее влагу выпадающих осадков от вертикальных стенок теплицы. Проем закрывается жестко закрепленными на торцовых стенках щитами и съемными рамками. Рамки не препятствуют проникновению дождевой воды внутрь модуля.
Конструкция модуля 1 позволяет снизить трудоемкость при сооружении и обслуживании теплиц с неограниченными площадями застройки благодаря возможности стыковки модулей 1 ко всем сторонам теплицы, в том числе в различных уровнях по высоте, без применения дренажных узлов или герметизации соединений кровли соседних модулей. Конструкция модуля 1 включает также возможности сохранения в укрываемой почве необходимой дождевой влаги, выпадающей на территорию теплицы, и проветривания в каждом модуле через открывающиеся протяженные проемы крыши без установки оросительных и проветривающих узлов.
Под проемами следует располагать дорожки и межи. Таким образом, растения располагаются под кровлей, укрытые от возможного попадания в открытые проемы дождевой влаги, и одновременно в зонах теплицы, имеющих наибольшую высоту. Отсюда следует, что такая модель теплицы обладает лучшим показателем полезного использования укрываемого пространства.
Прозрачные покрытия могут быть изготовлены из любых подходящих материалов.
Модули возводятся без фундамента. Покрытие стенок при консервации на зимний период может быть оставлено на месте. Однако для облегчения обработки почвы в теплице, например, с применением минитракторных средств, покрытие стенок, а также дополнительные стойки и бруски изготавливаются легкосъемными.
Прозрачную кровлю можно не убирать на зимний период при достаточно большом наклоне ската и прочности кровли. Однако в процессе эксплуатации теплицы автор пришел к выводу, что при снятом покрытии всей крыши почва теплицы получает положительное воздействие природных факторов, равномерно пропитывается влагой, и таким образом снижается трудоемкость сельскохозяйственных работ в теплице. Конструкция модуля облегчает процесс установки и снятия кровли.
Теплица использовалась в течение 8 лет для получения урожаев теплолюбивых растений, в частности помидоров и огурцов.
Примерами конкретного выполнения модульной теплицы являются следующие.
Вариантом представленной конструкции является модульная теплица, отличающаяся тем, что выполнена с полужесткой кровлей (например, из поликарбоната), жестко соединенной только с нижними балками ската. Конструкция дополнительно включает гибкие шнуры 12, конек 13. Между верхней и нижней балками ската натягиваются гибкие шнуры на расстоянии друг от друга. Верхний край кровли заводится под конек, нижний край крепится на нижней балке (балках). При необходимости сверху кровля прижимается прижимной планкой 14. Такая конструкция снижает трудоемкость при установке и снятии кровли. Натянутые шнуры поддерживают кровлю снизу, вследствие чего имеется возможность применять небольшой угол наклона ската (до 5°), что позволяет уменьшить расход материалов. Кроме того, нижние участки шнуров могут быть использованы как держатели для подвязывания стеблей растений, что способствует более равномерному распределению наземных частей растений и тем самым улучшению их освещенности и вентилирования.
Другим вариантом, конкретным примером представленной конструкции, может быть модульная теплица, отличающаяся тем, что выполнена с пленочной натяжной кровлей ската, которая дополнительно включает: гибкие шнуры 12 и планки натягивающая 15 и прижимная 14. Между верхней и нижней балками ската натягиваются гибкие шнуры на расстоянии друг от друга. Пленочная кровля закрепляется на верхней балке ската. К нижнему краю кровли крепится натягивающая планка, так чтобы край кровли свисал с нижней балки и имел возможность смещаться в вертикальном направлении и вдоль стропил. Натянутые шнуры поддерживают пленку снизу, сверху пленка удерживается прижимной планкой, рамками. Прижимная планка может иметь крепление 16 к щитам 5. Такое устройство пленочной кровли облегчает установку и обслуживание теплицы, а также дает возможность применять небольшой угол наклона ската (до 10°), что уменьшает расход материала. Кроме того, нижние участки шнуров могут быть использованы как держатели для подвязывания стеблей растений, что способствует более равномерному распределению наземных частей растений и тем самым улучшению их освещенности и вентилирования. При консервации на зимний период пленочная кровля скручивается на натяжной планке и закрепляется на верхней перекладине ската.
Еще одним вариантом представленной конструкции, еще одним примером конкретного выполнения, может быть модульная теплица, отличающаяся тем, что снабжена водосточными желобами 17 для оросительно-сточной системы модуля. Желоб 17 крепится к нижней балке ската под краем кровли и опирается на стропила. В нижней части желоба находятся сливные отверстия 18 с регулируемым просветом. На конце желоба в плоскости торцевой стенки имеется регулируемая заслонка 19 для возможного отвода влаги за пределы теплицы или притока дополнительной влаги.
Конструкция заявляемой модульной теплицы позволяет снизить трудоемкость при ее сооружении и обслуживании. Позволяет применять теплицы с неограниченными площадями застройки благодаря возможности стыковки модулей 1 ко всем сторонам теплицы, в том числе в различных уровнях по высоте, без применения дренажных узлов или герметизации соединений кровли соседних модулей. Конструкция включает также возможности сохранения в укрываемой почве необходимой дождевой влаги, выпадающей на территорию теплицы, и проветривания в каждом модуле через открывающиеся протяженные проемы крыши без установки оросительных и проветривающих узлов.
Claims (6)
1. Модульная теплица, содержащая модули, имеющие несущие вертикальные элементы каркаса, установленные на них жестко закрепленные наклонные стенки и не имеющие жесткого закрепления рамки с прозрачным для света покрытием, также содержит стойки и балки, скрепляющие элементы, щиты и прозрачные покрытия вертикальных стенок, отличающаяся тем, что рамки, выполненные с прозрачным покрытием, являются элементом кровли крыши, а наклонные стенки модуля содержат горизонтальные балки, прямые или в форме полуарок, арок стропила и закрепленное на них прозрачное для света покрытие, являющееся кровлей ската крыши, при этом крайние стропила и стойки модуля устанавливают положение и форму торцовых сторон модуля, а стропила и горизонтальные балки образуют скаты крыши, при этом нижняя часть кровли ската находится внутри модуля, причем нижний край кровли ската заканчивается у проема крыши.
2. Модульная теплица по п.1, отличающаяся тем, что кровля ската выполнена полужесткой и соединенной жестко с нижними балками ската, также дополнительно содержащей гибкие шнуры и конек, а между верхней и нижней балками ската установлены гибкие шнуры на расстоянии друг от друга, при этом верхний край кровли ската заведен под конек, а нижний ее край закреплен на нижней балке.
3. Модульная теплица по п.2, отличающаяся тем, что кровля ската выполнена из поликарбоната, а сверху прижата прижимной планкой.
4. Модульная теплица по п.1, отличающаяся тем, что кровля ската выполнена пленочной и натяжной, также дополнительно содержит гибкие шнуры, планки натягивающую и прижимную, а между верхней и нижней балками ската натянуты гибкие шнуры на расстоянии друг от друга, при этом пленочная кровля закреплена на верхней балке ската, а к нижнему краю кровли прикреплена натягивающая планка, кроме того, сверху пленка закреплена прижимной планкой и рамками.
5. Модульная теплица по п.4, отличающаяся тем, что прижимная планка прикреплена к щитам.
6. Модульная теплица по п.1, отличающаяся тем, что кровля снабжена водосточными желобами, которые закреплены к нижней балке ската под краем кровли и установлены на стропила, а в нижней части желоба имеются сливные отверстия с регулируемым просветом, кроме того, на конце желоба в плоскости торцевой стенки имеется регулируемая заслонка.
Priority Applications (1)
| Application Number | Priority Date | Filing Date | Title |
|---|---|---|---|
| RU2010119007/21U RU98323U1 (ru) | 2010-05-11 | 2010-05-11 | Модульная теплица |
Applications Claiming Priority (1)
| Application Number | Priority Date | Filing Date | Title |
|---|---|---|---|
| RU2010119007/21U RU98323U1 (ru) | 2010-05-11 | 2010-05-11 | Модульная теплица |
Publications (1)
| Publication Number | Publication Date |
|---|---|
| RU98323U1 true RU98323U1 (ru) | 2010-10-20 |
Family
ID=44024099
Family Applications (1)
| Application Number | Title | Priority Date | Filing Date |
|---|---|---|---|
| RU2010119007/21U RU98323U1 (ru) | 2010-05-11 | 2010-05-11 | Модульная теплица |
Country Status (1)
| Country | Link |
|---|---|
| RU (1) | RU98323U1 (ru) |
Cited By (4)
| Publication number | Priority date | Publication date | Assignee | Title |
|---|---|---|---|---|
| RU2509847C2 (ru) * | 2012-05-03 | 2014-03-20 | Андрей Дмитриевич Пинтюшенко | Система вентиляции скатной крыши |
| RU2570997C2 (ru) * | 2014-03-13 | 2015-12-20 | Михаил Георгиевич Щеглов | Тепличный модуль |
| RU182206U1 (ru) * | 2017-12-19 | 2018-08-07 | Общество с ограниченной ответственностью "НООСФЕРА" | Теплица |
| RU2690599C1 (ru) * | 2018-08-01 | 2019-06-05 | федеральное государственное бюджетное образовательное учреждение высшего образования "Алтайский государственный университет" | Аккумулирующая воду теплица |
-
2010
- 2010-05-11 RU RU2010119007/21U patent/RU98323U1/ru not_active IP Right Cessation
Cited By (4)
| Publication number | Priority date | Publication date | Assignee | Title |
|---|---|---|---|---|
| RU2509847C2 (ru) * | 2012-05-03 | 2014-03-20 | Андрей Дмитриевич Пинтюшенко | Система вентиляции скатной крыши |
| RU2570997C2 (ru) * | 2014-03-13 | 2015-12-20 | Михаил Георгиевич Щеглов | Тепличный модуль |
| RU182206U1 (ru) * | 2017-12-19 | 2018-08-07 | Общество с ограниченной ответственностью "НООСФЕРА" | Теплица |
| RU2690599C1 (ru) * | 2018-08-01 | 2019-06-05 | федеральное государственное бюджетное образовательное учреждение высшего образования "Алтайский государственный университет" | Аккумулирующая воду теплица |
Similar Documents
| Publication | Publication Date | Title |
|---|---|---|
| JP3177129U (ja) | モジュール化可能なソーラエネルギ施設の温室棚 | |
| US3765134A (en) | Construction of rigid tensioned frame structure | |
| AU2009101348A4 (en) | Green wall system | |
| MX2014001300A (es) | Techo retractil. | |
| CN104620903B (zh) | 大跨度通风型日光温室 | |
| RU98323U1 (ru) | Модульная теплица | |
| KR200448602Y1 (ko) | 온실용 중앙개폐식 지붕구조물 | |
| KR101377218B1 (ko) | 터널형 온실 | |
| US6079152A (en) | Greenhouse structure | |
| KR20150000071A (ko) | 건축물 옥상용 조립식 온실 | |
| JP3911677B2 (ja) | 壁面緑化体及び壁面緑化帳壁 | |
| KR102167311B1 (ko) | 터널 하우스형 인삼 재배 시설 | |
| RU2319370C1 (ru) | Дачный парник | |
| RU123634U1 (ru) | Парник и покрытие для него | |
| KR20170019859A (ko) | 조립식 온실 | |
| KR20160143314A (ko) | 빗물 집수형 비가림 장치 | |
| CN213961008U (zh) | 一种用于长江流域地区越夏越冬生产的锯齿形薄膜温室 | |
| RU2537498C2 (ru) | Теплица с коньковой фрамугой | |
| RU104014U1 (ru) | Теплица | |
| RU229542U1 (ru) | Теплица со съемной крышей | |
| RU165608U1 (ru) | Теплица | |
| SU1762803A1 (ru) | Пленочный парник | |
| KR20210016997A (ko) | 조립식 온실 | |
| JPS61249323A (ja) | きのこ栽培用ハウス | |
| TWM478335U (zh) | 透氣式農棚及附設有太陽能設施的透氣式農棚結構 |
Legal Events
| Date | Code | Title | Description |
|---|---|---|---|
| MM1K | Utility model has become invalid (non-payment of fees) |
Effective date: 20120512 |
