RU98095U1 - CHAIR FOR AUDIENCE HALLS - Google Patents
CHAIR FOR AUDIENCE HALLS Download PDFInfo
- Publication number
- RU98095U1 RU98095U1 RU2010113366/12U RU2010113366U RU98095U1 RU 98095 U1 RU98095 U1 RU 98095U1 RU 2010113366/12 U RU2010113366/12 U RU 2010113366/12U RU 2010113366 U RU2010113366 U RU 2010113366U RU 98095 U1 RU98095 U1 RU 98095U1
- Authority
- RU
- Russia
- Prior art keywords
- seat
- chair
- hinge mechanism
- rod
- seating surface
- Prior art date
Links
- 230000007246 mechanism Effects 0.000 claims abstract description 39
- 230000005484 gravity Effects 0.000 claims abstract description 11
- 102200097286 rs199472825 Human genes 0.000 description 8
- 210000002414 leg Anatomy 0.000 description 2
- 238000004519 manufacturing process Methods 0.000 description 2
- 239000000463 material Substances 0.000 description 2
- 210000000689 upper leg Anatomy 0.000 description 2
- 239000011248 coating agent Substances 0.000 description 1
- 238000000576 coating method Methods 0.000 description 1
- 229910052751 metal Inorganic materials 0.000 description 1
- 239000002991 molded plastic Substances 0.000 description 1
- 230000000630 rising effect Effects 0.000 description 1
Landscapes
- Chairs For Special Purposes, Such As Reclining Chairs (AREA)
Abstract
1. Кресло для зрительных залов, содержащее каркас с, по меньшей мере, одной опорой, спинку и сиденье, снабженное посадочной поверхностью, установленное с возможностью приведения сиденья в откинутое состояние перемещением передней части сиденья вверх и далее в направлении спинки при помощи шарнирного механизма с горизонтальной осью поворота, отличающееся тем, что передняя часть сиденья снабжена дополнительной площадкой для сидения, смежной с посадочной поверхностью и расположенной под углом к посадочной поверхности, горизонтальная ось поворота шарнирного механизма смещена относительно центра тяжести сиденья, приведенного в откинутое состояние, в сторону, противоположную спинке, шарнирный механизм с горизонтальной осью поворота дополнительно снабжен, по меньшей мере, одним упругим элементом, связанным с сиденьем. ! 2. Кресло по п.1, отличающееся тем, что ось поворота шарнирного механизма выполнена в виде стержня, неподвижно закрепленного своими концами в каркасе кресла, в средней части стержня неподвижно закреплен сухарь и стержень симметрично охвачен двумя пружинами кручения, каждая из которых одним концом взаимодействует с сухарем, а другим концом взаимодействует с сиденьем кресла. ! 3. Кресло по п.1 или 2, отличающееся тем, что снабжено, по меньшей мере, одним подлокотником. ! 4. Кресло по п.1 или 2, отличающееся тем, что выполнено с возможностью модульной сборки кресел в ряд, содержащий, по меньшей мере, два кресла. ! 5. Кресло по п.1 или 2, отличающееся тем, что дополнительная площадка для сидения выполнена с меньшей длиной в переднезаднем направлении, чем длина посадочной поверхности. 1. An auditorium chair comprising a frame with at least one support, a backrest and a seat provided with a seating surface, installed with the possibility of bringing the seat into a reclined position by moving the front of the seat up and down in the direction of the back using a horizontal hinge mechanism the axis of rotation, characterized in that the front part of the seat is equipped with an additional platform for sitting adjacent to the landing surface and located at an angle to the landing surface, the horizontal axis Rotating hinge mechanism is shifted back relative to the center of gravity given in the reclined state in the direction opposite to the backrest, the hinge mechanism with a horizontal axis of rotation is further provided with at least one elastic member associated with the seat. ! 2. The chair according to claim 1, characterized in that the pivot axis of the articulated mechanism is made in the form of a rod fixedly fixed with its ends in the chair frame, a cracker is fixedly fixed in the middle part of the rod and the rod is symmetrically surrounded by two torsion springs, each of which interacts at one end with a cracker, and the other end interacts with the seat of the chair. ! 3. The chair according to claim 1 or 2, characterized in that it is equipped with at least one armrest. ! 4. The chair according to claim 1 or 2, characterized in that it is made with the possibility of modular assembly of chairs in a row containing at least two chairs. ! 5. The chair according to claim 1 or 2, characterized in that the additional seat platform is made with a shorter length in the anteroposterior direction than the length of the seating surface.
Description
Полезная модель относится к креслам и стульям с откидными сиденьями, предназначенным для зрительных залов. Предлагаемое устройство может иметь и другие области применения как предмет мебели для сидения, допускающий расположение сидящего человека на одном из двух доступных уровней высоты.The utility model relates to armchairs and chairs with folding seats intended for auditoriums. The proposed device may have other applications as a piece of furniture for seating, allowing the location of a seated person at one of two available levels of height.
В наиболее распространенных типах кресел с откидными сиденьями используются шарнирные механизмы для соединения сиденья с каркасом кресла. Как правило, такие шарнирные механизмы позволяют выполнять только поворот сиденья вокруг одной горизонтальной оси, неподвижной относительно каркаса кресла; именно в таком значении в настоящем описании полезной модели используется термин «шарнирный механизм», если не оговорено иное. В ненагруженном состоянии сиденье принимает вертикальное положение либо под действием пружины, либо под действием силы тяжести. Как правило, ось шарнирного механизма располагается вблизи спинки кресла; благодаря этому достигается наибольшая экономия пространства, занимаемого креслом с ненагруженным сиденьем, и облегчается проход публики между рядами кресел. В большинстве конструкций передний край сиденья, находящегося в ненагруженном состоянии, располагается выше заднего края сиденья. Здесь и далее задним краем сиденья называется тот край сиденья «занятого» кресла, т.е. сиденья, находящегося в горизонтальном, нагруженном состоянии, который является ближайшим к спинке кресла, а верхняя поверхность сиденья, находящегося в горизонтальном состоянии, называется «посадочной поверхностью». Известны конструкции, в которых задний край сиденья, находящегося в ненагруженном состоянии, располагается выше переднего края сиденья (см., например, ЕР 0518346, МПК А47С 1/121, опубл. 1992.12.16; это кресло снабжено многозвенным шарнирным механизмом, позволяющим совершать сложное движение сиденья, и пружиной).The most common types of reclining seats use swivel mechanisms to connect the seat to the seat frame. As a rule, such hinge mechanisms allow only the rotation of the seat around one horizontal axis, stationary relative to the frame of the chair; it is in this meaning that the term “articulated mechanism” is used in the present description of the utility model, unless otherwise specified. In the unloaded state, the seat takes a vertical position either under the action of a spring or under the action of gravity. As a rule, the axis of the hinge mechanism is located near the back of the chair; thanks to this, the greatest savings are achieved in the space occupied by an unloaded seat, and the passage of the audience between the rows of seats is facilitated. In most designs, the front edge of the unloaded seat is located above the rear edge of the seat. Hereinafter, the rear edge of the seat is the edge of the seat of the "occupied" chair, i.e. a seat in a horizontal, loaded state, which is closest to the back of the chair, and the upper surface of a seat in a horizontal state is called the "seating surface". Known designs in which the rear edge of the seat, in an unloaded condition, is located above the front edge of the seat (see, for example, EP 0518346, IPC A47C 1/121, publ. 1992.12.16; this chair is equipped with a multi-link hinge mechanism that allows you to make difficult seat movement, and spring).
Известно кресло с откидным сиденьем, раскрытое в описании к патенту US 3850476 (МПК А47С 1/121; опубл. 1974.11.26). Это кресло содержит каркас с кронштейнами и с опорой, спинку и сиденье с посадочной поверхностью, закрепленное на каркасе с помощью шарнирного механизма с горизонтальной осью поворота, а именно с помощью двух втулок, закрепленных на сиденье, и двух шипов, закрепленных на элементах каркаса - кронштейнах. Кресло снабжено литым пластмассовым сиденьем, усиленным металлическими элементами. В свободном, ненагруженном состоянии сиденье принимает вертикальное, т.е. «откинутое», положение благодаря противовесу, закрепленному на заднем крае сиденья. Это кресло не может использоваться для усаживания на него ребенка дошкольного или младшего школьного возраста в зрительном зале, если только это кресло не стоит в первом ряду или пол зрительного зала не устроен со значительным уклоном, поскольку в конструкции этого кресла не предусмотрено регулирование высоты посадочной поверхности над уровнем пола. Также это кресло является неудобным для ребенка еще и потому что глубина сиденья от переднего края сиденья до заднего слишком велика для ребенка и не позволяет ему одновременно опереться на спинку кресла и свесить ноги. Частично эти недостатки могут быть преодолены при эксплуатации кресла применением съемных подушек или сидений-вкладышей, например, таких, какие раскрыты в патентных документах US 5303980 (МПК А47С 1/124, опубл. 1994.04.19), US 5332286 (МПК А47С 1/08, опубл. 1994.07.26), US 5580125 (МПК А47С 1/08, опубл. 1996.12.03), US 2005146181 (МПК А47С 1/08, опубл. 2005.07.07). Применение противовеса также является недостатком устройства US3850476, так как увеличивает вес кресла.Known chair with a folding seat, disclosed in the description of the patent US 3850476 (IPC A47C 1/121; publ. 1974.11.26). This chair contains a frame with brackets and with a support, a back and a seat with a seating surface, mounted on the frame using a hinge mechanism with a horizontal axis of rotation, namely, using two bushings mounted on the seat and two studs mounted on the frame elements - brackets . The chair is equipped with a molded plastic seat reinforced with metal elements. In a free, unloaded state, the seat takes upright, i.e. “Tilted” position thanks to a counterweight mounted on the rear edge of the seat. This chair cannot be used to seat a child of preschool or primary school age in the auditorium, unless this chair is in the front row or the floor of the auditorium is arranged with a significant bias, since the design of this chair does not provide for the adjustment of the height of the seating surface above floor level. Also, this chair is inconvenient for the child also because the depth of the seat from the front edge of the seat to the rear is too large for the child and does not allow him to lean on the back of the chair and hang his legs. Partially, these disadvantages can be overcome when operating the chair using removable pillows or in-seat seats, for example, those disclosed in patent documents US 5303980 (IPC A47C 1/124, publ. 1994.04.19), US 5332286 (IPC A47C 1/08 , publ. 1994.07.26), US 5580125 (IPC A47C 1/08, publ. 1996.12.03), US 2005146181 (IPC A47C 1/08, publ. 2005.07.07). The use of a counterweight is also a disadvantage of the device US3850476, as it increases the weight of the chair.
Известно пассажирское кресло, содержащее каркас, спинку и откидное сиденье, закрепленное на каркасе с помощью устройства, эквивалентного комбинации шарнирного механизма и направляющих, раскрытое в документе ЕР 1694526 (МПК А47С 1/02, B60N, опубл. 2006.08.30). Сиденье этого кресла переводят в вертикальное положение путем поворота вокруг горизонтальной оси, определяемой точками опоры переднего края сиденья на каркас; после этого сиденье придвигают к спинке кресла. При этом задний край сиденья располагается выше уровня посадочной поверхности сиденья, находящегося в горизонтальном положении. Задний край сиденья снабжен мягкой площадкой, смежной с посадочной поверхностью сиденья и предназначенной для использования пассажиром, желающим принять полусидящую позу, т.е. позу, которую принимает человек, присевший на край высокого стола или подоконника. Использование признаков этого технического решения в конструкции театрального кресла с откидным сиденьем позволяет усаживать ребенка на площадку, которой снабжен край сиденья, находящийся при вертикальном положении сиденья выше уровня посадочной поверхности сиденья, находящегося в горизонтальном положении (при условии выполнения площадки с шириной, достаточной для удобного положения сидящего ребенка). Недостатком кресла по патенту ЕР 1694526 является сложность перевода сиденья в откинутое положение, сочетающего операции поворота и поступательного перемещения. Комбинация шарнирного механизма с направляющими имеет пониженную надежность и прочность по сравнению с обычным шарнирным механизмом.A passenger seat is known comprising a frame, a backrest and a folding seat fixed to the frame using a device equivalent to the combination of a hinge mechanism and rails disclosed in EP 1694526 (IPC A47C 1/02, B60N, publ. 2006.08.30). The seat of this chair is moved to a vertical position by turning around a horizontal axis defined by the support points of the front edge of the seat on the frame; after that, the seat is moved to the back of the chair. In this case, the rear edge of the seat is located above the level of the seat surface of the seat, which is in a horizontal position. The rear edge of the seat is provided with a soft pad adjacent to the seat surface of the seat and intended for use by a passenger who wishes to adopt a semi-sitting posture, i.e. the pose that a person takes is sitting on the edge of a high table or window sill. Using the features of this technical solution in the design of a theatrical chair with a reclining seat allows the child to be seated on a platform that is equipped with a seat edge that is in a vertical position of the seat above the level of the seat surface of the seat in a horizontal position (provided that the platform is wide enough for a comfortable position sitting child). The disadvantage of the chair according to patent EP 1694526 is the difficulty of transferring the seat to the reclined position, combining the rotation and translational movement. The combination of the articulated mechanism with the guides has reduced reliability and strength compared to a conventional articulated mechanism.
Известно театральное кресло, раскрытое в описании к патенту US 6582020 (МПК А47С 1/121, опубл. 2003.06.24), содержащее каркас, спинку и сиденье с посадочной поверхностью, закрепленное на каркасе с помощью шарнирного механизма. Каркас содержит в качестве опоры кресла две боковые стойки, каждая боковая стойка в своей нижней части снабжена пяткой с отверстиями, предназначенной для крепления кресла к полу. Ось поворота шарнирного механизма выполнена в виде стержня, установленного горизонтально в двух парах втулок с возможностью вращения. Одна пара втулок жестко закреплена на каркасе кресла, другая пара втулок жестко закреплена на сиденье кресла. Ось поворота шарнирного механизма расположена вблизи спинки. Задний край сиденья снабжен противовесом, обеспечивающим возможность приведения ненагруженного сиденья в вертикальное «откинутое» состояние перемещением под действием силы тяжести задней части сиденья вниз, а передней части сиденья вверх и далее в направлении спинки. При этом центр тяжести «откинутого» сиденья находится в одной вертикальной плоскости с осью поворота шарнирного механизма. Это театральное кресло является прототипом предлагаемой полезной модели. Кресло-прототип не подходит для усаживания на него ребенка дошкольного или младшего школьного возраста в зрительном зале, если только это кресло не стоит в первом ряду, поскольку в конструкции этого кресла не предусмотрено регулирование высоты посадки человека над уровнем пола. Глубина сиденья (длина посадочной поверхности сиденья, находящегося в нагруженном состоянии, измеренная от переднего края сиденья до спинки кресла, т.е. в переднезаднем направлении) слишком велика для ребенка и не позволяет ему одновременно опереться на спинку кресла и свесить ноги. Частично эти недостатки могут быть преодолены при эксплуатации кресла применением съемных подушек или сидений-вкладышей, однако такой путь расширения функциональности является обременительным для зрителей или обслуживающего персонала зрелищного предприятия. Противовес также является недостатком устройства US 6582020, так как увеличивает вес этого кресла для зрительных залов.Known theater chair disclosed in the description of the patent US 6582020 (IPC A47C 1/121, publ. 2003.06.24) containing the frame, back and seat with a seating surface, mounted on the frame using a hinge mechanism. The frame contains as a support for the chair two side racks, each side rack in its lower part is equipped with a heel with holes designed for fixing the chair to the floor. The axis of rotation of the articulated mechanism is made in the form of a rod mounted horizontally in two pairs of bushings with the possibility of rotation. One pair of bushings is rigidly fixed to the seat frame, another pair of bushings is rigidly fixed to the seat of the chair. The axis of rotation of the hinge mechanism is located near the back. The rear edge of the seat is equipped with a counterweight, which makes it possible to bring the unloaded seat into a vertical "reclined" state by moving under the influence of gravity of the back of the seat down, and the front of the seat up and down in the direction of the back. In this case, the center of gravity of the "reclined" seat is in the same vertical plane with the axis of rotation of the hinge mechanism. This theater chair is the prototype of the proposed utility model. The prototype chair is not suitable for sitting on it a child of preschool or primary school age in the auditorium, unless this chair is in the front row, since the design of this chair does not provide for the adjustment of the height of a person above the floor. The depth of the seat (the length of the seat surface of the seat in the loaded state, measured from the front edge of the seat to the back of the chair, i.e. in the anteroposterior direction) is too large for the child and does not allow him to lean on the back of the chair and hang his legs. Partially, these disadvantages can be overcome when operating the chair using removable pillows or in-seat seats, however, this way of expanding functionality is burdensome for spectators or service personnel of a spectacular enterprise. The counterweight is also a disadvantage of the device US 6582020, as it increases the weight of this chair for auditoriums.
Задача, на решение которой направлена предлагаемая полезная модель, заключается в создании кресла для зрительных залов с повышенной функциональностью, пригодного для усаживания с удобством взрослого зрителя или ребенка. Указанная задача решается тем, что передняя часть сиденья кресла для зрительных залов, содержащего каркас с, по меньшей мере, одной опорой, спинку и сиденье, снабженное посадочной поверхностью, установленное с возможностью приведения сиденья в откинутое состояние перемещением передней части сиденья вверх и далее в направлении спинки при помощи шарнирного механизма с горизонтальной осью поворота, снабжена дополнительной площадкой для сидения, смежной с посадочной поверхностью и расположенной под углом к посадочной поверхности, горизонтальная ось поворота шарнирного механизма смещена относительно центра тяжести сиденья, приведенного в откинутое состояние, в сторону, противоположную спинке, шарнирный механизм с горизонтальной осью поворота дополнительно снабжен, по меньшей мере, одним упругим элементом, связанным с сиденьем. В частном случае выполнения предлагаемого кресла дополнительно решается задача повышения его надежности в эксплуатации тем, что ось поворота шарнирного механизма выполнена в виде стержня, неподвижно закрепленного своими концами в каркасе кресла, в средней части стержня неподвижно закреплен сухарь, и стержень симметрично охвачен двумя пружинами кручения, каждая из которых одним концом взаимодействует с сухарем, а другим концом взаимодействует с сиденьем кресла. В частном случае выполнения предлагаемого кресла дополнительно решается задача повышения его удобства тем, что кресло снабжено, по меньшей мере, одним подлокотником. В частном случае выполнения предлагаемого кресла задача повышения функциональности дополнительно решается тем, что кресло выполнено с возможностью модульной сборки кресел в ряд, содержащий, по меньшей мере, два кресла. В частном случае выполнения предлагаемого кресла задача повышения функциональности и удобства дополнительно решается тем, что дополнительная площадка для сидения выполнена с меньшей длиной в переднезаднем направлении, чем длина посадочной поверхности.The problem to which the proposed utility model is directed is to create a chair for auditoriums with increased functionality, suitable for sitting with the comfort of an adult audience or a child. This problem is solved in that the front part of the seat of the chair for auditoriums, comprising a frame with at least one support, a back and a seat equipped with a seating surface, installed with the possibility of bringing the seat into the reclined state by moving the front of the seat up and further in the direction the back with a hinge mechanism with a horizontal axis of rotation, is equipped with an additional seat platform adjacent to the landing surface and located at an angle to the landing surface, the horizon the total axis of rotation of the hinge mechanism is shifted relative to the center of gravity of the seat, reclined, in the direction opposite to the back, the hinge mechanism with a horizontal axis of rotation is additionally equipped with at least one elastic element associated with the seat. In the particular case of the proposed chair, the task of increasing its reliability in operation is further solved by the fact that the axis of rotation of the hinge mechanism is made in the form of a rod fixedly fixed with its ends in the frame of the chair, a cracker is fixedly fixed in the middle part of the rod, and the rod is symmetrically covered by two torsion springs, each of which interacts with the cracker at one end, and interacts with the seat of the chair at the other end. In the particular case of the proposed chair is additionally solved the problem of increasing its convenience in that the chair is equipped with at least one armrest. In the particular case of the proposed chair, the task of increasing functionality is further solved by the fact that the chair is configured to modularly assemble the chairs in a row containing at least two chairs. In the particular case of the proposed chair, the task of increasing the functionality and convenience is additionally solved by the fact that the additional seating area is made with a shorter length in the anteroposterior direction than the length of the seating surface.
Предлагаемое кресло для зрительных залов отличается от прототипа следующими признаками:The proposed chair for auditoriums differs from the prototype in the following features:
передняя часть сиденья снабжена дополнительной площадкой для сидения, смежной с посадочной поверхностью и расположенной под углом к посадочной поверхности;the front part of the seat is equipped with an additional seat pad adjacent to the seating surface and located at an angle to the seating surface;
горизонтальная ось поворота шарнирного механизма смещена относительно центра тяжести сиденья, приведенного в откинутое состояние, в сторону, противоположную спинке;the horizontal axis of rotation of the articulated mechanism is shifted relative to the center of gravity of the seat, which is reclined, in the direction opposite to the back;
шарнирный механизм с горизонтальной осью поворота дополнительно снабжен, по меньшей мере, одним упругим элементом, связанным с сиденьем.the hinge mechanism with a horizontal axis of rotation is further provided with at least one elastic element associated with the seat.
В частном случае выполнения предлагаемое кресло дополнительно отличается тем, что ось поворота шарнирного механизма выполнена в виде стержня, неподвижно закрепленного своими концами в каркасе кресла, в средней части стержня неподвижно закреплен сухарь, и стержень симметрично охвачен двумя пружинами кручения, каждая из которых одним концом взаимодействует с сухарем, а другим концом взаимодействует с сиденьем кресла.In the particular case of execution, the proposed chair is additionally characterized in that the pivot axis of the articulated mechanism is made in the form of a rod fixedly fixed with its ends in the chair frame, a cracker is fixedly fixed in the middle part of the rod, and the rod is symmetrically surrounded by two torsion springs, each of which interacts at one end with a cracker, and the other end interacts with the seat of the chair.
В частном случае выполнения предлагаемое кресло дополнительно отличается тем, что оно снабжено, по меньшей мере, одним подлокотником.In the particular case of execution, the proposed chair is further characterized in that it is provided with at least one armrest.
В частном случае выполнения предлагаемое кресло дополнительно отличается тем, что оно выполнено с возможностью модульной сборки кресел в ряд, содержащий, по меньшей мере, два кресла.In the particular case of execution, the proposed chair is additionally characterized in that it is made with the possibility of modular assembly of the chairs in a row containing at least two chairs.
В частном случае выполнения предлагаемое кресло дополнительно отличается тем, что дополнительная площадка для сидения выполнена с меньшей длиной в переднезаднем направлении, чем длина посадочной поверхности.In the particular case of execution, the proposed chair is additionally characterized in that the additional seat platform is made with a shorter length in the anteroposterior direction than the length of the seating surface.
Снабжение передней части сиденья дополнительной площадкой для сидения, смежной с посадочной поверхностью и расположенной под углом к посадочной поверхности, позволяет после приведения сиденья в откинутое состояние расположить дополнительную площадку для сидения горизонтально на уровне высоты, превышающем уровень высоты посадочной поверхности сиденья, находящегося в нагруженном состоянии. Этим повышается функциональность кресла по сравнению с прототипом, так как обеспечивается удобная посадка взрослого зрителя на горизонтально расположенную посадочную поверхность сиденья, приведенного в нагруженное состояние, а при условии приведения сиденья в откинутое состояние обеспечивается возможность посадки ребенка на горизонтально расположенную на повышенном уровне высоты дополнительную площадку для сидения. Смещение горизонтальной оси поворота шарнирного механизма относительно центра тяжести сиденья, приведенного в откинутое состояние, в сторону, противоположную спинке, придает устойчивость сиденью в откинутом состоянии и этим повышает удобство и надежность кресла при использовании его для усаживания ребенка. Здесь учитывается то обстоятельство, что центр тяжести сиденья, приведенного в откинутое состояние, располагается выше горизонтальной оси поворота шарнирного механизма, так как сиденье не снабжено на своем заднем крае противовесом, а снабжение передней части сиденья дополнительной площадкой для сидения увеличивает массу передней части сиденья. Отсутствие противовеса обусловлено применением упругого элемента, которым снабжен шарнирный механизм. Упругий элемент связан с сиденьем так, чтобы действовать в направлении перевода сиденья в откинутое состояние. Таким образом, под действием силы тяжести и силы упругого элемента сиденье, приведенное в откинутое состояние, прижимается к спинке кресла.Providing the front part of the seat with an additional seat pad adjacent to the seating surface and located at an angle to the seating surface, after putting the seat in the reclined position, it is possible to place the seat pad horizontally at a height exceeding the height level of the seating surface of the seat in the loaded state. This increases the functionality of the chair compared to the prototype, as it provides a comfortable fit for an adult viewer on a horizontally located seating surface of the seat, brought into a loaded state, and provided the seat is in the reclined state, it is possible to sit the child on an additional platform horizontally located at an elevated height level seats. The offset of the horizontal axis of rotation of the hinge mechanism relative to the center of gravity of the seat, reclined, in the direction opposite to the back, gives stability to the seat in the reclined position and this increases the convenience and reliability of the seat when using it to seat the child. This takes into account the fact that the center of gravity of the reclined seat is located above the horizontal axis of rotation of the hinge mechanism, since the seat is not equipped with a counterweight at its rear edge, and supplying the front of the seat with an additional seat pad increases the mass of the front of the seat. The lack of counterweight is due to the use of an elastic element, which is equipped with a hinge mechanism. The elastic element is connected with the seat so as to act in the direction of the seat in the reclined state. Thus, under the influence of gravity and the force of the elastic element, the seat, reclined, is pressed against the back of the chair.
Выполнение в частном случае оси поворота шарнирного механизма в виде стержня, неподвижно закрепленного своими концами в каркасе кресла, в совокупности с неподвижным закреплением в средней части стержня сухаря, и с симметричным охватом стержня двумя пружинами кручения, каждая из которых одним концом взаимодействует с сухарем, а другим концом взаимодействует с сиденьем кресла, позволяет симметрично распределять нагрузки на левую и правую стороны шарнирного механизма и этим повышает надежность и долговечность кресла.The implementation in the particular case of the rotation axis of the hinge mechanism in the form of a rod fixedly fixed with its ends in the chair frame, together with a fixed fixation in the middle part of the cracker rod, and with a symmetrical coverage of the rod by two torsion springs, each of which interacts with the cracker at one end, and the other end interacts with the seat of the chair, allows you to symmetrically distribute the loads on the left and right sides of the hinge mechanism and this increases the reliability and durability of the chair.
Снабжение в частном случае предлагаемого кресла, по меньшей мере, одним подлокотником дополнительно повышает удобство пользования креслом, так как облегчает вставание взрослого зрителя с кресла, предоставляет больше возможностей для смены позы сидящего взрослого зрителя, а также отграничивает личное пространство зрителя от пространства соседнего зрителя.The provision in the particular case of the proposed chair with at least one armrest further enhances the convenience of using the chair, as it facilitates the rising of the adult viewer from the chair, provides more options for changing the pose of the sitting adult viewer, and also delimits the personal space of the viewer from the space of the neighboring viewer.
Выполнение в частном случае предлагаемого кресла с возможностью модульной сборки кресел в ряд, содержащий, по меньшей мере, два кресла, дополнительно повышает функциональность кресла, поскольку предварительная сборка кресел в ряды упрощает и ускоряет оборудование зрительного зала большим количеством кресел. Опора каркаса кресла, устанавливаемого внутрь ряда кресел, может быть выполнена редуцированной (усеченной) и снабженной средством крепления к раме, общей для ряда кресел.The implementation in the particular case of the proposed seat with the possibility of modular assembly of seats in a row containing at least two seats, further increases the functionality of the seat, since the preliminary assembly of the seats in rows simplifies and speeds up the equipment of the auditorium with a large number of seats. The support of the frame of the chair, installed inside a row of chairs, can be made reduced (truncated) and provided with means of attachment to the frame common to a number of chairs.
Выполнение в частном случае дополнительной площадки для сидения с меньшей длиной в переднезаднем направлении, чем длина посадочной поверхности, дополнительно повышает функциональность кресла и удобство использования кресла ребенком, поскольку дополнительная площадка для сидения выполняется с учетом меньшей длины бедра ребенка по сравнению со средней длиной бедра взрослого человека, что позволяет ребенку усаживаться на дополнительную площадку для сидения вплотную к спинке кресла. Кроме того, меньшая длина дополнительной площадки для сидения облегчает проход зрителей между рядами, если сиденье приведено в откинутое состояние.The implementation in the particular case of an additional seat platform with a shorter length in the anteroposterior direction than the length of the seating surface further enhances the functionality of the chair and the ease of use of the chair by the child, since the additional seating area is performed taking into account the shorter length of the child’s thigh compared to the average length of the adult’s thigh , which allows the child to sit on an additional platform for sitting close to the back of the chair. In addition, the shorter length of the additional seating area makes it easier for spectators to pass between the rows if the seat is reclined.
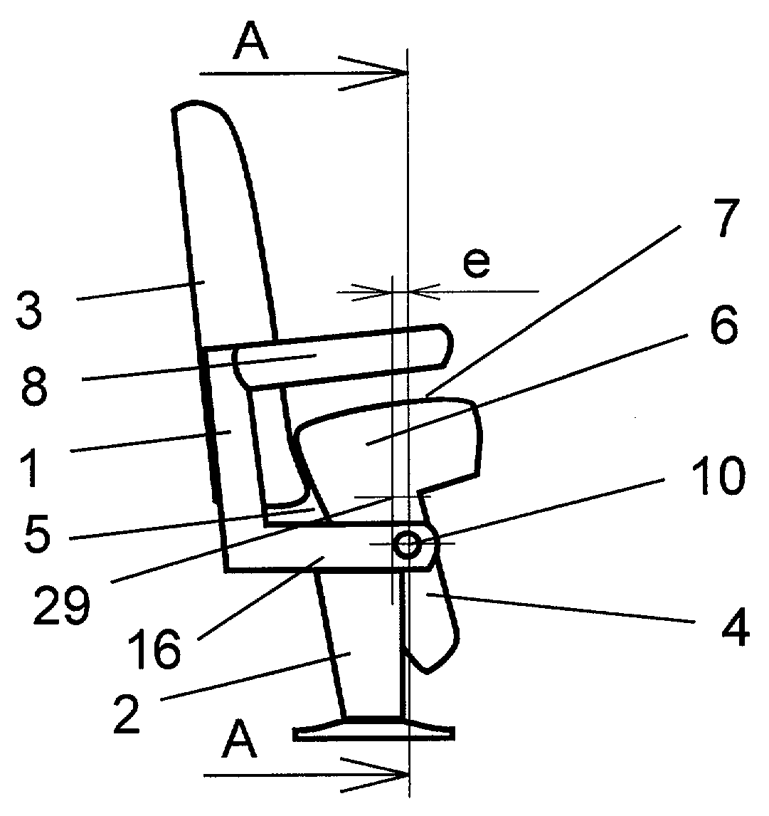
Полезная модель поясняется фигурами 1-3. На фиг.1 схематично изображено кресло, сиденье которого находится в нагруженном состоянии. На фиг.2 схематично изображено кресло, сиденье которого находится в ненагруженном, «откинутом» состоянии. На фиг.3 схематично изображен вид сечения сиденья плоскостью А-А на фиг.2, проходящей через ось поворота шарнирного механизма.The utility model is illustrated by figures 1-3. Figure 1 schematically shows a chair, the seat of which is in a loaded state. Figure 2 schematically shows a chair, the seat of which is in an unloaded, "reclined" state. Figure 3 schematically shows a sectional view of the seat by plane AA in figure 2, passing through the axis of rotation of the hinge mechanism.
Пример предлагаемого кресла содержит каркас 1 с опорой 2, спинку 3, сиденье 4 с посадочной поверхностью 5. Передняя часть 6 сиденья 4 снабжена дополнительной площадкой для сидения 7. Кресло снабжено подлокотниками 8. Сиденье установлено на каркасе 1 с помощью шарнирного механизма 9, см. фиг.3 (на фиг.1 и фиг.2 закрыт заглушкой 10). Ось поворота шарнирного механизма 9 выполнена в виде стержня 11. Стержень 11 расположен горизонтально, неподвижно закреплен своими концами 12, 13 в неподвижных втулках 14, 15 консолей 16, 17 каркаса 1 и является осью поворота шарнирного механизма 9 (пропорции на фиг.3 искажены для удобства отображения мелких деталей). В средней части стержня 11 неподвижно закреплен винтом 18 сухарь 19, и стержень 11 симметрично охвачен двумя упругими элементами - пружинами кручения 20, 21, каждая из которых одним концом (22 или 23 соответственно) взаимодействует с сухарем 19, а другим концом (24 или 25 соответственно) взаимодействует с сиденьем 4. Пружины 20, 21 установлены на стержне 11 таким образом, чтобы их концы 24 и 25 соответственно действовали на сиденье 4 в направлении перевода сиденья 4 из нагруженного состояния в откинутое состояние. Шарнирный механизм 9 содержит кроме стержня 11 втулки 26, 27, которые неподвижно закреплены в раме 28 сиденья 4, см. фиг.3. Литерой «е» на фиг.2 обозначено расстояние, на которое горизонтальная ось поворота (т.е. ось стержня 11) шарнирного механизма 9 смещена по горизонтали относительно центра тяжести 29 сиденья 4, приведенного в откинутое состояние, в сторону, противоположную спинке 3. При изготовлении кресла размеры дополнительной площадки для сидения и материал покрытия выбирают в соответствии с нормами и стандартами, действующими в отношении детской мебели.An example of a proposed chair includes a frame 1 with a support 2, a backrest 3, a seat 4 with a seating surface 5. The front part 6 of the seat 4 is provided with an additional seat platform 7. The chair is equipped with armrests 8. The seat is mounted on the frame 1 using a hinge mechanism 9, see figure 3 (figure 1 and figure 2 is closed by a plug 10). The axis of rotation of the hinge mechanism 9 is made in the form of a rod 11. The rod 11 is horizontal, fixedly fixed with its ends 12, 13 in the stationary bushings 14, 15 of the consoles 16, 17 of the frame 1 and is the axis of rotation of the hinge mechanism 9 (the proportions in figure 3 are distorted for convenience of displaying small details). In the middle part of the rod 11, a cracker 19 is fixedly fixed with a screw 18, and the rod 11 is symmetrically surrounded by two elastic elements - torsion springs 20, 21, each of which interacts with the cracker 19 at one end (22 or 23, respectively) and at the other end (24 or 25 respectively) interacts with the seat 4. The springs 20, 21 are mounted on the rod 11 so that their ends 24 and 25 respectively act on the seat 4 in the direction of transferring the seat 4 from the loaded state to the tilted state. The hinge mechanism 9 contains, in addition to the rod 11 of the sleeve 26, 27, which are fixedly mounted in the frame 28 of the seat 4, see Fig.3. The letter "e" in figure 2 indicates the distance by which the horizontal axis of rotation (ie, the axis of the rod 11) of the hinge mechanism 9 is displaced horizontally relative to the center of gravity 29 of the seat 4, which is in the reclined state, in the direction opposite to the back 3. In the manufacture of the chair, the dimensions of the additional seating area and the coating material are selected in accordance with the norms and standards applicable to children's furniture.
Предлагаемое устройство может быть изготовлено из известных материалов и комплектующих деталей, используемых в производстве мебели, и может эксплуатироваться в обычных зрительных залах театров и других зрелищных предприятий.The proposed device can be made of known materials and components used in the manufacture of furniture, and can be used in ordinary auditoriums of theaters and other entertainment enterprises.
Claims (5)
Priority Applications (1)
| Application Number | Priority Date | Filing Date | Title |
|---|---|---|---|
| RU2010113366/12U RU98095U1 (en) | 2010-04-05 | 2010-04-05 | CHAIR FOR AUDIENCE HALLS |
Applications Claiming Priority (1)
| Application Number | Priority Date | Filing Date | Title |
|---|---|---|---|
| RU2010113366/12U RU98095U1 (en) | 2010-04-05 | 2010-04-05 | CHAIR FOR AUDIENCE HALLS |
Publications (1)
| Publication Number | Publication Date |
|---|---|
| RU98095U1 true RU98095U1 (en) | 2010-10-10 |
Family
ID=44024967
Family Applications (1)
| Application Number | Title | Priority Date | Filing Date |
|---|---|---|---|
| RU2010113366/12U RU98095U1 (en) | 2010-04-05 | 2010-04-05 | CHAIR FOR AUDIENCE HALLS |
Country Status (1)
| Country | Link |
|---|---|
| RU (1) | RU98095U1 (en) |
Cited By (3)
| Publication number | Priority date | Publication date | Assignee | Title |
|---|---|---|---|---|
| WO2019094865A3 (en) * | 2017-11-13 | 2019-06-06 | Zunkeler Benjamin | Multi-position table |
| USD863851S1 (en) | 2017-11-13 | 2019-10-22 | Benjamin Zünkeler | Table |
| RU236271U1 (en) * | 2024-06-26 | 2025-08-04 | Нажмидин Зайндынович Иминов | A piece of furniture for seating in a knockout game |
-
2010
- 2010-04-05 RU RU2010113366/12U patent/RU98095U1/en not_active IP Right Cessation
Cited By (4)
| Publication number | Priority date | Publication date | Assignee | Title |
|---|---|---|---|---|
| WO2019094865A3 (en) * | 2017-11-13 | 2019-06-06 | Zunkeler Benjamin | Multi-position table |
| US10398221B2 (en) | 2017-11-13 | 2019-09-03 | Benjamin Zünkeler | Multi-position table |
| USD863851S1 (en) | 2017-11-13 | 2019-10-22 | Benjamin Zünkeler | Table |
| RU236271U1 (en) * | 2024-06-26 | 2025-08-04 | Нажмидин Зайндынович Иминов | A piece of furniture for seating in a knockout game |
Similar Documents
| Publication | Publication Date | Title |
|---|---|---|
| US8662586B2 (en) | Dynamically balanced seat assembly having independently and arcuately movable backrest and method | |
| US10383445B2 (en) | Dynamically balanced seat assembly having independently and arcuately movable backrest and method | |
| JP3255592B2 (en) | Furniture components for stools and connection reinforcements with interlocking backrest and seat adjustment | |
| US20070126271A1 (en) | Adjustable cross-legged support seat | |
| US10258159B2 (en) | Tilt mechanism for a seating furniture and seating furniture including the same | |
| CN103429117A (en) | link chair device | |
| CN106455819B (en) | Seat reclining mechanism, adjustable seat assembly and method | |
| CN105142463B (en) | Chair capable of interlocking between back support unit and foot support unit | |
| US11497315B2 (en) | Chair for fitness exercise | |
| RU98095U1 (en) | CHAIR FOR AUDIENCE HALLS | |
| US11583085B2 (en) | Motion chair | |
| US11930935B1 (en) | Convertible swinging seat | |
| JP2012165924A (en) | Seat device for amusement | |
| KR101187011B1 (en) | Multifunctional fishing chair | |
| US20240268556A1 (en) | Gliding lounger | |
| CN215874039U (en) | Chair with detachable seat | |
| CN220344060U (en) | Height-adjustable kindergarten student chair | |
| KR102799205B1 (en) | chair with structure in which the angle of the backrest and the position of the seat are interlocked | |
| CN103082708B (en) | A kind of Chair support and comprise the platoon chair of this Chair support | |
| CN206745003U (en) | A kind of steel spring plate chases after back of the body row's chair | |
| WO2013187819A1 (en) | Lift chair for assisting user when moving between seated and standing positions | |
| KR102290271B1 (en) | Multi-function Chair | |
| JP2003000380A (en) | School chair | |
| KR101441793B1 (en) | Theater chair for both adult and child | |
| DK9400146U3 (en) | Back lash |
Legal Events
| Date | Code | Title | Description |
|---|---|---|---|
| MM1K | Utility model has become invalid (non-payment of fees) |
Effective date: 20140406 |
