RU80301U1 - Совковая лопата - Google Patents
Совковая лопата Download PDFInfo
- Publication number
- RU80301U1 RU80301U1 RU2008140484/22U RU2008140484U RU80301U1 RU 80301 U1 RU80301 U1 RU 80301U1 RU 2008140484/22 U RU2008140484/22 U RU 2008140484/22U RU 2008140484 U RU2008140484 U RU 2008140484U RU 80301 U1 RU80301 U1 RU 80301U1
- Authority
- RU
- Russia
- Prior art keywords
- handle
- shovel
- blade
- model
- utility
- Prior art date
Links
- 239000000463 material Substances 0.000 abstract description 5
- 238000004519 manufacturing process Methods 0.000 abstract description 4
- 239000002689 soil Substances 0.000 abstract description 3
- 238000003306 harvesting Methods 0.000 abstract description 2
- 230000037081 physical activity Effects 0.000 description 3
- 238000005452 bending Methods 0.000 description 1
- 239000012467 final product Substances 0.000 description 1
Landscapes
- Cleaning Of Streets, Tracks, Or Beaches (AREA)
Abstract
Полезная модель относится к ручным инструментам и может быть использована для перемещения (уборки) снега, для перегрузки сыпучих материалов, зерна, грунта, мусора и т.п. Сущность полезной модели заключается в том, что, с целью снижения физических нагрузок при перемещении материалов, облегчения веса совкой лопаты, а также снижение трудозатрат на производство совковой лопаты, лопата содержит лезвие с деревянным черенком, рукоятку на конце черенка и гибкую тягу, состоящую из дополнительной ручки и прикрепленного к ней тягового тросика, соединяющего две симметричные точки верхней кромки тылового бортика лезвия с одной точкой верхней части черенка.
Description
Полезная модель относится к ручным инструментам и может быть использована для перемещения (уборки) снега, для перегрузки сыпучих материалов, зерна, грунта, мусора и т.п.
Известны устройства (совковые лопаты), целью которых является снижение физической нагрузки и утомляемости работающего.
Из описания к патенту RU 64007 известна ручная лопата, содержащая стойку, соединенную с рукояткой и рабочим органом, рукоятка выполнена в виде горизонтального стержня, расположенного над рабочим органом симметрично, так, что середина стержня расположена над геометрическим центром рабочего органа, причем рукоятка расположена под углом к стойке на высоте опущенных рук прямостоящего человека. При этом стойка лопаты шарнирно соединена с рукояткой и рабочим органом с возможностью фиксации в рабочем и сложенном положении, кроме того стойка выполнена регулируемой по высоте и в ней установлен пружинный фиксатор, а механизм фиксации стойки с рукояткой выполнен в виде хомута и разъемного болтового соединения.
Из описания к патенту RU 22732 известна лопата, содержащая лезвие и деревянный черенок со специальным приспособлением в виде жесткой, регулируемой по длине тягой с рукояткой, которая через шарнир крепится к подвижной втулке, вращающейся в специальном пазу в неподвижной втулке. Неподвижная втулка крепится непосредственно к черенку лопаты в зоне его соединения с лезвием. Кроме того, лопата снабжена дополнительной рукояткой, крепящейся к торцу черенка.
Указанное решение выбрано в качестве ближайшего аналога предложенной полезной модели.
Основной недостаток известного устройства состоит в том, что его конструкция отличается большим количеством деталей, сложной конфигурацией рабочего органа, что неминуемо приведет к усложнению технологического процесса производства и повышению его трудоемкости, а следовательно, негативно скажется на цене конечного продукта.
Техническим результатом, который достигается от использования заявленной полезной модели, является облегчение веса совкой лопаты, снижение физической нагрузки и утомляемости работающего, а также снижение трудозатрат на производство совковой лопаты.
Сущность предложенной полезной модели заключается в том, что совковая лопата так же, как в известном устройстве, содержит тягу.
В отличие от известного устройства в предложенном устройстве использована гибкая тяга из проволоки или шнура, к которой крепится дополнительная ручка.
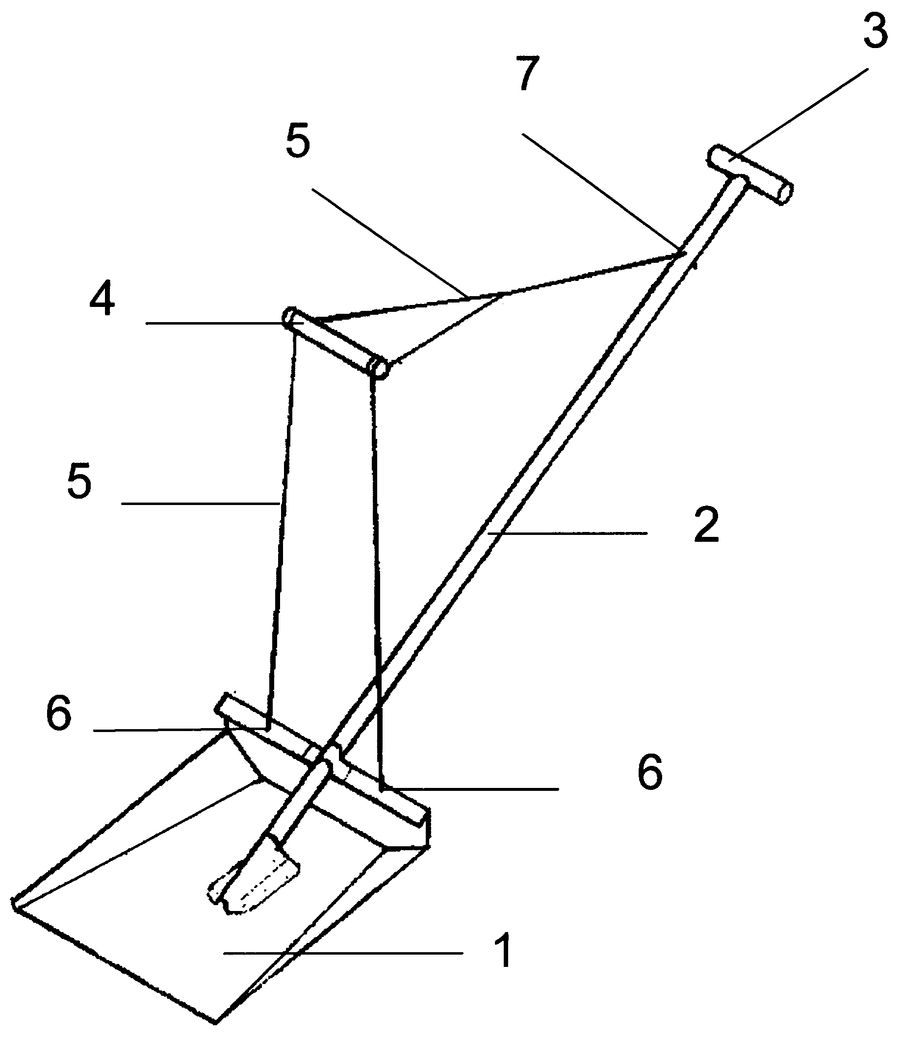
На фиг.1 изображена лопата, общий вид.
Лопата содержит лезвие (1) с деревянным черенком (2), рукоятку (3) на конце черенка. Гибкая тяга состоит из дополнительной ручки (4) и прикрепленного к ней тягового тросика (5), соединяющего две симметричные точки (6) верхней кромки тылового бортика лезвия с одной точкой верхней части черенка (7).
Работа с лопатой осуществляется следующим образом.
Держась одной рукой за дополнительную ручку (4), а другой рукой за черенок (2), либо за рукоятку на конце черенка (3), работающий, не наклоняясь, совершает все действия, как с традиционной лопатой: нагребает набранную массу снега, загружает сыпучие материалы, зерно, грунт, мусор и т.п., и сбрасывает набранный груз, потянув за дополнительную ручку (4) и простым поворотом черенка (2), либо рукоятки на конце черенка (3).
Можно использовать тросики как лямки и надеть лопату на плечи - освободить руки в дальней дороге.
Заявленная полезная модель благодаря использованию гибкой тяги легко складывается в транспортировочное положение (Фиг.2). Тяговый тросик (5) протягивается через отверстие (7) в верхней части черенка и крепится через рукоятку (3) к шнуру скрепкой.
Использование заявленной полезной модели позволит снизить физические нагрузки при перемещении различных материалов, облегчить вес совкой лопаты по сравнению с известными решениями, а также приведет к снижению трудозатрат на производство совковой лопаты.
Claims (1)
- Совковая лопата, содержащая лезвие, черенок, рукоятку, закрепленную на конце (торце) черенка, тягу с рукояткой, отличающаяся тем, что использована гибкая тяга, состоящая из дополнительной ручки и прикрепленного к ней тягового тросика, соединяющего две симметричные точки верхней кромки тылового бортика лезвия с одной точкой верхней части черенка.
Priority Applications (1)
| Application Number | Priority Date | Filing Date | Title |
|---|---|---|---|
| RU2008140484/22U RU80301U1 (ru) | 2008-10-13 | 2008-10-13 | Совковая лопата |
Applications Claiming Priority (1)
| Application Number | Priority Date | Filing Date | Title |
|---|---|---|---|
| RU2008140484/22U RU80301U1 (ru) | 2008-10-13 | 2008-10-13 | Совковая лопата |
Publications (1)
| Publication Number | Publication Date |
|---|---|
| RU80301U1 true RU80301U1 (ru) | 2009-02-10 |
Family
ID=40546944
Family Applications (1)
| Application Number | Title | Priority Date | Filing Date |
|---|---|---|---|
| RU2008140484/22U RU80301U1 (ru) | 2008-10-13 | 2008-10-13 | Совковая лопата |
Country Status (1)
| Country | Link |
|---|---|
| RU (1) | RU80301U1 (ru) |
Cited By (3)
| Publication number | Priority date | Publication date | Assignee | Title |
|---|---|---|---|---|
| RU2528471C2 (ru) * | 2012-11-01 | 2014-09-20 | Александр Михайлович Джетымов | Суперлопата с металлическим черенком из трубы квадратного поперечного сечения и полотно лопаты |
| RU2538380C2 (ru) * | 2013-03-20 | 2015-01-10 | Александр Михайлович Джетымов | Лопата |
| RU229451U1 (ru) * | 2024-07-22 | 2024-10-07 | Федеральное государственное бюджетное образовательное учреждение высшего образования "Волгоградский государственный технический университет" (ВолгГТУ) | Совковая лопата |
-
2008
- 2008-10-13 RU RU2008140484/22U patent/RU80301U1/ru not_active IP Right Cessation
Cited By (7)
| Publication number | Priority date | Publication date | Assignee | Title |
|---|---|---|---|---|
| RU2528471C2 (ru) * | 2012-11-01 | 2014-09-20 | Александр Михайлович Джетымов | Суперлопата с металлическим черенком из трубы квадратного поперечного сечения и полотно лопаты |
| RU2538380C2 (ru) * | 2013-03-20 | 2015-01-10 | Александр Михайлович Джетымов | Лопата |
| RU229451U1 (ru) * | 2024-07-22 | 2024-10-07 | Федеральное государственное бюджетное образовательное учреждение высшего образования "Волгоградский государственный технический университет" (ВолгГТУ) | Совковая лопата |
| RU229487U1 (ru) * | 2024-07-22 | 2024-10-08 | Федеральное государственное бюджетное образовательное учреждение высшего образования "Волгоградский государственный технический университет" (ВолгГТУ) | Совковая лопата |
| RU230025U1 (ru) * | 2024-07-22 | 2024-11-11 | Федеральное государственное бюджетное образовательное учреждение высшего образования "Волгоградский государственный технический университет" (ВолгГТУ) | Совковая лопата |
| RU231698U1 (ru) * | 2024-12-23 | 2025-02-06 | Федеральное государственное бюджетное образовательное учреждение высшего образования "Волгоградский государственный технический университет" (ВолгГТУ) | Совковая лопата |
| RU231724U1 (ru) * | 2024-12-23 | 2025-02-06 | Федеральное государственное бюджетное образовательное учреждение высшего образования "Волгоградский государственный технический университет" (ВолгГТУ) | Совковая лопата |
Similar Documents
| Publication | Publication Date | Title |
|---|---|---|
| RU80301U1 (ru) | Совковая лопата | |
| US8511209B1 (en) | Ergonomic one- or two-handed tool handle or support | |
| CN203575113U (zh) | 便携式山楂采摘器 | |
| RU104414U1 (ru) | Ручное орудие для вскапывания и рыхления почвы | |
| CN201500946U (zh) | 拾物器 | |
| CN202941163U (zh) | 一种实用型摘果器 | |
| RU77749U1 (ru) | Устройство для уборки за домашними животными и комплект, содержащий такое устройство | |
| CN208640619U (zh) | 一种多功能组合拖把 | |
| CN2294557Y (zh) | 采摘器 | |
| CN203279520U (zh) | 手动摘果机 | |
| CN205408397U (zh) | 一种园林绿化用多功能铲 | |
| CN208370294U (zh) | 双臂背包式多功能水果采摘器 | |
| US8491024B2 (en) | Dual grip angled handled shovel | |
| CN206804327U (zh) | 高空采样剪 | |
| RU2733138C1 (ru) | Упор подвижный навесной | |
| CN201695372U (zh) | 垃圾夹 | |
| CN202135602U (zh) | 多功能折叠海杆支架 | |
| RU113109U1 (ru) | Ручной культиватор-картофелекопатель | |
| US7156350B1 (en) | Trash bag carrier | |
| CN201835263U (zh) | 垃圾拾取器 | |
| RU146221U1 (ru) | Ручное орудие для вскапывания и рыхления почвы | |
| CN202232029U (zh) | 一种新型便携式锄草铲 | |
| CN202619243U (zh) | 可调衣叉 | |
| CN208675808U (zh) | 一种苹果采摘装置 | |
| RU141820U1 (ru) | Рабочий орган культиватора |
Legal Events
| Date | Code | Title | Description |
|---|---|---|---|
| MM1K | Utility model has become invalid (non-payment of fees) |
Effective date: 20091014 |
