RU72012U1 - Удлиненная насадка для гидромониторного шарошечного долота - Google Patents
Удлиненная насадка для гидромониторного шарошечного долота Download PDFInfo
- Publication number
- RU72012U1 RU72012U1 RU2006121742/22U RU2006121742U RU72012U1 RU 72012 U1 RU72012 U1 RU 72012U1 RU 2006121742/22 U RU2006121742/22 U RU 2006121742/22U RU 2006121742 U RU2006121742 U RU 2006121742U RU 72012 U1 RU72012 U1 RU 72012U1
- Authority
- RU
- Russia
- Prior art keywords
- elongated
- outlet
- nozzle
- diameter
- socket
- Prior art date
Links
Landscapes
- Earth Drilling (AREA)
Abstract
Удлиненная насадка для гидромониторного шарошечного долота, герметично устанавливаемая и закрепляемая стопорным элементом в гнезде цилиндрической формы, выполненное в корпусе долота, содержащая корпус цилиндрической формы с удлиненной выступающей частью за пределы гнезда, отличающаяся тем, что гидравлический канал ее удлиненной выступающей части выполнен с диаметром, равным выходному отверстию конусоидального гидравлического канала корпуса, размещенного в пределах гнезда, диаметр входного отверстия которого выполнен большим, чем выходное, причем выступающая часть корпуса выполнена в виде цилиндра по всей его длине, при этом с целью обеспечения повышенной разрушающей породу способности промывочной жидкости динамическим действием струи, длину сформируемой в насадке затопленной струи от выходного отверстия удлиненной части корпуса до соприкосновения с породой забоя скважины выбрана из равенстваL=5,5 dгде L- длина сформируемой затопленной струи, мм;d- диаметр выходного отверстия, мм.
Description
Изобретение относится к области бурения нефтяных и газовых скважин, в частности, к буровому породоразрушающему инструменту, используемому при бурении преимущественно мягких и среднетвердых пород.
Известна удлиненная насадка бурового долота (см. полное описание к патенту РФ №2012763 МПК Е 21 В 10/18, опубл. в БИ №9, 1994 г.), содержащая коническо-цилиндрический корпус с внутренним гидравлическим каналом, включающим входной конфузорный участок и цилиндрический успокоитель, при этом входной конфузорный участок образован вращением вокруг оси насадки кривой, состоящей из входной дуги, центр радиуса которой расположен на линии верхней кромки насадки и дополнительной дуги, сопрягающей входную дугу с цилиндрическим успокоителем. Протяженность выходного отверстия равна 0,1-0,5 номинального диаметра насадки. Диаметр успокоителя меньше максимального диаметра входного конфузорного участка в 1,25-1,3 раза. Радиус входной дуги меньше радиуса дополнительной дуги в 2,2-2,6 раза. Радиус дуги принимается равным 1,8-2,2 диаметра успокоителя.
Недостатком известной удлиненной насадки является нетехнологичность изготовления, связанная с трудностями соблюдения строгой геометрии гидравлического канала, отклонение от заданного расчета может привести к отрицательному эффекту.
Известен также промывочный узел бурового долота (см. AC SU №1643696, 5 Е 21 В 10/18, опубл. в БИ №15, 1991 г.), содержащий насадку с конусоидальным входным гидравлическим каналом, выполненным большого диаметра, чем выходное отверстие. При этом с целью снижения прочности
разрушаемой породы путем захлопывания кавитационных пузырей, и создания ультрозвуковых колебаний, для образования которых над насадкой установлен диск с винтовыми лопастями.
Недостатком известного промывочного узла бурового долота является то, что образование кавитационных пузырьков могут не образоваться в момент удара промывочной жидкости, исходящей из выходного отверстия насадки. Вероятность образования пузырьков несколько раз больше при прохождении отскочившей после удара промывочной жидкости о забой между лапами долота, которые уносятся тотчас вверх вновь поступающей снизу жидкостью, в результате ожидаемый повышенный положительный результат может остаться не достигнутым.
Известна удлиненная насадка шарошечного долота (см. описание к патенту RU №2001230 МПК Е 21 В 10/18, опубл. в БИ №37-38, 1993 г.) содержащая корпус с гидравлическим каналом в виде сходящего усеченного конуса и внутренней цилиндрической частью, выполненной с поверхностью с равномерной шероховатостью, высота выступов которых находится в пределах 0,0155d<h<d/2, где
h - высота выступов шероховатости,
d - диаметр выходного отверстия насадки, мм
Выполнение цилиндрической части удлиненных насадок в виде поверхности с равномерной шероховатостью приведет к потере скоростного напора (v2/2g) вблизи стенок, т.е. скорость потока будет падать из-за внедрения выступов шероховатости в пределы турбулентного ядра, вследствие чего разрушающий эффект породы забоя истекающей из выходного отверстия промывочной жидкостью будет низким.
Известно также шарошечное долото (см описание AC SU №1714072 МПК 5 Е 21 В 10/18, опубл. в БИ №7, 1992 г.), содержащее удлиненные насадки, установленные под некоторым углом к центральной оси долота, в частности, оси боковых удлиненных насадок направлены на пересечение с
окружностью, описывающей калибрующие поверхности шарошек радиусом, равным радиусу долота. Обычно таких удлиненных насадок устанавливают герметично в гнезде корпуса долота и закрепляют стопорным элементом.
Известная насадка по указанному техническому решению более близка к предлагаемой и может быть принята в качестве прототипа.
Недостатком известной насадки является то, что в ней не определена оптимальная ее длина, следовательно, и длина исходящей из нее струи промывочной жидкости до преграды, т е. до забоя для создания большого гидравлического удара, обладающего максимальным разрушающим породу динамическим действием. Отсюда ее и недостаточная эффективность в повышении показателей работы долота в целом (проходка, механическая скорость бурения). Кроме того, в ней также не предусмотрено предварительное создание струи, перед выходным отверстием, т.е. формирование ее в конусоидальном канале, что также отрицательно сказывается на скорости промывочной жидкости, исходящей из выходного отверстия насадки.
Технической задачей настоящего изобретения является устранение перечисленных выше недостатков, присущих прототипу.
Поставленная задача решается описываемой удлиненной насадкой для гидромониторного шарошечного долота, герметично устанавливаемая и закрепляемая стопорным элементом в гнезде цилиндрической формы, выполненное в корпусе долота, содержащая корпус цилиндрической формы с удлиненной выступающей частью за пределы гнезда.
Новым является то, что гидравлический канал ее удлиненной выступающей части выполнен с диаметром, равным выходному отверстию конусоидального гидравлического канала корпуса, размещенного в пределах гнезда, диаметр входного отверстия которого выполнен большим, чем выходное, причем выступающая часть корпуса выполнена в виде цилиндра по всей его длине, при этом с целью обеспечения повышенной разрушающей
породу способности промывочной жидкости динамическим действием струи, длину сформируемой в насадке затопленной струи от выходного отверстия удлиненной части корпуса до соприкосновения с породой забоя скважины выбрана из равенства:
Lстр=5,5 dн где,
Lстр - длина сформируемой затопленной струи, мм
dн - диаметр выходного отверстия, мм
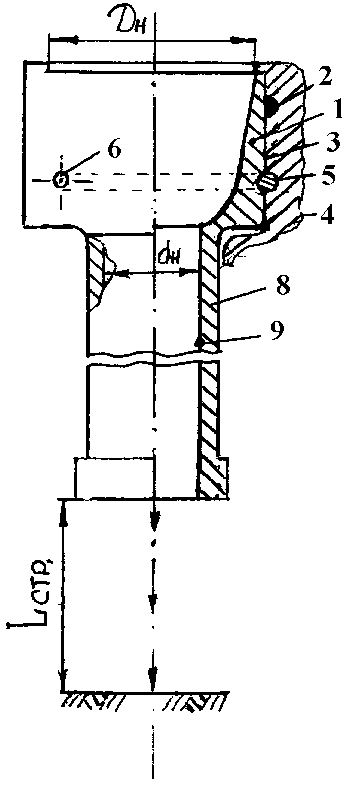
Представленные рисунки поясняют суть заявляемой насадки, где на фиг.1 изображена удлиненная насадка, в частичном разрезе, на фиг.2 то же, что на фиг.1, удлиненная насадка, вмонтированная в гнезде цилиндрической формы гидромониторного долота, где видны герметизирующий элемент и сечение стопорного штифта для закрепления насадки в корпусе долота, забиваемого через отверстие последнего, в частичном разрезе.
Предлагаемая к защите патентом удлиненная насадка (см. рис.1) содержит ступенчато выполненный корпус цилиндрической формы, большей ступенью 1, устанавливаемой герметично с помощью уплотнительного кольца 2 в гнезде 3 корпуса 4 долота (долото на рисунке не изображено) и фиксируемый в нем штифтом 5, забиваемый через отверстие 6 гнезда 3, выполненное на уровне кольцевой проточки 7. Большая ступень 1 корпуса выполнена с гидравлическим каналом конусоидальной формы со входным отверстием с диаметром Дн для формирования ядра струи, исходящей из выходного отверстия с диаметром dн, при этом Дн>dн. Меньшая ступень 8 корпуса насадки, выполнена удлиненной и выступает за пределы гнезда 3 с гидравлическим каналом 9 с диаметром dн равным выходному отверстию большой ступени 1. Для увеличения долговечности насадку изготавливают из износостойкого материала, например, металлокерамического.
Для повышения эффективности динамического действия исходящей струи из выходного отверстия с φ dн на породу забоя длину ее выбирают оптимальной, что ни в одной из удлиненных насадок, обнаруженных аналогах это не предусмотрено.
Многочисленными стендовыми и промысловыми испытаниями установлено, что оптимальная длина Lстр затопленной струи, исходящая из выходного отверстия насадки до соприкосновения с породой пласта (с преградой) равна:
Lстр=5,5 dн, где
Lстр - длина сформируемой затопленной струи, мм
dн - диаметр выходного отверстия, мм
Работа удлиненной насадки заключается в следующем.
Ее вмонтируют герметично, как это показано на прилагаемом рисунке 2 в цилиндрическом гнезде 3 корпуса 4 долота, фиксируя штифтом 5 от выпадения. Долото со вмонтированными удлиненными насадками спускают в скважину на колонне бурильных труб. В процессе вращения долота под действием осевой нагрузки, оказываемой с устья скважины зубья его шарошек, внедряясь разрушают горную породу. При этом промывочная жидкость через удлиненные насадки направляется на забой скважины. Сформированные в насадках струи жидкости, истекающие из выходных отверстий удлиненных гидравлических каналов меньшего диаметра 8 под большим напором и со скоростью не менее 80-100 м/сек, затопленная в восходящем потоке промывочной жидкости, оказывает на породу забоя большое динамическое действие, под воздействием которого промывочная жидкость глубоко проникает в поры породы, а также приводит к снижению ее прочностных характеристик. А это в свою очередь повышает эффективность разрушения породы забоя зубьями шарошек долота. При этом существенную роль играет правильный выбор длины исходящей струи из выходных отверстий удлиненных гидравлических каналов насадок.
Так, как показала практика использования удлиненных гидравлических насадок предлагаемой конструкции в Альметьевском и Азнакаевском управлениях буровых работ ОАО «Татнефть», наибольший эффект достигнут при выборе длины струи L стр равным 5,5 dн, где dн - диаметр выходного отверстия удлиненной части насадки меньшей ступени 8, в результате значительно улучшались показатели работы долота - проходка, механическая скорость бурения. Кроме того, заявляемая насадка обладает малой металлоемкостью. На дату подачи заявки подготовлены рабочие документации к серийному изготовлению ее на заводских условиях.
Claims (1)
- Удлиненная насадка для гидромониторного шарошечного долота, герметично устанавливаемая и закрепляемая стопорным элементом в гнезде цилиндрической формы, выполненное в корпусе долота, содержащая корпус цилиндрической формы с удлиненной выступающей частью за пределы гнезда, отличающаяся тем, что гидравлический канал ее удлиненной выступающей части выполнен с диаметром, равным выходному отверстию конусоидального гидравлического канала корпуса, размещенного в пределах гнезда, диаметр входного отверстия которого выполнен большим, чем выходное, причем выступающая часть корпуса выполнена в виде цилиндра по всей его длине, при этом с целью обеспечения повышенной разрушающей породу способности промывочной жидкости динамическим действием струи, длину сформируемой в насадке затопленной струи от выходного отверстия удлиненной части корпуса до соприкосновения с породой забоя скважины выбрана из равенстваLстр=5,5 dн,где Lстр - длина сформируемой затопленной струи, мм;
Priority Applications (1)
| Application Number | Priority Date | Filing Date | Title |
|---|---|---|---|
| RU2006121742/22U RU72012U1 (ru) | 2006-06-19 | 2006-06-19 | Удлиненная насадка для гидромониторного шарошечного долота |
Applications Claiming Priority (1)
| Application Number | Priority Date | Filing Date | Title |
|---|---|---|---|
| RU2006121742/22U RU72012U1 (ru) | 2006-06-19 | 2006-06-19 | Удлиненная насадка для гидромониторного шарошечного долота |
Publications (1)
| Publication Number | Publication Date |
|---|---|
| RU72012U1 true RU72012U1 (ru) | 2008-03-27 |
Family
ID=48232336
Family Applications (1)
| Application Number | Title | Priority Date | Filing Date |
|---|---|---|---|
| RU2006121742/22U RU72012U1 (ru) | 2006-06-19 | 2006-06-19 | Удлиненная насадка для гидромониторного шарошечного долота |
Country Status (1)
| Country | Link |
|---|---|
| RU (1) | RU72012U1 (ru) |
-
2006
- 2006-06-19 RU RU2006121742/22U patent/RU72012U1/ru not_active IP Right Cessation
Similar Documents
| Publication | Publication Date | Title |
|---|---|---|
| CN104563862B (zh) | 复合冲击钻井工具 | |
| RU2360096C1 (ru) | Долото для бурения горизонтальных скважин | |
| US20100288562A1 (en) | nozzle with channels that impart an angular momentum to the exiting fluid and methods for making and using same | |
| WO2008092256A1 (en) | Down hole multiple piston tools operated by pulse generation tools and methods for drilling | |
| CN201386507Y (zh) | 一种旋转阻断式水力脉冲钻井工具 | |
| RU2242585C1 (ru) | Устройство для очистки скважины от песчаной пробки | |
| CN108590507A (zh) | 一种具有锤杆往复自冲击结构的破岩提速工具 | |
| CN204457422U (zh) | 复合冲击钻井工具 | |
| CN200989162Y (zh) | 水力脉冲空化射流钻井装置及钻头 | |
| CN208310697U (zh) | 小井眼水力脉冲射流钻井工具 | |
| CN106223832A (zh) | 复合冲击钻井工具 | |
| CN205025356U (zh) | 脉冲射流提速装置 | |
| WO2021164091A1 (zh) | 一种周向冲击的防卡钻装置及方法 | |
| CN204827232U (zh) | 一种钻井用水力脉冲装置 | |
| CN104895507A (zh) | 间歇式降井底压差短节 | |
| CN105370213B (zh) | 一种井下脉冲射流钻头装置 | |
| CN203188909U (zh) | 一种提高钻井速度的水力脉冲工具 | |
| CN205778560U (zh) | 偏心式水力机械钻扩一体化钻头 | |
| RU156923U1 (ru) | Долото для бурения на обсадной колонне | |
| CN109025805A (zh) | 脉冲射流液动冲击器 | |
| RU72012U1 (ru) | Удлиненная насадка для гидромониторного шарошечного долота | |
| CN1952342B (zh) | 带有脉动发生腔的钻头 | |
| RU2215114C1 (ru) | Промывочный узел бурового долота | |
| WO2013104069A1 (en) | Fluid or slurry pulsing casing/liner shoe | |
| RU2693082C1 (ru) | Породоразрушающий инструмент |
Legal Events
| Date | Code | Title | Description |
|---|---|---|---|
| MM1K | Utility model has become invalid (non-payment of fees) |
Effective date: 20100620 |
