RU69883U1 - Откосная часть земляного сооружения на вечной мерзлоте - Google Patents
Откосная часть земляного сооружения на вечной мерзлоте Download PDFInfo
- Publication number
- RU69883U1 RU69883U1 RU2007123853/22U RU2007123853U RU69883U1 RU 69883 U1 RU69883 U1 RU 69883U1 RU 2007123853/22 U RU2007123853/22 U RU 2007123853/22U RU 2007123853 U RU2007123853 U RU 2007123853U RU 69883 U1 RU69883 U1 RU 69883U1
- Authority
- RU
- Russia
- Prior art keywords
- slope
- steps
- soils
- soil
- base
- Prior art date
Links
- 239000002689 soil Substances 0.000 claims abstract description 54
- 238000001816 cooling Methods 0.000 claims abstract description 12
- 239000006260 foam Substances 0.000 claims abstract description 6
- 238000010276 construction Methods 0.000 abstract description 4
- 230000000694 effects Effects 0.000 description 6
- 238000009413 insulation Methods 0.000 description 4
- 238000010257 thawing Methods 0.000 description 4
- 230000002085 persistent effect Effects 0.000 description 3
- 230000015572 biosynthetic process Effects 0.000 description 2
- 239000004575 stone Substances 0.000 description 2
- 238000009412 basement excavation Methods 0.000 description 1
- 230000033228 biological regulation Effects 0.000 description 1
- 230000006378 damage Effects 0.000 description 1
- 238000005516 engineering process Methods 0.000 description 1
- 230000002349 favourable effect Effects 0.000 description 1
- 239000012530 fluid Substances 0.000 description 1
- 238000009439 industrial construction Methods 0.000 description 1
- 238000000034 method Methods 0.000 description 1
- 239000007787 solid Substances 0.000 description 1
- XLYOFNOQVPJJNP-UHFFFAOYSA-N water Substances O XLYOFNOQVPJJNP-UHFFFAOYSA-N 0.000 description 1
Landscapes
- Road Paving Structures (AREA)
Abstract
Полезная модель относится к области строительства, а именно к земляным сооружениям на вечномерзлых грунтах, находящихся в их основаниях.
Откосная часть земляного сооружения на вечной мерзлоте содержит образующий сооружение массив грунта, ограниченный с внешней стороны поверхностью откоса, имеющей уклон вниз во внешнюю сторону, а снизу - естественной поверхностью грунтов основания, которая при пересечении с поверхностью откоса образует подошву откоса, и систему для охлаждения грунтов.
Новым в предлагаемой откосной части земляного сооружения является то, что система для охлаждения грунтов выполнена в виде ступенчатой поверхности откоса, ступени которой включают внешнюю боковую и верхнюю поверхности, причем условная средняя поверхность, проведенная через середины ступеней по высоте образует плоскость.
Высота ступеней составляет 1,5-3,0 м, при этом верхняя поверхность ступеней имеет уклон во внешнюю сторону не менее 2% и по всей этой поверхности уложен слой пеноплэкса толщиной 5,0 см. Уклон внешней боковой поверхности ступеней равен 1:0,75, при этом уклон условной средней поверхности равен 1:1,5.
Откосная часть земляного сооружения содержит расположенный в грунтах основания в зоне подошвы откоса упорный массив из замененного грунта глубиной 2,5 м и шириной поверху 7,0 м или из мерзлого грунта, ограниченного со стороны естественной поверхности основания слоем пеноплэкса шириной 5,0 м и толщиной 5,0 см.
Технический результат предлагаемой полезной модели состоит в создании такой конструкции земляного сооружения, содержащего систему для охлаждения грунтов, которая позволяла бы применять ее в различных районах распространения вечномерзлых грунтов.
1 н.п. ф-лы, 2 ил.
Description
Полезная модель относится к области строительства, а именно к земляным сооружениям на вечномерзлых грунтах, находящихся в их основаниях.
Известны виды поперечных профилей земляных сооружений, сооружаемых в обычных условиях вне зоны распространения вечномерзлых грунтов. (М.А.Фришман, И.Н.Хохлов, В.П.Титов «Земляное полотно железных дорог, Изд-во «Транспорт», 1972, с.15, рис.1).
Недостатки таких профилей заключаются в том, что в случае применения их в области распространения вечной мерзлоты на просадочных при оттаивании мерзлых грунтах основание деформируется, что влечет за собой разрушение земляного сооружения.
Для предотвращения оттаивания вечномерзлых грунтов в основаниях земляных сооружений применяются различные способы
регулирования водно-теплового режима грунтов (теплоизоляция, различные типы охлаждающих устройств и т.п.).
Наиболее близкой к предлагаемой является насыпь на вечной мерзлоте, содержащая образующий ее сооружение массив грунта, который ограничен поверхностью откоса и систему охлаждения грунта, выполненную в виде каменной наброски. («Временные технические условия на проектирование земляного полотна железнодорожной линии Улак-Эльга с сохранением мерзлого состояния грунтов оснований». Министерство путей сообщения РФ, Департамент пути и сооружений, М., 2001, с.24, рис.1).
Недостаток такой конструкции насыпи состоит в том, что для устройства наброски требуется камень высокого качества, который не везде имеется.
Задача предлагаемой полезной модели заключалась в создании такой конструкции насыпи, содержащей систему для охлаждения грунтов, которая позволяла бы применять ее в различных районах распространения вечномерзлых грунтов.
Для достижения указанного технического результата в откосной части земляного сооружения на вечной мерзлоте, содержащей образующий сооружение массив грунта, ограниченный с внешней стороны поверхностью откоса, имеющей уклон вниз во внешнюю сторону, а снизу - естественной поверхностью грунтов основания, которая при пересечении с поверхностью откоса образует подошву откоса и систему для охлаждения грунтов, система для охлаждения грунтов выполнена в виде ступенчатой поверхности откоса, ступени которой включают верхнюю поверхность и внешнюю боковую поверхность, при этом условная средняя поверхность, проведенная через середины по высоте ступеней образует плоскость.
Кроме того, высота ступеней поверхности откоса может быть равна 1,5-3,0 м, при этом верхняя поверхность каждой ступени имеет уклон во внешнюю сторону не менее 2%.
Откосная часть земляного сооружения может содержать расположенный в грунтах основания в зоне подошвы откоса упорный массив из замененного грунта глубиной 2,5 м и шириной поверху 7,0 м или из мерзлого грунта, ограниченного со стороны естественной поверхности основания слоем пеноплэкса шириной 5,0 м и толщиной 5,0 см.
Кроме того, слой пеноплэкса толщиной 5,0 см может быть уложен по всей верхней поверхности ступеней. Уклон внешней боковой поверхности ступеней может быть равен 1:0,75, при этом уклон условной средней поверхности равен 1:1,5.
Сущность изобретения поясняется чертежами, где
на фиг.1 изображена откосная часть земляного сооружения с упорным массивом из мерзлого грунта;
на фиг.2 - то же с упорным массивом из замененного грунта.
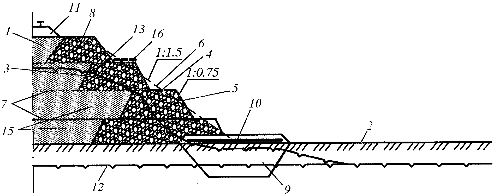
Откосная часть земляного сооружения на вечной мерзлоте содержит следующие основные элементы:
- образующий сооружение массив 1 грунта. В случае насыпи (фиг.1 и 2) - это грунт насыпи, отсыпанный на естественной поверхности 2 грунта. В случае выемки - это коренной грунт, в котором вырыта выемка ниже естественной поверхности 2 грунта. Однако в обоих случаях (и в выемке, и в насыпи) образующий сооружение массив 1 грунта может содержать пограничную часть 3, отсыпаемую из грунта прочного в талом состоянии. При этом центральная часть насыпи может отсыпаться из местных твердомерзлых грунтов, остающихся во время эксплуатации в мерзлом состоянии;
- систему для охлаждения грунтов, которая выполнена в виде ступенчатой поверхности откоса. Ступени содержат верхнюю 4
поверхность и боковую 5 поверхность. Ступени сформированы так, что условная средняя 6 поверхность, проходящая через середины по высоте боковой 5 поверхности ступеней образует плоскость. Т.е. площадь участка поперечного сечения каждой ступени, выходящая за пределы условной средней 6 поверхности во внешнюю сторону, равна площади поперечного сечения участка между условной средней 6 поверхностью и боковой 5 поверхностью ступени, расположенного с внутренней стороны условной средней 6 поверхности. Высота ступеней определяется расчетом на устойчивость, а также высотой снежного покрова на верхней поверхности ступеней. Обычно эта высота равна 1,5-3,0 м. Верхнюю поверхность целесообразно устраивать с уклоном во внешнюю сторону не менее 2% для обеспечения стока воды. Уклон боковой 5 поверхности ступеней целесообразно делать 1:0,75, а уклон условной средней поверхности 1:1,5. Наилучший уклон боковой 5 поверхности ступеней - это вертикальная поверхность, на которой в зимнее время нет снега, но формирование такой поверхности требует, например, габионов, что может оказаться дорогостоящим. Уклон 1:0,75 может быть обеспечен при наличии скального грунта. Для этого целесообразно при укладке слоев грунта (границы слоев показаны позицией 7) во внешней части слоя укладывать призму 8 из скального грунта. Эти призмы будут составлять пограничную часть 3 образующего сооружение массива 1. Уклон боковой 5 поверхности ступеней в различных по высоте ярусах может быть различным - от вертикальной поверхности до поверхности, совпадающей с положением условной средней 6 поверхности;
- упорный 9 массив, который представляет собой массив несжимаемого грунта и может быть выполнен различной конструкции. Первый вариант - замена высокольдистого текучего при оттаивании грунта на скальный размерами в поперечном сечении 2,5 м глубиной и 7 м поверху. Другой вариант - обеспечение сохранения высокольдистого
грунта в мерзлом состоянии путем укладки в зоне подошвы откоса слоя теплоизоляции 10 шириной 5 м и толщиной 5 см. Схема и размеры упорного массива могут быть уточнены теплофизическим расчетом, а также с учетом особенностей технологии и вида грунтов.
При описании конструкции введены также следующие обозначения: 11 - балластная призма с рельсошпальной решеткой; 12 - положение нулевой изотермы в естественных условиях на момент окончания теплого периода года; 13, 14 - то же после возведения земляного сооружения соответственно при первом (фиг.1) и втором (фиг.2) вариантах упорного 9 массива; 15 - расположение местного твердомерзлого грунта, отсыпаемого в земляное сооружение; 16 - дополнительная теплоизоляция на верхней поверхности ступени.
Откосная часть земляного сооружения на вечной мерзлоте работает следующим образом.
Предлагаемое техническое решение предназначено для регионов с малым снегопереносом (до 100 м3/м). В этом случае на 1 м2 горизонтальной поверхности в зимний период выпадает одинаковое количество снега. Поэтому если в пределах этой площадки поверхность за счет «складок» увеличена, то на единицу поверхности приходится меньше снега пропорционально степени увеличения поверхности. Это приводит к уменьшению термического сопротивления и, соответственно, к увеличению потока холода в зимний период. Это первый тепловой эффект. Второй тепловой эффект сводится к следующему. Кроме общего снижения удельного снегоотложения, происходит перераспределение удельного снегоотложения между верхней 4 и боковой 5 поверхностями ступени: например, при уклоне поверхностей 5 и 6 соответственно 1:0,75 и 1:1,5 длины верхней 4 и боковой 5 поверхностей ступени при ее высоте 2 м равны соответственно 1,5 и 2,25. Таким образом, удельная толщина снега на боковой поверхности в 1,5 раза меньше. В результате в зимний период
термическое сопротивление за счет первого эффекта снижается примерно на 10%, а за счет второго эффекта - еще на 20%. Общее снижение термического сопротивления составляет порядка 30%, что существенно увеличивает поступление холода в зимний период. Существенный эффект может быть получен устройством дополнительной теплоизоляции 16 на верхней 4 поверхности ступеней. В этом случае в летний период существенно снижается поступление тепла в грунт. Общий тепловой эффект более 20%.
Для успешного функционирования охлаждающей системы необходимо обеспечить стабильность ступенчатой формы откосов. Если в верхних 2-2,5 м расположены высокольдистые, текучие при оттаивании грунты, то необходимо устройство упорного 9 массива.
Эффективность использования предлагаемой полезной модели заключается в формировании благоприятного температурного режима тела и оснований земляных сооружений на вечной мерзлоте.
Область эффективного использования предложенного технического решения - регионы с малым снегопереносом (до 100 м3/м), например, Центральная Якутия. Откосная часть предложенной конструкции может быть широко использована не только в дорожном строительстве, но и в других случаях - гидротехническом, промышленном строительстве и др.
Claims (7)
1. Откосная часть земляного сооружения на вечной мерзлоте, содержащая образующий сооружение массив грунта, ограниченный с внешней стороны поверхностью откоса, имеющей уклон вниз во внешнюю сторону, а снизу - естественной поверхностью грунтов основания, которая при пересечении с поверхностью откоса образует подошву откоса, и систему для охлаждения грунтов, отличающаяся тем, что система для охлаждения грунтов выполнена в виде ступенчатой поверхности откоса, ступени которой включают верхнюю поверхность и внешнюю боковую поверхность, при этом условная средняя поверхность, проведенная через середины по высоте ступеней, образует плоскость.
2. Откосная часть земляного сооружения по п.1, отличающаяся тем, что высота ступеней равна 1,5-3,0 м.
3. Откосная часть земляного сооружения по п.1, отличающаяся тем, что она содержит расположенный в грунтах основания в зоне подошвы откоса упорный массив из замененного грунта глубиной 2,5 м и шириной поверху 7,0 м.
4. Откосная часть земляного сооружения по п.1, отличающаяся тем, что она содержит расположенный в грунтах основания в зоне подошвы откоса упорный массив из мерзлого грунта, ограниченный со стороны естественной поверхности основания слоем пеноплэкса шириной 5,0 м и толщиной 5,0 см.
5. Откосная часть земляного сооружения по п.1, отличающаяся тем, что по всей верхней поверхности ступеней уложен слой пеноплэкса толщиной 5,0 см.
6. Откосная часть земляного сооружения по п.1, отличающаяся тем, что верхняя поверхность каждой ступени имеет уклон во внешнюю сторону не менее 2%.
Priority Applications (1)
| Application Number | Priority Date | Filing Date | Title |
|---|---|---|---|
| RU2007123853/22U RU69883U1 (ru) | 2007-06-27 | 2007-06-27 | Откосная часть земляного сооружения на вечной мерзлоте |
Applications Claiming Priority (1)
| Application Number | Priority Date | Filing Date | Title |
|---|---|---|---|
| RU2007123853/22U RU69883U1 (ru) | 2007-06-27 | 2007-06-27 | Откосная часть земляного сооружения на вечной мерзлоте |
Publications (1)
| Publication Number | Publication Date |
|---|---|
| RU69883U1 true RU69883U1 (ru) | 2008-01-10 |
Family
ID=39020541
Family Applications (1)
| Application Number | Title | Priority Date | Filing Date |
|---|---|---|---|
| RU2007123853/22U RU69883U1 (ru) | 2007-06-27 | 2007-06-27 | Откосная часть земляного сооружения на вечной мерзлоте |
Country Status (1)
| Country | Link |
|---|---|
| RU (1) | RU69883U1 (ru) |
Cited By (6)
| Publication number | Priority date | Publication date | Assignee | Title |
|---|---|---|---|---|
| RU2374387C1 (ru) * | 2008-07-21 | 2009-11-27 | Василий Петрович Ягин | Гидроузел на многолетнемерзлых грунтах |
| RU2375520C1 (ru) * | 2008-07-21 | 2009-12-10 | Василий Петрович Ягин | Открытый водосброс на нескальном основании |
| RU2381327C1 (ru) * | 2008-09-29 | 2010-02-10 | Василий Петрович Ягин | Водопропускное сооружение под насыпью в условиях многолетнемерзлых грунтов на периодически действующем водотоке |
| RU2382139C1 (ru) * | 2008-10-16 | 2010-02-20 | Василий Петрович Ягин | Руслоотводное сооружение сезоннодействующего водотока на вечной мерзлоте |
| CN110172872A (zh) * | 2019-06-12 | 2019-08-27 | 中铁第一勘察设计院集团有限公司 | 高原高含冰量冻土地段铁路路堑结构及其施工方法 |
| RU212436U1 (ru) * | 2021-12-29 | 2022-07-21 | Вадим Васильевич Пассек | Габион-диод |
-
2007
- 2007-06-27 RU RU2007123853/22U patent/RU69883U1/ru not_active IP Right Cessation
Cited By (7)
| Publication number | Priority date | Publication date | Assignee | Title |
|---|---|---|---|---|
| RU2374387C1 (ru) * | 2008-07-21 | 2009-11-27 | Василий Петрович Ягин | Гидроузел на многолетнемерзлых грунтах |
| RU2375520C1 (ru) * | 2008-07-21 | 2009-12-10 | Василий Петрович Ягин | Открытый водосброс на нескальном основании |
| RU2381327C1 (ru) * | 2008-09-29 | 2010-02-10 | Василий Петрович Ягин | Водопропускное сооружение под насыпью в условиях многолетнемерзлых грунтов на периодически действующем водотоке |
| RU2382139C1 (ru) * | 2008-10-16 | 2010-02-20 | Василий Петрович Ягин | Руслоотводное сооружение сезоннодействующего водотока на вечной мерзлоте |
| CN110172872A (zh) * | 2019-06-12 | 2019-08-27 | 中铁第一勘察设计院集团有限公司 | 高原高含冰量冻土地段铁路路堑结构及其施工方法 |
| RU212436U1 (ru) * | 2021-12-29 | 2022-07-21 | Вадим Васильевич Пассек | Габион-диод |
| RU2813720C1 (ru) * | 2023-09-14 | 2024-02-15 | Вадим Васильевич Пассек | Откосная часть земляного сооружения на вечной мерзлоте |
Similar Documents
| Publication | Publication Date | Title |
|---|---|---|
| Woo | Permafrost and hydrology | |
| RU69883U1 (ru) | Откосная часть земляного сооружения на вечной мерзлоте | |
| RU2618108C2 (ru) | Дренажная система на вечномерзлых грунтах | |
| RU83511U1 (ru) | Земляное полотно автомобильной дороги в зоне вечномерзлых грунтов | |
| CN210481895U (zh) | 一种季节性冻土区无砟轨道高速铁路浸水路基防冻胀结构 | |
| CN201099920Y (zh) | 保温集水井 | |
| RU131009U1 (ru) | Дорога, отсыпаемая на мерзлых грунтах (варианты) | |
| RU2324032C1 (ru) | Дорожная насыпь на вечномерзлых грунтах | |
| CN102587399B (zh) | 寒区涎流冰防治结构 | |
| CN119061752A (zh) | 多年冻土区路桥过渡段不均匀沉降控制结构及其施工方法 | |
| RU2761272C1 (ru) | Дренажная система для стабилизации дорожного полотна на протаявших слабых грунтах | |
| CN114164845B (zh) | 一种地下含水坡地截排水系统及其实施方法 | |
| CN101424087B (zh) | 保温集水井 | |
| RU2256032C1 (ru) | Дорожная насыпь на вечномерзлых грунтах | |
| RU2245957C1 (ru) | Водоотводная канава | |
| RU70269U1 (ru) | Дорожная насыпь на вечномерзлых грунтах | |
| RU187757U1 (ru) | Водопропускная труба в насыпи | |
| RU60546U1 (ru) | Насыпь дороги на вечномерзлых грунтах | |
| RU58562U1 (ru) | Насыпь малой высоты дороги на вечномерзлых грунтах | |
| CN218346246U (zh) | 一种绿色生态化治理山洪泥石流的大体积构筑物 | |
| CN206512674U (zh) | 生态与硬质相结合的挡墙结构 | |
| RU2244781C1 (ru) | Дорожная выемка | |
| RU2303675C1 (ru) | Водопропускное сооружение в дорожной насыпи на вечномерзлых грунтах | |
| RU58561U1 (ru) | Выемка малой глубины дороги на вечномерзлых грунтах | |
| RU70268U1 (ru) | Откосная часть дорожного земляного полотна на вечной мерзлоте |
Legal Events
| Date | Code | Title | Description |
|---|---|---|---|
| MM1K | Utility model has become invalid (non-payment of fees) |
Effective date: 20110628 |
